Active Storage

© Brooke Clarke 2008 - 2024



Background
    Shallow Drawer Design
    First Prototype Cardboard box
    Second Prototype Cardboard Drawer
    Third Prototype Wood Drawer
Full & Half Size Boxes
Shelving (knock down warehouse)
Wall Mount Bookshelves
Closet Shelves for Boxes
Shipping Container (20')
Manual Twist Lock
IBC Tanks
Farm Hi Lift Jack & Strap Winch moved to their own web page
120 Square Foot Permit Free Buildings
Temporary Car Port
References
Links

Background

I have been using shelving for storage and have run out of shelf space.  When looking at most shelves they are loaded in such a way that it's almost impossible to know what's on them because the stuff in front hides the stuff in back.  Shelving is good for displaying items when the depth of the shelf is slightly deeper than the item.

Storage has a meaning that relates to putting something into a warehouse or storage building in a remote location, aka dead storage.  So this page is called "Active Storage" since what I'm trying to do is have more things near where I am.

The problems with shelving:
  •  don't know what's behind the front stuff
  • can't easily access the back items
  • inefficient use of the volume
A solution seems to be drawers.  Drawers are open on the top face rather than the front face and so are more efficient.  But deep drawers (or boxes) have the same problem as deep shelves in that it's hart to get to the stuff on the bottom layer and to access it.  So a solution is not just drawers, but shallow drawers.  The problem is there are not any on the market, or they are hidden.

Another problem is that the sides and bottom of a drawer take volume, so it would be best if the drawers were aluminum or other thin material rather than wood.

Shallow Drawer Design

It may be more efficient to just scrap the existing shelving, but I'd rather incrementally add shallow drawers so they need to be sized to fit on the existing shelves.

If you have already done this or know of a solution please let me know.

First Prototype Cardboard box


First
                        & Secone Prototype Active Storage Shallow
                        Drawers

Found cardboard boxes (S-4177) that fit shelves.  They do offer more efficient use of the volume but have a problem with accessing items on the bottom of the box.  If filled solid with books or paper, etc. one box can be too heavy to move.
Three boxes fit on the large spaced shelves.

Second Prototype Cardboard Drawer


First
                        & Secone Prototype Active Storage Shallow
                        Drawers

at the right side of photo.

Made four drawers from two cardboard boxes.  They do not "stack".  The heavier the drawer the less likely it will stack.  When pulling out a drawer with one or more drawers above it, the upper drawers drop down.  But so far that's not a problem.  It does not happen all at once.  With small drawers the contents are not too heavy.

Third Prototype Wood Drawer

11 Feb 2008 a simple wood drawer.

Small Wood
                    Drawer for Desk Case

The wood thinkness wasts a lot of space.
Materials:
Front, Back * Sides: 1x3 solid wood
Bottom: 1/2" plywood
#6 screws.

Just to try the construction made a drawer for one of the shelves in front of my desk.  The opening is:
8.375 wide x 3.25 high x 11.75 deep,  about 320 cu in.

The inside of the drawer is 8 wide x 2.75 hi (3.25 - .5) x 10.5 deep, about 231 cu in i.e. is only 72% efficient.
This is simple construction using 1x for the front.

Just looking at the surface area: 98 sq in for the case and 84 for the drawer, or 85%. 

Forth Prototype Cardboard Drawer


Thin
                    Cardboard Drawer for Desk Shelf 12 Feb 2008 - Drawer made from USPS Priority Box cardboard.  I get a number of items shipped in Priority boxes and so have this material on hand.  Looking for a source of it new for a battery adapter, if you know tell me.

This drawer has 0.066" thick walls and bottom.  Notice the tape dispenser and next to it the stapler are standing.  This is a great solution.  The only problem that needs to get fixed is when you pull out the drawer you also pull out the shelf.  When the shelf gets a couple of inches out it falls off the rear support pins.  There are a number of ways to fix that, need to think about which to use.

Full & Half Size Boxes

Boxes are not as nice as shallow drawers, but are easily available.

The U-Line S-4177 box fits both the Gorilla heavy duty storage shelving  (36" outside and a little less inside, but required pulling center box first.
The deep bookcases in my office (34 3/4" wide).
But you can not get three side by side on the plastic shelving units I have in the garage.  The round tubes used for the vertical supports use up too much shelf width, only 31 3.4" wide.
17 May 2008 - started to use the S-4173, it's the same width and depth as the S-4177 so you can fit three of them on most of my shelves, but it's half the height making for lighter weight boxes and easier to see the contents.  It also my work with the sides folded inside as an open top box.
 
U-Line S-4177 Box
                    flat as shipped
S-4177 Box flat as shipped
28 7/8" wide x 23 1/4" high
U-Line S-4173 box
                    flat as shipped
S-4173 Box flat as shipped.
28 7/8" wide x 17 7/8" high.

Inside:    17 1/4" deep x  11 1/4" wide x 12 1/8" high w/ folding lid on top.
Outside: 17 1/2" deep x  11 1/2" wide x 11 7/8" high
Inside: 17 1/4" x 11 1/4" wide x 6" high w/folding lid on top
Outside: 17 1/2" deep x  11 1/2" wide x  6 5/8" high
The height depends on how the top is folded.  The numbers shown are for folding in the short end flaps then folding the long flaps ready for taping. 
All four flaps can be folded 180 degrees so they end up parallel to the box walls leaving an open top.  This takes a little off the inside width and deepth and shortens the height.

Shelving

18 May 2008
5 shelf unit
                    PR1200 Pro Rack Replacing board and brick shelving is an industrial metal storage rack.  The vertical columns are 36" long allowing the rack to be built either as shown at the left as one tall shelving unit, or they can be fitted side by side forming a 6' wide shelving unit that's 3' high.  There are a couple of coupling pins in the box to link the two side by side units together.

Outside dimensions: 36 1/2" wide x 18 1/2" deep x 72" high.
The height between the top of a shelf and the lip of the next higher shelf starting at the bottom is:
14 1/2", 14 1/2", 16", 14 1/2", to ceiling.
The center shelf must be installed halfway so as to link the top and bottom columns.

The width at the front between the two angle iron columns is 33 3/4".  Since the above boxes are 11 1/2" wide three of them need 34 1/2" which is a little more than the front gap width, but by either placing the left and right boxes first or by pushing the existing boxes all the way to the other side and angling the side box you can easily place three boxes side by side.

In the lower left corner of the photo you can just see the wood of another shelving unit that will shortly also be replaced by another of these PR1200 Pro racks.
5 shelf unit
                    PR1200 Pro Rack
After putting some of the boxes on the shelves.  The half height boxes ( S-4173) have had their top flaps folded down inside and so are more like deep trays than boxes.  Because of that the top box may not sit squarely on the one under it, but that's no big thing.  Having the tops open makes it very easy to access the contents.

Note the top shelf has not been used yet.  This is not the final arrangement of boxes and test equipment.

In the lower left of the photo you can see the wood bookcase with the FAX on top that will be replaced very shortly.

There is another size of shelving unit that looks very similar to this one except the shelves are 24" deep instead of 18" deep.  It takes up more floor space and since I don't have boxes that are modular to that depth (i.e. 24" deep, or 12" deep, etc.) it's not a good choice for me.  Maybe good if the correct boxes were available.

8172098 Modular rack assembly, Rapid Rack, May 8, 2012, 211/191; 211/189 -
These are being assembled in a shipping container.
One person Assembly Dateline Products Model 01200
Same for the Gorilla Rack shelving
Note: install shelf boards as each level is completed as a check
to be sure that the locking pins are properly aligned.
If they are not the shelf will no fit.
Dateline
                    Products Model 01200 Shelf Assembly Step 1
Adding top angle uprights
Dateline
                    Products Model 01200 Shelf Assembly Step 1


Wall Mount Bookshelves

The most economical way of adding a lot of bookshelves is using the wall mounted rail system with metal brackets.  The commercial system is much lower cost and stronger than the ones at the hardware store.
Econoco SS12/96 96 x 06875 x 040625 Heavy Weight Standard Single Slot Satin Zinc Staples Item # 218927  - 8' high
Econoco WBC12 12 Wood Shelf Bracket Satin Zinc Center Staples Item # 219130 - for 12" shelf

Fig 1 Using small magnets to visualize stud location.

Wall
                        Mount Bookshelves


Fig 2

Wall
                        Mount Bookshelves



Fig 3

Wall
                        Mount Bookshelves

Fig 4

Wall
                        Mount Bookshelves

PS the TV series Fortitude is a cautionary tale about climate change.

Fig 5

Wall
                        Mount Bookshelves

Fig 1 Econoco WBC12 12 Wood Shelf Bracket
Wall Mount
                      Bookshelves - Econoco WBC12 12 Wood Shelf Bracket
Fig 2
Wall Mount Bookshelves - Econoco SS1296 96 x
                      06875 x 040625 Heavy Weight Standard Single Slot




Closet Shelves for Boxes

Before
Work Room Closet Before shelving
Installed
Work Room
                      Closet Before shelving
Bracket Detail  1-1/2", 2-1/5" & 1-1/2" brackets.
Work Room
                      Closet Before shelving


I'd like to use the closet in my work room (spare bedroom) to store cardboard boxes as described above by adding shelving made up of 1" x 12" lumber which is really 3/4" (19mm) x 11-1/4".  Two 1 x 12 shelves side by side will make a shelf that's 23" deep.  From the back of the closet molding to the back wall is 23-1/2" so they will just fit.

To join the shelving and risers Häfele Minifit cam lock connectors and both single ended and double ended pins will be used.
It turns out these fittings are nearly impossible to get and require a precision fixture so that they will properly line up.  So plain old screws will be used.

My existing 3 foot span bookcases have some bow in the shelves because books are heavy.  So the unsupported span for these shelves will be just over two feet.  The vertical supports are four pieces of 1/2" plywood. 

The design is based on two free standing cabinets with additional shelves installed between them after the two cabinets are placed inside the closet.

It was necessary to remove the two metal support brackets and the clothes hanger rod in order to fit the shelving.

Each shelf is made up of two 1" pine boards1 1 x 8" and  x 10".  All but four of the No.8 by 1-1/2" screws in a box of 100 were used as well as 24 right angle brackets for the center shelves.  The long brackets used between the two boards are Ace Hardware 5289277 2-1/2" Inside Corner Brackets and the short brackets used at the front and back are 1-1/2" by 3/4" 206-920 Inside Corner Brackets both of which are held on their sides by No. 8 by 5/8" screws and only the 2 top center shelves have screws up into the bottom of the shelves installed.  The other center shelves are just sitting by gravity.

Shipping Container (20')

2026 March 3: Why Can’t ANYTHING Replace THIS Aircraft?,  23:39 - In 1954 the interior space was specified to be: 41' long, 9' high and 10' wide.
A standard shipping container is 40' long, 9'6" high and 8' wide, so would easily fit into the C-130.  I suspect defining a space that would hold most large items being shipped contributed to both the C-130 and shipping container size specifications.

Wiki: Intermodal container, Conex box, Containerization, Container ship, ISO 6346, Intermodal freight transport, Double-stack rail transport, Well car, Twistlock, Container crane, Container spreader, Twistlock, TEU (Twenty foot Equivalent Unit)

These are a way to get weatherproof storage that can be locked.  They are well sealed when the doors are closed so small critters don't get inside.  There are ventilation holes that avoid stale air.  I considered many options but this is the most economical way of getting outdoor storage space.  8 feet wide by 20 feet deep (160 square feet) and a little over 8 feet high (100 inches).  They are on a gravel pad so there will be no standing water that might rust the bottom.  The pad was leveled prior to putting the container on it.

The plan is to use the same 1-1/2' x 3' shelving that I've been using so that boxes can be moved to/from the container and will fit the indoor shelving.

PS intermodal means the container can be moved using any combination of road, rail or ship during it's journey from source to destination.

20' shipping
                    Container as delivered

The left 20' shipping container is full and the one at the right is empty.
The flat bed truck that delivered the new container needs a few
feet on all sides so that the tie down straps can be removed. So
the new container is not cheek to jowl to the old one.

See the 48" High Lift Farm Jack page for information on moving the new container.



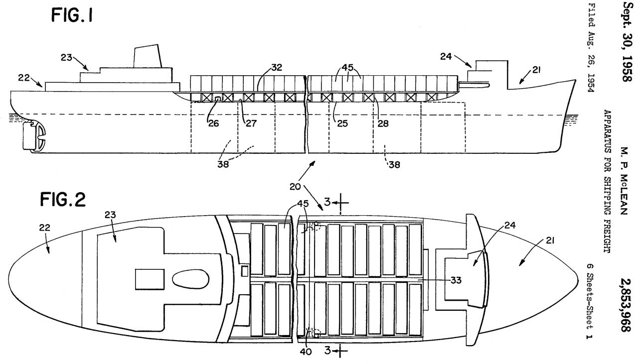
2853968 Apparatus for shipping freight, Malcolm P Mclean (Wiki), App: 1954-08-26, Pub: 1958-09-30, - Ship to hold containers
Fig 1 & 2 3,000 tons container weight, 600' ship.
2853968
                            Apparatus for shipping freight, Malcolm P
                            Mclean (Wiki), App: 1954-08-26, Pub:
                            1958-09-30, - Shipping Container
Fig 3 ship Section
2853968
                            Apparatus for shipping freight, Malcolm P
                            Mclean (Wiki), App: 1954-08-26, Pub:
                            1958-09-30, - Shipping Container
Fig 4 ship section
2853968
                            Apparatus for shipping freight, Malcolm P
                            Mclean (Wiki), App: 1954-08-26, Pub:
                            1958-09-30, - Shipping Container
Fig 5 ship section
2853968
                            Apparatus for shipping freight, Malcolm P
                            Mclean (Wiki), App: 1954-08-26, Pub:
                            1958-09-30, - Shipping Container
Fig 6 Three containers side by side
2853968
                            Apparatus for shipping freight, Malcolm P
                            Mclean (Wiki), App: 1954-08-26, Pub:
                            1958-09-30, - Shipping Container
Fig 7 a container seat, Fig 8, 9 & 10 seat sections
2853968
                            Apparatus for shipping freight, Malcolm P
                            Mclean (Wiki), App: 1954-08-26, Pub:
                            1958-09-30, - Shipping Container


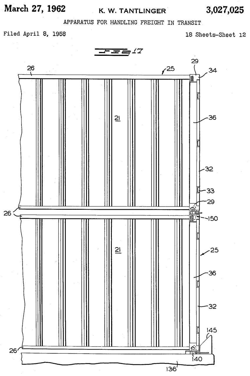
3027025 Apparatus for handling freight in transit, Keith W Tantlinger, Sea Land Service, 1962-03-27, -
YouTube: The Box: How the Shipping Container Made the World Smaller and the World Economy Bigger, 2nd Ed, Marc Levinson, 2016
page1 side with ship's hull
3027025 Apparatus for handling freight in
                    transit, Keith W Tantlinger, Sea Land Service,
                    1962-03-27
page 2 Box above trailer
3027025 Apparatus for handling freight in
                    transit, Keith W Tantlinger, Sea Land Service,
                    1962-03-27
page 3 side & top view of Box on trailer
3027025 Apparatus for handling freight in
                    transit, Keith W Tantlinger, Sea Land Service,
                    1962-03-27
page 4 Rear view box above trailer
3027025 Apparatus for handling freight in
                    transit, Keith W Tantlinger, Sea Land Service,
                    1962-03-27
page 5 Section 6-6
3027025 Apparatus for handling freight in
                    transit, Keith W Tantlinger, Sea Land Service,
                    1962-03-27
page 6 Section 8-8
3027025 Apparatus for handling freight in
                    transit, Keith W Tantlinger, Sea Land Service,
                    1962-03-27
page 7 End elevation
3027025 Apparatus for handling freight in
                    transit, Keith W Tantlinger, Sea Land Service,
                    1962-03-27
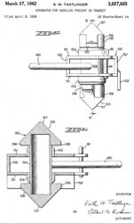
page 8 Interlocking box & trailer; section 12-12
3027025 Apparatus for handling freight in
                    transit, Keith W Tantlinger, Sea Land Service,
                    1962-03-27
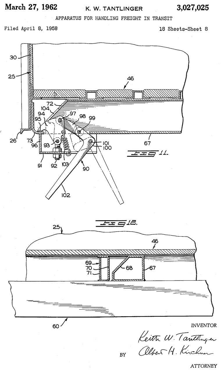
page 9 cutaway box side elevation
3027025 Apparatus for handling freight in
                    transit, Keith W Tantlinger, Sea Land Service,
                    1962-03-27
page 10 cutaway box plan view
3027025
                    Apparatus for handling freight in transit, Keith W
                    Tantlinger, Sea Land Service, 1962-03-27
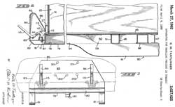
page 11 Elevation: Crane beam above box & connected
3027025
                    Apparatus for handling freight in transit, Keith W
                    Tantlinger, Sea Land Service, 1962-03-27
page 12 Two stacked boxes
3027025
                    Apparatus for handling freight in transit, Keith W
                    Tantlinger, Sea Land Service, 1962-03-27
page 13 Box on deck
3027025
                    Apparatus for handling freight in transit, Keith W
                    Tantlinger, Sea Land Service, 1962-03-27
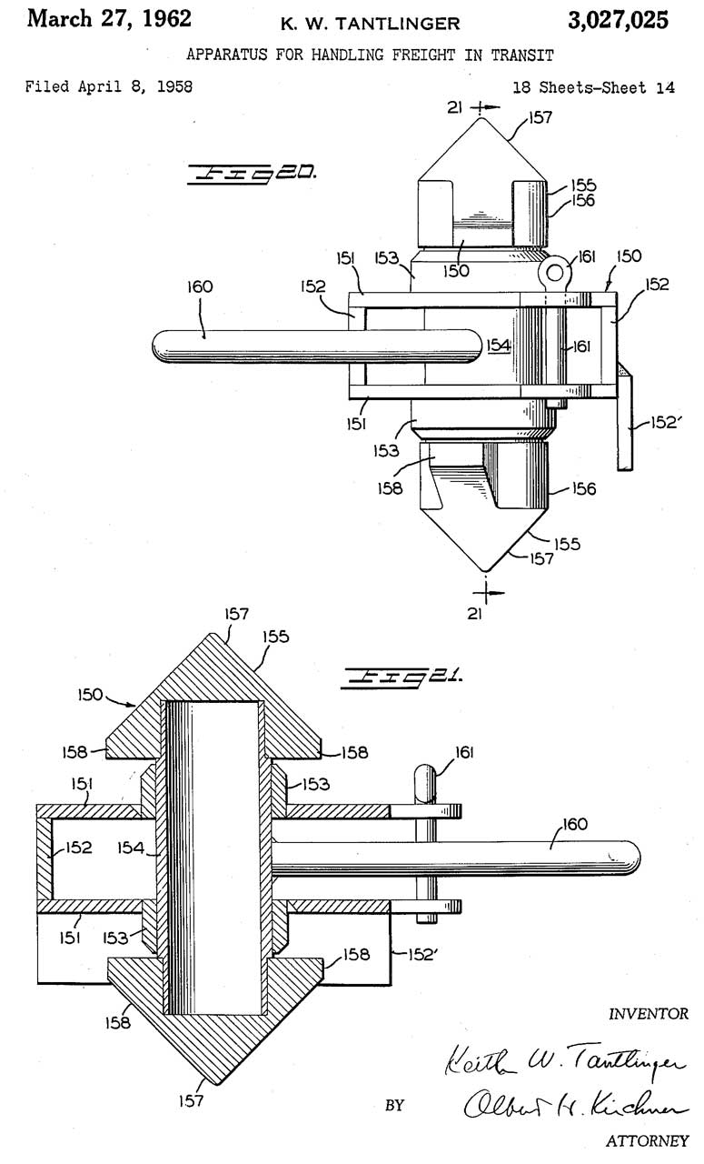
page 14 Box to Box coupler
3027025
                    Apparatus for handling freight in transit, Keith W
                    Tantlinger, Sea Land Service, 1962-03-27
page 15 Lug vehicle body or box
3027025
                    Apparatus for handling freight in transit, Keith W
                    Tantlinger, Sea Land Service, 1962-03-27
page 16 Bottom view with Refer
3027025
                    Apparatus for handling freight in transit, Keith W
                    Tantlinger, Sea Land Service, 1962-03-27
page 17 Front corner & rear corner cross sections
3027025
                    Apparatus for handling freight in transit, Keith W
                    Tantlinger, Sea Land Service, 1962-03-27
page 18 Rear roof cross section & Wall C.S.
3027025
                    Apparatus for handling freight in transit, Keith W
                    Tantlinger, Sea Land Service, 1962-03-27

3085707 Freight containers adapted to be stacked, Keith W Tantlinger, Sea Land Service, 1963-04-16, - including the Twistlock.
3231103 Container stacking system, Keith W Tantlinger, Fruehauf Corp, Jan 25, 1966, 211/49.1, 211/1.57 - early system where each container does not need to be strong enough to support other containers stacked on top of it.
5791808 Semi-automatic twistlock, Ture Nyholm, Aug 11, 1998, 403/325, 403/385, 403/348, 24/287, 411/552, 411/553, 24/136.00R -

ISO 1161 1984 - The maximum size and position of the holes in the container connector.

Manual Twist Lock

Fig. 1 Open
Shipping
                      Container Manual Twist Lock
Fig. 2 Locked
Shipping
                      Container Manual Twist Lock


YouTube: The Genius Invention Engineers Found to Secure the Millions $ Worth of Goods on Container Ships, 16:15 - @1:14 Manual Twist Lock; @1:57 Semi-automatic Twist Lock; @2:31 Fully Automatic Twist Lock

General Lashing System (GLS) - Container Twistlock - BD-A2 Manual Twist Lock -

2963310 Vertical container couplers, Abolins Andrew, Strick Trailers, 1960-12-06, -
3894493 Stacker key locking device, William V Strecker, Peck and Hale, 1975-07-15, -

IBC Tanks

These are very economical if you can pick them up to avoid shipping costs.  Under $100 for either 275 or 330 Gal sizes.  Even with a new bottle under $400 is a much better deal than other tank configurations for the capacity.  The problem is these show up on the used market and you do not know what was in them.  If your use is for drinking water this is a problem. 

Intermediate Bulk Container (Wiki: IBC) tanks are commonly available in a couple of sizes:


Pallet Width
Pallet Len
Height
lbs
275 Gal
40"
48"
46"
135
330 Gal
40"
48"
53"
195
Note that a standard US wooden pallet (Wiki) is 40" x 48"x 6".  This allows it to be moved through doors inside a building.
A 55 Gal. drum (Wiki) has an outside diameter of 23" x 34.5" high, so two of them are 46" and a standard pallet will hold 4 drums.  But they only hold 4 x 55 Gal = 220 Gal and the height of the pallet and drum is 40.5".
The IBC tank holds more (275 Gal or 330 Gal) in the same floor space.


4676373 Plastic
                      pallet container, Helmhold Schneider, 1987-06-30,
4676373 Plastic pallet container, Helmhold Schneider, 1987-06-30, - fastens to standard wood pallet.

Missing the metal parts that act as a pallet replacing the wood pallet.

Has center fill cap and bottom discharge valve which all of the below patents have.
5002194 Fold up
                      wire frame containing a plastic bottle, Dwight E.
                      Nichols, Hoover Group Inc, 1991-03-26
5002194 Fold up
                      wire frame containing a plastic bottle, Dwight E.
                      Nichols, Hoover Group Inc, 1991-03-26 5002194 Fold up wire frame containing a plastic bottle, Dwight E. Nichols, Hoover Group Inc, 1991-03-26, -

Note in order to fold up the vertical corners are made up of two rods.  Fold up makes it more expensive to make.
Modern cages do not fold up.



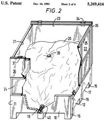
5269414
                      Intermediate Bulk Container, Olivier J. L.
                      D'Hollander, Dow Corning, 1993-12-14
5269414 Intermediate Bulk Container, Olivier J. L. D'Hollander, Dow Corning, 1993-12-14, - bag in an all plastic box.
No stackable metal frame.

Have not found patent for the current system of all metal stackable and forklift compatible cage with polypropylene bottle.

120 Square Foot Permit Free Buildings

Pallet area is 40" x 48" = 1920 sq in = 13 1/3 sq ft. 
120 sq ft permit free building / 13.3 sq ft per pallet = 9 pallets in the building
3 * 40 " = 120" = 10'
3 * 48" = 144" = 12'
So a building that was 10 x 12 feet on the inside could hold 9 pallets. But a building that is (permit free building120 sq ft outside dimensions can hold fewer, but how many?

The local building code has a provision for storage buildings where no permit is required if they meet some rules:
"1. What types of projects do not require a building permit?
a. One story detached accessory buildings used as tool and storage sheds, play houses and similar uses, provided the floor area does not exceed 120 square feet (electrical service requires a permit)."

So it may be possible to design a storage building optimized to hold the above metal storage racks where the cost of the building would be lower than buying an Intermodal Shipping Container.

Note the containers I have are 8' x 20' (160 square feet floor area) and the permit free storage shed is specified at 120 square feet maximum so it should cost 120/160 75% less than a container to be at the same cost per square foot of floor area.  So the 120 sf building should be on the order of $1500 max (2014 containers are about $2,000).

The internal dimensions of the storage shed should allow for a maximum number of metal storage racks and room to access them.
The construction should be weather proof and easy to build.

There's a 30 foot height limit on building in general that also applies to the permit free storage shed.  If multiple floors are used then some type of dumbwaiter (Wiki)  or stairs would be needed to move the items.
57928 Elevator, R.W. Lawrence, 1868-09-11 - counter balance, complex rope path
397228 Mechanism for operating dumb-waiters, G.M. Emerick, 1889-02-05 - electric motor and steel cable winch.

Temporary Car Port (Canopy)

I have a 10' x 20' one now and the problem is that the bungee cords with the ball on the end biodegrade because of the ultraviolet rays from the sun.  Another problem is that the tarp also disintegrated for the same reason.
The tarps seem to last a few years at most and maybe only last less than 2 years.  The main problem is UV breaking down the tarp and the bungee cords.  The parachute shroud lines hold up very well but they need to be installed with some slack so as to not cause excessive tension with the change in size caused by the summer to winter temperature differences.
19 Dec 2015
A possible improvement is to:
1. Use pipe insulation sleeving to lift the ridge line up off the pipe frame to lower wear.
2. Place the new tarp under the old tarp.  The idea is that the old tarp will offer some sun protection for the new (bottom tarp).
3. An idea is to paint the top of the tarp with white outdoor paint that's UV resistant to help protect it.  But have not tried that yet.
10' x 20' Temporary Car Port
10' x 20' Temporary Car Port


This one seems to have some improvements in terms of a flap that protects the bungee cords from the sun.
The ShelterLogic Max AP 10 ft. x 20 ft. White All Purpose 6-Leg Canopy might be an improvement.  It was designed to be easily transported, i.e. it fits into a carry bag (# 15577) that's 42" x 20" x 18".  Some of the tubes fit inside other tubes to save space.  This means that this shelter probably costs more than one that uses longer tubes or tubes that are harder to take apart to move/store. 

There are a number of accessories:

Part No.
Description
25757 Max AP 10 ft. x 20 ft. White All Purpose 6-Leg Canopy
25772
Enclosure Kit with Windows & Zip Up Door
25730
Extension Roof Kit for both sides (adds 2 ea 7x20' roof panels & poles)
25775
10 ft. x 20 ft. Sidewalls and Zip Up Doors Kit  (no windows)
25777
Screen Kit (like enclosure kit except all sides screened)
10075
30" Earth Auger kit (replaces? 10073 Earth Auger kit)
15577
Store-IT Canopy Rolling Storage Black Bag

References

Ref 1. Shipping Containers: The Box that Changed the World, 18:33 -
Ref 2. DIY Storage Solution With A Secret (You Won't Believe How It Works!), 21:16 - based on Levrack, comes in 7', 8', 10' & 12' heights, all 30" deep x 7.5' wide.  Similar to Mobile Shelving except moving shelf units hung from a pallet rack rather than use ground mounted rails.  The comments have many ideas for improvement/lower cost.  Many accessories offered.

Size
Width
Height
Depth
$
7'
7.5'
7'
2.5'
3850
8'
8.5'
7' or 8'
2.5, 3' or 4'
5450
4700
10'
10.5'
7' or 8'
2.5, 3' or 4' 6550
5800
12'
12.5'
7' or 8' 2.5, 3' or 4' 7650
6900

Links

Products I make and sell, All my web pages listed based on html name, PRC68, 24/7 Sky-Weather-Astronomy Web Cam, Contact Me

[an error occurred while processing this directive] page created 10 Feb 2008.