The following description
from
The
Clocksmith is for the first wind up version:
CALCULAGRAPH made by the
Calculagraph Co. in New York, N.Y. USA.
The movement is a Seth Thomas #10 (work horse) 8 day double
spring balance movement.
[bc note: this is very similar if not the same as the
movement used in the "Western Union"
Self Winding
Clocks]
The dial is white fired enamel with Roman numerals and
Arabic 5 minute numerals.
The bezel is iftted with thick beveled glass that is badly
scratched and scarred.
The case is sleek painted silver. One brass
plaque across the top has
“CALCULAGRAPH- US PATENTS NOS. 424.291, 424.292, 449.192,
583.320, 679.408, 697.426, 697.427 TRADEMARK SEPT. 13, 1892,
NO.21747.
The other plaque under the dial has:
“9611-CANADIAN AND EUROPEAN PATENTS”.
It was apparently used to bill long distance phone calls or
any activity that needed to be time measured. 9” round
9 ˝” tall
[bc note: the last patent was issued in 1902 so the wind up
model was being used then.]
Note that Henry Abbott has a number of patents covering
methods of making enamel watch and clock dials which were used
for the Calculagraph.
The following is from
Page's Engineering Weekly
Published by The Page Publishing Syndicate, Limited., 1904:
The Calculagraph and its
Functions.
The manufacturers who devised the calculagraph have made a
great advance on all other systems of time recording.
The ingenious calculagraph saves 50 per cent or more of the
time clerk's work by registering the time at which the job
commenced, and mechanically subtracting this from the time
of finishing; the difference or time elapsed is then printed
in hours and minutes on the card dropped into the slot.
The Calculagraph makes no clerical errors, and can be
manipulated by anyone. It is only necessary to push a
card into the slot and pull a lever, and the number of
calculations this clever machine can make is only limited by
the number of cards it is possible to push consecutively
into the slot during a given time.
. . . .
Special calculagraphs can also be had for industries or
factories where the rate of pay per hour is uniform in
the department, which print the value of the elapsed time in
(pounds Sterling), s. d. or other coinage. The
calculagraph therefore, obviates all necessity for clerical
work on the part of the workman, besides saving half that of
the time clerk. . . . .
The January 1928 issue of Electrical Communication published
by International Standard Electric Corp is an article titled:
The Calculagraph
It shows the round type Calculagraph positioned between two
switch boards so that two operators can share using it.
It mentioned that you can get either spring wound or
electrical drive versions.
A description by Roger Conklin (who supplied the above
article) 10 sep 2008 is:
Brooke,
Attached is the article from the Jan. 1928 issue of
Electrical Communications. This was published by IT&T in
New York.
Before the Calculagraph, the operators noted the start time
and stop time from a clock on the wall on a paper ticket and
then subtracted the former from the latter to determine the
minutes and seconds elapsed for calculating the charge on
the call. Normally there was a basic rate for the first 3
minutes and a per-minute overtime rate for each additional
minute, or fraction thereof. The extra-minute rate was
usually about 1/3 of the basic 3-minute minimum rate.
Because there were many calls at progress at any one time,
and because a single Calculagraph normally served two
complete switchboard positions, there was no way to
associate a specific call in progress with the Calculagraph.
That would have required a Calculagraph for each connecting
cord circuit. There were normally at least 10 cord circuits
for each operator on every switchboard position, which meant
that there could be 20 calls requiring timing in progress
when all 10 cord circuits on the two positions were
connected. Stamping each toll ticket when the call started,
and again when it was completed, allowed a single
Calculagraph to do the time recording for many calls. While
the call was in progress, the toll ticket was stored
temporarily in a slot in the keyshelf associated with the
particular cord pair over which the call was being
completed. That way the operator knew quickly which toll
ticket to slip into the Calculagraph and pull the handle
when the call was completed. Accuracy was dependent on the
operator being very prompt in stamping the toll tickets when
conversation began and when it terminated. It was only as
accurate as the operator was fast.
Also, on magneto switchboards, there was no sure electrical
signal when the called party answered or when the parties
hung up. Subscribers were supposed to "ring off" when they
completed a call to tell the operator the call was over, but
they often forgot to do that. The operator had to constantly
be monitoring the calls to determine when each call was
completed and then quickly stick the toll ticket into the
Calculagraph to stamp completion. She would open her
listening key just long enough to make sure the parties were
still talking. If she heard no conversation, she would ask
"Are you through?" If there was no response, she knew the
call was done and proceed to stamp the toll ticket in the
Calculagraph. It was a very "manual" process.
I have seen L M Ericsson toll switchboards, made in Sweden,
for common battery and automatic dial toll service where,
instead of a Calculagraph there was actually a meter mounted
in the switchboard keyshelf, one for each cord pair, which
was electrically operated to start counting elapsed time
when the answer lamp went out (when the called party
answered) and stopped counting when either party hung up.
This was electrically operated. The operator then read the
elapsed time from the meter and noted it on the toll ticket.
This elapsed time was used to manually calculate the charge
for the call. This was a more accurate method, but required
a much greater investment than did the Calculagraph.
It wasn't until TSPS cordless toll switchboards came along
that timing actuated by the subscriber's hanging up was
employed to determine elapsed time on long distance calls.
This is when call billing data started being recorded on
punched paper tape rather than on individual paper toll
tickets.
Roger
Henry worked as a watch-smith in
New York. At that time the import duty on watch parts
was lower than on complete watches, so he imported the parts
and assembled watches. Prior to inventing the
Calculagraph he invented a way to convert a watch from needing
a key to wind to to using the stem for both winding and
setting the hands. With his invention key wind watch
movements could be converted to stem wind making them more
desirable (valuable).
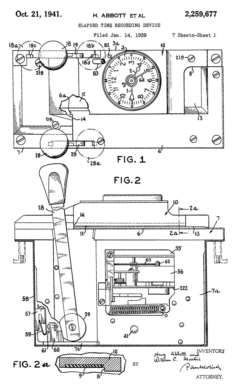
Round Model 110 Calculagraph
The key idea is that when the start lever is pressed back it
prints the graphical clock showing the start time and when
pulled forward it prints the two outer circles that will show
the elapsed time (not the stop time). When the card is
again inserted and the stop lever is moved back and forward it
prints the arrows in the elapsed time circles. Note that
the arrow always points to the zero position of the circle,
but they are printed at different times so show the elapsed
time.
There are two
holes in face as shown in the photo at the top of the
page. In the left "day of month" hole is a square post
that can be turned with a common clock winding key (3.4 mm
size). That same key can be used to press the cylinder
under the right hole to advance the months. The Time
Savers (#10050) 3.4 mm key fits the square pin, but it too
short to work the month advance so a key that's longer would
be a better choice. Also the squard pin does not want to
turn. Not sure why.
It's not yet clear how the hours and minutes are set.
This is a later version of the original round model. The
583320 patent shows a unit that's powered by a clockwork
spring, not an 110 VAC electric motor like this model 110.
1582651 is the 1926 patent for auto reversing the ribbon and
this model 110 s/n 52756 has auto reverse on the ribbon.

|
The cord goes through a
gromet in the side of the can so the socket
on the cord must be assembled after installing the
cord.
It mates to a plug visible in the photo below.
|

|
Plug
at the top mates with cord in can.
Electric motor is just below the plug.
|

|
|

|
The
large type wheel has the days of the month.
The wheel to the right has the months of the year.
|

|
There are five print
wheels in this photo.
The three clock face type are left to right:
* left Start Time is a three part dial the outer dial
(I to XII) is fixed (XII always at top),
the minutes arrow turns
with the visible clock face minute hand,
The triangular hour pointer
turns with the visible clock face hour hand.
Pressing the
START (left) lever back causes both the outer dial and
arrow to print.
* center TENTHS dial is two parts.
Pressing START (right)
lever forward causes outer dial to print (not pointer)
Pressing FINISH (left)
lever forward causes TENTHS pointer to print.
* right HOURS dial is two parts.
Pressing START (right)
lever forward causes outer dial to print (not
pointer).
Pressing FINISH (left)
lever forward causes HOURS pointer to print.
* center below tenths is the DAY OF MONTH wheel with
numbers on it's edge.
Pressing START (right)
lever forward causes wheel to print day of month.
* right below hours is the Month wheel with numbers on
it's edge.
Pressing START (right)
lever forward causes wheel to print three letter
month.
|

|
The hands are set just
past 12:00 to allow the pin to clear the Day Of Month
set arm.
When the arm is riding on the pin there is not enough
are swing to cause a date change.
This prevents getting the time and date out of sync.
|
After inking the ribbon there is still a failure to
print. The ribbon is not reversing properly and when
held in one positio does not supply fresh ink. The
reversing mechanism is the subject of patent 1582651 the first
page is shown below.
Setting Time & Date
On the visible clock face there are two ways to mount the
minute hand to it's shaft and only one of them is
correct. The hour hand is a friction fit and needs to be
rotated to match the start time small triangular
pointer. The minute hand should be installed to match
the minute pointer in the start time dial.
To set the time turn the visible minute hand clockwise (not
counterclockwise) until both the hour and minute hands are
showing the correct time.
There is a pin on the hour gear that restricts the movement of
the day of month setting key and a little after 12:10 the pin
allows full movement of the day of month key so for each
CW-CCW cycle of the key the day of month advances one
day. Note that the day of month and the month need to be
set manually since they are not connected to the clock work.
Key

Jeffrey Lamb of Kingston, Ontario makes a new setting key.
Rectangular Model 33
Calculagraph
The model 33 was made expressly for use on telephone
switchboards. It's powered by a 20 VAC electric
motor. The narrow rectangular shape allows it to fit on
the table part of a switchboard and not take up anywhere as
much space as the round model would.

|

|
Type
wheels as received. Some characters plugged.
|
These
wheels need more cleaning.
|
The Model 110 type wheels were also very dirty and have been
well cleaned. The Model 33 not only had very dirty type
wheels but also the ribbon spools and the finger that rides on
the ribbon had excessive build up of old ink which has been
scraped off.
Note that the Model 33 does not have day and date wheels like
the Model 110. Less to maintain.

This is the plate that's just above the
printing wheels. On it's back side is an almost hard
rubber strip that has a give to allow the type wheels to
depress the time card. The Model 110 also has the same
rubber strip under it's top plate.
The clock Hour, Minute and Second hands just press on the
shaft on the right side gear. No nut is needed like on
the Model 110. If this plate is turned upside down the
gears will fall out.
By manually operating the FINISH
lever the ribbon will feed. When the end of travel is
reached the direction is supposed to reverse. But on
both of these a very small drop of oil on the reversing
mechanism was needed to get them to auto reverse.
By applying stamp pad ink just prior to the take up spool you
can see the ink from the ribbon that's already on the spool
soak through to the new ribbon that's being wound on. If
you don't see the ink wetting the new ribbon then add more
stamp pad ink.
Note that working any of the levers to advance the ink also
puts ink on the rubber platen and that needs to be cleaned
before using the Calculagraph.
030-102-801 KS-7769
Calculagraphs Piece-Part and Replacement Procedures, issue 6,
Oct 1961
180739 Winding and Setting
Attachments for Watches, Henry Abbott, Jun 6, 1876, 368/213 ;
968/25 -
193312 Lever Winding and Setting Attachments for Watches,
Henry Abbott, Jul 24, 1877, 368/213 -
203524 Improvement in Stem Winding Watches, Henry Abbott, May
14, 1878, 368/196 -
309909 Process of Applying Colors to Enamel Dials of Watcches
and Clocks, Henry Abbott, Dec 30, 1884, 156/89.24 ; 156/235;
427/149; 428/426; 428/914
309910 Ornamenting Enameled or Glazed Surfaces, Henry Abbott,
Dec 30, 1884, 264/245 ; 264/255; 425/470 -
309911 Ornamenting Enameled or Glazed Surfaces, Henry Abbott,
Dec 30, 1884, 156/235 -
309912 Ornamenting Enameled or Glazed Surfaces, Henry Abbott,
Dec 30, 1884, 118/500 -
309913 Ornamenting Enameled or Glazed Surfaces, Henry Abbott,
Dec 30, 1884, 156/241 ; 428/914
309915 Ornamenting Enameled or Glazed Surfaces, Henry Abbott,
Dec 30, 1884, 264/334 ; 156/344; 264/343
310112 Ornamentation of Glazed Enameled Surfaces, Henry
Abbott, Dec 30, 1884, 156/89.24 ; 156/155 - stencil method of
making clock and watch dials
335731 Stem Winding and Setting Watch, Henry Abbott, Feb 9,
1886, 368/198 -
335732 Stem Winding and Setting Mechanism for Watches, Henry
Abbott, Feb 9, 1886, 368/196 - movement well run out of case
335733 Stem Winding and Setting Mechanism for Watches, Henry
Abbott, Feb 9, 1886, 368/197 -
424291
Apparatus for Recording Measurements of Time, Emery M.
Hamilton (assigned to Henry Abbott), Mar 25, 1890, 346/95 -
This is the start of printing
a dial face like later used in the Calculagraph
424292
Apparatus for Recording Measurements of Time, Emery M.
Hamilton (assigned to Henry Abbott), Mar 25, 1890, 346/95
432256 Interchangeable Stem-winding-watch Movement, Henry
Abbott, Jul 15, 1890, 368/318 -
432290 Interchangeable Stem-winding-watch Movement, Henry
Abbott, Jul 15, 1890, 368/318 -
432291 Interchangeable Stem-winding-watch Movement, Henry
Abbott, Jul 15, 1890, 368/318 -
437371 Type Writing Machine, Henry Abbott, Sep 30, 1890,
400/666 ; 235/26 - prevents two keys from working at the same
time
437372 Type Writing Machine, Henry Abbott, Sep 30, 1890,
400/396 ; 400/405.1; 400/431; 400/454; 400/471- upper &
lower case letters with different colors
443032 Inking-pad for Type-writing Machines, Henry Abbott, Dec
16, 1890, 400/471 ; 400/413 -
some similarity to the
Calculagraph but clearly different
449190 Tool for Clamping Type to Type-bars, Henry Abbott, Mar
31, 1891, 269/37 ; 269/47 -
449191 Platten for Type-writing Machines, Henry Abbott, Mar
31, 1891, 400/657 ; 400/656
449192
Apparatus for Recording Measurements of Time, Space or
Quanity, Henry Abbott, Mar 31, 1891, 346/95 ; 346/145 -
not called a Calculagraph but
is very similar to the round version in patent 583320
579121 Eyeglasses or Spectacles, Henry Abbott, Mar 23, 1897,
351/144 -
486458
Time Stamp, Jacob Ganss, 1892-11-22, -
583320
Calculagraph, Henry Abbott, May 25, 1897, 346/61 - the first
Calculagraph
618760 Eyeglasses or Spectacles, Henry Abbott, Jan 31, 1899,
351/149 - these predate the ones in the
Movie
"The Jerk".
679408
Adjustable Bearing, Henry Abbott, Jul 30, 1901, 74/586 - for
the round Calculagraph operating levers
697426
Calculagraph, Henry Abbott, Apr 15, 1902, - increase
efficiency and ease of operation of 583320
697427
Calculagraph, Henry Abbott, Apr 15, 1902, 346/145 - table
flush mounting using a can (still wind up version)
771853
Telephone Call Recorder, Henry Abbott, Oct 11, 1904, 346/41 ;
346/95; 379/119; 379/140 -
Uses relays connected into the
telephone system to start and stop instead of manual levers
772308
Telephone Meter, Henry Abbott, Oct 11, 1904, 379/119 ; 200/14;
346/95; 377/6 - one meter per phone line, all automatic
878447
Time Printing Mechanism, Henry Abbott, Feb 4, 1908, 346/61 -
Vertical or horizontal mount, printed record contains machine
serial number
RE13597
Time Printing Mechanism, Henry Abbott, Jul 22, 1913, 346/61
- what was changed?
1091786
Card Gate, Henry Abbott, Mar 31, 1914, 101/102 - restricts the
way a card can be inserted into the round lever type
Calculagraph
1175107 Two-Cycle Engine, Henry Abbott, Nov 8, 1913, 60/314 ;
123/65VB; 123/71V -
1283432 Self Starting Synchronous Motor, H.E. Warren (Warren
Clock Co), Oct 29, 1918, 310/163 ; 310/126; 310/172
Prior to this time clocks were
governed by escapement wheels or pendulums so the
Calculagraph could use this motor starting 1918
1534755
Fastener for Ink Ribbons, Henry Abbott, Apr 21, 1925, 242/584
; 411/457; 411/921 -
JSQ-104 Oiling machine
Calculagraph - this is like a car odometer used to record
running time of equipment