Geodesic Dome Connector Plates
© Brooke Clarke 2009
Background
StarPlate
CH5 Gazebo Hub Plate
Bill of
Materials
Single
Frequency sizes
Patents
Links
Background
Since the 1960s when Bucky Fuller (
Wiki)
was at San Jose State I've been interested in Geodesic Domes (
Wiki).
Back then (no internet) I bought every book related to domes I
could find and all of them left me with the question "What is a
geodesic dome?". The
Sunnyvale
patent office files by class number rather than by patent
number like ALL the other patent libraries. This
allows manual searching a given class number. This is the
library serving the semiconductor industry among others.
Anyway, after reading Fuller's patent
2682235 Building construction, Fuller
Richard Buckminster, Jun 29, 1954,
52/81.3,
D25/13,
403/115,
52/630,
403/56,
403/144,
52/519,
343/872,
52/DIG.100
it's clear that alternate vertices are just above and just blow
the surface of a regular surface like a spheroid or ellipsoid.
This is but one example where fundamental information that's in a
patent is left out of books. So for some things the only
place where you can get the basic idea is by reading
patents.
I read each edition of the "Whole Earth Catalog" (
Official
web page,
Wiki)
and the biggest problem was making a dome water tight. But
for use in a garden to keep the wild animals from eating plants
that's not an issue. There are other problems, see the dome
Wiki.
This particular page was motivated by my interest in the sheet
metal connector plates that are available to make single frequency
domes like the StarPlate.
StarPlate
The StarPlate was sold by
Strombergs Chickens
who hold the patent rights. It's intended to join five
struts (2x2, 2x4, 2x6 lumber) to make a single frequency dome
where the strut length is up to nine feet. Their instruction
sheet shows: Carport, Wood Shed, Machinery Shed, Storage Building,
Greenhouse, Ice Fishing Hut, Corn Crib, Screened House, Vertical
Sided Building, Gazebo, Chicken Coup, Hutch, Basic Framework,
Covered Sandbox, Cabana.
Note: This plate is different than the CH5 that has provision to
connect to either 5 or 10 struts. See patent
4384801 below.
CH5 Gazebo Hub Plate
This is an improvement on the StarPlate in that it has
provision to attach 5 additional struts between the regular
struts. It is the one now being shipped by Strombergs.
The auxiliary struts might be used for larger size dome where you
need a seam because a triangle is larger than standard covering
materials, or . . .
you can use the auxiliary strut position instead of the adjacent
strut position to form a doorway. See patent 4498800 below.
|
|

|
The primary strut mounting hole is
about 0.406" I.D. (5/16" bolt)
The primary mounting hole for the axillary struts is about 0.390"
I.D. (5/16" bolt")
The nail holes for the auxiliary struts are about 0.165" (?
nail size, maybe #8 screw?)
The central hole is about o.365" I.D. (5/16" bolt?)
Why is this hole here?
Contact me
if you know
See my
fasteners page for
diameters.
The distance between the mounting hole center for any of the
primary struts to the center of the center hole is about
2.4". This dimension would need to be added to both ends of
the strut hole-to-hole length to get the center-to-center length
that's the same as one side of a triangle face.
The CH5 is different than the
StarPlate in that the CH5 has provision to attach 10 two-by
boards. Five are the same as on the StarPlate and the
additional five are between the StarPlate five. The
auxiliary boards go between the hub and the center of the strut
opposite the the hub (to the strut connecting the struts on either
side of the auxiliary board). The auxiliary board can be
connected to the CH5 using either a single bolt or using two
nails/screws. The auxiliary board needs to have it's far end
miter cut so that it's end is parallel to the strut. A
single nail can be driven through the strut into the
auxiliary board. The auxiliary boards could be the
vertical boards in a doorway and the regular struts omitted.
This was the plate that came in the kit of 11 plates from
Strombergs Chickens!!
It looks like they are now shipping the CH5 instead of the plain
plate.
Bill of Materials
25 Struts or 5 struts treated for foundation + 5 longer struts for
roof overhang + 15 struts for walls and top plate
50 5/16" carriage bolts might be 2.5", 3.5", 4.5", 6.5"
,etc. depending on size of strut lumber (2x2, 2x3, 2x4, 2x6).
50 5/16" nuts
50 5/16" washers
It might be better to use Loctite 222 instead of lock washers.
Update;
Stromberg's Chickens now offers
kits
that include the nuts, bolts and washers for either 2x2 or 2x4
struts.
Description
|
#
|
unit
|
$/unit
|
Total
|
2"x4"x10'
struts
|
20
|
ea
|
2.66
|
53.20
|
| 2"x4"x10'
pressure treated struts |
5
|
ea
|
6.00
|
30.00
|
carriage
bolts
5/16x4-1/2" for 2x4 lumber
5/16x2-1/2" for 2X2 lumber
|
2
|
box
|
28.87/25 |
57.74
|
5/16"
washers
|
2
|
box
|
4.50/25
|
9.00
|
| 5/16"
lock washers |
2
|
box
|
4.50/25
|
9.00
|
5/16
Nuts
|
2
|
bag
|
4.23/25
|
8.46
|
shade
cloth (top & South) (6'x30' roll)
|
2
|
rolls
|
30/roll
|
60
|
shade
cloth to wood clips
|
4
|
bag
|
4/30
|
12.00
|
1"
chicken wire (9 side triangles) (3x50 roll, 3x25 roll
|
2/1
|
rolls
|
28 / 17
|
73.00
|
tbd
door
|
|
|
|
|
Total
|
|
|
|
|
Single Frequency sizes
The StarPlate literature suggests
that nine feet is the maximum strut length. This may be
based on building codes and may assume plywood or other sheeting
covers the dome thus subjecting it to snow loads.
The
StarPlate Connection by Norm Lee says they were designed to
use either:
Length
|
Material
|
Additional
Bracing
|
6'
|
2x2
|
none
|
8'
|
2x4
|
none
|
10'
|
2x6
|
eve
cable1 or central post
|
Note 1 - Yurt (
Wiki)
is the term for a building that uses an eve cable. That way
an arched or peaked roof can be supported without a truss.
There's another limitation on size and that's based on the length
of common sizes of lumber and how straight they are. In my
case I want to build a cage for a garden that will keep out Deer,
Rabbits, Turkeys, Squirrels, Birds, etc. so there's no snow load
and the building weight is very low. There's no runoff water
consideration. I don't think this would be called a green
house, maybe a Garden Cage or better a Garden House.
SimplyDifferently
- Dome
Calculator
-1V/L1 2/3 Icosahedron Dome calculator. 1V: Single Frequency, L1:
there is only one strut length, 2/3 of a circle not a full ball.
Table 1
This table ignores the connector
plate and is theoretical in nature.
Strut Length is between two adjacent central hub junction
points. The idea is to get some feel for how strut length
relates to dome size.
| side feet |
S |
2 |
3 |
4 |
5 |
6 |
7 |
8 |
9 |
10 |
12 |
14 |
16 |
18 |
20 |
Lumber
|
|
2x2 |
2x2 |
2x2 |
2x2 |
2x2
|
2x4
|
2x4 |
2x4? |
2x6
|
2x6? |
?
|
?
|
?
|
?
|
| triangle ht |
h |
1.7 |
2.6 |
3.5 |
4.3 |
5.2 |
6.1 |
6.9 |
7.8 |
8.7 |
10.4 |
12.1 |
13.9 |
15.6 |
17.3 |
| triangle area |
A |
1.7 |
3.9 |
6.9 |
10.8 |
15.6 |
21.2 |
27.7 |
35.1 |
43.3 |
62.4 |
84.9 |
110.9 |
140.3 |
173.2 |
| Floor area |
B |
6.9 |
15.5 |
27.5 |
43.0 |
61.9 |
84.3 |
110.1 |
139.4 |
172.0 |
247.7 |
337.2 |
440.4 |
557.4 |
688.2 |
h = Triangle Height =SQRT(3)*S
A = Triangle Area = 0.5*S*h
B = Floor Area of pentagon = 1.720477*S*S
Note: If the strut length exceeds the size of the covering
material then the auxiliary strut will need to be installed.
This is not really a two frequency dome since the shape of each
surface is still an equilateral triangle (
Wiki).
It can be attached at the plate end using either a bolt and/or
nails or screws between the main struts.
At the other end it will need to be cut at an angle so that it can
be attached to an adjacent strut using a couple of screws or right
angle
StrongTie -
metal
A brackets.
The instruction sheet has the needed cutting angles.
Patents
2682235
Building construction, Fuller
Richard Buckminster, 1954-06-29, - I studied Fuller's
geodesic domes (Wiki)
for over a year and after buying a stack of books over a foot
tall still did not know what they were. The patent makes
clear the idea of having nodes just above and just below a
regular surface as the heart of the idea. Note the prior
art patent he cites has the nodes on the surface and so his
improvement was to place them alternately above and below the
surface.
4498800
Junction Plate, Ulrich Sielaff (United steel Products Co.), Feb 12
1985
403/172 ; 403/217; 52/81.3 -
CH5 Gazebo Hub Plate
Fig 1 & Fig 2

|
Fig 5 & Fig 6

|
Calls:
2803317 Structural Space Frames, R.
Henderson (Research Interests Ltd), Aug 1957 - commercial
building roof structure
3270478 Building Construction, C.W.
Attwood, Sep 1966 - commercial building roof structure
3486278 Geodesic Dome Roof Element, B.L.
Woods, Dec 1969 - cylinder surrounded by "U" channels
3844664 Icosahedron Disc, J.P. Hogan, Oct
29 1974 - Plate made from disc with notch, 2 holes for each
board, has 1/5 overlap with common holes for one board
3857212 Hub Joints for Geodesic
Domes, H.R. Barnett Dec 1974 - works with "T" section steel
struts
3861107 Connecting Fixture Assembly for
Space Frame System, H.V. Papayoti, Jan 1975 - commercial
building roof structure
3990195 Hub for geodesic dome framework
construction, R.R. Gunther, Nov 9, 1976 - 5 leged star, two by
needs central slot and bolt holes
4203265 Hub and strut system for geodesic
domes,R.P. Ivers & M.J. Thimsen (Geodesic Shelters Inc), May
20, 1980 - flat plate requires complex board end operations
4384801 the
StarPlate
see below
Called By:
5927363 Prefabricated collapsible awning frame system,
T.C. Olsen
5918998Joint for three-dimensional framed structures for
interior and construction use,
T. Pourmand
5134816
Beam clamp assembly for
conservatories, R.L. Bradley
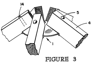
4384801
Junction plate, David O. Hamel (East-West Design Group) May
24, 1983 - the
StarPlate
Fig 1 StarPlate

|
Fig 3 StarPlate with Struts

|
Links
Strombergs Chickens
- StarPlate - the netting will only keep in or out birds, not
rabbits or larger animals
United Steel Products -
CH5
Gazebo Hub Plate
Domes To The
Rescue - Bracing the bottom pentagon by adding two
struts forming 3 triangles. Allows turning on side and then
rolling over billboard Vinal ( ). Uses 2 ea Simpson Strong-Tie
(R) No. MSTA12Z
and drilling a 3/8-inch hole in the center to make "C" brackets and
a Simpson Strong-Tie (R) No. RTF2Z
and drilling a 3/8-inch hole in the center to make a "V" bracket.
Back to Brooke's: PRC68, Products for Sale, Personal, Patents
web pages
[an error occurred while processing this directive]page created 16 July 2009