HP 415 SWR Meters

& 200 Series Audio Oscillators

© Brooke Clarke, N6GCE 2003 - 2022

HP 200C
HP 200C
                    (TS-312) Audio Oscillator
Rear
HP 200C
                    (TS-312) Audio Oscillator


HP 415A
HP 415A, IM-97/USM-37, SWR Meter
Rear
HP 415A, IM-97/USM-37, SWR Meter


HP 415E
CD-ROM HP415E
Inside & Rear
Inside & Front PCB
Front Panel
Inside bottom & rear
Inside Bottom & Front of 2709A10766
A3 PCB 00415-60023
Background
The 200 Series Audio Oscillators are Related to the HP 415 SWR Meters
Model History
    415A
    415E Controls & Connectors
        Operation
        SWR Meter
        Slotted Line
HP 200 Series Audio Oscillators
Distortion Analyzers
HP Slide rule Calculator
Patents
GR Products
Manuals
Links

Background

 Back in the days of tube type equipment there was an HP 415 SWR (Standing Wave Ratio) meter and there have been a number of versions ending with the latest "E" model.  This instrument is a very narrow band 1 kHz attenuator and amplifier and a precision rectifier.  The relative amplitude of the 1 kHz signal can be read to scale ticks of 0.05 dB and interpolated to 0.01 dB.  There is also a scale for the original purpose of reading SWR.  The SWR scale was THE feature that separated the HP instrument from the GR 1232A Tuned Amplifier and Null Detector which took a lot of work when used to measure SWR.  It makes use of what some call the Hall Network (pdf) "The only known commercial use of the Hall network is as a tunable band-pass filter for the 1961 General Radio product, Type 1232-A Tuned Amplifier and Null Detector (References 5 and 6). An examination of the manual for this instrument reveals that all capacitors are the same value. This product is still sold today by IET Labs, Inc. (http://www.ietlabs.com/) as part of the GenRad 1620 Capacitance Bridge."  Maybe Ken did not know about the HP products that licensed the GR patent 2173427?

Note that if Full Scale is set on the "zero" range then when reading down 10 dB on the 60 range you are reading a signal that's down 70 dB.

The 415E is 6" high and 7 3/4" wide.  This does not appear to be a standard Rack Mount instrument size.

June 2022 noticed an HP 200C (HP 1943 Catalog pg 12) on eBay (TS-312/FSM-1) and the label on the back referenced the same two patents as are on the HP 415A: 2173427 & 2268872.
It makes sense for the Hewlett patent 2268872, to appear on the oscillator that makes use of it, but why on the 415 SWR meter where only the GR patent (2173427) is being used?  Maybe that was part of a cross licensing agreement between HP and GR?  That would explain why the GR patent also appears on the HP audio oscillator where it is not used.

Best guess:
TS-312/FSM-1
TM 11-2684
TS-312A/FSM-1
TM 11-2684A
TS-312B/FSM-1
Let me know about the FSM-1.

The HP 3550A Portable Test Set was in the 1965 Catalog and consisted of the 204B oscillator, 353A Patch Panel, 403B Voltmeter all mounted in the 11046A portable case.  Intended for telephone related testing.   Maybe the FSM-1 was a similar test set?

The 200 Series Audio Oscillators are Related to the HP 415 SWR Meters

I started this web page in 2003 because I like the HP 415E.  The main reason is that I think of it as a AC voltmeter with a very narrow pass band filter centered at 1 kHz.  Because of kTBR noise (Wiki) the narrower the instrument bandwidth the better the signal/noise ratio (Wiki).  This also applies to radio receivers and spectrum analyzers. 

Another reason is that I spent many hours with an HP 415E and a slotted line (Wiki) plotting the impedance of the circulators used to make Tunnel Diode Amplifiers (Wiki).  About a year later HP came out with the HP 8410 Vector Network Analyzer that could show a real time plot of S11, i.e. the impedance of the circulator so the SWR meter and slotted line were relegated to the store room.

I searched for a patent on the HP 415 and for 19 years had no luck. Notice that the 415 Model History section has no mention of any patents because none of the HP 415 literature mentions any patents.  But then found it was patented by Herman Hosmer Scott (Wiki) (who was working for General Radio).  He later started a company that made High Fidelity stereo amplifiers under the trade name H.H. Scott (Wiki). That prompted me to get the HP 415A shown on this web page.

The HP 415A has a label that says: "Licensed by Western Electric Company, Inc. Under U.S. patents of American Telephone and Telegraph Co. and Western Electric Company, Inc. and by Radio Corporation of America.
(See Label Inside)
If this set contains a Resistance Tuned Oscillator, it is licensed under U. S. patent No. 2,173,427 and manufactured under U.S. patent No. 2,268,872."

I'm guessing that during W.W.II and for some years afterword the first sentence was boiler plate credit to AT&T, WE and RCA.  But the second sentence is very specific to the HP 415 SWR meter.  Since the HP 415 does not contain a resistance tuned oscillator the 2173427 Hewlett patent that was the basis of founding the company Hewlett-Packard (and probably why Hewlett is the first mentioned name) that patent has no relevance to the HP 415 SWR meters (Wiki: Wien bridge oscillator, HP HIstory, HP 200A). 

It's the 2268872 patent by H.H. Scott working for General Radio that's the heart of the HP 415 SWR meters.  It is for what I'd call an active filter (Wiki) circuit that has the ability to implement either a very narrow pass band filter (the HP 415 SWR meter, GR 760 Audio Analyzer, &Etc) or a very narrow stop band filter, or an audio oscillator. 

It turns out that the HP200 series of audio oscillators make use of GR patent 2268872 in the positive feedback portion of the oscillator and the Hewlett 2173427 light bulb patent in the negative feedback portion of the oscillator.  While this dependence on two patents is clear from the labels on the HP 200 series audio oscillators as well in the HP patent this is the first time I've been aware of it.

415 Model History

Model
Tech
Catalog
415A
IM-97/USM-37
NavyRadio.com
Tube
1949
1950
1951
1953
1954
415B Tube 1959
1961
1695
1967
415BR Tube
415D
Ge? Xistor
1965
415E
Si Xistor
1966-1967
HP Serial Number to Mfg. date

HP Journal

HP Journal Jan-Feb 1953 Vol 4 No. 5-6: More About -hp- Precision Directional Couplers - mentions the 715A Klystron power supply and the 415A standing-wave indicator.
HP Journal March 1955, Vol 6 No. 7: A New Standing Wave Indicator With an Expanded VSWR Scale - The 415B. (the same issue has the 430C power meter).
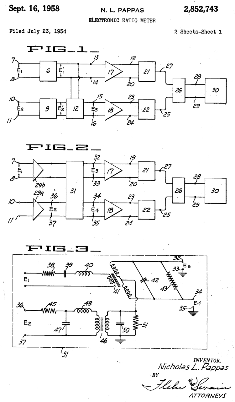
HP Journal Oct 1955, Vol 7 No. 2: High - Directivity Coaxial Directional Couplers and Reflectometers - mentioned 416 Ratio Meter (see patent 2852743
HP Journal July 1966 Vol 17, Measuring Attenuation, SWR, and Substitution Loss with a Low-Noise, High-Precision SWR Meter, by Bradford G. Wolley
The 415E is pictured.  The 415A dates from 1952.

415A

This example is marked:

Licensed by Western Electric Company, Inc. Under U.S. patents of American Telephone and
Telegraph Co. and Western Electric Company, Inc. and by Radio Corporation of America.
(See Label Inside)
If this set contains a Resistance Tuned Oscillator, it is licensed under U. S. patent No.
2,173,427 and manufactured under U.S. patent No. 2,268,872.
115 Volts       50 - 60 Cycles
Serial  3428
Manufactured in the United States of America
Hewlett-Packard Co.
Palo Alto, California   (R)

 IM-97/USM-37
Indicator, Standing Wave
Supply: 115V or 220V 1(phase) 60 (cycles)
A unit of indicator, standing wave AN/USM-37
Manufactured for
Navy Department - Bureau of Ships
By Contractor
Hewlett-Packard Company
Palo Alto   California
Contract  NObsr-64702
U.S. Property

For the past 19 years (on and off) I've been trying to find the HP patent for the 415 SWR meter.  Today (2022 Apr 18) I found a photo on an eBay ad for a 415A (it's on order) that showed patent numbers 2268872 which is THE audio oscillator that started HP.  I don't understand why it's on the 415 SWR meter? And another patent ending ....427.  I could not find any HP patents between 1941 and 1954 ending with 427.  But did find a photo of a USM-37 at NavyRadio.com  where, with a magnifying glass I made out patent 2173427 assigned to General Radio.  The Inventor was H.H. Scott (Wiki).

PS I bought a new H.H. Scott stereo audio amplifier and it had so much noise out into my Voice of the Theater speakers that I traded it in for a McIntosh MC2505 (Wiki).  The Scott amp probably would be fine when used with Acoustic Suspension loudspeakers (Wiki) but not with efficient speakers like the Altec Lansing (Wiki) Voice of the Theater speakers.
GR made the 1232A Tuned Amplifier and Null Detector (IET: manual) based on thier patent 2268872.  This requires tuning to the desired frequency unlike the 415 which has a single pre-tuned frequency.  Also the 415 has a scale calibrated in SWR whereas with the GR 1232A you need to manually calculate the SWR (Wiki) which involves taking two square roots which in the 1950s was not trivial so the HP 415 was a great time saver.

The HP 415 SWR meter makes use of the General Radio active filter patent 2173427 in order to get the narrow pass band which would be difficult to get any other way.  The HP 200 series of audio ocillators (Wiki) also make use of the GR patent 2173427 in the positive feedback circuit that determines the frequency of oscillation.  Hewlett's patent 2268872 only applies to the negative feedback that stabilizes the output level by means of the lamp in the input tube's cathode circuit.  HP licensed the GR patent for use in the 200 series oscillator and 415 SWR meter and maybe other instruments yet unknown to me.  Note GR patent 2173426 was issued the same day as 2173427 and is very similar and also describes the GR 760-A Sound Analyzer, so maybe some early HP distortion analyzers are also based on GR patents?  Let me know.

Fig 1
HP 415A, IM-97/USM-37, SWR Meter
Fig 2
HP 415A, IM-97/USM-37, SWR Meter
Fig 3
HP 415A, IM-97/USM-37, SWR Meter
Fig 4 Note aluminum can marked 1 kc.
In theory it could be unplugged and replaced with a circuit for a different frequency.
HP 415A, IM-97/USM-37, SWR Meter
Fig 5 Terminal Board construction
HP 415A, IM-97/USM-37, SWR Meter

415E Controls & Connectors

Front Panel

The analog meter movement is a mirrored type where you look for the reflection of your eye's pupil bisected by the needle and thus eliminate parallax in the measurement.  There is also a mechanical meter zero pot.  The correct way to use this is to turn the pot in one direction so that the needle moves up scale and and then comes back down scale and you stop turning when the needle is over "2" on the expanded scale.  If you over shoot, do not turn the screw in the opposite direction, but rather, continue turning and approach the zero position from up scale.

The POWER switch has positions for OFF, ON, (and for instruments with the optional internal battery supply: Battery: ON, TEST and CHARGE).  

The INPUT switch has positions for XTAL IMPED: HIGH, LOW or BIASED (+1.3 VDC on the center contact with 12.6 mA of current capability) and BOLOMETER: 4.5 mA or 8.7 mA.  To match a wide variety of input sources.  The HIGH position is also used for signal sources that are not from a detector or power sensor.

The INPUT is a BNC(f) connector with the shell 50 Ohms above ground.

The FREQ adjust pot allows the center frequency of the 415 to be set to match the frequency of the source generator.

The BANDWIDTH control adjusts the width of the pass band and therefore also controls the signal/noise ratio for faint input signals.  If the 415 is used with a sweeper this control should be set fully CCW to increase the BW to allow for signal variations as the sweep progresses.  Also the amplifier output should be used to drive a scope or chart recorder instead of the recorder output since the latter has a low pass filter that limits it's bandwidth.

The RANGE-DB control has an outer knob with positions for 0, 10, 20, 30, 40, 50, and 60 dB a very large dynamic range, and an inner EXPAND knob with positions of: NORM, 0, 2, 4, 6 and 8 dB.  By using the expanded (red) scale positions you can read amplitude to 0.01 dB over the full 60 dB range.  On the 0-NORM range you can bring the needle to full scale with an input signal between 0.120 VAC and __?__.

Comparing the 34401 DVM with the 415E shows that the noise bandwidth of  the 34401 limits its use:
415E
34401A
FS 10 range
1.4 V
FS 20 range
140 mv
FS 30 range
14 mv
FS 40 range
1.4 mv
FS 50 range
0.01 mv*
FS 60 range
can not get signal this low

* 34401 is reading noise and 415E has a Full Scale reading.

The Gain & Vernier controls will bring the needle to Full Scale with an input of more then 0.12 Volts up to more than 5 Volts.

Square Law

Note that the 415 reads 10*LOG(voltage ratio), this is called "Square Law" and when the 415 is fed from a microwave detector that has a low level signal at it's input the 415 will read the same as a power meter because the detector has a "square law" response.  If you were trying to measure the dB difference in two voltages you would normally use dB = 20 * LOG(voltage ratio), but that's not what the 415 was designed to do.

Rear Panel

On the rear panel there is a BNC(f) RECORDER output that has a 0 to 1 VDC signal to drive a chart recorder and a pair of banana jacks on the standard 3/4" centers that has the amplified 1 kHz signal.  There is a covered hole that can be used to change the input connector from the front panel to the rear panel.

Operation

SWR Meter

I used the 415E for making microwave Smith Chart plots in conjunction with a slotted line and for making attenuation and/or gain measurements using a crystal detector.  The 415E is very good for both of these measurements and probably is the highest dynamic range scalar measuring instrument around.   It would also work fine for making optical measurements with an optical to DC converter.

A key feature is the narrow (slightly adjustable) bandwidth. Note slotted screw pot at lower right of front panel.  One article says the Q is 25 to 35 centered at 1 kHz, so in the range of 40 to 28 Hz.

Side Bar: Lock-in Amplifiers (Wiki, SRS AN3) & Autocorrelators (Wiki)

I worked with an engineer from the UK many decades ago.  One of the jobs he worked on involved measuring the impulse response of a steam powered electrical generation plant.  Since feeding the turbine an impulse of steam would destroy pretty much everything some other method was needed.  He used an Autocorrelator.  This is a method even more advanced than the Lock-in Amplifier.  It involved a "T" connection on the steam line where a piston that could be used to make a very small change in the line pressure and a very long digital signal.

Note that the 1 Hz Resolution Bandwidth of the HP 4395A spectrum analyzer goes a long way to seeing very weak signals.

Also see Microwave Test Equipment\Hot-Cold Noise Source.

I'm considering using it to measure the output of magnetic field sensors, where it's narrow noise bandwidth may greatly extend the sensitivity of the sensor.

When a 5.04 k Ohm resistor is connected to the input and the range set for Xtal Impedance High and both the gain and vernier knobs are turned fully clockwise the meter reads 6.5 dB below full scale.  The manual addresses the theoretical KTBR noise (Wiki) of a 5 k Ohm resistor and how the 4 dB noise figure of the 415E will show up in the measurement.  This shows how sensitive the meter is.

Typical uses for the 415E are: SWR measurements using a slotted line, Power measurements using a Bolometer (Wiki), Relative power measurements using a crystal detector.  In all cases the source must have a 1 kHz square wave modulation.

Slotted Line

When a short is installed on the unknown port and the slotted line (Wiki) carriage is moved back and forth there should be a couple of nulls a half wave apart.  This means as the test frequency gets lower the slotted line needs to get longer.

Record the location of a null.  Install the Device Under Test (DUT) and find the nearest null.  The movement of the null and it's direction (either toward the DUT or away from the DUT) corresponds to be rotation on a Smith Chart (Wiki).  The SWR will determine the radial distance on the Smith Chart.  This is relative to the transmission line impedance of the slotted line, typically 50 Ohms.

Slotted line in patent 2673963 below.

HP 200 Series Audio Oscillators

The label says:

TS-312/FSM-1
200C-Spec. 36481
Hewlett-Packard Company
Palo Alto, California

Let me know what the FSM-1 is.

The 200CD Wide Range Oscillator with a military label: NSN: 6625-518-4659 AF Contract No. AF 36/600/12149 also has the Hewlett patnet number 2268872 on the serial number S-2014 label.

Fig 1 Front
HP 200C
                    (TS-312) Audio Oscillator
Fig 2 Back with patent licensing label
HP 200C
                    (TS-312) Audio Oscillator
Fig 3 Back Inside
range switch behind power transformer
HP 200C
                    (TS-312) Audio Oscillator
Fig 4 Bottom either C4 or C10 missing under bracket.
Cut white wire near line cord.  So not complete.
HP 200C
                    (TS-312) Audio Oscillator


Distortion Analyzers

While the photo below is from an HP 330B Distortion Analyzer I found on eBay, I expect the HP 300A and 320 Distortion Analyzers also make use of the GR patent.

HP 330B Distortion Analyzer
Inside upper left corner of right side panel just above the power transformer.
HP 330C Distortion Analyzer Patents
U.S. Patent No. 2268872
Licensed under U.S. Pat. No. 2173427, also licensed by Western Electric Company, Inc., under U.S. patents of American Telephone and Telegraph Company and Western Electric Company, Inc., for use only for testing or measuring apparatus or phenomena or for other scientific or technical investigation, development, or instruction, except for testing or measuring physiological phenomena and except as part of or in association with apparatus for the transmission or reception, by wire or radio, of intelligence of any kind, other than in association with, but not as part of, radio broadcast transmitting or receiving systems for testing and measuring the transmission or reception thereby of programs.
MODEL _________________   SERIAL _____________
Hewlett-Packard Co.
Palo Also California

Also see the Boonton Q-meter for similar licensed by labeling.

HP Journal Aug 1951, Vol 2 No. 12  Distortion Measuring Equipment by Burnton Bauer: 300A, 320B, 330A
2418568 Frequency divider, Bauer L Brunton, HP, 1947-04-08, - Fout =[Fin* (n+1)]/n

HP Slide rule Calculator

There were as many of these HP slide rules as there were technicians and engineers or maybe even more.  They were mostly used with reflectometer setups for measuring reflection coefficient and doing calculations related to that.  During the early years at Aertech we mostly used HP 690A and 8690A BWO sweepers.

HP Slide rule Reflectometer Calculator &
                  Mismatch Error Limits
Slide rule set at 14 dB RL = 1.5 VSWR.
That point also appears on the Allis Associates coffee cup.

  HP App Note 183 "High Frequency swept Measurements", Dec 1978 is mentioned on the slide rule.  The 8620 Sweeper is featured along with the 11691D Directional Coupler and 423 Detector in the ALC loop, covering 0.1 to 18 GHz.  Also mentioned is the 8755 Scalar Network Analyzer.  The 415E, 432A and 435A are also mentioned.

The Slide Rule description starts on pdf page 24 (doc pg 18). Fig 19 shows the slide rule set for 1.5 SWR (14 dB) as in the photo above.  Mismatch Error Limits starts on pdf page 46 (doc pg 34).

App A covers 2 and 3 resistor power splitters.
App B covers Errors in Reflection Measurements.
App C covers Errors in Transmission Measurements & mentions the 8750A Storage Normalizer that was supposed to replace grease pencils.
While B and C do not mention S-Parameters the diagrams have the look and feel of S-Parameters.

Patents

HP licensed the use of GR patent 217342 for the HP 200 series of audio oscillators and for the HP 415 SWR meter.  Both the HP 200 audio oscillator and the HP 415 SWR meter make use of the GR patent.  I think most people do not know that the HP 200 series audio oscillators also depend on the GR patent.  Note H.H. Scott patents 2173426 and 2173427 were issued the same day and are seminal in the filed of active circuits.

2106785 Electric filter, Herbert W Augustadt, Bell Labs, 1938-02-01, 363/45; 330/202; 330/123 - balanced bridged-T?

2163403 Stabilized oscillator, Larned A Meacham, Bell Labs, 1939-06-20, 331/139; 331/140; 333/188; 331/66; 331/183; 333/17.1-
Bell Labs patent 2319965 explains how there's a better way, such as 2173427.
The Bridge Stabilized Oscillator BSTJ (vol17-1938/articles/bstj17-4-574.pdf)
"The frequency controlling resonant element is used as one arm of a Wheatstone resistance bridge."
P
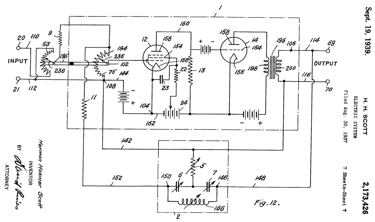
2173426
                          Electric system, Scott Hermon Hosmer, (Wiki HH
                          Scott: Company, man), General Radio,
                          1939-09-19
2173426
                          Electric system, Scott Hermon Hosmer, (Wiki HH
                          Scott: Company, man), General Radio,
                          1939-09-19
GR 760-A Sound
                          Analyzer
GR 760-A Sound Analyzer

2173426 Electric system, Scott Hermon Hosmer, (Wiki HH Scott: Company, man),  General Radio, 1939-09-19, 330/98; 330/85; 330/106; 330/109; 330/128; 333/171; 330/75; 330/96; 330/108; 330/127; 330/142; 333/172 -
"One of the objects of the present invention is to provide a selective electrical circuit, the response of which may be varied over wide frequency ranges without complicated tuning and switching mechanisms and without any serious shifts in the input and output impedances of the system or its sensitivity. One of the important features of the invention is that this result may be obtained without necessitating the use of any inductances whatsoever, using a frequency determining system which may consist of resistances and condensers only. The frequency to which such a system is selective can, accordingly, be varied by merely varying resistances or condensers, or both resistances and condensers."

This patent is on the label of the GR 760-A Sound Analyzer, photos at left.
P
2173427 Electric oscillator, Scott Hermon Hosmer,
                  General Radio, 1939-09-19
2173427 Electric oscillator, Scott Hermon Hosmer, General Radio, 1939-09-19, 331/138; 315/163; 330/86; 330/100; 330/106; 331/140; 331/142; 333/170; 330/104; 330/109; 331/141; 331/175 - Filters in feedback networks.

On back of 415A and HP TS-312 (HP200C) -
"A chief object of this invention is to provide a simple and satisfactory means of obtaining an oscillator which will provide a sinusoidal output voltage, but which does not contain any inductances as necessary circuit elements in order to obtain this sinusoidal wave-form."


This patent is at the heart of both the HP 200 series audio oscillators and the HP 415 SWR meter.  That's why it is printed on their labels.

TS-312/FSM-1
aka: HP 200C
TS-312/FSM-1
                        aka: HP 200C
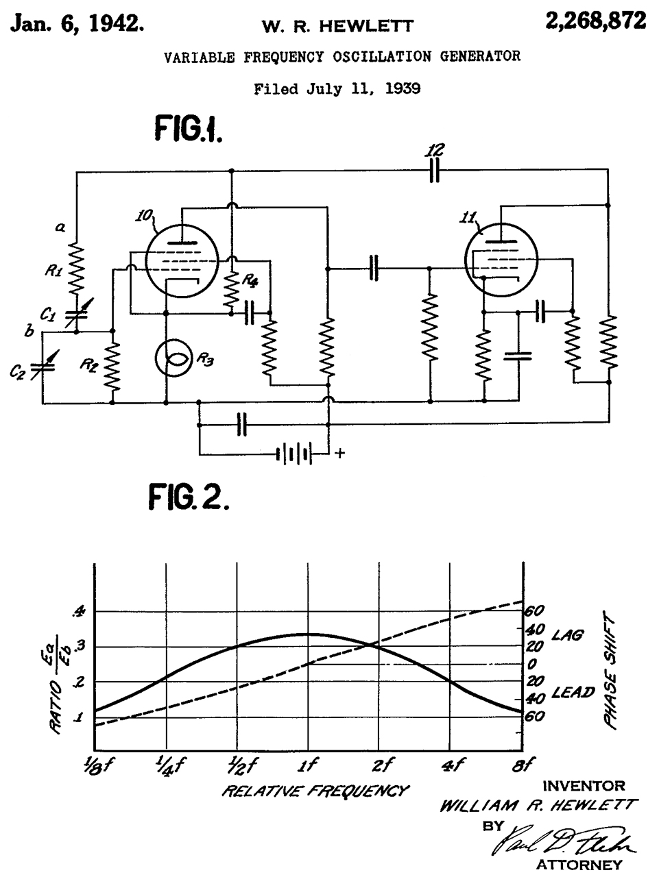
2268872
                          Variable frequency oscillation generator,
                          William R Hewlett, HP Inc, 1942-01-06
  TS-312 (HP 200C) rear label
TS-312/FSM-1
                          aka: HP 200C
Licensed by Western Electric Company Inc. under U.S. patents of American Telephone and Telegraph Co. and Western Electric Company Inc., and by Radio Corporation of America.
See Label Inside.
If this set contains a Resistance Tuned Oscillator, it is Licensed under U.S. patent No. 2173427 and manufactured under U.S. patent 2268872.
115 Volts  Serial No. S2014  50-60 Cycles
2268872 Variable frequency oscillation generator, William R Hewlett, HP Inc, 1942-01-06 331/141; 331/183 - THE HP patent (Wiki) with light bulb stabilization.

Makes use of positive feedback (GR patent) for determining the frequency and negative feedback to reduce distortion using a light bulb.  This clearly is making use of the GR patent 2173427 for frequency selection.

The level of oscillation is set to a low enough level, by means of negative feedback, so that there's very little distortion.  It is kept at that low level even though different tubes may be installed, or at different temperatures, or over component drift over time &Etc. by means of the non linear properties of the lamp (R3) in the cathode circuit of tube (10).

See: A real gem: HP's audio oscillator patent turns 60 -  Model 200A (Wiki)

Photos at left of the TS-312/FSM-1 label which is an HP 200C audio oscillator.

2319965 Variable frequency bridge stabilized oscillator, Raymond O Wise, Bell Labs, 1943-05-25, 331/142; 331/176; 331/183; 66/172E -
Mentions:
2163403,
2106785,
2173427, H.H. Scott
Called by the Oliver/HP patent 2852675

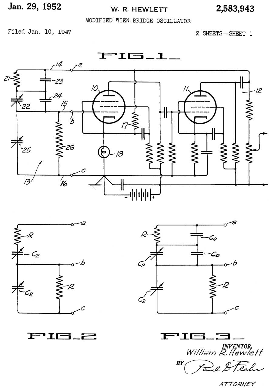
2583649 Modified wien-bridge oscillator, William R Hewlett, HP, 1952-01-29, 331/141 - to extend upper and lower frequency limits. Calls the same patents as 2583943.
2583943 Modified wien-bridge oscillator, William
                  R Hewlett, HP, 1952-01-29
2583943 Modified wien-bridge oscillator, William R Hewlett, HP, 1952-01-29, 331/141 - to extend upper and lower frequency limits.
Calls:

2072946 Harmonic analyzer, Paul O Farnham, RCA, 1937-03-09, 333/171 - this is an RCRCRC phase delay circuit, not an active filter.

2093665 Star and delta connection of impedances, Tellegen Bernardus Do Hubertus, RCA, 1937-09-21 333/171; 330/176; 333/170; 333/216 - various circuits including bridged-T circuits, but no active filters.

GB524314 Improvements in and relating to thermionic valve oscillators and amplifiers, RCRCRC

2268872 THE Hewlett patent

2298177 Electric filter circuit, Scott Hermon Hosmer, GR, 1942-10-06, 333/171 - active RCRCRC

2354141 Universal resistance capacitance filter, Ellison S Purington, RCA, 1944-07-18, 333/170 - bridged-T passive

2444084 Resistance-capacitance oscillator, Artzt Maurice, RCA, 1948-06-29, 331/136; 331/144; 331/141 -

2446821 Resistance-capacitance tuned oscillator, Gassel William, Gritz Henry, Philco Ford, 1948-08-10, 331/135 -


2673963 Ultrahigh-frequency measuring apparatus,
                  David Packard, HP, 1954-03-30
2673963 Ultrahigh-frequency measuring apparatus, David Packard, HP, 1954-03-30, 324/645 - 809 (USM-37D) Universal Carriage

This carriage can be equipped with waveguide or coax lines to cover different frequency ranges.

Model
Impedance
Ohms
Frequency
Connectors
805A
50
500 - 4000 MHz
N
805B
43.6
500 - 4000 MHz
7/8"
806B
50
3 - 12 GHz
N
* 805A is a long slab line two parallel grounds with a rod center conductor.
2852675 Modified wien bridge oscillator, Bernard
                  M Oliver, HP, 1958-09-16
2852675 Modified Wien bridge oscillator, Bernard M Oliver (Wiki), HP, 1958-09-16, 331/141; 330/109; 330/119; 330/82; 330/110; 330/121 -

HP Journal  Feb.1956 Vol 7 No. 6 - 201C, 200J & 202C
Balanced R-C Oscillator circuit B.M. Oliver.
2852743 Electronic ratio meter, Nicholas L
                  Pappas, HP Inc, App: 1954-07-23
2852743 Electronic ratio meter, Nicholas L Pappas, HP Inc, App: 1954-07-23, 324/140D; 324/76.83 - by measuring relative to a reference signal variations in the signal generator amplitude are automatically cancelled.  This probably was the HP 416 Ratio Meter. 

The only patent related to the HP 415 that I could find as of 2021.

---------------- Other old HP patents ------

3294988 Transducers,  Packard David, HP, 1966-12-27, 374/177; 257/288; 257/467; 310/319; 374/178; 600/488; 600/549; 327/564; 327/509; 601/4; 257/254; 257/417; 257/785; 310/338; 374/E7.035; 374/E7.002 - piezo pressure or temperature - can be used for medical probe

GR Products

I suspect all of these products are based on either 2173426 or 
GR 760-A Sound Analyzer is based on the 2173426 1937 patent. (GR Experimenter Feb 1939: An Analyzer for Noise Measurement, H.H. Scott. "The new analyzer, however, has a constant percentage band width at all Frequencies.")  (GR 760-B manual)
GR 761-A Vibration Analyzer (GR Experimenter June 1941: The Vibration Meter - A new electronic tool for industry, H.H. Scott)
GR 1231-B Amplifier and Null Detector (GR Experimenter Feb 1948) (1231-B manual, May 1961)
GR 874-VI Voltage Indicator - for use with 874 slotted lines and crystal detectors (1959 Catalog P, page 64, GR 11231-B page75)
GR 1232-A Tuned Amplifier and Null Detector (1961 Catalog Q, page 72)
GR 1234 SWR Meter (GR 1968 Catalog T, pdf page 126) (1234 manual, May 1968) Note the HP 415 came out in 1949.  HP introduced the 12 GHz 8410 Vector Network Analyzer in 1967. (HP Memory). It worked with the HP 690 series of Backward Wave Oscillator (BWO) microwave sweep generators.  Note that the parameters used prior to the introduction of S-parameters along with the HP 8410 were things like "y", "z" and "h" parameters that required either an open or short at the test frequency.  These tended to cause solid state devices, like microwave transistors to break into oscillation at some random frequency, maybe much higher in frequency than the test frequency, thus making the related measurements near meaningless.  Note there was a similar problem testing Tunnel Diodes until stable test fixtures were developed.

While looking at the GR offerings related to the microwave engineering I was doing in the 1965 time frame the GR offerings seem antiquated when compared to HP.

Manuals

Military

TM 9-4931-321-34P Direct Support and General Support Maintenance Repair Parts and Special Tools Lists Standing Wave Ratio Meter, Hewlett-Packard model Y10-415E (NSN 6625-00-815-6273)

TB 9-4931-321-35 Calibration Procedure for Standing Wave Ratio meter Hewlett-Packard model 415E and PRD model 277D

00415-90009 SWR Meter 415E covers serial prefix 0990A- and with Appendix II Manual changes covers 719-, 545- and 530-.  The Yellow Manual Changes sheets dated 3 February 1986 have changes for: 1143A, 1709A, 1750A, 2031A, 2433A, 2507A, 2547A and 2509A.
But 2709A is too new for these changes.

Links

Back to Brooke's Products for Sale, Military Test Equipment, Microwave Test equipment, Military Information, Home page

Page created 28 March 2003.