M-94 Cipher Wheels

©Brooke Clarke, N6GCE, 2000 - 2022



M-94 home made wheel cipher
my home made M-94
Wheel at left reads A right wheel reads A
                               B                             Z
M-94 Cipher Wheels




Background
Variants
Colonial Williamsburg Cypher Wheel Secret Decoder
Mystery Device
M-209
Bibliography
Patents
Robert Patterson Cipher to Thomas Jefferson
Related
Links
Value

Background

The wheel cypher device has been reinvented a number of time in history. Thomas Jefferson (1790) with 36 disks, commandant Bazeries (1891)with 20 disks, Parker Hitt (1914) as a strip device and later in 1917 Joseph 0. Mauborgne of the U.S. Army signal corps came up with substantially the same idea. As late as the mid 1960s the Navy employed a version.
My friend Bryan Locks made a working replica of the Army M-94 in 1989.  It uses 25 Bakelite disks with the alphabets taped around the outer edge.  A central rod clamps the disks.  Each disk has a label in a pocket on the flat face.  The Navy referred to this unit as the CSP-488.

Disk number 17 (has the letters AR... = ARMYOFTHEUSZJXDPCWGQIBKLNV shows the Army origin of the M-94  Thomas Jefferson (President of the U.S.) also independently invented this device as well as others.  The disks are ordered by finding the letter after the letter "A",  In the case of the letter R it is the seventeenth disk (there is no disk with two "A"s).

Experiment using StarBand for image hosting:
disks are ordered based on the letter below "A", there is no disk with two "A"s so the first disk is AB, then AC etc. Since there are 25 disks and 26 letters in the alphabet the last disk is AZ.

Photo with Cryptologia M-94 issues
M94W2Bw.jpg

After the plain text (pt) message has been set by rotating the disks (that have already been installed in the key order) the operator selects one of the remaining 25 different messages at random.  Some instructions said to not select offsets that were close to the pt message.

When the receiver has set the cypher text (ct) along the ruler he then must look at all of the rows to find the one with the plain text.  This aspect of the system makes it much harder to analyze than systems that have only a single choice.

Test Messages and my best guess at reading the plaintext as shown in SRH-366 US Strip Ciphers - starting at 149/310 pages.

Following are the disk layouts:

Disk
 ID    Letters Around The Rim
B  1 ABCEIGDJFVUYMHTQKZOLRXSPWN
C  2 ACDEHFIJKTLMOUVYGZNPQXRWSB
D  3 ADKOMJUBGEPHSCZINXFYQRTVWL
E  4 AEDCBIFGJHLKMRUOQVPTNWYXZS
F  5 AFNQUKDOPITJBRHCYSLWEMZVXG
G  6 AGPOCIXLURNDYZHWBJSQFKVMET
H  7 AHXJEZBNIKPVROGSYDULCFMQTW  <fixed typo 6/23/01>
I  8 AIHPJOBWKCVFZLQERYNSUMGTDX
J  9 AJDSKQOIVTZEFHGYUNLPMBXWCR
K 10 AKELBDFJGHONMTPRQSVZUXYWIC
L 11 ALTMSXVQPNOHUWDIZYCGKRFBEJ
M 12 AMNFLHQGCUJTBYPZKXISRDVEWO
N 13 ANCJILDHBMKGXUZTSWQYVORPFE
O 14 AODWPKJVIUQHZCTXBLEGNYRSMF
P 15 APBVHIYKSGUENTCXOWFQDRLJZM
Q 16 AQJNUBTGIMWZRVLXCSHDEOKFPY
R 17 ARMYOFTHEUSZJXDPCWGQIBKLNV
S 18 ASDMCNEQBOZPLGVJRKYTFUIWXH
T 19 ATOJYLFXNGWHVCMIRBSEKUPDZQ
U 20 AUTRZXQLYIOVBPESNHJWMDGFCK
V 21 AVNKHRGOXEYBFSJMUDQCLZWTIP
W 22 AWVSFDLIEBHKNRJQZGMXPUCOTY
X 23 AXKWREVDTUFOYHMLSIQNJCPGBZ
Y 24 AYJPXMVKBQWUGLOSTECHNZFRID
Z 25 AZDNBUHYFWJLVGRCQMPSOEXTKI

Variants

Thomas Jefferson Wheel Cypher, 1790 or 1793. to have 36 wheels,
Monticello Research Department - Thomas Jefferson's Wheel Cipher -
Tales of the Encrypted - an online version of the Jefferson wheels from the National Maritime Muesum (must use IE not Netscape)
The applet appears to be an M-94.

Bazeries

M-138 Army Strip Cypher

A strip cypher is made using stiff strips each of which has two alphabets, for example the (B1) strip would have:
ABCEIGDJFVUYMHTQKZOLRXSPWNABCEIGDJFVUYMHTQKZOLRXSPWN
This way the center 25 letters will always be overlapping.  The order of the strips in the frame is how the key is set.
USS Pampanio (SS-383) ( Pier 45 at Fisherman's Wharf S.F.):
NAVY CSP (Code & Signal Publications) CSP-845  Navy & M-138 Army Strip Cypher
CSP-1088  CSP-845 with CSP-488 compatible strip alphabet No. 488
CSP-845  M-138A = CSP-1088 = VENUS (strip cipher,
CSP-847  Instructions for use of CSP-845 strip cipher.
CSP-488 Navy Disk Cypher (duplicate of the M-94) and disk #17 R = "ARMYOFTHEUSZJXDPCWGQIBKLNV"
So you can see that the "army" on a disk does not mean that the device is of Army origion.
Reproduction Jefferson Wheel - made of plastic, photo - only 10 wheels and they don't seem to match any of the M-94 wheels.

Colonial Williamsburg Cypher Wheel Secret Decoder

Colonial
            Williamsburg Cypher Wheel Secret Decoder
This is a 12 disk device and a few of the disks are duplicates.  There is no provision to change the order of the disks on the axle.
July 2012 from eBay.

Mystery Device

This device uses similar construction, but can not be used like the M-94 because there's no way you can compose a message since instead of each wheel containing a full alphabet each drum has 3 or 4 columns of letters where each of those columns does not contain a complete alphabet.  The drums are numbered 1 to 7.
There are 26 columns (black letters).  The red letters are associated with how the device is keyed.

In all the photos the drums appear to be in the same order: 3C, 5C, 4C, 3C, 3C, 4C, 4C (were C means columns).

The drums are:

Red No.
No. of Coul
1
3
2
5
3
4
4
3
5
3
6
4
7
4
8a & 8b
1 & 1

Photos

Fig 1
Drum order
Left
1

2

3

4

5

6

7
Right
8
(3C)
2
(4C)
(3C) (3C)
(4C)
(4C)
a&b
QVE
EPM
MDA
FMN
P??
TL[]NA
RCISL
1AELi
NiENE
LCPT
ASLU
PQVG
XEiT
MSE
PMC
EBM
UJG
RTC
SEN
AiE
ONU

EAUA
ELUE
EOUE
CROA
OAHE
UAL[]
SAXS
SLD1
O

Mystery Cipher
                  Device
Fig 2
1
2
3
4
5
6
7
(3C)
(5C)
(4C)
(3C)
(3C)
(4C)
(4C)
AFT
D[]P
ENH
UDK
ENL
CHQ
MPC
QOB
OD?
DM[]EF
NOAEi
iTOND
BVPFV
[]LDCY
iLDPE
UOGPV
EOAPV
ERSKT
4ETE
TEET
RILA
LCPT
ASLU
POUG
XEIT
OOTE

NSR
CAF
MSE
PMC
EBM
UJG
LDU
OUD
R[]T
SRO
Q9N
88E
8RE
SA1
RiL
SEX
1EEA
EFLU
CEOS
EAUA
ELUE
EOUE
CROA
ENUE
RLTA
FTWS
OAME
UAL[]
SAX6
SLD1
CLOA


Mystery Cipher
                  Device
Fig 3
1
2
3
4
5
6
7
(3C)
(5C)
(4C)
(3C)
(3C)
(4C)
(4C)
iPF
iET
Eii
AFY
D[]P
EMH
UKD
ENL
GHG
EREFA
TiTAO
OLPOZ
ERLOA
NASiL
SRLUi
DMNEP
NOAEi
iTOND
BVPFV
UOLE
PMRL
AEiT
OiVE
HSEE
DASU
ELQN
EEi8
LNNU
QUD
ODL
UVi
PRA
TU7
R6N
5EE
TRN
SAR
ETN
TNR
JFE
YEE
MEW
E{}A
VEC
DES
EEC
7CC
BARA
RiOT
iOUi
OTNR
HGRi
XZ{}K
iSNT
3RNi
UiST
B9NC
8SiP
UDPE
TEEE
JTEA
ECSE
DEFA
RDMH
EiEE
WAOF


Mystery Cipher
                  Device
Fig 4
1
2
3
4
5
6
7
(3C)
(5C)
(4C)
(3C)
(3C)
(4C)
(4C)
Eii
AFY
D[]P
EMH
UDK
ENL
CHG
MPC
GGB
OLFOZ
PRLOA
NASiL
SRLUi
DM{}EP
NOAEi
iTOND
BVPFV
[]LDCY
iLDPE
AEit
OiVC
HSEE
OASU
ELQN
EEiS
LNNU
ETUO
LUOR
iLMO
UVi
PRA
TU7
R6N
5EE
TRN
SAR
ETN
EAE
NSU
YEE
MEW
E[]A
VEC
DES
EEC
TCE
ESN
CRV
DLM
iOUi
OTNR
HGRi
XZ[]K
iSNT
ARNi
UiST
iSAT
DMPR
DFMU
TLEE
JTEA
ECSE
LEEA
ROMH
EiSE
WAOE
EEAL
ANU[]

Mystery Cipher
                  Device


M-209

The M-94 was replaced by the M-209 Cipher Machine.  The Navy called it the CSP-1500.  The commercial version was called the Hagelin M-38.
Ebay Lid Open ready to use, Inside showing the cage

CSP-1500 - TM 11-380 Operating Instructions for CSP-1500 (a.k.a. M-209) -
Simple Cryptanalysis of the Basic Lug and Pin Machine -
Jerry Proc's M-209 page -
Cryptanalysis of the Hagelin Cryptograph by Wayne G. Barker ISBN: 0-89412-022-0
Dabbling in the Cryptographic World--A Story - about unpublished paper & some comments on Baker's book
NSA - Korean War 1950-1953 Commemoration -
Bob Lord - M-94 -

Bibliography

Aegean Park Press - C32 - Computer Simulation of Calssical Substution Cypher Systems, page 51
                              - C-4    - Kullback, Solmon, Statistical Methods in Cryptography - not M-94 but for cryptanalysis
                              - C-8 - Advanced Military Cryptography, William F. Friedman (U.S. Army Technical Manual 11-485)
                              - C-24 - Riverbank Publications, Volume II, Several Machine Ciphers and Methods for their Solution, Publication 20, Riverbank Laboratories, 1918
Amercian Cryptogram Association (ACA)  Jly-Aug 82 Vol XLVII #6  Has 25 test messages on page 4 & 5
Amercian Cryptogram Association (ACA)  Nov-Dec 82 Vol XLVII #8  has solutions for the test messages & a description of how they were solved
Amercian Cryptogram Association (ACA) Nov - Dec 1994 Vol LX, No 6,  Bazeries Cylinder, page 12 Computer Column with program
                                                                there is a typo in program line 1080 (Z appears twice in the line, which is wrong?)
The Code Breakers, David  Kahn, Pages: 192-194=-Jefferson, 268+2 pages=M-94 photo, 325= Bazeries, 385=Friedman, 584=Luzon
Cryptologia January 1997, Vol. 1, Number 1 The Cryptology of Multiplex Systems by Greg Mellen and Lloyd Greenwood,  - the first two issues feature the M-94
Cryptologia April     1997, Vol. 1, Number 2  The Cryptology of Multiplex Systems. Part 2: Simulation and Cryptanalysis  by Greg Mellen and Lloyd Greenwood. Consideres the cases: Known Alphabets & Known Crib, Unknown Alphabets & Known Crib, and Unknown Alphabets & Unknown Crib.  The heart of the cryptanalysis depends on finding which disks are possible for the known ct = pt based on the offset or gap between the ct and pt.  For a computer version the authors recommend (1) a table with the disk definations (2) a table with the disks ordered based on the key and (3) a table with the disks ordered by the key AND rotated based on the plain text.
They used the log weight method described by Abraham Sinkov in Elementary Cryptanalysis: A Mathematical Approach.  I prefer using the sum of the squares of the difference between the normalized frequency count and a count for a language like English to recognize plain text.

But the more practical case of Known Alphabets & Unknown Crib is not covered.  I think this is possible by the use of a computer, i.e. a generalized solution.
Cryptologia Vol 5, No 4,  The Genesis of the Jefferson/Bazeris Cyper Device, page 193

Historical Survey Of Strip Cipher Systems. This is available from NARA; NSA Historical Collections 190/37/7/1, NR 3525 CBRK24 12957A 19450000.
SRH-366 History of Army Strip Cipher. This is available from NARA; RG 0457: NSA/CSS Finding Aid A1, 9020 US Navy Records Relating to Cryptology 1918-1950 Stack 190 Begin Loc 36/12/04 Location 1-19
U.S. Patent Office 2,395,863 (380/56) (1939 patent by William Friedman for a strip system, M-138)

Scribd: SRH-366 US Strip Ciphers -

Patents

2022 added this paragraph after finding this patent.  Have not made a search.

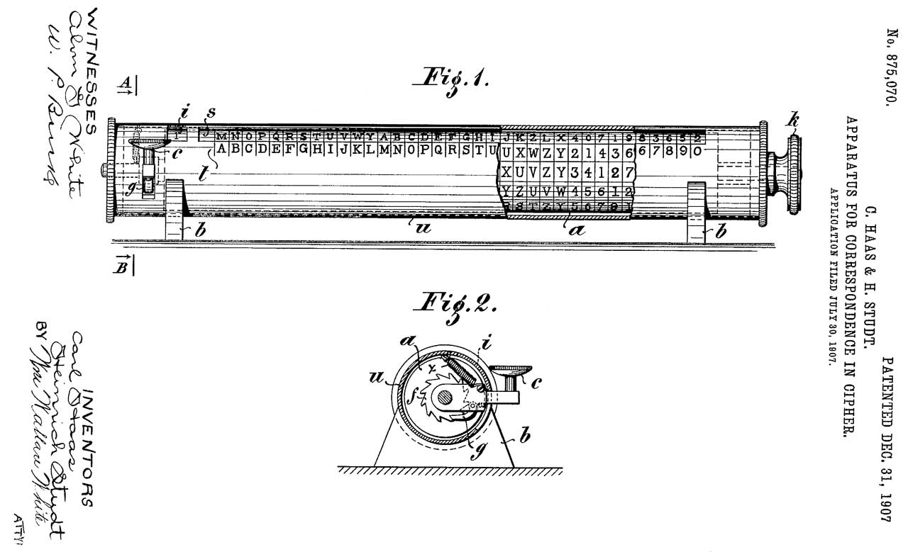
875070 Apparatus for correspondence in cipher,
                  Carl Haas, Heinrich Studt, 1907-12-31
875070 Apparatus for correspondence in cipher, Carl Haas, Heinrich Studt, 1907-12-31, 380/58 -


Robert Patterson Cipher to Thomas Jefferson

The Wiki page for Robert Patterson has information about the cipher Patterson included in a letter to Jefferson dated December 19, 1801.  No one decoded the message until 2007.  The method used has a slight similarity to the pencil and paper code used in the Spy Nickel case.

Related

Cryptography
Cryptographic Machines
Cryptographic Patents
Spy Nickel

Links

Virtual U.S. Army Cipher Device, Model M-94 - Java operational M-94
See the photo on the NSA museum page.
Cryptography Timeline by Carl Ellison -
Crypto Machines by Jerry Proc - M94 -
US Patent 916606 - disk based
US Patent 2403736 - strip cipher device
US Patent 642721 - Cipher Code System

Value

There have been a couple of M-94 cypher devices sold on eBay prior to 2002 and they went for about $7,000.
World War II Army Signal Corps Cipher Device - eBay Item # 737471549 Nov-24-02 US $6,115.00
Signal Corps M-94 Code Wheel - eBay Item # 738184625 Nov-26-02 $Auction ended by seller
US Army M-94 Cipher Divice  - eBay Item # 747564079 Dec-16-02 18:44:20 PST US$ Auction ended by seller
A Pair of US Army M-94 Cipher Devices eBay Item # 749853381 Jan-05-03 19:30:00 PST US $7,600.00   (reserve not yet met)


Back to Brooke's PRC68Products for SaleCryptography, Military Information, Personal home web page

[an error occurred while processing this directive] page created 17 Sep. 2000.