
Equipment Description
The U.S. military has many Field Strength Meters. These are used for a number of purposes, but the key one is to tune up radios after they are configured on a new frequency. Ham radio operators use a VSWR meter, but that is not possible on many military radios since the antenna attaches directly to the radio, i.e. there is no place that in the antenna system that's 50 Ohms.The "PHONES" jack can by used to hear an AM version of the signal being received by the ME-61. This signal monitor function may be done at the transmitter location in cases where the transmit antenna is located some distance away to confirm that a signal is getting out.
The TM shows the GRC-9 being used to provide a test signal for the ME-61. But the AN/GRC-9 covers only 2 to 12.
The AN/GRC-19 (T-195 & R-392) convers 1.5 to 24 MHz matching the ME-61.Photos
Photo with 18" sense antenna extended.
Label - made by Multronics, Rockville, MD
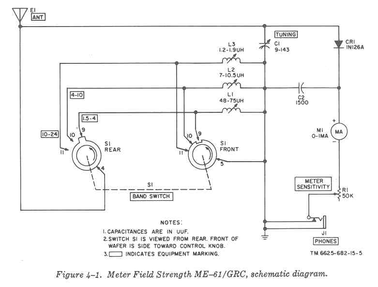
Label Description Function Phones 1/4" mono earphone jack monitor (meter) 0 - 1 mA, 100 Ohm display signal strength ANT. 18" telescoping pick up signal Meter
Sensitivitypot in series with meter allow signal variations to be seen Band
Switchselect inductor to ground
& short the other inductorsfrequency range select
1.5 - 4
4 - 10
10- 24 MHzTuning variable capacitor peak desired signal
TM 11-6625-682-15 Operator's and maintenence manual with spare parts C1,C2 21 Dec. 66
TM 11-6625-682-24P Repair parts and special tools. 18 Sep. 78
TM 11-6625-682-15 plus C1. Supercedes TM 11-263 C3 - Available from Robert Downs -
Opening
Inside the lid is a soft rubber gasket that has been molded around the sheet metal of the box. It tends to stick to the box, making opening the lid difficult.This is an air tight seal and if the air temperature in the box is colder than when it was closed there will be a vacuum inside. Best to open when it's hot and close when it's cold.
Some type of prying persuasion between the latch and lid on the side opposite to the hinge may be required.
Once you have the lid opened, a small amount of Radio Shack Lube Gel (patent 5,037,566) on the box and in the depresion of the gasket is a good idea.
Schematic
I hand drew the schematic many years ago. Much later I got a manual and extracted the official schematic.
![]()
Modification to improve performance with Lofer beacons in the 160
- 190 kHz frequency range by Mitchel Lee.
ME61U.pdf - 211k file
K4CHE op amp
modifications.
2109189
Electrical testing and detecting apparatus, Bly
Merwyn, 1938-02-11, - cited
by 15 other patents, Vacuum tubes
makes Field Intensity Meters for the AM radio and both VHF and UHF TV broadcast industry.
Model
Freq
MHz
Manuals
Antenna
FIM-21
0.54 - 1.6
FIM-21 & FIM-41
Steam Powered Radio
Loop in cover
FIM-22
0.2 - 0.55
1973 catalog
World Radio History
FIM-41
0.54 - 1.8
1.8 - 5.0
Loop in cover PI-4100
0.52 - 5.1
Factory Brochure
FIM-71
45 - 225
Fold up
Dipole
FIM-72
450 - 960
This is related to Measuring EMFs - but only useful near broadcast stations.
Surecom makes a passive field
strength meter (SS-10) and a version with an op amp between
the diodes and meter (SS-11). Both
are specified to wrok 100 kHz to 3 GHz with an SMAf antenna input
and telescoping antenna.
Back to Brooke's Products for Sale, Military Information, Electronics, Home page
page created 10 June 2001.