Panoramic Telescope M12

© Brooke Clarke 2015 - 2020

Background
Description
    Photos
Manuals
Patents
Related
Links

Background

While learning about optics I came across the Panoramic Telescope gun sight.  The thing that's very interesting is that it contains everything needed in a submarine periscope (Wiki).  Panoramic means that the telescope can be panned in azimuth.  But in a simple optical system when that's done the image will rotate.  But in a military panoramic telescope the image stays upright.  This requires a sophisticated optical system (see the Kollmorgen Periscope patent on my optics page). 

Used on the M2A1 105 Howitzer(Wiki).  Over 10,000 were made and used throughout W.W.II.
Popular Science, November 1942, pg 53: Two Guns for One by Hickman Powell - about using as rifle (near horizontal barrel angle) or as a Howitzer (very steep barrel angle).

Description

"Telescope, Panoramic M12 A3, No. 12981 F.J.A., E.K. Co. 1943" is stamped at the top of the periscope tube.
At the bottom center of the reticle is "3 IN M62".

    Photos


Fig 1
Telescope
Panoramic M12 A3
No. 12981  F.J.A.
E.K. Co.   1943
Panoramic Telescope M12
Fig 2
Panoramic Telescope M12
Fig 3
Panoramic Telescope M12
Fig 4  "3 IN M62" at bottom
Panoramic Telescope M12
Fig 5
Panoramic Telescope M12

Manuals

TM 9-2005 Vol 3 Ordinance Material - General, Vol 3, Infantry and Cavalry - Accompanying Weapons - Field Artillery, 2nd Ed, Dec 1942
Has a sentence for "Sighting Devices" where a number of them are a panoramic telescope (most are the M12).
Lists a number of guns and howitzers that use the M12 panoramic telescope.  Note that a 3 Inch gun and a 75mm Gun are the same thing.  The manual lists five 75mm (or 3") guns, but none of them use the M12 panoramic telescope.  A number of the Guns, 155mm: M1917, M1918M1, M1, M1A1 and the 8" Howitzer M1 use the M12 sight.

Looking for TMs that cover the M12 panoramic telescope.  Let me know.

TM-9-1240-236-35P link is to Liberated Manuals
Direct Support, General Support, and Depot Maintenance Repair Parts and Special Tools List
Telescope Panoramic M12A7C (1240-768-7260),
M12A7H (1240-344-4633),
M12A7K (1240-344-4632),
M12A7Q (1240-917-6428) and
M12A7S (1240-344-6433)
Dept of the Army July 1970

TM 9-1584 Telescope, Panoramic, M12, M12A1, M12A2 and M12A3. 10 June 1942

Patents

359: Optical: Systems and Elements
    399: Telescope
        401: with image anti-rotation
        402: Periscope
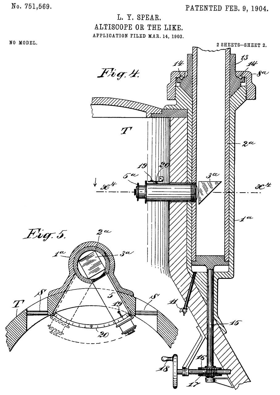
751569 Altiscope
                      or the Like, L.Y. Spear, Electric Boat Co., Filed:
                      Mar 14, 1903, Pub: Feb 9, 190
751569 Altiscope or the Like, L.Y. Spear, Electric Boat Co., Filed: Mar 14, 1903, Pub: Feb 9, 1904, 359/402; 114/340 - can move + or - 30 deg from center line of sub (60 deg total).

For submarine
784487
                      Tangent-scale telescope for guns, Carl Paul Goerz,
                      Heinrich Korrodi, Optische Anstalt, 1905-03-07
784487 Tangent-scale telescope for guns, Carl Paul Goerz, Heinrich Korrodi, Optische Anstalt, 1905-03-07, 359/401; 359/402; 89/41.19 -
784852
                      Panorama-telescope, Carl Paul Goerz, Optische
                      Anstalt, 1905-03-14
784852 Panorama-telescope, Carl Paul Goerz, Optische Anstalt, 1905-03-14, 359/401; 359/402 -
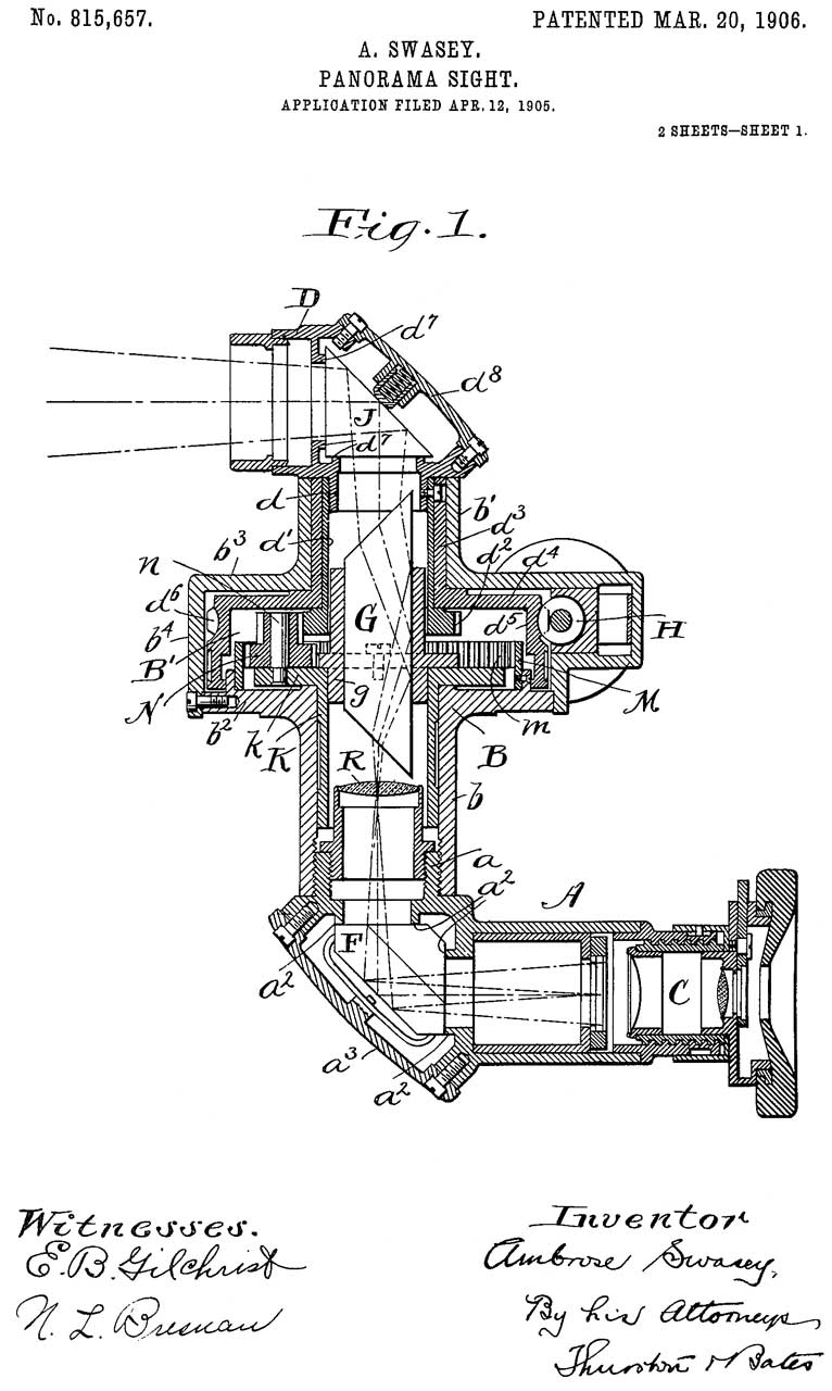
815657
                              Panorama-sight, Ambrose Swasey, Warner and
                              Swasey Co, 1906-03-20
815657
                              Panorama-sight, Ambrose Swasey, Warner and
                              Swasey Co, 1906-03-20

815657 Panorama-sight, Ambrose Swasey, Warner and Swasey Co, 1906-03-20, 359/401; 89/41.19; 359/402-
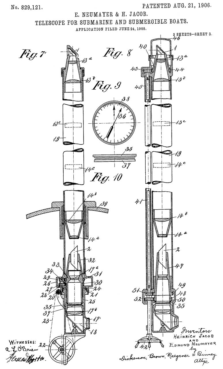
829121 Telescope
                      for submarine and submergible boats, Edmund
                      Neumayer, Heinrich Jacob, Optische
                      Anstalt,1906-08-21
829121 Telescope for submarine and submergible boats, Edmund Neumayer, Heinrich Jacob, Optische Anstalt,1906-08-21, 359/401; 114/340; 359/402 -

For Submarine. Note the eyepiece is always in the same azimuth.
To look around a wheel drives a vertical shaft and a prism at the top of the periscope is rotated.

873228 Telescope, Arwed Hahn, 1907-12-10, 359/401; 359/402; 89/41.19 - for guns

882762 Panoramic telescope, Heinrich Jacob, Optische Anstalt,1908-03-24, 359/733; 359/401; 359/725 - uses lenses instead of prisms
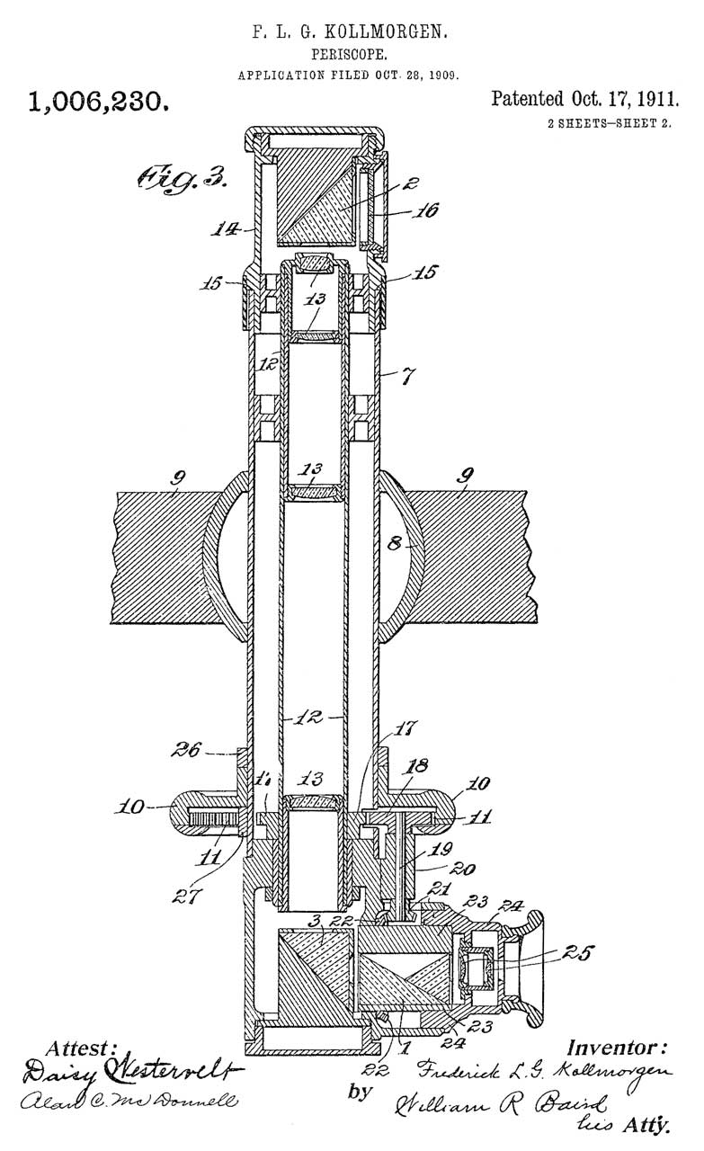
1006230
                      Periscope, Frederick L G Kollmorgen, Keuffel and
                      Esser, 1911-10-17
1006230 Periscope, Frederick L G Kollmorgen, Keuffel and Esser, 1911-10-17, 359/401; 114/340; 89/36.14; 359/402, -

Frederick Kollmorgen founded Kollmorgen Optical Co. and then was the assignee on patents, mostly related to periscopes.
History of Kollmorgen.pdf
A part of the 006230 patent appears on pdf page 5 of the history.

1134388 Optical instrument, Frederick L G Kollmorgen, Keuffel and Esser,1915-04-06, 356/21; 356/7; 359/405- for submarines

Related

Optics
M32 IR Gun Sight

Links

Unit History -The 1/92nd Field Artillery Association - Vietnam - M1A1 Cannon Technical Data, Specs -
PRC68, Alphanumeric Index of Web pages, Contact, Products for Sale