Sola 23-23-150-8 Constant Voltage Transformer - CVS


© Brooke Clarke 2016

Background
Description
Computer VA
Photos
Patents
Related
References
Links

Background

A recent mailing list discussion about protecting sensitive electronic equipment from power line spikes reminded me of the resonant transformer add-on I used on my very first computer, the South West Technical Products (SWTP) 6800 (Fig 1 & Fig 2).  The transformer had a winding that resonated with an oil filled capacitor at the power line frequency.  This formed a narrow band filter that had a couple of effects: it greatly reduced spikes and if there was a short dropout it filled it in by using the energy stored in the resonant circuit.

Description

This particular Sola CVS transformer is the 23-23-150-8 rated at 500 VA (Wiki) or 500 Watts if power factor is 1.
Voltage Regulation: ±1% for an input line variation of +10/-20%. No loss of output for line loss of 3 msec
Noise Isolation: 40 dB common and normal mode.

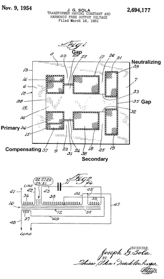
The label references patent 2694177.  There are two aspects:
1. There is a winding dedicated to a resonant circuit with an oil filled capacitor,
2. the transformer core uses E and I laminations, but the center leg of the E lamination is a little short forming an air gap.  The magnetic path between the primary and secondary is around the outside path so no air gap, but the path between the primary and resonant winding has an air gap.  The effect is to not only reduce voltage spikes and dropouts but to also regulate the voltage.

Note the end with the removable name plate contains the terminal strip and the other end contains the large oil filled capacitor.  In order to minimize heating the capacitor (which will shorten it's life) the unit should be mounted with the name plate end up or horizontally.  Do not mount with the capacitor end up.

When the 23-23-159-8 is used with 120 VAC house wiring the connections are:
Input: H1 & H2
Output: X1 hot (black), X2 Neutral (white)
Ground: Green in, Sola ground lug, Green out
Jumper: H1+H3, H6+H8, H2+H5, H7+H10

Note:  For 2-wire systems X2 needs to be connected to ground, but when using a 3-wire system (hot, neutral & ground) X2 can be floated.
As received (Figures 1 to 5) the jumpers are for different wiring and need to be properly configured.

Computer VA

The manual for my Dell T7810 computer says it can draw 825/625 Watts.  But when I measure everything on the outlet strip (computer, monitor, speakers, cordless phone) using a Kill-A-Watt the peak is about 140 VA and on average 100 VA (126 VA as I write this).

Need to check my old computer, DSL, switch, printer, &Etc for how many VA they draw, but I suspect that I can place the transformer on the output of the APC RS1500 UPS so it's output is essentially a sine wave.  I checked with APC and they said that's OK.  But the transformer does not have enough energy storage to make the conversion, see the self-test video.

Prior to installing the transformer on the output of my APC RS 1500 backup system, I tested the backup battery and it failed the test but the UPS has been working probably because of the optional battery pack.
The discrepancy is caused because there is also the BR24BP optional battery pack that I added later.  So the two 12V 7AH batteries in the RS1500 are now weak, but the four 12V 7AH batteries in the optional battery pack are still good.  If I unplug the optional battery pack the red Replace Battery light comes on.  So I have ordered (July 20, 2016) a couple of Power Sonic replacement batteries for the main RS 1500.   Note Panasonic and Power Sonic make quality batteries, many of the look alike batteries from China do not perform as well.

The specifications on the APC RS 1500 (1500 refers to VA capacity) show:
UPS Output Waveform: stepped approximation to a sinewave- I think that is what killed my HP 6200 flat bed scanner.  The RS 1500 is 6 years old, which seems to be the battery life for these systems.

Connection

24 July 2016 - after replacing the batteries in the main APC RS1500 unit I tried to capture the waveform on the Rigol oscilloscope.  With the RS1500 plugged into the AC mains the output is just the AC mains, i.e. a nice sine wave.  When I use the computer to initiate a self test I can see the modified sine wave, but the test did not last long enough to capture it.  See self-test video.

I have the Sola transformer on the output of the APC RS1500 in order to remove and glitches or drop outs.  Note that until the AC mains fail the APC RS1500 just passes the AC line voltage to it's output.  So glitches and spikes and not modified by the APC, but will be pretty much eliminated by the Sola resonant transformer.

PS You can not hold your fingers on the transformer laminations because they are quite hot.  It also makes an audible hum.

After connecting the Sola transformer to the output of the APC the status screen now shows 198 Watt load and 153 minutes capacity.  Before connecting the capacity was about 143 minutes.
Did the Sola increase the capacity, or . . . . ?

Photos


Fig 1 Name plate end
SOLA
                      23-23-150-8 Constant Voltage Transformer - CVS
Fig 2 Name Plate
Jumper wiring is not clear, should have used some commas.
SOLA
                      23-23-150-8 Constant Voltage Transformer - CVS

Fig 3 Terminals (jumpers as received, not for 120 VAC)
SOLA
                      23-23-150-8 Constant Voltage Transformer - CVS

Fig 4 Label
SOLA
                      23-23-150-8 Constant Voltage Transformer - CVS
Fig 5 Case ground came connected to X2
I'm removing green wire from X2 and insulating the end.
SOLA
                      23-23-150-8 Constant Voltage Transformer - CVS
Fig 6 Configured for 120 in & out
SOLA
                      23-23-150-8 Constant Voltage Transformer - CVS
Best to assemble the outlet box first
break off the Sheetrock tabs from the sockets
then wire the sockets before mounting them
The socket metal parts are ground so a ground
jumper is not needed.
Note green wire removed from X2 and capped.
Input and output ground (green) wires connected
to ground lug at upper left.



Patents

2694177 Transformer having constant and harmonic free output voltage, Sola Joseph G, Nov 9, 1954, 323/308, 333/176, 336/165 -
2694177 Transformer having constant and
                        harmonic free output voltage
cites:
2143745 Constant potential transformer, Sola Joseph G, Sola Electric, Jan 10, 1939, 323/308, 336/165 -
The 23-23-150-8 transformer has a quad primary instead of the single winding (36) shown in the patent.  This accommodates either 120 or 240 VAC inputs as well as 3-phase 480 VAC inputs.  So instead of the two terminals (41 & 42) shown there are eight (H1, H2, H3, H5, H6, H7, H8 & H10)


Related

 APC RS1500 UPS -

References


Links

PRC68, Alphanumeric Index of Web pages, Contact, Products for Sale
Page Created 18 July 2016