Stanford Telecom 5001A Navstar Test Transmitter

© Brooke Clarke 2000 - 2024

Front Panel
Rear



If you know anything about the Stanford Telcom 5001A NAVSTAR TEST TRANSMITTER please send Brooke Clarke an email.

A former employee of Stanford Telecom told me this was used to test the large scale integration GPS receiver chips that Stanford Telecom made.  In particular this test transmitter was used to measure the jitter between channels on their GPS receiver chips.  The Quantic 5200 GPS receiver uses the Stanford Telecom GPS receiver chip set.  The Northern Telecom GPS Simulator STR2760 is a 10 channel (5 ea L1 & 5 ea L2) simulator that does C/A & P-Code.  There are I & Q modulators for both L1 and L2 frequencies.  That's to say it will generate enough signals to cause a GPS receiver to display all it's functions.

This is a late 1970s GPS signal generator.  Many boards are done with wire wrap.  It contains 3 commercial power supplies, Boards A-1 through A-10, and the Microwave section.  The design of this unit follows the ICD-200 spec in design.

To view *.dwg drawings you need the Autodesk .dwf viewe

Stanford Telecom also made the 7200 GPS simulator from 1989 to 2000 [ION Museum:  Stel Satellite Signal Generator (SSG)]

Photos & Layout

Front Panel:      Fpnl5001A.dwg

Rear Panel:        Rpnl5001.dwg

NAVSTAR TEST TRANSMITTER
MODEL 5001A
MANUFACTURED BY
STANFORD TELECOMUNICATIONS INC.
P.N.  200-102721
SERIAL NO. 004

Top

Top web page          Top_View.dwg











BottomBottom web page







Block Diagram:

5001_Blk.dwg

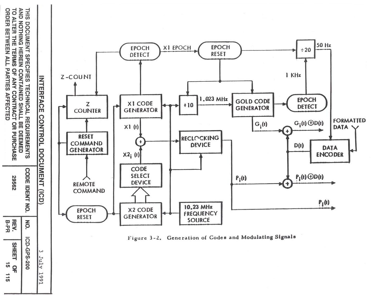
ICD-GPS-200 is the controling document for the GPS system.

 Figure 3-2. Generation of Codes and Modulating Signals -

many of the names in this diagram match the card names in the A1 to A7 range.  It is clear to me that ICD-GPS-200 was the source document for this very early GPS transmitter used for test purposes because at that time there were no GPS satellites yet flying.

A1 through A7 are all LS logic cards

A1 Control Sync

A2 Navigation Data Generator

A3 Z Counter

A4 X1 Coder

A5 X2 Coder

A6 C/A Coder

A7 Delay Line

A8 through A10 Contain RF signals

A8 L3 Modulator

A9 L1 Modulator

A10 Frequency Multiplier

Power Supplies

Power One Model DBB-105(V ?) that has 3 outputs:

A 28 Volt brick just for the Greenray  oscillator

A ? Volt brick just for the HP oscillator

Back to Brooke's Main, Navigation page