Carrying a load by using shoulder straps puts the weight of the load on all of the spine from the shoulders on down. This is both tiring and potentially causing back problems. A much better way to carry a load is to use a belt that's snug enough so that it can not slip past the hips and that also supports a rigid pack frame. Now the weight is supported by the belt. In this arrangement the shoulder straps are not carrying the weight, but rather are there to keep the load from falling backward.Comment by Geodkyt:
I( have removed links to photos on retailer web pages because they are not permanent links.
Alice clips are a key part of the system. They are the way to attach most things to a pistol belt.
Military A.L.I.C.E. Ruck Frame (Black) (LC-2 Pack Frame only?) NSN 8465-00-001-6475 ?In August there was a thread about the ALICE Pack frame on the Army Radios group. Jim Madden posted some photos that helped a lot in clarifying how the pack frame is used.
The Carrying of Loads within an Infantry Company, May 1973 - AD0762559.pdf -
Fig 1. Haversack, M-1928
Fig 2. Rucksack (all cloth)
Fig 3. Pack, Field (all cloth)
Fig 4. Pack, Jungle (Camouflage)
Fig 5. Packboard, Plywood
Fig 6. Pack, Field, Combat and Cargo M-1945
Fig 7. Pack, Field Canvas (M-56)
Fig 8. Rucksack, Lightweight (LC-2 frame?)
Fig 9. Frame, Lightweight, Rucksack (used as packboard)
Fig 10. ARVN Rucksack (made for small soldiers)
Fig 11. Rucksack, Tropical, Lightweight, Nylon - 1963
1962: Lightweight INdividual CLOthing and Equipment (LINCLOE)
1. Suspenders & Belt
2. lightweight aluminum frame
3. large pack of rucksack design - 2.4 cu. ft.
4. medium size pack - 1.15 cu. ft.
5. small pack - 0.67 cu. ft.
Fig 1
Fig 2
Fig 3
Features a large internal pack sack and radio compartment, compression straps, three large external cargo pockets w/cinching buckles, three small accessory pockets, Velcro® closing top flap with a pocket roomy enough for a 2 or 5 Quart collapsible canteen. Conventional lashing or gear attachment patches are provided. Must be used in conjunction with an LC-2 Pack Frame (sold separately); you cannot attach Shoulder Straps to the pack by itself. Size: 22'' x 20'' x19'' (55.9 x 51 x 48 cm). Load Capacity: 70 lbs
It's not clear to me if the following items are all ALICE or not. Also what's LC-1 and LC-2 mean? (probably Load Carrying #1 and #2, but what's the difference?)
5340-01-062-6751 Suspender Strap Loop
5340-00-753-5578 Obsolete Brass Female Belt Fastener
5340-00-753-5579 Obsolete Brass Male Belt Fastener
5340-00-753-5581 Keeper other than Belt
Clip NSNs
5340-00-753-5581 Belt Keeper (ALICE Clip)
See patent 2869198 below.
I'm not sure if this is the correct NSN for the ALICE clip.
It can go over an object that's no more than 2 5/16" wide and 3/16" (0.1875") thick.
One layer of a ripstop belt is 2 3/16" wide and 0.230" over an eyelet and 0.145 over the material.
So you need to install the ALICE clip along the length of the belt where you want it since you can not slide the clip past an eyelet.
When opened, like in the photo at the left, there is some spring so you can open up the 3/16" to much more for installing the clip.
The shoulder straps on the Field Pack art too bit to allow ALICE items to be attached. I've seen large rubber bands used or other ways to attach stuff.
6605-00-846-7818 Pouch, Lensatic Compass, has a single ALICE clip on back.
8415-00-261-6929 Vest, Ammunition Carrying
8315-01-287-0603 Belt Male Fastener, Center Release (Replaces obsolete Brass)
8315-01-287-0604 Belt Female Fastener, Center Release (Replaces obsolete Brass)
8465-00-001-6471 Suspenders
8465-00-001-6474 Carrier, Entrenching, Tool, Plastic, Vinyl, Green
8465-00-001-6482 Small Arms Ammunition Case
8465-00-001-6477 Cargo Tie Down Strap Marked:
Strap, Cargo Tie-Down, LC-1, US NSN 8465-00-001-6477 and other stuff that's not readable
One end has a metal hook permanently attached by folding the strap upon itself and sewing. A metal buckle can slide along the length of the strap and can not slide off since the other end of the strap has a stop formed by rolling three turns of material and then sewing together (bottom of photo at left).
The strap is 53" long.
Hook attached to Buckle.
8465-01-019-9102 Field Pack Medium G
8465-01-019-9103 Field Pack Large OD
8465-01-025-2637 Field Pack Large - has 6 external pouches, 3 lower large ones and 3 upper smaller ones.
8465-00-038-5050 Belt, Cartridge
8465-01-071-7416 Case Personal Credentials, Field Pack
The Waist belt on the above pack frame is marked MOLLE and has what I think are MOLLE straps on the frame side. It holds to the frame with an elastic band. Frame is about 20¼" tall and 12" wide.
8465-01-073-8326 LC-2 Pack Frame w/Straps
Load Side
LC-2 Pack Frame w/Straps
Man Side
8465-01-075-8164 Waist Strap w/Lower Back Pad - Uses the side latch plastic buckle that is different from the pistol belt center latch plastic buckle.
8465-01-078-9282 Right Quick-release Shoulder Strap
The cover strap has been opened for the photo.
In use the strap is snapped over the catch.
When the strap is unsnapped and pulled up, the catch releases, even under load.
The catch does not need to be touched to release the load.
8465-01-082-6449 Strap, Cap, Water, Canteen
8465-01-115-0026 Canteen Water 1 Quart
Canteen (Wiki)
8465-01-118-8175 Cover, Water, Canteen, 2 Qt, Collapsible, Desert
(not shown: 2 Quart Cover, Green: 8465-00-927-7485)
8465-01-118-8173 Canteen Water 2 Quart Collapsible
Note: two ALICE clips on back.
Filling Instructions
Remove bladder and unscrew cap. Fully extend bladder by blowing into it. Float empty bladder on side, holding neck of bladder with 1/3 to 1/2 of opening under water. Do not totally submerge opening. Slowly submerge bladder as it fills. If bladder collapses, remove from water allowing air to enter and proceed as above. To hasten filling, use a scooping motion with opening partially under water. Insert correct number of water purification tablets as directed on tablet bottle. Note: capacity of canteen is two quarts.
To reduce sloshing noise of partially full canteen, squeeze to force water into neck and replace cap tightly. Wet the pile lining during hot weather to help keep water cool. Keep lining material dry during cold weather to provide limited protection from freezing.
Carry under the parka during cold weather to keep the water from freezing. Keep bladder and cover away from heat or flame.
M1 NBC Cap NSN: 8465-00-930-2077
Used with gas mask tube.
Intrenching (Entrenching?) Tool, Hand, Folding, Lightweight
NSN: 5100-878-5932 Wiki
Entrenching Tool Carrier NSN 8465-00-001-6474
\
Note: two ALICE clips on back.
In folded position, very compact.
"<-LUBRICATE". There was dried out white Lubriplate grease in the threads. I cleaned them and used Silicon grease.
Note: you must remove bolt to get access. When replacing bolt the shovel must be in the same position otherwise it will not fold up.
When the nut is tightened against the shovel it also locks the handle joint making the shovel one solid unit.
8465-01-120-0674 Belt, Medium - in TM 10-8400-203-23 - obsolete Brass buckle design ->8465-01-322-1965
8465-01-120-0675 Belt, Large -
in TM 10-8400-203-23- obsolete Brass buckle design ->8465-01-322-1966
My belt shown in photo with plastic center latch buckle is marked:
Belt, Individual, Equipment, Nylon, LC-2, DLA100-87-F-EB22, 8465-01-120-0675, Size: Large, Waist 30 inches or over, Mississippi Industries for the blind, 18 (Note this is a plastic buckle type, not brass.)
8465-00-136-5090 Field Pack
8465-01-151-2891 1½ foot Lower Back Strap w/Clamp ( Strap, Webbing, Nylon, OD7 for Field Pack)
8465-01-157-1157 Carrier, AN/PRC-68 Radio Set - (sling)
2" wide strap
Hook to Hook length adjustable from 28" to 47"
Label:
US
Carrier, AN/PRC-68 Radio Set
DLA100-88-C-4308
8465-01-157-1157
Crown Purse , Inc.
8465-01-157-4834 Case, Small Arms, Ammunition, Nylon, Green
8465-00-165-6838 Cup, Water Canteen
8465-01-207-5573 Pocket, Ammunition
8465-01-250-3632 Stand, Canteen Cup, Aluminum (boil water in plastic canteen?)
8465-01-253-5335 Field Pack, Camouflage used with the PRC-104 Radio. Has a separator in the top main compartment and has 3 seperate external pouches, each with a buckle & two snap fasteners.
The prior owner of this pack had used a pair of right shoulder straps in the released mode, with the bottom of the lower straps connected to "D" rings down low on each side of the pack thus allowing him to carry the pack using just shoulder straps and no pack frame. Although this was not the intention, the ALICE system provided the flexibility to easily complete this filed expedient setup.
The main compartment has a divider that appears to be designed to hold a radio. The PRC-104 fits nicely with either the small or large battery boxes attached. There's a strap and buckle that holds the radio into that packet. Either way you install the PRC-104 the strap ends up covering the mode and volume controls. If the AUDIO connector it near your right ear, then the handset cord will be convenient for Pedestrian Mobile operation. If the pack is dismounted and the radio used with the pack on the ground then the radio could be installed either way.
The main compartment is not too large once a radio is installed. The other compartment is 18" deep, just the right size to hold the AT-271 antenna, a counterpoise wire or other wires.
With a PRC-25 or PRC-77 installed in the pocket, the strap covers the frequency display window. A better design would be to use two straps each about 1/3 of the way across to hold the radio, and actually only use the one of them not blocking something.
When the Field Pack is hooked over the Pack Frame a Cargo Shelf in the upper position will add support to the radio, taking it's weight off of the pack cloth. This moves the radio up slightly and the pack closes properly. But is not compatible with tying the lower pack straps to the frame. To use the lower pack straps the Cargo Shelf needs to be removed.
By using the ALICE Pack and Frame the PRC-25, PRC-77 or PRC-104 can be carried in a more or less concealed way and all the accessories can be carried in the pack, so the CW-502 accessory bag is not needed as when the ST-138 radio carrier is used with the PRC-25 or PRC-77. PS Magazine for 1990 issue 451 shows the ALICE Pack Frame as a way to carry the PRC-25 or PRC-77 but does not mention this Camouflage Field Pack or when or why the ST-138 was discontinued.
The shoulder straps need to be installed so that they are not trapped under the Medium Field Pack. I.e. they need to be installed after the Field Pack is slipped over the top of the pack frame. The quick release on the right strap makes it easy to get it through the slit in the top of the pack frame pocket, but the left shoulder strap top strap buckle needs to be undone to get it installed properly.
8465-01-254-5759 Canteen & Carrier Collapsible Assy Canteen 5 Quart, Body, Vinyl Film, Reinforcement Vinyl
8465-00-258-2432 Field Pack Liner
8465-00-261-4998 Bag, Ammunition A15 Equipment, with Attached Cover
8465-00-261-6944 Case, Shotgun, Ammunition, Cloth, Duck
8465-00-269-0481 Strap, Webbing, Waist
8465-01-278-3739 Adapter Kit, M-1 Cap, for Canteen Water
8465-01-269-0482 Left Quick-release Shoulder Strap
8465-01-286-5354 Pad, Back, Field Pack, Nylon, Black
8465-01-286-5356 Field Pack, Duck Nylon, Camouflage, Large with Internal Frame; w/Combat Patrol Pack
8465-01-297-4192 Bag, Ammunition, Green, Fire Retardant, Water Repellent
8465-01-314-4282 Cup, Water Canteen
8415-01-317-1622 Vest, Grenade, Carrier, Woodland Camouflage
8465-01-322-1965 Belt, Individual Equipment, Medium, Plastic Buckle
8465-01-322-1966 Belt, Individual Equipment, Large, Plastic Buckle
8465-01-327-5361 Field Pack Cover Desert Day 3-Color
8465-01-331-3351 Fastener Set, Brass, Belt
8460-00-368-4281 Case Map & Photo
8465-01-408-5431 Case Small Arms Ammunition
8465-01-416-4637 Retainer Strap, Special
8465-01-457-8969 Side Release Equipment Belt Extender (Male & Female Plastic ends)
8465-01-457-8980 Center Release Equipment Belt Extender (Male & Female Plastic ends)
8465-01-465-2144 Pouch, Bandoleer Ammunition, 6 Magazine
8465-01-481-4448 Cover, Field Pack, Ca...?
8465-01-484-0450 Pouch, Canteen-Generic
8465-01-491-7517 Pouch, Bandoleer Ammunition
8465-01-494-0272 Pouch, Canteen-Generic
8465-01-494-6795 Field Pack
8465-01-494-9838 Cover, Water Canteen
8465-01-513-4067 Pouch, Ammunition
8465-01-513-4186 Bag, Ammunition
8465-01-515-7575 Pouch, Ammunition
8465-01-515-7639 Bag, Ammunition
8465-01-515-8658 Belt, Individual Equipment (no size)
8465-01-515-8677 Belt, Individual Equipment (no size)
8465-00-001-6476Shelf, Cargo, Pack Frame
Two cargo shelf's can be attached to the LC-2 Pack Frame 8465-01-073-8326
They just hook over the flat metal frame straps. If pushed upward they come right off.
Close up of 2 cargo shelves on pack frame.
Top of shelf is 11.5" wide and 3" deep.
About 9" from top of bottom shelf to bottom of top shelf.
8465-00-705-2438 Pocket, Ammunition Magazine
8465-00-753-6490 Cover Water Canteen
8465-00-781-9564 Case, Maintenance Equipment, Small Arms
8465-00-782-2239 Pocket, Ammunition Magazine
8465-00-782-6723 Hammock, With Canopy, Jungle, Nylon, M-1965
8465-00-860-0256 Canteen Cover, 1 Quart
8465-00-927-7485 Canteen Cover, 2 Quart
8465-00-930-2077 Cap, Water Canteen, Plastic, w/Snap Opening
8465-00-935-6418 First Aid Dressing/Compass Case
8465-00-935-6825 Strap, Field Pack, Duck, Nylon Green, Olive
8465-00-935-6397 Hammock, Without Canopy, Jungle, Nylon, M-1966
8465-00-935-6830 Vietnam era Suspenders, Field Pack, Nylon
8465-00-935-6857 Field Pack Liner
8465-00-935-6858 Field Pack Liner
8465-00-987-8793 Field Pack
PRC-25 on top cargo
shelf held by 2 cargo straps.
AT-984 Fishing Reel long
wire antenna comes in a ALICE canvas bag.
Radio
Pouches for the PRC-68 Family of Squad
Radios.A possible follow on to ALICE but was replaced by MOLLE.
8415-01-317-1622 Vest, Grenade Carrier (40mm)
This vest is designed to both carry the 40mm gernades and to also act as suspenders for the standard ALICE belt. It has built-in shoulder pads and a number of snap/velcro loops at the bottom to attach to the belt. One size fits all.
The MOdular Lightweight Load-carryng Equipment system may use a Velcro strap to replace the ALICE Clip, but I have not yet found a good technical description for MOLLE.
| Special Operations Forces Personal Equipment Advanced Requirements (SPEAR), Equipment Load Carrying Subsystem (ELCS), 01 Oct 1999, MS09004, 21 pgs - |
| TM 10-8465-236-24&P Field and Sustainment Maintenance Manual Including Repair Parts and Special Tools List for Modular Lightweight Load-Carrying Equipment (MOLLE) II, (NSN 8465-01-525-0578) (EIC: YCH), Army, 15 March 1014, 292 pgs (on line)- |
| TM 10-8464-236-10 Operator's Manual for Modualar Lightweight Load-Carrying Equipment (MOLLE) II, Army, 20 June 2013, 128 pgs (Yumpu) - |
| UM21 Universal Military Backpack Subsystem
use and Care Manual, Bianchi UM21 Backpack System termed
SPEAR, BALCS by Army, 16 pgs (Yumpu)
- |
| Use and Care of the Integrated Individual Fighting System (IIFS), Army, DTIC Aug 5, 1991; AD-A239291(pdf), 2003021110 |
ALICE
FM 21-15 Care and Use of Individual Clothing and Equipment - - - out of print
TM 10-8400-201-23 General Repair Procedures for Clothing
TM 10-8400-203-23 General Repair Procedures for Individual Equipment
FM 10-269 General Repair for Canvas and Webbing
FM 10-16 General Fabric Repair
MOLLE

ALICE
2000 #571 - Equipment Belt . . . Extenders End Frustration
Side Release Equipment Belt Extender NSN 8465-01-457-8969
Center Release Equipment Belt Extender NSN 8465-01-457-8980
1998 #546 - Alice . . . Frame Parts
All LC-2 parts can be used with LC-1 gear.
LC-2 Pack Frame w/Straps NSN 8465-01-073-8326
Right Quick-release Shoulder Strap NSN 8465-01-078-9282
Left Quick-release Shoulder Strap NSN 8465-01-269-0482
Waist Strap w/Lower Back Pad NSN 8465-01-075-8164
1½ foot Lower Back Strap w/Clamp NSN 8465-01-151-2891
8465-00-269-0482 Pack Left Shoulder Strap
8465-00-078-9282 Pack Right Shoulder Strap
1997 #537 - A Friend to Hang With
1995 #506 - Put Alice Back in Wonderland
1994 #500 - NSNs for Pack Straps
Pack Left Shoulder Strap NSN 8465-00-269-04821993 #489 - Carrying Equipment Care
Pack Right Shoulder Strap NSN 8465-00-078-9282
Suspenders NSN 8465-00-001-64711993 #482 - Alice . . . A Friend You Can Depend On
First Aid/Compass Case NSN 8465-00-935-6418
Canteen Cover NSN 8465-00-860-0256
Small Arms Ammo Case NSN 8465-00-001-6482
Belt, Large nsn 8465-01-120-0675 - - - Typo?
Belt, Medium NSN 8465-01-120-0674 - - - Typo?Belt Keeper (ALICE Clip?) NSN 5340-00-753-5581
Female Fastener NSN 5340-00-753-5579
Male Fastener NSN 5340-00-753-5578
Suspender Strap Loop NSN 5340-01-062-6751
Belt Female Fastener NSN 8315-01-287-06041992 #475 - Alice in the Land of PM
Belt Male Fastener NSN 8315-01-287-0603
1992 #474 - Give Alice a Bath
LC-2 Pack Frame with Straps NSN 8465-01-073-83261990 #456 - The Ties that Bind (use a tie wrap NSN 5975-00-984-6582 to secure equipment to a pistol belt)
LC-2 Pack Frame Waist Strap w/lower back pad NSN 8465-01-075-8164
LC-2 Pack Frame 1½ foot Lower Back Strap w/Clamp NSN 8465-01-151-2891
LC-2 Pack Frame Right Quick-release shoulder Strap NSN 8465-01-078-9282
LC-2 Pack Frame Left Quick-release shoulder Strap NSN 8465-01-078-0482
1990 #451 - AN/PRC-25, -77 Radios . . . Strap 'em Into LC-2 Frame
2 each Cargo Tie Down Strap NSN 8465-00-001-6477
860395 Cartridge-belt, William Lindsey, Mills Woven Cartridge Belt Co, 1907-07-16, 224/649; 224/931; 224/643; 224/264 -
1113590 Cartridge-holder, John Baker Williamson, 1914-10-13, 224/668; 224/931; 224/677; 224/586; D22/100 -
1282756 Pack-frame, John H Clack, 1918-10-29, 224/633 -
1968767 Web cartridge belt, Samuel L Howard, 1934-07-31, 224/674; D3/224; 224/931; 224/682 -
2717437 Velvet type fabric and method of producing same, Mestral George De, Velcro SA, 1955-09-13, 428/92; 2/235; 2/321; 2/265; 5/498; 15/229.11; 28/161; 52/DIG.7; 128/DIG.15; 160/DIG.7; 428/86; 428/100; 5/496; 15/207.2; 24/445; 55/DIG.31; 139/391; 273/DIG.30; 428/95; 446/901; 273/348.4; 473/573-
2402709 Camouflage net, David L Swasey, Electric Boat, 1946-06-25, 28/148; 139/383R; 245/8; 245/2; 428/919; 160/DIG.7-
2823434 Fastening device, Jr Harold S Van Buren, United Carr Fastener Corp, 1958-02-18, 24/3.1; 24/600.8 -
2869198 Pistol belt clip, Jr Merton L Clevett, Army, 1959-01-20, 24/3.12; 24/600.4 -
Joseph Lister (Wiki) is associated with the idea of adding a chemical to water to kill bacteria.
See patent 2504124 below for the Lister Bag.
There are a few types of canvas water bags/buckets.
Storage type are sealed and do not weep and do not cool.
The common hot water bottle (Wiki) is an example.
See patent 446518Cooling type made of flax and need to be soaked for a day prior to use.
Marking:
Soak Well Before Using (other bags say Soak for 24 Hours Prior to Use)
The Superior Water Bag
C.T.S. Guarantee Quality
Guaranteed Scotch Flax
Fig 1
The metal clip at the top
Cooling type made of treated duck cloth or twill and require no soaking.
The Lyster(ILister) bag is a cooling type.
6 Gallon, 6 spigots, 3' tall x 22" dia. Need custom tripod to hold the weight.
Bag, Water, Sterilizing" with NSN 4610-00-268-9890
Constructed with "weeping" canvas. [BC: I suspect it needs to be treated to weep the correct amount, see patent below)
YouTube: Lister Bag (7:51) - 310 pounds gross filled bag weight, (BC: guess 8' 2x4 to make tripod) Gin Poles (5:15) - uses Eye/Loop nuts with female thread and 7/16" NC all thread rod. Note the center 2x4 is wedge shaped to allow a shorter threaded rod length and support inside the wood of all three 2x4s.
There are many reviews of the Rothco Canvas Water Bucket on Amazon complaining about all the water leaking out in 10 to 15 minutes. That would indicate they did not properly treat the fabric.
135432 Canteens, R. Kelly, 1873-02-04, 222/107; 62/315; 222/189.06; 238/316 -
The oozing is controlled by the weight of the canvas.
"I am aware that the ordinary tin canteen has been envoloped in cloth or woolen fabrics, for the purpose of producing an evaporation from the outside when it is wetted; but this envelope soon becomes dry, and then the water in the canteen becomes warm and distaste ful; but with my canvas canteen the outside cannot become dry on account of the continual saturation from the interior."446518
446518 India-rubber water-bag, A.A. Hesser, 1891-02-17, 383/36; 383/16; 383/901; 383/907 -
Hot Water Bag for use of the sick.
Designed to NOT weep or leak.
518549 Method of Treting Jute or other Bagging, A. Lehman & C. J. Kraus, 1894-08-17, 222/107; 62/315; 222/189.06; 238/316 - a cloth coating process for cotton wrapping, but similar to what's done for cooling water bags.
994287 Water-bag, Edwin Bray Thorning, Plummer Walter A, 1911-06-06, 222/563; 383/906; 222/542 -
For a large water bag tipping to extract the water is difficult, so a way have been found to add a spigot.
1014607 Nozzle for water-bags, Ernest Over, Dan Kellaher, 1912-01-09, 222/569; 383/96; 383/71; 383/906 -
1068362 Water-bag, Cornelius J O'riely, 1913-07-22, 383/68; 62/315; 383/901 -
Cooling, flax duck material, two metal bars (13 & 14) hold wide top mouth closed, but can be opened.
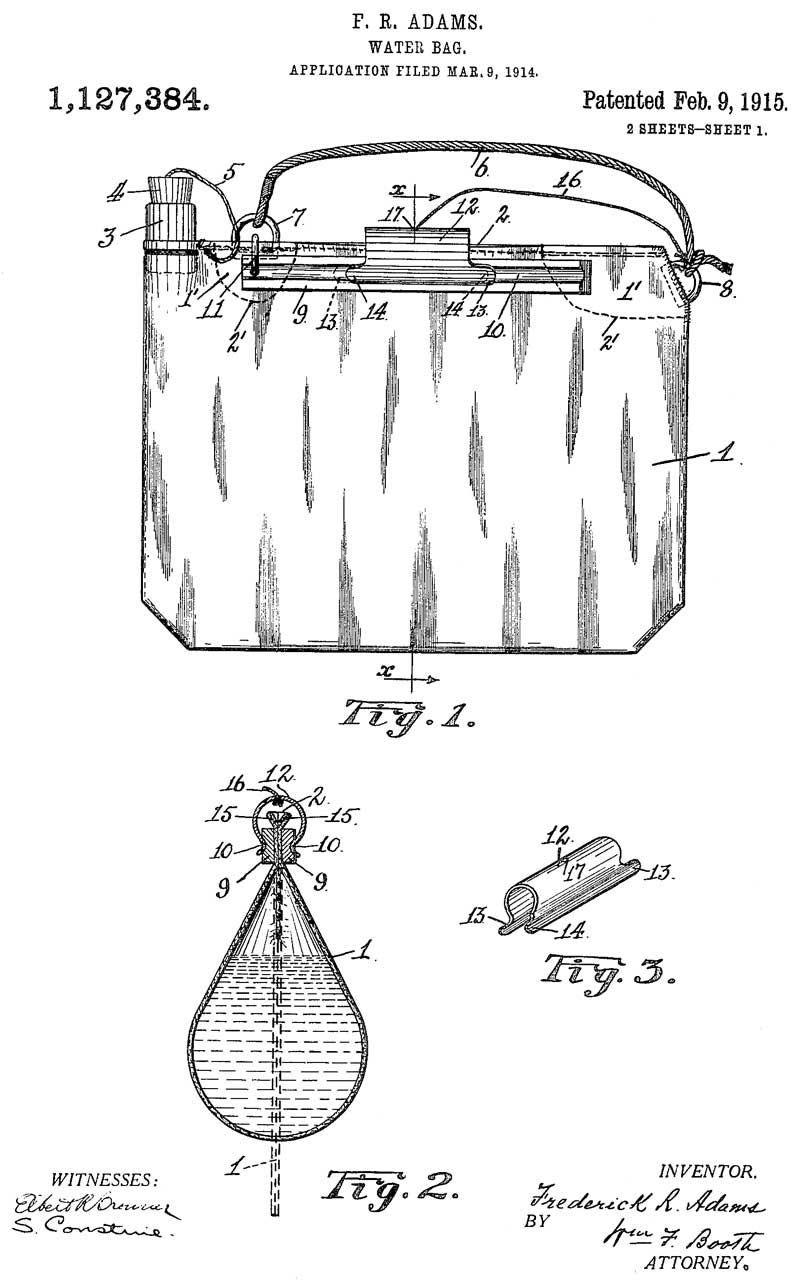
1127384 Water-bag, Frederick R Adams, W. A. Plummer Mfg, 1915-02-09, 383/68; 62/315; 383/41; 383/25; 383/44; 2/251 -
Wide mount for easy filling from a stream and to allow cleaning the inside.
1353627 Collapsible pail, David H Bucher, 1920-09-21, 383/29; 220/904; 383/41; 383/84; 383/113; 383/16; 383/66-
"... suitable for use in the filling of automobile radiators."
1580705 Water bag, Joseph H Wittmann, 1926-04-13, 383/85; 224/42.32; 383/89; 383/113; 383/18; 383/91; 383/907; 224/482; 224/563; 224/560 -
patent is about mounting, filling and emptying, not the bag itself.
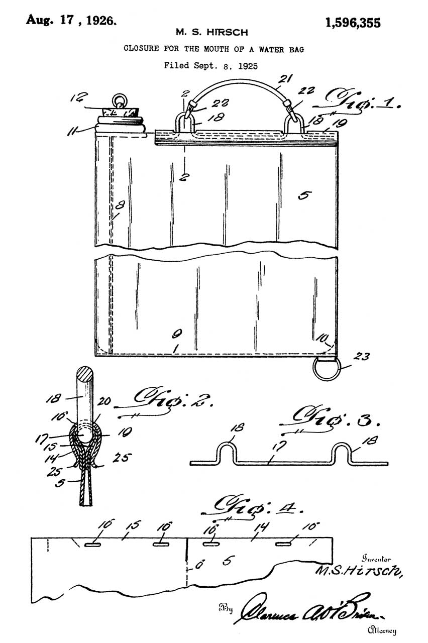
1596355 Closure for the mouth of a water bag, Hirsch Max Simon, Hirsch Weis Mfg, 1926-08-17, 383/13; 383/68; 383/121; 383/16; 383/96; 383/906 -
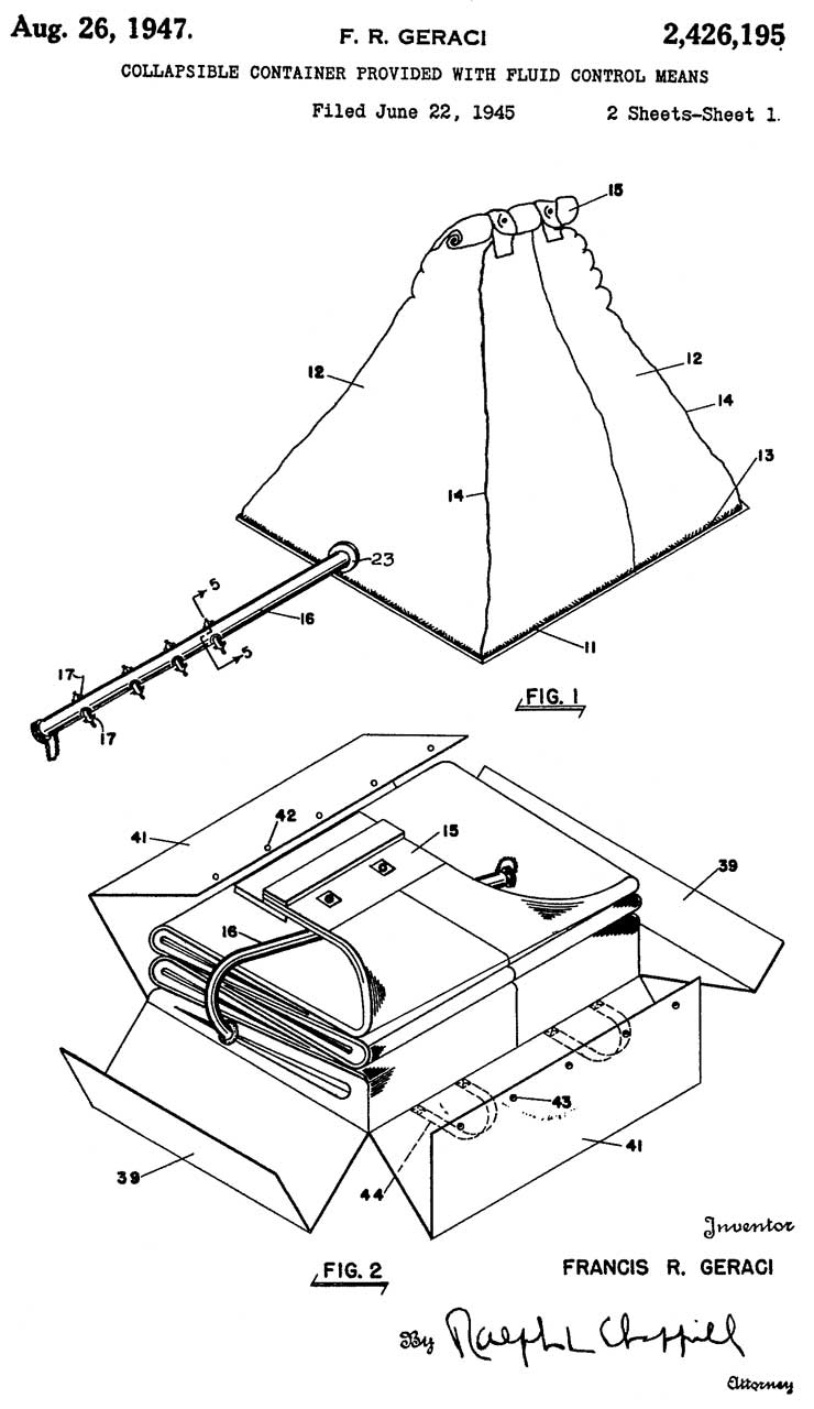
2426195 Collapsible container provided with fluid control means, Francis R Geraci, USMC, 947-08-26, 222/544; 251/145; 383/21; 229/103.2; 137/613; 383/18; 383/90 - the title sounds like a Lister Bab, but this is slightly different.
Multiple outlets to save time (less standing in line).
Folds into small space when empty.
Having the multiple spigots on a pipe is not as good as having them around the base of the canvas bag, like done on the Lister Bag.
2467792 Self-cooling water bag, Fred H Wenzel, Herman F Wenzel, 1949-04-19, 383/102; 43/55; 62/315; 383/117; 312/31.01 - prior art self cooling water bags were made from flax imported from Europe. This bag can be made in the U.S. using cotton duck cloth (18 oz/sq yd) or better 11.6 oz/sq yd twill. "Eagle Brand" water bags used to be common in hardware stores.
2504124 Self-cooling bag for liquids, William L Hicks, US Army, 1950-04-18, 383/119; 62/315; 383/41; 524/46; 47/67; 383/12; 383/102; 524/55 -
This is the Lister Bag.
"Although devices of this type have been constructed of linen fabrics to form a fairly satisfactory device owing to the hydrophilic properties inherent in the natural resins contained in the linen fibers, a notable increase in cooling effect and more rapid wetting is accomplished by treating such fabrics with hydrophilic materials as disclosed hereinafter."
Quite a bit of the patent relates to choosing the fabric and coating.
"A cylindrical two-piece evaporative cooling water bag capable of retaining water substantially without seepage loss, comprising a round botton wall, and a cylindrical side wall of porous textile material, a hydrophilic substantially water-insoluble fabric-adhesive water-swellable polymeric coating on said textile material, said botton wall and said side wall having turned flanges and united together to form a substantially water-impermeable juncture between said bottom wall and said side wall; whereby leakage of water through said bottom wall and juncture is effectively stopped and evaporation of water through said side wall takes place at a Slow controlled rate without free flow of water So as to cool the water in the bag below ambient temperature."
2507939 Portable collapsible water tank, Franklin E Smith, 1950-05-16, 220/666; 383/111; 383/24; 383/904 -
for carrying water on the back of a fireman (see Indian Fire Pump)
2550697 Cloth water bag, Charles J Kintner, William P Hall, Joseph Bancroft and Sons (Wiki), 1951-05-01, 428/196; 62/315; 8/120; 261/104; 383/102; 428/201 - mainly about the process of getting the correct amount of seepage.
2599738 Cam actuated bag closure mechanism, Ames Fletcher, Ames Harris Neville, 1952-06-10, 24/30.5R; 383/29; 383/68; 294/99.1; 383/41 - Desert Brand Water Bags.
2638951 Collapsible tank and stabilizer means, Franklin E Smith, Nathan H Friedman, 1953-05-19, 220/666; 220/530; 383/904; 220/9.2; 383/113 -
has the look and feel of a Lister Bag
making the tank more stable when transported filled with water
Blakie Thomas:
M65 is my Choice, 19:42 -0:00 Intro, 4:30 Features, 7:29 Pockets, 10:50 Pillow, 14:55 Fitting liner
M65 Field Jacket Secret Pockets (Modification), 10:25 ;
M65 Mods and Pocket Loadout, 10:27 -
M65 Field Jacket as Sleep System, 16:44 - sizing, Jacket->pillow, liner->"smoking jacket"
M65 Field Jacket for Emergency Use, 7:17 - pack leaves (insulation) between liner and outer matereial
M65 Field Jacket Care and Repair, 12:51 - use Ceder chips in metal trash can for long term storage
How to Transform a Vintage M-65 Jacket into a Modern Masterpiece, 6:37 - use "hoodie"
Ground Pounder 2, 17:51 - - Butt Pack, adjustable shoulder strap w/hooks, M-1956, M-1961 (canvas) or M-1967 (Nylon): Field Pack Training Nylon Woodland Camo
Ground Pounder Series: M-65 Field Jacket + Modern Fleece Liner Upgrade, 5:53 - Jacket, Fleece Cold Weather (Gen III), by: Peckham, Inc. or Polartec
Ground Pounder My Rucksack of Choice, 26:15 - does not like ALICE. German Alpine Rucksack
Ground Pounder: My Top Alice Pack Mods and Hacks, 1:15:39 -
Mastering Your Gear - Pick the Perfect Water Carry System, 23:14 -
Ground Pounder Tips and Hacks for Surplus Canteens, 33:47 - light my fire titanium spork,
Stumbled across the M65 Field Jacket which seems to have a vary large following.
Rothco has a Size Chart, but it's based on measuring a jacket, not a person.
I have a 3XL size on order. My measurements are Chest circumference (not the linear dimension they show): 52"; Back: 35"; Sleeve: 35".