Smith Indian - Fedco Fire Pump

© Brooke Clarke 2017 - 2022
Mendocino lake complex fire 9 Oct 2017 Smith
                  Indian - Fedco Fire Pump Smith
                  Indian - Fedco Fire Pump + Hand Truck



Background
Description
    Versions
    Components
        Pump
             Capacity
            Sticking Problem
            Nozzles
        Hose
        Tank
Operation
Photos
Patents
    Fire Pump
    Bug Sprayer
Related
Links

Background

After getting an fire evacuation call at 1 am early Monday morning 9 October 2017.  It turned out that I did not need to evacuate, but the Mendocino lake complex fire was lighting up the sky.  Here are photos of fire attack helicopters and aircraft flying over my house fighting the fire.  Since then I've been studying what I can do to improve my home fire protection.  The three elements of fire (Wiki) are: fuel + air + heat.

Description

This unit consists of a backpack type 5 gallon water tank, a 3 foot hose and a hand operated trombone type pump.  There are two pump styles, the most common, 90 series, being the trombone style that's attached at the end of the hose.  The less common 80 series is to have the pump attached to the tank and operated by a forward facing lever.

These fire pumps have been around since 1930 and that speaks highly about them. 
Still offered by The Fountainhead Group, spare parts, 800-311-9903

Versions

There are a number of versions of the Smith Indian/Fedco back pack fire pump, and this one is the 90S.

Model
Tank
Pump
80G
Galvanized steel on tank
80S
Stainless steel on tank
EZL hard Poly on tank
90B
Brass
Hose end
90G
Galvanized steel
Hose end
97G
7 Gallon Galvanized
Hose end
90S
Stainless steel
Hose end
FER500/501
hard Poly
Hose end
FSV500
Flex Poly
Hose end

Components

Pump

The pump is the heart of this 90 series unit.  When collapsed the overall length of the pump is under 20".  The pump works by sucking the water out of the tank rather than with a pressurized the tank.  This has a number of advantages:

  • The tank does not need to be air or water tight.  A small leak (or leaving the cap off) just looses water and can easily be patched since the patch does not need to hold pressure,
  • The power in each stroke of the pump is the same, it does not go down as the water volume goes down,
  • The elevation difference between the top of the water in the tank and the pump is well below the maximum head difference for a suction type pump,
  • The pump can be used without the tank.  All you need is the pump and some hose and any water source.  I've been testing the pump by using a 5 gallon bucket that's already outside and full of water,
  • The pump is self priming.  It primes faster if the hose is pointing down so that the check valve closes by gravity, but will prime with the hose pointing up. That's to say the pump works as an air pump.
The 80 series units have a tank mounted pump that sucks the water out of the tank and just has valve at the end of the hose.  The operating lever is hinged near the bottom of the tank and works with an up/down arc motion which seems to me to be awkward, although I have not tried one.

Capacity, Pump and Tank

The pump body (outer tube) is 7/8" OD x 0.745 ID (the ID was determined after assembly of the pump by scaling the thickness of the plastic sleeve compared to the OD of the pump body (7/8") and selecting either 0.030, 0.065 or 0.125 wall thickness).
The stroke length is 13-5/8".
So the volume of a stroke is: 0.436 sq in * 13-5/8" = 5.94 cu in or about 6 cubic inches.
There are 7.48 gallons in a cubic foot which is (12*12*12) 1728 cu inches.  So a 5 gallon tank is) 5 * 1728)/7.48 = 1377 cu in.
The number of pumps in a tank is: 1377 cu in in the tank / 5.94 cu in per pump stroke = 232
But there's no rule that says you need to cycle the pump fully, thus the water can be even more conserved.

The bottom line of this paragraph is that by using this fire pump you get the most benefit from a given amount of water. This is in my opinion the key feature of the Smith Indian/Fedco fire pump.  A garden hose running at 7 gallons per minute will use up 5 gallons in about 45 seconds so may be over watering a small fire that this pump would put out using a tiny fraction of the water.  Water may be very scarce during a fire.

Sticking Problem

When this particular unit was received the pump "sticks" in the closed position. Wiggling it causes it to free up and either move in or out.  Not acceptable in an emergency.   Even after an overnight soak in Kroil the feed fitting at the end of the body will not come off.   See Fig 10 & 11 for how I used blue tape to figure out the position of the inner cylinder when it sticks.  Which allowed discovering the small dimples on the body.  Then fiber tape to hold the tube so I could remove the feed fitting.  I have a relative who has one of these pumps and when he gets back home will bring his here so we can see if it also has this problem.

Nozzles

There is a dual nozzle that can be installed with either the single hole straight through outlet which provides a long stream or the two hole which provides a fog or misting effect.

Hose

The hose is marked: Dayco USA  7193  GST  Hose  3/8"  ID - 200 PSI Max. WP and is 34-1/2" long.  See Fig 4 below.
While this probably is fine for a back carried tank, it's too short for when I strap the tank to a hand truck so I don't have to carry it. 

For that I got a 10 foot hose. 
Marked: FDA Type Taiwan

This is the clear type tubing with internal woven fabric.
But ended up no liking it because (1) it's in a tight coil and (2) in summer heat when kinked it may close.  This is the clear type tubing with internal woven fabric.

The next hose I got was marked:
3/8" ID Air Hose
 for compressed air.  It's black inside and red outside with woven fabric.  It too came tightly coiled.  By clamping one end to a table and the other to a storage rack about 10 feet away, then using an industrial heat gun to warm it, hope it takes a set in a straight line.

Fig 4
Smith Indian - Fedco Fire Pump
Fig 20 FDA Type 3/8 Hose/Tubing
Smith Indian - Fedco Fire Pump Hose NOT
                          used
Fig 21  Came tightly coiled like the hose in Fig 20,
this is after clamping and heat gun.
Smith Indian - Fedco Fire Pump Hose

Tank

The early tanks were brass.  Then came galvanized iron (Wiki) tanks and the newest is the stainless steel tank.  The stainless tank may have been used for applications where some liquid (acid) other than water was being used and may have reacted with the zinc on the galvanized tank.  There are also rigid and flex poly tanks.

Five gallons of water weighs 41.7 pounds.  The empty Stainless tank, 10 feet of hose and the pump weigh 10.5 pounds.  So the total will be 52.2 pounds.  This is way more than I can carry with a bad back so next is to mount the tank on a hand truck with solid tires (don't want a flat when it's needed).

Note that if you have time water can be stored in garbage, recycling and garden trimmings cans.  These should be positioned where you want them before filling since once filled will be difficult to impossible to move.  A one gallon bucket would be a handy accessory to move that water.

Operation

Put water in the tank, aim and pump.

Photos

Fig 1 The top of the box is marked:
90SW/ FEDCO PUMP
STATE OF PA.
and stamped: 92521 ( maybe: 1992 May 21?)
Smith Indian - Fedco Fire Pump
Fig 2
Smith Indian - Fedco Fire Pump
Fig 3
Smith Indian - Fedco Fire Pump
Fig 4 Front view of" Tank, hose, 2 ea. hose clamps, 2 ea. shoulder straps, Owner manual.
Smith Indian - Fedco Fire Pump
Fig 5 Tank outlet view of:  Tank, hose, 2 ea. hose clamps, 2 ea. shoulder straps, Owner manual.
Smith Indian - Fedco Fire Pump
Fig 6 Pump
Smith Indian - Fedco Fire Pump
Fig 7 Detail of dual Nozzle. Single hole for long reach, two hole for misting.
Smith Indian - Fedco Fire Pump
Fig 8 By dissembling this end and finding no problems the cause of the sticking must be in the other end.

Body tube is 7/8" OD
Slide tube is 5/8" OD.
Smith Indian - Fedco Fire Pump
Fig 9 Check/Foot/Feed valve
Inlet and inlet valve (3/8" ball bearing).
When there's pressure inside the pump this ball is pressed up against the hose barb fitting blocking exit of water.  The seat for the ball is the hose fitting, not in the end cap.
Note:  you can see 2 dimples on the body tube that I did not notice them when I took the photo.
Smith Indian - Fedco Fire Pump
Fig 10 Using tape to mark where the sticking happens.
Note dimples in pump body.  My guess is that's the say the factory held the pump body while screwing on the check valve.  There should be an anvil that fits inside the body tube to prevent making dimples on the inside surface of the body, but it it was not installed all the way in this problem results.

The inner cylinder can be pushed in another 3/4" after hitting the dimples and so both sides of the inner check valve get deformed as well as the O-ring.
Smith Indian - Fedco Fire Pump
Fig 11 Close up of dimples.

Note outside diameter of valve is deformed on both sides of O-ring groove from dimples making bumps on the inside of the cylinder.
Smith Indian - Fedco Fire Pump

Fig 12 Bushing that keeps inner cylinder centered.
Note packing inside nut at left.
Smith Indian - Fedco Fire Pump
Fig 13 Pump extended exposes bushing (also shown in Fig. 8)

Smith Indian - Fedco Fire Pump
Fig 14 Bottom of tank marked:
D.B. Smith & Company
INDIAN
Utica, New York U.S.A.
Smith Indian - Fedco Fire Pump
Fig 15 Back marked
Air
Cooled
Patented
Tank
This is a misnomer, since the problem was very cold water sucking the heat out of the back of the person carrying the tank.  Should have been "Air Warmed".
Smith Indian - Fedco Fire Pump
Fig 16 Inside tank.  Note:
Both strainer basket at top of tank and diagonal strainer in bottom corner.
Separator plate divides tank into left and right halves to slow down water sloshing and hence maintaining the center of balance.
2022 July when installing the pump on the ATV I discovered that the filter had completely dissolved into rust. Now trying to find a replacement part.
Smith Indian - Fedco Fire Pump
Fig 17 By wrapping fiber type packing tape around the outer cylinder and a stick of wood about the same thickness AND applying heat for less than a minute the sealant and the green handle both started to bubble, the fitting easily unscrewed. 
Smith Indian - Fedco Fire Pump
Fig 18 Inside feed end of body showing one of the three internal dimples that was hitting the plunger brass.  Easy to remove with a small round file. You can see that the tip of the dimple has been worn by the brass plunger.
Smith Indian - Fedco Fire Pump
Fig 19 Pump cleaned up and working.  Note three No. 113 O-rings added so that pump will not hard bottom on closing stroke.  Tried adding one of these O-rings on the other end of the stroke, but the air pressure causes a jam, so that didn't work.

Next:  Use Loctite 222 on both threads on the feed fitting and on the nozzle to inner cylinder fitting (but not the nozzles).
Smith Indian - Fedco Fire Pump
Fig 20 FDA Type 3/8" Hose
Smith Indian - Fedco Fire Pump - Hose NOT
                      used
Fig 21
Smith Indian - Fedco Fire Pump - Hose
Fig 22 with 10 foot hose
Smith Indian - Fedco Fire Pump with 10' hose
ATV Fire Truck Fig 133
Polaris
                      Ranger EV


Patents

Fire Pump



669819 Spraying Apparatus or Device, M.B. Brooks, 1901-03-12, 222/396 137/587 222/481 222/401 137/586 - cylindrical tank w/pump and hose.

1544490 Sprayer, Golden R Smith, Myron H Smith, Alfred P Smith, Jessie A Richards, D B Smith and Co, 1925-06-30, -for bugs and/or plants.
D82114 Combined
                      Fire Pump and Container, Mykon H. Smith, Sep 23,
                      1930

D82114 Combined Fire Pump and Container, Mykon H. Smith, Sep 23, 1930,

no carry handle
Single nozzle
two each pump clips -
Hose to pump connection is in a line
1798708
                      Portable fire extinguisher and sprayer, Smith
                      Myron H, D B Smith & Company Inc, Mar 31,
                      1931

1798708
Portable fire extinguisher and sprayer, Smith Myron H, D B Smith & Company Inc, Mar 31, 1931, 222/530, 210/172.6, 222/189.6 - Smith Indian

no carry handle
Single nozzle
two each pump clips
Hose to pump connection is in a line
1798709 Nozzle,
                      Smith Myron H, D B Smith & Company Inc, Mar
                      31, 1931,
1798709 Nozzle, Smith Myron H, D B Smith & Company Inc, Mar 31, 1931,-
2 or 3 nozzles on the wand.
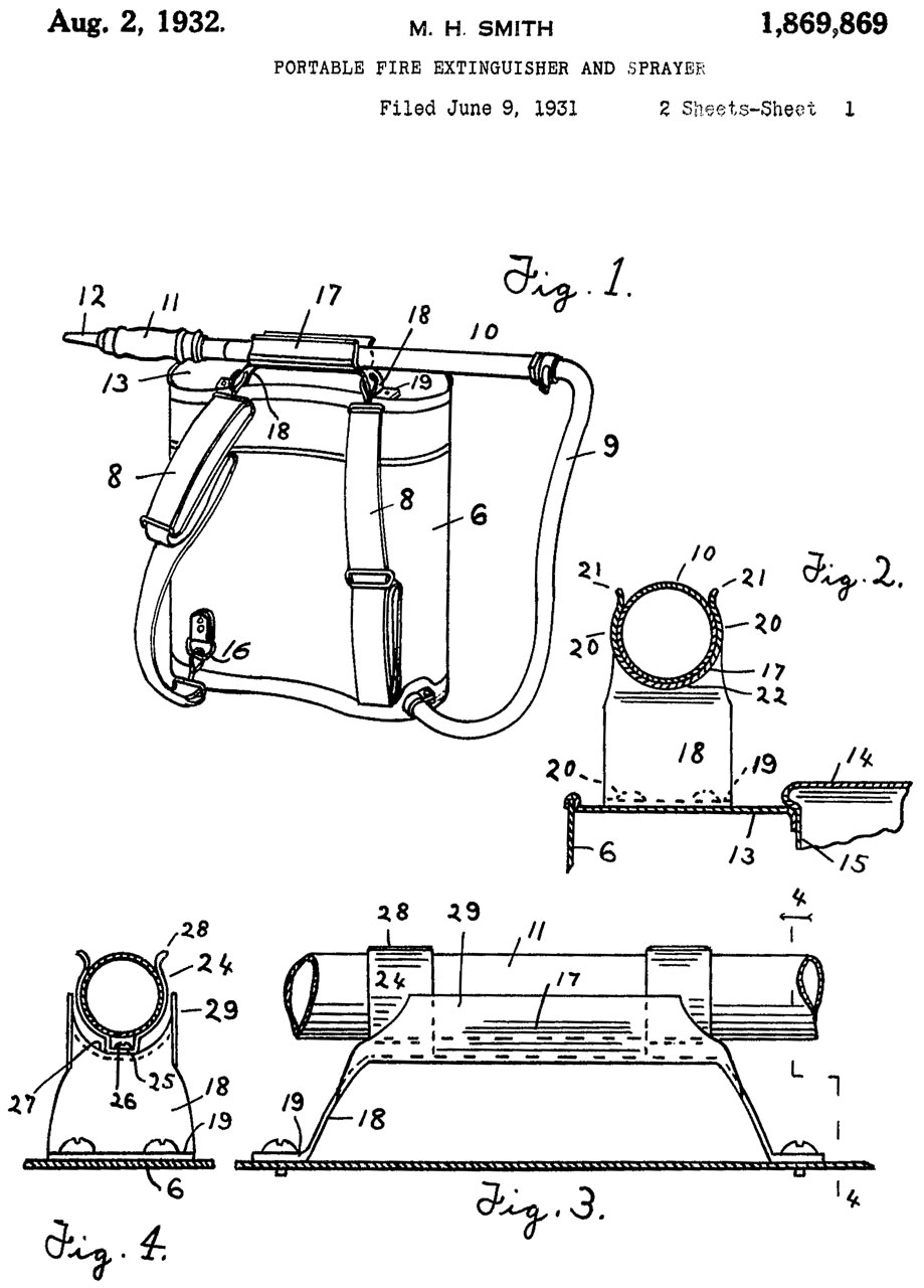
1869869
                      Portable fire extinguisher and sprayer, Smith
                      Myron H, D B Smith & Company Inc, Aug 2, 1932

1869869
Portable fire extinguisher and sprayer, Smith Myron H, D B Smith & Company Inc, Aug 2, 1932, 222/321.1, 222/475, 222/530 -
 tank top holder for pump & Carry handle


Single nozzle
Hose to pump connection is in a line
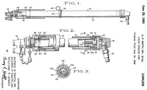
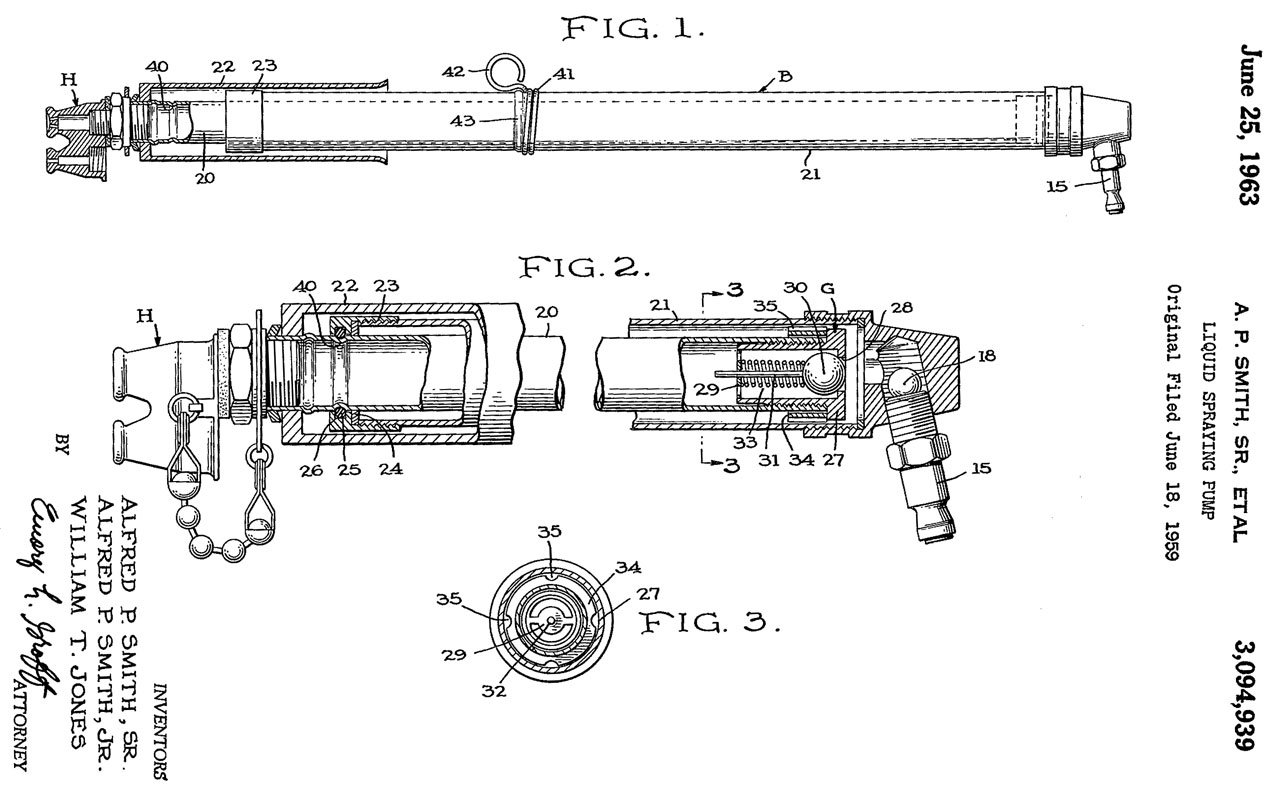
3094939 Liquid
                      spraying pump, Jones William T, Smith Jr Alfred P,
                      Smith Sr Alfred P, D B Smith & Company Inc,
                      Jun 25, 1963

3094939
Liquid spraying pump, Jones William T, Smith Jr Alfred P, Smith Sr Alfred P, D B Smith & Company Inc, Priority: Jun 18, 1959, Pub: Jun 25, 1963, 417/547, 417/549, 417/554, 92/30 
Angled hose to pump connection good since gravity will pull down ball.

First time Dual nozzle shown, so maybe dates from 1959?
1913006
                      Portable fire extinguisher and sprayer, Myron H
                      Smith, D B Smith & Company Inc, Jun 6, 1933

1913006
Portable fire extinguisher and sprayer, Myron H Smith, D B Smith & Company Inc, Jun 6, 1933, 224/148.2, 137/377, 224/148.6, 239/153, 224/629, 224/148.7, 224/907, 224/148.3, 224/650, 222/175 -   

Adds "Air Cooling" plate to thermally separate cold water from the wearer's back.



2252143 Pump Smith Myron H, D B Smith & Company Inc, Aug 12, 1941, 222/385 For the 80 series pressurized tank pumps  
3095123
                              Ambulant liquid spraying pump and supply
                              tank, Jones William T, Smith Jr Alfred P,
                              Smith Sr Alfred P, D B Smith & Company
                              Inc, Jun 25, 1963
3095123
                              Ambulant liquid spraying pump and supply
                              tank, Jones William T, Smith Jr Alfred P,
                              Smith Sr Alfred P, D B Smith & Company
                              Inc, Jun 25, 1963


3095123
Ambulant liquid spraying pump and supply tank, Jones William T, Smith Jr Alfred P, Smith Sr Alfred P, D B Smith & Company Inc, Jun 25, 1963, 222/175, 220/501, 222/189.11, 222/529, 222/475 - latest version of Smith Indian 5 Gal backpack (PS ambulant means to be used while moving as opposed to fixed.)

Minor improvements.  Quick Disconnect Automotive Air line fittings on both ends of the hose shown, but I haven't seen this done.  In my opinion the quick disconnect is a problem for fire fighting since there's the possibility of a leaking joint or a mismatch between the automotive and commercial fittings that look very similar but do not interchange.  Maybe this feature was for a use other than fire fighting?

Note that the pump has the open fitting and the mating end of the hose has a moving sleeve type fitting.  The bottom of the tank has the moving sleeve fitting so that the tank will not empty when the hose is removed and the mating end of the hose has the open sleeve fitting.  This means that the pump and hose assembly can be used with a water source like a bucket.  Adding an automotive fitting strainer would allow using pond water.

An additional strainer is added into the bottom corner of the tank next to the outlet which also tends to hold water there thus helping to prevent the pump from sucking air.  Also an internal vertical baffle to reduce sloshing.
 

Bug Sprayer

Myron Smith who patented the fire pump also patented a bug sprayer (2218860) where the pump body is tilted down so that when it's sitting on a table the end of the pump touches the table so it will not fall over (the bottom of the reservoir/can is flat on the table top).

Related

Forest Gardening - Irrigation
Home Fire Protection -
Kestrel 5500FW Fire Weather Instrument
Smart Meters - water & electric

Links

PRC68, Alphanumeric Index of Web pages, Contact, Products for Sale
Page separated from the Home Fire Protection web page on 30 Dec 2017.