Fire

© Brooke Clarke 2017

Background
Description
    Starting
    Blow Torch
    Bernz-O-Matic TS2000
    Micro Butane Torch
    Alcohol Torch
    Camping Stove
    Lamps
        Velocipede
        Oil Lamps
            Argand Lamps
        Wicks
        Plain Kerosene Lamps
            Dietz Night Watch  No. 10 (Dead Flame)
            Bradley and Hunter (Central Draft Oil Table Lamp)
            Dietz No. 0 Victor (Hot Blast)
            Dietz D-Lite No.2 (Cold Blast)
        Plain Kerosene Mantle lamps
        Pressurized Kerosene Mantle Lamps
        Carbide
            Acme Miner's Lamp
        Miner's Safety Lamp
            Koehler Miner's Lamp
            Wolf Miner's Lamp
            Wolf UK Miner's Lamp
            Koehler "Wheat" Miners Lamp No. 5200 & 5262-V Charger
    Stonebridge automatic Folding Lantern
Heaters
    Mr. Heater Buddy
    Self Powered Fan
    Tea Candle Powered LED
Related
References
Links

Background

While buying some items that have to do with controlling fire for various purposes I tried to come up with a web page title that was general enough to cover them all rather than make new web pages for each one.  But  I already have a web page for the Big Bang Carbide Cannon and for cigarette and cigar lighters and light sources.

Patent Class 431 is titled "Combustion" and most of what's on this web page falls under this class.
While I have used a number of subheadings below, they are all very closely related.  They all use a liquid fuel and need to vaporize it prior to burning.  Note that candles and old wick in oil lamps actually are burning vapor not liquid fuel.

Description

Starting

Fire making (Wiki)

There are many ways to start a fire.  Cigarette - Cigar lighters used to be common when more people smoked.  The flint used in a cigarette lighter is a key element of that device.


6" x 1/2" Ferro-Cerium Rod & Striker
Ferro Cerium
                      Rod & Striker
837017 Pyrophoric alloy (Wiki), Carl Auer Von Welsbach (Wiki), Nov 27, 1906, 420/416; 252/181.6; 252/181.7; 431/273 -  pure rare earth metals do not work.  But Cerium (Wiki) when alloyed with ideally 30% iron.  sparking by abrasion or concussion.  Wiki: Ferrocerium aka: lighter flint
993998 Metallic alloy, Adolf Huber, Kunheim And Co, May 30, 1911, 420/416; 420/580 - includes 12% aluminum    
1006849 Pyrophoric metal alloy, Georg Friedrich Hofmann, Oct 24, 1911, 420/580 - 5% Cerium with manganese and antimony (maybe for cigarette lighters?)

RE25558 Pyrophoric alloys without iron, Walter Bungardt, Ronson Metals Corporation, Apr 21, 1964, 420/416 -  
3402029 Fire kindling method, Sampson Jr William S, Ulibarri Joe A, Watson John A, Ute Mountain Supply Company, Sep 17, 1968, 431/6, 44/506 -  Mischmetal (Wiki) and magnesium  


Blow Torch (Wiki)

Unknown Brand/Model
Came in crushed box and air pump broken off.
A Turner Brass Works blowtorch on eBay has a bottom view that's very similar, so maybe that's who made this?
A very similar blowtorch on eBay says it's a "Fulton".
Typically worked with gasoline

Blowtorch Broken
                      in shipping
Crushed box
Broken air pump
Fig 1 Notice metallic wicking material at top of dip tube.
Blowtorch
                      broken in shippiong
Fig 2 Wick does not extend to bottom of dip tube.
Blowtorch
                      broken in shippiong

1628739 Plumber's blowtorch, William F Pagel, May 17, 1927 - has the same feel

Patent
                    Drawing
Patent
                      Drawing 887743 Apparatus for removing paint, Joseph Hendrik Storm Jr, Petrus Hermanus Van Haselen, Joseph Hendrik Storm Jr, May 12, 1908,  126/401; 15/236.01; 30/140; 30/169 -  
Patent
                      Drawing 918006 Vapor-torch, Wilfrid Chausse, Landon P Smith, Guy Osborn, Wilfrid Chausse, Apr 13, 1909, 431/243 - paint burner, soldering iron heater, air pump, coil in flame to vaporize gasoline.
Patent
                      Drawing 937757 Air-pump for blow-torches, Otto Bernz, Oct 26, 1909, 92/23; 417/497 - an accessory air pump for a blow torch
Patent
                      Drawing 1364194 Torch, Otto J Groehn, Clayton & Lambert Mfg Company, Jan 4, 1921, 220/756; 220/651; 220/759; 431/320 - handle can be replaced with air pump.
Patent
                      Drawing 1421031 Burner for liquid hydrocarbon fuel, Francis P Schmitt, Peerblow Mfg Company, Jun 27, 1922, 431/123 -pre-heat fuel tray
Calls:
1135072  431/242 - air pump no fuel tray, - easier to clean nozzle and replace pre-heating tube.
Patent Drawing
Patent
                    Drawing
1538634 Torch-burner construction, Otto J Groehn, Clayton & Lambert Mfg Company, May 19, 1925, 431/123 - pre-heat tray, 2 knobs - separates orifice cleaning and control valve.
Patent
                      Drawing 2793504 Portable apparatus utilizing pressurized gas fuel, Webster Milo E, Otto Bernz Co Inc, May 28, 1957, 137/322, 137/614.2, 222/3, 222/491, 222/540, 431/344 -  Bernz-O-Matic - uses propane for fuel, rather than a liquid fuel.  
Patent
                      Drawing

Patent
                      Drawing
2804918 Retort burner and blowtorch incorporating the same, Richard J Brown, David L Raymond, Hupp Corp, Sep 3, 1957, 431/220, 431/216, 431/242 - preheats air
Patent
                      Drawing 2888979 Hand torch, Lindgren William L, Turner Brass Works, Jun 2, 1959, 239/337, 222/3, 239/533.15, 62/50.7, 137/511, 62/48.1, 239/572, 239/562, 431/349 - uses disposable propane tank.   

Bernz-O-Matic TS2000

This is a propane torch (Wiki) head for a hand held 14.1 ounce propane tank.  It includes a piezo lighter.  These air fed torches can get up to about 3,623 °F.  Hotter than a butane torch (Wiki).
It's been my experience that leaving the torch head on the tank results in an empty tank.  Best to remove the torch head from tank when not in use.


Bernz-O-Matic TS2000

Patent
                      Drawing 4526532 Self-igniting torch, John M. Nelson, Newell Companies, Inc., Jul 2, 1985, 431/255, 431/264, 251/353, 239/579, 239/401, 251/354
Patent
                      Drawing 4666399 Low pressure gas torch burner, John M. Nelson, Newell Companies, Inc., May 19, 1987, 431/264, 431/344, 431/353
Patent
                      Drawing 4954078 Spark igniter system, John M. Nelson, Newell Companies, Inc., Sep 4, 1990, 431/255, 431/266, 315/209.0PZ, 313/123

Micro Butane Torch

Butane Micro Torch Item# TZ6915
about $10 on eBay

Fig 1
Butane
                      Micro Torch Item# TZ6915
Fig 2
Butane
                      Micro Torch Item# TZ6915

This is a butane torch (Wiki).  The original was patented I think with trade name: Blazer Micro Torch.



Patent
                      Drawing 4597732 Burner device, Sadao Yoshinaga, Prince Industrial Development Co., Ltd., Jul 1, 1986, 431/255, 431/344 - manufactured first by Blazer Technology    


Alcohol Torch

Fig 1 Left to Right:

1. Otto Bernz, Newark, N.J. Benz-O-Matic (Wiki)
There appears to be a blow tube but it's open on both ends.  If it was a round tube where you could attach flexible tubing that would make sense, but this is a rectangular tube.  Brik Mfg. Co., Niantic, Conn made a "solid Fuel" "Super Jet" torch with an identical flat type blow pipe which by means of a special adapter was fed by a round tube.




2. Harmic Mfg. Company, Pa\A, Bestjet Alcohol Blowtorch
2628671 Wick-type liquid fuel hand torch having wick-fed retort, Silverman Myer Allen, Sherman Harry, Liberman Hyman, Feb 17, 1953, 431/230, 431/146 - single larger diameter tube instead of two separate tubes. "Bestjet"
2628671
                      Wick-type liquid fuel hand torch having wick-fed
                      retort, Harmic Mfg. Company, Pa\A, Bestjet Alcohol
                      Blowtorch
3. TBD
4. Scovill Mfg. Co., Waterbury, Conn. The "Imp" Handtoch
e 1929039 Torch, Schaff Almanzo, Scovill Manufacturing Co, Oct 3, 1933, 431/241 - "Imp"
1929039 Torch,
                      Schaff Almanzo, Scovill Manufacturing Co, Oct 3,
                      1933, 431/241 - "Imp"


Fig 1
Alcohol
                      Torchs
Fig 2
Alcohol
                      Torchs


524526 Lamp,
Jacob Geiser, Aug 14, 1894, 431/218; 431/230 - vapor generated by the application of heat to the wick-tube is burned in lieu of the inflammable liquid itself
712097 Automatic blowpipe, August C Rosenbrook, Oct 28, 1902,  431/230; 431/231 -   heat from flame vaporizes alcohol in supply tube and pressurizes system
901307
Hydrocarbon-torch, Francis B Carleton, Oct 13, 1908, 431/241 - heat from flame vaporizes alcohol in supply tube and pressurizes system
992399 Automatic pressure-torch, Otto Bernz, May 16, 1911, 431/123; 362/159; 431/241 - wick inside freed tube uses capillary action to get alcohol near heated tube so it can vaporize 
1296869 Blow-torch, Leon U Snow, Mar 11, 1919, 431/230 - single cylinder, but same operation as above units.
1551069
Automatic blowtorch, Stanczyk Stanley, D. Allen Lenk, Aug 25, 1925, 431/204, 431/230 -
1604751
Blowtorch, Lester L Lasher, Lasher-Peerblow Co.,  Oct 26, 1926, 431/230 - 2 long cylinders, one with a wick and alcohol and the other with liquid alcohol with a bent tube with nozzle. 
1684524 Torch, Stanczyk Stanley, (not assigned), Sep 18, 1928, 431/230 - tank split with horizontal divider, bottom feeds heater, top pressure nozzle.  Requires access port on bottom side wall.
1772254 Alcohol torch, Joseph M Imfeld, Otto Bernz Co Inc, Aug 5, 1930, 431/203, 431/343 - single can construction
2442394
Blowtorch with continuously burning vaporizer and igniter, Baum Horace L, Jun 1, 1948, 431/230 -

Camping Stove

521128 Vapor-stove, Henry Ruppel, Filed: Oct 7, 1893 Pub: Jun 5, 1894, 431/218; 126/44 - using vapor pressure caused by heating, rather than air pump.
174366
vapor-burning stove, Thomas B. Jeffery, & F. Rosengren, Mar 7, 1876, 431/205 I'm guessing the cup "D" is a pre-heat tray 

Coleman 520 & 530 G.I. Pocket Stove
2363098 Burner for fuels containing tetraethyl lead, Boyd W. Tullis, Coleman Lamp & Stove Co, Filed: Jan 12, 1942 Pub: Nov 21, 1944, 431/123, 431/350, 126/44, 431/207 - Model 520 & 520 G.I. Pocket Stove (Wiki)  "lead" was used in gasoline between the 1920s and in the 2000s was phased out for road vehicles in the U.S. - the problem this patent solves relates to Hydrocarbon gums, coloring materials and tetraethyl lead that clog the hot vaporizer

2363099 Burner for fuels containing tetraethyl lead and other objectionable foreign matter, Boyd W. Tullis, Coleman Lamp & Stove Co, Filed: Jan 12, 1942 Pub: Nov 21, 1944, 431/207, 126/44, 431/344 - for burners of 5,000 BTU or less patent 2363098 works, but for burners of 10,000 BTU or more a way is needed to cool the vaporizer discharge tip to allow the higher boiling point fractions to escape before being carbonized.
2402139 Preheater for liquid fuel burners of the pressure type, Charles Hebard Hugh, Mantle Lamp Company, Jun 18, 1946, 137/244, 137/605, -  cleaning needle keeps oriface open
2465572 Portable stove for burning liquid fuel, Carl Bramming, Mantle Lamp Co America, Filed: Apr 15, 1943 Pub: Mar 29, 1949, 431/344, 431/353, 126/38, 431/225, 431/227, 431/343, 126/44, 126/9.00R - a Pocket Stove, many sheet metal parts for lower cost, air pump also used to store spare parts,
2478364 Fuel valve and nozzle cleaning mechanism for portable liquid fuel burners, Carl Bramming, Aladdin Ind Inc, Filed: Jun 5, 1944 Pub: Aug 9, 1949, 431/123, 126/44, 126/38, 431/227 -
2500610 Portable hydrocarbon furnace, Thomas Keller, Cedarberg Mfg Company Inc, Filed: Jun 11, 1945 Pub: Mar 14, 1950, 431/246, 431/344 - kerosene,  pre-heat fuel tray 

Lamps

Velocipede

Often the patents are for parallel 2-arm suspensions for the lamp.

This was the name of what we now call a bicycle.
407409 Lamp for velocipedes, Harry Lucas (Wiki: Son of Joseph), July 23, 1889, 248/590; 248/625; 248/597; 362/369; 248/284.1 -
578564 Velocipede lamp, J.N. Herman, (not assigned) Mar 9, 1897, 362/180 - oil wick - need to check dates of kerosene lamps for air circulation
568209 Electric lamp for velocipedes, A.M. Rodriguez, (not assigned), Sept 22, 1896, 362/193; 310/73; 315/78; 322/42; 307/157; 310/75R; 322/1  - Generator driven from pulley  rubbing on front tire.
346667 Velocipede, J.C. Maret, Aug 3, 1886, 280/238; 280/261; 474/73; 188/26; 280/265 - a penny farthing style bicycle but with gearing and chain drive -

Wicks

Wicks (Wiki) do not work by burning themselves, but rather they use Capillary action (Wiki) to raise liquid fuel near the flame which vaporizes the liquid into a gas that then burns.  The strength of the capillary action depends: directly onthe surface tension (Wiki) and inversely on: density (Wiki), inside radius of the tube and acceleration of gravity.

Oil Lamps

Oil lamps (Wiki) have been around for thousands of years, the simplest being a cup with wick where the flame is close to the top of the liquid so that thick oils will work.  Maybe 1,000 years after oil lamps candles (Wiki) were invented.  Whale Oil (Wiki) was used in lamps for about 100 years from 1800 to 1900.

Argand Lamps

Argand Lamps Whale Oil lamps (Wiki) were an improvement on first generation oil lamps and were replaced with kerosene (Wiki) lamps.  The key elements were one, a hollow circular wick so that air could be provided on both the outside and through the center making for more light and cleaner burning. Later called a "central draft lamp" and two, raising the fount (reservoir) above the burner so that fuels with low capillary action could be used.  This was during the time of vegetable oil lamps.

This particular lamp has been in the same family for a number of generations.  They referred to it as the "Whale Oil" lamp and there were Whaling boat captains in the family.

Fig 1 One original chimney and one replacement.
Argand Lamp
Fig 2 Old Waldom & Woldman catalog.
Argand Lamp
Fig 3 Burner, but photos not clear.
Argand Lamp
Fig 4 Oil reservoir
Argand Lamp
Fig 5 Oil reservoir
Argand Lamp
Fig 6 Burner marked:
Messenger & sons
63 Hatton Garden London
& Birmingham
Manufactured for
Alfred Welles
Boston
Argand Lamp

GB1425 Lamp, Francois-Pierre-Ami Argand, 1784-03-15 - (Antiques.net)
1790 Argand Lamps in the Mount Vernon museum.
6680X Sprit Lamp, I. Jennings, 1831-08-01, 431/241 - oldest patent in class 431/241. - long wick in tube.  Image only, patent burned in 1836 fire (Wiki).
6625 Vapor Burner, John G. Webb, 1849-08-07, 431/241 - Argand type
2254 Vapor Burner, I. Jennings, 1841-09-11, 431/241 - "My improved lamp is to have two reservoirs for containing the volatile ingredients, which ingredients are to be of two different kinds; one of them, for example, may be Spirits of turpentine, naphtha, or other fluid of the nature of an essential oil, and the other may be alcohol, whisky, or Other ardent spirit, or any other volatile fluid."
13674 Argand lamp, John G. Webb, 1855-10-09, (patent model Photo in Henry Ford Museum)
367770 Argand lamp, Walter B. Vansant, 1887-08-02, -
389068 Argand Lamp Burner, Peter J. Foulon, 1888-09-04, -
404474 Argand lamp-burner, Peter J. Foulon, 1889-06-04, -
454686 Oil Lamp and Burner, C.M. Richmond, 1891-06-23, -
471507 Central Draft Lamp, H. Craighead, Craighead & Kintz Co, 1892-03-22, -
478815 Lamp, J.M. Pfaudlee, 1892-07-12, -
D23722 Lamp Burner, L. Hornberger, Edward Miller & Co, 1894-10-23, -
501025 Central Draft Lamp, F. Rhind, Bridgeport Brass Co, 1893-07-04, -
501275 Lamp, Thomas Hipwell, Manhattan Brass Co, 1893-07-11, -
502284 Lamp Burner Gallery, W.H. Edsall & H.C.H. Walsh, H.L. Judd & Co, 1893-08-01, -
502704 Lamp Burner, J.B. Colt, 1893-08-08, -
502880 Lamp, W.H. Edsall, 1893-08-08, -
503007 Lamp Burner, H.E. Shafer, 1893-08-08, -
505619 Indicator Float, F.T. Williams, Edward Miller & Co,1893-09-26, -
506408 Wick Raiser, H.E. Shaffer, 1893-10-10, -
508812 Hydrocarbon Lighting Device, F.A. Cody, 1893-11-14, -Argand style with remote oil supply
508572 Lamp Burner, J. Jauch, Bradley & Hubbard Mfg Co, 1893-11-14, -
509076 Apparatus for using Liquid Fuel for Lighting or Heating, H. Galopin, 1893-11-21, -
509189 Oil Stove, A.R. Welch, 1893-11-21, -
509324 Central Draft Lamp, J.F. Place, 1893-11-21, -
509943 Lamp Extinguisher, W.P. Quentell, 1893-12-05, -
510149 Oil Burner, J. Aitchison, 1893-12-05, -
510378 Wick-raising device for central-draft lamps, R. Brenner, 1893-12-05, -
511398 Chandelier Car Lamp, E. Boesch, 1893-12-26, -
511572 Wick Raiser, W.H. Wilder, 1893-12-26, -
513059 Wick Lifter, J. Reid, Nail City Stamping Co, 1894-01-16, -
513501 Wick Fastener, B.F. Goodrich & J.M. Merritt, 1894-01-30, -
513638 Wick Raiser for Lamps, H.W. Hayden, Holmes, Booth & Haydens, 1894-01-30, -
513790 Gas Burner, S.M. Kemp, 1894-01-30. -
514036 Lamp, W.B. Robins, 1894-02-06, -
514158 Argand Lamp, E. Miller Jr., Edward Miller & Co, 1894-02-06, -
514627 Lamp trimmer and regulator, A.W. Robinson, 1894-02-13, -
519851 Lamp, E.F. Trent, 1894-05-15, -
519852 Lamp, E.F. Trent, 1894-05-15, -
519853 Lamp, E.F. Trent, 1894-05-15, -
519854 Lamp, E.F. Trent, 1894-05-15, -
520093 Oil-burner, C. Trench, 1894-05-22
520997 Oil Burner, J.M. Merritt, 1894-06-05, -
521439 Lamp, W.A. Phillips, 1894-06-12
522462 Lampligter, F. Ferguson, 1894-07-03, -
522691 Wick-adjuster for central-draft lamps, J.C. Miller, 1894-07-10, -
524682 Lamp Burner, J. Kampf, 1894-08-14, -
RE11436 (510025) Central Draft Lamp, F. Rhind, Bridgeport Brass Co, 1894-08-28, -
525720 Wick-raiser, F. Rhind, Bridgeport Brass Co, 1894-09-11, -
529496 Air Distributer for Central Draft Lamps, J. Jauch, Bradley & Hubbard Mfg Co, 1894-11-20, -
530402 Lamp, F. Doelle & H. Von Glahn, 1894-12-04, -
531219 Lamp-burner, R. Rhind, Bridgeport Brass Co, 1894-12-18, -
532077 Lamp-burner, C.M. Lungren, 1895-01-08, -
532336 Chimney-lifter, F. Rhind, Bridgeport Brass Co, 1895-01-08, -
533750 Construction of Oil Lamps, J.H. Ross, 1895-02-05, -
534100 Lamp, J. Funck, 1895-02-12, -
534103 Argand Lamp, T. Hipwell, Manhattan Brass Co, 1895-02-12, -
534870 Lamp-burner, D.T. Fox, 1895-02-26, -
535499 Lamp, F.W. Ives, Edward Miller & Co, 1895-03-12, -
537849 Wick Adjuster for Central Draft Lamps, W.C. Homan, Bradley & Hubbard Mfg Co, 1895-04-23, -
537890 Wick Adjuster for Central Draft Lamps, W.C. Homan, Bradley & Hubbard Mfg Co, 1895-04-23, -
538415 Gas Attachment for Lamps, W.H. Hill, 1895-04-30, -
538476 Wick Raiser for Lamps, L.J. Atwood, Plume & Atwood Mfg Co, 1895-04-30, -
538862 Lamp, J.E. Bohner, 1895-05-07, -
539467 Lamp, G.W. Woodward, Ansonia Brass & Copper Co, 1895-05-21, -
539761 Lamp, F.T. Williams, Edward Miller & Co, 1895-05-21, -
541281 Wick Adjusting Device for Central Draft Lamps, A.H. Jones, Meriden Bronze Co, 1895-06-18, -
542781 Air Distributer for Lamps, H.E. Shaffer, Shaffer Lamp Co, 1895-07-16, -
545462 Central Draft Lamp, W.H. Edsall & F.L. Lathrop, H.L. Judd & Co, 1895-09-03, -
546435 Lamp, H.E. Shaffer, Shaffer Lamp Co, 1895-09-17, -
538427 Lamp, C. Maschmeyer, Edward Miller & Co, 1895-04-30, -
547006 Lamp, Lamp Stove, &Etc., J.A. Frey, 1895-10-01, -
548314 Lamp, W.J. Hoerle, Pittsburg Brass Co, 1895-10-22, -
550704 Oil Burner, C. Whittingham, Western Stove & Mfg Co, 1895-12-03, -
552327 Lamp Burner, W.A. Penfield, Bradley & Hubbard Mfg Co, 1895-12-31, -
553959 Self Extingushing Lamp, J. Gregory, 1896-02-04, -
554038 Lamp Burner, J.C. Shull, Meriden Bronze Co, 1896-02-04, -
554404 Wick Raising or Lowering Device, A.R. Welch, 1896-02-11, -
554935 Wick Adjusting Device for  Central Draft Lamps, A.H. Jones, Meriden Bronze Co, 1896-02-18, -
554936 Lamp Burner, A.H. Jones, Meriden Bronze Co, 1896-02-18, -
556980 Air Distributer for Central Draft Lamps, W.C. Homan, Edward Miller & Co, 1896-03-24, -
557225 Hydrocarbon Burner, R.A. Poitrimol, 1896-03-31, -
557270 Lamp, W.J. Hoerle, Pittsburgh Brass Co, 1896-03-31, -
560875 Oil Burner, A.R. Welch, 1896-05-26, -
561108 Extinguisher for Lamp Burners, Manhattan Brass Co, A. Gross, 1896-06-02, -
563551 Filling Device for Lamps, N.L. Bradley, Bradley & Hubbard Mfg Co, 1896-07-07, -
564017 Central Draft Lamp, N. Johnson & A.H. Jones, Meriden Bronze Co, 1896-07-14, -
564018 Wick Adjuster for Central Draft Lamps, N. Johnson, 1896-07-14, -
564718 Central Draft Oil Lamp, J.H. Ross, 1896-07-28, -
566208 Drip Trough for Central Draft Lamps, J.C. Miller, Matthews & Willard Mfg Co, 1896-08-18, -
566209 Drip Trough for Central Draft Lamps, J.C. Miller, Matthews & Willard Mfg Co, 1896-08-18, -
575606 Lamp Burners, A.H. Jones, Meriden Bronze Co, 1897-01-19, -
576876 Wick Adjuster for Central Draft Lamps, J.C. Miller, Matthews & Willard Mfg Co, 1897-02-09, -
577583 Chimney Lift for Central Draft Lamps, F. Rhind, Bridgeport Brass Co, 1897-02-23, -
554491 Lamp Burner, J. Jauch, Bradley & Hubbard Mfg Co, 1896-02-11, -
614471 Wick Raiser, W.C. Homan, Edward Miller & Co, 1898-11-22, -
645005 Lamp Burner, J.M. Pfaudler, 1900-03-06, -

Plain Kerosene Lamps

Standard Oil used the" sell razor blades not razors" business model (Wiki) developed by Gillette.  They gave away or sold the lamps below cost in China to promote the sale of Kerosene.

Kerosene Patents

7052 Gas Apparatus, A. Gesner (Wiki), Jan 29, 1850, 48/102R; 48/211 - 
11204
Improvement in kerosene burning-fluids, Abraham Gesner, The asphalt Mining And Kerosene Gas Company, Jun 27, 1854 208/272; 208/265; 208/273; 208/295 -
11205
Improvement in kerosene burning-fluids, Abraham Gesner, The asphalt Mining And Kerosene Gas Company, Jun 27, 1854 208/272; 208/265; 208/273; 208/295-
12936 Improvement in burning-fluids, Abraham Gesner, North American Kerosene Gas Lighting Co., May 22, 1855, 44/451 -
12987 Improvement in burning-fluid compounds, Abraham Gesner, North American Kerosene Gas Lighting Co., May 29, 1855, 44/451-

A practical treatise on coal petroleum and other distilled oils by Gresner, 1861 - pdf -  "practical not theoretical" pg 78: "The greater the quantity of carbon, in proportion to the hydrogen any one of them contains, the greater is the specific gravity, the higher its boiling point, density of vapor, and tendency to smoke when employed for the purpose of illumination."

Kerosene Lamps

The earliest examples of kerosene lamps (Wiki) were simple wick lamps and later a glass chimney was added probably first to keep wind from blowing out the flame and later to make an updraft to fan the flame.   As explained on the Wiki page there are many types of kerosene lamps.  One type of plain kerosene lantern is called either barn, hurricane or railroad.  These are typically made up of a sheet metal frame that traps the glass globe at the top and bottom and have a bail for carrying or hanging.  The "cold-blast" type burns brighter than other versions without a mantle.  The earlier "hot-blast" type used air that had been used in burning and so did not have as much oxygen. The even earlier (1850 - 1860) "glass globe" lanterns with "dead-flame" were even dimmer.

Glass Chimney Adjustable Wick but no air tubes

20178 Lamp Burner, Ralph Thomas, 1858-05-04, 431/314 - oldest patent in class 431/314. - round wick & lifter
23160 Lamp Burner, M.A. Dietz, 1859-03-08,  431/314 - flat wick & lifter
RE1032 (23160) Lamp, Michael A. Dietz, 1860-09-04, 431/314 -

Dietz Night Watch  No. 10 (Dead Flame)

Fig 1
Dietz
                        Night Watch No. 10 Dead Flame Keorsene Lantern
Fig 2 Latch at top left
Dietz
                        Night Watch No. 10 Dead Flame Keorsene Lantern
Fig 3 Press latch to open lid
Hold latch to clear globe
Dietz
                        Night Watch No. 10 Dead Flame Keorsene Lantern

Bradley and Hunter (Central Draft Oil Table Lamp)

Fig 1 Very poor packaging, but it survived (by luck!)
Bradley
                        and Hunter (Central Draft Oil Table Lamp)
Fig 2  Note many holes in base to let in air.
Bradley
                        and Hunter (Central Draft Oil Table Lamp)
Fig 3 Patd:
Chimney Support
Burner Core
many central air holes
Feb 28, 1905
 (783799 Wick Raiser)
Nov 20, 1894
 (9529496 Air Distributer)
Dec 31, 1895
 (552327 Lamp Burner)
Apr 23, 1895
 (537849 Wick Adjuster)

Mar 24, 1896
 (556980 Air Distributer)

Bradley
                        and Hunter (Central Draft Oil Table Lamp)
Fig 4 Wick lifter turned up
Patd June 7, 1898
 (605186 Wick Lifter)
Bradley
                        and Hunter (Central Draft Oil Table Lamp)
Fig 5 threads on bottom, many external air holes.
Bradley
                        and Hunter (Central Draft Oil Table Lamp)
Fig 6  Top View.The meaning of "Central Draft" is clear.
Cap marked: Made in United States of America.
Bradley
                        and Hunter (Central Draft Oil Table Lamp)
Fig 7 The meaning of "Central Draft" is clear. Bottom view
Bradley
                        and Hunter (Central Draft Oil Table Lamp)


In business 1852 - 1940 (Wiki) sold to Charles Parker Co. (Wiki) 1832 - 1975

Edward Miller & Co. (Wiki),1844 - 1924 transferred to The Miller Co. (Stuart Driver's lamp web page)

373376 Standard Lamp, William A Penfield, Bradley & Hubbard Mfg Co, Nov 15, 1887, 248/414 -
389375 Shade Ring for Hanging Lamps,  Emil Fisher, Bradley & Hubbard Mfg Co, Sep 11, 1888, 362/441
421171 Central Draft Lamp, J. Jauch, Bradley & Hubbard Mfg CoFeb 11, 1890, 431/309 -
427870 Central Draft Lamp, Joseph Jauch, Bradley & Hubbard Mfg Co, May 13, 1890, 431/309 -
473667 Central Draft Lamp, Joseph Jauch, Bradley & Hubbard Mfg Co, Apr 26, 1892, 431/309 -
474171 Wick Raiser for Central Draft Lamps, Joseph Jauch, Bradley & Hubbard Mfg Co, May 3, 1892, 431/308 -
502926 Cap for Filling Nipples of Lamp Founts, Joseph Jauch, Bradley & Hubbard Mfg CoAug 8, 1893, 220/816spring loaded so will not be lost
512967 Suspension RIng for Harps for Hanging Lamps, Joseph Jauch, Bradley & Hubbard Mfg Co, Jan 16, 1894, 362/417; 232/41R -
529496 Air Distributer for Central-Draft Lamps, Joseph Jauch, the Bradley and Hubbard Mfg. Co., Nov 20, 1894, 431/309 -
537849 Wick Adjuster for Central Draft Lamps, William A. Penfield, Bradley & Hubbard Mfg. Co., Apr 23, 1895, 431/308 -
552327 Lamp Burner, William A Penfield, Bradley & Hubbard Mfg Co, Dec 31, 1895, 431/302 -
556980 Air Distributer for Central Draft Lamps, W.C. Homan, Edward Miller & Co. (Wiki), Mar 24, 1896, 431/309
553686 Cooking Lamp, W.A. Penfield, Bradley & Hubbard Mfg. Co.,Jan 28, 1896, 431/321; 122/44.2 -
554491 Lamp Burner, Joseph Jauch, Bradley & Hubbard Mfg Co, Feb 11, 1896, 431/251 -
576413 Lid for Alcohol Lamps, William A Penfield, Bradley & Hubbard Mfg Co, Feb 2, 1897, 431/152 -
589220 Bicycle Bell, William A Penfield, Bradley & Hubbard Mfg Co, Aug 31, 1897, 116/159 -
605186 Wick-lifting device, William A Penfield, Bradley & Hubbard Mfg Co, Jun 7, 1898, 431/308
641862 Acetylene-gas lamp, Joseph Jauch, Bradley & Hubbard Mfg Co, Jan 23, 1900, 48/53.4; 48/53.1 - interesting construction
644008
Suspension device for lamps, &c., Emil Fisher, Bradley & Hubbard Mfg Co, Feb 20, 1900, 242/378; 242/381 - 
672178 Indicator for lamp-founts, William A Penfield, Bradley & Hubbard Mfg Co, Apr 16, 1901, 73/317 - floating cork drives gas gauge
678126 Combined wick-stop and flame-extinguisher, William Allen Penfield, Bradley & Hubbard Mfg Co, Jul 9, 1901, 431/309 -  
783799 Wick-raiser for central-draft lamps, William Allen Penfield, Bradley & Hubbard Mfg Co, Feb 28, 1905, 431/307 -
914804 Candlestick, Reuben F Crooke, Bradley & Hubbard Mfg Co, Mar 9, 1909, 431/290 - internal spring pushes candle up to flame stays at same place   
1056682 Shade or globe holder, Frank S Hubbard, Alfred P Hirschfeld, Bradley & Hubbard Mfg Co, Mar 18, 1913, 362/437 -   
1082284 Air-distributer for central-draft lamps, William A Penfield, Bradley & Hubbard Mfg Co, Dec 23, 1913, 431/309 - improvement on 529496 (556980 not mentioned) -will work with heavier oil than common burners  
1489887 Shade holder, Alfred P Hirschfeld Bradley & Hubbard Mfg Co, Apr 8, 1924, 362/437 - hanging (swag)

Dietz No. 0 Victor (Hot Blast)

This is a square tube design that came before the more economical to manufacture round tube design.  The first of the "tubular" lanterns.
These are still sold because they are more fuel efficient than the more modern cold blast design although they are also not as bright as the cold blast.
Also the hot blast burns the exhaust gas so is not a smelly as the newer cold blast.

89770 Lantern, J.H. Irwin, (not assigned), May 4, 1869, 362/171
RE8598
Hot Blast
89770
                              Lantern, J.H. Irwin, (not assigned), May
                              4, 1869, 362/171 - Dietz No. 0 Victor
                              kerosene Lamp "Hot Blast"
Fig 1 Front showing cork in fill hole
wick adjusting knob, and lift lever
Globe Marked:
Fitzall
LOC-NOB (Lock knob)
Rec,d U.S. Pat Off
Oil tank marked:
DIETZ No. 0
Dietz No. 0
                        Victor (Hot Blast) Keroscene Lantern
Fig 2 Back
Globe Marked:
Dietz
Suyracuse N.Y.
U.S.A.

Oil tank marked:
VICTOR
Dietz No. 0
                        Victor (Hot Blast) Keroscene Lantern
Fig 3 Globe in up position.
Dietz No. 0
                        Victor (Hot Blast) Keroscene Lantern




Globe Lock Knob Patents

1089912 Lantern, Frederick Dietz, Dietz Co R E, Mar 10, 1914, 362/177 - globe can be tipped back and stay in wire cage because of knobs at sides.  You can see them in Fig 1 above, but noticed that the No. 1 lantern does not have wires that made with them so the above lantern does not support tipping the globe.
D51721 Lantern Globe, F. Dietz, R.E> Dietz Co., Feb 18, 1918, D26/128 - Wide top and bottom opening and knobs for tipping.
1476117 Lantern, Duyn Frederick W Van, Dietz Co R E, Dec 4, 1923, 362/177 - the knobs are shaped as ramps or cams allowing the globe to be rotated on the globe plate to engage the globe clamping wires.  Since the wires have a concave shape adjacent to the globe knobs it will not rotate out of the locked position.

This has a strong similarity to the Hot Blast patent 89770 (RE8598)
Note there's an air gap between the top of the glass globe and the sheet metal cap just above it.
The wire frame (non tubular) lanterns have no air gap between the glass and the sheet metal top that holds it.

The Dietz Monarch (New York U.S.A.) (No. 10?)  is very similar but has round tubes and the following patent dates:

Patent
                      Drawing 628804 Lantern, James H Hill, (not assigned), Jul 11, 1899, 362/177 - base of globe hinges
Patent
                      Drawing 765696 Tubular lamp or lantern, Charles L Betts, Dietz Co R E, Jul 26, 1904, 362/172 - square tubes shown 
Patent
                      Drawing 871317 Lantern-tube, Charles L Betts, Dietz Co R E, Nov 19, 1907, 362/178 - forming the tubes for a tubular latern
Patent
                      Drawing 962115 Burner-fastening for lamps and lanterns, Charles L Betts, Dietz Co R EJun 21, 1910, 431/324 - Bruner screws into oil pot, but can be locked in position using a collar to allow making the wick parallel to a reflector.
Patent
                      Drawing 1073465 Tubular lantern, Charles L Betts, Dietz Co R E, Sep 16, 1913, 362/173 - top air inlets are in sheet metal just above top of glass rather than a gap between the glass and sheet metal cap.

S - 4 - 28

The Dietz Hi-Lo is another "Hot Blast" design.
The "Royal" square tube design looks very much like the Victor.

Dietz D-Lite No.2 (Cold Blast)

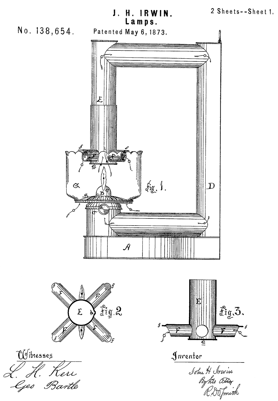
138654 Lamps, J.H. Irwin, 1873-05-06
138654
                              Lamps, J.H. Irwin, 1873-05-06 138654
                              Lamps, J.H. Irwin, 1873-05-06



151703 Lamps, J.H. Irwin, Jun 9, 1874, 362/171 -
patent
                            151703 Lamps, J.H. Irwin, Jun 9, 1874,
                            362/171 - Cold Balst keroscene lantern
211040 Lantern, J.W. Orphy, C.T. Hamm & F.D.W. Clarke, Dec 17, 1878, 362/171 -
211040 Lantern,
                      J.W. Orphy, C.T. Hamm & F.D.W. Clarke, Dec 17,
                      1878, 362/171 -
Fig 1 Back View
Dietz D-Lite
                      No.2 Cold Blast Keroscene Lantern
Fig 2 Right side view with globe hinged out.
The Lock-Knob wires were loose,
not grabbing the globe, so I squeezed them.
Dietz D-Lite
                      No.2 Cold Blast Keroscene Lantern
Fig 3 Notice metal plate above kerosene to make space for
air circulation
Dietz D-Lite
                      No.2 Cold Blast Keroscene Lantern
Fig 4 Top View
Dietz D-Lite
                      No.2 Cold Blast Keroscene Lantern
Fig 5 Globe in up position for lighting wick
Dietz D-Lite
                      No.2 Cold Blast Keroscene Lantern


36841 Lantern, J.H. Irwin, Nov 4, 1862, 362/180 - "dead-flame" type
RE1850 Lantern, J.H. Irwin, Jan 10, 1865, 362/181 -
65230 Lamp, J.R. Irwin, May 28, 1867, 362/171 - "hot-blast" principle
89770 Lantern, J.H. Irwin, (not assigned), May 4, 1869, 362/171 - classic "hot-blast" design with air flow shown.
RE8598 Lantern, J.H. Irwin, Charles B. Sawyer & Joseph S. Dennis, Feb 25, 1879, 362/171 - 89770 after some legal stuff?
95184 miners safety-lantern, Beaufils And Jacoues Rexroth, Sep 28, 1869, 362/164  -
99442 Lantern, J.H. Irwin, Feb 1, 1870,
362/176 - the "hot-blast" type and the beginning of the "tubular" type where air is routed through the tubes.
D45266 Tubular Lantern Frame, W. McArthur Jr., Feb 17, 1914 -a hot-blast design
D101112 Lantern or Similar Article, R. Gerth & Joseph Sinel, Dietz Co. (Wiki), Sept 8, 1936 -
151703 Lamps, J.H. Irwin, Jun 9, 1874, 362/171 - "cold-blast" principle - The inlet is at about the same height as the exhaust so that when there is vertical motion of the lantern it will not smoke or go out.
192087 Lantern, ,Frederick Dietz, Jun 19, 1877, 362/171 - allows blowing out the lantern without opening up the globe.
1067963 Lantern, Charles Bergener, C T Ham Mfg Company, Jul 22, 1913, 362/181 - railroad lantern, dead flame, not tubular
1067964
Tubular lantern, Charles W Bergener, C T Ham Mfg Company, Jul 22, 1913, 362/175, 235/86 - shorter wide top hole in globe for easy cleaning, and tip out of globe for easy access.  Nu-Style bought by Dietz, later the Dietz No. 90 with short fat globe.   
1415634
Lantern, William S Hamm, Adams & Westlake Co, May 9, 1922, 362/180 -  simple construction, Railroad signaling application - still made by Adlake    - replaced by electric version (see Flashlights)
1415635 Lantern, William S Hamm, Adams & Westlake Co, May 9, 1922, 220/764, 362/400 - Railroad signaling application - still made by Adlake 
1702048 Flame safety lamp, George Harry S, Union Carbide & Carbon Res Lab, Feb 12, 1929, 362/164 - miner's safety lantern, replaced carbide lamps
1795542 Lantern,
Robert A Currie, R. E. Dietz Co, Mar 10, 1931, 362/173 - non smoking with different fuels by adjusting the flue height
1809831 Lamp, Currie Robert A, R. E. Dietz Co, Jun 16, 1931, 431/324; 431/345 - Cannon Ball type Smudge pot or "Road Torch" to mark construction work at night. 
1858885 (Railroad) Lantern, Robert A Currie, Frank N Thiel, R. E. Dietz Co, May 17, 1932, 362/180 - The air currents in "hot-blast" and "cold-blast" lanterns do not work in railroad lanterns because of the high wind speeds and because of how the lantern is swung back and forth for signaling, so this uses niether of those.
2078125 Tubular lantern, Robert A Currie, R. E. Dietz Co, Apr 20, 1937, 362/173 - to also work as a railroad lantern?
211040 Lantern, J.W. Orphy, C.T. Hamm & F.D.W. Clarke, Dec 17, 1878, 362/171 - Cold Blast kerosene lantern,

Plain Kerosene Mantle lamps 

The Aladdin is the most common example.
Developed in Germany around the turn of the century (1900).
"An incandescent gas mantle, or Welsbach mantle is a device for generating bright white light when heated by a flame." (Wiki).  The output is mostly visible light with a minimum of IR.
YouTube: How the gas mantle made lamps 10X brighter, 29:07 -
Pressure lamps: gaslighting on the go, 30:47 -A very rambly Coleman Lantern follow-up. Turns out they rarely make sense in 2021, 46:45 -


"In 1908 the Mantle Lamp Company of America, an Illinois corporation, began the sale of kerosene mantle lamps and accessories therefor under the trade-mark "Aladdin." (Justia US Law).  In 1919 The Mantle Lamp Company created a wholly owned subsidiary named Aladdin industries.

408069 Incandescent gas lamp, Harold J. Bell, The welsbach Incandescent Gas Light Company, Jul 30, 1889, 431/280; 431/110 - natural gas (a vapor, not liquid) but uses a mantle for bright light.
916889 Kerosene incandescent lamp, Bernard F Roehrig, George Reichart, Mar 30, 1909, 431/102 -

Pressurized Kerosene Mantle Lamps

The Coleman is the most common example.

Developed in Germany around the turn of the century (1900).

"An incandescent gas mantle, gas mantle or Welsbach mantle is a device for generating bright white light when heated by a flame." (Wiki).  The output is mostly visible light with a minimum of IR.

"In 1908 the Mantle Lamp Company of America, an Illinois corporation, began the sale of kerosene mantle lamps and accessories therefor under the trade-mark "Aladdin." (Justia US Law).  In 1919 The Mantle Lamp Company created a wholly owned subsidiary named Aladdin industries.

The Model 139 is dual fuel: gasoline or kerosene.  Patent?

657936 Vapor-lamp, William H Irby, Sep 18, 1900, 431/106 - pressurized liquid fuel, mantle lamp
841667 GFasoline Lamp, William C Coleman, Jan 22, 1907, 431/106
408069 Incandescent gas lamp, Harold J. Bell, The welsbach Incandescent Gas Light Company, Jul 30, 1889, 431/280; 431/110 - natural gas (a vapor, not liquid) but uses a mantle for bright light.
916889 Kerosene incandescent lamp, Bernard F Roehrig, George Reichart, Mar 30, 1909, 431/102 -
1303462 Vapor-burner, William C Coleman, May 13, 1919, 362/180; 126/240 - Quicklite LQ327   
1653969 Air pump for pressure tanks, Ranck Edward Devine, Coleman Lamp Co, Dec 27, 1927, 417/441, 92/114 -
1749629 Apparatus for burning fuel, William C Coleman, Coleman Lamp And Stove Co, Mar 4, 1930, 431/37, 137/536, 431/210 - lamp starts by using carburated feul that's under air pressure then can be changed to use the vaproizer once it is hot.
1858264 Device for burning liquid fuels, William C Coleman, Coleman Lamp & Stove Co, May 17, 1932, 431/210, 431/231 - newer version of 1749629
2008882 Lamp, Boyd W Tullis, Coleman Lamp & Stove Co, Jul 23, 1935, 362/179 - Model 242
2108908 Vaporizing generator, Tullis Boyd W, (not assigned), Feb 22, 1938, - to minimize carbonizing gasoline so burner does not need to be replaced.
3529911 Burner assembly for gasoline lantern, Wilbur J Townsend, Coleman Co, Sep 22, 1970, 431/107, 431/241 -Model 220 220H - works w/leaded gasoline,
3807938 (RE29457) Fuel control means for burners, T Hastings, Coleman Co, Apr 30, 1974, 431/123, 126/38, 431/107, 137/244 - Model 275 - stove & lantern burner, single knob for both flame control and cleaner 

Carbide

These lamps (Wiki) are similar in that they have a two chamber design.  The top chamber holds water and the bottom chamber is for the Calcium Carbide (Wiki) and acetylene gas (Wiki).  There is a control that determines how fast the water drips on the Calcium Carbide rocks thus controlling the rate of acetylene gas generation.  The gas comes out from a nozzle with a very small hole and the flame is a long pencil like shape.  The light is close to white, unlike the flame from burning oil like candle which is very red.

One of the repair shops that worked on my uncle's earth moving equipment had an outdoor acetylene generator that was bigger than me.
Maybe the one described in patent
2189762 made by Prest-O-Lite Co. on or after 1937.

Also see the Big Bang Calcium Carbide Cannon.  The cannon uses Calcium Carbide that is the size of coarse ground pepper, but the lamps use small rocks maybe 1/4 to 1/2" across.  If they have sharp edges they are fresh.  But if exposed to moisture in the air the carbide is a grey color and you don't have as much active material.  Calcium Carbide typically comes in a can where the lid is air tight, or in a tooth past type of tube that's air tight.

Acme Miner's Lamp

Carbide Related: Miner's Lamp with 7" dia reflector, Cannon (17" overall length), Fine Grain size Calcium Carbide 16 oz can 4" tll x 3-5/16" dia. CheapCarbide.com - eBay:  carbide-cannons
16FC carbide is fine ground for the cannon, Pea size for carbide lamps.

Calcium
                      Carbide, Cannon & Miner's Lamp
Fig 1 Felt
ITP Lamp
                      Dewar Mfg. Co., Brooklyn, N.Y., U.S.A. Pat. Nov
                      2-1926
Lamp Marking:
ITP Lamp
                      Dewar Mfg. Co., Brooklyn, N.Y., U.S.A. Pat. Nov
                      2-1926
Carbide Tank:
 ITP Lamp Dewar Mfg. Co., Brooklyn, N.Y., U.S.A.
Pat. Nov 2-1926
Others Pending
Dewar Mfg. Co.
Brooklyn. N.Y., U.S.A.
1605505 Acetylene lamp, John M Brock, (not assigned), Nov 2, 1926, 48/4 -

1407610 Flash check for acetylene-gas tanks, Frank Westlund Albert, Prest O Lite Company Inc, Feb 21, 1922, 48/192, 138/40 - aluminum shavings or lead balls trapped between filter screens prevents fire from propagating back into tank. Is this the patent? Let me know.

This patent date showed up on an ITP Carbide Mine Lamp:
1068931 Acetylene-lamp, Alonzo Roach, Jul 29, 1913, 431/276, 362/160, 48/27 - sprinkler to distribute water over all of carbide + felt to keep limestone from plugging flame nozzle.
Water Feed Lever:
Polygon Feed
Patented 2-21-22
Water Tank:
Acme trade mark
Patented, Feb 21, 22
Made In U.S.A.

ITP Lamp
                      Dewar Mfg. Co., Brooklyn, N.Y., U.S.A. Pat. Nov
                      2-1926


Patent
                      Drawing 582548 Process of generating acetylene gas, Charles E. Rand, May 11, 1897, 48/216; 48/27; 48/35 - a very early carbide lamp  
Patent
                      Drawing 633655 Acetylene gas lamp, John A Mosher, Adams & Westlake Co, Sep 26, 1899, 48/27  -Railroad application, dual lens

1006715 Acetylene lamp, Charles L Betts, R E Dietz Co, Oct 24, 1911, 362/160, 48/4 - automobile or railroad use
Patent
                      Drawing 1424463 Acetylene lamp, William J Frisbie, Justrite Manufacturing Co, Filed: May 11, 1921 Pub: Aug 1, 1922, 362/160 - Classic miner's design - no longer used because of explosion problems, replaced by electric lights.  They had many patents related to
Acetylene lamps and their accessories.
Patent
                      Drawing D115123 Miner's Lamp, Charles S. Packer, Justrite Mfg Co, June 6, 1939


Miner's Safety Lamp (Wiki)

The idea is to prevent the wick fire from igniting coal dust or flammable gas in a mine and to test for methane, or other flammable gas, and oxygen.
The main purpose was to detect lack of Oxygen (flame gets lower) or presence of Methane (flame gets higher).  It will not cause an explosion when Methane is present, like would happen with a Carbide type miners lamp with an open flame, because the metal screen acts as a flame arrester (arrestor?) (Wiki).   Note the primary purpose is to detect danger from lack of oxygen (humans need at least 19.5% O2: Sciencing) or presence of explosive Methane gas (Wiki: LOC).  Light output was a second order consideration (see Schedule 7A, Procedure below, item 9.  Note 0.3 Candlepower (Wiki) is about 1/3 the brightness of a candle.)

In coal mines an open flame or spark can set off a fire and/or explosion.  The Davy Safety Lamp (Wiki) separates the flame from any explosive gas mixture using a metal screen that acts as a Flame arrester (Wiki).  Also see: Blasting Machines, Gas Cans where the wire mesh cup inside the filler cap is a flame arrester, not a filter.

All three of the below fire safety lamps have a glass I.D. of 2.00".

References

Experiments were done to determine what size hole and what thickness of various metals would prevent a flame from passing or an explosion from passing.
On the Safety Lamp for Coal Miners, with some Researches on Flame, Sir Humphry Davy, Bart. 1825 -
  • The first generation Safe-Lamp had the wire gauze exposed to the coal dust in the mine and did not have a glass, i.e. the light from the lamp went through the gauze.  The gauze got plugged by the coal dust.  Hence the cap and bonnet to keep of the coal dust.
    The lamp is used as a test device to see if there's a problem with coal-damp (methane), not as a light.  They still were using "naked lamps" in the mine, where that was safe.
    (Ref letter 1 in Ch. 3, after 3 months use).
  • The volume of the glass and gauze is optimum.  If larger the heat of burning methane might heat the iron wire above read heat to sparking which would cause an explosion. (Ch 4).
  • The Safety Lamp has application where lamps can start fires (App 5) such as the ship Kent owned by the East India Co.) (Wiki) where a candle set rum on fire when a keg burst killing all 364 people on board.
Since the methane burns safely inside the gauze it's fair to say the safety lamp can be used to solve the problem of small pockets of gas.  Especially if many lamps are brought to bear.  Since hundreds of safety lamps were at a coal mine (and probably thousands of naked flame lamps) this makes sense.  A small crew (less than a dozen men) would investigate at the start of a shift and their combined safety lamps could make an area safe.

Smithsonian: Wolf Miner's Safety Lamp - hard to search for a specific lamp
Miners' Circular 12: The use and care of miners' safety lamps, 17 pages (free Google book) -
Dept of Interior, Schedule 7A, Procedure for Establishing a list of permissible miners' flame safety lamps, 1921, 16 pages, Requirements 5. "...provided with an effective magnetic locking device to prevent the fuel vessel, glass, or gauzes from being removed..." 8. "The lamp shall burn for at least 12 hours with flame adjusted to a height of 1 inch." 9. The lamp, fully assembled, shall give an average mean zonal candlepower (AIEE standard) of at least 0.3 throughout a period of 10 hours, during which the height of the flame is 1 inch." 11. "The lamp shall develop a well-defined gas cap in a gas and air mixture of 2 per cent gas.  Observation shall be made by at least three persons in a totally dark inclosure." 
Page 18
Tech paper 333, Dept of Interior, 1923:
                      Permissible Explosives, Mining Equipment
                      andApparatus Approved prior to Jan 1, 1923.
Tech paper 333, Dept of Interior, 1923: Permissible Explosives, Mining Equipment andApparatus Approved prior to Jan 1, 1923.  25 pages.

Also shows single shot blasting machines.
all have 2 steel gauzes.

Mfg
App
No.
Date
Fuel
Wick
Material
Wt
#
Mesh
CP
Koehler
201
Aug 21, 1915
Gas
Flat
Steel
3.38
28
0.429
"
201A
Jul 29, 1918
"
Rnd
"
3.34 28
0.351
"
203
Feb 7, 1919
"
Flat
Al
2.40 28
0.429
"
203A
"
"
Rnd
"
2.38 28
0.351
Wolf 204
Jul 18, 1921
"
"
Brass
3.34 30
0.334

Permissible Explosives, mining equipment, and apparatus approved prior to Jan 1, 1924 - same 5 lamps
Miners' Circular 34: Dept of Interior: Sampling Mine Gases and use of the Bureau of Mines Portable ORSAT Apparatus in their Analysis, 1936, 95 pgs - lab type, not field portable.
Mine Gases and Ventilation, 1920, 459 pages -

YouTube: Mine Safety Lamp 1973 - 1973 instructional film on use of Mine Safety Lamp
YouTube: WolfSafety:
Original Miner's Flame Safety Lamp Footage from Wolf Safety -
YouTube: 5 Tons w/Guns B: Flame Safety Lamp Fueling it Working it - Naphtha is the official Mine Safety fuel (Lighter fluid as unofficial alternate). Flame Safety Lamp - Flame Safety Lamp #1 (Flint Sizes 1/8"  for this lamp) -

From Wood Library Museum (no photo):

Koehler Mfg. Co., [between 1918 and 1940?].

The early date in the date range for the possible year of manufacture is based on the date that the Bureau of Mines first approved a Koehler safety lamp with a round wick (like this one), July 29, 1918.

If the shield is steel (this one is) then the early year is 1918. If the shield is made of aluminum the year would be 1919, based on the date that the Bureau of Mines approved this design with an aluminum shield.
The marking on the top can not help with the dating as it appears to have been mis-stamped, "No. 20 A" rather than "No. 201A" or "No. 203A". The late date is based on the year when electric miners lamps had generally replaced gas safety lamps.

YouTube: Miners' Safety Lamps: Keeping Out the (Fire)Damp, 14:26 -
Quora The Olympic Flame travels from Greece to the Olympic Stadium, not only by land and sea, but also by plane. Isn't that dangerous, how do they safely move a fire by plane? - 4 each Protector Garforth GR6S -

General Safety Lamp Patents

Locks

  36341 Safety Lamp, J. Defossez, Sep 2, 1862, 362/165 - pneumatic locking for oil lamp
 72196 Lock-Fastner for Lamp, J. Harding, Dec 17, 1867, 362/165 - hasp with a lead bolt stamped with a mark.
312584 Safety Lamp, W.J.H. Ryder, Feb 17, 1885, 362/165 - lock using lead plug or rivit
353438 Miner's Safety Lamp, A.J. Becker, Nov 10, 1886, 362/165 431/315 - adjustable wick height
530217 Miner's Safety Lamp, C. Wolf, Dec 4, 1894,
362/165

Koehler Miners Lamp No. 25

Note these lamps tend to be named by the approval number.  But that's not really the model number.  In this case the approval number was mis-stamped 20_A which should have been 201A.  But the model number if probably 25.  This may be made using the Wolf patents after they expired or maybe Wolf & Koehler merged?

Operation

Filling

Estimate of how much Naphtha (Wiki) the font will hold.  the inside is maybe 3" diameter x 1.5" high.  PI R squared = 10.6 cu in.  An on line calculator says that's 5.6 fluid ounces.
So will try 5 fluid ounces. 

Open lamp

See Fig 6 and Fig 7 for placing a magnet to unlock the font from the bonnet.

Remove cap to access fuel fill port using needle nose pliers.  See Fig 9.

Fill

After pouring 5 fluid ounces into the font there was room to add more fuel, but I stopped so as not to over fill it.  If you know the capacity of this font let me know.
After installing the cap I turned the font upside down so the fuel would wet the wick.  Also used a small screw driver to rough up the top surface of wick.  It caught fire on the first firing of the flint.  Note the flint striker is an over center mechanism, so as the spring handle is turned pressure builds up and is released all of a sudden, making a strong spark.  If you know of a source for 1/8" dia. flints, let me know.

While there are a number of fuels that will cause the lamp to operate it's probably the case that Naphtha (Wiki) is important in how it reacts with Methane (Wiki: Safety) and Oxygen (Wiki) so may have been the "official" fuel used in these lamps since their main purpose was to indicate the safety of the air supply, the replacement for the cannery in the coal mine (Wiki).

Light

Unfold the spring wire handle and push up on it's shaft to raise the striker mechanism so the sparks will hit the wick.  See Fig 11.  I've read that some people have to strike 10 times to get the wick to light.  Their problem may be that the did not push up the striker mechanism. 

Adjusting Flame Height

Turn the knob on the bottom to set the flame height to the center line (i.e. a 1" high flame).  See Fig 10.

Data

Height: 10" tall. to Cap, 15" tall including hook. 
Material: The waffle shield and cap are steel.  
Weight: 3# 5.2 oz (3.325#) closer to the 201A than the 201.  Not 201 because this one has round wick, so maybe a 201A.  Not a 203A because steel, not Aluminum.
Glass Sight Lines:  are 1", 1-1/4" and 1-1/2" above metal surface just below magnet poles.  The wick is about 1/4" above the same reference.  So the lines represent flame heights of:
3/4", 1" and 1-1/4".  i.e. the center line is the nominal 1" flame.

Top Marked

Permissible
Miner Safety Lamp
Approval No. 20 A
Issued to the Koehler Mfg Co
25 (this is the largest type font on the cap)
Inside seal:

Bureau of Mines
Department of the Interior
<Eagle over flag seal>
Safety Efficiency
Mineral Industries
Glass:
TOP
NC WOLF
Made in U.S.A.

Photos

Fig 1 Note flame height rings on glass. If the initial flame height is set properly (how? let me know) then the lines may allow the percentage of Methane gas to be estimated.  That is also why "Top" appears on the glass.
Koehler
                      Miner's Lamp No. 25
Fig 2 Top View
Note "25" at bottom.
Koehler
                      Miner's Lamp No. 25
Fig 3 Exploded #1 showing top of burner.
Note "TOP" on Glass so that flame height rings
are properly aligned.
Koehler
                      Miner's Lamp No. 25
Fig 4 Exploded #2 showing bottom of burner
Missing inner gauze.
Koehler
                      Miner's Lamp No. 25
Fig 5 With flint mechanism raised ready to spark.
Note notches for locking pawl.
Koehler
                      Miner's Lamp No. 25
Fig 6 Magnetic Locking mechanism - unlocked
Note the light color metal is steel and the darker metal is non magnetic.
Koehler
                      Miner's Lamp No. 25
Fig 7 Location of magnetic unlock studs
Koehler
                      Miner's Lamp No. 25
Fig 8 Wolf brand glass
OD: 2.315"
ID: 2.015
wall thickness: 0.145
Height: 2.335"
Near the left and right refraction gives the appearance of 6 lines, but there are only 3 lines.
From bottom:
1.15", 1.40" & 1.65"
Koehler
                      Miner's Lamp No. 25
Fig 9 Needle nose pliers are the ideal tool to remove the filler plug.  Note the two holes are sort of flat where the pliers are flat.
Koehler
                      Miner's Lamp No. 25

Fig 10 Flame adjusted to center line (1") high.
Koehler
                      Miner's Lamp No. 25
Fig 11 Flint mechanism pulled down.
Koehler
                      Miner's Lamp No. 25

972386 Igniter, E.F. Koehler, (not assigned), Oct 11, 1910,431/267 - uses a strip with fulminating material - "The object of the present invention is an igniter by the aid of which lamps, candles, cigars, cigarettes and the like can be easily and conveniently lighted."
998535 Igniter, E.F. Koehler, Champion Igniter Co Boston Mass, July 18, 1911,431/272 - Wiki: Albert Champion, Champion Spark Plugs)

Wolf Miner's Lamp

WolfSafety - History -

Monica Maurice (Wiki) is the daughter of William Maurice founder of the Wolf Safety Lamp Company and ran the company for four decades.
Photos
Fig 1 Left: oehler Miners Lamp No. 25
Right: Wold Miners' Lamp
Wolf Miner's
                      Lamp
Fig 2 Unmarked cap (no permissible number)
Glass is marked "Wolf, Made in U.S.A."  also marked "TOP"
but . . . I do not see the 3 flame height lines.  Worn off?
Measures:
OD: 2.30"
ID: 2.00"
wall thickness: 0.145"
Height: 2.365"
See Fig 8 above.
Notice inverted "U" handle on fill plug.
Wolf Miner's
                      Lamp
Fig 3 Both gauze cones are here & show signs of use.
Wolf Miner's
                      Lamp


302878 Miner's Safety Lamp, Carl Heinrich Wolf & H. Friemann, July 29, 1884, 431/270 - includes a hammer to strike a cap in a roll of caps to act as a lighter (before flint lighters). Maybe for gasoline fuel. (this type of explosive igniter is forbidden as part of a Permissible Miner Safety Lamp).
322514 Miner's Safety Lamp, Carl Heinrich Wolf & H. Friemann, July 21, 1885, 362/164; 431/270 - improved air feed
509418 Miner's Safety Lamp, Carl Heinrich Wolf, 1893-11-28, 362/164; 431/270 - The metal screen on a Davy Lamp can get red hot under some conditions which is a problem.  By adding the metal shroud the gauze is kept cooler. - Push up to feed wick.
530217 Miner's
                      Safety Lamp, Carl Heinrich Wolf, 1894-12-04
530217 Miner's Safety Lamp, Carl Heinrich Wolf, 1894-12-04, 362/165 - more tamper proof magnetic latch - Using magnets to release a miners’ safety lamp magnetic lock -

See photos: Koehler Fig 6 & Fig 7

The horse-shoe magnet charges cores (C & D) with  opposite polarity causing the arm with pawl to retract.  The stack of 5 cylindrical Nd magnets (Fig 6 above) works fine.

612293 Igniting Device for Miner's Lamps &c., C. H. Wolf, Oct. 11, 1898 431/272 - instead of an explosion like in the prior ignition system, this one has pellets that just catch fire
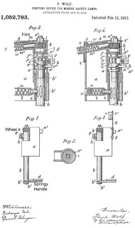
1052783
                      Igniting device for miners' safety-lamps, Paul
                      Wolf (son of Carl?), 1913-02-11, 431/275 -
1052783 Igniting device for miners' safety-lamps, Paul Wolf (son of Carl?), 1913-02-11, 431/275 - Flint and tooth wheel type. Handle (d) made of spring wire.  Easy to remove & replace the flint wheel or add new flint.

Ferrocerium (Flint  Wiki) was invented in 1903 ten years prior to this patent.

983238 Igniter with spark-emitting mass, Jacques Kellermann, Filed: 1909-10-21, Pub: 1911-01-31, 431/136 - Flint & Wheel type two years prior to 1913.

Class 431: Combustion: / 129 to 141 involve an abrasive wheel /275 stored energy, over center release

The up-down movement of the flint mechanism was not noticed in my reading of the patent.  I'm guessing the idea is to raise the mechanism (push up at the bottom) prior to sparking the flint so that the sparks are aimed at the wick, then pull the mechanism down to allow more light to shine from the flame.  The double wrap wire handle can be stored below the flame height knob to keep the mechanism down.


Wolf UK Miner's Lamp

Bottom of bonnet marked: The Wolf Safety Lamp Co. (Wm Maurice) Ltd. Sheffield
Font marked: Wolf Type FS
Top of wick plate marked: U.K. Pat. 856873
All parts present.  The Font smells of fuel, i.e. this was used not that long ago.
No lock, no built-in flint or way to light flame, not holes or slots in bonnet.
The rules in the UK may be different or this may be a model sold to the general public rather than for mining?

Photos

Fig 1
Wolf UK Miner's
                      Lamp
Fig 2
Glass: 2.32" OD x 2.365" hi x 2.00" ID
Wolf UK Miner's
                      Lamp


Koehler "Wheat" Miners Lamp No. 5200 & 5262-V Charger

Koehler-BrightStar is still selling miners' safety lamps.  koehlerlighting.com jumps to flashlight.com.

This is an early electric miners' safety lamp.  Approval 6D-36.

Patent numbers on battery box:  4202936 (see below),  4285121 (see below)

Photos

Fig 1
Battery Chemistry?
Instruction booklet, including maintenance?
I'm guessing this is a 2-cell lead acid battery (i.e. 4 Volts).
A single cell Li-?? battery would be close in voltage.
(3.7 V dead, 4.2 V full charge).
Koehler
                      "Wheat" Miners Lamp No. 5200 &
                      5262-V Charger
Fig 2 Model 5262-V Charger
What connects to the green & black wires?
Meaning of red pilot lamp?
Charging instructions (float forever or time limit)?
Koehler
                      "Wheat" Miners Lamp No. 5200 &
                      5262-V Charger
Fig 3  Instructions on use?
The BM30G lamp is still available,, but replaced with the 9K-0923.
Rated: 4.0 Volts @ 1.03 Amps, 400 hour life,
55 +/- 15% Lumens.
Koehler
                      "Wheat" Miners Lamp No. 5200 &
                      5262-V Charger

Patents


 1100336 Miner's
                      and like electric safety-lamp, Paul Wolf (son of
                      Carl?), 1914-06-16, 362/311.09; 362/186
 
1100336 Miner's and like electric safety-lamp, Paul Wolf (son of Carl?), 1914-06-16, 362/311.09; 362/186 - a battery powered miners' lamp that looks like the flame model
1199846
                      Storage-battery case, Wheat Grant,(not assigned),
                      1916-10-03

1199846 Storage-battery case, Wheat Grant, (not assigned), 1916-10-03, - strain relief on cord


1361557 Electric lamp, Wheat Grant, (not assigned),1920-12-07,
1757887 Miner's
                      Lamp, G. Wheat, Koehler Manufacturing Co, May 6,
                      1930, 362/106; 362/183

1757887 Miner's Lamp, G. Wheat, Koehler Manufacturing Co, May 6, 1930, 362/106; 362/183 - can switch lamp on/off or charger on/off
1800918
                      Charging rack for miners' lamps, Wheat Grant,
                      Koehler Manufacturing Co, 1931-04-14, 320/115;
                      362/249.12 -

1800918 Charging rack for miners' lamps, Wheat Grant, Koehler Manufacturing Co, 1931-04-14, 320/115; 362/249.12 -
charging contacts on headpiece
also has lamp test function
1321960
                      Electric-lamp-lighting device, Grant Wheat,
                      1919-11-18, 429/150; 224/240; 362/164; 429/186 - 1321960
                      Electric-lamp-lighting device, Grant Wheat,
                      1919-11-18, 429/150; 224/240; 362/164; 429/186 - 1321960 Electric-lamp-lighting device, Grant Wheat, 1919-11-18, 429/150; 224/240; 362/164; 429/186 -

Fig 5 battery to lamp, Fig 6 battery to top charging contacts, note battery fill/vent caps under battery top cap (not on side).

Fig 7 & 10 Cover plate (31) is held with an angled bolt that has a triangle shaped head that matches the Fig 9 recess (38) in key (41)
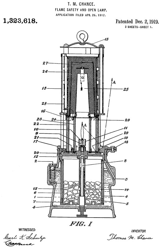
1323618 Flame
                      safety and open lamp, T.M. Chance, Dec 2, 1919,
                      362/164

1323618 Flame safety and open lamp, T.M. Chance, Dec 2, 1919, 362/164 - calcium carbide (acetylene, i.e. "open") versions of safety lamps
Not only more light because of the acetylene flame, but also light at higher angles (A) because of the reflector.


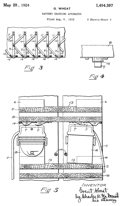
1494397
                      Battery-charging apparatus, Grant Wheat, App:
                      1919-08-06, Pub: 1924-05-20, 320/107 -

1494397 Battery-charging apparatus, Grant Wheat, App: 1919-08-06, Pub: 1924-05-20, 320/107 -
Wooden shelves with contacts for many batteries.


1361557 Portable electric lamp


1699214 Electric switch


2063417 Battery filling apparatus
2066811
                      Portable Electric Lamp, Grant Wheat, Koehler
                      Manufacturing Co, 1937-01-05, 362/183; 337/377;
                      200/50.39; 337/362; 320/107 -

2066811 Portable Electric Lamp, Grant Wheat, Koehler Manufacturing Co, 1937-01-05, 362/183; 337/377; 200/50.39; 337/362; 320/107 -
Lamp has two filaments and two contacts, offset bayonet base like for car combined rear running and brake light.  But no socket is used. 
Instead a spring holds the glass bulb and another forked spring makes contact with the two bayonet pins.
The side of the glass globe rests against the back of the reflector.
Charging terminals (51, 51) on either side of the cable sleeve at the headpiece.
Bi-metal thermal protection or alternate relay.

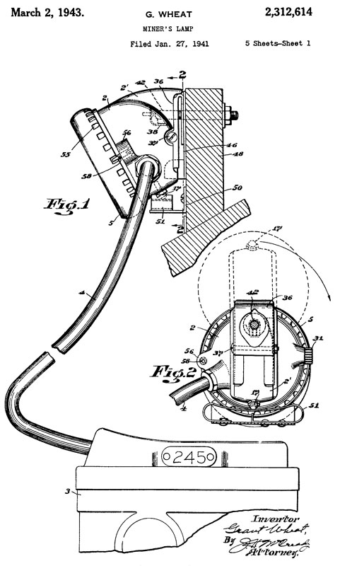
2312614 Miner's
                      Lamp, Grant Wheat, March 2, 1943, Koehler
                      Manufacturing Co ,362/183 -

2312614 Miner's Lamp, Grant Wheat, March 2, 1943, Koehler Manufacturing Co ,362/183 -
Has two bulbs.  Safe charging port on headpiece.
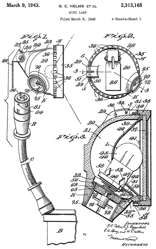
2313165 Mine
                      lamp, George C. Nelms, Earl J. Coggeshall, Earl A.
                      Berry, William K. Wilber, Portable Lamp &
                      Equip Co, Mar 9, 1943, 362/21; 200/51R; 439/672

2313165 Mine lamp, George C. Nelms, Earl J. Coggeshall, Earl A. Berry, William K. Wilber, Portable Lamp & Equip Co, Mar 9, 1943, 362/21; 200/51R; 439/672

B. of Mines requirement for two filaments.


2535819 Electric safety lamp, Willson Y Stamper, Thomas Edison Inc, 1950-12-26, 362/21 - bulb glass break switch


2575151 Battery-charging apparatus, Grant Wheat, Koehler Manufacturing Co,1951-11-13, 320/157; 318/452; 318/479; 322/28; 338/116; 318/468; 322/18; 322/85 - automatic circuit using a motor, worm gear and potentiometer  regulates the charge current for a rack of batteries.


2608849 Miner's lamp


2609487 Magnetic lock for miners' safety lamps, Wheat Grant, Arthur G Davis, 1952-09-02,  MAYBE MATCHES WOLF???


2898539 Battery charging apparatus, Homer A Lozeau, Koehler Manufacturing Co, 1959-08-04, 320/137 - saturable inductor 


2947852 Electric Lamp Structure with Bulb Adjustment


3051831 Charging rack for mine lamp battery,  Philip F Grieger, Fleischer Arthur, Electric Storage Battery Co, 1962-08-28, 362/158; 320/136; 362/183 -


3179539 Non-spillable storage battery container with combination means for venting and filling,
3408490 Safety
                      lighting equipment, Homer A Lozeau, Koehler
                      Manufacturing Co,1968-10-29, 362/183

3408490 Safety lighting equipment, Homer A Lozeau, Koehler Manufacturing Co,1968-10-29, 362/183 -
charging contacts on headpiece (this lamp)


3458697 Safety lighting equipment, Homer A Lozeau, Koehler Manufacturing Co, 1969-07-29, 362/211 -


3723947 Electric accessory connector for cap lamp battery, H Lozeau, Koehler Manufacturing Co,1973-03-27, 439/374; 439/375; 439/929; 362/198 -
to power: methane gas detectors, mine dust samplers and the like.


4202936 Storage batteries of the lead-acid class and methods of making and operating same, Roy A. Guimond, Nanci W. Reed, John E. Gulliksen, Koehler Manufacturing Co, 1980-05-13


4207606 Luminaire apparatus and improved means for connecting same with a power source, John E. Gulliksen, Roy A. Guimond, Mark S. Martino, Michael E. Collins, 1980-06-10,  362/106; 362/183; 439/449 - strain relief on both ends of cable and short circuit protection


4225906 Luminaire apparatus with multiple light sources and methods of operating same, John E. Gulliksen, Roy A. Guimond, Koehler Manufacturing Co,1980-09-30, 362/254; 362/106; 362/164; 362/184; 362/238; 362/240; 362/241 - turret with 5 lamps


4285121 Method of making storage batteries of the lead-acid class, Roy A. Guimond, Nanci W. Reed, John E. Gulliksen, Koehler Manufacturing Co, 1981-08-25 - deep discharge

1100336 Miner's and like electric safety-lamp, Paul Wolf (son of Carl?), 1914-06-16, 362/311.09; 362/186 - a battery powered miners' lamp that looks like the flame model

BrightStar
2229486 Flashlight, Abraham I Barash, Anthony J Desimone, Bright Star Battery Co., app: 1938-03-31, Pub: 1941-01-21, 362/205; 362/207 - "substantially indestructible", Bakelite body, all metallic members are contained within the casing

Stonebridge automatic Folding Lantern

Saw one on eBay.  Made by Folding Lantern Co. Has patent dates embossed into sheet metal.
The patent dates shown in light blue appeared on the eBay "The Stonebridge Automatic Folding Lateran ".
There is provision for two different size candles (what diameters work?). Search eBay for "Lantern candle".
Some of these were made under contract to the U.S. Army Medical Corps (Wiki) for use in W.W.I.
Either the Caduceus symbol (Wiki) or "C u.s. C" in the upper left on the label.

662474 Collapsible lantern, Charles H Stonebridge, 1900-11-27, 362/162 - Early short (9") pattern
735681 Collapsible-lantern casing, Charles H Stonebridge, 1903-08-04, 206/527; 206/38; 206/573; 383/40; 383/86 -
740377 Collapsible lantern, Charles H Stonebridge, 1903-09-29, 362/162 -
760660 Collapsible box, Charles H Stonebridge, 1904-05-24, 362/162 -
785772 Collapsible box, Charles H Stonebridge, 1905-03-28, 362/162 - Intermediate short pattern
836411 Collapsible box, Charles H Stonebridge, 1906-11-20, 362/162 - Late short pattern
836412 Collapsible box, Charles H Stonebridge, 1906-11-20, 362/162 - brass
890193 Folding lantern, Charles H Stonebridge, 1908-06-09, 362/162 - galvanized & brass - Tall (10") pattern
963826 Folding lantern, Charles H Stonebridge, 1910-07-12, 362/162 - Late tall pattern
1152571 Folding lantern, Charles H Stonebridge, 1915-09-07, 362/162 -
1216008 Cooking device, Charles H Stonebridge, 1917-02-13, 126/274; 99/426 -
1298116 Folding lantern, Charles H Stonebridge, 1919-03-25, 362/162 -

YouTube:  Stonebridge 'Automatic' Lantern: 1900s 'Tacticool' Camping Gear, 10:03 -

Heaters

        Mr. Heater Buddy

This Mr. Heater model MH9BX (Home Depot) is a small propane powered space heater working on the catalytic principle (Wiki).  It's California rated for indoor/outdoor use, meaning it does not generate carbon monoxide.  It does however burn the oxygen from the air and so not to be used in a small well sealed space.  It runs from a 1# propane bottle or with the optional adapter from a larger propane tank.  Includes a piezo pilot light starter and requires no electricity.

Fig 1
Mr. Heater
                      Buddy
Fig 2
Mr. Heater
                      Buddy
Fig 3
Mr. Heater
                      Buddy
Fig 4
Mr. Heater
                      Buddy


Self Powered Fan

Fig 1 two fans on wood stove
Self
                      Powered Fans

These are made to sit on top of a wood stove.  They use a Thermoelectric Generator (Wiki: TEG) to power an electric fan.

5544488 Self-powered heat transfer fan, Randall H. Reid, Aug. 123, 1996, - there is a bimetallic strip (Wiki) on the bottom that will lift the unit if it gets too hot (Fig 7 & Fig 8).
7812245 Self powered heat transfer fan, Randall H. Reid, 2006-12-12 - a balancing of heat differential across the Peltier device and keeping the motor and Peltier device cool enough to avoid damage.  Hence the stand height separating the top of the stove and the Peltier device.
YouTube: Teardown of a self powering machine - the Tomersun heat powered stove fan has been overheated.  That makes sense because it does not have the features of the Reid patent fans. -
Ebay, self powered Peltier stove fan in operation - Note the Ecofan 812AMXBX has a replacement kit for the motor.  Many of the units on eBay do not seem to have enough thermal isolation between the stove top and the motor/Peltier device.
The real Ecofan brand fans go for $80 to $180, but the Chinese knockoff fans use the word Eco in the title, but not Ecofan.  They also look to be poor designs.

Tellurex CZ1-1.4-127-1.65 / CZ114127165 (RQAUS1) PELTIER JUNCTION (data sheet) 5.6AMP 16.1V MAX is used in Tellurex cold plates driven from "12 Volt" automotive electrical systems. Tellurex out of business about mid 2018.
YouTube: Introducing the Tellurex World Pot - tea pot that generates electricity - out of business.
TXL Group -Custom ThermometricTE Generators - Design Kits -
https://tecteg.com - A Thermoelectric Cooling device is different than a Thermoelectric Generator device.

Tea Candle Powered LED

Also see Batteries\ Heat. & Batteries\TEG
The JOI units go for just under $200.  But the TEGpro sells for under $40, but does not have the automatic regulation features of the JOI unit.

d LED Lantern: an Exercise in Conversion Efficiency, 14:51 - A 16mm tea candle (Wiki) heats a TEG by means of a bi-metallic controlled chimney.  The tea candle may produce 22 Watts worth of heat.  The TEG output drives some white LEDs.
JOI Candle-Powered LED Lamp by Caframo | Review, 6:20 -
 
WO2011088567 Thermoelectric fan, Viqar Haider, Anthony Jerzy Solecki, Michael Tettenborn, Caframo Ltd, 2011-07-28, -  maybe better than ecofan?

WO2012109750 Thermally driven power generator, Viqar Haider, Michael Tettenborn, Anthony Jerzy Solecki, Caframo Ltd, 2012-08-23, - optimum TEG heat transfer using horizontal Fins & Booster. Design of Caframo candle powered lantern. The "booster" is a metal can heat shield placed over the horizontal fin heat connector. Fig 13A & Fig 13B show a bi-metal strip near the candle flame controlling an air input port, but the unit in the video used a circular bi-metal strip to regulate the top of the chimney.  A magnet below the tea candle holds the wick keeper so as to keep the flame from moving around when the wax becomes a liquid.

The TEG may be the SP1848-27145 Module .
Size: 40 x 40 x 4mm (1.6 x 1.6 x 0.2")
Voc: 4.8 Volts.
Label: cold side
Delta T (C)
20
40
60
80
100
Voltage (Volts)
1
1.8
2.4
3.6
4.8
Current (mA)
225
368
469
559
669
Power (Watts)
0.225
0.662
1.13
2.01
3.21

You might get more power by connecting two modules in series.

There is also a TEC1-12704
Imax: 4A
Vmax: 15.4 V
Qcmax 61.6 Watts
Delta T max: 68 deg C
Size: 40x40x3.4 mm

TEG Module Manufacturers

TEG modules are designed with a nominal temperature difference maybe in the range of 150 deg F to 450 deg F. where they are most efficient.  For example for a TEG that's going to be powered by boiling water a 200 deg F unit would be a good choice, but for a diesel exhaust TEG maybe 350 to 400 deg F would be better.

Coherent - TG 12-6 ($32 @1ea) best efficiency with about 6 Ohm load - TG 12-8 -

Note: There may be counterfeit TEG modules for sale on eBay.  I say that because the ones from reputable manufacturers are about $30 each, but on eBay many sellers are at about $3 each.  The eBay units are really Peltier Cooler modules but "TEG" is in the title.  Note the cheap eBay units doe not have a max temperature, like the real TEGs which can be used up to 200 deg C.  eBay search "SP1848-27145 TEG Module (-Peltier,peltier)" and check Include description  Returns many Peltire ads, but a number of TEG ads for about $35 each.

Related

Flashlights
Lighters - cigarette & Cigar
Lights 
Pop Guns - Big Bang Carbide Cannon  - BB Guns - mostly Daisy - including pellet guns

References

Aladdin: The Magic Name in Lamps, J. W Courte, 1997 - THE book for these.
Oil Lamps: The Kerosene Era in North America by Catherine M. V. Thuro, 1992
The International Guild of Lamp Researchers, Ltd  - most links broken (June 2017)
W. T. Kirkman Lanterns, Inc - many models of new lanterns and supplies & info.
Auer’s lamp - the invention of the gas mantle leads to the invention of a flint to light the gas.  Robert Bunsen (Wiki, Bunsen Burner) & Gustav Kirchhoff (Wiki) are mentioned.
Bunsen & Kirchhoff discovered Caesium and Rubidium in 1861 using optical spectrum analysis of flames. Wiki: History of spectroscopy - Flame emission spectroscopy - MIT - History of Spectroscopy, A Perspective - A Timeline of Atomic Spectroscopy - nine pages of dates and names, really great!
1450265 Hot-cathode tube, Joseph Slepian, Westinghouse Electric & Mfg Co, Apr 3, 1923, 313/103.00R, 313/156, 313/162, 313/161, 330/42 - heart of photo-multiplier tube (Wiki)
2285126 Electron multiplier, Jan A Rajchman, Jr Richard L Snyder, Rca Corp, Filed: Jul 28, 1939 Pub: Jun 2, 1942, 313/105.00R, 313/534, 313/350 - RCA 931 photo-multiplier tube
YouTube:
Why do hurricane lanterns look like that?, 31:45 -

Links

PRC68, Alphanumeric Index of Web pages, Contact, Products for Sale
Page Created 2017 June 25