Flashlight Patents
© Brooke Clarke 2007 - 2024
Military Survival Lights web page
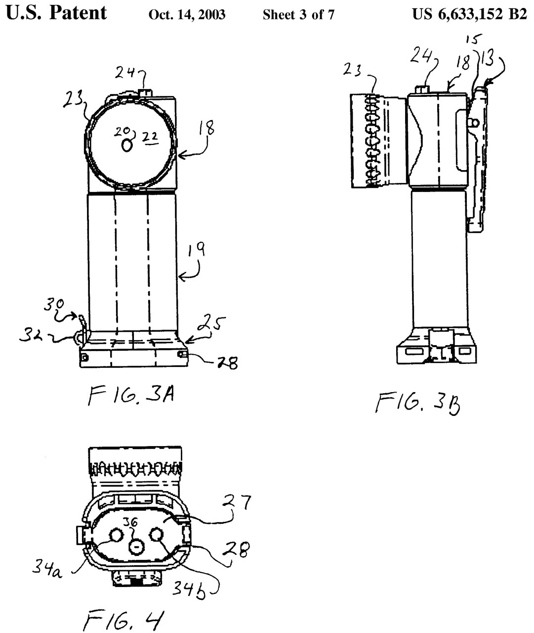
M-227 Signal Lamp
Background
Components
Lamps
Lamp
Test E10
Repairing
Loose Bulbs
Photos at 2X life
size
1915 Catalog
listing of Lamps
Table of Newer Lamps
Edison 10
mm Miniature Screw Lamp Base (E10)
Batteries
Cylindrical
Prismatic
Size
Table
No. 750 2AA Pocket Flash Light Battery Eveready Shield Trade Mark
Two AA cell Battery Adapter for the No. 750,
ver 2.
No. 751 3AA
Franco No. 1041 3AA
Optics
Light
Switch
Care and Feeding
Patent Class Numbers
Patents
Conrad Hubert - National Carbon
Co. - Ever Ready
Burgess Battery Co.
Bright Star Battery Co
Candle Shaped Battery Powered Lights
Dura Company & Eveready No.
1653 Electric Candle
Table Lights
Cane & Umbrella Lights
Electric Storage Battery Co.
Clarence P. Davey
Delta Electric
Justrite Mfg. Co.
Winchester Repeating Arms Co.
Bicycle Lamps
Patent Number (not by maker)
May Baby Torch
Niagara Searchlight Co
Sears - Homart
Pocket Flash Lights
Mystery Pocket Flash Light
Eveready No. 3
Eveready No. 4758 3-cell
Wallite with Timer-Switch
Franco Dec 29 1914 Pocket
Flashlight
Burgess Snap-Lite
Chase Round Pocket Flash Light
Guth Stern & Co Art Deco
Pocket Flashlight
S. Schwartz
Key chain Pocket Flashlight
Zippo Light
Eveready Extreme Glass Coat
Pocket Flash Light
Embury Manufacturing Co.
Bond Electric Corp
Blake Manufacturing
Railroad Electric Lantern
The Adams & Westlake Co. -
Adlake
William M.
Moxley - Light Weight Lantern Co.
Star Headlight & Lantern
Co. Starlite 222
Pyle-National
Explosive Atmosphere
Headband
Pre
focused PR Lamp
Daisy
Cinematic Picture Pistol
Auto-Magic Pistol 16 mm film strip projector
Justrite No. 2108 4 "D" or 1 6V Lantern
Battery
Folded Paper Disposable Flashlight
No. 6 Dry Cell
Hipco Dual Lens Flashlight
Battle Lanterns
Signal Lamps
Military
Flashlights -Eveready
2697 Boy Scout Angle Head Angle Head TL-122, MX-991, MX-993, FM-11
Penlights
Neuralizer
Generator Flashlights
Shake Flashlight (Fake)
NightStar RS Shake
Flashlight (works)
Projection Pointers
Design Patents
Modern Flash Lights
Olight
Jetbeam
Nitecore
LA10
SensAA
MT1A
EA4
Fenix
TK35UE
E12
E12 Version 2
CL23
Camping Lantern
18650 USB Batteries
Streamlight
Survivor
Sidewinder
Helmet
Siege AA
18650
USB Battery
Inova
Mag Instrument
Terralux
(LightStar)
LightStar
100 Pocket Flashlight
Light
Star Pro 1 Pocket Flashlight
BoGoLight
9 LED
Luxeon K2
Cree UltraFire C2
Cree UltraFire C3
UltraFire_Hwa_Wys
Insight
Ultraviolet
Tomahawk
TRS First Light
Xenide AEX25 1500 Lumen HID
flashlight
Lumen vs.
Foot Candle
AE
Battery
Peak Beam Systems - 12
Million candle power HID
Rebuilt
Head
Photos
Time Line
Connectors
Movies
Programming
MBS-410 Patents
Batteries
Chargers
Light Output
Surefire
Weapon
Lights
Helmet Lights
Sun Flare
May Torch Patents,
search for
Backup Lights
Backup Light Idea
AA
Battery Table
Battery
Comparison
Backup
Light Comparison Table
Backup
Light Comparison Plot
BUL-Canidates
Early Purchases of Back
Up Lights (not recommended)
Cascade 1170792 Collapsible Lantern
UST 14-Day Lantern
Aircraft Cabin
Emergency Flashlight w/LED
LEP Laser Excited Phosphor
Flashlight
Dimensions
Battery Capacity & LED Run Time
Flashlight & DIY Supplies
Glossary
Manufacturers
Links
Background
A portable
source
of light probably started with a cave man carrying a burning
stick of wood. There have been many portable
light sources based on burning
something. Once the
dry cell
battery became available flashlights became more popular
than they were when a lead acid or other
wet battery was needed.
This web page is being done by adding a section after reading
something on the internet, either an eBay item or reference
material. Once an inventor name shows up then his inventions
are grouped or the company the invention is assigned to has a
group of related products.
I have included on this page what most people would consider a
flashlight, but also any light that uses the
No.
6 Dry Cell for it's power. Also some fixed battery
powered lights like used on barricades or in purses, &etc.
that are battery powered. And some closley related patents
like anti reflection coatings or earlier lights.
Not on the page are patents related to
Flashlights as used on
cameras.
Also see my
Fire web page for lights that
work with fire and/or the
Lighters
web page.
Components
The key components of a portable
light source are: Source of power, A way
to start and stop the light source, A way to convert the power
into light ,A way to control the light. For a flashlight
these would be:
Dry Cell battery,
switch (aka circuit closer), lamp with a filament, reflector
and/or lens.
Lamps
The early Flash Lights used an
Edison type minature screw base lamp very much like the #
14. A problem with this lamp is that the filament location
is not controlled. Part of the reason for that is there is
no reference surface on the base to support good filament
location.
The single contact miniature flange base used the flange surface
as the reference plane for locating the filament and so allows
flashlight reflectors to be designed that have the filament at
focus without any adjustments.
The 222 miniature screw base Lamp has a built in lens and so
does not need to be in a flanged base.
There seems to be a disconnect between the battery makers and
the lamp makers. The Leclanche type dry cells used have a
nominal voltage when fresh of 1.5 volts so two in series would
be 3.0 volts. The end of life voltage is taken as 0.9 or
1.0 so two in series would be 1.8 or 2.0 volts. The lamp
voltages seem to be about half way. The 1915 patent
1163887 (see below) by Charles Burgess mentions this and his
lantern has a two position switch so that a resistor can be
inserted for the first few hours of operation and then the
direct connection made for the remainder of the battery
life. It's my feeling he was correct, running the Pocket
Flash Lights on a full 3.0 volts from a modern battery that's
"stiff" will greatly shorten the life, if not just burn it out.
2120877
Basing machine for electric lamps and similar articles,
Victor
T Uber,
GE,
1938-06-14,
445/69; 29/785; 140/147; 414/783; 29/33J;
140/71.5; 445/71 - bulb manf
(TI=(lamp))
(-arc) assignee:(General Electric Co);) country:US - over
three thousands patents
Lamp Test E10

This is a test stand I built to allow measuring the Voltage and
Current of E10 based lamps. The Victor X solid lamp is in
the stand for the photo. When it's on and you are looking
at a side view like this there is not much light coming out,
almost all the light is aimed in the narrow beam like for the
222.
The wood came from Michaels 85753336002 for 60¢. The
expensive part was getting good wood bits. The brass
hardware is from the
No. 6 Dry Cell
battery adapter and the wire is from the
Hubbard spool which is 16
AWG solid copper, much larger than needed to light the bulb, but
good for measuring the resistance of cold lamps.
Filaments
Eveready Mazda 1.5 Volt

This appears to be a single strand, not a
coil so maybe a carbon filament rather than the more modern
Tungsten type.
Q quick check of three os the flattened bulb type lamps showed
they all had this type of "S" filament.
I'm fairly certain that all the other lamps have coiled Tungsten
filaments.
Table of Lamp Photos at 2X actual size.

|

|

|

|

|

|

|

|

|
|
|
# 14
T-3½ Bulb
minature
screw base
2.47 V @ 300 ma
0.5 MSCP
|
25A
like
222
prefocused
TL-3 Bulb
minature
screw base
|
#
27A PR4
T-3½ Bulb
single contact
minature flange
2.33 V @ 270 ma
0.4 MSCP
2.25 V @ 250 ma
no CP rating
not spherical
|
PR6
bulb from MX-991
angle head army F.L. |
Left Pocket Flash Light is the same
as the 1047525 patent.
Right is slightly newer, looks like patent.
Notice left GE223 lamp has white bead on filament wires
and has clear glass.
Right EVEREADY MAZDA bulb has white reflector.
black paing "2.5 V"
As received both of these lamps have not
wanted to come out.
After soaking with Kroil a few days one was loose
and the other came out with Scotch tape bent into
"U"
to grip lamp.
|
This is
a prefocused lamp like the 222 only the lens is 10.8 mm
dia instead of the 5.5 mm.
Markings are:
VICTOR X JAPAN 2.5V
used in the Victor Pocket Flashlight
|
GE 1491
Dual Bayonet
Prefocused
2.4 V
0.8 Amp
1.9 Watts
Used in Dual No. 6 Dry Cell
Navy Battle Lantern
|
|
|
|
|
|
|
|
|

|

|
|
|
|
|
|
|
GE 407
Flasher Lamp
has bi-metal strip
4.9 V 0.3 A
50 hrs
6 V lantern or
baricade
|
LED
E10 base
2 to 12 V
1 Watt
see: E10LED
|
|
|
|
|
|
|
GE
223 Lamp is rated for 5 hours at 2.25 Volts @ 0.25 Amps.
After measuring the I-V curve from 0 to 215 ma and ploting in
Excel shows the first few points coming up from zero to be off the
straight line you get afterwards, so eliminating them and plotting
from 125 to 215 ma gives this straight line:
I(ma) = 67.259*V + 104.9 with a fit of R2 = 0.9982
solving for 2.25 volts gives I(ma) = 256 ma, matching the
published data pretty well.
solving for 3.0 volts gives I(ma) = 307 ma Would that burn
out the bulb???
Testing a PR4 lamp rated 2.33 V @ 270 ma shows it's very close 2.4
V @ 271 ma. When the voltage gets to 3.7 the current starts
to decrease with time, like the resistance is going up with time
which might happen is the filament is starting to boil away.
Although given for currents close to the rated current these
relationships give a feel for how incandescent lamps work.
Light ~ V^3.4 Power ~ V^1.6
Life ~ 1/V^16 Color ~ V^0.42
Because of the boiling temperature of tungsten the best possible
efficiency is about 52 lumens/watt.
If a lamp is rated for 5 hours of life when operated at it's rated
voltage it will burn out much earlier if operated at higher
voltage. For example the GE 223 life might be described as:
Life = 2157200 / (V^16), so when V=2.25 Volts Life = 5 hr BUT at
3.0 Volts Life = 3 Minutes! One factor that may have allowed
a longer bulb life in the old falsh lights is the internal
resistance of the battery and flash light. An Ohm or two of
resistance would bring the lamp voltage down to the spec for a
battery with an open circuit voltage of 3.0 volts.
Edison 10 mm Miniature Screw Lamp Base (E10)
Based on measuring one I think the
thread is 14 TPI with a pitch diameter of 0.35 inches.
Those numbers are "nicer" than the metric equivalent 1.75mm
pitch and 8.82 mm pitch diameter.
Let me know what it really
is. I'm guessing the 10 mm came from the fact that
these lamps were being made and sold in many countries, not just
the U.S.A. and metric was used in more locations.
Some lamps applicable to the
A-7
AAF Flashlight, Floating Identification - that uses a
single "D" cell and an E10 base lamp, either the 131 (half
hemisphere coverage) or 112 (built-in lens like the 222).
 |
No. 112, No. 131 & "2-Cell" LED, all
E10 base
The "2-cell" LED turns on at 0.48 V so can be used with
a single "D" cell battery, but not as bright as with 2
cells.
There is a Joule Thief circuit
inside to up convert the battery voltage
to a voltage above 3V to turn on the white LED.
eBay: NEW EDISON BRIGHT 25 LUMEN CYBER LED E10 BASE 3
VOLT 2 cell 112 #222 PENLIGHT !! |
Preserving Lamps
With the advent of LED based flashlights the filament type are
going obsolete. Today most stores carry spare lamps I think
in not too many years they will be harder to get and more
expensive. Even today there are flashlight lamps that are
fairly hard to come by. But being able to use the flashlight
is a large part of it's appeal.
The problem is that lamps are typically specified to operate at a
voltage about half way between a fresh Carbon Zinc battery (1.5
Volts) and a dead one (1.0 Volts) or 1.25 volts per cell.
You can see that in
Table of
Newer Lamps. But running a lamp above it's rated
voltage. Note that a nominal lamp life is 15 hours at rated
voltage.
Using modern Alkaline cells causes the lamps to burn brightly but
not for very long. Using Ni-MH rechargeable cells drops the
voltage from 3.0 V for fresh alkaline to about 2.8 V for fresh
Ni-MH but they soon drop to 1.2 to 1.3 V per cell or 2.4 to 2.6
Volts which is very close to the specified operating point.
So that's a rather simple way to preserve the lamp.
A better way is to use a current regulator to limit the current
rather than regulate the voltage. With current regulation
any resistance in the flashlight makes no difference to the
lamp. With voltage regulation any resistance will make a big
difference to the lamp. I like this approach a
lot. It would allow adjusting the current so you could make
the trade between brightness and lamp life.
Repairing Loose Bulbs

Quite a number of times the bulb has become unstuck to the base
and is being held just by the two wires. If you apply any
torque the wires will snap right were they enter the glass bulb
and the lamp will be ruined. I can remember these seperated bulbs
going back over 50 years.
The fix is to apply
Loctite
290 (
290
Data sheet,
MSDS)to
the
crack
between
the
bulb
and
base.
It's
designed
to
lock
threads
that
are
already
mated.
This
is
a
penetrating
liquid
and
is
very
thin.
After
cutting
off the tip of the small tube the first time I used it way way
more came out than I expected. So be very careful not to
waste this expensive liquid.
The strength is best when the gap it's filling is smallest so I
used a rubber jaw wood clamp to hold the bulb into the base and
let it sit for more than 3 days (72 hour cure time). If
repairing a lamp while it's still in a light be very careful that
no thread locker gets on the base threads.
Available at Napa auto parts in 0.20 fluid ounce (6 ml)
tube.
When a keychain UV LED is used to illuminate the bulb the Loctite
290 appears as a yellowish color where it's between the glass and
base.

|

|
290
Treated Lamp
The glass to base area is clearly
visible and an off yellow color.
|
stock #
1491
The glass to base area is fuzzy
with no yellow color.
|
Lamp Patents
754251 Electric Lamp, Steinmetz (GE), Mar 1904,
362/329 ;
313/116 - home type by a key inventor
762927 Composite Incandescent
774404
Base for Incandescent Lamps, Alfred Swan (GE), Nov 8 1904,
439/662
; 439/663; 439/672; 439/675 -
The Ever Ready Osram lamps had
this patent date marked on the base.
The Edison base was a cylinder that was all threads this
invention makes the base more cup shaped and pours molten glass
into the base that attaches to both the center contact and the
base. It's mentioned on the
Antique
Christmas Light site about Eveready page 2.
825103
Method of Manufacturing Tipless Miniature Incandescent Search
Lamps, O.A. Bohm, Jul 3 1906,
65/55- scarf pins
945823
APPARATUS
FOR EXHAUSTING INCANDESCENT LAMPS
963872 Lamp-Filament, W.D. Coolidge (GE), July 12 1910, - Tungsten
filaments replaced carbon filaments. One of the KEY lamp
patents.
1712996 Incandescent Lamp, F. P. Hoffman (R.A. Schott), May 14
1929,
313/111 ; 220/2.1R; 313/110; 313/315; 362/296 -
bulb is mostly solid glass
to both act as a lens and to be very strong (See Victor
above)
1906188 Incandescent Lamp, Emamiel C. Smally, Apr 25 1933,
313/237 ; 174/50.51;
174/50.53; 174/50.55; 220/2.3R; 313/113; 313/312; 313/315;
313/318.04; 313/318.11; 313/324; 362/267; 362/296; 362/363
looks like an adapter to accept a small lamp and add a reflector
and cover, but the small lamp does not need to have a glass
bulb, just the base and filament
Reissued
Osram Patents
These lamps have the word "OSRAM"
inside the bulb and the word is what emits the light.
1675229
Electric
Incandescent
Lamp, Franz Skaupy (GE), Jun 26, 1928,
312/305 ;
313/347; 313/45; 313/592; 313/8 - works like vacuum tube where the
plate gets hot. "Osram" used in an example.
1623761
ELECTRIC
LAMP, Franz Skaupy (GE), Apr 5 1927,
313/9 ;
313/276; 313/316; 313/341 -
112 and 222 Lens Type TL-3 or GTL-3 Bulb
These are Edison miniature screw (E10) based lamps with a built in
lens. Typically used in penlights. Since the lens to
filament relationship is what's critical there is no need for a
flange to locate the lamp with respect to the flashlight like in
the PR- series of pre focused lamps. The support wires for
the filament don't stop at the filament like on earlier lamps but
instead continue upwards to a reference location. When the
glass assembly with the filament is inserted into the bulb it
stops when the top of the support wires hit the inside of the bulb
at which point the glass is fused. This located the filament
allowing for focus.
1983362 Electric Incandescent Lamp, W.J. Geiger (GE), Dec 4 1934,
[filed Apr 24 1934]- This is
THE 222 method of locating filament
at specific position for 112 and 222 lens type lamps.
2053164 Incandesent Lamp and Method of Manufacture, Marvin Pipkin
(GE), Sep 1, 1936,
445/27 ; 220/2.1R; 313/110; 313/315;
313/317 - adds a solid glass lens to the bulb - 222?
2060658 Method of and Apparatus for Shaping Glass, Carl A. Brown
(GE), Nov 10 1936,
65/109 ; 65/271; 65/276 - method of
making glass lens on bulb, 222?
2416853 Incandescent Lamp, Emamiel C. Smally, Mar 4, 1947,
362/309
- adapter allows using a small lamp in a larger socket
References:
1906188 Incandescent Lamp
762927 Composite Incandescent Lamp-bulb and Reflector
1955601 Light Projector, Lamblin-Parent, Apr 1934, - glass cover
for lamp with optical elements
1731714 Luminiar, WIXMAM A. DOBEY (Holopane Co)
1739679 Electric Lamps, WILLIAM L. LAIB, Dec 1929 - color filter
as 2 pard shroud covers bulb
2004443 Lens, Kovac, Jun 1935 - a very complex shape of
reflector behind lamp
1804049 Electric Lamp, Claus, May 1931 - incorporate reflectors,
lens, multi filaments, etc.
2148314 Electric Lamp, D. K. WRIGHT (GE), - sealed beam
that can be opened
2343754 Sealed type Tail, Stop and Directional Signal - complex
lamp
2159736 Electric Lamp and Method of Making Same, Alfred T. Gaskill
(GE), May 23, 1939 [filed May 22, 1934],
65/109 ;
65/DIG.1- Method of forming lens by melting tube This is for the
222
2277633 Electric Lamp and Mounting, Joseph D. Ceader (GE), Mar 24
1942,
362/202 ; 362/341 - Prefocused Flashlight lamp. uses
a small donut shape in the metal base next to the glass.
Notice that a lamp like the #14 shown in the photo above must be
inserted from the front of the reflector, but the flanged lamps
have been designed to allow inserting from the back of the
reflector.
2235515 Manfacture of Miniature Lamps, Walter E. Carpenter,
(Westinghouse Electric), Mar 18 1941,
174/17.08 ;
174/50.58; 220/2.2; 313/315; 313/318.03; 313/318.08; 445/27;
65/46; 65/56; 65/57 - glass blowing and stept of making PR- type
pre focused lamps
2402375 Sealed Beam Flashlight Lamp, Frank B. Dadlsman, Jun 18,
1946,
362/267 ; 362/205 - 4 filaments with one common
connection
1915 Catalog listing of Lamps
No.
|
V
|
Bulb |
CP?
|
1180
|
2.6 /
2.3
|
?
|
|
1181
|
3.3
|
FE-3
3/4 |
0.25
|
1182
|
2.3
|
FE-3
3/4
|
0.27
|
1197
|
2.3
|
G-3½ |
0.27 |
1162
|
3.8
|
G-3½ |
0.30
|
1161
|
2.5
|
G-3½ |
0.30 |
1166
|
2.4
|
G-3½ |
0.60
|
1167
|
3.6
|
G-4½ |
0.60 |
1168
|
6.0
|
G-5
|
0.60 |
1163
|
6.2
|
G-4½ |
?
|
1117
|
2.4
|
G-3½ |
? |
1135
|
6.3
|
T-3¼ |
? |
1149
|
2.5
|
T-3¼
|
? |
1109
|
5.0
|
G-4½ |
? |
1173
|
2.3
|
G-3
Frosted
|
? |
1174
|
2.5
|
GL-3½
|
? |
#
Cells
|
Model
|
Base
|
Bulb
|
Volts
|
Amps
|
Power
Watts
|
Life
hrs
|
2
|
223 |
E10
|
FE3-4/4
|
2.25
|
0.25
|
1/2
|
5
|
|
|
|
|
|
|
|
|
Table of Newer Lamps
5
#
Cells
|
Model
|
Base
|
Bulb
|
Volts
|
Amps
|
Power
Watts
|
Life
hrs
|
1
|
112
|
E10
|
TL3 |
1.2
|
.22
|
1/4
|
5
|
2
|
14
|
G3-1/2
|
2.47
|
.3
|
3/4
|
15
|
222
|
TL3
|
2.25
|
.25
|
1/2
|
5
|
| PR-9 |
P13.5s
|
B3-1/2
|
2.7
|
.15
|
1.2
|
45
|
| PR-6 |
B3-1/2
|
2.47
|
.3
|
3 1/2
|
30
|
PR-2
|
B3-1/2
|
2.38
|
.5
|
1
|
15
|
3
|
13
|
E10
|
G3-1/2
|
3.7
|
.3
|
1
|
15
|
PR-7
|
P13.5
|
B3-1/2
|
3.7
|
.3
|
1
|
30
|
PR-3
|
B3-1/2
|
3.57
|
.5
|
1 3/4
|
15
|
PR-30
|
B3-1/2
|
3.75
|
.86
|
3 1/4
|
40
|
4
|
27
|
E10
|
G4-1/2
|
4.9
|
.3
|
1 1/2
|
30
|
PR-13
|
P13.5s
|
B3-1/2
|
4.75
|
.5
|
2 1/2
|
15
|
5
|
PR-12
|
P13.5s
|
B3-1/2
|
5.95
|
.5
|
3
|
15
|
6
|
PR-18
|
P13.5s
|
B3-1/2
|
7.2
|
.55
|
4
|
3
|
8
|
965
|
E10 |
T4-1/2
|
9.84
|
.5
|
5
|
15
|
Seeing
the Light: The Physics and Materials Science of the Incandescent
Light Bulb -
YouTube: Periscope Films:
1940s
General Electric Documentary Manufacture of Madza Lamps &
Light Bulbs PF#65784, 23:48 -
also see:
Spectronic 20D Spectrophotometer
Weston Model 594 Photronic
Cell light sensor, & Weston 614, 615, 650, 703, 756,
819 & others
Looking for information on design etc.
1979952 Reflectometer, Benford (GE), Nov 6 1934,
356/448
; 356/236; 356/446 - mentiones integrating sphere
2126410 Spectrophotometer, O. W. Pineo (Calco Chemical
Co), Aug 9 1938,
250/204 ; 250/225; 250/228;
359/281; 40/548 - uses Magnesium Oxide coating inside
sphere
2046958 Colorimeter,Harry B. Marvin (GE), Jul 7 1936,
356/319
; 356/405 - measures spectral output of lamps and uses
integrating sphere
2189270 Photometer, Orrln Western Pineo, Feb 6, 1940,
250/204
; 250/225; 250/228 - uses Magnesium Oxide coating inside sphere
2342771 Photometric Apparatus, Voigt, Feb 29 1944,
356/364
; 250/339.07; 250/339.09; 346/128; 346/33A; 346/33R; 356/236;
356/321; 356/323 - showing a number of setups
2263938 Light Sensitive Measuring Instrument, Douglas L. West
(Howard Smith(Paper Mills Ltd), Nov 25 1941,
356/369 ;
250/208.6; 250/226; 250/228; 356/243.1; 356/416; 356/448 -
2326007 Sensitometer, J. G. CAPSTAFF (Eastman Kodak), Aug 3
1943,
356/433 ; 355/83; 356/443; 359/888
2601182 Photometric Apparatus, John E. Tyler (Interchemical
Corp), Jun 1952,
356/321 ; 250/205; 250/225; 250/226;
250/228; 250/229; 315/166; 315/257; 315/296; 356/325 -
From the box of a green full size Edison base 12V 5Watt lamp:
532760
Incandescent
Lamp, Mark Branin (GE), Jan 22 1895,
174/50.58 ;
220/2.1R; 445/27; 65/59.28
537693
Process
of Evacuating Incandescent Lamps, Arturo Malignani
(Italy), Apr 16 1895,
445/20 ; 252/181.1; 252/181.2;
313/315; 313/548; 417/48
575668 Illuminant for Incandescent Lamps, A. De Lodyguine
(Jan 19 1897,
428/663 ; 29/527.4; 420/429; 427/111;
427/117; 427/124; 427/252; 427/594; 428/670; 428/938; 445/48;
75/10.28
726293
Exhausting
Lamps, John W. Howell (GE), Apr 28 1903,
445/20
729730
Incandescent
Lamp, William. Buerows (GE), Jun 2 1903,
313/42 ;
313/40; 313/43
774404
Base
for Incandescent Lamps, Alfred Swan (GE), Nov 8 1904 - see
above
916659 Producing Metallic Incandescent Bodies for
Electric Glow-Lamps, Fritz Blau (Germany), Mar 30 1909,
419/4
919381 Electric Glow Lamp, Hermann Remand (Germany), Apr 27
1909,
313/271 ; 313/277; 403/27
Batteries
By 1910, 11 years after flash lights were invented there were a
number of batteries available from National Carbon Co. using the
Columbia brand.
A
Brief History of the Standardization of Portable Cells and
Batteries in the United States by
My seperate
Battery Patents web page.
Cylindrical
No.
|
dia x
ht
|
No.
of
Cells
|
Wt
oz
|
Volts
|
1
|
1 3/8 x
7 1/8
|
3
|
11.5
|
4.5
|
20
|
1 3/8 x
9 1/2
|
3
|
15
|
4.5
|
30
|
1 3/8
x 11 7/8
|
5
|
18
|
7.5
|
110
|
1 x
4 3/4
|
2 or 3
|
8
|
3 or
4.5
|
590
|
1 3/8 x
4 3/4
|
2
|
3.5
|
3
|
591
|
1 x
3 7/8
|
2
|
3
|
3
|
1915
Catalog
|
| 935 "C
batt" |
1
31/32 x 1 1/32 |
1 |
|
|
| 950 |
2
13/32 x 1 11/32 |
1 |
|
|
| 705 |
7
15/64 x 1 11/32 |
3 |
|
|
| 706
(~2xAA) |
4
1/31 x 19/32 |
2
|
|
|
710
|
2
31/32 x 3 9/32 |
5 ? |
|
|
| 790 |
4
13/16 x 1 11/32 |
2 |
|
|
eBay
|
BB21
Rayovac
|
C
1 31/32> dia > 9/16 AA
|
2?
|
|
|
Index
of vintage radio battery artwork / graphics by
Robert - KD4HSH
Prismatic
Dimensions exclude the metal tabs.
1910
National
Carbon Co.
|
No.
|
thk x w
x ht
|
No.
of
Cells |
Wt
oz |
Volts |
032
|
2 5/8"
x 1 3/8" x 3/4". |
2
|
|
3
|
502
|
fits
patent dwg Pocket F.L.
|
?
|
?
|
?
|
592
|
13/16 x
1 5/8 x 2 1/2
|
2
|
3
|
3
|
593
|
1
1/16 x 2 1/16 x 3 1/2
|
2
|
7
|
3
|
ECP
|
1
1/4 x 3 1/8 x 4 1/16
|
3
|
12
|
4.5
|
CP3
|
1
1/8 x 3 1/4 x 3 3/4
|
3
|
15
|
4.5
|
EVP
|
15/16 x
2 1/2 x 3 1/8
|
3
|
6
|
4.5
|
OV3
|
7/8 x
2 1/8 x 2 9/16
|
3
|
6
|
4.5
|
OV3
import
|
7/8 x
2 3/8 x 2 9/16
|
3
|
6
|
4.5
|
OVN
|
7/8 x
2 3/8 x 2 9/16
|
3
|
5
|
4.5
|
1915
Catalog
|
409
|
3
29/32 x 1 1/8 x 2 3/4
|
4
|
|
|
700
|
1
15/16 x 1 1/8 x 19/32
|
2
|
|
|
703
|
2
19/32 x 2 7/16 x 27/??
|
3
|
|
|
734
|
3.9
x 3.0 1.15
|
3
|
|
|
750
|
2
5/16 x 1 11/32 x 1?
|
3
|
|
|
751
|
2
5/16 x 2 x 11/16
|
3
|
|
|
Misc
|
3R25,
AD28, H1176
|
36
x 96 x 106
1.42 x 3.78 x 4.17
|
3
|
|
4.5
|
3R12
(MN1203, 3R12G, 3LR12, 3R12R, 1289) |
22 x 67
x 62
0.87 x 2.64 x 2.44
|
3
|
|
4.5
|
Batery Size1 Table
from ASA C18.1-1954, UDC 621.352.7
omitting volume, and Mercury batteries. Ordered highest volume to
lowest.
Cell
|
Dia
in
|
Hi
in
|
Vol 2
cu in
|
No. 6
|
2.5
|
6
|
29.3
|
J
|
1.25
|
5.875
|
7.2
|
G
|
1.25
|
4
|
7.92
|
F
|
1.25
|
3.4375
|
4.22
|
D
|
1.25
|
2.25
|
2.76
|
CD
|
1
|
3.1875
|
2.51
|
CL
|
0.9375
|
2.625
|
1.81
|
C
|
0.9375 |
1.8125
|
1.25
|
B
|
0.75
|
2.125
|
0.95
|
BR
|
0.75 |
1.5
|
0.66
|
BF
|
0.75 |
1.3125
|
0.58
|
A
|
0.625
|
1.875
|
0.57
|
AA
|
0.53125
|
1.875
|
0.42
|
AAA
|
0.390625
|
1.6875
|
0.20
|
R
|
0.53125 |
1.3125
|
0.292
|
N
|
0.4375
|
1.0625
|
0.169
|
NS
|
0.4375 |
0.75
|
0.113
|
Note : these were Zinc Carbon cells. Alkaline cells are
about the same size, BUT are made very differently. For
example the top (positive) terminal on a Zinc Carbon cell was just
the small cap on the carbon and the Zinc can was the
negative terminal. An Alkaline cell has all of the top
terminal and the cylinder all connected to positive and an island
at the bottom is the negative terminal.
Note 2: The energy in a cell is to a first order
approximation proportional to it's volume. A second order
approximation would subtract some constant so as the total volume
decreases the useable volume decreases even faster.
Energizer E95 Alkaline "D" cell is 1 5/16" dia x 2
3/8" hi
Energizer"AA" cell is 9/16" dia x 1 15/16" hi
No. 6 Dry Cell is 2 ½" dia x 6" tall
The tab unit cell for my 2AA
Pocket Flash
Lights needs to be less than 0.7" some fractions that would work:
<= 5/8, 21/32 (23/32 very tight), 45/64. The 700 is 19/32
which is thin enough by 1.9375" wide by 1 1/8. If the 1 1/8
is just the body and the tabe stick up the right distance it would
fiy my wide Pocket Flash Light. But it's 2 cells which might
burn out the lamp?
 |
This Flash Light battery is 2 5/8" x 1 3/8" x
3/4". Note 3/4" is just the size to fit the
Eveready Pocket Flash Lights. The 1 3/8"
dimension, the width in the photo would be just right
for the narrow Pocket F.L.. That leaves the 2 5/8"
height which would be too tall. 2 1/2" is also too
tall. 2 1/4 or 2 1/8 high would work.
It may be that these very
early batteries had a lot of internal resistance, so
although they measured 3 volts open circuit, when
connected to the lamp the actual voltage across the lamp
was less than 3.0 volts. I feel that connecting
two modern 3 volt Alkaline cells to the lamp would burn
it out.
|
|

|
This Eveready Pocket Flash Light has a
No. 750 battery installed.
The 750 is a three cell battery with dimensions of 2
5/16 x 1 11/32 x 1?
You can see at the top left of the battery the short tab
is making contact with the tab connected to the
switch. That makes a circuit to the case which in
turn is connected to the threaded part of the lamp.
The tip of the lamp makes contact to the long battery tab
that's folded flat across the top of the battery. So
as shown the light would be on.
But the switch is shown in the up position which should be
off, so either the switch tab or battery tab would need to
be bent so they are not touching when the switch is all
the way up.
The U shape metal that's part of the switch is there to
hold the battery to the right.
1053390 Galvanic Cell , Albrecht Heil (Conrad Hubret
& Samuel Stern), Feb 18 1913, 429/224 ; 429/229 -
Manganic Hydrate as depolarizer gives 1.6 Volt cell
1053505 Galvanic Cell, Albrecht Heil (Conrad Hubret &
Samuel Stern), Feb 18 1913, 429/224 ; 429/229
- Manganese Dioxide as depolarizer gives 1.7 Volts
per cell. |
Printed on Front
No. 750
Eveready
Tungsten Battery
Highest Grade Battery in the World
American Eveready Works of National Carbon Co Inc
Long Island City, N.Y.
Chicago Atlanta San Francisco
Patented Feb 18 1913
|

|
Here the battery is installed the correct way around.
The switch is a little below the half way point and the
circuit is open. If the switch is pushed up the
circuit will be closed.
It looks like red sealing wax has been poured into the top
of the battery and there's still an eighth of an inch of
battery wrapper exposed. For a battery that's
probably 90 years old it's held up fairly well.
|
Printed on Back
Guarantee
We guarantee this tungsten battery to give 1 to 2 hours
service when used with an Eveready Mazda bulb.
IMPORTANT
Bulbs are expecially designed for use with tungsten
batteries and will give the highest efficiency for your
protection
The name eveready is stamped on the base
Side:
The original and only battery of quality.
Other side:
Guarantee expires 4 23
price 30 cents
|

|
The carbon rods and their caps can
clearly be seen.
The sheet metal tabs are just soldered to the two
cells. All the wiring is at the top and both cells
are installed positive end up.
X-ray by my dentist Dr. John Scoggins at Park Falls Dental.
The solid state X-ray makes an image that's life size and
covers 36 x 25.6 mm i.e. the same size as a full
frame 35mm camera negative. The resolution is 635
pixels per inch or 25 pixels per mm. Each
pixel is an 8 bit gray scale value.
|
The size is very slightly
larger
that two AA batteries side by side.
The tabs are about 0.011" thick and very springy.
The top looks like it has had sealing wax poured into it.
|

The symbol at right may be a Franco logo?
|

Eveready Shield Mark on Eveready No.
750 Pocket Flash Light.
Center has overlaid E and R.
|
Two AA Battery Adapter to
replace No. 750

This was the first try at making battery adapter patterned
after the one by Bill Utley in the Flashlight Collectors
Newsletter. But instead of using a huge pop rivet
I'm using an eyelet. But a problem showed up after
the first phosphor bronze spring was attached.
It's that there is nothing to keep it from turning, as
shown in the image to the left. The real batteries
have both tabs well located in rotation. Now working
on a way to fix the tabs rotation.
|
Two AA Battery Adapter to
replace No. 750 ver 2
This is the second try. Each of the phosphor bronze
spring straps is anchored in two places so they can not
rotote. All three of these pocket flash lights works
by just moving the battery adapter from one to the other
without any tweaking of the starps.
The fit is snug but the bottom door on the eveready dec 17
1912 unit (lower left conrner) stays closed.

|
Eveready No. 751 Pocket Flash
Light Battery
|
|

|
2
1/4 hi x
5/8 thick x
1 15/16 w
|

|

|

|
You can
feel three cells
under the paper.
Lamp in Pocket Flash Light
is marked 3.6 V
|

|
Same
patent date
Feb 18 1913
as No. 750 above
1053390 Galvanic Cell
1053505 Galvanic Cell
|

Guarantee Expires 3 27
|
_
|
|
|
Franco
No. 1041 3 AA Pocket Flash Light battery |
|
|
|
|

|
MN1203 aka 3R12 4.5 Volt Battery
2 3/8" wide x 2 1/2" hi x
27/32" thick. 6 ounces.
The tabs are made out of a dead soft metal and do NOT
have spring action and so do not make good contact with
the lamp base.
Because of the poor spring action this battery requires
some "fiddiling" to get it to work. Or that may be
just the nature of this type of battery?
|

|

Petrix Pocket Flash Light
On using MN1203 battery.
|
|
Franco Dec 29 1914 1122777 also
works with MN1203.

|
738025 Dry-Cell Battery, Edwin R. Gill (Electric Contract Co
ECCO), Sep 1, 1903,
429/166 ; 429/229 - pointed carbon
allows better packing prior to inserting carbon
777457 Battery Case, Wappler, Dec 1904,
429/99 ; 429/159;
439/500 - a box to hold a number of series connected cylindrical
cells
880703 Battery, George M. Wheeler,
429/159 ; 206/705;
429/178 - Pocket Flash Light, repairable
1053390 Galvanic Cell , Albrecht Heil (Conrad Hubret &
Samuel Stern), Feb 18 1913, 429/224 ; 429/229 - Manganic Hydrate
as depolarizer gives 1.6 Volt cell
1053505 Galvanic Cell, Albrecht Heil (Conrad Hubret & Samuel
Stern), Feb 18 1913, 429/224 ; 429/229 - Manganese
Dioxide as depolarizer gives 1.7 Volts per cell.
1011992 Dry Battery, D.L. Ordway (National Carbon Co), Dec 19,
1911,
429/159 - multi-cell prismatic Ignition Battery high
Watt hours/cu inch
1066280 Protective Container for Dry Batteries, Kaempfer, Jul
1913,
206/705 ; 229/102; 229/81 - a box to hole a pocket
flash light battery with holes for testing and a seal so battery
can not be exchanged with a dead one.
1090624 Casing for Electric Cells, I. Kaempfer, Mar 1914, - for
cylindrical cells
1292764 Dry Cell and it's Method of Manufacture, Hambuechen
(Burgess Battery), Jan 28 1919,
29/623.1 -
1303558 Battery Cell, Harry T. Hipwell, May 13, 1919,
429/65
; 206/705; 429/167 - method of making cell easy to ship (used in
speed flash)
1307868 Flash Light Battery, A.S. Lynne, Jun 24 1919,
429/166
; 429/157 - one piece zinc cup, no leaks & same size
instead of soldering a flat sheet
into a cylinder then soldering a bottom cap, form the cup from a
single piece of zinc
1316597 Dry Cell, Schroger (Burgess Battery), Sep 23 1919,
429/132
; 429/137; 429/229 -
1331877 Electric Battery, O.E. Ruhoff, Feb 24 1920, -
1398518 Flashlight-Battery, H.H. Hipwell, Nov 29, 1921,
429/133
; 429/142; 429/247 - use rubber band to hold core cover cloth in
place instead of thread
1590873
Primary
Cell, UNION DRY BATTERY CORP
1760090 Dry Cell
1836847 Dip for Dry Cell Cores, JOSEPH M. HENDERSON (Burgess
Battery), Dec 15, 1931,
429/232-
1839498 Dry Cell, H. W. FORTH (Burgess Battery), Jan 5, 1932,
429/166
; 429/202; 429/229-
1856386 Primary Battery, (National Carbon Co), G. W. HEISE, May 3,
1932,
429/220 ; 429/229 - High Current Applications
has some technical data, for
miner's lamps
1858026 Battery, Schulte (Burgess Battery), May 10 1932,
429/159
; 362/171; 429/178 - metal can for pocket flash light battery
1874376 Process of Making Dry Cells, W. D. STALEY, Aug 30, 1932,
29/623.5
; 427/113; 427/443.2; 429/301
1214916 Lamp, Ellsworth A. Hawthorne (Hawthorne Co), Feb 6,
1917,
362/375 - bicycle tail light
Hawthorne made carriage, bicycle
lights and lanterns. A quick connect pipe clamp
mount for a spot light allowed carriage mounting or to about
anything round.
2534336
Primary galvanic cell,
Nelson C Cahoon,
Union
Carbide Corp, 1950-12-19 - printed on No.
467 67-1/2V battery
2710887 Method of Sealing Dry Cells and Sealed Dry
Cell Construction, Albert Gelardin, Jun 14, 1955,
429/172 -
References:
2025028 Dry Cell, Fausek, Dec 24 1935, 429/173 -
2289249 Dry Cell Battery, C. P. DEIBEL, Jul 7 1942,429/54
; 174/521; 429/168 -
2307763 Dry Cell Battery, Cyril P. Deibel, Jan 12, 1943, 429/168
; 429/185; 429/86 -
2546379 Dry Cell and Method of Making same, Woodring, Mar 1951,
429/170 -
2636063 Electrical Battery, Walter W. Schroeder (Sprague), Apr
21, 1953, 429/54-
2826681 Multicell Battery, H.R.C. Anthony (Electric Storage
Battery Co), Mar 11 1958,
362/194 ; 429/158; 429/174 -
2879315 Vented Sealed Dry Cell Construction, Albert Gelardin, Mar
24 1959,
429/82 ; 429/172 -
3874932 Dry Cell, Yoshio Uetani
RE30458 Dry Cell, Yoshio Uetani,
Dec 23, 1980
William F. Hendry - many many Dry Cell patents
Optics
The light leaves the bulb in all directions. Some may go to
the reflector and where it goes next depends on if the filament is
at the reflector focus. Some light will never touch the
reflector and instead goes out the end of the device. If
there's a lens then if the filament is at the focal point of the
lens that light will be collimated, i.e. it will go in a parallel
bundle of light. The very common Edison 10 mm miniature
screw based (E10) lamps do not control the location of the
filament and so are almost never focused as installed.
That's why there are many patents on ways to focus the light.
The very early flash lights used white paint on a parabolic
reflector. Later some used silver reflectors, these look
great when silver polish is used. Later some shiny metal
(Chrome, Nickel ?) was plated on a brass reflector. Still
later metal was applied to plastic to make the reflector.
In the case of a flashlight with a reflector and flat glass or the
case of the reflector and lens the light that goes froward from
the lamp makes a wide beam and the light that's reflected then
goes forward makes a narrow beam. In some cases, like in
smoke or fog, it's good to eliminate the wide beam which is weaker
than the narrow beam so that back scattered light is reduced thus
increasing visibility. The
Hipco dual lens
flashlight does this. There are other flashlights that
get a similar, but not as good, effect by blocking some of the
forward light with an obstruction directly in front of the
lamp. For example the Smoke Cutter made by G.T. Price.
There's a good explanation of the dual lens optical system in a
patent for an allergy pollen sensor.
5986555 Allergen Detector System and Method, Robert M. Hamburger,
340/627, Nov 16 1999 - two lens system and includes central
obstructions to block laser beam.
524075 Reflector for Electric or Other Lamps, ERNEST TILMANN, Aug
7, 1894,
184/5 - two parabolic on common axis
1169819 Process for Preparing Metalic Filaments, ROBERT H.
HENDERSON (Westinghouse), Feb 1, 1916,
219/149 ; 148/576;
72/364 - multistage drawing
1211447 Lantern Lens, L.J. Houze, Jan 9 1917,
362/333 -
2136237 Method and Apparatus for Prefocusing Lamps, D.E. Ekmendorf
(GE), November 8, 1938, 445/64 ; 250/201.1; 250/234; 250/554;
318/264; 318/283; 318/480; 318/54; 356/400; 361/175; 362/296 -
Vacuum tube and electric motors position filament.
Automobile headlight app.
2469080 Unitary Lens, S. Rosin, May 3 1949
362/327 ;
353/102; 359/724; 359/727; 362/336- combines reflection and
refraction to make narrow beam - many patents reference this one.
D31588 Lantern Reflector, Frank Rhind, Oct 3 1890,
D26/128
-
Source Geometry
Some common light sources, in sort of chronological order,
are hot filaments in screw based then in flange type light
bulbs, various types of electrical arcs and now LEDs. All of these can be put
into an optical integrating sphere (Wiki)
and measure the total light output in all directions in Lumens
(Wiki)
just as Edison did with his light bulbs. But the lumen
output of a flashlight is not the key parameter. More
important is the light reflected by a distant object that you
want to illuminate measured in units of Candle Power (Wiki)
Candela (Wiki)
or Lux (Wiki)
also see luminous flux (Wiki),
Luminous efficacy (300 lumens/watt max for an LED) (Wiki)
and the Amprobe (Meterman) LM631A
Digital Light Meter.
The light you see reflected from a distant object depends on
a number of factors such as: how much light the source
produces (measured in an integrating sphere and in units of
Lumens), the optics that shape the light into a beam, the
atmosphere between the light source and the object and you
eye, how the object reflects.
Looking at the Surefire rail mount
flashlights: they have flat glass lenses and if you turn
the flashlight away from pointing at your eye at some
angle (30 to 45 deg) the LED can no longer be seen, so inside
that solid angle there is no optical modification of the light
output, i.e. it's the same output that you would get without a
reflector or lens of any kind. From that angle to a
little less than 90 deg from the beam centerline the reflector
is supposed to make a beam. So when you shine the light
on a wall you will see a large circle of light determined by
the direct LED light and a brighter center spot determined by
the reflector.
When an HID source is used, like in the AEX25,
it's a small cylinder of light allowing for a more efficient
optical system. So with more efficient optics you can
get a brighter light then with a similar Lumen output LED
light.
In the case of old fashioned flashlights using screw based
lamps, the Hipco uses a 2 lens optical
system to produce a more defined beam than the bull's eye and
reflector only flashlights of the time.
I tried to use the LM631A light meter where the flashlight
and light meter were both being held in my hands, but the
light is way too bright for that to work. What's needed
is an outdoor test range setup so that the light does not fall
on the house and is above ground maybe 5 feet so that a
minimal amount of light is reflected off the surroundings and
into the light meter. Using baffles would be one way,
but different baffels would be needed for each flashlight, so
just open air is probably the best alternative. There
needs to be a permanent stand to hold the flashlight and a
permanent stand for the light meter so that in the
future different lights can be tested under the same
conditions. On my To Do list.
Light
There are a number of ways of measuring light.
Lumens (Wiki)
are a measure of all the light that a source can produce.
The measurement is made with the light source inside a
reflecting sphere so that light in all directions is captured.
A Candela (Wiki - the new version of a candle power) is a
measure of the visible light falling on a surface. Note
both Lumens and Candela are measures of visible light only, not
IR or non visible radiation. So these units are not
applicable to IR sources.
TheWeston Model 594 Photronic
Cell was designed so that it measures light with a
wavelength response curve that comes very close to the human
eye.
The Amprobe (Meterman) LM631A Digital
Light Meter is a modern light meter that's commonly used
for testing flashlights.
Although you might think when comparing two flashlights
that the one with the highest lumen rating would be the
brightest, that's not the case. For example when the Mini Mag Light has the reflector removed and
used as a base, i.e. in candle mode it's putting out the same
number of lumens as another Mini Mag Light with the reflector in
place, but the brightness on a nearby surface will be much less.
So the key measure is what a light meter reads at some
specified distance from the light source. This reading
will depend on the product of the brightness of the source
(lumens) and the ability of the optics to direct all the light
in a desired direction. The same light source may be used
for area illumination or as a spot light with a very narrow
beam. The surface brightness of the spot beam will be much
higher than when the same light source is used for area
illumination. This is very similar to radio antennas where
the gain of the antenna comes by directing the signal in a
narrow beam.
Some light sources, like High Intensity Discharge (Wiki: HID)
(see: AEX25) lamps are easier to design
optics for than LEDs and so can have higher surface brightness
than another flashlight with a higher lumen rating, but not as
efficient optics.
Switch & Wiring
Conrad's first flash lights were
made using fiber tubes which are insulators. That makes it
easy to bring out two terminals which when connected turn on the
light. The big problem with that is when the switch is in
the off position and any metal touches the two terminals (like
in a tool box) the light is turned on and the batteries go
dead. The user later takes the light out of his tool box
and the switch is clearly off, but the batteries are dead.
Seem like those batteries don't last very long.
Many early switch & wiring designs were aimed at preventing
the above problem.
It's relatively easy to make a push button switch that normally
off and momentarily on, the nomenclature is:
OFF-(ON). But it's more difficult to make a switch that is
positivitily off, allows momentary push button operation and has
an always on position that allows you to put the light down and
use your hands for something else.
A further refinment is to place the switch somewhere so that
it's very easy to use allowing full operation of the flashlight
with one hand.
Care and Feeding
Often the flash light I get on eBay is very old and had rust and
corrosion on some of the metal surfaces. I don't think it's
good to just leave that alone since it will continue to corrode
the metal. I have my first flashlight book on order but
these lights need help so I'll present my method now. If you
know of a proven method please
let me
know.
Supplies needed:
Chemicals

VM&P
Naphtha or
equivalent
Window cleaner fluid in squirt bottle
Homax -
OOPS!
Multi-Purpose Remover -
Brasso metal polish
Kroil made by
Kano Labs,
no substitute, 8 oz can will last forever if only used for
flashlights
Rust remover, phosphate based, Renaissance Metal De-Corroder, or
equivalent.
Wright's Silver polish
Renaissance Micro-Crystalline Wax Polish or equivalent high
quality wax
Radio Shack Lube-Gel 2005-07-01 or
Super
Lube Gel 82003. other Silicon grease would also work,
especially if made under patent 5037566
Applicators & Removers
small screw driver
small fine tooth file
steel wool, No. 0000
Shop Rags, paper from box
tooth brush
tooth pick, wooden
Q-tips
tissue paper
Dust Off or compressed air
dinner plate, shallow tray, work bench, etc where the above
chemicals can be used without causing a problem
Step 1 Clean and evaluate
For dust use the window cleaner and an appropriate applicator and
clean. For grease or oil residue use Varnish Makers &
Painters Naphtha. For the sticky stuff from stick on labels
or paint spatter use OOPS!.
Step 2 Stabilize Rust and Corrosion
If there's raised islands of rusted metal knock them down by
scraping into the island so as to not scrape the good adjacent
metal using a small screwdriver or file. Then apply the rust
remover using a tooth brush and work it into the rust and
corrosion areas and let it sit some time. For very light
rust that might be 5 minutes and for heavy rust for 30 minutes to
longer. An occasional reapplication of fresh rust remover
and more brushing is good. Rinse thoroughly with running
water and wipe off excess water with rag and then blow dry.
Using the steel wool before and/or after using the rust remover is
good. When done you will still be able to see the spots
where the rust was, but the surface will feel smooth, not gritty
like when the rust is active.
Step 3 Check Function
If the flashlight is one where lamps and batteries are readily
available install them and check that the light works. When
the lamp is connected to the batteries directly using wires (i.e.
no part of the flashlight is being used) the brightness of the
lamp should be the same as when the lamp is used in the
flashlight. If the lamp is dimmer in the flashlight then you
need to clean the electrical joints. These include:
- the mating faces of the threads on the battery cap
- the mating faces of the threads on the lens cap
- the top and bottom surfaces of the battery cap spring
- the tip of the tab on the body that points to the lamp head
- the surface on the lamp head where the body tab makes
contact
- the mating surfaces between the reflector and the lens cap
(for flashlights that do not use an insulating ring here)
Step 4 Reduce the change of future Corrosion
I have not gotten to this step yet.
Apply wax to outer surfaces and polish to help prevent future runt
and corrosion. Not sure what to do for inner surfaces and
electrical parts. Have not yet done this pending
Patent Class Numbers
Utility patents use numerical class
and sub class numbers to specify the filed of the invention.
New things get invented and so new class and sub class numbers are
assigned. When new classes are assigned the classification
of an older patent may change to be in line with the new
numbers. The early patents do not have any class numbers on
the printed copy.
Both the Utility and Design class numbering systems are
indented. First by bold titles then by dots preceeding the
numbers.
362 is the key top class number for flashlights. The other
top class numbers are in some filed related, such as electrical
contacts, mechanical fastners, etc.
362
Illumination
157 Self Powered Lamp
159 through 182 non electric
200 &201 flat flashlight casing
202 through 206 cylindrical flashlight casing
207 spare bulb carrier
208 flashlight elements
185
Motors: Spring, Weight, or Animal Powered
186 Merchandising
200 Electricity: Circuit Makers and Breakers
429 Chemistry: Electrical Current Producing Apparatus,
Product, and Process
searching for railroad electric lantern also finds these which are
NOT the battery powered hand lanterns.
246
Railway Switches and Signals
353 Optics: Image Projectors
/43 Guns, Flashlights, battery
powered
445 Electric Lamp or Space Discharge Component or Device
Manufacturing
250
Radiant Energy
340
Communications: Electrical
29
Metal Working
220
Receptacles
439
Electrical Connectors
441
Bouys, Rafts, and Aquatic Devices [ is used without any 362 class
number]
.Marker
..with signaling device
...13 Illuminating
....16 Electric Light -
.....17 water activated switch
.....18 water activated battery
116
Signals and Indicators [ is used without any 362 class number]
18 Code Signaling
22R Periodic
200 Indicators
.202 Visual Light Signal
315 Electric Lamp and Discharge Devices: Systems
446
Amusement Devices: Toys [ is used without any 362 class number]
484 Electric
.485 with Lamp
Design patents use a class identifier that's the letter "D"
followed by digits for the class and after a slash the sub
class. Note a design is just that, i.e. it's how something
looks.
D10 Measuring, Testing, or Signaling Instruments
75 .Electrical Property
..77 Battery, vaccum tube,
transistor or spark plug tester (Excludes hydrometer)
104 Security or signal Instrument
or Casing
.109 Visual (Excludes
pyrotechnic flare)
..111 Lamp or Reflector
(Subject matter in this and indented subclasses is
distinguished from the subject matter in Class D26 in being
exclusively for signaling purposes. For Ilumination lamps,
or those combining both illumination and signaling
functions, see Class D26. For lantern or flashlight, see
D26.)
...114 Flashing, warning or
directing type
D13
is Equipment for Production, Distribution, or Transformatin of
Energy
134 Lamp Socket
D26 is Lighting
1 Light Source
2 .Electric Light
Bulb (including photo flash bulbs)
24 Light Fixture
37 .Hand-held, body-attached or
lantern type (Includes base. For lantern bracket, see subclass
138. For bulb cage, see subclass 119. For static signaling
lamp, see D10-114. For table lamp, see subclasses 93+.)
38 through 50 are in the subclass 37 single dot indent
51 through 59 is for combinations of a light fixture with
something else
60 through 67 is for how flexable the fixture is
68 on has to do with details
42 Firearms [ is used without any 362 class number]
Patents Pre Flash Light
188220 Electric Lighting Apparatus
for Lamps, William H. Zimmeeman, Mar 6, 1877,
361/264-
using wet batteries to light lamp in kerosene type table fixture
261352 Electric Lantern, John H. Irwin, Jul 1882,
362/183
; 362/186 - a kerosene type lantern with an electric lamp and and
external storage battery
263257 Electric Lamp, William L. Voelker, Aug 22, 1882 ,
307/157
; 307/155; 307/5; 315/291; 362/186 - wall mounted lamp, battery
powered
289425 Electric Light Lantern, carbon arc
296331 Portable Electric Hand Lamp, G.G. Gumpel, Apr 8 1884,
429/161
; 307/157;
362/186; 362/191 - like 377340
363959 Transparent Dial for Watches, CHARLES HUMBERT, May 31 1887,
362/23 ; 368/227- external battery light lamp in pocket
watch
377340 Galvanic Battery, D. Urquhart (New Portable Electric Lamp
and Power Co),
429/49 ; 362/186; 429/158; 429/219 - very
heavy secondary battery based lamp
413708 Electric Safety Lamp for Miners, Theophilits Goad, Oct 1889
- secondary battery based
423654 Coin Operated Display Apparatus, E.H. Amet, Mar 1890,
40/414
; 40/614; 446/164; 446/477; 446/9 - includes a small battery
powered electric light
436677 Electrical Head Light, J. Thorne & E.B. Burr, Sep 16
1890, - wet cells
455972 Electro-Medical Lighting Apparatus, P. Oudin,
600/249
; 116/35R; 340/321; 362/103 - small lamp on finger mount
458279 Portable Electric (Safety) Lamp, - for miners, secondary
battery
539192 Electric-Light Head-Gear for Personal Wear, Rodriguez, May
14 1895, - on hard hat
544419 Electric Wire Containing Hat or Cap Band, ALFRED M.
RODRIGUEZ, Aug 13, 1895,
188/233.3 -
572805 Electric Lamp, Louis A. Jackson (Acme Electric Lamp Co),
Dec 8, 1896, 362/197 ; 200/60 - Four Dry Cells powering a lamp
through variable resistance
578107 Electric Lamp, M.M. Kohn, Mar 2 1897, - small screw based
lamp in auto headlight housing on secondary battery
583945 Electric Light for Vehicles, ALFRED M. RODRIGUEZ, Jun 8,
1897,
310/129 ; 310/204- bicycle light with small
generator driven from tire
615686 Electric Lamp, WALTER SCOTT DOE (J.H. Westell), Dec 13,
1898,
24/600.9- wood box, reflector on large face panel on
top
646114 Portable Electric Lamp, A.F. Vetter (United States Battery
Co), Mar 27, 1900,
362/188 ; 362/203 -
669949
Facially-Supported Lighting Device,
J.B.
Underwood, Mar 12 1901 - like eyeglasses with remote battery
669100 Physician's electric Lamp, Purdy Randall, Mar 5, 1901,
362/202
; 600/249 - battery powered small lamp
689547 Illuminator for Firearms, Frank D. James, Dec 24 1901,
362/113
; 42/146 - revolver w/ battery in grip, lamp under barrel in tube
733766 Combined Portable Electric Lamp and Battery, M. Sutherland
& E. Marcuson, Jul 14, 1903 -
740671 Portable Electric Light, H. MacKaye, Oct 6 1903, - uses
three No. 6 Dry Cells in base of candle like light
753138 Portable Electric Light, Harry C. Hubbell, Feb 23, 1904,
362/164
; 429/156; 429/231 - four galvanic cells lugable but no pocket
754631 Lamp for Canes, Umbrella Sticks and the Like, J.W. Allen,
Mar 15 1904,
362/102 ; 135/66; 362/186
755584 Illuminated Timepiece Holder, W. J. Shepherd 9Geore
Stickney), Mar 22, 1904,
362/23 -
786040 Policeman's Mace (night stick), O. Liberman & T.
Scanlon, Mar 28 1905, -
801904 Electric Torch, J.C. PERRY, Oct 17, 1905,
42/54 ;
362/112; 42/106
- looks like cap and ball rifle
except has battery in stock and light at end of barrel
half cock = off, full cock = full on, pulling trigger makes a
flash of light.
A cap and be put on the nipple so a bang will coincide with the
flash of light.
864957 Portable Search Light, J. Dickens, Sep 3 1907 -
Scarf Pins
556080 Scarf Pin, H.V. Ashby, March 10 1896,
446/26 ;
40/1.6; 63/20; 63/31 - uses pneumatic, mechanical or
electro-magnet to move figure on pin.
Conrad Hubert
Conrad Hubert (aka Akiba Horowitz ) was the owner operator of
American Novelty. He hired David Misell who was an
inventor. Conrad wanted a cylindrical light that could be
put into a pants pocket. So what we today call a flashlight
is a battery powered portable light small enough to fit into a
pants pocket. If it's larger then it's called a
lantern. If it's small enough to fit into a pocket and not
be obtrusive then it's called a Pocket Flash Light, aka Vest
Pocket Light, Watch Pocket Light, etc. or a Pen Light.
David Misell Patents
362584 wet battery - Filed Sep 15, 1885
454184 Electric Head-Light, RICHARD PATTISON, Jun 16, 1891,
40/589
; 362/812, - for electric vehicle
520446 Electrically-illuminated clock where the wet
battery was 10x the size of the clock.
551394 Electric Light, Dec 17, 1895,
362/86 ; 315/360;
362/195; 362/395; 362/811 - a music box has a propeller like
metal part that acts as a switch to flash a decorative light as
it plays. powered by a large dry cell.
559143 Electric Light and Signaling Device - a box holding three
No. 6 dry cellsand a bicycle light on
the face
At this point David started working for Conrad.
603112 Electric Lamp, Apr 26, 1898,
362/190 ; 362/197 - a
box holding three early "D" cells with a headlight on the face
for use on a bicycle.
|
This is recognized as THE
first Flash Light patent.
617592
Electric Device, David Misell (American Electrical
Novelty Mfg Co.), Jan 10, 1899, 362/189 ; 200/60; 219/268;
361/264; 362/204
Conrad Hubert signed as a witness -
tubular pasteboard flash light with bulls
eye lens on end. |
This patent has a problem in that
both switch terminals are on the outside of the flash
light. When the switch is off if any metal that makes
contact with both terminals the light will be turned on.
This happened a lot when the flash light was stored in a tool
box where things like screwdrivers, pliers, etc. would activate
the light and run down the batteries. Even carrying one in
your pocket with metal keys would run down the
battery. Although the patent talks about a parabolic
reflector I think they were painted white and considering the
diameter of the #14 screw base bulb not much light came from the
reflector. Most came through the Bulls-eye lens.
The patent also covers a gas lighter that uses the same
cylindrical (the patent calls it tubular) battery and switch
housing, but replaces the reflector assembly with a long stalk
and an external hot wire to light gas.
The lamp, although made like others of the time, was a miniature
version specially made by Eveready and the patent talks a little
about it's construction.
700496
Electric Time Alarm, Conrad Hubert (not assigned), May 20, 1902,
368/259 ; 200/35R; 315/360; 362/253; 368/256 -
Clock on wood base with lamp in
front of clock dial
alarm clock or manual switch
turns on the light
839306
Electric Cigar
Lighter,
Dec 25, 1906, - uses D cell dry batteries not assigned so after
working for Conrad.
D29939
Design for a Portable Lamp-Body, Gustave F. Hitzelberger (American
Electrical Novelty Mfg Co.), Jan 3, 1899, D26/49
filed Dec 3 1898
Conrad Hubert signed as a witness -
tubular pasteboard flash light with bulls eye
lens on end.
The brand name for these Flash Lights was "ever ready".
Conrad set up a company to make the flashlight, batteries and
bulbs for them. Later the company name was changed to Ever
Ready.
A neighbor, Reed Anderson, was a
partner in the Anderson Jacobson company making acoustic modems,
but when Reed wanted to get into magnetic media Jacobson did not
want to, so Reed started Information Terminals Inc.
The floppy disks were branded Verbatim. Victor Borge
visited my house so Reed could show Victor what a home computer
looked like and in particular his 8 inch floppy
disks. Later they changed the company name to Verbatim.
D31711
Design for a Lamp-Body, Conrad Hubert (not assigned), Filed 18
Aug, issued Oct 24, 1899, D26/50 ; D26/36 - three side by
side cells and reflector for lamp. clover-leaf bicycle
light, Conrad Hubert ,October 24, 1899
599975
Portable Electric Lamp March 1, 1889 (3 months after the
Misell/Hubert patent) by Leonard Paget appears to be the oldest
patent in class 362/197 that uses cylindrical "cells" prior
portable electric lights used much heavier batteries. Class
362/197;
200/60
Same patent as
599975.pdf
595327
Electrical Igniter for Burners, S. M Meyer, Dec. 14, 1897,
431/262 ; 429/110 - uses cylindrical "cells" in a cylindrical
holder that's very similar to a flashlight case, but does not have
a lamp.
644860 Electric Gas Lighter, Conrad Hubert, March 6, 1900, 219/201
; 219/267; 219/268; 219/269; 361/264; 362/253 - This is like a
three "D" cell flashlight with a long stalk and at the end is an
exposed lamp filament that gets hot enough to light gas when
powered.
700650 Electric Lamp, C. Hubret,
362/208 - Clover leaf
bicycle lamp
729906 Electric Lamp, G. Stein, Jun 2 1903,
362/208 ;
313/51; 439/476.1; 439/613 - for doctor or dentist. probe
with lamp at end, separate battery box
737107 Electric Circuit-Closer, Conrad Hubert, Aug 25, 1903,
200/60 ; 362/205 - Switch like a small mouse trap that can be used
for a momentary contact or when pressed firmly the fabric snap (he
called it a Glove fastener) makes and holds the electrical
circuit. Uses a lens like on the Winchester flashlight
below.
741245 Electric Lamp or Candle, Conrad Hubert, Oct 13, 1903,
362/190
; 200/60; D26/96 - button on base handle
812710 Portable Electric Lamp Outfit, A. Wilson, Feb 13, 1906,
362/208
; 315/33 - lugable lamp, cord and battery box
818449 Portable Electric Light, Conrad Hubert, Apr 24 1906,
362/200
; 200/60 - Pocket Flash Lights of small size
835529 Portable Electric Light, Conrad Hubert, Nov 132 1906,
362/201
; 200/52R; D26/37 - whisky flask Pocket Flash Light
857599 Engine Starter, Clyde J. Coleman (Conrad Hubert), Jun
25, 1907, 185/41R - a combined spring, planetary gear and clutch
to start a car engine.
867797 Engine Starter, Clyde J. Coleman (Conrad Hubert), Oct
8, 1907, 123/179.7 ; 123/179.5; 123/434; 123/576; 261/18.3 - this
one uses compressed air
1047525 Portable Electrical Light, Conrad Hubert, December 17,
1912, 362/208 ; 200/60; 362/201 -
Pocket Flash
Light
1056971
Method of Making Vacuum Jacketed Vessels, Clyde J. Coleman
(Conrad Hubert), Mar 25, 1913, 65/34 ; 215/12.2; 65/42 - Thermos
bottle (
Wiki)
1035879 Portable Electric Light, Conrad Hubert, Aug 20, 1912,
362/201 ; 200/60 - uses a bare flattened bulb and a battery that
might be a couple of AA cells side by side with projecting
sheet metal contacts, one longer than the other. There was a
flashlight on eBay shaped like a pistol that used the same battery
which is no longer available.
1157395
Portable Electric Light,
Conrad
Hubert, Oct 19, 1915,
362/208 - The circuit between
lamp socket (1) and the metallic reflector (2) is broken by the
insulating sleeve (3) disk (5). Lamp socket (1) is
electrically connected to contact plate (6). This patent
covers the insulating disk (5) and contact plate (6) showing a
movable tab (20).
Brooke's Note: The actual switching action can be between a
movable tab (20) and the contact plate (6) or the tab (20) can be
stationary and the actual switching is done at the swith 19.
1220634
Portable Electric Light, Conrad Hubert, Mar 27, 1917,
200/60
; 362/205; 362/310 -
calls 1157395 for the insulating disk and contact plate
configuration.
Although this patent is a couple of years older than the Oct 19,
1915 date stamped into the switch on this flashlight, it shows the
push button switch (non sliding). Inside it does use the
insulating disk and contact plate from the Oct 19, 1915 patent.
1186197 Portable Electric Light, Conrad Hubert, Jun 6, 1916,
362/205
; 200/60- uses single
No.
6 Dry Cell, handle on side, reflector & lens on top
1186198 Portable Electric Light, Conrad Hubert, Jun 6 1916, -
House Lamp, sort of like bicycle lamp, three horizontal
cylindrical cells reflector - lens on side
1205628 Portable Electric Light, G.F. Hitzelberger (American
Eveready Co), Nov 21 1916,
200/60 ; 200/542; 340/321;
362/195; 362/206; 362/810- Candlestick cylindrical batteries in
stem, push push on/off
1205629 Circuit Controller for Portable Electric Lights, G.F.
Hitzelberger (American Eveready Co), Nov 21 1916, - rotary switch
1205633 Portable Electric Light, C. Hubert, Nov 21 1916
362/186-
looks like kerosene
hurricane lamp
1220634 Portable Electric Light, Conrad Hubert, Mar 27, 1917,
200/60
; 362/205; 362/310 - big cylindrical battery, switch details,
reflector and lens
calls 1157395 for the insulating
disk and contact plate configuration.
1246876 Battery Capping Machine, Conrad Hubert, Nov 20, 1917,
29/623.1 ; 144/245.1; 144/250.24; 29/730; 29/790 - replaced hand
operation. Used to apply the small brass cap to the carbon
rod. <---------------
Dry
Cell Battery patent
National Carbon Co.
1212907 Battery Lamp, W. R. Clymer (National Carbon Co.), Jan 16,
1917, 362/201 ; 362/295 - resistance in series with battery that
can be shorted out
1241077 Portable Electric Light, W. Bauer, Sep 25 1917,
362/197
; 200/60; 340/321 - the side mounted reflector and top bail like a
RR lantern
cylindrical battery box holds
triangular battery made from three cells side by side
Might be the 4701 Watchman's
lantern?
 |

|
|
The data sheet says:
4" x 1 3/8" x 3 1/8" but this fold up is a little
smaller.
The three "D" cells fit nicely but "F" cells are much
too large.
It fits the Watchman's 4707 very well.
|
This is the Eveready 4707 Watchman's Lantern
It has the Eveready trifoil logo on the back.
Max battery size 4 x 3.25 x 1.375 inches. Most likely a
three cell. But "F" cells are too big. "D" cells
with their axis horizontal might just fit.
Lens is a little under 2 1/2" diameter.
There are a four fiber board sheets that are now warped.
To make the light functional they need to be rejuvinated.
The 3R12 might be too small and the 3E25 too large.
The 1215 4.5 Volt Hand Lamp battery is a good fit.
E10 based lamp is open and has no voltage markings.
1264520 Flash Light Battery, M.E. Holmes (National Carbon Co), Apr
30 1918,
362/206 ; 200/60; 338/101; 338/71; 429/97 - uses
rheostat
"From this it will be
evident that the incandescent lamp is subjected to a
considerable excess voltage when used in combination with a new
battery."
1363698 Portable Electric Light, Wacker (National Carbon Co), Dec
1920 - bicycle lamp
1388850
Storage battery,
Thomas
R Cook,
Westinghouse
Union Battery Co, 1921-08-30, - cylindrical lead acid
battery shipped dry for use in a flashlight.
1490448 Dry Cell of the Flat Type and Battery Formed Therefrom,
Raymond C. Benner, Apr 15, 1924,
429/155 ; 429/160 - flat
cell
1508987 Battery of Day Cells and Process of Assembling Same, C.S.
Rider, Sep 16 1924,
429/149 ; 429/162; 429/210 - replaces
cylindrical cells in B batteries.
1540372
Flash-light holder,
Clarence
M Sears, 1925-06-02, - headband, but classical shape
flashlight points towards feet. (not Sears Co related)
1788575 Battery Hand Lamp, H.W. Jones (National Carbon Co), Jan 13
1931,
362/208 362/207 -
1797161 Battery of Dry Cells and Process of Assembling the Like,
E.J. Strohl, Mar 17 1931,
429/149 ; 429/162; 429/210 -
flat cell battery
1820620 Focusing Flash Light, H.W. Jones (National Carbon Co), Aug
25 1931, - single hand focus flood or spot screw base bulb
1909278 Battery Lantern, HOMER W. JONES, May 16, 1933,
362/197
- thre cell rectangular. one across top and one on either side
of the side mounted reflector, similar to the watchmans.
2323312
Electric torch,
William
C Crimmins,
Sears
Roebuck and Co, 1943-07-06, - bicycle headlight
3 D Cell with Prefocused Lamp Eveready A
National Carbon Company Product
This 3 D cell flash light uses a prefocused lamp with a
flange. These were patented by GE starting in 1934.
The parabolic reflector appears to be chrome plated unlike the
silver plated reflector on the vulcanite bodied 2 D Cell Eveready
Flashlight. This light uses a flat glass lens, not the
walleye lens. When you shine the beam on a wall the image of
the filament coil is easy to see.
I would expect a patent or two to cover this light dated 1930
something but have not found them.
 |
The photo was taken after
cleaning and steel wooling both the inside and outside.
The light came from eBay missing the lamp. I used a
radio shack 272-1158 lamp labeled KPR103 Krypton
Flashlight Lamp. And mis labeled "for "C" and "D"
2-cell flashlights". Clearly a two cell flashlight
using the highest voltage cells (Alkaline) can only
produce 3.0 volts maximum, yet this lamp is rated 3.6
Volts, 800 ma, bulb type B-3½ Base: Single-contact
miniature Flange Ave Life 15 hours. This really is a
lamp for a three cell flashlight where the peak voltage
with fresh alkaline cells would be 4.5 V and when they
were dead of about 3.0. Half way between those
voltages is about 3.75 which is very close to the 3.6 V
for this lamp. |

|
This shows the back side of the reflector with the lamp
assembly installed correctly. There are a bunch of
ways it can be installed improperly.
Although not clear in this photo, there is an insulating
gasket between the reflector and the cap. Battery
negative is on the cap. Battery negative is on the
tab coming from the body when the switch is on and the
battery is disconnected when the switch is off. The
tab is fixed in position, i.e. it's not a sliding
tab. The lamp center contact is always on the
battery positive terminal.
|

|
The can on the right has a
leaf spring in the bottom that contacts the tip of the
lamp.
The cap on the left screws onto the can trapping the lamp
and allowing the lamp to make contact on the flange.
The outside diameter of the cap is a snug fit into the
hole in the reflector and a slight clearance fit in the
hole is the small parabolic metal part.
The purpose of the small parabolic part is not
clear. Maybe to fix a mistake in the focus?
This is a much more complex way of holding a PR series pre
focused lamp than the more modern flashlights and is
probably one of the first flash lights made to use the pre
focused lamps. A 2 D cell light most likely was the
first.
|

|
|
Ever Ready (Eveready)
Most patents are from the 1980s onward.
Conrad Hubert, National Carbon Co (
Wiki)
and Ever Ready (later Eveready) are all related companies.
966421 Portable Electrical Measuring
Instrument, Walter E. Beede, Aug 9, 1910,
324/145 -
pocket watch case 0 - 30 Amp meter. See my
No. 6 Dry Cell web page and the
Flash Amps section.
1828778 Electric Torch, J. Lister (Ever Ready UK), Oct 27 1931,
362/158
; 362/187 - explosive atmosphere flashlight
3020396 Flashlight Optical System, Arthar Frederick Worboys (Ever
Ready UK), Feb 6 1962,
362/331 ; D26/49 - two lens
elements adjust the beam from spot to wide
Union Carbide
2166682 Flashlight, H.G. Graubner (Union Carbide), Jul 18 1939,
362/157
220/304 362/208 -
2886664 Flashlight and Switch, Herman G. Graubner (Union Carbids),
May 1959, - switch has magnet
Burgess Battery Co.
March 1917 company formed.
University of Wisconson - page about
Ray-O-Vac,
Burgess, French Battery Co, etc.
1082887 Contact Device for Hand Lamps, Lorenz Maisel (Northern
Chemical Eng Labs), Dec 30 1913,
362/204 ; 200/60;
362/187; 362/205 - adjustable focus
Lorenz worked for Burgess and this
patent was acquired from him making it the first one for the
company (Ref: Utley pg 5)
1084926 Hand Lamp, Charles F. Burgess
(Burgess Batt Co), Jan 20, 1914, 362/187 ; 362/204; 429/97 -
focusing lens, bayonet battery cap
" RE15022 Hand Lamp, Charles F. Burgess, Jan 11,
1921
The Chinese copy of the Cree UltraFire Hwa Wys single
AA battery LED flashlight has a sliding lens that works as
described in this patent.
When the slide is pulled out the image of the LED is collimated
light and you can see the details of the LED chip.
1284583 Apparatus for Making
Battery Wrappers, Charles F. Burgess, Nob 12, 1918, 493/175 ;
493/153 <-----Dry Cell Battery patent
1305250 Manufacture of Dry Cells, Charles F. Burgess (Burgess Batt
Co), June 3, 1919,
1305251 Manufacture of Dry Cells, Charles F. Burgess (Burgess Batt
Co), June 3, 1919
1342001 Dry Cell, Walter B. Schulte, June 1, 1920, 429/121 ;
429/181; 429/229; 439/766 - No. 6 <---------------
Dry Cell Battery patent
1354323 Battery Hand Lamp, Lorenz Maisel, Sep 28, 1920, 362/204 ;
200/60 - a nut that looks like a lighter flint wheel is turned on
a screw to make or break the electrical connection.
1403538 Battery Hand Lamp, Charles F. Burgess (Burgess Batt Co),
Jan 17, 1922, 362/187 ; 200/60; 340/321 -
1606286 Dry Battery, John S. Zook, Nov 9, 1926, 429/151 ; 429/160
- 2.5" square "B" battery with cells slopped
1637711 Apparatus for Inserting Dry Cell Cores into Cans, H.A.
Ring, Aug 2, 1927, 53/239 ; 53/248; 53/255- <---------------
Dry Cell Battery patent
1669054 Apparatus for Assembling Galvanic Cells, H. D. Hodge, May
8, 1928, 53/239 ; 429/122; 53/240; 53/250 <---------------
Dry Cell Battery patent
1763874 Battery Hand Lamp, John S. Zook (Burgess Battery Co),June
17, 1930, 362/199 ; 429/97
References:
1701093 Battery Hand Lamp, J.S. Zook (Burgess Batt Co) -
Snap-Lite
1778568 Hand Lamp Holder, Walter B. Schulte, Oct 14, 1930,
248/226.11 ; 248/224.8; 248/231.21; 248/314; 362/24; 362/396
1792185 Battery Hand Lamp, Feb 10, 1931, 362/199 ; 439/667-
bulb-socket assy is rotated as switch
1916709 Dry Battery, (Burgess Batt Co), JAMES GARFIELD ZIMMERMAN,
Jul 4, 1933,
429/149 ; 429/162 - small cells to make B
batteries.
1945016 Battery Hand Lamp, John S. Zook, Jan 30, 1934, 362/186 -
Railroad Type
1986281 Hand Lamp, Halyard F. Nygard, Jan 1, 1935, 362/197 ;
200/551; 200/60 - 45 deg swivel allows straight or angle head
operation
References:
Snap-lite
D100199 Design for a Dry Cell Battery, Charles F. Burgess, June
30, 1936, D13/103- hexagon with spring contacts on each end, why?
2134856 Flashlight, Charles F. Burgess (Burgess Batt Co), Nov 1,
1938, 362/205 ; 362/191
2134857 Hand Lamp Switch, Charles F. Burgess (Burgess Batt Co),
Nov 1, 1938, 200/60 ; 200/293.1
2231320 Dry Cell, Charles F. Burgess (Burgess Batt Co), Feb 11,
1941, 429/166 ; 429/133; 429/94 - No. 6 <---------------
Dry Cell Battery patent
2279575 Dry Cell, H.E. Lawson, Apr 14, 1942, 429/166 ; 429/134;
429/199 - wood balsam slows down corrosion of the zinc and extends
shelf life
2390890 Method of Soldering, Allison M. MacFarland, Dec 11, 1945
228/179.1 ; 219/85.15; 228/246; 228/56.3; 228/58- combine 4 "F"
cells to make 6 V Lantern Battery <---------
Dry Cell Battery patent
D143358 Design for Flashlight, Earl L. Schofield, Dec 25, 1945,
D26/46 - not symetrical about the long axis
2416978 Capillary Transducer, Charles F. Burgess (Burgess Batt
Co), March 4, 1947,310/300 ; 367/143 - liquid pressure to/from
electrical energy
" RE22971 Capillary Transducer, Charles F.
Burgess (deceased), Feb 10, 1948, 310/300 ; 367/143
2637756 Deferred Action Battery, J.J. Coleman, et al, May 5, 1953,
429/119 -
2666803 Battery with Conductive Wax Intercell Connections, Sam
Kurlandsky, (Burgess Batt Co), Jan 19, 1954, 429/159 ; 174/126.2;
252/514; 429/160; 429/162; 429/163 - I remember taking apart a 9
volt battery and finding this wax type substance inside.
Didn't know at the time that it was mostly silver.
2705253 Primary Battery, F. J. Kirkman, March 29, 1955, 429/133 ;
429/153; 429/209
2706214 Battery Having a Seal-Closure, Ray D. Arbogast, Apr 12,
1955, 429/66 ; 429/162; 429/185
2708684 Primary Cell, John I. Grieve, May 17, 1955, 429/133 ;
429/162; 53/227 - stackable button cells to make small higher
voltage batteries.
D177955 Bracket for a Flashlight or the Like, Ray D. Arbogast,
June 12, 1956, D8/355 ; D8/354; D8/396 -
2826626 Electric Battery, Milton E. Wilke, Mar 11, 1958, 429/118 ;
429/162 - deffered action
2829188 Deferred Action Battery, Harrison M. Mcdonald, Apr 1,
1958, 429/115
Bright Star Battery Co
290943 Secondary-battery electrode
Candle Shaped Battery Powered Lights
711624 Candle Holder, MORITZ HAMMERSTEIN (Max Blau), Oct 21, 1902,
362/190 ; 200/52R - Alladan's Lamp w/pop up electric lamp
741245 Electric Lamp or Candle, Conrad Hubert, Oct 13, 1903,
362/190
; 200/60; D26/96 - button on base handle
744530 Portable Electric-Lighting Apparatus, Edwin E. Gill
(Electric Contract Co ECCO), Nov 17, 1903,
362/190 -
1152580 Electric Switch, Louis Weidlich, Sep 7, 1915 - bar switch
used on an electric candle.
1196913 Electric Candle-Lamp, Louis Weidlich, Sep 5, 1916, - uses
a pointed thumb screw to pierce the cardboard battery jacket as
switch
1205628 Portable Electric Light, G.F. Hitzelberger (American
Eveready Co), Nov 21 1016,
200/60 ; 200/542; 340/321;
362/195; 362/206; 362/810- Candlestick cylindrical batteries in
stem, push push on/off
1335644 Portable Electric Light, B. Benedict (Beacon Minature Co),
Mar 30 1920,
362/190 ; 429/99- Candle type cells in stem,
Electric Candle
1421561 Battery Candle, July 4, 1922 , 362/189 ; 429/99 -
1474451
Electric
Candle, T.
Stuckelberger, Nov 20, 1923,
1477875 Electric Candle, M. L. Kaplan, Dec 18 1923,
362/194
362/189 - no metal case around candle, just the battery
1477876 Electric Battery Lamp, M. L. Kaplan (not assigned), Dec 18
1923,
362/194 -
1477877 Electric Battery Lamp, M. L. Kaplan, Dec 18 1923,
362/194
429/96 -
1477878 Electric Battery Lamp, M. L. Kaplan, Dec 18 1923,
362/194
Dura Company
In 1920s main products window mechanisims and door
handles for cars. Then interior lights for cars
and clock cases.
D85930 Electric Candle, George Graff (Dura Co), Jan 5,
1932, D26/96 ; D26/21 - Eveready No. 1653
1915125 Electric Light, Burton S. Floraday (Dura Co),
Jun 20 1933, 362/191 ; 200/60; 362/394 - Early
No. 1653
D84077 Light, George Graff (Dura Co), Jan 5, 1932, D26/96
; D26/21 - No. 1654
D85931 Light, George Graff (Dura Co), Jan 5 1932, D26/87
- Wall mount version of No. 1654
1918803 Electric Light, Burton S. Floraday (Dura Co),
Jul 18 1933, 362/191 ; 362/394- wall mounted
version of No. 1654
1923861 Light, Burton S. Floraday (Dura Co), Aug 22,
1933, 362/190 ; 307/157; 315/363; 362/203
1926377 Light, Burton S. Floraday (Dura Co), Sep 12
1933, 362/190 ; 362/186 - Lighting aspects of
No. 1654
1937111 Electric Light, Burton S. Floraday (Dura Co),
Nov 28 1933,200/60 ; 200/567; 362/186; 362/195;
362/206; 362/810 - Switch aspects of Eveready No. 1654
1949538 Electric Light, Burton S. Floraday (Dura Co),
Mar 6 1934, 200/60 ; 200/4; 200/85R; 362/190 -
No. 1654 different switch
|

|
This one has a rotary
switch on the bottom with positions for OFF, Auto, On
and a push button that will turn the light on when in
Auto mode and it's lifted. Two concerns:
- Old batteries have drained into the cup of the
base where the battery spring and a post are
located. The post is threaded and unscrewing
it gives access to the switch compartment. The
cup has been sitting a Kroil for
a number of days, hopefully I can get into the
switch compartment and clean it up.
- The three dots in the black band are Radium
activated glow in the dark markers. The idea
is that when you need to find the light when
it's dark, the marker dots will guide you. On
this light so far I haven't seen them glow.
They do emit about 10,000 Counts per Minute into a
pancake Geiger tube. These are not dangerous
if left alone. It would be bad to sand the
dots and make radioactive dust.
On the bottom is a metal plate that's attached by what
looks like tubular rivets, but they are really part of
the candle pot metal base that's been treated like a
rivet. To remove the metal plate just grind off
the top part of the rivets.
On the back of the switch lever and a part of it is a
stair step contact. Below is a lever hinged on one
end from an insulating block, a spring connects the
lever to the center contact that goes up to the battery
spring. The other end of the lever is pressed up
against the black button. My switch was not
working. The problem was that either the star
washer that you can see on the bottom center which is
supposed to take all the slack out of the switch lever
to metal plate joint lost it's spring or the lever got
bent a little. By reforming the lever with pliers
it now works like new. To reattach the metal plate
the holes were drilled and tapped 2-56 and pan head
screws were used.
|

Eveready No. 1653 Candle stick light showing switch
The three screws are
replacing the pot metal that was formed like an eyelet
to hold the bottom cover.
The black button is the switch used for automatic
operation. The rotary switch is labeled "Auto"
and the positions are Out (shown) off, "Constant" auto
function works and "On" where the light is on all the
time.
It seems the labels don't match the function too well.
|
1479860 Electric Candle,G.M. Lewis, Jan 8 1924,
362/190
; 362/186; 362/203 - has tapered bottom to fit candle holders
1518530 Electric Lamp, CLABENCE LIPPER, Dec 9, 1924,
362/190
; 362/203; D26/96 - candle type lifting disk turns on lamp
1916472 Candle Flash Light, ISAAC X. FERRIS (Bridgeport Metal
Goods Mfg Co), Jul 1933,
362/190 ; 362/186; D26/40 -
2031507 Electric Candle, Gloekler (H.Hyman), Feb 1936,
362/190
-
1901589
PICK-UP
CANDLE LIGHT
1980040
CANDLE
LIGHT (Bond)
2002602
Flash
Light of Candle Type, H.G. Graubner (National Carbon Co), May 28
1935, 362/190 ; 200/60- easy to form light metal outer shell
with internal weight for stability
2049762 Portable Electric Lamp, Roy L. Darling (Bond), Aug 4,
1936, - Candle type with lamp at top and another at bottom
2704322
BATTERY
OPERATED CANDLE
3233093
PROCESSIONAL
CANDLE
3194955
ARTIFICIAL
CANDLE
3373274
ELECTRICAL
CANDLE APPARATUS
3340391
BATTERY-OPERATED
DECORATIVE CANDLE LIGHT
3355582 Battery Powered Lighting Device, Eugene A. Swee (Miner
Ind), Nov 1967,
362/190 ; 362/203 - candle light with
decorative globe
3586320
POP-UP
CANDLE AMUSEMENT DEVICE
3762857
CANDLE
INTERNAL ILLUMINATOR AND MOUNT BASE
3761702
INTERNALLY
ILLUMINATED CANDLE
3890085
ILLUMINATED
CANDLE STRUCTURE
4187532
Electronic
candle
4399496
Battery powered lamp device
4568269
Musical
candle
4680683
Battery
and bulb conversion cartridge for self-feeding candle holder
4755135
Candle
device
4839780
Simulative
candle
5057005
Candle
device
4983119
Musical
candle actuated by thermistor switch
5097180
Flickering
candle lamp
5015175
Melodic
candle assembly
5069617
Wax-accumulated
musical candle
5174645
Electric
candle with sound producing means
5419527
Candle
holder
5487658
Safety
device for novelty candle holders
5683239
Candle
holder
5601272
Candle
holder
5622490
Candle
holder
5673802
Rotatable
cake candle holder
5600209
Electronic
candle simulator
5807096
Decorative
candle assembly
D406379
Electronic
candle
6066924
Candle
emulation
6017139
Electronic
candle
RE37168
Electronic
candle simulator
6267584
Prayer
candle device
6273710
Prayer
candle device
6270339
Prayer
candle device
6439471
Candle
fountain
6468071
Prayer
candle device
6520770
Prayer
candle device
6616308
Imitation
candle
6808297
Decorative
candle lamp
7029146
Flameless
candle
6685345
Convertible
candle lamp and method
6685337
Combination
flashlight and candle lantern
6880958
Electric
lighting device in the form of a candle
6981786
Electrical
candle lamp
6929381
Solar
powered electric candle
6926423
Light
with simulated candle flicker
7011426
Modular
electronic candle
7063526
Refillable
melody candle
7098600
Candle
with internal illumination
7178939
Electronic
simulation candle
7201500
Candle
with LED simulated flame
7121686
Candle
light-diversifying device
7182489
Electrical
candle lamp
D85929 Portable Electric Lamp, George Graff (Dura Co), Aug 23
1960,
D26/41 ; D26/96 -
D29955
Electric
candle
References:
D99892 Combined Electric Candle,
Leo Pollock, Jun 2 1936,
D26/96 ; D11/121
D110631 Candelbrum, Schachter, Jul 26 1938,
D26/96 ;
D11/121; D11/122
D118552 Candle holder or similar article
D158146 Electric Glow Candle, George W. Strayline, Apr 11 1950,
D26/96 ; D26/21
D11901 Design for Lamp Shade
D75666 Electric Candle Light, CHABLES WACHTEL, Jun 26, 1928, D26/96
D121692 Perfume holder
1166003 Portable Electric Lamp, C. SECXEB (WATSSSUST SIPG),
Dec 28, 1915, 362/190 - single D cell
1236657 Portable Electric Lights, Bauer (National Carbon Co),
Aug 14 1917, 200/60 ; 362/195; 362/206; 362/810;
D26/93 - lever switch below batteries
D222592 Candolier
D267981 Electric Candle Stick or the like, Fred W. Montague,
Jr., Feb 15, 1983,
D267,981
978163 Electric Lighting Fixture, LEMUEL B. HOPTON (ENDS Co),
Dec 1910,
362/392 - looks like retrofit on gas fixture,
no battery
1205628 Portable Electric Light, G.F. Hitzelberger (American
Eveready Co), Nov 21 1916
1297653 Dry Battery, Charles Burgess (Burgess Battery Co),
Mar 18 1919,
429/157 ; 362/195; 362/203; 362/810- long
battery with socket at top for use as candle
1486815 Electric Fitting, Trotter, Mar 11 1924,
200/51.01
; 362/392; 439/123 - for house wired candle
1842167 Candle Lamp, JAMES DOYLE HALL - house voltage lamp like
candle
1937111 Electric Light, Burton S. Floraday (Dura Co), Nov 28
1933,
200/60 ; 200/567; 362/186; 362/195; 362/206;
362/810 - both manual and automatic switching
1954756 Detachable Light & Clamp - house wiring
2032451 Electric Candle, house wiring
3194955 Artificial Candle, Roderic M. Koch, Jul 13 1965,
362/202
; 362/810; D26/96 - ho hum
References:
1710418 Safety Candle, CHARLES O. GROSS, Apr 23, 1929, 362/190
-
2097222 Flashlight, Tompkins (Scovill Mfg), Oct 26 1937, 362/187
; 200/60; 362/205 - streamlined shape
2296287 Electric Water Light, Glen W. Leyde, Sep 1942, 441/16
; 362/158; 362/203 - floats and is bottom heavy, candle shape
with small version of lighthouse lens
2377161 Electric Safety Water Light, Augustus J. Le Strange,
May 29 1945
2381520 Electric Torch which Floats Lamp Uppermost in Water,
Charles Wallace Saunders (GE), Aug 7 1945, 441/16 ;
362/158; 362/186; 362/206 - water rescue
3233093
PROCESSIONAL
CANDLE
3368107 Oscillator Circuit, Clifford D. Skirvin (Microdot Inc),
Feb 6 1968,
315/209R ; 315/223; 315/DIG.7; 331/112;
362/810 -
4460683
4680683
D188691 Portable Electric Lamp, Albert Gelardin, Aug 23 1960,
D26/41
; D26/96 -
Refeences:
D85929
D151037
D175359
741245 Electric Lamp or Candle, Conrad Hubert
1196913 Electric Candle-Lamp, Louis Weidlich
Got this on eBay for 99¢ hopping that the lamp would work in the
Eveready 1653, but it uses a 12 mm Edison screw base, not the 10
mm.
Uses a couple of "C" cells for power. The brass lamp socket
works as the switch. 7" tall w/o lamp and 9 1/2" tall w' lamp.
Made in Taiwan
"Solid Brass Battery Lamp"
Item No. 6817
The box shows a red stick, this one has a white stick.
Table Lights
Eveready No. 2238 Table Masterlite
The model 2238 is part of the Art Deco Masterlite series and is a
table light, not a wallite. In 1935 they sold new for $2.50.
At 6% per year inflation that would be $176 in 2008.
When sitting on a table it's pleasing to look at. If you
grab the milk glass globe and lift it very gently the light does
not turn on, but if lifted normally it turns on.
When sitting on the table a soft light comes from the milk glass
globe, similar to a candle light, but much nicer since it's
diffused and is a warm color. On the bottom there are 4
rivet heads that it sits on so there's a small gap that lets out a
little light from the reflector.
When lifted up there is a reflector and it can be operated like a
normal flashlight. The lamp is mounted "backwards" in
the reflector, i.e. the bulb is facing the reflector not the front
like in normal flashlights. This allows light to reach the
globe and the reflector. But it makes it harder to adjust
the focus of the lamp in the reflector which requires opening the
case, turning the brass knob, closing the case testing the beam
shape, and repeating a number of times.
The base is marked:
Eveready Masterlilte Made in U.S.A. Pat. Pend.
<--------Turn To Open
The 1 7/8" diameter glass globe is made with very thick glass and
is very strong. I wonder if it's also used on walking canes?
Uses a couple of "C" cells. Weighs 1 pound 3 ounces a
substantial heft. 4" diameter x 3 1/2" overall height.
The four vertical ribs are formed leaving a slight gap behind
each. If a flat blade screwdriver is placed in two of these
gaps (after rotating the base counterclockwise, there is a recess
in the base to make it easy to remove. The slots to use are
the ones NOT adjacent to the two outer rivets that hold the
reflector.
Brass sheet metal is used for the wiring and is trapped by
wrapping an insulator around it then wrapping other sheet
metal. The same method as used for the Art Deco Pocket
light.
A box 4" x 4" x 4" will hold the table masterlite.
Bill Utley's page 224 has a photo of Evenlyn Kelley on the set of
"Anything Goes" with the table masterlite on a bedside stand along
with a
Western Electric 202 telephone.
2152187
Flashlight, Herman G. Graubner (Union Carbide),
(filing: Oct 25, 1935) Mar 28, 1939, 362/186
; 200/60; 250/462.1; 362/187 -

|
D100074
Herman G. Graubner (Union Carbide),
(filing: Oct 21, 1935) Jun 16 1936, D26/40

|
 |
 |
 |
Herman G. Graubner Patents:
1788575 Battery Hand Lamp, Homer
W. Jones & Herman G. Graubner (National Carbon Co), Jan 13
1931,
362/208 ; 362/207
storage for two spare lamps
1802712 Handlamp Switch, H.G. Graubner (National Carbon Co),
Apr 28 1931,
200/60 ; 200/548; 200/550; 362/205 -
switch inside case and immune
from battery interference
1838306
Flash Light, Herman G. Graubner
(National Carbon Co), Dec 29, 1931, 362/191 ;
362/253 - police whistle in battery cap
1900348 Flash Light, H.W. Jones & H.G. Graubner (National
Carbon Co), Mar 7, 1933,
362/189 ; 362/195; D26/37-
POCKET FL w/bulb protector
hood, maybe uses 706 3 V battery? fells like Snap-lite
1937651 Flash Light Switch, H.G. Graubner (National Carbon
Co), Dec 5 1933,
200/60 ; 362/205
switch has extension finger
that makes contact with reflector when forward
2002602 Flash Light of Candle Type, H.G. Graubner (National
Carbon Co), May 28 1935,
362/190 ; 200/60-
easy to form light metal
outer shell with internal weight for stability
2140908 Flashlight, Herman G. Graubner & Albert G.
Saurwein (Union Carbide Corp), Dec 20, 1938,
362/187
; 200/60 -
Art Deco cylindrical
2147368 Flashlight, Herman G. Graubner (Union Carbide Corp),
Feb 14, 1939,
362/157- Masterlite cylindrical case (no
rolled threads)
2151910 Electric Switch, Herman G. Graubner (Union Carbide
Corp), Mar 28 1939,
200/60 ; 200/558; 200/569-
switch contains toothed
wheel or lever, multiple designs
2174877 Switch, Herman G. Graubner (Union Carbide Corp), Oct
3, 1939,
200/60 - Art Deco "pleasing in size and
contour"
mentiones a number of problems
with other switch designs, are these Eveready or other
switches?
2823300 Light Modifying Attachment for Flashlight, Herman G.
Graubner (Union Carbide Corp), Feb 1958,
362/186
; 340/321; 362/208; 362/317; D26/49
References:
1233495 Light Diffuser for Automobile Headlights
1330481 Deflector for Headlights
2413484
Test Light, J Berger, Dec 31 1946,
324/506 ;
362/120; 362/202 -
two AA penlight with probe
and detachable lead w/ alligator clip to make continuity
tester.
Can be used on lathe or other machine tool to check runout
using probe
2486998 Safety Flashlight with Integrally Mounted Sheath,
Harry J. Szeklinski, Nov 1 1949,
340/321 ;
340/815.42; 362/102; 362/205; 362/293
References:
2179777 Finger Signal, Myron L. Davis, Nov 14 1939, 340/321
; 362/103; 362/200- worn on the left hand of car driver,
illuminated arrow
2242981 Illuminated Twirling Baton, Pedersen, May 20 1941,
362/577 ; 340/321; 362/102; 362/558; 84/477B;
D21/400 - designed to be dropped
2362131 Luminous Baton, Haggart (Signal Service Corp), Nov
7 1944, 340/321 ; 340/815.42; 362/102; 362/293;
84/477B; D10/114; D26/49 - add on to flashilght
2431091 Multicolored Electric Flashight, Robert B. Thomas,
Nov 18 1947, 340/321 ; 340/815.67; 362/184;
362/242; 362/577; 40/555 - multiple lampps
2615096 Indicator for Telephone Switchboards - electric lamp
with lens and hood
2166682 Flashlight, H.G. Graubner (Union Carbide), Jul 18
1939,
362/157 220/304 362/208 - Masterlite
cylindrical
2886664 Flashlight and Switch Theerefore, H.G. Graubner (Union
Carbide), May 12 1959,
200/60 ; 362/398
switch has magnet
3237184
Signal Lantern and Switch Menas
therefore, Herman G. Graubner (Union Carbide Corp),
Feb 22, 1966,
340/321 ; 200/530; 200/60; 218/89;
340/473 -
top that attaches to screw
terminals on 6V large lantern battery, sealed beam lamp see:
D190520
D190520 Flashlight, Herman G.
Graubner (Union Carbide Corp), Jun 6 1961,
D26/44 ;
340/321
References:
D177534 Torch Head Safety Flashlight, Arthur H. Moore, Apr
24 1956,
D26/113 -
References:
D120669 Flashlight, Jules P. Gits (Gits Moulding Corp),
May 21, 1940, D26/49 -
D126574 Flashlight Head, Cyril P. Deibel, Apr 15 1941, D26/113
; D13/150-
2340530 Traffic direction
2553100 Film Viewer Flashlight Attachment, Clarence Still
Lynch, May 15 1951, 40/362 ; 353/43; 362/277;
362/356; D26/46 - slot holds 35mm slide
D187338 Electric Lantern, Chan Pak Chun, Mar 1 1960,
D26/44
- hor 6 V lantern batt tilt up tail swivel lamp head
References:
D125892 Handle for an Iron, Charles S. Jackson, Mar 1941
2861174 Signal Hand Lamps, Talbot, Nov 18 1958
2628305 Battery Retainer for Electric Hand Lamps, Talbot,
Feb 10 1953,
362/208 D26/50 - uses dual spring top
6 V lantern battery on it's side
D99791 Flashlight, Herman G. Graubner (Union Carbide Corp),
May 26 1936,
D26/49 - four ribs cylindrical
Masterlite?
D99792 Flashlight, Herman G. Graubner (Union Carbide Corp),
May 26 1936,
D26/46 - triangular cylindrical
Masterlite?
D99793 Flashlight, Herman G. Graubner (Union Carbide Corp),
May 26 1936,
D26/46 - pentagon cylindrical
Masterlite?
D99794 Flashlight, Herman G. Graubner (Union Carbide Corp),
May 26 1936,
D26/49 - no ribs, stepped diameters
cylindrical Masterlite?
D103678 Flashlight Casing, Herman G. Graubner (Union Carbide
Corp), Mar 23, 1937,
D26/49 - Masterlite?
D174079 Flashlight, Herman G. Graubner (Union Carbide Corp),
Feb 22, 1955,
D26/49
References:
D101929 Flashlight Casing, Colin Douglas Barrett (Scovill
Mfg Co), Nov 17, 1936, D26/49-
D103890 Flashlight Casing, Burdon P. Hyde (Scovill Mfg Co),
Mar 30, 1937, D26/49-
D143357 Flashlight, Earl L. Schofleld (Burgess), Dec 25,
1945, D26/46 -
D175940 Flashlight, Herman G. Graubner (Union Carbide Corp),
Nov 1 1955,
D26/49 -
References:
D55571 Battery Hand Lamp, ARTHUR P. PAINE (Winchester), Jun
29, 1920, D26/49 -
[D116959 type in numbeer]
1916472 Candle Flash Light, ISAAC X. FERRIS (Bridgeport
Metal Goods Mfg Co), Jul 1933, 362/190 ; 362/186;
D26/40
D180647 Flashlight, Herman G. Graubner (Union Carbide Corp),
Jul 16 1957,
D26/49 -
References:
D67934 Battery Handlamp, FRANK G. STIMSON, Aug 4 1925
D146257 Combined Flashlight and Keychain, Clarence G.
Erickson (Erickson Johnson Machine Co), Jan 21 1947
D175940 Flashlight, Herman G. Graubner (Union Carbide Corp),
Nov 1 1955
D177091 Flashlight, Edward J. Garland (Ray-O-vac), Mar 13
1956
D180648 Flashlight, Herman G. Graubner (Union Carbide Corp),
Jul 16 1957,
D26/46 - Art Deco pocket light?
References:
D145427 Pocket Flashlight or the like, P. Copeland (S.
Schwartz), Aug 20 1946,
D26/37
D148879 Oval Pocket Flashlight, M.J. Kelley (Cresale Inc),
References:
D153733 Flashlight, Earl L. Schofielld (Burgess),
References:
2433512 Knife Sharpner (has similar shape)
D154549 Combined Flashlight and Mirror, Fred W. Koester, Jul
19 1949,
D26/38
References:
D53207 Portable Electric Lamp, WARD E. PEARSON, Apr 15,
1919,
D26/37 - PFL case lamp on large face mirror
on other large face
D139322 Flashlight, David Chapman, Oct 31, 1944 - sort of
a plastic snap light
D148879 Oval Pocket Flashlight, Miles J. Kelly, Mar 2
1948,
D26/37
References:
D139628 Flashlight, David Chapman (Ray-O-Vac), Dec
5, 1944, D26/37 ; 362/197 -art deco pocket light
D141684 Combination Lighter and Cigarette Case - no
light
1315457 Portable Electric Light, Bernard Benedict
(National Carbon Co has now bought Beacon Electric), Sep 9
1919,
362/135 ; 132/288; 362/199; D26/37; D26/38
D190194 Flashlight Lens Ring, Herman G. Graubner (Union
Carbide Corp), Apr 25 1961,
D26/113 ; D8/DIG.2; D9/453
D190519 Flashlight, Herman G. Graubner (Union Carbide Corp),
Jun 6, 1961,
D26/44 - attaches to top of screw
terminal 6 V battery w/ red beacon that folde up
References:
D177534 Torch Head Safety Flashlight, Arthur H. Moore, Apr
24 1956, (see above for references)
D187338 Electric Lantern, Chan Pak Chun, Mar 1 1960,
D26/44
-
References:
D125892 Handle for an Iron, Charles S. Jackson, Mar 1941
2861174 Signal Hand Lamps, Talbot, Nov 18 1958, 362/228
; 340/321; 340/473; 362/184; 362/199; D26/44; D26/50
2861174 Signal Hand Lamps, Talbot, Nov 18 1958
References:
1170012 Portable Electric Search Light, Smith, Feb 1 1916,
362/194 ; 362/199 - not No. 6?
2581129 Portable Electric Flashlight with Retractable
Mount for Auxiliary Lamps, Bernard Francis Muldoon (H
Hyman), Jan 1952,
362/184 ; 174/69; 200/60;
362/198; 362/199
cylindrical with stiff or
goosneck stalk that can swing out maybe with 222 lamp at
end
2611072 Electric Hand Lantern of the horizontally
elongated type, Gus G. Potekin (Richberry Elec), Sep 16
1952,
362/199 -
uses same 6 Volt spring
top lantern battery as railroad lanterns, but is sealed
beam and the battery is horizontal
References:
1384017 Electric Lantern, JOHH HAACK, Jul 5, 1921, 362/197
; 362/382 -
1486840 Electric Lantern, H.B. Patche, Genesy Electric
Lantern Co., March 11, 1924 - RR
1927713 Electric Lantern, A.A. Pearson, Feb 6 1923, -
railroad type
2013380 Multipule Bulb Electric Lantern, J.H. Easley,
Sep 3, 1935 - see my Moxley lantern
2257866 Charging System for Electric Lamps, Talbot, Oct
7 1941, 362/183 ; 320/107 - sealed beam
2275987 Portable Electric Lantern, C.S. Packer, March
10, 1942 - explosive atmos
2375511 Flashlight, O. T. Wood (Blake Mfg), May 8, 1945
2628305 Battery Retainer for Electric Hand Lamps, Talbot,
Feb 10 1953,
362/208 D26/50 - uses dual spring
top 6 V lantern battery on it's side
D190673 Flashlight Switch, Herman G. Graubner (Union Carbide
Corp), Jun 20, 1961,
D26/113 -
References:
D111344 Flashlight, Anthony J. Desimone (Bright Star Battery
Co), Sep 20 1938. D26/49- cylindrical
D119416 Flashlight, Robert G. Williams (Fulton Mfg), Mar 12,
1940, D26/49 - cylindrical
2229486 Flashlight, Anthony J. Desimone (Bright Star Battery
Co), Jan 21 1941, 362/205 ; 362/207 - no exposed
metal nearly indestructible
2825797 Electric Flashlights, K.S. Min, Mar 4 1958, 219/220
; 362/109; D26/49 - combined flashlight & cigarette
lighter
D186401 Flashlight, Herman G. Graubner (Union Carbide Corp),
Oct 20, 1959,
D26/49 - cylindrical
References:
D102215 Flashlight Casing, Westfall (Scovill Mfg), Dec 1
1936, D26/49 -
D116956 Flashlight Case, Arthur Katzingrer, Oct 3, 1939, D26/49
-
D188956 Flashlight, Herman G. Graubner (Union Carbide
Corp), Oct 4 1960,
D26/49 - cylindrical
References:
D139577 Flashlight, David Chapman, Nov 28, 1944, D26/49
; 362/205 - clindrical Art Deco "roundy"
D180647 Flashlight, Herman G. Graubner (Union Carbide Corp),
Jul 16 1957, D26/49 -
D186401 Flashlight, Herman G. Graubner (Union Carbide Corp),
Oct 20, 1959, D26/49 - cylindrical
2253951 Flashlight, Anthony J. Desimone (Bright Star Battery
Co), Aug 26 194, 362/21 ; D26/49 - rubber armored
Patents by Homer W. Jones
1611153
DRY
CELL AND PROCESS OF MAKING THE SAME
1701236
ADJUSTABLE LAMP, Homer W.
Jones (National Carbon Co), Nov 11 1930,
362/187 -
allows for both
classical axial focus and adds lateral movement for better
focus
1758918 Flash Light, C.K. Bryce, Homer W. Jones (National
Carbon Co),May 20, 1930, 362/188 -
requires special battery with pin on positive end
1781064
ADJUSTABLE LAMP
1529703
INSULATING MEANS FOR GALVANIC CELLS
1823105
CONTACT MEANS FOR BATTERY ENERGIZED
DEVICES, - requires special battery with point on positive
end
1773310 Dry Cell Terminal, , - No. 6 Dry Cell screw terminals
1879623 Battery Box, Homer W. Jones (National Carbon Co),
Sep27 1932,
429/1 ; 429/99 -
?Battery adapter? uses three
AA cells to replace MN1203 three B battery & has pin
plug jacks for lapel lamps
References:
1879595 Battery J Voorhees (National Carbon Co), Sep 27
1931, 429/1 ; 429/99 -
[277837 application number, not patent]
1900348 Flash Light, H.W. Jones & H.G. Graubner
(National Carbon Co), Mar 7, 1933,
362/189 ; 362/195;
D26/37-
POCKET FL w/bulb protector
hood, maybe uses 706 3 V battery? fells like Snap-lite
1909278 Battery Lantern, Homer W. Jones (National Carbon Co),
May 16 1933,
362/197 -
3 cell rectangular lantern,
battery polarity insensitive
Eveready No. 4753, 2722
Wood Box Table Light
 |

|
Table
Lamp Wood Box type
|
Battery
compartment
holds MN1203 4.5 Volt batt
so why the 2 cell lamp?
|
This is a table light of the wood box type but instead of the
battery compartment holding three "F" cells like most of these
(see the
Eveready Projection Clock
for example) this one came with what looks like the original
working lamp marked ph. 2.5V 0.2A which implies a two cell
battery. The inside of the battery box measures 3 1/2 x 2
5/8 x 1, but the battery contacts limit the length to 3".
The MN1203 4.5 Volt battery seems like a good fit so I don't
understand the two cell lamp?
No markings or makers name or patent dates. Unknown vintage.
641463 Portable Electric
Light, HERMANN J. MULLER, Jan 16 1900,
362/190 ; 200/60 -
wood box four cells
642648 Electric Lighting Device, W. VAN DUZER (M. Munson
Shearing), Feb 6 1900,
362/198 ; 340/321 - made to be used
sitting on table
1516128 Electric Boudoir Lamp, CHARLES WACHTEL (Leo Schlesinger
& Co), Nov 18, 1924,
362/190 ; 200/60; 200/81R -
candlestick but uses pocket flash
light tabb type battery in base
switch in base or always on or off at users option (like Dura
(Eveready) 1653 candlestick)
1655746 Electric Boudoir Lamp, CHARLES WACHTEL (not assigned), Jan
10 1928,
200/4 ; 200/60; 200/85R; 362/392 -
1665867 Electric Boudoir Lamp, CHARLES WACHTEL (not assigned), Apr
10 1928,
362/190 -
like 1516128 except a weighted rod
along centerline allow for some unique switching features.
2177337 Automatic Illuminated Glass Holder, Alexander Stein, Oct
24 1939,
362/154 ; 219/433; 362/101; 362/802 similar to
candlestick but with fingers to hold glass which is illuminated
from below.
Cane & Umbrella Lights
Patent Classes are:
135 Tent, Canopy, Umbrella, or Cane
362/102 Illumination/ with Cane, Baton, Umbrella or Club
These are very similar applications
and it's common for a patent to mention both.
Unknown Walking Cane Flashlight 33"
|
 |
 |
The sheet metal part holds
a single "C" cell. The tab above the lamp hooks over
the lip of the wood cane so the lamp is down from the top
but not seated in the bottom of the hole. The metal
cap fits nicely.
A theory of operation is that a (missing) spring pushes
the battery and sheetmetal part up slightly which pushes
up the metal cap. When the metal cap is pressed down
the sheet metal part comes in contact with either the
spring or a metal part holding the spring completing the
circuit. The red O-ring in the cap would hold a
glass lens.
|
24718 Walking Cane, Ansel Cain, Jul 12, 1859,
362/102
; 135/66 - has flame type lamp surrounded by glass cylinder
754631
Lamp for Canes, Umbrella Sticks and the Like, J.W. Allen, Mar 15
1904,
362/102 ; 135/66; 362/186
wire connects to terminal on top of long cylindrical battery
465949 Electric Cane, Alfred W. Roovers, Dec 29, 1891,
607/115 ; 135/65; 200/520; 336/107; 336/66; 336/92;
361/232; 361/268 -
Induction coil inisde cane
has controlable output for shocking the holder of the cane (a
Faradic device)
484618 Electric Appliance for Canes, Stephen D. Smith, Oct 18,
1892,
607/115 ; 135/65; 336/66; 361/232; 361/268; 362/102
-
An electric current passes through
the person holding the cane, at the time thought to be medically
beneficial (see my
Faradic web
page).
575332 Electrically-Illuminated Jugglery Apparatus, Morris Cronin,
Jan 19, 1897,
362/102 ; 362/185 - Indian Club
639690 Electric Cane, Walter N. Sherman, Dec 19, 1899,
361/268
; 135/65; 200/520; 200/60; 340/321; 362/102 -
combined cane, light and medical
battery (
Faradic device)
744348 Illuminated Indian Club, M.M. Hurst, Nov 17, 1903,
482/1
; 340/321;
362/102; 473/220; 482/109 -
has manu lights shining thought
colored glass jewels
754631 Lamp for Canes, Umbrella Sticks or the Like, James W.
Allen, Mar 15 1904,
362/102 ; 135/66; 362/186 - forward or
upward facing
786040 Policeman's Mace, O. Liberman, Mar 28 1905,
362/102
; 362/109; 463/47.4 - many cells and lamp at end
879640 Campaign Cane, C. Hockenberry, Feb 18 1908
1051370 Novelty Cane or Umbrella, Tobias Hertz (Brooklen Wireless
Electrical Novelty), Jan 21 1913,
362/102 ; 135/910
1067646 Search Light for Unbrella Handles, Downey, Jul 15 1913,
362/157
; 135/910; 56/307 - long cylindrical battery
1079088 Flash-Light, F. Wysocki, Nov 18 1913, - cane or unbrella
handle
1151114 Flash-Light, G. Matthies, Aug 24 1915,
362/157 ;
135/910; 340/321- umbrella or cane handle
1166272 Electric Umbrella, W. Smithing, Dec 28 1915,
362/102
; 135/66; 135/910 - lamp at bottom of pole, above fabric and at
the end of each rib
1177241
Search Light for Unbrella or Cane Handle, Samuel S.Gay, Mar 28
1916,
362/157 ; 135/910; 362/102 -
1227012 Flash-Light or Electric Torch, M.H. Spielman, May 22 1917,
- Cane with screw cap switch
1227013 Flash-Light or Electric Torch, M.H. Spielman,May 22 1917,
- single AA screw cap is switch
1427138 Umbrella Handle Lighting Device, Walicki, Aug 29 1922,
362/157
; 135/910; 362/102 - "T" handle, switch has point that grounds
battery
1659346
Light for Umbrellas or Canes, J.H. Beatty, Feb 14 1928,
362/102
; 135/910- light is in pole above umbrellaw/ 360 deg coverage
1720228 Combined Flashlight and Umbrella, FRABTK DAVID MALUM, Jul
9 1929,
362/202 ; 362/102; 43/17 - grip w/light swivles
1795268 Umbrella, I. tomases, Mar 3 1931,
362/102 ;
135/65; 135/910; 340/321; 340/815.75- light above fabric
1807501 Flash Light Holder, J.R. Alexander, May 26 1931,
248/229.14
; 362/396 - like for bicycle handlebar or cane, umbrella etc
1824449 Cane, Sjoberg, Sep 22 1931,
135/66 ; 135/910;
362/102- with light
2104340
SIGNAL UMBRELLA Jan 1938
2201602 Mercury Switch, C. N. Wiles, May 21 1940, - Mercury switch
in umbrella pole turns on light when pointing up
2245349 Illuminating Cane, Lombardi, Jun 10 1941,
362/577
; 135/66; 135/910; 340/321; 362/102 - translucent section above
tip
2246836, Illuminated Stick of Umbrella, Anna L. Campbell,Jun 24
1941,
362/577 ; 135/910; 340/321; 362/102 -
flashlight swivels and can
illuminate plastic light pipe or work in a conventional way
2259443 Illuminating Cane and Umbrella Handle, Frank A. Geier, Oct
21 1941,
362/102 ; 200/60; 340/321 - optional shape
translucent lamp caps
2271190 Walking Stick or the Like, Giaimo, Jan 27 1942,
362/102
; 135/910 - lamp near tip. removable tip to replace lamp
2372471 Illuminated Umbrella, Anna L. Campbell, Mar 27 1945,
135/66
; 135/910; 362/102 - plastic light pipe
2435650 Illuminated Walking Stick, J.H. Greene, Feb 10 1948,
362/102
; 135/66; 135/910; 340/321; D3/7 - translucent tip
2478325 Illuminating Attachment for Canes and the Like, A.P.
Russell, Aug 9 1949,
362/102 ; 135/910; 362/197 -
horizontal handle with down facing reflector
2507919 Umbrella, Frank J.mazzeo, May 16 1950,
135/41 ;
135/910; 15/236.06; 211/197; 362/102 - lamp above fabric
2597172
ILLUMINATING
CANE, Jejro Parker, May 20 1952,
362/102
; 135/66; 135/910; 16/111.1; 16/903; D26/38 -
marker lights, downward
flashlight, cigarettes & lighter for same
2642519 Luminous Cane, Caustin, Jun 16 1953,
362/577 ;
135/910; 340/321; 362/102 - translucent section above tip
2734124
Illuminated Umbrella Handle, Marfow J. Funk, Feb 1956,
362/102
; 135/910 -
2966578 Flashlight Umbrella or Cane, D.J. Coffey, Dec 27 1960,
362/102
; 135/910; 362/191; D26/38 - flashlight can be removed
3016549
LIFE
SAVING
EQUIPMENT, R.J. Finn, Jan 16 1962,
441/85 ; 362/102 - combined police night stick and light
that floats and has lanyard
3227867
First Aid Umbrella, C. F. BAKER, Jan 4 1966,
362/102 ;
135/16; 206/440; 206/570; 206/803; 206/811; 312/209; 362/109 -
first aid kit in umbrella w/light
3275815
Protective Device such as Umbrrella, Sun Shade or the Like,
Petroff, Sep 27 1966,
362/577 ; 135/910; 362/102
a number of optical systems are
presented that shine light up and reflect it off the underside
of the unbrella.
3281586
Umbrella Light, R. Gonzalez, Oct 25 1966,
362/102 ;
135/16; 135/910; 362/184; 362/269- detachable FL
3777136 Umbrella having an Electric Lamp, Shigekazu Okuda, Dec 4
1973,
362/102 ; 439/842 - beacon above fabric crimp
connections
4013881
Safety
signal
cane, Otto E. Sargent, Mar 22,
1977, 240/642; 240/103R - flashing translucent above tip
4020858
Safety
umbrella, Inez F. Wilson, May 3,
1977, 135/20R; 135/66; 135DIG10; 240/642 - lamp above fabric
4031381
Illuminatable
umbrella, Phyllis Carver, Jun 21,
1977, 240/642; 135DIG10 - flasher
4062371
Walking
cane, Lawrence A.
Bolen, Dec 13, 1977, 135/66; 135DIG10; 320/3; 320/48;
362/102 - marker light for blind person
4099535
Light
emitting
walking cane, Louis H. Hubachek,
Jul 11, 1978, 135/66; 135DIG10; 362/102 - marker light for blind
person
4625742
Multi-function
lighted walking cane, Jerry G.
Phillips, Dec 2, 1986, 135/66; 135DIG10; 362/102 - marker
light-grounjd illumination
4860179
Iluminated Umbrella, Paul Y. H. Mui, Rosa Y. M. Tso, Aug 22, 1989,
362/102; 362/800 - selectable steady or blink light
4872468 Safety umbrella, Ronald S. Cole, Oct 10, 1989, 135/16;
135DIG10; 135/33R; 135/34; 362/102; 362/32 -
5126922
Illuminated umbrella or parasol, R. Andreasen, Jun 30, 1992,
362/32; 362/102 - two different fiberoptic circuits
5219402
Stick
usable
at daytime and night, Yoshio Kondo,
Mitsuru Kobayashi, Jun 15, 1993, 135/66; 135/910;
362/102 - invalid cane
5280799
Umbrella
with two-way flashlight, Philip M.
Alajajian, Jan 25, 1994, 135/16; 135/254.1; 135/910;
362/102 - forward or downward
5307251
Pedestrian
crossing safety device, Terry L. Shaffer,
Apr 26, 1994, 362/102; 362/84; 362/158; 362/186; 405/42
-strobe for crossing guard use
5323798
Flashing umbrella, Chiu-Hsiung Yang, Jun 28, 1994, 135/16;
135/910; 362/102 - LEDs
5463536
Umbrella
with a light source and light refracting means, Luk Chou, Oct 31, 1995, 362/102; 362/32 -
light pipe rod
5493480
Illuminated
umbrella, Tien-Tsai Huang, Feb 20,
1996, 362/102; 362/32; 135/910 - hollow tube passes light
5584564 Battery operated lighting apparatus, Charles E. Phyle, Dec
17, 1996, 362/102; 362/191; 362/234; 362/431; 135/910 -
illuminated patio umbrella
5960805
Luminous
umbrella, Sean Murphy, Oct 5,
1999, 135/16; 135/910; 362/102 - under side of fabric is reflector
aiming light at ground
6068006
Luminous
umbrella
6145993
Illuminated
cane tip
6959996
Lighting
apparatus with convenient and concealed mounting mechanism and a
7287538
Illuminating
umbrella grip
D207764
COMBINED
WALKING CANE AND LIGHT
D278387
Illuminated
cane
D96050 Combined Flash Light and Umbrella Handle or Similar
Article, Samuel Osterman, Jun 25 1935,
D3/13 ; D26/49-
stick coming from battery cap
D96051 Combined Flash Light and Umbrella Handle or Similar
Article, Samuel Osterman, Jun 25 1935,
D3/13 ; D26/46-
stick coming from battery cap
| D287191 |
Umbrella
handle |
Dec 16, 1986 |
| 4872468 |
Safety
umbrella |
Oct 10, 1989 |
| 4881154 |
Illuminating
umbrella handle |
Nov 14, 1989 |
| D393539 |
Illuminated
umbrella with safety alarm |
Apr 21, 1998 |
| D415299 |
Combined
flashlight
and umbrella handle |
Oct 12, 1999 |
| D422784 |
Umbrella
with
twin lights |
Apr 18, 2000 |
| D430726 |
Umbrella
handle
with flashlight |
Sep 12, 2000 |
| 6126291 |
Umbrella
having
detachable illuminative grip |
Oct 3, 2000 |
Electric Storage Battery Co.
3053978 Lantern Construction, Sep 11 1962, - uses lead acid battery
to power spot light
Clarence P. Davey

1851275 Portable Electrical Light,
March 29, 1931, Clarence P. Davey (Westbar Corp), 362/196 ; 362/208
- sheet metal tongue & groove - "Cathedral"
1549749 Spotlight, Clarence P. Davey, Aug 18, 1925, 362/424 -
spotlight like used on older police cars
2347401 Pail Cover, Clarence P. Davey, Dec 9, 1940, 222/534 ;
222/465.1; 222/536; 222/542 - sheetmetal pail cover w/pouring spuot
& stopper.
2567553 Mounting for Spirit Levels, Clarence P. Davey (Dietzgen),Sep
11, 1951, 33/386 ; 248/140- for surveying instruments, adjustable
compact
2567554 Straightedge Construction, Sep 11, 1951, Clarence P. Davey
(Dietzgen), 33/492 ; 403/300 - for slide rule
2634912 Slide Rule Indicator, Clarence P. Davey (Dietzgen), 235/70B
- a classic: clear glass with index mark.
2956743 Slide Rule, Clarence P. Davey (Dietzgen), Oct 18, 1960,
235/70R - a classic slide Rule
Delta Electric
Prior to being one of the founders
of Delta Electric John J. Brownrigg worked in the telephone
business. One of the first products of Delta Electric was a
Coin Collector.
1198005 Toll Telephone System, (Delta Electric Co)
1205150 Coin-Collector for Telephone Systems, J.J. Brownrigg,
Harry Henderson & Arthur E. Case (Delta Electric Co), [filed:
Jan 26, 1914], Nov 21, 1916, 194/243 ; 232/58- single slot
multi denomination coins
1250960 Portable Electric Lamp, Arthur E. Case (Delta Electric),
Dec 25, 1917, 362/370 - bicycle headlight. No. 6 Dry
Cell, wires ending in tip pins plug into back of light
1295497 Portable Electric Lamp, Henderson & Arthur E. Case
(Delta Electric Co), Feb 25 1919, 362/206 ; 362/202 -
regular cylindrical FL but dovetailed sheetmetal
D46427 Portable Electric Lamp, J.J.
Brownrigg (Delta Electric), [Filed Aug 1 1914], Sep 22, 1914,
D26/50 - based on the
No. 6 Dry Cell
This matches the lantern shown on
page 5 of the Flashlight Collectors Newsletter edited by Bill
Utley - the dates printed on that light (Feb 15 1914 & Sept
22 1915) may be the dates their application was approved, but
are NOT the patent dates. Another theory is that the
person who made the artwork transposed numbers (Dyslexic).
For example D46427 is dated Sep 22 1914 which is off by one
digit in the year. 2/15/1914 is not valid so try:2/15/1915
- no, 1/15/1914 - no, 3/15/1914 - no, 2/14/1914 - no, 2/14/1915
- no, 2/22/1914 - no, 2/22/1915 - no
This is very similar to 1152082
issued Aug 31 1915, see
below.
D53568 Electric Lamp, Arthur E. Case (Delta Electric), Jul
15, 1919, D26/34 - combined Lamp & rear view mirror
D59301 Flashlight, Walter B. Stepehenson, Oct 4 1921, D26/49 - big
bulging glass lens
D59301 Flashlight, Walter B.
Stepehenson, Oct 4 1921, D26/49- big bulging glass lens
D95943 Electric Lantern, L.M. Wiley, Jun 11 1935, D26/37 ; D10/114
- vertical cylinder with two way horizontal facing lamps (like a
RR signal)
D99755 Lamp, L.M. Wiley, May 19, 1936, - bicycle Rocket with
tail fin (before the spacd age, maybe Flash Gordon or a movie?
D110832 Lamp, W.C.Crimmins, Aug 9 1938, D26/28 - bicycle square
cross scetion but streamlined
D111955 Lamp, William C. Crimmins, Nov 1, 1938, D26/36 - bicycle
square cross scetion but streamlined
D111956 Lamp, William C. Crimmins, Nov 1, 1938, D26/36 - bicycle
square cross scetion but streamlined
D116730 Lamp, William C. Crimmins, Sep 19, 1939,
D26/36 -
bicycle cylinder with ball ends maybe 1 "D" cell
D118553 Lamp, William C. Crimmins, Jan 16, 1940 - bicycle
streamlined
D184378 Cicycle Taillight, John Sinaltz, Feb 3, 1959 - bicycle
fins streamlined
D184379 Bicycle Headlight, John Sinaltz, Feb 3, 1959 - bicycle
fins streamlined
1428755 Electric Lamp, Arthur E. Case (Delta Electric), Sep 12,
1922,
362/285 ; 362/278; 362/289; 362/396; 362/419 -
1430939 Portable Electric Lamp, Arthur E. Case (Delta Electric),
Oct 3, 1922 362/206 ; 200/60 - glass lens cylinder type
1549749 Spotlight, Clarence P. Davey, Aug 18, 1925, 362/424 -
automobile sucured in windshield frame
1740535 Electrical Switch, CARL BRAMMING, Dec 24, 1929,
200/16D
; 200/16R; 200/550 - SPDT slide switch
RE17897 Electrical Switch, CARL
BRAMMING, Dec 9 1930, 200/16D ; 200/16R -
1848812 Reflector Assembly, L.M. Wiley, March 8 1932, 362/208 ;
362/187; 362/341; 439/544 - for screw in bulb
1857993 Electric Lantern, L.M. Wiley, May 10 1932, 362/197 - 2 "D"
cells rectangular case
1913696 Self Contained Lighting Unit, Wiley (Delta Electric), Nov
13 1933,
362/186 ; 429/97 - similar to the Eveready
Wallite
2053591
Electric Lantern, L.M. Wiley (Delta), Sep 8 1936,
362/21 ;
340/815.76; 362/208; 429/96 - 4 "D" cells, can sit on either end
many features
2106231
Bicycle Lamp, L.M. Wiley, Jan 25, 1938, - 362/191 ; 220/DIG.13;
340/432; 340/815.75; 362/208 - bicycle Rocket with tail fin
(before the space age, maybe Flash Gordon or a movie?
2191932 Bicycle Lamp Structure, William C. Crimmins, Feb 27, 1940,
362/196 ; 200/60; 220/DIG.13; 340/815.75 - bicycle streamlined
2418759 Flashlight, William C. Crimmins, Apr 8 1947, 200/60 ;
200/302.1; 362/204 - cylindrical
3073949 Bicycle Lamp, John D. Smoltz, Jan 15, 1963, 362/191 - head
contains a couple of AA cells
3116025 Lantern with Signal Lamp (Delta Electric), J.D. Smaltz,
Dec 31, 1963 - no case, attaches to top of battery with screw on
post terminals has swing up
William M. Moxley - Light Weight Lantern
Co.

|
 |

|
| Patent
2013380 |
Little
Stream Line Lantern |
Patent
2013380 |
William M. Moxley - Light Weight Lantern Co. Streamline 2
D cell flashlight.
This is the same design as the original Moxley except it's
for "D" cells instead of "F" cells.
This light (and the Star 222, Conger)was owned by Jack Dale
Lewis. He worked for 40 years on the Northwestern
Pacific Railroad, which is a subsidiary of the Southern
Pacific Railroad. He was the "Road Foreman" and
"Trainmaster" for the railroad lines from Eureka to
San Rafael. A 24-hour a day, 7 days a week, always
on call position, which is why he was stationed in
Willits, being it is half-way. As an "Official"
he was not part of the union, received a salary and travel
expenses, and was required to wear a suit and tie.
Even so, he did oversee many night time travesties, like
train wrecks, etc. His wife was continually ironing
and washing when he would come home full of mud and
grease. Usually his excuse was he couldn't see in
the dark and had slipped or fallen in the mud. |

|

|
Becuase of their
reliability were adopted for railroad signaling. Very
important that train engineer see the signal at night.
This "Little Stream Line Lantern" was made by the Light Weight
Lantern Co., 916 Wyandotte St., K.C. Mo.
under the patents marked * below. It takes a couple of
batteries the same diameter as the common "D" cell but longer
called "F" cells. For more on "F" cells see my
No. 6 Dry Cell page. The center off
switch selects one of the two bulbs. Since the bulbs appear
to be the same this must be a spare bulb system that can be
brought into play very quickley. Made from sheet
brass. Iron or steel wires used for the stand at the bottom.
Hand stamped in the side NH 332.
One lamp might say T11N and the other 2.5?. 0.37" dia screw
base with 0.43" dia spherical bulb
*
2096349
Lantern Base Support, W.M. Moxley, October 19, 1937, 362/186 ;
220/628; 248/153; 362/185
*
2013380
Multipule Bulb Electric Lantern, J.H. Easley, Sep 3, 1935, 362/185
-
*
2113159
Bail, W.M. Moxley, April 5, 1938, 220/775 ; 29/512; 29/522.1;
29/526.2; 403/235; 403/247; 411/427
controled friction between bail and
latern.
*
2127133
Latern Base Support and Lamp Socket, W.M. Moxley, August 16, 1938,
362/185 ; 362/186; 439/665
2280343 Battery Retaining and Tensioning Means for Hand
Laterns, W.M. Moxley, Apr 21, 1942, 362/186 ; 362/185
2283384 Battery Retainer for Electric Hand Lanterns, W.M.
Moxley, May 19, 1942 ,362/185 ; 429/96
2285045 Bulb Carrying Compartment for Handles of Electric
Lanterns, June 2, 1942, 362/191 ; 16/111.1; 16/903; 220/756;
362/207
2286685 Combined Battery Retainer and Bulb Carrier for
Electric Lanterns, W.M. Moxley, June 16, 1942, 362/185 ; 362/207;
429/96
2300304 Colored Globe Support for
Electric Lanterns, W.M. Moxley, October 27, 1942, 362/185
2308821 Switchless Multiple Bulb Electric
Lantern, W.M. Moxley, January
19, 1943, 362/185 - ICC mandated 3 bulb no switch latenr that must
not fail to be able to signal a train. bulbs unscrew and are
held in place with spring.
2312843 Closure for Receptacles, W.M. Moxley, March 2, 1943,
429/163 - new battery cover that rotates on/off, not threads
2312844 Combined Switch and Spare Bulb
Carrier for Electric Hand Lanterns, W.M. Moxley, March
2, 1943, 362/185 ; 362/207 - Railroad signaling latern, now has
round case (what battery is used?)
2315726 Combined Battery and Cover
Retaning Means for Electric Hand Lanterns, W.M. Moxley,
April 6, 1943, 362/184 ; 220/293 - cover will keep batteries in
contact even if latern is inverted or is swinging back and forth.
(railroad use mentioned again) maybe 4 "D" or "F" cells?
2324715 Multiple Switch, Multiple Bulb Electric Lantenrs,
W.M. Moxley, July 20, 1943, 362/185 ; 200/60; 362/186 - uses two
switches wired like a hall light so either switch can turn lantern
on or off. Uses a single battery, most likley a 6 volt
"Lantern Battery".
2383337 Extensible Battery Cell Holder
for Electric Lanterns, W.M. Moxley, August 21, 1945,
362/185 ; 429/99 - takes cells of different length. 1945
must be when the "D" cell became the standard "Flashlight" battery
and the "F" cells became hard to get. Although W.W. II
flashlights used "D" cells.
Justrite Mfg. Co.
D193204 Lantern - swivel head
electric (6 volt) - attachment for 6 volt battery
D174287 Portable Hand Lantern, Charles S. Packer, Mar 22, 1955
D174288 Portable Hand Lantern - two position handle, angle head
D174287 Portable Hand Latern - why?
D224839 Carbide Lamp - why?
D46905 Design for Acetylene-lamp Body - why?
Electric
 |
Although marked USN, Empire, The Metal Ware Corp, Two
Rivers, Wis, the features have the feel of Justrite
1900906.
Two wide, two high battery box very similar to the
Justrite Light Stick. Slide switch on top of battery
box. Belt clip on back of battery box.
Screw on head unit both can remove reflector to change E10
based lamp and focus it.
If you know more about this headlamp or Metal Ware Corp, let me know.
1900906
Portable Electric Illuminating Apparatus, LeRoy O. Brown,
Mar 14 1933, 362/197 ; 340/321; 362/105; 362/157;
362/486; 429/97 - 4 "D" head worn light
|

|
This is called the
Light-Stick and is a 4 "D" cell flashlight.
On the back is a belt clip and on the bottom is a bail
allowing it to be supported in many ways.
These were used by the phone company among others.
Uses a No. 27 lamp (5 V 0.3 A). Focus by turning the
lens ring. Spare lamp inside head.
3084248
Pivoted reflector holder
for a hand lantern, Nicholas
W Keller, Charles
S Packer, William
B Rosinski, Justrite
Manufacturing Co, Apr 2,
1963, 362/199, 200/60, D26/44 -
|
2164898 Electric Lantern, LeRoy O. Brown - Miner's electric
lantern, batteries behind head lamp in front.
2245707 Electric Lantern, C.S. Packer, Justrite Mfg Co., - triple
lamp railroad lantern, 6v battery
2385639 Flashlight - minimum volume 3 cell light about as high as
a 2 cell light.
2502169 Portable Electric Lantern Charles S. Packer (Justrite) Mar
28, 1950,
362/184 - aimed at ICC railroad application
D111626 Design for an Electric Lantern, LeRoy O. Brown, Oct 4,
1938 - Miners, lamp attaches to battery box
2145631 Electric Lantern, J.S.
Pixley, Armspear Mfg Co., Jan 31, 1939
2244895 Electric Lantern, J.S. Pixley, Armspear Mfg Co.,Jun 10,
1941
2289276 Portable Electric Lantern,
C.S. Packer, Justrite Mfg Co., Jul 7, 1942 362/185 - RR
type
2358015 Electric Hand Lantern, C.H. Larson, Adlake Co., Sep 12,
1944
Carbide
311583 Inextinguishable Lamp for Marine and Land Purposes, J.R.
Holmes, Feb 3, 1885, 441/15 ; 48/4 - UK patent 1884
552099 Apparatus for Generating Gas, W.C. Clarke (relation?), Dec
31, 1895, 48/59 ; 48/4 -
Justrite
1137755 Multiple Carbide Container, May 4, 1915
1161209 Portable Acetylene-Lamp, Nov 23, 1915
1224537 Acetylene-Lamp, May 1, 1917
1230892 Acetylene Lamp, Jun 26, 1917
1295744 Acetylene Lamp, Feb 25, 1919
1296507 Methods of Bruning Acetylene and Similar Hydrocarbon
Gasses for Illuminating Purposes, March 4, 1919
1344299 Spark Wheel Toothing Machine - rotary machine can make
wheels in volume, Jun 22, 1920
1429420 Spark-producing Mechanism, W.J. Frisbie, Sep 19, 1922
1476962 Spark-producing Mechanism, Dec 11, 1923
1968369 Lamp Attaching Clamp (Carbide Lamp), LeRoy O. Brown, July
31, 1934
3735120 Modularly Constructed Plastic Carbide Lamp, May 22, 1973
3953723 Plastic Carbide Lamp, Apr 27, 1976
Winchester Repeating Arms Co.
Carbon is a key ingredient of both
gunpowder and dry cell batteries. Both dry cells and
metallic cartridge ammunition are metal cans that hold the carbon
based chemicals. So a company that makes black powder
ammunition would already have some of the technology in
place. So it's logical for Winchester Repeating Arms Co. to
also be in the dry cell business, and the flashlight business to
go with it , just like ammunition and guns.

A flashlight with the cap marked:
E. C. Simmons, STEDY-LITE, Trade Mark, Made in U.S.A.
and the switch marked:
Patents: Jun 29 20, Aug 17 20
Those dates match patents 1344735 & 1349860 and the design of
the flashlight also matches.
But the assignee is the Winchester Repeating Arms Co. so Simmons
was making these under their patents.
D55571 Battery Hand Lamp, Jun 29,
1920, D26/49 - A cylindrical flashlight with lens
1344735 Hand Lamp Switch, Jun 29, 1920, 200/60 ; 340/321; 362/205;
362/310
1349860 Hand Lamp Switch, Aug 17, 1920, 200/60 ; 362/205; 362/310

1358839
Battery Hand Lantern, Nov 16, 1920,
362/205 ; 200/60-
cylindrical lens & reflector
1361846 Battery Hand Lamp, Dec 14, 1920, 362/204 - cylindrical
lens & lamp
1361920 Battery Hand Lantern, Dec 14, 1920,
362/205 ;
362/208 - cylindrical lens & reflector
1368278 Hand Lamp Switch, Feb 15, 1921,
200/60 ; 362/204;
362/205 - cylindrical lens & reflector
1388990 Dry Cell, Aug 30, 1921,
429/134 ; 429/172
<-------------------- Dry Cell Battery Mfg
1396828 Handlamp, George D. Galager (Winchester), Nov 15, 1921,
200/60
; 362/2051 - Pocket Flash Light
RE15549 Handlamp, Feb 20, 1923
1396829 Hand Lamp Switch, Nov 15, 1921,
200/60 ; 362/205 -
only switch different from Conrad's PFL
1396830 Hand Lamp Switch, Nov 15, 1921,
200/60 ; 362/205 -
only switch different from Conrad's PFL
1398366 Dry Cell, Nov 29, 1921,
429/82 ; 429/130; 429/172
<-------------------- Dry Cell Battery Mfg
1398736 Handlamp, Nov 29, 1921,
362/205 ; D26/46 -
cylindrical switch flush with tube
1419728 Hand Lamp Switch , Jun 13, 1922,
200/60 -
cylindrical lens & reflector
1419729 Hand Lamp Switch , Jun 13, 1922,
200/60 ; 362/205;
362/310 - cylindrical lens & reflector
?1421548? Flash Light, July 4, 1922,
362/208
1421561 Battery Candle, July 4, 1922 , 362/189 ; 429/99
1421944 Spotlight, July 4, 1922,
362/187 - cylindrical
focusing reflector flat glass
1430727 Manufacture of Dry Cells, Oct 3, 1922,
29/623.1 <--------------------
Dry Cell Battery Mfg
1433570 Battery Hand Lamp, F.G. Stimpson, Oct 21 1922,
362/187
; 292/DIG.15 - adjustable focus by moving reflector
1436340
Hand Lamp Switch, George D. Galager (Winchester), Nov 21 1922,
200/60
; 362/200 -for pocket or cylindrical uses either bent metal tabs
or eyelets
1437476 Battery Hand Lamp Switch, Dec 5, 1922,
200/60 - cylindrical
lens & reflector
1445245 Spotlight, Feb 13, 1923,
362/188
1445246 Spotlight, Feb 13, 1923,
362/188
1445247 Spotlight, Feb 13, 1923,
362/188
1447050 Antirolling Handlamp, Feb 27, 1923,
362/208
1454530 Handlamp, May 8, 1923,
362/191 ; 248/102 -
chain from rear cap to switch
1470776 Flashlight Switch, CHARLES H. STEVENSON, Oct 16, 1923,
200/60
; 200/559; 362/205 - 2 eyelets hold body, 1 eyelet holds spring
Pocket Flash Light with Lens and accidental on prevention
switch
Uses the MN1203 tab battery ( three B cells) 4.5 volts
1471185 Hand Lamp Switch, Oct 16, 1923, 200/60 ; 235/63A - pocket
flash light larger hole admits button, narrow slot prevents
activation
Probably not this patent but the switch is similar.
The top slips off to change lamp. Battery door is hinged,
but has some depth, not just a flat plate.
Probably 3B cell battery.
There's a nice silvered reflector above the socket, but the
spherical lamp marked "MAZDA" has a horse collar made of white
plastic that covers up the reflector. What's up with that (
let me know) or if you know anything
about this pocket flash light?
Approximately life size.
1477892 Handlamp, Dec 18, 1923,
362/204 ; 200/60;
362/208 - cylindrical lens and reflector
1488948 Dry Cell, Apr 1, 1924,
429/134 ; 429/201; 429/224
- cylindrical lens and reflector
1498330 Hand Lamp Switch, Jun 17, 1924,
362/204 ; 200/60 -
cylindrical lens and reflector
1498331 Hand Lamp Switch, Jun 17, 1924,
362/201
1498332 Hand Lamp Switch, Jun 17, 1924,
362/205 ; 200/60
1498761 Hand Lamp Switch, Jun 24, 1924,
200/60 ; 362/205;
362/310 - cylindrical lens and reflector
?1499521? Handlamp, Jul 1, 1924,
362/204 ; 200/60
1502567 Hand Lamp Switch, Jul 22, 1924,
200/60 -
cylindrical lens and reflector
1510835 Machine for Tamping Dry-Cell Cartridges and the Like, Oct
7, 1924,
425/128 ; 141/80 <-------------- Dry Cell
Battery Mfg
1522244 Handlamp
Switch,
F.L. Humston (Winchester), Jan 6 1925,
362/208 362/205
- cylindrical lens and reflector First mention of "Switch"?
1527972 Handlamp, Mar 3, 1925,
362/205 ; 200/60;
362/204 - cylindrical lens and reflector
1564951 Manufacture of Dry Cells, Dec 8, 1925,
29/623.2 <--------------
Dry Cell Battery Mfg
1578512 Focusing Handlamp, March 30, 1926,
362/188 -
cylindrical reflector, E10 lamp flat glass
1658428 Carbon Pencil Feeding Mechanism, Feb 7, 1928,
198/400
; 193/47 <-------------- Dry Cell Battery Mfg
1688560 Battery Hand Lantern, Oct 23, 1928,
362/191 -
cyllindrical tail cap bail for hanging
1688373 Battery Hand Lamp, Oct 23, 1928,
362/191 -
cyllindrical tail cap bail for hanging
1771002 Bulb Holder for Flash Lights, H.W. Staples (Winchester),
Jly 22 1930,
439/665 362/208 - spare bulbs
1996577
Combination Headlight and Hand Lamp, Apr 2, 1935,
362/198
; 362/191-
Winchester
2042174 Testing Apparatus, May 26, 1936,
463/52 ; 124/32;
351/201; 434/22; 89/41.19 - rifle pointing hand eye coordination
timing using flashlight
2077383 Testing Apparatus, Winchester,
https://patents.google.com/patent/US2077383April
20, 1937,
463/52 ; 434/22; 463/54
D67934 ,Aug 4, 1925, D26/49 - unlike D55571 this flashlight has a
reflector that's larger in diameter than the main body.
Bicycle Lamps
626627
Bicycle-Lamp, ELLSWORTH D. MIDDLEKAUFF (William E. Hall), Jun 6
1899,
362/157 -
In the
Murdoch
Mysteries TV series S8E18 "Artful Detective"the bicycle head
lamp is no longer the bulky electric but a black pasteboard
cylindrical hand held type held by a bracket. If set in the 190x
time frame that may be too soon for that design of flashlight.
Patent Number (not by maker)
554379 Electric Light Cabinet, E.L.
Slocum, Feb 11, 1896,
362/198 - two wet
batteries in box + cord to wand with lamp at end. 362/198 oldest
patent in class.
642648 Electric Lighting Device, G.W. Van Duzer, Feb 6, 1900,
362/198 340/321
Metal box with 2 wet cells + cord with lamp w/reflector and spike.
682742 Portable Electric Lamp, HERBERT E. PLASS, Sep 17 1901,
362/200
-
3 cylindrical cells (size?)
and a forth position for the lamp and rotary switch wrapped in
leather which is closed with glove snaps
704446 Watch Dial Illuminator, FREDERICK M. DURKEE (U. Blatter),
Jul 8, 1902, - uses same push button as the
Eveready Shadow Projection Clock.
712112 Illuminated Watch Box, Carolus Arnold (Germany), Oct 28
1902,
362/155 ; 132/288; 362/109; 368/276-
battery below watch, lamp in lid,
switch part of lit catch release button
721205 Eectric Time Switch, ALBERT W. LAUTER, Feb 24, 1903,
368/256
; 200/35R; 362/253- like conrads but adds a pushbutton switch on a
cord (i.e. beadside)
740433
Night Light, FRIEDRICH HIRTH, Oct 6 1903,
368/227 ;
353/40; 362/253; 40/560 -
a projection system using a watch
and lens. Hook to hand at foot of bed, switch attached to side
of bead, battery under bed
760657 Portable Electric Hand Lamp, G Stein, May 24 1904,
362/204
; 200/60 - "F" cell? Cylindrical, wall eye lens switch to the rear
786227 Sight-Illuminator, Logan, Mar 28 1905,
362/110 ;
362/396- for rifle
835762 Watch Stand, W. Koller (Switzerland), Nov 13 1906, - has
battery, lamp and switch for night viewing
849198 Firearm, W.H. Boust, Apr 2 1907,
362/114 ;
353/43;
362/187; 362/321 - projects light beam that's variable in size
864957 Portable Search Light, J. Dickens (Standard Sheet Metal
Co), Sep 3, 1907,
362/204 ; 200/60 - cylindrical
902216 Electric Lamp for Helmets and Similar Head Coverings, J.H.
Drager, Oct 27 1908 -
917021 Illuminator, Henry L. DeZeng (De Zeng-Standard Co), Apr 6,
1909,
313/48 ; 313/110; 313/111; 313/113; 313/312;
313/315; 362/577 - glass rod fiber optic for use by surgeons uses
222 lamp?
918181 Electric Flash -Light Attachment, F. Meadows (H.B.
Cornwell), Apr 13 1909,
362/295 ; 200/52R; 340/321;
362/103; 362/308; 600/249; D26/39- small lens, reflector lamp
assembly clips on finger
936499 Aseptic Deflector Lamp, G.C. Werner, Oct 12, 1909,
600/249 362/198
315/291 - long skinny battery + cord and lamp.
944449 Flash-Light Attachment for Guns, W.L. Long, Dec 28, 1909, -
3 AA fits over revolver
983742
ELECTBIC
HAND-LAMP, J. W. MEAD, Feb 7 1911,
362/192 ; 290/1E;
310/69; 362/112; 600/249 - generator type, pistol grip
1007235 Signaling Device, FRANCIS J. POINAN, Oct 31, 1911,
362/20
; 362/228 - Dry Cell and lamp retrofitted into kerosene lantern
1007284 Illuminating Device, A.J. Horner, Oct 31 1911 - for pocket
watches
1009475 Flash Lamp, OTTO B. TUCKER, Jun 9 1914 (Nov 21 1911?) ,
606/122-
for horseless carriage driving
1013542 Lamp, Edwin H. Ford, Jan 2, 1912,
362/418 ;
359/802 - stick with mirror and lamp on end for reading
underground water meters
1017991 Sight Illuminating Attachment for Guns, ANDREW N. OLSON,
Feb 20 1912,
42/132 - metal cap over lamp has eyelet and
tube so only front sight gets light
1032199 Umbrella Attachment, T.C. Frederiksen, Jul 9, 1912,
135/15.1
; 24/12; 24/13; 24/363; 24/368 - allows carrying on clothing, not
flashlight

1035426 Device for Examining the
interior of pipes, William W. Dixon (Union Clay Prod), Aug
13, 1912,
362/253 ; 359/367 - periscope & flashlight
The top (left in photo) part with the lamp and a mirror can be
pulled completly out of the battery holder part. The metal
case is one electrical terminal and there's a slip ring in the top
and a contact in the battery holder part, so you can rotate the
top mirror to any angle desired. No switch. If the top
part is pulled out or pushed in past the slip ring the light will
turn off. I did it by pushing in but a few minutes later
when it was picked up the battery compartment was very hot and the
cells dead. Pushing in caused a short between the ring
contact and the case even though the contact is wrapped in fiber
insulation material. Best to remove the batteries when not
in use.
The top mirror was loose but a few drops of super glue fixed
that. The lamp is on in the photo.
1036000 Illuminating Device, WILLIAM H. PEASE, Aug 20 1912,
362/139
; 359/872; 359/882; 600/248 - telescopic stick with mirror and
lamp on end
1042623 Electric Flash Light, JOSEPH F. WAGNER (Arnold-Wagner
Electric), Oct 29, 1912,
362/95 ; 362/394- near door
keyway
1046225 Signaling Device, Schindler, Dec 3 1912,
340/321 ;
116/35R; 200/DIG.2; 340/815.69; 362/103; 84/477R - battery, lamp
& doorbell mounted on glove
1046985 Electrical Device, JEREMIAH CREEDON, Dec 10 1912,
607/150
; 2/159; 200/52R; 200/DIG.2; 361/232; 439/37; 601/21; 607/148-
can be used by police to shok
unruly person and to provide light
1051370 Novelty Cane or Umbrella, Tobias Hertz (Brooklen Wireless
Electrical Novelty), Jan 21 1913,
362/102 ; 135/910
-
1052075 Plummet Lamp, C.V. Martin, Feb 4 1913
362/311-
illuminates plumb bob for surveying
1054872 Portable Generating Apparatus, Victor Sence, Mar 4, 1913,
362/192 ; 310/69 - squeeze generator, with battery &
lamp
1055147 Firearm, VICTOR DE MARAIS (), Mar 4 1913,
362/114
; 600/249- lamp and batteries under revolver barrel
1055746 Portable Electric Lighting System, HIRAM H. HIRSCH, Mar
11, 1913,
362/106 - Miner's cap w/storage battery
1056393 Storage Battery Lamp, CHARLES B. BARTLEY, Mar 18 1913,
362/184
; 307/157; 340/321; 362/191; 362/197; 429/98 - two lamps, uses
1/4" phone plug as switch for each.
1056683 electric Safety Lantern, HARRY C. HUBBELL, Mar 18, 1913,
362/21
-
"if lamp struck it will pop out of
socket and will cool before being crushed", SPDT switch selects
one of two lamps
1057381 Music Lyre, JOEL B. HAWLEY, Mar 25, 1913,
362/98 -
lighted musid stand

1057529 Portable Electric Light, William M. Cloninger, Apr 1 1913,
362/105 ; 54/1 - light for horse riding -
I've erased the call outs (this
and the miner's lamp below are both "head lights" so maybe
that's why the portraits?)
1057820 Luminous Electric Mirror,
Hugo
Gernsback, Apr 1 1913,
362/135 ; 132/288; 433/35 -
handheld mirror with switch and PFL battery in handle, lamp at top

1065147 Miner's Lamp, Steve Koroly, Jun 17, 1913,
362/106
- I've erased the numbered callouts from the patent drawing
above. Who did the drawing, Steve or. . ?
1066386
Ophthalmoscope, De Zeng, Jul 1 1913,
351/205 ;
362/206; 600/249 - eye exam
1066540 Combined Club and Flash Light, G.A. Smithwick, Jul 8 1913,
362/102 ; 135/66; 135/910; 463/47.4 -
1067158 Spirit Level, CHEISTOPHEB M. WALTON, Jul 8, 1913,
33/348.2
- slot for pocket flash light to shine on level bubbles
1067646 Search Light for Unbrella Handles, Downey, Jul 15 1913,
362/157
; 135/910; 56/307 - long cylindrical battery
1068836 Portable Electric Safety Lamp, Banick, Jul 29 1913,
362/21
; 362/197 - storage battery
1070348
Light Attachment for Firearms, CLIFFORD A. LEWIS (Oregon Electric
Gun Co), Aug 12, 1913,
362/114 - light under revolver
barrel, cylindrical batt in grip
1070522 Electric Safety Lamp, JOHN GEORGE PATTERSON, Aug 19, 1913,
73/31.05 ; 73/23.2 - retrofitting a storage battery &
lamp into a kerosene lamp
1070883 Target Light for Guns, Forrester, Aug 19 1913,
362/114
- lamp under revolver barrel, pocket light battery in grip
1074354 Flash-Light, ARTHUR J. DUPONT, Sep 30, 1913,
340/321
; 116/35R; 362/197 - curved pocket light type case mounts to back
of hand w/ two switch selectable lamps.
1074716 Lighting Apparatus, ELLSWOBTH A. Hawthorne, Oct 7, 1913,
362/197
; 307/157 - stoarge battery, but similar to a No. 6 Dry Cell light
1075177 Illuminable Advertizing Device, J. WEBER, Oct 7, 1913,
40/472
; 200/46 - a motorozed device presents a scroll in a lighted
window.
1075827 see Conrad Hubert below.
1075973 Portable Electric Lighting Apparatus, Hirsch, Oct 14 1913,
362/53 ; 439/37 - miner's cap light
1076495 Electric Safety Lamp, Gottschalk (Chemische Fabrik), Oct
21 1913,
362/21 - miner's fixed or portable (not carried)
heavy glass surrounding lamp
1078167 Projecting Lamp, JAMES H. ROBNETT, Nov 11 1913,
600/241
- a dentist's mirror and tongue depressor added to a pocket
light
1078445 Portable Electric Reading Lamp, SAMUEL JOSEPH LEVI, Nov
11, 1913,
362/396 - battery, cord, spring clip with lamp.
clip to furniture or clothing
1079891 Artificial Minnow, JESSE C. SIMMS, Nov 25 1913,
43/17.6
; 43/42.46; 43/42.49 - fishing lure
1080795 Searchlight Attachment for Shotguns and the like,
EUGENE S. WARD, Dec 9 1913,
362/187 ; 362/110; 362/191
- shroud in front of lens to control beam
1082887 Contact Device for Hand Lamps, Lorenz Maisel (Northern
Chemical Eng Labs), Dec 30 1913,
362/204 ; 200/60;
362/187; 362/205 - adjustable focus
1083073 Revolver Attachment, M. Ferguson, Dec 30 1913,
362/114
- small under barrel lamp, Pocket Flash Light battery in grip
1084603 Lighting Attachment for Alarm Clocks, A. T. Britt, Jan 20,
1914, - turns on light when alarm goes off
1088502 Search-Light for Pistols, JOSEPH B. WILLIAMS, Feb 24 1914,
362/114 ; 222/113- a small cylindrical FL below revolver
barrel acitvated by second trigger
1090980 Lighting Apparatus, E.A. Hawthorne, Mar 24, 1914,
362/190
; 40/204 - battery powered license plate light & rear light -
D43696
1090981 Lamp Mounting, E.A. Hawthorne, Mar 24, 1914,
362/37 -
bicycle
1090982 Lamp Mounting, E.A. Hawthorne, Mar 24, 1914,
248/286.1
; 362/396; 362/426 - bicycle
1090983 Electric Lamp, E.A. Hawthorne, Mar 24, 1914,
362/197
; 362/208 -vertical tube with reflector a little down from
top. switch in top.
D44238 Ellsworth A. Hawthorne
(Hawthorne Mfg Co), Jun 24 1913, D26/29 - for 1090983
1094855 Reed-Hook, WINEIELD L. KEITH, Apr 28 1914,
362/119
; 28/204- used in weaving
1097910 Electric Flash-Light, William Broad, May 26, 1914,
362/194
; 429/97 - provision to replace battery chemicals & zinc
1101429 Automatic Annunciator, Genter, Jun 23 1914,
368/223
; 362/268; 362/293; 362/308; 362/812; 368/238; 40/473- projects
time and ads
1107040 Revolver Flash-Light, J.B. Conde, Aug 11 1914, -
362/110
- light attachment for revolver
D46279
Electric Hand Lamp, John H. Goehst (many paents assigned
to Federal something), Aug 18, 1914, D26/50 -
The wire at left did not seem to fit the top of a No. 6
Dry Cell and so was replaced with a phospor bronzestrap
spring to connect the negative battery terminal to the
back of the reflector. That wire spring might be
correct for a dry cell that has large posts with tapped
holes ?
The lamp uses white plaster of paris to hold the bulb and
is stamped: pat Nov. 8, 1904 See above
774404 Base for Incandescent Lamps, Alfred Swan (GE), Nov
8 1904 -
The lamp works fine on a 1.5 Volt dry cell (actually my
No. 6 Battery Adapter).
The bail is missing and can probably be replaced with one
from a paint can.
Reflector is silvered so a light application of silver
polish made it shiny. Also has a plano convex lens.
This has a resemblance to the Delta D46427 and the
Wheeling Stamping Co 1152082
Although the head has an appearance similar to a casting,
it's plated sheet metal with rust. |
 |
The metal strap on the No.
6 Dry Cell (adapter) is phosphor bronze and is very
springy.
The bail fits very well and came from a 1 gallon paint
can.
|

|
1101327 Attachment for Oilers, E.H. Philbrick, Jun 23 1914,
362/96
; 222/113; 362/191 - light for oil can
11018350 Electric Conductor, F. Farber, Aug 25, 1914,
362/198 362/21 -
metal box + cord lamp w/reflector + spike for use in mines. uses
low melting metal for wire so that a short will not cause a
fire.
1106828
Portable Electric Lamp, William J. Monaghan (Waterbury Mfg
Co), Aug 11 1914,
362/203 ; 200/60; 340/321 -
penlite
1079088 Flash-Light, F. Wysocki, Nov 18 1913, - cane or unbrella
handle
1095686 Electric Lamp for Small Firearms, A.L. Webb, May 5 1914, -
small lamp & lens to illuminate target
1120769 Flashlight Attachment for Firearms, OSCAR P. VILLAREJO,
Dec 15 1914,
362/114 - lamp & reflector
1122425 Portable Electric Flash Light, C.J. Sagebrecht (Interstate
Novelty Co), Dec 29 1914,
362/204 ; 200/551; 200/60;
362/189-short prevention
1122446 Portable Electric Light, C Wachtel (Interstate Novelty
Co), Dec 29 1914,
362/204 ; 200/60- short prevention
1128739 Attachment for Firearms, A. Weigel, Feb 16 1915,
356/247
; 42/146 - projects an aiming point
1132091 Lantern,G.W. & E.A. Hellstrand, Mar 16 1915,
362/186
- looks like kerosene lantern
1132173 Flash-Light, ARTHUR J. DUPONT, Mar 16, 1915,
362/184
; 340/321; 362/186; 362/191; 362/197 - uses tabbed PFL battery
References:
1074354 Flash-Light, ARTHUR J. DUPONT, Sep 30,
1913,
340/321 ; 116/35R; 362/197 -
a Pocket FL for mounting on back of hand
includes method of making special tab type
battery
1138542 Fishing Device, Conekin, May 4 1915,
43/8 ;
362/477- net with built-in lights
1143632 Illuminated Clock, Herbert Kienzle, Jun 22, 1915,
368/67
; 968/213-
Hipco Dual Lens Flashlight
1143966
Flash Light, T. HIPWELL, Jun 22, 1915, 362/204 ;
340/321 - uses two lens head - this is a very interesting
idea. The beam has a sharp edge between the
illuminated area and the dark area unlike ordinary
flashlights that have the main beam surrounded by light
direct from the lamp.
None of the threaded parts of the head are for adjusting
the beam, they all are tightened until something is
seated. Maybe by lamp selection or by using shims an
adjustment could be made to make the beam even brighter?
1149913
Flash Light, H.H. & H.T. Hipwell, Aug 10 1915, 362/205
; 362/208 - ribbed tube part of switch design which uses
center contact of lamp as one side of the switch.
Isolating lamp mechanically from battery. No way to
lock light on or off in patent. Actual flahslight
has dimple to hold switch off, but nothing to hold it on.
|

|

|

|
1701626
Method of and means for locating a light at focal point of
lens, Daniel
J Mccarthy, Chicago
Railway Signal & Supply, 1929-02-12, -
Optical system very similar to Hipco flashlight.
|
|
1144210 Tool, Robert Kincaid, Jun 22 1915,
362/120 ;
600/249; D8/87 - Flash-Light that has attachment points for a
variety of tools, car breakdown
1147501 Automatic Annunciator, JACOB H. GENTER, Jul 20, 1915,
368/234
; 362/268 - projects time and ads
1488085 Electric Spectacle, Goggle or Mask Light, L. Zachara, Mar
25 1924,
362/105 ; 2/435; 2/9; 351/158 - using a snap for
electrical connection, like today's 9 volt battery ?was this the
first use of a snap for electrical connection?
1148839 Flash Light, A.J. Harnack, Aug 3 1915,
200/60 ;
362/205; 362/310 - short prevention
1149913
Flash Light, H.H. & H.T. Hipwell, Aug 10 1915,
362/205
; 362/208 - cylindrical
1155100 Portable Electric Flash Light, C.J. Sagebrecht (Interstate
Novelty Co), Sep 28, 1915,
362/204 ; 200/60 - cylindrical
1155249 Flash Light, Harry M. Koretzky, Sep 28, 1915,
362/195
; 200/60 - inside a pocket watch case
1156229 Lantern, E. R. HIBBARD, Oct 12, 1915,
362/186 -
looks like RR type that has easily changed color filter
1581452 Watch Stand, Edward H. Krehbiel, Apr 20, 1926,
362/134-
matching watch pyramid and flash light pyramid
1168724 Electric Lantern, WILLIAM PRESTON HARTFORD, Jan 18, 1916,
362/186 200/60- uses PFL battery laying in bottom
1168351 Battery Lamp, F.W. Wakefield (F.W. Wakefield Brass Co),
Jan 18 1916,
362/190 ; 362/197; 429/97; D26/50 -
square section angle head
1173269 (Car Turn) Signaling Device, Heidemann, Feb 29 1916,
340/321
; 116/35R; 200/DIG.2; 362/103 - battery on left forearm, lamp on
back of left hand. button adajacent to left thumb
1174571 Battery and Switch Casing, Ellsworth A. Hawthorne
(Hawthorne Mfg Co), Mar 7, 1916,
220/4.02 ; 180/68.5;
200/43.15; 340/393.2; 340/396.1; 429/97 -
casting for motorcycle battery,
light and horn.
1183282 Weapon, Dinges, May 16 1916,
362/102 ; 463/47.4 -
baton with light in end
1183310 Flashlight, A.S. Lyhne,
362/208 -
1183311 Non-Short-Circuiting Fiber Case for Flash-Lights, A.S.
Lyhne,May 16 1916 -
1183816 Lamp, Ellsworth A. Hawthorne (Hawthorne Mfg Co), May 16,
1916,
362/475 ; 362/293; 362/309; 362/522 - bicycle head
light converts to tail light
1184396 Electrically Illuminated Shoe, John E. Trimble, May
23 1916,
362/363 ; 36/137; 362/103; 362/293; 362/295;
472/75 - batteries in heel lamp over laces
1186422 Electric Flash-light, JOHN C. MORGAN, Jun 6, 1916,
362/192
; 310/69; 310/77 - generator
1187103 Casing for Portable Electric Flash Lights, C.J. Sagebrecht
(Interstate Novelty Co), Jun 13 1916, - case moulded around
conductor strip
1187555 Portable Electric Flash-Light, C.J. Sagebrecht (Interstate
Novelty Co), Jun 20 1916,
362/205- cylindrical
1187565 Electric Switch for Portable Electrical Lights, B. Tauber
(Interstate Novelty Co), Jun 20 1916,
200/60 ; 200/551;
362/205; 362/310- switch for cylindrical F.L.
1187672 Illuminating Eye Shield, Stiefvater, Jun 20 1916,
362/105
- head mounted light
1192514 Self Propelled Vehicle, Arthur H.C. Gibson, Jul 25 1916,
180/223
; 180/13 - Eveready Autoped Scooter
1192515 Self Propelled Vehicle,Arthur H.C. Gibson, Jul 25 1916,
180/223
- Eveready Autoped Scooter
1193031 Portable Flash-Lamp, H. E. Leininger, Aug 1, 1916, 362/191
; 362/198 - reading lamp hooks to book
1198660 Flash Light, A.C. Recker Waterbury Mfg Co), wp 19 1916,
362/205-
spring in electrical circuit?
1132751 Portable Electric Light, B. Tauber (Interstate Electric
Novelty Co), Mar 23, 1915,
200/60 ; 200/547; 362/205
1151114 Flash-Light, G. Matthies, Aug 24 1915,
362/157 ;
135/910; 340/321- umbrella or cane handle
1167266 Music-Lyre, F.A. Bua, Jan 4 1916,
359/801 ;
359/805; 362/99-
1194986 Illuminating Device, D. T. Finkbeiner, Aug 15, 1916,
362/87
; 362/155; 362/197; 429/97; 451/451 - box holds cylindrical cells
and lamp sits on top with shade
1198734 Electric Lantern, E. LUDESCHER, Sep 19 1916,
362/186
; 340/321; 340/473 - cylindrical with four reflectors
1206095 Flash-Light Mace, A.J. Coy, Nov 28 1916,
362/102 ;
463/47.4- police club spring lamp isolation
1206275 Portable Electric Light, C, Watchel (Interstate Electric
Novelty Co), Nov 28 1916,
200/60 ; 200/547; 362/205;
362/310-
1209932 Hand Generator, P. BRADLEY, Dec 26, 1916,
310/75B
; 188/184; 362/192; 74/131- generator
1210225 Flash-Light Device, F.C. Smalley, Dec 26 1916,
362/205-
short prevention
1121329 Electric Light Attachment for Levels, P.E. Curtis, Dec 15,
1914,
33/348.2 ; 362/184 -
1205633 Portable Electric Light, C. Hubert, Nov 21 1916
362/186-
looks like kerosene hurricane lamp
1207748 Electric Lantern, PAUL GRUNEK, Dec 12, 1916,
362/186
- two No. 6 Dry Cells area light
1211465 Flash Light, J.J. McGuckin, Jan 9 1917,
362/208-
bumps or flats to pervent rolling
1213754 Flash Light Lamp, F. David (enterprise Electrical Novelty
Co), Jan 23 1917,
362/206 ; 362/208 - about the switch,
not the lamp
1214916 Lamp, Ellsworth A. Hawthorne (Hawthorne Mfg Co), Feb 6,
1917,
362/375 - tail & licence light battery powered
1215043 Search Light, M. Matz, Feb 6, 1917,
362/105 ;
429/99; 600/249- forehead mounted
1215171 Sight Light for Firearms, Clifford A. Lewis, Feb 6 1917,
356/247
; 362/110; 362/114; 362/268; 42/114 -
1215757 Flash-Light, William L. White, Feb 13 1917,
362/191 200/60
200/85R 200/DIG.9 362/196 - turns itself off
1218162 Portable Light, E.H. Becker, Mar 6, 1917,
362/198 362/194 -
conventional looking flashlight + cord to large box
battery. Has the look and feel of the Peak Beam.
1226607 Phonograph Lamp, Paul Gillen (Hudson Brass Works ), May
15, 1917,
362/87 ; 362/197 two cell light mounts inside
box
1227012 Flash-Light or Electric Torch, M.H. Spielman, May 22 1917,
- Cane with screw cap switch
1227013 Flash-Light or Electric Torch, M.H. Spielman,May 22 1917,
- single AA screw cap is switch
1227893 Combination Dinner Pail, F.K. Delzell, May 29 1917,
362/156
; 340/321 - contains thermos bottle and built-in light
1229358 Diagnostic Instrument, H. Weder, Jun 12 1917,
600/245
; 362/200; 600/200; 600/241 - light for ears, throat
1223167 Battery Receptacle, Ellsworth A. Hawthorne (Hawthorne Mfg
Co), Apr 17, 1917,
429/97 ; 174/50; 200/302.1 - battery
box for light and horn on motorcycle
1232962 Watch, E.P. Olsen, Jly 10 1917 - adds light inside pocket
watch
1238849 Lamp Socket, G.W. Wacker (National Carbon Co), Sep 4 1917,
- a disk with hole
1243600 Illuminated Music-Lyre, GEOKGE A. HAMBRIGHT, Oct 16 1917,
362/99 -
1244819 Light Projector and Tongue Depressor, Young
(Throt-A-Lite), Oct 30 1917,
600/241-
1248688
Portable Electric Lamp, E. Ludescher, Dec 4 1917,
362/187
; 362/186- provides light to the sides as well as a focused beam
1250545 Flash Light, B. Benedict (Beacon Minature Co), Dec 18
1917,
362/204 ; 200/60; 362/208- sheet metal strap holds
minaturre screw base lamp - short prevention
1253846 Combination Case for Flash-Lights, A.S. Lyhne, Jan 15
1916,
362/205- extension to make 2 or 3 cell F.L. by just
adding section
1255256 Theatrical Runway, J.W. Witehead, Feb 5, 1918
362/198 52/28 108/23
182/179.1 362/97.1 -hidden lights + mirror
1258022 Illuminated Device, John A. Kray, Mar 5 1918,
116/173
; 362/195; 362/806 - for flag
1259816 Vehicle Lamp, C.M. Wilson, Mar 19, 1918
362/198 200/60 - maybe No. 6 battery based.
1260067 Portable Flash Light, J. Samach (Enterprixe Electric
Novelty Co), Mar 19 1918,
362/205 ; 362/202- ?
1261824 Portable Electric Light, HEURY LA VINE, Apr 9 1918,
362/103
; 351/158; 362/241; 362/350 - look like eye glasses with
reflectors above eye line
1263667 Flash-Light Attachment for Firearms, E.M. Henderson, Apr
23 1918, - pistol with provision to raise or lower beam to match
trajectory
1271735 Illuminated Watch Holder, BENJAMIN F. LOCKWOOD, Jul 9
1918,
362/103 ; 116/DIG.36; 362/23; 368/10- on the back of
a glove
1272808 Trench Flash-Light, J. Janovsky Interstate Electric
Novelty Co), Jul 16 1918,
362/197- Angle Head casts light
downward in trench to hide trench position from enemy
1274263 Combination Head-Lamp and Flash-Light, C.G. Hamilton, Jul
30 1918,
362/105 ; 362/202- head is removable and
straps and wires store in flash light body, one cell
1274713 Portable Lantern, Hoffmann (Germany), Aug 1918,
362/200
- bicycle or house type with complex snout to aim light in
different directions
1286800 Battery Lighting Outfit, WALTER B. SCHULTE (Buress Battery
Co), Dec 3 1918, - head lamp, three battery cylinder fits shirt
pocket, reflector and lens
1287250 Flash-light, Dailey, Dec 10 1918,
362/190 ;
340/321; 362/106 - head is removable whil operating to me head
mounted with band
1287186 Flash-Light, P.M. Beard, Dec 10 1918,
362/184 ;
340/321; 362/205 - dual lamp - cylindrical
1287262 Portable Electric Light, J.T. Drufva
(HENRY HYSTAN a Co), Dec 10 1918,
200/60 ; 362/205;
362/310-
RE15249 Portable Electric Light,
JOHN T. Drufva, Dec 20, 1921, 200/60 -
1287919 Portable Electric Light, J.T. Drufva(H. Hyman & Co)
,Dec 17, 1918 - short prevention
1288456 Telephone Attachment, R.C. Groh, Dec 17, 1918,
362/88
; 362/208; 379/442 - a pull chain lamp fixture to illuminate the
dial on a candlestick phone
1289274 Portable Electric Light, H. Rothenberg (H. Hyman &
Co), Dec 31 1918,
362/205- cylindrical unit battery has
insulating case
1289459 Battery Hand Lamp, CAUL HAMBTJECHEN (National Carbon
Co), Dec 31, 1918,
362/204 ; 200/60-
1291710 Flash Lamp, John J. B. Arter, Jan 21, 1919,
362/184
- map can be inserted in transparent barrel extension between lamp
and lens
1296404 Flash-Light, H.M. Koretzky, Mar 4 1919,
362/208 200/60
-
3 eyelet switch
1297657 Battery Hand Lamp, C.F. Burgess (Burgess Battery Co),
362/205
362/208 - wood reflector to allow attaching with brads
1298362
Furniture, M. Lewry, Mar 25 1919,
362/130 362/208 -
battery in column with lamp sticking out
1299908 Battery Hand Lamp, C.F. Burgess (Burgess Battery Co), Apr
8 1919
1299909 Battery Hand Lamp, C.F. Burgess (Burgess Battery Co), Apr
8 1919,
362/204 - short prevention References:1084926
1299910 Battery Hand Lamp, C.F. Burgess (Burgess Battery Co), Apr
8 1919,
1299911 Battery Hand Lamp, C.F. Burgess (Burgess Battery Co), Apr
8 1919,
1316431 Portable Lighting Device, ROBERT DIXON, Sep 16, 1919,
362/194
191/12.2R -
a box holding cells and a window
shade roll with wire wrapped around it & removable lamp +
reflector.
Since the window shade roller is wood electrical contacts and be
made to each end which are insulated from eachother.
1302715 signaling Instrument, L.B. Salt, May 6 1919,
178/115 340/321
362/157 362/208 - Morse Code key behind flash light
1304856 Combined Flash-Light and Mirror, C.W. Dalberg, May 27,
1919,
362/196 132/288 206/38 - very much like Conrad's
but with mirror
1305844 Signaling Device, N.H. Tunks, Jun 3 1919 - in theatre an
illuminated sign with variable number of "SEATS" to guide patrons
1308809 Lamp, B.J. Reese, July 8, 1919,
362/190 D26/39 248/688 362/191 362/198 - clay
base to allow easy aiming
1315556 Portable Electric Light, W. D. Kahn (Import Sales Co), Sep
9, 1919,
362/197 362/208 - 3 cells rectangular box
reflector on large face
1319997 Detachable Holder for Battery Lamps, Galloway, Oct 28
1919,
362/107 ; 2/195.5; 24/12; 24/340; 24/532; 24/545;
24/563; 362/202; D26/38 - clips and wire holder
1320574 Flash Light Attachment for Traveling Bags, R.E. Robinson,
Nov 4 1919,
362/156- carrying bag works like carrying a
falsh light - cleaver
1330974 Combined Flash and Trouble Lamp,
1331959 Door Knob with Illuminating Means, R.A. Elfstrom, Feb 24
1929,
362/100 362/208 -
1331320 Miner's Lamp, LOUIS CHOMIEK, Feb 17, 1920,
362/184
; 362/186 - storage battery (lamp looks like PFL
1332868 Flash-Light, G. Frankel, Mar 2 1920 - cylindrical
1333427 Lamp and Reflector Holder for Flash-Lights, H.M. Koretzky
(J. Satlow),
362/208 -
1340550 Battery Hand Lamp, T.J. Madigan, May 18 1920 - cylindrical
w/lens
1334835 Flash-Light, Bryant, Mar 23 1920,
362/206 ;
200/60- rotating switch on cap
1337292 Light Attachment for Fishing-tackle, E.J. Timmons, -
1346138 Flash-Light Device, P.C. Smalley, Jly 18 1920 -
cylindrical
1347423 Flash Light, J. Vince, Jul 20 1929,
362/203 362/208
43/17.5
- one piese double ended spring lifts reflector-lamp above battery
and pushes bottom of battery away from cap, so unscrewing cap
opens circuit
1349360 Keyhole-Illuminating Device, Geoge E. Bates, Aug 10, 1920
362/100 ; 70/DIG.59 - mounts on door
1353348 Portable Hand Lamp, H.M. Koretzky (J. Satlow), Sep
21, 1920,
362/208 -
1358639 Electric Torch, A.A. King, Nov 1920,
200/60 ;
200/277; 200/DIG.29; 340/321 - reflector, lens
1360477 Portable Electric Light, Charles Wachtel (Interstate
Novelty Co), Nov 30 1920,
362/205 ; 200/60 -
1360575
Seat Indicator Attachment for Flashlights, PERES A. PINTO, Nov 30
1920,
40/555 ; 340/321; 3621360477 Portable Electric
Light, Charles Wachtel (Interstate Novelty Co), Nov 30 1920,
362/205
; 200/60 - projects a spot of light to show where the seat is
1362177 Search or Pockel Light Support, PETRIE, Dec 14 1920,
248/688
; 362/382- bi-pod for cylindrical flash light allow it to be aimed
up when sitting on the ground or a table
1362324
Illuminated Signal Indicator, B.N. Carl, Dec 14, 1920,
116/35R
340/321 362/109 362/208 362/310 362/806 428/31 - automobile
hand signal looks like glove on end of flashlight
1362432 Flashlight Attachment for Firearms, CORA M. MASTERS, Dec
14 1920,
248/229.1 -
1364393 Battery Hand Lamp, T.J. Madigan (J.O. Schwank), Jan 4
1921,
362/208 362/206, - cylindrical with handle
1365885 Portable Electric Light, Bernard Benedict (not assigned),
Jan 18, 1921,
362/204 - short protection
1369644 Safety
Lamp, F.T. Forster, Feb 22, 1921,
362/198 362/21
439/240 - for use in mines. Rectangular metal box + cord and
lamp (
Festoon
base) for cap mounting.
1373611 Portable
Electric Light, D.L. Graff, Apr 5, 1921, 362/197 ; 429/99- looks
like roll film camera
1378839 Signal for Dining Tables, N.B. Cregier, May 24 1921,
362/190
; 131/231; 144/230; 340/321; 446/477; 446/485- in restaurant to
signal waiter
1380034 Dry Cell, William Balderston (FRench Battery Co), May 31,
1921
429/134 ; 362/205; 429/171-
1380091 Electric Lantern, D. BRARKTERD, May 31, 1921,
362/191
; 362/197- darkroom use ?No. 6?
1382440 Yeilding Terminal for Dry Battery Cells, A.C. Becker, Jun
21, 1921,
362/202 362/208 429/99 -
1386474 Flashlight, J. Vince, Aug 2 1921,
362/203 324/506
362/208 - long tail spring holds reflector-lamp away from top of
battery
1397610 Combined Cigarette or like case and Electric Torch, SAMUEL
A. APPELL, Nov 22 1921,
362/156-
1399598 Flashlight Generator, Anderson, Dec 6 1921,
362/192
; 310/69 -
1404258 Battery Hand Lamp, Alschuler, Jan 24 1922,
362/206
-
1404259 Battery Hand Lamp, Alschuler, Jan 24 1922,
362/206
-
1408528 Focusing Device for Electric Lamps, A.S. Lyhne, Mar 7 1922
- cylindrical, expensive mechanism
1267262 Battery, WILLIAM BALDERSTON (French Battery & Carbon
Co), Jan 24, 1922, - railroad type
1404077 Flash Light, J Vince, Jan 17 1922 - a single wire for the
spring, switch and path to bulb, cylindrical
1404362 Electric Flash Lamp, M. Goodfellow (Eveready UK),
Jan 24 1922,
362/196 - outer casing is a
sleeve open at both ends when inner casing is extended lamp is on
1408527 Flash Light, S. Lyhne, Mar 7, 1922,
362/190 ;
362/197; D26/37 - angle head with lens, doesn't roll, lay down an
aim, clip on clothing, stand on end,
1411430
Incandescent Lamp-Tester, Joust Graves (French Battery &
Carbon Co), Apr 4, 1922,
324/414 - for checking flashlight
bubs
1411613 Flash Light, F Evans (L.V. Aranson), Apr 4 1922,
362/192
; 310/69 - generator
1411614 Flash Light, F Evans (L.V. Aranson), Apr 4 1922,
362/192
; 310/69 - generator
1411615 Flash Light, F Evans (L.V. Aranson), Apr 4 1922,
362/192
; 310/73; 310/75B; 74/130 - Generator powered Pocket Flash Light
1420167 Electric Pocket Lamp, Jun 20, 1922, 362/196- two batteries
side by side with a long lamp sitting between them. lamp wired
into product for lower cost
1421093 Flash Light, Leslie C. Matson, Jun 27, 1922,
362/184
- lamp at each end
1421399 Battery Hand Lamp, C.F. Burgess (Burgess Battery Co), Jly
4 1922 - cylindrical with candle mode
1422331 Adapter, F.T. Baird, Jul 11 1922,
362/208 362/186
- RR battery connection
RE15811 , F.T. Baird, Apr 8 1924,
362/157 362/208 -
1427138 Umbrella Handle Lighting Device, Walicki, Aug 29 1922,
362/157
; 135/910; 362/102 - "T" handle, switch has point that grounds
battery
1431822 Trouble Light for Automobiles, L. Lamb, Oct 10 1922,
362/208
191/12.2R -
1432254 Aim Indicating Apparatus for Firearms, Paterson, Oct 17
1922,
362/112 ; 42/132 - rifle shape projects short
duration flash of light
1432348 Electric Lantern, A.S. Lyhne, Oct 17 1922,
362/197 362/208
429/97 - two D or two F dry cells rectangluar reflectro on large
face
1434780
1436798 Flashlight, Fred Evans (Louis Aronson ?Art Metal)
Nov 28, 1922,
310/152 ; 362/192 - generator
1438531 Flash-Light, C.C. Keller, Dec 12 1922,
362/196 362/205
425/441
- case design
1441822 Flash Light, E.R. Barany (Franco Electric Corp), Jan 9
1923,
362/208 362/458 - multiple reflection
1441883 Flash Light, J.T. Roffy, Jan 9, 1923,
362/205 362/208
- dropping does not break lamp
1443089 Portable Lamp, W.D. Kahn (Diamond Electric Spec), Nov 7
1922 - cylindrical
1445193 Battery Hand Lamp, ERNEST ALSCHULER, Feb 13 1923,
362/204
- Short prevention
144656 Flash Light Attachment for Guns, J.P. Hise, Jun 29 1915,
362/110-
on top of Henry (?) rifle
1447405 Lens Ring, E.R. Barany,(Franco Electric Corp), Mar 6
1923,
362/208 - with flats
1448352 Flash Light, Barany (Franco Corp), Mar 13 1923,
362/184
; 340/321
1448353 Flash Light, Barany (Franco Corp), Mar 13 1923,
362/184
; 340/321- three lamps and reflectors behind one glass w/three
switches
1448354 Flash Light, Barany (Franco Corp), Mar 13 1923
1451618 Flash Light, HABRY M. KOKETZKY, Apr 10, 1923,
362/203
; 200/60 -
1455938 Signal Lantern, Rode et al., May 22 1923,
362/184
- kerosene shape with five lamps of different colors on
wheel for easy change
1460149 Flash Light , E.R. Barany,(Franco Electric Corp), Jun 26
1923,
1460150 Flash Light Battery Thrust Cap, E.R. Barany,(Franco
Electric Corp), Jun 26 1923,
362/208 - flat sheet
metal spring
1461600 Combined Light and Firearm, Sylvester P. Cottrell, Jul 10
1923,
42/146 ; 362/114 - see followup patent 1557805 - not
a practical gun
1466350 Flash Light, E.R. Barany,(Franco Electric Corp), Aug 28
1923,
362/184 ; 340/321 - looks like two flashlights
joined at the cap
1466779 Combined Cigar Lighter and Flashlight, Arthur E. Anakin
(Anakin Protection Mfg Co), Sep 4 1923,
362/109 ; 431/128;
431/202; 431/253
spark ignites alcohol on asbestos
torch when torch is removed from alcohol storage container
1462207 Battery Lamp, E. J. Moeachron (French Battery & Carbon
Co), Jul 17, 1923,
362/202 ; 340/321-
1471682 Portable Electric Lantern, Carter B. Burnet (W.W.
Slaymaker),
362/192 - Jack-O-Lite "Crank" pg 7 FCN#39
1472335 Magneto Flash Light, A. Luzy, Oct 30 1923,
362/192
; 185/29; 185/40B -
1478282 Flashlight, Robert Hunter, Dec 18 1923,
362/187 ;
362/191- adjustable lens to lamp distance
1479592
Flash Light, Fred Evans (L.V. Arnson), Jan 1 1924, - disk
hangs from ceiling and a pull cord hangs below
1481224 Hooded Examining Lamp, Pimienta, Jan 15 1924,
362/105 ; 359/481; 362/184 - like eyeglasses
1487502 Magneto Flash Lamp, J.J. Wood (GE), Mar 18 1924,
362/192
- built-in generator
1490690 Flash Light Bulb Support, E.R. Barany,(Franco Electric
Corp),Apr 15 1924,
362/208 362/202 - flat sheet
metal spring
1504003 Fan Attachment for Flashlights, A.F. Trumbull, Aug 5 1924,
416/5 362/208 - head remlaces reflector with combined fan
& reflector-lamp.
1506471 Electric-Battery Lamp or Lantern, GEORGE ARTHUR HENRY
WOOTTON, Aug 26, 1924,
362/187 -
1507768 Portable Electric Light, B. Collins, Sep 9 1924,
362/192
; 200/60; 310/156.42; 310/268- electric generator inside
Use # 49 lamp and grind off
metal tips and make grooves.
D65913 Flash Light, William F. Hendry (Manhattan Electrical Supply
Co), Nov 4, 1924,
D26/49 - multi "D" cell?
1517180 Helmet Emergency Light, Timlin, Nov 1924,
362/106
- fireman's helmet light
1520025 Switch for Portable Electric Lamps, H.H. Hipwell, Dec 23,
1924,
200/60 - prevents accidental sliding of switch thus
preventing wasting the battery
1520297, Flash Light, HOKATIO MCKENNA, Dec 23, 1924,
362/205
- focusing screw based lamp
1512467 Flash Light, G I. Johnson, Oct 21 1924,
362/192 ;
310/69 - lever operated generator
151248 Flash Light, G I. Johnson, Oct 21 1924,
362/192 ;
310/50 -
D62329 Flash Light, Gustaf I.
Johnson, May 8, 1923, D26/49 -
D63402 A Lever for Flash Lights, Gustaf I. Johnson, Dec 4 1923,
D26/113 ; D8/DIG.2 - goes with D62329
1515135 Illuminated Globe, A. S. ALEXANDER, Nov 11 1924,
434/143
; 362/269; 368/24; 434/145; D26/94 -
mains powered lamp illuminated
half globe with adjustable solar declinatoin for the seasons
1516133
Ophthalmoscope Connection for Dry Battery, W.N. Allyn, Nov 18,
1924,
403/348 285/376
351/221 362/198 362/804 429/98 439/314 -
1523158 Illuminating Timepiece, J.M. Angeletti, - adds light to
pocket watch
1524205 Electric Lamp, J. Papke, Jan 27, 1924,
362/208 340/321
362/191
- adjustable glass cap allows beam or area illumination
1528709
Testing-unit attachment for flash lights,
Curtis
R Trimble, 1925-03-03, - replace tail cap
1532493 Signal Light, W.V. Ivie, Jly 27 1921 - strapped to back of
hand
1544236 Portable Fladhlight, W.D. Kahn (Diamond Electrical
Specialties Corp), Jun 30 1925,
362/188 362/196 362/197
362/207 - 3 cells in rectangualr box, reflector on large face
1551742 Flash Light Attachment for Guns and Object Indicators,
J.P. Hise (Hise Gun Flash Light Co), Sep 1, 1925,
362/187
; 362/110; 362/191; 43/17.5
- uses a two lens system so that
the beam diameter can be varied to match the shotgun pattern
1530862 Electric Illuminating Device, T.J. Thompson, March 24,
1925,
362/198 429/99 D28/45
D26/45 - looks like grease gun with cylindrical batteries in
handle and lamp at end of extension rod.
1548225
Flash Light, L.M. Topoosian, Agu 4, 1925,
362/198 D26/46 - Glass lens molded with
threads so it screws directly onto body of flashlight. Can
also be used as electrical continuity tester (1995476).
1550453 Flash Light, C.L. Pickens, Aug 18, 1925,
362/187 362/198 - mounts to forearm with
battery in pocket connected by cord.
1557805 Combined Light and Firearm, Sylvester P. Cottrell, Oct 20,
1925,
42/59 ; 362/114; 42/146 - also see 1461600
1560278 Portable Apparatus for Identifying Electrical Conductors,
W.J. Mahn, Nov 3 1925,
324/66 ; 324/507;
324/542; 362/202; 379/21; 379/25
1565173 Illuminating means for Smokers, George Lyeso (Mike
Herb), Dec 8 1925,
362/109 ; 131/178 - pipe with
mazda bulb wires to remote battery
1576983 Electric Flash Light, Joseph Masked, Mar 16, 1926,
362/192
1584454 Portable Electric Lamp, H.M. Koretzky, May 11, 1926,
362/208
-
1590623 Flashlight, William F. Hendry (National Carbon Co), Jun
29, 1926,
362/205 ; 200/60 - simple easy to construct
switch
1590624 Flashlight, William F. Hendry (National Carbon Co), Jun
29, 1926,
362/204 ; 200/60
1591980 Flash Light, W W. JONES (National Carbon Co), Jul 13 1926,
362/202 ; 362/191; 362/207-
1595146 Flash Lamp, Ford, (French Battery Co), Aug 10 1926,
362/203
- spring holds lamp away from battery until cap is screwed tighter
1595896 Telephone Attachment, I. Levine, Aug 10, ,1926,
362/191 362/88
362/198 248/229.16 - dial light for candlestick phone.
1597823 Light Projecting Attachment for Shoes, Randolph, Aug 31
1926,
362/103 ; 36/137; 472/75 -
1599095 Flash-Light Device, E.H. MCCABE (French Battery Co), Sep 7
1926,
362/207-
1599113 Flash Light, W.W. Cargill (French Battery Co), Sep 7 1926,
- prevent cells from injuring lamp
1604568 Electric Torch, CHARLES EARNER, Oct 26, 1926,
362/186
- similar to the May Baby Torch

|
| 1599499 Battery Light, St.
John (AT&T), Sep 14 1926, - angle head |
1608195 Portable Electric Flash Lamp, E. R. Barany (French Battery
Co), Nov 23 1926,
362/188 ; 362/205 - cam used to focus
screw base lamp
1612538 Flashlights, James L. Shannon, Dec 28, 1926 -
362/202
- mechanical cushion between lamp and battery
1612579 Hand Lamp, William F. Hendry (National Carbon Co), Dec 28,
1926,
362/205 ; 200/60 - simple, easy to take apart,
combined spring switch
1623807
Method of making flash-light casings,
Erastus
G Oakley,
Bridgeport
Brass Co, 1927-04-05,
72/82; 362/205; 72/349; 72/370.2 -
1624686 Flash Light, R.J. Smith, Apr 12 1927,
362/192 -
Bat-Les Lite Corp - spring wound generator with speed/brightness
control screw base bulb
1638716 Spotlight, L.O. Surles, Aug 9 1927,
362/205 362/208
- focus screw based lamp
1644125 Flash Light Case, D.W.C. Harris (Burgess Battery Co), Oct
4 1927,
362/196 ; 362/205; 362/207
1644126 Flash Light Case, D.W.C. Harris (Burgess Battery Co), Oct
4 1927,
362/205 362/202 362/208 - splits on long
axis
1649638 Flash-Light Attachment, W.P. Wood, Nov 15 1927,
362/208
D26/46 - substitute red lens as warning signal for
stranded motorist
1649882 Electric Flash Light, B.B. Wolcott (F.L. Sessions), Nov 22
1927,
362/203 362/208 - simple
switch mechanism
1653669
Combination Flashlight and Circuit Tester, B.M. Rzdyz ,Dec 27,
1927,
324/506 ; 362/253 - F cell flashlight with terminal
1655601 Spring Driven Generator Electric Lamp, Fisher, Jan
10 1928,
362/192 - generator
1656067 Flashlight, William F. Hendby (), Jan 10, 1928,
362/205
- switch mounts without rivits or screws 3 "D" goes with D65913?
1658189 Flashlight Standard - support for cylindrical FL
1666420 Flash Light, H.M. Koretzky (Bright Star), Apr 17
1928 - bail on switch to stand at angle, cylindrical
1664506 Game Device, E.W. Gates, Apr 3 1928 - volcano simulation
1668847
Means adapting electric flash lights for testing electric
circuits, Leonard T Hook, 1928-05-08, - test leads plug into tail
cap (or just swivel mounted).
1672797 Flash Light, Rene Amat & Willard Blake, Jun 5 1928,
362/192-
generator
1676849 Flash Light, E.R. Barany (French Battery Co), Jul 10
1928,
362/205 200/60 362/208 - simplified
switch structure
1680800 Flash Light, Charles Osean (National Carbon Co_, Aug 14
1928,
362/188 ; 362/207-
1680484 Extra-Bulb Carrier, FRANK G. STIMSON (YALE ELECTRIC Corp),
Aug 14 1928,
362/207 - spare in cap and isolated from
shocks
1687483 Electric Lamp and Support Therefore, H.M. Koretzky, Oct 9
1928,
362/208 362/154 362/190 362/203 D26/46 -
reflector can be attached to base so stands up with bare lamp
1692394 Flash Light, A. Sundh, Nov 20, 1928,
362/198 362/387 340/321 - cord is wound on
spool and can be pulled out.
1692549 Electric Post Lamp, A. CAEVAJAL DE CASTRO, Nov 20, 1928,
362/124
; 362/199; 362/282 - doll acts as light diffuser when flashlight
is in candle position
1693348 Flash Light Safety Razor, Frank Pollifrone, Nov 27 1928,
362/115
; 30/34.05; 30/531 - head just below blade
1702101 Flashlight Attachment for Firearms, P.P. Basterreix, Feb
12 1929,
362/396 248/229.24 362/110 362/208 - Flashlight
under shotgun barrel
1717386 Flashlight Holder, Samual Kaplan, Jun 18 1929 ,
362/108
- holds cylindrical flashlight on top of shoulder
others:
1344073 Flash Light Holder, THEODOSIUS ALBEBT WILLIAMS, Jun 22
1920, 248/175 ; 362/190; D26/38 - wire sawhorse &
allows tilting
4307862 Flashlight Holder, Robert C. Claussen, Dec 29, 1981,
248/121; 248/435
4390927 Bicycle Flashlight Holder, Donald E. Von Feldt, Jun 28,
1983, 362/72; 362/191; 362/396
1729660 Film Viewer, THOMAS FARMER, Oct 1, 1929,
352/129 ;
356/64; 359/801; 362/109; 362/9; 40/364 - added mirror and
lens
1731438 Flash Light, P.R. Pluckett (Bond Electric), Oct 15 1929 -
cylindrical
1734230
Combined Searchlight and Fuse Tester, Nathaniel Roe, Nov 5, 1929,
324/507 ; 200/60; 362/205 - cap has socket for Edison base
fuse
1738725 Flash Lamp, H.T. Hipwell, Dec 10, 1929,
362/191 ;
D26/46 - improved battery cap
1740314 Combined Flash Light and Telescope, E.H. Pitney, Dec 17
1929 - remove batteries and look through
1752196 Radio Apparatus, Ronald E. Patrie, Mar 25 1930,
455/344
; 313/312; 313/51; 362/205; 362/310; 455/347; 455/351
Combined Flashlight and single
tube regenerative recciver.
1755385 Combination Electric-Lighting Apparatus, E. BEIDLER, Apr
22, 1930,
362/183 ; 362/190- candlestick phone stand with
candle that can be powered from internal battery or external power
source
1755472 Electrical Flash Light, J.J. Darlington, Apr 22, 1930,
362/198 D26/44 -
light head on telescoping wand.
1756785 Optical Measuring Device, GEORGE B. GALLASCH (B&L),
Apr 29 1930,
356/632 ; 356/397; 356/448-
1758125 Emergency Light Connector, R.J. Owens, May 13 1930,
362/191
362/208 - when power fails, unscrew line powered light bulb
and use flashlight adapter rear cap to secrw FL into socket
1759246 Hand Lamp, R.R. Smith (National Carbon Co), May 20, 1930,
- explosive atmoshpere
1761725 Method of and Apparatus for Producing Standard
Illumination, A.C. Hardy (GE ), Jun 3 1930,
315/306 ;
356/232; 362/109; 362/5 - light meter works by using a bridge and
push button to regulate the current through the lamp so a standard
value.
1763815 Flash Light, Pajeau (Toy Tinkers Inc), Jun 17 1930,
362/197
; D26/37 - has swivel joint between the two cells
1776960 Combined Ophthalmoscope and Slit Lamp, A.E. Turville, et
al, Sep 30 1930 - eye testing
1770902 Flashlight, G. C. Fullmer (Bridgeport Metal Goods), Jul
22, 1930, - improved switch has wiping action
1771754 Adjustable Flash Light Support, Haunstein, Jul 29 1930,
248/175
; 362/427; D26/140- wire frame
1773834 Figure Toy, A. J. Wilson, Aug 1930,
446/351
; 200/DIG.8; 362/124; 446/353; 446/485 - toy animal with eyes that
light up when it mover or when the tail is moved
1775166 Flash Light, G. I. JOHNSON, Sep 9 1930,
362/192 -
lever enerator
1778800 Flash Light, William F. Hendry (National Carbon Co), Oct
21, 1930,
362/187 - spring between reflector and lamp
socket
1780779 Portable Electric Lamp, W. Burnett (Modern Coal Burner,
Nov 4 1930 - mining, expolsive
D84456 Flash Light Head, Louis A. Bean, Jun 23, 1931,
D26/128
- rectangular head oval glass opening
D82853 Flash Light Casing, James L. Shannon, Dec 16 1930,
D26/49
- pattern on cylinder
1806318 Diagnostic Instrument, E.D. Tilver (AO), May 19 1931 - eye
testing
1807501 Flash Light Holder, J.R. Alexander, May 26 1931,
248/229.14
; 362/396 - like for bicycle handlebar or cane, umbrella etc
1808640
Photographic flash light device, Jr Louis L Driggs, Henry B Faber,
1931-06-02, - uses a flare pistol to fire a flash cartridge and
also push the shutter release cable. See:
AN-M8
1816065 Flash Light, F. A. Weidman, Jul 28 1931,
362/184 ;
340/321 - cap has jeweled colored lens and lamp
1816779 Lighting Device for Key Rings, A.L. Jeanneret (Comptoir
General de Vente...), Jul 28 1931,
70/456R ; 362/116;
368/278 -
similar to a pocket watch case
1819954 Automatic Shooting Machine, FBIEDRICH GLAUS HEINHICH
HANSEN, Aug 18, 1931,
463/55 ; 362/112 - shooting gallery,
photo electric scoring
1820082 Crooked Hole Indicator, L.A. McLain, Aug 25 1931 - for oil
well bore holes
1820960 Flash Light, Champagne, Sep 1 1931,
362/197 -
45 degree joint allows cylindrical or any angle
1822619 Multicolor Flashlight, MorrisS Grossman, Sep 8 1931,
362/191
; 362/197; 362/295 - like bicycle light with 2 color filters and
rheostat to prolong lamp
1824449 Cane, Sjoberg, Sep 22 1931,
135/66 ; 135/910;
362/102- with light
1828543 Telephone Light, C.C. Phillips, Oct 20, 1931,
362/88 362/802
362/198 - dial light for candelstick
1828778 Electric Torch, JOHN LISTER (Eveready Co, UK), Oct
27, 1931,
362/158 ; 362/187 - Explosive Atmosphere
1832563 Electric Flash Light, G. Kuhn (Kuhn-White Labs), Nov 17
1931,
362/197 362/208 - 45 degree joint with rotation
makes straight or angle head
D85670 Flash Light, M.A. Smith, Dec 1 1931,
D26/49 - has
the feel of a generator, but?
1838306 Flash Light, Herman G. Graubner (National Carbon Co), Dec
29, 1931,
362/191 ; 362/253 - police whistle in battery
cap
1845764
Combined Snap and Testing Switch for Flash Lights, C.E. Pryor, Feb
16, 1932,
200/60 ; 324/507; 337/15; 362/206; 362/310 -
tail cap terminal for testing fuses, etc
1853271
Flash Lamp Structure for Cameras, H.T. Hipwell, Apr 12, 1932,
396/184
-
a spring when released both
compresses air in a cylinder to trip the shutter of a camera
using an air type remote shutter and at the same time fires
flash bulbs.
1853272 Flash Lamp Structure for Cameras, H.T. Hipwell, Apr 12,
1932,
396/184 ; 200/547 -
The attachement is a spring loaded air pump that's connected by
hose to the bulb socket on a camera shutter. Air type cable
releases are/were common. When the trigger on the air pump
is pressed the camera makes an exposure and a switch complets the
circuit firing the two flash bulbs. I've hand sketched the
two Edison base flash lamps and the reflectors that are behind
them.
The label calls this a "Synchronous Speed Gun".
"Gun is short from Flash Gun. A very popular press 4x5
camera was the "Speed Graphic".
756614 Camera, William F. Folmer (Folmer & Schwing), Apl 5
1904,
396/327 ; 396/15 - stereo camera
804802 Camera, William F. Folmer (Folmer & Schwing), Nov
14, 1905,
396/437 -
843140 Camera, William F. Folmer (Folmer & Schwing), Feb 5,
1907,
396/479 ; 396/354 - Speed Graphic camera focal plane
shutter
It's still not clear why the "Speed" word.,
maybe cashing in on the then very popular Speed Grafic camera?
961021 Flash Light attachment for Cameras is a
prior art device. When an air bulb is squeezed the camera
shutter is activated and a pneumatic cylinder striks sparks into
flash powder.
1849701 Speculum, W.N. Allyn, Mar 15 1932, - ear exam
1877077 Inspection Lamp, A. L. STEVENS (Vol-U-Meter Co), Sep 13
1932,
362/157 ; 362/158 - gooseneck between cylindrical
battery compartment and head
1889978 Universal Lamp, J. A. DICKEY, Dec 6 1932,
362/296
; 248/411; 307/157 - for doctors battery or line?
1891024 Flash Light, HARRY KORETZKY (Bright Star Battery Co), Dec
13, 1932,
362/188-
1849136 Lantern, R.A.Currie (R.E. Deitz Co), Mar 1932,
362/186
; 362/180; 362/228 - looks like kerosene lamp, but uses Pocket
Flash Light batteries
1875956 Mutiple Parallel Flash Light, Herman K. Thiel, Sep 6 1932,
362/184 ; 429/97 - two flash lights and extra battery tube
1877940 Eye Flickering means for Toys and the like, N.
Morgenstern, Sep 20 1932,
446/392 ; 200/DIG.9; 362/124;
446/485 - mazda lamps and a spring-weight switch

1879622 Battery Hand Lamp, H.W. Jones (National Carbon
Co), Sep 27 1932,
362/197 ; 285/280; 362/208- Angle head
cylindrical with two 90 deg joints that can rotate
1879623 Battery Box, H.W.
Jones (National Carbon Co), Sep 27 1932, - Battery contacts "i" or
"U" for battery polarity control
H.W. Jones was granted two patents with sequential numbers on the
same date, one of them for this flashlight. A rotary
electrical joint is needed to allow 360 degrees of rotation.
1896720 Otoscope , William Patterson (B&L), Feb 7, 1933,
600/200
- Ear, Nose & Throat eximanation
1900505 Flash Light, H. KORETZkY, Mar 7 1933,
200/60
1900931 Flash-Lamp, Harry T. & Harry H. Hipwell, Mar 14 1933,
362/191 - cap has hook that will hold cylinder almost
square to a wall, not pointing down
1902590 Electric Flash Light, Shannon (French Battery Co [Owned
Blake on issue date]), Mar 21 1933,
200/60 ; 362/204 -
permanent open, closed or momentary switch
1906268 Flashlight, M. Horowitz (Bright Star), May 2 1933 -
cylindrical
1925115 Battery Lamp, George J. Seiss, Sep 5 1933,
362/197 362/196
- two cell rectangular lantern reflector on large face, bail on
top clip on back
1925374 Dry Cell Battery and Seal Therfore, C.P. Deibel, Sep 5,
1933, 429/167 ; 429/171; 429/178 - No. 6 Dry Cell (called a Six
Inch cell) that has a longer shelf life
1925287 Cigar or Cigarette Lighter, Frank W. Snyder, Sep 5, 1933,
221/144 ; 221/256
" RE19248 Headlight for Toy Locomotives, Earl D.
Bolsselier (American Flyer), Jul 24, 1934, 446/439
1925393 Magnifying Device, Edwin L. Lehman, Sep 5, 1933, 359/818 ;
24/339
" RE15317 Electric Lantern = 1277549,C.W.
Conger, Sep 3, 1918, 362/186 - has the look and feel of a railroad
lantern
1931712 Flash Light Adapter for Marine Running Lights, G.W.
Trahey, Oct 24 1933,
362/208 362/317 D10/114 -
1932143 Permanent Magnet Support for Lamps, Earl R. Piercy (Thomas
a Skinner Steel Products Co), Oct 24 1933,
362/398 ; 211/DIG.1;
24/303; 248/206.5; 335/285; 81/15.8 -
1933243 Illuminated Shoe, DeMerolis, Oct 31 1933,
36/1 ;
126/204; 219/211; 219/527; 36/137; 36/8.3; 362/103; 607/111 -
women's high heel
1946595
Field signaling device,
Straughan
Joseph, 1934-02-13, - can send and receive telegraph&
work as a telephone & as a flashlight.
1947022 Miner's Lamp, O. Schneider, Feb 13 1934,
362/186 362/208
-
1951097 Smoking Pipe and Tube, G. Lyeso, Mar 13 1934,
362/109
; 131/178 - pipe with two cells and lamp & Lens
1955511 Electric Flash Light, Joseph Muros, Apr 17 1934,
362/202
; 362/206- cushion lamp from battery if dropped
| 1959024
Game
Device, H.T. Hipwell, May 15, 1934, 273/141A - dog
race game uses a rotary battery and lamp that rotate so no
slip joints are needed |
 |

|
1959979 Extension Lamp Flash Light, George G. Gunderson (French
Battery Co), May 22 1934,
362/198 ; 362/258;
362/387- removable head with extension cord and head band
1960114 Illuminating Magnifying Glass, Charles Machenry Lindsay,
May 22 1934,
359/802 ; 362/234; D16/135 - battery or
transformer
1969320 Flash Light, Officer ( Blake Mfg Co), Aug 7 1934,
362/187
; D26/46 - position of threaded lamp moved to control beam size
1971266 Flash Light Attachment for Batteries, Harry T. Kingsbury
(Kingsbury Mfg), Aug 21, 1934,
362/194 -top cap with
lamp & reflector made of rubber
1971599 Illuminating Device, J.F. Coulter, Aug 28, 1934,
359/673 362/198 -
Boom with battery at control end and light at far end.
1977086 Combined Snap Switch for Flash Lights, C.E. Pryor, Oct 16
1934,
362/208 200/60 324/507 - switch in battery cap
1977813 Instrument, E.D. Tillyer, Oct 23 1934 - eye exam
1981544 Flash Light Device, Frech et al.(GE), Nov 20 1934,
362/194
429/97 - raw lamp bulb is made part of battery switch relates
to connection between lamp and negative batt
1984398 Portable Electrical Apparatus, C.V. Dame, Dec 18, 1934,
362/108 429/97
362/198 - chest mount
1984401 Suspension Loop for Flashlights, Anthony J. Desimone
(Bright Star Battery Co), Dec 18 1934,
362/191- cap
loop below plane of cap so can stand on end
1985483 Combined Door Knob and Lighting Device, J.W. Clarke, Dec
25 1934,
362/100 362/208 70/DIG.59 -
1988961 Flashlight Device, G. F. Prideaux (GE), Jan 22 1935 -
cylindrical, throw away, clear marble as lens (not quite like the
May light)
1992776 Projector, Louis J. Schindler (Schlndler Stamping a Toy
Co), Feb 26 1935,
353/43 ; 353/88; 40/474 -
disk like Viewmaster, but
just projects single frame battery powered
1995476
Electric Circuit Tester, R.T. Kalb, Mar 26, 1935, 324/507;
362/203
Keco Testit Model K135 - single D cell for power. The metal
ends need to be connected toghther in order to light the lamp.
That can be done using the switch,
Fahnestock Clips or the
special lamp test contacts.
Packing material in tube was a newspaper from 1935.
The patent shows thumb nuts but the real unit has Fahnestock
Clips.
also see
1548225.
1996577 Combination Headlight and Hand Lamp, F.L. Humeston, Apr 2,
1935,
362/198 362/191 -
Lantern or lamp can be used as headlamp with remote battery.
2001363 Flash Light,C.F. Joers, May 14 1935,
362/158
; 200/60; 362/204; D26/49 - air dust water proof, unbreakable
shockproof
2003130 Ladies Hand Bag, W.O. Benjafield, May 28 1935,
2005339 Flash Light Hanger, Henry Hyman, Jun 18, 1935,
248/323
- replacement tail cap with bail
2009952 Flash Light, Marie L. Beaumont, Jul 30 1935,
362/205
; 362/197; 429/96 - lamp between two cells, rotate cells with tab
on carbon to act as switch
2011813 Exhibition Device, Walter V. Heekin (Heekin Can Co), Aug
20 1935,
446/47 ; 446/213 - uses a sprint to attach
lamp to top of cell - a one part flashlight very minimalist
2017896 Flash Light, Anthony J. Desimone (Bright Star Battery Co),
Oct 22, 1935,
200/60 ; 362/190; 362/205; 362/310-
2021111
Miner's Lamp, Grant Wheat, 1935-11-12,
362/198; 439/37; 439/38; 439/305; 439/352 -
(also see Fire: Koehler
Miners Lamp)
2023945 Endoscope, W.N. Allyn, Dec 10 1935 - ear exam
2027096
Utility Light and Test Lamp, Alfred I. Hammer, Jan 7, 1936,
324/506
; 362/105 - head lamp that can be used other ways
2029425 Combination Clip-Board and Light, Kaylor, Feb 4 1936,
362/99
; 24/67.3; 362/191; 362/274; D19/88 - cylindrical unit cells
2035812 Electric Hand Lamp, Otto Janzen, Mar 31, 1936
362/192
- Generator
2035841 Electric Flare Signal, W. E. SIGNOR (Seco Mfg), Mar 31
1936,
340/331 ; 246/473.2; 307/66; 340/333; 340/815.76;
362/269 - baricade type
2041614 Electrical Testing Device, Charles M. Lindsay, May 19,
1936,
324/506 - adds a switch and rheostat for a number of
tests
2048365
Amusement Device, Agate (ension Freeman Co), Jul 21 1936,
353/43
; 229/103; 353/119- fold up paper box fits on end of flashlight to
project silhouettes
2051889 Hand Lamp, Halvard F. Nygard (Burgess Battery Co), Aug 25
1936,
362/191 ; 362/207
2057718 Electrical Device , Cecil H. Gunthorp (Economy Fuse and
Mfg Co), Oct 20 1936,
439/389 - method of attaching an
electric terminal
2058904 Lock Switch for Flashlights, Joseph F. Moran (Scovill Mfg
Co), Oct 27, 1936, 200/60 ; 362/205
- three position slide switch
allows flashing, always on, or locked off
2060206 Torpedo, J.H. Hammond, Nov 10 1936 uses photo cell to see
ship's shadow
2067653 Signal Lighting Apparatus, Witmer (Union Switch &
Signal), Jan 12 1937,
315/86 ; 246/28F; 246/34R; 315/171;
315/175; 340/333 -
Power Fail lighting wherre relay
turns on battery when main power fails, Railroad application,
but general patent
2070472 Combination Flashlight and Traffic Signal, Elmer Crlswell,
Feb 9, 1937,
340/321 ; 340/815.67; 340/815.74; 340/815.76;
359/516; 359/528; 362/189; D26/49 -
side facing faceted glass color
filters
2070818 Lifesaving Jacket with Automatic Electric Lighting Unit,
G.A.F. Winckler (Winckler Engineering Labs),
Feb 16 1937, 362/108 362/208
429/119
441/111 441/18 441/89 -
2071557 Combined Flashlight and Headlight, Yasutaka Miyaoka,
Feb
23 1937, 362/105 ; 362/198; 362/258; D26/39 -
2079075 Portable Electric Head Lamp, William F. Koepke, May 4,
1937, 362/198 ; 200/51.14; 200/60; 439/646 - two "D" cell tublar
battery holder + wire and head mouted lamp
2082857 Reflector Attachment for Flashlights, C. Throughgood, Jun
8 1937,
362/208 362/135 -
2085732
Jul 1937 Automatic Night Sighting Device for Firearms, W. Baxter
& A.B. Scott, Jly 6 1937,
362/114 ; 42/114 -
projects a small "+" instead of a wide beam so that the target
does not see that he is being illuminated.
uses five element optical system
2092590 Flashlight Head, A.W. Schaff (Scovill Mfg Co), Sep 7 1937,
362/202 362/208 -
2092845 Flashlight, William L Holmes (Washington Institute of
Technology), Sep 14 1937,
362/192 ; 310/156.22; 310/69 -
generator
Pre focused PR Lamp
This was a major improvement. The E10 Edison screw base
has no way to control the relationship of the filament
location. The PR (PRe focused, Parabolic Reflector,
Prefocused Reflector, or...) base does that.

|
2097399
Lighting apparatus, Samuel
F Arbuckle, United
Lens Corp, 1937-10-26, Expires: 1954-10-26, 362/211
- this may be the first patent for a flange type
bulb?
I remember these. They had dimples on the flange and
the spring (46) loaded pin (34) that grabbed the flange
had elliptical bumps that seated in the dimples so, in
addition to controlling the height of the filament they
also controlled it's X, Y and theta location.
Although there being 3 pins the lamp would only go in one
way.
search terms: "prefocus 3-pin flange bulb" "1096 6V Bulb"
|
|
2734994
Pre-focus type light bulb mounting, Lloyd T. Fuqua, GM,
1956-02-14, - a lower cost mounting for the above lamp.
(after the above patent expired)
|
2156319
Electrical testing instrument,
Walter
R Steele, 1939-05-02, - penlight with tip probe and test
lead
Cited by:
Publication
Priority Publication
eAssignee Title
US2459351
1944-08-14 1949-01-18 Weincord MauriceIl
luminated test device
US2511918
1950-06-20
Electric testing device - Neon lamp & HV battery
pack
US2534450
1948-03-05 1950-12-19 Joseph R
Kadilak Continuity tester - 2 cell
penlight with probe
US2540471
1947-07-19 1951-02-06 Benjamin F Borsody
Flashlight with testing attachment - 2 pin jacks in tail cap
US2550233
1947-12-11 1951-04-24 James J
Duncan Flashlight, fuse,
and circuit tester - 2 D cell with pocket clip terminal
US2552981
1947-02-13 1951-05-15 Weston Electrical
Instr Corp Electrical testing apparatus - probe
with battery & lamp
US2564166
1947-02-14 1951-08-14 Marinello
Frank Circuit and
voltage testing device - 3 lamps to get relative voltage
readings
US2607829
1950-03-24 1952-08-19 Herbert L
Tipperman Portable testing device -
flashlight 2 pin jacks in tail cap
US2616952
1947-07-14 1952-11-04 David N
Lauder
Combination penlite voltage and continuity tester
US2783445
1953-09-25 1957-02-26 Cahn
Herbert Test
clip - 1/4" phone socket to Alligator clip
US3416126
1966-04-18 1968-12-10 Gen
Electric
Contact pin and manufacture thereof - phone tip
US3517376
1968-08-16 1970-06-23
TI
Connector for use between an integrated-circuit and a
circuit panel
US3617991
1967-07-19 1971-11-02 Amp
Inc
One-piece connector including release means
US4006409
1973-08-20 1977-02-01 Adams Bertram
C Electrical ground fault detecting
device - metalic connection to ungrounded device senses AC
voltage, so really is a Contact Voltage Detector
2157344
Flashlight testing device,
John
J Mccoy,
Karl
G Gerdin, 1939-05-09, - 2-blade socket allows checking for
shorts in AC device
2164529 Portable Electric Head Lamp, W.F. Koepke, Jul 4, 1939,
362/198 -
cylindrical battery housing +cord and head lamp.
2467954
Flashlight, R.F. Becker, Apr 19, 1949,
362/198 - two AA cells, goose-neck and 222 lamp
2540471
Flashlight with testing attachment,
Benjamin
F Borsody, 1951-02-06, - socket in tail cap for test leads
2550423 Extensible Flashlight, M.A. Nelson, Apr 24, 1951,
362/198 174/69 -
bellows type telescoping wand.
2581129 Portable Electric Flashlight with Retractable Mount for
Auxiliary Lamps, Jan 1, 1952, 362/184 200/60 362/199 174/69 362/198 - hinged arm with
goose-neck.
2644131
Timing indicator for internal-combustion engines, George
M Walraven, William
R Elwell, Snap
On, 1953-06-30, - neon tube connects to spark plug No. 1
2648762 Combined Housing and Flexible Flashlight Support, M.S.
Dunkelberger, Aug 11, 1953, 362/198 24/11M 200/60 - switch at lamp, not on battery
case. battery housing in pocket while in use.
2697128 Electrical Device, C. Moore, Dec 14, 1954, 429/99 362/198 - for powering Grain of
Wheat Lamps.
2793639 Body Orificialscopes, E.E. Roberge, May 28,
1957, 600/178 600/184
362/139 362/198 - battery + cord to wand with lamp for
illumination
2703385
Continuity tester, Curd
Harold Gordon, 1955-03-01, - adapter for
flashlight adds test leads.
2885539 Portable Warning Lamp, J.A. McDermott, May 5,
1959, 362/191 D10/114.1 362/207 D24/210
340/908.1 362/198 - road construction warning.
Sunshade has gap to allow light to be seen as working
from rear side.
3071747 Battery Handle Construction, W.C. Moore, Welch
Allyn, Jan 1, 1963, 338/179 362/198 200/60 362/206 -
medical instruments
Daisy Cinematic
Picture Pistol
This is very similar to the Auto-Magic Pistol below, but there are
differences. The Daisy is made out of sheet metal, not a
casting.
For more Daisy items see
BB Guns and
Pop Guns.
eBay search "
Daisy
superman Cinematic" There appear to be at least 2 versions.
This one and the one with a likeness of Superman stamped into left
side.
Labeled:
Daisy Cinematic Picture Pistol
Daisy Mfg. Co.
Plymouth, Mich, U.S.A.
Patents No. 2,100,008
2,146,237 - Others Pending |
Fig 1

|
Fig 2
 |
Fig 3 photo of Superman version courtesy of
Toy Tent.

|
2100008
Picture Projecting Device, Clarence L. Stephens, Nov 23 1937,
353/43
; 353/85; 362/112, - pistol shaped film strip projector
Related:
2010501
VISUALIZER,
Noble E. Stephens (Clarence L. Stephens), Aug 6 1935,
40/518
- five independent film strips all shown on single screen
used to select flooring, wall
paper, etc.
2135952 PICTURE PROJECTING DEVICE , Clarence L. Stephens, Nov 8,
1938,
353/43 ; 362/112 - similar to 2100008
except uses a disk instead of a
flim strip
2146237 PICTURE
PROJECTING DEVICE, Clarence L. Stephens (Stephens Prod Co),
Feb 7 1939,
353/43 ; 353/90; 353/DIG.2; 362/187-
continuation of same application used for 2100008 that includes
various film strip concepts like external can, internal storage
and continuous loop
Auto-Magic Pistol 16 mm film strip projector
2100008 Picture Projecting Device, Clarence L. Stephens, Nov 23
1937,
353/43 ; 353/85; 362/112, - pistol shaped film strip
projector
Related:
2010501
VISUALIZER,
Noble E. Stephens (Clarence L. Stephens), Aug 6 1935,
40/518
- five independent film strips all shown on single screen
used to select flooring, wall
paper, etc.
2135952 PICTURE PROJECTING DEVICE , Clarence L. Stephens, Nov 8,
1938,
353/43 ; 362/112 - similar to 2100008
except uses a disk instead of a
flim strip
2146237
PICTURE
PROJECTING DEVICE, Clarence L. Stephens (Stephens Prod
Co), Feb 7 1939,
353/43 ; 353/90; 353/DIG.2; 362/187-
continuation of same application
used for 2100008 that includes various film strip concepts
like external can, internal storage and continuous loop
2100984 Adapter for Incadescent Bulbs, Emamiel C. Smally (K.B.
Cope), Nov 30, 1937,
362/448 ; 439/642 - for using a
smaller size lamp
2101479 Night Target Range Finder, C.H. Schenk, Dec 7 1937 -
2140224 Roller Skate Attachment, Mikaly Galgoczy, Dec 13 1938,
280/816
; 36/137; 362/103; 362/396- lamp points down under skate
2104340
SIGNAL UMBRELLA Jan 1938
2104888 Electrical Connecting Device, Otto Spahr, Jan 1938,
362/194
324/506 429/96 43/17 439/245 -
a single wire holds a lamp and the
pointed end goes between the cardboard and zinc
a longer version can be used to make a two cell light
THE MOST MINIMALIST SOLUTION OF ALL TIME
2105719 Portable Electric Light, Cap B. Collins, Jan 18 1938,
310/75A
; 188/184; 290/1E; 310/50; 310/73; 322/30; 362/192-
generator
2114266
Combined Flashlight and Key Ring, Louis Bodor, Apr 12 1938,
362/116
; 24/3.6; 40/634; 70/456R; 70/457; D26/38
D111345 Flashlight, Anthony J. Desimone (Bright Star Battery Co),
Sep 20, 1938,
D26/113 ; D26/46
2120523 Emergency Light or Torch, Charles Linhardt, Jun 14, 1938,
48/35 ; 441/15- uses Calcium Carbide & water to make
acetyelene, not battery power
2123491 Portable , Robert G. Williams (Usona Mfg Co ), Jul 12,
1938,
362/203 - screwing in head turns on lamp
2124153 Flashlight Combination zConstruction, N.H. Swanson, Nov 8
1938 - keychain
2125038 One Hand Focusing Flashlight, E.H. Tompkins (Scovil Mfg
Co), Jul 26 1938,
362/188 200/60 362/202 362/208 -
screw based lamp
D111342 Flashlight, Anthony J. Desimone (Bright Star Battery Co),
Sep 20, 1938,
D26/128 - light out side plastic
D111343 Flashlight, Anthony J. Desimone (Bright Star Battery Co),
Sep 20, 1938,
D26/49
2132063 Flash Lamp, George W. Whaley, Oct 4 1938,
362/110
; 362/197 - various 3 cell FL on revolver for police
2136199
2137881 Adjustable Reflector, Margulies, Nov 22 1938,
362/202
; 248/480; 359/881 - a couple of stiff wires hold a shiny metal
mirror at in front of lens
2138723 Combination Porrable Pocket Light and Camera, John Arthur
Bell, Nov 29 1938,
396/182 ; 362/184; 362/240; 362/9 -
FL used to illumnate scene for
camera (why not flash?)
2140880 Illuminating Aiming Attachment for Carl Benton Osborn, Dec
20 1938,
362/114 ; 362/396- adapts normal FL for use with
revolver
2151938 Life Saving Light, Jesse A. Ramsey, Mar 28 1939,
362/158
; 200/52A; 200/60; 200/61.52; 200/DIG.29; 340/331; 441/17 - sea
rescue
2153814 Battery Lamp, A.J. Seiss, Apr 11, 1939,
362/208 362/341,
-
Pre
Focused Lamp
2156916 Flashlight, W.R. Kopp (Western Cartridge Co), May 2, 1939,
362/208 362/197 - head can be angled
2215829 Falshlight Attachment, Evans, Sep 24 1940, -
359/516
; 138/96R; 220/732; 362/205; 362/310 - rubber protectors for
reflector and cap
2172925 Lamp, C.E. Meyerhoefer (E.A. Labe), Sep 12 1939,
362/186
340/432 340/815.76 362/208 - bicycle tail light
2180228
PORTABLE ELECTRIC LAMP Nov 1939
2181447 Lock Switch for Flashlights, J. F. Ayotte (Scovill Mfg),
Nov 28, 1939,
362/188 ; 200/60 -
2194992 Flashlight Construction, John J. Walsh, Mar 26, 1940, -
362/184
; 200/60; 340/321 - forward light and rearward light
2201588 Lighted Bobber for Fish Lines, Kuhns, May 21 1940,
43/17
362/194 362/203 362/802 43/44.95 446/485 -
2204752 Flashlight, Anthony J. Desimone (Bright Star Battery Co),
Jun 18, 1940,
362/183 ; 362/21 - multi cell, large
reflector mine explosive atmos
2205352 Electric Float, F.H. Fisher, Jun 18 1940,
43/17 200/220
200/61.47 200/61.52 362/208 43/44.94 - fishing lure
2212103 Flashlight, H. Rothenberg L. Grimsley, Aug 20 1940,
362/188
; 200/60 - rack and pinion focusing threaded lamp
D102446 Flashlight, Leopold C.
Grimsley, Dec 22, 1936, D26/49- wheel for focus
2219906 Lamp, Edwin W. Pummill, Oct 29 1940,
362/202 ;
340/432; 429/97 - some lamp light gets reflected out the back for
a bicycle
2220861 Reduction of Surface Reflection, Katharine B. Blodgett
(GE), Nov 5 1940,
359/580 - adding anti reflection
coating to glass either flat or lens
1043009 Production of Light,
HOFFMAN, Oct 1912- is lowest patent number in 359/580 and has to
do with passing visible light and reflecting IR back to
source
2221126 Flashlight, George C. Barbee, Nov 12 1940,
362/184
; 362/207; 362/254; 429/97- easy quick change between two
screw based lamps
2225825 Flashlight, Anthony J. Desimone (Bright Star Battery
Co), Dec 24 1940,
362/186 ; 340/321; 362/202-
colored plastic sleeve in head
2229486 Flashlight, Anthony J. Desimone (Bright Star Battery Co),
Jan 21 1941,
362/205 ; 362/207 - no exposed metal nearly
indestructible
2229495 Flashlight, Anthony J. Desimone, Jan 21 1941,
362/208
- reflector to hold
flange
type prefocused lamp
& lamp storage
2231382 Flashlight, Anthony J. Desimone (Bright Star Battery Co),
Feb 11 1941,
362/205 ; 340/321; 362/207 - light weight
thermoplastic
prefocused lamp
2232605 Flashlight, William I. Holmes, Feb 18 1941,
362/192
; 188/184; 310/75A- generator
2234972 Flashlight, Zennan, Mar 18 1941,
362/158 ; 200/60;
362/189 - armored
2235024 Flashlight, Walter R. Kopp (Western Cartridge Co),Mar 18,
1941,
362/205 362/208 - -
Pre Focused Lamp
2235025 Flashlight, Walter R. Kopp (Western Cartridge Co), Mar 18,
1941,
362/208 ; 362/341 - uses
flange type prefocused lamp
2235714 Flashlight, William M. Lennan, Mar 18 1941, - fluid
proof & different socket locations
2245015 Combined Flashlight and Fan, Sibal, Jun 10 1941,
416/5
; 416/131; 416/142; 416/146R; 416/63 - lamp & head turn.
blades aginst body when stopped and swing out when on
2245707 Electric Lantern, C. S. PACKER (Justrite), Jun 17, 1941,
362/184
- spare lamp can be moved into reflector focus typically a RR
feature
2245715 Toy Camp Lantern Light, Charles D. Eieck (L.F. Dow Co),
Jun 17, 1941,
362/190 ; 200/60; 362/197 -
verticle cylinder w/ horizontal
facing reflector. Holds 1 "D" cell. cylinder is
larger in dia than "D" cell to allow room for bulb base.
Cleaver cute
2245782 Metallic Bulb Lamp, Gilbert C. Holloway (Westinghouse),
Jun 17 1941,
362/202 ; 174/17.08; 174/50.53; 174/50.56;
174/50.6; 313/111; 313/269; 313/315; 313/318.03;
313/318.11; D26/49 - Sealed Beam
including cylindrical flashlight application
2248359 Illuminated Punch, J. Klopfenstein, Jul 3 1941,
362/119
362/208 - ticket punch
2248460 Bicycle Headlight, H. L. Kraeft, Jul 8 1941,
362/476 340/815.73
362/157 362/184 362/196 - two lights in tank one on left one on
right
2252088 Lamp, C.E. Meyerhoefer (E.A. Labe), Aug 12 1941,
362/196
362/157 362/208 429/99 - bicycle headlight
2252950 Dry Battery Lamp, E.E. Seiss, Aug 19 1941,
362/186 362/208
- bicycle light
2253951 Flashlight, Anthony J. Desimone (Bright Star Battery Co),
Aug 26 194,
362/21 ; D26/49 - rubber armored
2253952 Flashlight, Anthony J. Desimone (Bright Star Battery Co),
Aug 26 1941,
362/202 ; 340/321; 362/310 - colored plastic
Frensl lens to shine light to the side
2254474 Flashlight and Battery Unit therefore, Cyril P. Deibel,
Sep 2, 1941,
429/123 362/194 429/150 429/157
429/164 - battery is also the case cylindrical
2255516 Electrical Flash Light, E.J. McEachron (Marathon Battery
Co), Sep 9, 1941,
362/189 ; 362/194; 429/185 -
2255825 Flashlight, Anthony J. Desimone, Dec 24 1940,
362/186
; 340/321; 362/202 -
D111346 Flashlight, Anthony J.
Desimone, Sep 20, 1938, D26/128 ; D26/49 - light to the
side
2259416 Lamp Construction, Gardener (Mer-Q-Ree Corp), Oct 14 1941,
362/84 ; 362/187; 362/321 - luminous paint &
electromagnet closed shutter to block light when paint is being
recharged - blackout
References:
1275871 Illuminating Device, Dodds et al (Flannery Bolt Co), Aug
13 1918, 362/84 ; 252/646 - add on phosphorescent cover
for house lamp
1275872 Portable Lamp, I. DODDS (Flannery Bolt Co), Aug 13
1918, 362/84 ; 362/187 - lamp only activated for a
short time to charge zinc or calcium sulfid phosphorescent
material and a little radium salt. air pot controls the on
time after a press of the button once
1312312 Illuminating Device, Dodds et al (Flannery Bolt Co), Aug
1919, - phosphorescent car light
2259673 Combination Hunting Light and Flashlight, Ralph M. White,
Oct 21 1941,
362/197 - 45 degree jount allows
cylindrical or angle head
2260639 Flashlight Billy, W.M. Powell, Oct 28 1941,
362/102 340/321
362/208 362/369 463/47.2 -
2261001 Flashlight Head, B.F. Muldoon (H. Hyman), Oct 258 1941,
362/208
362/341 - can be seen from the side
2263518 Safety Water Light, Riner, Nov 18 1941,
340/321 ;
362/186; 362/267; 429/96; 441/17 - lantern battery powered buoy
2268878 Flashlight, Walter R. Kopp (Western Cartridge Co), Jan 6
1942,
362/208 ; 362/341 - uses
flange type prefocused lamp
2273114 Hand Lamp, W.R. Kopp (Western Cartridge Co),, Feb 17,
1942,
362/208 -
2278614 Bicycle Lamp, Claud J. James, Apr 7 1942,
362/157
; 429/97; 43/17.5; D26/36 - converts from heat to tail light
2287019 Taillight for poles or the like, F.B. Bristow, Jun 23
1942,
362/208 - tail light for transporting
telephone poles
2288808 Hand Lamp Switch, Walter Richard Kopp (Western Cartridge
Co), Jul 7, 1942,
200/60 ; 362/202 -
2289226 Laryngeal Speculum, Von Foregger (William M. Allyn), Jul 7
1942,
600/193 ; 362/119; 600/199 - for doctors
2290487 Flashlight Head, B.F. Muldoon (H. Hyman), Jul 21, 1942,
362/208 - screw base
2294558 Light Ray Gun, Hooker, Sep 1 1942,
362/112 ;
362/281; 463/51 - Thompson "Tommy Gun" uses mechanical shutter to
get very fast pulses of light
2229494 Flashlight, Anthony J. Desimone (Bright Star Battery Co),
Jan 21, 1941,
362/202 - insulating case
2294622 Camera and Projector Apparatus, Langberg, Sep 1 1942,
353/43
; 346/107.2; 353/76; 353/88; 353/99; 353/DIG.2; 396/180; 396/430 -
can be used as SLR camera or
projector/enlarger
2268056 Sight for Guns, Nelson, Dec 30 1941,
362/112 ;
42/116- shown on Tommy Gun
2298042 Flashlight, Anthony J. Desimone (Bright Star Battery Co),
Oct 6 1942,
362/207 ; 200/60 - body made of Lumarith
(thermoplastic)
2299035 Waterproof Casing for Flashlights, Harry Rothenberg L.
Grimsley (H. Hyman), Oct 13 1942, -
362/158 ; D26/49
- goes over a FL
2299148 Flashlight, Lawrence L. Johnson, Oct 20 1942,
362/191
; D26/39 - lamp between two cells, very much like the phonograph
lamp
2302248
Combined flashlight and electric circuit tester,
Axel
V Olson, 1942-11-17, - 2-terminal socket on tail cap for
appliance or test leads
2304433 Reflector, Myron. J. Zimmer (Katzmger Co), Dec 8, 1942,
362/208
; 362/341 - commonly seen reflector with socket for
flange type prefocused lamp
2312670 Electric Torch or Flashlight, E. A. OLDS, Mar 2 1943,
362/207
; 338/178 - rheostat, spare bulb, focus
2320193 Combined Safety Light and Illuminating Lamp, Powell , May
25 1943,
362/108 ; 200/550 - English bicycle light plus
harness
Reference:
1825088 Combined Safety Light and Illuminating Lamp, Powell (not
assigned), Sep29 1931 - Niagara "Chestlite"
2320222 Swimmer's Appliance, A. Crupi, May 25 1943,
362/106 116/173
116/209 2/68 362/158 362/208 - head worn beacon light
2320917 Portable Lamp, Oscar L. Ely, Jun 1 1943,
362/194 340/815.73
- uses lantern battery with thumb screw connection on top.
2323312
Electric Tourch, W.C.
Crimmins (Sears Roebuck & Co), Jul 6 1943,
362/196 -
Bicycle lights
2325253 Periscope, W. E. Lging, Jul 27 1943,
359/857 -
periscope with light for inspecting inside of hydrents, walls,
etc.
2326607 Hand Lamp, Clyde C. Bohner (Western Cartridge Co), Aug 10,
1943,
362/202 -
prefocused lamp
2330673 Flashlight, Frank J. Braum, Sep 28 1943,
362/184 ;
362/207 - revolving supply of lamps to burned out can be
replaced quickly
2333541 Flash-light Shield, E.K. Madan, Nov 2, 1943,
362/208
- for blackout use
2335852
ILLUMINABLE SIGNALING DEVICE Dec 1943
2339356 Focusing Flashlight, William B. Sachs, Jan 18 1944,
362/187
-
2340530 Traffic direction
2347482 Electric Torch, D. Karo, Apr 25 1944,
338/219 ;
338/301 - resistance to be added into circuit
2361414 Marine Safety Light, J. A. Ramsey, Oct 31 1944,
362/108
; 362/158; 362/802; 441/17; 441/89- cylindrical, frensnell lens,
ball in tube switch
2363825 Flashlight Attachment, M.N. Yardney, Nov 24 1944,
362/208
340/321 362/203 429/97 - for blackout use
2373131 Brestplade Black-Out Lantern, Richard L. Mann, Apr 10
1945,
362/197 362/196 -
2376330 Identification Light for Aerial Delivery Containers,
Dircksen, May 22 1945,
340/815.66 ; 200/61.19; 244/138R;
340/321; 340/815.76; 362/184; 362/470; 362/84; 429/98 - double
ended flashlight where lens color matches conatineer color
2379603 Electric Battery Torch Lamp and the Like, Samuel Daniel
Sullam, Jul 3, 1945,
362/202 ; 200/60 - bicycle tail
lamp
2396046
Flash Lamp, H.T. & H.H. Hipwell, Mar 5 1946,
362/202 ;
362/207 - lens & Reflector mounting
2341822 Non Glare Flashlight, George H. Seal, Feb 15 1944,
362/202
; 362/208; D26/49 - baffeled to prevent stray light (blackout
type)
prefocused lamp
2358820 Portable Electric Flashlight, B.F. Muldoon (H Hyman), Sep
26 1944, - angle head,
prefocused lamp
no references
2361480 Illuminating Torch, David P. Joffo, Oct 31 1944,
340/321
; 340/815.56; 340/815.68; 362/102; 362/205; 362/280; 362/293-
normal white light or selected color
2366202 Elbow Head Flashlight, J. G. Lippincott (Guth Stern &
Co), Jan 2, 1945,
362/190 ; 362/197; 362/207; D26/37-
Angle head
2366929 Floating Signal Light, Melvjn P. Pfeil, Jan 9 1945,
441/16
; 340/321; 362/158; 429/96; 439/32 - see:
A-7 AAF Flashlight, Floating
Identification
single D cell and Lamp, battery
compartment extends to add stability when floating
2368779 Flashlight Projector, Katie
Louise Pyles, Feb 6, 1945, 353/43 ; 353/DIG.2 - film strip
projector attachment for angle head flashlight
2376330 Identification Light for
Aerial Delivery Containers, A.D. Dircksen, May 22 1945,
2399921 Electric Lamp, A.D. Dircksen, May 7, 1946,
362/208
- parachute marker light
2401014 Flashlight, W.L. Paul, May 28, 1946,
362/208 200/567
200/60
362/189 - low cost
2405384 Illuminating Ankle Bracket and the like, Albert W. White,
Aug 6 1946,
362/104 ; 362/216; 362/335; 429/98; 63/8
- no references
2420227 Nephoscope, W. K. COBURN (Serdex), May 6, 1947,
33/227
; 73/170.11; 73/170.16 - to measure cloud movement
2420307 Portable Lamp, Frank H. Fristoe, May 13 1947,
340/321
; 362/186 - cubical head with round lens or color filter on 5
faces
2424700 Generator Light, Marl McMath (Dayton Acme Co), Jul 29
1947,
362/192 ; 310/75B - rectangular
References:
1487502 Magneto Flash Lamp, J.J. Wood (GE), Mar 18 1924
1678496 Electromechanical Lamp, Charles BernasconiI, Jul 24,
1923, 362/192 ; 264/278; 264/294 - palm size
1956339 Electromechanical Lamp, Charles BernasconiI, Apr 24
1934, 362/192 -
2035812 Electric Hand Lamp, Otto Janzen
1769426 Lamp Construction, Harry C. Foster (Indiana Lamp Corp),
Jul 1, 1930 362/548 - car, easy to replace lamp
2439496 Flashlight, Szantay, Apr 13 1948,
362/205- partial
twist to switch on-off
2440938 Porttable Signal Lamp, R. L. FALGE, May 4, 1948,
362/232
; 126/200; 340/332; 340/815.77; 362/374-
References:
1432873 Signal, = STOP for car
1443106 Usher's Signal, Walsh, Jan 23 1923, 362/202 ;
340/321; 362/283 - flashlight that can display different dot of
light patterns
1645487 Combination Light, Harling, Oct 11 1927, 340/321
; 340/815.73; 362/184; 362/205; 362/241 - extended tail assy
w/illuminated digits
[1942341 ??# Ground Clamp typo in number]
2017849 Apparatus for Signaling, Blee, Oct 1935 - line powered
dual pistol grip
2085020 COMBINATION SIGHT AND INDICATOR FOR TRAFFIC CONTROL -
line powered single pistol grip
2104911 CHANGEABLE COLOR SPOTLIGHT
2261978 ILLUMINATED SIGHT - line powered single pistol grip
2273026 BOMB RELEASE SIGNAL LAMP ASSEMBLY - lamp at tail can be
raw bulb or w/color filter
2360138 SIGNALING DEVICE, Alexander Parley Johnson (Focal Co),
Oct 10, 1944, 340/815.76 ; 362/359 - day or night
signaling
2447296 Mechanical Flashlight, Alexander C. Watt (P.R. Mallory
& Co), Aug 17, 1948,
362/192 ; 307/149; 310/75B;
315/218; 315/233; 322/1 - generator type
References:
462418 Method of and Apparatus for Electrical Conversion and
Distribution, Nikola Tesla, Nov 3, 1891, 307/108 ;
331/127; 362/183 - pulse charging a condesnor
472379 Production and Distribution of Electricity, William
Marshall, Apr 5, 1892, 307/109 - using a condensor in
parallel with a generator
1054872 Portable Generating Apparatus, Victor Sence, Mar 4, 1913
1462572 Condensing Welding Circuit - condensor is charged then
discharged through transformer for spot welding
1489431 Flashlight, Charles A. Drouillat, Apr 8 1924, 310/50
; 362/192 - genereator type
2459702 Flash Lamp, H.T. Hipwell, Jan 18 1949,
362/202 -
rubber armor on head and cap
prefocused lamp
References:
1934214 Insulated Flash Light, F.G. Stimson (Bond Electric Corp)
2219906 Lamp, Edwin W. Pummill, Oct 29 1940
2278614 Bicycle Lamp, Claud J. James, Apr 7 1942
2287505 Flashlight, O. T. Wood (Blake Mfg)
2304433 Reflector, Myron. J. Zimmer (Katzmger Co)
2461118
FLASHLIGHT
TORCH, Joshua Gordon Lippincott (Guth Stearn & Co), Feb
8 1949,
362/205 -
prefocused lamp
2465426 Self-Contained Visual Signal for Calling Attendents,
Bralove, Mar 29 1949,
340/321 ; 362/410 - night clubs,
restaurants, etc.
2466414 Waterproof Flashlight Switch, Gits et al., Apr 5, 1949,
200/60 ; 200/302.1; 200/329; 362/197; 362/205
2476783 Flashlight, H.H. Turner, Jul 19 1949,
362/208 359/798
362/319
- angle head
References:
536759 Instrument for Penetrating Darkness, Haze or Fog,
C.A. Potter, Apr 2 1895 - donut lamp surrounds telescope
1280374 Pencil Lighting Attachment, J. Bennett, Oct 1
1918, - uses hollow lamp bulb to surround pencil
1542011 Portable Surgical Light, H.R. Simpson, Jun 16 1925, -
Ophthalmoscope? for ears and noses
1570393 Flash Light, C. Osean (National Carbon Co), Jan 19 1926,
362/197 200/60 362/208 D26/37 - angle head - "Elbow
lamp" 2697
1795691 Combined Ophthalmoscope and Retinoscope, and Slit Lamp,
A Wilson, Nar 10 1931
1804105 Magnifying Glass, W. Martens, May 5 1931 - with light
2092672 Flashlight Attachment, G.H. Hyatt, Sep 7 1937, - angled
magnifying Glass
2477516 Flashlight Switch, P.C. Haas, Jul 26, 1949,
References:
1134977 Flashlight Switch, Paul C. Haas, Jul 26 1949,
200/60
; 362/205; 362/310 - switch cap is hinged and also slides, non
sparking for industrial FL
1592225
ELECTRICAL
TOOL HANDLE AND SWITCH
1739788
ELECTRIC
SWITCH
1756733 Portable Elelctric Lamp, John Downs, Apr 29, 1930,
362/158
; 200/551; 200/60 - miner's lamp
2128427
VACUUM
SWITCH
2419180
ELECTRIC
SWITCH
2420585
Flashlight, Crimmins (Delta Elec), May 13 1947,
200/60 ;
200/302.1; 200/548; 200/551; 362/205 - submergible
2478336
FLASHLIGHT
FILM AND PICTURE PROJECTING DEVICE, Stein (Hollywood Comic
Flash), Aug 9 1949,
353/43 ; 362/253 -
lamp in reflector, film, two lens
system
2408393 Flashlight, J.A. Gits, Oct 1 1946,
200/60 ;
362/205- angle head no references
2408643 Safety Flashlight for Pedestrians and Bicycle Riders,
Joseph A. Hoy, Oct 1 1946,
362/184 ; 362/197 - Dual angle
head screw lamp no references
2430607 Electric Lighting Novelty, W.S. Gaskouitz, Nov 11 1947,
40/586
; 2/151; 362/103- bow tie with initials, lamp behing fabirc
2435689 Flashlight, McCabe (M. Kessler), Feb 10 1948,
362/203 - designed to be made on a screw
machine, i.e. the first of machined lights
Refeences:
1595146 Flash Lamp, Ford, (French Battery Co)
1895913 Vest Pocket Type Flash Light, M.E. Buchholz (Bright Star
Battery Co)
2150644 Pocket Flash Light, Hugh W. Batcheller (Aetna Motor
Prod)
2274178 Flashlight, Orville T. Wood (Blake Mfg), Feb 24 1942, 362/208
; 362/341 - features for prefocused lamps, insert from rear of
reflector
1134977 Flashlight Switch, Paul
C. Haas, Jul 26 1949, 200/60 ; 362/205; 362/310 - switch
cap is hinged and also slides, non sparking for industrial FL
2454233
PICTURE
PROJECTING PISTOL, Mathew A. Strumor, Nov 16, 1948,
353/43
; 352/95; 353/109; 362/112 - film on sprocket wheel which is
advanced by trigger
2478325 Illuminating Attachment for Canes and the Like, A.P.
Russell, Aug 9 1949,
362/102 ; 135/910; 362/197 -
horizontal handle with down facing reflector
References:
1067646 Search Light for Unbrella Handles, Downey, Jul 15 1913,
362/157 ; 135/910; 56/307 - long cylindrical battery
1151114 Flash-Light, G. Matthies, Aug 24 1915,
362/157 ;
135/910; 340/321- umbrella or cane handle
1227012 Flash-Light or Electric Torch, M.H. Spielman, May 22
1917, - Cane with screw cap switch
1274713 Portable Lantern, Hoffmann (Germany), Aug 1918,
362/200
- bicycle or house type with complex snout to aim light in
different directions
1407910
REFLECTOR-
house
1427138 Umbrella Handle Lighting Device, Walicki, Aug 29 1922,
362/157
; 135/910; 362/102 - "T" handle, switch has point that grounds
battery
1738725 Flash Lamp, H.T. Hipwell, Dec 10, 1929,
362/191
; D26/46 - improved battery cap
2229495 Flashlight, Anthony J. Desimone, Jan 21 1941,
362/208
- reflector to hold
flange
type prefocused lamp
& lamp storage
2299035 Waterproof Casing for Flashlights, Harry Rothenberg L.
Grimsley (H. Hyman), Oct 13 1942, -
362/158 ;
D26/49 - goes over a FL
2358820 Portable Electric Flashlight, B.F. Muldoon (H Hyman),
Sep 26 1944, - angle head,
prefocused lamp
no references
2401366 Portable Electric Falshlight, Bernard Francis Muldoon
(Henry Hyman), Jun 4 1946,
362/199 ; 324/507 - spherical
heat tips on axle
2488021 Bicycle Generator, Harold F. May, Nov 15 1949,
310/75C
; 280/828; 307/157; 320/123; 362/193, -
References:
568209 Electric Lamp for Velocipedes, Alfred M. Rodriguez, Sep
22 1896, 362/193 ; 307/157; 310/73; 310/75R; 315/78;
322/1; 322/42 - generator
1010377 Storage Battery, S.M. Johnson, Nov 1911, 429/92
- includes meter and test load
1068129 Starting Device for explosive motors
1250960 Portable Electric Lamp, Arthur E. Case (Delta Electric)
1374440 Ignition Switch
1439430 Weatherproof Battery Case
1657461 Battery Mounting
1948443 Motor Vehicle electrical System
2159885 Battery Charging Apparatus
2489806 Hand Flashlight, G.F.N. Oliver (Oliver Pell Ctrl), Nov 29
1949,
362/208 - improved one hand operation
2490309 Flashlight, Lincoln D. Lehman (T.T. Grave & O.G.
Larson), Dec 6 1949,
362/192 ; 185/39; 322/38 - generator
type
References:
1186422 Electric Flash-light, JOHN C. MORGAN
1209932 Hand Generator, P. BRADLEY
1624686 Flash Light, R.J. Smith
1655601 Spring Driven Generator Electric Lamp, Fisher
2092845 Flashlight, William L Holmes (Washington Institute of
Technology)
2105719 Portable Electric Light, Cap B. Collins
2232605 Flashlight, William I. Holmes
2492837 Portable Signal Light, Eugene C. Briggs (Emarco Corp), Dec
27 1949,
340/331 200/184 220/762 220/772 292/246 336/90
340/473 361/270 362/194
Barricade Flasher uses 6 volt
battery gravity switch turns off when on it's side, laminated
transformer used as part of strobe light power supply
References:
1951431 Traffic Signal
2082572 Discharge Tube Flasher
2263518 Safety Water Light
2493205 Portable Electric Flashlight, B.F. Muldoon (H. Hyman), Jan
3 1950,
362/190 362/197 362/207 362/208 - THE ARMY ANGLE
HEAD?
References:
1408527 Flash Light
1599113 Flash Light
1680484 Extra-Bulb Carrier
1820960 Flash Light
1905787 Cap with Spare Bulb Carrier
2153814 Battery Lamp
2235025 Flashlight
2249692 Pocket Flashlight, Albert Gelardin, Jul 15 1941
2259673 Combination Hunting Light and Flashlight
2290487 Flashlight Head
2298042 Flashlight
2304433 Reflector
2330673 Flashlight
2494265 Flashlight, Yetta Samalion, Jan 10, 1950,
362/194
; 429/163, - single cell cylindrical battery is the body, switch
in removable head
References:
688403 Electric Battery, GEORGE W. FRAZIER, Dec 10, 1901,
429/49
; 429/72 - No. 6 type or a No. 6
720592 Electric Battery, MILTON M. KOHN, Feb 17, 1903,
429/53
; 429/57 -
1233204 Electric Battery, J. E. DUNN (Novo Mfg Co), Jul 10,
1917,
429/157 ; 429/184 -
1297654 Battery Hand Lamp, C. F. BURGESS (Burgess), Mar 18,
1919,
362/189 ; 362/188; 362/203; 429/99 -
cylindrical head w/switch
connects to combined battery and case
1398799 Flashlight, Recker (Chase Co), Nov 29 1921,
362/203
; 429/96 -
head w/conical reflector and
convex-concave lens attaches to combined battery tube &
case.
1700768 Flashlight, J.H. Kuechenmeister, Feb 5 1929, - tin foil
as conductor
2254474 Flashlight and Battery Unit therefore, Cyril P. Deibel,
Sep 2, 1941
2255516 Electrical Flash Light, E.J. McEachron (Marathon Battery
Co), Sep 9, 1941
2272907 Flashlight and Battery Unit, Cyril P. Deibel, Feb 10
1942,
362/194 ; 362/203; 429/149 - head screws on
battery-case
2500464 Usher's Flashlight, Charles H. Maher, Mar 14, 1950,
362/184
; 362/197 -
Lamp at each end. When
carried with are down light horizontal the angled heads make a
pool of light for the usher and another pool of light for the
patron.
References:
1645487 Combination Light, Harling, Oct 11 1927, 340/321
; 340/815.73; 362/184; 362/205; 362/241 - extended tail assy
w/illuminated digits
1763815 Flash Light, Pajeau (Toy Tinkers Inc), Jun 17 1930, 362/197
; D26/37 - has swivel joint between the two cells
1816065 Flash Light, F. A. Weidman, Jul 28 1931, 362/184
; 340/321 - cap has jeweled colored lens and lamp
2304742 Flashlight, Officer et al. (Blake Mfg), Dec 8 1942,
362/293 ; 362/187; 362/317; 362/359; D26/49 - "Blackout" for air
raids in W.W. II
2385639 Flashlight - minimum volume 3 cell light about as
high as a 2 cell light.
2502566 Skate Light, Gerald Hooley, Apr 4 1950,
362/103 ;
280/816; 362/197; 362/396; D26/2 - roller skates
2506685 Shoulder Supported Flashlight Holder, Sadloski, May 9
1950,
362/108 ; 224/185; 224/197; 224/201; 224/247;
362/396; D26/39 -
References:
443212 Band Lamp Support for kerosene - not here
571924 Foot Lantern - kerosene - not here
1403378 Portable Lamp - powered from car - not here
1717386 Flashlight Holder, Samual Kaplan
2509832 Electric Flashlight with means for quickly changing bulbs,
Frank E. Miller, May 30 1950, - Dual angle head, swap reflector to
get new lamp
References:
1447378 Lamp or Searchlight for Vehicles - not here
1594485 Incadesent Lamp for Automobile Headlights - not here
1647011 Automobile Headlight - not here
2221126 Flashlight
2231382 Flashlight
2329063 Pocket Flash Light, Lee J. Lockwood ( Burgess Battery
Co)
2408643 Safety Flashlight for Pedestrians and Bicycle Riders
2510321 Hand Lamp for Attachment to Batteries, Arthur P. Sauer
(Kilborn-Sauer Co), Jun 6 1950,
362/194 159/17.3 -
uses 6 volt battery with thumb screw terminals
References:
1333222 Means for Illuminating Magnetic Compasses - using
luminous paint - not here
1544191 Portable Electric Searchlight - uses storage
battery - not here
1592178 Portable Electric Searchlight - uses storage
battery - not here
2320917 Portable Lamp
2510323 Novelty Device, A.F. Tahorski, Jun 6 1950,
2/151 ;
362/103; D2/606 - bow tie with lamp in center
2513071 Electric Flashlight, Robert H. Wendt, June 27 1950,
362/194
439/628 D26/37 - minimalist cap with sheet metal fingers that
grab zinc, bare lamp or w/reflector, or two cell version
2518437 Flashlight, Walter R. Amstutz (Butler Brothers), Aug 15
1950,
362/205 ; 200/51R; D26/49 - reflector made from
plastic with mirror coating
prefocused lamp
2520565 Portable Electrical Highway Signal, Edward Victor Rivers,
Aug 29 1950,
340/331 315/219 362/194 D10/114 - strobe
barricade type
2522660 Foladable Holder for Flashlight Elements, W.E. Bledsoe
(Badger Carton Co), Sep 19 1950,
362/208 174/535
174/546 200/60 229/165 229/194 324/158.1362/189 429/96 -
a single sheet of sheet metal that
when folded holds a cell and lamp
References:
1700768 Flashlight, J.H. Kuechenmeister, Feb 5 1929, - tin foil
as conductor
1922801 Battery Hand Lamp, C.A. Gillingham (National Carbon Co),
Aug 15 1933, - minimalist Pocket Flash Light squeeze switch
2166657 Flashlight Device, Harry C. Evelyn, Jul 18 1939, -
gernade spoon minimalist flash light
2236071 Jack-O-Lantern Battery and Lamp Holder, Albert J.
Roskaxn, Mar 25, 1941, - minimalist sheet metal with feet to
plug into pumpkin
D166073 Flashlight, Milton S. Dunkelberger, Mar 4 1952,
D26/43
- goosneck between cylindrical body and lamp housing
D108202 Flashlight Case, Albert
Gelardin, Feb 1, 1938, D26/49 - penlight case
2278614 Bicycle Lamp, Claud J. James
2528490
FLASHER
TYPE ELECTRIC FLARE, Virgil S. Berry, Nov 7 1950,
340/473
; 340/815.73 - plugs into car cig lighter
2529234 Keyhole Illuminator, Donald H. Swanson, Nov 7 1950,
362/157
; 362/100; 362/158 - mounts on door
2530505 Flashlight Switch Operating Mechanism, E.H. Brill, Nov 21
1950,
362/205 ; 200/60 - no threaded parts
prefocused
lamp
2532181 Illuminated Drinking Glass, Moore, Nov 28 1950,
362/101
; 362/190; 362/203 - similar to a candle but with champagne glass
top
References:
1129602 Case for Portable Electric Lamps, H. POLLAND, Feb 23,
1915,
362/206 ; 362/190 - candle
1144201
Portable Flash Light, H.H. & H.T. Hipwell, Jun 22 1915 -
penlight
1875048 Light Pencil, Levene (Mass. Mem Hospital), Aug 30 1932,
396/313 ; 346/143; 347/110; 347/224; 362/203- for marking
X-ray film
2177337 Automatic Illuminated Glass Holder, Alexander Stein, Oct
24 1939
2224319 Illuminated Drinking Vessel, R.M. Schrover, Dec 10 1940,
362/101 ; 215/377; 362/190; 362/802 - art deco
2261320 Flashlight Pencil, J.R. Williams, Nov 4 1941,
362/579
; 324/506; 362/118 - plastic tip passes light around No. 2
pencil
2292242 Electric Bulb & Socket - house wiring special lamp
base
2314521 Illuminated Artificial Bait Holder, G.S. Schwartz, Mar
23 1943,
43/17.6 ; 362/157; 362/253; 43/41 - clear glass
to see fake fish
2535041 Batteryless Flashlight, Joseph C. Clark (Jeny Corp), Dec
1950,
310/75B ; 362/192; 74/31 - thumb power?
References:
1184056 Self Conatined Generating and Lighting Unit, H.R. Van
Derenter, May 23 1916,
362/192 ; 310/154.32; 310/69;
310/73 - first and second finger squeeze against thumb
1285243 Electric Pocket Lamp, Kuhn-Frei, Nov 19 1918,
310/75A
; 362/192; 74/142 - generator FL
1303068 Pocket Lamp Generator, Oskar Junghans, May 6, 1919,
310/75R
; 310/75B; 362/192; 74/133- generator FL
1316372 Headlight Control Switch for Motor Vehicles - why?
1333119 Hand Generator, Krag-Muller, Mar 9 1920,
310/75R
; 310/156.68; 362/192 - generator FL
1373558 Apparatus for Starting Motors, ?gearing
1380180 Magneto Pocket Lamp, Georges Maxime Beattot, May 31,
1921,
310/153 ; 310/69; 310/70R; 362/192 - palm squeeze
Generator FL
1678496 Electromechanical Lamp, Charles Bernasconi, Jul 24,
1923,
362/192 ; 264/278; 264/294 - plam squeeze Generator
FL
1853188 Mechanical Motion Device, G. R. Wood (Dayton Scale Co),
Apr 12, 1932,
74/405 -
1897786 Starter for Internal Combustion Engines
1956339 Electromechanical Lamp, Charles Bernasconi, Apr 24 1934,
362/192 - plam squeeze Generator FL
2035812 Electric Hand Lamp, Otto Janzen
2399921 Electric Lamp, J.E. Golob & Arnold D. Dircksen, May
7, 1946,
362/208 - parachute marker light dual lamps
References:
2376330 Identification Light for Aerial Delivery Containers,
A.D. Dircksen
2424700 Generator Light, Marl McMath (Dayton Acme Co)
2536593 Keyhole Illuminator, Edward E. Ciha, Jan 2, 1951,
362/158
; 362/100; 362/197 - screws mount to door adjacent to lock opening
References:
916833 Pocket Electric Incandecent Lamp, Fritz Blau
(Gasgluhlight)
985018
Battery
Lamp
Socket, George N. Eastman (E.C.
Brown)
1093287 Electric Cap Light, A.B. Neff, Apr 14 1914
1112624 Electric Lamp Mount, E. S. Keogh
1128307 Illuminating Door Knob, Greely, Feb 16 1915,
362/100
; 70/DIG.59 -
1282615 Flashlight and Battery, Moz Mizrahi, Oct 22, 1918,
362/201
; 200/60 - pocket FL mostly battery
1359585 Coupling plate for Storage Batteries
1476028 Electrical Connector for Spark Plugs
1557870 Sparkplug Terminal Cable Connection
1600603 Electric Push Button
1922601 Spark Plug Terminal
1971266 Flash Light Attachment for Batteries, Harry T. Kingsbury
(Kingsbury Mfg)
2007101 Keyhole Illuminator
2016819 Flash Lamp, Francis R. Meginniss (Inertia Devices Inc),
Oct 8 1935,
362/158 ; 362/188; 362/206- inertia based
switch
2085331 Door Lock Indicator - mechanical
2361414 Marine Safety Light, J. A. Ramsey, Oct 31 1944,
362/108
; 362/158; 362/802; 441/17; 441/89 - Lens Globe like May? light
2387144 Electric Flashlight, William H. Gey
2386255 Flashlight, Willis B. Morey
2389591 Color Illuminator for Flashlights, LeRoy O. Brown
(Justrite Mfg Co) my penlite
2400974 Illuminated Handbag Latch, Hyman Berman, May 28 1946,
362/156
; 150/118; 362/197 -
2538332 Flashlight, Donald G. Schaefer (Fulton Mfg Corp),
Jan 16 1951,
362/184 ; 362/202; D26/49 - cap with colored
plastic lens
Refrences:
1287186 1287186 Flash-Ligh, P.M. Beard
1421093 Flash Light, Leslie C. Matson
1734230
Combined Searchlight and Fuse Tester, Nathaniel Roe
1816065 Flash Light, F. A. Weidman
2194992 Flashlight Construction, John J. Walsh
2539113 Lamp Head and Switch, Herbert Hafford Boll
, Jan 23, 1951,
362/208
; 362/235
Flashlight with H-shaped Frame Forming Opposed Holders for Dry
Cells and Lamp Head, Frank Berman, Sep 30 1952, - jewlery box look
Referenced by:
D279222 Portable Light, John H. Drane (Duracell Inc), Jun 11,
1985,
D26/44 ; D26/37
References:
| D241972 |
(unknown)
[Pocket
Flashlight]
|
Oct 1976 |
| D255721 |
Book
lamp |
Jul 1, 1980 |
| 1926108 |
HAND
LAMP |
Sep 1933 |
| 2539974 |
FLASHLIGHT
WITH
ADJUSTABLE HEAD |
Jan 1951 |
| 2612598 |
FLASHLIGHT
WITH
H-SHAPED FRAME FORMING OPPOSED HOLDERS FOR DRY CELLS
AND LAMP HEAD |
Sep 195 |
2553307 Plural Socket Flashlight having Flexable Switch, Raymond
L. Falge, May 15 1951,
362/158 ; 200/60; 362/184; 362/189
- water and air tight, throwaway
References:
1466350 Flash Light, E.R. Barany,(Franco Electric Corp), Aug 28
1923
1671744 Flashlight, JTTLITTS ROSENBERG (Herman Hoffamn), May 29
1928, 362/205 ; 362/184; 362/187 - couble ended, spot
and area
1866600 Pocket Flash Light, F. Rauch, Jul 12 1932
1922801 Battery Hand Lamp, C.A. Gillingham (National Carbon Co),
Aug 15 1933
2070755 Fishing Lure, Seigle, Feb 16 1937, 43/17.6 ;
362/158; 362/253 -
2252950 Dry Battery Lamp, E.E. Seiss, Aug 19 1941
2262040 Illuminated Panel Battery Lamp, Van Dyne Pell, Nov 11
1941
2234972 Flashlight, Zennan, Mar 18 1941
2387144 Electric Flashlight, William H. Gey, Oct 16, 1945
2561744 Battery-Operated Book Light, V.V. Langdon, July 24, 1951,
362/99 ; 362/191; 362/199; 362/98; D26/51 - Two AA folds up into
compact package
2562997
Flashlight Oil Tester, Leon G. Alexander (Wix Accessories Corp),
Aug 7, 1951,
356/246 356/410 362/208 - new lens for Boy
Scout Flashlight for checking motor oil.
2566280 Twin Beam Flashlight, Yandt, Aug 28 1951,
362/184
; 200/60; D26/46 - twin reflectors and lamps
2572760 Illuminated Shoe Device, Nathan Rikelman, Oct 23 1951,
362/103
; 200/52A; 200/52R; 200/60; 36/1; 36/137; D2/946; D26/57-
"Buck Rogers Space Flying Foot
Eye" References:
571924 Foot Lantern - kerosene - not here
1184396 Electrically Illuminated Shoe, John E. Trimble
1391243 Signaling Device - Attached to back of drivers hand
powered from car uses Mercury switch - not here
1556860
Flash-light Traffic Signal, J.M. Lovaas, 1925-10-13, - worn on
wrist with rear facing light used with hand signals.
1597823 Light Projecting Attachment for Shoes, Randolph
1933243 Illuminated Shoe, DeMerolis
2140224 Roller Skate Attachment, Mikaly Galgoczy
2262040 Illuminated Panel Battery Lamp, Van Dyne Pell
2405384 Illuminating Ankle Bracket and the like, Albert W. White
2582572 Electric Fan, George C. Tulk, Jan 15 1952,
416/5 ;
416/63 - two "D" cells power fan or light
References:
1108053 Portable Electric Fan,
T.R. Wiwi & J.W. Fassett, Aug18 1914,
417/411 ;
310/50; 417/361 - cylinder shape based on No. 6 Dry Cell?
Related:
2595406
Flashlight
Fan, J.E. Popovich, May 6
1952,
417/236 ; 417/313; 417/411 - angle head lens
replaced by prop and reflector replaced by motor
Related:
D309182
Pocket
fan
or similar article
4839106 Portable Misting Fan
2850228 (Large Squirrel Cage) Blower Rowley luggable
3099386 Portable Blower, Howard B. Pieper, Jul 30 1963,
417/236
; 126/25B; 417/411- Flashlight body with Squirrel Cage
Blower as head
References:
1504003 Fan Attachment for Flashlights, A.F. Trumbull
1637652 Fan or Blower, W.H.C. Ness, Aug 2 1927,
416/187
; 29/511; 29/513; 29/889.4; 403/186; 403/252; 415/206-
Squirrel Cage Blower
1749373 Combined Blower and Suction Device, A. BREUER, Mar
4 1930,
55/511 ; 15/344; 15/410 - shoulder strap
Kirby Vacuum?
2595406
Flashlight
Fan, J.E. Popovich, May 6
1952
4021150
Battery
powered pump
2909316
PORTABLE
FANS
5851106
Portable
fan device
6237621
Valve
for
inflatable objects
3809504
BLOWER
HEAD
FOR FLASHLIGHT, Donald Leonard
Goossens, May 1974,
417/411 ; 415/206;
D23/383-
References:
3099386 Portable Blower, Howard B. Pieper, Jul 30 1963
2595406
Flashlight
Fan, J.E. Popovich, May 6
1952
2960321 Portable Aerator, Stoots, Nov 15 1960,
261/30
; 261/121.2; 261/122.1; 417/411; 43/57 - flashlight body
and air pump to drive bubbler
2961129 Plant Duster, Giles E. Bullock, Nov 22 1960,
222/630
; 222/228; 222/240; 222/323; 222/333; 239/654; 239/683;
D26/45 -
angle head FL replace
reflector with motor and fan add venturii to suck
in powder and horn to broadcast powder
3647323 Battery Operated Fanning Device, John C. Thomas,
Mar 7 1972,
417/234 ; 126/25B; 415/206; 415/212.1;
417/411 - looks like air horn
3697198 Attachment for Charcoal Burning Unit, Holder, Oct
1972,
417/411 ; 110/327; 126/25B - flashlight body
with large external fan
D275328
Combined
fan and torch
D345599
Portable
fan unit
6598626
Switchable
inflation device
6755208
Valve
for
inflatable objects
D446284
Hand-held
pump
2792699 Candle Applicator, William R. Lamm, May 1957,
431/145
; 431/289- flashlight with long wand and fan at top to blow
out candles
6290469
Hand
held,
self-powered pump
2595406
Flashlight
Fan, J.E. Popovich, May 6
1952
4021150
Battery
powered pump
4219531
Smoke
diffusing device
6422835
Compact,
portable combination dust blowing and swabbing apparatus
3558243 PORTABLE FAN
2909316
PORTABLE
FANS
2582572
ELECTRIC
2792699
LAMM
F
2745598
MARTINEZ
FAN F
2695379
ANIMATED
ELECTRIC SIGN
1254042 Portable Fan, PEED C. HOWE, Jan 22 1918,
248/431
; 200/60; 310/68R; 416/63 - battery powered
Related:
4687414
Outdoor fan backpack Aug 18, 1987
4886233
Fire fighting ventilation system Dec 12, 1989
4906164
Hand-portable fire fighting, positive pressure blower Mar 6,
1990
D309182
Pocket fan or similar article Jul 10, 1990
5851106
Portable fan device Dec 22, 1998
1504003 Fan Attachment for Flashlights, A.F. Trumbull
1746531 Electric Fan, Harvey Hubbell (Harvey Hubbel Inc), Feb
11, 1930,
417/369 ; 310/66; 415/208.1; 416/93R -
476291UK1937
2586265 Trouble Light for Illuminating Work, Clyde C. Russell, Feb
19 1952,
362/398 - car breakdown
References:
1121293 Magnetic Lamp Support
1641880 Hand Lantern, George Cohen, Sep 6 1927
1875956 Mutiple Parallel Flash Light
1932143 Permanent Magnet Support for Lamps
1974294 Folding Duplex Flash Light
2001363 Flash Light
2039205 Pocket Powder-Case
2215829 Falshlight Attachment
2241741 License Tag Illuminating and Signaling
Device - not here
2374161 Lamp Socket Shading Device - not here
2413628 Portable Hand Lamp such as an Inspection Lamp - line
powered Festoon lamp - not here
2588162 Magazine Tool Handle, Peter F. Riggio, Mar 4 1952,
81/490
; 279/81; 292/304; 312/309; 362/119 -
pocket multi-tool includes a
penlight
2588772
Combined Flashlight and Circuit Tester, Byron Sill, Mar 11 1952,
324/506
; 362/190; 362/197 -
appearance similar to the hand
lantern but under the top lid are the test leads with alligator
clips.
References:
1508990
Flash-Light (test leads) Attachment, Fredrick Schmidt, Swp 16
1924,
324/506 - made to replace the battery cap of a
1922 Ever Ready Flash Light
2231660
Electrical Circuit Exploring Tester,
Frederick
A. Carlotti, Feb 11, 1941,
324/506 ; 292/DIG.14;
429/61 - Tip pins plug into switch and lamp head
2234444
Illuminating Device, John W. Martin, Mar 11 1941 - remove cell
& add storage for something
2519294
Flashlight having a Switch to Convert the Flashlight into a
Testing Device, John G. Schneider, Aug 15, 1950,
200/60
; 324/507 - switch body is terminal
2540471
Flashlight with Testing Attachment, Benjamin F. Borsody, Feb 6
1951,
324/506 ; 362/183 - neon lamp seperate from
continuity test
2591269 Signaling Wand for Flashlights, Lehoczki, Apr 1952,
340/321
362/208 362/577 D26/46 - stack of prisims
2592208 Bezel Lock for Electric Safety Lamps, Willson Y. Stamper
(T.A. Edison Inc), Apr 8 1952,
362/208 220/300 403/343
403/349 - miner's explosive atmosphere
2593188 Novelty Hat Construction, Rikelman, Apr 1952,
446/27
; 2/182.2; 2/209.13; 2/DIG.10; 273/DIG.17; 362/106; 362/278;
40/329; 446/197; 446/485; 472/51 -
balloon can be inflated from bulb
in pocket and contains a lamp to illuminate display writing on
balloon.
2595695 Tubular Aluminum Bail with Reinforcing Inserts at ,
Charles S. Packer (Justrite), May 6 1952,
16/444 ; 16/445;
29/445; 29/517 -
2597565 Flashlight Attachment for Guns, Chandler, May 20 1952,
362/110
; 42/1.01; 42/146 - for Thompson submachine gun
2597073 Flashlight having a Reversible Contact Plate for
Establishing either Series or Series-Parallel Connections ,
Cunningham, May 20 1952,
362/184 ; 307/71 -
Four "D" cells side by side in
short cylinder
References:
1892075 Electric Lantern, F.W. Noffs, Dec 27, 1932 - appears to
be very reliable design - sounds like it used "D" cells, not
hard to get cells.
1932102 Electric Illuminating Device, R.M. Eaton (Niagara
Searchlight Co ), Osc 24 1934,
362/187-
allows getting either a flood or
spot beam by adding a second reflector over the first
reflector.
2074536 Portable Electric Lamp Casing, Le Roy O. Brown (Justrite
Mfg), Mar 23 1937,
362/205 ; 200/60; 429/150; D26/48 -
similar to a bicycle lantern but
holds 6 cells in 3x2 array and only one cell diameter
thick Can be switched to provide different combinations
2123435 Lamp for Road Vehicles
2145631 Electric Lantern, J.S. Pixley, Armspear Mfg Co.,
Jan 31, 1939
2224742 Electric Device, Muldoon (Henry Hyman), Dec 10 1940,
362/202
; 340/321; 362/186; 362/207; 429/149 - caution or safey light
dome lens
2245793 Multiple Filament Lamp, John H. Kurlander
(Westinghonse), Jun 17, 1941, -
2408643 Safety Flashlight for Pedestrians and Bicycle Riders,
Joseph A. Hoy, Oct 1 1946,
362/184 ; 362/197 - Dual
angle head screw lamp
2597662
PORTABLE
SELF-CONTAINEDREADING LAMP, Melamed, May
20 1952,
362/99 ; 362/184; 362/191 - one lamp-battery for
the left page and another for the right page.
2599253 Angular Head Flashlight Casing including a readily
attachable lamp contact means, Joseph A Gits, Jun 3 1952,
362/208
362/197 362/207 - angle head
References:
1168351 Battery Lamp
1770902 Flashlight
2249692 Pocket Flashlight, Albert Gelardin, Jul 15 1941
2358820 Portable Electric Flashlight
2385639 Flashlight
2408393 Flashlight
2408643 Safety Flashlight for Pedestrians and Bicycle Riders
2599254 Angular Head Flashlight Casing including a readily
attachable lamp contact means, Joseph A Gits, Jun 3 1952,
362/208
- angle head
References:
1599113 Flash Light
2057718 Electrical Device
2249692 Pocket Flashlight, Albert Gelardin, Jul 15 1941
2358820 Portable Electric Flashlight
2408393 Flashlight
2509832 Electric Flashlight with means for quickly changing
bulbs
2599419 Multiple Switch and Multiple Bulb Electric Lantern,
2605316 Shock Absorber Assembly for Portable Electric Flashlights,
Leopold C. Grimsley (H. Hyman), Jul 29, 1952,
439/382 -
screw base or
prefocused lam
2605674
TOY
MOTION-PICTURE PROJECTOR,
2608639 Portable Lantern having Contact Accomodating a single
Lantern Battery or a Plurality of Flashlight Cells, Packer
(Justrite), Aug 26 1952,
362/199 -
swivel head, a lantern battery is
shorter than two "D" cells long so there's a spacer that fits in
the center hole left by the "D" cells so can be fixed.
References:
1122778 Portable Electric Lamp, A.S. Lyhne (Franco?), Dec 29
1914,
362/157 200/60 - No. 6 Dry Cell - like thermos
bottle with handle for horizontal carry reflector on end
1487429 Battery, WILLIAM BALDERSTON (French Battery Co), Mar 18,
1924,
429/99 ; 362/190 - RR type lantern battery holder
1825354 Focusing Hand Lamp, H. W. JONES (National Carbon Co),
Sep 1931,
362/188 - X and Y axis tilt in addition to Z
adjustment of focus
2053591 Electric Lantern, L.M. Wiley, Sep 8 1936,
362/21
; 340/815.76; 362/208; 429/96 - 4 "D" cells, can sit on either
end many features
2074536 Portable Electric Lamp Casing, Le Roy O. Brown (Justrite
Mfg), Mar 23 1937,
362/205 ; 200/60; 429/150; D26/48 -
similar to a bicycle lantern but
holds 6 cells in 3x2 array and only one cell diameter
thick Can be switched to provide different combinations
2137230 Electric Flashlight, T. R. ARDEN (Ultrad Products), Nov
22 1938,
362/205 ; 429/99 - two sets of batteries,
active and reserve, just switch to use second set
Justrite No. 2108
2611019 Multicolored Manual Signal Light, Edmund A. Warner (Lake
Erie Chemical Co) , Sep 1952,
340/321 ; 362/102; 362/208;
362/293; 403/104 - wand attachment
2614206 Flashlight Assembly having Combined Support and Visor
means, Dow Goad, Oct 14 1952,
362/191 ; 224/235; 224/245;
224/616; 224/623; 362/208; D26/49, - carry bag
200/61.18 200/286
200/60 242/305 242/323 340/573.2 340/668 362/109 362/208 362/396
43/17 - at reel
2616332 Toy Projector, Morris Sorkin, Nov 4 1952,
353/43 ;
352/200; 353/85- projects film strip, battery powered
References:
1237161
TOY
MOVING
PICTURE THEATER, A. L. BOWEN, Aug 14 1917,
446/82
; 40/518; 446/476 - no projection, just different screens on
roll
1290947
ADVERTISING
PROJECTING DEVICE, C. ERSKINE, Jan 14, 1919,
353/62
; 116/246; 353/74 - projects static and moving text
1424453 Toy (Movie Theater), Farr, Aug 1 1922,
446/82 ;
446/38 - no projection, just different screens on roll
1590743
TOY
MOTION-PICTURE
MACHINE, HARRY S. HANSTINE, Jun 29, 1926,
352/101 -
not projection. A drum
moves in a start stop manner to display a small number of
frames by reflected light
1879600
PROJECTING
DEVICE, Burchett (Art Metal Works), Sep 27 1932,
353/57
; 352/127; 353/78; 362/308 - advertizing projector
1898850 Moving Picture Machine, AND ATTOTSTO GENTILINI, Feb 21,
1933,
352/181 ; 226/113 - home movie projector
2012444
TOY
MOTION
PICTURE PROJECTION MACHINE, Wilfred E. Tait, Aug 27, 1935,
352/196 - hand cranked, battery operated, real moving
pictures
2012445
MOTION
PICTURE
PROJECTION MACHINE, Wilfred E. Tait, Aug 27, 1935,
352/126
; 352/194 - hand cranked, battery operated, real moving pictures
2018393
AMUSEMENT
DEVICE, Oliver B. Andrews, Oct 22 1935,
446/82 ;
446/483 -
a fold it yourself cardboard box
that holds a hand lantern at the back just below the eye peep
hole and inside looks like you are in a movie theather.
screen rolls to present different images.
2100008 Picture Projecting Device, Clarence L. Stephens, Nov 23
1937,
353/43 ; 353/85; 362/112, - pistol shaped film
strip projector
2203660
OBJECTIVE
MOUNT, D Arcy A. Young (Kodak),
Jun 4, 1940,
396/529 ; 359/819 - projector lens
2368188
TOY
THEATRE
STAGE, L. WISE (Playette Corp), Jan 30, 1945,
446/82 -
just a small stage for children
2623158 Multiple Bulb Electric Lantern, C. W. CRUMRINE, Dec 23,
1952,
362/185 ; 362/211 -
2628305 Battery Retainer for Electric Hand Lamps, Talbot, Feb 10
1953,
362/208 D26/50 - uses dual spring top 6 V lantern
battery on it's side
2647222 Toy Bear, Robert T. Nieset (), Jul 28 1953,
315/228 362/124
362/194 362/365 439/544 446/369 446/392 446/485 - blinking
Neon lights
References:
1773834 Figure Toy
1877940 Eye Flickering means for Toys and the like
2040439 Automatic Tremolo for musical instruments - not here
2140840 Audio Frequency Oscillator - not here
2310328 Square Wave Generator - not here
2434065 Illuminated Safety Switch, wall switch w/lamp -
not here
2448389 Fuse Unit - not here
2648762 Combined Housing and Flexable Flashlight, Milton S.
Dunkelberger, Aug 11 1953,
362/198 ; 200/60; 24/11M - flex
head
2651710 Battery Operated Lamp having Anchoring means to Position
the Lamp and Hold the Switch Closed, H.G. Clark, Sep 8 1953,
362/191
312/107 362/196 362/206 -Jack-O-Lantern
2654972 Fishing Line Signal Light, Hollingsworth, Oct 13 1953,
43/17
362/208 43/43.1 43/43.15 - in series with line
2655593 Lamp Clip for Dry Cells, Milton O. Fredrickson, Oct 13,
1953,
362/194 - wire holds lamp and connects to dry cell
minimalist
References:
1162288 Lantern, Emil Grah, Nov 30, 1915
2104888 Electrical Connecting Device, Otto Spahr
2373306 Flashlight, Joseph A. Gits, Apr 10 1945
Popular Mechanics, Sep 1945, page 126
2673925 Portable Utility Lamp, Walter M. Braim, Mar 30, 1954,
362/194
D26/48 - uses two sealed beam lamps and 6V battery with thumb
nuts
2674685 Screwdriver with Illuminating means, Fred W. Young, Apr 6
1954,
362/120 ; 81/436; D8/87- flashlight with secredriver
in front of reflector
2679575 Portable Reading Lamp, A.H. Haberstump, May 25, 1954,
362/99 ; 362/191; 362/194; 362/3 -
2680844
Lens
for Flashlights and the Like, C.H. Smith, Jun 8 1954,
340/321
; 340/815.42; 362/208- plastic rod for traffic direction
2690503 Flashlight Reflector Assembly for Prefocused Lamp, Edward
J. Garland (Ray-O-Vac), Sep 28 1954,
362/208 - lampholder
threads into reflector
prefocused lamp
References:
2100984 Adapter for Incadescent Bulbs
2231382 Flashlight
2326607 Hand Lamp
2518437 Flashlight, Walter R. Amstutz (Butler Brothers), Aug 15
1950
2597565 Flashlight Attachment for Guns, Chandler, May 20 1952, 362/110
; 42/1.01; 42/146 - for Thompson submachine gun
2605316 Shock Absorber Assembly for Portable Electric
Flashlights, Leopold C. Grimsley (H. Hyman)
2696382 Mouth Actuated Flashlight Simulating Lit Cigar, Albert
Gelardin, Dec 1954,
472/57 200/61.58R 362/208 362/806
446/24 446/485 -
2699553 Novelty Hat, Byers, Jan 18 1955,
40/329 ; 2/175.1;
2/906; 362/105; D2/873- has lamp inside and holes that can be
covered by letters to make advertizing sign
2707228 Flashlight Bracket, Stanley J. Philipson, Apr 1955,
362/208
248/688 294/1.1 D26/123 D26/138 - red faceted lens and stand
for car breakdown
2716700
Flashlight
Construction, Ivan E. La France, Aug 30 1955,
362/184
; D26/49- lamp at each end
2721257 Dog Collar Light, Kenneth M. Knox, Oct 18 1955,
362/108
; 119/859; 441/123; 441/89; D30/152 - two batteries lamp at top
center
References:
1615067 Inspection Light, Boerman
1623002 Lamp Supporting Collar, Gossett, Mar 29 1927, 119/859
; 362/103; 362/157; D26/39; D30/152, - light for sheep
1662668 Light Support, John N. Gossett, Mar 13 1928, 362/103
; 340/321; 362/184; 429/98- head band holds light on forehead
1752343 Worker's Lamp, L. J. Kann, Apr 1 1930, 362/103 ;
362/199 - not clear of belt is long enough for waist or just
head
2259443 Illuminating Cane and Umbrella Handle, Frank A. Geier,
Oct 21 1941, 362/102 ; 200/60; 340/321 - optional shape
translucent lamp caps
2366929 Floating Signal Light, Melvjn P. Pfeil
 |
2739225 Disposable
Flashlight, Horace B. Rowland, Mar 20 1956, 362/189
; 273/155; 362/208 - paper doll
a sheet of fibrous material
that can be folded to enclose two cells and a lamp, sold
flat. minimalist design uses tin foil. Photo is a paper
doll made by cutting out the patent drawing. There
are two pieces that get stapled together. I
expect you could buy something like the above all
cut out and with the metal layers attached and with
eyelets or staples mailed in a flat envelope.
When ready to use a two cell lamp would be screwed into
the large sheet with it's base contacting an eyelet at 62
and the box folded up. The string and button type of
office closure is on the outside to hold it
together. Not sure what size battery it was intended
for, could be dimensioned for almost any pair of
cylindrical cells.
One of a number of minimalist flashlight patents.
References:
1306740 Flash-Light, H. Bieber, Jun 17 1919, 362/189
362/201- stiff paper housing metal socket minalimist
design
1778243 Toilet Article, J.A. Burhans
1922801 Battery Hand Lamp, C.A. Gillingham
1959931 Flashlight Equipment - for pohotography fold up
reflector- not here
2089897 Flashlight, Marion D. Judkins
2522660 Foladable Holder for Flashlight Elements,
W.E. Bledsoe (Badger Carton Co), Sep 19 1950
|
2744188 Poetable Hand Lantern, Marvin Olsen, Glen Ellyn, Bill
Rosinski, Nicholas Keller (Justrite), May 1 1956,
362/199
; 200/60; 439/174; 439/52; D26/44 - 3 lantern batteries stacked
side by side in "L" shape
Reflector fits in space where
forth battery might fit.
2744189 Portable Lamp, Walter E. Wudyka, May 1 1956,
362/186
; 343/721; 428/31; 446/485; 446/72; D26/32 - small monkey grabs
car radio antenna an is illuminated
2748260
MOLDED
DOUBLE-FACED
JACK-O -LANTERN
2764058 Portable Combined Photographic Slide Viewing and
Projecting Device, C.A. Ellis (American Optical Co), Sep 25 1956,
353/43 ; 362/268 -
attachment screws onto flashlight
References:
778891
MAGIC
LANTERN, WILHELM EAUSCH, Jan 3, 1905,
362/280 ;
362/304; 362/331 - one version is based on a pocket flash light
1992776 Projector, Louis J. Schindler (Schlndler Stamping a Toy
Co), Feb 26 1935
2126415 Kaleidoscope, A.W. Scheele, Aug 9, 1938, 353/2 ; 353/43;
359/617 - options for attaching to different flashlights
2152424 Designoscope, W.O. Wetmore, March 28, 1939, 353/2 ;
359/617 - motor driven advertizing Kaleidoscope
2357542
Optical Projection Pointer, M.P. Pfeil, Sep 5, 1944, 353/42 ;
362/109; 362/268
2366554 Eye Testing Apparatus, W.F. Peck, Jan 2, 1945, 353/97 ;
351/237; 353/101 -
2445651 Flashlight Movie Projector, K.D. Weavie, July 20, 1948,
352/102 ; 353/110; 353/43; 74/435 -
stock flashlight clips to disk
projector
References:
1019932 Picture Displaying Machine, A.P. Victor, March 12,
1912, 352/102 ; 116/63R - zoetrope type
1102735 Displaying Apparatus, L.J. Goddard, July 7, 1914,
353/107 ; 353/110; 362/293; 362/812; 40/496 -
disk driven by solenoid
presents back lighted images, maybe for eye test
1110247 Stereopticon, B.A. Whitehead, Sep 8, 1914, 353/110 -
motor driven disk w/ images
1235997 Automatic Camera, A.J. Mottalu, Aug 7, 1917, 352/190 -
1985688 ?
2090085 ?
2478336
FLASHLIGHT
FILM AND PICTURE PROJECTING DEVICE, Stein (Hollywood Comic
Flash), Aug 9 1949
2543113 Film Projector and Viewer, H.C. Leavitt, Feb 27, 1951,
353/79 ; 353/122; 353/74 -
2765481 Floating Signal Light, Manhart, Oct 9 1956,
441/17
; 362/158; D26/40 - turns on when water soluable pellet melts D
cell and Lamp
References:
2222246 Beacon Light or Life Buoy, Herman Tober, Nov 19, 1940, 441/16
; 362/158 - novel switch action
2327696 Safety Lamp, Gordon Norman Bishop, Aug 24 1943, 362/158
; 340/321; 362/183; 362/191; 362/205- life vest type
2355247 Life PReserver Light, Henry M. Slocum (Colvin-Slocum
Boats Inc), Aug 8 1944, 362/158 ; 362/186 - single D
cell, hemisphere plastic dome, screw dome to turn on or off
2366929 Floating Signal Light, Melvjn P. Pfeil
2769896
FLASHLIGHT
SWITCH, Reuben B. Lambert, Nov 6
1956,
362/205 ; 200/60 - ring switch on cylindrical light
(I used to have one of these maybe Ray-O-Vac)
References:
1253846 Combination Case for Flash-Lights, A.S. Lyhne, Jan 15
1916
1802712 Handlamp Switch, H.G. Graubner (National Carbon Co), Apr
28 1931
2226353 Flashlight, O. T. Wood (Blake Mfg), Dec 24, 1940
2261536 Flashlight, O. T. Wood (Blake Mfg), Nov 4 1941
[1339356 typo in number]
2427526 Flashlight, Walter M. Golder, Sep 16 1947,
362/202
; 362/158 - cylindrical waterproof, w/machined threads, not
rolled
References:
1144201 Portable Flash Light, H.H. & H.T. Hipwell, Jun 22
1915
1398799 Flashlight, Recker (Chase Co), Nov 29 1921
2704804 Vanity Appliances, Marjorie G. Eames, Mar 22, 1955,
362/137
- lipstick, flashlight, mirror
References:
1144201 Portable Flash Light, H.H. & H.T. Hipwell, Jun 22
1915
2224259 Toilet Device - mirror holder
2258540 Illuminated Vanity Case, George M. Cressaty, Oct 7
1941,
2258542 Illuminated Vanity Case, George M. Cressaty, Oct 7
1941,
2296112 Compact or Vanity Case, Paul L. Menn, Sep 15 1942, 362/136
; 220/DIG.26 - single cell and prefocused lamp
2580258 Illuminated Mirror, Michael Tarasuk, Dec 25 1951
2772349 Illuminating Apparatus, Chamberlin, Nov 27 1956,
362/191
; 362/201; 396/155 - auto breakdown
2780721 Portable Flash Light, Alvar Lenning (Svenska Lasmutter
Ab), Feb 5, 1957,
362/183 - 3 C or D cells lamp &
reflector on broad side of rectangle
2785288 Illuminated Novelty Pins, G.P. Lewis, Mar 12, 1957,
362/157
; 362/189; 362/203 - paper doll structure and pull string switch
References:
2327696 Safety Lamp, Gordon Norman Bishop, Aug 24 1943
2476633 Fishing Float, K.F. Sohr, Jul 19 1949, 43/17 ;
362/158 -
2522660 Foladable Holder for Flashlight Elements, W.E. Bledsoe
(Badger Carton Co), Sep 19 1950
2662968 Flashlight Lamp, camera type
2698495 Animatable Toy, Ciampa (U.S. Electric Mfg), Jan 4 1955,
446/28 ; 24/13; 362/203; 362/808; 63/20 - battery and 222
lamp
2796516 Flashlight, Nlkolaus Martschik, Jun 18 1957,
362/199
; 439/8- ball head for any position
References:
772877 Electric Lamp, GEORGE F. FISCHEE, Oct 18, 1904, 439/6
- interesting dual lens system
1615067 Inspection Light, Boerman, Jan 18 1927, 362/105
; 174/21JC; 351/158; 362/275- mounts on eye glass frame, ball
joint
1792902 Portable Electric Flashlight, Haines, Feb 17 1931, 362/199-
ball joint head
1832564 Electric Flash Light, Kuhn Kuhn-White Labs), Nov 17
1931, 362/197 ; 362/208 - 45 degree joint on
intersecting ball joint
1899868 Portable Convertable , Herlbauer, Feb 28 1933, 362/199
- hinged angle head
2165531 Electric Lantern, A.B. Bertrand, (Burgess Battery Co)
2205163 Flashlight, Jun 18 1940, 362/199 ; D26/44 - head
on track from hemispheridal top to side of cylinder
2254715 Light with Adjustable Head, John Tuller, Sep 2 1941, 362/199
- ball rotates inside hemishpere with slot
2349453 Flashlight, Philip X. Noel (Bridgeport Metal Goods Mfg
Co)
2401366 Portable Electric Falshlight, Bernard Francis Muldoon
(Henry Hyman), Jun 4 1946, 362/199 ; 324/507 - spherical
heat tips on axle
2712058 Pen Light or the like with Adjustable Head, Grebey
2798147 Light-Reflecting Lens, Orsatti, Jul 2 1957 -
359/528
; 116/63P; 340/815.76; 340/908; 340/908.1; 362/216; 362/260;
362/293; 362/332; 362/337; 362/84; D26/123
optical combinations of lens,
reflector and retro reflectors so combination reflects light
back to source without power, barricade
2814158 Animated Flashlight Figurine, Albert Gelardin, Nov 26
1957,
446/341 ; 292/80; 362/104; 362/124; 446/343; D11/129
-
D173842 Santa Claus Red Nose
Novelth Pull Cord Flashlight, Albert Gelardin, Jan 1955, D26/39
; D11/55 - clips on clothes
References: D168751 Miller, Feb 3 1953, -
2817754 Torch Head Safety Flashlight, Arthur H. Moore (Bridgeport
Metal Goods Mfg Co), Dec 1957,
362/202 -
prefocused
lamp
2849596 Electric Hand Lantern, J.A. McDermott, Aug 26 1958,
362/184
362/191 362/194 362/199 D26/48 D26/50 - uses 6 volt battery
with thumb nut terminals
References:
1142548 Electric Lamp
1194930 Lamp
1282219 Portable Signaling Search Light, not here storage
battery
2069355 Combined Circuit and Flashlight Connection
2320917 Portable Lamp
2510321 Hand Lamp for Attachment to Batteries
2673925 Portable Utility Lamp
2850716 Attention Arresting Signal Light,
George
W.
Smale, Sep 2 1958,
362/269 ; 340/815.76;
340/815.77; 340/984 -
used on a stake, car roof, buoy
where movement causes optical elements to change position thus
changing fresnel beam pattern
References:
1840098 Lens for Light Signals - railroad lens shows Red or Blue
2274217 Vehicle Lamp, J.- Sauer, Feb 24 1942, 362/317 ;
248/200; 248/317 - semi truck side marker
2367818 Seadrome Contact Light Buoy, J. A. Diehl (Firestone Tire
& Rubber Co)
2398974 Electric Lamp with Two Shades, Harry Storm, Apr 23 1946,
362/35 - hot air causes inner shade to rotate
2496601 Vehicle Signal Lamp, - at top of flexible stalk so it
will move thus indicating vehicle braking etc.
2867717 Leg Attached Light,
2880306 Electrical Appliances, Waldemar Witte, Mar 31 1959,
362/183
; 30/34.05; 315/171; 315/362; 320/114 - rechargable handle for
flashlight, razor, etc
2896067 Flashlight, Lee J. Lockwood (Storage Battery Co), July 21
1959,
362/158 ; 116/DIG.44; 429/116; D26/49 - life
vest/raft type. uses a reserve battery instead of a carbon
zinc
2890327 Flashlight Construction, Tick C. Cheng (Electric Storage
Battery Co), Jun 9, 1959,
362/208 ; 362/341- insulating
reflector &tight seal of glass
2900493 Electric torches, Wing Gee Cheng (Meyer Mfg Co), Aug 18
1959,
362/184 ; 200/60 - filtered lamp in tail cap,
prefocused lamps
2900494 Electric torches, Wing Gee Cheng (Meyer Mfg Co), Aug 18
1959,
362/184 ; 200/60 - stands on end similar appearance
to the May Illuminating Torch
References:
1203576 Trainman's Flash-Light, J.E. Broadhead, Nov 7 1916
1955511 Electric Flash Light, Joseph Muros, Apr 17 1934
2181447 Lock Switch for Flashlights, J. F. Ayotte (Scovill Mfg),
Nov 28, 1939
2253952 Flashlight, Anthony J. Desimone (Bright Star Battery
Co), Aug 26 1941
2259416 Lamp Construction, Gardener (Mer-Q-Ree Corp), Oct 14
1941
2716700 Flashlight Construction, Ivan E. La France, Aug 30 1955
2727981 Electric torch with Auxillary Outlet, Harold G.
Carpenter, Dec 20, 1955, 362/183 - two prong socket for
ac mains type plug (Class for Navy Battle Lantern?)
2823300 Light Modifying Attachment for Flashlights, H.G. G(Chase
Co)966
2909316 Portable Fans, Frohaczka, Oct 20 1959,
416/5 ;
200/60; 248/205.5; 248/663; 362/190; 362/208; 416/246; 417/411-
angle head fan on one end and lamp, reflector & lens on other
2918668 Flasher Warning Lamps, Fred Frank Stube, Dec 22 1959,
340/331
340/815.76 340/908.1 362/194 D10/114 - two spring top 6
V batteries incandescent lamp
2927314 Droppable Marker Light,
Philip J.
Peanlngtoa (USAF), Mar 1, 1960,
340/815.74 ;
116/202; 116/209; 340/953 - survive drop on water or land and
rights itself, strobe light, only on when dark.
References:
2346695 Electric Water Light, Gustave Miller
2367818 Seadrome Contact Light Buoy, J. A. Diehl (Firestone Tire
& Rubber Co), Jan 23 1945, 441/16 ; 220/566
-Seaplane landing light
2376330 Identification Light for Aerial Delivery Containers,
A.D. Dircksen, May 22 1945
2380587 Distress Signal Device for Aircraft, Estil Irvin Fenton,
Jul 31 1945, 116/210 ; 441/27; 441/30 - baloon & SOS
flag, not light
2809366 Device Comprising a Gas Discharge Tube, Van Boort
(Philips), Oct 8 1957, 315/94 ; 313/628; 315/241R;
340/326 - heated anode
2829257 Transistor Oscillator Circuit, E. Root (R.E. Dietz Co),
Apr 1 1958, 331/111 ; 315/136; 315/200A; 315/209R;
315/287; 327/576 -
2891195 - complementary transistor barricade flasher
2931026 Warning Signal Device, Francis Stone Nelson (Nelson Price
Inc), Mar 29 1960
340/815.73 ; 340/331; 340/908.1; 362/200
- strobe type barricade warning lamp
References:
1210966 Signal Apparatus for Motor Vehicles
1592455 Flash-Light Mechanism, E. H. Freeman, Jul 13, 1926,
315/209R
; 307/132V; 340/331 - ?
2025235 Circuit Interrupter, Irene Gonsett, Dec 24, 1935,
340/331
; 256/10; 315/219; 315/226; 335/243; 335/266 -
Strobe lamp is flashed using a
battery and a transformer made from "E" & "I" silicon
steel. Mercury switches make and break the curcuit as a
car stops.
2272855 Vibrator, Raymond H. Sullivan (GM), Feb 10 1942,
307/132R
; 310/21; 335/93; 363/110 - regular and self-rectifying types
2303086 Electric Device, B.F. Muldoon (Henry Hyman), Nov 24
1942,
337/99 ; 200/569; 200/60; 337/112; 337/92; 337/95;
340/321; 340/331; 362/186 -
Flashing Warning Lantern using
bi metal strip
References:
2224742 Electric Device, Muldoon (Henry Hyman), Dec 10 1940, 362/202
; 340/321; 362/186; 362/207; 429/149 - caution or safey light
dome lens
2366929 Floating Signal Light, Melvjn P. Pfeil
2478908 Electric Light-Flash-Producing System, H. E. EDGERTON,
Aug 16 1949,
340/331 ; 315/230; 315/241P; 315/241R;
315/325; 315/353; 340/947; 340/953; 362/35-
related patent 2449063 - strobe
lights on tower at airport
2538854
FLASHING
DIRECTION SIGNAL FOR MOTOR VEHICLES
2540341
SEALED
IN
BLINKING MINE CAB LIGH, Oriand
D. Mcnail, Feb 6 1951,
340/331 ; 315/224; 315/240;
315/241R; 340/321; 340/689; 362/164-
battery resistor, cap & Neon
Lamp
2612548
PORTABLE
TRAFFIC SIGNAL AND THE LIKE
2625598
TRAFFIC
SIGNAL
2702889
PIGTAIL
CONNECTION BETWEEN RELATIVELY ROTATABLE MEMBERS
2709244
FLEXIBLE
LEADS FOR GYROS
2932018 Multipurpose electric Lantern, John J. Schwartz (Brown
& Bigelow), Apr 5 1960,
362/486 ; 307/28; 340/473;
362/311; 362/509; D26/50-
2934635 Portable Illuminating Device, Wing G. Cheng (Meyer Mfg
Co), Apr 26 1960,
362/184 ; D26/49 - lamp at each end
References:
1674650 Portable Electric Light, Frederick Leser (Bright Star
Battery Co), Jun 26 1928, 362/188 ; 200/60 - single hand
beam width/focus adjustment
2049762 Portable Electric Lamp, Roy L. Darling, Aug 4, 1936
2181447 Lock Switch for Flashlights, J. F. Ayotte (Scovill Mfg),
Nov 28, 1939
2212103 Flashlight, H. Rothenberg L. Grimsley, Aug 20 1940
2538332 Flashlight, Donald G. Schaefer (Fulton Mfg Corp),
Jan 16 1951
2681979 Illuminated Baton, Nick Manoloff, Jun 22 1954, 362/102
; 362/186; 362/369; 84/453; 84/477B; 84/484; D21/400 - for
twirling batons like in parades. has lens similar to May
Illuminated torch.
2796515 Extensible Vehicle Lamp
2942102 Portable Self-Contained Light, G. H. Stoutenburg
(Stoutenburg Mfg) Jun 21 1960,
362/157 362/190 362/196 -
6V sealed Beam Lamp
Refeences:
1215757 Flash-Light
1939857 Electric Hand Lantern
2075364 Convenience Light Fixture - line
powered - not here
2191932 Bicycle Lamp Structure
2281839 Electric Lantern
2383223 Searchlight
2402375 Sealed Beam Flashlight Lamp
2571375 Vehicle Lamp Held in Position by Resilient
Clamps - not here
2880306 Electrical Appliances
2945944 Flashlight, James Flowers Gillespie, Jul 19 1960,
362/188
; D26/49- slide adjusts beam width and can also dim light by
retracting Prefocused lamp
2966578 Flashlight Umbrella or Cane, D.J. Coffey, Dec 27 1960,
362/102
; 135/910; 362/191; D26/38 - flashlight can be removed
References:
1032199 Umbrella Attachment, T.C.
Frederiksen, Jul 9, 1912, 135/15.1 ; 24/12; 24/13;
24/363; 24/368 - allows carrying on clothing, not flashlight
1330974 Combined Flash and Trouble Lamp
1427138 Umbrella Handle Lighting Device, Walicki, Aug 29 1922, 362/157
; 135/910; 362/102 - "T" handle, switch has point that grounds
battery
1520070 Umbrella Carries, not flashlight
1807501 Flash Light Holder, J.R. Alexander, May 26 1931, 248/229.14
; 362/396 - like for bicycle handlebar or cane, umbrella
etc
1824449 Cane, Sjoberg, Sep 22 1931, 135/66 ; 135/910;
362/102- with light
2478325 Illuminating Attachment for Canes and the Like, A.P.
Russell, Aug 9 1949, 362/102 ; 135/910; 362/197 -
horizontal handle with down facing reflector
2981827 Light-Reflecting Lens, Orsatti, Apr 25 1961,
362/84
; 340/908.1; 362/293; 362/299; 40/556- optical combinations of
lens, reflector and retro reflectors so combination reflects light
back to source without power, barricade
References:
1588816 Anti Glare means - for vehicles - not here
1675431 Light Transmitting and Reflecting Device - low cost way
to mould glas - not here
1840098 Lens for Light Signals - railroad lens shows Red or
Blue - not here
1847134 Tail Lamp - not here
2012933 Signal Glass - retro reflector tail light -
not here
2220861 Reduction of Surface Reflection
2459693 Laminated Phosphorescent Fluorescent Article - for cars
- not here
2680205 Cathode-Ray Tube and Method of Making - not
here
2798147 Light-Reflecting Lens
2931893 Lighting Arrangement, Arias, Apr 5 1960,
36/1 ;
36/137; 36/8.3; 362/103 - shoe light for walking in dark
3005193 Hazzard Warning Lamp, Knapp (R.E. Dietz), Oct 17 1961,
340/815.76
; 340/331; 340/815.9; 340/908.1; 362/190; D10/114 -
3010645 Portable Electrically Operated Fan and Light, Abraham
Mandelstam, Nov 28 1961,
416/5 ; 362/109; 362/253;
416/70A; 416/82; D26/59-
References:
539208 Fan - like used with 3010645 - not here
1504003 Fan Attachment for Flashlights, A.F. Trumbull
1506325 automatic Fan - motor in wine bottole - not here
2245015 Combined Flashlight and Fan
2909316 Portable Fans, Frohaczka
3015804 Combined Barricade and Flashing Singal Light, E. D. Nunn
Norhtern Signal Co(), Jan 2 1962,
340/908.1 ; 116/63P;
248/166; 248/170; 340/908; 340/928; 362/253; 362/276; 362/812;
D10/114 -
D cells, incandecent lamp,
anto theft features
3017502 Flashlight Construction, E. Dent, Jan 16 1962, -
prefocused
lamp
3022467 Oscillator Circuit with Power Transistor Output, Leeder
(R.E. Dietz Co), Feb 20 1962,
331/74 ; 315/200A; 315/209R;
324/76.52; 327/576; 331/108A; 331/111; 331/113R -
high efficiency, uses patent
2829257 as a driver circuit and adds output stage
Three transistor circuit, inductor
in series with lamp to allow a high power lamp to be switched.
References:
2776420 Transistor Indicator Circuits, Harry J. Woll (RCA, Jan 1
1957, 340/653 ; 324/158.1; 327/214; 331/113R; 331/145;
331/64 - bistabe multivibrator (flip-flop)
2829257 Transistor Oscillator Circuit, E. Root (R.E. Dietz Co),
Apr 1 1958
2892100 Power Transistor Switching Circuits, Chaang Huang
(Sylvania Electric Prod), Jun 23, 1959, 327/222 ;
327/220; 327/478 - flip flop variations
2892165 Filter circuit
3032647 Cap or Hat Light, M.H. Wansky, May 1 1962,
362/191 362/106
362/196 D26/39
3046389 Portable Lighting Unit for Clip Boards and the Liks,
Catelli, Jul 24 1962,
362/200 ; D26/37 -
3047787 Tuner Drive Apparatus, Clarence W. Wandrey (Zenith Radio
Corp), Jul 31, 1962,
318/265 ; 200/38R; 318/467; 318/480-
Channel, Volume, mute, on/off
are controlled by aiming a flashlight at different corners
of the set. Flash-Matic
3057992 Flashlights, Ridgway Baker (Honeywell), Oct 9 1962,
362/200
- pilot chart reading while preserving night vision
References:
1104245 Photographic Dark Room Lamp,
2119486 Flashlight, Bernard F. Muldoon (Henry Hyman), May 31
1938, 362/202 ; 340/321; 362/293; 362/297 - head has
side windows
2225825 Flashlight, Anthony J. Desimone (Bright Star Battery
Co), Dec 24 1940
2889450 Casing for Lighting Device, - Richard A. Nordquist
(Penta Inc), Jun 2 1959, 362/200 ; D26/37 - lantern with
different angles to allow pointing beam
3067324 Portable Electric Lamps, William C. Thompson, Dec 4 1962,
362/194 ; D26/49 - unit battery is case
3070907 Illuminated Dancing shoe, Joseph Rocco, Jan 1 1963,
36/8.3
; 36/1; 36/137; D2/976 - incandecent switch under shoe
3076891 New Plastic Flashlight Head, A.H. Moore (Bridgeport Metal
Goods Mfg Co), Feb 5 1963 -
3065342 Resilient Lamp Mounting, Norsnert P. Worden (C.M. Hail
Lamp Co), Nov 20 1962,
362/390 ; 411/44; 411/45; 411/510;
411/907-
3100420 Toy Slide Projector, Kuhn (Kenner Prod), Aug 13 1963,
353/43
; 353/119; 362/191 -
3105233 Fish Caller, D'Amore, Sep 24 1963 -
3124306 Portable Lamp, O. W. SCHOTZ, Mar 10 1964,
362/157
; 200/60; 362/158; D26/49-
6 cell arranged as two parallel
clinders of three cells each & large reflector
References:
1689457 Electric Lamp, Senger, Oct 30 1928,
362/199 -
cylindrical, two parallel batttery tubes & swivel head
2006175
CIRCUIT
CLOSER, A. E. OSBORN, Jun 25 1935,
362/205 -
switch made from wire acts from case to lamp base
2147368 Flashlight, Herman G. Graubner (Union Carbide
Corp), Feb 14, 1939,
362/157-
[typo in calling pat 2145368
(typo) grubner feb 14 1939]
Masterlite cylindrical case (no
rolled threads)
2226353 Flashlight, O. T. Wood (Blake Mfg), Dec 24, 1940
2249858
VEHICLE
LAMP- streamlined
2420585 Flashlight, Crimmins (Delta Elec), May 13 1947,
200/60
; 200/302.1; 200/548; 200/551; 362/205 - submergible
References:
1107646 Electric Switch, B. Benedict (Beacon Minature Electric
Co), Aug 18, 1914
1874788 Flash Light Switch, JOSEPH F. MORAN (Scovill Manf),
Aug 30, 1932,
200/60 ; 362/205 -
1996891
PUSH
BUTTON SWITCH, Hermon L. Van Valkenburg (Square D Co),
Apr 9, 1935 - industrial sealed pushbutton
2309402
FLASHLIGHT
SWITCH, Korngold, Jan 26 1943,
200/60 ; 362/205
- water, air & gas tight
2420634 Electric Lantern, C.E. Wohler, May 13 1947
2564612
FLASHLIGHT
SWITCH, J. G. SCHNEIDER, Aug 14 1951,
200/60 ;
324/507; 362/183 -
switch has OFF, ON and TEST
positions. In TEST the switch housing when connected to
the case turns on lamp
2643327 VENTILATED INSULATING SPACING SHIELD FOK FLASHLIGHT DRY
CELLS, Albert H. Macklenar, Jun 23 1953,
362/202 ;
174/138R; 174/28-
rattle free
2681982
FLASHLIGHT,
Theodore A. Seegrist, Jun 22 1954,
362/158 ; 200/60;
362/205; 429/96 - waterfroof sealed
2772349 Illuminating Apparatus, W.H. Chamberlin, Nov 27 1956
2806100
FLASHLIGHT
SWITCH, August J. Schildbach, (Olin Mathieson Chemical
Corp), Sep 10 1957,
200/60 ; 362/205; 362/310 -plastic
ring switch
2931005
BULB
SOCKET ASSEMBLY, Saurwein (Union Carbide), Mar 29 1960,
439/660
; 362/205; 362/310 -
dual filament lamp bayonet
base, allows switching between flood and spot
References:
1336067 Battery Hand Lamp, F. BURGESS (Burgess), Apr 6 1920,
362/204
- cylindrical protection for lamp if dropped
[1337477 Apparatus for washing automobiles and the like Knapp
typo in number]
1421093 Flash Light, Leslie C. Matson, Jun 27, 1922
1499591 Handlamp, ARTHUR P. PAINE (Winchester), Jul 1, 1924,
362/204 ; 200/60 - button locks switch
1659864 Switch for Electric Flash Lights, R.M. Eaton (Niagara
Searchlight Co), Feb 21, 1928
1686257 Lamp Socket, ANDREW SAHDBEROR, Oct 2, 1928 - AC mains
type
1700673 Pocket, Cycle and Other Lamp, F. Eckhardt, Jan 29,
1929,
362/201 362/212 -
lamp has two filaments, one
for fresh 4.5 V battery and the other for 3.5 Volts
1932352 Flashlight Switch, Joseph F. Moran (Scovill Mfg), Oct
24, 1933,
200/60 ; 200/559; 362/205 -
1992140 Flash Light, George H. Barber, Feb 19, 1935
2225461 Electric Light Socket, Robert L. Reynolds AC mains not
Edison base
2245793 Multiple Filament Lamp, John H. Kurlander
(Westinghonse), Jun 17, 1941, -
362/184 ; 200/16R;
200/60; 313/115; 313/272; 313/316; 315/164; 315/170;
315/193; 315/320; 315/64; 315/67; 362/197; 362/205; 362/211
Can be used in cylindrical flashlight or No. 6 Dry Cell
lantern to provide spot or area beam
2288808 Hand Lamp Switch, Walter Richard Kopp (Western
Cartridge Co), Jul 7, 1942
2461634 Flashlight, O. Doose (Bright Star), Feb 15 1949,
200/60
; 362/205; 362/310 - reflector & Lens cylindrical
waterproof
2466414 Waterproof Flashlight Switch, Gits et al., Apr 5, 1949
2471032 Flashlight Switch, Howard Lewis, May 24, 1949,
200/60
; 362/205- replaceable switch
2508692 Switch, Manuel O. Souza, May 23, 1950,
200/16R
- can be assembled to be ON-OFF-ON, or (ON)-OFF-ON, etc
2520023 Flashlight having multiple lamps for various tasks,
Vance L. Allen, Aug 22 1950,
362/184 ; 315/164 - 4
cells 1 single fil lamp 1 dual fil lamp
2550145 Electric Slide Switch, Melan M. Geci (Stack), Apr 24
1951,
200/16C ; 200/16R; 200/253 - very common sheet
metal type
2643327 VENTILATED INSULATING SPACING SHIELD FOK FLASHLIGHT
DRY CELLS, Albert H. Macklenar, Jun 23 1953
2676217 Flashlight Switch, Raymond Garbs, Apr 20 1954,
200/60
; 362/205; 362/310- a lever about as long as the light
2716182 Flashlight, Reginald H. Carter, Aug 23 1955,
362/158
; 200/60; 362/205; D26/49 -
water & explosion proof,
operated by heavily gloved single hand
References:
1223883 Diver's Flashlight, Alan Kurt Uke, Sep 12, 1978,
362/158; 200/60; 362/183; 362/203 -
1518530 Electric Lamp, CLABENCE LIPPER, Dec 9, 1924, 362/190
; 362/203; D26/96 - candle type lifting disk turns on lamp
1665867 Electric Boudoir Lamp, CHARLES WACHTEL (not
assigned), Apr 10 1928 - picking up table masterlight by
globe turns it on
1948728 Switch, Francis B. Meginniss, Feb 27, 1934
2176301 Flashlight, Paul O. Haas, Oct 17 1939, 362/158
; 200/60; 362/187- macined case fluid tight rugged
2226647 Water adn Gas Tight, G. D. WATKFNS, Dec 31, 1940, 362/158
- explosive atmosphere, in glass test tube surrounded with
wire cage
2427526 Flashlight, Walter M. Golder, Sep 16 1947, -
machined
2459898 Means for actuating electrical switches, Theophile
A. Stiffel, Jan 25, 1949, 362/395 - AC mains, push
lamp down
2812394
Continuity Tester, Smith, Nov 5 1957,
200/60 ; 324/507;
362/183- combined mode switch and connector
2942102
PORTABLE
SELF-CONTAINED LIGHT, G. H. STOUTENBURGH, Jun 21 1960,
362/157
; 362/190; 362/196 -
holds 6 v spring contact battery
horizontally, sealed beam,
3125300 Safety Lantern, T. F. Roche, Mar 17 1964,
362/20
-
these may be the yellow plastic
lanterns that replaced the Delta Navy Battle Lantern?
The sealed beam lamp has been
retro-fitted with a multiple LED lamp to lower maintenance costs
References:
991044 Emergency Lantern, W. H. Adams, May 2, 1911
1301253 Portable Electric Lantern, William Grether, Apr 22 1919
2369288 Emergency Lighting Unit, Frederick B. Embury, Feb 13
1945
2647204 Twin Sealed Beam Headlight Unit with Alignable and
Removable Lamp Units - car
3128050 Flashlight and Reflector Assembly therefore, Richard H.
Parker ( Union Carbide ), Apr 7 1964 -
3147927
Throwaway Flashlight, M. Steele, Sep 8 1964,
362/189 ;
D26/49- cheap
3172094 Battery-Powered Lamp, William H. Jones (Nicfaoii
Brothers), Mar 2 1965,
340/321 ; 362/203 - sealed beam
lantern 6 V
3185028
LIGHT
AND IMAGE PROJECTORS, G. ANDREOLI - line powered
3189738 Signal Lamp David J. Dover (Doray Lamp Co), Jun 15 1965,
362/267
340/815.76 362/196 D26/123 D26/37 - baracade warning
References:
2739224 Vehicle Signal Light - not here
2748431 Devices for Mounting Windows - not here
2981827 Light-Reflecting Lens
2981828 Safety Lamp Assembly - vehicle powered not here
3015804 Combined Barricade and Flashing Singal Light
3065342 Resilient Lamp Mounting
3100085 Signal Lamp - for vehicles - not here
3199405 Toy Pistol Motion Picture Projector, Samuel Gold, Aug 10,
1965,
352/95 ; 226/70; 352/207; 362/112-
3202979 Highway Marker, Lemelson, Aug 24 1965,
340/321 -
flying scoccer, lamp telescopes out top
3226502 Portable Lamp Switch, Schutz, Dec 28 1965,
200/60
; 200/551; 362/205-
3252733
ELECTRIC
HAND LANTERN, Moore, May 24 1966,
362/157 ; 200/60; D26/48 - four D cells two tubs side by
side to be shorter
3261972 Flashlight, Francis Stahl (Union Carbide Corp), Jul 19
1966,
362/205 ; 200/60 - plastic tubular
3283137 Flashlight, Gerald J. Hoesl, Nov 1 1966,
362/194 -
lamp & reflector assembly clips onto cell, minimalist
References:
1021093 Lamp, J. Forsheim, Mar 26, 1912
2340101 Flashlight Structure, George Bailhe (Fredcraft Corp),
Jan 25, 1944, 362/189 -
2456680 Flashlight, Harry E. Croft, Dec 21, 1948
2513071 Electric Flashlight, Robert H. Wendt, June 27 1950
2826681 Multicell Battery, H.R.C. Anthony (Electric Storage
Battery Co)
3307208 Portable Lantern Float, D. L. JACOBSON, Mar 7 1967,
441/13
; 362/382 - to carry commercial camping lantern in water
3321616 Illuminated Sketch and Memo Borad, Ronald E. Adler, May 23
1967,
362/604 ; 362/200; 362/99 -
3374344
LIGHTED
BEVERAGE GLASS,
3401596 Projection Apparatus, Jeffery G. Hirsch, Sep 17 1968,
353/43
; 362/205; 362/310; 362/806 -
projects Batman's calling
image, just silhouette disk for flashlight
3443085 Buoy Light, Steltzer, May 6 1969,
362/202 ; 441/16
- lockable, photocell, marking waterways
3457398
Flashlight with Replaceable Battery, R. Figa, Jul 22 1969,
362/194
- the two in long batteries are made with a metal outer jacket
that is the body.
3535506 Blinker Light Lantern, Moore, Oct 20 1970,
362/184
; 200/60 -
3588490 Lamp Device, T.H. Nicholl, Jun 28 1971,
362/184 ;
362/158; 48/20; D26/60; D26/63 - sphere w/ flat face, Interesting
References:
2611214 Roly-Poly Toy, Frederick P. Schur, Sep 23 1952,
446/325
; 362/276; 362/802; 446/485 -
spherical toy with a two cell
flashight inside
References:
907092 Toy, ALBERT SCHOENHUT, Dec 15 1908,
446/326 -
hemispherical base toy doll weighted at bottom
1923861 Light, Burton S. Floraday (Dura Co), Aug 22, 1933,
362/190
; 307/157; 315/363; 362/203 - a candle type flashlight
2104762 Safety Water Light, W. B. RINER, Jan 11 1938,
441/16
; 200/52R; 362/158; 441/28 - self righting marker light for
use on the ocean
2151938 Lifesaving Light, Jesse A. Ramsey, Mar 28 1939,
362/158
; 200/52A; 200/60; 200/61.52; 200/DIG.29; 340/331; 441/17 -
ocean marker light off when
stored pointing up
2177337 Automatic Illuminated Glass Holder, Alexander Stein,
Oct 24 1939,
362/154 ; 219/433; 362/101; 362/802
similar to candlestick but
with fingers to hold glass which is illuminated from below.
2879381Flashlights, Robert G. Coffey, Mar 24 1959,
362/158
; 362/189 - batteries have depression to allow larger reflector
3323117
VISUAL
MARKER
OR BEACON, Robert P. Mason, May 30 1967,
340/321 ; 116/209;
340/815.74; 340/815.75; 362/158; 362/186; 362/470; 362/486 -
Flashing flashlight lamp in waterproof sphere
641333 Illuminated Belt, Gendron, Feb 1972,
362/108 ;
340/321; 362/250; 362/802
3665178 Reserve Type Flashlight, Sussingham (P. R. Mallory &
Co., ), May 23 1972,
362/189 ; 429/116 -
3666937 Apparatus for Illuminating Ornaments, Charles Franc, May
1972,
362/194 - special battery and lamp
3683168
ILLUMINATING
SPECTACLES FOR WORKING IN THE DARK, Joachim Tatje, Aug 8
1972,
362/105 ; 351/158 - central 222 lamp
3703634
KEY
HEATER FLASHLIGHT, Peter A. Bucky, Nov
21 1972,
362/116 ; 219/201; 219/220; 219/242; 219/521;
362/183-
inserting car key heats the key so
it can open frozen lock
3756710 Toy Hand Projector, Beverly W. Taylor, (Steven Mfg
Co), Sep 4 1973,
353/43 - battery powered, 222 lamp, film
strip proj
3821540 Lantern, Robert H. Watt, Jun 28 1974,
362/158 ;
362/186; 441/17 - self righting, store upside down
3890498
Flashlight Device, Toth, Jun 17 1975,
362/205 ; 362/191-
can add sections to have more cells i.e. make longer
3893247 Illuminated Soles and Heels, Alfred Dana, July 8, 1975 ,
36/137 - incandesent lamp batteries under sole lamp in heel, tilt
switch
3924116 Flashlight having a Push Button Switch means, Robert E.
Brindley (Union Carbide Corp), Dec 2 1975,
362/158 ;
200/302.1; 200/345; 200/60; 362/205 - side push on push off
3944805
Wireless electric swivel head hand
lantern, Arthur H. Moore (Bridgeport Metal Goods), Mar
16, 1976,
240/106.1;
240/106.3;
240/106.7
- screws on top of heavy duty 6 volt battery
3963886
Switch
for flashlight, Ting Shen Yen, Jun 15, 1976, 200/60;
200/67DB; 240/106.8 -
4028540 Flashlight Marming Implement, Columbus B. Key, Jun 7,
1977, 240/646; 401/192
4041304
Flashlight, Samuel Spector, Aug 9, 1977
4052610 Flashlight Case Assembly and Flashlight, Mark Sternlicht
(Wonder Corp of America), Oct 4, 1977, 362/200; 362/197, -
References:
2119486 Flashlight, Bernard F. Muldoon (H. Hyman), May 31 1938,
362/202 ; 340/321; 362/293; 362/297- small windows allow
light to shing to the side
2234444 Illuminating Device, John W. Martin, Mar 11 1941, 362/156
; 362/207 - combined lantern and first aid kit.
4055840 Reusable Safety Device, Anton R. Uchytil, Oct 25, 1977,
340/321; 116/63P; 366/32; 366/202; 350/101; 340/90; 340/116; 404/9
- flashlight with many relflecting strips at head to reflect light
4090185 Emergency Position Fixing Device, Richard L. Patty, May
16, 1978, 340/321; 340/366A; 340/366G - strobe light mounts
to helmet
4128861 Illuminated Shoe, Akis Pelengaris, Dec 5, 1978, 362/103 -
high heel switch in bottom of heel
4135230 Flashlight, Joseph M. Armbruster, Jan 16, 1979, 362/206;
362/202 - push-pull recessed switch in tail cap
4151583 Flashlight, Jack V. Miller, Apr 24 1979, 362/205, - push
button on side of cylindrical flashlight, uses
flange type prefocused lamp
L.A. Screw Products got their
start with this patent. "Smoke Cutter" for fireman
and "Code 4" for police.
See the Flashlight Collectors newsletter # 80 Winter 2009
4152755 Portable magnetically actuatable flashlight, Raymond
Trosper, May 1, 1979, 362/158; 362/205; 362/208
4215389 Battery Operated Light, Fernando M. Colangelo, Jul 29,
1980, 362/199; 362/200; 200/511.4 -
minumalist "V" arrangement of two
cells & 222 lamp
References:
1528811 Electric Pocket Lamp, Zeiler, Mar 10 1925,
362/200
- special lamp holder reversable as on-off
2349453 Flashlight, Philip X. Noel (Bridgeport Metal Goods Mfg
Co), May 23 1944,
362/197 ; 200/60 hemisphere top when
closed-
2369637 Electric Lantern, Frank T. Baird,
3175080 Flashlight, A.H. Moore (Bridgeport Metal Goods Mfg Co)
3683423 - na
3711703 Flashlight Construction, Joseph G. Bacevius, Jan 16
1973,
362/189 ; 362/190; 362/196-
penlight minimum number of parts
References:
2166282 Electric Lamp, Benjafield (Benjamin Webster), Jul 1939
2435689 Flashlight, McCabe (M. Kessler), Feb 10 1948
2491686 Pen Shaped Pocket Flashlight, Jerome Nathan
(Bantum-Lite Inc)
2600418 Flashlight comprising Permanently Assembled Lamp,
Cell, Housing, and Switch Structure, F.H. Muller, Jun 17 1952
2651710 Battery Operated Lamp having Anchoring means to
Position the Lamp and Hold the Switch Closed, H.G. Clark, Sep
8 1953
3079492 Flashlight, George Noel Bolinger, Feb 26 1963, 362/189
; 200/60; D26/49 - cardboard case single piece switch of
spring material - minimalist
3781502 Mercury Switch with Heat Sink Contact, AC mains switch
3973092 Acceleration Sensing Switch of the Liquid Contact type
having , David S. Breed,
4285031 Portable Searchlight, Hans-Jurgen Reiss, Aug 18, 1981,
362/205; 362/157; 362/158; 362/183; 362/202 - soft case
4286311
Flashlight, Anthony Maglica, Aug 25, 1981, 62/205; 200/153J;
200/64; 362/187; 362/202 - hermetically sealed
4293894 Battery operated illuminating device, Nolan D. Blank, Oct
6, 1981, 362/100; 362/186; 362/191
4364103
Battery Case for an Electrically Operated Device, T.L.
Harshbarger, Dec 14, 1982, 362/200 -
| 4475067 |
Door
lock illuminating device |
Oct 2, 1984 |
| 4623957 |
Battery
powered
auxiliary lighting fixture with a timer |
Nov 18, 1986 |
| 4648012 |
Interior
light
for U.S. mailbox |
Mar 3, 1987 |
| 5036441 |
Illuminated
push button |
Jul 30, 1991 |
| 5179325 |
Touch-sensitive
illuminable door lock |
Jan 12, 1993 |
| 5434757 |
Unit
panel structure for a door trim |
Jul 18, 1995 |
| 5634710 |
Keyhole
light |
Jun 3, 1997 |
| 6249089 |
Intelligent
electrical device comprising microchip |
Jun 19, 2001 |
| 6305814 |
Keyhole
lighting
fixture |
Oct 23, 2001 |
| 6439732 |
Theft-proof
removable door handle illumination device |
Aug 27, 2002 |
| D464862 |
Solar
powered
illuminated door knob |
Oct 29, 2002 |
| 6621225 |
Intelligent
electrical switching devices |
Sep 16, 2003 |
| 6650066 |
Intelligent
electrical switching device |
Nov 18, 2003 |
| 6932486 |
Mortise
lock
with lighted trim plate sign |
Aug 23, 2005 |
| 6952084 |
Intelligent
electrical switching device |
Oct 4, 2005 |
| 6984900 |
Intelligent
electrical switch |
Jan 10, 2006 |
| 7084531 |
Intelligent
electrical devices |
Aug 1, 2006 |
| 7084526 |
Intelligent
electrical devices |
Aug 1, 2006 |
| 7119459 |
Intelligent
switch for connecting power to a load |
Oct 10, 2006 |
| 7180021 |
LED
illuminated door chime push button with adjustable task
light |
Feb 20, 2007 |
4394956
Electric
stock prod James S. Andrews, Jul 26, 1983, 231/2E; 273/84ES
-
4398238
Variable
focus flashlight, Kel-Lite Ind
4405303 Portable Recreational Marker Boy, Richard K. Smith, Sep
20, 1983, 441/16; 441/22; 441/25
4531178 Diver's Flashlight, Alan K. Uke, Jul 23, 1985, 362/158;
362/183; 362/186; 362/202; 362/203; 362/205; 362/295; 200/60 -
4533982
Flashlight
with swivelling head, John J. Kozar, Aug 6, 1985, 362/183;
362/190; 362/191; 362/197; 362/199; 362/202; 362/205; 362/287;
362/398; 362/421; 362/427
4605994 Flash Lamp, Rudolf Krieg, Aug 12, 1986, 362/202; 362/205;
362/187 - optical system for halogen lamp flashlight
| 2338078 |
FLASHLIGHT, Orville T. Wood
(Blake Mfg), Dec 28 1943 |
| 2361480 |
Illuminating Torch, David P.
Joffo, Oct 31 1944 |
| 2855499 |
Flashlight, George P. Lewis,
Oct 1958, Oct 1958, 362/202 ; 340/321; D26/123;
D26/49 -
|
| 4398238 |
Variable
focus flashlight, Kel-Lite IndAug 9, 1983 |
Referenced
by
| 4856218 |
Light
beam assisted aiming of firearms |
Aug 15, 1989 |
| 4916588 |
A
flashlight with focus and switch control |
Apr 10, 1990 |
| 4926299 |
Portable
flashlight |
May 15, 1990 |
| 5424927 |
Electro-optic
flashlight electro-optically controlling the emitted
light |
Jun 13, 1995 |
| 5426308 |
Ultraviolet
curing device having movable reflector |
Jun 20, 1995 |
| 5459649 |
Flashlight
with
an enhanced spot beam and a fully illuminated broad
beam - parabolic geometry & fialments
362/187; 362/282; 362/346; 362/347
|
Oct 17, 1995 |
| 5816688 |
Multi-functional
lighting apparatus |
Oct 6, 1998 |
| 6454433 |
Dual
faceted
reflector |
Sep 24, 2002 |
| 6729744 |
Faraday
flashlight |
May 4, 2004 |
| 6808288 |
Faraday
flashlight |
Oct 26, 2004 |
| 6893141 |
Faraday
flashlight |
May 17, 2005 |
| 6959999 |
Flashlight
having
manual charging device |
Nov 1, 2005 |
| 6994450 |
Faraday
flashlight |
Feb 7, 2006 |
| 7083299 |
Flashlight having
convex-concave lens, 362/188; 362/308; 362/311, Aug
1, 2006 |
| 7147343 |
Flashlight |
Dec 12, 2006 |
| 7152995 |
Flashlight |
Dec 26, 2006 |
| 7229188 |
Faraday
flashlight |
Jun 12, 2007 |
4609976 Combination flashlight and warning light, Udo Geissler,
Sep 2, 1986, 362/202; 362/167; 362/188; 362/196
4680682 Waterproof Flashlight, David H. Parker, Jul 14, 1987,
362/158; 362/204; 362/205 -
4734834 Compact waterproof lighting lamp with adjustable light
beam, Paul Petzl, Pierre Petzl, (Petzl S.A.), Mar 29, 1988,
362/187; 362/103; 362/105; 362/204; 200/60
4788632 Compact Flashlight, Arthur S. Friedman, Nov 29, 1988, -
362/200; 362/196; 362/455 - almost a cube with lanyard
4800472 Battery Powered Lamp, Colin R. Burton, Philip Davies (Eve
Ready Ltd), Jan 24, 1989, 362/158; 362/189
4803605
Flashlight with a backup system, David R. Schaller
(Ray-O-vac), Feb 7, 1989, 362/184; 362/205; 362/208 - two FL in
one pkg
4819141 Flashlight, Anthony Maglica
(Mag Instrument), Apr 4, 1989, 362/207; 362/187; 362/197; 362/205,
-
4870550 Waterproof Flashlight, Alan K. Uke, 362/158; 362/187;
362/202 -
4893221 Portable Light, Arthur S. Friedman, Jan 9, 1990, 362/108;
362/197; 362/199; 362/802; 362/375- hangs on neck strap
4901664 Survival Kit Apparatus,
Sylva
Labrecque, Feb 20, 1990, 116/210; 116DIG8; 116DIG9;
206/573; 446/220 - box with light and compass
4967323 Adjustable Apparel-held Flashlight, Melissa C. Johnson,
Oct 30, 1990, 362/103; 362/105; 362/190; 362/197 - AAA & 112
& ball joint
4984141 Warning and lighting flash light, Larry Lai, Jan 8, 1991,
362/187; 362/206 - colored side filter
Larry Lai 5097399 Flashlight
with Swivel Head, Richard J. Gammache, Mar 17, 1992, 362/197;
362/199; 362/205; 362/207
5045980 Flashlight Adapter, Richard T. Harvey, Sep 3, 1991,
362/202; 362/255; 362/277 - angled reflector with hole in center
splits beam into two bearms
5071716
Casing
for cylindrical electrical batteries of different
diameters, Paul Petzl, Pierre Petzl ( Petzl SA), Dec 10,
1991, 429/9; 429/99
Either three "C" cells or
three "AA" cells can be installed. There is also
provision to recharge them in place.
Note earlier versions of the Petzl head lamps used the
unit style 4.5 volt battery (3R12, MN1203) with tabs, so
using three cells allows for the same lamp options, i.e.
a general purpose lamp or a high brightenss lamp.
4429351 Electric lamp with a single device for
focus-control and Switch Control, Paul Petzl, Pierre Petzl
(Petzl), Jan 31, 1984,
362/187; 200/60; 362/103;
362/105; 362/204; 362/205; 362/206; 362/277
When the lens ring is screwed down tight it opens the
electrical cirucit. When unscrewed the lamp is
turned on and the beam can be adjusted.
|

|

|
5072347 Searchlight, Robert L. Brunson, Dec 10, 1991, 362/194;
362/286; 362/187; 362/306; 362/261; 200/60 - HID type luggable
battery pack
References:
| 1286590 |
PORTABLE
ELECTRIC
LANTERN |
Dec 1918 |
| 1291483 |
PORTABLE
ELECTRIC
LANTERN |
Jan 1919 |
| 1369892 |
LIGHTING
APPARATUS |
Mar 1921 |
| 1825354 |
FOCUSING
HAND
LAMP |
Sep 1931 |
| 2982881 |
PORTABLE
LIGHT
SOURCE |
May 1961 |
| 3201580 |
FLASHLIGHT
R |
Aug 1965 |
| 3675078 |
ELECTRONIC
LAMP
DRIVING CIRCUIT FOR HAND HELD LAMP |
Jul 1972 |
| 3689759 |
UNDERWATER
SEARCHLIGHT |
Sep 1972 |
| 3746920 |
LIGHTWEIGHT
XENON LAMP IGNITER |
Jul 1973 |
| 3758769 |
ROTATING
LIGHT
PROJECTOR |
Sep 1973 |
| 3852587 |
COMBINATION
HEAD AND CASE MOUNTED |
Dec 1974 |
| 3944805 |
Wireless
electric
swivel head hand lantern |
Mar 16, 1976 |
| 3953726 |
Infinitely
adjustable
level light |
Apr 27, 1976 |
| 4121136 |
Apparatus
for
feeding discharge lamps from a direct current source |
Oct 17, 1978 |
| 4240009 |
Electronic
ballast |
Dec 16, 1980 |
| 4317162 |
Battery
operated
luminaire with emergency switching means |
Feb 23, 1982 |
| 4450508 |
Self
centering
underground mine lamp |
May 22, 1984 |
| 4499525 |
Constant
illumination
flashlight |
Feb 12, 1985 |
| 4533984 |
Variable-width-beam
light apparatus |
Aug 6, 1985 |
| 4634936 |
Intrinsically
safe miner's lamp |
Jan 6, 1987 |
| 4729077 |
Variable
beam
width lighting device |
Mar 1, 1988 |
| 4782432 |
Multi-function
light |
Nov 1, 1988 |
| 4787022 |
High
voltage
power source for a discharge tube |
Nov 22, 1988 |
| 4797796 |
Electric
lantern
with oscillating feature |
Jan 10, 1989 |
| 4855884 |
Variable
beamwidth
stage light |
Aug 8, 1989 |
5105343 Decorative torch with illuminated grip portion, Yasuo
Wakimoto (Leonard Heyman), Apr 14, 1992, 362/101; 362/202;
362/806; 362/809; 362/277
| 229443 |
OPEN-HEARTH
FURNACE |
Oct 1941 |
| 2245349 |
ILLUMINATING
CANE |
Jun 1941 |
| 2785289 |
SEISS PORTABLE ELECTRIC LAMP F |
Mar 1957 |
| 2810822 |
VARIABLE
LIGHT
INTENSITY FLASHLIGHT |
Oct 1957 |
| 3004140 |
ILLUMINATED
PEN OR PENCIL |
Oct 1961 |
| 3074196 |
FISHING
POLE
HANDLE ASSEMBLY WITH ENCLOSED SIGNAL LIGHT MEANS |
Jan 1963 |
| 4106079 |
Illuminated
drum stick, baton |
Aug 8, 1978 |
| 4858083 |
Color
changeable
photo-decorative pencil torch |
Aug 15, 1989 |
| 4924358 |
Safety-sparkler
wand w/chemiluminescent or electric-light illumination |
May 8, 1990 |
| 4967321 |
Flashlight
wand |
Oct 30, 1990 |
| 4974136 |
Light
fixture |
Nov 27, 1990 |
5122938 Twist Switch for Flashlight, Michael J. Pastusek, Jun 16,
1992, - partial turn for on or off
5142458 Searchlight, Robert L. Brunson, Aug 25, 1992, 362/194;
362/183; 362/261- HID type luggable battery pack
References:
| 1369892 |
LIGHTING
APPARATUS |
Mar 1921 |
| 2320917 |
PORTABLE
LAMP |
Jun 1943 |
| 3201580 |
FLASHLIGHT
R |
Aug 1965 |
| 3852587 |
COMBINATION
HEAD AND CASE MOUNTED |
Dec 1974 |
| 3944805 |
Wireless
electric
swivel head hand lantern |
Mar 16, 1976 |
| 4317162 |
Battery
operated
luminaire with emergency switching means |
Feb 23, 1982 |
5144207 Circuit and Method of Operating an Arc Lamp, Robert L.
Brunson, Sep 1, 1992, 315/291; 315/307 -
References:
| 1286590 |
PORTABLE
ELECTRIC
LANTERN |
Dec 1918 |
| 1291483 |
PORTABLE
ELECTRIC
LANTERN |
Jan 1919 |
| 1369892 |
LIGHTING
APPARATUS |
Mar 1921 |
| 1825354 |
FOCUSING
HAND
LAMP |
Sep 1931 |
| 2982881 |
PORTABLE
LIGHT
SOURCE |
May 1961 |
| 3201580 |
FLASHLIGHT
R |
Aug 1965 |
| 3675078 |
ELECTRONIC
LAMP
DRIVING CIRCUIT FOR HAND HELD LAMP |
Jul 1972 |
| 3689759 |
UNDERWATER
SEARCHLIGHT |
Sep 1972 |
| 3746920 |
LIGHTWEIGHT
XENON LAMP IGNITER |
Jul 1973 |
| 4121136 |
Apparatus
for
feeding discharge lamps from a direct current source |
Oct 17, 1978 |
| 4240009 |
Electronic
ballast |
Dec 16, 1980 |
| 4317162 |
Battery
operated
luminaire with emergency switching means |
Feb 23, 1982 |
| 4450508 |
Self
centering
underground mine lamp |
May 22, 1984 |
| 4499525 |
Constant
illumination
flashlight |
Feb 12, 1985 |
| 4533984 |
Variable-width-beam
light apparatus |
Aug 6, 1985 |
| 4634936 |
Intrinsically
safe miner's lamp |
Jan 6, 1987 |
| 4782432 |
Multi-function
light |
Nov 1, 1988 |
| 4787022 |
High
voltage
power source for a discharge tube |
Nov 22, 1988 |
| 5051665 |
Fast
warm-up
ballast for arc discharge lamp |
Sep 24, 1991 |
5228770 Searchlight, Robert L. Brunson, Jul 20, 1993, 362/194;
362/261; 362/306; 362/390 - HID type focusable
References:
| 1286590 |
PORTABLE
ELECTRIC
LANTERN |
Dec 1918 |
| 3639751 |
THERMALLY
DISSIPATIVE
ENCLOSURE FOR PORTABLE HIGH INTENSITY ILLUMINATING
DEVICE |
Feb 1972 |
| 3689759 |
UNDERWATER
SEARCHLIGHT |
Sep 1972 |
| 4450508 |
Self
centering
underground mine lamp |
May 22, 1984 |
| 4533984 |
Variable-width-beam
light apparatus |
Aug 6, 1985 |
5292346
Bactericidal Throat Gun, F.J. Ceravolo,
5293307
Miniature
flashlight, Mag Instrument
5295882 Marine Signal Device, Kevin McDermott, Mar 22, 1994,
441/16 - stored on ship upside down, when right side up turns on,
lamp or strobe
References:
2346695 Electric Water Light, Gustave Miller, Apr 18 1944, 441/17
; 340/321; 362/158; 362/382; 362/390; 429/96 - stored upside
down
2355013 Marine Safety Light, Rochestie, Aug 1 1944, 441/17
; 200/232; 362/158; 429/98 - cylinder, stored up side down
2366929 Floating Signal Light, Melvjn P. Pfeil
3292039 Light-Inhibiting Marine Flasher, Horino, Dec 13 1966, 315/159
; 315/156; 315/241R; 315/241S; 331/111; 331/113R; 331/66;
441/17- photocell turnes off strobe in daytime
3329981 Signaling Buoy, Joseph A. Orsino, Jul 11 1967, 441/18
; 340/850 - solar recharging
3559224 Automatic Lighting Device for Salvage
3605149 Signal Buoy,
4669990 Signal Device
5303485 Footwear With Flashing Lights, L.A. Gear
5359505
Lamp or flashlight for use in cigarette lighter shell, Michael C.
Story, Donald W. Murray, Oct 25, 1994,
5386351 Convenience flashlight, Marilyn Tabor (Blue Tiger
Corp), Jan 31, 1995, 362/201; 362/200; 362/800 - LED with as
made lead length, plactic parts and button cell
References:
5424929
Lighting assembly for use in cigarette lighter shell without
reliance on Conductivity Thereof, Donald W. Murray, Ronald J.
Meister, Jun 13, 1995
5452189 Lamp for a Life Jacket or Raft, Hans P. Alkjr, Sep 19,
1995, 362/253; 362/103; 362/158; 362/203; 441/36; 441/89 -
removing the lamp from it's mount causes cord to rotate lamp lens
turning on prefocused lamp
5477435
Module
to
provide intermittent light with movement, Carmen Rapisarda,
Dec 19, 1995, 362/189; 362/103; 362/201; 362/200; 36137 - LED with
full length leads, button cell and one plastic part form a module
for the heel of a tennis shoe - very minimalist
5523924 Battery System for Sustained Bicycle Pathway Illumination,
and Methods, McKay H. Davis, Jun 4, 1996, 362/72; 362/390;
362/396; 224/929; 224/425; 224/454 - bicycle light, Battery
configuration has some resemblance to Conrad's D31711
5570948 Flashlight with removable lamp section for fire fighting
and other Specified Uses, W. Kenneth Menke (Fire Products Co), Nov
5, 1996,
362/191; 362/194; 362/199 -
5590951
Switchless Flashlights
5605394 Flashlight, Meng J. Chen, Feb 25, 1997, 362/197; 362/287;
362/427 - spherical head rotates on axle in body
5644858 Inertially Responsice Foot Lights, Jon L. Bemis (L.A.
Gear), Jul 8, 1997, 36137; 36136; 362/103 - LED, button cell and
mechanical switch in heel of tennis shoe.
5704706 Plugin Light Module, Mark R. Goldston (LA Gear), Jan 6,
1998, 362/103; 362/200; 362/201 - tennis shoe heel, can be turned
upside down to deactivate
5720543 Portable Flashlight, Martin I. Sheps (Diamondlight Ind),
Feb 24, 1998, 362/196; 362/199; 362/200; 362/267 - pancake large
reflector, 4 AA
5821697 Constant intensity electronic flashlight and lantern
method and, Harold J. Weber, Oct 13, 1998, 315/200A; 323/281;
315/307 -
linear voltage regulator and
option for photocell feedback of lamp brightness (B.C. comment:
wasts power) 4499525
5937681
Lighted Magnifying Key Chain, Nancy Myhr, Aug 17, 1999, 70456R;
70454; 206/371; 206/381; 359/803; 362/100 -
5957567
Flashlight
with support ribs extending beyond front face, Bright Start
Ind
6056415 Penlight having low magnetic susceptibility, Allred et al,
May 2, 2000, 362/202; 362/204 - four use around MRI equipment
6068385 Durable lamp having air cooled moveable bulb, Jordan
Hsieh, May 30, 2000, 362/188; 362/288; 362/294; 362/373 -UV
internal fan
References:
| 1189794 |
ELECTRIC
REGULATION |
Jul 1916 |
| 3947753 |
Voltage
regulator
including an LED to provide a reference voltage |
Mar 30, 1976 |
| 4499525 |
Constant
illumination
flashlight |
Feb 12, 1985 |
| 4725759 |
Pilot
lamp |
Feb 16, 1988 |
patents calling:
| 6160355 |
Lamp
control
circuit |
Dec 12, 2000 |
| 6181067 |
Portable
lighting
product, a portable lighting product circuit and a
functioning method for a portable lighting product
circuit |
Jan 30, 2001 |
| 6259287 |
Regulated
voltage
supply with low voltage inhibit reset circuit |
Jul 10, 2001 |
| 6486608 |
Electroluminescent
device for communication apparatus of mobile phone for
informing an incoming call |
Nov 26, 2002 |
| 6525487 |
Light
driver
for shoe |
Feb 25, 2003 |
| 6570340 |
Stirring
of
electrochemical cells for extended life |
May 27, 2003 |
| 6841941 |
Brightness
controllable
flashlights |
Jan 11, 2005 |
| 7064599 |
Apparatus
and
method for signal transmission |
Jun 20, 2006 |
| 7075252 |
LED
driver circuit |
Jul 11, 2006 |
| 7116061 |
Brightness
controllable
flashlights |
Oct 3, 2006 |
| 7122973 |
Light-generating
apparatus control system |
Oct 17, 2006 |
| 7186002 |
Flashlight
with
selectable output level switching |
Mar 6, 2007 |
| 7220016 |
Flashlight
with
selectable output level switching |
May 22, 2007 |
6089728
Novelty pocket flashlight, Marc Chase Weinstein, Jul 18,
2000, 362/116; 362/186; 362/200; 362/812; 40555 - keyway
illumination and ad
References:
| 1360575 |
SEAT
INDICATOR
ATTACHMENT FOR FLASH LIGHTS |
Nov 1920 |
| 1834805 |
COMBINED
POCKET
FLASH LIGHT AND KEY HOLDER |
Dec 1931 |
| 2166864 |
NOVELTY
advertizing
pen light
|
Jul 1939 |
| 3114143 |
TRAFFIC
DIRECTING
FLASHLIGHT |
Dec 1963 |
| 4819140 |
Compressible
flashlight |
Apr 4, 1989 |
| 5001455 |
Portable
signaling
device |
Mar 19, 1991 |
| 5463539 |
Miniature
pocket
flashlight with lens module and outer flexible sheath |
Oct 31, 1995 |
| 5642931 |
Taxi
wand |
Jul 1, 1997 |
6179438
Chargeable
flashlight, Pelican Products
6227677 Portable Light, Mary M. Willis, May 8, 2001, 362/196;
362/191; 362/200; 362/156 - Cold Cathode Fluorescent :amp (CCFL)
pocket light
6523973 Miniature flashlight, Robert D.
Galli, Feb 25, 2003, 362/200; 362/119; 362/201; 362/116; 362/189;
362/196; 362/208
This may be the first PhotonLight
key chain LED light
Citations
|
| 2465114 |
FLASHLIGHT
DESIGN |
|
Mar 1949 |
| 2591112 |
Vest
Pocket
Flashlight Including Electric System and Lock, Alex
Zwierzynski (H Hyman), Apr 27 1952 |
|
Apr 1952 |
| 2708073 |
MOHYLOWSKI
COMBINED
KEY CASE AND FLASHLIGHT |
|
May 1955 |
| 3085149 |
MINIATURE
LIGHT
SOURCE |
|
Apr 1963 |
| 3256428 |
MINIATURIZED
FLASHLIGHT WITH REPLACEMENT CARTRIDGE UNIT |
|
Jun 1966 |
| 3296429 |
KEYCASE-FLASHLIGHT
CONSTRUCTION |
|
Jan 1967 |
| 3613414 |
SELF-EJECTING
KEYHOLDER WITH ILLUMINATION |
|
Oct 1971 |
| 4122510 |
Flashlight |
|
Oct 24, 1978 |
| 4276582 |
Key
with light |
|
Jun 30, 1981 |
| 4303966 |
Light
connectable
with a key |
|
Dec 1, 1981 |
| 4392186 |
Key
with light in handle |
|
Jul 5, 1983 |
| 4398237 |
Miniature
battery-operated
light |
|
Aug 9, 1983 |
| 4419718 |
Pocket
flashlight |
|
Dec 6, 1983 |
| 4521833 |
Light |
|
Jun 4, 1985 |
| 4524409 |
Flashlight |
|
Jun 18, 1985 |
| 4628418 |
Multi-purpose
miniature flashlight device |
|
Dec 9, 1986 |
| 4787016 |
Light
attachable
to a key |
|
Nov 22, 1988 |
| 5008784 |
Lighting
equipment
for a key ring |
|
Apr 16, 1991 |
| 5122943 |
Encapsulated
light emitting diode and method for encapsulation |
|
Jun 16, 1992 |
| 5143442 |
Portable
projection
device |
|
Sep 1, 1992 |
| 5158356 |
Ornamental
lamp
with internal switch |
|
Oct 27, 1992 |
| 5318177 |
Multi-function
container with a light source |
|
Jun 7, 1994 |
| 5386351 |
Convenience
flashlight |
|
Jan 31, 1995 |
| 5457613 |
Peripherally
sealed card-like flashlight device |
|
Oct 10, 1995 |
| 5463539 |
Miniature
pocket
flashlight with lens module and outer flexible
sheath |
|
Oct 31, 1995 |
| 5515248 |
Thin
adhesively
attached key light device |
|
May 7, 1996 |
| 5541817 |
Key
with a built-in light |
|
Jul 30, 1996 |
| 5730013 |
Key
structure
with illumination function |
|
Mar 24, 1998 |
| 5893631 |
Compact
flashlight |
|
Apr 13, 1999 |
| 5927846 |
Disposable
planar
flashlight |
|
Jul 27, 1999 |
| 5934789 |
Disposable
planar
flashlight |
|
Aug 10, 1999 |
| 6006562 |
Collector
holder,
particularly for keys |
|
Dec 28, 1999 |
| 6039454 |
Flat
flashlight
device with key ring attachment and registerable and
mateabe parts |
|
Mar 21, 2000 |
| 6070990 |
Card
light having a cover being an adhesively attached
label |
|
Jun 6, 2000 |
| 6079845 |
Light
device
for attachment to a key ring |
|
Jun 27, 2000 |
| 6190018 |
Miniature
LED
flashlight |
|
Feb 20, 2001 |
6598991 Miniature flashlight device, Peter Altman (Lumatec
Ind), Jul 29, 2003, 362/116; 362/208; 362/105; 362/106; 362/189 -
stored with magnets holding to iron or steel, When removed
the magnets lack of attraction turns on the light.
774749 Portable Electric Light, E.R. Gill (Electrical
Contract Co, ECCO), Nov 15, 1904,
362/205- 3D cell
cylindrical
D443370
Miniature flashlight, Sun Yu, Jun 5, 2001, D26 37 -
6623139 Pocket lamp, especially a part of the housing, Max
Gutmann, Sep 23, 2003, 362/184; 362/251; 362/205; 362/800 -
regular lamp & laser diode
6669352 Liquid-Activated Novelty Light, Kristy McKinney, Dec 30,
2003, 362/158; 362/186; 362/101; 362/394 LED or lamp for use in
drinks at parties
References:
2381520 Electric Torch which Floats Lamp Uppermost in Water,
Charles Wallace Saunders (GE), Aug 7 1945
2765481 Floating Signal Light, Manhart, Oct 9 1956
4796167 Locus identifying device, Brown & Martin (Kat
Electronics), Jan 3, 1989, 362/158; 362/202; 362/253; 116DIG7 -
when wet LEDs blink
5748080 Overboard safety device,
Charles Matthew Clay, May 5, 1998, 340/539; 340/571; 340/572;
340/573; 340/693; 340/604; 362/158; 362/183-
5903212 "Ice cube" novelty, Nicholas A. Rodgers, May 11, 1999, 340/309.8
; 340/309.3; 340/309.4; 340/604; 43/17.5 - ball in cage switch
6722772
Flashlight
and combination for use in aligning flashlight lamp bulbs,
Mag Instrument
6729744
Faraday Flashlight, Pat Y. Mah, May 4, 2004, 362/192; 362/202 -
Shake Light?
| 1184056 |
Self
Conatined
Generating and Lighting Unit, H.R. Van Derenter, May 23
1916 |
| 3100292 |
Vibration
Pickup,
Warner,
Jan
1960
PM
and
coils
-
magnets
arranged
wrong
|
| 3129347 |
MAGNETO-ELECTRIC
MOTION DETECTING, Tullio Tognola (Bendix), July 1960
Tognola - magnet suspended by other PMs
|
| 3149254 |
Linear
Motor
or Generator, Carter, Thomas A Carter, Glen D Sumerlin,
Bristol Inc, Sep 1964, - |
| 3453573 |
TEMPERATURE
COMPENSATED TRANSDUCER, Kyle, Apr 1966 -
linear mass and spring
|
| 3696251 |
Method
of
Generating Electricity, Last, Oct 1972 - weight PM
springs wave motion, etc
|
| 3736448 |
displacement
Transducer, Hebel, May 1973 |
| 3933535 |
Method
for
producing large and/or complex permanent magnet
structures, Becker (GE), Jan 1976 |
| 3984707 |
Spring return linear signal generator,
McClintock, Oct 1976, 310/15 ; 310/30
2813988
3542495
3430120
3119940
1619677
|
| 4114305 |
Illuminated
Fish Lure, Andrew M. Wohlert Sep 1978 43/176; 310/15;
310/25; 315/130- magnet, coil LEDs
|
| 4140932 |
Pulse
generator, Andrew M. Wohlert, Feb 20, 1979 Feb
1979 - see 4114305 |
| 4605994 |
Flash
lamp,
Krieg August 1986 |
| 4680682 |
Micro-flashlight |
July 1987 |
Parker |
| 4709176 |
|
November 1987 |
Ridley et al. |
| 4777582 |
|
October 1988 |
Sharrah |
| 4803605 |
|
February 1989 |
Schaller et al. |
| 4870550 |
|
September 1989 |
Uke |
| 5008575 |
|
April 1994 |
Maglica |
| 5347186 |
Linear motion electric
power generator |
September 1994 |
Konotchick |
| 5578877 |
|
November 1996 |
Tiemann |
| 5975714 |
|
November 1999 |
Vetorino et al. |
| 6220719 |
|
April 2001 |
Vetorino et al. |
6841941
Brightness
controllable flashlights, SureFire
6991360
Flashlight
with a light source aligned with a reflector axis, Mag
Instrument
7083299
Flashlight having convex-concave lens, Aug 1, 2006, 362/188;
362/308; 362/311 -three lens optical system
Citations
| 1478282 |
Flashlight, Robert Hunter,
Dec 18 1923, 362/187 ; 362/191-
adjustable lens to lamp distance |
| 1524205 |
Electric Lamp, J. Papke,
Jan 27, 1924, 362/208 340/321 362/191
- adjustable glass cap allows beam or area
illumination |
| 1591627 |
Handlamp, N.M. Hopkins
(National Carbon Co), Jul 6 1926, 362/203 ;
362/208; 429/97; 43/17.5- 2 inline AA lamp holder is
reflector (how do they form the sheetmetal?) |
| 1595146 |
Flash Lamp, Ford, (French
Battery Co), Aug 10 1926, 362/203 - spring
holds lamp away from battery until cap is screwed
tighter |
| 1603272 |
1603272 Focusing Head
Searchlight, R.M. Eaton (Niagara Searchlight Co ),
Oct 19 1926, 362/187 ; 362/202- cylindrical
screw base bulb many patents call this one |
| 2249689 |
Flashligh, Albert Gelardin
Jul 15 1941, 362/203 ; 362/208 - spring
holds 112 lamp away from battery until tail cap is
turned in |
| 2313356 |
Flashlight Attachment,
Fred M. New, Mar 9 1943, 362/280 ; 362/202 -
blackout dim filter |
| 2347532 |
Flashlight, Michel N.
Yardeny (American Type), Apr 25 1944, 200/60
; 362/205 - blackout, switch light on when pointing
down
|
| 2435689 |
Flashlight, McCabe (M.
Kessler), Feb 10 1948, 362/203 -
designed to be made on a screw machine, i.e.
the first of machined lights |
| 3535282 |
FLASHLIGHT
WITH
AUTOMATIC TIME-DELAY CUT-OFF SWITCH |
Oct 1970 |
| 3800136 |
VARIABLE
INTENSITY
BATTERY OPERATED LIGHT |
Mar 1974 |
| 4577263 |
Miniature
flashlight |
Mar 18, 1986 |
| 4605994 |
Flash
lamp |
Aug 12, 1986 |
| 4623957 |
Battery
powered
auxiliary lighting fixture with a timer |
Nov 18, 1986 |
| 4875147 |
Delayed
action
flashlight |
Oct 17, 1989 |
| 4947291 |
Lighting
device |
Aug 7, 1990 |
| 5138538 |
Self-extinguishing
flashlight |
Aug 11, 1992 |
| 5351330 |
Laser
diode-lens
alignment |
Sep 27, 1994 |
| 5422798 |
Flashlight
switch
(Eveready)
|
Jun 6, 1995 |
| 5594433 |
Omni-directional
LED lamps |
Jan 14, 1997 |
| 5630661 |
Metal
arc flashlight |
May 20, 1997 |
| 5838024 |
Light
emitting
diode array and optical image forming apparatus with
light emitting diode array |
Nov 17, 1998 |
| 5865529 |
Light
emitting
diode lamp having a spherical radiating pattern |
Feb 2, 1999 |
| 6007218 |
Self-contained
laser illuminator module |
Dec 28, 1999 |
| 6013985 |
Sealed
solar-powered
light assembly |
Jan 11, 2000 |
| 6086220 |
Marine
safety
light |
Jul 11, 2000 |
| 6095661 |
Method
and apparatus for an L.E.D. flashlight |
Aug 1, 2000 |
| 6142650 |
Laser
flashlight |
Nov 7, 2000 |
| 6220719 |
Renewable
energy
flashlight |
Apr 24, 2001 |
| 6249089 |
Intelligent
electrical device comprising microchip |
Jun 19, 2001 |
| 6296367 |
Rechargeable
flashlight with step-up voltage converter and
recharger therefor |
Oct 2, 2001 |
| 6736531 |
Reading
light
with shutoff timer |
May 18, 2004 |
7152995 Flashlight, Leonard T. Chapman (Chapman/Leonard Ent), Dec
26, 2006, 362/206; 362/205; 362/802 - turett holds three lens
rotate in front of 5mm LED
Walleye 2 D Cell Flash Light Eveready
2639?
 |

|
Wall
Eye 2 D Cell Flash Light No marking on brass
battery cap
|
Switch
& Lens
|

|
 |
Gold
Stripes in Groups of 3 Eveready?
|
Insulating
washer
on disk |
This Flash Light has no
markings. It uses a glass lens that is NOT it's focal
length from the bulb but instead much closer. In the
photo above you can just make out the broad hot spot about two
diameters in front of the lens. When the lens is moved a
couple of inches forward the hot spot is just a few degrees
wide, but it would take a longer tube to hold it there. So
by locating the lens where it is the beam is something like 100
degress total. Lens has a focal length of about 1 5/8" but
is mounted about 1/2" from the filament. Maybe this is the
wrong lens for this light?
The Lens is convex on the outside and concave on the
inside. The inside is also recessed.
The circuit close/break is done in a way that's similar to the
Eveready Pocket Flash Lights, that's to say the switch has one
side grounded to the case, so the switch in the picture is
making contact with the case. The reflector, bulb holder
has a disk connected to the threaded part of the bulb but that
is insulated from the metal reflector (and case). The
center of the bulb makes contact with the positive battery
terminal. The switch connects the case to the disk.
The conducting disk as half of a switch where the other half is
the sliding part and the use of an adjacent insulating disk so
that the metalic reflector does not connect the lamp base to the
flash lite case is used in the following National Carbon Co
patents:
1157395, 1226634, 1312220, 13315262,
1388165 and probably others.
If this was a depression era flash light then the use of a
single rivet to attach the switch surly was a cost saving
compared to other switch designs that use 3 , 4 or more rivets,
with there associated holes and installation labor.
The body was black and there were gold stripes in groups of
three running parallel to the long axis. The head was
plated, maybe Nickel and the battery brass battery cap was
black.
What Goes Wrong
As received it was DOA for function, but the lamp is good
(although impossible to remove). The problem was corrosion
at the joints. After dissambely and scrubbing all metal
surfaces with Renaissance Metal De-Corroder and a through rinse
under warm tap watter and a good drying including some canned
air, it now is functional.
May Baby Torch
This is my first attempt at using an external
flash as the main light and the camera flash for fill plus a light
box made from a Priority mail carton and some printer paper.
I'm happy with the result, taking photos of glass or mirrors is
difficult.
Cap marked: May Baby Torch, May Mfg Co, Pasadena Calif.
Switch marked: Made in U.S. A. and Pat. Apl'd For.
You can see that the forward part of the lens has a flat on the
inside and that part acts like a lens and focuses the light in a
forward beam that's rather wide. To get a narrow beam the
glass would need to be maybe an inch forward of where it is, so the
intent was to just brighten the forward light a little. The
rest of the glass is not a lens and just lets the light out for low
even illumination all around.
So far haven't found a patent for this light, if you have the patent
number let me know.
There is a lamp extender. It has an E10 socket on one end and
an E10 plug on the other. It's about 1/2" long.
Maybe this was a modification of a more normal flashlight?
There's also a May full size torch that uses "D" cell batteries
instead of the "C" cells used by the Baby Torch.
2017 July 20 there is a similar flashlight on eBay made by Perko for
use on a small boat. It has a metal rod coming out of the
battery cap with a 2 foot long rod and clamp. Instead of the
clear globe lens it has a Fresnel lens. Maybe from 1910.
A very similar item by Perko has a switch patent date of Dec 20, 1921 (see 1287262 above).
Sears - Homart
I think Homart was a name used by Sears, so putting some
patents here.

|
D124961S
Design for an electric flashlight, Robert E. Bourke,
Sears. Roebuck & Co.,Sears. Roebuck & Co, Feb 4,
1941
|

|
D124962S
Design for an electric flashlight, Robert E. Bourke,
Sears. Roebuck & Co, Feb 4, 1941 -
HOMART Art Deco (Wiki)
bullet flashlight
On the tail cap of the bullet flashlight is "Made in
U.S.A. Des. Pat. 124962"
Other earlier flashlights have Pat. Pend.
|
|
3479498
Automatic closet light, Albon
J Lasseigne, Sears
Roebuck and Co, 1969-11-18, - 4 batteries, door
operated switch
|
|
3894281
Battery and generator vehicle lighting system, Alan
M Bloomfield, Sears
Roebuck and Co,1975-07-08, - bicycle
|
|
|
Niagara Searchlight Co

994094 Portable
Lamp Apparatus, R.M. Eaton (prior to Niagara?), May 360 1911,
fireman head mounted light, with seperate belt worn battery pack.
1094839
Flash Light Device, R.M. Eaton (Niagara Searchlight
Co ), Apr 28 1914,
362/205 ; 340/321- short prevention
This the the patent referenced on
most of the Niagara lights. The wording in the patent and
the class numbers
362/205: Illumination / Self Powered Lamp . Cylindrical .. with
switch
340/321: Communications Electrical / Systems . Portable Self
Contained
Both are addressing the short prevention aspect of the patent.
The switch shown looks like an inch worm and is open under the
bump. It's illustrated in issue 78 (summer 2008) of
Flashlight
Collectors.
D55253 Adapter Head for Flashlights, R.M. Eaton, May 25, 1920,
D26/113
1399545
Flashlight, R.M. Eaton, Dec 6, 1921,
362/208 - the
use of tubular rivits (now called eyelets) not focusing.
1464382 Electric Lamp, R.M. Eaton (A.L. Schellhammer), Aug 7
1923,
362/289 ; 362/110 - lamp clips to revolver barrel,
battery at end of wire.
1518575
Focusing
Hand Searchlight, R.M. Eaton, Dec 9 1924,
362/187 ;
340/321; 362/205; 362/207
From hear on the focusing feature is on all the Niagra
products. The lamp shown at left is focused by rotating the
threaded ring.
1537340 Process for Assembling Battery Cells, RICHARD MAX EATON,
May 12, 1925,
29/623.2
1603272 Focusing Head Searchlight, R.M. Eaton (Niagara Searchlight
Co), Oct 19 1926,
362/187 ; 362/202- cylindrical screw
base bulb many patents call this one
1659864 Switch for Electric Flash Lights, R.M. Eaton (Niagara
Searchlight Co), Feb 21, 1928,
200/60 ; 362/205 -
1689382 Electric Flash Light, R.M. Eaton, Oct 30 1928,
362/191
; D26/37- button loop added to cap
1908330
Electric Lighting Device, R.M. Eaton (Niagara Searchlight Co ),
May 9 1933,
362/187- spot or flood beam bicycle type
rectangular Springs push the reflector forward and the
bezel is screwed in or out to change the beam.
The "Chestlite" seems to have military type straps and buckles yet
the 1931 amde in peace time, maybe under contract to the
Army. Patent does not cover strap loops.
It's not clear what type of battery or lamp is used in this light.
1914970 Portable Electric Illuminating Device, R.M. Eaton (Niagara
Searchlight Co ) Jun 20 1933, - Batteries are tall vertical and
each is 3 volts. Either one can be connected or they both
can be connected in parallel.
1932102 Electric Illuminating Device, R.M. Eaton (Niagara
Searchlight Co ), Osc 24 1934,
362/187- allows getting
either a flood or spot beam by adding a second reflector over the
first reflector.
2420152 Flashlight, Charles E. Wohler, May 6, 1947,
362/191
- penlight
2425274 Flashlight, Lewis G. Sherwood, Aug 5, 1947,
362/190
362/196 - two side by side cells
References:
1373611 Portable Electric Light, D.L. Graff, Apr 5, 1921, 362/197
; 429/99- looks like roll film camera
1348128 Electrical Connection, John H. George (Hawthorne Co),
Jul 27, 1920, 362/197 ; 429/97 - two No. 6 Dry Cells -
looks like Grether fire fighting lantern
2420634 Electric Lantern, C.E. Wohler, May 13 1947,
362/190
; 362/197 - two each No. 6 Dry Cell
2425274 Flashlight, Lewis G. Sherwood, Aug 5, 1947,
362/190
; 362/196 - two vertical D cells, plastic case, raising handle
turns on,
References:
1373611 Portable Electric Light, D. L. GRAFF (National Carbon
Co), Apr 5, 1921, 362/197 ; 429/99 - looks like camera
1348128 Electrical Connection, JOHN H. GEORGE (Hawthorne Co),
Jul 27, 1920, 362/197 ; 429/97 - two No. 6 Dry Cells

|
3 D Cell
Patent Dates:
4-9-14 ??? (maybe date 1094839 was accepted?)
12-6-21 = 1399545
Threaded head joint next to body focuses lamp.
|

|
With head off it provides
broad area lighting.
|

|
Lamp Storage in cap.
|

|
Patent date on cap is April
28, 1914 = 1094839
and on body Patent Dates:
4-9-14 this may be a typo, there were no patents
issued April 8 through April 13 1914.
12-6-21 = 1399545
even though there's a dent it works fine.
|

|
Two horizontal D cells.
Turning ring around glass lens focuses lamp.
It's on in the photo.
After installing a couple of batteries checked the normal
lamb brightness and it was working, but not overly bright.
After installing the E10LED (above,
on LED page) the
brightness was dramatically higher and the focusing was
able to bring it to a spot.
|

|
Patented May 9 1923
No. 1908330
Insert two regular flashlight
batteries as indicated. The cor-
rect bulb to use is No. 14.
To focus turn glass holder
ring to right or left until
smallext beam of light
is secured.
A sturdy electric lantern with a
thrusand uses around the house,
in the car, camping, travelling, etc.
Always have one of these
little
lanterns within reach of your bed
at night.
|
 |
The "Chestlite" seems to have military type straps and
buckles yet the 1931 application date maybe means made in
peace time, maybe under contract to the Army. Patent
1908330 does not cover straps.
1825088 Combined Safety Light and Illuminating Lamp,
Powell (not assigned), Sep29 1931, 362/108 ;
429/98 - covers a lamp head on the chest held with straps
and a seperate battery pack on belt. Niagrar must
have bought this patent. This light is identical to
the above red Niagara except for the metal loops for the
chest straps.
Appears to be new old stock.
Label: "Chestlite"
Universal Flashlight Co Inc, Washington, D.C.
The eyelet above the switch is a screw on the red Niagara,
so the screw is probably
a user repair.
2320193 Combined Safety Light and Illuminating Lamp,
Powell , May 25 1943 |
Pocket Flash Lights & Vest Pocket
F.L.
This next patent is prior art to a
battery powered pocket flash light. Notice it was called a
Pocket Lamp.
246794 Pocket Lamp and Friction Lighter Combined, T. Lawrence,
A.C. Stratton & J.M. Wolf, Sep 6, 1881,
426/494 ;
203/41 - the oldest patent I've found with "pocket lamp" in the
title. It's interesting that these were called lamps and not
lighters. The next generation used a wheel holding a number
of flints which when spun would shower sparks on the wick.
The newest oil burners used a cylindrical package sort of like two
lipstick tubes with a square block in the center. When you
pulled them apart you were stretching a spring and opening a
window that admitted one BB sized flash bang pellet. When
you let go the pellet was jammed into serrated jaws making a lot
of sparks and lighting a wick fed oil from the opposite lipstick
tube.
You can see the family resemblance with the electric versions.
Pocket Flash Lights have a
similarity to bicycle lights, but are much smaller and the lamp is
usually pointing up rather than forward.
They were made in different sizes, where the design is the same
for all of them.
The tab type unit cell 1.5 Volt battery has an appearance
like that 4.5 Volt bicycle unit cell, but it's only 1.5 Volts and
smaller.
The narrow Pocket Flash Light uses an eyelet instead of the rivet
at (11), the contact in made by bending the spring (10) rather
than the stud (7) and the slide switch (13) has open ends which
cost much less to make than the closed end version used on the
patent style light.
Table of Common Pocket Flash Lights
3 Volt
|
3 Volt
|
3 Volt |
3 Volt |
4.5
Volt
|
4.5
Volt
|
?
|
No. 750
|
2 ea
"C"
|
No. 793
|
No. 751
|
MN1203
|
6860,
6900, 6920
6980, 6990
|
6921,
6931, 6961
6981, 6983, 6991, 6661
|
6993
|
6602,
6954
6802, 6850, 6851
|
6902,
6922, 6962
6972, 6982, 6984, 6992,
6662
|
6501 to
6509
6901, 6903, 6904, 6906
|
|
|
|
|
|
|
|
|
|
|
|
|
|
|
|
|
|
|
The table
above of
Prismatic (unit cell) batteries does NOT include any Pocket Flash
Light cells. Both of the Eveready Pocket Flash Lights
uses a 2 cell battery with the factory lamp rated for 2.5
Volts.

|

|

|
Pocket
Flash Light Patent by Conrad Hubert
|
No. 3 and
two other Pocket Flashlights & Pocket
Amp Meter for testing No. 6 Dry
Cells
all by Eveready
|
Mystery Pocket Flash Light
|

Note at bottom of Pocket Flash Light
EVEREADY is stamped and is the only mark on it
The No. 750 battery is a prefect fit
in the narrow Pocket Flash Light above right.
|

Top of Eveready Pocket Flash Light
Top button is to open clam shell case
Bottom slide button is on-off switch.
|


Mystery Pocket Flash Light
|
754694 Electric Pocket Lamp, Angelica E. Post, Filed: Dec 30,
1903, Issued:Mar 15 1904,
362/201 ; 200/60; 429/97 -
Oldest patent in class 362/201
Has the look and feel of the
Eveready unit with very similar case and lamp mounting.
762720 Portable Electric Light,
Conrad Hubert, Filed: Jan 25, 1904, Issued: Jun 14 1904, 362/201
; 200/60; 429/97- ramp button with lens, uses two cells the same
length and a shorter center cell to make room for the lamp.
Insulating case, series connected cells for 4.5 volts.
Special bulb with reflective coating and no top protrusion.

|

|
Battery
door marked: Ever Ready Light
Patented March 15 1904 June 14 1904 |
Button is
red glass but it's mounted in a cup so no light
from the lamp can shine through.
|

|
Pocket Flashlight on the right is:
3" tall x 1 3/8" wide x 0.75" thick.
|
|
Both marked Eveready pat.
Dec. 17, 1912 (i.e. 1047525)
Engraved has lamp with
white plaster of paris
engraved 2.24 V JAPAN
2.5" tall, x 1.25" wide x 0.75" thick
|
777510 Portable Light, Conrad Hubert, Filed: Jul 21, 1904, Issued:
Dec 13 1904,
362/201 - two long & one center short
battery to clear lamp.
818449 Portable Electric Light, Conrad Hubert, Apr 24 1906,
362/200 ; 200/60 - Pocket Flash Lights of small size
835529 Portable Electric Light, Conrad Hubert, Nov 132
1906,
362/201 ; 200/52R; D26/37 - whisky flask Pocket
Flash Light
There is a lens above the body and
top mounted switch beside lens
Case could be fiberboard and uses
end caps.<>
Unit tab type battery
880703 Battery, George M. Wheeler,
429/159 ; 206/705;
429/178 - Pocket Flash Light, one cell can be cut out and replaced
881264 Electric Signal Device, Elias Schermerhorn, Mar 1908,
340/321
340/815.73 362/194 - a pocket flash light with a
(Sounder)fitted to allow both visual and audatory signals
916833 Pocket Electric Incandecent Lamp, Fritz Blau
(Gasgluhlight), Mar 1909,
362/203 ; 429/96 - later he
workrd for GE
1035879
Portable Electric Light, Conrad Hubert, Aug 20, 1912,
362/201
; 200/60 - sort of a toggle swith with large range of motion to
allow for different battery tab locations
1047525 Portable Electrical Light, Conrad Hubert, December
17, 1912, 362/208 ; 200/60; 362/201 - Pocket Flash Light
In the group photo above the wider Pocket Flash Light is
exactly like the one in the patent. It uses a rivet (11) to
attach the switch spring (10) to the casing (1). Also the
contact is made by a cylindrical contact stud (7). Also the
proportions match Fig 1 of the patent.
1068088 Portable Electric Lamp, F.C. Smith (Waterbury Mfg
Co), Jul 22 1913,
200/60 ; 200/551; 362/204 - looks like
Conrd's 2 AA pocket light
1074377 Electric Pocket Lamp, Emil Neudorffer, Sep 30,
1913,
362/200 - lamp between two cylindrical cells.
Maybe a wood block shaped to fit the
cells and lamp, then packaged in a watch case or other outline
1075827
Portable Electric Light, Conrad Hubert, Oct 1913,
200/60 ;
200/549; 362/200; 362/201 - Exterior slide switch and interior
lever to have more motion
Pocket Flash Light Batteries

This is the battery with tabs shape that's used on most of these
Pocket Flash Lights.
1284583 Apparatus for Making Battery Wrappers, Charles Burgess
(Burgess Batt Co), Nov 12 1918, 493/175 ; 493/153 - for
pocket FL
1358717 Flash Light Battery, N.D. Forbes (Winchester), Nov 16, 1920,
429/156 ; 429/185- for use in "Vest Pocket" and "Cigarette
Case" Flash Lights. This is only a process imporvement
relating to the wax that covers the top of the cells.
1398366 Dry Cell, H. De Olaneta (Winchester), Nov 29 1921, 429/82
; 429/130; 429/172 - for PFL
1402285 Manufacture of Primary Cells, H. De Olaneta (Winchester),
Jan 3, 1922, 252/182.1 - for PFL depolarizer
1430726 Manufacture of Dry Cells, H. De Olaneta (Winchester),
Oct 3 1922 -
1430727 Manufacture of Dry Cells, H. De Olaneta (Winchester), Oct 3
1922
1488908 Dry Cell, H. De Olaneta (Winchester), Apr 1, 1924, 429/134
; 429/201; 429/224 - method ot use amorphorus depolerizer instead of
crystaline
1511271 Method of Encreasing Life of Dry Cells, H. De Olaneta
(Winchester), Oct 14, 1924, 429/52 ; 429/118; 429/166;
429/201 - impurities in zinc makes holes
1518637 Dry Cell, H. De Olaneta (Winchester), Dec 9, 1924,
1518638 Dry Cell, H. De Olaneta (Winchester), Dec 9, 1924,
1176468 Flash Light Battery Container, Harry M. Koretzky, Mar 21
1916, 429/65 ; 206/524.5; 429/167 - Paper doll cutout to
make tabed 2 AA battery
1937045 Electric Battery, Schulte (Burgess Batt Co), Nov 28
1933, 429/159 - for Burgess Snap-Lite
1937046 Electric Battery, Schulte & Zook (Burgess Batt Co), Nov
28 1933, 429/159 -
for pocket or hand flash lights
Refeences:
1701093 Battery Hand Lamp, J.S. Zook (Burgess Batt Co) -
Snap-Lite
1653800 Dry Cell, H. De Olaneta (Winchester), Dec 27, 1927,429/172
- PFL batt - division of 1398366 - cell closure allows gas to
escape
2496709 Flat Primary Battery and Cell Unit, Albert Gelardin, Feb 7
1950, 429/155 ; 429/162 - not sure if for flashlight or
radio B battery
Pocket and Similar Patents
951592 Cigarette-case, Chatellier, Mar 8 1910, 206/263 ;
206/256 - may be the first use of this type of latch, like on the
Franco 1122777
1060615 Combined Vest Pocket Pencil and Pen Holder and
Eelectric Light, E.A. Metcalf, May 6 1913, 362/118 ;
200/60; 24/11CC; 24/11R- uses the tab contact battery
1074376 Electric Pocket Lamp, E. Neudorffer, Sep 30 1913, 362/196362/196
; 200/60; 429/97 - pocket watch case, rotating front vs back is
switch oldest patent in
1083520 Portable Electric Light, Charles F. Burgess, Jan 6, 1914, 362/204-
cylindrical Pocket Flash Light
1091778 Egg
Tester, WALTER K. STEBBINS, Mar 31, 1914, 356/67 - uses
Conrad's 762720 patent but uses a spring loaded lamp holder that
turns on the Pocket Flash Lamp when an egg is pressed on top
1093144 Portable Electric Lamp, W.J. Monaghan (Waterbury Mfg Co),
Apr 14, 1914, 362/208 ; 362/201 - Pocket Flash Light
1093287 Electric Cap Light, A.B. Neff, Apr 14 1914, 362/194
; D26/38- cute cap/reflector just slides on cell, no switch no
insulators, minimalist
1107646 Electric Switch, B. Benedict (Beacon Minature Electric Co),
Aug 18, 1914, 200/60 ; 200/551; 362/204 - says objects in
pocket can press button on Conrad's patent light causing the battery
to go flat.
1127856 Pocket Lamp, C.A. Boehm, Feb 9 1915, 362/196 200/60
- screw base lamp parallel to top surface with hole beside bulb
that's a cylinder minimum volume
1132750 Electric Switch for Portable Electric Lights, Bernard Tauber
(Interstate Electric Novelty), Mar 23, 1915, 200/60 ;
200/551; 362/205 -
1134977 Pocket Flash Light, H.H. & H.T. Hipwell, Apr 6, 1915, 362/201
; 200/60; 340/321 -
case has raised switch housing,
hinged battery door, bare lamp
1144087 Adjustable Holder for Pocket Electric Lamps, D.W.S.
Adler (Metalyte Co), Jun 22 1915 248/217.1 ; 224/182; 24/13;
248/126; 362/191; 362/388- holds pocket light on hinged bracket
Pistol Flash Lights
These are a sub class of Pocket
Flash Lights
 |
|

|
1914 Ad
|
784227 Search-light for revolvers or other firearms, Byeon G.
Riblet, Mar 7 1905, 362/114 -uses "pocket-flash"
battery
933095 Flash-Light, DOSIER H. MOSTELLER (MOSTELLER Mfg Co), Sep 7
1909, 356/247 ; 362/110; 42/131- lamp under revolver barrel
1098085 Pistol Flash Light, Joseph Block (Interstate Electric
Novelty Co), May 26 1914, 362/112 ; 200/60; 310/69;
340/321; 600/249 -
1098628 Pistol Flash-Light, Henry Hyman, (Interstate Electric
Novelty Co), Jun 2 1914, 362/112 ; 362/196; D26/45-
1118467 Pistol Flash Light, Joseph Block (Interstate Electric
Novelty Co), Nov 24, 1914, 362/112 ; 362/196 - clam shell
uses pocket Flash Light battery
1361071 Toy Pistol, G. J. KIERSTEAD, Dec 7, 1920, 42/54 ;
D21/574 - not flashlight, snap or cap toy
1511046 Flash Light, E.R. Barnay (Franco), Oct 7 1924, 362/184
; 362/200- pocket light with lamp at each end & with sheet metal
wiring
1160518 Pocket Flash-light, Anker S. Lyhne, Nov 16 1915, 362/112
- more reliable and fewer parts
1160519 Case for Pocket Flash-lights, Anker S. Lyhne, Nov 16 1915, 362/201
-
1184760 Pocket Flash Light, A.S. Lyhne (Franco?), May 30, 1916,
362/112 - photo at above of gun shaped. It also used the
battery with the two tab contacts.

This is a two C cell pistol flash light. The only marking I've
found is "Made in U.S.A." under the barrel.
If you know what it is please let me know.
One of these on eBay had a decal on the grip area just below the
barrel that said "Old Fort Niagara".
Maybe these were made by Niagara?
2536484 Pistol Type Flashlight with Trigger Actuated Switch, Robert
J. Avery, Jan 2 1951, 362/112 -
uses three unit cells (?size)
References:
1160518 Pocket Flash-light, Anker S. Lyhne, Nov 16 1915
1338239 Searchlight-Firearm, JOSEPH MATYS, Apr 27 1920, 362/114
- real revolver with raw lamp under barrel
2041843 Electric Pocket Lamp, Benjamin Daniel Lifschitz (E.
Singer), May 26 1936 ,362/201 - can use individual cells or
tab type battery Austria
2385639 Flashlight, C. S. PACKER (Justrite Mfg Co), Sep 25 1945, 362/196
; 362/197 - very compact 3 cell F.L. (no references)
2588036 Toy Pistol, O'Quinn, Mar 4 1952, 446/407 ; 362/112;
446/473 - to sound like pistol & have flashing light
References:
689547 Illuminator for Firearms, FRANK D. JAMES, Dec 24 1901,
362/113
; 42/146 - raw lamp under revolver barrel, switch button on
trigger, battery in grip
876088 Electric Pistol, ERNST OSWALD PFEIL, Jan 7 1908,
42/54
; 340/321; 362/112; 42/106; 446/401 - raw lamp inside
barrel/tube, cylinder is battery
945610 Toy Gun, JOHN C. ROTERMTTND, Jan 4, 1910,
446/407 -
many triggers in wheel that snap a flat spring to make noise used
in 2588036
1096726 Pocket Lantern, WILHELM KNOPF, May 12 1914,
362/112
; 340/321; D26/47 - pistol shape, flat spring snaps and light
comes on
1129871 Electric Pocket Lamp, SAID WEISS, Mar 2, 1915,
362/112
- combines a crok shooter and raw lamp flash of light, pocket F.L.
battery
2007082 Marksmanship Practicing Means, Charles W. Griffith
(Rayolite Rifle Range Co), Jul 2 1935,
362/112 ; 200/37R;
200/52R; 362/394; 463/51 -
Rifle shape, but can also be
pistol. Each pull of the trigger makes a very brief flash
of light which if it hits a photocell counts as a hit.
Used in carnival shooting galleries. The ratchet wheel may
also count shots?
2593942 Pistol type Flashlight having seperate Casting parts and
Trigger operated Switch, Van Vliet , Apr 22 1952, 362/112 ;
362/802; D26/47 -
streamlined shape (rocket?)
References:
1835233 Pistol Light, ANKER S. LYHNE (Bridgeport Metal Goods Mfg
Co), Dec 8, 1931,
362/112 ; 43/17; D26/45 -
sheetmetal stamping, cylindrical cells in barrel/tube, not pocket
light type battery
2209702 Switch, Francis B. Meginniss, Jul 30 1940,
362/205
; 200/568; 200/60 - rotational inertia turns light on or off
Reference:
1948728 Switch, Francis B. Meginniss, Feb 27, 1934, 200/60
; 200/302.1; 200/DIG.9; 362/205; 362/310 - sealed inside
2399921 Electric Lamp, A.D. Dircksen, May 7, 1946,
362/208
- parachute marker lightE
2928190 Electric Target Practice Apparatus with TIme Delay Fixing
Means , Llewellyn W. Evans, Mar 15 1960, 434/21 -
rifle shape with 2 lens optical
projection. adjustable time delay to simulat time of flight of
round, retrofit to real gun for solider training
References:
2007082 Marksmanship Practicing Means, Charles W. Griffith
(Rayolite Rifle Range Co), Jul 2 1935
[2032497 typo in number]
2287429 Electric Shooting Range, Hooker, Jun 23 1942,
463/52
; 362/112 -
2710754 Light Actuated Target Apparatus, R Varney, Jun 14 1955,
463/50
; 362/112; 368/3; 463/51 - markenship training, amusument
3104478 Hit Indicator Apparatus, Strauss (Aircraft Armaments Inc),
Sep 24 1963, 434/22 ; 250/342; 340/10.5; 342/53 - solider
training
Shooter transmits an omnicirectional
radio pulse coded signal and all targets that would be hurt by
that type weapon respond with an IR pulsed signal. The
shooter has a 3 lens optical IR sensor boresighted with the barrel
so only a traget that was aimed at would count as a hit.
References:
1379166
RADIANT
ENERGY SIGNALING SYSTEM THEODOBJE WILTAED CASE, May 24,
1921,
398/130 ; 200/86R;
250/214R; 250/391; 307/149; 340/600; 398/182
can detect either IR or UV light by changing the frequency of an
audio oscillation
2007082
MARKSMANSHIP
PRACTICING MEANS special rifle flashes light
2032588
COMMUNICATION
ANB DETECTION SYSTEM Mar 3, 1936, more efficient detectors
of EM radiation
2042174 Testing Apparatus, Winchester May 26, 1936
2442240 Photoelectric Device, May 1948 AA gun training
2628836 Tow Target Hit Indicator - aircraft
2845619
TARGET
IDENTIFICATION
DISCRIMINATOR- prevent radar lock on plane towing target
2968877
MARKSMANSHIP
TRAINER AND RECORDER - beam of light
system
1186852 Switch Portable Lamp, G.B. Slocum (Waterbury Mfg Co), Jun 13
1916, 200/60 ; 200/332.2; 362/205 - pocket flash light
switch is a small modifiecation of Conrad's
Franco Dec 29 1914 Pocket Flashlight

|

|
1122777
Electric
Switch, A.S. Lyhne (Franco?), Dec 29 1914, 200/60 362/205
- clamshell PFL
The switch is an improvement on the type that depends on
one of the battery tabs, which may be bent or twisted.
Also uses the cigarette lighter case type of latch where
the edge of the sheet metal spring is the button. On
the opposite part there's just an inward dimple that gets
held by the rectangular opening in the latch sheet
metal. The round object just to the right of the
latch is a rivit holding the latch-spring in place.
The reflector is a seperate part that has been soldered to
the top case.
Overall size 3 3/4 x 2 3/4 x 1 thick. AA cells
are way too small, probably uses what's called a 3 "B"
cell battery pack.
Lamp is glowing dimly at 1.5 V and 200 ma.
|
D47870 Pocket Flash Light, H.M. Koretzky, Sep 21, 1915, D26/38
; D10/31 - not clear if it's a combined pocket watch and flash light
or just has a face like a flash light.
1146628 Portable Electric Light, I. Koretzky (L.J. Morrison), Jul
13, 1913, 362/208 ; 362/201 -gets around 1047525 by using a
screw for the switch, otherwise a copy
1147859 Emergency Lamp and Box Therefore, ISIDOR GOLDBERG, Jul 27,
1915, 362/375 ; 362/394; 362/802 -
Pocket Flash Light behind "break
glass to get light" box might be mounted in elevator
1150066 Pocket Flash-Light, F.M. Resenfeld (Import Sales Co), Aug 17
1915, 362/191 ; 362/206 - single AA cylindrical
1153420 Push and Pinch Contact for Flash-lights, A. Brody, Sep 14,
1915, 362/206 ; 200/536; 200/60; 200/61.58R -
1155249 Flash-Light, H.M. Koretzky, Sep 28, 1915, 362/195 ;
200/60 - in pocket watch case
" RE14088 Flash-Light, H.M. Koretzky,
Mar 14 1916, 362/196 ; 362/205; 362/206 - special two cell
battery
1160519 Case for Pocket Flash Lights, A.S. Lyhne, Nov 16, 1915, 362/201
- metal housing with no corners
1168241 Flash Light, Bernard Benedict (Beacon Minature Electric Co),
Sep 8 1914, 200/60 ; 200/549; 362/205 - sliding switch
contact is circle with gap for battery tab, will work when tab is
bent.
1185978 Electric Hand Lamp, Charles F. Burgess (Burgess
Labratories), Jun 6, 1916, 362/201 ; 43/17.5 - more reliable
connection between lamp and unit battery
1187121 Electric Pocket Flash Light, E. Alschuler (Interstate
Electric Novelty Co), Jun 13, 1916, 362/205 - insulating optical
reflector to prevent external shorts. AA Lens &
Reflector
1187104 Electric Pocket Flash Light, C.J. Sagebrecht (Interstate
Electric Novelty Co), Jun 13 1916, 362/208 ; 362/204 -
reflector and lens cylindrical
1187105 Electric Pocket Flash Light, C.J. Sagebrecht (Interstate
Electric Novelty Co), Jun 13 1916, 362/204 ; 200/60- another
short prevention scheme
1187574 Portable Electrical Light, C. Wachtel (Interstate Electric
Novelty Co), ( Jun 20 1916, 362/201- similar to
eveready, different switch
1198239 Electric Flash Light, H.M. Koretzky, Sep 12 1916, - ref
1155249 - in pocket watch case
1200366 Battery Lamp, Kerlin (National Carbon Co), Oct 3 1916, 362/189
; 362/204 - combined cells and/or cells & lamp
1201550 Flash-Light, F.W. Brush, Oct 17 1916, 362/202 ;
600/248- dentist mirror & light
1216979 Combined Flash0Light and Toilet Article, A Freed, Feb 20
1917, 362/142 ; 132/316; 362/321- pocket flash light with
variable azimuth light beam & mirror
1202498 Illuminated Blank Book, Findley, Oct 24 1916, 362/99
; 362/155 - battery and lamp along spine
1220634 - insulating cylindrical
1122424 Portable Electric Light, C.J. Sagebrecht (Interstate
Electric Novelty Co), 362/196 ; 200/60- clamshell type
similar to Eveready
1211121 Flash Lamp, EVERETT, Jan 2 1917, 362/197- narrow
pocket FL that can illuminate the tone arm on a record player
1211976 Novelty Device,J.R. Spencer & J.L. Ross , Jan 9 1917, 362/157
; 116/35R; 200/DIG.2; 340/321; D11/207 - lighted pin or button
1212907 Battery Lamp, W. R. Clymer (National Carbon Co.), Jan 16,
1917, 362/201 ; 362/295 - a resistor to drop voltage of fresh
battery
1226727 Pocket Flash Light, C. Wachtel, May 22 1917, 362/196
; D26/37 - looks like a small book & uses the tab contact
battery.
D52593, A Case for a Flash-Light, C.
Wachtel, Oct 15 1918, D26/46 - looks like a book
1226728 Pocket Flash Light, C. Wachtel,May 22, 1917, 362/204
; 200/60 - consecutive patent numbers
1236132 Pencil-Light, Altman, Aug 7 1917, 362/184 ; 362/1 -
lamp sticks out the side and has a reflector to pencil point
1238850 Portable Electric Light, G.W. Wacker, (National Carbon Co),
Sep 4 1917, - calls 1157395 and 1220634
cylindrical reflector & lens,
uses Eveready disk in switch circuit
1239078 Flash Light, B. Benedict (Beacon Minature Electric
Co), Sep 4 1917, 362/196 ; 200/60- uses the tab
contact battery looks like pocket watch almost bankrupt them
1241071 Portable Electric Light, W.H. Zachmann (National Carbon Co),
Sep 25 1917, - side by side AA Pocket Flash Light
side hinges to open, but not clam
shell ,i.e. not on center line, more like a door
1246042 Flash-Light, B. Benedict (Beacon Minature Co), Nov 13 1917,
362/201 ; 340/321- Pocket Flash Light, unit cell, hinged lid
holds lens over lamp
1246225 Portable Electric Light, B. Benedict, (National Carbon Co),
Nov 13 1917, 362/191 ; 200/60; 362/197- tab type battery use
by soldiers, belt loop closes using glove snap fastners
1254114 Portable Electric Light, B. Benedict, (National Carbon Co),
Jan 22 1918, 362/205 ; 200/60 - not pocket, uses very long
cylindrical cell
1257382 Indirect Illumination, HENRY G. O NEILL, Feb 26, 1918, 362/142
; 362/187 -
1262270 Pocket Lamp for Firearms, Schmidt, Apr 9 1918, 362/110
; 362/184; 362/191 - two lens, one negative and one positive images
aiming mark
1263674 Pocket Flash Light, A. Janovsky, Apr 23 1918, - looks
like a round of ammunition where the lens is the base end
1265820 Flash (pocket) Light, E.W. Seymour, May 14 1918, 362/206
; 200/60- long AA
1271390 Buttonhole Electric Light, FRANK THOMAS, Jul 2, 1918, 362/103
; 340/321 -
1280370 Electric Pocket Lamp, Beckmann (Dring Schneider), Oct 1
1918, 362/199- reflector swivels, lamp has mirror that
can be opened to reflect light, hood can narrow beam (W.W. I?)
1282555 Flash Lamp with Extension, W.A. Ericksen, Oct 22 1918, 362/200
- the lamp and reflector but not lens are on extension cord
1282615 Flash Light and Battery, M. Mizrahl, Oct 22, 1918, 362/201
; 200/60 - lamp on narrow side face & special battery
1283566 Pocket Flash Light, F.M. Rosenfeld (Import Sales Co),
Nov 5 1918, 362/191 ; 362/201- uses the tab contact battery
1285382 Pocket Flash Light, C.E. Renshaw, Nov 19 1918, 250/465.1
; 362/200; 362/84; D26/37 - add phospherence material to aid in
finding the PFL in the dark
1287393 Flash-light Holder, Molnar, Dec 10 1918, - holds pocket
light on back of hand so you can see as your write
1289113 Lamp, C. Campbell, Dec 13 1918,362/201 - lens on tube
with heical focusing thread
1302981 Light-Support, Sheley, May 6 1919, 248/126 ;
248/231.81; 248/231.91; 248/284.1; 362/103; 362/396 - light clips on
clothing, battery in pocket
1306740 Flash-Light, H. Bieber, Jun 17 1919, 362/189 362/201-
stiff
paper housing metal socket minalimist design
1312220 Portable Electric Light, G.W. Wacker (National Carbon Co),
Aug 5 1919, 362/204- not pocket, short prevention
cylincrical
1312221 Portable Electric Light, G.W. Wacker (National Carbon Co),
Aug 5 1919, 362/196 - tabbed battery, sheetmetal wiring like
Pocket Light No. 3
uses sheet metal wiring
1315262 Circuit Controler for Flash Lightrs, G.W. Wacker (National
Carbon Co), Sep 9, 1919 - cylindrical lens & reflector probably
not pocket FL
1315457 Portable Electric Light, Bernard Benedict (National Carbon
Co has now bought Beacon Electric), Sep 9 1919, 362/135 ;
132/288; 362/199; D26/37; D26/38 vanity case
D213516 Electric Battery Lantern,
Herbert J. Ashe (H.J. Ash Co), Mar 11 1969, D26/50 -
1315457 & 2932018
D221895 Casing for an Electric Lamp, Angiband, Sep 14 1971, D26/37
- Ref: D50963, D190054, 1315457
1315816
Pocket Flash Light Battery & Bulb Tester, R.E. Cole -Sep 9, 1919
- 3 bulbs allow testing a number of lamps and batteries.
1321026 Combined Flash-Light and Toilet Article, A.N. & O.E.
Freed, Nov 1919, 362/196 132/286 D26/38 - mirror on front
door, lamp on removagle shelf lens on top and front
1321153 Pocket Flash Light, D.A. Runnion, Nov 11 1919, 362/109
; 281/51; 362/196 - uses the rectangular battery with tab
connections. has flip up cover that acts as reflector
1326983 Portable Electric Light, F. G. Spiers (National Carbon
Co), Jan 6, 1920, 362/208- not pocket, insulating
cylindrical tube made of fiber
1327017 Electric Pocket Lamp, C. Boltshauser (Phoebus Co, Germany),
Jan 6 1920, 362/196 362/202 429/99 D26/37 - small can lamp
on top
1346104 Electric Pocket Lamp, C. Boltshauser (Phoebus Co, Germany),
Jul 13, 1920 362/196 - top like gabled roof lamp faces
forward
1365636 Electric Pocket Lamp, C. Boltshauser (Phoebus Co, Germany),
Jan 1921, 362/196 43/17 D26/46 - top like gabled roof lamp
faces forward
1377477 Battery Hand Lamp, C. Hambuechen (National Carbon Co), May
10 1921, 362/205 ; 200/60; 362/208- cylindrical single cell
reflector & lens
1377646 Flashlight or Battery Hand Lamp, A.W. Wellington (Chase Co),
May 10 1921, 362/204- external short prevention, cylindrical
lens & reflector offset strips to switch
D58006 Portable Electric Light Support, C.T. Wittstein, May 24, 1921
- holds Eveready or similar Pocket Flash Light
1382912 Insulator, H.H. Hipwell, Jul 22, 1919, 362/208 -
cylindrical flashlight with reflector insulated from tube
1388165 Flashlight, W. Bronie (National Carbon Co), Aug 23 1921, 200/60
; 362/205; 362/310- Improve patent 1220634
1396828 Hand Lamp, G.D. Gallagher, Nov 15, 1921, 200/60
; 362/205- switch for unit cell pocket flashlight
" RE15549 Hand Lamp, G.D. Gallagher, Feb 20 1923,
200/60 ; 362/202 - switch for unit cell pocket flashlight
1406964 Circuit Controler for Flash Lightrs, B. Benedict, (National
Carbon Co), Feb 21, 1922, 200/60 ; 362/205; 362/310
- slide switch goes over spherical
top button - 2 rivets
Bill Utley calles it Slide and Flash Button Switch 1917 - 1922
1411615 Flash Light, FRED EVANS (L.V. Aronson), Apr 4 1922, 362/192
; 310/73; 310/75B; 74/130 - squeeze generator
1421528 Flash Light, L. A. Miller (Winchester), Jul 4, 1922 362/208
- unit battery type, battery door latch is just bumps on the
sheet metal
1429261 Flashlight or Battery Hand Lamp, A.W. Wellington (Chase Co),
Sep 19 1922, 362/204- cylindrical reflector & Lens short
circuit prevention
1432876 Portable Electric Lamp, P.J. L'evesque (Compagnie Generale
D'Electricite), Oct 24, 1922, 362/188 362/201 - reflector
for better spot beam
1449391 Combination Flash Light and Toilet Article, LOUIS FRANKLIN,
Mar 27, 1923 362/136 ; 132/288; 132/294 - lady's vanity case
1458329 Hand Bag, C.S. Elfelt, Jun 12 1923, 362/136 ;
132/288 -
1465293 Electric Lamp, E. Alber, Aug 21 1923, 362/196 ;
D26/37- gabled roof or half circle roof front facing lamp
1468408 Electric Pocket Lamp, H. Studer (Switzerland), Sep 18, 1923,
362/196 - focusing lamp
1487476 Electric Pocket and Night Lamp, PAUL ROMBACH, Mar 18, 1924,
362/200 - presing the lamp actuates the switch (similar to
the Eveready Table Masterlite)
1506302 Flashlight and Electrolytic Rectifier, N.M. Hopkins,
(National Carbon Co), 362/183 ; 320/114; 340/815.73;
429/178- rechargable in the cylindrical flash light - storage batt,
not pocket
1492743 Flash Light, C. Osean (Union Carbide), May 6 1924, 362/196
; 429/99- clamshell POCKET FL using seperate cells, not a unit cell,
uses coil springs to hold cells in contact with terminals
1498331 Hand Lamp Switch, A.L. Staples (Winchester), Jun 17, 1924, 362/201
- extended motion & flash on on all the tim
1509354 Portable Illuminating Device, C. Hambuechen, (National
Carbon Co), Sep 23 1924, 362/202 - bulb mounted from
sides of reflector more rugged
1513437 Electrical Switch, L.J. Voorhees (National Carbon Co),
Oct 28 1924, 200/60 - Cylindrical flashlight, not pocket
light - bug button 2 rivets
1544852 Toilet Case, Sommerfield E. Miller, Jul 7, 1925, 362/156
; 132/295 -
1547699 Electrical Switch, L.J. Voorhees (National Carbon Co), Jul
28, 1925, 200/60- not pocket, cylindrical - multiple rivets
1552404 Electric Light for Hand Bags, JOHN ALLEN, Sep 8 1925, 362/135
; 362/205; D26/38 -
Referenced by:
D292616
Disposable clip light Nov 3, 1987
D298658
Purse illuminator Nov 22, 1988
D298860
Miniature rechargeable pocket lamp Dec 6, 1988
D351244
Flashlight Oct 4, 1994
1556860 Flash-light Traffic Signal, J.M. Lovaas, Oct 13 1925,340/321
; 362/103 - uses the tab contact battery. worn on left wrist to make
visible hand signals while motoring
1559481 Flash Light, L.J. Voorhees (National Carbon Co), Oct 27
1925, 362/207- spare bulb storage
1588428 Flash Light, L.J. Voorhees (National Carbon Co), Jun 15
1926, 362/196 ; 429/97-clamshell POCKET FLASHLIGHT No 1?
1588464 Flash Light, C. Osean (National Carbon Co), Jun 15, 1926, 362/196
; 429/97 - uses 2 side by side cells both pointing in the same
direction clamshell POCKET FLASHLIGHT No. 2?
1590541 Automatic Contact Device for use in Pocket Lamps, F.R.
Paivio, Jun 29 1929, 362/208 200/85R 362/201 - accidential
on prevention
1591627
Handlamp, N.M. Hopkins (National Carbon Co), Jul 6 1926, 362/203
; 362/208; 429/97; 43/17.5- 2 inline AA lamp holder is reflector
(how do they form the sheetmetal?)
1594510 Arm Safety Lamp, M Saks, Aug 3 1926, 362/201 340/321
362/103
- bicycle rider
1610289 Battery Hand Lamp, H.W. Jones (National Carbon Co),
Dec 14 1926, 362/187- focus screw base lamp
1611529 Battery Lantern, H.W. Jones (National Carbon Co), Dec 21
1926 362/197- two side by side No. 6 Dry Cells same layout
as a pocket FL, but much larger.
1654373 Electrical Switch Mechanism, F.A. Holt (National
Carbon Co), Dec 27 1927, 200/60 ; 362/205-
button sliding switch - 4 +1
eyelets
Bill Utley calls it the Safety Lock Switch used from 1923 till
1932.
1688179 Hand Signal Light, H.G. Essman, Oct 16 1928, 340/321 362/201
D26/37 - automobile turn signals
1668881 Portable Electric Light, L.J. Voorhees (National Carbon Co),
362/188- means for adjusting lamp relative to reflector uese
eyelet and fiber washers, not pocket
1669292 Focusing Lamp, R. Eckstein (National Carbon Co), May 8 1928,
362/188 ; 362/187; 362/204 - allows user to focus (not
prefocused)
1669313 Illuminating Device, L.J. Voorhees (National Carbon Co), May
8 1928, 362/188- not pocket, provision to focus bulb in
reflector for spot beam
1680169 Flash Light, C. Osean (National Carbon Co), Aug 7
1928, 362/188- bulb storage, cited be many modern patents
1691989 Flash Light, C. Osean (National Carbon Co), Nov 20 1928, 362/188-
focus screw base bulb
1697405 Portable Electric Hand Lamp, H.F. Reichenbach (Chase Co),
Jan 1, 1929, 362/205 ; 200/60; 340/321- cylindrical
reflector & Lens screw base lamp, switch that stays put
1700673 Pocket, Cycle and Other Lamp, F. Eckhardt, Jan 29, 1929, 362/201
362/212 - lamp has two filaments, one for fresh 4.5 V battery
and the other for 3.5 Volts
Burgess Snap-Lite

The Snap-Lite was a very low cost light based
on two AA cells side by side with a lamp connected to a lid.
When the lid is opened it both rotates the lamp and turns it
on. These were imprinted with a business name and
"Compliments of . . ." as a giveaway item. The cells can not
be replaced so it's a throwaway, but some people kept them even
though they no longer worked. This was the first use of the
Burgess patent 1307868 which involved forming the Zinc can as one
piece of metal instead of the prior method of soldering a cylinder
then soldering a cap to the cylinder. Apparently the
internal chemicals are exhausted before the zinc has a hold eaten
through it, hence a number of these still survive.
Photo i s of a No. 942 Burgess Snap Lite. In the oval on top
is:
patented
Burgess
SnapLite
Flashlight
Burgess Battery Company,Stamped in U.S.A.
On the clip that holds the screw based lamp:
Burgess,
No. 942
The clip that holds the
lamp is seperate from the lid and can rotate indipendtly of
the lid, so it's not clear how the lamp gets turned on.
Stamped into the floor of the top
compartment:
52
No. 3 Snap-Lite
Schneider's
Flashlight book, pg 74 - 75, shows three styles of Snap
Lite: the earliest have the dark brown case like this one, the
"Number Two" has a red case and the newest ones are Art Deco
styled. The book says they all are 2 3/4" tall. This
one measures 2 5/8" closed and 3 3/8" open.
There are a few patents for a light that has the look and feel of
the Snap-Lite by other makeres so they seem to have been quite
popular.
1701093 Battery Hand Lamp, J.S. Zook (Burgess Batt Co), Feb 5
1929, 362/199 ; 429/97 - aka Pocket Flash Light, 2 AA - Snap-Lite
Burgess Disposable Snap-Lite
D78186 Battery Hand Lamp, J.S. Zook
(Burgess Batt Co), Apr 2, 1929, D26/47 -
1307868 Flash Light Battery, A.S. Lynne, Jun 24 1919, 429/166
; 429/157 - one piece zinc cup, no leaks & same size
1714531 Switch, L.J. Voorhees (National Carbon Co), May 28 1929 200/60
; 200/556- a 3 cell Pocket FL with a ball type toggle switch
1735545 Portable Electric Hand Lamp, P.R. Puckett (Chase Co), Nov 12
1929, 362/205 - cylindrical- bail on lens end, why?
1739316 Illuminated Purse, Koban, Dec 10 1929, 362/155 -
1758918 Flash Light, C.K. Bryce, (National Carbon Co), May 20 1930,
362/188- removable head allows getting swolen battery out
1763874
Battery Hand Lamp, J.S. Zook (Burgess Batt Co), Jun 17 1930, 362/199
; 429/97- 2 AA bulb rotates with lid - Snap-Lite
1763898 Hand Lamp, R.A. Lorig (Burgess Batt Co), Jun 17, 1930, 362/199-
Snap-Lite
aka Pocket Flash Light, bulb hinges
with lid, two AA
References:
1701093 Battery Hand Lamp, J.S. Zook (Burgess Batt Co) - Snap-Lite
1792547 Hand Lamp, Nygard (Burgess Battery Co), Feb 17
1931, 362/199- dual AA rotating lid-switch - Snap-Lite
1775476 Lady's Handbag, S.B. Shifflett, Sep 9, 1930, 362/136
; 132/288- built in light
1778243 Toilet Article, J.A. Burhans, Oct 14 1930, 362/155 ;
429/98 - make-up case to aid cosmetic application
1781064 Adjustable Lamp, H.W. Jones (National Carbon Co), 362/187-
focus screw based lamp cylindrical FL
1784114
Battery Hand Lamp, W.B. Schulte (Burgess Batt Co), Dec 9, 1930, 362/201
; 396/155; 429/97- Snap-Lite
aka Pocket Flash Light, 2 AA or 4N?
- replaceable batteries & lamp
References:
1701093 Battery Hand Lamp, J.S. Zook (Burgess Batt Co)
Burgess Snap-Lite
1792547 Hand Lamp, Nygard (Burgess Battery Co), Feb 17 1931, 362/199-
dual AA rotating lid-switch - Snap-Lite
1816779 Lighting Device for Key Rings, A.L. Jeanneret (Switzerland),
Jul 28 1931, 70/456R ; 362/116; 368/278 - sort of pocket
watch light
1816877 Flash Light Switch,
E. Tompkins (Scovill Mfg Co), Aug 4, 1931, 200/60 362/201 -
very similar to Conrad's 1035879
1823105 Contact Measn for Battery Energized Devices, 362/205-
prevent normal "D" cells from working in FL marketing hype?
1831514 Battery Hand Lamp, R,B, Smith, 362/188 ; 362/327-
focus screw base bulb in cylindrical FL
1866600 Pocket Flash Light, F. Rauch, Jul 12 1932, 362/201 362/158
362/189 - curved notch for holding like trigger
1889788 Portable Battery Lamp, A. Mitchell (Chase Co), Dec 6 1932, 362/191
; 292/210; 292/248; 362/196- clamshell, two cells, POCKET FLASH
LIGHT, large reflector on side
D86734 Flash Light, A. Mitchell (Chase Co), Apr 12 1932, D26/44
- ladies compact?
D89969 Portable Battery Lamp, A. Mitchell (Chase Co), May 23 1933, D26/44-
light out side of cylinder
D87543 Portable Electric Lamp, A. Mitchell (Chase Co), Aug 9 1932, -
Maritime motif
1834642 Flash Light, C.A. Gillingham (National Carbon Co), Dec 1
1931, - cylindrical floats for sea plane landing on water
1834805 Combined Pocket Flash Light & Key Holder, L.H. Roddis,
Dec 1 1931, 362/116 ; 40/634; 70/456R- opening cover -
rotating bulb turns on
1857390
Flash Light, B.F. Muldoon (Henry Hyman), May 10, 1932, 362/199-
Snap look alike
1866600 Pocket Flash Light, F. Rauch, Jul 12 1932, - trigger like
switch, fits in palm of hand
1875650 Vanity Case, Pemberton, Sep 6 1932, 362/136 ;
132/288 - hinged lamp makes contact when lid up
1884968 Combined Flash Light and Reading Glass, I.H.M. Bloch, Oct
1932, 359/803 ; 359/808; 362/109 - a pouch with swiveling
mag glass that holds a stock PFL
1890841 Knife and Flashlight, R. D. Brown, Dec 13 1932, 362/119
-
1897627 Battery Hand Lamp, J.S. Zook (Burgess Battery Co), Feb 14
1933, 362/199- Snap-Lite
rotating lid, lamp & switch
References:
1701093 Battery Hand Lamp, J.S. Zook (Burgess Batt Co)
Burgess Snap-Lite
1900348 Flash Light, H.W. Jones (National Carbon Co), Mar 7, 1933, 362/189
; 362/195; D26/37- POCKET FL w/bulb protector hood, maybe uses 706 3
V battery?
1909278 Battery Lantern, H.W. Jones (National Carbon Co), May 16
1933, 362/197- 3 cell same form factor as pocket FL,
includes contacts "i" or "U" for battery polarity control
Chase Round Pocket Flash Light
1918347 Flash Light, A. Mitchell (Chase Co), Jul 18 1933, 362/196
- like a large pocket watch with light from face
When the switch is all the way to the left you can not press
it, i.e. it's locked off.
When the switch is in the center you can press and hold the
switch and it will go off when released.
When the switch is all the way to the right the light is
locked in the on position.
|

|

|
1920314 Flashlight, Bernard F. Muldoon (H. Hyman), Aug 1, 1933, 362/190
- Flip Top PFL two AA screw base lamp
1921171 Flash Light, Glenn A. Smith Aug 8, 1933, 362/189 ;
362/200 - switch and reflector above case
1926108 Hand Lamp, Bernard F. Muldoon (H Hymen), Sep 12 1933, 362/199-
1937651 Flash Light Switch, H.G. Graubner (National Carbon Co), Dec
5 1933, 200/60 ; 362/205- interesting double shape reflector
- 3 rivets
1940023 Hand Lamp, W.B. Schulte Burgess Battery Co), Dec 19 1933, 362/189
362/197 362/208 -
minimalist sheet metal cap for tab
type Pocket Flash Light Battery not snap lite2118997
1940843 Flash Light Cap, Otto C. Britsch ( H Hyman), Dec 1933, 362/201
-
Snap look alike, but lamp is fixed,
lid opens and activates switch
1948613 Flash Light, O.C. Britsch (Bond Electric Corp), Fev 27 1934,
362/201 200/60 362/208 -
Snap look alike, but lamp is fixed,
lid opens and activates switch
1950103 Portable Electric Lantern, William C. Embury, Mar 6 1934, 362/199
- telescopes on itself to store in compact package -? size?
1964577 Battery Lamp, James H. Horsley (Universal Lamp Co), Jun 26
1934, 362/200 - very compact "Vest Pocket Lamp"
1969196 Vest Pocket Flash Light, G.H. Barber (Bond Electric Corp),
Aug 7 1934, 362/189 ; 362/201 - uses the rectangular battery
with tab connections or two AA cells?
1972879 Key Container, Gerhard Flintermann, Sep 11 1934, 70/456R
; 206/38; 362/116; D26/38 - narrow PFL with key storage on the side
1974294 Folding Duplex Flash Light, J.J. Walsh, Sep 18 1934, 362/202
362/208 D26/49 -
Guth Stern & Co Art Deco
Pocket Flashlight
1980351 Electric Flash Lamp, S. Osterman (Guth Stern &
Co), Nov 13 1934, 362/142 ; 132/288; 362/136;
362/199; D26/38 -
Allbright rectangular pocket lights. Lamp on
large face, early were #14 and later 222 type
D95065 Flash Light, Howard M. Price (Bridgeport Metal Goods
Mfg Co), Apr 2 1935, D26/37 - rectangular lamp on
large face |

This art deco light is
marked:
U.S. Pat. No. 1980351 U.S. Design Pat. No. D95065
|
1995141 Flash Light, G.H. Barber (Bond Electric Corp), Mar 19 1935,
362/201 362/208 429/97 -
Sort of like Snap lite, but more
like a cigarette lighter
GEM Flash-O-Light
D107578 Flashlight Casing, Howard M. Price (Bridgeport Metal
Goods Mfg Co),Dec 21, 1937, D26/49
- cylindrical
2014266 Vanity Case, William E. Sherbondy, Sep 1935, 362/137
; 362/372 - two AA?AAA & mazda lamp that rotates when case is
opened
2002602 Flash Light of Candle Type, H.G. Graubner (National Carbon
Co), May 28 1935, 362/190 ; 200/60- easy to form light metal
outer shell with internal weight for stability
2011692 Electric Light, W.E. Simpson, Aug 1935, 362/201 362/100
- attached to fixed surface, turns on when hinged out
2020352 Switch, A. Bolduc, Nov 12 1935, 362/205 200/60
362/208 - tiny cylindrical light
2021015 Illuminating Compact, Muller, Nov 12 1935, 362/136
-
no references
2039205 Pocket Powder-Case, Franz Anderl (Frida Weissenbeck) Apr 28
1936, 362/156 ; 132/288; 132/297; 206/235 - lamp between
cells
2041843 Electric Pocket Lamp, Benjamin Daniel Lifschitz (E. Singer),
May 1936, 362/201 - can use unit battery or two AA cells,
level switch on top corner
2065307 Electric Flashlight, Giles C. Fullmer (Bridgeport Metal
Goods Mfg Co), Dec 22 1936, 362/196 200/60 D26/37 -
rectangular art deco pocket light, two AA mazda lamp
2066028
Combined Flashlight and Lighter, Otto C. Britsch (H Hyman), Dec
1936, 362/109 ; 200/60 -
2068813 Combined Cigarette and Vanity Case, Willis R. Morey
(Vanilite Products Inc), Jan 26 1937, 362/156 ; 132/316;
206/38; 362/136; 362/99- includes 112 lamp
2087460 Flashlight Switch, Jefferson D. Wallace, Jul 20 1937, 200/60
; 200/547 - combined pocket flash light & lighter
2089897 Flashlight, Marion D. Judkins, Aug 10 1937, 362/200
; 200/60; 340/321 - can be worn on back on hand and switch operated
by thumb thus freeing hands
2092355 Combined Vanity Case and Flashlight, Mailloux, Sep 7 1937, 362/136
-
2118997 Battery Hand Lamp, J. S. Zook (Barren Battery Co), May 1938,
362/199 200/60 362/201 - - Snap-Lite
References:
1701093 Battery Hand Lamp, J.S. Zook (Burgess Batt Co)
Snap-Lite
2120238 Flashlight, Abbott P. Brush, Jun 14 1938, 362/140 ;
362/203; 429/96 - minimalist single cell with mirror,
end not silvered to let light out no references
2161872 Electrical Pocket Writing and Beading Lamp, Franz Kostal
(W.E. Resser), Jun 13 1939, 362/99 362/194 362/275 362/396
362/410 40/555 -
has a flex connection between
the lamp head and battery tube
D114327 Flashlight Case, Albert Gelardin, Apr 18, 1939, D26/37
; D27/160- Art Deco side by side AAA or AA
2179214 Illuminating Device for Pocketbooks or like
receptacles, Otio Hallbauer (H. Bodenmann), Nov 7 1939, 362/156-
2179669 Vanity Case, Winfred T. Parkin (T.W. Foster Bros Co), Nov 14
1939,
220/259.2 ; 132/315;
132/316; 220/DIG.26; 292/127; 292/99; 292/DIG.50 - no references
2200458 Focusing Illuminating Attachment for Photographic Flash
Guns, etc., O. Steiner (Folmer Graflex), May 14 1940 - to allow
seeing enough to focus camera
2235109 Mirror Light, Willis R. Morey, Mar 18 1941, 362/109
; 362/135- small light clips to normal make-up mirror
2249692 Pocket Flashlight, Albert Gelardin, Jul 15 1941, - top
mounted switch uncovers lamp whem pressed down plastic housing, 1 or
2 cells 222 type lamp
2283430 Flashlight, Palmer E. Frettem, May 19 1942, 43/17.5
; 43/17 - for fishing reel
2258540 Illuminated Vanity Case, George M. Cressaty, Oct 7 1941, 362/137
; 132/288; 206/38; 220/DIG.26; 362/339; D28/78
2258541 Illuminated Vanity Case, George M. Cressaty, Oct 7 1941,362/137
; 220/DIG.26; D28/83 - no references
2258542 Illuminated Vanity Case, George M. Cressaty, Oct 7 1941, 362/137
; 220/DIG.26; D28/78
2258543 Illuminated Vanity Case, George M. Cressaty, Oct 7 1941, 362/137
; 132/288; 220/DIG.26; D28/78
2258544 Illuminated Vanity Case, George M. Cressaty, Oct 7 1941, 362/137
; 220/DIG.26; D28/78
2262040 Illuminated Panel Battery Lamp, Van Dyne Pell, Nov 11 1941,
362/99 200/60 362/201 362/97 40/555 - might be used for
photo name badge or advertisement
2272040 Flashlight, B.F. Muldoon (H. Hyman), Feb 3 1942 362/196
292/17 - mouse shape push button at point two AA
2299467 Mouth Supported Flashlight, Frank J. Colby (G.K. Allen), Oct
20 1942, 362/190 362/191 362/196 - fisherman ties lure with
both hands
2314517 Illuminatable Vanity Case and like Container, John Giacomo
Pucci, Mar 23, 1943, 362/137 -
2315025 Electric Pocket Lamp, Samuel Daniel Sullam, Mar 30, 1943, 362/196
- cylindrical case split on long axis for dissassembly
2316419 Illuminating Device for Pocketbooks, Otto Hallbauer, Apr 13
1943, 362/194 362/187 - made as part of a women.s
purse
2329063 Pocket Flash Light, Lee J. Lockwood ( Burgess Battery Co),
Sep 7 1943, 362/196 ; 200/276.1; 200/303 -
similar to Snap Lite, but 222 lamp
is horizontal and fixed, button behind lamp turns it on, plastic
case
2330851 Switching Case for Electric Pocket Lamps, Emile Venot, 362/201
- top of case & Lamp slide sideways to turn on or off
2373390 Portable Electric Lighting Device, George R. Fuss, Apr 10,
1945, 362/197 - lamp between cells for purse,
etc no references
2374375 Illuminated Brooch, J.H. O'Donnell, Apr 24 1945, 362/184
; 340/321; 362/104; D11/56; D26/57- two cells two lamps hart with
arrow
2377538 Book Lamp, Jacob Cohen = Jack Victor Conway, Jun 5 1945, 362/99
; 362/275 -
2383223 Searchlight, Leland H. Snyder (Quality Hardware &
Machine Corp), Aug 21 1945, 362/184- two lamps switch
selects normal reflector or broad coverage - no
references
2386255 Flashlight, Willis B. Morey, Oct 9 1945, 362/197 ;
362/190; 362/98 - to be attached to pocket
no references
2387144 Electric Flashlight, William H. Gey, Oct 16, 1945, 362/158
- 222 horizontal & two AA vertical side by side Pocket FL
2401349 Dry-Batttery Torch or Flash Lamp, Herbert Frank Hedge, Jun
4, 1946, 362/189 362/201 - battery tab has lamp socket very
minimalist design
S. Schwartz Key chain Pocket
Flashlight
|

|
2412313 Pocket Flashlight,
R.B. Battersby (S.Schwartz), Dec 10 1946, 362/201 220/827
362/208 - flip top 222 - Bantum AAA cells key chain loop on
bottom
The lamp in this light does not have any threads. It's
a 222 type with the built-in lens.
|
2424432 Vanity Case, Richard Bower, Jul 22 1947,362/203 ;
132/286; 132/288; 206/229; 206/37 - lamp between cells
References:
2283430 Flashlight
2307745 Hydrometer (with light), Lutz, Jan 12 1943, 73/442
; 362/191
2453621 Illuminated Compact, Orville W. Chinn, Nov 9, 1948, 362/156
-
References:
1449391 Combination Flash Light and Toilet Article
2021015 Illuminating Compact
2092355 Combined Vanity Case and Flashlight
2258542 Illuminated Vanity Case
2314517 Illuminatable Vanity Case and like Container
2454527 Combined Compact and Flashlight, Marc Aurele Taschereau, Nov
23 1948, 362/136 ; 220/DIG.26 -
2454895 Flashlight, Joseph J. Cannistra, Nov 30, 1948, 362/201 D26/2
- methacrylate (Clear Plastic) case with machined pockets for two
parallel AA and a 222 lamp
2465114 Flashlight Design, John Foster Oury, Mar 22 1949, 362/196
429/97 - skinny sardine can two AA & 222.
The case and the working part can be
seperated so that the working part can be used elsewhere.
2468248 Illuminated Vanity Case, Cederquist, Dec 26 1949, 362/137
-
2480223 Keyhole Illuminating Device, Alfred D. Costanzo, Aug 30
1949, 362/196 362/100 - heart shaped twi AA #14 lamp
2480800 Illuminating Attachment for Compacts, Bertram N. Wickwire,
Aug 30 1949, 362/142 ; 362/136; 362/191 -
2494886 Combination Cigarette Lighter and Flashlight, Max Leif, Jan
17 1950, 362/199 ; D26/38- modern looking
References:
1763874 Battery Hand Lamp
1875650 Vanity Case
1883546 Smoker's Novelty - not here
1897627 Battery Hand Lamp
1900348 Flash Light
2066028 Combined Flashlight and Lighter
2075883 Combined Electric and Flame Lighter - not here
2087460 Flashlight Switch
2502105 Flashlight, Hyman R. Segal, Mar 28, 1950, 362/186 362/201
- anodized aluminum (non conducting head which when slid sideways
uncovers a hole and turns on lamp
2528701 Vest Pocket Flashlight, August Mitchell (Cresale Inc), Nov
1950, 362/201 200/60 D26/37 - two AA tip of 222 lamp sticks
out side rotary switch on other side
2536408 Fish Lure, Diedrieh G. Addicks, Jan 2 1951, 43/17.5 362/201
- Lucite cap sealed wih O-ring lamp screws into spring which
contacts metal can (batt -)
2544059 Flashlight, B.N. Wickwire, Mar 6 1951, 362/197 362/196
- women's handbag
References:
1172354 Portable Lamp
1194986 Illuminating Device
1226607 Phonograph Lamp
1271390 Buttonhole Electric Light
1947975 Selective Contact Illuminator Pen
2009952 Flash Light, Marie L. Beaumont, Jul 30 1935
2299148 Flashlight, Lawrence L. Johnson, Oct 20 1942
2361414 Marine Safety Light
2373390 Portable Electric Lighting Device, George R.
Fuss, Apr 10, 1945
2424432 Vanity Case
2564412 Flashlight having an Angularly Adjustable Lamp Carrier and
Hood, A. Von Haase, Aug 14 1951, 362/197- built into women's
purse
References:
1194986 Illuminating Device
1739316 Illuminated Purse
1875650 Vanity Case
2014266 Vanity Case
2179214 Illuminating Device for Pocketbooks or like
receptacles
2258541 Illuminated Vanity Case
2299148 Flashlight, Lawrence L. Johnson, Oct 20 1942
2373390 Portable Electric Lighting Device, George R.
Fuss, Apr 10, 1945
2386255 Flashlight
2564980 Safety Light for Lanterns, Marcella G. Kellermann, Aug 21,
1951, 362/201 - simple two cell & #14 light with
two wires for Halloween pumpkin
2572095 Automatically Actuated Illumination for Containers Provided
with Hinged Closures, Milton C. Baillie, Oct 23 1951, 362/155 -
References:
2014266 Vanity Case
2021015 Illuminating Compact
2179669 Vanity Case
2258540 Illuminated Vanity Case
2453621 Illuminated Compact
2454527 Combined Compact and Flashlight
2468248 Illuminated Vanity Case
2579762 Flat Pocket Hand Lamp, Earl L. Schofield *Burgess Battery
Co), Dec 25 1951, 362/201 - two AA & 222 , hinged on
short end battery door, no rattle
2580258 Illuminated Mirror, Michael Tarasuk, Dec 25 1951, 362/141
-
References:
1832492 Movable Reflector, line powered - not here
2014266 Vanity Case
2120238 Flashlight
2258543 Illuminated Vanity Case
2386255 Flashlight
2480800 Illuminating Attachment for Compacts
2580956 Signal Device for Fishermen, Leonard W.reddick, Jan 1 1952,
43/17 200/60 340/321 362/109 362/201 - socket that holds
fishing pole has switch, cord goes to F.L.
2587223 Signal Light for Fishing Lines, Allen D. Robinson, Feb 26
1952, 43/17 362/109 362/201 - switch under battery is
activated by line tension
2591112 Vest Pocket Flashlight Including Electric System and Lock,
Alex Zwierzynski (H Hyman), Apr 27 1952, 362/196 362/208 -
2 ea AA side by side, 222 lamp on end sort of heart shap
References:
1226727 Pocket Flash Light
1588464 Flash Light, C. Osean
1918347 Flash Light, A. Mitchell
2272040 Flashlight, B.F. Muldoon
2329063 Pocket Flash Light, Lee J. Lockwood ( Burgess Battery Co)
2465114 Flashlight Design, John Foster Oury
2616202 Fishing Rod, Frank G. Romberger, Nov 4 1952, 43/17 362/109
362/201 - as pole is tilted at some angle springs close circuit
2618736 Illuminated Key Holder, G. Langhout, Nov 18 1952, 362/155
; 200/61.81; 362/116; D3/209
2618737 Flat Casing Electric Hand Lamp and Switch therefore,
Rudolph. H. Beavis (Olin Ind), Nov 18 1952, 362/201 200/60
- Two AA & 222 translucent cap with hole above lamp
2620061 Pocket Article Dispensing Container, Oskar Uxa, Dec 1952, 221/229
; 221/281 - PEZ Candy Dispenser here to compare flip lid (Snap-Lite)
pocket flash light patent timing
2645706 Combined Mirror and Flashlight, C.R. Bowland, Jul 14 1953, 362/135
; 362/197 - 112 lamp
2679575 Portable Reading Lamp, A.H. Haberstump, May 25 1954, 362/99
362/191 362/194 362/387 - clips to attach to book
References:
1193031 Portable Flash-Lamp
1900906 Portable Electric Illuminating Apparatus
1959979 Extension Lamp Flash Light
2079075 Portable Electric Head Lamp
2377538 Book Lamp
2697297 Toy Combination Cigarette Case and Lighter, Albsrt Newberg,
Dec 21 1954, 446/485 206/263 206/457 206/85 206/87 362/154
362/201 362/806 -
2702408 Extrusion of Plastic Material, D, Heartland (Union Carbide),
Feb 22 1955, 264/211.21 ; 425/197; 425/379.1; 425/382.4-
classical process needed for Pocket FL No. 3
2707227 Purse Lights, Alexander Ross, Apr 26, 1955, 362/196
- box 2 cells & 222 push button can be upset so that it jams to
keep on
References:
2529234 Keyhole Illuminator
2748258 Flashlight, James L. Henning ( Piano Molding Co), May 29,
1956
References:
1950103 Portable Electric Lantern, William C. Embury,
Mar 6 1934
2036088 Hand Lantern, Eoy L.
Darling (Bond Electric Corp), Mar 31, 1936, 362/191
; 362/197; 429/97 - rectangular, uses "U" shaped battery contact
to prevent reversed polarity
2762907 Pocket Flashlight Construction, Sidney Schwartz
(Bantam), Sep 11 1956, 362/201 200/60 43/17.5 - Pez
dispenser key chain, fliping lid = switch
References:
425244 Signal Lantern, CHARLES D. OATMAN, Apr 8, 1890, - keroscene
had thumb switch and flap to turn light on and off
2249692 Pocket Flashlight, Albert Gelardin, Jul 15
1941
2412313 Pocket Flashlight
2502105 Flashlight
2579762 Flat Pocket Hand Lamp
2772349
Illuminating Apparatus, W.H. Chamberlin, Nov 27 1956, 362/191 362/201
396/155 - magnet, periscope w/mirror for illuminating parts of car
that need to be fixed
References:
1641880 Hand Lantern, George Cohen, Sep 6 1927
1697813 Lamp Reflector for Instrument Illumination,
Disnmore - not here for car instrument panels
2137881 Adjustable Reflector
2222879 Detachable and Adjustable Reflecting Element
for use with a Flashlight
2283430 Flashlight
2483665 Pocket Flashlight
2586265 Trouble Light for Illuminating Work
2789209 Flashlight, M.D. Judkins, Apr 16 1957, 362/191 ;
200/553; 200/60; 292/256 - worn on back of hand
References:
1893292 Electric Hand Lantern, C.H. Larson (Adlake
Co.)
2065307 Electric Flashlight, Giles C. Fullmer (Bridgeport Metal
Goods Mfg Co)
2089897 Flashlight, Marion D. Judkins
2277866 Hand Operated Electric Light Signal Device, Aaron D. Le
Sage
2805325 Flashlight, K.Z. Crawford (Plastene Corp), Sep 3 1957, 362/191
; 200/60; 362/205; 362/208; D26/46 - cute pocket flashlight
lamp on large face, parallel AA
cells
References:
1857993 Electric Lantern
1918347 Flash Light
1920314 Flashlight
2010089 Hand Lantern
2014266 Vanity Case
2234972 Flashlight, Zennan
2288808 Hand Lamp Switch
2320193 Combined Safety Light and Illuminating Lamp
2543036 Electrical Contact Srping Assembly - like used
on relays - not here
2823300 Light Modifying Attachment for Flashlights, H.G. G(Chase
Co)966 - D190520
2843730 Flashlight, Sidney Schwartz (Bantam Lite Inc), Jul 15 1958,
362/201 16/277 16/373 - flat plastic hosing vanity
mirror
2879381 Flashlights, Robert G. Coffey, Mar 24 1959, 362/158
; 362/189 - batteries have depression to allow larger reflector
References:
1074376 Electric Pocket Lamp, E. Neudorffer
1200366 Battery Lamp, Kerlin
1310763 Electrical Lighting Assembly, Albert H. Maranda
1327017 Electric Pocket Lamp, C. Boltshauser
1925115 Battery Lamp, George J. Seiss
2405384 Illuminating Ankle Bracket and the like, Albert W. White
2632094 Flashlight having a Sealed Flexible Casing, Robert. G.
Akerley
2739225 Disposable Flashlight, Horace B. Rowland
2748258 Flashlight, James L. Henning
2966580 Battery Hand Lamp, Frank E. Taylor, Dec 27 1960, 362/201
200/60 362/184 D26/46 - dual flashight for reliability
References:
2373306 Flashlight - penlight
2374375 Illuminated Brooch
2530505 Flashlight Switch Operating Mechanism
3011399 Combined Reading Glass, Reading Light and Compass, Kenneth
W. Pfleger, Dec 5 1961, 359/801 ; 362/199; 362/23 -
Refeences:
2014266 Vanity Case
2041843 Electric Pocket Lamp
2619004 Inspection Device for Determining Height of
Dots on Engraved Plate
2712058 Pen Light or the like with Adjustable Head,
Grebey
3085149 Minature Light Source, H. L. Glwesky (Realist Inc), Apr
1963, - fits into top of dummy key, button cell
References:
2987695 Lamp Socket and Circuit Connecting means for Edge Lighted
Panel
2988632 Rear Loading Lamp and Receptacle therefore
3085150 Flashlight Construction, Bautsch, Apr 9 1963, 362/200
; 200/60; 362/116; 446/204; 446/81- combined PFL, whistle, compass
plastic case
References:
1581452 Watch Stand, Edward H. Krehbiel, Apr 20, 1926
1964577 Battery Lamp, James H. Horsley (Universal Lamp Co), Jun 26
1934
2329063 Pocket Flash Light, Lee J. Lockwood ( Burgess Battery Co)
2481394 Illuminated Case, Santo J. Cannava, Sep 6 1949, 362/155
; D26/2 -
2552332 Compass, Ambrose E. Le Van (American Machine and Metals),
May 8 1951, 33/345 ; 33/355R - latitude compensated
2762907 Pocket Flashlight Construction, Sidney Schwartz (Bantam)
2810821 Combinatin Flashlight and Compass, Henry I. Cohn, Oct 22
1957, 33/348 ; 116/DIG.36; 362/29 - compass set into clear
lamp cap
2824382 Compasses, Nils Henry Sandberg, Feb 25 1958, 33/355R
; 248/27.1 - mounted on ruler
2955357 Wrist Watch, Roger Uebelhardt, Oct 11 1960, 33/272
; 33/356; 368/281; 968/413 - with compass
3175080 Flashlight, A.H. Moore (Bridgeport Metal Goods Mfg Co), Mar
23 1965, 362/196 200/60 - triangular Pocket Flash
Light prefocused lamp
References:
1299397 Light Projection Apparatus, Apr 1 1919, - horizontal beam
1624436 Automobile Light, Protectolite Co Apr 12 1927 -
1737027 Headlight for car no upward glare
2211258 Lighting Fixture dual lamp building
2272040 Flashlight, B.F. Muldoon
2489806 Hand Flashlight
2690503 Flashlight Reflector Assembly for Prefocused Lamp, Edward
J. Garland (Ray-O-Vac), Sep 28 1954
2843730 Flashlight
3226880
Illuminated Figure Toy, John C. Novello, Jan 4 1966, 446/325 362/124
362/201 - used in cage of parakeet
3244871 Pocket Flashlight, Lawrence Feldman, Apr 5 1966, 362/186
; 362/187; 362/203; D26/47- keychain light looks like small glass
soda bottle
3256428 Minaturized Flashlight with Replacement Cartridge Unit,
Sidney Schwartz (Bantam-Lite Inc) Jun 14 1966, 362/196 200/60
220/4.02 - grain of weat lamp, button cell?
References:
1834805 Combined Pocket Flash Light & Key Holder
2465114 Flashlight Design
2504850 Box Construction, H.B. Lermer (Celluplastic Corp), -
squeeze to open
2999611 Two Part Plastic Container, Thomas V. Paulson - identical
halves
3085149 Minature Light Source, H. L. Glwesky (Realist Inc), Apr
1963, - fits into top of dummy key, button cell
3316396 Attachable Signal Light for Drinking, Trott, Apr 25 1967, 362/186
- clips to drink glass, turns on when glass gets emptied
3341701 Metal Flashlight, A.H. Moore (Bridgeport Metal Goods Mfg
Co), Sep 12 1967, 362/191 362/196 - clamshell plastic prefocused
lamp
References:
2166282 Electric Lamp, Benjafield (Benjamin Webster),
Jul 1939
2748258 Flashlight
2886664 Flashlight and Switch
3017502 Flashlight Construction
3105233 Fish Caller
3256428 Minaturized Flashlight with Replacement
Cartridge Unit
3345508 Flashlight Formed of Two Molded Parts, Sze-Yuen Chung (Sonea
Ind), Oct 3 1967, 362/196 ; 362/200-
References:
2579762 Flat Pocket Hand Lamp
2817754 Torch Head Safety Flashlight
3076891 New Plastic Flashlight Head
3128050 Flashlight and Reflector Assembly therefore
3175080 Flashlight
3226502 Portable Lamp Switch
3359411 Minature Flashlight with Integral hinge Casing, Sidney
Schwartz (Bantamlite), Dec 19 1967, 362/196 ; 362/189 - coin
cell held in plastic box with hinge part of the plastic
References:
2465114 Flashlight Design, John Foster Oury, Mar 22 1949, 362/196
429/97 - skinny sardine can two AA & 222
2879381 Flashlights, Robert G. Coffey, Mar 24 1959
3085150 Flashlight Construction, Bautsch, Apr 9 1963
3256428 Minaturized Flashlight with Replacement Cartridge Unit,
Sidney Schwartz (Bantam-Lite Inc) Jun 14 1966
3619596 Illuminating Compact and Light Source, Jackson, Nov 9
1971, 362/156 ; 132/288; D28/77 -
3692999 Pocket Flash Light, Napierski et al. A.G. Braun), Sep 1972,
362/196 -
3707055 Illuminated Magic Wand, Pearce, Dec 26 1972, 446/485
-
388780 Electric Flasher, P.H. Chase , Nov 13 1945, - for car turn
signal
4184194 Self-energized portable high density light display unit,
Koichi Shofu, Jan 15, 1980, 362/97; 362/184; 362/260; 362/311
battery and inverter power supply
drive fluorescent lamps
4827385
Pocket Flash Light, Richard J. Gammache, May 2, 1989, 362/206;
362/202 -
4429352 Flashlight, James P. Griffin, Jan 31, 1984, 362/189;
362/186; 362/204; 362/205 - bite or squeeze throw away flashlight
4459646 Flashlight Construction, John H. Drane (Duracell), Jul 10,
1984, 362/199; 200/60; 362/188; 362/200; 362/376 -
References:
| 1701093 |
Battery
Hand
Lamp |
Feb 1929 |
| 1763874 |
BATTERY
HAND
LAMP |
Jun 1930 |
| 1763898 |
HAND
LAMP
|
Jun 1930 |
| 1792547 |
A
COEPOBJVTIOJST OF V |
Feb 1931 |
| 1857390 |
FLASH
LIGHT |
May 1932 |
| 1897627 |
Battery
Hand
Lamp |
Feb 1933 |
| 1926108 |
HAND
LAMP |
Sep 1933 |
| 2118997 |
BATTERY
HAND
LAMP |
May 1938 |
| 2494886 |
COMBINATION
CIGARETTE LIGHTER AND FLASHLIGHT |
Jan 1950 |
D280029 Lantern, T.H. Petterson (Rayovac), Aug 6, 1985, D26 50
4644451 Minature Flashlight with Solderless Connections,
4885666 Touchably-operating
miniature flashlight, Chen-Tsung Yu, Dec 5, 1989, 362/189;
362/200; 362/205 -
very much like a Conrad two AA
pocket flash lite, but in plastic and with a different switch
References:
| 1922801 |
|
August 1933 |
Gillingham |
| 2019884 |
Flashlight- minimalist
cylindrical
|
November 1935 |
Beaumont |
| 3359411 |
|
December 1967 |
Schwartz |
| 4122510 |
|
October 1978 |
Halliday, Jr. |
| 4237527 |
Flashlight Apparatus
corrugated flexible
|
December 1980 |
Breedlove |
| 4242724 |
|
December 1980 |
Stone |
| 4319309 |
|
March 1982 |
Benoit |
| 4419718 |
|
December 1983 |
Chabria |
| 4443833 |
|
April 1984 |
Fazzina |
| 4524409 |
|
June 1985 |
Yakubek |
| 4628418 |
|
December 1986 |
Chabria |
| 4644451 |
|
February 1987 |
Chabria |
5386351 Convenience
flashlight, Marilyn Tabor (Blue Tiger Corp), Jan 31,
1995, 362/201; 362/200; 362/800 - an LED is used with it's leads
full length plus a coin cell and a couple of plastic parts that are
all machine assembled to form a very low cost light - minimalist
D359370 Flashlight, Marilyn Tabor
(Blue Tiger Corp), Jun 13, 1995,
D26/37
References:
1489431 Flashlight, Charles A. Drouillat, Apr 8 1924 - generator
1866600 Pocket Flash Light, F. Rauch, Jul 12 1932
2249692 Pocket Flashlight, Albert Gelardin, Jul 15 1941
3359411 Minature Flashlight with Integral hinge Casing, Sidney
Schwartz (Bantamlite), Dec 19 1967
4101955 Ornamental article with illuminated display, Richard E.
DuNah (Precision Lamp), Jul 18, 1978, 362/104; 63/18 -
necklace charm, incandescent lamp,
reflector and image that's illuminated
4210953 Self-illuminated case, Wilfred S. Stone, Jul 1,
1980, 362/189; 362/205; 362/394 - squeeze pocket light with
transparent area behind LED to illuminate message
4392186 Key with light in handle, Avi Cziment, Jul 5, 1983,
362/116; 362/189; 362/205 - key head is plastic like a car key
with LED & button cell
4408261 Battery operated charm light, Frank Polakoff, Oct 4, 1983,
362/104; 362/203; 362/362; 362/800 - button cell, LED, fits on key
chain
4459646 Flashlight Construction, John H. Drane (Duracell), Jul 10,
1984
4774638 Portable hand-held consumer device, Richard T. Caires, Sep
27, 1988, 362/156; 362/190; 362/200 - pocket light & Velcro
References:
U.S. Patent Documents
5722764 Adjustable Flashlight, Wen San Jou, Mar 3, 1998, 362/198;
362/196; 362/285; 362/418
5895112 Bi-sided Flashlight, K.H.
Olivit, Apr 20 1999, 362/189; 362/205; 362/208; 362/116- dual AA
with 222 bulb
F1488109
Cigarette Case and Lighter, Gemeinhardt, Mar 25 1924, - uses
tab battery
6357890 Minature LED Flashlight, Kevin L. Parsons (Armament
Systems and Procedures,), Mar 19, 2002, 362/116; 362/800; 362/200
- flat sides for ads
Zippo Light

|

|
5359505 Lamp or flashlight for use in cigarette lighter
shell, Michael C. Story, Oct 25, 1994, 362/200; 362/109;
362/205; 362/253; 362/207
may use custom batteries
5424929 Lighting assembly for use in
cigarette lighter shell without reliance on Conductivity
thereof, Donald W. Murray, 362/200; 362/109; 362/205;
362/207; 362/253
seems to use cylindrical
batteries
|
2009/0034246
A1 Flashlight Assembly from Oil Type Lighters, John
Alfred Ayres, Jul 26, 2008, - how to convert a Zippo into
a LED light.
|
Eveready Pocket Flashlight No. 3

|

|
Eveready Pocket Light No. 3
|
There are a number of things about this Pocket Light that are very
different from the earler Pocket Lights.
The instructions say to split a 706 battery apart and use half on
each side. But a standard AA battery fits. Maybe this
was the first AA battery application?
The lamp is under a plastic diffuser. I think plastics like
this were only available after W.W. II but Art Deco (
Wiki) was a
1920 to 1939 period?
Dating this is not easy. So far the patent has eluded me.
All the early Pocket Flash Lights used the unit battery with top
mounted tabs and that's what I was expecting this one to also use.
If you have nay info on the Pocket Flash Lights please
let me know.
The two AA cells in the photo are in the same orientation as they
go into the light.
The plunger at the bottom pushes the frame up and out of the case
when the button is pressed. The plunger is also the
switch. When the plastic diffuser is pressed back down
inside the case that opens the switch. On the bottom left
you can see two rectangular holes. The metal from the top
hole is folded in and down and from the bottom hole is folded in
and up. They both wrap around some fiber insulation that in
turn is wrapped around a brass or copper strap. There are a
number of these anchor points to hold the sheet metal
wiring. The bulb is a #14 which is a common screw base
2 cell flash light lamp although the instruction sheet says to use
a 1180 bulb. If you know what that is please
let me know.
Eveready No. 4758 3-cell Wallite with
Timer-Switch
Although not a pocket flashlight I'm putting this here because of
it's strong relation to the No. 3 Pocket Flashlight immediatly
above. They both use the same construction technique where
metal straps surrounded with fish paper are used as electrical
wiring. As of 31 May 2008 the patents for both of them have
not been found. Although 1913696 Self Contained Lighting
Unit, Wiley (Delta Electric), Nov 13 1933 came a year after the
Wallite it's very similar.

|

|
Hook on
end of chain allows holding chain
in out position keeping light on.
|
This unit
is mounted using the three holes in the back plate.
The front cover has two tabs that fit the slots.
The slots have spring wire at each end that grabs the
cover tabs.
The Wallite can be mounted not only on a wall but also a
ceiling.
The printing says "Brass cap of battery should point in
direction indicated"
|

|

|
Clock work for one minute
timer
|
Back showing the three
mounting holes.
|
Victor Pocket Flashlight

|

|
The
prefocused lens casts a narrow beam with
only a small about of general light
See lamp photos above for Victor-X
2.5 Volt Lamp
|
On the
side to the left and right of the switch says:
Press to Open
Pat Pend
Uses two AA cells.
|
Pertrix

0.971" thick x 2.65" wide x 4.3"
high. Most likly takes a three "A" cell battery like the
MN1203. So it's 19teens. The switch is unique.
Under the button is a narrow post and below that a disk.
The leaf spring pushes the disk up into the round hole locking
the light off. to turn on push the button and while
holding it down slide down. The top lens is oblong as is
the reflector.
Probably European.
Eveready Extreme Glass Coat Pocket
Flash Light

|

|
This
is an Eveready Coat Pocket Flash Light that has what I
would call extreme Glass. Lamp marked Eveready.
Maybe made for or in Austriala.
|
1586616 Electric Lantern, William
Embury, Jun 1, 1926, 362/186 ; 362/187 - Rail Road type
D65257 Lantern, William Embury, Jul 22, 1924 - similar in feel to
the construction type kerosene lantern
D105656 Lantern, Joseph. B. Federico, Aug 17, 1937, - design could
be used for either Kerosene or electric
2369288 Emergency Lighting Unit, Frederick B. Embury, Feb 13 1945,
362/295 ; 362/157 - a relay turns on the light when the
main ship power fails
Bond Electric Corp
D89421 Combined Flash Light Cap and
Hanger Ring, George H. Barber, March 7 1933,
1805683 Flashlight,
1951317 Bottom Cap
1771419 Tamping Machine, Jun 12, 1929 - making dry cells
1772266 Flash Light Container, P.R. Puckett (Bond Electric Corp) ,
Aug 5, 1930,
362/206 362/208 -
1894147 Flashlight Bottom Cap
1860842 Flashlight Safety Switch,
1863151 Flashlight Bottom Cap
1886423 Flashlight Safety Switch
1888204 Flashlight Switch
1896605 Flashlight, George H. Barber, Feb 7, 1933, 362/202 -
1896605 Flash Light, -(Bond Elec Co) cylindrical
1903940 Flashlight Safety Switch, Apr 18, 1933
1903947 Flashlight Safety Switch, , Apr 18, 1933
1904902 Flashlight, Goodrich B. Pratt, Apr 18 1933,
362/105
; 248/230.8; 362/269; 362/396 - swivel head mounted lamp
1905787 Cap with Spare Bulb Carrier
1917060 Flash Light, G. B. Pratt, Jul 4, 1933, - when in a tool
box pressure on the light will not turn it on
1934214 Insulated Flash Light, F.G. Stimson (Bond Electric Corp),
Nov 7 1933,
362/208 -
1950190 Flash Light, G. B. Pratt, Mar 6, 1934,
200/60
; 362/205
1965130 Cell Making Machinery,
1969196 Vest Pocket Flash Light, G.H. Barber (Bond Electric Corp),
Aug 7 1934,
362/189 ; 362/201 - uses the battery with two
tabs for contacts.
1980040 Candle Light, R.L. Darling, Nov 6 1934, - uses bulb sort
of like candle flame like used on xmas tree light bulbs
1985459 Flash Light, Dec 25, 1934, 362/21 ; 313/51; 439/152 -
explosive atmosphere
1990463 electrolytic Cell, Otto Karl Remhardt, Feb 5 1935,
429/172
; 220/615 - metal top replacing asphalt

1990504
Frank G. Stimson, Feb 12 1935, - non conductive body reflector and
lens
1992140 Flash Light, George H. Barber, Feb 19, 1935
439/500 -
no spring in bottom cap
1995131 Bobbin Making Machine, Mar 19, 1935 - forms bobbin with
carbon pencil
2036088 Hand Lantern, R.L. Darling, Mar 31 1936, - rectangular
style "d" hole bracket for hanging on nail or screw
D91507 Electric Hand Lantern , George Barber
Very similar to the
Niagara hand lanterns.
2040423 Flashlight, H. Barber, May 12 1936,
362/208 ;
362/191 - no spring in bottom cap
2062106 Automatic Polishing Machine, Otto Karl Keinharfit, Nov 24,
1936,
15/21.1 ; 15/88.3; 451/247 - battery exterior
for good electrical contact
2062107 Dry Cell, Otto Karl Beinhardt, Nov 24, 1936,
429/172 -
No. 6 type with a metallic top
2062113 Electric Hand Lantern, J.W. Baer (Bond Electric Corp), Nov
24 1936,
362/186 ; 362/191 - built into a glass jar (
photos)
2072568 Dry Cell Encasing Apparatus
2080583 Flashlight, Frank G. Stimson, May 18 1937, - spot or
diffused hand lantern, cylindrical cells arranged like revolver
2049762 Portable Electric Lamp, Roy L. Darling, Aug 4, 1936, -
Candle type with lamp at top and another at bottom
2052654 Wall Light, William Ponath, Sep 1 1936,
362/191 ;
200/61.83; 200/DIG.18v - closet lamp turns on when door is opened
(and stays on if door is left open)
2045636 Circuit Closer for Electric Hand Lanterns, Roy L. Darling,
Jun 30 1936,
200/60 ; 200/339; 200/559 - toggle type
D100282 Flashlight Switch, Nathaniel M. Olanoff, Jul 7, 1936, -
button & slider type
Blake Manufacturing "Sun-Light"
1738722 Flash Light, J.L. Shannon,
Dec 3 1929, 200/60 - switch that can lock on off, flash or lock on
1774722 Switch for Electrical Flashlights, W.J. Officer (Blake
Mfg), Sep 2, 1930, 200/60 -
D104510 Flashlight Orville T. Wood (Blake Mfg), May 11, 1937,
D26/49
D107001 Switch Housing, Orville T. Wood (Blake Mfg), Nov 16, 1937,
D26/113
D107002 Switch Housing for Flashlights, O. T. Wood (Blake Mfg),
Nov 16, 1937, D26/113 -
D107003 switch Housing for Flashlights, Orville T. Wood (Blake
Mfg), Nov 16, 1937, D26/113 -
D107274 Flashlight, Orville T. Wood (Blake Mfg), Nov 30 1937,
D26/49 -
D108472 Flashlight, Orville T. Wood (Blake Mfg), Feb 15, 1938,
D26/49
D110267 Flashlight Casing, William W. Cargill (Blake Mfg), Jun 28,
1938, D26/46
D110270 Flashlight Casing, Willis P. Coleman (Blake Mfg), Jun 28,
1938, D26/46 - triangualr tube
1922332 Electric Hand Flash Light, J.L. Shannon, Aug 1933, 362/187
- head works with either metal or fiber tube
1969320 Flash Light , Officer et al. (Blake Mfg), Aug 7
1934,362/187 ; D26/46 - two switches, on/off and flood/spot
1999079 Portable Electric Lighting Structure, Kenneth E.
Blake, Apr 23 1935,
362/183 ; 200/60; 429/97 - for
cylindrical and lanterns
2132218 Flashlight Switch, W.J. Officer (Blake Mfg), Oct 4, 1938,
200/60 ; 200/322; 200/325; 200/550
2138387 Flashlight Switch, Officer et al. (Blake Mfg), Nov 29,
1938, 200/60 ; 200/548; 200/550 - three position switch with wider
mechanical tolerance
D113257 Flashlight Casing, William W. Cargill (Blake Mfg), Feb 7
1939, D26/46 - hexagon tube
2147471 Cap and Hanger for Flashlights, Tyrnell et al. (Blake
Mfg), Feb 14, 1939, Bail in base held to base
2153336 Flashlight, Orville T. Wood (Blake Mfg), Apr 4, 1939,
362/208 ; 220/288; 285/424 -
2160529 Flashlight Switch, Orville T. Wood (Blake Mfg), May 30,
1939, 200/60 ; 362/205
2165602 Flashlight, Orville T. Wood (Blake Mfg), Jul 11, 1939,
362/208 ; 220/304; 285/390; 362/341; 362/433 - hidden sheetmetal
threads
2197941 Flashlight Switch, W.J. Officer (Blake Mfg), Apr 23, 1940,
362/205 ; 200/60
2210312 Flashlight, Orville T. Wood (Blake Mfg), Aug 6 1940,
362/207 ; D26/49 - moulede Vulcanite with spare bulb holder
2210313 Circuit Closer, Orville T. Wood (Blake Mfg), Aug 6, 1940,
200/60 ; 362/204 -
2213660 Flashlight, Orville T. Wood (Blake Mfg), May 17 1938,
362/205 - lamp socket (screw base) support
2226353 Flashlight, O. T. Wood (Blake Mfg), Dec 24, 1940, 362/204
; 200/60; 362/207 - molded Vulcanite non conduction case
2274178 Flashlight, O. T. Wood (Blake Mfg), Feb 24 1942, 362/208 ;
362/341 - to work with
flanged
prefocused
bulb
2287505 Flashlight, O. T. Wood (Blake Mfg), Jun 23, 1942, 362/202
- adjustable diffuser - to work with
flanged prefocused bulb
2309687 Flashlight, O. T. Wood (Blake Mfg), Feb 2 1943, 362/208 ;
200/60 - Field repariable without tools
2304742 Flashlight, Officer et al. (Blake Mfg), Dec 8 1942,
362/293 ; 362/187; 362/317; 362/359; D26/49 - "Blackout" for air
raids in W.W. II
2338078, Orville T. Wood (Blake Mfg), Dec 28 1943, 362/187 -
adjustable diffusion
2359597 Circuit Closer for Flashlights, Orville T. Wood (Blake
Mfg), Oct 3, 1944, 200/60 ; 200/322; 362/205 -
2375511 Flashlight, O. T. Wood (Blake Mfg), May 8, 1945, 362/157 -
standardizing construction
2510812 Portable Flashlight, Garland et al. (Blake Mfg), Jun 6,
1950, 248/685 ; 16/445; 362/206; D26/49 - "D" ring at base held to
base or held open
2613314 Combination Filament Crusher and Circuit Breaker for Hand
Lamps, Edward J. Garland (Blake Mfg), Oct 7, 1952, 362/21 ;
200/60; 248/505; 439/303 - for use in hazardous areas
2714692 (
USPTO,
Pat2PDF,
Google)
Portable Electronic Identification Light, W.D. Nupp, J.M. Rosen,
Aug 2 1955,
315/232 ; 315/241R; 315/245; 340/908. - Neon
flasher
Railroad Electric Lantern
Manufacturers:
Adams and Westlake Co - Adlake Co. (also made railroad
locks. &
Carbide Lamps)
Federal Electric
Genesy Electric Lantern Co
Star Head-light & Lantern Co
756117 Electric Lamp Support for
Convertable Signal Lanterns, Louis H. W. Kerber (Adams and
Westlake), Mar 29, 1904, 362/382 ; 362/373 - semaphore
762244 Lantern (Adams and Westlake),
998849 Electric Lantern,, July 25, 1911 - imp RR Lantern
1025624 Lantern, William S. Hamm (Adams and Westlake
Co), May 7, 1912, 362/181 ; 16/32 - kerosene
1025625 Lantern, William S. Hamm (Adams and Westlake
Co), May 7, 1912, 362/181 - kerosene
1088120 Portable Self Contained Lamp, F.T. Baird, Feb 24 1914, - 6
"F" ? cells
1124348 Lantern, LLOYD GILBERT SPENCER, Jan 12, 1915, 362/186
-
1203576 Trainman's Flash-Light, J.E. Broadhead, Nov 7 1916,340/321
; 362/184; 362/205; 362/241 - cylindrical with lens at each end
1275360 Electric Lantern, Frank T. Baird, Aug 13, 1918, 362/185
; 362/186; 362/191; 362/207; 429/97 -
1349548 Railroad Electric Lantern, H.C. Breckenridge, Aud 10, 1920
- improvement in Railroad lanterns
1287262 Electric Torch, J.W. Smith, Dec 20 1921, - see above
listing & RE#
1404262 Battery, William Balderston (French Battery & Carbon
Co), Jan 24, 1922, 429/99 ; 362/190; 429/100- railroad
type
1410671 Railroad Lantern, P. Genesy, Genesy Electric Lantern Co.,
Mar 28, 1922, 362/185
1410672 Railroad Lantern, P. Genesy, Genesy Electric Lantern
Co., Mar 28, 1922, 301/52
1461540 Electric Lantern, T. Mee Jr., Jly 10, 1923,
1486840 Electric Lantern, H.B. Patche, Genesy Electric Lantern
Co., March 11, 1924, 362/186
1530206 Lantern or Lamp, C.J.
Saager, Mar 17, 1925, - railroad type single lamp, 6v batt,
Federal Electric look
Weather Caster?
1535845 Electric Lantern, Thomas Mee, Apr 28, 1925,
362/186
-
1544772 Lantern, C. Osean (National Carbon Co), Jul 7, 1925,
362/186
; 362/191; 429/97- Rail Road type
1553877 Electric Lantern, HANS A. RING (FRENCH BATTERY a CARBON
Co), Sep 15, 1925,
362/186 ; 362/191; 362/207 -
1555007 Electric Lantern, L. Hall, Federal Electric, single lamp,
6v batt, railroad stype, thick glass dome over lamp.
1598930 Lantern, H.B. Patche, Genesy Electric Lantern Co.,
September 7, 1926, 362/191 ; 362/185; 362/208
1598931 Flash Light, H.B. Patche, Genesy Electric Lantern Co.,
September 7, 1926, 248/688 ; 362/388
1579832 Electric Lantern, H.B. Patche, Genesy Electric Lantern
Co., April 6, 1926, 362/399 ; 362/186
1611226 Lantern, H.B. Patche, Genesy Electric Lantern Co.,
December 21, 1926, 16/444
1641880 Hand Lantern, George Cohen, Sep 6 1927,
362/186 ; 131/257;
211/DIG.1; 248/205.6; 294/64.1; 294/65.5; 335/285; 362/397;
362/398; 411/968; 439/40; 439/41; 7/901
1660194 Signal Lantern, Adlake Co. Feb 21, 1928 - kerosene
lantern that can work for RR signaling and on top of freight train
running into a head wind
1667343 Lantern, E.B. Bronson, Apr 24 1928,
362/186 362/191
362/208
- RR type
1667706 Electric Lantern, E.B. Bronson, Apr 24, 1928, Railroad
type modular construction so can be repaired by replacing a module
(Federal Electric?)
1719050 Electric Lantern, P.J. Freeman, - railway type
1750856 Lantern, H.B. Patche, Genesy Electric Lantern Co., March
18, 1930, 362/321 ; 362/186
1797499 Electric Hand Lantern, William Geist, Mar 24, 1931,
362/186-
1892075 Electric Lantern, F.W. Noffs, Dec 27, 1932 - appears to be
very reliable design - sounds like it used "D" cells, not hard to
get cells.
The Adams & Westlake Co. -
Adlake
 |
Cap marked:
The Adams & Westlake Co.
Adlake
Reg U.S. Pat Off
No 31
Patented
Chicago - Elkhart - New York -
Caution Remove Battery When Dead |
 |
The housing has the number
stamped: 2927
The features match the following four (3 sequential)
patents:
1893292
Electric Hand Lantern, C.H. Larson (Adlake Co.) , Jan 3,
1933, 362/185 -
1893293
Electric Hand Lantern, C.H. Larson (Adlake Co.) , Jan 3,
1933, 362/185 -
1893294
Electric Hand Lantern, C.H. Larson (Adlake Co.) , Jan 3,
1933, 362/185 - rugged switch, dual bulbs, 6V lantern
battery
1939857
Electric Hand Lantern, Adlake Co. Dec 3, 1933 - wire
frames holds two wet cell batteries.
The cap has been crushed. It would take many tons to
crush the cap so most likely the cap was off the lantern
and run over by a heavy truck. Looking for a local
shop with a hydraulic press.
In the open view you can see how simple (Elegant) the
design is.
Under the central eyelet in the cap there's a holder for a
single spare lamp.
It uses the 502 lamp. The metal plate that's the
reflector has very high quality plating that polishes even
today to a shiny finish.
|

|
Thanks to:
Ukiah Auto Machine shop
2020 Industry Rd
Ukiah, CA 95482
(707) 462-5662
Who put the cap into a hydraulic press, using just the
correct cylindrical tools to straighten out the cap.
Now the cap can be installed with a battery and the
lantern
works very well.
|
1959638 Electric Lamp, H.B. Patche, Genesy Electric Lantern Co.,
May 22, 1934, 362/185 ; 200/11G
2010089 Hand Lantern, A. C. Korte (Metalcraft Corp), Aug 6, 1935,
362/186 -
2066510 Electric Hand Lantern, Jan 5 1937
2082067 Electric Hand Lantern, Adlake Co.- improvements, lower
weight
2140159 Electric Hand Lantern, Adlake Co. - simplify & lighten
2118656 Electric Lantern, Adlake Co. May 1938 - 2 bulbs improved
circuit & switch
2118657 Electric Lantern, Adlake Co. May 1938 - seperate spot
reflectors and open bulbs
2255291 Electric Hand Lantern, Adlake Co. - two bulb to reflector
distances for different uses
2274932 Electric Lantern, H.B. Patche, Genesy Electric Lantern
Co., March 3, 1942, 362/185
2358015 Electric Hand Lantern, Adlake Co. Sep 12, 1944 - two
bulbs, 6 v batt
2486725 Electric Lantern, Star Head-light & Lantern Co., 1 Nov
1949
2281839 Electric Lantern, Adlake Co. Sep 9, 1941 - more economical
RR lantern
2528416 Portable Electric Lantern with Writing Pad, Roy L.
Botensten, Oct 31, 1950,
362/99 ; 281/45; 362/185
2653218
Barrel, Reflector Base, and Associated parts for Electgric
Lanterns, J.B. Schilling, Sep 1953,
References:
777638 Lantern Frame,
RICHARD J. KELLEY, Dec 13, 1904, 362/180 -
kerosene railroad type
910708 Lantern - kerosene railroad type
1444267 Electric Lantern, A.A. Pearson, Feb 6 1923, -
railroad type
1579832 Electric Lantern, H.B. Patche, Genesy Electric
Lantern Co.
1598930 Lantern, H.B. Patche, Genesy Electric Lantern
Co.
1893292 Electric Hand Lantern, C.H. Larson (Adlake Co.)
1893294 Electric Hand Lantern, C.H. Larson (Adlake Co.)
1927713 Electric Lantern, A.A. Pearson, Feb 6 1923, -
railroad type
2324715 Multiple Switch, Multiple Bulb Electric
Lantenrs, W.M. Moxley
2369637 Electric Lantern, Frank T. Baird, Feb 1945, 362/185
-
|
|
Conger Lantern Co. Honeoye
Falls, N.Y. 14472 U.S.A. Pat No 2653218

|

This light was well used by Jack Dale Lewis who also had
the Moxley 2 "D"
cell lite and the Starlite 222. |
2753443 Portable Lantern, A. C. Grohsgal (Cable Electric Prod),
Jul 3, 1956,
362/185 ; 362/258; D26/41 - warning &
built-in extension light
2907871 Portable Electric Battery Lamps, L. R. Prout (Olhbam &
Son Ltd), Oct 6 1959,
362/22 ; 315/119; 362/183; D26/39;
D26/60
References:
544034 Electric Lighting System - lamps on boards cutout to be
letters
1246093 Headlight for Vehicles
1262517 Lamp - parabolic geometry layout
1266779 Electric Safety Lantern, T.A. Edison (Edison Storage
Battery Corp), May 21 1918,
1707431 Battery Hand Lamp, John T. Drufva, Apr 2, 1929, 362/188
- focusable, no battery pressure directly on lamp
1806869 Electric Lamp Charged From Accumulators, Wolf, May 26
1931, 362/183 ; 307/157; 320/103 - miner's lamp
2165194 Safety Mine Lamp,William K. Wilbur (Portable Lamp &
Equip Co), Jul 4, 1939
2272744 Electric Hand Lantern, Auckland Park, Feb 10, 1942, 362/191
; 362/184; 429/84 - miner's lamp storage battery
2330851 Switching Case for Electric Pocket Lamps, Emile Venot
2518437 Flashlight, Walter R. Amstutz (Butler Brothers), Aug 15
1950
2690503 Flashlight Reflector Assembly for Prefocused Lamp,
Edward J. Garland (Ray-O-Vac), Sep 28 1954
2708714 Portable Lamp and Interchangable Cage therefore,
Stevens, May 17 1955, 362/378 ; 439/95 - rubber molded
around cord AC mains
2749434 Vehicle Lamp (GM)
2794114 Portable Electric Battery Lamps, John Chamberlain
(Oldham & Son Ltd), May 28, 1957
315785 Electric Railroad Signal, J Hinds & L.L. Stimpson, Apr
14, 1885 - combines a clock, telegraph and lantern
4684852 Flash Lamp Circuit, Star Headlight & Lantern - AC
powered strobe without large storage caps.
D479890
Railroader's Lantern, Star Headlight & Lantern Feb 26, 2002 -

|
Star Headlight & Lantern Co. Starlite 222
This lite was owned by Jack Dale Lewis who also had the Moxley 2 "D" cell lite and the Conger. |
6696799 Diagnostic System for a Strobe Lamp and it's Operating
Circuit, Star Headlight & Lantern - maintenance aid
7118245 Trainman's Lantern,Star Headlight & Lantern, 10 Oct
2006 - combines LEDs with filament bulb, 6 V lantern battery.
Signal Corps MX-290/GV Lantern
Pyle-National Company
This company made parts related to
carbon arc lights then they made a combined steam turbine and
electrical generator specifically to power an electric headlight
for steam locomotives. Later they got into making warning
lights for locomotives, the idea being to oscillate or wobble
the headlight so that the light is more attention getting.
Warning lights for firetrucks have a similar function and work
in a similar way.
This may be a train headlight, Crossing light or Ditch light.
Let Me Know where it was used.
These two lights were from Jack Dale Lewis who also had the
Moxley
The base flange casting
broke and a steel plate has been screwed on with the same
hole pattern as the original light. I have two of
these lights and both of them have have this same
repair. That indicates that they were used in a high
vibration enviornment and were liked enough to make the
repair to keep them in servide.

|
The Pyle-National Company
Chicago U.S.A.

|
Photo taken with flash
behind Fresnel lens.
What lamp did this light use? Let Me Know.

|
This socket accepts
standard US E26 Edison base lamps.
Note the wires inside the scoket that prevent the lamp
from unscrewing in a high vibration enviornment per patent
1881663.

|
GE Crystal Clear 40 W Lamp
Note the writing on top of
the lamp can be read. You can also see the image of
the filament just below. The filament image should
fill the whole lens so a different lamp will provide much
more light.
|
|
GE Crystal Clear 40 W Lamp
Note:
The first time I installed a lamp it did not work.
It turns out that it takes some force to get the lamp to
seat because of the patented socket.
|
|
1766219
Photometer, Charles W. Drake, Jun 24, 1930,
356/235 -
specifically for locomotive headlights
1881663
Lamp Clamp, J.J. Kennedy, Oct 11 1932,
439/735 -
specifically for Edison based locomotive headlights to prevent
them from unscrewing.
Explosive Atmosphere
939630 Miner's Electric Lamp,
HERMANN REMANE (DEUXSCHE GASGLTTHLICHT ACTIEN GESELTSCHAFT),
Nov 9, 1909,
362/165 -
999298 Electric Safety Lamp, B. CHSISTIAISEN, Aug 1, 1911,
362/186
- explosive atmosphere
1022072 Portable Electric Lamp, EMIL GOTTSCHALCE (Electric-Export
Werke) , Apr 2, 1912,
362/186 -
1100336 Miner's and Like Electric Safety Lamp, PAUL WOLF, Jun 16,
1914,
362/311 ; 362/186 -
1756733 Portable Elelctric Lamp, John Downs, Apr 29, 1930,
362/158
; 200/551; 200/60 - miner's lamp
1964466 Electric Lantern, Karl J. Helmholtz, Jun 26, 1934,
362/21
- glass hemisphere over lamp
2275987 Portable Electric Lantern, C.S. Packer, March 10, 1942, -
dual lamp, 6 v lantern battery, railroad style - no exposed
switches allowing for a hermetic sealed lantern. Turned
on/of by bumping with hand. Safe for hazardous locations.
(Justrite also makes gas cans and related safety equipment)
2794114 Portable Electric Battery Lamps, John Chamberlain (Oldham
& Son Ltd), May 28, 1957,
362/22 -
References:
459872 Electric Lamp, Dontato Tommasi, Sep 22 1891,
362/158
; 315/362; 362/22 - storage battery, mines, powder magazines,
etc
1833318 Electric Mine Lamp, J.G. Daloz, Nov 24, 1931,
362/22
- bulb is in chamber filled with gas under pressure
2165194 Safety Mine Lamp,William K. Wilbur (Portable Lamp &
Equip Co), Jul 4, 1939,
362/21 ; 200/294; 200/302.1;
200/51.09; 337/15; 337/186 -
2304085 Explosion Proof Lighting Unit (mains power)
2312614 Miner's Lamp, G. Wheat (Koehler Mfg Corp), Mar 2, 1943
2423664 Headlight Lens, Earl Ryder, Jul 8 1947,
362/549
; 362/235 - sealed beam with replaceable lamp
References:
2318311 Headlight,
2099405 Resilient Light Socket and Bracket, Jesse D. Langdon
(), Nov 16 1937, 439/336 ; 248/27.1; 248/314; 248/315;
439/586 -
2517478 Explosion Proof Lighting Unit (mains power)
2930886 Flashlight, William M. Lennan, Mar 29 1960,
362/21
; 200/60 - miner's explosive atmoshpere
References:
988321 Miner's and the like Electric Safety Lamp, T. P.
Beady, Apr 4, 1911,
362/21 -
storage battery, lamp behind
cylinder of glass like in kerosene miners safety lamp
cast or machined metal case
1286590 Portable Electric Lantern, William Grether, Dec 3 1918
1288304 Safety Electric Light, George W. Wasker (National Carbon
Co), Dec 17, 1918,
362/21 ; 429/97 - cylindrical
explosive atomsphere, bulb protection and isolation
1301253 Portable Electric Lantern, William Grether, Apr 22 1919
2285589 Hand Lamp, Edward B. Blue (Western Cartridge Co), Jun 9,
1942,
362/21 - explosive Atmoshpere
2535819 Electric Safety Lamp, Willson Y. Stamper (Thomas A.
Edison Inc), Dec 26 1950,
362/21 - mine explosive
atmosphere
3408490 Safety Lighting Equipment, Homer A. Lozeau (Koehler Mfg
Corp), Oct 29 1968,
362/183 -
References:
2312614 Miner's Lamp, G. Wheat (Koehler Mfg Corp), Mar 2, 1943,
362/183 - mine explosive atmosphere
2375866 Battery Charging Rack
2535819 Electric Safety Lamp, Willson Y. Stamper (Thomas A.
Edison Inc), Dec 26 1950
2592208 Bezel Lock for Electric Safety Lamps, Willson Y. Stamper
(T.A. Edison Inc), Apr 8 1952
3051831 Charging Rack for Mine Lamp Batteries
3458697 Safety Lighting Equipment, Homer A. Lozeau (Koehler Mfg
Corp), Jul 29, 1969,
362/211 -
References:
2312614 Miner's Lamp, G. Wheat (Koehler Mfg Corp), Mar 2, 1943
2313165 Mine Lamp, Nelms (Portable Lamp & Equip Co), Mar 9
1943, 362/21 ; 200/51R; 439/672 - miner's cap light
2535819 Electric Safety Lamp, Willson Y. Stamper (Thomas A.
Edison Inc), Dec 26 1950
2592208 Bezel Lock for Electric Safety Lamps, Willson Y. Stamper
(T.A. Edison Inc), Apr 8 1952
Headband Miners, Doctors
1019748 Head Lamp, HABBT BECKER, Mar
12, 1912,
362/106 ; 340/321 -
1019895 Head Lamp, Hays (Frank S. Betz Co), Mar 12 1912,
362/105
- doctors uses Pocket FL type tabbed battery
1262065 Electric Head-Lamp, GUY L. LEE, Apr 9 1918,
362/105
; 600/249 - head worn car trouble lamp
1406025 Headlight, BTTSSEL E. JAMES, Feb 7, 1922,
362/106 -
belt worn cylindrical battery stick & belt worn switch
1584276 Electric Headlight, HARRINGTON M. COULTER, May 11 1926,
362/105
; 340/321 - two No. 6 Dry Cells
1652776 Miner's Cap, EMANITEL N. GALANIS, Dec 1927,
2/412
; 2/414; 2/906 - metal wires and springs on top & bracket for
lamp
1699214 Electrical Switch
1900906 Portable Electric Illuminating Appratus, LeRoy Brown
(Justrite) , Mar 14 1933,
362/197 ; 340/321; 362/105;
362/157; 362/486; 429/97 -
3 wide two high cylindrical cells
(maybe "D",
2165531 Electric Lantern, A.B. Bertrand, (Burgess Battery Co), Jul
11, 1939 -
2473394
SAFETY
HEADGEAR FOR PEDESTRIANS AND WORKMEN, Clarence W." Scott,
Jun 14 1949,
340/321 ; 2/410; 2/906; 362/106; D29/103 -
helmet with 4 marker lights
2482287 - RE23193 Headlight Latern, C.S. Packer, Justrite, -
wrist or head mounted, why the RE?
D72075 Miner's Lamp, JACOB S. SHERMAN, Feb 22, 1927,
D26/39
- classic calcium carbide type
Lamps
Flashlight lamps first of all must
have an operating voltage that's compatible with the voltage
supplied by the flashlight. But after that the current (or
power) of the lamp is related to the capacity of the
battery. Common 2 D cell flashlights use the #14 lamp
which is 2.47V @ 0.3 Amps or about 3/4 Watt. The No. 6 Dry
Cell lamps are rater much higher in power.
1 No. 6 Dry Cell
ID
|
136
|
|
Volts
|
1.25
|
|
| Amps |
0.6 |
|
Watts
|
0.75
|
|
2 No. 6 Dry Cells
ID
|
23-C
|
35
|
1491
|
1492
|
Volts
|
|
2.5
|
|
2.5
|
| Amps |
|
0.8
|
|
1.5
|
Watts
|
|
2
|
|
3.75
|
12 Volt
Lamps
These are 12 Volt lamps that have the same 15 mm double contact
bayonet base as the 1.5 and 3 Volt lamps that many of the No. 6
Dry Cell lanterns use. The idea is to replace two No. 6
Dry Cells with two 6 Volt lantern batteries for a total of 12
Volts.
These are all single filament lamps that are wired to the two
contacts, not the shell.
Model
|
V
|
I
|
W
|
T1142
|
12.8
|
1.44
|
18.4
|
T1004
|
12.8
|
0.94
|
12.0
|
T1076
|
12.8
|
1.8
|
23.0
|
T1096
(not in photo)
|
12.5
|
3.0
|
37.5
|

Most of the lantern batteries seem to be
the spring top type, not the screw terminal type so the spring
top needs to be adapter to allow connecting the lantern ring
tongue terminals.
But the lantern battery may not fit all the No. 6 Dry Cell
applications. For example the Gray Navy Battle lantern
would hold two lantern batteries, but you can not easily install
them because the switch bracket and switch is in the way.
This battery contains four each
"F"
cells.
Many of these patents are in class
362/194 and relate to a cap or cap and handle to be added to a No.
6 Dry Cell to make it into a lantern.
 |
Burgess BL-6
(Burgess Lantern for the No. 6 Dry Cell?) although I don't
see any markings other than the top which may say (it's
very faded) Burgess Lantern. It's seen heavy use and
some minor battery leaking. The switch needs some
work as it does not want to make the circuit. Next
to it is one of my low cost No. 6 Dry
Cell Battery Adapters.
I'm putting the photo here pending finding a patent to go
with it.
The lamp is the wrong one. It's marked 3.8 V and
should be about 2.7 V for a two cell light the highest
wattage lamp since the No. 6 Dry Cell can supply the
current for a long time. Although there are not many
choices (i.e. # 14) for a two cell E10 base lamp. |

|
The Navy Battle Lantern
9-S-5293-L, TYPE-JR-IS
uses two No. 6 Dry Cells to power a 1491 (see above) dual contact bayonet base lamp
rated at 2.4 volts. On the back is a heavy duty cast
metal bracket to attach the lamp to a ship. on the
bottom is a socket that will accept the 1491 lamp, but
it's intended to be wired to a relay that turns on the
lantern when there's a failure of the ship's AC
power. The same 10-24 screw is used to hold the top
battery compartment cover as to hold the lens bezel.
Various parts have a dash number after the lamp number of
5293.
Handle marked 5293-L-5
Lens bezel marked 5293-L-4
An eBay lantern that looks very similar has the top marked
9-S-5311-1, yet other parts are marked with the 5293 dash
numbers. But it does not have the emergency power
fail socket on the botton and it uses a standard toggle
switch. This switch looks as if it could be
controlled from a remote rod or other mechanical
acutator. If you know, tell
me.
The 1491 bulbs tend to seperate from the base when any
torque is applied. How to
fix?
|

|
The wood block with sheet
metal plugs inbetween the two No. 6 Dry Cells to keep them
from moving. Sitting on the wood is the short jumper
wire that connects between the two cells.
|
A new old stock box of 10
lamps is marked:
Westinghouse Mazda Lamps for Automobiles.
Lamp No. 1491
Amp Volt
.8
2.4
Bulb
Base
G8
D.C.-Bay
The lamps contained herein are manufactured by
Westinghouse Lamp Division - Westinghouse Electric &
Manufacturing Company under one or more of the following
Letters Patent of the United States: (the box has
just the patent numbers, I've filled in the details)
1461117 FILAMENTARY
BODY FOR ELECTRIC LAMPS AND METHOD OF MAKING THE SAME, D. HALL (Westinghouse Lamp), Jul
10, 1923, 419/4 ; 148/423; 419/29; 75/235 -
1461118 Filament, D. HALL (Westinghouse Lamp), Jul 10,
1923, 252/515 ; 123/169EL; 148/673; 419/19;
420/572 -
1464101 COATING
for ELECTBIC LAMPS, Matt
Luckiesh (GE), Aug 7, 1923, 313/114 ; 313/112;
313/113; 313/116; 313/315; 362/351-
1498908 EVACUATED
CONTAINER, C.G. Fink (GE), Jun
24, 1924, 174/50.61 ; 403/29; 428/629; 428/630;
428/676; 428/677; 428/936 -
1538890 Ink for Glass, MARE N. FREDENBITRGH (Westinghouse
Lamp), May 26, 1925, 106/1.22 ; 101/491; 106/1.23;
106/31.05; 106/31.66; 501/17; 501/20; 501/22 -
1581766 PROCESS
OF COATING INCANDESCENT LAMP BULBS,
JAMES BRYANT WHITMORE (Westinghouse Lamp),
Apr 20, 1926, 220/2.1R ; 427/397.8; 428/428
1602525 Method of Manufacturing Metallic Filamentary
Material, W.R. Gero (Westinghouse Lamp), Oct 12 1926, 419/4
; 148/423; 420/430; 75/363; 75/623 -
1602526 CONTROL
OF CRYSTAL DEVELOPMENT IN REFRACTORY METALS, W.R.
Gero (Westinghouse Lamp), Oct 12 1926, 428/592 ;
148/423; 419/4; 75/232; 75/248; 75/255; 75/369
1602527 PREPARATION
OF TUNGSTEN POWDERS, W.B.
Gero (Westinghouse Lamp) , Oct 12 1926, 420/430 ;
75/255; 75/363 -
1605192 PROCESS
FOR PRODUCING NONSAG TUNGSTEN WIRE, Paul McAllister
(Westinghouse Lamp), Nov 2 1926, 148/576 ;
148/423; 148/673; 75/248 -
1613758 METHOD
of COATING ARTICLES, ALBEBT
PEBDINAND LINDSTBOM (Westinghouse Lamp), Jan 11, 1927, 427/106
; 427/314; 427/344-
1621360 INCANDESCENT
LAMP, Robert N. Falge
(GE), Mar 15 1927, 313/116 ; 313/117; 313/315;
362/297; 362/307; 362/346; D26/2 - rippled glass
1622826 Gas Filled Incandescent Electric Lamp with
Filament having Increased Strength, DANIEL SNYDER GTTSTIN
(Westinghouse Lamp), Mar 29, 1927, 313/557 ;
252/181.5; 313/578; 445/20; 445/55 -
1652398 LAMP
SOCKET, EDWABD A. EVEBETT
(not assigned at time of patent, but Westinghouse must
have bought it), Dec 13, 1927, 313/51 ; 362/306;
403/199; 403/290; 439/320; 445/27; 445/4 - special base is
lathe turned to get accurate filament position - an
expensive method for pre focused
1687510 ELECTRIC-LAMP
BULB, MARVIN PIPKIN (GE),
Oct 16, 1928, 313/116 ; 216/92; 216/98; 73/12.14 -
inside etching for frosting in a way that maintains
strength
1691014 Rebasing Lamps, RICHARD C. LEAKE (GE), Nov 6,
1928, 313/51 ; 362/306; 439/675; 445/61 - to get
pre focused for railway signals using commercial lamps -
expensive method
1694997 BASE
FOR INCANDESCENT LAMPS OR SIMILAR ARTICLES, IRVING H. VAN HORN (GE), Dec 11,
1928, 439/615 ; 313/44; 313/47; 403/289 -
for large gass filled AC
lamps, like patent 1180159, a clamp is added to the
glass neck and connected to the base to make stronger.
1723920 ELECTRIC
INCANDESCENT LAMP, PAUL O.
CARTUN (GE), Aug 6, 1929, 313/277 ; 313/315 - low
cooling filament support
References:
1180159
1795181 INCANDESCENT
LAMP AND SIMILAR DEVICE, BOSCOE
G. PHELPS (GE), Mar 3, 1931, 313/315 ; 445/27 -
for better filament location on Edison based AC lamps.
1809661 ELECTRIC
LAMP, DANIEL K. WRIGHT
(GE), Jun 9 1931, 313/315 ; 313/273; 313/317;
313/557; 313/578; D26/2 -
loose granular material
added and can be used to clean inside of projection lamp
References:
1180159 INCANDESCENT
ELECIFILC LAMP, Irving
Langmuir (GE), Apr 18 1916, 313/569 ; 313/44;
313/578 -
Dry Nitrogen filled to
about atmospheric pressure at room temp.
Light emission proportional to eleventh power of
absolute temperature.
Tungsten runns at higher efficiency in Nitrogen than
in vacuum.
Argon or Mercury vapor also can be used.
Hydrogen is too good a thermal conductor and so is not
suitable.
0.52 watts per candle, or a 20 mil dia tungsten coiled
wire operating at 0.4 Watts per candle
claim if for 1 watt per candle
1832751 BASE
FOB ELECTBIC LAMPS AND SIMILAR ARTICLES, RALPH B. THOMAS (GE), Nov 17 1931,
220/2.3R ; 220/2.1R; 29/453; 313/318.03;
313/318.04; 439/615; 439/734; 439/744 -
high wattage lamps
breakdown the base cement causing problems. this
is a cementless base
1864271 INSIDE
COATED LAMP BULB, AAEON
MARTIN HAGEMAN (Westinghouse Lamp), Jun 21, 1932, 313/112
; 313/116 - opalescent effect
1906819 INCANDESCENT
LAMP AND SIMILAR DEVICE, C.
Severin, May 2, 1933, 313/272 ;
174/17.05; 174/50.6; 220/2.2; 313/290; 313/316 -
mount and lead in wires
for multi filament lamps
1983362 ELECTRIC
INCANDESCENT LAMP, Geiger
(GE), Dec 4 1934, 313/110 ; 313/262; 313/271;
313/290; 313/315; 65/42 - 222 type pre focused
1998958 CONNECTION
FOR FILAMENT AND LEAD WIRES, John
Flaws (GE), Apr 23 1935, 313/333 -
instead of flattening the
support wire then folding it over the coiled filament
the lead wire is left round and folded over the coiled
filament
2021758 ELECTRIC
LAMP, Irving H. Van Horn
(GE), Nov 19, 1935, 315/73 ; 313/240; 313/272;
313/279; 313/316; 313/42; 315/74 -
arc suppression in failed
lamp that would weld toghther the wires thus exploding
the bulb and blowing the line fuse.
2033699 ELECTRIC
PROJECTION LAMP, T.W.
Frech (GE), Mar 10 1936, 362/519 ; 248/27.1;
439/552 -
projector lamp with
3 "D" holes in flange and pin extending from
center base contact
2069079 STEM
FOR ELECTRIC LAMPS ANB SIMILAR ARTICLES, Frank H. Rucld (GE), Jan 26, 1937,
403/217 ; 403/270; 403/410; 65/56
wider stem press leads to
better specs
2120870 Incandescent Lamp, Val J. Roper (GE), Jun 14
1938, 313/316 ; 313/272- multi filament projection
lamps
|

|
Carpenter "Bell System" Dual Head Lantern One beam
on the left is a spot type and there's a focusing slider
on the other side to get focus. The reflector is
polished. The reflector on the right has a matte
finish and there's no adjustment, so is an area beam.
Uses two No. 6 Dry Cells
The lamps are marked Carpenter Boston 45 Mass
23-C
Master Light
The rubber ring is also marked "Master-Light-Makers".
The rubber on the left is in poor (cracked) condition and
the one on the right is missing as is the glass on the
right. Let me know
where to get the rubber and glass.
Neither lamp would light after installing a couple of No.
6 Dry Cells. The lamp and socket contacts were well
oxidized and there was crud under the switch
contacts. The C&H switch has open ends so it's
easy to clean. Now both lamps work fine.
|

|
Dual No. 6 Dry Cell Lantern with Five Inch Reflector
No markings of any kind.
The white plastic tube that surrounds the lamp is attached
to a slide lever on the rack, the idea is you can slide it
forward to diffuse the light for a broad beam or retract
the diffuser for a powerful spot beam.
The problem is that the white plastic has shrunk and no
longer can be retracted.
If you can identify this lantern let me know what it is.
|
527436 Primary Battery and Portable Electric Lamp, S.W.
Maquay, Oct 16 1894,
362/194 - Not No.6 but a wet primary
battery
558091 Battery, William Morison (Eclipse Electric Lamp Co), Apr
14, 1896,
362/194 429/113 429/54 - this is a
lantern not No. 6
559143 Electric Light and Signaling Device - a box holding three
No. 6 dry cells and a bicycle headlight on
the face
733178 Dry Battery, Eugene M.
Fishell, Jul 7, 1908,
429/159 - 6 Volt linear 4 pack of
No. 6 Dry Cells
740671 Portable Electric Light, H. MacKaye, Oct 6 1903, - uses
three No. 6 Dry Cells in base of candle like light
991044 Emergency Lantern, W. H. Adams, May 2, 1911,
362/197
; 362/190; 362/310 - holds six No. 6 Dry Cells - ship power fail
1000341 Lantern, A.W. Paull (Wheeling Stamping Co), Aug 8, 1911,
362/175
- kerosene
1021093 Lamp, J. Forsheim, Mar 26, 1912,
362/194 429/97 -
a cap that adds a lamp and reflector, threads go over cardbord
1057518 Apparatus for Aiming Guns at Night, Ancher, Apr 1 1913,
42/113
; 362/110; 42/132; 600/249 - a No. 6 based light mounted to rifle
1075098 Cigar Lighter and Cutter, ALFRED GRAY, Oct 7 1913,
361/261
- uses a couple of No. 6 Dry Cells, but not an electric light
1093287 Electric Cap Light, A.R. Neff, Apr 14 1914,
362/194 D26/38
- cap for single No.6 where reflector is coaxial or angled
1110110 Flash-Light, W.E. Compo, Sep 8 1914,
362/194 - a
cap with lamp, reflector & lens to make a cylindrical
F.L. from a No. 6 Dry Cell uses spring under lamp
1111956 Electric Lamp, THEODOKE P. DRIVER, Sep 29, 1914,
362/195
- reflector above center post, angle head configuration,
handle is part of electrical circuit
1112624 Electric Lamp Mount, E. S. Keogh, Oct 6, 1914,
362/194
429/97 - minimalist cap to hold lamp, no reflector or lens
with electromagnet
1120668 Flash-Lamp Attachment for Electric Batteries, FEED
BASEDOW, Dec 15 1914,
362/195 -
adds lamp and reflector where the
reflector can pivot up to angle head and even some depression
1127839 Portable Battery Light, Leroy A. Williamson, Feb 9 1915,
362/195
200/60 429/97 - lamp and reflector can be mounted on top in
angle head fashion or in front of the battery.
1210365 Lamp Attachment for Cells, M.C. Regan, Dec 26, 1916,
362/195
-
wire holder for E10 lamps and wire
formed to allow disconnecting lamp i.e. switch. Can
install one or two lamps on top of No. 6
1121293 Magnetic Lamp Support, Joseph Sachs (
many
patents) (Hart & Hegeman Mfg Co), Dec 15 1914,
362/191
; 200/60; 340/321; 362/197; 439/38 - electromagnet part of circuit
1122778 Portable Electric Lamp, A.S. Lyhne (Franco?), Dec 29 1914,
362/157 200/60 - No. 6 Dry Cell - like thermos bottle with
handle for horizontal carry reflector on end
1130567 Electric Lantern, B.K. Bunch, Mar 2, 1915,
362/195
- an atttachment to the No. 6 that makes it into an angle head
flashlight. both lens and reflector
1135049 Electric Lantern Attachment, NORMAN S. RICHMOND, Apr 13,
1915, 362/195 -
1135649 Electric Lamp Attachment, N.S. Richmond, Apr 13, 1915 -
basic unit sits on top of battery.
1137204 Lamp, A.B. Gates, Apr 27, 1915,
362/194 - handle
clips to dry cell and reflector to negative terminal, lamp center
to positive terminal
1137568 Lamp Carrier, T. Birath (Nanhatnan Electrical Supply Co),
Apr 27 1917, 362/195 -
1142548 Electric Lamp, John Berg, Jun 8, 1915,
362/85 -
tilting spot light

|

|
1152082 Electric Flash Lamp
or Lantern, Alonzo L. Edwards (Wheeling Stamping Co), Aug
31, 1915, 362/194 -
Can with top mounted
reflector, single No. 6 switch above handle moves
horizontal
1152155 Electric Flash Lamp or Lantern, Alonzo L. Edwards
(Wheeling Stamping Co), Aug 31, 1915, 362/197 -
Can with top mounted reflector, single No. 6 switch lower
than the above an moves in arc
There are no marks of any kind on the lantern but it
matches the drawings in 1152082 and the switch works the
same way.
The same company made a Toy Electric Engine that sounds
like a steam engine patent
1678397.
Flashlight Collectors Newsletter 20 has an Old Sol ad
(July 18 1915) that seems to show this as Old Sol No.
28.
The Old Sol name also shows up on the Fire
Lantern
|

|
A
prior owner painted everything on the outside and inside,
including the switch.
It's apart so that the paint can be cleaned from the
electrical contacts.
The small fastener has a split shank and is bent open to
anchor. What is it called? Let me know.
Also whatever insulator was between this hot circuit and
case ground was lost by a prior owner as well as a couple
of the split fasteners that hold the switch
board to the cap.
They can be replaced by 1/8" eyelets.
The ground strap also had paint in the electrical joint.
|

|
All
the metal you see on this switch is from the hot battery
terminal, the other battery terminal is connected to
the
cap. This if the top face of the switch and
faces the bottom
side of the metal cap. As received there was a
dead short
between the switch and cap.
By placing fiber washers between the swtich board and cap
the metal will be spaced away. Adding some 3x5
card stock
will prevent a short is one of the metal tabs on the left
starts
to migrage to the cap.
|

|
Working
after
repair 25 Feb 2008.
Note the can has no electrical function.
It helps to have small fingers (I don't) to install and
tighten the thumb nuts on the battery.
|

|
Fiber
washeres
to space the switch board from the cap and card stock as
extra insurance aginst a short was also used to make a
label. Eyelets attach the switch board and ground
strap to cap.
|
1162287 Flash-Light, Emil Grah, Nov 30, 1915,
362/195 -
adds lamp and reflector pointing up to No. 6 - minimalist
1162288 Lantern, Emil Grah, Nov 30, 1915,
362/195 ; 43/17
- wire frame for No. 6 Dry Cell
1163887 Charles F. BurgessS, Dec 14, 1915,
362/195 ;
338/215; 411/205 - handle for No. 6 with small reflector on one
end and switch on other, in-rush current reduction
can be used on single No. 6 or a pair of them.
1167707 Portable Self-Contained Lamp, W. MEBOLD, Jan 11 1916,
362/195
; 439/627 - sits in front of the No. 6
1167878 Portable Electric Light, B. Benedict (Beacon Minature
Elec), Jan 11 1916, - upright cylinder with reflactor on
side, single No. 6 Dry Cell
1168826
ELECTRIC
LANTERN J.G. Peterson (Manhattan
Electrical Supply Co), Jan 18, 1916,
362/197 ; 200/60;
340/321; 429/97
- No. 6 type
1171002 Electric Hand Lamp, George A. Soehnlein, Feb 8, 1916,
362/194
- cap & wooden handle coaxial reflector
1170012 Portable Electric Search Light, Smith, Feb 1 1916,
362/194
; 362/199 - not No. 6?
1172354 Portable Lamp, William S. Grote, Feb 22 1916, two No.6 in
box, square funnel lamp head retracts into box.
1174521 Electric Lantern, N.S. Richmond, Metal Specialties Mfg.,
Mar 7, 1916 - made specifically to take advantage of the low price
and ready availability of the No. 6 battery.
1178079 Attachment for Electric Lamps, Guy Morgan Laird, Apr 4,
1918,
362/194 - cap with reflector only touches top
1/2" of dry cell
1181076 Attachable and Detachable Light for Batteries, J.G.
Hobson, Apr 25 1916, 362/195 -
1186197 Portable Electric Light, Conrad Hubert, Jun 6, 1916,
362/205
; 200/60- uses single No. 6 Dry Cell, handle on side, reflector
& lens on top
1190090 Electric Flash-Lamp, Charles A. Bennett, Jul 4, 1916,
362/194
D26/46 - coaxial reflector is about same diameter as dry
cell, modern looking
1194930 Lamp, John M. Austen, Aug 15, 1916,
362/277 ;
362/297 - converging or diverging adjustable beam, cap for No. 6
1194929 Electric Light, J.M. Austen & B.J. Lee, Aug 15, 1916,
362/304 362/195 362/199 362/328 362/346 - projects light
forward, to the side and rearward for cars
1207748 Electric Lantern, PAUL GRUNEK, Dec 12, 1916,
362/186
- two No. 6 Dry Cells area light
1227393 Toy, Cressman, May 22 1917,
446/83 ; 38/49;
446/485; 472/6 -
minature stage set turning crank
causes shadows of user installed paper figures to be projected
onto screen as a moving image, No. 6 Dry Cell
1259816 Vehicle Lamp, Charles M. Wilson, Mar 19, 1918,
362/198
; 200/60 - ornate based on the No. 6
1273851 Portable Electric Lantern, William Grether, Jul 30 1918,
362/188
- Two side by side No. 6 Dry Cells, focus adjustment on same
centerline as lamp
1282219 Portable Signaling Search Light, William Grether, Oct 22
1918,
362/199 ; 362/188 -
Swivel head, 6 storage batteries
(12V), focus adjustment on same centerline as lamp, ON - OFF
switch and seperate blinker key
1286590 Portable Electric Lantern, William Grether, Dec 3 1918,
362/188
- front focusing, rear storage battery - made from a metal
casting, Fire Fighting
1291483 Portable Electric Lantern, William Grether, Jan 14 1919,
362/188
; 362/197 - Two No. 6 Dry Cells, focus adjustment on same
centerline as lamp
1301253 Portable Electric Lantern, William Grether, Apr 22 1919,
362/197
; 2/DIG.2; 362/158 - Fire Fighting, Two No. 6 Dry Cells
1310763 Electrical Lighting Assembly, Albert H. Maranda, Jul 22
1919,
362/194 340/321 429/122 - cap with small reflector,
no handle, just clips to top of dry cell
1342001 Dry Cell, Walter B. Schulte, June 1, 1920, 429/121 ;
429/181; 429/229; 439/766 - No. 6 <---------------
Dry Cell Battery patent
1348128 Electrical Connection, JOHN H. GEORGE (Hawthorne Co), Jul
27, 1920,
362/197 ; 429/97 - two No. 6 Dry Cells - looks
like Grether fire fighting lantern
1369892 Lighting Apparatus, ELLSWORTH A. HAWTHORNE, Mar 1 1921,
362/188
- The Excellight two No. 6 in patent, also offered B version with
Edison Alkaline
1415033 Battery, H.T. Hipwell, May 9, 1922,
429/90 ;
429/155; 429/99 -
by connecting
batteries in series and having a terminal for each =
multivoltage battery
This is something I'm about to do with "F" cells for working
with DC motors where you'd like different voltages.
1432907 Portable Electric Lantern, CHARLES STANLEY RHOADS (Western
Electric), Oct 24, 1922,
362/184 ; 429/97, - hand carried
or use on railway and cars, FIVE No. 6 Dry Cells
1423911 Portable Electric Lantern, ALLEN D. CARDWELL (Western
Electric), Jul 25 1922,
362/184 ; 340/321; 429/99 - hand
carried or use on railway and cars, FIVE No. 6 Dry Cells
1434041 Electric Light, C. H. Burton, Oct 31 1922,
362/195 -
an insulating strip is held by the
center terminal and thumbnut and supports a single sheet of
metal that's both a reflector and lamp socket and has a tongue
that can reach past the negative terminal. The lamp center
contact sits on the positive terminal. Rotating the
assembly is the switch. - a 2 part count minimalist design
1438179 Electric Lantern, George J. Hollander, Dec 12, 1922,
362/194
429/97 43/17 - handle above dry cell and lamp, no reflector
1492297 Battery, H.T. Hipwell, Apr 29, 1924,
429/150 ;
200/11G; 429/159-
adds a rotary selector switch and a way to make it a top cover
that will fit a battery pack (see 1415033)
1565450 Electric Battery and Method of Making Same, H.H. Hipwell,
Dec 15 1925,
429/156 ; 429/184- radio B battery
application
1611529 Battery Lantern, H.W. Jones (National Carbon Co), Dec 21
1926
362/197- two side by side No. 6 Dry Cells same layout
as a pocket FL, but much larger.
1925374 Dry Cell Battery and Seal Therfore, C.P. Deibel, Sep 5,
1933, 429/167 ; 429/171; 429/178 - No. 6 Dry Cell (called a Six
Inch cell) that has a longer shelf life
1951431 Traffic Signal, John P. Meehan, Mar 20 1934,
340/908
; 439/226 - uses a plurality of No. 6 cells, an interrupter ,
transformer to drive a Neon lamp
2051506 Signal Device, C. F. Wallace (Wallace a Tiernan Products),
Aug 18, 1936,
340/331 362/194 -
four No. 6 dry cells power a
clockwork mechanism that sits on top of them and flashes the
lamp, no reflector. Used as a warning light
2062107 Dry Cell, Otto Karl Beinhardt, Nov 24, 1936,
429/172 -
No. 6 type with a metallic top
2069355 Combined Circuit and Flashlight Connection, Douglas Rolph
Clarke, Feb 2, 1937,
362/195 ; 439/653 - uses the three x
No. 6 = 4.5 Volt battery
2082572 Discharge Tube Flasher, Robert B. Gonsett (Irene Gonsett),
Jun 1, 1937,
340/331 ; 315/219; 335/54 - single No.6
drives gas discharge tube
2095657 Lens Mounting, Charles F. Burgess (Burgess Battery Co),
Oct 12 1937,
362/344 ; 292/256.6; 359/819; 362/362 - lens
held in rubber
2097237 Emergency Lighting System, Clarence P. Hulst, Oct 26,
1937,
362/157 - uses No. 6 Dry Cells and has storage for a
couple of flash lights
2118687 Circuit Controlling Mechanism, Charles F. Wallace (Wallace
& Tiernan Products), May 24, 1938,
200/19.01 ; 200/35R;
335/87; 968/546 -
2213584 Emergency Exit Light, Hulst, Sep 3 1940,
362/20 ;
340/300 - uses AC mains or if they fail No. 6 Dry Cells
2231320 Dry Cell, Charles F. Burgess (Burgess Batt Co), Feb 11,
1941, 429/166 ; 429/133; 429/94 - No. 6 <---------------
Dry Cell Battery patent
2420634 Electric Lantern, C.E. Wohler, May 13 1947,
362/190
; 362/197 - two each No. 6 Dry Cell
2478129 Automatic Emergency Light, John Thomas Powell, Aug 2 1949,
362/20 ; 324/507 -
References:
1211121 Flash Lamp, EVERETT, Jan 2 1917
1365636 Electric Pocket Lamp, C. Boltshauser (Phoebus Co,
Germany), Jan 1921
1511097 Emergency Lighting System, OSCAR W. ALTHOBT, Oct 7,
1924, 362/20 ; 315/87 -
2097237 Emergency Lighting System, Clarence P. Hulst, Oct 26,
1937, 362/157 - uses No. 6 Dry Cells and has storage for
a couple of flash lights
2213584 Emergency Exit Light, Hulst, Sep 3 1940
2369288 Emergency Lighting Unit, Frederick B. Embury, Feb 13
1945
D46427 Portable Electric Lamp, John J. Brownrigg, Harry Henderson
& Arthur E. Case (probably started Delta Electric), Sep
22, 1914, D26/50 - based on the
No. 6 Dry
Cell
2578030 Marine Safety Light, P.J. Ambrose, Dec 11 1951,
441/17
; 362/184 - stored inverted, USCG approved, easy to inspect No. 6
Dry Cell
References:
1457565 Headlight Lens,
1655548 Illuminable Buoy, Honegger, Jan 10 1928, 441/17
; 340/815.73; 43/17- uses Mercury switch, stored inverted
1964466 Electric Lantern, Karl J. Helmholtz
2151938 Lifesaving Light, Jesse A. Ramsey, Mar 28 1939, 362/158
; 200/52A; 200/60; 200/61.52; 200/DIG.29; 340/331; 441/17
-stored upside down
2305490 Electric Safety Water Light, Louis E. Perkins (Perkins
Marine Lamp & Hdw), Dec 15 1942, 441/17 ; 362/186;
362/190; 362/477 - 6V lantern batt
2346695 Electric Water Light, Gustave Miller
2369971 Buoyant Safety Light, George M. Marr, Feb 20 1945, 441/16
; 362/158; 362/186 - stored upside down
2377161 Electric Safety Water Light, Augustus J. Le Strange, May
29 1945, 441/17 ; 340/321; 362/158; 429/99; 43/17
-concentric tubes rotated to access side cell loading port
2404681 Lifesaving Device, William R. Baack (Coston Supply Co),
Jul 23 1946, 441/17 ; 362/158 - 3 D cells mercury switch
2585869 Eight Reflector Attachemet for use on Dry Cells, John
Peter Speckman, Feb 12, 1952,
362/195 - attachments for
the No. 6 Dry Cell
References:
241649 Lamp-Reflector, Henry E. Haley, May 17 1881,
292/230
- add on for keroscene lamp
682602 Reflector, Alonzo B. Conde, Sep 17 1901,
362/322
; 362/396 - wire support folds agist reflector when not in use
838729 Wire Terminal, Fred T. Lockwood, Dec 18 1906,
439/868
-
THE ring tongue terminal seperate
clamps for wire and insulation
985018
Battery
Lamp
Socket, George N. Eastman (E.C.
Brown), Feb 21 1911,
439/666 ; 362/195; 429/96; 439/627-
lamp and connector on wire
end plug onto threaded terminal posts on No. 6 - minimalist
1093287 Electric Cap Light, A.B. Neff, Apr 14 1914
1130567 Electric Lantern, B.K. Bunch, Mar 2, 1915
1162287 Flash-Light, E. Grah, Nov 30, 1915,
362/195 -
adds lamp and reflector pointing up to No. 6 - minimalist
1210365 Lamp Attachment for Cells, M.C. Regan, Dec 26, 1916
1434041 Electric Light, C. H. Burton, Oct 31 1922
1875241 Electrical Cord Terminal, JOSEPH A. IDANK (GE), Aug 1932
- early soldered wire terminal, - a lot of work to install
2589747 Emergency Portable Light, Emilio Lorenzo Tedeschi, Mar 18
1952,
340/321 ; 362/197; D26/37 -
car breakdown uses either two 6V
lantern batteries or car power
References:
1952480 Hand Signal, Edmund B. Thompson, Mar 1934, - light for
left hand of car driver
2171349 Electric Lantern, Lee M. Wiley (Delta Electric Co), Aug
29, 1939,
340/331 ; 307/132T; 337/92; 340/908.1; 362/197
- steady or flashing
2224742 Electric Device, Muldoon (Henry Hyman), Dec 10 1940
2312649 Switch Signal, Daniel Allcott Kelly, Mar 1943, -
railroad switch 4 lens
Related:
5103204 Lyte-Com, Randall L. Hartman, Apr 7, 1992, 340/332;
34028601; 34028607; 340/326 - call light for employees
2620388 Combination Warning Signal and Trouble Lamp - for cars
2641685 Fluorescent Hand Lamp Construction, Joseph G. Pessina
(Emro Mfg Co), Jun 9 1953,
362/157 ; D26/42, -
has the look and feel of a
Navy Battle Lantern, only for a couple of Fluorescent tubes
5202660 LYTE-COM portable visual signalling device, - call
light for employees
2589747 Emergency Portable Light, Emilio Lorenzo
Tedeschi, Mar 18 1952
2597705 Roadside Signal Lighting Device, - vehicle power only
2580938 Policeman's Portable Traffic Signal Device, Stop &
Go on 4 faces
3403249 Battery Powered Signal Light, R. J. BENNETT (Union
Carbine Co), Sep 24 1968
362/191 ; 362/194; 429/12;
D26/41- module to replace oil lamp, 160 day battery
2671212 Highway Warning Signal, - vehicle powered breakdown
aleart
2612549 Portable Safety and Trouble Light,
2482266 Back Panel for Flasher Casings or the Like, R. R.
GOSHORN, Sep 20, 1949,
3116025 Lantern with Signal Lamp (Delta Electric), J.D. Smaltz,
Dec 31, 1963 - no case, attaches to top of battery with screw on
post terminals has swing up
3615859
LeClanche Dry Cell with Thick Wall Paste
Seperator, Schumm, Jr. (Union Carbide Corp), Oct 1971,
429/134
; 429/166 -
Grether Fire Lantern
There are a number of patents that cover this general type of fire
lantern. But so far I have not found the one dated June 24
1913. If you know,
let me know.
The label says:
Made in Bridgeport, Conn, U.S.A.
Army-Navy Special
OLD-SOL
Reg in U.S. Pat Office June 24, '13
Type No. 158-RB
Hawthrone Mfg. Co. Inc
|
|
The push buttons for the
ON-OFF switch were missing. I've replaced them with
a
couple of 10-32x3/4" hex head machine screws. There
is a rod sticking out the back
along the center line of the lamp that moves the lamp
front to back to allow adjusting
the beam.
The lens and bezel came with the lamp but the casting at
the top has broken. Maybe
the local specialist welder can repair the aluminum.
Uses the 1491 lamp, same as the Navy Battle Lantern which
also uses a pair of No. 6 Dry Cells.
|

|
The Battery contact plate
has been removed and you can see the combined switch and
lamp axial movement part. The loose wires normally
would go to the contact plate which should have leaf
spring contacts to the four battery terminals. Since
it's missing parts
someone has disconnected the wires to allow direct
connection to the No. 6 Dry Cells.
Also notice that two spare lamps can be stored inside the
top.
|

Grether Fire Lantern Battery Plate Wire Terminal side
faces top of lantern
|

Grether Fire Lantern Battery Plate Battery Side faces dry
cells.
The angle of the upper right groove is wrong for No. 6 Dry
Cells, so maybe
this lantern was made to use another battery like an
Edison cell?
|
?????? June 24 1913
D51175
Portable Electric Lantern, William Grether, Aug 21, 1917,
D26/50
1273851
Portable Electric Lantern, William Grether, Jul 30 1918,
362/188
- Two side by side No. 6 Dry Cells, focus adjustment on same
centerline as lamp
wires connect to two No. 6 dry
cells.
1282219
Portable Signaling Search Light, William Grether, Oct 22 1918,
362/199
; 362/188 -
Swivel head, 6 storage batteries
(12V), focus adjustment on same centerline as lamp, ON - OFF
switch and seperate blinker key
1286590
Portable Electric Lantern, William Grether, Dec 3 1918,
362/188
- front focusing, rear storage battery - made from a metal
casting, Fire Fighting
1291483
Portable Electric Lantern, William Grether, Jan 14 1919,
362/188
; 362/197 - Two No. 6 Dry Cells, focus adjustment on same
centerline as lamp
Uses the leaf spring method to
connect to the dry cells BUT uses a wire jumper between the two
dry cells and does not have the insulating alignment plate like
1348128.
This patent contains the following
wording: "The means above described make it possible to
remove the cover (5) from the base (1) and without
bothering with long connecting wires, and further making it
possible for the cover to be taken any distance from it's
base." What does this mean? Maybe the 1913 patent
would shed some light on this?
1301253
Portable Electric Lantern, William Grether, Apr 22 1919,
362/197
; 2/DIG.2; 362/158 - Fire Fighting, Two No. 6 Dry Cells
Maybe intended for explosive gas
applications, contains power disconect if bulb breaks
1341471 Portable electric hand-lantern, James
W Knoblock, American
La France Fire Engine Co., May 25, 1920, 362/188,
340/321
-
1348128 Electrical Connection, John H. George (Hawthorne Co), Jul
27, 1920,
362/197 ; 429/97 - two No. 6 Dry Cells -
looks like Grether fire fighting
lantern
The two No. 6 Dry Cells are connected to a fiber plate using the
thumb nuts. These assemblies of two dry cells can be pre
made and stored in a fire truck. When new batteries are
needed it's done by opening the toggle levers on the lantern and
removing the top completely from the bottom which is easily done
since there are no wires going to the batteries but instead leaf
spring contacts (the heart of this patent). The dead
battery assembly is lifted out and a fresh battery assembly
installed.
A better title would have been "Quick Change Battery method".
Niagara patent 2425274 calls this patent. It uses very
similar leaf spring battery contacts.
1369892 Lighting Apparatus, Ellsworth A. Hawthorne, Mar 1 1921,
362/188
- The Excellight two No. 6 in patent, also offered B version with
Edison Alkaline
The push right for on, push left
for off switch assembly combined with the bulb focusing function
in this patent matches the lantern in the photo.
But this patent shows wires running to the batteries and so does
not have the quick change battery feature like the lamp in the
photo.
1379337 Lighting Apparatus, John H. George (Hawthorne Co), May 24,
1921,
362/258 ; 191/12.2R -
a dirigible type spot light where
the lamp can be removed from the parabolic reflector and used as
an inspection light. The lamp holder, axial lamp movement
mechanism is the same as the one shown in the photo above.
1390201 Lighting Apparatus, John H. George (Hawthorne Co), Sep 6,
1921,
200/51.13 ; 362/382 -
This covers the electric switch,
lamp socket and axial movement mechanism.
calls application numbers 200243 1917 and 205728
1402353 Illuminating Apparatus, Ellsworth A. Hawthorne, Jan 3,
1922
362/295 ; 362/247; 362/296 - with combined switch and
focusing device
Repairs
For now I'm using hex head machine
screws to replace the on-off switch.
Haven't yet figured out what the battery contact straps look
like.
If an O-ring was to be used between the bezel and the top
it would have an I.D. of about 5" and the exact same O-ring
would be just the correct length to fit between the top and
bottom. Concidence, or is that what should be there?
If you have any information on this lantern
let me know.
Battle Lanterns
There have been a number of lanterns for use in battle
areas. The classic Naval Battle Lantern (See above) used a couple of No.
6 dry cells.
The more modern ones use the 529 or similar spring top 6 Volt
lantern batteries. The two most common types are the all
battery version that's an almost cube plastic box holding a
couple of lantern batteries and a sealed beam 6V lamp (both of
these are typically yellow), or the same lantern with a relay
that turns on the lantern when the mains power fails.
This Rolfan lantern is based on the common dual battery 6 Volt
sealed beam design except:
- One of the batteries has been replaced by a 120 VAC power
supply/battery charger Rolfan model 1546
- There's a toggle type On/Off switch
- The color is red
- A base been added that allows tilting the beam up or down.
- There a DC voltage meter to check if the lantern is ready to
use.
- It does NOT have a carry handle, which it should because it's
awkward to carry.
Rolfan Type 1513 115 VAC 1/4 Watt
Flight Line Lantern
When an Alkaline 529 ^ volt lantern battery is installed (it
takes a flat blade screwdriver to get the springs down below the
metal contact bars) the meter reads zero, but when the switch is
turned on the lamp lights up and the meter reads a voltage.
The lamp is marked:
GE
4547
4.75 Volt
Hand Lantern |
The power supply is marked:
The Rolfan Co.
Battery Charger
Type 1546
Output: 6 V 300 ma
Charger BLue Pos.
Leads Green Neg.
|
|
The problem is that you should NOT use a float charger on a
primary battery. This lantern was designed to work with a
rechargeable an lead acid 6 Volt battery.
Note: modern chemistry batteries like Ni-Cad or Ni-MH or Lixxx
require a much more sophisticated charger circuit than the
simple transformer - diode charger in this lantern.
The Power Sonic PS-650LS looks like it may be
is the correct battery, one is or order (8 May 2014).
15 May 2014 - battery arrived and after a struggle (There must
be an easy way to compress the springs when installing the
battery, tell me how) it's in and
works.
Now to find a charging AC line cord.
Fig 1

|
Fig 2

|
Fig 3

|
Fig 4

|
Fig 5 schematic

|
|
Signal Lamps
for conveying information, not
automobile directional or traffic stop & go.
2341189 Signal Lamp, Feb 8, 1944
340/815.76 ; 200/293.1; 362/112 - Hand held blinker
I have not been able to find a patent for the
M-227 Signal Lamp, but is so unique there
should be one. The Aldis and other Signal lights are on the M-227
page.
2237536
Signal,
Jr
George Irwin Wells, 1941-04-08, -
340/321,200/61.58R,43/17,340/473,116/63P,362/190,116/63R -
flashlight like a post with hemispherical lens at top
Military Flashlights
The current popular flashlighst (2007) are the Streamlight brand
or knockoff versions that use the CR123 photo batteries, which the
military calls the BA-5123. These batteries have excellent
shelf life (> 10 years), contain a lot of power for their size
and weight, and can deliver high currents. A modern double
123 battery flashlight is probably a better flashlight than the
old angle head on all accounts.
The brighter Streamlights use gas (krypton, Argon) filled
filament bulbs that provide more light than conventional filament
bulbs.
Eveready 2697 Boy Scout Angle Head
This was the precursor to the military angle head TL-122
(Wiki).
|
1570393
Flash Light, C. Osean (National Carbon Co), Jan 19 1926, 362/197
200/60 362/208 D26/37 - angle head - "Elbow lamp" - this
version was made from sheet metal, neither phenolic nor
plastic.
Note the bulb is the first generation E10 screw based type
which does not control the filament location. So the
beam is typically not at all optimized.
D73192
Flash Light, C. Osean (National Carbon Co), Aug 2, 1927 D26/37
; 362/197; 362/205- Angle Head cylindrical
This Flash Light is marked:
Eveready
Case No. 2697
2 Unit Cells No. 950
Lamp No. 1161
Casing Reg.
U.S. Pat, Off.
Made In U.S.A.
and on the other side of the angle head
Official Flashlight
Boy Scouts Of America.
The battery cap is marked: Eveready
Notice the hair line crack in the battery cap. This is
a common occurrence on caps made of thin sheet
metal. It does not cause a problem. This light
needs a lot of work. The spring is rusted almost in
two. There is something missing at the bottom of the
angle head where the metal strap with the eyelet is supposed
to connect, between the design and patent can probably
figure it out.
Uses the Safety Lock switch:
1654373
Electrical Switch Mechanism, F.A. Holt (National
Carbon Co), Dec 27 1927, 200/60 ; 362/205
Poor Designs
The 1570393 Flash Light
drawings have had many of the notations erased to make them
easier to read.
Notice the assembly consisting of spring contact 29 and disk
27 in the drawing at the left and in the photo above.
This is made as a sub assembly and then installed into the
flash light by staking eyelet 28 thus attaching the sub
assembly to leg 26 of the ground conductor. You can
see the leg 26 in the above photo at an angle and with the
eyelet 28 still attached. The round hole in the photo
below the eyelet 28 is not shown on the patent drawings and
is used for the tooling used to seat eyelet 28.
Yeildable strip conductor 32 is forced to the wall by the
battery causing pressure between the tip 32' and the metal
plate 31.
The problem is that when the head is screwed onto or off of
the body while batteries are installed the tip 32' of the
yeildable strip conductor 32 can snag on the metal surface
31 and then rotating the disk subassembly. The only
thing stopping that from happening is the sheet metal ground
conductor with legs 26 and 23 which has eyelet 24 holding it
to the head and eyelet 28 holding it to the disk sub
assembly. Eyelets provide minimal resistance to torque
and the ground conductor 23, 26 can easily bend, as seen in
the photo above.
Notice in the photo above that there's a notch in the disk
edge facing the camera, but there's no corresponding dimple
in the angle head to use it as a rotation stop. The
tip 32' has a square end which is bad in that the corners
are points that snag the metal plate 31. It may be
that by putting a radius on the corners the strip 32 would
not snag? Yes adding a radius and smoothing the burr
stops the snagging.
A jumper wire from the metal plate 31 to one of the eyelets
adjacent to the lamp socket 16 completes the electrical
path.
Now the light is on bright all the time. The switch
shown in the angle head patent is NOT used and instead the
1654373 Safety-Lock switch is used. The switch patent
also shows the strip conductor 32 which is numbered 19 and
"is insulated by a coating 23 of tough, flexible material,
such as celluloid, a phenolic condensation product, rubber
or shellac. The coating is shown but the notation "23"
is missing from the drawing (I added it in the modified
drawing here). This coating insulates the strip
conductor from a metal bracket 20 and for this
flashlight has failed permanently grounding the strip
conductor to bracket 20.
|
TL-122
|
Also see the Eveready
2697 Boy Scout Angle Head flashlight above (Wiki).
The patents for the ER1697 and TL-122 are probably the same.
The first generation of both of these are made from sheet
metal and make use of eyelets.
Came with a PR-6 Lamp. This is a flange based bulb
with control of the filament location.
The Survey Signal
Lamp 2 Inch (which is powered by two batteries (3
Volts nominal) comes with PR2 and PR9 Lamps
Name
|
Volts
|
Amps
|
Hours
|
MSCP
|
| PR2 |
2.38
|
0.50
|
15
|
0.80
|
| PR6 |
2.47
|
0.30
|
30
|
0.45
|
PR9
|
2.70
|
0.15
|
45
|
0.25
|
|
 |
This 2 "D" cell flashlight comes with a clear
mild diffuser, a white diffuser and a red filter along with
a spare bulb stored in the battery cap. This is a
later version of the TL-122.
made by: G.T. Price Products, inc., Los Angles 31, Cal. - so
is not a real MX-991 since only Fulton makes the real ones.
PS the "/U" is a common nomenclature meaning Universal.
NSN: 6230-00-264-8261 |
MX-993
 |
This is the Navy version marked:
U.S.
MX-993/U,
G.T. Price Products, Inc., Los Angles 31, Cal.
and by hand "SS40" |
FM-11

|
ACR FM-11(M) Crew Light
This light uses a couple of AA cells and comes with a
Velcro patch for attachment.
|
Penlights
Penlights are a sub class of Pocket
Flash Lights.
1106828
Portable Electric Lamp, William J. Monaghan (Waterbury Mfg
Co), Aug 11 1914,
362/203 ; 200/60; 340/321 -
penlite pencil size
1107645
Circuit Closers, Bernard Benedict (Beacon Minature Electric Co),
Aug 18 1914,
200/60 ; 362/205- It's not clear of
this is a penlight or regular flash light. I have it here because
it's a Beacon Miniature Electric Product. More likely a "C"
or "D" cell flash light.
|
approximately life size
|

|
THE IDEAL FOUNTAIN
LIGHT PAT SEPT. 22,
1914 OTHERS PENDING
The ball on the pocket clip is a switch contact
connected to the metal body. There's an insulating
fish paper sleeve inside of which is a sleeve of metal
that connects to the battery spring which is insulated
from the case. A hole in the fish paper allows the
ball to make contact with the metal sleeve completing
the circuit. action: OFF-(ON). Uses bayonet
joints between the reflector/lamp holder and the tube
and between the large and small tubes.
1182965
Flash Light, Bernard Benedict (Beacon Minature Electric
Co), May 16, 1916, 362/191 ; 362/205 - This
shows the insulating sleeve and metal sleeve.
These extra sleeves are the reason the top is slightly
larger in diameter than the light end.
After National Carbon Bought Beacon (Connection to
Traders Metal Goods?) Eveready made these as their No.
2683 & No. 5683 in 1917.
This does NOT use the 222 combined lamp & lens, it
uses something like the GE223 with an E10 base and
flattened bulb.
This may be the oldest pen light design?
|
1111546
Pocket Electric Light, P.H. Oleman (Traders Metal Goods), Sep 22
1914,
362/191 ; 200/60; 362/205; 600/249-
minimalist AA? pen light - PFL
type lamp
KEY Feature - uses
pocket clip ball end to make electrical contact with zinc
battery which is insulated from metal case.
This circuit closing mechanisim is why it's referenced by other
pen light makers.
1141634 Tubular Electric Pocket-Lamp, P. Heinrich (Interstate
electric Novelty), Jun 1, 1915,
362/191 ; 362/205 - has
the look and feel of the Ideal Fountain Light
1144201
Portable Flash Light, H.H. & H.T. Hipwell, Jun 22 1915,
362/203
; 429/97- long AA pen light
spring at each end, slide one tube
to activate
1150066
Pocket Flash-light, F.M. Rosnefeld (Import Sales Co), Aug 17
1915,
362/191 ; 362/206- Pen light
Instead of using the interior
insulated sleeve like in the Ideal Fountain light, the battery
connection goes through the spring to a mounting that's
insulated and then to the pocket clip. When the pocket
clip is pressed aginst the body that turns on the light.
This one can be all the same diameter.
1151201 Flash-Light, B. Lincoln, Aug 24 1915,
362/205 ;
200/60; 340/321; D26/49 - unique switch
1158081 Electric Pocket Lamp, John Stock (Interstate electric
Novelty), Oct 26 1915,
362/202 - has the look and feel of
the Ideal Fountain Light
1166930 Telescopic Combined Portable Flash-Light and Writing-Pad,
Petrie, Jan 4 1916,
362/99 ; 362/200; 362/280 -
telescoping Pocket FL w/Compass
for Boy Scouts
1169029 Pencil Attachment, Gunnerson, Jan 18 1916,
362/118
; 192/142R-
1178928 Flash-Light, M.L. Kaplan (Beacon Minature Co), Apr 11
1916,
362/204- reflector + lens, cylindrical, simple
switch circuit
1181509 Pen, J. J. Devine, May 2, 1916,
362/118- pen in
front of pen light
1182965 Flash Light, Bernard Benedict (Beacon Minature Electric
Co), May 16, 1916,
362/191 ; 362/205 -
Ideal Fountain Light
1193534 Fountain Pen Flash Light, L. Friedman, Aug 8 1916,
362/118
- grain of weat lamp under pen nib
1199276 Flash Light, M.L. Kaplan (Beacon Minature Co), Sep 26
1916,
362/205 ; 200/60-
reflector, lens, short
prevention - calls 1182965
1216862 Electric Pencil, AMADA E. SICKLES, Feb 20 1917,
362/118
-
1219109 Pocket Flash Light, M.L. Kaplan (National Carbon Co), Mar
13, 1917,
362/191-
"The present inention embraces
certain improements on the flash light made the subject of
Patent 1182965, May 16, 1916, to Bernard Benedict."
There's a slider on the pocket clip. In the first position
it's a momentary switch and in the second a full on operation.
version of the Ideal Fountain Light
1226926 Electric Flash Light, Joseph Tiscione, May 22, 1917,
362/206
; D19/51; D26/46 - pen lite Ideal Fountain Light look alike
1247038 Electric Pencil, J.B. Urbano, Nov 20 1917,
362/118 -
a pen light with a pencil attached
1248934 Pocket Flash Light, E.W. Seymour, Dec 4, 1917,
362/206
- Penlight no rattles
1265820 Flash Light, Edward W. Seymour, May 14 1918,
362/206
; 200/60 -
pushbutton in tailcap bridges gap
inside insulating sleeve
1274022 Electric Attachment for Pens or Pencils, CHRISTIAN
EDMUNDSON, Jul 1918,
1279820 Illuminated Note Pad, Brassard, Sep 24 1918,
362/99
; 281/7; 362/97; 462/26; 462/84- pocket FL inside
1308032 Flash-Light, B. Benedict (Traders Metal Goods), Jly 1
1919,
362/191 ; 200/60; 362/206- two in line AA? pen light
1310476 Illuminated Writing Instrument, L. F. HART, Jul 22 1919,
362/118-
1311899 Flash Light, M.L. Kaplan (National Carbon Co), Aug 5 1919,
362/191 ; 200/60; 362/206; 43/17 - two AA
pen light bayonet joint
an improvement on the Ideal
Fountain Light
1320537 Portable Illuminated Sketchng or Writing Service, Dimond,
Nov 4 1919,
362/99 ; 281/51; 362/97- lamp and batt
1341267 Illuminating Attachment for Pens or Pencils, C. M. EAST,
May 25 1920,
362/118 ; 200/DIG.29; 362/802- battery
seperate from lamp & switch
1408526 Pocket Flash Light, Lyhne (Bridgeport Metal Goods), Mar
1922,
362/206 - pen lite
1418132 Writing Lighting Device, Devine, May 30 1922,
362/118
- lamp in center pen and pencil on ends
1144201 Portable Flash Light, H.H. & H.T. Hipwell, Jun
22 1915,
362/203 ; 429/97 - penlight
1509719 Fountain Pen and Electric Light, John J. Devine, Sep 23
1924,
362/118 ; 401/195, -
1516647 Pencil Illuminating Light, J.W. Saunders, Nov 25, 1924,
362/118 - battery in coat pocket, maybe for waiter
1537806 Fountain Pen, John J. Devine, May 12, 1925,
362/118 -
with lamp

|
1607647
Flash Lamp, Gottkueb E. Seikot (Penn Surgical Mfg Co),
Nov 23 1926, 362/206 - positive on or positive
off
|
171304
Flashlight, A. Gelardin Aug 29 1939
362/206 ;
340/321; D26/46- Penlight with translucent tip surrounding
lamp. single cell

|
1782015
Flashlight, William B. Sachs, Nov 18 1930, 362/206
; 200/60 -
The patent shows a knurled button that can be used as a
"turn to lock on", this button is smooth and does not
lock on, yet the clip is marked VES POC LITE.
The other two Ves Poc Lites I've seen on the internet
have also been green.
The patent shows an optional lens assembly that can be
fiiction fitted to the front where the normal lamp is a
223 type flat globe type. The lens is in a fixed
position. The sheet metal socket that can be slid
back and forth in the lamp housing allows focusing the
optional lamp holder. This light is
missing the battery spring and the bakelite insulating
washer that holds it. So far have not found an
earlier Sachs flashlight patent that would cover this
one.
|

|
The prior owner had
installed the sheet metal socket improperly. It
can be installed with the flange toward the back with
the threads inside the lamp cap, but then there's a
large gap between the rear battery and the switch.
But that method does allow the use of a 222 lamp.
The patent shows the socket installed behind the lamp
cap with the flange adjacent to the lamp cap. For
that to work the lamp needs to be either a 223 type
(shown above) or a #14 so that he bulb can be trapped by
the step in the lamp cap internal bore.
When assembled acording to the patent with the 223 lamp
the spring shown from a AA battery holder causes this
penlight to be on all the time. Some type of
insulating holder is needed between the spring and the
metal cup on the back of the switch to get it working
properly.
Also the two end caps are not as tight as they might
be. Instead of using threads which are not
practical inside the tube since it's made of 10 mil
brass there are three dimples spaced 120 degrees
apart. I think these need to be reformed, maybe by
using an automatic center punch on the tube OD to drive
the dimples a little deeper.
The lamp cap has the feel of a screw machine or chucker
lathe part and the tail cap is a stamped sheet metal
part.
|
1810524 Flash Light, A.S. Lyhne (Bridgeport Metal Goods Mfg Co),
Jun 16 1931, -
Ideal Fountain Light but with
rotary cap for the switch
1839971 Spotlight and the Like, L.S. Korsen, Jan 5 1932,
362/189
; 362/191- two AAAA? pencil size light
1878431 Illuminated Pencil, Turton, Sep 20 1932,
362/118
; 362/216 -
1895913 Vest Pocket Type Flash Light, M.E. Buchholz (Bright Star
Battery Co) Jan 31 1933,
362/203 - pen light
1907102 Flash Light, C.E.A. Gronbech (Bright Star Battery Co), May
2 1933,
362/208 362/206 - Pen light
1919024 Pocket Flash Light, L Abbotts (Bridgeport Metal Goods Mfg
Co), Jul 18 1933,
362/206 ; 200/60; 600/249- penlight
pussing button to the side locks it

|
Bridgeport Metal Goods Mfg
Co single AA Penlight, two patent Nos. stamped:
1408526
Pocket Flash Light, Lyhne (Bridgeport Metal Goods), Mar
1922, 362/206 - pen light with button switch like
1919024 but without the groove so is only OFF-(On).
not permanent on.
1919024
Pocket Flash Light, L Abbotts (Bridgeport Metal Goods Mfg
Co), Jul 18 1933, 362/206 ; 200/60; 600/249-
penlight pushing button to the side locks it. Adding
groove allow permanent ON so action is OFF-(ON)-ON
Uses the 112 Lens type E10 based lamp rated 1.2 volts @
250 mA. GTL-3 bulb, MSCP = 0.05 10 hours ave
life. Radio Shack 272-1174
|
1947975 Selective Contact Illuminator Pen, John Dianovszky, Feb 20
1934,
362/206-
1958796 Pen Flash Lifht with Light Focusing Means, N.A. Mercer,
May 15 1934 -
1981544 Flash Light Device, T.W. Frech (GE), Nov 20 1934,
362/194
; 429/97 - combined cell and lamp unit
1985335 Combined Pad Holder and Illuminating Means Therefore,
Bloss, Dec 25 1934,
362/99 ; 281/7; 362/155 -
1987158 Fountain Pen, John Quaglia, Jan 8 1935,
362/118 ;
200/60 - 2 cells and Lamp
1988961 Flash Light Device, Gwilym F. Prideaux (GE), Jan 22 1935,
362/194 362/187 362/189 - raw bulb is moulded on top of a
AA cell
???patent

This is a pen
light that uses two AA cells. The on/off switch is at the
top left in the photo. By holding the knurled aluminum knob
at the right and twisting the black lens cover a red filter is
moved in front of the pre focused lamp.
Label reads:
Flashlight
Penlight Style, Pilots
MS21998-2
Part No. PL
Tek-Lite, Inc.
U.S.
Patent Pending
White <----Rotate ---->
Black Cap
Hold Metal Ring When Switching Colors.
1996563 Flashlight Pen and
Pencil, Francis E. Billings, Apr 2 1935,
362/118 ; 200/60;
362/187- clear plastic nose
1997231 Pencil Flashlight Magnet, Plutino, Apr 9 1935,
600/11
; 362/205; 425/DIG.33 - 2 AA ?
2070316 Portable Flashlight, Recker (Chase Co), Feb 9 1937,
362/206
; 200/534; 200/60; 43/17.5 -
2008070 Light Attachment for Pens and Pencils, Ada Godman, Jul 16
1935,
362/205 ; 200/60; 24/336
2008915 Vest Pocket Flash Light, Otto A. Langos (Chicago Electric
Mfg Co), Jul 1935,
362/203 ; 12/142C; 200/60 - Pen light
looks like #14 lamp?
D101747
Flashlight, Alexander Sydney Weston, Oct 27 1936
2054459 Manuscript Manipulator, D.W. Burt, Sep 15 1936,
281/8
; 242/538.3; 242/545; 362/99 -
2059977 Portable Lamp Construction, R.G. Williams (Usona Mfg Co),
Nov 3, 1936,
362/202 362/208 D26/49 -
Jewelites - aluminum case threaded
plastic lens housing, 2 C cells
2084767 Bulb Holder, G.C. Fullmer (Bridgeport Metal Goods), Jun 22
1937,
362/208 362/206 439/628 D26/2 - penlight non rattle
and holds Cat's-eye lamps
2150644 Pocket Flash Light, Hugh W. Batcheller (Aetna Motor Prod),
Mar 1939,
362/203 ; 261/123; 43/17 - pen light 222 lamp
2164148 Combined Pocket Flashlight and Key Case, Nets H. Swanson,
Jun 27 1939,
362/203 ; 362/187; 70/456R
2166282 Electric Lamp, Benjafield (Benjamin Webster), Jul 1939, -
single AA/AAA? 222 type lamp
2166864 Novelty, Albert Gelardin, Jul 18 1939,
40/555 -
advertizing message that's illuminated
2171304 Flashlight, Albert Gelardin, Aug 29 1939,
362/206
; 340/321; D26/46 - sculped case, matching translucent cap
hemisphere end push on in tail cap
2199311 Day and Night Map, Hartmann, Apr 30 1940,
362/98 ;
200/60; 362/197; 362/802; 40/541 -
2222879 Detachable and Adjustable Reflecting Element for use with
a Flashlight, Le Roy V. Porter, Nov 26 1940,
362/138 ;
24/11CC; D26/49 - clips to penlight
2225936 Flashlight, Robert G. Williams (Fulton Manufacturing
Corp), Dec 1940,
362/206 ; 200/567; 200/60; 340/321;
362/208 - pen light 222 lamp + AA + cleaver switch
2236384 Flashlight, Arthur Samuels, Mar 25 1941,
362/194 362/189
43/17 - a minimalist cap holds Mazda lamp and one terminal
is made be pressing between zinc and cardboard
D108202 Flashlight Case, Albert Gelardin, Feb 1, 1938,
D26/49
- penlight case
2249689
Flashligh, Albert Gelardin Jul 15 1941,
362/203 ; 362/208
- spring holds 112 lamp away from battery until tail cap is turned
in
2249690
Flashlight, Albert Gelardin, Jul 15 1941,
362/203 ;
362/208; 43/17.5 - translucid lens cap, works with three different
styles of bulb
References:
2059977 Portable Lamp
Construction, R.G. Williams (Usona Mfg Co
2249691
Flashlight, Albert Gelardin, Jul 15 1941,
362/206 ;
200/60; 362/186; 362/208 - pleasing appearance single cell 112
lamp penlight D____
2251561 Circuit Closer for Flashlights, O. T. Wood (Blake Mfg),
Aug 5 1941, 200/60 ; 362/203; D26/49 - three mode pen light switch
at base end
2256641 Rotary Switch, Giles C. Fullmer (Bridgeport Metal Goods
Mfg Co), Sep 23 1941,
200/60 ; 200/4; 362/206 -
2261536 Flashlight, O. T. Wood (Blake Mfg), Nov 4 1941, 362/191 ;
200/60; 362/205; D26/49 - Pen light, switch works my moving the
lamp assy back and forth
2277866 Hand Operated Electric Light Signal Device, Aaron D. Le
Sage, Mar 1942,
340/321 ; 200/60; 362/196 - pen light
clips to finger of left hand for automobile turn signaling
2312305 Flashlight, F. J. Berlinger, Mar 2 1943,
362/191 ;
362/206; 429/97 - 222 lamp at top end
2373306 Flashlight, Joseph A. Gits, Apr 10 1945,
362/203 ;
340/321; D26/49 - refractive index of plastic housing matches
glass & has ribs to radiate light single wire/spring circuit
controlled by screwing cap in or out
2323960 Combined Cigarette Lighter, Flashlight and Writing
Instrument, Benicno Zeno, Jul 13, 1943,
362/205 ; 362/118 -
no
references
2385640 Flashlight, C.S. Packer (Justrite Mfg Co), Sep 25 1945,
362/191
- switch & belt clip (? size)
2389591
Color Illuminator for Flashlights, LeRoy O. Brown (Justrite Mfg
Co) - A.F. penlight

Flashlight MS21998-1, Penlight Style Pilots, p/n 173C-C Justrite,
U.S.
light aluminum construction
2420152 Flashlight, Charles
E. Wohler (Niagara Searchlight Co), May 6, 1947,
362/191 -
penlight calls Ideal Fountain Light 1311899
2443539
Flashlight Switch, Walter R. Kopp (Olto Ind), Jun 1948,
200/60
; 362/206 - pen lite two AA + 222 lamp +small dia push button
switch knurled push and rotate to keep on
2456680 Flashlight, Harry E. Croft, Dec 21, 1948,
362/194
- minimalist approach
2483665 Pocket Flashlight, Eugene H. Phillips (Lennan Lights), Oct
4 1949,
362/203 ; 200/51.12 - penlight
apring between lamp and battery
breaks contact, button at other end moves battery stack forward
making the circuit
References:
1144201 Portable Flash Light
1734565 Circuit Continuing Device - adds a shade to bare car
instrument panel bulb - not here
1761437 Circuit Continuing Device - adds a shade to bare car
instrument panel bulb - not here
2164148 Combined Pocket Flashlight and Key Case
2312305 Flashlight, F. J. Berlinger, Mar 2 1943
2483819 Electric Flashlight, Eaymond L. Falge, Oct 4 1949,
362/158
; 362/189 - squeeze the dot throw away, has pocket clip
References:
1866600 Pocket Flash Light, F. Rauch
2104888 Electrical Connecting Device, Otto Spahr
2166864 Novelty, A. Gelardin
2234972 Flashlight, Zennan
2262040 Illuminated Panel Battery Lamp, Van Dyne Pell
2387144 Electric Flashlight, William H. Gey
2483820 Electric Flashlight, Eaymond L. Falge, Oct 4 1949,
362/189
- single cell and prefocused lamp in tube, deform wall to make
contact to lamp base
References:
1700768 Flashlight, J.H. Kuechenmeister
1866600 Pocket Flash Light, F. Rauch
1922801 Battery Hand Lamp, C.A. Gillingham
2166864 Novelty, A. Gelardin
2262040 Illuminated Panel Battery Lamp, Van Dyne Pell
2387144 Electric Flashlight, William H. Gey
2484154 Illuminated Fountain Pen, John J. Devine, Oct 11, 1949,
362/118
-
References:
1335644 Portable Electric Light
1509719 Fountain Pen and Electric Light
1537806 Fountain Pen
1878431 Illuminated Pencil
1987158 Fountain Pen
2491686 Pen Shaped Pocket Flashlight, Jerome Nathan (Bantum-Lite
Inc), Dec 20 1949,
362/191 -
2516180 Finger Ring with Flashlight Attachment, Meyer M. Brown,
Jul 25 1950,
224/217 ; 200/293.1; 200/DIG.2; D11/2- small
cylindrical battery, switch & lamp
References:
914975 Portable Electric Light, GUY R. RADLEY, Mar 9 1909,
362/310
; 200/DIG.2; 340/321; 362/103; 362/187 -
battery in shoulder holster lamp
on thumb for reading book
918181 Electric Flash -Light Attachment, F. Meadows (H.B.
Cornwell), Apr 13 1909
1199710 Signaling Device, Wilhelmina J. Newton (Ethel Allen),
Sep 26 1916,
340/321 ; 116/35R; 200/DIG.2; 340/815.74;
362/103 - for numbers 1 to 5
1519266 Signal Lamp, Roebling, Dec 16 1924,
340/321 ;
191/12.2R; 200/502; 200/DIG.2; 362/387 - car turn signal by hand
1623002 Lamp Supporting Collar, Gossett, Mar 29 1927
2561532 Flashlight, B. Muir, July 24, 1951,
References:
1200366 Battery Lamp
1712996 Incandescent Lamp
1906188 Incandescent Lamp
1981544 Flash Light Device
1988961 Flash Light Device
2255516 Electrical Flash Light
2387144 Electric Flashlight, William H. Gey
2570838 PEN-SHAPED
POCKET FLASHLIGHT, Nathan (Bantam_Lite, Oct 9 1951,
362/191
; 200/567; 200/60; 362/205; D26/47 -
streamlined, art deco, rotary ring
switch
References:
1144201 Portable Flash Light, H.H. & H.T. Hipwell, Jun 22
1915,
362/203 - penlight
2020352 Switch, A. Bolduc, Nov 12 1935,
2226353 Flashlight, O. T. Wood (Blake Mfg), Dec 24, 1940
2312305 Flashlight, F. J. Berlinger, Mar 2 1943
2461118
FLASHLIGHT
TORCH, Joshua Gordon Lippincott (Guth Stearn & Co),
Feb 8 1949
2491686 Pen Shaped Pocket Flashlight, Jerome Nathan (Bantum-Lite
Inc), Dec 20 1949
2600418 Flashlight comprising Permanently Assembled Lamp, Cell,
Housing, and Switch Structure, F.H. Muller, Jun 17 1952,
362/194
313/315 315/55 - AA?AAA based
References:
1200366 Battery Lamp
1981544 Flash Light Device
2387144 Electric Flashlight, William H. Gey
2607883 Flashlight for use in a Combined Flashlight, Sidney
Berkowitz, Aug 1952,
362/118 ; 362/109; D26/38 -
References:
1182965 Flash Light
1466779 Combined Cigar Lighter and Flashlight
1824449 Cane
1838306 Flash Light
1839066 Device for securing fountain pens in pockets
0 not here
1890841 Knife and Flashlight
1970611 Clip - for holding pen in pocket - not here
2008070 Light Attachment for Pens and Pencils
2277866 Hand Operated Electric Light Signal Device
2323960 Combined Cigarette Lighter, Flashlight and
Writing Instrument
2386255 Flashlight
2484154 Illuminated Fountain Pen
2629043 Illuminated Message Case, J. F. HOLTJE, Feb 17 1953,
362/99
; 281/6; 362/97; 40/904 -
References:
638479 Electric Advertizing Device, JOSIAH SCOTT, Dec 5 1899,
40/427
; 313/325; 40/446; 40/564- battery powered lamps in light box
for store window
1279820 Illuminated Note Pad, Brassard, Sep 24 1918
1320537 Portable Illuminated Sketchng or Writing Service,
Dimond, Nov 4 1919
1546747 Carbon Paper and Method of Making same,
2011348 Antistatic Thin sheeting,
2068268 Transfer Compositions and the printing of same
2313810
COPYING
AND RECORDING MEDIUM
2357948
TRANSFER
SHEET AND INK THEREFOR
2406658
COATINGS FOB CELLULOSE ACETATE PLASTICS
2508725
TRANSFER
MEDIUM
2632094 Flashlight having a Sealed Flexible Casing, Robert. G.
Akerley, Mar 17 1953,
362/189 ; 200/60 -
References:
1590541 Automatic Contact Device for use in Pocket Lamps
2235714 Flashlight, William M. Lennan
2387144 Electric Flashlight, William H. Gey
2483819 Electric Flashlight, Eaymond L. Falge
2483820 Electric Flashlight, Eaymond L. Falge
2694772 Flashlight with Hermetically Sealed Casing, Albert
Gelardin, Nov 16 1954,
362/189 ; 429/48; 446/337; 446/485
- helps preserve water in AAA size lights
2705279 Portable Self-contained Flashlight, Berlinger, Mar 29
1955,
362/197 - penlight with lamp at end of gooseneck
References:
1145586 Electric Attachment for Ophthalmoscopes, Harry G. Herold
(General Optical Co)
1232824 Portable Flashlight, Joseph L. Mayhew, Jul 10 1917, 362/202
; 200/60; 600/249 - gooseneck
2312305 Flashlight, F. J. Berlinger, Mar 2 1943
2712058 Pen Light or the like with Adjustable Head, Grebey, Jun 28
1955,
362/199 - rotatable to an angle head rack and gear
2729740 Hermetically Sealed Falshlight, Jerome I. Davis (P.R.
Mallory Corp), Jan 3 1956,
362/158 ; 200/60; 362/189;
362/205 - probably a Mercury battery design
2790893 Portable Electric Light, Arnold W. Lane (GE), Apr 1957,
362/194
; 362/189; 429/119; 429/219- tiny battery made with washer shaped
electrodes surrounding lamp
2818499
Flashlight Construction, William C. Moore (Welch Allyn), Dec 1957,
362/191 ; 362/206 - pen light two AA 222 lamp patent side
mounted button switch
2931894 Flashlight, Anton Brnehl, Apr 5, 1960,
362/194 D26/49
-
References:
2255516 Electrical Flash Light
2402375 Sealed Beam Flashlight Lamp
2561532 Flashlight
2600418 Flashlight comprising Permanently Assembled
Lamp, Cell, Housing, and Switch Structure, F.H. Muller, Jun 17
1952
2826681 Multicell Battery
2937266 Flashlight, D.C. Munro. May 17, 1960,
362/191 ;
200/60; 362/205; D26/49, -
3287547 Illuminated Tweezer, Albert W. Spedding, Nov 22 1966,
362/119
; 294/99.2; 606/133; 606/211; 968/666 - blades anchored in
translucent plastic lamp cap (112)
References:
1144210 Tool, Robert Kincaid, Jun 22 1915
2171304 Flashlight, Albert Gelardin, Aug 29 1939
2376448 Tweezer Impliment and the Like, Edwin A. Neugass, May 22
1945,
606/211 ; 294/99.2; 362/120; 362/572; 362/577;
40/546; D24/143; D28/55; D7/686 -
multiple combinations pocket
clip, magnifying glass, light
2666843 Illuminated Tweezers, Samuel George Zuckerman, Jan 19
1954,
362/120 ; 294/99.2; 606/211; D24/143 -
2885537 Illuminated Surgical and Dental Instruments, Wood, May 5
1959,
362/119 ; 30/329; 362/139; 362/572; 362/573;
433/29; 600/241; 600/248 -
3351723 Pocket Flashlight having Clip and Switch, Ming (Sonca HK),
Nov 7 1967,
200/60 ; 362/190 - improved pwnlight
clip/switch
3384742 Ballpoint Penlight, May 21 1968, 362/118
3459907 Flashlight Switch, Edward J. Garland (ESB Inc), Aug 5 1969
200/60 ; 200/291; 200/563-
3532875 Penlight Closure, Keller(Justrite Mfg Co), Oct 6 1970,
362/208
; 362/203 - similar to 2389591 above
References:
2313356 Flashlight Attachment, Fred M. New, Mar 9 1943, 362/280
; 362/202 - blackout dim filter
2385640 Flashlight, C.S. Packer (Justrite Mfg Co)
2389591 Color Illuminator for Flashlights, LeRoy O. Brown
(Justrite Mfg Co) my penlite
2751490 Flashlight, David E. Emerson, Jun 19 1956, 362/208
; 340/321; 362/343 - color filter can be moved in front of lamp
3604917
Ball Point Pen Light
3742207 Throw-away Flashlight, Howard J. Strauss (Gould Inc), Jun
1973,
362/206, - pen light two AA 222 simple switch
D229854 Flashlight, Harold F. Bajusz (Accutec, Jan 8 1974,
D26/49
-
References:
2134857 Hand Lamp Switch, Charles F. Burgess (Burgess Batt Co)
2385640 Flashlight, C.S. Packer (Justrite Mfg Co), Sep 25 1945
2389591 Color Illuminator for Flashlights, LeRoy O. Brown
(Justrite Mfg Co)
2420152 Flashlight, Charles E. Wohler, May 6, 1947
2607883 Flashlight for use in a Combined Flashlight, Sidney
Berkowitz, Aug 1952
2937266 Flashlight, D.C. Munro. May 17, 1960
3351723 Pocket Flashlight having Clip and Switch, Ming (Sonca
HK), Nov 7 1967
2114266 Combined Flashlight and Key Ring, Louis Bodor, Apr 12
1938, 362/116 ; 24/3.6; 40/634; 70/456R; 70/457; D26/38
-
2605745 Fountain Pen with Protractable and Retractable Point, K.
Weisser (David Kahn Inc, N. Bergen NJ), Aug 5, 1952, 401/112
; D19/51 - Codebreakers?
3045111 Ball-Point Pen-Light, Sidney J. Hoenig, Jul 17 1962, 362/579
; 362/118; 401/195; D19/36; D26/51 -
3292592 Writing Instrument - mechanical pencil
3902058 Pocket Flash Light, Naylor et al., Aug 1975,
362/204
- pen light
4016414 Writing Device Incorporation Illuminating means, Scott M.
Browning, Apr 5, 1977, 240/646; 401/192 -
4559588 Penlight and method for assembling same, Steven N.
Engelson, Dec 17, 1985, 362/196; 362/189; 362/202; 362/205;
362/206; 362/295; 200/60
Plastic body opens at one seam
parallel to long axis - minimalist
References:
4577263
Minature Flashlight, Anthony Maglica, Mar 18, 1986, 362/187;
362/205; 362/197 - Bi-pin
4631646 Discardable Flashlight, Hans Spindler (Trautz & Co),
Dec 23, 1986, 362/118; 362/189; 362/196; 362/201
Two AA and 222 lamp, batteries are
tilted when new and a plug in the side of the case pushes them
into line, turning on the light
4658336
Minature Flashlight, Anthony Maglica ( Mag Instruments), Apr 14,
1987, 362/197; 362/203; 362/205; 362/187 - Bi-pin
4725932
Minature Flashlight, Richard J. Gammache, Feb 16, 1988, 362/202;
362/205; 362/188 - two AA light using PR type lamp
4737894
Integral
ball point pen and light, Yilmaz Kuch, Apr 12, 1988, 362/118
-
D282686 Penlight, John S. Yuen (John Manufacturing Ltd), Feb 18,
1986, D26 49; D19 48 -
References:
2491686
Pen Shaped Pocket Flashlight, Jerome Nathan (Bantum-Lite Inc)
3351723,
Pocket Flashlight having Clip and Switch Construction, Yip Ming,
Nov 7 1967,
200/60 ; 362/190
Called By:
| D306775 |
Lighter
or the like |
Mar 20, 1990 |
| D311550 |
Marking
pen |
Oct 23, 1990 |
| D357276 |
Ink
stylus pen |
Apr 11, 1995 |
| D395672 |
Ink
stylus pen |
Jun 30, 1998 |
| D443838 |
Holder
for a temperature indicator |
Jun 19, 2001 |
4768138 Flashlight, Norbert Leopoldi (Cloverline, Inc), Aug 30,
1988, 362/189; 362/202; 362/205 -squeeze on
4864474
Single Cell Flashlight, Anthony Maglica (not assigned), Mar 18,
1986, 362/187; 362/205; 362/197 - bi-pin lamp
4658336, 4577263 Maglight
4888670
Micro-flashlight,
Raymond L. Sharrah, (Streamlight Inc), Dec 19, 1989, 362/205;
362/187; 362/202 -
switch between head and
body. body ony has one open end
4969068 Device for Writing in the Dark, Dean C. Williams, Nov 6,
1990, 362/99; 206/472 - micro min lamp powered by batt.
References:
1166930 Telescopic Combined Portable Flash-Light and
Writing-Pad, Petrie
1202498 Illuminated Blank Book,
Findley
1279820 Illuminated Note Pad, Brassard
1320537 Portable Illuminated Sketchng or Writing Service, Dimond
1985335 Combined Pad Holder and Illuminating Means Therefore,
Bloss
2054459 Manuscript Manipulator, D.W. Burt
2068813 Combined Cigarette and Vanity Case, Willis R. Morey
(Vanilite Products Inc)
2199311 Day and Night Map
2629043 Illuminated Message Case, J. F. HOLTJE
3321616 Illuminated Sketch and Memo Borad, Ronald E. Adler
4184194 Self-energized portable high density light display unit,
Koichi Shofu
battery and inverter power
supply drive fluorescent lamps
4266164 Electroluminescent backing sheet for reading and writing
in the dark
5070438 Pen Size Flashlight, Francis G. Marshall (Bridgeport Metal
Goods ), Dec 3, 1991 - 2 x AAA & 222
5275497 Writing Instrument with Light Assembly, Shoei-Shuh Shiau,
Taiwan, Jan 4, 1994, 401/195; 362/118 -
D358842
Writing
instrument with light assembly, Shoei-Shuh Shiau, May 30,
1995, D19 36; D19 48; D19 51; D19 56; D26 38 -
5673996 Pen with LED Indicator, Douglas W. Ducker, Oct 7, 1997,
362/118; 362/293; 362/800 - LED in upper part of pen for
advertizing, not for illumination
5730539
Combination
writing implement and flashlight, Paul R. Chabria
(Press-A-Lite Corp), Mar 24, 1998, 401/195; 362/118 -
D94163 Portable Flash Light, A.C. Recker (Chase Co), Dec 25 1934,
D26/49- Pen Light with Button on end
6164856 Pen with self contained illumination, Peter Lo (Excel
Scientech), Dec 26, 2000, 401/52; 401/195; 362/118 - advertizing
and an ad
6547415 Clip type atachment systems, John Wallace Matthews
(Surefire), Apr 15, 2003,
362/191 ; 24/11P; 24/11R
Neuralizer (Wiki)
The Nuralizer best fits the penlight category. It's designed
to be carried in a shirt or coat pocket and comes with a clip to
hold it in place just like other pen lights, although it's a
little larger than a standard pen light.
YouTube
 |

|
Neuralizer in open position
and eye protection
|
Neuralizer in closed
position
|
The Neuralizer has the ability to erase the memory of anyone who
can see it's light unless you are wearing eye protection
specifically made to stop the rays. You don't think they
call them Ray Ban for no reason. The first public
information on this technology was in the great Albert Finny movie
Looker.
Back
in 1981 the Neuralizer was much larger, more like a pistol.
But by 1997 you can see in the Movie
Men In Black
that it's the size shown above. The technology did not
improve and the 2002 version seen in
Men in Black II
is the same size.
I think my wife has found where I hide this one because often
there's something I should remember but don't.
See my web page on the
Digital-Retro-Turbo-Encabulator
for a similar technology.
Generator Flashlights
Mechanically
powered flashlight (Wiki).
The idea of the Shake Light is also used as a general purpose
way of generating electricity or sensing vibration. For
example energy harvesting (Wiki).
Philips
squeeze cats (W.W. II)
These show up in patent class 362/192.
I can subdivide 192 into the following classes:
192.1 No Energy Storage - when you stop supplying mechanical power
the light stops.
192.2 Energy storage of specified type
192.3 spring
192.4 capacitor
192.5 Battery
192.6 Gravity

The
Flashlight Museum web page shows both UNE and Viva Solar brand
names, but they look like identical construction except for the
plastic color. Bulb is marked 2.5 V 0.15 Amp (i.e. a feeble
3/8 Watts). No storage, you get light only when you pump the
handle. A slide switch on top slides the bulb front to back
for spot or area beam.
The Flashlight Museum lists the following brand names:
Collins, Campbell Manufacturing Company
Misc/Unknown
Ivar-Lite
Philips (Holland), Misc/Unknown
Gen-A-Lite
Pygmy (French)
Genes
Dayton Acme Co.
UNE, Viva Solar, Inc., Misc/Unknown (same with round lens)
Martini Generator Flashlight.
Marked on lever: Martini, 3.8 V. 0.07A., Germany
The lens has been lost, but the light still works.
983742 ELECTBIC
HAND-LAMP, J. W. MEAD, Feb 7 1911,
362/192 ; 290/1E;
310/69; 362/112; 600/249 - generator type, pistol grip
1054872 Portable Generating Apparatus, Victor Sence, Mar 4, 1913,
362/192 ; 310/69 - squeeze generator, with battery &
lamp
1184056 Self Conatined Generating and Lighting Unit, H.R. Van
Derenter, May 23 1916,
362/192 ; 310/154.32; 310/69; 310/73
- first and second finger squeeze
1186422 Electric Flash-light, JOHN C. MORGAN, Jun 6, 1916,
362/192
; 310/69; 310/77 - generator
1209932 Hand Generator, P. BRADLEY, Dec 26, 1916,
310/75B
; 188/184; 362/192; 74/131- generator
1285243 Electric Pocket Lamp, Kuhn-Frei, Nov 19 1918,
310/75A
; 362/192; 74/142 - generator FL
1303068 Pocket Lamp Generator, Oskar Junghans, May 6, 1919,
310/75R
; 310/75B; 362/192; 74/133- generator FL
1333119 Hand Generator, Krag-Muller, Mar 9 1920,
310/75R ;
310/156.68; 362/192 - generator FL
1367781
Electric pocket-lamp,
Junghans
Joskar, 1921-02-08, - 3-pole armature (similar to the
Gilbert motor),
DC magnet field
1368700 Portable Electric Lamp, WITT C. CONKLING (Pioneer
engineering), Feb 15 1921,
362/192 ; 188/185; 290/1E;
310/69 - cylindrical generator
1380180 Magneto Pocket Lamp, Georges Maxime Beattot, May 31, 1921,
310/153 ; 310/69; 310/70R; 362/192 - palm squeeze Generator
FL
1399598 Flashlight Generator, Anderson, Dec 6 1921,
362/192
; 310/69 - generator
1411613 Flash Light, F Evans (L.V. Aranson), Apr 4 1922,
362/192
; 310/69 - generator
1411614 Flash Light, F Evans (L.V. Aranson), Apr 4 1922,
362/192
; 310/69 - generator
1411615 Flash Light, F Evans (L.V. Aranson), Apr 4 1922,
362/192
; 310/73; 310/75B; 74/130 - Generator powered Pocket Flash Light
1411616 Flash Light, F Evans (L.V. Aranson), Apr 4 1922,
362/192
; 310/73; 310/75B; 74/130 - Generator powered Pocket Flash Light
1411617 Flash Light, F Evans (L.V. Aranson), Apr 4 1922,
362/192
; 310/73; 310/75B; 74/130 - Generator powered Pocket Flash Light
1436798 Flashlight, Fred Evans (Louis Aronson ?Art Metal)
Nov 28, 1922,
310/152 ; 362/192 - generator
1471682 Portable Electric Lantern, Carter B. Burnet (W.W.
Slaymaker),
362/192 - Jack-O-Lite "Crank" pg 7 FCN#39
1472335 Magneto Flash Light, A. Luzy, Oct 30 1923,
362/192
; 185/29; 185/40B - working a lever up-down compresses a spring
that, when released, drives a generator.
1487502 Magneto Flash Lamp, J.J. Wood (GE), Mar 18 1924,
362/192
- built-in generator
1489431 Flashlight, Charles A. Drouillat, Apr 8 1924,
310/50
; 362/192 - genereator type
1507768 Portable Electric Light, B. Collins, Sep 9 1924,
362/192
; 200/60; 310/156.42; 310/268- electric generator inside
Use # 49 lamp and grind off
metal tips and make grooves.
1512467 Flash Light, G I. Johnson, Oct 21 1924,
362/192 ;
310/69 - lever operated generator
1512468 Flash Light, G I. Johnson, Oct 21 1924,
362/192 ;
310/50 -
D62329 Flash Light, Gustaf I.
Johnson, May 8, 1923, D26/49 -
D63402 A Lever for Flash Lights, Gustaf I. Johnson, Dec 4 1923,
D26/113 ; D8/DIG.2 - goes with D62329
1538992 Flash Light and Recharging Device, Hopkins (National
Carbon Co), May 26 1925,
362/183 ; 320/115; 429/82 -
1576983 Electric Flash Light, Joseph Masked, Mar 16, 1926,
362/192
1615624
Magneto-electric pocket lamp, Haggi Ida, Ardeat A G, 1927-01-25, -
bar with teeth, similar to a
blasting machine works gears to
drive generator
1624686 Flash Light, R.J. Smith, Apr 12 1927,
362/192 -
Bat-Les Lite Corp - spring wound generator with speed/brightness
control screw base bulb
1655601 Spring Driven Generator Electric Lamp, Fisher, Jan
10 1928,
362/192 - generator
1672797 Flash Light, Rene Amat & Willard Blake, Jun 5 1928,
362/192-
generator
1678496 Electromechanical Lamp, Charles BernasconiI, Jul 24, 1923,
362/192 ; 264/278; 264/294 - palm size
1769426 Lamp Construction, Harry C. Foster (Indiana Lamp Corp),
Jul 1, 1930
362/548 - car, easy to replace lamp
1775166 Flash Light, G. I. JOHNSON, Sep 9 1930,
362/192 -
lever enerator
1853188 Mechanical Motion Device, G. R. Wood (Dayton Scale Co),
Apr 12, 1932,
74/405 - ? FL or ?
1956339 Electromechanical Lamp, Charles BernasconiI, Apr 24 1934,
362/192 -
2035812 Electric Hand Lamp, Otto Janzen, Mar 31, 1936
362/192
- Generator
2092845
Flashlight, William L Holmes (Washington Institute of Technology),
Sep 14 1937,
362/192 ; 310/156.22; 310/69 - generator
2105719 Portable
Electric Light, Cap B. Collins, Jan 18 1938,
310/75A ;
188/184; 290/1E; 310/50; 310/73; 322/30; 362/192- generator
2277897
Batteryless flashlight, George W Alexander, 1942-03-31, -
rectangular package, clock spring and gear train to generator
2232605 Flashlight, William I. Holmes, Feb 18 1941,
362/192
; 188/184; 310/75A- spring powered generator - cylindrical package
2261073
Batteryless photoflash lamp flasher, Painter John Roy, 1941-10-28,
- photographic flash lamp
2424700 Generator Light, Marl McMath (Dayton Acme Co), Jul 29
1947,
362/192 ; 310/75B - rectangular
2447296 Mechanical Flashlight, Alexander C. Watt (P.R. Mallory
& Co), Aug 17, 1948,
362/192 ; 307/149; 310/75B;
315/218; 315/233; 322/1 - generator type
2490309 Flashlight, Lincoln D. Lehman (T.T. Grave & O.G.
Larson), Dec 6 1949,
362/192 ; 185/39; 322/38 - generator
type
2535041 Batteryless Flashlight, Joseph C. Clark (Jeny Corp), Dec
1950,
310/75B ; 362/192; 74/31 - thumb power?
3099402
Flashlight, Speck Josef, 1963-07-30, -
3129347
Magneto-electric motion detecting transducer, Tognola Tullio,
Bendix Corp, 1964-04-14, - instead of springs magnets are used to
keep moving magnet centered.
4315301
Generator flashlight, Carlos L. Jimena, 1982-02-09, -
4701835
Multimode flashlight, Carl J. Campagnuolo, Asaf A. Benderly, Army,
1987-10-20, - cylindrical case, hand crank, rechargeable battery.
4709176 Magnetic Battery, William E. Ridley, George Spector, Nov
24, 1987, 310/15; 310/30 - shake type for use in flashlight
5072347 Search light, Robert
L. Brunson (Peak
Beam Systems), Dec 10, 1991,
362/194,
362/187,
362/261,
362/286,
362/306,
200/60 - 12 Million candlepower arc
lamp searchlights.
5347186 Linear motion electric power generator, Konotchick,
September 1994 -
5552973
Flashlight with self-provided power supply means, Chih-Hsien Hsu,
1996-09-03, - pull string out of tail spins generator
5818132
Linear motion electric power generator, John A. Konotchick,
1998-10-06, - various configurations of coils and magnets
5839817
Dynamo-powered torch, Ming-Chih Wei, 1998-11-24, - cylindrical
case, tailcap winds spring
5975714
Renewable energy flashlight, Steven Robert Vetorino, James Victor
Platt, Douglass Anderson Springer (Applied Innovative Tech), Nov
2, 1999
362/192; 362/205 - Shake Flashlight, coil
springs fixed at each end of magnet travel, no battery, just cap
for energy storage
6220719 Renewable energy flashlight, Steven Robert
Vetorino, James Victor Platt, Douglass Anderson Springer (Applied
Innovative Tech), Apr 24, 2001
362/192; 362/205 - magnets at each
end of traver repel moving magnet, no coil springs
6729744
Faraday Flashlight, Pat Y. Mah, May 4, 2004, 362/192; 362/202 -
Shake Light?
Reference with problem:
5008575,
April 1994, Maglica
5008785 Rechargeable miniature flashlight, Anthony Maglica,
Ralph E. Johnson, Armis L. Lewis (Mag Instrument), Apr 16, 1991,
362/183; 362/190; 362/204; 320/2
This is not a generator, just has a recharging jack. Here
because of the error in patent 6729744
6768230
Multiple magnet transducer, Jeffrey T. Cheung, Hao Xin, Rockwell
Scientific, 2004-07-27, - multiple magnets in ferrofluid
6994450
Faraday
flashlight, Pat Y. Mah (Daka Research), Feb 7, 2006, 362/192
- combined coil spring & elastic rebound stop
7229188
Faraday
flashlight, Pat Y. Mah (Daka Research), Jun 12, 2007,
362/192 - combined coil spring & elastic rebound stop
7232238 Renewable energy flashlight, Jon Darin Long, Qian Tianming
(RSGA International), Jun 19, 2007, 362/192; 362/157 - uses a
elestac rebound stop at each end of travel

|
SD-2273 Pull String
Generator Flashlight
This is a made in China Pull String Flashlight that has an
internal rechargable battery. On the head is pot for
turning off the light and controlling the brightness of
the 3 LEDs. No obivious way to open it up.
|
Shake Flashlight (Fake)
These are advertized as not needing batteries, but that's really
not the case. Shake = Fake in this case, the S015.
If you know of a "shake" flashlight that actually works,
let me know.
In
the lower right corner of the box is a battery symbol with
a "X" across it.
Click on the image at left to see a larger version.
|
This
new
flashlight
is
"on"
even
though
it's
sitting
still
to
have
it's
photo
taken.
It
must
have
some
internal
energy
storage method.
|
You
can see the two CR2032 Lithium coin batteries on the
bottom side below the switch.
Note the CR2032 (Energizer
data sheet) is a Primary LiMnO2
battery, i.e. the same chemistry as the common CR123 photo
battery, i.e. it is NOT a rechargable battery chemistry.
The moving metal part has NO magnetic properties, i.e. it
is NOT a magnet.
|
You
can
see
that
both
wires
from
the
coil
are
NOT
connected
to
anything,
i.e.
the
whole
"shake"
generator
is
bogus.
It seems strange that they would put a dot of paint on the
fake magnet.
Note the button cell batteries!
|
5975714
Renewable energy flashlight, Steven Robert Vetorino, James Victor
Platt, Douglass Anderson Springer,
Applied Innovative Technologies Inc,
1999-11-02
6220719
Renewable energy flashlight, Steven Robert Vetorino, James
Victor Platt, Douglass Anderson Springer, Applied Innovative Technologies Inc, 2001-04-24, -
YouTube: Products That Got Discontinued For
Solving The Problem, 12:05 - @2:04
Forever Flashlight
6893141
Faraday Flashlight, May 17, 2005, 362/192; 362/205; 362/194 -
looks very similar to this flashlight, except has what might be a
functional circuit diagram
6936937
Linear electric generator having an improved magnet and coil
structure, and Method of Manufacture, Aug 30 2005,
310/12.12
; 310/13; 310/15; 310/17; 310/23; 310/24; 310/30; 310/34
7232238
Renewable energy flashlight, Jun 19, 2007 -
NightStar RS Shake Flashlight (works)
 |
This is a working shake
flashlight, unlike the first one (above) that was a fake.
Uses a 1.0 Farad 5.5 Volt super capacitor to store the
energy. Instead of using rubber bunpers like in the
fake light above, this one uses small disk magnets to
restrain the moving magnet. As received it was dead
and it took a few minutes to get it going. The LED
has both a parabolic reflector and a lens, like many of
the early flash lights. The light is not that bright
but it is usefull. The RS model is completly sealed
to make it water proof (even can be submerged). The
switch uses a reed switch on the inside and a magnet in
the knob on the outside so there's no hole needed.
|
Ready Light
These are made by Mayday Industries,
their SKU:
11013 (was: L77HS-M) "Batteries come fully charged and
will give hours of use."
When switched to ON the two 5mm LED light up. When
switched off and the handle is pumped the LEDs flicker (and
hopefully the internal battery is being charged).
Gravity Powered Light
Deciwatt -
generator powered by weight with variable gear ratio, DC output
terminals for external light, phone charging or Steripen UV water
purifier.
20120212948
Gravity-powered electrical
energy generators, Martin
Philip Riddiford (Therefore
Limited), Aug 23, 2012, 362/184, 74/640, 74/325, 475/331 - many innovative features
uses
high volume production DC motor as generator, provision to use
multiple units where when one runs down it starts adjacent
unit.
Projection Pointers
Also See Optics/Collimators
These are collimators
with a reticle that gets projected. These were used in the
same way as laser pointers (Wiki)
today. But unlike the red laser pointer that's impossible
to see in a video of a lecture, the flashlight pointers can be
seen.
1360575
Seat Indicator Attachment for Flashlights, PERES A. PINTO, Nov
30 1920, 40/555 ; 340/321; 3621360477 Portable Electric
Light, Charles Wachtel (Interstate Novelty Co), Nov 30 1920, 362/205
; 200/60 - projects a spot of light to show where the seat is
1992776
Toy
projector, Louis
J Schindler, Schindler
Stamping & Toy Co, Feb 26, 1935, 353/43, 353/88, 40/474 - lamp - slide -
objective
2048365
Amusement
device, Agate
Cecil C, Einson
Morris M, Einson
Freeman Co Inc, Jul 21, 1936, 353/43, 229/103, 353/119 - an addition to
flashlight that works like hand shadows.
2357542
Optical
projection pointer, Melvin
P Pfeil, Sep 5, 1944, 353/42, 362/109,
362/268
2543113
Film projector and viewer,
Leavitt
Harry C, Feb 27, 1951, 353/79, 353/122, 353/74 - by using double lens
condenser can use low wattage lamp
2764058
Portable
combined photographic slide viewing and projecting device, Ellis
Charles A, American
Optical Corp, Sep 25, 1956, 353/43, 362/268
3078761 Flashlight having projection
pointer, Zorn
Werner, Feb 26, 1963, 353/42, 353/43,
362/205
3183773 Projection pointer, Alex
J Weinstein, Ednalite
Corp, May 18, 1965, See Optics\Ednalite
Projection Pointer
3401596 Projection apparatus, Jeffery
G Hirsch, Sep 17, 1968, 353/43, 362/205,
362/806, 362/310 - just a mask over end of
flashlight, no optics. not a projector.
5233375
Logo
projector, Charles
A. Williams, Stephen
L. Heiden, Aug 3, 1993, 353/43 -
6206524
Lensless
transparency shadowgraph, Daniel
Jacob, Mar 27, 2001, 353/43, 353/80,
353/119 - point source of light
magnifies transparency
Design Patents
Design Patents are very different
from the utility patent. A design patent relates to the look
of a product and has nothing to do with it's function.
D96833 Toy, Harry T. Hipwell, Sep 10, 1935, D21/465 -
D96834 Toy, Harry T. Hipwell, Sep 10, 1935, D21/465 -
twisted metal parts to be assembled while looking in mirror
2138764 Game, Harry T. Hipwell
(Wolverine Supply and Mfg), Nov 29, 1938 - rolling ball game, not
twisted wires
D174289 Portable Hand Lantern, Charles S. Packer (Justrite), Mar 22,
1955 - three lantern batteries side by side
D198275 Signal Lamp, Donald E. Sweet (Electronic Engineering Company
of California), May 26 1964, D10/114 - Baricade Flasher
References:
2074536 Portable Electric Lamp Casing, Le Roy O. Brown (Justrite
Mfg), Mar 23 1937, 362/205 ; 200/60; 429/150; D26/48 -
D137296, Flashlight, Charles S Packer (Justrite), Feb 15, 1944, D26/37
; 362/197 - side by side batteries angles head
D199038 Lantern, Nicholl, (Nicholl Bros), Sep 1964, D26/48 -
D235575 Flashlight, Robert E. Brindley (Union Carbide), Jun 24 1975,
D26/49 - Eveready 3554, 3553
References:
D208368
RECHARGEABLE
FLASHLIGHT, Bert Brooks (H.J. Ashe), Aug 22 1967,
D26/49
- Ice cream cone shape
3539800
FLASHLIGHT
WITH MAGNETIC SUPPORT, Doring (Union Carbide), Nov 10 1970,
362/191 ; 248/682; 362/205; D26/49 -
879640 Campaign Cane, C. HOCKENBERRY, Feb 18 1908
D530439 Flashlight,
Mag Instrument
D293027 Flashlight
(Black & Decker)
D293482 Flashlight,
(OSRAM Gesellschaft mit beschrankter Haftung)
D303578 Miniature
flashlight
D310425 Flashlight
Streamlight
D307488 Flashlight
Streamlight
D233908 FLASHLIGHT,
Robert E. Brindley, Dec 10 1974, D26/37 - streamlined angle
head
References:
1651451
Battery Light, L.B. Fish (AT&T), Dec 6 1927,
362/190 ;
362/197 - metal, 2 "D" cells, joint between head and battery tube,
no base compartment, angle head, belt clip & hanging ring on
head
879640 Campaign Cane, C. HOCKENBERRY, Feb 18 1908,
362/102
; 135/66; 135/910; 200/60; 362/124; 40/540; 43/17; 446/268;
446/485; D26/38 -
Walking cane with transparent head
that can be illuminated
D137264 Flashlight, Joshua Gordon Lippincott (Guth & Stern
Co), Feb 8 1944,
D26/37 ; 362/202 - streamlined angle head
switch on back of curved part of head
3264464
FLASHLIGHT
AND SWITCH THEREFOR, Jules P.
Gits, Aug 2 1966,
362/197 ; 200/547; 200/60; 362/204 -
angle head w/ belt clip
References:
1902590 Electric Flash Light, Shannon (French Battery Co [Owned
Blake on issue date]), Mar 21 1933
1968090
ELECTRIC
SWITCH, Bernard F. Muldoon (H Hyman), Jul 31, 1934,
200/60
- 5 eyelet attachment has flash button, yet can not be
accidently pressed
2226353 Flashlight, O. T. Wood (Blake Mfg), Dec 24, 1940,
362/204 ; 200/60; 362/207 - molded Vulcanite non conduction case
2540471 Flashlight with Testing Attachment, Benjamin F. Borsody,
Feb 6 1951,
324/506 ; 362/183 - neon lamp seperate from
continuity test
2599253 Angular Head Flashlight Casing including a readily
attachable lamp contact means, Joseph A Gits, Jun 3 1952
2824953
PHOTOGRAPHIC
FLASH UNIT
D199264 RECHARGEABLE
FLASHLIGHT, William H. Doring (Union Carbide), Sep 29
1964, D26/46 -
D327954 Pocketbook Lamp, Dawn Lawrence, Jul 14, 1992, D26 37; D26 49
- penlight window on side & Velcro
References:
2009952 Flash Light, Marie L. Beaumont, Jul 30 1935
2465029 Luggage Illuminator, William L. Meggs, Mar 22 1949,
362/155
- cylinder with lamp shining from center batteries on each end.
References:
2039205 Pocket Powder-Case, Franz Anderl (Frida Weissenbeck) Apr
28 1936
2258542 Illuminated Vanity Case, George M. Cressaty, Oct 7 1941
2299148 Flashlight, Lawrence L. Johnson, Oct 20 1942
2373390 Portable Electric Lighting Device, George R. Fuss, Apr
10, 1945
2827559 Illuminated Handbag, Hoffmann, Mar 18 1958,
362/155
-
3826910 Portable Electric Tube Light, Robert H. Davis, Jul 30
1974,
362/99 ; 362/156; 362/206 - for use on cli board or
briefcase
4091443
Multipurpose
light with mirror, Henry Ohrenstein, Sharon L. Wells, May
23, 1978,
4774638 Portable hand-held consumer device, Richard T. Caires, Sep
27, 1988
D530438
Minature Flashlight, (Mag Instrument, Inc.), Oct 17, 2006, D26/49-
Long list of flashlight patents and
references
4843526
Flashlight
with switch assembly, George T. Price, III, Jun 27, 1989,
362/187; 362/205; 362/207; 200/60 -
An adjustable focus
flashlight comprising three units: a head, a replaceable switch
unit, and a battery unit.
D149672 Flashlight, Eugene H. Phillips (Lennan Lights Inc), May 18
1948, D26/49 ; D19/48 - Art Decco Pen Light
References:
D102720 Fountain Pen, Gabriel Larsen (L.E. Waterman Co), Jan 12
1937, D19/48 ; D19/50 -
D145586 Fountain Pen, Milton Reynolds, Sep 10 1946, D19/48
; D19/43 -
1916472 Candle Flash Light, ISAAC X. FERRIS (Bridgeport Metal
Goods Mfg Co), Jul 1933, 362/190 ; 362/186; D26/40 -
Montgomery Ward Catalog No. 134 1941, page 673 pocket flashlight
B.
D65913 FLASH
LIGHT Nov 4, 1924
D163742 Casing for Electric Safety Lamp, F. L. D. BOGAERTS, Jun 26
1951, D26/24 ; D26/85
References:
1116048 Farber
2165794 WIlbur
D52237 Portable Electric Lantern, William Grether, Jul 30 1918, D26/50
D53240 Portable Electric Lantern, William Grether, Apr 29 1919,
D26/50
D51175 Portable Electric Lantern, William Grether, Aug 21, 1917, D26/50
D52391 Portable Electric Lantern, William Grether, Sep 10 1918,
D26/50
D186991 Combined Lapel Broach and Flashlight, Albert Gelardin,
Jan 1960,D11/2 ; D11/129; D11/53; D21/638; D26/39 - Santa
Claus
References:
D144086 Lapel Ornament or Similar, Carl Wandt, Mar 5 1946, D11/53
; D11/129
D149752 Broach Pin or Similar Article, Sylvia Hobe, May 25 1948, D11/55
; D11/56; D11/74
D173842 Santa Claus Red Nose Novelty Pull Cord Flashlight, Albert
Gelardin, Jan 11 1955, D26/39 ; D11/55 Ref D168751
2374375 Illuminated Brooch, J.H. O'Donnell
D233780, Flashlight, Wilfred S. Stone, Nov 1974, D26/46 -
elipictal small squeeze light
References:
D128011 Flashlight or Similar Article, Lynn Brodton, Jul 1,
1941, D26/46 - elipictal
1457023 Automobile Hand Signaling Device
1552404 1552404 Electric Light for Hand Bags, JOHN ALLEN
1972879 Key Container, Gerhard Flintermann
2533518 Writing pparatus for Motor Vehicle Operators
2651710 Battery Operated Lamp having Anchoring means to Position
the Lamp and Hold the Switch Closed, H.G. Clark, Sep 8 1953
D153437 Hand Lamp, W.R. Kopp (Olin Ind), Apr 19, 1949, D26/46
-pez look
3111277 Portable Electric Flashlight, Leopold C. Grimsley (Henry
Hyman), Nov 19, 1963 362/197 ; D26/43 - lamp at end of
gooseneck
References:
1145586 Electric Attachment for Ophthalmoscopes, Harry G. Herold
(General Optical Co), Jul 6, 1915,
362/209 ; 351/221;
600/249 -
1530862 Electric Illuminating Device, Thomas J. Thompson (Standard
Oil Co), Mar 24, 1925,
362/198 ; 429/99; D26/45; D28/45
protected lamp on long stick can
illuminate inside of barrel - explosive atmosphere
1559481 Flash Light, L.J. Voorhees (National Carbon Co), Oct 27
1925
1717067 Combined Shade and Reflector - car
2029861 Adjustable Head for Flashlights, William Dabgin, Feb 4
1936,
362/199 ; 429/96 - swivel or goosneck
2510873 Light Filter, P. F. Early (Standard-Thompson Corp), Jun 6
1950,
362/293 ; 220/315; 220/375; 359/892; 362/455; D26/49
- cockpit lamp
References:
2404476 Electric Lamp, P. F. Early (Standard-Thompson Corp), Jul
23, 1946,
362/394 ; 439/664 -
wide or narrow beam, adjustable
brightness for military aircraft cockpit light
2613314 Combination Filament Crusher and Circuit Breaker for Hand
Lamps, Edward J. Garland (Blake Mfg), Oct 7, 1952
2648762 Combined Housing and Flexable Flashlight, Milton S.
Dunkelberger, Aug 11 1953
2705279 Portable Self-contained Flashlight, Berlinger, Mar 29 1955
2806100
FLASHLIGHT
SWITCH, August J. Schildbach, (Olin Mathieson Chemical
Corp), Sep 10 1957,
200/60 ; 362/205; 362/310 -plastic
ring switch
2605316 Shock Absorber Assembly for Portable Electric Flashlights,
Leopold C. Grimsley (H. Hyman)
2482763 Expolsion Proof Reflector Assembly for Portable Flashlights,
Leopold C. Grimsley (H. Hyman), Sep 27, 1949, 362/21 -
explosive atmosphere
2651763 Shock Absorber Assembly for Portable Electric Flashlights,
Leopold C. Grimsley (H. Hyman), Sep 8 1953, 439/382 ;
362/157
D117268 Flashlight, Leopold C. Grimsley (H. Hyman), Oct 24, 1939, D26/49
D117269 Flashlight, Leopold C. Grimsley (H. Hyman), Oct 24 1939, -D26/49
D117270 Flashlight, Leopold C. Grimsley (H. Hyman), Oct 24 1939 D26/49
2247136 Electric Switch, Harry Rothenberg (H. Hyman), Jun 24, 1941,
200/60 ; 200/470; 362/205
D109758 Flashlight Casing, Leopold C. Grimsley, May 17, 1938, D26/49
- armored
D99521 Flashlight or the Like, Alfred F. Reilly (Evans Case Co), May
5, 1936, D26/37 - pocket light where top is a half cylinder
and lamp is centered on axis
D96050 Combined Flash Light and Umbrella Handle or Similar Article,
Samuel Osterman, Jun 25 1935, D3/13 ; D26/49- stick coming
from battery cap
D96051 Combined Flash Light and Umbrella Handle or Similar Article,
Samuel Osterman, Jun 25 1935, D3/13 ; D26/46- stick coming
from battery cap
D90320 Flashlight, Harry T. Kingsbury (Kingsbury Mfg), Jul 18, 1933,
D26/49- looks like eye wash cup (lamp in cup) on top of
candle pointing up
D90321 Battery Flash Light, Harry T. Kingsbury, Jul 18, 1933, -
looks like air scoop of boat
D89965 Flashlight, Harry T. Kingsbury, May 23, 1933, D26/40
- crossed wires protect lamp, no features on case "Salt shaker"
D113864 Flashlight, Anthony J. Desimone (Bright Star Battery
Co),Mar 21 1939, D26/49
D90527 Flashlight, Anthony J. Desimone (Bright Star Battery
Co), Aug 22 1933, D26/49
D111344 Flashlight, Anthony J. Desimone (Bright Star Battery
Co), Sep 1938, D26/49 cylindrical
D176381 COMBINED POCKET MIRROR AND FLASHLIGHT, Schwartz, Dec
13 1955, D26/38 ; D28/64.3
References:
D66549
D170139
2068813 Combined Cigarette and Vanity Case, Willis R. Morey
(Vanilite Products Inc)
D180647 FLASHLIGHT, Herman G. Graubner, Jul 16 1957, D26/49
References:
D67934 Battery Handlamp, FRANK G. STIMSON, Aug 4 1925, D26/49
D146257 Combined Flashlight and Keychain, Clarence G. Erickson
(Erickson Johnson Machine Co), Jan 21 1947, D3/209 ;
D26/38; D26/51
D175940 Flashlight, Herman G. Graubner (Union Carbide and
Carbon Co), Nov 1 1955, D26/49
D177091 Flashlight, Edward J. Garland (Ray-O-vac), Mar 13 1956, D26/49
D282686 Penlight, John S. Yuen (John Manufacturing Ltd), Feb 18,
1986, D26 49; D19 48 -
References:
2491686
Pen Shaped Pocket Flashlight, Jerome Nathan (Bantum-Lite Inc)
3351723
Called By:
| D306775 |
Lighter
or the like |
Mar 20, 1990 |
| D311550 |
Marking
pen |
Oct 23, 1990 |
| D357276 |
Ink
stylus pen |
Apr 11, 1995 |
| D395672 |
Ink
stylus pen |
Jun 30, 1998 |
| D443838 |
Holder
for a temperature indicator |
Jun 19, 2001 |
D349354 Flashlight, Aug 2 1994
D188000 SUPPORT FOR A FLASHLIGHT OR SIMILAR ARTICLE
D217925 FLASHLIGHT
D233780 FLASHLIGHT W
D264391 Combined headband and flashlight holder
D308580 Flashlight
D351857 Combined writing instrument holder and flashlight
D349169 Compressed air operated flashlight
D351244 Flashlight
D359744 Forensic examination lens assembly for use with a flashlight
D364476 Low profile flashlight/spotlight
D415239 Tactically advanced combat mount illuminating system
D433478 Mount for securing a sighting device to a firearm
D440624 Archery bow mounted flashlight holder
D445520 Railroad flashlight
D231560 Flashlight, Donald A. Keller (Pro-Light Inc), Apr 1974
-
A line of ABS flashlights, see
Flashlight Collector newsletter # 80, Winter 2009.
Modern Flash Lights
2019 March - I've been looking for flashlights that make use of
AA cells because I want to use them as backup lights with the
Energizer L91 Lithium AA battery. But it seems that there
is specialization in a way similar to car makers. Some car
makers are all about high power to weight cars to optimize
racing performance. I get this and owned and drove a 427 Cobra for a number of
decades. The other end of the scale are cars like the VW
or Prius where economy is the goal.
The Olight S1A is a single AA flashlight similar to the ones
shown below, but that company is discontinuing lights that use
AA cells and concentrating on lights that use CR123R
rechargeable cells (or can use the primary CR123A cell as a
backup). To go with that they have a charging cable
patterned after the Apple magnetic power cable. For an
Every Day Carry (EDC) light that's great. Even better
would to wireless charging, like on cell phones. But
. . . for a backup light that's not at all the way to go since
even the best rechargeable cells, like the eneloop, have a shelf life far
shorter than a primary cell.
There may be some confusion about batteries for these
flashlights. A standard Alkaline AA battery, like the
Energizer A91 (data
sheet), measures 14.5 mm dia x 50mm tall, i.e. it's a
14500 size. But some manufacturers say a flashlight has
such and such performance when used with a 14500 battery, what
they really mean is that when used with a Li-Ion battery that's
is a 14500 size. Typically these flashlights will have
higher light output with rechargeable batteries (Ni-Cad or
Ni-Mh, or Li-Ion) than with primary batteries because of the
lower internal resistance of secondary cells. It's no
clear where the L91 The Energizer EN91 is a
Zinc-Manganese Dioxide (Zn/MnO 2 ) chemistry (data sheet)
with a 10 year life, like the CR123 that uses a similar
chemistry but the EN91 is a 1.5 V cell whereas the CR123 is a 3
volt cell.
Some testing of various 14500 (AA) size batteries seems to be
in order.
EAL12
Area Light
Uses 4 AA batteries. Two white light modes Low ? Lumens/38
hours & 168 Lumens/? hours.
Fig 1

|
Fig 2
 |
Single AA light with side button, 4 brightness
modes. Does work with "dead" Energizer Ultimate Lithium
AA, see table below.
This is the Cool White (CW) version. I would have ordered
the Neutral White (NW) version if the eBay seller had mentioned
the difference.
Archer
Fig 1
 |
Fig 2
 |
Single AA light with side button, 4 brightness modes. Does
not work with "dead" Energizer Ultimate Lithium AA, see table
below.
This is the Cool White (CW) version. I would have ordered
the Neutral White (NW) version if the eBay seller had mentioned
the difference.
Fig 1

|
Fig 2
 |
While discontinued I found one on Amazon. Note both the
Amazon and eBay sellers are selling these at a premium, i.e.
above the sticker price on the Olight web page because they
get excellent reviews.
Fig 1

|
Fig 2
 |
Jetbeam
Single AA battery. On/Off like Maglite, i.e. screw
head. In the small category.
Fig 1

|
Fig 2
 |
LA10 CRI Camp Lantern (Lipstick)
Cylinder 0.34" dia x 2.45" long (closed) x 3.55"long
extended). AA battery. Screw to turn on.
Unscrew and re-screw within 2 seconds to change
brightness. This is the CRI >= 90 (Wiki)
model, there's also a standard model.
Comes with lanyard but not key-chain ring.
Fig 1

|
Fig 2 Lipstick closed
 |
Fig 3 Lipstick Opened
 |
mode
|
Lumens
|
Run
Time
hh:mm
|
lo
|
9
|
23:00
|
med
|
30
|
6:00
|
hi
|
85
|
1:30
|
Note there is no beam forming, instead a diffuser for
hemispherical light output, hence "Camp Lantern".
EZ AA - Discontinued
SensAA - Discontinued
Cylinder 20mm dia x 83mm long (off). This is a single
AA light with three brightness levels that are set by the
angle when the light is turned on by turning the head, like on
the Maglite. The "Sensor" feature is related to the
angle of elevation when you turn it on.
Every Day Carry (EDC).?
Fig 1

|
Fig 2 smaller than the TerraLux 100
much broader beam similar brightness
 |
Turn-On
|
Mode
|
Lumens
|
Run
Time
hrs
|
Down
|
Low
|
6
|
45
|
down 45 deg
|
med
|
20
|
16
|
horizontal
|
hi
|
120
|
1.8
|
up
|
auto
|
120/20/6
|
|
In auto mode the elevation angle changes modes on the fly.
Candle
Power Forum review -
MT1A Multi Task
Cylinder 8.6 mm dia x 91 mm long. AA battery.
Push button on tail for On/Off. Unscrewing head to change
between two modes. To access other modes need to read
instructions.
Comes with lanyard but not key-chain ring.
The tail cap contains a magnet.
Fig 1

|
Fig 2 Nitecore LA10 CRI, SensAA & MT1
 |
EA4
Cylindrical 1.6" dia x 4.65", 4 each AA batteries, many modes
on one button.
Fig 1

|
Fig 2
 |
TK35UE
1800 Lumen. Uses 2 each 18650 batteries, or 4 each CR123
batteries. $100 with 2ea: 18650 batt and charger. (2018 Nov 7)
YouTube: Fenix TK35:
Comparison between real and fake (DealExtreme
$30) - 2012 the plain TK35 (no suffix letters)
If carried in car then the version with either a USB
rechargeable cell or rechargeable flashlight would be a better
choice along with the cigarette lighter to USB charging cable.
Fig 1 Seller Kit:TK35UE Flashlight,
ARE-C1+ Smart Charger w/AC line cord, ARB-L18-2600 Pair
of Li-Ion 2600 mAh batteries & Cig Lighter Plug
charging cord

|
|
|
|
|
|
E12
An every Day Carry (EDC) light that runs on a AA battery 130
Lumens.
Comes with lanyard but not key-chain ring.
Intuitive tail cap switch Press On, half press cycles through
3 brightness levels, hard press Off.
mode
|
Lumens
|
Run
Time
hh:mm
|
|
Hi
|
130
|
1:00
|
|
Med
|
50
|
3:30
|
|
Lo
|
8
|
22:00
|
|
Fig 1

|
Fig 2 Nitecore SensAA, Fenix E12,
Nitecore MT1A, Nitecore LA10 CRI
 |
E12 Version 2
2020 Sep 10
When pressing the tail switch from off: 5 Lumens (70 hours)
then 30 Lumens (13 hours) then 160 Lumens (1 hour).
Times bases on Alkaline battery.
Found this after searching for a lantern that uses AA
batteries and contains electronics to be energy
efficient. Not an easy thing to do since it's not
something that's advertised. "..powered by 3 AA
batteries; however, in emergency situations it can be powered
by 1 or 2 AA batteries" (this means it's energy
efficient). For example the Cascade lantern below looks
very similar to the Fenix unit (and other brands) but the
Cascade has no electronics. The TerraLux
Maglite and pocket flashlights are extremely energy
efficient. That means you get a lot more light out of a
battery than conventional flashlights. More later when
the CL23 arrives.
Fig 1 In box: CL23, 3 Alkaline
batteries, spare battery
O-ring, and very small carabiner (Wiki)

|
Fig 2 low side light on
 |
Fig 3 End light
 |
Fig 4 Notice all 3 batteries are
connected in parallel.
 |
18650 USB Battery
Come in 2600 and 3500 mAh capacity. Note these are the
same length and diameter as a standard 18650 battery so fit
those applications.
Two things that decrease the life of a Li-Ion battery are
storing hot or storing at full charge. see BB-2590 Maintenance.
Fig 1 ARB-L18-3500U & ARB-L18-2600U

|
|
LD15
This is a single 16340 (CR123A or CR123R) light with a right
angle head, similar in concept to the Army
Angle Head MX-991 which uses 2 each "D" cells and is
much larger.
4 In 1 Car Dual USB Jack
To allow charging 18650 batteries in car (but requires
turning key to at least radio position, i.e. will not work
without key).
Fails! when connected to the Fenix 2600 mAh battery the
display and red LED on the battery flashes. I expect
that means the source does not have enough current
capability. But the RPS1204 says it's good for 4 - 6
Amps at 13.6 Volts. What gives?
Fig 1 No load it works

|
|
Sofirn
SF14
Fig 1

|
Fig 2
 |
SP10 v2
These are commonly used by fireman because they are rated for
hazardous environments and the beam cuts smoke (even better if
the beam center filters are used).
This came with amber and black beam center filters, but they
are now lost since there's no way to store them on the
flashlight. It remains to be seen if this is an energy
efficient light or uses a resistive current limiting method.
The first version used a Xenon lamp which required a longer
lens barrell. That unit ran from a removable 4.8 VDC
Ni-Cad battery pack.
The current version replaces the Xenon lamp with a LED so the
light is thinner (clip to bezel distance) than the first
version.
This is the bare bones version that comes with the 4 each AA
battery holder. There are more expensive versions that
use rechargeable battery packs and chargers that clamp the
light so that when in a fire truck the light will not bounce
out of the charger. (See the patents below that explains the
shape of the bottom and the terminals on the battery door.
Fig 1 Front of package

|
Fig 2 Back of package with amber and
black
beam center filters.
 |
Fig 3 This model uses 4 each AA batteries
in a battery holder.
 |
Fig 4 Battery Holder open.
 |
Fig 5 Correct polarity of battery holder.
Note triangle protrusion on lid and
triangle notch on battery holder.
 |
Fig 6 Wrong polarity on battery holder.
Lid will not close properly.
 |
Fig 7 View looking into battery
compartment.
Fuse (F1) can be seen.

|
Fig 8 View of LED after removing lens.
Fuse can be seen also.

|
Fig 9 The "foot" on the flashlight is
designed to be clamped into a charger rather than just
using gravity to hold it in place. That way the
charger can be mounted on a fire engine and the
flashlight will not bounce out. The two contacts
on the bottom are for the charger. I have put some
blue tape (sticky side to sticky side) in the filter
hole to replace the missing black plug. It works
to sharpen the beam.

|
Fig 10 Rather than a classical
reflector there is a clear optical element that forms a
sharp cutoff beam to minimize the back scattered light
from smoke. See patent 9488331.
I have some blue paper wedged into the front cavity to
sharpen the beam since I've lost the factory black plug.
 |
|
|
Patents

|
5410237
Battery charging unit, Raymond
L. Sharrah, Charles
W. Craft,
Streamlight Inc,App: 1991-10-25, Pub: 1995-04-25 -
with asymmetrical end-profile to get polarity
correct
|

|
6633152
Rechargeable flashlight and battery charger, Raymond
L. Sharrah, John
C. DiNenna,
Streamlight Inc, Spp: 2001-04-26, Pub: 2003-10-14
- 4.8 Volt Ni-Cad pack & Xenon lamp.
This patent is mainly about the "foot" and fire engine
mounted charger.
|

|
9488331
Portable light with selectable optical beam forming
arrangement, Raymond L.
Sharrah,
Streamlight Inc, Priority: 2014-04-17, Pub: 2016-11-08 -
LED version and optical element |
There has been a series of "Sidewinder" helmet lights.
Fig 1 Sidewinder
Colors: White w/reflector - Red - IR - Blue
 |
Uses 2 each AA batteries.
This is very similar to the Surefire Helmet Light
(was confused when naming photo at left)
p/n
|
|
pkg
|
14000
|
W, R, B, IR
|
clam
|
14032
|
W, R, B, IR |
box
|
14027
|
W, R, B, IR
w/mount
|
clam
|
14008
|
W, G, B, IR
|
clam
|
14024
|
W, G, B, IR
w/MOLLE
|
box
|
|
141022 Sidewinder Compact
|
one CR123 3V battery replaces two 1.5V AA
so
much smaller than 14000 style
|
14513 Sidewinder Compact II
Box, Contents,

|
Can use either a CR123 or a AA
battery.
see patent 8727561B2
Note AA cell shown sticking out, but the contact
is spring loaded so when cap is installed it fits.
Unit ships with a CR123, but NOT a AA cell.
Streamlight also makes a classical one cell flashlight
that uses this same dual battery compartment.
|
1406n Sidewinder Rescue (see below)

|
has diffuser that can slide over the
active LED.
uses 2xAA batteries, no option for CR123.
|
D549379S1
Portable light, Raymond L Sharrah, Matthew B. Dalton, 2007-08-21
7466082
Electronic circuit reducing and boosting voltage for controlling
LED current, Mark W. Snyder, Norman A. Messinger, Streamlight
Inc, Priority: 2005-01-25, Pub: 2008-12-16
7534975
Flashlight and light source selector, Raymond
L. Sharrah, Albert
K. Kehl, Jr., Streamlight Inc, 2009-05-19 - maybe color
selection for the Sidewinder?
7549766
Light including an electro-optical “photonic” selector switch, Raymond
L. Sharrah, Mark
W. Snyder, Matthew
B. Dalton, Streamlight Inc - for the color selector knob
7581847
Clip-on, clip off mounting device, as for a portable light, Matthew Benjamin Dalton ,
Streamlight Inc, 2009-09-01 - for helmet mounting
8511847B2
Portable light having a rotatable cylindrical head, Raymond L.
Sharrah, Peter J. Ziegenfuss, Brian Orme, Streamlight Inc,
2013-08-20
Sidewinder
Compact II Dual Battery Patent

|
8727561B2
Light and/or device having a compartment
accommodating batteries of different types,
sizes and/or shapes, Raymond L. Sharrah, Thomas
D. Boris, Brian Orme, Mark W. Snyder,
Streamlight Inc, 2014-05-20
Fig 4 (322) Piston & Polarity Ring serves to
both accommodate either a CR123 (shown) or a AA
cell and also blocks an electrical connection if
the battery is inserted with the negative end
first.
The electronics package includes an active boost
converter so should be very efficient.
|
Fig 1 Shipping Box

|
Fig 2
 |
Fig 3

|
|
|
Sidewinder Rescue 14067
Fig 1

|
Fig 2

|
The diffuser can be moved into 3
positions:
1. over the main white beam (shown here),
2. over the Green, Blue and IR LEds,
3. over the instructions, i.e. not over any LEDs.
I removed the metal clip in the hope of moving the
diffuser to the Sidewinder Compact II but that did not
work because the diffuser is made as an inverted
"T". In order to move it disassembly of the head
is required, but I think it's possible by removing 4
small (+) screws.
|
Streamlight Siege AA
Based on similar run times for similar Lumen (Wiki)
outputs to the Fenix CL23 I ordered this model. Got
response from factory "The Siege AA uses a resistive
circuit."
So of the three camping lanterns I'm looking at (Fenix CL23,
Siege AA & Cascade) only the Fenix has a chance of being
energy efficient.
This is a camping lantern that uses 3 each AA batteries in
series with resistors for current limiting. It has a
200 Lumen white LED and a couple of 0.7 Lumen red
LEDs. Well made and feels nice in the hand.
The top diffuser with internal reflecting cone can be
removed so that a hemisphere can be covered with either
bright or dim white or dim red light. The power button
contains a green - yellow - red - blinking red battery level
indication.
Even though it's not as energy efficient as it might be,
the operation is very intuitive and it feels like a quality
product in your hand. I like it.
Fig 1

|
Fig 2

Color
|
Lumens
|
hours
|
White
|
50
|
37
|
White
|
100
|
15.5
|
White
|
200
|
7
|
Red
|
0.7
|
192
|
Red SOS
|
0.7
|
288
|
|
Fig 3 3 each series connected AA
batteries.
 |
Fig 4
 |
Fig 5
 |
|
18650 USB Battery
Got this to go with Fenix TK35UE since it uses a couple of 18650 batteries.
This is part of a set for my car which will also include a
Cigarette Lighter Plug to dual USB socket and a USB-A
Y-cable with Mini and Micro USB plugs. (also a USB-A to
USB-C cable for modern cell phone charging).
3.7 VDC, 2,600 mAh, 5 hour charge time.
Fig 1 2 each 18650 USB Battery UPC 0
80926 22102 4

|
Fig 2 Charging
 |
Fig 3 Charged
|
Very well made flashlights.
 |
The X5 takes two of the 123 photo batteries (positive
toward cap) and the Z1 takes a single AA battery (negative
toward the cap). The battery contact at the lamp end
is spring loaded and does not make electrical connection
unless the switch cap is screwed on to within one turn of
seated. When the switch cap is out one half turn
pressing the button pushes the battery stack forward for
momentary contact. Turning full in locks the light
on. Turnint out 1 turn locks the light off.
The cap is supposed to be held from rotation by the
O-ring, but it's missing on the X-1 so have asked Inova
how to get replacement. After I found it on the
floor and put back it's working fine. Inova
responded the next business day and said all the products
have a "limited lifetime warranty"
and they would send me and O-ring or tail cap.
EXCELLENT CUSTOMER SERVICE.
These are constructed in a very rugged manner.
I also have their 24/7 light which is a multiple T5 LED
light which displays different patterns depending on where
the rotary switch is set. It has different power
levels and different colors and an SOS in Morse code mode. |
Single AA flashlight. Does not have vampire capability.
Niteize.com -
Inova
Flashlights -
Patents
D425226
Miniature
flashlight, Robert D. Galli (Emissive Energy Corp), May 16,
2000, D26/37 - Microlight
References:
D321785 - error in number Garrity Industries
D361633 Flat flashlight, Meena G. Chabria (Press-A-Lite Corp),
Aug 22, 1995, D26/37 -
References:
D51972
DESIGN
FOR
A PORTABLE ELECTRIC LAMP, Ward E. Pearson & Henry G.
O'Neill, Apr 16 1918,
D26/37 -
D261052
Pocket
torch, Walter Henkels, Sep 29, 1981, D26/46 -
References:
3097798
FLASHLIGHTS,
Schmidt (Licentia), Jul 16 1963,
362/183 - heat
issues in rechargable flashlight
D277415
Flashlight,
Robert M. Berger (Intercon Purchasing ), Jan 29, 1985, D26/46
-
References:
2739225 Disposable Flashlight, Horace B. Rowland, Mar 20
1956,
362/189 ; 273/155; 362/208 - paper doll
3099399
COMBINATION
FLASHLIGHT AND KEY HOLDER, Howard Kibby, Jul 30 1963,
362/116 ; 200/60; 362/802; 70/456R; D26/38 - plastic
extrusion
References:
2393373 Container, Dewey Hendrix, Jan 22 1946, 70/456R
; 362/116 - key holder & flash light
3256428
MINIATURIZED
FLASHLIGHT WITH REPLACEMENT CARTRIDGE UNIT, Sidney
Schwartz (Bantam Lite), Jun 14 1966,
362/196 ;
200/60; 220/4.02 -
Button cell batteries, grain
of wheat lamp with wire leads
References:
1834805 Combined Pocket Flash Light & Key Holder, L.H.
Roddis, Dec 1 1931, 362/116 ; 40/634; 70/456R-
opening cover - rotating bulb turns on
2465114 Flashlight Design, John Foster Oury, Mar 22
1949, 362/196 429/97 - skinny sardine can two AA
& 222
2504850 Box Construction, H.B. Lermer (Celluplastic Corp),
- squeeze to open
2999611 Two Part Plastic Container, Thomas V. Paulson -
identical halves
3085149 Minature Light Source, H. L. Glwesky (Realist
Inc), Apr 1963, - fits into top of dummy key, button cell
1306740 Flash-Light, H. Bieber, Jun 17 1919,
362/189 362/201-
stiff
paper housing metal socket minalimist design
1872840
BATTEBY
HAND LAMP, Robert A. Stevenson, Aug 23 1932,
362/189
; 200/60 -
Pocket Flash Light, lamp
between batteries and switch between batteries
minimum use of sealing wax, mimimum soldering
Refereence:
application # 458394 - not found
4754378
Electric
torch, Sen-yuan Chen, Jun 28, 1988, 362/196; 362/200 -
D434164
Flashlight
head, Robert D. Galli (Emissive Energy Corp), Nov 21, 2000,
D26/49 - the X5 head and versions with 3 and 4 LED instead of the
5 in the X5.
References:
D351672
Flash
light head, Tzong-Taur Tsay, Oct 18, 1994, D26/37 -
D380060
Head
for a flashlight, Hanh Chiang, Jun 17, 1997, D26/37 -
D392402
Bulb
housing of flashlight, Chin-Hsiang Chen, Mar 17, 1998,
D26/37 -
D421657
Lamp
housing, Benjamine J. Siebert, Mar 14, 2000, D26/37 -
D455510
Polygonal
flashlight head, Robert D. Galli ( (Emissive Energy Corp),
Apr 9, 2002, D26/37 - "Bolt" series
References:
D421657
Lamp
housing, Benjamine J. Siebert, Mar 14, 2000, D26/37 -
D428504
Flashlight,
James Saunders (Great Neck Saw Mfg), Jul 18, 2000, D26/49 -
D434164
Flashlight
head, (see above)
6840653
Flashlight
head with isolated lighting elements, Robert
D. Galli (Emissive Energy Corp), Jan 11, 2005, 362/240; 362/184;
362/203; 200/60 -
This is the X5 where each of the
3mm or 5 mm LEDs is in it's own reflector pocket
The spring loaded switch mechanism also explained.
References:
| 5081568 |
Traffic
police
baton with means to indicate the direction in the night |
Jan 14, 1992 |
| 5408393 |
U-shaped
helmet
light |
Apr 18, 1995 |
| 5580156 |
Marker
apparatus |
Dec 3, 1996 |
| 6086218 |
Portable
flashing
signal light |
Jul 11, 2000 |
| 6095661 |
Method
and apparatus for an L.E.D. flashlight |
Aug 1, 2000 |
| 6206541 |
Roadside
emergency
security flashlight |
Mar 27, 2001 |
| 6305818 |
Method
and apparatus for L.E.D. illumination |
Oct 23, 2001 |
| 6357893 |
Lighting
devices
using a plurality of light sources |
Mar 19, 2002 |
| 6366028 |
Battery
powered
light |
Apr 2, 2002 |
| 6386730 |
Dual
reflector,
rechargeable, and crash-secured flashlights |
May 14, 2002 |
| 6474837 |
Lighting
device
with beam altering mechanism incorporating a plurality
of light souces |
Nov 5, 2002 |
| 6485160 |
Led
flashlight with lens |
Nov 26, 2002 |
| 6488390 |
Color-adjusted
camera light and method |
Dec 3, 2002 |
| 6523972 |
Flashlight
with
rotatable lamp head |
Feb 25, 2003 |
| 6626556 |
Reverse
operating
inline flashlight switch mechanism |
Sep 30, 2003 |
| 6676278 |
Super
bright
LED utility and emergency light |
Jan 13, 2004 |
7018064
Miniature
flashlight, Robert D. Galli
(Emissive Energy Corp), Mar 28, 2006, 362/200; 362/157; 362/201 -
This is the Microlight
References:
| 762720 |
Portable Electric Light,
Conrad HubertJun 1904 |
| 1047525 |
Portable Electrical Light,
Conrad Hubert, December 17, 1912 |
| 1436340 |
Hand Lamp Switch, George D.
Galager (Winchester), Nov 21 1922 |
| 1866600 |
Pocket Flash Light, F. Rauch,
Jul 12 1932 |
| 2249692 |
Pocket Flashlight, Albert
Gelardin, Jul 15 1941 |
| 2412056 |
UTENSIL
HOLDER |
Dec 1946 |
| 2465114 |
Flashlight Design, John Foster
Oury, Mar 22 1949 |
| 2591112 |
Vest Pocket Flashlight
Including Electric System and Lock, Alex Zwierzynski (H
Hyman), Apr 27 1952 |
| 2708073 |
COMBINED
KEY
CASE AND FLASHLIGHT, Michal Mohylowski, May 10 1955, 362/116
; 362/802; 70/456R |
May 1955 |
| 2714152 |
Key Chain Pocket Flashlight,
Ackerman (Brown & Bigelow), Jul 26 1955, 362/200
-
References:
2120238 Flashlight, Abbott P. Brush, Jun 14 1938
2190791 Illuminated Bait, Karl B. Larson, Feb 20 1940,
43/42.47 ; 362/157; 362/253; 43/17.6-
2205733 Means for Illuminating Levels, Sauter, Jun 25
1940, 33/348.2-
2222303 Combination Flashlight & Oil Gauge Rod
Wiper, Philip J. Shoujrh, Nov 19 1940, 362/119
; 15/105; 15/220.4
|
| 2762907 |
Pocket Flashlight
Construction, Sidney Schwartz (Bantam), Sep 11
1956 |
| 2889450 |
Casing for Lighting Device, -
Richard A. Nordquist (Penta Inc), Jun 2 1959 |
| 3057992 |
Flashlights, Ridgway Baker
(Honeywell), Oct 9 1962 |
| 3085149 |
Minature Light Source, H. L.
Glwesky (Realist Inc), Apr 1963 |
| 3085150 |
Flashlight Construction,
Bautsch, Apr 9 1963 |
| 3119564 |
Combination Key Holder
and Illuminating Means, A. Zalman (Flex
ElectricProd), Jan 28 1964, 362/116 ;
70/456R; D26/38 |
| 3256428 |
MINIATURIZED
FLASHLIGHT WITH REPLACEMENT CARTRIDGE UNIT |
Jun 1966 |
| 3296429 |
KEYCASE-FLASHLIGHT
CONSTRUCTION |
Jan 1967 |
| 3310668 |
MINIATURE
FLASHLIGHT
WITH KEY ATTACHMENT |
Mar 1967 |
| 3345508 |
SZE-YUEN
CHUNG |
Oct 1967 |
| 3359411 |
MINIATURE
FLASHLIGHT
WITH INTEGRAL HINGE CASING |
Dec 1967 |
| 3613414 |
SELF-EJECTING
KEYHOLDER WITH ILLUMINATION |
Oct 1971 |
| 3732414 |
PORTABLE
ILLUMINATION
DEVICE |
May 1973 |
| 3804307 |
CHAIN
KEY HOLDER |
Apr 1974 |
| 3866035 |
COSTUME
JEWELRY
WITH LIGHT-EMITTING DIODE |
Feb 1975 |
| 3870843 |
XATENTEOMARIIIZYS
S SHEET |
Mar 1975 |
| 4076976 |
Flash
assembly
for clothing-supported jewelry |
Feb 28, 1978 |
| 4085315 |
Light
connectable
with a key |
Apr 18, 1978 |
| 4101955 |
Ornamental
article
with illuminated display |
Jul 18, 1978 |
| 4122510 |
Flashlight |
Oct 24, 1978 |
| 4129899 |
Flashlight
with
a rotatable lamp holder |
Dec 12, 1978 |
| 4210953 |
Self-illuminated
case |
Jul 1, 1980 |
| 4228484 |
LED
flasher for battery cell-powered lamp |
Oct 14, 1980 |
| 4261026 |
Lighted
coaster
for drinks |
Apr 7, 1981 |
| 4276582 |
Key
with light |
Jun 30, 1981 |
| 4303966 |
Light
connectable
with a key |
Dec 1, 1981 |
| 4336574 |
Lighted
coaster
for drinking glasses |
Jun 22, 1982 |
| 4346329 |
Aiming
post
light |
Aug 24, 1982 |
| 4392186 |
Key
with light in handle |
Jul 5, 1983 |
| 4398237 |
Miniature
battery-operated
light |
Aug 9, 1983 |
| 4399495 |
Flashlight |
Aug 16, 1983 |
| 4408261 |
Battery
operated
charm light |
Oct 4, 1983 |
| 4422131 |
Finger
light |
Dec 20, 1983 |
| 4433365 |
Miniature
flashlight |
Feb 21, 1984 |
| 4517627 |
Spot
light for handbag and like receptacles |
May 14, 1985 |
| 4521833 |
Light |
Jun 4, 1985 |
| 4524409 |
Flashlight |
Jun 18, 1985 |
| D285989 |
Key
holder |
Oct 7, 1986 |
| 4628418 |
Multi-purpose
miniature flashlight device |
Dec 9, 1986 |
| D290518 |
Flashlight |
Jun 23, 1987 |
| 4731712 |
Squeezable
flashlight |
Mar 15, 1988 |
| 4768138 |
Flashlight |
Aug 30, 1988 |
| 4787016 |
Light
attachable
to a key |
Nov 22, 1988 |
| 4893222 |
Illumination
device for a hand-held remote control unit |
Jan 9, 1990 |
| D311067 |
Pocket
flashlight |
Oct 2, 1990 |
| 5008784 |
Lighting
equipment
for a key ring |
Apr 16, 1991 |
| 5029055 |
Portable
light |
Jul 2, 1991 |
| 5043854 |
Flashlight
with
swivel head |
Aug 27, 1991 |
| 5122943 |
Encapsulated
light emitting diode and method for encapsulation |
Jun 16, 1992 |
| 5143442 |
Portable
projection
device |
Sep 1, 1992 |
| 5158356 |
Ornamental
lamp
with internal switch |
Oct 27, 1992 |
| D337200 |
Key
ring holder |
Jul 13, 1993 |
| 5285586 |
Athletic
shoe
having plug-in module |
Feb 15, 1994 |
| 5318177 |
Multi-function
container with a light source |
Jun 7, 1994 |
| 5386351 |
Convenience
flashlight |
Jan 31, 1995 |
| 5457613 |
Peripherally
sealed card-like flashlight device |
Oct 10, 1995 |
| 5463539 |
Miniature
pocket
flashlight with lens module and outer flexible sheath |
Oct 31, 1995 |
| 5465197 |
Portable
light |
Nov 7, 1995 |
| 5475368 |
Key
chain alarm and light |
Dec 12, 1995 |
| 5515248 |
Thin
adhesively
attached key light device |
May 7, 1996 |
| 5541817 |
Key
with a built-in light |
Jul 30, 1996 |
| D372356 |
Illuminated
key ring |
Aug 6, 1996 |
| D381803 |
Combined
flashlight
and key ring |
Aug 5, 1997 |
| 5730013 |
Key
structure with illumination function |
Mar 24, 1998 |
| D394345 |
Key
ring |
May 19, 1998 |
| D400326 |
Combined
lottery
ticket scraper, key chain and flashlight |
Oct 27, 1998 |
| D401371 |
Combined
flashlight
and magnifying lens |
Nov 17, 1998 |
| D402069 |
Combined
retractable
lighted magnifier bar and flashlight |
Dec 1, 1998 |
| 5893631 |
Compact
flashlight |
Apr 13, 1999 |
| 5894196 |
Angled
elliptical
axial lighting device |
Apr 13, 1999 |
| 5927846 |
Disposable
planar
flashlight |
Jul 27, 1999 |
| 5934789 |
Disposable
planar
flashlight |
Aug 10, 1999 |
| 5956985 |
Multi-function
key holder |
Sep 28, 1999 |
| 6006562 |
Collector
holder,
particularly for keys |
Dec 28, 1999 |
| 6039454 |
Flat
flashlight
device with key ring attachment and registerable and
mateabe parts |
Mar 21, 2000 |
| 6070990 |
Card
light having a cover being an adhesively attached label |
Jun 6, 2000 |
| 6079845 |
Light
device
for attachment to a key ring |
Jun 27, 2000 |
| 6109762 |
Peripherally
sealed card-like flashlight device with protection
against accidental switch actuation |
Aug 29, 2000 |
| 6164795 |
Universal
key
holder with light |
Dec 26, 2000 |
| 6190018 |
Miniature
LED
flashlight |
Feb 20, 2001 |
| 6523973 |
Miniature
flashlight |
Feb 25, 2003 |
| 6530672 |
Miniature
flashlight |
Mar 11, 2003 |
| 6582097 |
Multi-function
handheld device for outdoor use |
Jun 24, 2003 |
| 6796675 |
Miniature
flashlight |
Sep 28, 2004 |
Work Light SYXJ579AB
This uses a COB (Wiki)
strip of LEDs and rechargeable internal batteries. About
15" overall length. Comes with a USB MIcro-B charging cable.
The LED just above the Off-Brightness knob is on solid red
while charging.
Fig 1

|
Fig 2
 |
Garrity Industries
6568829
Flashlight, Kevin S. Garrity, Andrew Yau (Garrity
Ind), May 27, 2003,
362/171;
362/190; 362/191; 362/208; 362/202; 362/116 - D520167
side mounted switch between
batteries and lamp, plastic + many design
patents
D520167 shows design
This
2-Cell
AA Mini Maglite was originally made using a Bi-pin
filament lamp.
These patents appear to
be the 2-Cell Mini Maglite and were all from application
648032.
4577263 Minature Flashlight,
Anthony Maglica, Mar 18, 1986, 362/187; 362/205; 362/197
- uses Bi-pin lamp + spare, Improved Optical
Characteristics
4656565 Flashlight, Anthony Maglica, Apr 7, 1987, 362/187
; 362/197; 362/205 - Improved electrical conductivity
4658336 Minature Flashlight, Anthony Maglica, Apr 14,
1987, 362/197 ; 362/187; 362/203; 362/205 -
Improved Optical Characteristics
4899265 Minature Flashlight, Anthony Maglica, Feb 6,
1990, 362/187 ; 362/203; 362/205 - Improved
Optical Characteristics
4942505 Minature Flashlight, Anthony Maglica, Jul 17,
1990, 362/187 ; 362/203; 362/205; 362/207 -
Candle Mode
Terralux LED adapter isntalled, but batteries removed to
allow taking photo. Also see Teralux 7300173 for another Mini Maglite
photo
It's strange that the candle mode (see above for earlier
candle mode flashlights) patent does not contain a class
number in the 362/19n series.
Head is used as a base in Candle mode.
5003440 Minature Flashlight, Anthony Maglica, May 12,
1992, 362/158 ; 137/859; 362/188; 362/205;
362/267 - one way venting of overpressure
5113326 Minature Flashlight, Anthony Maglica, May 12,
1992, 362/158 ; 137/859; 362/188; 362/205;
362/267 - one way venting of overpressure
5143441 Minature Flashlight, Anthony Maglica, Sep 1,
1992, 362/203 ; 200/60; 362/187; 362/197;
362/205 - stands on tail for candle mode operation
5207502 Minature Flashlight, Anthony Maglica, May 4,
1993, 362/158 ; 137/859; 362/267 - one way
venting of overpressure
5293307 Minature Flashlight, Anthony Maglica, Mar 8,
1994, 362/203 - Minature flashlight with
Variable dispersion
5349506 Minature Flashlight, Anthony Maglica, Sep 20,
1994, 362/158 ; 362/207 - one way venting of
overpressure
5722765 Tailcap for a flashlight, Anthony Maglica, Mar
3, 1998, 362/207 ; 362/158 - one way venting of
overpressure
6170960 Minature Flashlight, Anthony Maglica, Jan 9,
2001, 362/205 ; 362/187 - Variable dispersion
combined with switch
D530438 Minature Flashlight, Anthony Maglica, Oct 17,
2006, D26/49 - normal mode
D530439 Minature Flashlight, Anthony Maglica, Oct 17,
2006, D26/49 - candle mode
The following patents are also from the same application
but do not apply to the 2 AA model
5226722 Flashlight and bulb holder therefor, Anthony
Maglica, Jul 13, 1993, 362/207 ; 362/205 - 2 D
model - spare flange lamp is shock protected
Mag Instruments Maglite
2-Cell AA patent 4577263 drawing
|
4851974 Flashlight, Anthony Maglica, Jul 25, 1989,
362/187
; 362/197; 362/205 - 2-cell AA
4942505 Minature Flashlight, Anthony Maglica, Jul 17, 1990,
362/187
; 362/203; 362/205; 362/207 - Variable dispersion optics
6135611 Minature Flashlight, Anthony Maglica, Oct 24, 2000,
362/158
; 362/294 - one way venting of overpressure
6361183 Flashlight, Anthony Maglica, Mar 26, 2002,
362/158
; 362/202; 362/267; 362/294 - 2 AA Bi-pin
and the following Trademarks:
1808998
2074795
2687693
2745460
2765978
2765979
Makes the LED adapter for the Mini
Maglite above.
7296913 Light emitting diode replacement lamp, Anthony Catalano,
Daniel Harrison (Technology Assessment Group),
Nov 20, 2007, 362/257 ;
257/E25.02; 257/E33.073; 362/246; 362/252; 362/800
MR-16 replacement using electrical circuit similar to the one
used for the Mini Maglite 2 AA above
7300173 Replacement illumination device
for a miniature flashlight bulb, Anthony Catalano, Daniel
Harrison (Technology Assessment Group),
Nov 27, 2007,
362/208 ;
362/203; 362/205; 362/646; 362/649; 362/800
The Mini Maglite 2 AA flashlight is illustrated.
Like the ...913 patent this replacement lamp has the same
connector pins as the filament lamp it replaces. But
unlike the ...913 patent this replacement lamp is not
contained inside the outline of the original lamp. To
get the required space the stock reflector is replaced with
one that is a little shorter.
The Terralux adapter and it's sorter reflector are at the top
of the photo
The stock bezel and cover lens are used with the Terralux
The stock bi-pin lamp and reflector. also see Mini Maglite 4577263 above
The Terralux circuit is based on
the TI TPS61040 Low-Power DC/DC Boost Converter in small surface
mount packages. The LED current is fixed so there are
different part numbers for different internal switch max currents
of 250 ma = 61041 and 400 ma = 61040, but these are NOT the
average LED currents, which are much lower.
These are rated for input voltages between 1.8 and 6 Volts.
The output voltage can go up to 28 V allowing for driving a series
string of LEDs. The undervoltage lockout turns it off when
the voltage goes below 1.5. This IC was designed primarily
for use in the regulated output voltage mode for driving
LCDs. The internal voltage reference is 1.233 Volts and
would normally use a current sense resistor of 62 Ohms for 20
ma. But there are some tricks that can be done to lower the
resistor value to save wasting power in the resistor.
To drive LEDs from voltages below 1.8 the TI TPS60300 voltage
doubler can be used to boost a single cells voltage. But in
all cases the average LED current in on the order of 20 mA which
is the common current for plastic bi-pin LEDs, not the high power
type LED like used in the Terralux unit. Maybe the high
power LED is being run at a current far below it's max rating to
get better Lumens/watt? The voltage across the LED is 2.51
when powered in the flashlight.
It's not clear who the maker of the LED is for this unit.
The outline does not match the Cree outlines.
22 May 2009 - although the light is
working, it's dim. The
ZTS battery tester shown both AA cells as
dead. DMM measures 1.0 Volts on each cell.
9 April 2010 - ditto the above comment. The ZTS battery
tester LEDs do the new battery dance but then all turn off.
I use the light almost every day so the two Alkaline AA cells are
lasting about a year.
Installing two new Duracell MN1500
w/MAR2016 date code. Fluke 12 shows 1.622 V(V Check mode,
i.e. w/ 1k Ohm load).
1 July 2011 - There's a problem with the Terralux adapter in
that it's too good. The problem is that you can run down a
pair of AA cells so far that they start to leak but still the
light is working. This can damage the flashlight. So
it's probably a good idea to replace the batteries even though
they are still working every year (?not sure if a year is the
right amount of time).
It turns out that if you're using U.S. batteries, Duracell in my
case, the lifetime warranty of Mag Instruments covers removing
the batteries and repairing or replacing the flashlight. I
removed the Teralux adapter and sent the light back to Mag
Instruments along with a copy of the email they sent. It
was a day or two later that I realized I'd forgoten to also
remove the short reflector.
When the flashlight came back it appeared to be a brand new unit
with the stock bi-pin lamp and stock reflector. I
contacted Terralux and explained what had happened and they sent
a free short reflector, Thank You Lauren.
Now how to figure out a way to be sure the batteries get
replaced before they leak? I wonder if the leaking happens
because of the state of charge?
 |
The Mini Maglight 2 AA flashlight has
much more battery life than it needs.
i.e. the batteries corrode before running out of power
when the TerraLux
adapter is used. So I suggested that they make a
single AA light and they
said it already existed as the LightStar100 so I got one
and it's now my
favorite light that I carry all the time. 100
Lumens.
A "feature" I don't like is the 3 functions: full power,
dim power and fast blink.
These get activated when I don't want them by the large
diameter key ring.
Maybe using a smaller diameter key ring would decrease
this?
Yes, I now use a key ring that's about 5/8" dia and no
problems.
|
Also carried with this flashlight are the Rambler Swiss Army knife and a
Tritium (Wiki)
key chain light - not glow in the dark, but rather Tritium (Wiki)
on 24/7.
Lightstar Pro 1 Pocket
Flashlight
2019 February 27 - While researching efficient flashlights I
discovered the Pro 1 which appears to be very similar to the
100 except the high level light output is 154 Lumens instead
of 100 Lumens.
Comes with a lanyard, but no key ring. There was a
problem with the TerraLux 100 that the ring sometimes would
turn on the flashlight in my pocket.
It may be that lights that come with a lanyard and not a key
ring are telling us that you should not use a ring with a tail
switch.
The switch action is different than on the 100.
On the 100:
1. press to turn on in high mode,
2. a half press for low mode,
3. a half press for blink.
4. a half press go to 2.
5. a full press to turn off.
On the Pro 1 the instructions say "Fully depress tailcap
switch to turn on. Quickly depress switch to change
mode."
What that means is if you fully press the switch once per
second you will get:
High, Off, Low, Off, Blink, Off, High, Off . . . .
i.e. there are a number of off states between the active
modes. It takes more time but may be easier than the
half press on the 100 for some people?
Fig 1

|
Fig 2 The old TerraLux 100 & it's
replacement the PRO 1
 |
These were designed for use in third world countries (does the
U.S. qualify?) so the purchase plan is called "Buy One Give One"
where you pay for two and one is delivered to you. The Mini
is claimed to be near indestructible. Learned about it on
the
PicList. It uses a 6602
boost converter IC with external constant current regulation
added, plus a TLV431 for the shunt regulator (low voltage
version).
Kiran D.Light
Another rechargeable light designed for use in countries where
kerosene is a more common lighting fuel.
The red LED glows to show
it's charging. Brighter Sun, brighter LED glow.
Used it in a power outage that lasted a few hours.
Bright enough to read a book.
|

|
Tomahawk TRS First Light
Small angle head. Maybe two each CR123 batteries.
7510294
Flashlight system and method of using same,
Gavin
A. Steele,
Jeremy
B. Ross,
First
Light, 2008-03-27, - includes finger loop allowing all
shooting actions related to a pistol. Mounting bracket for
helmets.
Xenide
AEX25
1500 Lumen HID flashlight
Got this on eBay missing parts and maybe with dead lamp module
and/or ballast housing (TBD).
Photo as received. New carry case, uner's manual, parts
list, cleaning cloth still in the bag.
HID: High Intensity Discharge (Wiki)
- a Xenon Short Arc (Wiki)
type.
The factory has replaced the bad parts and it's now like in near
new condition.
Lumen vs. Foot Candle
Lumens (Wiki)
are a measure of the total light output of a lamp and is
typically measured using an integrating sphere (Wiki).
The Candela (Wiki)
is the new name for Foot Candle and is a measure of the actual
light output falling on a surface.
Lux (Wiki) is
a measure of light brightness per unit area and so is another
way of measuring the overall capability of a flashlight.
It's possible to have two flashlights, each of which has the
same Lumen output of their lamps and one of them will be much
brighter for a given spot size. This is because the
optical design comes into play.
The AEX25 uses a light source that's a small cylinder and
that makes for efficient optics because of the small size and
it's accurate location.
Most LEDs emit light to the side or into a hemisphere of
phosphor so they are harder to match to a parabolic reflector
and are not as efficient.
See the Light paragraph for more on
measurements (also see Integrating
Sphere). The Amprobe
(Meterman) LM631A Digital Light Meter can display either
Foot Candles or Lux.
AE Battery
This may or may not be the battery used in the above AEX25 HID
flashlight. It has a date code of 2007.09.05.
One end has a center dot and 2 rings (3 terminals) the other end
has a center dot and one ring (2 terminals).
Maybe the 2 terminal end goes to the light and the 3 terminal
end is for charging.
Probably for the PL14 or PL24, i.e. SKU PL/2200mAh.
The PL14
is a 14 Watt HID flashlight that runs on a 12 V Li-Ion
battery.
The PL24
is a 24 watt HID flashlight that runs on a 12 V Li-Ion
battery.
The above lights specify Lumen output, but they should be
talking about Candella (Wiki) or
Lux (Wiki)
because of the excellent optics.
Three 18650 Li-Ion cells: 3.7 to 4.2 Volts/cell
or 11.1 to 12.6 Volts for the pack.
Two ICs: M, 641, 1414C (20? pins) & TPC8111 P-Chan
MOS FET.
This battery can be installed in the flashlight
either end first, but the end with a center dot and 2 rings
(Fig 1 left) must go toward the charger.
AE battery pack was provided by Greg of Arc Light EFX.
Fig 1 The two wires connected to the right
(2 terminal) end
are connected to the 3 terminal end so if they are
disconnected
the whole 3 battery assembly will slide out.

|
Fig 2 Inside
The center contact on both ends is Negative.
The next ring is Output Positive.
The largest ring on one end is Charging Positive input.

|
Fig 3 None of the cells will take a charge.
They appear as open circuit.

|
Fig 4 All 4 battery terminals appear on
this face.
 |
|
|
The head assembly is the MBS-410 (local control), MBS-420 or
MBS-430 (local & remote control), MBS-450 - 12
Million Candlepower searchlight (use either Ni-Cad, Li-Ion or
LiFePO4 batteries). I expect the first generation may
have used lead acid?
The 12 million candle power units have an 85 watt lamp
(85W/13.5V = 6.3 amps)
My unit has 6 million candlepower and a 75 Watt lamp (75W/13.5V
= 5.6 amps)
2019 Aug 20: Currently on eBay is a flashlight with the
title: "85W 65W 45W 8500 Lumen HID Flashlight. But the
lamp looks a lot like an automotive HID (both contacts on one
end) and the life is given as 3,000 hours. This is
consistant with an automotive HID lamp with an eBay rating of 55
Watts (13.2V @ 4.2A). These bulbs sell at $8 for a pair.
See below photos for more information.
Rebuilt Head
10 Aug 2022 - Found a factory rebuilt M4019, G23-12 on eBay
with the MBP-1310 LiFePO4 battery AND a spare lamp, some Peak
Beam connectors with Power Poles on the other end and other
spare parts. This is a fully functional 12 million
candle power unit.
The eBay description reads:
Up for sale is my Gen3, enhanced reflector'd
Maxabeam. It comes with the 10 AH LiFeP04 Peakbeam
battery, short, quick connect pigtail and a spare
new lamp. I bought 2 each Gen2 MB's that were
paired on a Robinson helicopter. I could
choose only "Seller Refurbished" in the Ebay
listing options but I did not refurbish this
light. I sent them both to Peakbeam and had
this one retrofitted with all the makings of the
Gen3 product, new main board, new lamp, new
enhanced reflector and Aluminum housing (they are
1 piece), new spider, new handle and new 10 Amp
Hour LiFePo4 battery. If I remember correctly, the
large capacity LifeP04 battery is what allows the
"latched High" (Stays on high without holding the
button) operation. All that remains Gen2 is the
main body case/shell, everything else is new. You
can see a reference to this light starting out as
a Gen2 and becoming a Gen3 on the pic of the
label. (G23). Peakbeam tested it at 11,900,000 CP.
This was done in about 2012-13. The light has no
more than about 10 hours actual use in this time.
It is rated at 85 Watts and has latching high and
electric focus with memory. The battery has been
stored at 3.25 volts Per cell or 13 Volts and
checked quarterly for topping off which I've
probably done 2 times. There is no Peakbeam
charger included. I use a hobby charger along with
a custom charging pigtail (included). I can
recommend some sub-$100.00 chargers that will
charge the Lithium Iron Phosphate battery.
There is no carry case. The light is in Excellent
condition. When comparing prices of other
Maxabeams for sale, most of them come with old
technology NiCad batteries which have
self-discharge over time and do not have Latching
High and are of significantly less Amp Hour
capacity which means less run time between
charges. Nicads, Nickel-Metal (NIMH) and
Lithium Ion batteries have a life of about 500 +-
charge cycles. LiPeP04 batteries have a life
cycle of 1,500 to 2,000 charge cycles. A
brand new, spare lamp is included.
|
Rebuilt Head System Photos
Fig 100 Rebuilt MBS-410 head & MPB-1310
LiFePO4 battery

|
Fig 101 Spares Kit & Power Pole Cables
 |
|
|
|
|
Photos
Fig 1 right rear 2 compartments are for
batteries.

|
Fig 2 Foam insert under MBS-410 can be
removed
allowing storage of light with battery attached.
1850D IR Filter in this kit.
 |
Fig 3 HID lamp __?__ watts
4-3/4" I.D. for light.
Small hex screw to right of handle front is up-down focus
cap.
 |
Fig 4 Red On/Off button & 4-way rocker
switch
 |
Fig 5 DC input connector
& blank plate is Remote connector location.
 |
Fig 6 Lever inside hand grip lifts locking
pin.
small hex screw at right center of body is left-right
focus cap.
 |
Fig 7 DC input connector AMP CPC shell size
11
Lamp head: 4 male pins
Cable: 4 female sockets.
 |
Fig 8 Fast Charger MBP-5200
Note two spring loaded gold plated pins at right (battery
temperature sensing?).

|
Fig 9 Fast Charger MBP-5200
Panel mount plug is for 11-36 VDC input. It has
special
circular notch to match AC adapter plug.
AMP 206429-1 Connector plugs into battery.
|
Fig 10 Charger AC Adapter MBP-5200-ACMV
Note special keying plug on connector.
The patent numbers are for the
MBS-410.
 |
Fig 11 Charger AC Adapter MBP-5200-ACMV
24VDC 2.7 A output.
 |
Fig 12 Cable No marking face to Light
MBA-8105, MBA-8208?
 |
Fig 13 Cable No marking face to Light
MBA-8105, MBA-8208?
 |
Fig 14 Power connector on MBS-410 showing
voltgages.
Note: There is not a short between pins 1 & 2
nor 3 & 4.
These may have different functions. If you have a a
dead
MBS-410 I'd like to reverse engineer it. Contact me.

|
Fig 15 back view of power cable connector
that mates to MBS-410 and is numbered the same way.

|
Fig 16 Lights on low and medium
power.
Focus does not work.
Shuts off when high beam selected.
12.32 Volts & 5.01 Amps (62 Watts)
After restoring factory defaults:
(on) (up) (right) (down) (left) (up) (off)
Table at 13.50 VDC input
Mode
|
Amps
|
Watts
|
low
|
3
|
41
|
med
|
4.4
|
59
|
Hi
|
9
|
122
|
 |
Fig 17 Very important to push sockets into
shell until
the tip of socket is within about 0.1" of face. If
back 1/4" they do not make contact with MBS-410.
 |
Fig 18 Ni-Cad battery MBP-1207

|
Fig 19 Li-Ion battery MBP-1307
 |
Fig 20 Ni-Cad on charger (using 120 VAC
adapter).
After charger light turned green, pressed & held
button.
Now charger light blinking green. i.e. cycling
Ni-Cad battery.
 |
Fig 21 Inside Li-Ion MBP-1307: 12 each
18650 cells.
The Red&Black wires at the lower left go to the light.
The Red&Black wires at the upper left are from the
external charging source.
The 5 terminal Molex is for the 4S3P battery pack.
The two small black wires go to a 10k Ohm thermistor that
senses pack temperature.
The PCB has three functions:
- Charge battery
- Battery Management System to protect cells
- Power Light (battery pack voltage is too high).
LTC1625 Step Down Switching Reg (bottom of PCB)

|
Fig 22 4S3P Battery Pack w/10k Thermistor
 |
Fig 23 Inside Ni-Cad MBP-1207
5 cells in top layer + 5 cells in bottom layer = 10S pack.
10 * 1.2V discharged = 12 Volts min.
10 * 1.42V charged = 14.2 Volts max (exceeds stated 13.5V
limit).
Four Landing pads for light feet, case is not sealed,
there are particles inside.
 |
Fig 24 Location of landing pads Ni-Cad
MBP-1207

|
Fig 25 The top layer
(3-horizontal&2-vertical)
is the same as the bottom layer.

|
Fig 26 MBR-1035 Diode is black square
at left, function? It's related to the 2 pogo pins
on the Ni-Cad charger (Fig 8)
The similar black object under the label connected to 2
red
wires is a thermal fuse connected between the external
connector and battery positive.
 |
Fig 27 Interface plate removed from battery
pack.
View from inside battery pack looking back at light head.
The battery pack is not sealed at all, see Fig 23.

|
Fig 28 Light
Output test in medium power
Note display is 603 and range is x10
so light is 6030 Lux. Actually was 6300 Lux
but after tape applied it moved.
The opening at lamp is 4-3/4"
At 8.74 meters (this photo) light circle (bright outer
ring)
is about 1 foot diameter.
The beam angle is 1.2 degrees.
Note how dark it is outside beam,
all the light is in the beam, great optical result
because of point light source (HID lamp).
 |
Fig 29 Battery Comparison
The Bioenno
BLF-1209WS 12v 9 Ah battery is the exact same size as the
Tysonic 12V 7.0 AH Sealed Lead-Acid battery.
The lead-acid battery weighs 4# 14 oz and the LiFePO4
battery weight 2# 13 oz.

|
Fig 30 MBS-410 running from LiFePO4
battery.
 |
Fig 31 A 12V 9Ah LiFePO4 (or a 12V 7Ah
Gel-Cell) battery
fits inside the mounting plate from factory Ni-Cad
battery. I'm guessing that the first generation lead
acid battery was a Gel-cell with a size identical to the
current 12V 7Ah version.
 |
Fig 32 to access the lens or Lamp remove 3
screws(1/16" hex).
If lamp unpluged it probably will need adjustment.

|
Fig 33 Lamp & Lens (Teflon button)

|
Fig 34 to access the reflector
assembly remove 4 (3/32" hex) screws.

|
Fig 35 front of main housing (lens assembly
removed)
2 Banana Plugs for lamp power & focus rod.

|
Fig 36 To access PCB assembly remove 2
screws at front of handle (3/32" hex) and 4 screws (9/64"
hex) 7 holding rear housing onto extrusion.
 |
Fig 37 "Airtronics servo 94102" (on eBay
$12 new).
Daughter PCB just below Servo holds smaller memory chip.
 |
Fig 38 Focus hinged plate shown forward for
spot beam.
Lamp is on in this photo.
 |
Fig 39 PCB marked G2-13A.
 |
Fig 40 Opened Handle
 |
Fig 41 New in Box Servo 94102

|
Fig 42 New in Box Servo 94102
|
Fig 43 Close-Up of Airtronics 94102 Servo
 |
Fig 44 Before starting the replacement:
1. Be sure the replacement is correct size
2. Rotate both servos fully CCW, i.e. rod fully extended.
Note the cam can be installed many ways but needs to
match.
Rod protrusion: 0.995"

|
Fig 45 Removing Servo - wires stuffed in
cavity

|
Fig 46 Servo connector behind (9935)
connector which has
pin one on the left.
Software Version 2-20
This looks too difficult for me. If I unplug the
9935 connector
I might not be able to plug it back in. Also the
servo connector
is going to be extremely difficult to remove &
replace.
 |
|
|
Time Line
As far as I can tell there is forward and backward
compatibility between various versions of the light head and
various versions of the battery.
1980s: The first generation MBS-410 released.
Lead Acid Gel-Cell battery.
late 1980/early 1990: G2-nn: Second Generation circuit board
released. 6 million CP max.
2004: G3: Third generation circuit board released. (serial
number contains "G3" but no dash number) starting with 6 million
CP
2006: G3-12: upgrade light output from 6 Million CP to 7.5
million CP, 85 Watts. (2400N HID lamp)
2006: MBS-410-A: 85 Watt lamp & new reflector: 12 million CP
2010: G3-12R: add remote control port
2010: change default left press to Strobe mode
2011: G3-20: upgrade light output to 12 million CP, 85 Watts
(2400N lamp and new reflector) (UXL-75PB alternate HID lamp,
slightly more output) All versions have enhanced reflector, no
more -A model numbers.
2013: G3-20Y: upgrade lens to "spyder" design
2016: G3-26: continuous high beam programming option
(depends on capacity of LiFePO4
battery).
Lamp
Support:
- Teflon Button: early G2
- Metal Button: G3
- "Spyder" lens: G3-20 and newer
Serial
|
MFG data
|
CP
|
Watts
|
|
M7907 G2-20 |
June 2000
|
6m
|
75
|
M11604 G23
|
2004
|
6m
|
75
|
M11738 G23
|
2004
|
6m
|
75
|
M14146 G3-12
|
Dec 2006
|
7.5m
|
85
|
Connectors
The battery end of a cable is marked AMP 206429-1 which is the
CPC series, shell size 11 4-pin plug. The connector that
mates to the light head is very similar except has 4 sockets.
Maybe: AMP 206060-1 Plus some female contacts and cable clamp?
The cables are not marked with a part number. The male
4-pin plugs are AMP 206429-1 but the female socket is needed to
connect to the light head.
Plastic
Pin
|
Metal
Pin
|
Color
|
Function
|
1 & 2
|
A & B
|
Red
|
+12 VDC
|
3 & 4
|
C & D
|
Black
|
-12 VDC
|
The 2018
Manual.pdf says Operating Voltage 10.0 to 13.5 VDC (and
also Over Voltage/Reverse Polarity Protected to +/-36V.
It's interesting that they do NOT support a normal "12 Volt" automotive electrical
system which ranges between 10 and 15 VDC. The MBA-7100
series of 12 Volt vehicle adapters appear to just be straight
wired, i.e. they will supply 10 to 15 VDC to the lamp head. Or
do these contain some type of voltage limiting?
The reason I'm concerned about this is there was a Candle
Power Forums post saying voltages over 14.0 may damage the
light head. Li chemistry batteries are nominally 3.7
Volts/cell but at full charge are more like 4.2
Volts/cell. So 4 series cells would be 14.8 VDC nominal
and 16.8 VDC when fully charged.
Connecting eyes (patent item 80) probably have 3/16" ID holds
for carry strap snap connectors.
Movies
I've seen this light in a number of
movies. Large light head (almost a foot in diameter) with
a carry handle on top and battery box below. In night
scenes the beam is very similar to a W.W.II anti-aircraft search
light (Wiki).
They show up on eBay with various battery and charger
configurations, but too pricey to buy just for a photo op.
They sell a searchlight
kit for the movie makers and have this to say: "The
Maxa Beam Searchlight is featured in
movies and TV
shows including Alien vs. Predator, Blade, The Day After
Tomorrow, Demolition Man, Earthquake, Ghost
Ship, Gone in 60 Seconds, The Lost
World, Sahara, Sphere, True
Lies, X-Files, Volcano, NCIS, CSI: Miami
and Crossing Jordan. " I've also seen on Mindhunder
(S2:E9),
This table is mostly guess work since there are multiple movies
& episodes with the same title.
It would be interesting to know the
battery
type, i.e. lead acid, Ni-Cad, Ni-MH, Li-poly, Li-Ion, &Etc.
over this time frame.
Arc Light EFX
Maxa Beam
Handheld Searchlight - 75 Watt Short Arc Xenon lamp w/ 500
hr life.
The Peak Beam Ni-Cad and Li-Ion battery packs were provided by
Greg of Arc Light EFX.
Programming
The manual has instructions for programming. A key idea
is that this is done after the light has been on for a short
while (i.e. the lamp brightness has stabilized). It is
done by pressing and holding the red On/Off button and then
moving the 4-way switch in a pattern, and finally releasing the
red button, which then turns off the light while remembering the
new programming. If you just read the programming steps
for the function you want you will miss the part about holding
down the red button.
MBS-410 Patents
5072347
Search light, Robert
L. Brunson (Peak
Beam Systems), Dec 10, 1991, 362/194, 362/187, 362/261, 362/286, 362/306, 200/60 - arc lamp like in the AEX25
5142458
Search light, Robert
L. Brunson (Peak
Beam Systems), Aug 25, 1992, 362/184, 362/183, 362/261
5144207
Circuit and method for igniting and
operating an arc lamp, Robert
L. Brunson (Peak
Beam Systems), Sep 1, 1992, 315/291, 315/307
5228770
Search light, Robert L. Brunson
(Peak Beam Systems), Jul 20,
1993, 362/194, 362/306, 362/390, 362/261
Related Patents
3259777
Metal halide vapor discharge lamp with near molten tip
electrodes, Elmer G Fridrich, GE, App: 1961-05-09, 313/570;
313/627; 313/631; 313/639 -
3714493
Compact metal halide arc lamp containing primarily mercury
iodide, E
Fridrich, GE, App: 1970-04-06, 313/571; 313/620; 396/547;
313/637 - mercury iodide doping
4633128
Short arc lamp with improved thermal characteristics, Roy
D. Roberts, Robert
L. Miner, ILC Tech, App: 1985-05-17, 313/113; 313/634 -
includes parabolic reflector on ceramic alumina.
4937496
Xenon short arc discharge lamp, Manfred
Neiger, Reiner
Hoppstock, Bernd
Kleiner, Heraeus Noblelight GmbH, Priority: 1987-05-16,
313/632; 313/620; 313/637; 313/643; 372/69 - thallium
iodide doping provides more light than prior types (100 patents
cite this one) - looks and feels like the lamp in the Peak Beam.
The Peak Beam searchlights make use of the above lamps, but not
the newer lamp shown below.
6200005
Xenon ceramic lamp with integrated compound reflectors, Roy
D. Roberts, William
F. Hug, ILC
Technology Inc, 2001-03-13 - Intelligent Lighting Controls
(ILC) - includes parabolic reflector on ceramic.
Batteries
The acceptable range of input voltage, measured at the
head input connector is 10 to 13.5 VDC! My guess is that
their thought many years ago was that a fully charged "12 Volt"
lead acid battery would be 13.8 Volts and the wire loss would
bring that down to 13.5. No consideration was paid to
using the light in a moving vehicle where the charger would
bring the voltage up to 14 point something, commonly rounded to
15 VDC.
Guess at the size of battery face that mates to light head: 3.5"
x 6.5"
A 2x5 Ni-Cad battery pack of F-cells is about 7.2" x 3.6" x 2.4"
(Battery
Space 7061) 10 Ah 12V
An offset version Ni-Cad (10 ea F-cells) measures 6" x 4" x 3.5"
(Battery
Space 7760) 10 Ah 12V
Bioenno Power makes
a number of LiFePO4 batteries, some as replacements for "12
Volt" lead acid gel-cell batteries such as: BLF-1209WS
(on order 8/21/2019), BLF-1209A,
BLF-1212AB
- but the voltage may exceed 13.5 VDC.
The 12V 9Ah 108 Wh p/n: BLF-1209WS (ABS Sealed) battery measures
14.55 V when fully charged and still on the charger.
Within a few minutes it's down at 14.37V 8/26/2019 8:15 PM.
8:51pm 14.17V
9:10 am (8/27.2019): 13.79
12:24 pm: 13.76V
2019 Aug 30:
BatterySpace ID: 7029 - 12V, 10 Ah, UN38.3 and appears to
have a push to test state of charge indicator.
Over time the 12 Volt DC battery has evolved. Operation
and Maintenance of Legacy Maxa Beam Searchlight Battery
Systems.pdf
As of 7/29/2001 you can have two batteries, each up to 160 Watt
hour capacity in your carry-on luggage. iata.pdf
Model
|
Chemistry
|
Amp Hr
|
Watt Hr
|
Run
Time
min
|
Load
Amps
|
LxWxH
Ex plate
Ex conn
Just box
|
MBP-1207 box
|
Ni-Cad
|
7
|
84
|
|
|
6.5x4.25x3
|
MPB-1217 belt
|
Ni-Cad |
7
|
84
|
|
|
|
MPB-1307
|
Li-Ion
|
6.6
|
80
|
|
|
6.5x4.25x2.25
|
MPB-1308
|
LiFePO4
|
7.5
|
90
|
115
|
3.9
|
|
| MPB-1308-FG |
LiFePO4 |
7.5
|
90
|
115
|
3.9
|
|
MPB-1310
|
LiFePO4 |
10
|
120
|
|
|
|
Chargers
There are fast and slow chargers and for each battery
chemistry.
Gel-Cell
MBP-4110 Jacks for Battery Charger or Searchlight. Fast
Charge LED.
Ni-Cad
Early Ni-Cad batteries had a "memory" problem that would cause
loss of capacity. Some of the chargers, like the MBP-5200
& MBP-5600 have a cycling function to mitigate this.
3100 110 or 220 VAC trickle Ni-Cad (48 hrs max)
4200 AC Fast Ni-Cad (discontinued 2001)
5200 11-36 VDC or 100-240 VAC Smart Ni-Cad, slow or fast For
MBP-1200 series batteries (either a Vehicle cable or AC
adapter (MBP-5200-ACMV)
5600 11-36 VDC or 100-240 VAC Smart Ni-Cad, slow or fast +
direct power light
Li-Ion
5003 3A AC adapter
5230 10 - 29 VDC Vehicle Adapter
5010 10A AC Adapter
7406 NATO slave adapter
5630 10-29 VDC Vehicle Adapter
4000S 100-240 AC Power Supply
7110 12 VDC Vehicle Adapter
LiFePO4
3200 AC/DC Charger (may run from "12 VDC" vehicle or from AC to
"12 VDC" adapter).
3205 100-240 VAC Charger
3230 12 VDC Charger
4312 12 VDC to AC Inverter to power 3205 Charger from 12 VDC
Vehicle.
Light Output
Powered from HP 6038A in medium power mode 13.50 V @ 4.38 Amps (59
Watts) input.
Amprobe LM631A reads between 600 and
630 Lux (on the 10x range) at a distance of 28' 8" (8.74 meters).
From the Peak Beam paper:
RADIOMETRIC
RADIOMETRICTESTING TESTING TESTING RESULTS RESULTS VER 1.2 -
Candela = Lux * (meters)^2 = 6300 * 8.74 * 8.74 = 481,240 Cd. in
low power mode.
In high mode (13.5V, 8.2A, 110W) 1108 Lux, so Cd = 11,080 *
8.74 * 8.74 = 846,370 Cd (Above the advertized output of 6 million
candlepower.)
In Low power mode (13.5V, 2.96A, 40W) 244 (x10 range = 2440) so .
. . 2440 * 8.74 *8.74 = 186,385 Cd
Light Output at 8.74 Meters)
Mode
|
V
|
A
|
W
|
Lux
|
Cd
|
Low
|
13.5
|
2.96
|
40
|
2440
|
186,000 |
Med
|
13.5 |
4.38
|
60
|
6300
|
481,000
|
Hi
|
13.5 |
8.74
|
110
|
11080
|
846,000
|
YouTube: The
Weaponlight Surefire Doesn't Want to Talk About, 13:04 -
"M" model numbers for rifle lights, "X" for pistol lights.
Millennium®
Universal WeaponLights
Tactical Flashlight M961

Designed to mount on a Picatinny rail (Wiki).
|
M955XM00
A391132
6V Rail Mount
Universal Tac Light
M00 (no cable)
M93 Mount
1.37" head/bezel
|
M961
M961XM07
A235932
9V Rail Mount
Universal Tac Light
with 7" cable
LU10 Barrel Extender/collar/adapter
MN10 lamp assembly
1.62" head/bezel model: ??
|
M97x
|
M98x
|
No. of 123 Batteries
|
2 (6V)
|
3 (9V)
|
3 (9V)
|
4 (12V)
|
Lamp
|
P60
KM3
|
MN10 - 125 Lumens - 3 hr
MN11 - 225 Lumens - 20 min
KM3
|
MN15/MN16
|
MN60/MN61
|
| Bezel O.D. inches |
1.47
|
1.62 |
|
|
Filters
|
FM63 - IR
(Kit02)
|
FM13 - IR
FM14 - Diffuser
FM15 - RED
FM16 - Blue
FM17 - beam cover
(Kit01)
|
|
|
Tail Caps
XM07 shown below

Switches - Tail Caps
Suffix
|
Description
|
| XMxx |
Cap Push On/Push Off
and socket for cable. xx = 07 = 7"
|
C
|
Cap button: momentary on &
constant on
|
SUxx
|
only socket for cable xx" long
|
Mounts
There are two ways that the mount can
be attached to the flashlight body. Note that at the
base of the body one side is square to the rail surface and
the opposite side is a dovetail. There are two small
(1/16 hex, 4-40) tapped holes on the flat side. There
are two larger (3 mm hex, 5-0.8mm) tapped holes on the bottom.
The hex head and thread sizes don't seem correct, one is
English and the other is metric. Maybe the two different
scope bodies A391132 & A235932 differ, one being English
and the other being metric?? Tell
me if you know.

|
A391132 M93 on left with 3 mm hex,
5-0.8 mm screws in bottom. These are larger hex
and threads, more reliable.
A235932 M49 on right with 1/16hex, 4-40 screws on
bottom. These are fragile hex and threads.
Note one of the small screws on the side is not seated
and the hex driver is not tight. Maybe the wrong
screw?
|
The M49 two thumb screw mount is attached with two small
screws that go into the side of the body.
I think the M50 also attaches this way.
The M93 lever mount is attached to the body with two larger
screws that go up from the bottom of the mount.
M49
two screw mount (last digit of model number = 1, i.e.
M961)
M50 Lever Mount (last digit of model number
= 2, i.e. M962)
M93 Lever Mount
Body
The body has male threads for the tail cap and female threads
(different size) for the head. It also has the feet to
install the mount with both bottom and side anchor screws.
MH90 - A170226 (OD color)
MH90 - A451156 (tan color)
MH90 - A519150 (gray color)
MH90 - A434087 (tan color)
LU10 Barrel Extender/collar/adapter
Screws into the front of a two CR123 cell (6
Volt) main tube/mount and adds one CR123 battery for a total
of three (9 Volts) and has larger diameter male threads to
allow for head with 1.62" bezel diameter.
Heads/Bezel
M961 shown below with MN10 lamp
(spare MN10 lamp came in box)

Z32 - M2 bezel fits M951/M952 uses LU60
collar/adapter and P60 lamp-reflector assembly. (Flat glass
or lens?)
Z46 - M3 bezel fits M961/M962 uses MN10 or MN11 filament lamp assembly or tower LED
module
LED Heads
 |
Upper Right
Lumens Factory
for M
Series Replaces head on M961XM07
Single Mode, 7.2 - 18V, 900 Lumens
Both much brighter than KM3 and larger diameter
beam.
Too bright for Amprobe
(Meterman) LM631A Digital Light Meter at
arms length. Need to setup measured outdoor
test range.
Upper Left
Lumens Factory
M3-LED
tower LED module
M3, M500 & M900 Weapon Lights (MN10, MN11
replacement)
This is a single mode, but they also make a 3-mode
Lumens Factory makes other models for the MN15,
MN16, MN20, MN21 lamp assemblies.
Bottom Surefire KM3 LED Head (White or IR)
|
The factory LED head is the
KM3 LED WeaponLight Conversion Kit – White and IR Output
-(white or IR output)
KM3
Has markings:
KM3, US Pat Pending
CE, FC
White ->, IR <
Note: to change: Pull head forward about 1/8" then
turn and release. When in the IR position the LED
appears to be dull red when turned on.
Provides illumination for the M18
Binoculars as well as the Russian
T3C Night Vision monocular. Didn't check the PAS-6 Metascope IR viewer since it
was not at hand.
Shining the IR light into a Nikon D300s shows about the
same as with the naked eye, i.e. the camera's internal IR
cut filter works well.
There are also third party LED kits:
LED Drop-in Tower (1 Mode) for Surefire M3 and M500, M900
Combatlights by eBay seller impreza1000
- lamp module without reflector (white only)
and
LED 1 Mode Head for Surefire M Series M3, M3T, M6, M500,
M900, M961, M962 by the same eBay seller - lamp &
reflector module (white only)
Patent on User Manual: 6046572
Battery operated appliance, flashlight and
switching systems, John
Wallace Matthews, Paul
Youngcho Kim, Laser
Products Ltd., Apr 4, 2000
Filters
1.37" Bezel/head diameter: FM47 (opaque)
1.47" Bezel/head diameter: FM63 (IR),
1.62" Bezel/head diameter: FM14 (diffuser), FM15
(red), FM16 (Blue)
7220016
Flashlight with selectable output level switching, John
W. Matthews, Paul
Y. Kim, William
A. Hunt, SureFire LLC, Priority: 2003-12-09, Pub:
2007-05-22 -
Surefire Helmet Lights
These come in an assortment of LEDs giving different colors.
Number of LED of color shown
|
7549763
Clothing attachable light, Paul Y. Kim,Travis S.
Mitchell, Laichang Tang, SureFire LLC, 2009-06-23 |

|
7722205
Headgear light, Paul Y. Kim,
SureFire LLC, Application: 2006-01-12, Pub: 2010-05-25 |
Sun Flare
A friend likes this flashlight so it came to me to see what can be
done to get it working.
The problem was the 4 cell Ni-Cad battery stick which has all
cells dead.
The pack is made up of cells marked: KR-1800SCE and they are SubC
size (22mm dia x 42mm long.)
Although it may be difficult to find an exact battery pack, SubC
Ni-Cad cells are available and should work.
But... before ordering replacement batteries, need to find out if
the lamp can be replaced.
Sun Flare Fig 1 Made by Sunbright

|
Sun Flare Fig 2
Pins: 0.71mm dia x 6.25mm long, 4mm c-c
Bulb: 7.85mm dia x 19mm long
G4 base
T-2.5 bulb?
I've found 10, 20 & 30 Watt lamps like this.
Filament location important for focus
Sunbright p/n: 306-036

|
Sun Flare Fig 3
Marked:
Sunbright Industries
1-888-222-4114
Part# LP306-10
Warrning - Plus Towards Lamp

|
Sun Flare Fig 4 Inside Fast Charger
MAX713
NiCd/NiMH Battery Fast-Charge Controller
Fancier than the example circuit, has status LED, +?

|
Sun Flare Fig 5
BatterySpace.com p/n CU-J1025

|
|
May Torch Patents, search for
Searching patent
class 362/186 Illumination/Self Powered Lamp (Dome, globe
or wire guard or lamp bulb cover)
1338528 SUBMERSIBLE LIGHT FOR FISHERMEN, ERNEST W. REINEWALD, Apr
27 1920,
362/186 ; 362/158; 43/17.5 - attract fish
1445483
SIGNAL
ATTACHMENT
FOB PLASH LIGHTS, Burke, Feb 13 1923,
40/502 ;
273/161; 340/321; 362/186; 362/205; 40/555 -
3054088
FLASHLIGHT
STRUCTURE, Haim Shwisha (Orly Lite), Sep 11 1962,
340/473
; 340/321; D26/118 - wireless
1480171 Lantern, EDWARD J. MCDADE (EMBURY Mfg), Jan 8, 1924,
362/186
- keroscene look, large bail, maybe skater's lantern?
1575636
Miner's
S SAFETY LAMP, HEINEIOH MEYER, Mar 9, 1926,
362/304
; 362/186; 362/307 - adjustable reflector inside dome
1620842
ELECTBIC
HAND Lantern, J VAN Rensselaer, Mar 15, 1927,
340/321
; 362/186 - lamp on hand, batt on belt
1648709
PORTABLE
ELECTRIC LAMP, WILLIAM B. WINSELL, Nov 8 1927,
362/191
; 15/143.1; 248/689; 362/186; 362/203 -
1676977
LIGHTING
SHIPS LIFEBOATS AND THE LIKE, JOHN GLAGS BLAIR, Jul 10 1928,
362/186 ; 200/84R; 307/157; 315/362; 315/77; 362/157 -
1765110
HIGHWAY
MARKER, Lemelson, Aug 24 1965,
340/321 - pop-up
glass dome
1904248 Lantern, JS Pixley (Armspear Mfg), Apr 18 1933,
362/186
- bi-conical reflector
1950369
FLASH
LIGHT
BATON, Maurice A. Klein, Mar 6 1934,
362/102 ;
362/186 - nighttime parade use
2090293
HIGHWAY
ROAD FLARE, Haines, Aug 17 1937,
340/321
; 340/331; 340/473; 340/815.76; 362/186- look of May Torch
2718635
ELECTRIC
SAFETY AND TROUBLE LAMP, Charles
Sabiers, Sep 20 1955,
340/815.66 ; 340/321; 340/473;
362/293 -car powered
2728824
BICYCLE
STOP LIGHT, HR Whildin, Dec 27 1955,
200/61.12 ;
200/61.39; 340/432; 362/473; 362/541-
2739305
COMBINATION
FLASH AND BEACON LIGHT, Luther R. Harmon, Mar 20 1956,
340/321
; 362/184 - 6v lantern batt vehicle breakdown
2761057
THERMOMETER ILLUMINATING DEVICE, Mark G. Modell, Aug 28
1956,
374/191 ; 362/120; 374/194; 374/E1.01-
2765396
DOOR
LATCH
ILLUMINATING MEANS, Egil O. Iverson, Oct 2 1956,
362/203
; 200/507; 362/100 -
2772407
SIGNAL ATTACHMENT, Earl W.
Nichols, Nov 27 1956,
340/321 ; 340/573.2; 340/668;
362/205; 43/17- switched by lever pulled from fishing line
2785289
PORTABLE
ELECTRIC LAMP, Leonard A. Seiss
(Seiss Mfg), Mar 12 1957,
362/202 - life vest light
References:
910835
ELECTEIC
SWITCH, house lights
1728302
SIGNAL,
car turning
[1998853
VEHICLE
BODY STRUCTURE, car transporter number typo]Jun 10, 1941,
-
2123491 Portable Lamp, Robert G. Williams (Usona Mfg Co ), Jul
12, 1938
2144137
RHEOSTAT
SWITCH
2244737
LIGHTING
FIXTURE, L. L. STEWART (Adlake Lighting
Co), Jun 10, 1941,
362/483 ; 362/311; 362/484 -
may only apply to line powered lights.
2619559
LINE
OPERATED
FISHING SWITCH
2788439
PORTABLE
DOME LIGHT, Gilbert S. Hesse, Apr 9 1957,
362/310 ;
2/209.13; 273/DIG.17; 340/321; 340/815.73; 362/106; 362/186;
362/347; 362/363; 362/396; 446/27; D26/39- lamp on top of
hat w/cord to battery
References:
1754570
Fiber
optic
finger light, Mark W. Prince, Feb 4, 1992, F21L 1512; F21V
800 - batteries on wrist light from top of finger
2099167 Portable Electric Head Lamp, W.F. Koepke (Adolph Berg),
Nov 16, 1937,
362/190 ; 200/60
2320222 Swimmer's Appliance, Antonio Crupi, Apr 25 1942,
362/106
; 116/173; 116/209; 2/68; 362/158; 362/208 - top of head beacon
2327696 Safety Lamp, Gordon Norman Bishop, Aug 24 1943,
2355247 Life PReserver Light, Henry M. Slocum (Colvin-Slocum
Boats Inc), Aug 8 1944
2813195
DOOR
LOCK
ILLUMINATOR, Willey, Nov 12 1957,
362/100 ; 362/197;
362/802 -
2911637
ELECTRIC
FLASHLIGHTS OR TORCHES, Herbert Wortmann (Carl von der
Crone), Nov 3 1959,
340/321 ; 340/331; 362/205- flasher
tail cap
2971082
Sputnik
Cap, Dean Frank, Feb 7 1961,
362/106 ; 116/202;
2/173.5; 2/209.3; 273/DIG.17; 362/807; D11/124; D26/134; D26/51;
D29/102 -
3065337
FLASHLIGHT,
Arnold T. Torgerson (Electric Storage Battery o), Nov 20 1962,
362/191
; 220/265; 429/116 - life vest single D cell
3323117
VISUAL
MARKER
OR BEACON, Robert P. Mason, May 30 1967,
340/321 ;
116/209; 340/815.74; 340/815.75; 362/158; 362/186; 362/470;
362/486 -
Flashing flashlight lamp in
waterproof sphere
3662166
BATTERY-OPERATED
UNIT, Johannes Dietz, May 9 1972,
362/201 ; 267/153;
D26/48 - 9 cell super powerful flashlight
3711694
KEYHOLE
LIGHT, Charles Gronauer, Jan 16 1973,
362/100 ;
200/61.76; 362/802 -
3798437
LIGHT
SOURCE, Robert I. Sarbacher, Mar 19 1974,
362/189 ;
D26/46 - electrolyte in seperate vial (reserve battery
incandescent lamp
References:
2118996
EMERGENCY
LAMP, Gunnar A. F. Winckler (Winckler Eng Labs), May 31,
1936,
429/116 ; 362/186 -
Electrolyte in glass ball which
is crushed to activate light
2147116
GENERATOR
FOB EMERGENCY LAMPS, Gunnar A. F. Winckler (Winckler Eng
Labs), Feb 14, 1939,
429/116 ; 362/192
sealed 5 cell incandescent lamp.
reserve battery w/ central electrolyte vial
2898394
DEFERRED
ACTION BATTERIES, Philip S. Williams (Navy), Aug 4 1959,
429/114
2534056
DEFERRED
ACTION BATTERY, Arnold Pitt, Dec 12 1950,
429/114 ;
429/116; 429/210 - missile deferred action battery
References:
341536 Electric Shell Fuse, E.L. Zalinski (Fort Hamilton), May
11 1886, 102/216 ; 102/259
1328393 Storage Battery, P.B. Rabe (C X Giant Battery), Jan 20
1920, 429/94
1333295 Storage Cell, R. Drambourg (Federal Batt Mfg), Mar 9
1920, 429/129
2147116 Generator for Emergency Lamps, Gunnar A. F. Winckler
(Winckler Eng), Feb 14, 1939,429/116 ; 362/192 -
2403567 Electrically Energized Fuse, Wales, Jr., Jul 9 1946, 429/114
; 102/207; 429/116 -
4004132
Convertible
flashlight-lantern, Marvin I. Glass, Jan 18, 1977,
240/106.3; 240/64R; 240/11; 240/22; 240/37 - camping lantern or
flashlight
4529962
Portable
door signal, Vancortland T. Robinson, Jul 16, 1985, 340/321;
200/616.2 - for deaf occupant
4754376
Automatic
ice chest light, Charles H. Winslow, Jun 28, 1988, 362/92;
362/154; 362/191; 362/427; 362/802 - batt powered freezer light
4794498
Illuminated
balloon assembly, Rafael Perez, May 26, 1992, 362/352;
362/253; 362/190; 362/806; 446/220; 402/4
5178450 Selectively illuminated jar, Marilyn E. Zelensky, Brian E.
Zelensky, Jan 12, 1993, 362/154; 362/101; 362/155; 362/186;
362/802; 362/805; 362/806
"Sunshine in a Jar"
| D90265 |
DESIGN
FOR A LAMP OR SIMILAR ARTICLE |
Apr 1933 |
| D223720 |
WALLACE R |
May 1972 |
| D268210 |
Bottle
lamp |
Mar 8, 1983 |
| 1921570 |
ILLUMINATED
ADVERTISING SIGN |
Aug 1933 |
| 2415514 |
TABLE
LAMP |
Feb 1947 |
| 2470612 |
ILLUMINATED
RATTLE FOR BABIES CRIBS |
Nov 1947 |
| 2878591 |
PLANETARIUM
NOVELTY LAMP |
Feb 1958 |
| 3144992 |
NIGHT
LIGHT
CONSTRUCTION |
Aug 1964 |
| 4323879 |
Bicycle
safety
flasher with optional mounting means for other uses |
Apr 6, 1982 |
| 4390928 |
Container |
Jun 28, 1983 |
| 4428034 |
Light
bulb mounting unit |
Jan 24, 1984 |
| 4922355 |
Illuminated
beverage vessel |
May 1, 1990 |
| 5226721 |
Decorative
outdoor
light |
Jul 13, 1993 |
| 5311413 |
Device
for instantaneously energizing glow bait used for
fishing |
May 10, 1994 |
| 5331527 |
Decorative
outdoor
light |
Jul 19, 1994 |
| 5406466 |
Decorative
outdoor
light |
Apr 11, 1995 |
| 5504663 |
Container
adapted
to include a light source |
Apr 2, 1996 |
| 5743620 |
Body
worn lighted drinking receptacle |
Apr 28, 1998 |
| 5785407 |
Illuminable
container |
Jul 28, 1998 |
| 6065848 |
Base
for illuminating the interior of a container |
May 23, 2000 |
| 6068386 |
Bottle-shaped
flashlight |
May 30, 2000 |
| 6086216 |
Bottle
lantern |
Jul 11, 2000 |
| 6161323 |
Method
for evaluating a fishing lure |
Dec 19, 2000 |
| 6179436 |
Backpack
lantern |
Jan 30, 2001 |
| 6254247 |
Illuminable
containers and method |
Jul 3, 2001 |
| 6398382 |
Apparatus
and
method for indicating liquid level in a chemical tank |
Jun 4, 2002 |
| 6511196 |
Container
with
illuminated interior visual display |
Jan 28, 2003 |
| 6923549 |
Container
with
illuminated interior visual display |
Aug 2, 2005 |
| 7040776 |
Self-contained
illumination device for medicine containers |
May 9, 2006 |
| 7232517 |
Passive
freestanding
portable liquid filtration device |
Jun 19, 2007 |
| 7311412 |
Liquid
container |
Dec 25, 2007 |
5237491
Personal
rescue light, Walter K. McCarter, Aug 17, 1993, 362/186;
362/205; 362/363; 362/802; 116/209; 3408/515; 441/18; 441/36 -
life vest use. lens looks
very much like May Torch
5489887
Waiter
signaling
device, Miguel A. Porras, Feb 6, 1996, 340/332; 340/321;
340/28609; 340/473; 362/414; D10114; D26106
6270233
Illuminated
bucket, Jack Holland, Aug 7, 2001, 362/154; 362/186;
362/311; 362/808 - for Halloween trick-or-treat
7090373
Flashlight
with supporting structure, Larry Lai, Aug 15, 2006, 362/202;
362/190; 362/205; 362/414; 362/418 - "transformer" type end cap
expands so it can stand on end
D147259
LIP
ROUGE
MAKE-UP UNIT, Laurie J. Campbell, Aug 12, 1947,
D28/77
D249291
Wireless
light fixture, Whitley Pemberton (Ray-O-Vac),Sep 5,
1978,
D26/85 -
D311963
Flashlight
for a handbag or similar article, Joyce N. Reback, Nov 6,
1990, D26/37 -
References:
[D 255275 number typo]
D267980 Combination utility and pocketbook light, Edward
Gibstein, Jeffrey Nortman (Jedco Products), D26/37
D298658 Purse illuminator, Stephen A. Roberts, William H.
Howard, Nov 22, 1988, D26 37
2167789 Portable Electric Lamp, Bert E. White, Aug 1 1939, 362/186
; 600/248, -
4611264 Combination switch light and
rechargeable flashlight, Morgan B. Bradley, Sep 9,
1986, 362/95; 362/183; 362/191; 362/200
D346670
Bicycle
head lamp, Takashi Ueda (Cat Eye Co), May 3, 1994, D26 28;
D28 49 -
References:
2172925 Lamp, Carl E. Meyerhoefer E.A. Labs), Sep 12 1939, 362/186
; 340/432; 340/815.76; 362/208 - bicycle tail light
2188129 Two-Tone Reflector Flashlight, Joseph F. Ayotte
(Scovill), Jan 23 1940, - 362/188 - two part reflector
and adjustable lamp spacing allows for spot, area and a beam
where there's a bright ring aournd the main beam
D349071
Table
service
signalling light for restaurants, Kyle D. Fields, Jul 26,
1994,
D10/114 ; D26/106
References:
| D328571 |
Table
service
signal light |
Aug 11, 1992 |
| 2415991 |
POKTABLE
SIGNALING
DEVICE |
Feb 1947 |
| 2563693 |
TABLE
SERVICE
SIGNAL DEVICE FOR RESTAURANTS |
Aug 1951 |
| 2565980 |
SIGNALING
DEVICE |
Aug 1951 |
| 2580074 |
ELECTRIC-LIGHT
SERVICE INDICATOR |
Oct 1950 |
| 2638583 |
TABLE
SIGNALING
FLASHLIGHT |
May 1953 |
| 2690552 |
COMBINES
ASH
TRAY |
Sep 1954 |
| 2799854 |
HAND
SIGNAL
LIGHT |
Jul 1957 |
| 2935041 |
ORNAMENTAL-ILLUMINATING
REQUEST-FOR-SERVICE-INDICATING LAMP |
May 1960 |
| 3071764 |
SIGNALING
TABLE
LAW |
Jan 1963 |
| 3167050 |
EMERGENCY
SIGNALING
DEVICE BY |
Jan 1965 |
| 3259101 |
SIGNALLING
DEVICE |
Jul 1966 |
| 3967274 |
Signal
light |
Jun 29, 1976 |
| 4250491 |
Waiter
signal
device |
Feb 10, 1981 |
9 LED

The newest thing for smaller flashlights is to use
LEDs. A first generation LED
flashlight uses a number of white LEDs in parallel. They are
sold based on the number of LEDs used since the T-1 3/4 type LEDs
all have about the same 20 ma max current ratting.
This is a Made in China product. This one uses machined
parts. Later the 99 cents versions use thin sheet metal.

The next generation of LED flashlights uses
the High Power LED, like the Philips Luxeon LumiLED K2 rated for
1.5 Amps. This is a cheap flashlight that uses a resistor to
set the LED current. Since two 3.4 Volt batteries are being
used and the voltage drop on the LED is about 3.85 volts that
leaves 2.95 volts at 1.5 amps or about 4.5 Watts to dissipate in
the resistor and about 5.5 Watts in the LED for a total nearing 6
watts. This means that after about 10 minutes this
flashlight it too hot to hold.
It uses the "Star" K2 which comes on a special laminated PBC where
aluminum is part of the board to help with the heat dissipation.
UltraFire C2
Takes a single TR18650 Li-Ion cell. The clicky switch when
on takes a very small pressure to turn the light off. It
does not require a "click", just a little pressure. A poor
quality switch.
It's not clear what's between the single cell and the LED, i.e. is
it a resistor, linear regulator, or ??
The Clicky Push-On Push-Off switch on both of the Cree flashlights
is very poor. When in the on position the slightest
thing, not even touching it, will turn the light off. As
shown below the actual switch is 8 mm wide and 14.25 MM outside
the leads. It must fit the 15 mm diameter printed circuit
board. If you know where to get a replacement switch please
let me know.
UltraFire C3

The stock light uses a single AA cell and draws 1.1 Amps.
When the optional extension is added it will hold two AA cells and
the current draw drops to 0.54 Amps. Indorder to drive a 3.5
Volt LED from a 1.5 (or 1.2 volt) AA cell requires a Switching
Mode Power Supply to boost the battery voltage. Since these
act in a manner silimar to a "DC Transformer" when the battery
voltage is raised the current drops, unlike resistors or linear
supplies. But it takes a special type of SMPS to handle the
case where the input and output voltages are the same. So
this is probablu a boost only SMPS hence the input voltage range
printed on the back of the head assembly "1.5 - 3.0 V".
The SMPS probably will not work if a third battery is added and
may self destruct.
This UltraFile also has the poor quality "Clicky" switch that
truns off the light with the slightest of pressure. Took
apart the switch and found a bad solder joint, but repairing the
joint did not fix the poor switch action.
You can see the bad solder joint in the lower right.
Cree UltraFire Hwa Wys
This is a single AA flashlight that uses a switching mode power
supply and so the LED head will work with a number of battery
options.
The eBay listing was titled
7W 1200lm CREE Q5 LED SA3
Zoomable Mini Flashlight Torch Lamp AA/14500 ALTNUX and 4
flashlights including shipping from China were under $12.
This is a machined aluminum light with a front lens that slides
back for a broad beam and when pulled forward collimates the light
so the image of the LED chip is focused thus making a very bright
spot.
Note this lens design is in Burgess patent
1084926
above.
Also known as (aka)
SIPIK SK68 120-Lumen.
Insight Tech-Gear (Insight Technology, L3Harris)
Makes bright military flashlights
and weapon sight/target designation illuminators. Main competitor
to SureFire.
Advanced Target Pointer/
Illuminator/ Aiming Light (ATPIAL)
AN/PEQ-2A (IR Aiming Laser and Illuminator)
AN/PAQ-4C IR aiming laser
5400540
Aiming light and mounting assembly therefor
- improved version of AN/PAQ-4()
Calls:
933095
Flash-Light, DOSIER H. MOSTELLER (MOSTELLER Mfg Co), Sep 7 1909,
356/247 ; 362/110; 42/131- lamp under revolver barrel
1057518
Apparatus for Aiming Guns at Night, Ancher, Apr 1 1913,
42/113
; 362/110; 42/132; 600/249 - a No. 6 based light mounted to
rifle
1865127
Gun Sighting, C.W. McKeen, Jun 28 1932,
24/329 ;
362/110; 362/191; 362/396 - flashlight attached to rifle
2085732
Jul 1937 Automatic Night Sighting Device for Firearms, W. Baxter
& A.B. Scott, Jly 6 1937,
362/114 ; 42/114 -
projects a small "+" instead of
a wide beam so that the target does not see that he is being
illuminated.
uses five element optical system
2158915
Rifle Front Sight Illuminator, H.B. Searcy, May 1939,
42/132
; 200/60; 362/110; 42/143- a tube with a couple of AA batteries
over the barrel
2385649
FIREARM SIGHT, G.F. Prideaux (GE), Sep 1945, - illuminates
front sight post
2529057
Illuminated Gun Sight, G.J. Teffault, Nov 1950, - front signt
illuminator with remote switch
2546242
Two-part Clamp for Attaching Illuminating means to Gun Sights,
R.E. Stinson, Mar 27 195, -
Calls:
333232
586295
807993
873591
880294
1932473
2158915
2249690
2307745
2442893
2597565
Flashlight Attachment for Guns, Chandler, May 20 1952,
362/110
; 42/1.01; 42/146 - for Thompson submachine gun
3742636
Firearm having a Carrying Handle and Associated Rear Sight, J.F.
Dealy, Jul 3 1973, -
lowers the sight line of the
M-16 correcting problem when the rifle is canted to the left
or right
4069414
Firearm sight light, A.O. Bell, Jan 17, 1978 - flood or spot
light with remote battery
4281993
Semiconductor laser alignment device, Bon F. Shaw (Navy), Aug 4,
1981- adjustment is inside housing not by moving housing
4295289
Laser aiming device with lateral shock absorber Oct 20, 1981
4554744
Switch assembly for riflescope Nov 26, 1985
4638139
Electrical discharge machine cooling fluid containment apparatus
Jan 20, 1987
4665622
Optical sighting device May 19, 1987 - Red Dot sight for M-16
Calls:
2596522
Illuminated Gun Sight, May 1952 - "+" and rings
3182545
Air Gap Albada Viewfinder with Lateral Mirror and Lens on
Front Element for viewing External Indicator, May 1965 -
camera allows seeing subject
and light meter needle
3813790
Modular sighting laser for a firearm, (Laser Devices, Inc),
Jun 1974
3833799
Gun Sight System for use under Low Light Ambient Light
Conditions, Sep 1974 - sight illuminator
3963356
Optical sight Jun 15, 1976 - Red Dot type but light flashes
Calls:
2874605
Method and Apparatus for Aligning Radiant Energy Detector
Cells with the Horizon, D.E. Williamson (Navy), Feb 1959 -
boresignting
3565539
Collimated Sight, J.La Russa (Farrand Optical), Feb 1971, -
M-14 Red Dot sight
Calls:
683203
2490747
2633051
2780130
3833799
Sep 1974
3991500
Firearm sight with dialable range control Nov 16, 1976
4266873
Collinear aiming light image viewer May 12, 1981
4402605
Firearms sighting instrument Sep 6, 1983
4697226
Light mounting for firearms Sep 29, 1987
4876815
Sight mounting platform for colt M-16/AR-15 rifle Oct 31, 1989
4876816
Target illuminating aiming system Oct 31, 1989
4905396
Method and apparatus for mounting an auxiliary sighting aid on a
firearm Mar 6, 1990
4926576
Mounting device adaptable on a weapon May 22, 1990
5064988
Laser light attachment for firearms Nov 12, 1991
5430967
Aiming assistance device for a weapon
5374986
Automated boresighting device and
method for an aiming light assembly
6185854
Auxiliary device for a weapon and
attachment thereof
6190025
Multi-mode illumination device with
security block
6462894
Monocular mounting for four-tube
panoramic night vision goggle having multi ...
6462867
Monocular mounting for multi-channel
panoramic night vision goggle having an ...
6469828
Panoramic night vision goggle having
multi-channel monocular assemblies with ...
6493137
Monocular mounting for multi-channel
panoramic night vision goggle having a ...
6574901
Auxiliary device for a weapon and
attachment thereof
6705038
Mounting assembly for a weapon
accessory
6935066
Mounting assembly for a weapon
accessory
7158296
Vision system with eye dominance forced
to fusion channel
7264369
Switch configuration for a tactical
illuminator
7294820
Night vision system including field
replaceable image intensifier tube
7307793
Fusion night vision system
7325354
Weapon aiming device
app 10408762
Auxiliary device for a weapon and
attachment thereof
D518498
Fusion night vision system
D522031
Monocular
D522389
Display device
D533573
Monocular
D542446
Tactical flashlight and laser
D551370 Flashlight - provision for
mounting on weapon sight rail
D568508
Tactical flashlight
Calls:
4468101 Night vision goggles Aug 28, 1984
4653879 Compact see-through night vision goggles Mar 31, 1987
4915487 Heads up display for night vision goggle Apr 10, 1990
5079416 Compact see-through night vision goggles Jan 7, 1992
5229598 Night vision goggles having enlarged field of view and
interchangeable optics Jul 20, 1993
5254852 Helmet-mounted night vision system and secondary imager
Oct 19, 1993
5416315 Visor-mounted night vision visor May 16, 1995
D365858 Sight scope Jan 2, 1996
5943174 Night vision monocular device Aug 24, 1999
6061182 Combiner for superimposing a display image on to an
image of an external scene May 9, 2000
6081094 Clip-on power source for an aviator's night vision
imaging system Jun 27, 2000
6201641 Panoramic night vision goggles Mar 13, 2001
6219250 Night vision binoculars Apr 17, 2001
6288386 Circuit having a flexible printed circuit board for
electronically controlling a night vision device and night
vision device including the same Sep 11, 2001
6456497 Night vision binoculars Sep 24, 2002
6462867 Monocular mounting for multi-channel panoramic night
vision goggle having an angled mounting shoe Oct 8, 2002
6462894 Monocular mounting for four-tube panoramic night vision
goggle having multi-function adjustment control Oct 8, 2002
6469828 Panoramic night vision goggle having multi-channel
monocular assemblies with a modified eyepiece Oct 22, 2002
6493137 Monocular mounting for multi-channel panoramic night
vision goggle having a hot shoe connector Dec 10, 2002
6560029 Video enhanced night vision goggle May 6, 2003
6574901 Auxiliary device for a weapon and attachment thereof Jun
10, 2003
6609810 Illumination apparatus with removably securable switch
device Aug 26, 2003
6662370 Night vision device helmet mount Dec 16, 2003
6687053 Binocular device and method utilizing monocular devices
Feb 3, 2004
6788459 Binocular method utilizing monocular devices Sep 7, 2004
7117624 Accessory devices for firearms Oct 10, 2006
D542446 Tactical flashlight and
laser May 8, 2007
D548385 Mountable light Aug 7, 2007
7260912 Gun barrel and trigger flashlight and/or laser mount
structure Aug 28, 2007
Red Dot
3942901 Optical sighting instrument with means for producing a
sighting mark, Mar 9, 1976, - Red Dot?
Calls:
2780130
Reflex Sight having a Dichroic Beam-Combining Mirror, P.B. Mauer
(Eastman Kodak), Feb 5 1957 - gun or camera
3362074
Binocular front sight for Firearms,Jan 9 1968 - Red dot type
ambient illumination
3565539
Collimated Sight, J.La Russa (Farrand Optical), Feb 1971, - M-14
Red Dot sight
3589796
3813790
Got these to check out some of the
things shown on the TV show CSI. It takes some skill and
experience to see anything. But it's easy to see the hidden
UV marks on things like a driver's license or charge cards.
Used the higher powered (3 each 1 Watt LEDs) 395 nm light for
taking photos of the
8-day aircraft clock.
Also see the Bak-Light YouTube video:
https://youtu.be/6t19BJCdIXk
395 nm Ultraviolet VU Flash
Light

|
365 nm Ultraviolet UV
Flashlight

|
Backup Lights (AC Power Failure)
Backup Light Idea
2019 The idea is a battery powered light to be used when the AC
mains power fails. This is happening much more frequently
since the forest fires starting
October 2017.
There's talk of PG&E following the procedure now used by
Southern Cal Edison where they turn off the AC mains in locations
with red flag fire danger and winds above some threshold. So
having a battery powered light is one of the things that is
becoming a necessity. I'm also looking into getting a
generator, but even then you will need
battery powered lights.

|
Back row left to right:
Streamlight Sidewinder Compact II
Streamlight Siege AA
Nitecore EA4 Pioneer
Fenix CL23 Camping Lantern
Streamlight Sidewinder Rescue
Front row left to right:
Lightstar PRO 1
Nitecore Sens AA
Nitecore LA10 CRI
Nitecore MT1A
Fenix E12
Olight S1A Baton (not shown, on order) |
 |
|
After trying out the above lights a new consideration has come up
and that's how intuitive they are to use. It's becoming
clear that a Backup light is very different than an Every Day
Carry (EDC) light. A light that you use on a daily basis can
have details that you want to learn and add value to the light
since it can do more things. Also an EDC light that's easy
to recharge can have economic advantages.
A Backup Light (BL) is a different animal. It will sit for
years without being used so it's operation needs to be
intuitive. When it's needed there probably will not be the
time or inclination to read detailed instructions on how to get to
the different modes. It just need to work in an intuitive
way.
An alternative is to combine the EDC and BL. This can be
done by having an EDC that uses AA batteries. That way all
you need some L91 batteries in your Go Bag (
Wiki).
Factors: data (Lumens, hours...) and ranking (1 to 5
scale)
- Modes: Lumens -v- Run time
- Controls & Indicators - Intuitive?
- Beam: Diffuser, wide, spot
- Size, Weight & Volume
- photo
- Start on "dead" battery.
Today, 18 March 2019, I changed out the L91 AA battery that was in
the
Kestrel
5500FW weather meter out in the forest. The
ZTS
MBT-1 battery tester has a terminal for testing the L91 and
it showed blinking red, i.e. dead.
The Fluke 87V
DMM
shows 1.007 DC Volts. So this seems a good way to see how it
will work in those lights that can run on a single AA. See
Dead L91 data in table below.
After testing 8 flashlights I tried the Olight S1A and again all 3
modes worked.
A single AA battery has a terminal voltage in the 1.0 to 1.7 Volt
range (considering Alkaline & Lithium AA chemistry and fresh
and dead) but a white LED requires over 3 Volts to light up.
That means that the flashlight must have a boost switching mode
power supply (SMPS). These SMPS differ in how low a voltage
will allow them to startup and operate. The TerraLux 100 is
very good at starting with a "dead" battery. I think the
lower starting voltage the more energy the light can get from a
battery. This is not going to be a big factor, but my guess
is that it might amount to around a 10% difference.
At
Candle
Power Forums they use the term "Vampire" or "battery drainers" for
flashlights that can suck pretty much all the energy out of a
battery. Here is a 2014 list of
Battery
Vampires. The AA versions were:
4sevens
Quark Mini AA -
Dorcy 2AA -
hard
to find in 2019
Gerber
Recon AA - uses the old T5 LEDs
Maratac AA-
Titanium
version $55 - only AA light
Nitecore D11.2 - not current
Princeton Tec Attitude
ThruNite
T10
UK 4 eLed - 4
AA, Compound Path Optics (
patents),
120 L, 4 to 5 hours,
CMG
Infinity - discontinued
Fenix L2D-CE - discontinued
Gerber Trio - old 2ea AA ligght with 3 each T5 LEDs.
Inova
X1 gen2 - $25m 125L/1h:25m, 12L/70h - on order
Peak
Logan 17500 QTC -
El
Capitan is the AA version
BB Nexgen from Sandwich Shoppe
Quark Low Voltage Head
AA Battery Measurements Table
Batteries measured 8 April 2019.

|
Model
|
Date
|
Remaining
Life
Years
|
Chemistry
|
mAh
|
mOhms
(data Sht)
|
Volts
|
Volts
/Ohms
(Apms)
|
E91
Energizer
|
12-2028
|
9
|
Zn/MnO2 |
3000
|
79
(300/150)
|
1.557
|
20
|
L91
Lithium
|
12-2037 |
18
|
Li/FeS2
|
3500
|
148
(240/120)
|
1.805
|
12
|
EN91
Industrial
|
12-2028
|
9
|
Zn/MnO2
|
2750
|
118
(300/150) |
1.603
|
13
|
XR91
Eco
|
12-2027
|
8
|
Zn/MnO2 |
2800
|
45
(300/150) |
1.528
|
34
|
eneloop
BK-3MCCA
|
80%@3yr
|
na
|
Ni-MH
|
1900
|
20
|
1.341
|
67
|
AA Olight Lithium
|
18-12
|
?
|
Li/FeS2 |
2900?
|
221
(?/?)
|
1.834
|
8
|
I think the eneloops are 4th generation (Wiki).
Note very low Ri.
The Olight AA has vents that look like on the L91.
Obsolete?
Remaining life= label life - used shelf life (L91= 20
years - 2 years since label printed).
|
Battery Comparison
The L91 with 20 year shelf life plus it's excellent cold
operation makes it a first choice. Some have suggested
that I look at the CR123 and or 18650 Li-Ion. So here is a
table comparing them made 2019 March 4.
PS When testing
the military BA-5590
Li-SO4 dual 12 Volt battery I found that they have at
least a 20 year shelf life. So it is reasonable that the
L91, a primary Li-FeS2 battery, would have a similar
shelf life. Unlike the Alkaline AA cell that is about 1.5
Volts, the L91 is about 1.7 Volts. But that raises the
question about the shelf life of the CR123A which has Li-MnO2chemistry. Note
the CR123A may catch fire and/or explode is punctured or
overheated. It was an aircraft pallet of these that caught
fire at the airport and changed the rules for transportation of
Li batteries on aircraft. Note that the L91 contains a lot
more energy than the CR123A. The 18650 is a much larger
battery and so has about twice the capacity of the L91, but the
discharge rate, while low, is not known.I doubt it's more than
some months and not near 20 years.
Battery
|
Amp Hour Capacity
|
Shelf
Life
|
Volts
|
Watt Hours
(1 cell)
|
Watt Hours
(2 cells) |
L91
|
3500
|
20 Years
|
1.7
|
5.95
|
11
|
CR123
|
1500
|
10 years
|
3.0
|
4.5
|
9
|
18650
|
2600 (varies a lot)
|
note 1
|
3.7
|
9.62
|
19.3
|
Note 1 - It turns out that the cycle life of a Lithium cell
depends on the storage time, storage temperature and storage
percent of charge. Cells stored for a long time at high
temperature and full charge have the shortest operational life
(this caused a problem for one of the early plug-in electric
cars).
Shelf Life is similar to self discharge time. Normally
primary batteries have much lower self discharge than secondary
(rechargeable) batteries so the 18650 or CR123R (rechargeable
version of the CR123) probably are not as good as the L91.
Backup Light Comparison Table
The Integrating Sphere is
being developed to aid in this evaluation.
Photo
|
Make
|
Model
Factory link
|
$
|
Batteries
|
Comments
Lumens/hours
|
Dead
L91
|

|
Coast
|
EAL12
|
20
|
4 - AA
|
168/?, ?/38
|
|

|
Costco - Cascade
|
JD14078
|
25/3
|
3 - AA
|
Large, resistor=low efficiency, low cost
Great value, but questionable long term reliability.
Lumens/time: ?/12h, 180/7h
|
n.a.
|

|
Fenix
|
E12
|
26
|
1 - AA
|
Not too energy efficiency
Tailcap switch Full press on/off
Half press for modes
Not Good for Bug Out Bag
Lumens/time: 8/40h, 50/6.5h, 130/1.5h
|
1 mode sort
of works
|

|
Fenix
|
E12 V2.0
|
27
|
1 - AA
|
Does start with "Dead" battery
Tailcap switch Full press on/off
Half press for modes
2020 Dec: maybe the best choice for Bug Out Bag
Lumens/time: 5/70h, 30/13h, 160/1hr
Now my EDC (see Pocket Tools)
TerraLux LightStar 100 was
me EDC.
|
|

|
Fenix |
CL23
|
40
|
1, 2 or 3 - AA
|
(can use 1, 2 or 3 AA cells)
Pushing button cycles through modes which
include brightness and area or spot beams.
Good for Bug Out Bag or power fail use
Lumens/time: 40/45h, 150/13h, 300/7.5h
|
does not work
|

|
Inova
|
X1
|
22
|
|
125/1h:25m, 12/70h
|
0/2
|

|
Jetbeam
|
JET-I
MK |
25
|
1 - AA |
Lumens/time: 1.5/100h, 30/9h, 150/1.1,
480/30m
|
3/3 modes
|

|
Lightstar
|
PRO
1
|
28
|
1 - AA
|
Assume it's energy efficient like the
Terralux 100.
Tailcap switch Full presses for cycle between Off and
modes.
Good for Bug Out Bag
Lumens/time: 65/4h, 154/90m
|
2/3 modes
|

|
Malkoff Devices |
MDC
HA |
123
|
1 - AA
|
Comes on in Moonlight mode.
Lumens/current: 0.3/8ma, 9/90ma, 115/1500ma
|
1/3 modes
|
|
Manker |
E11 |
37
|
1 - AA |
Side push button 4 levels
Lumens/time: 10/44h, 100/12, 320/1.7h, 800/24m
|
0/4 modes
|

|
Nitecore |
EA4
Pioneer
|
46
|
4 - AA
|
Unknown energy efficiency
The mode control I still have not figured out, requires
reading the fine print.
Not recommend because of those two problems.
Lumens/time: 65/22h, 135/11h, 300/4.5h, 550/2h, 860/105m
|
no way to test only have 1 known dead cell.
|

|
Nitecore |
LA10
CRI |
30
|
1 - AA
|
Is energy efficient
Tail cap unscrews as switch for on/off and changing modes.
Area light.
I'm on the fence about a recommendation.
The magnet in the tail cap seems to grab things I don't
intend.
Lumens/time: 10/23h, 30/6h, 85/90m
|
works
|

|
Nitecore |
MT1A |
34
|
1 - AA
|
Is energy efficient
Tail cap switch: Full press on/off, half press momentary
on
Screwing head does something with modes (fine print)
Maybe too complex mode selection for this use.
Lumens/time: 5/60, 22/18h, 55/5.5h, 180/90m
|
2 modes work
|

|
Nitecore |
Sens
AA |
29
|
1 - AA
|
Unknown energy efficiency
works with dead L91
Where the light is pointing (up, horizontal, down 45 deg,
or down) determines the mode. It would be a real puzzle
for someone who did not know the secret, great for someone
who does. Not for bug out bag.
Lumens/time: 6/60h, 20/12h, 120/2h
|
3 modes
|

|
Olight |
S1A
Baton |
80
|
1 - AA
|
Unknown energy efficiency
works with dead L91
Side button cycles through the modes including "moonlight"
Recommended for this application, but out of production.
Need a current production light similar to this.
Lumens/time: 0.5/15d, 5/60h, 50/10.5h, 220/140m, 600/1h
|
3/4 modes
|

|
Sofirn
|
SF14
|
17
|
1 - AA |
Lumens/time: 5/71:00s, 5/9:35 , 180/0:56
(Alkaline & Ni-MH)
|
2/3 modes
|

|
Sofirn |
SP10
v2
|
19
|
1 - AA |
Lumens/time:?/? ,?/? ,?/? factory data only
for Ni-MH and 14500 cells.
|
2/3 modes
|

|
Streamlight |
Sidewinder
Compact II |
57
|
1 - AA or CR123
|
Not Energy Efficient.
4 colors selected by knob.
On/Off and brightness by button press (or holding button
down).
Moveable angle head + headband.
Recommended for this application
Lumens/time: 4.7/40h, 12/16h, 21/8h, 47/2h
|
only works
while holding
down button
|

|
Streamlight |
Sidewinder
Rescue |
47
|
2 - AA
|
Unknown energy efficiency
Features similar to the Sidewinder Compact II
Has moveable diffuser so can act as area light.
I'm on the fence about a recommendation.
Lumens/time: 5.5/100h, 14/45h, 25/11h, 55/5.5h
|
no way to test only have 1 known dead cell.
|

|
Streamlight |
Siege
AA |
27
|
3 - AA
|
Not energy efficient.
Very simple button operation.
Top comes off for hemisphere lighting.
Recommended because of high build quality and great user
interface.
Bonus - button has Green - Yellow - Red - Blinking Red
State of Charge.
Lumens/time: 50/37h, 100/15.5h, 200/7h
|
na
|

|
Streamlight |
Survivor
|
56
|
4-AA
|
Not Energy efficient.
Top button, press and hold for High, Medium, Blink, off
modes.
Very precise beam cuts through fog and smoke better than
pretty much any other light. Made to be reliable,
high build quality.
Recommended for Bug Out Bag application when used with L91
AA cells.
Lumens/time: 60/15h, 175/4h
|
na
|

|
ThruNite
|
Archer 1A V3 |
32
|
1-AA |
Lumens/time: 0.1/17d, 17/22h, 75/5h,
200/210m
|
2/4 modes
|

|
ThruNite |
T10
II
|
22
|
1-AA |
Lumens/time: 0.5/14d, 9/40h, 54/8h,
160/200m
|
2/4 modes
|

|
Zebralight
|
H53Fc |
63
|
1-AA
|
Energy Efficient, good for Bug Out Bag.
One of the smallest in this grouping.
Comes with headband.
Lumens/time: 0.01/3.3months, 0.06/2.2m, 0.26/1.1m,
1/13days, 3.4/4.5d, 10/41hours, 25/25h, 55/8.5h, 102/4.2h,
165/2.3h, 230/1.6, 276/0.9h
|
2/3 modes
|
|
|
Coast
|
EAL22
|
|
|
Range
|
Hours
|
Lumens
|
Low
|
263
|
77
|
Medium
|
16
|
675
|
High
|
10
|
1250
|
Got this Sep 2023 because of the high run time on three
"D" cells.
The run time is shorter than the H53Fc above and it uses 3
D cells v 1 AA cell, but with a much higher light output.
|
|
The
Energizer
Lithium AA batteries now advertise a 20 year shelf
life. These are only available in AA (
L91 - 3,500
mAh), AAA (
L92
- 1000mAh) and 9V (
L522 - 750
mAh), so it's a good idea to look for light products that use AA
batteries to take advantage of the long shelf life, high capacity
and good operation when cold.
Backup Light Comparison Plot
One way to analyze this data was to put the model, Lumens,
run time in minutes into a spreadsheet and to get the data
points separated use Log base 10 on each axis. But it
takes a lot of time to figure out the good points, i.e. the
points that are near the top. After doing a dozen or so
points I had found the lights with 2, 3 or 4 AA cells. A
better way is to just sort the spreadsheet on Minutes
(hi to low) so each line shows the Model, Lumens and
Minutes. Now you can compare who has the highest minutes
for a similar Lumen output. Even better is to use a different
column for each model, see the scatter plot
below.
For Moonlight performance the H53Fc stands out because it has
many modes and fantastic run times for them.
The MT1A, SensAA andS1A art tied at 5 Lumens & 3600
minutes.
The E11 & H53Fc wins tie at 10 Lumens with 2640 minutes,
Other lights have far lower run times like the LA10@1380min,
CII 12L@960min,
If the E11 can do 60 Lumens for 660 minutes (11 hours) that
beats a bunch of lights that produce less light for less
time.Plot made using the manufacturer's data from the Comparison
Table below. Only single AA lights were included
and some single AA lights were excluded to help clear up the
plot since they had performance below those that are plotted.
BL Plot

|
Click on plot for a larger image.
|
BUL-Canidates
Preliminary best in terms maximum run time for given light
output. Not in any order:
There is no expectation that any of the high Lumen modes will
work on a dead battery, but the low power modes should work on a
high efficiency light.
Model
|
$
|
Dead Bat Modes
|
PG&E PSPS (Wiki)
|
| H53Fc |
63
|
2/3
|
Excellent night light.
|
| S1A |
80
|
3/4
|
|
| T10 |
22
|
2/4
|
|
| E11 |
37
|
0/4
|
|
| E12 |
26
|
1/3
|
|
| Archer |
32
|
2/4
|
|
Sofirn
|
19
|
2/3
|
|
Early
Purchases of Back Up Lights
Based on similar run times for similar Lumen (Wiki)
outputs I ordered this model. Got response from factory
"The Siege AA uses a resistive circuit."
So of the three camping lanterns I'm looking at (Fenix CL23,
Siege AA & Cascade) only the Fenix has a chance of being
energy efficient (but was not).
See above for more on the Siege AA.
Cascade 1170792 Collapsible
Lantern (2019 February 19)
These require 3 each AA batteries and advertise 180
Lumens. Available at Costco in a 3-pack about $20 for 3.
Using a bench power supply shows these are cheap direct power
units, i.e. they do not have a switching mode power supply like
the Teralux or other more modern flashlights.
Volts
|
mA
|
4.5
|
700
|
4.0
|
500
|
3.5
|
300
|
3.0
|
140
|
The above data shows an old fashioned type of flashlight i.e. a
battery (3 cells are needed to get enough voltage to light a
white LED) and light. There is no electronic circuitry.
Fig 1 Batteries included

|
Fig 2
 |
Fig 3 Shown with the batteries supplied
Duracell batteries.
 |
Fig 4 fairly bright.
 |
Fig 1

|
Fig 2
 |
Fig 3 Internal cylinder with a ring of LEDs
can be seen in low mode.
 |
After installing 4 batteries which is difficult because you can
not stand it on it's head (the bail does not fold down) and
screwing the cover on, which is tricky because it tends to cross
thread, and pushing the on button, nothing happened.
Unscrewing the cover caused the light to turn on and then pressing
the button cycled through the Hi, Low and Off modes. But
closing the cap again turns off the light. It seems any
strain on the plastic body can turn the light off then back
on. NOT RECOMMENDED.
UST makes a series of
lanterns named by how many days (7, 14, 30, 45 & 60) they are
good for (whatever that means) and some other LED lights that have
names.
Uses 4 each AA batteries, Runs 14 days continuously on low (16
Lumens), 13 hours on High (140 Lumens). Uses COB (
Wiki)
technology. This may be the same as a
"filament" LED? They
seem to be much more efficient than conventional white LEDs.
Aircraft Cabin Emergency Flashlight
w/LED EF-1
|
Fig 1
|
Fig 2
 |
For work I spent a lot of time flying and this flashlight was
on the bulkhead at the front of the plane. The red LED
would blink indicating that the batteries are OK. I expect
the LED was driven by a circuit that made use of the LM3909.
Description
Held in bracket against aircraft bulkhead. Red LED blinks
to both show battery is good, lamp filament is in tact and to
locate flashlight if cabin is dark, like in an emergency.
The mounting bracket has a permanent magnet that holds open a
reed relay in the flashlight, so when flashlight is removed from
bracket it turns on. There is no normal on/off
switch. There are a couple of straps marked "Emergency Use
Only" that would be broken in order to remove the flashlight
from the bracket. A broken strap would indicate use which
would require a new battery and new straps.
This appears to be a two "D" cell flashlight, but it uses a
custom battery with a 2-pin miniature Molex type connector.
Uses a flanged filament bulb with no markings. Specs (Boeing:
A1-14-0001-002): 0.55 Amp, 7.2 Volts, 2700 cp (initial) to 450
cp (4 hours).
PR18 flange base bulb.
There is a lanyard stored on the bottom of the tail cap.
Markings
Cast into the flashlight: DME Corporation.
Stamped on the Flashlight between the magnet locating flanges:
P2-07-0003-001 (i.e. the EF-1)
Cast into the mounting bracket" DME Corporation: Air
Lite - My unit is the EF-1.
Uses the P4-01-0021 aka Model 213 battery pack - 7.5 Volts.
Label on back of bracket: Bracket p/n: P2-07-0004-201;
System p/n: P2-07-0001-214; 1/14/2009
The EF-1 datasheet: "A patented electronic maintenance circuit
with LED indicator confirms that the EF-1 is always ready for use
by monitoring battery voltage and continuity through the
lamp."
The "Emergency Use Only" straps: A1-18-1030
Patents
4228484
LED flasher for battery cell-powered lamp, Malcolm
D. Johnstone, 1980-10-14, - blinking LED in tail cap
5422799
Indicating flashlight, Donald
J. Morrison, Sr., 1995-06-06, - 3 blinking LEDs around
circumference
6140776
Flashlight, Erwin
J. Rachwal, 2000-10-31, - not LM3909, discrete components
LEP Laser Excited Phosphor Flashlight
2025 Feb: This is a new type of flashlight. A laser
excites a very small blob of phosphor and a lens collimates the
light into a tight beam. Note that Lumen rating is only
460 but because of the point source of light the beam is very
narrow, so a lot of candlepower at the target. Today
(2025Fev13) it's raining and I can see the spot on trees
over 100' away.
TrustFire T30R
Comes with 18650 battery, USB-C charging port on T30R. Tail cap
On/Off switch and seperate mode button near the front that has
central Red/Green LED.
First saw it on YouTube: LEP
Flashlights are INSANELY Bright, 23:43 -
Dimensions of things in general
I'm thinking about making a
flashlight and so am looking at some possible dimensions.
Battery
|
Batt
OD max
|
Al Tube
OD
|
Al Tube
wall
|
Al Tube
ID
|
radial
gap
|
AA
|
0.571
|
0.750
|
0.083
|
0.584
|
0.006
|
|
|
0.75
|
0.065
|
0.62
|
0.0245
|
|
|
1.000
|
0.1875
|
0.624
|
0.0265
|
|
|
0.875
|
0.125
|
0.625
|
0.027
|
|
|
0.750
|
0.058
|
0.634
|
0.0315
|
|
|
0.750
|
0.035
|
0.680
|
0.0545
|
|
|
0.75
|
0.058
|
0.634
|
-1.0175
|
CR123
|
0.669
|
0.75 |
0.035 |
0.680 |
0.005
|
|
|
0.875
|
0.065
|
0.745
|
0.038
|
|
|
1.000
|
0.125
|
0.750
|
0.081
|
|
|
1.250
|
0.250
|
0.750
|
0.081 |
|
|
1.500
|
0.375
|
0.750
|
0.081 |
18650
|
0.708
|
.875
|
.065
|
.745
|
0.0185
|
|
|
1.000
|
0.125
|
0.75
|
0.021
|
|
|
1.25
|
0.25
|
0.75
|
0.021
|
|
|
0.875
|
0.058
|
0.759
|
0.0255
|
|
|
0.875
|
0.049
|
0.777
|
0.0345
|
|
|
1.000
|
0.095
|
0.810
|
0.051
|
C
|
1.031
|
1.125
|
.035
|
1.055
|
0.012
|
|
|
1.125
|
0.083
|
1.084
|
0.0265
|
|
|
1.250
|
0.065
|
1.120
|
0.0445
|
|
|
1.375
|
0.125
|
1.125
|
0.047
|
|
|
1.250
|
0.058
|
1.134
|
0.0515
|
D
|
1.346
|
1.5
|
0.065
|
1.37
|
0.012
|
|
|
1.625
|
0.125
|
1.375
|
0.0145
|
|
|
1.5
|
0.058
|
1.384
|
0.019
|
|
|
1.5
|
0.035
|
1.43
|
0.042
|
Battery Capacity & LED Run Time
Batteries are rated for capacity and
LED for current and voltage. So for a given combination of
batteries and a specified LED the run time for light with an ideal
power supply can be computed. A non ideas power supply will
reduce the run time, but there's no way to improve it.
There's a complicating factor. Battery capacity is specified
under a given load condition and will change for other
loads. Typically when you pull more current the battery has
less capacity.
Cell
|
rated
load
Watts/cell
|
WH
|
Wht LED
350 ma
(1 W)
hours
|
Wht LED
700 ma
(2 W)
minutes |
AA
Alkaline E91
|
0.1
|
3
|
na
|
na
|
| AA
Alkaline E91 |
1
|
1
|
1
|
30
|
AA
Ni-MH NH15-2500
|
<3
|
2.75
|
2.75
|
82
|
| EL123 |
0.1
|
1.5
|
1.5 ?
|
45?
|
| 18650 |
1.5
|
2.3
|
2.3
|
69
|
C
Alkaline EN-93
|
0.1
|
10
|
na
|
na
|
| C
Alkaline EN-93 |
1
|
4
|
4
|
120
|
D
Alkaline E-95
|
0.1
|
20
|
na
|
na
|
| D
Alkaline E-95 |
1
|
10
|
10
|
300
|
BA-5590
Family 5590BA w/20 x 2.3
AH SC
|
11
|
88
|
88
|
2,640
|
| BA-5590
Family 5590BA w/20 x 4.5
AH SC |
36
|
105
|
172
|
5,160
|
If cells are conbined to make a battery the Watt Hour capacity is
increased by the cell count and in the case of Alkaline there is
an added increase because of the lighter loading.
For example a single Alkaline AA cell will powr a 1 Watt LED for 1
hour, so 10 would give 10 hours based on the Watt Hour rating for
the battery, but because of the change in capacity with load you
get 30 hours. The rechargeable chemistries seem to provide
the same capacity for most loads, the exception is for loads
exceeding 1C where the capacity does decrease.
Another factor is that many of the cells have Positive Temperature
Coefficient (PTC) resistors built-in as a safety measure.
These have some resistnace at room temperature that wastes power
and the trip current will be reduced when the flashlight runs hot
because of the LED heat.
Flashlight & DIY Supplies
Glossary
Size for Hand Holdable Lights
Flashlight -source of light that can
be operated using one hand and will fit in a pants pocket.
Headlight - 1. light on front of
vehicle like car, truck, train
2. light
mounted on head, the meaning on this page
Pocket light - like a flashlight
only smaller, fits into a vest pocket
Penlight - even smaller, fits into a pocket protector filled with
pens an pencils side by side
Keychain Light - even smaller, length comparable to a house key
Lantern - source of light that can be operated using one hand but
too big to fit into pants pocket
Portable Light - Used on land and too big to use hand held, but
can be moved (maybe requires a couple of military trucks)
Function
Illumination - provide general light
for the task at hand.
That might be a quarter Lux (full
moon) for walking outdoors on a moonless night to very bright for
doing fine work in an industrial setting. [patent class 362]
Signal - To communicate information
that can change. [patent class 116]
Weapon - attached to weapon for either general illumination or for
aiming
ATEX - Explosive Atmosphere, zone, division, or class 1 is like
inside a gasoline tank, 2 is near by and 3 is at a distance where
fumes come and go.
Lights on Bouys, Rafts, and Aquatic Devices [patent class 441]
Night Vision - lights can not be visibly too bright so may have an
IR output
Manufacturers
Black Diamond -
Head
Bright Star Flashlights -
Brunton -
Lantern
-
Head -
Busch & Muller - bicycle
lights carried by
Peter
White Cycles in the US
Duracell -
lantern,
hand, pocket, pen, keychain
Energizer -
Hand,
Head, Hat, Neck
Hipwell (1887 - 2005) - 831 West North Avenue, Pittsburgh, PA
15233 (412) 231-7310 -
Video of
making a flashlight
Inova - hand
Justrite -
Heavy
Use Lights - head & light stick (4D cell)
Mag-Lite -
hand including
AAA size to multiple D machined aluminum cylindrical
Pelican -
Cases
- Hand, Pocket, Pen, Lantern
Petzl - headlights - older
units used E10 regular or halogen bulbs and MN1203 (aka: 3R12
three cell batteries)
PhotonLight - started
the LED keychain light -
6523973
Princeton Tec -
head
and
hand
-
bicycle -
Ray-O-Vac -
hand
Silva -
Head
Lamps
Star Headlight & Lantern is still making
Railroad
Lanterns (and other products).
Streamlight -
hand
(includes pocket and keychain) -Military
head
-
lantern
-
weapon
-
Rail
mount -
Surefire -
hand
including pocket and pen + Military - Rail Mount:
Rifle,
Shotgun, Heavy Weapon; Millennium™
M950
& M960
Winchester - Feb 2008 no
flashlights offered
Links
[an error occurred while processing this directive] page created 16
June 2007.