Telephone Equipment

© Brooke Clarke 2003 - 2025



Satellite Telephones - Iridium, Inmarsat, Military
Cell Phones - Analog (aka AMPS), CDMA, TDMA, Repeaters, SpotWave, Service Providers
Internet Related
Military  -
    Equipment
    Manuals
    Field Wire
Test Equipment & Tools -
    RiserBond 1205T Time Domain Reflectometer
Signaling Tones
Magnetos
My Telephones
    Commercial
    Type 331a Telephone Set for Radio Remote Units
Station Protection
    Western Electric 98A Lightning Arrestor 
    Western Electric 123 A1A Protector
    Sylvania 6ESE
    Tii 365
    Tii 73-400
    Protector Patents
Links
Telephone Poles
Edison Cylinder
    Home
    Business
    Voicewriter - Ediphone
    Victor Talking Machine Co
    US Gramophone
    Phonograph needle sharpener
Poulsen Magnetic Telegraphone (Now: Magnetic Recording)
Books
---- separate web pages ----
Telephone Patents
Telegraph Equipment
Wet Cell Batteries
Sound Powered Telephone


Satellite Telephones

As far as I can tell it is not feasible to buy a satellite telephone for use only in an emergency.  This is because you can not buy and store minutes.  The way minutes are sold it amounts to a monthly fee of hundreds of dollars per month.
When I was using Starband  2-way satellite for my internet connection and the only fiber-optic line for our phone system was cut a hundred miles south and all the phones (landline and cell) went dead, but the 2-qway satellite system worked for internet and email, but that system would not support VOIP.

2023 Sep there are now two way messaging services that are much lower cost than Iridium.

Motorola/Bullitt defy
There are services that are much more economical now.  The lowest cost of these is the Motorola defy SOS fob.  These cost under $150 to purchase and the monthly subscription is under $5 for up to 30 messages per month (no monthly fee for the first year).  It requires those receiving messages to have the free Bullitt Satellite Messenger app loaded on their phone.

Garmin Sat Com

The inReach Messenger costs twice as much ($300) and their lowest cost "safety"plan costs $15 per month + $30 annual connect fee + $30 activation fee, so more like $20 per month for the first year, so about 4X the monthly cost of the defy

Iridium -

This is the original satellite phone company (Wiki: Satellites, Sat Phone Co., SBD Modems: Short Burst Data Service 9601, 9602, 9603).  Note that the Iridium satellite system covers all of the Earth, unlike other systems (including GPS) that have poor coverage at the poles.  In 2007 the phone service was not able to pay the costs and bankruptcy was prevented by the DOD buying the system.   In 2013 a "Positioning, Timing and Authentication" system was added (Iridium).
There is also a line of products for explorers, hikers &Etc.  Some of these are based on the Iridium Short Burst Data Service (Iridium).
Rock Seven offers a number of Short Burst Data Service products for users with a lot of remote units, the Yellow Brick version is for individuals.
Garmin inReach combines GPS and 2-way messaging - monthly cost between $12 and $100

Lloyd's satellite constellations -

2007 Pentagon acts to save Iridium satellites - Pentagon awarded a two-year, $72 million service contract

Iridium owners optimistic about new satellite focus - Instead0, Iridium Satellite plans to target industrial business markets, such as aviation and oil and gas  exploration concerns, as well as government customers

Iridium - Satellite based mobile phone that works anywhere in the world. Cell phones only work within short range of a cell site, which are now located only along major roads and in high population density areas. $2.50 to $15.25 per minute.  Must have lie of sight to satellites for voice, will not work inside buildings or airplanes.

In the war with Iran, 2003, the Iridium telephone turned out to be a more reliable communication method than many of the military radios.

PageNet - world wide pager using Iridium satellite technology.

Globalstar -

Satellite phone system.  Unlike Iridium that could send messages between satellites, Globalstar is a simple "bent pipe" system.
The SPOT (SPOT, Wiki) system is a one way up-link system that combines GPS with the uplinked message.  Can be used to provide a bread crumb map of a hikers path and can send an SOS signal if he needs to be rescued.  The problem is that the person sending the request for help does not know if the signal was received and so does not know if or when help will arrive.

Orbcomm

'little LEO' for data messaging that is already operational. Low bandwidth, no phones

ICO (Intermediate Circular Orbit)

Inmarsat Based

This service was started for use by ships at sea.  Since that about fully covers the globe, they also work virtually anywhere on Earth.  In addition to the voice service there also are Inmarsat services for data and video.  Many of the local Pacific Gas & Electric service trucks have a white dome about a foot in diameter and 8" high that is an Inmarsat telephone system.  This system will work in canyons where there is no cell coverage and away from heavily traveled highways.

REI - Satellite Messengers -

ICO (Intermediate Circular Orbit) - spin off from inmarsat - ICO emerges from bankruptcy protection on 15 May 2000

McKay Communications - WorldPhone -
KVHI - Tracphone 25, Tracphone 50

Teledesic - ICO takeover or ??

ORBCOMM

Low-Earth-Orbit (LEO) satellite system.
Magelian - GPS + email  GSC 100

Cell Phones

A tutorial on the different types.
SF Examiner article - Navigating the cellular maze -
TalkingOnAir - SF Bay area delaer
Point.com, Inc. - service plans, phones & accessories
Use on Commercial Airlines - no evidence of any kind that there is a problem

Analog (aka AMPS)

These are the first generation cell phones that use narrow band fm modulation that is the same as is used by most VHF & UHF 2-way radios.  These can be heard on scanner radios that were made before the US law forbidding there sale or radios that have been "unblocked".

Digital

Two common flavors are Code and Time Division Multiple Access:

CDMA - Code Division Multiple Access

"Digital by Qualcomm" is the typical logo on this popular type of phone.  Qualcom also had Palm Pilot interfacing.

TDMA - Time Division Multiple Access

Repeaters

I live in a forest canyon so there's no cell service downstairs.  But there's a hot spot upstairs where you can get three bars.  It would be nice if you could use a cell phone anywhere in the house.  There are a number of ways to do that. 

In ALL of the following solutions it's mandatory that the frequency band of the added equipment match the frequency band of the cell service provider.  Modern cell phones can work on different frequency bands automatically selecting the correct one.  The service provider should be able to tell you what frequency band your home location would use. 

Go to Wireless Advisor and enter your ZIP code then pick your service provider from the list.  In most cases there's only one choice for frequency from one provider, but there are cases whee one provider has two frequencies.  For example my local Verizon shows:
SYSTEM: 850 MHz, 1900 MHz   TECHNOLOGY: AMPS, CDMA, CDMA2000 1xEVDO
<>
The System frequency is what's important for the repeater or booster, the Technology is transparent so doesn't matter.  The Technology does matter when choosing a phone.

There are service modes for the cell phone that give you more information on receive signal strength and transmit power that are helpful when working with external antennas.  The antenna provider can probably tell you how to access the service mode for your phone, or Google hacking cell phone "service code" and the model of your phone.

Outside Antenna Connected to Cell phone Antenna Jack

Some people have had success using a Wilson outside Cell Antenna.  This is a good solution if the problem is caused by the building construction (what amounts to aluminum foil is wrapped around the house) shielding the signal.  If you get a good signal outside but not inside then this has a good change of working.  The frequencies for cell phones range from 800 MHz to a little over 2,000 MHz and in this range coax has loss, both reducing the transmitted power and adding noise to the received signal.  The smaller in diameter the coax the more lossy.   So using an extension on the Wilson coax to get it higher may or may not do any good depending on how long an extension and what size coax is used.

But when the signal is also weak outside then a higher gain type antenna up high is needed.  One option is a flat plate gain antenna fed with large coax and then a short pigtail of small coax to the cell phone so you don't try to bend the very stiff large coax.  It's an improved version of the Wilson omni directional system and may be good for  one or two bars of improvement.

Booster

Another option is to add a two way amplifier at the antenna and still connect to the cell phone using the External Antenna Jack on the cell phone.  This is a good solution, but somewhat restrictive in that you must use the cell phone only where the connection is located.  The quality of the connection with this method and the Intelligent Repeater will be about the same if the outside antennas are about the same.  The coax loss is not as important in a booster system since the amplifier at the antenna makes up for the losses.
Wilson sells a number of booster amps, some of which can be used with an inside antenna to make a booster.

Classical Repeater

The idea is to have a two way amplifier at the top of a tower or  chimney along with a gain type antenna aimed at the cell site.  The amplifier boosts the transmitted signal from the cell phone to make up for the loss in the coax cable.  On receive the amplifier overcomes the noise that the coax would add if the receive amplifier was not there.  Inside there's a passive antenna that feeds signals to and from the cell phone.  You can buy this type of system for a few hundred dollars.  The problem is that the outdoor antenna must be pointing in the opposite direction from the indoor antenna.  If for example the indoor antenna was pointed directly towards the outdoor antenna the system would go into oscillation.  That would not only make it unusable but would also very much upset the local cell company because it would take down one of their channels.  So this type of system requires a balance between gain and relative antenna positions. 

About 1994 the local Verizon cell phone store had a repeater system with the antenna on a mast above their roof and an indoor local antenna that was not visible when in the store.  This way they could demo the phones.  But when you went outside they would not work until you got to a better location.

Some of the "Indoor Repeater" systems have the amplifier inside and a passive antenna outside.  This is not a very good approach because the coax losses are all working aginst you.  On receive the coax loss adds to the noise and on transmit the coax loss reduces the transmitted signal.  Much better to have the two way amplifier at the outside antenna.
JD Teck sells the Indoor Repeaters
Wilson (2016 now called Weboost) has a number of Classical Repeater systems.  The 801245 (no longer available) is a dual band amplifier, outside & inside antennas and coax are additional.  The amplifier is not weatherproof and so needs to be in a weatherproof container if outside, or mounted inside as close as possible to there the coax comes indoors.
Wilson offers various types of coax cables. RG-174 which is about 1/10" diameter and very flexible but has a lot of loss.  RG-58 which is a little better than RG-174 but still way too lossy to use for more than a few feet.  An equivalent to Belden 9913 which only comes with a type-N male connector that's 3/4" diameter.  9913 is much too stiff to connect to the phone which is why shorter pigtails of RG-58 or RG-174 cables are offered.  Typically you also need coax adapters.  Most cables that have a type-N connector use a male so to connect two cables, like a pigtail to a 9913 where they both have male connectors you need a double type-N female also called a type-N-barrel.  It's best to make a diagram showing each part of the system and what connectors it has and what adapters you need.  It's a little too late when you're at the top of a latter and the coax doesn't mate to the antenna.
zBoost - has the signal booster (indoor reoeater) that Radio Shack sells for $300 to $1000 (but you might find one on sale).  The installation for the zBoost starts with just the indoor amplifier box.  When it's powered AND your cell phone has at least a bar or two of signal (to be sure you phone is on the correct frequency) you place a call and if the amplifier green LED lights then you know you have the correct band repeater.  If not you have saved unpacking the rest making it easier to return for the correct band.

SpotWave Z1900 for the 1900 MHz band

Sony Erickson
                K800 Icons Spotwave
                Outdoor Unit Signal
                Strength Icon with Repeater working
Cell phone on my office desk no repeater = no signal.
Outdoor Z1900
Cell phone on my office desk with repeater = two bars in center.

Cell to Wired Adapter

There are adapters designed for locations where you have a strong cell signal inside your house that have a cradle that matches a specific model(s) of cell phone, gets power from a wall wart and connects to the house internal (NOT external) phone wires.  Then you can use regular phones anywhere in the house through the cell phone.  Using one of these at the "hot spot" in your house would be an improvement over needing to stay at the hot spot during your call.  The indoor phone could be a cordless model allowing freedom in movement while on what amounts to a cell phone call.  Some models are:
CellSocket, Dock-N-Talk,

Intelligent Repeater

The first Spotwave patent is titled "Intelligent gain control in an on-frequency repeater".  They add a modulation to the incoming cell signal that's fed to the indoor unit allowing the outdoor unit to detect if it's receiving any signal from the indoor antenna and if it is to turn down the gain.  When the indoor antenna is located in such a way that no signal is getting back to the outdoor unit the gain is at maximum.  There is are LEDs on the indoor and outdoor units to help when aiming them.  Since they have good control of the gain you can use common 75 Ohm TV coax between the two units.  I don't yet have one of these systems, but it looks the best to me.  Sure wish they had one for WiFi.
The cost of the Intelligent Repeater may be considerably lower than for a Classical Repeater or Booster amp.
6889033 Intelligent gain control in an on-frequency repeater, Spotwave
7088953 Coverage area signature in an on-frequency repeater, Spotwave

Blue Tooth Headset

If you have a Blue Tooth headset you can relocate the phone to a higher place.  For example instead of putting the phone in front of you on a desk place it on the top of a close by bookcase or a window sill facing the cell tower.  This might get you an extra bar of signal strength.

Sony Ericsson K800 Status Bar Icons

Most of these have to do with the Profile in use (Normal, Meeting, Car, Outdoors, Handsfree, Home, Office) or Keylock or Silent Ring, or Battery status.
The very left icon combines three signal strength bar graphs.  The upper one, the bottom one and one the fills inbetween those two.
If you know how to read the singnal strength icon let me know.
Sony Erickson K800
        Icons

There are two signal strength measures shown as 1 and 2.  What do they mean?
(3) Musical Note with Red line through it = no ring tone, vibration mode
(4) Two people shaking hands - Meeting Profile (from standby press top button to bring up Profile select menu)
(5) Battery Status - shown fully charged.

The K800 manual on page 14 has Chinese Input information and the manual has no information about the status icons.
The K800i manual on page 14 has status icon information, but it does not cover or explain (1), (2), (3), (4) so is not much help here.
The Profiles available are:
Normal: no icon
Meeting: two people shaking hands (4) above
In Car: car icon
Outdoors: tree icon,
Handsfree: phone &2 ear buds icon -
Home: house icon -
Office: two buildings icon -
Options:
Silent Ring: Musical note with red bar (3) above
Keylock" key icon

Service Providers

Service Providder Analog Digital Frequency
GTE AMPS CDMA 800
Cellular One AMPS TDMA 800
Sprint na CDMA - PCS 1900
Pac Bell na GSM - PCS 1900
Nextel na iDen 800
WorldCell - rents & sells na GSM 800?
Sprint Spectrum - Bosch 718
GSM 9

Internet Related

www.e-page.com - get pages with short emails sent to you via internet & stock prices, sports scores, etc.

Voice Over Internet Protocol (VOIP)

Military

US Army Wire Communication WW I to Present by William L. Howard - photos of some very old phones including the EE- series.

Equipment

TG-5-B Telegraph Set

Signal Corps 1935 version of the Fuller Phone.

Fullerphones - separate web page

For sending Morse code that's almost impossible to intercept without a Fullerphone.  Range of 700 miles between two sets.

TELEPHONE SET. D. MK.V  is also on this web page since it combines a normal field phone and the Fullerphone capability.

EE-8 Telephone Set

This is the oldest model that I know about.  Got one, 6/03 more to come.
Crusty Old Joe's EE-8 Field Telephones including schematic
eBay photo TopSide, handset - another eBay photo -
TM 11-333 Technical Manual Telephones EE-8, EE-8A and EE-8B. March 1945. 66 pages 5.875 x 9 inches

TA-1 Sound Powered Telephone Set

This is a handset that is also a sound powered (no batteries) field phone.  It has a hand crank generator to ring other phones on the line.  It comes stored in a plastic case.  For use in a "platoon hot loop" the TA-1 phones are connected in a series circuit. ETM has the following manuals, but most are restricted (why?):
TM 11-2300-369-15-1 Install,
TM 11-5805-243-13, TM 11-5805-243-23P

TP-6-A

Based n the Western Electric WE302 dial phone

TA-43/PT Telephone Set

Was modified and became the TA-312.
CY-1277/PT bag
TM 11-337 Telephone Set, TA-43/PT, Departments of the Army and the Air Force, July 1954
Uses:

TA-43/PT Military Field Phone
TA-43/PT Military Field Phone



TA-182/U CONVERTER, TELEGRAPH-TELEPHONE SIGNAL

TM 11-5805-247-12, -20P, -34P, -35 are all on line. -12 has block diagram
Converts 20 Hz ringing tone (on LOOP side) to 1225 or 1600 Hz tone (on LINE side) that will pass over radio link and decodes that tone back to 20 Hz to ring POTS phones.  Either 2 or 4 wire systems. TP = TelePhone, TG = TeleGraph (RTTY).  4 binding posts for LINE and 4 binding posts for LOOP, although the 2W OR 4W switch allows using only 2 wires for LOOP and 2 wires for LINE operation.  Runs on 115 VAC and has no on-off switch. Uses tubes: 12AX7, 12AU7 (3 each), 6AL5, 1AL5, 6X4 (2 each)
Front Photo -

TA-312/PT Telephone Set  (Field Phone)

This is a nice 2 wire analog field phone that can also be used on the Plain Old Telephone System when the optional TA-955 touch tone pad is installed.

TA-263/PT  Lineman's Telephone Set

This set has circuitry to allow it to be connected to lines where carrier systems are in operation without disturbing those circuits.
TM 11-5805-255-24P

TA-264/PT Long Line Telephone Set

This is a battery powered phone that has a vacuum tube amplifier built in for working with long circuits.

TA-341/TT

Analog touch tone phone 4 wire
NSN: 5805-00-910-8844
Reference: TM 11-5805-384-12, -20P, -30P, -30, -12HR
in FM 24-24
Fair Radio - Photo - big gray desk phone

TA-838/TT Telephone Set

Analog touch tone phone 2 or 4 wire operation
NSN: 5805-00-124-8678
Reference: TM 11-5805-650-12, -20P, -34&P,
TM 11-5805-650-34&P TELEPHONE SET, TA-838/TT (NSN 5805-00-124-8678) AND TA-838A/TT (5805-01-125-5976) {TO 31W2-2TT-12} (REPRINTED W/BASIC INCL C1-5) (THIS ITEM IS INCLUDED ON EM 0059)
Fair Radio - Photo -
This phone can be connected to the POTS and is a touch tone phone.

TA-938/G Telephone Set

equivalent to the 2500 touch tone civilian telephone
NSN: 5805-00-134-2599

SB-22A  Switchboard

This is a manual switchboard that has 12 plug-in cards for each remote telephone. Manuals TM11-5805-262-20P and -34P are on line at ETM but TM11-5805-262-12 and -34P is restricted access?

SB-4170

Portable, 12 line, 2 or 4 wire, DTMF switchboard. 
Fairly compact if compared to the SB-3082. Not as many functions as a SB-3614. 

SB-3614A(V)/TT Telephone Switchboards

NSN: 5805-01-032-1694 (SB-3614(V)/TT) 5805-01-216-0887 (SB-3614A(V)/TT)
Reference: TM 11-5805-695-12, -20P, 34P, -20P-1,  -34P-1 (SB-3614(V)/TT) TM 11-5805-749-12, -34 (SB-3614A(V)/TT) analog and touch tone
Might be in FM 24-14 (wanted FM 24-14)
TM 11-5805-695-12 
TM 11-5805-695-34 
TM 11-5805-695-20P 
TM 11-5805-695-34P 
TM 11-5805-749-34 
TM 11-5805-749-12 
TM 11-5805-695-20P-1 
TM 11-5805-695-34P-1 

GRA-39 Radio Set Remote

Allows remote (up to 2 miles) control of radios using U-229 audio connectors.  Can also be used as a local battery telephone.

Digital Military Terminals (have both telephone and data connections)

TA-954

The Digital Non-secure Voice Terminal (DNVT) TA-954/TT is a four-wire terminal contained in a ruggedized case, which transmits and receives conditioned diphase-modulated digitized voice and loop signaling information at 16 or 32 kb/s. The DNVT has a 16-key push button keyboard, receiver and ring volume controls, an incoming call/off-hook indicator light, and writing pad. It contains built-in protection from nuclear energy electromagnetic pulses and lightning.  Handset H-350/U is issued with the DNVT. The microphone element is activated when the handset is removed from the cradle (hot mike). The push-to-net radio interface switch is only pressed to key the C-6709. The DNVT provides a digital communications interface with Tri-Service Tactical Communications (TRI-TAC) and Mobile Subscriber Equipment (MSE) circuit switches.

As far as I know this phone can NOT work with another phone of the same model, it only works with a digital switch.  If you know other, please let me know.

Git Hub project DNVT2IP to build interface to the internet, not updated since 2013.

"Its primary goal is to provide an adapter to interface military surplus Digital Nonsecure Voice Terminals (DNVTs) to Internet Protocol (IP) networks, specifically for use as Voice Over Internet Protocol (VOIP) phones using Session Initiation Protocol (SIP). Supported DNVTs include: * TA-954/TT * TA-1035/U * TA-1042A/U "

TM 11-5805-735-12 DIGITAL NON-SECURE VOICE TERMINAL, TA-954/TT, PART NO. 23400-502 (NSN 5805-01-159-9691) {TO 31W1-2TT-161; EE165-DA-OMP-010; TM 08789A-12/1}

Fair Radio - Photo -

TA-1035/U Digital Nonsecure Voice Terminal

NSN: 5805-01-246-6826
Reference: TM 11-5805-761-12&P
TM 11-5805-761-13&P TELEPHONE, DIGITAL, NON-SECUR TA-1035/U (NSN 5805-01-246-6826) (EIC: HHT) MSE (THIS ITEM IS INCLUDED IN EM 0075) - restricted

As a prime subscriber terminal, the TA-1035/U provides full-duplex, conditioned, diphase digital voice and loop signaling information with wire and mobile access equipment. It also provides supervisory, clock, plain text, and voltage reference signals with data devices. The TA-1035/U provides a data port for interfacing the communications terminal (CT) and AN/UXC-7 data devices to the echelons corps and below (ECB) network. The TA-1035/U operates in a common-battery power mode, deriving its power from the switch line termination circuit.

As far as I know this phone can NOT work with another phone of the same model, it only works with a digital switch.  If you know other, please let me know.

TA-1042  Digital Non-Secure Voice Terminal (DNVT)

NSN: Not available
Reference: TM 11-5805-780-12&P

The digital nonsecure voice terminal (DNVT) is a ruggedized field telephone. It is operable as a tabletop device in tents, shelters, and office environments. It also may be operated outdoors while strapped to a tree or pole. The DNVT is designed for durability to exposure of the elements during operation and transportation. Voice communication is accomplished through the handset. Digital data from an external device interfaces through the TA-1042A/U's digital
data port (DDP). The DNVT transmits and receives full duplex, conditioned diphase digital voice and loop signaling information at 16 or 32 kb/s rates. The DNVT is a nonsecure telephone with no encryption capability. It digitizes voice information using continuously variable slope delta (CVSD) modulation. Digital communication transmissions, both to and from the DNVT, are accomplished using a conditioned diphase (CDP) data transmission method. This is accomplished by using the DDP. The DNVT operates in both common battery mode and local battery point-to-point mode, but not simultaneously.

Two of these phones will talk to each other.  See the seperate web page for details on the hookup.

TSEC/KY-68 Digital Subscriber Voice Terminal

NSN: 5810-01-082-8404
Reference: TM 11-5810-329-10
The digital subscriber voice terminal (DSVT) KY-68 is used for encrypting/decrypting voice traffic and provides secure digitized data traffic. It operates as a full-duplex or half-duplex voice/data subscriber terminal at 16 to 32 kb/s. The KY-68 provides secure and nonsecure access to the switched networks and secure access to non-switched networks. Handset H-350/U is normally issued with the DSVT and includes a push-to-talk switch which is used when the DSVT is operating in the half-duplex mode to allow for voice transmission. The terminal consists of a five-position function switch, audio and ring volume controls, ring/busy, extension, and nonsecure warning indicators. The DSVT provides a digital communications interface with TRI-TAC and MSE circuit switches.


Racal Military phones - RA525 System Matel uses standard 2-wire cable and can have a number of independent full duplex conversations going on at the same time. Must be a digital system.  MATEL 2C800 Field Phone

C-6709

From FM 24-12:
Radio set control C-6709/G provides the capability for manned integration between 4-wire tone signaling telephone communications systems and push-to-talk radio systems. The C-6709/G is compatible with both current and future wideband transmission requirements. The 300 Hz to 70 kHz baseband allows the unit to accommodate a wide variety of interfaces for data communications and other needs. Radio keying can be accomplished with manual control by the NRI operator, by DTMF procedures, and/or by automatic voice actuation. It contains an H-250 handset, an H-325 headset microphone, and connecting cables with a basic unit. The C-6709/G provides facilities for controlling transmitter/receiver circuits of a variety of tactical radios in a 4-wire switched system comprised of AN/TTC-38s, AN/TTC-39s, SB-3614(V), CNCEs, and radios with COMSEC, such as PARKHILL and VINSON.

Wire

The most common single pair military telephone wire is called WD-1 and comes in spools of different lengths.  The conductors are steel and copper strands so that the wire can be suspended between poles.  This makes it difficult to splice.

In WD-1 the two wires are twisted together and can easily be separated, like to use as an antenna for a radio.  WD-1A has the two wires connected together, like a zip cord used for a lamp.  WD-1A also has a twist of 1 turn per foot that does not show up in some of the illustrations I found on the web.  WD-1A has better electrical specs because the wire separation is controlled, but is harder to use if you need a single conductor.

MK-356/G Wire Splicing Kit - uses cylindrical sleeve that are crimped onto the ends of two wires to form an in line splice.

YouTube: Improved Field Wire Laying With Dispensers 1944, 12:59 -

Telephone Manuals

The Military uses telephones that depend on wires for connivance and so that the enemy can not listen like can be done with radios.  Also a radio even though scrambled still sends out a signal that can be picked up and it's location determined and "traffic analysis" used to learn much without decoding the actual information being transmitted.  There are also satellite based telephone circuits that use the UHF military frequencies.  Like in the movie "Under Seige".

TM 47377 Communications Equipment 1950-1970

FM 24-20 Field Wire and Cable Techniques

The first part is about how to deploy WD-1 field wire and the rest has information on the equipment.

Special Text 11-154-3 Signal Reference Data   Wire and Multichannel Communications Equipment

Is a training manual with all kinds of voice and data equipment that works over wires.

FM 24-24 SIGNAL DATA REFERENCES: SIGNAL EQUIPMENT

Chapter 1 is on Telephone Equipment
Section I Telephones
Section II Switchboards
Section III. Auxiliary Telephone Equipment
FM 11-55 Mobile Subscriber Equipment (MSE) Opertions
TA-1035, KY-68, FAX terminal, AN/UXC-7 etc
FM 24-27 TACTICAL AUTOMATIC CIRCUIT SWITCHING AN/TTC-39
Transition system that covers both analog and digital phones


Field Wire

FM 24-20 covers Field Wire

WD-1/TT & WD-1A/TT

Is a single pair. Four copper strands and three steel strands.
MX-306A/G is a canvas donut holding 1/2 mile of WD-1.
The "A" version has the two wires joined together like zip cord (no twist) whereas the original version has the two wires just twisted together.
PS magazine Issue 659 pages 44 & 45.

WD-1A/TT Field Wire on D-8-AR Spool with RL-39-B Reeling Kit
WD-1A/TT Field Wire
                on D-8-AR Spool with RL-39-B Reeling Kit


Label info:
NSN: 6145-01-155-4258
CAGE: 54736
P/N: WD1A-0.5 km Cable, Telephone
DAAB07-98-D-R013/0227


ST-35 Sling Strap
NSN 8465-00-269-0682.

Marked:
US
Sling Type 16
MIL-S-1938 (?)
MFG 60468
DAAB07-81-C-H072
Reeling Machine RL-39B
DAAB07-91-C-H072
60468

NSN 3895-00-498-8343.

Hand Crank:
NSN 5340-01-142-9478.

Cotter Pin:
NSN 5315-00-842-3044

Carrying Handle:
NSN 3895-01-135-2538

WF-16/U

Quad wire, i.e. 2 Pair.

Test Equipment & Tools

General telephone equipment for civilian or military systems.

Telephone Tool Kit

Phone installer or inside wiring or . . .

KS-8455L2

I can remember in the 1950s the "telephone company" man (there was only one then, company that is) using this meter as his standard tool.

Butt Set

These are very handy handheld telephones.  A nice feature is switchable very high input impedance so that you can monitor a line without disturbing data transmissions.
Of course the main purpose is to allow the connection of a phone to just terminals or wires.  It's handy to have both the phone type alligator clips with the wire piercing pins and also a standard modular plug.  I also have a modular break out device that allows using the alligator clips on any of the modular pins.
Harris TS22AL
Telephone Tool Kit

Tone Generator & Sensor

To find or track wires these are very convenient.  You clip the tone generator on a pair and when the sensor gets within a few inches of the pair you can hear the tone.
Using this method you can find a pair that is surrounded by a thousand other pairs without connecting to each one.
925594 Fault-locator for electric cables, Walter Otis Pennell, Henry Louis Hoffmann, 1909-06-22, - dual deferentially wound exploring coil
1170017 Fault-locator for electric cables, Hugh Montgomery Stoller, Western Electric, 1916-02-01, - cradle formed of transformer laminations drives dual coil
2651021 Fault detector, Jr James B Hays, Bell Labs, 1953-09-01, - 10 Hz test tone (old 20 Hz test tone masked by subway 25 Hz AC power).

ZM-4B/U Resistance Bridge

Typically used for telephone line measurements, including open and short location, D cells ETM has the following manuals:
TB 9-6625-388-35 Cal,
TM 11-6625-249-12P Op,
TM 11-6625-249-34P maint,
TM 11-2019 Test Sets.
Inside the Lid are Instructions.

TS-27B/TSM Test Set

This may have been a prior version of the ZM-4.   It is described in TM 11-2057A (TO16-35TS27-6) Oct '52.  It includes a capacitance measurement function similar to the "kick" method used with the KS-8455L2.  The following are things that can be measured:
insulation resistance, loop resistance, capacitance, location of faults with many options.  It uses two tubes.  Instead of decade resistors there is a single slide wire potentiometer.

Tempo Sidekick T&N Line Tester - separate web page

Harris TS1000 ADSL Test Set -
Acterna DSL Services Tester 350
JDSU SmartClass ADSL

Tone & Probe station wire testing
Subscriber Loop Analyzers

RiserBond 1205T Time Domain Reflectometer

Got this on eBay for a very reasonable price.  Probably because it has an internal rechargeable battery that's dead and the charger has been lost.  It may be possible to replace the battery cells and get a charger to bring it back to life.
This is a digital version of the Tektronix 1502 Metallic Time Domain Reflectometer.
Also see Metal Locators.

RiserBond makes (made?) several versions of this TDR some for coax and some for wires like this version.
Startup screen: 1994 RiserBond Version 8.11MLZ

Looking for documentation.  Let me know.

The Charger Jack takes a plug with 5.5mm OD and maybe a center hole that's larger than 2mm, so maybe a 5.5x2.2mm plug (some on order).
An eBay ad for the model 1205CXA shows a 12VAC, 3A power supply as the charging power supply.  There are many12VAC power supplies on eBay but they hide the size of the DC power plug and instead mention the make and model of the equipment they fit along with a 3X to 5X price markup.
It also lists an optional battery: Ni-MH 7.2V, 3.5AH

The RiserBond Lexxi 1550 is the modern version and is hand held.

Fig 1 Carry handle, D-rings for carry strap,
and Jaws to hang from cable.
RiserBond
                  1205T Time Domain Reflectometer
Fig 2 Inside
RiserBond
                  1205T Time Domain Reflectometer
Fig 3 Bottom screws to remove guts.
Left: 2 Phillips screws & Right: 2 self locking nuts.
RiserBond
                  1205T Time Domain Reflectometer
Fig 4 Battery Pack in metal can.
Threaded studs on top of can for case nuts.
Hawker Energy, CYCLON 0809-0012
 6V 5.0 AH Sealed Lead Acid.
5-3/8" x 3" x 2"
(exact replacement on order)
RiserBond
                  1205T Time Domain Reflectometer
Fig 5 Powered from 6V Bench PS
Note the HP #3617A PS could not start the 1205T because it's limited to 1 Amp out.  The HP 6038A does work with a current of 0.84 Amps once the 1205T has started.
RiserBond
                  1205T Time Domain Reflectometer

Charging Power

I think the charging socket is a 5.5x2.5mm size and takes 12 VAC (or probably DC).  So have on order from eBay seller dealpartshere:

These are all 5.5x2.5 connector devices.
eBay Title
Vout - Iout
$
10sets DC Power 5.5x2.5mm Male Female Plug Jack Connector Cable Socket CCTV B209 na
8
AC 100-240V to DC 12V 2A Power Supply Adapter with 12 Selectable DC Tips A970 12VDC - 2A 12
AC Power Adapter For Western Digital WD S018EM1200150 External Hard Drive A533 12VDC - 2A 7
12 Volt 2 Amp AC/DC ADAPTER POWER SUPPLY CORD 12V 2A 5.5mm/2.5mm connector A533 12VDC - 2A 7

Ref: RiserBond Application Guide.pdf 
Radiodetection Corp. is the parent company of RiserBond.  They have many patents relating mostly to location of underground pipes or cables.
WO1996006362 Cable fault location, Andrew Biggerstaff LewisRadiodetection Limited, 1995-08-14, -

TCSM: TDR Tutorial and Riser Bond TDR Product Review -

Models
Model
Title
DUT
Z
Charger
Input
1270
TDR
TP L1 L2&
Coax BNC
125 & 100
50 & 75
12VAC <1A
1205T
Dual Input TDR
TP
125, 93, 75 or 50
12VAC <1A
1205C
Coax TDR
Coax
125, 93, 75 & 50
12VAC <1A
2901
Numeric TDR
Coax

4 ea Ni-CadAA
Chgr: 12VAC 0.5A
The "Strand Hooks Kit" was an option

Telephone Poles

Separate web page

Edison Cylinder

The Voicewriter aka:Ediphone was a dictation machine (Wiki) based on the Edison Cylinder Phonograph (Wiki).  Pretty much all of the patents related to the cylinder phonograph apply to this application. 

Edison Home Phonograph

227679 Phonograph, T.A. Edison, May 18, 1880, 369/214; 116/144; 181/162 -
248425 Apparatus for producing high vacuums, T.A. Edison, , Oct 18, 1881, 417/87; 417/150 - Sprengel vacuum pump (Wiki) for volume light bulb production.
251536 Vacuum pump, T.A. Edison, Dec 27, 1881, 417/150 - Sprengel vacuum pump (Wiki)
397280 Phonograph recorder and reproducer, T.A. Edison, Feb 5, 1889, 369/165 -
448780 Device for turning off phonogram-blanks, T.A. Edison, Mar 24, 1891, 369/173 -
448781 Turning-off device for phonographs., T.A. Edison, Mar 24, 1891, 369/153; 369/166 -
484583 Phonograph cutting-tool, T.A. Edison, Oct 18, 1892, 369/170 -
484584 Phonograph-reproducer, T.A. Edison, Oct 18, 1892, 369/173 -
484585 Phonograph, T.A. Edison, Oct 18, 1892, 369/168 -
386974 Phonograph, T.A. Edison, July 31, 1888, 369/53.39; 369/260; 369/223 - cylinder type, motor made from telegraph electromagnets
400646 Phonograph recorder and reproducer, T.A. Edison, Apr 2, 1889, 369/166 -
400647 Phonograph, T.A. Edison, Apr 2, 1889, 369/171; 369/161 -
400648 Phonogram blank, T.A. Edison, Apr 2, 1889, 106/37; 106/268; 369/288 -
400649 Method of making phonogram-blanks, T.A. Edison, Apr 2, 1889, 156/218; 156/267; 156/280 -
400650 Method of making phonogram-blanks, T.A. Edison, Apr 2, 1889, 493/273; 493/297; 493/296; 369/272.1 -
450740 Phonograph-recorder, T.A. Edison, Apr 21, 1891, 369/166 -
499879 Phonograph, T.A. Edison, June 20, 1893, 369/72; 369/92; 369/219.1 -
393640 Phonograph, E.T. Gilliland, Nov 27, 1888, 369/223; 369/256 -
414759 Phonogram blank, T.A. Edison, Nov 12, 1889, 138/140; 369/288; 369/286; 106/37 -
414760 Phonograph, T.A. Edison, Nov 12, 1889, 369/72 -
453741 Phonograph, T.A. Edison, June 9, 1891, 369/157 -
513095 Phonograph, T.A. Edison, Jan 23, 1894, 188/187 - waterwheel & fly-ball governor
394105 Phonograph-recorder, T.A. Edison, Dec 4, 1888, 369/166 -
394106 Phonograph-reproducer, T.A. Edison, Dec 4, 1888, 369/165 -
430274 Phonogram-blank, T.A. Edison, June 17, 1890, 106/37; 369/288; 106/243 -
430276 Phonograph, T.A. Edison, June 17, 1890, 369/245 -
430277 Automatic determining device for phonographs, T.A. Edison, June 17, 1890, 369/244.1; 369/260 -
430278 Phonograph, T.A. Edison, June 17, 1890, 369/165; 369/173; 369/170 -
465972 Phonograph, T.A. Edison, Dec 29, 1891, 369/223; 186/32; 369/72 -
484582 Process of duplicating phonograms, T.A. Edison, Edison Phonograph Co, Oct 18, 1892, 264/106; 164/46; 205/68; 264/225; 204/192.1 - cylinder a metal cavity mold is made using vacuum deposition, this is sawed into three arcs (120 degree sectors) using a very thin saw blade, the mold us used to cast retail cylinders made of wax or resin formed over a core.
526147 Art of plating one material with another, T.A. Edison, Sep 18, 1894, 204/192.38; 174/126.4; 204/298.41; 219/76.13; 313/355; 29/17.2; 204/192.1; 313/7; 427/531 - vacuum deposition (Wiki)
Oct 27, 1896, - Model D
604829 Sound Reproducing Machine, J.W. Jones, May 31, 1898, - disk style
652457 Phonograph, Thomas A Edison, Jun 26, 1900, 369/173 - Model D - tip geometry
RE11857  Phonograph, Thomas A Edison, Sept 25, 1900, 369/155 369/173 - Model D - tip geometry
655480 Phonographic reproducing device, Thomas A Edison, Aug 7, 1900, 369/160 369/173 - Model D - lever arm drives cutting stylus
667662 Process of duplicating phonograph-records, Thomas A Edison, Feb 5, 1901, 264/106; 264/301; 164/342; 369/84 - the mold used is continuous on its bore.  A soap mixture contracts from the mold allowing it to be pulled out of the cavity.
690069 Dec 31, 1901, - Model D
709128 Numbering machine, Albert P Waterman, George H E Berthold, Edison Phonograph Works, 1902-09-16, - similar to a Bates numbering stamp
713209 Process of duplicating phonograms, Thomas A Edison, Nov 11, 1902, 264/106; 264/291 -
713863 Process of coating phonograph-records, Thomas A Edison, Nov 18, 1902, 205/68; 204/192.12; 313/152; 313/567; 164/46; 204/298.28; 313/238; 313/289; 369/286 -  vacuum deposition (Wiki) of thin Gold metal films is well known in the Semiconductor industry, but seem to have been pioneered by Edison.  Uses a Sprengel vacuum pump (Wiki) to get  less than 1 mPa (approximately 1×10−8 atm). 
744586 Nov 17, 1903, - Model D
790542 Phonographic recorder, Peter Weber, New Jersey Patent Co, May 23, 1905, 369/166 - Model D
790517 Sound record or blank, Walter H Miller, Alexander N Pierman, New Jersey Patent Co, May 23, 1905, 138/172 369/286 138/129 138/131 369/288 -
790351 Process of duplicating phonographic records, Thomas A Edison, May 23, 1905, 264/106 369/288 - cylinder or disk
Aug 22, 1905, - Model D
797813 Phonograph, H.S. Mills, Aug 22, 1905, -
798034 Tablet Carrier for Talking Machines, G.W. Gomber, Aug 22, 1905, -
Oct 3, 1905, - Model D - see 800890 below
Aug 29, 1905, - Model D - 798087 see 798087 below
829848 Phonograph Attachment, J.V. Cruso, Aug 28, 1906, - Model D Horn
859114 Automatic Phonograph, W.W. Rosenfield, July 2, 1907, - Model D Horn

Edison Business Phonograph

698602 Phonographic reproducer, Peter Weber, 1902-04-29, 369/168 -
744266 Phonographic recorder and reproducer, Peter Weber, New Jersey Patent Co, Nov 17, 1903, 369/168 -
744267 Phonographic repeating mechanism, Peter Weber, New Jersey Patent Co, Nov 17, 1903, 369/223; 369/225 -
771851 Repeating attachment for phonographs, Peter Weber, New Jersey Patent Co, Oct 11, 1904, 369/221 - for coin op machines to return stylus to the beginning or for infinite loop
772485 Phonograph, Peter Weber, New Jersey Patent Co, Oct 18, 1904, 369/53.4; 369/222; 369/225; 369/27.01 -
775591 Repeating attachment for phonographs, Edward L Aiken, New Jersey Patent Co, 1904-11-22, 369/221 -
790542 Phonographic recorder, Peter Weber, New Jersey Patent Co, 1905-05-23, 369/166 181/197 -
793140 Talking Machine, G.A. Manwaring, June 27, 1905, -
793442 Sound-modifier, Charles L Hibbard, New Jersey Patent Co, June 27, 1905, 181/197 - volume control for ear tubes
798087 Repeating attachment for phonographs, Edward L Aiken, New Jersey Patent Co, Aug 29, 1905, 369/160; 369/225; 369/219.1 -
798478 Means for sustaining phonograph-motors, Edward L Aiken, New Jersey Patent Co, Aug 29, 1905, 248/575; 248/624; 248/638 -
800890 Phonographic recorder, Peter Weber, New Jersey Patent Co, Oct 3, 1905, 369/166 -
802212 Phonograph-recorder, Charles L Hibbard, New Jersey Patent Co, Oct 17, 1905, 369/170 -
811010 Phonograph speed-index, Peter Weber, New Jersey Patent Co, 1906-01-30, 188/71.7; 16/198; 188/187 -
820158 Phonograph-horn, Peter Weber, New Jersey Patent Co, 1906-05-08, 181/177; 181/178- breaks down into 3 sections that stack inside each other
821071 Phonograph, Peter Weber, New Jersey Patent Co, May 22, 1906, 74/424.78 - lead screw for cylinder
842042 Speed-regulator, Peter Weber, New Jersey Patent Co, 1907-01-22, 188/187 -
847687 Phonic apparatus, Alexander N Pierman, New Jersey Patent Co, Mar 19, 1907, 369/167; 369/223 -
855828 Phonograph recorder and reproducer, Edward L Aiken, New Jersey Patent Co, June 4, 1907, 369/165; 369/168 -
861827 Phonograph, graphophone, &c., Charles George Garrard, Edison-Bell Consolidated Phonograph Co, 1907-07-30, - uses a wheel to replace the half-nut that engages the lead screw to lower friction.
875309 Phonograph, Edward L Aiken, New Jersey Patent Co, Dec 31, 1907, 369/245 -
878029 Phonograph-horn, Peter Weber, New Jersey Patent Co, 1908-02-04 181/178 - breaks down into 3 sections that stack inside each other

Voicewriter - Ediphone

1027702 Controlling device, Nelson C Durand, Thomas A Edison Inc, 1912-05-28, 74/512; 74/513; 417/903; 92/161 - foot switch for typist
1033999 Dictation memorandum-sheet, Nelson C Durand, Thomas A Edison Inc, App: 1907-06-28, Pub: 1912-07-30, 283/115; 283/45 - "tablet" is another name for the cylinder
1049237 Phonograph, Newman H Holland, Thomas A Edison Inc, 1912-12-31, 369/157; 369/161; 369/223 - better adapted for commercial use
1106448 Phonograph, Newman H Holland, New Jersey Patent Co, 1914-08-11, 369/27.01; 369/223 - paper strip memorandum device
1174292 Machine for shaving sound-records, Charles Schiffl, New Jersey Patent Co, 1916-03-07, 82/1.12; 470/80 -
1214920 Electric switch, Newman H Holland, Thomas A Edison Inc, 1917-02-06, 200/470; 200/DIG.27 - non sparking switch so safe for use in a business (a lot of paper?)
1272262 Phonograph, Newman H Holland, New Jersey Patent Co, 1918-07-09, 369/53.39; 369/223 - improved memorandum device
1275257 Phonograph, Newman H Holland, New Jersey Patent Co, 1918-08-13, 369/29.02; 369/225 - easier to space back
1290199 Controlling device for phonographs, Newman H Holland, Thomas A Edison Inc, 1919-01-07, 192/83; 192/84.2; 185/40M; 74/503 - start or stop without sparks
1297466 Speaking-tube support for phonographs, Newman H Holland, Thomas A Edison Inc, 1919-03-18, 369/260; 369/292- more convenient use
1323197 Production of sound-record tablets, William W McWilliams, Thomas A Edison Inc, 1925-03-03, 138/174; 264/257; 249/149 - method of making cylinders
1420316 Phonograph, Newman H Holland, New Jersey Patent Co, 1922-06-20, 369/161; 237/73; 369/168; 369/171 - for business use, sound box for both recording and playback
1495592 Switch, Newman H Holland, New Jersey Patent Co, 1924-05-27, 200/1A; 200/528; 200/406 - Switch that similar to a typewriter key
1528121 Apparatus for the production of sound-record tablets and tablets made thereby, William W McWilliams, Thomas A Edison Inc, 1925-03-03, 138/178; 264/163; 369/272.1 - method of making cylinders
1615114 Phonograph, Nelson C Durand, Thomas A Edison Inc, 1927-01-18, 369/79; 369/243 - more convenient use
1638558 Indicating means and the like, Charles K Woodbridge, Dictaphone Corp, 1927-08-09, 400/705; 33/443 - pad of paper strips "Form B440" marked 0 to 40 showing patent number on stub.
1643770 Phonograph record, Newman H Holland, (not assigned), 1927-09-27, 369/71; 369/277; 369/286 - a disk rather than a cylinder
1721913 Machine for shaving sound-record tablets, Charles W Luhr, Thomas A Edison Inc, 1929-07-23, 82/1.12 - "Where sound-record tablets are used in connection with business phonographs, it is customary, after dictated matter has been recorded on a record tablet and the record transcribed, to shave off the outer Surface portion of the tablet, so as to prepare the tablet for receiving a new record thereon."
1733951 Control means for phonographs, Nelson C Durand, Thomas A Edison Inc, 1929-10-29, 369/69; 369/25.01; 200/5A - to allow typist to easily control playback
1786294 Switch device, Nelson C Durand, Thomas A Edison Inc,1930-12-23, 200/8A; 200/260 - related to 1733951 above.
1842550 Phonograph, Newman H Holland, Thomas A Edison Inc, 1932-01-26, 369/223; 369/266; 369/225-  "...back spacing means is actuated directly by the motor..."
2118202 Record shaving machine, Huenlich Charles, Gramann Heinrich F Max, Thomas A Edison Inc, 1938-05-24, 82/1.12 - Ediphone Shaver Model 13500
2137383 Record shaving machine, Thomas C Brown, Thomas A Edison Inc, 1938-11-22, 82/1.12; 470/80 - Ediphone Shaver Model 13500

Victor Talking Machine Co (Wiki)  "Victrola"

Company founded by Eldridge R Johnson in 1901. "His Master's Voice" logo with Nipper
Purchased by RCA in 1929.

725343 Hand-motor for toy gramophones, Eldridge R Johnson, Victor Talking Machine Co, 1903-04-14, - hand crank & fly-ball governor
739303 Needle-feeding device for talking-machines, Edward D Gleason, Victor Talking Machine Co, 1903-09-22, -
739318 Sound-record, Eldridge R Johnson, Victor Talking Machine Co, 1903-09-22, - "Gramophone" disk with label in center instead of etching
741500 Sound-recording machine, Eldridge R Johnson, Victor Talking Machine Co, 1903-10-13, - disk
742666 Reproducer-support for gramophones, Eldridge R Johnson, Victor Talking Machine Co, 1903-10-27, -
755852 Multispeed device for talking-machine motors, Wilburn N Dennison, Victor Talking Machine Co, 1904-03-29, - 78 & 45 RPM?
763903 Sound-recording apparatus, Joseph W Jones, American Graphophone Co, 1904-06-28, -for cutting left-right groves -  about the same time he invented a fly-ball type speedometer.
774435 Cabinet for talking-machines, Eldridge R Johnson, Victor Talking Machine Co, 1904-11-08, - table top, external speaker
778975 Cutting-tool for sound-recording machines, Eldridge R Johnson, Victor Talking Machine Co, 1905-01-03, -
779030 Cabinet for talking-machines, Leon F Douglass, Victor Talking Machine Co, 1905-01-03, - seems more for protection than portability
781429 Sound recording and reproducing machine, Eldridge R Johnson, Victor Talking Machine Co, 1905-01-31, - disk
785362 Talking-machine, Eldridge R Johnson, Victor Talking Machine Co, 1905-03-21, - table top external horn
814047 Motor for talking-machines, Eldridge R Johnson, Victor Talking Machine Co, 1906-03-06, - clockwork

Saw a VV-50 Portable Record Player on eBay with the following patents plus others:
814786 Talking-machine, Eldridge R Johnson, Victor Talking Machine Co, 1906-03-13, March 13, 1906, - external horn disk player
814848 Amplifying-horn, Eldridge R Johnson, Victor Talking Machine Co, March 13, 1906 - the horn to go with 814786
854801 Composition of matter for sound-records, George K Cheney, Victor Talking Machine Co, 1907-05-28, - equal parts of ozocerite and paraffin.
855736 Sound-box for talking-machines, Louis P Valiquet, Victor Talking Machine Co, June 4, 1907 -
877184 Sound-box for talking-machines, John C English, Victor Talking Machine Co, January 21, 1908
879363 Die-plate for stamping up sound-records, George K Cheney, Victor Talking Machine Co, 1908-02-18, - a big advantage of disks over cylinders is the ease of stamping disks.
880369 Tilting turn-table for sound recording and reproducing machines, Wilburn N Dennison, Victor Talking Machine Co, February 25, 1908 - disk player
902280 Sound-box for talking-machines, Leon F Douglass, Victor Talking Machine Co, October 27, 1908
RE12963 Combined stand and horn fob talking-machines, John C English, Victor Talking Machine Co, May 25, 1909 - floor standing internal horn
940794 Sound-box for sound recording and reproducing machines, John C English, Victor Talking Machine Co, November 23, 1909
RE13044 Combined Stand and Horn for Talking Machines, H.C. Miller, Victor Talking Machine Co, November 23, 1909 - floor standing internal horn
946014 Mounting for sound-boxes, George L Coleman, Victor Talking Machine Co, January 11, 1910
946442 Talking-machine, Eldridge R Johnson, Victor Talking Machine Co, January 11, 1910 - floor standing
947227 Sound-reproducing device, John C English, Victor Talking Machine Co, January 25, 1910 - exponential horn?
948040 Talking-machine, John B Browning, Victor Talking Machine Co, February 1, 1910 - table top, external horn
951292 Sound-box, Eugene C Smith, 1910-03-08, -
1020206 Motor for talking-machines, Eldridge R Johnson, Victor Talking Machine Co, March 12, 1912 - clockwork w/fly-ball governor, disk player
1023820 Air-compressor, Wilburn N Dennison, Victor Talking Machine Co, Air-compressor, Wilburn N Dennison, 1912-04-23, - Quiet.  Maybe for blowing the tailings away when cutting a record.
1060550 Talking-machine, Eldridge R Johnson, Victor Talking Machine Co, April 29, 1913
1073408 Sound-box, Albert C Diehl, Victor Talking Machine Co, September 16, 1913
1152343 Gramophone, Joseph Sanders, Victor Talking Machine Co, 1915-08-31, - external horn,
1170675 Spring-barrel for talking-machine motors, Belford G Royal, Victor Talking Machine Co, February 8, 1916 - main energy storage spring
1187892 Sound-reproducing machine, John C English, Victor Talking Machine Co, June 20, 1916 - table top disk player
1188374 Sound-reproducing machine, John C English, Victor Talking Machine Co, June 20, 1916
1190728 Tone-arm for talking-machines and the like, scar J Clair, Victor Talking Machine Co, July 11, 1916 - hollow jointed
1196265 Brake for talking-machines, Henry H Murray, William D La Rue, Victor Talking Machine Co, August 29, 1916 - manually stops the turntable
1224979 Automatically-operated talking-machine, Louis P Valiquet, Victor Talking Machine Co, 1917-05-08, - mechanical acoustic disk player.  plays a stack of records in order, returning each to the stack.  My family had a record player that dropped records and they stayed on the turntable, so there was a limit to how many could be on the stack.
1285320 Tone-arm mounting for talking-machines, Henry H Murray, Victor Talking Machine Co, November 19, 1918 - support at base end centered on tube ID.
1286527 Flexible shaft-coupling, Isaac F Burton, William W Moyer, Lloyd Y Squibb, Victor Talking Machine Co, 1918-12-03, - allows coupling electric motor to mechanism without perfect alignment
1323726 Talking-machine, Lloyd Y Squibb, Victor Talking Machine Co, 1919-12-02, - folding tone arm like in portable machine
1341522 Sound-tubes for talking-machines, Lloyd Y Squibb, Victor Talking Machine Co, May 25, 1920 - various joints
1353479 Sound-box for sound recording and reproducing machines, Eldridge R Johnson, Victor Talking Machine Co, September 21, 1920
1393691 Sound-box foe talking-machines, W.W. Moyer, Victor Talking Machine Co, October 11, 1921
1433103 Automatic talking machine, Lloyd Y Squibb, Victor Talking Machine Co, 1922-10-24, - Jukebox (Wiki) plays from a stack of records
1477295 Automatic stopping mechanism, Lloyd Y Squibb, Victor Talking Machine Co, 1923-12-11, -
1549336 Automatic electrical winding apparatus for spring motors, Lloyd Y Squibb, Victor Talking Machine Co, 1925-08-11, - keeps spring at medium tension so fly-ball governor works better, i.e. more constant speed.  Slightly different concept than that used on Self Winding Clocks.
1615243 Stop mechanism for talking machines, Lloyd Y Squibb, Victor Talking Machine Co, 1927-01-25, - senses tone arm to stop turntable.
1767410 Combination talking machine and radio receiving device, Lloyd Y Squibb, Victor Talking Machine Co, 1930-06-24, - allows using the talking machine horn for radio listening
1796149 Stylus-bar mounting, Carleton D Haigis, Lloyd Y Squibb, Victor Talking Machine Co, 1931-03-10, -

US Gramophone

637196 Gramophone sound-box, Emile Berliner, US Gramophone, 1899-11-14, -
637197 Gramophone, &c., Emile Berliner, US Gramophone, 1899-11-14,- disk or tablet, not cylinder

Talking Post (baseball) Card

18+ Mysterious Items - You Won't Guess it's Purpose!, 16:56 - @1:10 Oversized Baseball Card
1303842 Post-card, Shirley E. Stout, 1919-05-13 - small flat record disk

References

Book: The Talking Machine : An Illustrated Compendium 1877-1929 by Fabrizio & Paul -
Intertique -

Phonograph needle sharpener

I remember this very cleaver device from the 1950s.  We had a phonograph that could use either cactus or steel needles and this sharpener was part of the setup.
This was for an all mechanical phonograph.  Later when I got a turntable as part of a Hi-Fi system there was a need to have two needles, a ruby for 78 PRM records and a diamond for 33 and 45 RPM records.

2099179 Sharpening
                  device, Forest A Stainbrook,1937-11-16
Needle sharpening device 2099179 Sharpening device, Forest A Stainbrook,1937-11-16, 451/285; 451/359; 451/374; 451/490 -

This is a simpler, lower cost, and easier to use than the prior art needle sharpeners.  Note there were/are also sharpeners for sewing machine and hypodermic needles.

727613 Needle-grinding machine, Edward D Gleason, Hawthorne & Sheble Mfg Co, 1903-05-12, - Gramophone
1256034 Needle-sharpener, Harry L Notter, 1918-02-12, - phonographs
1287224 Needle-sharpening device, Daniel W Causey, 1918-12-10, - for talking machines
1349009 Phonograph-needle-sharpening attachment, Silberstan Jacob, 1920-08-10, -
1401929 Phonograph-needle sharpener, Axel W Wahlin, 1921-12-27, - for disk type records
1497129 Needle-sharpening device, Ruby O Wood, 1924-06-10, - phonograph needles
1510764 Needle-repointing device, Daniel W Causey, 1924-10-07, - similar to the one below, but much more complex.
1569402 Stylus-sharpening device, Slye John Queen, Standard Appliance, 1926-01-12, -

2264598 Needle
                  sharpening device, Forest A Stainbrook, 1941-12-02, -

2264598 Needle sharpening device, Forest A Stainbrook, 1941-12-02, 451/415; 451/285; 451/382 -

There were later needle sharpeners::
3873098 Rotary stylus reshaper, Marvin Allan Leedom, RCA, 1975-03-25, - video disk?

Poulsen Magnetic Telegraphone New web page: Magnetic Recording


Books

Old-Time Telephones by Ralph Meyer
Has a lot of theory and practical testing plus schematics for most old phones in a generic way, rather than a by model number way.
oldphoneguy - good info on how to build you own equipment for testing various aspects of phones
The Telecom Archive; (Formerly The Bell System Practices (BSP) Archive) - patents -

Signaling Tones

SIT  (Special Information Tones)

the triple tone that you get when you dial a number that doesn't exist (3 tones, each higher in pitch than the last) Used by CDA (Call Disposition Analyzers) to differentiate between human voices and recorded announcements and categorize their type. Most CDA's merely look for three sequential tones occurring in less than 3 seconds using a band-pass filter centered around 600 Hz.

Loren D. Cahlander of AMCOM Software, Inc. 5555 West 78th St Suite Q Minneapolis, MN 55435
From the documentation that I have, there are four different sequences of tones:
                                         First Tone             Second Tone       Third  Tone
Tone     Tone                    freq  length            freq    length         freq    length
Name    Description        (Hz)(10 ms)            (Hz)   (10 ms)      (Hz)   (10 ms)
======================================================================
 NC     No Circuit              985.2  38.0        1428.5  38.0    1776.7  38.0    Found
 IC       Operator                913.8  27.4        1370.6  27.4    1776.7  38.0    Intercept
 VC     Vacant Circuit         985.2  38.0        1370.6  27.4    1776.7  38.0
 RO     ReOrder                 913.8  27.4        1428.5  38.0    1776.7  38.0

Macy Hallock of F M Systems, Inc. 150 Highland Dr. Medina, OH 44256 says:

Period  Frequency    Designation
 SSL      LLL        IC - Intercept - Vacant No. or AIS or etc.
 LLL      LLL        NC - No Circuit (Inter-LATA carrier)
 LSL      HLL        VC - Vacant Code
 SLL      HLL        RO - Reorder Announcement (Inter-LATA Carrier)
 LSS      LHL        #1 - Add'l Reserved Code
 SLL      LHL        RO - Reorder Announcement
 SSL      HHL        #2 - Add'l Reserved Code
 LLL      LLL        NC - No Circuit, Emergency or Trunk Blockage
Where: Period-Duration: S=Short 274 msec   L=Long 380 msec
       Frequency: L=Low  913.8 Hz  1370.6 Hz  1776.7 Hz
                        H=High  985.2 Hz  1428.5 Hz
This information taken from a central office recorder/announcer installation manual ca. 1983. I believe SIT's are specified by Bellcore and/orr CCITT. I have heard SIT's used on international calls to several countries.
 

I have not been able to confirm that SIT is spec'd by CCITT (now http://www.ITU.org ) or by BellCore (I don't think they are online?).

Telemarketers HATE Answering machines:
Techniques for call progress detection are readily available by looking at sample patents:
5724420 Automatic Call Distribution with Answer Machine Detection
5430792 Automated Telephone Calling System
5371787 Machine Answer Detection

more at: The Telephone System

Getting this type of information in an organized format is one of the main goals of my Technical Reference  project. Any help is greatly appreciated.

above by James Newton mailto:jamesnewton@geocities.com

5920623  Method and apparatus for defeating a predictive telemarketing system - sends 914 Hz tone burst after phone is picked up

Magnetos

Hand cranked used to power ringer.

914311 Electric Current Generator, Charles C. Ruprecht (RuprechtElectrical Co.), March 2 1909, 310/75.00R - 3 "U" permanent magnets

My Telephones

Gallows Phone
                  Mouthpiece
Side (Gallows)
                  view
Gallows Phone Mouthpiece
Side (Gallows) view
This is a reproduction of the origional A. G. Bell patent phone. 
Coil inductance about 5 mH & 6 Ohms.  Note that the coil used in a telegraph sounder when used in a local loop would be a "4 Ohm Coil" and marked that way.  So it looks like the coil is a slightly modified telegraph part.  The terminals are telegraph parts.

Commercial

Western Electric 202 Dial phone - consists of a phone and a "sub set" that's mounted on the wall.
Bell System 302 Dial Phone - the "I Love Lucy" phone, this is the first phone I can remember.  The first phone to have all the parts in one case.
Bell System 500 Dial Phone - basis for the REN Ring Equivalence Number that's on the label of all modern phones
WE 500 Dial Phone -
Bell system 2500 Touch Tone phone -
Western Electric 2554 Wall Touch Tone Telephone
Western Electric Candlestick Dial Telephone
PhONE Genius 2008 - "Super Mini Phone" - fits inside one hand.
PhONE Genius 2008
          - "Super Mini Phone"

Type 331a Telephone Set for Radio Remote Units

One of the reasons I got this phone was because of the cord with what appears to be a special AC mains plug (see at the right of the top compartment in Fig 1).
These were mentioned in the book Exploding the Phone: The Untold Story of the Teenagers and Outlaws who Hacked Ma Bell by Phil Lapsley, 2014.  The idea was book makers would connect the phone line to what appeared to be a normal AC power wall socket and put a similar plug on the telephone.  When the book makers were tipped off that there was going to be a raid they just unplugged the phone (or other equipment) from the wall and took it with them.  When the police arrived they did not suspect the wall outlet.  The "other equipment" may have been a call forwarding system so that the police would raid the first number in the chain of numbers so would not catch the book makers.

The official documents say this is for use by a radio station's remote crew.  The features it has are consistent with that use such as a Push to talk handset and flashing light instead of bell. 

Note the hand crank is installed on the magneto in Fig 1 as received (and as sold on eBay).  Cranking CCW does not loosen it.  How to unscrew it? Answer: A light tap with a 2x4 the the CCW direction.

Fig 1 Crank installed
Line binding posts & cord w/Hubbell plug
Ringer On/Off switch
Type 331a Telephone Set for Radio Remote Units
Fig 2 Lightly tapped the 2x4 on the crank to turn it CCW and on the first try is broke loose.
The battery seems to be a fish paper sleeve battery holder for a couple of "D" cells rather than the expected
No. 6 dry cell.
Type 331a Telephone Set for Radio Remote Units
Fig 3
No. 21B-3 "Beehive" Indicator on D3AY cord
F3S-3 PTT Handset
3-prong Hubbell Plug
104A Induction coil
No. 215A-223A Jacks
Crank in holder
Type 331a Telephone Set for Radio Remote Units
Fig 4 Note ringer without gong so more like airplane mode on a cell phone, i.e. vibrates.
WE853 Generator. (same as KS-13766?) w/o crank
195A Condensor
B1AL Ringer (less gongs)
ringer On/Off switch
Type 331a Telephone Set for Radio Remote Units
Fig 5
WE 11A Connecting block or protection?
Type 331a Telephone Set for Radio Remote Units

Documents (Telephone Collectors.info) "Supersedes the D-97041 set. (331 (no letter)"
C32.516_I1_Jun53_331TypePortableTelephoneSet.pdf
C32.516-i1-331-Type-Telephone-Set_tl.pdf
331A_tl.pdf
331BPost4_78_tl.pdf
331BPre4_78_tl.pdf

Military (See Above)

Station Protection

Covered by Bell System Practices Section 460-100-200.
Fuseless: 123A1A, 128A1A-2, 116C, 117B
Fused: 98AA, 106C, 106CA, 60-Type fuses (short open notched tabs on both ends), 1293C

Western Electric 98A Lightning Arrestor

The drop cable from the pole went to one side and the house telephone wiring connected to the other side.  In between is the protection circuitry connected to ground.
This is where the technician would connect his KS8455 Kick Tester.

Fig 1 Two long 11CBB red fuses shunted  with 213A Strap making them non functional.
Station and ground wires at top.
Drop wire at bottom.
Western Electric 98A
                  Lightning Arrestor
Fig 2 Close up of protector.
Western Electric 98A
                  Lightning Arrestor
Fig 3 Back side.
5 slots in 11CBB fuse.
Western Electric 98A
                  Lightning Arrestor

See patent 2058594 below.

Western Electric 123 A1A Protector

This is also a carbon based protector like the 98A above.

Fig 1 Overall view.
Western Electric
                  123 A1A Protector
Fig 2 Two carbon cartridges.
No fuses so much smaller than the 9A.
Western Electric
                  123 A1A Protector
Fig 1 Inside a cartridge.
Western Electric
                  123 A1A Protector


Tii 365 assembled on left
exploded on right.
Tii 365 Gas Tube
                  Protector

Sylvania 6ESE

This appears to be a carbon type, not gas tube.

Fig 1
Sylvania 6ESE
                  Station Protector
Fig 2 Carbon block at right end.
Sylvania 6ESE
                  Station Protector

Gas Tube Protectors

Tii has many Voltage Surge protection products.

    Tii 365

This is a 2 terminal device.  Fits in 1/2-20 threaded well.
(The 366 is very similar but fits 7/16-20 threaded wells.)

These are replacements for the carbon elements used in the WE 123 A1A. 
Tii 365 Gas Tube
              Protector

Tii 73-400-FV-21

This is a 3 terminal device, similar to the model 317.

Tii
                    73-400-FV-21 Gas Tube Protector

Protector Patents

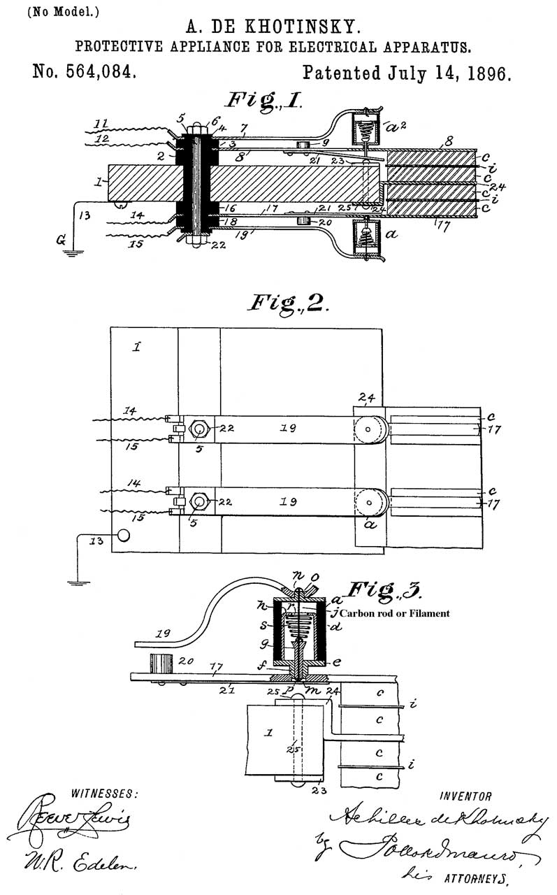
564084 Protective appliance for Electrical
                  Apparatus, A. De Khotinsky, American Bell Telephone
                  Co, July 14, 1896

564084 Protective appliance for Electrical Apparatus, A. De Khotinsky,  American Bell Telephone Co, July 14, 1896, 337/31; 74/579R -
658976 Lightning-arrester, Frank B Cook,
                  1900-10-02

658976 Lightning-arrester, Frank B Cook, 1900-10-02, -
830391 Electrothermal device, Charles E White,
                  Frank B. Cook, 1906-09-04

830391 Electrothermal device, Charles E White, Frank B. Cook, 1906-09-04, -
1122575 Protective
                  Device, W.L. Cook & G.W. Rodormer, Dec 29, 1914,
                  337/31; 313/306; 337/26; 361/129; 313/309; 361/124;
                  439/830

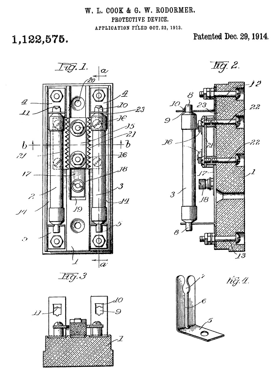
1122575 Protective Device, W.L. Cook & G.W. Rodormer, Dec 29, 1914, 337/31; 313/306; 337/26; 361/129; 313/309; 361/124; 439/830 - look and feel of 98A

Lightning arrester: Carbon block 15, two serrated conducting metal plates 21


1173165 Lightning-arrester, Leon S Brach, 1916-02-29 - Vacuum arrestor


1445072  Terminal Box, W.L. Cook, Feb 13, 1923, 174/60; 174/17CT; 174/19 - for telephone lines, nuts on studs.


1651021 Voltage-limiting device, Frank E Field, 1927-11-29, 379/412; 361/56; 361/118; 361/54; 361/111 - Silicon steel & Permalloy transformer inside telephone


1691705 Protector, W.L. Cook, Reliable Elec Co, Nov 13, 1928, 337/241; 337/152 - long cylinder, 11CBB fuse? No, the 11CBB does not have an indicator sticking out.


1752660 Lightning arrester, Leon S Brach, 1930-04-01, -
YouTube:  SHORT: Vis-o-Glow Lightning Arrester, 5:56 -


1862317 Fuse, Jun 7, 1932 - chlorinated naphthalene
   RE


1901893 Electrical protector device, George H Brodie, Western Electric Co Inc, 1933-03-21,
313/268; 313/259; 313/353; 361/127; 313/325; 313/355; 445/46; 313/51 - Carbon blocks w/insulation between them.


1948078 Telephone station outdoor protector, G.W. Rodormer, Reliable Elec Co, Feb 20, 1934, 337/32; 337/34 - telephone station outdoor protector
2012342 Lightning
                  arrester, Edward A Everett, Aug 27, 1935, 361/127
                  313/268 337/32 338/237 313/243 313/306 337/34 338/324

2012342 Lightning arrester, Edward A Everett, Aug 27, 1935, 361/127 313/268 337/32 338/237 313/243 313/306 337/34 338/324 - 2 nut/stud terminals & ground.


2030460 Electric resistance device, Edmund R Morton, Bell Tel Labs, Feb 11, 1936, 338/302; 219/541; 338/296; 219/548 -

2058594 Protective
                  device, Leroy W Kelsay, Bell Tel Labs, Oct 27, 1936,
                  337/203; 337/32; 337/213; 337/250; 313/51; 337/139;
                  337/216
2058594 Protective
                  device, Leroy W Kelsay, Bell Tel Labs, Oct 27, 1936,
                  337/203; 337/32; 337/213; 337/250; 313/51; 337/139;
                  337/216 2058594 Protective device, Leroy W Kelsay, Bell Tel Labs, Oct 27, 1936, 337/203; 337/32; 337/213; 337/250; 313/51; 337/139; 337/216 - Very close to the 98A
2223540 Protector
                  unit, John S Baker, Cook Electric, Dec 3, 1940,
                  337/32; 313/309; 337/34; 361/126; 313/3; 313/323;
                  361/124

2223540 Protector unit, John S Baker, Cook Electric, Dec 3, 1940, 337/32; 313/309; 337/34; 361/126; 313/3; 313/323; 361/124 -
Saw-tooth arrester blades (101, 102) and carbon block (54).


2490952 Combined Lightning Arrester and Fuse Construction, R.H. Earle, McGraw Electric, 1949-12-13, -
    RE23293 Combined Lightning Arrester and Fuse Construction, R.H. Earle, McGraw Electric, Nov 14, 1950, 337/31 337/208 361/124 361/127 337/219 -

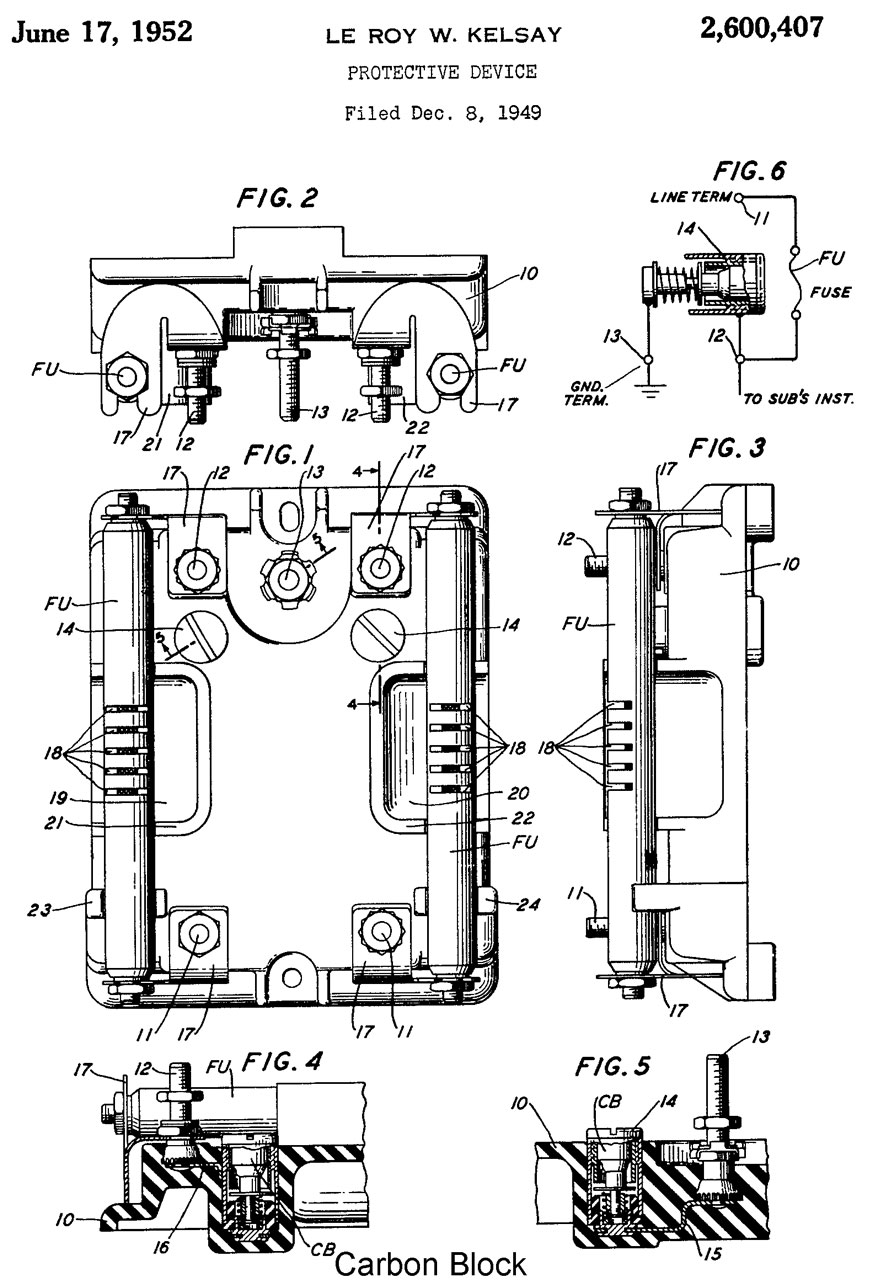
2600407 Protective
                  device, Le Roy W Kelsay, Bell Tel Labs, Jun 17, 1952,
                  337/32; 337/34; 361/125; 337/26; 361/124; 361/126

2600407 Protective device, Le Roy W Kelsay, Bell Tel Labs, Jun 17, 1952, 337/32; 337/34; 361/125; 337/26; 361/124; 361/126 - calls 2058594


3254179 Mounting for communication line protector, Frank B Howard, Northern Electric, 1966-05-31, 337/18; 337/20; 361/124 - Gas filled, 2 & 3 terminal versions


3281555 Protectors for electric circuits, McGraw Edison Co, Oct 25, 1966


3448341 Electrical load protection device, NASA, Jun 3, 1969


3600634 Protective control circuit against transient voltages, Itg Sys Inc,


3760227 Gas tube protector having an internal fuse link, GTE, Sep 18, 1973, 361/112; 337/32; 361/111; 361/124; 361/104; 361/120 - filament can carry 100mA with inert gas is present, but will fuse if gas leaks out.


3778679 Temperature sensitive electrical regulating device, G Jonassen, TELECOMMUNICATION IND Inc, Dec 11, 1973, - "Lift OFf Device", heat causes open. used with 3-term gas tube.


3886408 Line protector, Milton A Klayum, Richard E Nelson, Reliable Electric Co, May 27, 1975, - re-settable solder actuated grounding connection - 3 term gas tube


3890543 Low voltage surge protection network, Gaylord D Jonassen, TELECOMMUNICATIONS INDUSTRIES Inc, 1975-06-17, - 3 term gas tube, old school protectors took 1 uS to turn on, much too slow for ICs.


3929660 Arc-extinguishing materials, Square-D, Dec 30, 1975, 524/404; 524/405; 524/408; 524/409; 524/431; 524/432; 524/435; 218/117; 218/158; 218/150 - Firebrake ZB & Sylgard 182
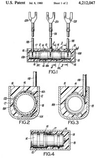
4212047
                  Fail-Safe/Surge Arrestor Systems, J. Napiorkowski, Tii
                  Corp, Jul 8, 1980, 361/124; 337/32; 337/33; 361/119

4212047 Fail-Safe/Surge Arrestor Systems, J. Napiorkowski, Tii Corp, Jul 8, 1980, 361/124; 337/32; 337/33; 361/119 - gas filled,
 meltable fluoropolymer,  heat shrinkable plastic material,

4333121 Fused
                  station protector, Alfred O. Schwarz, Bell Tel Labs,
                  June 1, 1981, 361/104; 361/119 -

4333121 Fused station protector, Alfred O. Schwarz, Bell Tel Labs, June 1, 1981, 361/104; 361/119 - "arc-extinguishing material" sand mentioned before but the material not specified, interrupt an alternating current of at least 350 amperes at 3000 volts (AC HV power line).
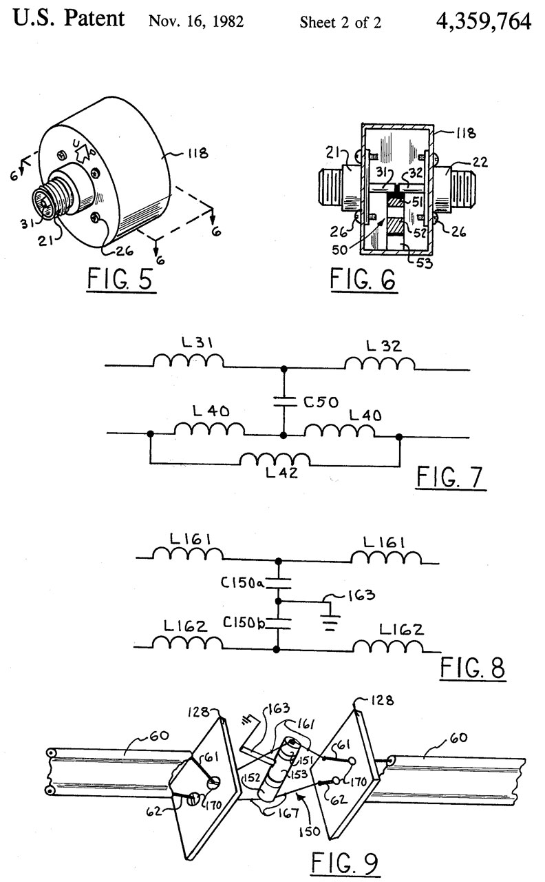
4359764 Connector
                  for electromagnetic impulse suppression, Roger R.
                  Block, POLYPHASER Corp, 1982-11-16, 361/119; 333/23;
                  361/120

4359764 Connector for electromagnetic impulse suppression, Roger R. Block, POLYPHASER Corp, 1982-11-16, 361/119; 333/23; 361/120 - appears to be based on the telephone gas tube with LC circuit to match 50 Ohm line.
4710846 Modular
                  protector for telecommunications equipment, Robert F.
                  Heisinger, AT&T, DEc 1, 1987, 361/119; 361/124 -

4710846 Modular protector for telecommunications equipment, Robert F. Heisinger, AT&T, DEc 1, 1987, 361/119; 361/124 - 3 mil gap gas tube

Links

Field Telephones -
US Army Signal Corps Telephone equipment -
Mike Sandman - Installer's tools & equipment plus interesting gadgets
TELECOM Digest & Archives -Links -
Harris Corporation -
North American Numbering Plan (NANP) - Vertical Service Codes (VSCs) - like *67
Quest Technical Publications -
Military type Autovon sets -
US Army Wire Communication WW I to Present -
Bell System Technical Journal -
Bell System Technical Journal, 1922-1983
ANTIQUE TELEPHONE REPAIR
Antique Telephone Collecting Ring -
Antique Telephone Collectors Association - Pictures -
Antique Telephone Repair - reasonable prices plus good information - How to Diagnose Troubles -
Australasian Telephone Collectors Society - with a number of very good articles -
Bell System Memorial - history and links to old phone supplies
Bell System Practices - for many common phones and related
Bell System Technical Journal, 1922-1983
Bobs Telephone File - UK - Clocks related to phones -
Central Office Online - just what the name says, about the CO
Communications Time Line -
Kellogg Page - one of the early phone makers, like Automatic Electric, Western Electric, Stromberg-Carlson
Magcord 1024 Tape Recorder
Microwave Radio and Coaxial Cable Networks of the Bell System -
The Museum of Communications -
New England Museum of Telephony - includes switching equipment
Old Telephones As Entertainment! -
Old Telephone Schematics -
OldPhoneMan.com - switchboard parts & other stuff
Outside Plant Articles by McCarty
PayPhone.com - includes wall mounted phones.
Rotary Telephones -
Sam's Telecomms Documents Repository -
Spying on Cell Phones - Portable Cellular Base Station -
Telephone Archive -on line pdf versios of old catalogs and books
The Telephone Exchange Project - When I was a kid our phone number started with Yorkshire and people in Palo Alto had Davenport.
Telephone Collectors International - Pictures - Singing Wires Yahoo Group -
Telephone Creations - Transparent phones with original working parts, really works of art
Telephone Tribute -
House Of Telephones - repro cords of all kinds made by H.O.T. and retroparts for candlestick phones
Vintage Phones - does an old phones show in San Jose
Classic Telephones by  Gilbert Engler - Phone Collection
Western Electric Catalog & Yearbook 1916 -

Books

Exploding The Phone - On line extras

Back to Brooke's Electronics page, Military Information -
Page created 6 July 2003.

friser