
|
269439
Apparatus for Finding Torpedoes &Etc, C.A.
McEvoy, 1882-12-19, 324/326 340/850 324/334 -
Torpedoes were extremely expensive so it was extremely
important to find them after a practice shot.
|

|
1126027
Apparatus for detecting pipe-leads or other metallic
masses embedded in masonry, Max Juellig,
1915-01-26, 324/67 324/243 324/326 192/142R -
|

|
2012479
Device for detecting metals, etc., Planta
Giulio Ulivi, 1935-08-27, 324/326 -
balanced bridge, two coils set on ground
|
|
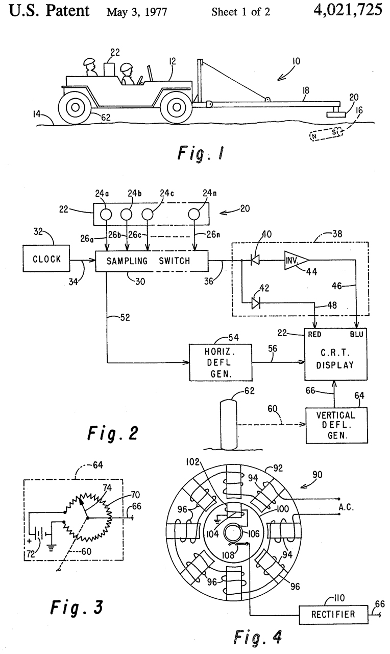
2066561
Metalloscope, Gerhard
R Fisher, 1937-01-05, 324/329; 324/239 - metal
locator
The first of a series of "Two-box systems.
The transmitter (1) is the front box (2) with a
vertical loop. 30 kHz (175 kHz?) signal
modulated by 500 Hz.
The receiver (4) is in a box with a horizontal loop.
This bears some resemblance to his RDF patent 1834274
in the concern for balance.
YouTube: Fisher
Count-O-Scope: Mid-Century Radness, 17:57 -
Patents: Fisher
Research, Gerhard
R Fisher |

|
2129058
Transformer for a metal locator, Charles
A Hedden, 1938-09-06, 336/92; 324/67; 324/239;
324/329; 336/66; 336/75; 336/115; 336/130; 336/228;
600/409; 600/407 - single coil on stick
cited by 22 patents
may be the basis for the SCR-625 used in W.W.II. (Olive
Drab)
"When the Army got to Italy, the SCR-625 proved to be
far less effective due to a high iron content in the
soil and German countermeasures to use fewer metallic
mines. "
The head had two "D" shaped coils and a mechanical way
to adjust the overlap for balance.
|

|
2160356
Geophysical instrument, Harry
A Fore, Albert
K Edgerton, 1939-05-30, 324/329; 324/239 -
"Two-box type. less sensitive to body
capacitance
L/C = 1000/1 = 2000/1
|
|
2179240
Metal detection device, Victor
W Breitenstein, Illinois
Testing Labs,1939-11-07, 340/551; 324/243; 109/2 -
Ill Testing Labs (aka: Alnor) also made wind speed
instruments. - industrial conveyor belt
|
|
2315045
Metal detection device, Victor
W Breitenstein, Illinois
Testing Labs, App: 1939-10-09, W.W.ii, Pub:
1943-03-30, 310/12.04; 310/156.12; 310/12.22;
235/98A; 324/67; 340/551; 235/95C; 310/15; 324/243 -
"while it is particularly concerned with devices for
detecting the movement, and therefore the presence, of
weapons, such as guns, knives, or the like, in banks,
penal institutions, etc., and tools, such as files,
saws, etc. in industrial establishments or penal
institutions, the devices described herein have many
industrial applications, and may be used for detecting
the movement and therefore the presence of magnetic
metal under many different conditions." Coils
wired into a gradiometer which is a different idea
from balanced coils. |
|
2321355
Surgical probe for locating foreign metal particles in
body tissue, Berman
Samuel, Waugh
Equipment, 1943-06-08, 600/11; 324/239; 324/326;
336/233; 340/686.1; 324/67; 324/260; 336/90; 336/170-
cited by 25 patents. See Waugh MW3
& MW4 magnetometers
|
|
2321356
Locator, Berman
Samuel, Waugh
Equipment Co, 1943-06-08, 600/11; 324/67; 324/326; 336/75;
336/107; 336/130; 336/233; 340/686.1; 324/243;
336/66; 336/90 - "... determining the
presence and location of metallic particles in body
tissue..." |
|
2393717
Electronic surgical metal body locator, David
M Speaker, 1946-01-29, - cited
by 46 patents
high sensitivity to non-ferromagnetic as well as to
ferromagnetic metal; to locate the exact position of a
foreign metal body, such as a bullet, piece of
shrapnel, or a fragment of a needle, or the like. |
|
2437455
Locator, Berman
Samuel, Waugh
Equipment Co,1948-03-09, 323/347; 324/243; 324/326;
336/133; 600/11; 336/75; 336/134 - "...
determining the presence and location of metallic
particles in body tissue..." |
|
2442805
Metal locator, Warren
E Gilson, Burdick
Corp, 1948-06-08, 600/422; 324/236; 324/328;
340/384.72; 340/573.1; 600/550 - medical
|

|
2489920
Metal detector, Philip
C Michel, GE,
App: 1946-07-03, W.W.II, Pub: 1949-11-29, 324/243; 336/181; 336/182;
336/184 - uses unique 3 coil
arrangement. Mainly for tramp metal detection.
This type of coil arrangement is reminiscent of those
used in Flux
Gate Magnetometers.
|
|
2502626
Electronic metal locator, Morris
L Mages, Magnaflux,
1950-04-04, 324/243; 336/67; 336/73; 336/90;
336/130; 336/181; 336/185; 324/326; 336/75; 336/107;
336/136; 336/182 - find nail in car tire -
balanced coils
|
|
2503247
Electronic detector, Claude
R Daum, Cleaver
Louis Thomas, US
Dept Interior, 1950-04-11, 324/225; 330/142 - re-bar
in concrete - nearby iron acts to increase the
coupling of a transformer thus giving a louder signal.
|
|
2744232
Magnetic and conducting materials detector, Elbert
N Shawhan, Matthew
J Relis, Brown
John, 1956-05-01, 324/329; 340/850; 324/233 -
underwater or beach mine detection
|

|
2915699
Metal detectors, Robert
C Mierendorf, Charles
F Meyer, Schneider (Square
D), 1959-12-01, 324/233; 336/87; 336/136;
361/180; 324/239; 336/90; 336/181 - has the
look of a flux gate
|
|
3002262
Method of making a metal detector search head, Demopoulos
Andrew, Stump
George Richard, Avco
Mfg, 1961-10-03, 29/593; 264/272.19; 264/571;
264/257; 264/510; 324/243 -
head has 1 Tx coil and 2 Rx coils wired in opposing
series so no output when nothing there. requires
critical balance.
|
|
3020471
Method and apparatus for the detection of ore bodies,
Barringer
Anthony Rene, Smiths
Detection, 1962-02-06, 324/336; 324/330 -
aircraft based search for conduction materials (20% or
more sulphides).
|
|
3202909
Variable frequency oscillator type of metal detector
sensitive to mutual resistance changes, Stewart
Chandler, Army, 1965-08-24, 324/329 -
|
|
3355658
Differentiating metal detector for detecting metal
objects and distinguishing between detected
diamagnetic and non-diamagnetic objects (ferrous and
non-ferrous), Robert
F Gardiner, 1967-11-28, 324/328; 324/236; 331/65 -
transistors
|
|
3315155
Method and apparatus for investigating a generally
homogeneous medium as to regions of anomalous
electrical conductivity, Colani
Claus, 1967-04-18, 324/239; 324/336 - Pulse
Induction (PI) depends on generating Eddy Currents (Wiki)
|
|
3471773
Metal detecting device with inductively coupled
coaxial transmitter and receiver coils, Robert
S Penland, Electronic
Sensing Prod, 1969-10-07, 324/329 -
|
|
3549985
Metal detecting device having a disk shaped head for
housing a coil system, Robert
S Penland, Electronic
Sensing Prod (ESP), 1970-12-22, 324/326; 336/96; 174/521 -
also see: D224441
|
|
3566258
Eddy current flaw detector having automatically
balancing bridge circuit, Toshihiro
Mori, Seigo
Ando, FJE
Eng, 1971-02-23, 324/233 -
from 4628265: "...describes an eddy-current flaw
detector utilizing a quadrature feedback system which
maintains the signals from an induction balance bridge
in a relatively nulled condition under steady state
conditions. Signals from material flaws which move
rapidly past the bridge are not nulled out provided
that their duration is not substantially longer than
the response time constant of the nulling system. A
synchronous demodulator distinct from the synchronous
demodulator comprising a portion of the feedback
system is used to minimize sensitivity to signals of a
particular phase, or to distinguish between
discontinuit ies in the material of two different
characters. A metal detector operating on this
principle could provide detection and classification
of metal objects buried in the soil, however,
relatively low concentrations of magnetically
susceptible minerals in the soil would impair the
performance of the apparatus. In addition, such a
metal detector would require that the operator
maintain the sensor in motion in order to detect the
metal object. The quadrature feedback system described
in this patent is stabilized with a low pass filter,
and this system does not completely null out steady
state signals. Moreover, the system does not address
the problems of phase inaccuracy and instability,
these problems usually being of little consequence in
the eddy-current flaw detection apparatus." |
|
3614600
Electromagnetic prospecting apparatus for detecting
electrically or magnetically responsive ore bodies, Vaino
Ronka, Geonics, 1971-10-19, 324/330; 324/334-
from 4628265: "electromagnetic prospecting apparatus
for use in an airplane to detect electrically
conductive ore bodies. This apparatus utilizes ambient
magnetic fields, natural or man made, to 'illuminate'
the geologic Zone in question, no transmitter being
specifically provided. The secondary magnetic fields
emanating from ore bodies are sensed by a receiving
coil, then band passed and amplified, and demodulated
by two synchronous demodulators whose phase references
are in quadrature and are derived from a coil oriented
othogonally with respect to the receiving coil. The
outputs from the demodulators are fed to motors of
servo chart recorders, the feedback potentiometers of
which modulate the respective phase reference signals
and feed them back to the receive coil to create a
steady state null. Substituting electronic integrators
and indicating means for the chart recorders, one
could theoretically use such apparatus for detecting
metal objects. However, such a metal detector would
exhibit very poor sensitivity." |
|
3653050
Pipe locator method and apparatus, Herbert
L Eggleston Jr, Goldak
Co, 1972-03-28, 342/458; 324/326; 405/157;
455/351; 324/67; 343/873; 455/282 -
by drilling a hole next to a pipe at an unknown depth,
you can determine the depth of the pipe.
|
|
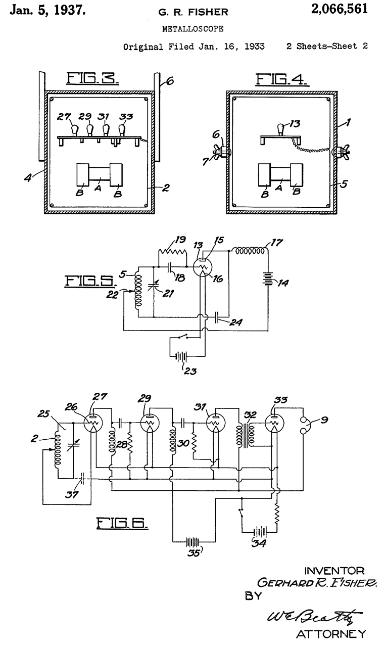
3662255
Apparatus for locating concealed or buried metal
bodies and a stable inductor usable in such detectors,
Charles L Garrett, 1972-05-09, 324/328 -
Uses coax cables for electrostatic shielding coil
while preventing shorted turn problem by cutting coax
shield.
|
|
3686564
Multiple frequency magnetic field technique for
differentiating between classes of metal objects, George
T Mallick Jr, Walter
J Carr Jr, Robert
C Miller, CBS (Westinghouse),
1972-08-22, 324/232; 340/551; 324/243 -
from 4628265: "a weapons detection and classification
system which utilizes a plurality of oscillators to
energize multiple frequency transmitting means, and a
receiver comprising synchronous demodulators operating
at the various transmitted frequencies. The various
demodulated signals are then jointly analyzed to
determine the probable type of object within the
transmitted field, in particular whether or not the
object may be a weapon. A metal detector utilizing
this approach would be very complex to manufacture,
and it still would not solve the problem of operator
phase adjustments." |
|
3826973
Electromagnetic gradiometer,
N Pflaum, 1974-07-30, 324/329; 324/233; 324/243;
324/334 - different tones for ferrous and
conductive bodies.
from 4300097:"a metal detector wherein in response to
a first phase relationship between the excited coil
voltage and the pickup coil voltage, and an aura tone
of a first, predetermined frequency is derived to
indicate detection of a ferrous body. In response to a
conductive body being in the magnetic field between
the excitation and pickup coils, the resulting phase
displacement causes the frequency of the oral tone to
shift from the frequency associated with the detection
of a ferrous body." |
|
3988663
Locator for metallic pipe with AC signals impressed, Carlton
M. Slough, Edward
B. Selden, III, Texaco,
1976-10-26, - pipe has AC signals im pressed thereon
from AC operated cathodic protection currents or
ground currents from AC operated equip ment or induced
currents from power lines or the like. -
inductive pickup coil 5000 turns on ferrite rod,
narrow band tuned amplifier.
|
|
4016486
Land mine detector with pulse slope, width and
amplitude determination channels, Peter
M. Pecori, Army,
1977-04-05, 324/326; 324/228 -
"non-metallic and metallic" See PRS-7.
|

|
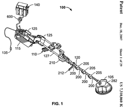
4021725 Mobile mine detection system
having plural color display, James
L. Kirkland, Navy,
1977-05-03, 324/326; 89/1.13; 324/345 -"A
vehicle carried metal object sensing system wherein
sensing of magnetic fields of different polarity...
moving color map, mounted on front of Jeep.
Magnets
Cites:
2378440
Process and means for measuring soil resistivity and
certain electrical characteristics associated with a
buried pipe line, Gordon
N Scott, 1945-06-19, - tractor mounted analysis
of soil on walls of ditch
2777112
Magnetometer survey apparatus, Frank
B Coker, Otto
W Schoenberg, United
Geophysical Corp, 1957-01-08, - Truck with boom
holds a MAD sensor. i.e. detector element is to
be maintained in some fixed orientation relative to
the earth's magnetic field.
2902636
Recording system, works with 2777112 above.
2974276
Method of and apparatus for use in measuring earth
potentials - o evaluate chemical corrosion resistance
3361957
Telluric current responsive device having spaced
conductors for positioning adjacentthe earth's surface
- determining the characteristics of substrata
3942101 Method for locating and
evaluating geothermal sources of energy by sensing
electrostatic voltage gradients - Nernst effect (Wiki)
relates magnetic field, temperature gradient and
electrical conduction.
|
|
4030026
Sampling metal detector, George
Calvin Payne, White's Electronics, 1977-06-14, 324/329; 324/239 -
"Oremaster Geiger Counter"?
Cites
19 prior art
Cited
by 76 newer patents
|
|
4099116
Metal detector with phase related circuit selective
discrimination, Jerry
C. Tyndall, 1978-07-04, 324/329 -
from 4300097: "...to null out these "ground
effects"...The Tyndall detector includes an impedance
network connected between the transmitter and the
received coils which phase relates the transmitted and
received signals in order to vary the amplitude and
phase of the received signal so that the ground effect
signals can be nullified. Such devices are effective
but are plagued with the inevitable need to be
constantly retuned as the mineral content of the soil
being traversed changes."
|
|
4024468
Metal detector with phase related circuit selective
discrimination, Jerry
C. Tyndall, 1978-07-04, 324/329; 324/243 -
from 4300097: " U.S. Pat. No. 4,024,468, issued May
17, 1977, to Hirschi (Tyndall?), includes a tuning
control and trimmer capacitor which are set to provide
a tuning signal of the same phase angle as a residual
received signal produced by magnetic mineral soil in
order to nullify that signal. Again, in order to be
effective, the Herschi control would need to be
constantly adjusted in order to continuously
compensate for changes in soil composition." |
|
4128803
Metal detector system with ground effect rejection, George
C. Payne, PNI,
1978-12-05, 324/329; 324/233; 324/239 -
|
|
4137500
Frequency dependent amplitude modulated exciter
apparatus, Harold
J. Weber, 1979-01-30, 375/286; 327/118; 341/182 -
4161686
Concealed structure tracing translator apparatus
including position sensitive bitonic indication
means
4196391
Metal locator with stereotonic indication of
translateral position - dusl search coils, stereo
headphones
4255710
Plural search frequency directional metal detector
apparatus having enhanced sensitivity
4439734
Metal object locator including frequency shift
detector
4458204
Frequency dependent pulsed gain modulated concealed
structure locator
4486712
Frequency dependent pulsed gain modulated metallic
object detector
|
|
4188905
Mine sweeping means, Royal
Weller, Harry
S. Jones, Navy,
App: 1943-04-13, TOP SECRET,
Pub: 1980-02-19, 114/253; 102/403; 114/244 -
lowers water pressure simulating passage of large ship
to trigger naval mine.
|
|
4255711
Coil arrangement for search head of a metal detector,
Fredrick
H. Thompson, Compass
Electronics, 1981-03-10, 324/329 -
1978Catalog.pdf
|
|
4300097
Induction balance metal detector with ferrous and
non-ferrous metal identification, John
E. Turner, Techna
Inc, 1981-11-10, 324/329; 324/233 -
induction balance type
ferrous - non-ferrous discriminator.
Ground effect compensation (ground balance).
Has some background info.
Techna XR8 Smart Tracker?
"A further difficulty encountered with early induction
balance metal detectors was the lack of ability to
distinguish between precious metals and "junk"
metals."
|
|
4325027
Metal detector for locating objects with full
sensitivity in the presence of distributed mineral
material, Donald
W. Dykstra, Samuel
E. Calvin, Compass
Electronics, 1982-04-13, 324/329 - good
for coins
|
|
4423377
Compact metal detector of the balanced induction type,
Robert
J. Podhrasky, Garrett
Electronics, 1983-12-27, 324/329; 324/133; 324/239 -
searching for hidden weapons, 90 kHz, dual coil,
|
|
4514692
Metal detector and discriminator using differentiation
for background signal suppression, David
E. Johnson, Richard
W. Williams, Fisher
Research Laboratory, App: 1982-05-03, Pub:
1985-04-30, 324/329; 324/233; 327/552 -
from 4628265: "a metal detector which differentiates
synchronously demodulated signals in order to minimize
the effects of soil minerals, sensor misalignment, and
phase drift. This metal detector eliminates the need
for operator phase adjustments and discriminates
between different classes of metal objects, but the
search coil sensor assembly must be maintained in
motion relative to the object in order to detect it,
and the performance of this apparatus is impaired when
used to search in soils containing more than about one
percent magnetite."
from 4628265: "describes a metal detector which
differentiates synchronously demodulated signals in
order to minimize the effects of soil minerals, sensor
misalignment, and phase drift. This metal detector
eliminates the need for operator phase adjustments and
discriminates between different classes of metal
objects, but the search coil sensor assembly must be
maintained in motion relative to the object in order
to detect it, and the performance of this apparatus is
impaired when used to search in soils containing more
than about one percent magnetite." |
|
4527123 Improved method and apparatus
for detecting and locating residually magnetized
items, Robert
F. Gilman, Claude
R. Schwarz, Sentronic,
1985-07-02, 324/254; 324/260; 324/326; 324/67
- for finding magnetized tools on
aircraft. specifically looks for magnets while
ignoring ferrous metal
Magnets |
|
4628265 Metal detector and classifier
with automatic compensation for soil magnetic minerals
and sensor misalignment, David
E. Johnson, Richard
W. Williams, Fisher
Research Laboratory,1986-12-09, 324/329; 324/225; 324/233 -
cited by 31 patents
"TID"? Magnawand.com
see 5670882
|
|
4868504
Apparatus and method for locating metal objects and
minerals in the ground with return of energy from
transmitter coil to power supply, David
E. Johnson, FLR
Inc., 1989-09-19, 324/329; 324/239; 361/156;
307/138; 324/334 - Eddy current method
cited by 33 patents - general background introduction
"Most present-day metal detectors fall
into one of two classes: very low frequency (VLF)
induction balance detectors and pulse induction
detectors."
VLF Induction balance
"In a typical VLF induction balance metal detector,
a transmit coil is driven by a sinusoidal voltage at
a frequency within the VLF frequency band (3 to 30
kHz), although frequencies outside these limits are
occasionally used. A receive coil is located near
the transmit coil and in induction balance with
respect to the transmit coil, so that the signal
produced by the receive coil is minimized in the
absence of a metal object within the response zone
of the transmit-receive coil assembly. That assembly
is commonly called the "searchcoil'. The signal is
amplified and synchronously demodulated at a phase
which is preferably in quadrature with re spect to
signals induced by minerals in the soil,
particularly magnetite and ferric oxide. The
demodulated signal is then processed and applied to
a speaker which gives an audible tone when the
searchcoil passes over a metal object. Response to
soil minerals is minimized by maintaining the
synchronous demodulator in quadrature with respect
to soil signals, and/or by so-called “motion
circuits' which suppress low frequency response,
soil signals typically having maximum energy below 2
or 3 Hz, whereas signals from metal objects usually
have maximum energy between 2 and 10 Hz."
Pulse Induction
"Pulse induction metal detectors typically include
an oscillator which applies brief pulses at a rate
of 100 to 3,000 pulses per second to a search coil
having a single winding. The receiver circuit, which
shares the single search coil winding with the
transmitter, is gated off during the transmit pulse.
Eddy currents induced in metal objects during the
transmit pulse continue to flow in those objects for
some time after the transmit pulse is terminated,
and the receiver detects the voltage induced in the
search coil by the decaying eddy currents. Pulse
induction metal detectors ignore most soil minerals
because response of most soil minerals to the
transmit pulse is almost instantaneous and has
decayed to negligible values by the time the
receiver circuit is gated on." - "...when used in
soils containing large amounts of certain minerals,
exhibit loss of sensitivity or "false signals' from
the soil, and cannot reliably distinguish between
different types or classes of metal objects." -
"...if they are to have good sensitivity and depth
capability, exhibit very high power drain because
energy of the collapsing field is dissipated as heat
rather than being returned to the power supply.
Their ability to distinguish between different
classes of metal objects is also rather limited."
Two-box (Fisher: M-scope, TW-5, TW-6)
"In one type of geophysical apparatus, commonly
called the "two-box” type, a transmitter coil and a
receiver coil are mounted on opposite ends of a pole
and mechanically or electrically nulled to produce a
null signal in the receiver circuit. The frequency
of operation is normally between 40 and 100 kHz. The
received signal is amplitude demodulated to provide
a tone or meter indication of departures from the
null condition. which occur if the apparatus is
carried to a location where the soil or rock has
electrical conductivity or magnetic susceptibility
different from the location where the apparatus was
nulled. This type of apparatus has been used for
over 50 years in order to detect changes in soil or
rock which might indicate the presence of a mineral
deposit of economic value, and to detect deeply
buried large metal objects such as treasure caches
and water pipes." - "...does not produce
quantitative measurements of an identifiable
physical parameter of the soil or rock, and can not
be nulled with respect to variations in soil to make
locating buried metal objects easier."
VLF Phase
"In another type of geophysical apparatus,
commonly called the VLF type, variations in the
properties of the soil or rock are measured using
transmit and receiver searchcoils which may be
separable, or may be part of a fixed or mechanically
adjustable induction balance assembly. The circuitry
of this apparatus is similar to that used in VLF
metal detectors. By demodulating the received signal
at two different phases, the effects of soil/rock
conductivity can be measured separately from those
of magnetic susceptibility. Alternatively, the
demodulation can be performed in phase quadrature
with respect to the soil signal in order to locate
buried metal objects while ignoring the soil."-
"...works well in most locations, but is subject to
gross errors in conductivity readings in the
presence of certain nonconductive minerals which
exhibit magnetic hysteresis."
|
|
5006806
Methods and apparatus employing permanent magnets for
marking, locating, tracing and identifying hidden
objects such as burried fiber optic cables, John
B. Rippingale, Charles
R. Upton, Erick
O. Schonstedt, Bradley
L. Osman, Schonstedt
Inst, 1991-04-09, 324/326; 138/104; 324/345;
385/147; 116/209; 324/67; 335/303; 405/157 -
Magnets
|
|
5239474
[Magnetic] Dipole moment detection and localization, Wilbur
W. Eaton, Ben
R. Breed, Raytheon/Hughes,
1993-08-24, 324/207.14; 324/207.26; 702/152 -
target magnetic signatures, multiple MAD sensors and
beam forming networks. Probably aimed at
locating subs along the coasts of nations.
Magnets
|
|
5414411
Pulse induction metal detector, William
E. Lahr, White's
Electronics, 1995-05-09, 340/551; 324/329 -
|
|
5430380
Sensor for locating objects in the sea having a
conductive shell to inject electric current into the
sea and a sensor coil in the shell, William
M. Wynn, John
T. Bono, Navy,
1995-07-04, 324/365; 324/326; 324/359 -
underwater or beach mine detection |
|
5458063
Demining device, Loic
Laine, Philippe
Arnaud, Nexter (Giat
Ind), 1995-10-17, 102/402; 89/1.13 - "..the
magnetic signature of a vehicle is simulated, and a
mine is fooled into activation." 0.01 F, 50mH, 5V
|
|
5537041
Discriminating time domain conducting metal detector
utilizing multi-period rectangular transmitted pulses,
Bruce
H. Candy, Minelab,
1996-07-16, 324/329; 324/233 -
|
|
5670882 Ferrous target identification
system with magnetic field polarity and gradient
indication, Giuseppe
Brandolino, Fred
Maroske, Magnawand,
1997-09-23, 324/345; 324/326 -
gradiometer (Wiki)
|
|
5691640
Forced balance metal detector, Kevin
James King, Thermo
Fisher Scientific,(Ramsey)
1997-11-25, 324/233; 324/225; 324/239;
324/241 -
|
Metal-Tec TE-1400 Hand Metal Detector

|
5959451
Metal detector with vibrating tactile indicator
mounted within a compact housing, Nicholas
R. De Torfino, Torfino
Enterprises, 1999-09-28, 324/236; 324/327; 324/67;
340/407.1; 340/551; 331/64 - silent
searching for hidden weapons, single coil, 340 to 380
kHz, detects change in coil Q, ferrous and
non-ferrous, uses a CMOS IC similar to the 555.
Cites problems with Garrett 4423377, similar to the GP-pointer.
D410399
Metal detector, Nicholas
R. De Torfino, Torfino
Enterprises,1999-06-01, -
Uses CMOS circuitry so very long 9V battery
life. Also can install battery either way
(probably use full wave bridge). Hidden on
button, see photo.
|
|
6675123
Magnetic tracking methods and systems, Alan
S. Edelstein, Army,
2004-01-06, 702/150 -
"Numerous opportunities exist for tracking objects
that generate magnetic fields. All types of land
vehicles, ships, and aircraft have structural and
power systems capable of generating substantial
magnetic signatures. Even small inert objects may
exhibit sufficient magnetization to be observed from a
distance. For example, the ability to determine the
location of a metallic object on a person can be
crucial."
Magnets
|
|
6950054
Handheld radar frequency scanner for (people)
concealed object detection, William
Steinway, Gregory
Stilwell, Herbert
Duvoisin, III,
David H. Fine, CyTerra,
2005-09-27, 342/22; 342/173; 342/192;
342/27; 342/90 - interesting prior art
citations as well as "cited by" patents.
|
|
6636044
Ground mineralization rejecting metal detector
(receive signal weighting), Bruce
Halcro Candy, Minelab (BHC-Consult),
2003-10-21, 324/329; 324/336 -
AN/PSS-14 (Army)
|

|
7310060
Multi-mode landmine detector, Gregory
Stilwell, Geoffrey
Solomon, Richard
McCoy, Steve
McCarthy, L3-CyTerra,
2007-12-18, 342/22; 324/326; 342/52 -
PSS-14
40 page patent goes into a lot of detail on how it
works.
FDD Nov 25, 2009, FCC Record: DA-09-2482A1_Rcd.pdf
- "EMMDAR steps through two hundred frequencies,
spaced two megahertz apart from 3101 MHz to 3499 MHz,
one at a time.13 It transmits on one frequency for 75
microseconds with a peak instantaneous power of 31.6
milliwatts, followed by a 17.5-microsecond “off time”
between frequency steps.14 The complete cycle repeats
every 18.5 milliseconds, resulting in a duty cycle for
each frequency of 0.41%.15 "
Uses a BB-2590 type battery
in belt worn battery box (140), NO VENT!
Fig 1 battery Case p/n:
20HS4070-019 Mfr: 1QQZ5 (L-3
CYTERRA:PSS-14)

|
Fig 2 Uses ALICE
clips.
The BA-5590 battery is current limited, maybe
the reason for the ban?

|
|
|
20060284758
Multi-mode landmine detector, Gregory
Stilwell, Geoffrey
Solomon, Richard
McCoy, Steve
McCarthy, L3
Fuzing, 2007-12-18, - "The system includes a
control section having a selection device for
selecting at least two operating modes from the group
consisting of:
- a buried land mine detection mode,
- a through wall detection mode,
- a perimeter warning mode,(up to 100' Doppler
radar range)
- a buried cache detection mode and
- an in-wall cache detection mode."
|
|
7649356B2
Pulse induction metal detector having high energy
efficiency and sensitivity, John L. Earle,
White's
Electronics, 2010-01-19, 324/326; 324/67; 324/345 -
|
|
D652330
Metal detector, Aaron
Anthony Arnold, Andrew
David Salisbury, Skye
Marie McQuillen, Minelab,
2012-01-17, -
Folds up into very small package. SDC
2300 - 8.5" x 15.7" folded. Fits carry-on
luggage. Optimized for detecting gold.
|
|
7952357
Receiver system for determining the location of a
magnetic field source Abstract, Scott
Bryan Cole, Charles
Machine Works, 2011-05-31, 324/326; 175/45 - related
to following the bit in horizontal drilling
|
|
9864089
Detector with telescoping support pole and foldable
arm support, Benjamin
Andel, Vallon,
2018-01-09, -
Folds up into very small package. Optimized for
detecting land mines and/or UXO.
|
|
20090315707A1
Real-time rectangular-wave transmitting metal detector
platform with user selectable transmission and
reception properties, Bruce
Halcro Candy (head engineer: many patents), Minelab,
2011-11-22, -
|