Magnetic Locators

© Brooke Clarke 2022

Schonstedt
                  GA-22 Magnetic Locator ChrisNik MagNail

Background
Description
    ChrisNik MagNail
        Photos
    Schonstedt GA-22 Magnetic Locator
        Description
        Photos
Photos
Patents
    Prior Art
    Tutortial on Magnetostrictive materials
    Early Schonstedt
    Schonstedt GA-22
    Schonstedt GA-52
    Schonstedt GA-72
    Schonstedt GA-92
    Magnetic_Markers
    Others
    Magnetic Locators
Related
References
Links

Background

This web page is a spinoff of my Metal Locators web page.  The devices on that page are designed to find various kinds of metal, mostly ferrous or non-ferrous and tell the operator which of those it's detecting.  This page is specifically for detectors that respond to magnets and not so much to ferrous metals.

If a sensor measures the strength of the Earth's magnetic filed and it's larger than expected you might think that would indicate that a magnet is nearby, but that's not the case.  This happens if the sensor is near any ferrous metal that's acting as a magnetic funnel or pole piece.  This also makes a problem for a gradiometer which will have an output when one end is near ferrous metal.

So it takes some special considerations to detect magnets and minimize false readings caused by ferrous metals.

The heart of the magnetic locator seems to be a gradiometer (Wiki) made up of a couple of flux gate magnetometers (Wiki).  The larger the separation between the two magnetometers the more sensitive the gradiometer.  So the GA-22, GA-32 & GA-52 are more sensitive then the newer/smaller versions.

The 1950 2511178 patent on Magnetostrictive materials seems to be a direct precursor to the 1957 2805482 Schonstedt Strain Gauge patent which uses Permalloy (Wiki) wire.  The implication is that the Strain Gauge probably also was acting as a flux gate magnetometer, maybe not in a big way, but enough to be a noticeable distortion in the strain measurement.

The 2996663 Magnetic field gradiometer (Wiki) patent application was in 1944 during W.W.II but it was not published until 1961.  This indicates it was a TOP SECRET probably related to Magnetic Anomaly Detection (Sonobuoy\MAD, Wiki) of submarines or maybe to a Naval mine detector. The Schonstedt gradiometer patent application for 3050679 was in 1960, but Eric was aware of 2996663 during the application process because it's cited as prior art.  I wonder if Eric then worked on ways to work around 2996663?

It also seems that Magnetostrictive effects may be important in the design of flux gate magnetometers.

Description

ChrisNik MagNail

These are survey marker nails that have been magnetized.  This way a "magnetic locator" is able to find them much easier than a metal locator could find a plain iron nail.

My first test of the MagNail was to look for it's polarity using the AMY6 Magnetic Polarity Tester but got no LED lighting up, so the magnetic field is too weak for that tester.  Next tried the Annis Model 25 and that worked well (Fig 2 and Fig 3).

In relation to magnetic properties there are two types of iron, soft and hard.  An example of soft iron is the paper coated iron wire used to tie flower arrangements.  It's is soft and easy to deform.  It also does not become a magnet.  An example of hard iron would be an Alnico (Wiki) horseshoe magnet or a MagNail.

The calibration procedure for an electronic compass involves rotating the compass for one or more full turns.  This is to develop corrections for both hard and soft iron.

Photos

Fig 1 Finding Magnetic Nails is probably the most common application for magnetic locators.
These are from ChrisNik.
ChrisNik
                        MagNail

Fig 2 The Annis Model 25 was rotated until it read zero.
ChrisNik
                        MagNail

Fig 3 The the nail was placed to give maximum deflection.
ChrisNik
                        MagNail



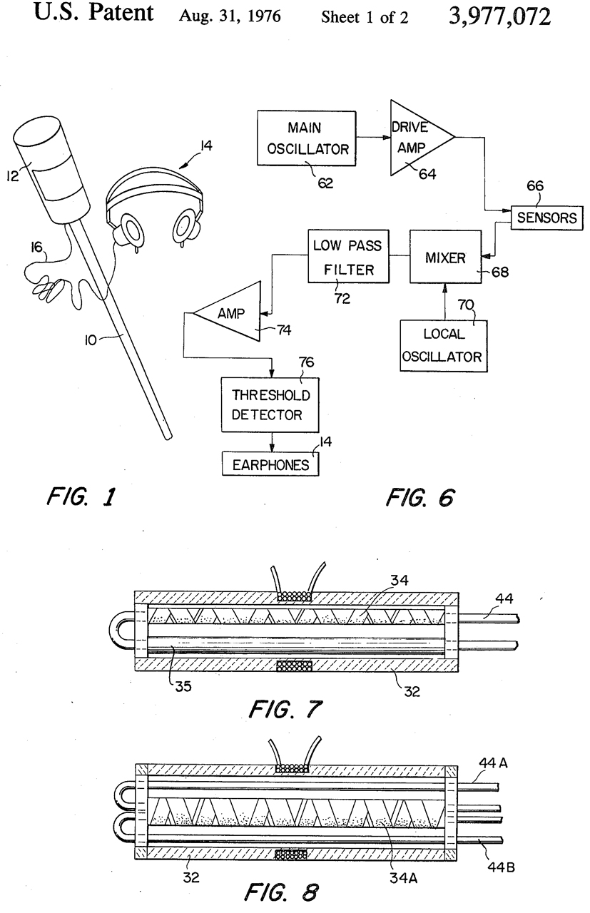
Schonstedt GA-22 Magnetic Locator

The GA-22 Manual (pdf) lists the following US patents (which are detailed below): 2916696, 2981885, 3894283, 3909704, 3961245, 3977072.

There are very similar looking Schonstedt Magnetic Locators with model numbers:

Model
Length
Batteries
Comment
patents
GA-22
42"

Cylindrical head 2916696, 2981885, 3894283, 3909704, 3961245, 3977072
GA-32
42"

Cylindrical head
PCB 401420F
2916696, 2981885, 3894283, 3909704, 3961245, 3977072
GA-52
42-5/16"

square head
loudspeaker
w/umbrella structure
2916696, 2981885, 3894283, 3909704, 3961245, 3977072
4110689, 4161568, 4163887
GA-52B

square head 2916696, 2981885, 3894283, 3909704, 3961245, 3977072
4110689, 4161568, 4163887
GA-52CX


square head
2916696, 2981885, 3894283, 3909704, 3961245, 3977072
4110689, 4161568, 4163887
GA-72CD
34.5"
2 each
9V Lithium
(not Alkaline)
Square head
ribbed probe
handle above head
LCD
Data logger output
2916696, 2981885, 3894283, 3909704, 3961245, 3977072
4110689, 4161568, 4163887
4258320, 4803773, 4839624, 5097211, 5136245, 5138761, 5239290
GA-92XTD
26" open
15.5" closed
1 each
9V
shorter w/pistol grip
2 knobs _ LCD
?

Description

This is a magnetic gradiometer. The probe is 1" dia x 35.5" long.  The housing is 3.385" dia x 6.5" long.
The 1/4" headphone socket contains a switch that connects the battery, so if the headphone plug is left in the jack the batteries will be soon dead.  There is a blue plastic (insulating) "L" bracket next to the 1/4" phone jack.  It adds a spring contact that connects to the tip of the headphone plug.  This is in addition to the jack terminal that also connects to the headphone plug sleeve.  See Fig 8 below.

Probe

There are eleven turns of enameled copper wire would around the toroidal transformer mounted on the PCB on the end nearest the probe.  The two ends of this coil go to the probe which I think are the drive signal.

Coming from the probe are a two conductor zip cord that's white and black as well as a red wire.  These are hook-up wire not enameled wire.  I think these are outputs from the two sense coils.

Test Connector

See Fig 10 for how I've numbered the test connector.  The traces facing inward are numbered 1, 3, 5, 7, 9 (where ( is electrically TP-9).  These seem to be AC signals.
The traces facing outward are numbered 2, 4, 6, 8 & 10 and seem to be all DC values.


Pin
Description
Pwr Off
Ohms - Gnd
Pwr On
Vdc - Gnd
Pwr On
Vac - Gnd
Pwr On
Vac Freq
1

10k
3.0
2.5
7.3khz
3

490k
3.1
3.06
13.8 kHz
5

13.8
0.0
0.6
14.6 kHz
7

13k
1.58
3.18
849 Hz
9
TP-9
OL
0.0
0.07
849 Hz
2
10k 6.27 0
0.0
4 Ground 0.0
0.0 0
0.0
6
5k 3.0 0
0.0
8
4k 5.76 0
0.0
10
2k -4.4 0
0.0
TP-8

OL
0.364
3.2
826 Hz
Pri-1

10k
3.0
2.508
7.3 kHz
Pri-CT

5k
3.0
0
na
Pri-2

5k
3.0
2.053
7.3 kHz

CD4013 Dual Flip-Flop

Clock1 (14.6 kHz) is divided by 2  (7.3 kHz)
Clock2 (27.56 kHz) is divided by 2 (13.775 kHz)

Pin
Function
DCV
ACV
Hz
1
Q1
2.874
2.84
7k3
2
/Q1
3.129
2.82
7k3
3
Clk1
0.141
0.447
14k6
4
RS1
Gnd
na
na
5
Data1
2.857
2.82
7k3
6
Swt1
Gnd na
na
7
Vss
Gnd na
na
8
Set2
Gnd na
na
9
Data2
3.126
3.05
13k775
10
RS2
Gnd na
na
11
Clk2
0.19
0.41
27k561
12
/Q2
3.123
3.05
13k775
13
Q2
3.129
3.05
13k775
14
Vdd
6.25
na
na
Note 1: When probing the tone stopped so probe may effect reading?

741 Single Op Amp

An audio signal of 823 Hz is amplified.

Pin
DCV AC
Hz
1
-4.4
16.9 mV

2
0
16.6 mV

3
0
44.7 mV

4
-4.4
16.9 mV

5
-4.4
17.2 mV

6
1.585
3.09
823
7
+5.7
4 mV

8
0
27.8 mV


Photos

Fig 1
Schonstedt GA-22 Magnetic Locator
Fig 6  741 Op Amp
Schonstedt GA-22 Magnetic Locator
Fig 2
Schonstedt GA-22 Magnetic Locator
Fig 7    CD4013 Dual F-F
Schonstedt GA-22 Magnetic Locator
Fig 3
Schonstedt GA-22 Magnetic Locator
Fig 8 1/4" Phone Jack wiring
Schonstedt GA-22 Magnetic Locator
Fig 4
Schonstedt GA-22 Magnetic Locator
Fig 9 PCB Terminals
Schonstedt GA-22 Magnetic Locator
Fig 5
Schonstedt GA-22 Magnetic Locator
Fig 10 Test Connector Numbering
There seems to be missing components, maybe for some option?  Let me know.
Schonstedt GA-22 Magnetic Locator

Patents


Patent Class numbers

Class
Title
Sub-Class: comment
29
Metal Working

33
Geometrical Instruments
300: Indicator of Direction or Force Traversing Natural Media
355: .magnetic field
361: ..Flux valve
362: ..Earth Inductor
73
Measuring & Testing

74
Machine element or Mechanism

310
Electrical Generator or Motor Structure

324
Electricity: Measuring& Testing
200: Magnetic
244: .Magnetometers
245: ..Plural sensor axis misalignment correction
253: ..Saturable core magnetometers
254: ...second harmonic type
255: ...Peak voltage type
257: ..Moving coil magnetometer
260: .Magnetic field detection devices
336
Inductor Devices
340
Communications: Electrical




Prior Art Patents


Gauss (Wiki) came up with a way to measure the strength of the Earth's magnetic filed, but so far I have not found any details.
1577421
                              Means for eliminating magnetic coupling
                              between coils, Louis A Hazeltine,
                              Hazeltine Corp, 1926-03-16
1577421
                              Means for eliminating magnetic coupling
                              between coils, Louis A Hazeltine,
                              Hazeltine Corp, 1926-03-16 1577421
                              Means for eliminating magnetic coupling
                              between coils, Louis A Hazeltine,
                              Hazeltine Corp, 1926-03-16

1577421 Means for eliminating magnetic coupling between coils, Louis A Hazeltine, Hazeltine Corp, 1926-03-16, -

In a Tuned Radio Frequency (Wiki: TRF) radio receiver minimizing stray coupling allows running the tubes at higher gain, so improves performance.

The Neutrodyne was also invented by Hazeltine.
1450080 Method and electric circuit arrangement for neutralizing capacity coupling, Louis A Hazeltine, 1923-03-27, - but it takes both the elimination of both capacitive and inductive coupling for the best results.


Prior to this each stage would need to be in a shielded box.

Learning how to minimize coupling between coils is important in metal detectors.
277087 Electric
                      Divining Rod, C.F. Varley, 1883-05-08
277087 Electric Divining Rod, C.F. Varley (Wiki), 1883-05-08, 324/344; 324/67; 324/257; 310/177 - should include class 33/362

The pulley at the top is driven from a hand crank so that the shaft spins rapidly.  The two coils thus acting as Earth Inductors (Wiki) using the surrounding Earth's magnetic filed and spinning coils to generate electricity.  If the coils are wired is series opposition there will be no output if the fields are the same at each coil location, otherwise there will be an output.  So maybe this is the first magnetic gradiometer?

This mounted on a tripod like structure that allows changing azimuth and elevation angels.
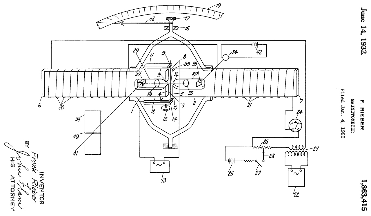
1863415
                      Magnetometer, Rieber Frank (Wiki), Gen Electric,
                      Jun 14, 1932
1863415 Magnetometer, Rieber Frank (Wiki),  Gen Electric, Jun 14, 1932, 324/256, 340/870.33, 33/361, 33/362 - this is a single bar design that is intended to general use, but I think may be the first using the idea of gating the earth's field on and off.

2016978 Electric gauge, Henry P Thomas, GE, 1935-10-08, 33/558; 340/870.16; 340/870.18; 340/870.3 - coil driven magnetic vane is moved by mechanical plunger causing electrical change

2058518 Thickness measuring instrument, Paul B Schuster, Magnetic Gauge Co, 1936-10-27, 33/501.04; 324/229 - magnetic coupling across a gap caused by non-ferrous material whose thickness is being measured.  Also see Thickness Gauge.

2164383 Magnetic device, Everett T Burton, Bell Labs, 1939-07-04, 330/8; 246/34D; 330/10; 336/210; 336/213; 363/91; 340/425.2; 178/70M; 330/3; 332/173; 336/219 - Magnetic Amplifiers which were the precursors of Flux Gate magnetometers.

2252059 Means for measuring magnetic fields, Barth Gustav, App: 1941-07-15, W.W.II, Pub: 1945-12-04, -
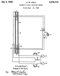
2379716
                      Magnetic field gradient meter, Albert W Hull, GE,
                      App: 1943-09-16,
2379716 Magnetic field gradient meter, Albert W Hull, GE, App: 1943-09-16, W.W. II, Pub. 1945-07-03, 324/253; 340/870.33 -

Two dumbbell shaped inductors (11, 12) with thin (0.25" wide x 0.020" thick) mu metal cores.
Coils (13, 14) surround inductors have 5,000 turns.
Non linear resistor (18) as described in patent 1822742 Discharge device and resistance material.  I think this is not really part of how a flux gate works, but helped in this early version.
200 Hz 10 VAC drive.

The output is a DC signal after going through a balancing procedure.
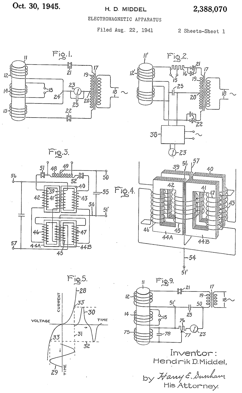
2388070
                      Electromagnetic apparatus, Hendrik D Middel, GE,
                      App: 1941-08-22, W.W.II, Pub: 1945-10-30
2388070 Electromagnetic apparatus, Hendrik D Middel, GE, App: 1941-08-22, W.W.II, Pub: 1945-10-30, -
Rod type magnetic Amplifier & magnetometer: "...high gain, accurate and extremely stable amplifier for direct current and for low frequency alternating currents."

2396831 Adjustable coupling system, Leslie F Curtis, Hazeltine Corp, App: 1942-12-31, W.W.II, Pub: 1946-03-19, -
Curtis worked for United American Bosch Corp until 1938 when he joined Hazeltine working on consumer push button tuned receivers.  This patent relates to a W.W.II ear Mine detector, but all the metal detector histories I've seen skip W.W.II.
used in patent 2447316

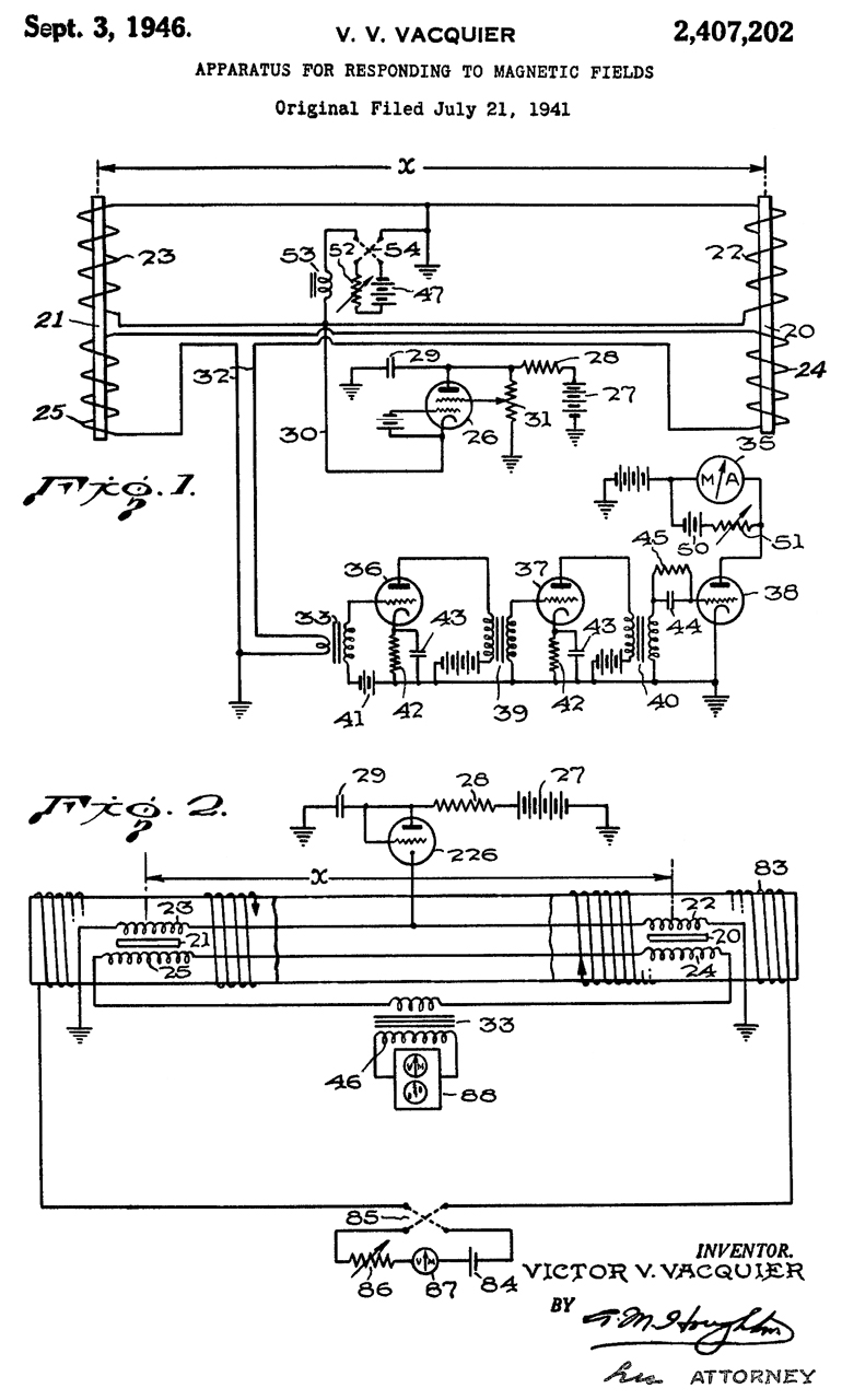
2407202
                      Apparatus for responding to magnetic fields,
                      Victor V Vacquier
2407202 Apparatus for responding to magnetic fields, Victor V Vacquier, Gulf Oil, App: 1941-07-21, TOP SECRET, Pub: 1946-09-03, 324/253; 324/345; 324/255; 340/870.33 - This is a very sensitive method and the basis of MAD (Sonobuoy/MAD, Wiki)

2418553 Flux measuring system, Emmett M Irwin, App: 1943-08-03, SECRET, Pub: 1947-04-08, - similar to the aircraft "Y" AC flux meter
Irwin holds a number of patents related to magnetics.
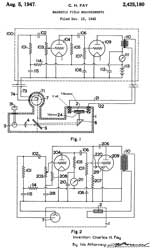
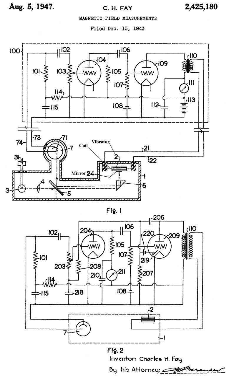
2425180
                      Magnetic field measurements, Charles H Fay, Shell
                      Development Co, App: 1943-12-15, W.W.II, Pub:
                      1947-08-05
2425180 Magnetic field measurements, Charles H Fay, Shell Development Co, App: 1943-12-15, W.W.II, Pub: 1947-08-05 - intended for geophysical exploration, but other use??

A coil is driven at its resonant frequency a mirror deflects a light beam in proportion to the magnetic field strength.
2426622
                              Magnetic field detector, Arthur G Laird,
                              Slonczewski Thaddeus, Bell Labs, App:
                              1944-09-21, W>W.II, Pub: 1944-09-21
2426622
                              Magnetic field detector, Arthur G Laird,
                              Slonczewski Thaddeus, Bell Labs, App:
                              1944-09-21, W>W.II, Pub: 1944-09-21

2426622 Magnetic field detector, Arthur G Laird, Slonczewski Thaddeus, Bell Labs, App: 1944-09-21, W.W.II, Pub: 1944-09-21, 324/254; 324/253; 324/345; 341/15 - about seperating the drive frequency from the second harmonic.- MAD

This is exactly how microwave detectors are designed.  That's to say the front end passes the microwave signal and is a short for the output video signal.  The output circuit is a short for the microwave signal and passes the video signal.

2427666 Magnetic field strength indicator

2468968 Magnetic field strength indicator "it is shown that for practical reasons if one of the three mutually perpendicular elements is kept in substantial alignment with the field, considerable improvement in accuracy can be achieved even though it is theoretically unnecessary to so orient them with respect to the field."

2438197 Phase-selective variable-frequency oscillatory system, Harold A Wheeler, Hazeltine Research, App:1942-12-31, W.W.II, Pub: 1948-03-23, -
2447316
                              Variable frequency oscillatory system,
                              Leslie F Curtis, Hazeltine Corp, App:
                              1945-11-27
2447316
                              Variable frequency oscillatory system,
                              Leslie F Curtis, Hazeltine Corp, App:
                              1945-11-27

2447316 Variable frequency oscillatory system, Leslie F Curtis, Hazeltine Corp, App: 1945-11-27, W.W.II, Pub: 1948-08-17, -
uses patent 2396831 Adjustable coupling system, uses tubes: 3 each: 1G6 (push-pull audio amp) 3each: 3A8
May be for detecting pipes and conductors, i.e, a metal detector rather than a mine detector?

The PRS-1 operates at 280 - 320 Mhz - PRS-7: 394 MHz, PRS-8: 300 - 600 Mhz,
The SCR-625 operates at 1 kHz, PSS-11: 2.5 kHz,
PSS-12 (AN-19/2: ? Polish W3-P Mine Detector: audio tone
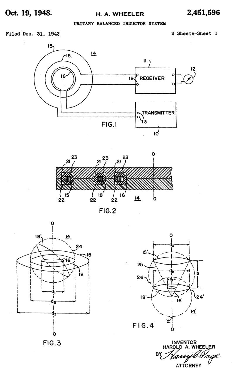
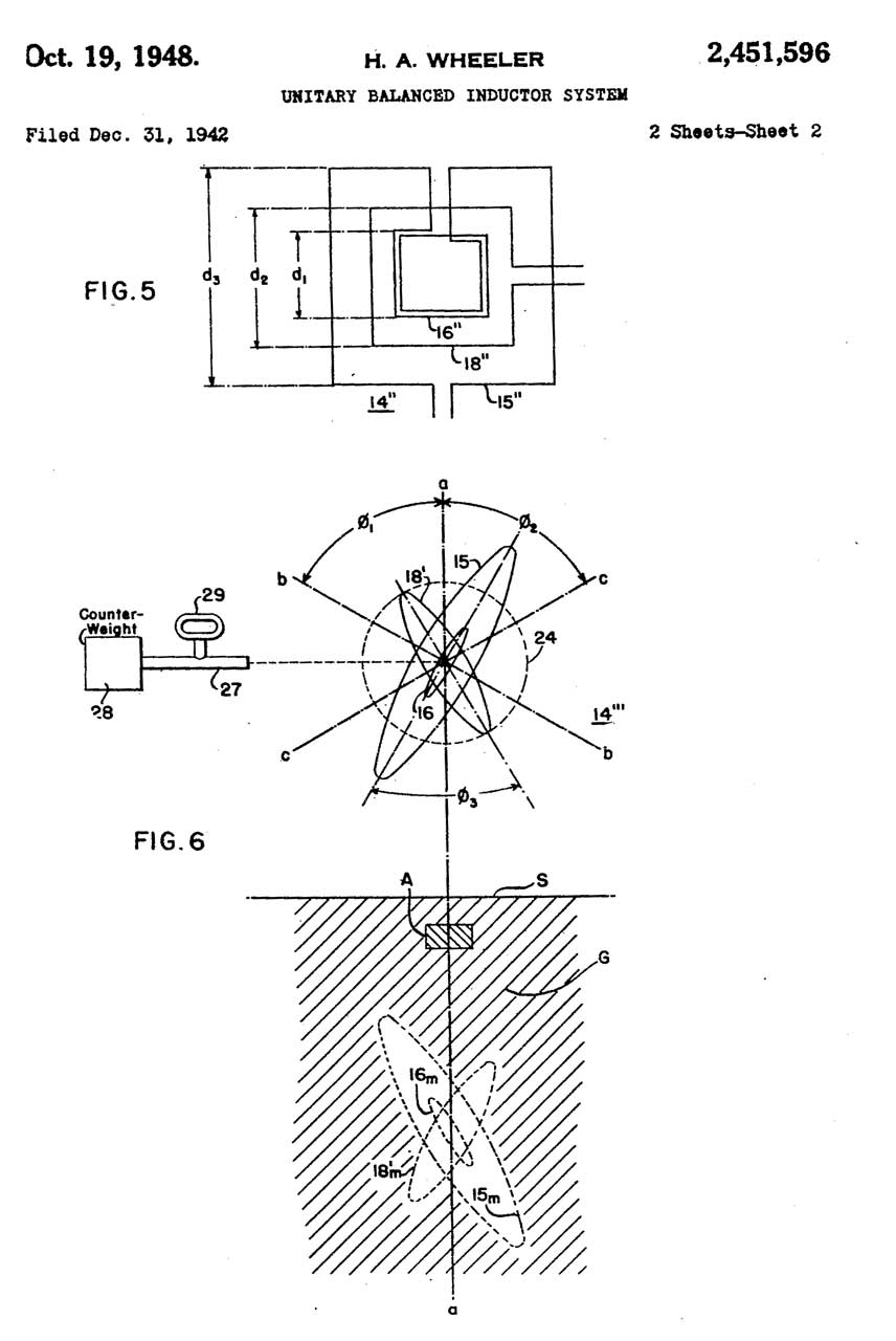
2451596
                              Unitary balanced-inductor system, Harold A
                              Wheeler (Wiki), Hazeltine Research, App:
                              1942-12-31
2451596
                              Unitary balanced-inductor system, Harold A
                              Wheeler (Wiki), Hazeltine Research, App:
                              1942-12-31

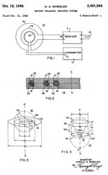
2451596 Unitary balanced-inductor system, Harold A Wheeler (Wiki), Hazeltine Research, App: 1942-12-31, W.W. II, Pub: 1948-10-19, -
Wheeler: "In World War II Wheeler led work on Identification friend or foe (IFF) antennas for aircraft, surface vessels, submarines, and ground stations. By war's end, these "lifesaver antennas" had been placed on all Allied ships. In 1946 he founded Wheeler Laboratories, Inc., to develop microwave circuits and antennas for missile systems tracking and guidance radar. In 1959, when it became a Hazeltine subsidiary, he was named a Hazeltine director and vice-president."
Cites:
Publication    Priority       Publication Assignee        Title
US1577421  1924-04-07  1926-03-16  Hazeltine Corp Means for eliminating magnetic coupling between coils
US1616645  1925-12-12  1927-02-08  Jr Arthur H Wegner Transformer
AU2065629  1929-06-14  1930-06-10  Dr. Johann Koenigsberger Induction balance
US1807956  1928-07-26  1931-06-02  Bendix Brake Co      Progressive solenoid for operating brakes
US1812392  1929-03-06  1931-06-30  Swedish American Prospecting C   Method of and apparatus for locating terrestrial conducting bodies
US1865840  1928-10-24  1932-07-05  Croft Lawrence Floyd  Radio transformer
US1905216  1928-07-10  1933-04-25  Frank L Capps   Radio receiving apparatus
US1992100  1931-06-20  1935-02-19  Stein Wilhelm   Testing flaws and the like in working materials
US2048591  1934-07-23  1936-07-21  Harry L Berry   Metal detecting device
US2111210   1936-03-17  1938-03-15  Anaconda Wire & Cable Co   Apparatus for determining wall thickness
US2160356  1937-09-28  1939-05-30  Harry A Fore   Geophysical instrument
US2167490  1937-05-07  1939-07-25  Henry B Burr   Apparatus for locating concealed conductive bodies
US2215605  1939-09-30  1940-09-24  Sperry Prod Inc   Apparatus for testing metallic articles
US2220788  1935-06-24  1940-11-05  Schlumberger Well Surv Corp   Method and apparatus for investigating subterranean strata by means of electromagnetic measurements
US2220070  1936-03-24  1940-11-05  Schlumberger Well Surv Corp   Method of and apparatus for magnetically exploring earth strata
US2376659  1940-03-081945-05-22  Chireix Henri   Apparatus for detecting underground metallic objects
 Cited by:
Publication   Priority       Publication  Assignee     Title
US2547407  1948-06-18  1951-04-03  Peyton J Nelson  Apparatus for detecting metal objects on a moving belt
US2560834  1945-01-24  1951-07-17  Whitehead Stanley  Location of conducting and/or magnetic bodies
US2779908  1952-04-12  1957-01-29  Westinghouse Air Brake Co  Means for reducing electro-magnetic coupling
US2792782  1950-03-30  1957-05-21  Robert J Schiller  Magnetic field sensitive apparatus
US3259836  1962-01-19  1966-07-05  Dresser Ind  Induction logging apparatus having plural receiver coils each forming a mutually balanced system with the transmitter coils
US3327203  1963-12-04  1967-06-20  Schlumberger Technology Corp  Induction logging system utilizing plural diameter coils
US3328679  1964-11-13  1967-06-27  Schlumberger Technology Cor  pElectromagnetic well logging systems with means for modulating the detected signals
US3457502  1967-04-25  1969-07-22  Quantum Eng Inc  Highly-stable orthogonal electric coil configuration
US3460528  1965-04-20  1969-08-12  Henry J Carney  Apparatus for locating and removing foreign matter from animal tissue
US3466533   1967-05-01  1969-09-09  Schlumberger Technology Corp  Induction logging apparatus with reduced diameter auxiliary coil means
US3471773  1967-12-20  1969-10-07  Electronic Sensing Prod Inc  Metal detecting device with inductively coupled coaxial transmitter and receiver coils
US3492564  1968-01-22  1970-01-27  Leslie H Baker Jr  Metal body locator including two similar,functionally variable frequency oscillators,two search coils and cross-coupling means
US3535619  1968-02-28  1970-10-20  Kennecott Copper Corp  Shell-type transformer instrument for determining the amount of magnetic material in a substance wherein a sample of the substance functions as the center leg of the transformer
US3539911  1968-06-21  1970-11-10  Dresser Ind  Induction well logging apparatus having investigative field of asymmetric sensitivity
US3549985  1969-02-27  1970-12-22  Electronic Sensing Prod Inc  Metal detecting device having a diskshaped head for housing a coil system
US3882374  1974-04-18  1975-05-06  Us Army  Transmitting-receiving coil configuration
US4249129  1979-04-02  1981-02-03  Scintrex Limited  Efficient simultaneous electromagnetic transmission or reception at different frequencies in electromagnetic mapping
US4270545  1976-04-20  1981-06-02  Rodler Ing Hans  Apparatus for examining biological bodies with electromagnetic fields
US4293816  1979-07-09  1981-10-06  White's Electronics, Inc.  Balanced search loop for metal detector
US4345208  1980-05-05  1982-08-17  Wilson Paul S  Anti-falsing and zero nulling search head for a metal detector
WO1991002262  1989-08-07  1991-02-21  Washington University  Magnetic resonance rf probe with electromagnetically isolated transmitter and receiver coils
US4996481 1989-08-07 1991-02-26  Washington University  Magnetic resonance RF probe with electromagnetically isolated transmitter and receiver coils
EP0837338 1996-09-02  1998-04-22  Oxford Instruments Limited  RF coil assembly
US5969528 1998-01-22  1999-10-19  Garrett Electronics, Inc.  Dual field metal detector
US64935721  1999-09-30  2002-12-10  Toshiba America Mri, Inc.  Inherently de-coupled sandwiched solenoidal array coil
US20090041542  2007-08-10  2009-02-12  Hall David R  Metal Detector for a Milling Machine
US20100315080  2006-10-24  2010-12-16  Andrew Duncan  metal detector
EP1787144  2004-09-10  2017-07-26  Abitibi-G Ophysique  Transmitter loops in series for geophysical surveys
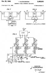
2485931
                              Magnetic field strength indicator,
                              Slonczewski Thaddeus, Bell Labs,App:
                              1943-04-20, W.W. II, Pub: 1949-10-25
2485931
                              Magnetic field strength indicator,
                              Slonczewski Thaddeus, Bell Labs,App:
                              1943-04-20, W.W. II, Pub: 1949-10-25

2485931 Magnetic field strength indicator, Slonczewski Thaddeus, Bell Labs,App: 1943-04-20, W.W. II, Pub: 1949-10-25, - MAD

This uses 3 of the rod sensors from patent 2426622 located on the edge of a cube and "parabolic rectifiers" (today we might say a square law circuit, or diode) to get the total field.  Then by means of a differentiator circuit get the change in field strength.

2488341 Detection system - MAD stinger motorized orientation of sensor
2488389 Detection system - MAD stinger motorized orientation of sensor
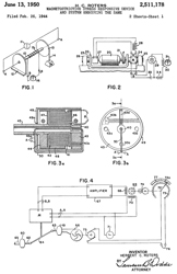
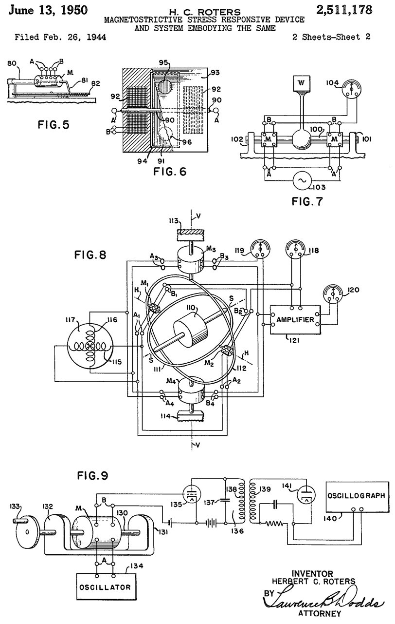
2511178
                              Magnetostrictive stress-responsive device
                              and system embodying the same, Herbert C
                              Roters
2511178
                              Magnetostrictive stress-responsive device
                              and system embodying the same, Herbert C
                              Roters

Tutortial on Magnetostrictive materials

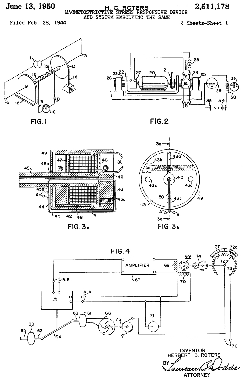
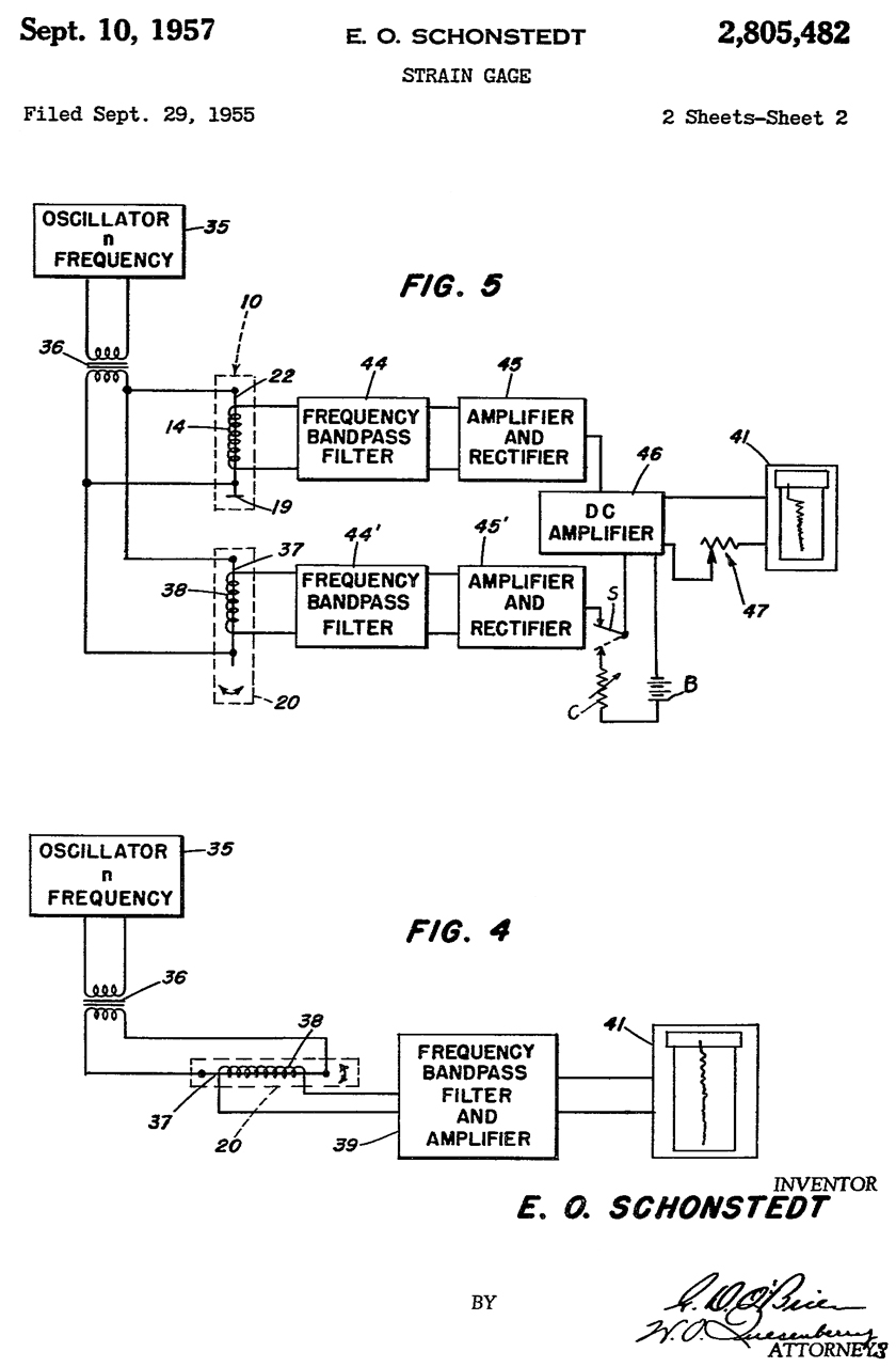
2511178 Magnetostrictive stress-responsive device and system embodying the same, Herbert C Roters, Fairchild, App: 1944-02-26, W.W.II, Pub: 1950-06-13, 73/862.333; 336/20; 73/DIG.2; 73/753; 73/862.29; 324/209; 369/146; 73/504.09; 73/514.31; 73/495; 73/862.28; 74/5.6E; 74/5.6R; 335/215; 367/168 - "It is known in the art that the magnetization of magnetic materials is accompanied by changes in physical dimensions and that, conversely, mechanical stresses applied to such magnetized magnetic materials result in changes in their magnetic characteristics."  See Magnetostriction.
Wiedemann effect (Wiki) "The twisting of a ferromagnetic rod through which an electric current is flowing when the rod is placed in a longitudinal magnetic field."
This patent makes use of the inverse Wiedemann effect and its converse:

"Specifically, in the magnetostrictive phenomenon of the first type, the circular magnetization of the magnetic member is distorted effectively into helical magnetization by torsional stresses, resulting in a varying axial magnetization component the magnitude of which may be measured or derived by various means, for example, by a winding surrounding the elongated member in which the variation of the axial component of magnetization induces an electrical signal which may be used for measuring, indicating or controlling operation. In the magnetostrictive phenomenon of the second type, the longitudinal and circular magnetization may be produced in response to fixed or variable quantities and the resulting change in physical dimensions may be caused to represent a variable quantity or the product of two variable quantities."

Each figure is an example application and "M" is the magnetostrictive device.

Fig 1 is probably the basis of the fundamental Schonstedt patent 2805482 Strain gage (sic)

2535068 Submarine detecting device, Ellis A Johnson, App: 1941-09-06, W.W>II, Pub: 1950-12-26, 89/1.61; 102/402; 114/18; 434/1; 102/417; 324/257 - "...n the gradient effect of the magnetic field set up by a sub marine is employed to control the operation of an electro-responsive device..."
2642479
                              Device for detecting or measuring magnetic
                              fields, Jones Jack Weir, Sunoco,
                              1953-06-16
2642479
                              Device for detecting or measuring magnetic
                              fields, Jones Jack Weir, Sunoco,
                              1953-06-16

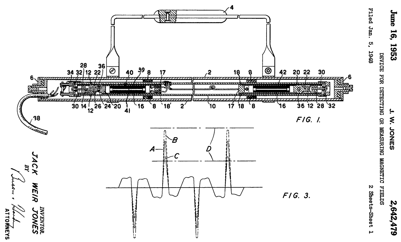
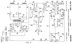
2642479 Device for detecting or measuring magnetic fields, Jones Jack Weir, Sunoco, 1953-06-16, 324/255; 324/117R; 340/870.33 - gradiometer with carry handle. ...location of magnetized devices which are insertible within steel pipe lines and arranged to be moved there along by the fluid flow.

The distance between magnetometers may be the same as the distance between the in pipe device North and South poles.  That would maximize the signal. 

2744232 Magnetic and conducting materials detector, Elbert N Shawhan, Matthew J Relis, Brown John, 1956-05-01, -
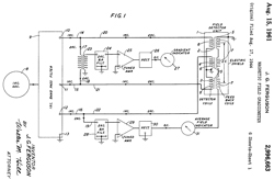
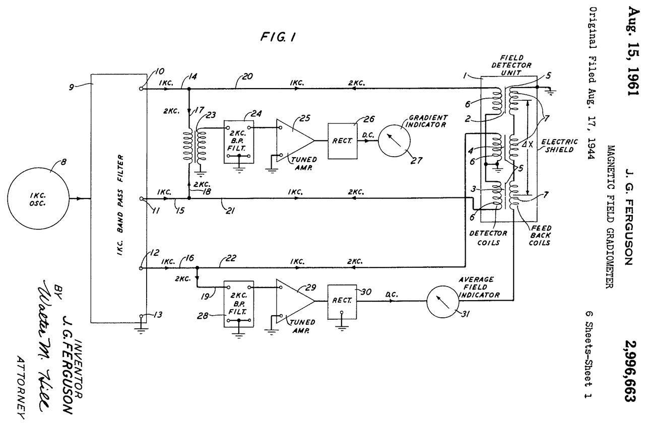
2996663
                      Magnetic field gradiometer, John G Ferguson, Bell
                      Labs
2996663 Magnetic field gradiometer, John G Ferguson, Bell Labs, App: 1944-08-17, TOP SECRET, Pub: 1961-08-15, 324/245; 332/147; 336/30; 336/92; 340/870.33 - for use underwater.

The HP 415B SWR Meter manual is dated 1955, I think the HP 415A manual is dated 1952.
Maybe the use of 1 kHz came about as the reference frequency for audio measurements?
400 and 440 Hz are also used in audio measurements.

3020470 Submerged body detection system, Elbert N Shawhan, Arnold C Mclean, Palevsky Harry, Robert L Mather, App: 1943-06-04, Top Secret, Pub: 1962-02-06, -

3064185 Magnetic gradiometer system, John G Ferguson, Bell Labs, App: 1944-08-17, TOP SECRET, Pub: 1962-11-13, 324/254 - looks like 2996663, 1 kc drive, 2 kc sense.

3209246 Magnetic field detector with a two core flux gate magnetometer for a d.c. permeameter, Charles Q Adams, Navy, 1965-09-28, - "This invention relates to a device for measuring magnetic properties of materials and more particularly to an improved Second harmonic flux-gate magnetometer type permeameter." (Wiki)
3281660 Locator
                      for magnetic and conducting materials including
                      means for adjusting the relative positions of a
                      pair of sensing coils, David K Studenick,
                      1966-10-25
3281660 Locator for magnetic and conducting materials including means for adjusting the relative positions of a pair of sensing coils, David K Studenick, 1966-10-25, 324/326; D10/78; 324/243; 324/245; 324/345; 336/119 -

Has the look and feel of the GA-22 and is cited in patent
Schonstedt 3894283.

4068164 Harmoic flux gate magnetometers and gradimeters and windings, Malcolm M. Schwartz, James R. Jaquet, Infinetics, App: 1970-01-26, Pub: 1978-01-10, -

4293816

4427943 Apparatus and method for locating and tracking magnetic objects or sources, Paul A. Cloutier, Delbert R. Oehme, Ronald F. Stebbings, Innovatum, 1984-01-24, - ", a pair of vector gradiometers is employed to locate magnetic objects."

very interesting discussion of prior art as well as interesting "cited by" patents.
Probably Innovatum is concerned with magnetic location of undersea cables.  SmartSearch -

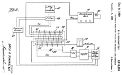
Early Schonstedt patents


2549857 Cable-suspended aerodynamic body, Erick O Schonstedt, App: 1946-06-27, W.W. II, Pub: 1951-04-24, 324/260; 74/5R; 33/397; 114/24; 324/246; 324/331; 244/3; 324/262; 33/366.11 - used to suspend a magnetometer from an aircraft for MAD (Wiki, also see Sonobuoys/MAD)

2687507 Method and apparatus for measuring the earth's total magnetic field vector, Erick O Schonstedt, 1954-08-24, 324/246; 33/322; 33/361; 188/297; 33/366.24; 33/268; 33/331; 73/178R; 324/331; 33/328 - makes use of a magnetometers, Pendulum, Vertical Gyroscope and Directional Gyroscope - so the patent is really about the system that combines the inputs.
calls:
2427014 Orienting device, Winthrop J Means, Bell Labs, App: 1943-07-30, W.W.II, Pub: 1947-09-09, - uses 3
magnetometers.

2612693 Sun compass, Erick O Schonstedt, 1952-10-07, 33/268; 33/271 - used in the astral dome in a manner similar to the Astro-Compass, Periscopic Sextant, Automatic Astro Compass or Abrams Universal Sun Compass SC-1.   It amounts to an SC-1 with an automated readout.  The idea is to have a reference against which to make magentic measurements.

2724250 Coupling for shafts, Erick O Schonstedt, 1955-11-22, 464/81 -precision by compensating for axial offset (set screw) and shaft bending; for use on synchronous control transformers

2777336 Index mechanism, Erick O Schonstedt, 1957-01-15, 74/527 - to calibrate the 2687507 magnatometer and uses a synchronous control transformer.  Functionally similar to the Spin Jig which can do 1 deg steps.

2980363 Fluid gyroscope for indicating orientation of a spinning missile, Erick O Schonstedt, Navy, 1961-04-18, - 244/3.22; 74/5R; 33/328; 114/24; 244/3.14; 244/79; 200/61.45R - probably for a Navy missile research program that used side facing explosive charges to steer the missile.  This gyro closed a switch for half of a revolution of the missile to provide a reference for when to fire the side facing explosive charges.  See: Gyroscopes.
2805482
                              Strain gage, Erick O Schonstedt,
                              1957-09-10
2805482
                              Strain gage, Erick O Schonstedt,
                              1957-09-10

2805482 Strain gage (sic), Erick O Schonstedt, 1957-09-10,  33/788; 73/778; 73/DIG.1 -
 the purpose of the apparatus of this invention is to measure relative motion, either torsional or longitudinal, resulting from such strains. ... for ascertaining the torsional or longitudinal stress effect of a test member. which employs a wire of high magnetic permeability excited by an alternating current, the wire being torsioned due to relative changes in the test member when under strain to indicate the stress effect in the member through suitable means.

Uses Permalloy wire.

Torque (strain) on Permalloy (Wiki) wire (37) see 2511178 Magnetostrictive stress-responsive device... above.
3050679 Device
                      for detecting or measuring magnetic fields, Erick
                      O Schonstedt, Navy, 1962-08-21
3050679 Device for detecting or measuring magnetic fields, Erick O Schonstedt, Navy, App: 1960-02-18, Pub: 1962-08-21, 324/245; 336/65 - gradiometer (Wiki), two magnetometers (12) in case designed for adjustment.  the patent is about the holder for the two magnetometers, not the magnetometers themselves
Calls: 2642479 and 2996663. (note 2996663 was published in 1961)

comment from 3961245:
"The bending of the tube places the tube under stress. In time, the stress may be relieved and the sensors may become misaligned, resulting in inaccuracy and the need for readjustment."

3076930 Adjustable magnetic core, Erick O Schonstedt, 1963-02-05, 324/239; 324/254; 336/221; 336/125 - "Another object of the invention is to provide an assembly of this nature wherein the excitation winding may be adjusted by twisting about its axis after the core has been assembled."
3168696
                      Magnetic flux directing cylindrical core having a
                      plurality of serially arranged interruptions,
                      Erick O Schonstedt, 1965-02-02
3168696 Magnetic flux directing cylindrical core having a plurality of serially arranged interruptions, Erick O Schonstedt, 1965-02-02, 324/260; 336/213; 336/221; 324/254; 336/220; 336/234 -
"Still another object of the invention is to provide a magnetic core comprising a hollow cylinder of permeable magnetic material, having a plurality of wall interruptions spaced at intervals in a preferably etched pattern to establish paths for the fluxes respectively produced by longitudinal and annular magnetic fields, the interruptions being relatively disposed to prevent the flux produced by a longitudinal magnetic field from intersecting at right angles, the flux produced by an annular magnetic field, at any point on the cylinder."  Was this used or not?

3258687 Wide range linear fluxgate magnetometer, James P. Heppner, Harold R. Boroson, NASA, 1966-06-28, - for use on space probes makes use of phase detector working on second harmonic of drive frequency.

3426269 Magnetic field sensor including means to minimize permanent magnetization, Erick O Schonstedt, 1969-02-04, 324/254; 336/229 - improvements to 2981885

3439264 Core assembly of prefabricated parts for a magnetic field sensor, Erick O Schonstedt, 1969-04-15, 324/260; 324/254 - lower cost version of 2916696

3487459 Induced magnetic compensation for misalignment of magnetic gradiometer sensors, Erick O Schonstedt,1969-12-30, 324/245 -

3488579 Magnetic gradiometer apparatus with misalignment compensation, Erick O Schonstedt,1970-01-06, 324/245 - "For accuracy of operation the magnetic axes of the two sensors must be precisely aligned parallel. The precision required is of the order of three seconds of arc if the error signal due to misalignment of the magnetic axes is to be less than one gamma (10-5 gauss) in an ambient magnetic field of 60,000 gammas."   "Three pair of Flux Gate Magnetometers in X-Y-Z configuration, probably for a space application.  "The axes A and B are aligned with axis X-X to within one to five minutes of arc of parallelism (or coaxiality),..Re maining misalignment is corrected electrically."

comment from 3961245:
discloses a system by which compensation for misalignment is produced electrically. While this system is capable of compensating for misalignment with high precision, its cost may be higher than is justified when such high accuracy is not required.
3757209
                      Compensation for misalignment of magnetic sensors,
                      E Schonstedt, 1973-09-04
3757209 Compensation for misalignment of magnetic sensors, E Schonstedt, 1973-09-04, 324/245 -
comment from 3961245:
improved mechanically adjustable compensators which avoid such problems


Schonstedt GA-22

US Patents listed on GA-22 battery box (Fig 4 & Fig 5) and shown below BOLD:  2916696, 2981885, 3894283, 3909704, 3961245, 3977072, 4110689, 4161568, 4163877, 4258320, 4388592, D255552

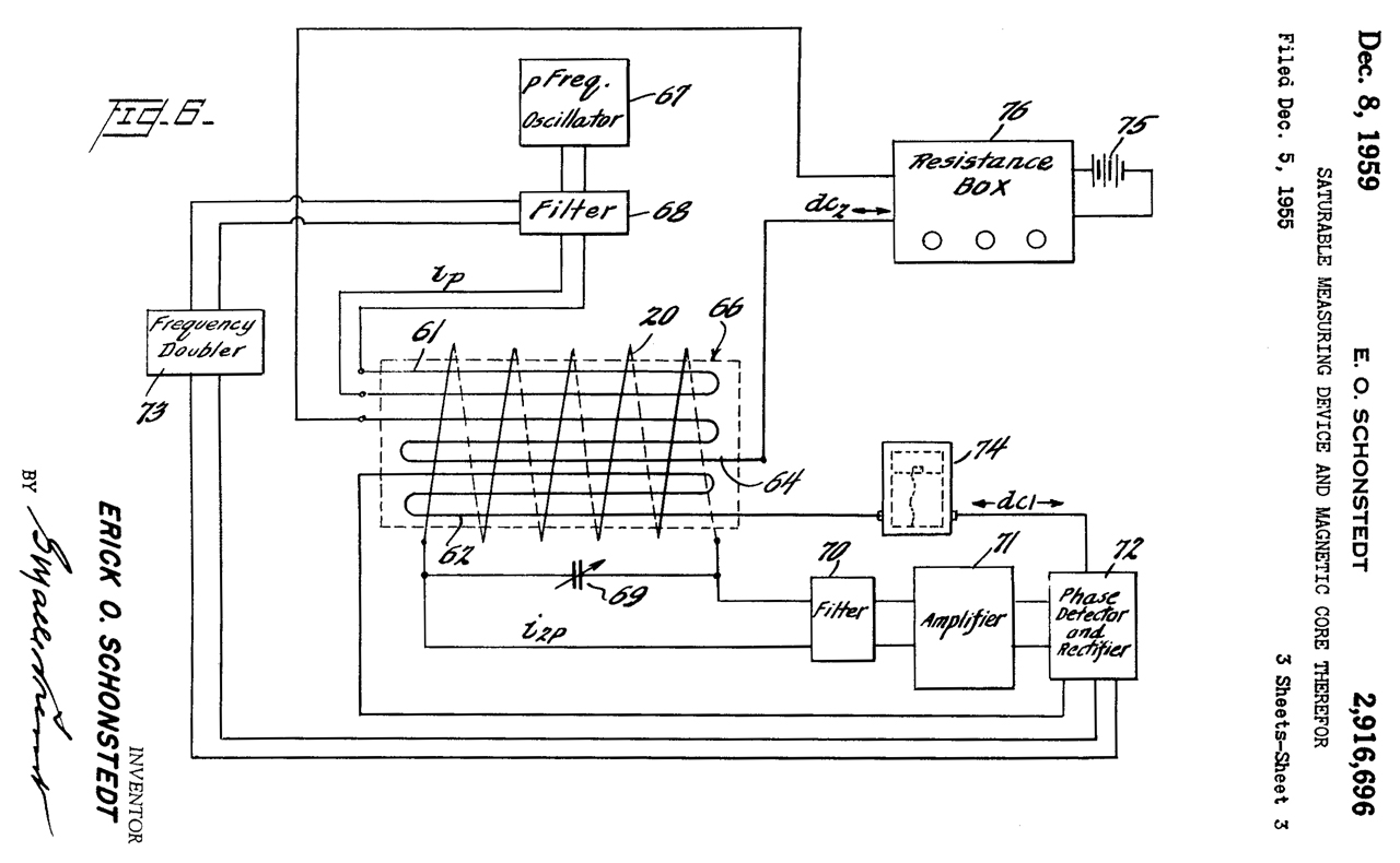
2916696
                              Saturable measuring device and magnetic
                              core therefor, Erick O Schonstedt,
                              1959-12-08
2916696
                              Saturable measuring device and magnetic
                              core therefor, Erick O Schonstedt,
                              1959-12-08
2916696
                              Saturable measuring device and magnetic
                              core therefor, Erick O Schonstedt,
                              1959-12-08

2916696 Saturable measuring device and magnetic core therefor, Erick O Schonstedt, 1959-12-08, 324/254; 336/192; 340/870.33; 336/155; 336/175; 336/221 - an improved flux gate magnetometer (see: flux gate patents) would using Permaloy wire

comment from 3439264:
"...the helical core sensor of said prior patent has, from a functional standpoint, proven to behighly successful, the particulal structure illustrated and described in that patent is quite expensive from a manufacturing standpoint. In other words, a considerable degree of manual skill and time consuming effort are required in the production of that Sensor."  i.e. it's OK for satellite use but way too expensive for surveyors.
2981885
                              Saturable measuring device and magnetic
                              core therefor, Erick O Schonstedt,
                              1961-04-25
2981885
                              Saturable measuring device and magnetic
                              core therefor, Erick O Schonstedt,
                              1961-04-25
2981885
                              Saturable measuring device and magnetic
                              core therefor, Erick O Schonstedt,
                              1961-04-25
2981885 Saturable measuring device and magnetic core therefor, Erick O Schonstedt, 1961-04-25, 324/260; 336/213; 340/870.33; 324/254; 336/221; 29/605 - The core is preferably formed by winding strips of magnetic material, such as Permalloy strips, about a ceramic tube and joining the ends of the strips at the laps.  Interweaving individual strips is a requires a high skill level, i.e. very expensive.

This may have the highest performance of all the flux gate magnetometer versions.

Includes Hydrogen atmosphere heat treat after winding, i.e. requires a ceramic core.

3894283 Magnetic locator including
                                sensors mounted in longitudinal grooves
                                of a tubular support, Erick O
                                Schonstedt,Schonstedt Instrument Co,
                                1975-07-08
3894283 Magnetic locator including
                                sensors mounted in longitudinal grooves
                                of a tubular support, Erick O
                                Schonstedt,Schonstedt Instrument Co,
                                1975-07-08

3894283 Magnetic locator including sensors mounted in longitudinal grooves of a tubular support, Erick O Schonstedt, Schonstedt Instrument Co, 1975-07-08, 324/345; 324/254; 324/329; 336/92 - This appears to be the GA-22 Prior art units had one or more deficiencies: complexity, high cost, poor sensitivity....greater sensitivity than comparable locator apparatus, such as dip needle....a smooth elongated probe configuration to permit the apparatus to be poked into shrubbery, brush, snowbanks, and other areas that can not be reached with other locators.

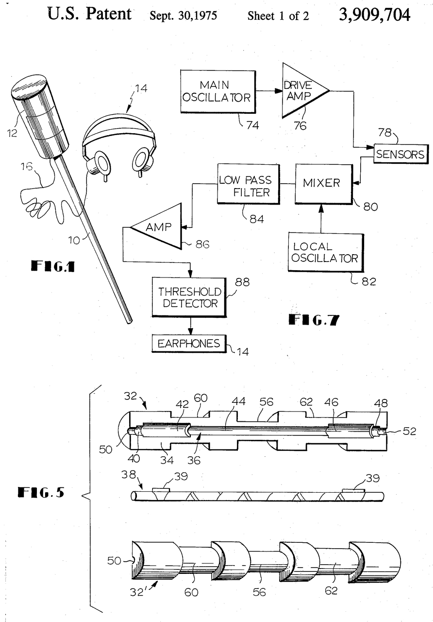
3909704
                              Magnetic locator having sensor units with
                              two-piece housings and tubular cores,
                              Erick O Schonstedt, Schonstedt Instrument
                              Co,1975-09-30
3909704
                              Magnetic locator having sensor units with
                              two-piece housings and tubular cores,
                              Erick O Schonstedt, Schonstedt Instrument
                              Co,1975-09-30

3909704 Magnetic locator having sensor units with two-piece housings and tubular cores, Erick O Schonstedt, Schonstedt Instrument Co,1975-09-30, 324/345; 324/254; 324/329; 324/260; 336/198 - improved lower cost sensor coil assembly
3961245
                              Magnetic locator having improved sensors,
                              Erick O Schonstedt, Schonstedt Instrument
                              Co, 1976-06-01
3961245
                              Magnetic locator having improved sensors,
                              Erick O Schonstedt, Schonstedt Instrument
                              Co, 1976-06-01

3961245 Magnetic locator having improved sensors, Erick O Schonstedt, Schonstedt Instrument Co, 1976-06-01, 324/245 -
fixes the alignment problems with prior art gradiometers.
3977072
                              Method of manufacturing a magnetic
                              locator, Erick O Schonstedt, Schonstedt
                              Instrument Co, 1976-08-31
3977072
                              Method of manufacturing a magnetic
                              locator, Erick O Schonstedt, Schonstedt
                              Instrument Co, 1976-08-31

3977072 Method of manufacturing a magnetic locator, Erick O Schonstedt, Schonstedt Instrument Co, 1976-08-31, 29/602.1; 324/326; 336/92; 29/453; 336/65 -

4110689 Magnetic detecting apparatus with novel means for positioning sensor assembly in a housing, Erick O. Schonstedt, Schonstedt Inst, 1978-08-29, 324/254; 324/345 -

4163877 Housing for circuitry and loudspeaker of a magnetic locator shields and resiliently mounts the loudspeaker, Erick O. Schonstedt, Schonstedt Inst, 1979-08-07, 324/226; 324/260; 324/326; 381/395 - square head for loudspeaker and it's umbrella structure.

4258320 Apparatus and method employing foam sleeves for supporting magnetic sensors in a tubular housing, Erick O. Schonstedt, Schonstedt Inst, 1981-03-24, 324/262; 174/99R; 29/235 -

4388592 Multiaxis magnetometer apparatus with orthogonally disposed rectangular housings for mounting separate sensor assemblies, Erick O. Schonstedt, Schonstedt Inst,1983-06-14, 324/247; 324/253 - probably for a space application

Schonstedt GA-52


4161568 Battery holder, John Lund, Schonstedt Inst, 1979-07-17, 429/99; D13/119 - 4 each C cells with hold down bar to keep them from popping out

Schonstedt  GA-72


4803773 Method of making magnetic cores, Erick O. Schonstedt, Schonstedt Inst,1989-02-14, 29/605; 336/213; 242/444; 336/234 - "X" shaped preform of magnetic material wound on non-magnetic (ceramic?) core.

4839624 Magnetic cores, Erick O. Schonstedt, Schonstedt Inst, 1989-06-13, 336/213; 324/260; 336/233; 428/542.8 - 1/4 or 1/2 mil thick magnetic material x 3/16" wide.  If magnetic material is anealed (dead soft) it may be possible to avoid the heat treat step since very little stress is added if this is done correctly.

5097211 Magnetic detection appartaus with plastic housing and sound-transmissive handle, Erick O. Schonstedt, Schonstedt Inst, 1992-03-17, 324/326; 324/253; 324/345 - handle above square head, ribbed probe.

5136245 Magnetic detection apparatus with sensors mounted on channel or angle cantilever support, Erick O. Schonstedt, Schonstedt Inst, 1992-08-04, 324/345; 174/535; 324/156; 324/253; 336/65 - looks like 5097211

5138761 Method of manufacturing magnetic detection apparatus, Erick O. Schonstedt, Schonstedt Inst, 1992-08-18, 29/602.1; 29/609.1; 324/326; 324/345 - looks like 5097211
5239290
                      Magnetic cores for saturable core measuring
                      devices and methods of manufacturing such cores,
                      Erick O. Schonstedt, Schonstedt Inst,1993-08-24
5239290 Magnetic cores for saturable core measuring devices and methods of manufacturing such cores, Erick O. Schonstedt, Schonstedt Inst, 1993-08-24, 336/213; 29/605; 29/607; 324/233; 324/260 - improved S/N ratio. had wound interleaving.  Heat in dry hydrogen atmosphere.  Maybe aimed at space application rather than surveying.

Schonstedt GA-92


20040145369 Magnetic detector extendable wand, Kenneth Sowers, Donald Sien, Thomas Parker, Schonstedt Inst, 2004-11-16, -

Magnetic Markers


5006806 Methods and apparatus employing permanent magnets for marking, locating, tracing and identifying hidden objects such as burried fiber optic cables, John B. Rippingale, Charles R. Upton, Erick O. Schonstedt, Bradley L. Osman, Schonstedt Inst, 1991-04-09, -
51 prior art citations -

5017873 Methods and apparatus employing permanent magnets for marking, locating, tracing and identifying hidden objects such as buried fiber optic cables, John B. Rippingale, Charles R. Upton, Erick O. Schonstedt, Bradley L. Osman, Schonstedt Inst, 1991-05-21, -
43 prior art citations -

5122750 Methods employing permanent magnets for marking, locating, tracing and identifying hidden objects such as buried fiber optic cables, John B. Rippingale, Charles R. Upton, Erick O. Schonstedt, Bradley L. Osman, Schonstedt Inst, 1992-06-16, -
48 prior art citations -

5173139 Method for providing magnetic markers on elongated hidden objects, John B. Rippingale, Erick O. Schonstedt, Schonstedt Inst, 1992-12-22, - 30 citations of prior art -

5206065 Methods, apparatus and devices relating to magnetic markers for elongated hidden objects, John B. Rippingale, Erick O. Schonstedt, Schonstedt Inst, 1993-04-27, - mag tape spiral wound on plastic pipe or fiber optic cable so it can be found with a Magnetic Locator.
26 citations of prior art -


Others

4527123
                      Improved method and apparatus for detecting and
                      locating residually magnetized items, Robert F.
                      Gilman, Claude R. Schwarz, Sentronic, 1985-07-02
4527123 Improved method and apparatus for detecting and locating residually magnetized items, Robert F. Gilman, Claude R. Schwarz, Sentronic, 1985-07-02, 324/254; 324/260; 324/326; 324/67 -

An aircraft mechanic magnetizes all his tools.  Then when finished working, he or an inspector, uses this device to search for tools left behind.  This device should find magnets, but not ferrous metal objects.

Magnetics - VAC Nickel Iron Alloy Tape Cores Replacement - Square Permalloy 80 -

Cites prior art:

US2321356A Locator, Berman Samuel, Waugh Equipment Co, 1943-06-08,  - Surgical

US3445928A Magnetometer method of manufacture, John C Beynon, Bunker Ramo, 1969-05-27,  - Rod

US3460528A Apparatus for locating and removing foreign matter from animal tissue, Henry J Carney - Surgical

US3541432A Magnetometer capable of operating with a very low input power, Alfred D Scarbrough, Bunker Ramo, 1970-11-17,  - Rod

US3909704A Magnetic locator having sensor units with two-piece housings and tubular cores, Erick O Schonstedt, Schonstedt Inst Co , 1975-09-30, - GA-22

US4068164A Harmoic flux gate magnetometers and gradimeters and windings, Malcolm M. Schwartz, James R. JaquetInfinetics, Inc. - ring core, airport screening

US4100492A Harmonic magnetic field probe with novel core construction, Friedrich M. O. ForsterFiltrol, 1978-07-11,   - Rod
The Waugh Equipment Co made magnetic field measuring instruments aimed at geophysics (Waugh MW3 & MW4) and surgical location of metallic objects, like bullets.


WO2011094402A1 Locator assembly for detecting, locating and identifying buried objects and method of use, William C. Rushing, Berntsen International, 2011-08-04, - combines magnetic locator and RF ID.

Magnetic Locator Patents


2931383 Curb box having locating magnet therein, Harold E Handley, Handley Brown Heater Co, 1960-04-05, 137/369; 174/37; 137/371; 220/237; 285/302; 137/797; 285/4; 324/326 - This would make the Aqua Locator work better as well as making any "magnetic locator" work better.

Patent Class 324/326

269439 Apparatus for Finding Torpedoes &Etc, C.A. McEvoy, 1882-12-19, 324/326 340/850 324/334 - this is a metal locator

Related

DC Gaussmeter -GE Gauss Meter, AMY6 Magnetic Polarity Tester
DC Permenant Magnet Motors
Electromagnetic devices:
Build it YOURSELF!, a REAL ELECTRIC MOTOR
Electromagnetic Toy Engine
Gilbert DC 3-pole Electro-magnetic Machine
Leclanché Battery - wet cell
MESCO 1011 Toy Engine
No. 6 Dry Cell -
Toy Motor Kit & modern version as well as Science First demonstration motor -
Vibrators -
Weeden DC 2-pole Electro-magnetic Machine -
Flux Gate Magnetometer Patents - MAD
HT20 2000 mT Magnetic Flux Meter
Magnets
Magnetic Recording
Magnetics
Magnatometers
Metal Locators
Sensors
Stock Tickers
Telegraph
Telephone
Telephone patents
Walker Scientific MG-3D Gaussmeter

References

Ref 1. Schonstedt home page
Ref 2. Schonstedt YouTube - Principles of Underground Magnetic Locating - Introduction to Magnetic Locating - Humanitarian Demining Program -
DEEP-1 Underground Markers & Schonstedt Magnetic Locators -

Links

PRC68, Alphanumeric Index of Web pages, Contact, Products for Sale
Page Created 2022 March 14