© Brooke Clarke, 2001 - 2023
![]() |
![]() |
2894330
Astrocompass![]() |
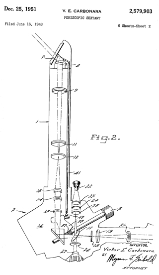
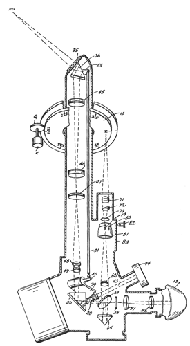
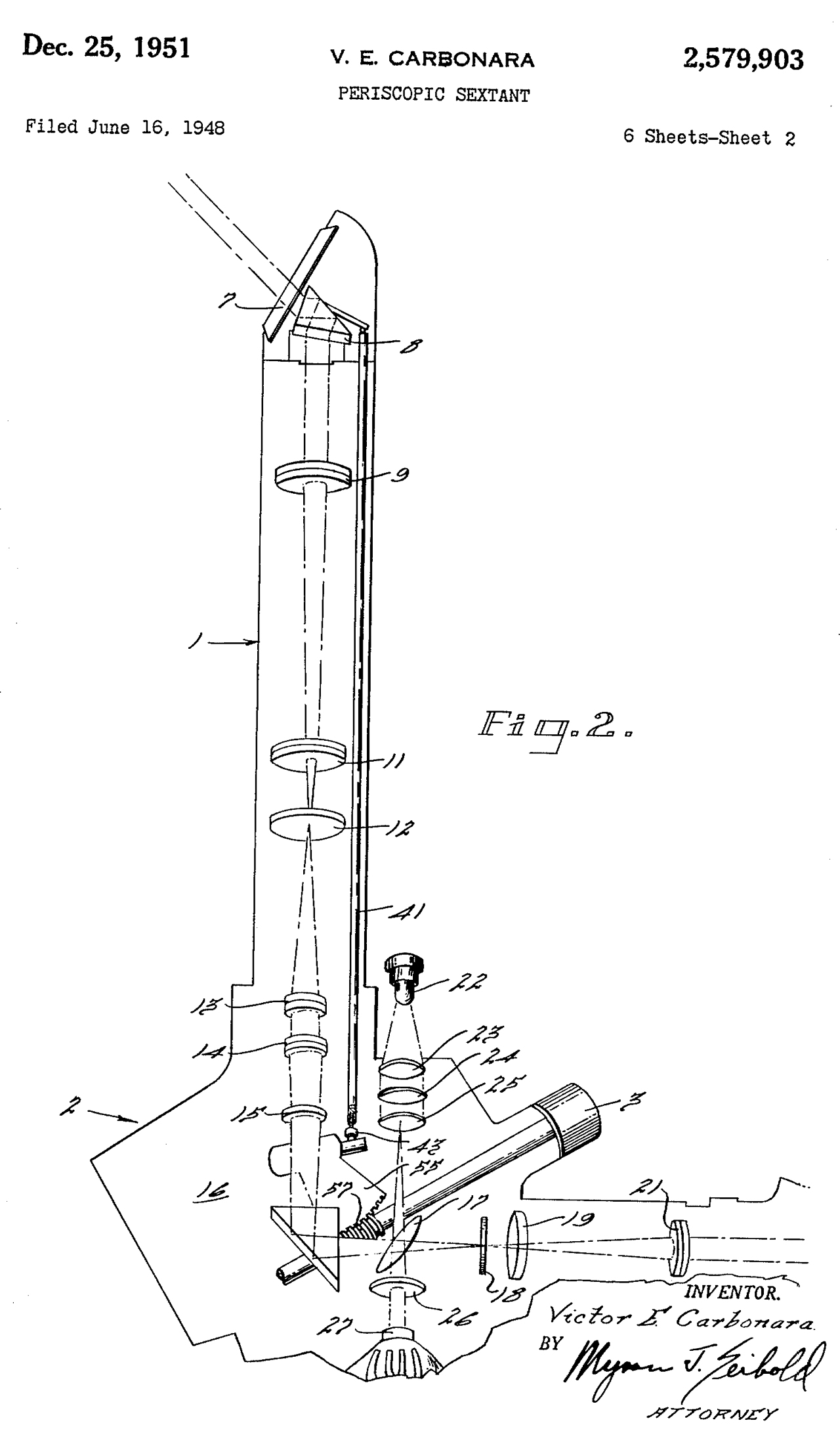
2579903
Periscopic Sextant ![]() |
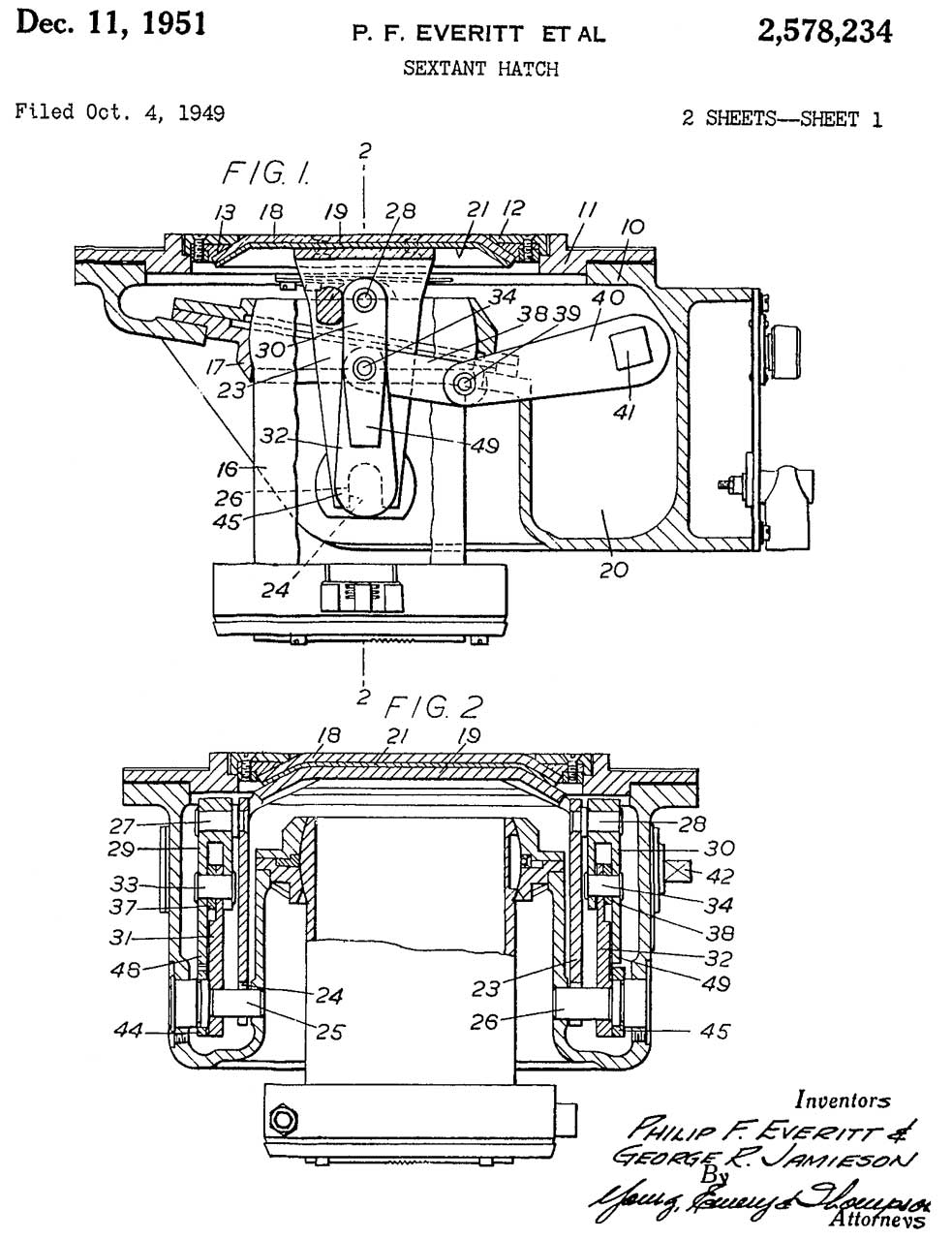
Mount 2554010![]() |
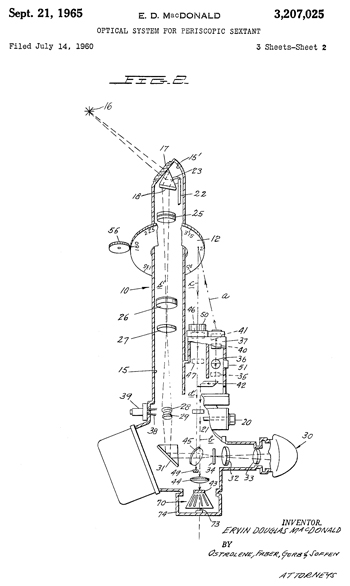
3207025
Optical System for Periscopic Sextant
![]() |
|
![]() |
![]() |
![]() |
![]() |
![]() |
![]() ![]() |
![]() |
![]() |
![]() |
![]() |
With Russian
Chronometer![]() |
||||
![]() |
![]() |
![]() |
![]() |
![]() |
|
|
|
|
|
|
This aircraft sextant was used for celestial navigation. I think it has been replaced by GPS and/or inertial navigation systems.
The patent is dated 1945 and the sticker on the sextant is June 1986. This instrument is a masterpiece of mechanical and optical engineering.The bubble is there and can be controlled by the knob. The classic sextant (Wiki) uses the horizon as part of the triangle that's being solved, but the horizon is not a good reference for an aircraft. Hence the Bubble Sextant was invented to allow a sextant to be used on an aircraft (Wiki).
I think the idea is that the person sighting a star or the Sun, keeps it in the cross hair and at the same time keeps the bubble centered.
As the elevation control is moved up and/or down the clockwork mechanism is averaging the elevation over a period of time.When the elevation dial is at 90 you are looking straight up and with it set for 0 you are looking at the horizon. The smallest division on the elevation counter is 1 arc minute ( 1/60 of a degree).
Note you can only see out the periscope after the clock lever is pressed, winding the clock AND pushing the button to start the averaging.
How you get the averaged answer is a mystery.I have not wanted to break the seal, but if you did I expect that the clockwork inside would be very interesting. See below.
There are two GE 327 lamps easily accessed behind metal covers. One illuminates the bubble and the other the azimuth scale on the mount.
The Filter Wheel (Fig 5) has 8 positions: 1= no filter, 2 = green, 3 = red, 4 = green+ND1, 5 = ND1+red, 6 = ND2+green, 7 = ND3+red, 8 = ND3+green. The Neutral Density filters starting at no. 4 are strong enough that you can look at the Sun. It's image is about the same size as the bubble.
To hold the sextant some type of support would be helpful, like a 2x4 with a hole to clear the 1.375" diameter periscope tube and a way to keep it from falling out (maybe use the pin on the side of the tube?). Unlike the sextants used on ships that are hand held, this one needs an external support.
I've heard that the MA-2 sextant was the precursor to the periscopic sextant. The MA-2 required a glass dome which required good optical properties and the dome was not supposed to break or blow out, but that did happen, so the periscopic solved those two problems. See anon. external web page Air Navigation Sextants based on AFM 51-40 (U.S. Air Force manual "Air Navigation") section pertaining to bubble sextants, from the 1955 and 1960 editions.
US Patent 2516187 -Calculating Instrument application Feb. 24, 1945 covers some of the operation of this sextant. (see Fig 6 above)
The key feature is the "averager" that mechanically averages the elevation setting over time.MIL-S-5897C(ASG) contains operational specifications such as:
3.3.1 Sextant. Hereinafter, the term "sextant" shall be construed to mean the sextant proper, Periscopic tube, connecting cable, and watch clip. The sextant shall be a bubble-type sextant built in the form of a periscopic telescope with the periscope projecting above the skin of the aircraft. Provision shall be made for 360 degree rotation of the instrument around the vertical axis and tilt of the sextant up to 14-1/2 degrees minimum from the vertical axis. The sextant shall conform essentially to Standard MS28011.MS28011(AS) consists of three drawings:A.F. Manual 51-40 Air Navigation has a little information on this sextant. Vol 1 has descriptive info and Vol 3 operational info
- sheet one (shown above) has the layout of the sextant
- sheet two has information about the receptacle that mounts to the ceiling of the aircraft
- sheet three shows the shipping case
ID Plate
The ID plate reads:
Sextant, Aircraft, Periscopic
MS Part No. MS 28011-1
28 Volts A.C. or D.C.
Specification MIL-S-5807A
Mfr's Part No. 1471B-01
Mfr's Serial No. 3870
Order No. NOas 52-535
Stock No. R88S0400-050-000
Kollsman Instrument Corporation
U.S. Property 35050-1And the paper sticker says:
Aerospace Guidance and Metrology Center (AGMC)
Repair Date JUN 16 1986
Newark Air Force Station
Newark, Ohio 43057The label on the periscope tube says:
Minutes -10 -1 -1 0 0 -.5 45 +.5 0 90 -2 -2
History
First generation sextants, like those shown on the Wiki sextant page, give a measurement at a single point in time. The problem with them is that typically a ship or aircraft moves and that motion lowers the precision of the sighting. Since most vehicle motion is cyclic the precision can be unproved by averaging the readings over say a couple of minutes.
A number of sextants have integrated averager assemblies such as: A-10A Aircraft Sextant, Link A-12 & others.
Sextants used on ships can use the horizon as one side of the triangle that's being measured. But that can not be done in an aircraft, so the Bubble Sextant (Wiki) came about.
Description
This box is fitted to the bottom of the sextant includes a ball-and-disc integrator (Wiki). This allows averaging the reading over a couple of minutes thus greatly improving the accuracy of the reading.
I think there were a number of improved "Averager Assemblies" developed with the idea of improving on this one. But as far as I know none of them were put into service.
The main components of the averager assembly are:
The Disk which is directly connected to the shaft that carries the star elevation information.
The Ball that rides on the disk and is positioned on the disk by a trolley.
The 3/8" diameter by an inch long drum that the Ball drives.
A clockwork that drives the trolley for 2 minutes.
A spring loaded pin that stands proud of the averager when no averaging is being done. The pin drops down to open the shutter during averaging.
Controls and Indicators
The face that mates with the periscope has an shaft that seems to turn more than 360 degrees.
There is also a .092" dia plunger that's spring loaded after the timer runs out. Once the "WIND" lever is activated and the plunger pressed it stays down, i.e. the spring no longer returns it. This opens the shutter when the timer is running and closes the shutter when the timer has run for 2 minutes. A sight should be started 1 minute before the set time, like the top of the hour, so that the averaging happens one minute on either side of the set time.
A lever marked "Wind" winds the clockwork.
A lever marked "Start" begins the integration.
There's a window showing a dial with a range of 0 to 60 (marked 0, 5, 10 . . . 55). Associated with this dial are two disks that move in response to the input shaft, the dial shows the seconds from start to the midpoint of the measurement. This is normally 60 seconds for a 2 minute observation, but can be as short as 15 seconds if the Start lever is pressed at 30 or more seconds after a reading has started (Ref 3).Operation
The averager is part of the Periscopic Sextant. When the "Wind" lever is activated it moves the trolley so as to position the ball bearing at the center of the disk. As the two minute clockwork runs it moves the trolley about 0.8" parallel to the output drum centerline.
When the Start lever is pressed the averaging mechanism begins and the shutter in the line of sight is moved to clear the optical path. The elevation knob is adjusted to keep the star in the cross hair and the sextant is held so as to keep the bubble centered.
As the elevation knob is moved it provides a direct drive to the disk part of the Ball-and-disk integrator (Wiki). The ball is on a trolley that starts with the ball at the center of the disk and moves the ball parallel to the centerline of the output drum.
When the sighting has finished the elevation knob is used to move two thin disks in the averager window (Fig 3) to their starting positions which results in the averaged reading showing in the elevation window (Ref 3).
This mode of operation is different from that described on the Wiki Ball-and-disk integrator web page.
Photos
Fig 1
Fig 2
Fig 3
Fig 4
Fig 5
Fig 6
Fig 7 Input Disk & Ball Bearing Trolley
Fig 8 Pen to show center of disk.
Pencil marks showing "0" and"2"
positions of trolley, about 0.8" movement.
Labels
Averager AssyMfr's p/n: 1471C966
NSN: 6605-00-704-3028
Ser. No. 00791062
To Wind -
Depress and release wind lever.
To Start -
Depress and release start lever.
To Stop -
Depress and release start lever.
Kollsman Part No. 1471C-966 Mf'd. under U.S. patent 2516187
Periscopic Sextant Averager patents
Prior art averaging patents
2481555 Averaging device, Francis A Wodal, Harry M Crain, App: 1944-08-04, Secret, Pub: 1949-09-13, - for aircraft sextant
Key Averaging Patent
Fig 8
2516187 Calculating instrument, Deimel Richard Francis, Black William Alexander, General Time Corp, App: 1945-02-24, Secret, Pub: 1950-07-25, -
Elevation angle input shaft 11) turns disk (18) which turns ball bearings (30 & 30). Ball bearing (20) turns drum (19) which is parallel to the surface of the disk and drives output 0 to 60 seconds "time from start to half of observation time" wheel.
When observation is complete the elevation angle knob on the sextant is turned to cause the two disks adjacent to the half observation time dial to both be at their (starting) position at which time the sextant elevation displays the new averaged value rather than the last elevation value.
Fig 8 Elevation input (8) drives disk (18), ball cage (33) is moved by clockwork.
This is a general purpose averager and probably was also used on the A-10 Bubble Sextant.
Cites:
765531 Adding-machine, Richard Ebenezer Weston, 1904-07-19, -
864379 Speed-indicator, Oskar Junghans, 1907-08-27, - uses ball-and-disk integrator. see Cars\Speedometer
1409547 Totalizing mechanism, Hosch Annie Mae, Measuregraph Co, 1922-03-14, - the Veeder counter was patented in 1887
1439097 Counting and indicating mechanism, Graham Edward Alfred, 1922-12-19, - counter for use in artillery or navigation
2140579 Averaging device, Harold E Gray, 1938-12-20, - disc-on-disc integrator used in Octant for sighting celestial bodies. WAY ahead of it's time.
2248072 Motor control, Fry Macon, Ford Instrument Co., 1941-07-08, - motor driven disc-ball-drum integrator used on torpedo data computer & gun director.
2252341 Sextant and similar instruments for angular measurement, Everitt Philip Francis, Henry Hughes & Son, 1941-08-12, - averages six readings, not clear how
2285856 Means for evaluating and indicating the average value of successive time observations, Everitt Philip Francis, Henry Hughes & Son,1942-06-09, - uses gear changes, not integrator.
2337045 Averaging device for measuring Instruments, Pliny G. Holt, Navy, 1943-12-21, - motor driven, for octant or sextant, includes the time half way through the series.
cited by:Cited by:
2428662 Timing device, Edward F. Flint, B&L, App: 1943-08-18, Secret, Pub: 1947-10-07, - for use with octant or sextant to get average.
2665484 Sextant and other angle measuring instruments, Everitt Philip Francis, Keeble John, Kelvin Hughes Ltd, 1954-01-12, - Periscopic Sextant with control of 2 electric motors. One motor replaces the windup clockwork to drive the integrator and other motor drives the time to midpoint display. Designed to replaced clockwork averager.
2704400 Apparatus for use in navigation, Archie A Baldocchi, 1955-03-22, - mechanical data output from sextant
3259310 Ratio indicator, Jean D Rochfort, 1966-07-05, - disk on disk integrator for automotive Miles/Gallon
10495436 Centerline and angle finder layout tool for cylindrical and radial surfaces, Richard J. Legois, 2018-10-25, - shop tool
Newer averager patents
2985026 High accuracy ball and disc integrator, Rappaport Sigmund, Kallenberg John, Sperry Rand Corp, 1961-05-23, -
Cites
367625 Recording Kinemeter, Arthur M. Hynes, 1887-08-02, - disc-on-disc,
2397467 Apparatus for generating continuously variable mechanical operations, Bush Vannevar, Samuel H Caldwell, Research Corp, App: 1940-09-05, Secret Pub: 1946-04-02, - includes four ball-and-disc integrators, can be used for curve fitting.
2481039 Rate generating mechanism, Elliott P Ross, Sperry Corp, App: 1938-08-18, Secret, Pub: 1949-09-06, - ball-and-disc Plus cams to increase dynamic range
2602338 Integrator, Opocensky Willard John, Imm Lewis William, Librascope, 1952-07-08, - disc-ball-drum integrator used in fire control patent 2426584
2746677 Logs for marine vessels, Donald C Stone, 1956-05-22, - a ball-and-disc integrator counts the Ship's Log rope turns and displays Nautical Miles.
2762239 Variable speed transmission, Henry A Van Dyke, 1956-09-11, - not for power, but for use in mechanical compters
cites:
1448490 Variable-speed transmission, Moakley Henry, Hanibal C. Ford, 1923-03-13, - ball-and-disc
2602338 see above
May 2014 - When combining the mount and sextant the crank on the mount does turn the Veeder-root counter but does not rotate the sextant in azimuth. There is a ring that's the lowest part of the mount that says "LOCK --->" but I can not rotate the ring any more to the right. There's an open threaded hole, maybe there's supposed to be some sort of bolt there to lock the azimuth?
Answer: When a sight is to be made the sextant is removed
from the carry case in installed into the mount (while the door is
closed) and the ring at the bottom of the mount is turned.
The sextant is now "locked" into the mount and you can let go
without it falling (I'd rotate it to be sure the ring has really
locked it). At this point when the outer door is opened
there will only be a very small air not a large one like would
happen of the outer door was opened without the sextant being
installed.
Prior to making a sighting you set the azimuth using the crank
and Veeder Root counter ( dd_dd_m) which turns the azimuth scale
that's visible in the eyepiece relative to the aircraft centerline
and you preset the sextant elevation angle using the Elevation
knob and the Veeder Root counter that's adjacent (ddm).
When it's time to make the sighting the outer door is opened and
the periscope lifted. There are two pins that hold the
periscope in the up position and these are missing from my
unit. You can see the two pins clearly in the photo below of
a mount installed in a C-133. They are 180 degrees
apart. There's a ramp on the protrusion on the sextant body
that indicates that these are spring loaded and all that's
required is to raise the sextant and it snaps into place.
The pin is pulled out to allow lowering the sextant when the
sighting is complete.
![]() The 2 contact socket is marked 12S-3S. The other connector has 3 pins and a smaller shell size. |
Perisocpic Sextant D-1 Mount
Type 1869-01 Mount,
Periscopic Sextant28 Volts A.C. or D.C. Type: 1869-01 Kolsman Instrument Corporation Top plate is on aircraft skin. |
Perisocpic Sextant D-1 Mount
Type 1708-01![]() |
![]() Each turn of the crank rotates the periscope 5 degrees in azimuth. The Veeder root counter is in 0.1 degree increments. 000.0 to 359.9 deg range but there is no stop so you can just keep going in a circle. The knurled device next to the switch is an aircraft lamp holder. Swash plate with 4 mounting hole bracket on top side. |
When the knurled
knob isunscrewed it allows the air pressure to be equalized. Bottom plate has the 4 screws. |
The bottom plate (4 screws)
is level in the aircraft.![]() |
The ramp with hole for spring loaded pin that
I do not have.![]() |
On the opposite side from the ramp there's no
hole for the second spring loaded pin in the mount. You can see vertical marks from pin. Maybe there's a second hole on newer sextant models? Note up arrow that matches arrow on mount (see to right). Pin on sextant tube fits bayonet LOCK in mount. ![]() |
Alignment arrow on LOCK ring. Bayonet path for pin on sextant. Azimuth scale inside (o deg), reference mark on outside. The Veeder Root counter is off by about 4 degrees, probably an assembly error? ![]() |
Mount Patents
2578234 Sextant hatch, Everitt Philip Francis, Jamieson George Robert, Kelvin Hughes Ltd, 1951-12-11, -
2666990 Periscopic sextant and other instruments, Everitt Philip Francis, Jamieson George Robert, Kelvin Hughes Ltd, 1954-01-26, -
First learned about this on Jerry Proc's web page for the Lockheed CP140 Sub Hunter aircraft Aurora Electronics Suite.
"Kollsman Periscopic Sextant - The Periscopic Sextant system consists of two sextants, the Kollsman Periscopic Sextant, the Kollsman Skylight Compass, and a sextant mount. The sextant enables celestial body observations for heading and position line determination, and the skylight compass enables low altitude observations of the sun during twilight conditions and for sunlight observations for heading determination only."There's a group of photos at the National Air and Space Museum titled: Compass, Mark 5-C, Kollsman, but the compass is marked: MARK V-C - This probably is NOT the skylight compass.
NSN: 6605-00-653-1101; Compass Skylight 2029B01
2828930 Electronic apparatus for stabilizing the attitude of moving craft and instruments carried thereby, Robert J Herbold, 1958-04-01, - photoelectric horizon sensor, Cites 9 patents, cited by 13 patents, - Earth's horizon sensor.
This may be related to sky polarization. Skylight Compass (out of stock 2022 Nov 4)
Wiki: Wheatstone Polar Clock - On a means of determining the apparent Solar Time by the Diurnal Changes of the Plane of Polarization at the North Pole of the Sky; Scientific Papers of Sir Charles Wheatstone pages 285 - 289; (British Association 1848 pp. 10 - 12)
Note that a clock and compass are essentially the same thing if the clock depends on the position of the Sun.
Polarization of Light by William Spottiswoode,1879 (Polarization_of_Light.pdf), 167 pages - Chap. VII Atmospheric and other Polarization - The Polar Clock (pg 89, pdf pg 104) Wheatstone's Clock starts on page 95 (pdf pg 110). Figure on pdf page 111.
Two models. Fig 18 for a fixed location and Fig 19 for use when traveling.
"...a glass disc, so inclined that its plane is perpendicular to the polar axis of the earth... On the lower half of this disc is a graduated semicircle, divided into twelve parts 6 - 12 - 6. At the smaller end of the conical tube a Nicol's prism is fixed so that either of its diagonals shall be 45° from the principal section of the selenite films. The instrument being so fixed that the axis of the conical tube shall coincide with the polar axis of the earth, and the eye of the observer being placed to the Nicol's prism...The tube must be turned round by the hand of the observer until the coloured star entirely disappears, while the disc in the centre remains red...The instrument may be furnished with a graduated quadrant for the purpose of adapting it to any latitude...
Can be used in places where a sundial will not work such as the North side of a mountain.
Fig 20 is of a less accurate version but much simpler in construction. Requires individual strips of polarizing material be installed at precise angles.
Biological Examples
It turns out that birds and insects use sky polarization for navigation. Note this works even when the Sun (or shadows) are not present like on the North side of a mountain or in cloudy weather.
A Bionic Polarization Navigation Sensor and Its Calibration Method, 2016 -
Field studies were made prior to building the sensor using a PANalytical Company ASD spectroradiometer.
The simulated insect sensor consists of :
4 optical units, each of which has a polarizing filter then a 400 to 500 nm band pass filter atop a tube 56.5mm long with a diameter to achieve a 10 degree total included view angle shining on a Qingyue Tech QY-S114QM photodiode which has a sensitivity of 0.25Amps/Watt in the 400 to 500 nm band.
The output of each sensor is amplified by a TI LOG104 amplifier.
The 4 optics are mounted with their polarizing filters at 0, 45, 90 & 135 degrees and all pointed in the same direction.
How dim is dim? Precision of the celestial compass in moonlight and sunlight, 2011 - So this works with moonlight.
Aircraft Experimental Polarized Skylight Compass
This is located on this web page because it was listed in relation the Periscopic Compass (see above). But it really bears a much stronger relationship to the Astro-Compass Mk II.
eBay title: "Vintage WADC Compass, Polarized Skylight XME- I Model IV Astrodome w/wooden case".
The label on the instrument reads:
Compass, Polarized Skylight.
Astrodome
Type XME-1
Model No. IV
Ser. No. 4
Mfg by WADC
U.S. Property.
The label on the carrying case reads the same:
Compass, Polarized Skylight.
Astrodome
Type XME-1
Model No. IV
Ser. No. 4
Mfg by WADC
U.S. Property.
The bubble level plate shows the image of a single propeller airplane, so maybe for use on aircraft.
But the leveling feet usually are found on ground based instruments.
When looking East or West the central dot appears dark. When looking North or South the central dot appears white. But the tube is jammed because of the tar.
Fig 0 From eBay
Fig 1 The carry strap is very soft (rotted).
Fig 2 The prior foam is very sticky.
The carry case looks very similar (identical?) to the carry case for the Astro-Compass Mk II.
Fig 3 The foam has turned into tar that now
prevents the rotation of the tube.
Fig 4 White alignment line at top with provision to attach alignment telescope.
Note the bubble level& Alignment assembly is identical to that on the Astro-Compass Mk II.
Fig 5 The base for Astro-Compass Mk II may fit.
![]() |
|
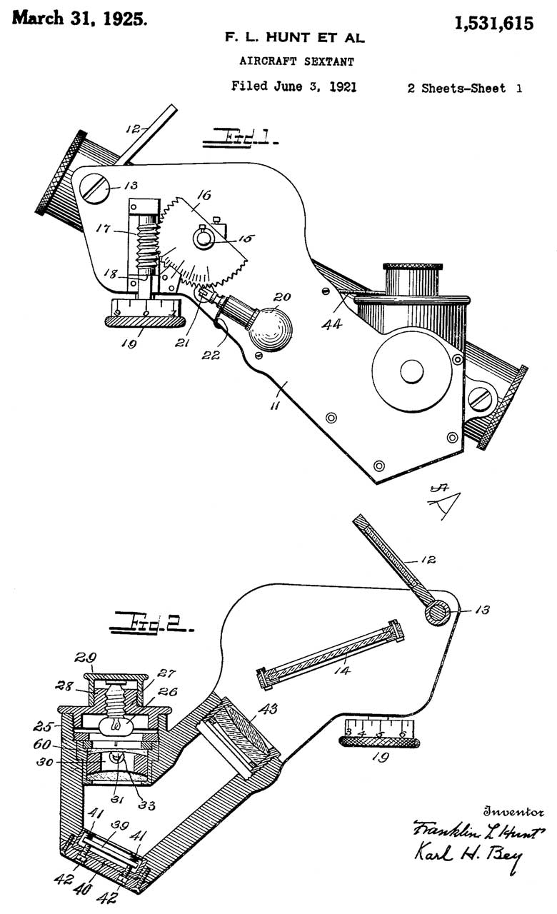
1531615 Aircraft Sextant, Franklin L Hunt, Karl H Beij, Mar 31 1925, 356/148; 362/23 - A Bubble sextant (Wiki) - maybe the first "Aircraft Sextant"? |
| 1674550
Liquid Level, Franklin
L Hunt & Karl
H Beij, Jun 19 1928, 33/380; 33/390 - |
||
| 1703705
Means for Determining Altitude, Karl
H Beij, Feb 26 1929 356/148; 362/ - based on
a sextant |
||
| 2266741 Panoramic sextant, Carl J Cranc, Thomas L Thurlow, Samuel M Burka,1941-12-23, - for aircraft | ||
| 2280798
Panoramic sextant, Carl
J Cranc, Samuel
M Burka, App: 1940-03-14, W.W.II, Pub: 1942-04-28,
- for aircraft |
||
| 2306874
Liquid Level, Edward
F Flint, Bausch
and Lomb, Dec 29 1942, 33/380; 33/390 - A-8
sextant |
||
| 2313734
Temperature compensated bubble for panoramic sextants, Carl
J Crane, Samuel
M Burka, Priority: 1940-03-14. W.W.II, Pub:
1943-03-16, - |
||
| 2344241 Illuminated bubble level, Edward F Flint, Bausch and Lomb, 1944-03-14, - A-8 sextant | ||
![]() |
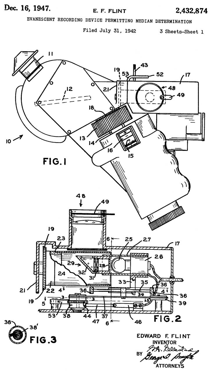
2432874
Evanescent recording device permitting median
determination, Edward
F Flint, Bausch
and Lomb, App: 1942-07-31, W.W.II, Pub:
1947-12-16, - Aircraft A-8 Bubble Sextant (with
averaging) |
2986966Stabilized optical system, Braddon Frederick D, Mccartney Earl J (Sperry Rand), Jun 6, 1961, 356/149, 359/556, 359/557 - Celestial navigation from submarine periscope - cold war nuke prior to Transit satellite
3269253 Periscope sextant, Tno, Aug 30, 1966, 356/144, 356/143 - for submarines, but has good list of reference patents.
Cited Patent Filing date Publication date Applicant Title US1006230 * Oct 28, 1909 Oct 17, 1911 F.L.G. Kollmorgen
Keuffel & Esser CoPeriscope. Classical. Had prism to keep bottom of image down,
by rotating prism 1/2 angle of objective.
Relay lens system to allow extending retracting.
US1937378 * May 2, 1933 Nov 28, 1933 Gen Electric Sound-motion picture producer US2384209 * Jul 13, 1940 Sep 4, 1945 Sukumlyn Thomas W Method of producing optical wedges US2408495 * Jun 19, 1945 Oct 1, 1946 Hudson Wager Robert Smoke inspection device US2505819 * Jul 26, 1945 May 2, 1950 Sperry Corp Panoramic sextant having gyro stabilized reticle US2534543 * Jul 21, 1947 Dec 19, 1950 Andrew J Bramlette Light concentrating reflector camera US2579903 * Jun 16, 1948 Dec 25, 1951 Kollsman Instr Corp Periscopic sextant (see above)
US2758500 * Jul 28, 1952 Aug 14, 1956 Kollsman Instr Corp Optical artificial horizon US2819404 * May 20, 1952 Jan 7, 1958 Gunther Herrnring Optical image-forming mirror systems having aspherical reflecting surfaces FR338386A *
Title not available
Navigation
Mk II Astro Compass
MD-1 Automatic Astro Compass
Periscopic Sextant (used on the P-3, see Hickory Aviation Museum virtual tour below)
Ref 1. Kollsman Handeld Aircraft Sextant (bubble Type) (MA-2-Manual.pdf)
Kollsman Type No.
1972-01
Air Force Type
MA-2
Air Force Stk No.
6625-1972-01
S385-1100-257, 8 pages -
Ref 2. TO 5N10-3-2-21
Ref 3. YouTube:Navigator, 7:51 - explanation of periscopic sextant operation - SECRET about bubble size "The sextant needs to be tipped over 45 degrees when adjusting bubble".
Ref 4. Navy Mechanical Fire Control Computers (2/2), Component Solvers, Integrators and Mjultipliers, 22:42 - 9:02 Disk Integrator, 16:40 Multipliers,
Ref 5. The Mechanical Integrator - a machine that does calculus, 10:22 - Demo starts @ 3:44,
Ref 6.Celestial navigation aloft: aeronautical sextants in the US by DeborahWarner, 25 pgs,
1376327 Fine-motion device for surveying and other instruments, Ernst G Fischer, 1921-04-26, - faster and easier than the classic tangent screw. Note 7: "rapid release lever for a sextant's micrometer that remained in use for many years."
1386695 Artificial horizon, Fischer Ernst Georg, 1921-08-09, - note 6: pendulum works but heavy in use.
1392263 Apparatus for determining angular elevation or depression of distant objects, Booth Lionel Barton, 1921-09-27, - Note 32:
1409938 Artificial horizon, Ernst G Fischer, 1922-03-21, - Note 6:
1531615 Aircraft sextant, Franklin L Hunt, Karl H Beij, 1925-03-31, - Note 33:
1536286 Attachment for sextants, Florez Luis De, 1925-05-05, - bubble replaces seeing horizon. Note: 12:
1674550 Liquid level, Franklin L Hunt, Karl H Beij, 1928-06-19, - Note 37:
1703705 Means for determining altitude, Karl H Beij, 1929-02-26, - bubble sextant; Note 37:
1705146 Instrument including means for determining the horizontal direction, Arthur H Brooks, Brandis & Sons, 1929-03-12, - Note 5:
1743979 Sextant, Lawrence Radford, Noel Davis, American Sextant Crop, 1930-01-14, - Note 24:
1834017 Optical instrument, Victor E Carbonara, Pioneer Instrument Co, 1931-12-01, - similar to a surveyor's hand level, but intended to be part of an bubble octant.
1885428 Liquid level, George B Gallasch, Bausch and Lomb, 1932-11-01, -
1970543 Navigating instrument, Victor E Carbonara, Pioneer Instrument Co, 1934-08-21, - Note 48:
D85912 Sextant, Victor E Carbonara, Bendix Corp, 1932-01-05, - Note 48:
2080851 Sextant, George B Gallasch, Henry F Kurtz, Bausch and Lomb, 1937-05-18, - Note 43:
2092758 Sextant, Julius F Hellweg, 1937-09-14, - Note 60:
2144696 Liquid level, Weniger Richard, 1939-01-24, - Note 54:
2145347 Calculating mechanism for measuring instruments, Everitt Philip Francis, Hughes Henry and Son, 1939-01-31, - Note 64:
2162767 Averaging device for observation instruments, Thomas L Thurlow, 1939-06-20, - Note 65
2173142 Optical system for sextants and the like, Thomas L Thurlow, Samuel M Burka, 1939-09-19, - Note 84:
2221152 Illuminating means for navigating instruments, Gregory V Rylsky, Bendix Aviation, 1940-11-12, - Note 78:
2266741 Panoramic sextant, Carl J Crane, Thomas L Thurlow, Samuel M Burka, 1941-12-23, - Note 109:
2285856 Means for evaluating and indicating the average value of successive time observations, Everitt Philip Francis, Henry Hughes & Sons, 1942-06-09, -
Median sextants, like the Fairchild A-10 are different from averaging instruments like the periscopic sextant.
2306874 Liquid level, Edward F Flint, Bausch and Lomb, 1942-12-29, - Note 45:
2340324 Octant time and altitude correlating device, Ira E Hobbs, 1944-02-01, - Note 77:
2349506 Recording navigation instrument, Lowkrantz Gunne, Jr Edwin A Link, Link Aviation, 1944-05-23, - Note 102:
D132977 Case for an octant or the like, Harold A Marsh, Link Aviation, 1942-07-07, - Note 102:
2359484 Navigation instrument, Jr Edwin A Link, Harold A Marsh, Link Aviation, 1944-10-03, - Note 102:
2395559 Navigation instrument, including a horizon attachment, Edwin A Link, 1946-02-26, - for viewing the real horizon; Note 105:
2406211 Bubble cell, Edward F Flint, Bausch and Lomb, 1946-08-20, - Note 45:
2516187 Calculating instrument, Deimel Richard Francis, Black William Alexander, General Time Corp, 1950-07-25, - see Averager Patents above; Note 118:
2554010 see Drawing & Patent: Note 116:
2579903 the subject of this web page, i.e. the Periscopic Sextant; Note 116:
A New Periscopic Sextant - Navigation, Volume 1, Issue 11, Virginia Withington - "A transparent astrodome in the top of an airplane permits the use of a hand-held sextant of modified periscopic design, but when installed in a pressurized aircraft its use involves a risk which has sometimes proved fatal to the observer."
History of the Sextant - page 2 with various aircraft sextants
Celestaire - Navy Mark V without Averager - Navy Mark V with Averager -
Garcia Avation - pricey
Deutsche Optik
Helmut Singer Elektronik - stock varies
JANS of London -Instruments - Significant events in the evolution of marine navigational instruments
Kollsman -has licensed Carp Industries. (CAGE 0D9X5) to mfg these systems.CARP INDUSTRIES INC, 4550 U S HWY 1, GRANT, FL 32949NavList: A Community Devoted to the Preservation and Practice of Celestial Navigation and Other Methods of Traditional Position-Finding
CAGE CODE: 0D9X5, Status: A - Active
DUNS Number: 194909032
Voice Telephone: 321-952-1303
County: BREVARD
SICs: 3728 Current List of SIC Codes
Date CAGE Code Established: 09/26/1988
Last Updated: 01/04/2001
Carp Industries - Kollsman out-of-production spare parts - Installation & Operation Instructions, Pub #S332C-300-961 dated 09/61 - Government type high prices
Celestial navigation aloft: Aeronautical sextants in the US by Deborah Warner
Hickory Aviation Museum - P3-C interactive tour - Grab circle behind pilot's seat and look up to see this periscope sextant mounted in ceiling of P-3.
Back to Brooke's PRC68, Alphanumeric web page Index, Products for Sale, Contact, Navigation, Military Information, Home
page created 6 Aug 2001.