I grew up as sports cars were just being introduced to the U.S. There was a BMC (British Motor Cars) dealer in each town of any size selling the MG, Sprite, Austin-Healy, Jaguar, Rolls Royce, Bentley, Rover, or Morris Minor etc. You could order a Morgan. With a last name of Clarke you can see that I have a leaning to British iron.
| Utility |
Luxury |
| Performance |
Economy |
I feel that electric vehicles are being sold with the idea that electricity is "clean", i.e. there's no carbon footprint, which is just not at all the case. The electricity needs to come from somewhere. The existing electrical grid is designed with excess capacity so that a generation plant can be throttled up or down to match the current load. This is not something that that solar PV or wind generators can currently do.
As every new electrical load, including car chargers, is connected to the electrical grid, the grid's capacity is lowered. We are now to the point that there are brown and black outs because the existing grid no longer has the head room needed for stability.
The cause of this is the lack of new generation plants. Ideally they would be nuclear if lowering carbon emissions is a priority, but natural gas fired plants are much better than coal fired plants. But as far as I can tell there are no new electrical generating plants being built while we are switching how energy is delivered to use more electricity than before.
Until there is a practical way to store energy at the grid level we will need classical electrical generation plants (coal, gas, nuclear, or hydro) that can be throttled up and down for load leveling.
The Spectator, 2024March30: Going electric requires electricity. Who knew? - based on a NYT story: 'A New Surge in Power Use is Threatening US Climate Goals'
Also see: 2025 April 28 12:33 CEST Iberian Peninsula Blackout -
People seem to think the electricity is a clean source of energy. It is not. Electricity is just a way to transport energy.
While watching the YouTube: "
Visiting Scholar Charles Falco on: "The Art and Science of the Motorcycle" I discovered why sports cars were developed in Europe while American cars are more like boats.
The U.S. has many roads that go in a straight line for hundreds of miles, but in Europe there are no straight roads. If you drive in Europe you need something that is good at making turns, not so much in the U.S.
When in high school I rode a 3-speed bicycle. It used what today is called an Internal Gear Hub.
Later I got a 165cc Harley-Davidson Hummer motorcycle (Wiki). Maybe a Super 10?
The dealer was near my uncle's house in Salinas, CA. The dealer, Larry Ketzel, was riding a dirt bike in the Nevada desert and was contaminated by an atomic bomb test, according to my uncle. Around 1960 I crashed it dislocating my right shoulder and probably damaging my lower back.
Also had a BSA 500cc Gold Star single cylinder dirt motorcycle (Wiki).
Aug 29, 2011 Motorcycle Show in Ukiah, CA H-D XR750 photos. June 17, 2012 Car Show in Santa Rosa, CA
In Taiwan there are probably more motor scooters than people.
See: Three Wheelers, Motorized Bicycles, Tilting Three Wheelers, 3 Wheel Recumbent Electric Bikes, Bicycle Science, Addmotor M-360 Fat Tire eTrike
Expansion Chamber (Wiki, Wiki)) - the Harley 2-stroke did not have an expansion chamber. A local company, Factory Pipe, here in Ukiah makes expansion chamber exhaust systems.
5785014 Expansion chamber for two-cycle engine, Gary R. Cornwell, 1998-07-28, - an improvement on the prior art 2-stroke expansion chamber.
What’s the point of three-wheeled cars?, 13:37 - It's not a car with less, but rather a motorcycle with more
I ordered these (*) based on how much I liked them and it turns out they are in weight order.
Make
Model
Weight
lbs
Wheel
Base"
Len"
Width"
BMC*
Mk II Sprite 1543
80
130
53
Smart
W450
1609
71
100
59
Mazda*
MX-5 2210
89
156
66
BMW
Mini (R50)
2315
97
143
67
BMW*
Z1
2760
96
154
67
Honda*
S2000 AP1
2809
95
162
69
I expect the Mk II Sprite and Smart car have questionable safety. So it looks like the Mazda MX-5 is at the top of the list for a modern road worthy Light Weight Sports car. Let me know if you know of a contender.
Genius & Stupidity - The Mini Story, 30:44 - (Wiki: Mini), 1959 - 2000 a UK product, 1975 British Leyland bankrupt, 1994/1995 BMW takes over the Mini. U.S. sales stopped in 1968 because of safety standards. The 427 Cobra that I ordered to be a new 1967 model ended up being sold as a 1966 model because it did not meet California safety and smog standards which set the pace for the US.
Mk II Sprites (1961 - 1964)
I had a red 1962 Mk II Sprite (Wiki) with the 948 cc engine that was my daily driver. Bought it from San Jose BMC after the Palo Alto store salesmen would not talk to me (they were very snobby). My brother liked this car so he bought a green 1964 Mk II (Wiki) and not long after that blew the engine or transmission (forget the details). I sold my sprite to a friend and bought my brother's car.
Repaired the damage and also made major racing type modifications so that I could autocross on weekends. (Won some trophies) A measure of the handling was that you could drive through a freeway on/off ramp at double the posted speed without drifting. The parts came from the San Francisco BMC dealer (Joe Huffaker Sr.) who was racing a number of BMC (Wiki) cars as well as building the Genie (RSC) two seat sports racing car similar to the Lotus two seat sports car.
The engine was brought up to Formula Ford specifications. I could order parts from S.F. BMC in the morning and have them shipped via Greyhound bus to the Mountain View station and pick them up after work. Mag wheels with some positive offset to increase the track (which required cutting a lot of notches inside the wheel well lip and bending each tab up adding maybe 1/2" clearance between the tire and body sheet metal. Larger tires were fitted to the Mag wheels. A flange in front of the muffler allowed removing it and adding a straight pipe for a little more power and more sound. The anti-Sway bar from a Simca (Wiki) was added to the front to stiffen it up for better cornering.
All the Sprites had "Ouija board" (Wiki) steering. By that I mean that you pretty much just thought about where you want the car to go and magically that's where it goes. The steering was very fast and light without any power assist because the car was light. I would rank the 1964 Sprite, after the modifications, as the most fun car I've driven.
The Sprite Car Club of Australia Inc. -
British Sprite Site -
YouTube: The Tiny Sports Car that Changed the World, 16:28: @8:10 Austin Healy Bugeye Sprite w/948cc in-line four engine w/single SU carb, @9:30 Spridget, Trunk lid added and dual SU carbs, @11:25 1962 1098cc engine, like all the prior versions bolt on windows, roadster, i.e. top in trunk when not in use along with windows. @11:50 1972 1275cc engine, 1974 1500 cc engine. @12:30 Mazda Miata MX-5 (Wiki) designed to be a spridget in spirit.
John Sprinzel's Austin-Healey Sebring Sprite - maybe last updated 2016?
Later traded the '64 for the 427 Cobra.
Bug Eye, Frog Eye Mk 1 Sprite
Also had a Mk 1 "Bug Eye" sprite which my brother painted orange, but it needed a new engine which I never got around to installing. These were made between 1958 - 1961.
Austin Healey Frogeye Sprite Goes for a Drive, 12:29 - The front bonnet is very heavy.
YouTube: The Austin-Healey 'Frogeye' Sprite is a Tiny and Cute 1950s Sports Car, 13:08 -
2025 July 17 YouTube: The Bizarre Design History of the Frogeye Sprite, 11:33 -
Mazda MX-5
As described in the paragraph on the Mk II Sprites, the MX-5 was designed to be like a sprite, i.e. very fun to drive. It turns out that a number of fun to drive car kits are based on using an MX-5 as the donor car.
Miata Kit Car - 18 kits as of Aug 2023
1930 Alfa Tipo 184 open wheel racer (does not look to be street legal). YouTube:The Tipo 184 Assembly Guide, 47:26 -
** THE NEW Mazda MX-5 2023 | In-depth review...!, 39:50 -
Overview 00:00
Background 00:49
Driving experience 03:58
Design and build 14:47
Market and model range 25:57
Cost of ownership 32:21
Summary 36:53
Blackwell Sports Cars: SPR1 Coupe - just a change in body shape
Bauer Catfish -
MEV Exocet - has the look and feel of a Lotus Super 7 or Aerial Atom, i.e.new tube frame
Great British Sports Cars: The Zero - a Super & look alike.
MK sports Cars - pseudo Super 7
Exomotive (Atlanta Georgia) - Exocet: Base ($8k), Sport ($8.3k) & Racing ($9k)
Tribute Automotive: just a body change
Enigma Cars USA - new frame, sort of an Austin Healy
Mitsuoka-motor: Rock Star - pseudo corvette
S2Racing: mostly body change
Simpson Design - very high end custom cars
BMW Z (Wiki)
Honda LWS
S2000 (Wiki)
In the process of writing the computer program for analyzing the performance of the 427 Cobra I learned how tires work. It's really simple, but not easy to find. There is a "contact patch" on the ground where the tire flattens. For example if you put carbon paper under the tire and lowered it onto the ground then lifted the tire up, you could measure the contact patch area. If the tire pressure is multiplied by the patch area you get the weight on that tire. Note that when air filled tires came out they were called balloon tires, not because of size, but rather because the sidewall has no weight carrying function. It works in the same way a balloon would where the pressure in the tire holds the weight, not anything about it's construction. The Wiki bicycle tire web page does not get this. They also don't understand that inflation pressure times contact patch equals the weight on that tire. So a skinny tire will need higher inflation pressure for a given weight. This is why European derailer bikes with skinny tires require more inflation pressure than older American 3-speed bikes with fat tires. Vehicles that are going to drive in mud, snow, sand &Etc. must have low ground loading (= Tire pressure) so use "fat" tires or tracks.
You can see that the tire must be sized such that at the inflation pressure there is enough contact patch to support the weight. That's why tires that need to carry heavy loads are big. In the case of trailer tires that need to be small, they have high inflation pressures to make up for their small size.
In the case of AA fuel dragsters and funny cars the tires start out "under inflated" so the rolling radius is shorter than it would be if the tire was inflated more. As the car (and the tire) picks up speed the tire expands increasing its rolling radius and therefore acting as a variable transmission. On these very fast cars the effect is quite pronounced.
There are two fundamentally different tread designs. Tires for motorcycles and bicycles that lean in turns must have a tread that wraps around so that in a turn there's tread on the ground. Early cars, for example those that used a parallel wishbone suspension, also leaned in turns and so had tires similar to a motorcycle. But more modern cars (427 Cobra) have suspensions where the outside tire stays pretty square to the road and so can make use of wide flat top treads.
The rolling resistance (Wiki) of a tire is a measure of how easy it is to push it. It turns out that the larger in diameter a tire is the lower it's rolling resistance. You can get a feel for that by seeing that when a small caster hits a piece of gravel it will stop, but when a large diameter bicycle tire hits the same piece of gravel it easily goes over it. This is because of the mechanical advantage the the longer lever arm has. Where, by lever arm, I mean the triangle formed by the center of the contact patch, the length along the ground to between that center and the gravel and the height of the gravel.
Coefficient of Friction of a tire (Wiki) relates to how well a tire grips the road. Up into the late 1960s it was thought that the limit was 1.0, that's to say that a tire could only have a braking, cornering or acceleration that was limited to the weight on the tire. Note that crawler tractors can have a drawbar pull (Wiki) that is far in excess of the tractor weight because there are cleats on the tracks that dig into the ground. The exceptions are things like AA Fuel dragsters (Wiki) which use very soft rubber tires that "cog" into the pavement and then shear off the rubber. The thing that allows the short 1/4 times is the Coefficient of Friction (>>1) that in turn allows acceleration higher than 1 G. A street car that was an exception was a Corvette where each tire was different. It could corner slightly above 1 G. (FastestLaps: 2005 C6 Corvette Z06, 1.06G)
One way to check tire inflation on a race car is to measure the temperature of the tread (Wiki) at the outside, center and inside of the tire. These should be about the same. If the center temperature is significantly higher than the inside and outside then the tire is over inflated.
But for most cars the limit is the weight on the wheel (1 G). Tractor Pulling contests (Wiki) measure the drawbar pulling capacity of various vehicles with tires (not tracks).
The Contact Patch (Wiki) area times the inflation pressure is nominally the load on that wheel. But not exactly. See: Truck Tire Types and Road Contact Pressures, by Pedro Yap (pdf), June 1989 for subtle variations and why they occur.
YouTube:Why LS Engines Destroy LT Engines Still😭 | Explained Ep.1, 9:03 - Starts off "October First 1996 . . . GM starts production of the C5 Corvette (Wiki) with it's LS1 V8." All The LS Engines Explained, 1:00 - Wiki: LS-based engines -
YouTube:
Liters
Config
HP
Metal
k$
Year
Model
LS1
5.7
V8
350
Al
2.2
1997
4G Camaro
C5 Corvette
LS2
6.0
V8
400
Al
4
2005
C6 Corvette
GTO
LS3
6.2
V8
430
Al
6
2008
5G Camaro
later C6 Corvette
LS4
5.3
Transverse
V8
303
Al
1.5
2005
Impalla SS
Front Wheel Drive
LS6
5.7
V8
400
Al
3
2001
C5 ZO6 Corvette
LS7
7.0
Bespoke
V8
505
Al
10
2006
C6 ZO6 Corvette
Al frame
Ultimate front engine Corvette
Holden W427
LSA
6.2
Supercharged
V8
556
Al
8 - 10
2009
CTS-V Cadallac
LS9
6.2
Supercharged
V8638
Al
15
2009
ZR1 Corvette
YouTube: Why Z06 Corvette Engines Are Too Powerful💀| Explained Ep.14, 9:06 - @7:43: C8 ZO6 LT6 Corvette, Flat-Plane crank, 640HP
Tire Load Sensitivity
2019 July 11, While watching this YouTube: Mike on Bikes: Motorcycle Traction EXPLAINED - says because of Tire Load Sensitivity (Wiki) - tires with lighter loading have more traction. I have the book "Formula 1 Technology" by the SAE on order. Comments to the YouTube:Why Do Wider Tires Have More Grip? Tire Load Sensitivity - mentioned the book "Tune to Win" which also is on order. The presenter does not understand balloon tire physics.. If the load increases the contact patch area must increase!
A possible explanation for this contradiction is that a contour plot of the pressure across the contact patch shows some variation, i.e. the product of area and pressure needs to be integrated over the patch area. This might happen if the tread part of the tire was stiff while the sidewalls were very flexible. An image might be a stiff cylinder (the tread) supported by an internal toroidal balloon.
If this is the explanation then Tire Load Sensitivity may depend on the construction of a specific tire and is not a universal property of all tires.My gut feel about "Tire Load Sensitivity" is that there are special conditions that need to be understood. That's to say I doubt it applies to all tires under all conditions. For example the plot on the Wiki page for Tire Load Sensitivity came from Paradigm Shift Racing who's business is teaching drivers. It's not clear where they got the curve or under what conditions it applies. I have their book "The Perfect Corner: A Driver's Step-By-Step Guide to Finding Their Own Optimal Line Through the Physics of Racing" on order.
In the Master of Science thesis paper: "Estimation of vertical load on a tire from contact patch length and its use in vehicle stability control". The contact patch length is measured to infer the contact patch area, hence the dynamic load on the tire.
Books
Tune to Win by Carroll Smith, 1978 - no index, no references. I have the feeling that the book relates actual racing experience. Says that as the load increases the patch size does not increase. This book assumes modern wide racing tires with suspension that keeps them very close to square to the ground, not older motorcycle type tires on cars with a lot of body lean and parallel link suspensions. Anti Dive and Anti Squat: pg 34. Toe-In and Bump Steer: pg 62
Formula 1 Technology, Peter Wright (SAE), 2001, ISBN: 0-7680-0234-6 - Chapter 7 Tires: Tire Load Sensitivity (pg 108). "The other characteristic of interest to the chassis engineer is the sensitivity of the tires to vertical load However, in practice the peak load increases from very low loads and then falls again as the ratio of vertical load. There is a limit to the loads that the tire will carry. This characteristic is used by the chassis engineer to tune the cornering capability of each end of the car, by using the anti-roll bar to load up the outside tire on that axle and relieve the load on the outside tire of the other axle."
Speed Rating When buying tires for the 427 Cobra where the top speed was around 155 MPH, the speed rating needed to be equal or greater than that number. See Goodyear speed ratings where W, Y or Z rated tires are needed.
Balancing
Found many patents for this machine. Seen on YouTube: How wheel balancing was done in the 1960´s, 12:06
https://patents.google.com/?q=(balance)&assignee=Beissbarth&sort=old
On the Google patent page in the upper right is a link to eSpacenet and when on the description tab there is a machine translation drop down into many languages.728315 Instrument for locating overbalance in revolving bodies, Oscar Snell, 1903-05-19, -
2196031 Wheel balancer, Henry C Schildmeier, 1940-04-02, -
Cited by:
Patent Priority Pub Assignee TitleUS2547764 1947-09-16 1951-04-03 Lion Mfg Inc Method and apparatus for balancing rotorsUS2690075 1950-10-18 1954-09-28 Raymond S Kryeske Apparatus for dynamic balancingUS2722828 1951-11-05 1955-11-08 Bear Mfg Co Means for testing the condition of balance of rotating bodiesUS2751262 1952-01-25 1956-06-19 Schenck Gmbh Carl Resilient bearing support for balancing machinesDE951893 1952-12-03 1956-11-08 Dr Hermann H Beissbarth Dynamic balancing machine for motor vehicle wheelsUS2953923 1955-11-21 1960-09-27 Harry W Moore Balancing machineUS3205713 1962-04-04 1965-09-14 Int Research & Dev Co Ltd Transistorized vibration measurement apparatusUS3535938 1968-02-20 1970-10-27 FMC Corp Wheel balancing device
Schrader valve (Wiki)
Trivia question: What part of a bicycle/car has not changed since the late 1800s? answer: the Schrader Valve (Wiki).
The first patent by G. H. F. Schrader (473673 Apr 26, 1892) was for a valve that depended on the pressure differential between the inflation side and the tire side, but this did not work well (see below) . The next patent added a spring to keep the valve closed and depends on the inflation hose to have a prong to open the valve.It turns out that these are a potential source of air leaks. If you get new tires at Costco they replace the valve steams as policy. Note for tubeless tires the valve steam is part of the wheel and may be as old as the car. When inner tubes were common the valve steam got replaced whenever the tube was replaced. So, in today's world the valve steams (and maybe the valve body) should be replaced when the tires are replaced.
483172 Valve for Pneumatic Tires, George H. F. Schrader, son of August Schrader (Wiki), Sep 27, 1892, 137/233; 137/550; 152/429 - uses spring. This also allows a tire to be deflated by using the special cap in an inverted position.
Balloon Tire Gauge
2049532 Pressure Gauge, Selden T Williams, A Schrader's Son Inc, Aug 4, 1936 73/709, 73/744 - there were many prior tire pressure gauges by Schrader, maybe the most popular. Has shirt pocket clip and deflating tip, angled head for easy use.
Fig 1 Patent Dates:
Nov. 25, 1919 (1322884)
Apr. 10, 1923 (1451307)
Other Pat. Pend.
Fig 2
Schrader
Reg. U.S. Pat. Off.
Balloon Tire Gauge
Manufactured by
A. Schrader's Son, Inc.
Brooklyn, N.Y. U.S.A.
Patd. Nov. 25, 1919
![]()
Fig 10 Schrader
Reg. U.S. Pat. Off.
---->----><><----<----
SERVICE TIRE GAUGE
---->----><><----<----Manufactured by
A. Schrader's Son, Inc.
Brooklyn N.Y. U.S.A.
Pat. Nov. 25, 1919 (1322884) Apr. 10, 1923 (1451307) Other Pat. Pend.
2049532 Pressure Gauge
1322884 Pressure-Gauge
1322884 Pressure-Gauge, Erich Edelmann, Schrader,s Son Inc, Filed: Oct 25, 1911 Pub: Nov 25, 1919, 73/709, 73/744 -
1451307 Pressure gauge, Charles Schweinert Maximilian, Kraft Henry P, Schraders Son Inc, Filed: Mar 28, 1910 (13 year delay) Pub: Apr 10, 1923, 73/709, 73/744 -
2049532 Pressure Gauge, S.T. Williams, Schraders Son Inc, Aug 4, 1936, 73/709, 73/744 - looks like this one
Tire Pump
Bridgeport Brass Co. also has a number of patents on machinery to make valve stems so they must have made a very large number of them: 1794143, 1878575, 1880405, 1948466, 2346413, 2359339, 2365208, 2415552, 2438692,
838219 Nipple connection and valve-opener, William S Stapley, Bridgeport Brass Co, 1906-12-11, 137/231 - free nut screws on spring loaded plunger depresses stem.847617 Mode of attaching pump-tubes to bases, William S Stapley, Bridgeport Brass Co, 1907-03-19, 403/282; 220/628; 403/361; 220/615; 403/360; 403/375 -
855026 Tire-pump, William S Stapley, Bridgeport Brass Co, 1907-05-28, 417/260; 417/262; 417/486 - dual folding wire bail foot hold downs, top mounted outlet with pressure gauge, double acting, side rod, coaxial dual cylinders
866080 Cartridge-clip, William S Stapley, Bridgeport Brass Co, 1907-09-17, - probably for the M1903 Springfield rifle (Wiki) to hold .30-06 cartridges (Wiki Thirty ought six)
882215 Tire-pump, William S Stapley, Bridgeport Brass Co, 1908-03-17, 417/254; 417/486; 417/487 - fixed base, bottom outlet, double acting, side rod
947513 Tire-pump, William S Stapley, Bridgeport Brass Co, 1910-01-25, 92/146; 285/215; 417/268 -double acting (twin tubes), top outlet, threaded collor holds tubes to base,
959894 Tire-pump, William S Stapley, COE-Stapley Mfg Co, 1910-05-31, 417/254; 417/486 - double acting (twin cylinder)
1047409 Pneumatic-tire pump-coupling, Reginald F Hersey, 1912-12-17, 285/356; 285/179; 285/358 - screws on then lever depresses valve stem
1191510 Tire-pump, George I Hipple, 1916-07-18, 92/58.1; 92/118 - foot operated parallelogram-piston
1340785 Tire-pump connection, Joseph B Mcmullin, Western Mfg, 1920-05-18, 285/34; 285/312; 285/322 -
1368871 Air-valve, Oscar H Wisenant, 1921-02-15, 137/229; 251/77 - "It is particularly designed for blowing up pneumatic tires and ging the pressure therein."
1846189 Inflating nipple, William P Downs, Bridgeport Brass Co, 1932-02-23, 137/231 - coupling at end of pump tube - poor design
2075167 Pneumatic valve inside construction, Lewis C Broecker, Bridgeport Brass Co, 1937-03-30, 137/234.5; 251/356 - has narrow bar on threads that's now common
2103108 Pneumatic valve, Lewis C Broecker, Ferguson John, Bridgeport Brass Co, 1937-12-21, 137/234.5 - stem has stamped winds that hold spring
2142044 Pneumatic valve insides construction, Lewis C Broecker, Bridgeport Brass Co, 1938-12-27, 137/234.5 - very similar to modern vale except stem is in two parts.
2145218 Valve stem, Lewis C Broecker, Bridgeport Brass Co, 1939-01-24, 152/427; 138/89.3; 152/430; 152/DIG.7 - rubber vulcanized at base of steam.
2228984 Pneumatic tire valve, Lewis C Broecker, Bridgeport Brass Co, 1941-01-14 137/231; 251/322; 137/234.5 - larger opening to allow adding water like for tractor tires.
2240129 Valve, Lewis C Broecker, Bridgeport Brass Co,1941-04-29, 137/223; 152/DIG.7 - valve stem is above threads so easy to get pressed, poor design
2459716 Tire pump connection, John M Nickelsen, Henry W Emerick, Monroe Auto Equipment, (Brisk Blast) 1949-01-18, 137/223; 137/512.3; 251/149.4 - includes ball check valve in coupling not pump body
Cites:2837134 Tubeless tire valve stem, Donald E Steer, Bridgeport Brass Co, 1958-06-03, 152/427; 285/206; 152/DIG.11; 285/192 -
387064 Fire-extinguisher for railway-cars
838219 Nipple connection and valve-opener, William S Stapley, Bridgeport Brass Co, 1906-12-11, 137/231 - free nut screws on spring loaded plunger depresses stem.
909373 Pressure-controlling valve for tire-pumps, John Desmond, Artizan Brass, 1909-01-12, 141/197; 137/557; 141/384; 417/311; 137/224.5; 184/105.2 - pressure regulator at foot of tire pump
1289451 Air Gage, Martin A Hougen, 1918-12-31, 137/227; 116/34R - has the look and feel of a Schrader tublar
1364441 Inflating-coupling, Henry P Kraft, 1921-01-04, 251/149.1 - does not screw on, just press
1492838 Device for transmitting compressed air to automobile tires, Lloyd W Dilweg, 1924-05-06, 152/415; 137/231; 141/38 - tire to tire
1503068 Inflating nozzle and tire gauge, Louis J Sladek, 1924-07-29, 137/227; 73/744; 73/732 - works with dial or stick type
1846189 Inflating nipple, William P Downs, Bridgeport Brass Co, 1932-02-23, 137/231 - coupling at end of pump tube - poor design
2189361 Dust screen valve mechanism - for use with air tools
3180349 Tubeless tire valve, Donald E Steer, Joseph W Smith, Bridgeport Brass Co, 1965-04-27, 137/223; 251/358; 251/364; 137/234.5 -
Multi cylinder engine spark plug based. - these include an intake valve to maximize the fresh air sucked in so that a minimal amount of gas fumes go into tire.
Enginair by G.H. Meiser & Co.
1888758 Attachment for an internal combustion engine, Charles J Costello, 1932-11-22, 137/512.3; 137/516.11 - remove spark plug and insert adapter to inflation hose. ball check valve at stem
2191968 Attachment for internal combustion engines, George H Meiser, 1940-02-27, 137/512.3; 137/516.11; 137/855 - ". ball check valve above spark plug.
2191969 Attachment for internal combustion engines, George H Meiser, 1940-02-27, 37/512.3; 137/855 -
2191970 Attachment for internal combustion engines, George H Meiser, 1940-02-27, 137/512.3; 137/855; 137/516.11 -
Peters And Russell (PAR)
Peters And Russel (PAR) was taken over by Jabsco which seems to be all related to marine/liquid pumps, not air pumps.
2200012 Pneumatic pump, Linus E Russell, George E Peters, PAR, 1940-05-07, 417/464; 92/58.1; 92/130R; 417/555.1; 92/130C; 92/240 - foot operated air pump
2455946 Linus E Russell, George E Peters, PAR,1948-12-14, 74/503; 92/240; 403/282; 403/349 - foot anchored hand pumped, the wood handle can be twisted and removed.
Pressure Differential to Inflate Tire
A question that came up on the PIC list was what pressure on the input side would be required to open the valve. A back of the envelope (BOTE) calculation by Denny E. is as follows:
Assumption - sealing surface 0.10" diameter Pi * r^2 = 0.00785 in^2 area Assumption - spring force = 1 lb force. Pressure = force /area 1/0.00785 = 127 psi Keep in mind that's plus whatever pressure is on the other side of the valve - which is further complicated because the area the seal contacts contributes to the closing force area, but does not contribute to the opening force area.
Speedometer
The speedometer was invented by Arthur (Wiki) & Charles Warner. After a decade of court battles Stewart & Clark Mfg Co and Warner Instrument Co merged in 1912 forming Stewart-Warner Co. (Made in Chicago Museum). While Chicago Flexible Shaft holds 314 patents, none of them is for a speedometer/tachometer.
Model T Ford Club of America -
A tachometer and speedometer is the same thing. The difference is what it's connected to.
729694 Flexible shaft, John K Stewart (alias for Terrance O-Brian), 1903-06-02, 464/117; 464/182 - rods with hinges, (Chicago Flexible Shaft Co: Made in Chicago Museum) used for horse and sheep shears.
731368 Speed-indicator, Miller Reese Hutchison, 1903-06-16, -
also see Hearing\Patents
745468 Magnetic tachometer, Arthur P Warner (Wiki), Charles H Warner, 1903-12-01, 73/520.01 - depends on magnetic coupling, side cable entrance
Jones Model 5 Speedometer
Dealer Cutaway demonstration model.
Photos courtesy of antonymous.
765841 Speedometer, Joseph W Jones, 1904-07-26, 73/534; 73/529; 116/62.1; 33/1R; 73/549 - operates like fly-ball governor, side cable entrance
Jones worked for American Graphophone Co around 1900, but it seems he became an inventor for hire shortly thereafter since he has patents in a number of very different areas. Most inventors work in one area. He may have been influenced by T.A. Edison who got a lot of publicity because of the large fortune he made on his patents related to Stock Tickets.
The similarity to a fly-ball governor is apparent.
The tattle Tale (see: 925814 below) needle can be reset by pushing knob (K).
Not sure what the black slot is just to the left of needle piviot & "New Your..."?
D39319 Speedometer Casing, J.W. Jones, 1908-05-26, D10/98; D10/70; D10/102 -
D49965 Speedometer Casing, J.W. Jones,1916-11-28
908775 Attachment for speedometers (mounting bracket), 1909-01-05
1005845 Odometer, 1911-10-17, -
1040344 Combined clock and indicating device, 1912-10-08
1040345 Combined road-map and odometer (turn by turn), 1912-10-08
1205353 Travel-recorder, Jones Speedometer, 1916-11-21 - circular plot of speed v. time of day.
Other Jones inventions:
Taxi Fare Register: 951077
Record Players: 604829 & 763903
815240 Flexible shaft, Arthur P Warner, Charles H Warner, 1906-03-13, 464/119; 464/148; 464/182 - rods with hinges, not modern spiral wound speedometer cable. (See: 427 Cobra Dash about left and right hand twist on Speedometer cables.)
823237 Magnetic tachometer, Arthur P Warner, Charles H Warner, Warner Instrument Co, 1906-06-12, 73/497; 73/520.01 - hand held for use with lathes & other machines
855676 Speedometer, John K Stewart, 1907-06-04, 73/534; 73/549 -
operates like fly-ball governor (Wiki),
side cable entrance,
not assigned to anyone. Maybe Terrance O-Brian (aka: John K Stewart) hiding something?
899055 Speedometer, Joseph W Jones, App: 1907-11-05, Pub: 1908-09-22, -
adds a couple of Veeder odometers.
925814 Maximum-hand for speedometer-indicators or the like (Tattle Tale), Joseph W Jones, App: 1907-05-18, Pub: 1909-06-22, 116/293; 188/1.11R; 73/491
995731 Magnetic speedometer, John K Stewart, 1911-06-20, 73/519.01 -
rear cable entrance
1028220 Speedometer, Joseph W Jones, App: 1908-08-07, Pub: 1912-06-04, 73/549; 116/57; 73/491; 235/97; 73/490 -
Combines speedometer and odometer in same case.
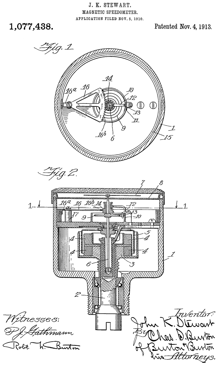
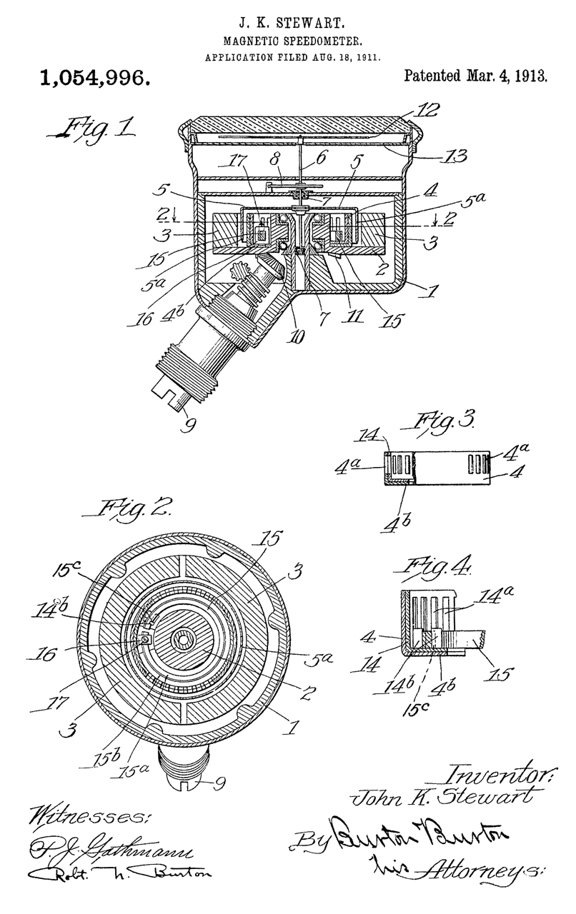
1054996 Magnetic speedometer, John K Stewart, Stewart Warner Speedometer Corp, 1913-03-04, 73/497; 235/103.5R; 73/520.01 -
45 degree cable entrance
1054997 Magnetic speedometer, John K Stewart, Stewart Warner Speedometer Corp, 1913-03-04, 73/520.01 -
1067463 Magnetic tachometer, Addi Benjamin Cadman, Stewart Warner Speedometer Corp, 1913-07-15, 73/497; 73/520.01 - for use on machinery (Warner Prior Art: 745468, 823237) adds temperature correction.
1070378 Magnetic speedometer, John K Stewart, Stewart Warner Speedometer Corp, 1913-08-12, 73/497; 73/520.01 -
45 deg cable connection angle -
Stewart brass 3" to 4" diameter
1077438 Magnetic speedometer, John K Stewart, Stewart Warner Speedometer Corp, 1913-11-04, 73/497; 73/520.01 -
rear cable entrance,
temperature correction
1080308 Speedometer, John K Stewart, Stewart Warner Speedometer Corp,1913-12-02, 73/1.41; 73/498; 73/1.37; 73/495 -
1088947 Spiral-gear power-transmitting device, Charles H Warner, Stewart Warner Speedometer Corp, 1914-03-03, 74/383; 74/12 - couple front steering wheel of car to speedometer drive.
1088948 Speed-indicating instrument, Charles H Warner, Stewart Warner Speedometer Corp, 1914-03-03 362/23.18; 362/23.01 -
built-in light,
Speedo (in scale in window) + trip and total odometer - Model-T?
1089746 Centrifugal speedometer, Charles S Burton, Stewart Warner Speedometer Corp, App: 1913-03-20, Pub: 1914-03-10, 73/534 73/549 -
fly-ball
bottom cable entrance
1143978 Speedometer, Ward G Leathers, Stewart Warner Speedometer Corp, 1915-06-22, 73/496; 73/499; 73/519.01 -
magnetic
rear cable entrance
1147329 Speedometer, Ward G Leathers, Stewart Warner Speedometer Corp,1915-07-20, 73/496; 73/499; 73/519.01 -
Display based on film strip.
Magnifying glass (B) focused on film (F) which is back illuminated by lamp (H).
This is a way to get very high resolution and I've only seen it used in very high end applications.
FRR-21 Low Frequency & SRR-13 High Frequency Receivers
FR-149B/USM-159A Frequency Meter
I doubt it was every used in a car.
Chronometric Tachometer
1275269 Speed-counter, Ulrich Kohler, Charles Stoecklin, Hasler AG, 1918-08-13, -
GB191409958 same as this patent
This called a chronometric tachometer because it contains a clockwork mechanism that gets wound by the input shaft. Note the dial reads RPM. It is not a shaft turn counter.
Instruments come in metric and Imperial, this one has a "FEET" wheel rather than a "METER" wheel for linear speeds.
The outer dial is marked (0) to 100 [black type] and the small dial is marked 0 to 9.
The diameter of the "FEET" wheel is 1.175 so circumference is 3.691" = 0.3076'.
So if the shaft was turning at 10 RPM and the "FEET" wheel was used the inner dial would read 3 [red] for 3 ft/min.
So the "FEET" wheel should be 1.1459" dia, so that 3 Feet Per Minute lines up with 10 RPM.
On the small, thousands, dial 1 thousand RPM [black] lines up with 3 thousand FPM [red].
Operation
Input shaft at 9:00.
Top button is start. Stop is automatic by clockwork.
button at 10:00 is reset.
To access the mechanism three 1.6mm (-) screws need to be removed. Then the bezel can be removed using a spudger (Wiki). But a special tool is needed to pull the two hands so I did not go further.
Description
Type A - 0 to 10,000 RPM
Type B - 0 to 1,000 RPM
Six second integration time, so pointer updates once each 6 seconds.
Input tips for: Centered shafts, uncentered shafts, wheel for linear speed.
Consolidated Instrument Co. Circular Tachometers
1330120 Centrifugal tachometer, Joseph W Jones, 1920-02-10, 73/498; 73/531; 235/95R -
1408598 Speedometer, Joseph W Jones, 1922-03-07, 235/96; 73/490; 235/95R; 235/106; 235/144EA; 235/144DM; 235/97 -
1608872 Temperature compensation, Cyril T Wallis, North East Electric, 1926-11-30, 324/105; 336/233; 361/140; 310/97 -
for tachometer/speedometer and other things -
Pat No. on Model T (Wiki: 1908 - 1927) instrument.
Monel (Wiki) - Nikel & Copper alloy
As the Monel metal shunt warms up it's permeability decreased thus increasing the magnetic field.
1611089 Adjustment of magnetic tachometers, Cyril T Wallis, North East Electric,1926-12-14, 73/1.41; 310/103; 310/97; 324/161; 73/520.01-
Pat No. on Model T
Uses an electromagnet to change the magnetization of the speedometer magnet.
Odometer
See Veeder Counters on the Telegraph web page.
The first generation wipers starting int he a890s, were manually operated. Then came the "automatic" wiper, 1920 - late 1950s, driven by a vacuum motor. The problem with these was that when the engine is at idle the intake manifold has maximum vacuum i.e. the wiper works well when the car is stopped. But when going fast the vacuum is weak and the wipers tended to stop working when you needed them the most. The next generation used electric motors and maybe had 2 or 3 speeds.
The next improvement was the intermittent wiper starting in 1967.
Today we have rain sensing wipers that only work when there's water on the windshield.
609787 Window-Cleaner, George J. Capewell, 1898-08-30 - half circle for cable car.
743801 Window-cleaning device, Mary Anderson (Wiki), 1903-11-10, - manual operation
1437521 Power-operated windshield cleaner, Hueber Henry, 1922-12-05, -
1516722 Windshield cleaner, Fred G Folberth, William M Folberth, Folberth Auto Specialty Co, 1924-11-25, - vacuum or pressure powered linear motor
Patent numbers on motor sold for Model A - look the same as for the below Trico.
Patent numbers on Trico half circle type vacuum motor:
1522344 Automatic windshield cleaner, Arthur B Thompson, John R. Oishel, 1925-01-06, -
1554928 Motor for automatic windshield cleaners, Arthur B Thompson, John R. Oishel,1925-09-22, -
1562122 Fluid-pressure motor, John R Oishei, 1925-11-17, - applique to wiper motor to pump fluid for pisser
1565493 Fluid-pressure motor, John R Oishei, Erwin C Horton; John R. Oishel, 1925-12-15, -
1567328 Motor for windshield cleaners, John R. Oishel, 1925-12-29, - complex applique
RE16322 Power-operated windshield cleaner, H. Hueber, 1926-04-13, - was patent 1437521
1674056 Windshield cleaner, John R Oishei, Hueber Henry, Trico Prod, 1928-06-19, -
1726226 Valve means for fluid-pressure motors, Hueber Henry, Trico Prod, 1929-08-27, -
1738311 Automatic windshield cleaner, John R Oishei, Hueber Henry, Trico Prod, 1929-12-03, -
1749441 Windshield-cleaner mounting, John R Oishei, Trico Prod, 1930-03-04, - allows retrofitting wiper to older car
1777143 Piston-packing expander, Hueber Henry, Trico Prod, 1930-09-30, - a better way to make vane
1849327 Windshield cleaner motor valve action, Hueber Henry, Trico Prod, 1932-03-15, - reversing valve on vacuum motor
Patent numbers on Maxi-Vac
2642843 Air filter,
2693118 Crank assembly for windshield wiper motors, Fred A Krohm, Productive Inventions, 1954-11-02, -
2696805 Fluid motor for wiper apparatus,
2698607 Windshield wiper fluid motor,
2697419 Fluid operated windshield wiper motor
2730078 Fluid motor for windshield wiper, 1956-01-10, -
3351836 Windshield wiper system with intermittent operation, Robert W Kearns (Wiki, Movie: Flash of Genius (IMDB)), Tann Co, 1967-11-07, - transistor delay circuit.
5780719 Windshield wiper rain sensor system, Scott A. VanDam, 1998-07-14, - chosen because it cites 30 patents. there are many ways to sense when the wiper should work and some are better than others.
Also see: Learning#Electric Grid; Modern Monetary Theory#Energy
Power
One of the key specifications for a car is the engine horsepower (Wiki). Note the word "power" is in the name. Picture a horse lifting something like a bale of hay up from a carriage to the loft of a barn. Lifting 550 pounds one foot in one second requires one horsepower.
745.7 Watts is an electrical equivalent of 1 HP.
The amount of power a battery delivers is measured in Watts (Wiki) and is the Current times the Voltage across the load. Light bulbs (Wiki) are rated in Watts.
The maximum amount of power a battery can deliver (P = V * I) depends on how much current it can supply without pulling the voltage down to the point where the power decreases. Modern batteries have an advertised nominal voltage but the manufacturers typically do not talk about peak current or internal resistance. When the 1-1/2 Volt No. 6 Dry Cell battery was common they were tested by using an ampere meter to measure Flash Amps. A strong No. 6 battery might read 20 Amps. If the voltage was 1 Volt that would be 20 Watts.
The current a battery can supply is determined by its internal resistance (Wiki). Typically secondary (Wiki: rechargeable) batteries have lower internal resistance than primary (Wiki, non rechargeable) batteries.
A common way of considering a battery is to think of it powering something for a day. Twenty four hours rounds down to 20 Hours as the standard.
The current to charge (or discharge) a battery in 20 hours is called the "C" rate. Where C is the capacity of the battery in Amp Hours.
Early rechargeable batteries used chargers that worked at less than 1 C. Today's batteries come in different flavors some with lower "C" values are optimized to have more capacity (amp hours) while other batteries are optimized to support higher "C" rates. If a battery is made using very thin metal foil for the electrodes there will be more space for the electrolyte, hence it will have more Amp Hour capacity than the same battery case where thicker metal foil is used. The thicker foil will result in a lower resistance and a higher "C" rating.
The maximum discharge current is independent of the size or capacity of the battery and has a lot to do with how it's constructed. 2022-Jan-12 looking at the table of single Li-Ion cells (BatterySpace.com) shows the highest discharge rate for the Samsung INR18650-15M at 23 Amps while it has the lowest Ah capacity (1.5 AH) in the table. The battery with the highest AH capacity, LG INR18650MJ1 at 3.5 AH can only produce a 10 Amp discharge. The 21700 size batteries have more capacity (up to 5 Ah) but lower currents (up to 15 Amps).
For things like an impact wrench power is what's required to tighten and remove nuts. Since power is Volts * Amps you can double the power by using two battery packs connected either in series or parallel. The connection really depends on what the motor is designed to take. If a higher voltage battery pack is made using the same battery cells as a lower voltage pack then you will use more batteries in the higher voltage pack so it will be able to produce more power. In the case of 18 Volt v. 40 Volt packs the higher voltage pack will have twice the power output of the lower voltage pack.
In the case of electric cars the battery pack voltage is in the hundreds of volts.
Energy
Some common units for energy (Wiki) are Joules (Wiki) (same as Watt Seconds), Watt Hour (3600 Joules), (electric meters measure kilo Watt Hours), Foot-pound (Wiki, 1.35 Joules).
Note the scalar Foot-pound is an energy measure whereas the vector Foot-pound (Wiki) is a torque measure.
The energy stored in a capacitor, measured in Watt Seconds (same as Joules), is 0.5 * C(Farads) * V(Volts)2 This is how photo flash units are rated.
A common way to talk about battery capacity is in Amp Hour ratings (Wiki). This is an easy way to compare the run time of batteries with similar chemistries and voltages. But a much better way is to compare Watt Hours (Wiki) since you are including the battery voltage. For example a tool battery rated 4AH and 18V has about half the energy of a battery rated 4AH and 40V.
Tool Batteries
There's a mystery relative to tool batteries like the Ryobi 18V line. The standard and "High Performance" batteries are rated for the same 18V and 4AH capacity, yet tests show the HP battery performs better on Brushless tools than the standard battery. Measurements show that both batteries have the same internal resistance. So is this a marketing trick? What's going on? Let me know.
It would be possible to design a battery to get good results on the YouTube Torque Test Channel by making a battery pack with very low internal resistance at the expense of a small AH capacity.
Enhanced Engine braking where the valve timing is modified making the engine function as an air compressor. While the patent covers both spark ignition and Diesel engines, it's mainly used on Diesel trucks.
3220392 Vehicle engine braking and fuel control system, Clessie L Cummins, 1965-11-30, -
Low BMEP Engine
I went to a talk by Pete Brock at the Candy Store (Carol Shelby signed a photo of CSX3282 at a different Candy Store talk) because he was involved in the design of Cobra cars and in particular the Cobra Daytona Coupe. A web search will find Pete in relation to Datsun, Pebble Beach and a company in Southern California designing cars. He talked some about his background and some Cobra stuff but then the really good thing was about the new engine that he was building. As he talked he pulled parts of the engine from a back pack and showed them to us.Automobiles and most motorcycles got off to a bad start because government agencies taxed them based on the displacement of the engine. I think this is still the case in Italy. In many automotive racing classes the displacement of the engine is a major factor. I know that the early Rolls Royce cars had names like Silver Ghost, Phantom and also numeric model numbers like 20/25 or 40/50. This referred to the official Horse Power/Actual Horse Power. The idea was you only paid taxes on 20 HP but you got 25 HP. So car manufacturers and others have been locked into the idea of getting the most horse power per cubic inch. This is a mistake.
When you look at airplanes with piston engines the most important factors are reliability and HP per pound of weight. In the case of ships the important factor is HP per pound of fuel burned (Wiki: BSFC). In both of these cases the engines are lightly stressed. A technical way of saying this is that they have low Brake Mean Effective Pressure (Wiki: BMEP). An engine with low BMEP does not turn at high RPM and does not produce a lot of HP per cubic inch of displacement. Harley Davidson and BMW motorcycles have this type of engine today. The very high performance motor cycles from Japan are an example of a high BMEP engine, very high red line for RPM, very high HP/Cubic inch.
Pete showed us the valve from a Ford 5.0 L V8 engine. It looked like most automotive valves. The thing is that at 5,000 RPM it takes 30+ (as far as I remember) HP to run the valve train. That is because there needs to be valve springs strong enough to close the valve and the engine needs to compress these along with moving the mass of the rest of the valve train. He showed us the valve from his engine, it looked like a #2 pencil lead with a quarter on the end. Very much lighter that the Ford valve. The spring looked a lot like what is used in a ball point pen!. You could easily see that Pete's engine will not need a lot of power to run the valve train.
His engine is a V2 design with a capability of stacking to get a V4, V6, V8, etc. There is a single size hex head bolt used for all fasteners. A special Allen wrench with a long handle that acts as a torque limiter is the single tool needed to take apart and assemble the engine. If more strength is needed then he used more of the same size bolts instead of a larger size. Anyone who can work on a bicycle can work on this engine.
If the Ford V8 engine is removed from it's car and a V8 version of Pete's engine installed, the performance will be comparable because of the lighter weight of Pete's engine.
Pursuing this project cost Pete a lot and it was dormant for a number of years. I talked to him a few days ago (Oct. 98) and it looks like the project may come alive again.
There are better ways to design cars and trucks if you can get rid of the old ideas. Pete has some great ideas about utility vehicles for underdeveloped countries. These would be easy to make and very practical to operate and fix. One idea is to have all the wheels be non-steering and use differential engine control for steering, like on the Bob-Cat front loaders.
Wiki -BMEP - Brake Specific Fuel Consumption (BSFC) - 114,800 bhp Sulzer_RTA96-C Container Ship Engine (data sheet showing BMEP & BSFC)
9103277 (Google, USPTO w/images) Moment-cancelling 4-stroke engine (MC4S), Daniel Sexton Gurney, Aug 11, 2015 - "Importantly, it should be noted that the peak BMEP for the MC4S system is more than 100% greater than most normally aspirated engines. This unexpected result points to a very powerful engine resulting from the improved air supply."
Interesting that this engine has a high peak BMEP yet also has good fuel efficiency. But that's been my experience, i.e. if you drive with a light foot you get good gas mileage, but with a heavy foot you burn a lot of gas in exchange for high performance. This engine has a sharp peak at 8,000 RPM and so will need a lot of gear selections or some type of variable transmission in order to stay at the peak.
Dan Gurney's"Moment Cancelling" 4-Stroke Engine (MC4S) - aimed at motorcycles where the moment refers to gyroscopic action.
Message to Dan Gurney at AAR Sep 10, 2015
Hi Dan:
I've just been reading your MC4S patent and it reminded me of a lecture given by Pete Brock at the Candy Store in Burlingame, California (a former car dealership, now a home for collector cars). It was about his V-twin Low BMEP engine. I think he said he had a patented connecting rod.
Do you know what happened to that engine or where I might find more information about it?
Cobra Daytona Coupe (Wiki)
As part of the introduction of Peter Brock at the Candy Store some of his background slides were shown including the Daytona Coupe.
In one the two Netflix movies about LeMans, Ford and Ferrarri., "Shelby American" & "The 24 Hour War",a patent was mentioned that was a key part of the Daytona Coupe design. This made the car controversial inside the Shelby group, but they built a car aimed at the upcoming Daytona race. Also see the 427 Cobra chassis: CSX3282
To be fair the 1962 Ferrari 250 GTO (Wiki) has a very similar tail shape.
2359426 Motor Car Body, Koenig-Fachsenfeld Fr Reinhard, App: 1937-04-01 (before W.W.II), Pub: 1944-10-03 (After the war)
I got this car used in the mid nineteen seventies. Used it cost about what a new top of the line Mercedes would have cost then. I had this car over 20 years. It turns out (in my humble opinion) that the Rolls Royce V-8 engine has a fatal flaw. It is made from aluminum with steel cylinder liners. The thickness of the block walls between cylinders is on the order of 1/8". If the engine ever over heats the stress can cause the Al block to crack. The engine is very likely to overheat because the o-rings that seal the liner to block joint are a rubber derivative and bio-degrade. Also there are numerous water hoses that are made from rubber. The water pump is designed so that a thin rubber part is both sealing the pump and holding the frictional torque of the rotating seal. When the block cracks a new block is called for since the Al has been impregnated with plastic that makes welding impossible. Needless to say, that a new block costs a lot of money. (2009 - IDEA - use J-B Weld epoxy to patch the cracks after grinding with Moto-Tool.)
Intrigue Photo
This is my current everyday car.It has very good handling (I drive in hills every day and going to San Francisco at freeway speeds in hilly country is easy). This is pretty much a 4-door version of the Pontiac Trans Am (Wiki).
My Intrigue and all cars sold in the U.S. beginning with the 1996 year models have an On Board Diagnostic system called OBD II.. On my car the connector falls to your right hand if you are the driver and feel at the lower edge of the instrument panel below the steering wheel. The OBD II web page by B&B Electronics has information on what data can be read by their AT1 GM data link. The AT2 data link for Ford is available, and the AT3 for Chrysler cars is coming. Things like MPH, RPM, and a lot of emissions control information is available. This is used by the technicians at the dealership to diagnose what caused the "check engine" light to come on. Some road tests: Edmunds, Wheels, , Press Release, Auto Extra. I checked the NHTSA defects - recall page to see if there were any, none found.
ELM Electronics - sells an 8 pin PIC microcontroller that can be used to build you own OBD II interface
PS there are many OBD II readers on eBay now (2018) with BlueTooth, WiFi or USB interfaces.
Also see above.
This van has the ability to hold a few sheets of 4' x 8' plywood flat on the floor with the rear door closed. This is possible because the second row seats can be completely removed in a matter of seconds and the third row seats fold down flush into the floor (the front seats have a notch on the back near the floor). It will also hold 10 foot 2x4s along the center line with the back door closed.
It also has the optional Satellite Navigation system. The main electronics package is about the size of a VCR and is located under the passenger seat. It contains a CONUS data base on a DVD disk. The GPS receiver is aided by a gyroscope (might be a misnomer, magnetic compass might be more correct?) and speedometer input. When stopped the direction of travel stays correct. The dash panel color touch screen LCD display needed the space used by the manual AC controls. There is a button beside the display that brings up a virtual AC control panel. This system has been customized by Honda for this application.
In addition of a map display there is a mode that will guide you to your destination, similar to the "never lost" system that's optional in Hertz rental cars.
This system has parts made by:
Alpine Electronics, Inc. - Honda system software - Alpine Navigation and Information System
Navigation Technologies Corp. - Honda data base contentsUS05808566 09/15/1998 Electronic navigation system and methodINFO USA Corp. - Honda data base contents
US05893113 04/06/1999 Update transactions and method and programming for use thereof for incrementally updating a geographic database
US5953722 09/14/1999 Method and system for forming and using geographic data
US5951620 09/14/1999 System and method for distributing information for storage media
US05974419 10/26/1999 Parcelization of geographic data for storage and use in a navigation application
US05968109 10/19/1999 System and method for use and storage of geographic data on physical mediaPacific Audio & Alarm - Multimedia Control Timer - to allow watching DVD videos on Alpine CVA-1005.
Will this work on the Honda version? probably not because the Alpine hardware may be different.I have gotten the latest DVD direct from Honda's web page (Order Nav System DVDs in drop down box) but have not really checked it out yet. One thing I have noticed is that the recommended path from my house to the SF Bay Area has changed. I used to take 101 South, cross the Richmond Bridge, 880 South and 237 West. Now it says to take the Richmond Bridge then the Bay Bridge back to 101, the two bridges are to avoid going through San Francisco where there is no through freeway after the Freeways fell (Wiki) in the Loma Prieta Earthquake (Wiki).
There is also a built in wireless remote that can be programmed for conventional and rolling code garage door openers, and other features.
It uses the Homelink protocol.It's been to the dealer for routine maintenance a few times and the bill is always $49.95 and they only did the routine stuff.
| 8 June 2023 Smothers MB service of Santa Rosa will NOT work on cars older than 2008 models. I expect they are maximizing profits. |
Bought this new from the Santa Rosa MB
dealer. It was a demo car and we got it for a fantastic
discount.
June 2012 - Just starting to drive it. As of 2024 still my
daily driver.

Key Fobs
The Wiki page for Car Key says "Mercedes-Benz uses a key that, rather than have a cut metal piece to start the car, uses an encoded infrared beam that communicates with the car's computer. If the codes match, the car can be started. These keys can be expensive to replace if lost and can cost up to US $400."
I think that's wrong since the key works to turn on/off the ignition when there are no batteries in it, so no power for the LED.It turns out that the ignition key function works without batteries because of a 125 kHz power signal from the car.
The key fob has a number of features.Door Lock/Unlock
This along with the PANIC button and trunk unlock is accomplished using a Remote keyless system (Wiki) which in North America works at 315 Mhz.
The main carrier at 315 MHz and some modulation side lobes. (Agilent E4404B spectrum analyzer)
In addition the IR LED at the tip of the fob is also activated when any of the buttons are pressed. This can be confirmed using a cell phone camera. So both the RF and IR modes are used for Lock/Unlock.
Note that a small red LED at the upper left of the LOCK button blinks when any of the buttons are pressed to indicate a good battery.
Key & Immobilizer
The plastic key fob acts like a key even though it has no mechanical keying features.
The IR LED communicates with the car's computer to unlock the car.
RFID is being used in place of the mechanical ignition key.
When the fob is inserted in the ignition the IR LED in the end of the fob works like an immobilizer (Wiki).
Here is a still photo taken from the repair video that shows the RFID LF antenna coil.
Mechanical Key
There is a mechanical key inside the key fob that can be used to open the doors. There is no way to use the mechanical key to start the car. This is consistent with the immobilizer (Wiki) concept that prevents someone from hot wiring the car. Note hot wiring is equivalent to turning the mechanical key. This also means that if you cannot get a replacement key fob your car becomes worthless.
It turns out the new key fob is not compatible with my old mechanical key so a new mechanical key needs to be cut to go with it.
Replacing Key Fob Batteries
Note
If battery fails the Lock/Unlock function will not work.
BUT . . . the key will still work the ignition switch.
Use the Red LED on the button side to
see if the battery is good.
Key Fob does not lock/unlock
At first this looked like a dead battery issue, but the batteries test good (ZTS MBT-1).
My spare key fob did not work, but the batteries tested dead, moved good batteries from other fob.
Note when LOCK or UNLOCK is pressed and held down a red LED blinks once which would seem to indicate good batteries.
Also when the small end of the fob is pointed at a cell phone (front is more convenient) camera you can see the IR LED light up.
The spare fob is now working, so the every day fob needs to be replaced.
Note this old fob does allow starting the engine and driving the car so still is a valuable thing to keep. Note that there are no batteries in the fob, yet it still allows starting and driving.
Patents
Topics are: Ignition lock/unlock, steering wheel lock/unlock, doors & trunk lock/unlock. (maybe windows up with 10 second lock press?)
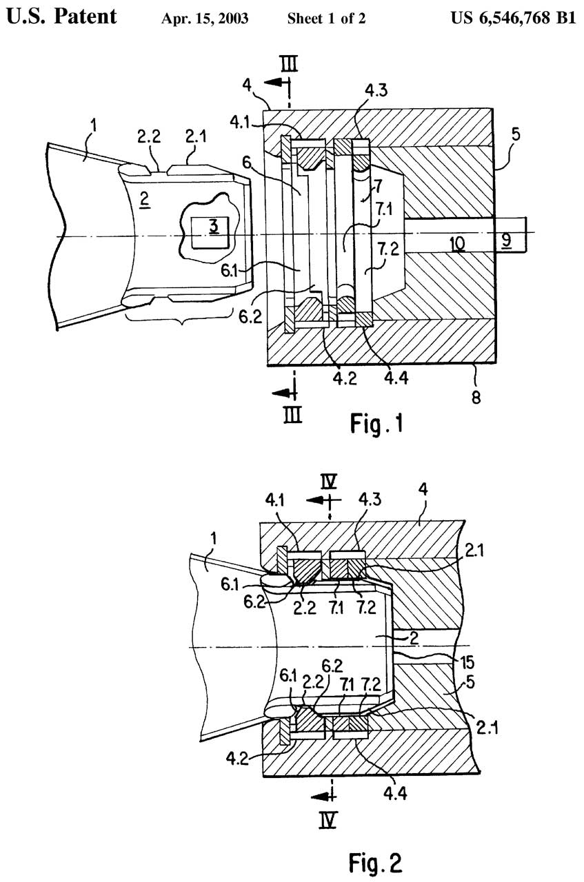
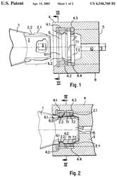
6546768 Ignition lock system for motor vehicles, Heinz-Georg Burghoff, Hartmut Fitz, Michael Geber, Daimler Chrysler AG, 2003-04-15, -
Cites:
DE2926304A1 Security lock and theft alarm for motor vehicle - has electronic transmitter and receiver linked by non-electrical circuit, Alfred Foerschner, Rolf Kruegener, Hermann Werner Kurth, Theodor Reinhard, Daimler Benz, 1981-01-29, - uses IR fiber optic cable between key and armored box.
20060266089 Hybrid key, Steven Dimig, Strattec Security Corp, 2006-11-30, -cites 6546768 & many others.
DE3043592A1 (Espacenet) Two-door motor vehicle with antitheft protection - has activating coded signal transmitter, with lockable passenger door and driver's door lock responsive to transmitter, Mercedes Benz, 1982-06-24, - still has mechanical ignition lock.
DE2926304 (Espacenet) Security lock and theft alarm for motor vehicle - has electronic transmitter and receiver linked by non-electrical circuit, Mercedes Benz, 1984-09-06, - mechanical key with fob immobilizer. Cited by 36 patents.
DE3546490A1/en (Espacenet) Control device for locking systems in motor vehicles, Mercedes Benz, 1986-12-11, - IR based rather than RF based. So maybe the MB key fob used both RF and IR for the lock/unlock function.
YouTube: NorthridgeFix:Benz Key Fob Repair - Won't start or Lock Unlock the car, 18:29 - interior view
YouTube: DIY How to Take Apart Mercedes Benz Key FOB Chip, Battery, and Casing Non-destructive Method, 6:34 -
YouTube: W220 Mercedes EIS Electronic Ignition Switch Cloning, 12:31 - this is the switch not the key. Interesting test coil confirms the RF signal from the switch. You can see the drive coils on the switch. His procedure requires a VVDI-Prog & MC9S12 cable
VVDI - sells a lot of MB key related products. - Original 4 button remote key cover -
eBay item title: Fast Tester Key Lock Coil Check EZS Checker Immobiliser For Mercedes for BMW - under $10 all up on order. (eBay search)
YouTube: how to bypass original car chip key immobilizer signal method, 9:08 - different ways to work around immobilizers.
YouTube:DIY Mercedes key fob repair (saved $1,300), 12:26 - This implies that the alignment of the two IR LEDs at the tip is critical, i.e. the PCB placement is important. . . or he has a crack in a PCB trace. Benz Key Fob Repair @5:17 and Hiring a Tech Reality, - bad coil
YouTube: Benz Key Fob Mailed from the BAHAMAS for Repair, 18:22 - @15:15 view of PCB under NEC chip
YouTube:
YouTube: Mercedes ML Key turns car not starting, Ignition switch repair, Reparatie contact, ML GL EIS / ESL, 3:03 - bad connector on EIS
LA Car Tech: MB Key Expert Evo (YouTube: Key Expert EVO)
Car and Driver 2017 DEc: The Evolution of Car Keys Is More Interesting Than You Think -
Key Fob Lock Test Coil At first I thought this would be a resonant circuit at one of the standard RFID frequencies (Wiki).
eBay title: "Fast Tester Key Lock Coil Check EZS Checker Immobiliser For Mercedes for BMW" - under $10 including shipping.
But it turns out to just be a coil with about 54 turns and an LED.
Fig 1 There are more coil turns on the back side.
27 turns on this side.
Fig 2 The LED turns on as soon
as the key is inserted.
Note key in off position
YouTube: Mercedes ignition switch EIS module easy repair. Fixes no start, intermittent key switch condition, 8:08 - 450SL Electronic Ignition Switch.
YouTube: MERCEDES NO OR INTERMITTENT START C426 CODE EIS ELECTRONIC IGNITION SWITCH HOW REPAIR REMOVE GL450, 29:02 - same problem, bad solder joint on EIS connector.
Key Fob Styles
When the technician came by to synchronize the new replacement key he found that my old mechanical key would not fit into the new fob.
It turns out there are at least two styles of 4 button (Panic, Lock, Unlock & Trunk) fob. The solution was to have a new mechanical key cut for about $35.
My existing key has a number engraved on the left side near the tip: 221 4045. This may be style 4B?
Fig 9 It turns out that I was using the valet key instead of the owner's key for a couple of decades. Note that the left valet key fob case has 3 buttons, panic, lock & unlock. The location where the trunk unlock button should is hard plastic. BUT . . .
the PCB does have 4 buttons. The owner's key (to the right of the valet key) does show the trunk unlock icon. The new factory replacement key only has 3-buttons, omitting the trunk unlock function, which is correct since I asked for a replacement of the key I was using, not knowing at that time I had asked for a replacement valet key.
PS Dealer's often put the valet key in the pouch with the owner's manual. It should be taken from there and put somewhere other than in the car to lower car theft rates.
Fig 1 Original Fob
Inside Fig 1 Factory & Replacement
Factory has pin on key, replacement has notch
315 MHz (confirmed by Spectrum Analyzer frequency plot above: Door Lock/Unlock)
Siemens
5WK4 7282
5WK4 7283
FCC ID: IYZ 3312
CAN 2701 103 2302
Made in Germany
Inside Fig 2 PCB extraction tools
Large paper clip, small flat blade screwdriver
Inside Fig 3 dirty & possible corrosion
Inside Fig 4 dirty & possible corrosion
YouTube: Xhorsetools: How to distinguish VVDI universal remotes? | Xhorse, 4:34 -
Fob PCB
Above is information on how to remove the PCB from the fob. This paragraph is about the PCB.
Cell Phone
2023 May: Update. There is
some variability in how well a cell phone connects to the car's
Blu-tooth. My current LG G6 used to be very good at
connecting, but for the past couple of months it takes a power
cycle to get it to connect. Why? Let me know.
Dec 2012 Looking into adding a cell
phone.
How-to Guide For Cell Phone Upgrades, Plug-in And Bluetooth - the car should be pre-wired, i.e. the steering wheel has the buttons and the display has a phone page in the menu.
Note: The factory cell phone setup back in 2003 was to have a Motorola V60 analog cell phone (Wiki) hardwired to the car for control and for an external antenna. But today (2013) Motorola no longer makes cell phones with a provision for an external antenna and the remote control needed for answering and making calls is handled on a wireless Bluetooth link. So the upgrade path is to install the Phone Support Electronics (PSE) module into the D2B (fiber optic) loop and use a short RJ-45 cable to the Motorola Bluetooth dongle in the top (shallow) center console compartment. No RF coax parts are involved in the upgrade.
After removing 3 No. 2 Philips screws from
the bottom of the top compartment and closing it,
then opening the small top compartment,
the false bottom of the top compartment can be lifted and flipped over.
You can see the coax antenna cable and RJ-45 socket.
On the right side of the center console near gear shift.
FO Cables:
Radio In
CD Out -> Radio In
SBS In (not connected)
Radio Out -> CD In
Tel-Out -> Tel-In
right rear quarter panel cell phone cabling
There are two Fiber Optic (FO) D2B cables:
1) Has two FO strands going into a single connector
AMP-PN: 2-0958843-1
Datum 26002 4C
2) is a single strand and connector.
Trunk Right Rear Panel Snap
Trunk Forward Cover Plate
Plate Open (Torx T40 bit)
The green rectangular cap at the left is the other end
of the pair of fiber optic cables.
Right Panel open in Trunk
There are 3 D2B cables coming from the pocket at the right.
One of these continues forward and the other branches
to the Voice Control Module (VCM).
There are 2 D2B cables coming from the left VCM and
one goes to the pocket at the right and the other goes forward.
Need to use a flashlight to figure which is which.
Bluetooth Kit for C230
Components:
Front SAM module location
Under 2 plastic covers.
PSE module installed in right rear trunk
Note: only DB-25 and dual D2B (fiber optic) connections. No coax RF needed for Bluetooth.
The Y-cable (with the unused green connector) is not in this photo, but is installed just above the PSE box.
"Blue Label" PSE module Q682-0855/SYN 0697A & bracket Q 682 0655
PSE Y-cable (harness) (green plug not used) Q682-0468
V60 Adapter with Bluetooth (bar code): 5641307Z01, B 67 87 5856, 15804024, 05.03.08, (bar code): *M0TU10L,JE*
Dongle to RJ-45 cable (cradle eliminator cable)
Mounting hardwareFront SAM Module
Front SAM module with F44 (7.5A installed)
Rear SAM Module, First Aid Kit, Owner's Manual
Rear SAM module F13 (5A) and F16 (7.5A) installed
Console Mounted Bluetooth Dongle
Note: The blue LED is on solid but the Motorola Electrify 2 cell phone is in standby mode. The only time you need to touch the cell phone is to unlock it for an incoming call.
Radio after pressing TEL and [Up] a few times
Just after pressing TEL the display allows entering a phone number
and the left soft key is for SEND. Once the call starts
the right soft key is for END.
Note the MB cell system downloads the directory from the cell phone after the key is turned on.
Parts from Keith Valentine
eBay: cellguy85
Voice only Cell: 714 746-5930
email: cellguy@live.com
Cruise Control stalk with odometer RESET button in background. Note the style of the stalk (late 2003) for matching the Voice Control stalk.
Note:
If others are riding in the car they can enable their Bluetooth and sync to the car by entering the PIN number for the Motorola Dongle. But probably only one cell phone at a time since their directory will be loaded into the car's directory.
The order of the fiber optic loop is important. This will be used for Bluetooth control of my Motorola Electrify 2 cell phone.
If a component is missing then it's removed from the list but the order of connected components must be maintained.
It should be:
6085078 Vehicular audio system incorporating detachable cellular telephone, VOSI Technologies, 2000-07-04, - maybe the first use of Bluetooth to couple phone and car.
- Radio (D2B (Domestic Digital Bus, so really should be D2B) (Master) <installed>
- Component No. 1 (Bose Sound System) <not installed> - got poor reviews.
- Component No. 2 (Voice Control) (SBS) <not installed> - not sure what it's capabilities are
- Component No. 3 (Phone) <PSE module to be installed in trunk> - this is what I'm adding.
- Component No. 4 (Tele Aid - COMMAND) <not installed> - not clear what it does
- Component No. 5 (CD Changer) - car came with the 6 CD changer installed in glove box-
- Back to Radio (Master) <installed>
Voice Recognition Kit
The problem is the control stalk. It needs to be pulled back to activate the microphone and voice recognition system, or pushed forward to cancel. These are only available when ordered with the switch assembly and cost a small fortune. The stalk can NOT be purchased as a stand alone part!
Ordered 16 Jan 2013 -
2003 Mercedes-Benz Voice Recognition Kit for C230
Label:
A 203 820 08 85
SN - Nr. 127919
TEMIC 01000131 D3
(Bar Code)
2QPB 00LFPF D3
HW2103 SW4401 09.09.03
Connections:
DB-15
Dual D2B (fiber optic)
Motorola p/n:
5585978K06
DC p/n:
A 000 545 08 44
MB USA p/n:
Q 682 0820
number of back of this stalk:
(MB) A 000 545 08 44
Although this voice control stalk has the correct appearance for a late 2003 C230 coupe, it does not have the correct end to mate with the socket on the right of the steering column.
The black plug that was removed from the column socket is about 0.221" (5.61mm) O.D. and that's close to the O.D. of the stalk the tip on this stalk does not have the notch that the correct stalk has. So this stalk needs to be modified.
The correct PTT Lever may be Q 682 0837
The OD of a 1/4" brass rod was ground down to 0.240"
which allows a snug fit into the steering column socket
for the voice PTT switch stalk.
A slot approximately 0.030" wide was cut into the end
to clear the pin at the bottom of the socket.
Then the edges were filed away so that the rod can be
turned about 22.5 deg CCW.
Then a recess was added allowing the rod to be locked
in place by the spring pushing it back against the pin.
The small and medium diameter parts of the stalk have been
cut off (Mini Cutoff Saw).
The OD of the exposed brass was ground down to about 0.24" dia.
using a Drill Press.
A couple of holes 0.0625" diameter were drilled using the Spin Indexing Jig
about 22 deg apart. The drill bit was used as a mill to connect the holes.
PS something went wrong and this did not work)
The 1/4" brass rod has been working no problem....
until October 2021 when the fingers broke.
I have a length of 6mm steel rod to make another stalk.
The Voice Control box mounted in the trunk under the trunk forward cover plate.
Note the label is facing down and the box is held by clips.
27 Jan 2013 - Installed the box and changed a D2B cable in the right rear of the trunk and another D2B cable in the passenger side console. Now the fiber optic loop is:
Radio -> Voice Control -> Phone -> CD Changer -> Radio.
Note: If the radio or CD are playing and the loop in opened the sound will stop. It restarts a couple of seconds after the loop is reestablished.
Note: The voice control PTT stalk is a momentary switch, i.e. you pull it back and release. Then the radio beeps and it's ready to accept a command.
If there is sound (radio, CD, Tape, etc.) then the voice control is not listening, so you need to pull back again for a new command. I.e. when a command finishes the voice control is turned off.
Pressing the PTT stalk forward cancels the current command.2021 - The brass stalk I made has broken. The next one needs to be made of steel. PS I've also learned that the stalk can only be purchased along with the "watch spring" switch assembly and that costs a small fortune as does the R&R it get in working.
ODBII
When GPS first came out users on boats wanted a standardized interface so the National Marine Electronics Association (Wiki: NMEA) came out with their specification 0183 (Wiki).
GPS receivers also have a manufacturer specific binary interface, for example the Motorola AtAt command table. There's a different command structure for Trimble and for Rockwell (PLGR, DAGR).
I think there is a similar situation here. All car makers support a common interface, OBD II (Wiki). There are many Parameter IDs (Wiki: OBD-II PIDs).
The Data Link Connector (Wiki: DLC) is standardized (Wiki: OBD). It supports three buss protocols: SAE J1850, CAN & K-Line/L-Line.
In addition each manufacturer has their own maker specific interface.
ODBII First Try (Didn't work) to Bluetooth
Hardware
On Board Diagnostic II (Wiki) is the connector that's within reach of the driver. In the past (prior to maybe 2012) the cost of an OBD reader has been in the hundreds of dollars, but now there are units available with Bluetooth connectivity to work with smart cell phones for very reasonable prices (under $20) like the ELM327 that reads not only US cars but also most foreign cars as well. It's called a generic OBDII Bluetooth adapter.
The eBay ad "ELM327 OBDII OBD2 V1.4 Auto Car Bluetooth Diagnostic US" lists cars that will work with this adapter:
Benz 2001/02/03 W203 C200K (ISO)
Unfortunately when plugged in the LEDs are facing the pedals so it will take a small mirror to see them.
The pin numbering is backwards from that shown
on the Wiki web page for OBD. But the LEDs
light and sequence so at least the power supply
pins are correct.
The length of this unit means it may be destroyed if
used while driving? The Super Mini units would be
more protected.
8 wires used on OBDII connector
LM317 6206A
PIC 18F25K80 microcontroller Bluetooth daughter board
LM393, MCP2551 4 MHz Xtal 78M05
Pairing
LEM327 and Android phone (Motorola Electrify 2) requires:
Searching for Devices under Bluetooth in the phone, then
select CHX (which is how the ELM327 shows up on my phone) and enter the pairing pass code 6789 (not 0000 or 1234).
Now CHX shows up with a gear wheel, i.e. it's Bluetooth paired.
Connecting
This is my current problem. When the free version of Torque is started it says:
OBD Device not found, retrying. . . . Connecting to OBD via bluetooth . . .
and (after adding it) the Current Drive Cycle Status window shows:
Waiting for OBD Connection....
I've gone into the (three vertical dots settings in the bottom right) and selected connect to CHX (not the car's Bluetooth) and selected Disable ELM327 auto timing adjustment, the port number of 35000 is the default.
Test on Olds Intrigue - 2 March 2013
When plugged into an Oldsmobile Intrigue the LEDs are facing up and visible. They light in sequence front to back to front and stop with the front red LED on solid. But although the Motorola Electrify 2 cell phone is paired to the CHX Bluetooth device, the Torque program fails to make a connection. The same problem as with the 2003 Mercedes-Benz C230. Maybe this particular device is defective?
------------------------------------------
OBDII Second Try (Working) to Bluetooth
2 March 2013- I've ordered another unit from Amazon with the title:
"V1.5 Super Mini ELM327 Bluetooth OBD2 OBD-II CAN-BUS Diagnostic Scanner Tool"
8 March 2013 - Working
OBDII Software
Torque - The problem is that there's no manual or way to get support other than via a blog on their web page. The type size is so small I can't read it.
1) where's the user's manual?
Questions:
2) how to delete a dial?
3) how to move a dial that's positioned so half of it is off the display to the center.
4) the free "Lite" version automatically came up with a Boost gauge, but that's not an option on the full up version. How to get it?
5) how to use the 1/4 mile icons?
6) how to use the Map Display icon?
7) How to start the Track Recorder Plug-in?
When help is pressed it opens a browser window to their web page.
Here's a YouTube video showing the Track Recorder plug-in. http://www.youtube.com/watch?v=GHLchcKpa9g
The same author has other Torque related demo videos. But not how to for beginners.
AUTEL AutoLink AL629 OBD-II (Wiki) Reader
I choose this model from over a dozen ALnnn models because it's the most capable for European cars. Note I'm ignoring AL539 & AL539B DC tests. See the comparison table on the last page of the Auto Link brochure.
While there is a Quick Start hard copy in the box. The printed User Manual is NOT included! It is on line.
Vehicles
US: Ford, Lincoln, Chrysler, Dodge
European: Mercedes, Smart, BMW, Mini, VW, Audi, Land Rover, Jaguar, Volvo, Peugeot, Citoern, Biat, Alfa Romeo, Abarth, Lancia, Porsche, Bugatti, Skoda, Seat, Benteley, Renault, Dacia, Opel, Saab,
Asian: Toyota, Lexus, Scion, Honda, Acura, Nissan, Infiniti, Hyundai, KIA, Mazda, Suzuki, Sabaru, &Etc.
Fig 1
Fig 2
2023: In the past I've tried some OBDII Bluetooth adapters, but was not at all happy with them. I also bought "Torque" but when that cell phone died it was gone. After seeing a YouTube promoting a modern OBDII reader I looked around and found the Autel brand and the AL629 model that supports Mercedes Benz and many other car brands. On order Christmas 2023.
The connector and pin assignments are in SAE J1962.
Note that OBD_II has provision for different bus types including: SAE J1850 (pins 2 & 6) Chryusler/GM/Ford; CAN (pins 6 & 14) and K-line (1-wire)/L-line (2-wire) (pins 7 & 15) ISO 9141-2.pdf; CARB (Wiki). Pins left to the manufacturer: 1, 3, 8, 9, 11, 12, 13.
This is a tool with a screen and buttons rather than just an OBDII to Bluetooth adapter.
YouTube: Nitro OBD2 unit with interesting circuitry, 9:11 - fake OBD-II "Nitro tuning device is fake, just blinks some LEDs.
20200328910 OBD interface bus type detection method and apparatus, Zhibin PENG, Songsong QU, Autel, 2020-10-15, - differentiating different flavors of CAN bus (Wiki). Note there are two main flavors: US & EU.
Software Update
Ended up phoning the factory since the on line registration did not work. A very helpful lady walked me through the process of installing Maxi PC Suite.
Then updating the MicroSD card from the AL629. It turns out there were only about a dozen updates needed.
There is a manual icon on Maxi PC Suite that leads to their support web page and one of them is for the AL629.
When you see the list of possible updates at the bottom of the list is "Select all".
Operation
There are no internal batteries. It powers up when connected to either a Data Link Connector (Wiki) or a power source using the Mini USB cable.
Review & Example: Autel MaxiLink ML629 Review - OBDII Scanning - ABS Diagnostics - SRS Codes - Transmission Codes, 13:17 - To get USB updates to work: Hold down Left Arrow while installing USB cable.
Review & Use: YouTube: Autel AutoLink AL629 Review, 24:05 -
01:57 Out of the Box
02:00 Inside the Box - USB cable to AL629 did not work so he did what I was told and that's to pull the MicroSD card and update it.
08:32 Safety Restraint System
09:52 Drivers Seat Belt Buckle Switch
11:59 Front Wheel Speed Sensor
13:09 Automatic Transmission
17:13 PlayBack (previously saved)
19:29 2008 xB Scion
Ignition Switch
Has positions: Off, Accessory, On & Start (momentary).
While the AL629 powers up when my Mercedes ignition switch is Off, it may be the case that in order to read data it needs to be On (but engine off), and for Live Data the engine needs to be running.s
PS It may be good for VIN reading to have the engine running prior to connecting the AL629.
Menu (See Fig 2)
Scan
1. Select car region: Asian, European or USA
2. Select make from list
3. Either "Vehicle detect", Vehicle record and abbreviations, All model series or from a list of general models.
Example (will differ depending on make & model):
Maker: Benz, Series: 203; Mfg Date: 09/2003 - 12/2007; Steering: Left; Type: Sport Coupe; Fuel: Gasoline; Vehicle: 203.740 C 230 Kompressor.
203 740
Control Units: 1. Transmission, 2. ME-SFI-Motor electronics 3. ESP-Electronic stability program 4. AB-Airbag
Generic Control Units: ABS (Anti-lock Brake System), PCM (Powertrain Control System), SRS (Supplemental Restraint System), TCM (Transmission Control System), Engine,
Read codes: If there are any they will be listed (and can be saved).
OBDII/EOBD
When selected the AL629 tries a number of data protocols until it finds the one for the test vehicle.
Live Data
Complete List or Custom List (check boxes for parameters you want to see). The custom list will be faster the fewer items it has. The order that the boxes are checked determines the order in which they are listed.
Scroll through the list, if |One Graphic| appears the center soft key can be pressed to see it. If you have enabled a prior parameter for graphing and after enabling a second parameter there may be a |Merge Graph| option to see them both at once.
DTC Lookup
Enter a 5 character code starting with P, C, B or U. The message is the same one displayed when a code is read.
PlayBack
Allows seeing data that was previously saved.
Setup
Sub menus for: Language (14), Units Eng/Metric, Beep On/Off, Key Test & LCD Test.
About
Screen Displays:
AL629 Serial number
A password to register the AL629
System sw Ver: V1.04
hw Ver: V1.00
Mfg Date: 2021-04-15
Copyright 2012
DIY or Pro Scan Tool
Xtoll D7S A step up from the AL629. 2024 price just over $300. Has built-in camera. (XTOOL D7S ALL NEW Bidirectional Scan Tool. Upgraded D7, 15:32)
Launch CRP919E scanner just under $500. (Reviewing a Budget Friendly Scanner Made For DIY or Pro, 18:45)- bi-directional control & Special Features
Key Programmers
Also see: Key Fobs above & Locks.
These are very similar to scan tools and made by some of the same companies.
YouTube: Locksmith Tools | Best Programmer for Beginners Autel KM100, 29:29
1:15 Overview; 3:52 Main Menu; 6:27 Transponder Tool; 9:59 Ignition Coil Detection; 14:00 Universal Keys; 20:00 Programming a Key; 22:00 All Keys Lost
Models include:
Autel IM508 $870 & XP400 for European cars
Autel KM100 $400 - $500 **** Featured in this video****** Good for N. American cars, does NOT cover Mercedes
KeyDIY KD-X2 $180
Launch X431 IMMO+ $1350
XHorse Key Tool Max $390
XHorse Mini Key Tool $100
XTool IK618 $720
Auto Door Lock chattering
When the car gets to about 10 MPH the doors automatically lock. But now the drivers door chatters.
The remote key fob will lock the door.
There was a post with the very same problem. Too much hassle, I just let it chatter.
I have a C180 Kompressor 2003 model, and the passenger front door lock was jumping up and down several times with a machine gun effect when locking or unlocking and sometimes didn't lock or unlock properly, all the other doors were OK, I contacted MB and they told me I needed a new door locking mechanism, £68 and £180 to fit it. So I purchased the lock and decided to fit it myself, It was quite a simple job, took one and a half hours altogether. as this seems to be a common problem I can now explain how I did it for those who wish to try it themselves:
You will need: Set of Spline screwdrivers, Flat screwdriver, Pop rivet gun, 3 small cable ties, Drill and 5 pop rivets.
1. Pull off the tweeter cover on top of door panel near front of window, no need to disconnect wire, just let it hang down.
2. Pull off SRS badge and remove the spline screw behind it.
3. remove the door latch plastic cover (1 screw)
4. At the bottom of the door pull handle next to the armrest there is an oblong slot, insert a flat screwdriver and prise the top half off, it is just clipped in. there are 2 spline screws behind it, remove them.
5. Using a plastic wedge of some sort or just by hand and starting at the lower part of the door latch, prise off the lower half of the door panel there are 6 or 7 plastic clips which hold it on, (I did this by hand and without breaking any but it may be worth purchasing a few just in case)
6. Lower the window and while pulling the panel slightly towards you, use your other hand to pull the panel upwards from the top starting at the front end, (this is quite tight, but it will come up)
7. panel is now off, pull the plug from the window switch and disconnect the cable from the door handle by opening the handle slightly and pulling up on the hook, the cable can then be removed from the door panel insert.
8. Drill out the 3 pop rivets holding the air bag and the 2 pop rivets holding the lower window strut. do not disconnect the airbag, let it hang down or tie it out of the way.
9. Remove the 3 screws holding the door latch and disconnect the wire from the panel near the front of the door. ( I actually cut the wire and pulled it through the loops to keep the original cable ties in place, when I replaced it I just used new cable ties to attach it back to the original location.)
10. You can now remove the locking mechanism by pulling it down and then towards the front by pushing back on the window strut.
Now do everything in reverse.Passenger Side Mirror & Turn Signal Lamp
This assembly is designed to fold back, like when hitting the garage wall when driving into the garage, BUT it was not designed to fold forward, like when backing out of the garage.
The newer model cars have electrically operated mirror assemblies that fold in to make the car narrower. I wonder if they can be retrofitted to my car? Let me know.
When backing out of garage the wall moved in front of the mirror, breaking the glass (but no pieces fell out) and causing a malfunction notice saying the lamp was out.
Mirror cover-turn signal lamp assembly
Mirror frame
The Mirror Wire holds the mirror backing plate.
Pushing in on the end or lifting the center allows the
mirror and it's backing plate to be removed.
There are two quick-fit wires that need to be unplugged.
The socket that mates to the plug on the mirror cover-turn
signal lamp assembly is just on it's cable.
The "Clip" is what holds the lamp assembly to the frame.
Kit for Mirror Replacement
from eBay: manymirrors4u - aka: Auto and Truck Mirrors Unlimited
![]()
New mirror installed - not yet done.
When the turn signal was on to the right, inside the car it blinked fast, but outside the front and rear lights blinked at the normal rate.
Pressing the reset button (like used to reset the trip odometer) turned off the malfunction notice.
After removing the mirror cover-turn signal lamp assembly from the car and testing the lamp by sticking a couple of bare wires into the socket and checking the resistance (2.8 Ohms) it was determined that the lamp is OK. The problem was that it had been unplugged. It was not obvious where the socket should be attached to the mirror frame, so I just plugged it in by hand and reinstalled the mirror cover-turn signal lamp assembly until it snapped into place.
I have a replacement mirror glass on order.
Battery & Alternator
Starting late Nov. 2015 the starter motor was slower and slower. I have an appointment for service, but the soonest was early next, so 9 Dec 2015 took to local dealer to have battery replaced, but they found that the alternator was weak which was part of the problem (the battery was 12 years old). Data on the battery for this Mercedes Benz C-Class 2 door coupe model C230 Kompressor:
Part # 49EXTJThe rest of the story. There was a problem with the electrical system (forget details) so took car to the Santa Rosa MB dealer. They charged me for the diagnoses that the generator was bad, but would not work on it since it was not a MB part. My local dealer did replace the generator no charge.
- UPC: 721112786209
- Group Size (BCI): 49
- Cold Cranking Amps (CCA): 900 CCA
- Cranking Amps (CA): 1000 CA
- Voltage (V): 12 Volt
- Length (In): 13-5/16 Inch
- Width (In): 6-15/16 Inch
- Height (In): 7-1/2 Inch
Window Auto-Up Not Working
After replacing the battery and alternator a new problem has shown up in that the windows no longer automatically go up.
At this time not sure if this is a problem that's easy to fix using a factory computer interface to reset the auto up or if it's related to damage of some component.
Solution:
Raise the window by holding the button up on the "first setting", i.e. don't lift it all the way up.
Once it's closed, then lift it all the way up and hold it there for 10 seconds.
Then try again, auto down and then auto up.This fixed it for me.
Flat Tire
2021 Nov 24 - left front tire failed with plenty of tread. I was told that tires have a life time after which they can no longer hold air?
The Tire
The load Index (Wiki) in the door jamb is 91 but the actual tires are 89 so rated for less weight, the wrong tire.
The Speed Rating (Wiki) is H (130 MPH) or V (150) on the door jamb, but the tires are T (118 MPH), so again under the rating.
Fig 1 Hole in sidewall. P205/55 R16 89T
Fig 3 Inside driver's side door jamb.
P205/55 R16 (91H or 91V)
2021 Nov 26 - have 4 tires on order and went to drive the Honda Van but it's battery is dead, so now have on order the GB150.The Spare
It was smaller in diameter and thickness prior to inflating.
Fig 2
Replace Valve Steams
When Costco deflated the spare tire they threw away the valve steam. I later learned that's because these are a source of leaking and so replacing all of them with new units was policy. The valve steams in the front wheels may very well have been why those tires were loosing air.
Mileage on the odometer was 57,880 after the tire change.
Cell Phone ID
If your cell phone is on another person's account they can change the Caller ID (Wiki) but the cell companies refer to that as: Share Name ID. The account holder can change the Share Name ID on a phone by phone basis.
Ryobi Tire Inflator/Deflator
The pump is sold as a stand alone product (# P747), i.e. without the battery & charger since a customer may already have Ryobi products which would include batteries and a charger.
The road service technician used this to inflate the mini spare tire to 350 kPa (Google translated to 50 PSI).
The Battery Starter Kit (PSK004) contains a 4AH High Performance battery (PBP004) and Dual Chemistry 30 minute charger (P117).
Ryobi makes an In-Vehicle charger (P131) for the 18V ONE+ batteries.
Note needs more than 4 Amps when doing the battery check, but uses less than 2 Amps after charge is complete.
Riobi model # P747 18V One+ Dual Function Inflator/Deflator is powered with one of their tool type 18V battery packs. It can be preset to the desired pressure. Does not need to be plugged in since it runs from a tool battery.
Mode: (power off)
Press: On & Hi Volume.
Press: On & Hi Pressure.
Press: On & Hi Volume.
Press&hold: Off.
Battery Information moved to Battery Operated Hand Tools
NOCO GB150 Jump Starter- GB150_User Guide.pdf
Was the Flashlight used by the flat tire pickup truck operator, not really a AAA tow truck. It is also a battery jumper.
Got this to jump start the Honda Van.
Note: When jumping a vehicle battery wait a while after connecting the two batteries for some charge to move into the dead battery. That way you get more starting current.
This contains 3 series connected pouch type Li-Ion cells. Rating for the series string: 12 Volts, 88 Watt-hours, 7.3 Amp hours. These cells are rated to deliver 3,000 Amps hence the low Ah capacity.
The GB150 has some advantages over the newer GBX155. Sometimes "New" isn't always "better"! My Old NOCO GB150 jump box vs My New GBX155 jump box, 15:46 - the GB150 has a built-in voltmeter and the GBX155 does not.
The new GB150 is rated 12V 3000A. The old Genius Boost Pro GB150 was rated 12V 4000A. It also was marked "22500 joules 3S"
The GBX155 turns off after 60 seconds, but the GB150 stays on for until it runs out of power, i.e. many minutes so can be used as a battery.
The Boost Max GB250+ $1200) is rated 12V 5250A and the GB500+ ($2000) is rated 12 or 24 V, 6250 A. They both have the digital voltmeter and the both have the 60 second timer. They come with the XGC4 56 Watt 12 Volt charger that's compatible with the: GB70, GB150, GB250+, GB251+ and GB500+. Note the U65 USB-C Power Delivery charger is rated 65 Watts (3.25A @ 20V) so offers faster charging on the GBX45, GBX55, GBX75 and GBX155.
New Product Idea
The GB150 is a first generation USB device (Wiki). Newer USB devices only use the USB-C connector for both charge and discharge because of EU law. And the latest USB devices have Power Delivery (Wiki) options, which when paired with the 3 or 5 Amp current limit results in up to 48V @ 5 Amps (if the GB150 was newer) or 240 Watts. That's to say a USB-C version could charge faster on the USB port than on the 12V port. It would also make an excellent high power USB-C power source.
update 2023 Dec: 20230163540 Fast charging universal serial bus (USB type-C PD Ver 3 - up to 60 Watts) connector and battery charging system for an auto battery charger, Derek Michael Underhill, Ifechukwude Christian Iwerunmor, Tom Situ, James P. McBRIDE, James Richard Stanfield, Noco Co, 2023-05-25, - they seem to have this idea already. They also have an output that fully supports the same voltages as the input. Note the output makes sense only on devices like the jump starters that have a massive internal battery.
The Boost X series (GBX model numbers: GBX45, GBX55, GBX75 & GBX155) is similar to the Boost series (GB model numbers) except the GBX models have USB-C PD input & output ports that can accept/deliver up to 60 Watts (nowhere near the 240 Watts that's possible, but a huge improvement on the typical 5 Watt charger).
These are 4S unlike the GB series which uses a 3S battery.
GBX55 Data Sheet:
USB-C (Into GBX): 5V@1.5A, 9V@3A, 12V@3A, 15V@, 20V@3A
USB-C (Out): 5V@3A, 9V@3A, 12V@3A, 15V@3A, 20V@3A
The GBX requires a USB-C PD device to charge it and Noco offers the U65 Universal AC (120/240 VAC 50/60 Hz) 65 Watt power supply which comes with AC plugs for North America, UK, EU, and AU. Output: DC 3A/5V 3A/9V 3A/12V 3A/15V 3.25A/20V - 65W Max
GBX Update There are a number of YouTube videos saying there's a problem with the GBX units not taking a charge. This happens if the GBX battery voltage gets to low then you can not charge it. A fix is to use a USB-A to clip lead adapter.
YouTube: No-Open NOCO Repair: Power Measurement and Charging Hack, 9:01 - @3:26: The USB-C Ground has a direct connection to the GBX battery ground. The positive (red) battery clamp is a direct connection to the GBX positive battery terminal.
Need:
1. USB-c male to USB-A female adapter/cable,
2. USB-A male to clip lead adapter.
Note 1 Both ends of this cable can be removed. If the Socket is removed then the 12V Cable can be used to charge the GB150 (see Fig 7 above). If the Cigarette Lighter Plug end is removed then the cable can be used to add a Cigarette Lighter Socket to the GB150.
Fig 1 This box was in an outer box with the shipping label and a Haz Mat label
Fig 2 Inner display box is a sleeve that slides off.
Fig 3 What's in the box.
Cigarette Lighter Plug
Cigarette Lighter Socket
12 DC CableNote 1
USB-A to USB-Micro Cable
GB-150 Unit
Fig 4 Ports & Cables
Output Left Port: 12VDC out & USB-A
Input Right Port: 12 VDC in & USB-micro
Fig 5 Connected to totally dead battery.
Note no Voltage reading.
Fig 6 After pressing Manual Override (i) for a few seconds voltmeter reads and State of Charge LEDs chase. Van starts and drives, BUT . . . when turned off the battery voltage is only 6.3 V so not enough to start by itself. Need new battery. (... or full charge?)
Fig 7 To get 12V fast charging remove the socket end of the 12 V cable. Charging shown here. When fully charged only the Green LED will be on continuously.
To get a 12V cigarette lighter socket output from the GB150 remove the cigarette lighter plug from this same cable.
20230302928 WO2022178102 Jump starter with current sharing switch arrangement, and safety switch, system, and method, James Richard Stanfield, Nitish AGRAWAL, Tom SITU, Andrea Carolina HACKER DAVIDSON, Jonathan Lewis Nook, Sr. William Knight Nook, Derek Michael Underhill, Noco Co, 2022-08-25, -
YouTube: Noco GB30 failure autopsy, 12:59 -
YouTube: Noco GB70 repairs: one won't jumpstart, the other's completely dead, 50:05 -
YouTube: NOCO Boost GBX45 Repair, 11:50 - The GBnnn series use a 3S pack for a nominal 12 Volts, but the GBXnnn series use a 4S pack for a nominal 16 Volts.
YouTube: No-Open NOCO Repair: Power Measurement and Charging Hack, 9:01 -
YouTube: NOCO Boost GBX55 Part 2: Balance, 11:10 - a dead cell could not be recovered (this is typical of dead packs).
Noco Genius 10 Battery Charger - Maintainer
I like the Noco GB150 and when I found out that they also made a battery charger I looked at a number of different models.
They make 1, 2, 5 and 10 Amp chargers and also have models for multiple batteries and models for direct connection to the battery, and industrial chargers for 24, 36 & 48 Volt batteries.
The highest current single stand alone charger is the Genius 10.
Also got the GC040 Carry case for the G10 charger.
When these photos were taken the default 12V flooded lead acid LED is illuminated (the one closest to the button). But the next time I looked at it the 12V AGM LED was on, i.e. it figured out that this battery is an AGM type. I confirmed that there's a label saying it's an AGM.
Note: sometimes after connecting the G10 the ramp LED would go to blinking green and at other times would show two red bars?
In Repair mode the LED blinks red. After some time (hours) a Fluke 87 V DMM in Min/Max mode shows:
From standby after repair; Pressed button: 12 Volt mode, Ramp LEDs progressed ending with only green LED breathing. 13.4 Volts.
Repair Red LED
Date & Time
Max
Min
Ave
Blink
2023Dec16 09:00 15.49
13.25
15.23
Blink
2023Dec16 15:15
15.52
13.25
15.38
Off
2023Dec16 17:15
15.52
13.15
14.96
I also got the Noco GENIUS1 Battery Charger/Maintainer for the Honda EU7000iS Generator.
20210094428 Battery charging device for charging a deeply discharged battery, and battery charging system and method, Jonathan Lewis Nook, William Knight Nook, Sr., James Richard Stanfield, Derek Michael Underhill, James P. McBRIDE, Noco, 2023-10-17, -
The Ctek (SmartCharger.com) may have been one of the early smart battery chargers. Jay Leno's Garage: Automotive Battery Chargers, 2015, 6:49
Foxwell BT-705 Battery Load Tester
The BT-705 has no internal battery. But once you make menu selections, they show up the next time the meter is used. Maybe a super capacitor or EEPROM memory?
PS While is have Wi-Fi connected printers, I don't have a blue-tooth printer so was not able to test the printout.
The battery Cold Cranking Amp (CCA) specification can be entered (maybe in steps of 5) between 100 and 2000.
Fig 1 It's a good thing that there's a hard case.
Fig 2 Hard case.
Fig 3 Contents.
Fig 4 I assumed that the battery was a regular flooded lead acid type.
But when editing the photos I saw it was an AGM.
So the displayed CCA of 983 is an error.
PS the internal resistance showed 3.96 mOhms.
Fig 5 Correct measurement page 1:
Volts: 13.11
Measured: 802 CCA
Rating: 760 CCA
Fig 6 Correct measurement page 2:
Res. 3.75 mOhms
SOH: 100% (Wiki)
SOC: 100% (Wiki)
Prior art battery load testers used a DC load, i.e. a big bulky resistor as a load.
While these worked they also sucked a lot of charge out of the battery. The newer method of patent 3909708 measures theinternal resistanceof the battery which has no effect on it's state of charge.I think that, based on size and weight, the BT-705 uses a DC load for CCA and measures internal resistance as a separate test???
YouTube: How to Quickly Test UPS Batteries Without the UPS Itself, 18:26 - he says only internal resistance is measured by the automotive batgtery tester and the other outputs are calculated from that. The measured internal resistance is independent from the Cranking Amps input number.
3909708 Electronic battery testing device, Keith S Champlin, 1975-09-30, - uses AC test signal and op amps to determine resistance of battery and computes current (CCA) and power that can be delivered. To pass a battery needs to deliver at least 75% of it's rating after correcting for temperature. Cited by 182 patents -
Amp Hound 2
A way to figure out which circuit has a parasitic current draw which causes the battery to go dead.
The problem with this method is that it only works for constant loads. For an example of an intermittent load see:
Which Parasitic Draw Test Method is REALLY the Best?, 38:08 - He likes putting a DMM in current mode with Min-Max activated, in series with the battery. Ford, and maybe other makers, have a specification requiring less than 50 mA total draw on the battery. That way, after a month of being asleep, the car will still start. The recommended method is to use a DC clamp on ammeter to know when the current draw is happening, then use a DMM to find the circuit.
This is a cleaver idea. A small hand held instrument that knows the resistance of common automotive blade type fuses (Wiki) in sizes Maxi, Standard or Mini/Micro. A sensitive DC voltmeter has it's reading multiplied by the fuse resistance and so the display is the current going through that fuse. This allows monitoring the current in that circuit and also finding phantom loads. That's to say there should be no current in a circuit that's turned off, so if you find current there's something drawing power. For example a car that has LoJack (Wiki) installed by a dealer in their favorite secret hiding place will draw power from some circuit, but it will not be known to a new owner, who just sees the battery going dead much faster than it should.
Fuse Voltage Drop Chart - Standard Duse (ATO, ATC) (Chart.pdf)
Both of the below devices are based on PIC micro controllers.
8384554 Audible current monitoring device, Kevin M. Curtis, K M C Electronics,2013-02-26, - Amp Hound 1? replaces fuse with known shunt. It makes sense that can be eliminated by storing the resistance of common fuses and asking the user to input the fuse parameters. Even better would be to measure the actual fuse in situ. Maybe that will be the AH3?
9494634 Current tester, Kevin M. Curtis, K M C Electronics, 2016-11-15, - Amp Hound
This is probably the Amp Hound 1 since the drawing shows normal DMM test leads.
The Amp Hound 2 comes with test leads specifically for the 3 fuse sizes.
9423462 Relay testing device and methods for testing relays, Kevin M. Curtis, K M C Electronics, 2016-08-23, -
The same company makes the hand held relay buddy tester that has a number of relay sockets on the front panel."Electronic Specialties 190".
YouTube: Bad Fuses, 16:47 - Bad Fuses Part 2, 16:02 - the Made in China fuses may not work and should be avoided. It's best to use name brand fuses.
CD Player Error Message
When trying to play a CD an error message appeared on the audio device display. The next time the car was at the MB dealer for service I asked about fixing the CD player and they wanted over $1,000 just to figure out what was wrong.
When preparing to send the car for the next scheduled service I was cleaning out the glove box and saw the CD player and the thought occurred to just open and close the door to the player to see if it would reset. It did reset and now the CD player is working.
Rear Lights
2023 April: Driver's side brake light burned out. Red warning on drivers display. On older cars the lamp would be replaced by using a screw driver to remove the plastic lens, but on more modern cars the lamps are replaced by removing sockets from the back of the lamp location. The trick is to use needle nose pliers to pull the tab at the very top of the assembly after pinching and pulling out the bottom a little.
The top lamp is for brakes and is marked GE 1057, 392, Hungary, 12V P21W (Power: 21 Watts, i.e. 1.75 amps), E1 2DX
The top 3 lamps are all the same GE 1057.
The bottom lamp is a dual filament GE 1157.
Fig 1 Top lamp burned out
Fig 2 Close-up of burned out brake lamp.
Note tab.
Fig 3 The back side of the lamp assembly is marked with the lamp voltage & power.
Note the tab at the very top.
This showed up as a question on Redit. r/whatisthisthing; r/Jeep/comments;
"Mechanic found in my car. It was draining my battery, attached to the main computer (and possibly the immobilizer). The QR code doesn't link to anything (B.C.: it's not QR and is just the serial No). The mechanic says it's an aftermarket part. I bought the car brand new and did not install this myself. Grey box part is 2x2x.75inches"
These show up in many auto forums.
Vivint (alarm systems) has a web page about the Karr Security System.
https://www.acrisurepg.com/karr-auto-security - works with KARR Security app
BT Series Customer User Guide (User-manual-4249239.pdf); FCC web page
One of the features is a geo fence.
7592918; RE44526E1 Electronic fence mode alert system and method, Lawrence J. Karr, 2013-10-08, -
This may be good for the dealer, but not so good for a vehicle owner if the dealer still has access.
Problem of rough running near idle and mid-range. This is the Bosch Motronic (Wiki) Mass Air Flow Sensor. This system was used in a number of German cars like the Porsche, BMW &Etc. A spring loaded vane is pulled open by the air stream and that turns a special pot on a ceramic board.
Instead of a normal pot this one has a laser trimmed resistor network feeding in correction voltages. So "12 Volts" needs to be applied and the voltage on the wiper measured. The problem is that the resistive material on the board wears away and then the dual wiper contacts make intermittent contact resulting in rough running at some mass flow rates. By slowly turning the pot arm and measuring the voltage on a DMM, you will notice "OL" flashing when the dual wiper contacts are not making connection. Note the OL indication was caused by ranging, not OverLoad, so locking the range when 12 Volts is applied stops the OL indication.
It may be that there are two Porsche part numbers for this: Let me know.
1984 - 1989 p/n: 930 606 123 00
1989 - 1994 p/n: 964 606 050 00
BMW also used the Bosch Motronic MAF sensor, but it may or may not have the same calibration?
Fig 1 Power Up lights all LEDs.
Fig 2 Side-Top
Fig 3 Front-Top
This is the only one to have, accept no substitutes, and do without until you can get one. I have seen up to 4 CHP radar traps all lined up in a row (the counter tells you how many bogies. The Forward, Back or Side indication is really cool. I have seen traps off to the side because I know when to look, otherwise they would never be seen. For approaching cars with moving radar you get a lot of warning as well as knowing that they are in front of you (of course it also could be a car parked on the shoulder behind tall grass). On a few occasions I have picked up the local oscillator of a cheap detector in a nearby car and can tell which car it is in.
The optical sensor for laser speed guns goes off when passing some electronic signs. The warning display and sounds are different for the different types of radars so you know which is which. Even though I can't tell you the sound or display for each type, I do know the sound of a highway patrol radar and it's different from the other sounds.
2022 October - got out to test black boxes chained to telephone poles. They turned out to be traffic counters, not speed radar.
Also See Police Traffic RADAR detectors on the Radar Warning Receivers web page.
Software 1 - for units prior to ESP interface. - determine your firmware version -
Manually programming the V1 -
7061423 Interleaved sweep for detection of pop transmissions in police radar detectors, (Valentine), - for burst type radar detectors.
6175324 Police Radar Detector, Jan 16, 2001, (Valentine), A novel frequency scheme for a police radar detector enables improved sweeping of the X, K, K.sub.u and K.sub.a radar bands.
05917441 06/29/1999 Police radar detector for sweeping K and KA radar bands during one local oscillator sweep
05900832 05/04/1999 Input stage for police radar detector including input signal preamplification
05856801 01/05/1999 Input stage for a police radar detector
05852417 12/22/1998 Police radar detector including nuisance alert suppression
05300932 04/05/1994 Motor vehicle police radar detector for detecting multiple radar sources
05250951 10/05/1993 Motor vehicle police radar detector for detecting multiple radar sources
D0338841 08/31/1993 Radar detector housing
05206651 04/27/1993 Motor vehicle police radar detector for detecting multiple radar sources
05151701 09/29/1992 Police radar detectors for detecting radar signals and determining the directional origin of the signal source
05146226 09/08/1992 Motor vehicle police radar detector for detecting multiple radar sources
05125110 06/23/1992 Microstripline microwave mixer using waveguide filter
05116248 05/26/1992 Power plug for radar warning detector
05083129 01/21/1992 Police radar detector for detecting radar signals and determining the directional origin of the signal source
05068663 11/26/1991 Motor vehicle radar detector including amplitude detection
05020754 06/04/1991 Method and apparatus for mounting radar detector
04994775 02/19/1991 High-pass filter for microstrip circuit
04973925 11/27/1990 Double-ridge waveguide to microstrip coupling
04908767 03/13/1990 Acceleration measuring systemThis contains the coordinate transformations to get from a 3-axis accelerometer to acceleration in the plane of the road. It depends on the roll and pitch spring constants being known and constant or using an independent roll & pitch input. This is required if you want to monitor the handling of a high performance car. You can not really use the accelerometers in the plane of the car since the car leans relative to the road.US04878061 10/31/1989 Broadband wide flare ridged microwave horn antenna
US04748848 06/07/1988 Accelerometer
Speed Traps -
Cop Car Registry -
California Codes - Vehicle 800-427-ROAD phone number for road conditions
One day while driving down the 101 freeway going South to Santa Barbara I passed a very long column of HMMWVs being delivered to the army at Hunter Liggett (Wiki). There were all kinds of models, most fitted with military radios. I started to study them at that time. It turns out that A.M General would not sell me a Hummer at that time because they were not street legal and they had their hands full building them for the Army and other U.S. and foreign services. Later they developed the "Heavy Hummer" that had a Gross Vehicle Weight (GVW) in excess of 10,000 pounds. This required not only adding heavier springs for the vertical load but also a lot of changes to the drive line to handle the higher torque that propelling the heavier vehicle required. With this higher GVW the rules change for street licensing and made the Hummer street legal. A friend purchased one of the first 100 and had it custom painted a civilian camo (the factory could not use the same robot pattern they used for the Army for legal reasons). My friend ended selling his back to A.M. General because of all the problems it had. One of the problems was that there was nowhere he could go that had trained mechanics. If the mechanic is not trained on the Hummer in the process of fixing one problem, he can create one or more new problems.
The Mercedes G-wagon (Wiki) is a very expensive civilian vehicle that is attempting to emulate the HMMWV. This is the vehicle the rich bad guys drive in movies.
Lamborghini made a similar vehicle the LM002 (Wiki) based on an off shore boat engine produced in 1984 it weighed 3100kg had a v12,dohc,4v/cyl. 455hp,369lbft,tranie 2x5m ,0-60 in 7.9 ,top speed of 120 ,also it was 4wd front-engine. But, like the G-wagen, is only a pretender to the HMMWV.
The Military Vehicle Forum is a web site where owners and others post Hummer related information.
There is a Radio Controlled (RC) Hummer model made by Tamia.
Surplus Enterprizes, Inc - no parts listed on web, need to call them
HummerNet.Com - on line magazine
Sting Accessories - custom components
D.Lain Fabrications - Custom Heavy-Duty Cargo Rack
National Transmission - Mattracks Systems
David W. Uhrig - Military Vehicle Broker & Appraisal Service - note that Army Hummers are not street legal (see above)
Military Vehicles magazine - Links -
Geoff's Humvee page -
Military Vehicle Preservation Association (MVPA) - Links -
Wenzlu Engineering - HMMWN Info Center - quick erecting telescopic masts -
Military M998 HMMWV Series -
Off-Road.com - hummer pages - "The Most Serious 4x4 On Earth"
olive-drab.com - Introduction To Buying and Owning Military Vehicles -
Military Vehicles Mailing List - instructions on how to sign up for this list server - Military Vehicles Mailing List Archive - look here with your browser
Portrayal Press - military related books
DRMS - official government sales -
General Motors' Hummer H2 Vision Vehicle - GM makes a knock off version as a show car to test reaction
Hummer of Sacramento - new & used full size Hummers & the GM H2 + a Hummer Trailer - 2019 broken link
Harley Davidson Hummer
This was my first motor vehicle after I got a drivers license in the 1950s. My uncle lived in Salinas, CA (Wiki) and there was a Harley dealer near him so we purchased from Larry Ketzel's dealership. Larry was riding in Nevada when an atomic bomb was tested and the fallout caused him medical problems (Wiki).
I got the 165cc two stroke Hummer model (Wiki) and drove it for a number of years.
One day when making a right turn where there was a gas station on the corner, I maybe hit some oil and the next thing I knew the pavement was rapidly approaching my face. So I put out my right arm. But that caused the shoulder to dislocate. Every now and then it would pop out and then my arm would just dangle, i.e. I had no control of the arm. I learned to bend over and let my right hand drag on the ground then gently step on my right hand, and gently move to stand up. This would pop the shoulder back in place. But once while at home, I was doing a lot of traveling for work, it popped out when I was in bed. I would have been trapped if in a hotel on the road, but at home my wife helped me recover. That led to a surgery to prevent further problems.
Production Volume v Reliability
Reading the Hummer Forum, my friends experience and my experiences lead me to believe that when you have a car that is made in relativity small numbers, you are going to have trouble in general and also in getting service. In my friends case the mechanic would make new problems as he tried to fix existing problems. This same thing happened to me with an '86 Turbo Inter-cooled 745 Volvo wagon. The block had a bad freeze (casting) plug, so the dealer, under warranty, replaced the raw block because the model was so new there were no short blocks available. In the process he cross threaded the plastic radiator, causing me grief on a trip to Santa Barbara. Some cars like the Corvette ZR-1 have a V-10 engine so complex that the local dealer is not allowed to work on it, instead it is sent to the factory for repairs.
Cars like the Honda Civic (Wiki) or Ford Taurus (Wiki) that are made in very large numbers tend to have the bugs worked out.
Rubber Biodegrades
Rubber parts cause a lot of problems. Rubber and the synthetic version of it all biodegrade in air or water. Any rubber hose or gasket is a problem waiting to happen. If rubber is used as part of the insulation on wires they will get hard, crack and short out...it's just a matter of time. The '29 & '34 Rolls Royce cars have no rubber parts except for the tires. The wires have a cloth woven over the insulation (don't know if it's rubber or something else?). There is a metal tube between the 1929 RR frame and engine that carries the fuel. It has a few turns about 3 inches in diameter to allow for flexing. Rubber parts failing was a huge problem on the '69 Bentley.
Dead Battery Leads to Need for Radio & GPS Unlock Codes
After 11 years the battery in the Honda Odessey van needed to be replaced. Disconnecting the battery enables the anti-theft features in the radio and GPS Navi system (makes them inoperative). If you can't find the paper work or the sticker on the van then you must get access to the serial number sticker on the radio and/or GPS.
Honda 2000 Odyssey Get Radio Serial Number
Car Bloat
This article showed up 2024 April 28 and is an excellent summary of the factors that have lead to what the author, David Zipper, calles "car bloat".
Vox: The reckless policies that helped fill our streets with ridiculously large cars Dangerous, polluting SUVs and pickups took over America. Lawmakers are partly to blame. David Zipper (Vox, His home page, The Atlantic, Slate, The Verge, Bloomberg, Twitter,
Links from the above article:
Why Americans love big cars: It’s not just a consumer choice; it’s a policy choice. 2023 Jul 25
Bring back the station wagon: How regulations helped push consumers and manufacturers to bigger, dirtier, dangerous vehicles, 2021 Jun 1, A.D. Mastro
Ford Explains Why It Killed Its Sedans In The US: It's about following the money. 2020Oct11 - sedans will no longer be a part of its product offerings
Why SUVs are getting bigger and bigger: GM, Toyota, Ford enlarge hefty vehicles, 2019Dec27
Trucks And SUVs Are Now Over 80 Percent Of New Car Sales In The U.S.: That figures to stay the same for January, JD Power says, a new record. 2022 Jan 27
Average number of people per household in the United States from 1960 to 2023, 2023Nov22 -
How Cars Turned Into Giant Killers: An irresistible trend took hold in American cars 50 years ago. We’re all paying the price. by David Zipper, 2023 Dec 17 - AMC got the Jeep classified as a light truck under CAFE.
US Traffic Safety Is Getting Worse, While Other Countries Improve: The rising rate of road deaths in the US continues to defy global trends. Here’s what traffic planners in other nations could teach their American counterparts. 2022 Nov 3 -
New cars are supposed to be getting safer. So why are fatalities on the rise?, 2023Sep25 - "...large vehicles are more likly to strike people in the head and vital organs, rather than the legs."
U.S. says traffic deaths fell slightly in first nine months of 2022, 2023 Jan 9 - "The number of cyclists killed rose 5% to 985, the most since at least 1980, NHTSA said earlier this year."
Trends in aggressivity and driver risk for cars, SUVs, and pickups: Vehicle incompatibility from 1989 to 2016, 2019 Aug 5 -"pickups remain disproportionately aggressive toward other vehicles, possibly due to their greater average curb weight."
Carry That Weight: There’s a problem with transporting new vehicles across the country: They’re too heavy., 2023 Jun 28 - "... a rule of thumb showing that roadway stress caused by two vehicles is a function of their relative weight per axle scaled to the fourth power."
There’s a Big Problem With Your Car’s Tires: Regulators—and a reluctant industry—are finally starting to deal with it., 2023 Nov 9 -tire pollution (Wiki: 6PPD)
Why we let bigger cars pollute more
transportation.gov: Corporate Average Fuel Economy (CAFE) Standards -
Book: High and Mighty: SUVs--The World's Most Dangerous Vehicles and How They Got That Way, Keith Bradsher, January 1, 2004, - two CAFE standards, one for cars and a more relaxed one for light trucks.
Vehicle Fuel Efficiency (CAFE) Requirements by Year (1978 - 2024) - Blue: Passenger cars, Yellow: Light-Duty trucks
Definition of Truck Is A CAFE Loophole Critics Say, 2002 May 13 -
Throw Back 90's Ford Explorer Commercial | Ken Wilson Ford - showing SUV used for what otherwise would be done in a car.
Ford Ranger | Television Commercial | 1995 -
Energy.gov: Fact #714: February 13, 2012 Light Truck Sales on the Rise, 2012 Feb 13 - by 2002 light trucks out sold cars and have ever since. Obama Announces New National Fuel Policy; Two Harmonized Standards, with Fleet Average of 35.5 mpg, 250 gCO2/mile by 2016, 2009 May 19 - "Both EPA and NHTSA currently intend to propose attribute-based standards for passenger cars and light-trucks. The agencies currently intend to propose vehicle footprint as the attribute for the GHG and CAFE standards, with footprint defined as a vehicle’s wheelbase multiplied by its track width." "... Generally, manufacturers of larger vehicles (i.e. vehicles with larger footprints) would face less stringent standards (i.e., higher CO2 grams/mile standards and lower CAFE standards) than manufacturers of smaller vehicles."
History of Fuel Economy: One Decade of Innovation, Two Decades of Inaction, 2011 April (pdf)
Loophole may mean bigger, not smaller, cars: Regulations may discourage automakers from manufacturing the kind of small cars that the Obamaites favor and, in some cases, encourage carmakers to do exactly the opposite., 2009 Apr 21 -
Download the Automotive Trends Report: 2023 Executive Summary -
Biden Administration Announces Rule Aimed at Expanding Electric Vehicles: The regulation would essentially require automakers to sell more electric vehicles and hybrids by gradually tightening limits on tailpipe pollution., 2024 March 20 - narrow (but not close) the gaps between standards for large and small cars.
Yes to electric cars but not the Hummer EV: The Hummer EV is an environmental disaster, and it should be treated as one, argues David Zipper.
Blocking smaller cars from abroad
NYT: The Chicken War: A Battle Guide, 1964 Jan 10 - (Wiki: Chicken tax)
The chickens have come home to roost, 2009 May 4 -
TOYOTA Hilux Double Cab 2020-Present, 2024 - gets very high ratings world wide, except not sold in the US
2024 Ford F-150,
How A Tax On Chicken Changed The Playing Field For U.S. Automakers, 2015 June 19 -
CATO: The Hidden Costs of Tariffs, 2018 July 9 -
AEI: The Anti-consumer 25% ‘chicken Tax’ on Truck Imports Has Insulated Big 3 from Foreign Competition for 50+ Years, 2018 Sep 23 -
US lawmakers want Biden to hike tariffs on Chinese-made vehicles, 2023 Nov 8 -
Why is Biden blocking the cheapest, most popular EVs in the world?, 2024 Mar 4 - $10,000
Car prices are finally falling: Here's the average price for new, used in US, 2024Feb 28 - average: $47,338
Owners of miniature Japanese imports refusing to give up after the legislature fails to legalize their vehicles: The Georgia Department of Revenue considers Japanese Kei cars unsafe, 2024 apr 12 -
In the land of the free, why can't we have mini-pickup trucks like the Taliban and ISIS?, 2023Apr29 - (reddit, Military Times)
Rise of S.U.V.s: Leaving Cars in THeir Dust, With No Sighs of Slowing: Sport utility vehicles outsold sedans two to one in 2019, just four years aftere surpassing them for the first time. This shift shows little sign of stopping, 2020 May 21 -
The Hummer Tax Loophole
Deficit Reduction Act of 1984: Section 179 - Sec. 179. Limitation on amount of depreciation and investment tax credit for luxury automobiles; limitation where certain property used for personal purposes. - A passenger car is rated 6,000 pounds GVW or less.
IRS: Publication 946 (2023), How To Depreciate Property:What's New for 2023: Section 179 deduction dollar limits. For tax years beginning in 2023, the maximum section 179 expense deduction is $1,160,000. This limit is reduced by the amount by which the cost of section 179 property placed in service during the tax year exceeds $2,890,000.Also, the maximum section 179 expense deduction for sport utility vehicles placed in service in tax years beginning in 2023 is $28,900.
Freezing the gas tax
Federal policy ignores crash risk for anyone outside a car
Why can’t we fix things?
"Federal leaders could do a world of good if they simply unwind the ill-advised policies already on the books."
CAFE & the demise of Cars
YouTube: Why are there more SUVs on the road?, CAFE (Wiki); EPCA (Wiki)
YouTube: Haulin' All-rounder: The History of the Pickup Truck, 16:37 -
Guardian: Paris is saying ‘non’ to a US-style hellscape of supersized cars – and so should the rest of Europe: From emissions to road deaths, the trend for ever-bigger SUVs is a disaster. We need an incentive to turn the car industry back to smaller vehicles -
Title 49; Subtitle B; Chapter V, Part 523 Vehicle Classification - This may be where "automobile", "pickup truck" &Etc are defined.
FHA, US Census Bureau & EPA Vehicle Weight Classes & Categories -
40 CFR Parts 85, 86, 600, 1033, 1036, 1037, 1039, 1065, 1066 & 1068 (408 pages). heavy duty trucks are over 8500 pounds GVWR.
Email from the NHTSA:
NHTSA categorizes vehicles by class and “curb” weight. Curb weight is the weight of a vehicle with standard equipment including the maximum capacity of fuel, oil, coolant, and air conditioning. Passenger cars are further subdivided.
- Passenger cars mini (PC/Mi) (1,500–1,999 pounds)
- Passenger cars light (PC/L) (2,000–2,499 pounds)
- Passenger cars compact (PC/C) (2,500–2,999 pounds)
- Passenger cars medium (PC/Me) (3,000–3,499 pounds)
- Passenger cars heavy (PC/H) (3,500 pounds and over)
- Sport utility vehicles (SUV)
- Pickup trucks (PU)
- Vans (VAN)
This has raised the following questions:
I don't see an upper limit on the curb weight of the passenger cars heavy category and no weights for SUV, PU and VAN?
Where on the vehicle do I get the curb weight? (GVW - PayLoad = Curb Weight).
Make
Year
Model
Other
GVWR
Curb Wt
NHTSA
Honda
2020
CR-V
4739
3472
PC/Me
Toyota
2022
Highlander
5935
4376
SUV
FCA
Wiki: Chrysler
2015
RAM 1500
Crew cab
5' 7" bed
6900
(6900GVW-1480PL=)
5420
PU
Ford
2001
F250
Std cab
8800
5058 - 6152 (model dependent)
Truck
From Wiki: Vehicle size class
EPA
Volume
Cu Ft
Sedan
Station
Wagon
<85
Mini Compact
85 - 99.9
Sub Compact
100 - 109.9
Compact
110 - 119.9
Mid-size
120 - 129.9
Large
Small
130 - 159
mid-size
>= 160
Large
EPA Trucks
Class GVWR Pickup trucks Small <6,000 lb (2,700 kg) Standard 6,000–8,500 lb (2,700–3,850 kg) Vans Passenger < 10,000 lb (4,550 kg) Cargo < 8,500 lb (3,850 kg) Minivans < 8,500 lb (3,850 kg) Sport utility vehicles Small < 6,000 lb (2,700 kg) Standard 6,000–10,000 lb (2,700–4,550 kg) Special purpose vehicles < 8,500 lb (3,850 kg) IIHS (current/hdi-auto-size-class.pdf)
Cars
Pickup
Curb weight (pounds) Shadow <70 sq ft Shadow 70–79 sq ft Shadow 80–89 sq ft Shadow 90–99 sq ft Shadow 100–109 sq ft Shadow 110+ sq ft 4,000+ - - midsize large very large very large 3,500 - 3,999 - small midsize large large very large 3,000 - 3,499 - small midsize midsize large 2,500 - 2,999 - small small midsize 2,000 - 2,499 - mini small <2,000 micro
Curb Wt #
Payload
Class
<4000
na
Small
>4000
1/2 Ton
Large
>4000
3/4, 1 Ton
Very Large
SUV
Curb Wt #
Shadow Sq Ft
Cat
<=3000
<75
Mini
3001 - 3750
Small
3751 - 4750
Midsize
4751 - 5750
Large
>=5751
Very Large
Van
Small starts with curb Wt between 2000 & 3000 # and shadow <80 sq ft and then ramps up to very large with CW >4500# and shadow >110 sq ft.
CAFE Standards
Part 531—Passenger Automobile Average Fuel Economy Standards - from 18 MPG in 1978 to 67 MPG in 2026.
Part 533 - Light Truck Fuel Economy Standards - from 14 MPG in 1980 to 54 (max mpg)/32 (min mpg) in 2026.
Light Trucks & Chickens
The reason why the Toyota Hilux Champ (Wiki, Toyota) is not for sale in the US. 2025May25 Sticker price: US$18,381 is the Chicken Tax (Wiki)
YouTube: The Chicken Conspiracy Robbing Americans of the Toyota Hilux, 11:31 - Proclamation 3564—Proclamation Increasing Rates of Duty on Specified Articles - Why American Trucks Are So Big, 14:05 - Cicken Tax, Obama & CAFE, Kei trucks (since 1995 Kei truck imports have grown over 300%.)
The Iconic Soviet "Loaf" van (Wiki: UAZ-452) was made since importing real VW vans was not allowed.Why Has This Soviet Van Stayed the Same for 60 Years?, 17:44 - an alternate story is that the "loaf" was based on the Jeep FC-150 (Wiki).
YouTube: This Pickup Truck Just Got BANNED Across 12 U.S. States — Owners Are FURIOUS, 27:00, 2025 Jun 12 - which 12 states?
YouTube: Why 70 Series Land Cruisers are BANNED in the United States, 8:30 -
Volkswagen Type 2 (Wiki).
2026 Mar 6: YouTube: The rise and fall of Small Cars: From 80% of US car sales to near extinction, 18:34 - includes many factors.
Light v. Heavy VehiclesThe Chicken Tax was on "light trucks". For some time I thought that meant things like the VW bus, but that's wrong. In this context "light" means under 10,000 pounds GVW.
Heavy means greater than 10,000 pounds. For example see my High Mobility Multipurpose Wheeled Vehicles (HMMWV) web page.
Window Sticker (Wiki: Monroney sticker)
The sticker is mainly concerned with identifying the make and model, then price and fuel economy.
This sticker does not contain vehicle weights. The Gross weights are on a sticker on the driver's side door jamb. Still looking for a source for the curb weights.
There was a major emissions scandal with Volkswagen (Wiki) that was related to cheating on emissions tests. This affected VW & Audi cars.
2023 Dec: Engine maker Cummins agrees to pay $1.67 billion to settle claims it bypassed emissions tests - "The Justice Department accuses Cummins of installing defeat devices — which can bypass or defeat emissions controls — on 630,000 2013-2019 Ram 2500 and 3500 pickup truck engines, as well as undisclosed auxiliary emission control devices on 330,000 2019-2023 Ram 2500 and 3500 pickup truck engines."
2023Dec22: Attorney General Merrick Garland Statement on the Agreement in Principle with Cummins to Settle Alleged Installation of Illegal Defeat Devices in Engines -
Number
of RAM
Pickups
Models
Years
630,000
2500 & 3500
2013 - 2019
330,000
2500 & 3500 2019 - 2023
In the VW case there was a major buyback of diesel cars. I expect there will be a major buy back and/or recall so that vehicles will be compliant.
AFAICR in the VW case the performance was not acceptable when the defeat device was removed and so the owners demanded a buy back. I expect this may happen with diesel RAM pickup trucks.
Unintended Consequences
Added this paragraph after seeing YouTube: Great Moments in Unintended Consequences: Gun Buybacks, Poppy Payday, CAFE Standards (Vol. 13), 3:05 - @2:01 - 1975, CAFE fuel economy standards (Wiki) - this is why 80% of vechicles now sold in the US are categorized as trucks even though they have a strong resemblance to a car.
Great Moments in Unintended Consequences (Vol. 1), 3:03 - @0:53 Corn Ethanol Subsides: soil erosion, higher food prices, rising gas prices, massive water requirements, pollution fertilizer and pesticides, ethanol produces more green house gases than gasoline, to make one Gallon of ethanol requires 1.29 gal of fossil fuel, at a cost of $7 Billion a year. (Wiki: Renewable Fuel Standard)
Pickup Trucks
For some time I've noticed that almost all the pickup trucks I see have 4 doors and a short bed. I consider these luxury vehicles rather than working trucks.
One of the factors I considered when shopping for a van was the ability to carry a 4' x 8' sheet of plywood or drywall inside with the rear door closed. The 2000 Honda Odyssey EX van does this. And in addition can carry a small number of 10' long lumber, also with all doors closed. Modern 4-door pickup trucks can not even carry 4'x8' material with the tailgate up.
But recently (2023 Nov) I've discovered that you can still buy a regular cab long bed pickup truck, but it takes some searching.
Ford F-150, Regular cab, 4x2, Engine: 3.3L (std), options: 2.7L or 5.0L (WB: 145.4" = 67.1 bed) Payload rating 3,310 lbs: "When properly equipped, Max payload on F-150 Regular Cab 8' box 4x2 with available 5.0L engine and Max Trailer Tow and Heavy Duty Payload Pkgs. Class is Full-Size Pickups under 8,500 lbs. GVWR. May payload varies and is based on accessories and vehicle configuration. See label on doorjamb for carrying capacity of a specific vehicle."
GMC Sierra 1500, in the regular cab, 4x2 configuration the payload is around 2200 lbs, i.e. over a ton, not the 3/4 ton that "1500" implies.
Axios 2023Jan 25: Pickup trucks have ballooned over the years - Pickup Trucks: from Workhorse to Joyride -
Year
Cab
Bed
1961 - 1979
36%
64%
1980 - 1997
40%
60%
1997 - 2003
50%
50%
2004 - 2015
60%
40%
2015 - 2021
63%
37%
Chain of Events - It's not at all clear if this is the case!
It's just as likely that safety standards are driving this change.
1971 Nixon Shock decouples the US Dollar from the price of gold.
1973 Since OPEC can no longer trade US Dollars for gold they raise the price of oil (Wiki).
1975 CAFE put in place to conserve gasoline (Wiki).
1975 Pickup trucks, SUVs & Minivans replace automobiles which are penalized by CAFE.
Letter to my Congressman in the House of Representatives 2024Aug9
----------------------------------------
For most of my life I've been interested in cars. I've noticed that starting in the 1970s the US Corporate Average Fuel Economy (CAFE) rules have had two tiers, one for "cars" and a more lax standard for "trucks". This has caused the manufacturers to quit making "cars" and now they only make "trucks" which includes things like the Sport Utility Vehicle (SUV). If you go to the web page for a US vehicle manufacturer you will see they no longer offer "cars" for sale. Since "trucks" now have 4 doors, high end interior appointments and are much heavier, they are very expensive.
In addition to the CAFE problem the "Chicken Tax" has banned the importation of light trucks into the US, which means we can no longer get these low cost vehicles. The Toyota Hilux Champ is a much lower cost vehicle than anything offered by a US maker, but not legal to import.
https://en.wikipedia.org/wiki/Chicken_tax
Another area are the Kei cars and trucks in Japan. They have a special vehicle class for very light and small vehicles that are taxed at a lower rate than standard vehicles, very similar to how we treat motorcycles. These are very economical vehicles.
https://en.wikipedia.org/wiki/Kei_truck
https://en.wikipedia.org/wiki/Kei_car
Currently these can only be imported if they are more than 25 years old. This needs to change so that new Kei cars and trucks would be US legal. They are about as safe as a motorcycle, but are much more useful as well as being affordable. There's a world wide market for this type of vehicle, i.e. very high demand.
The "Peoples Car" is another example of government action to get an affordable vehicle for working people.
https://en.wikipedia.org/wiki/Volkswagen#History
The result of the above laws passed by Congress is that modern cars have gotten very expensive and beyond reach of a majority of the population. If the above laws were revamped it would not only make affordable cars available, but would create a lot of jobs in the automotive sector of the economy.
Today I saw a YouTube saying that there are millions of unsold cars parked in outdoor storage lots because people do not want to buy them. In addition the amount of debt carried by car loans may default since many of the loans are under water (the car is worth less than the outstanding loan balance).
I have more information on my Cars web page. David Zipper has written a lot about "Car Bloat" and would be a good resource.
https://prc68.com/I/Cars.shtml#Car_Bloat
----------------------------------------
American-Made Index
I learned about this from this article:
The Guardian: Trump’s promise to tax imported goods could spell trouble for US auto industry, 2024Dec7 - "Few vehicles are as emblematic of the American auto industry’s might as the Ford F-150 pickup truck (Wiki), the nation’s best-selling vehicle for over 40 years. But the F-150 is much less American than its image suggests." See:
2024 American-Made Index.
2025 American-Made Index
The Detroit Big 3 automakers (Wiki) have pretty much quit making sedans. See:
Velocity Automotive Journal's List of Sedans. Of the 74 sedans listed only 3 are from the Big 3 (not counting Tesla) This is an indication of how bad the Big 3 are doing.
By 2021, the only non-SUV, truck, or van that Ford produced was the Mustang pony car, while GM only produced the Malibu midsized sedan, the Camaro pony car and the luxury Cadillac CT4 and CT5. (Wiki)
I have owned a number of other cars including a '29 Phantom II (WJ14) and '34 RR 20/25 (GWE72). Note that Rolls Royce was founded because other contemporary cars were well known for "failing to proceed". RR won many races, not because they were fast, but rather because the made it to the finish line. Reliability was the number one concern. These are both works of art. The firewall is an aluminum casting. There are no rubber parts other than the tires. The fuel line between the frame and the engine is metal with about 5 turns to allow for the rocking movement of the engine. Note that rubber (and it's modern replacements) bio-degrade when exposed to air or water. India was a British crown colony and the source of Gutta-percha (Wiki) so rubber was commonly used in English products, even if that made them less reliable. I believe this is the cause of many "failures" in cars. The '29 Phantom II was made close enough to the beginning of automobiles that it still had the "start from the switch" function although it also had an electric starter. Early cars did not have electric starters, they had a crank that needed to be turned to get the engine going. RR (and probably others) had a feature related to the manual spark timing lever at the center of the steering wheel. When you were about to turn off the engine, you first put the advance lever all the way up, then turned off the ignition switch (the key was separate from the switch). In this way the engine would turn over maybe a turn or two with no spark and in the process inhale some fresh air and gas. When you wanted to start the car, after shopping or whatever, you would turn on the ignition switch and then move the advance level smartly down. This would cause the points to open and fire whichever cylinder was just past top dead center, starting the engine without cranking. I got this to work, but not all the time. At the time RR began their business most cars were very unreliable. Henry Royce worked hard to make a car that was reliable. To promote the reliability they entered endurance races, where just finishing meant winning. The early RR cars were made into armored cars (early tanks) and used in the African desert by Sir Lawrence who praised them highly for their reliability. In the movie Indiana Jones and the Temple of Doom the ruler of the dessert where the temple is located refuses gold and jewelry but accepts a Phantom II RR. As of about 1988 there was a Phantom II used by a women on the East coast on a regular basis. Although it will not maintain freeway speeds, it will keep running almost forever.
I bought these at Coys of Kensington.
Beaulieu - motor Museum with on site restoration shop -
Trade offs
Using a coiled metal tube between the frame and engine of the 1929 Rolls Royce is an example of getting higher reliability rather than use a rubber hose that will for sure fail because rubber degrades.
A note on Lucas "prince of DarknessTM" (web page with examples) electrics. The Lucas relays are in metal cans that use bendable tabs to hold the can onto the base. But Mercedes Benz relays are hermetically sealed. The Lucas relays fail often but can be burnished and work again and again, while the MB relays last about as long but don't need the maintenance but at a substantial additional cost.
There's a similar trade-off in headlights. The early American headlamps combined the filament and reflector into one unit. There are locating bumps on the headlight that fit into it's socket. But whenever a new headlamp is fitted it must be aligned to point in the proper direction. They used to cost less than a dollar. The Honda uses a fixed reflector and a removable pre-focused lamp. You just remove the burned out lamp and install the new one. Done in less than a minute and no alignment, but the lamp costs about $10. So you trade time and money.
The flashlight bulbs that screwed in had random filament locations and so many flashlights had a provision to adjust the focus. The later flanged flashlight bulbs had the filament in a predefined location.
Note that as time goes on the cost per hour for a mechanic that know how to work on modern cars is higher every year so it's cost effective to make trades that minimize mechanics time.
Although I never owned one, but the Lotus Super 7 has held a fascination for me. This was a car built to be very light (1100 lbs on early models) and had a 4 cylinder engine. Because of the light weight it does not need a lot of horsepower to go fast. It is also narrow so that on an autocross circuit the road looks wider allowing the Super Seven to often take top time of the day. Of course if there was a hot go cart or motorcycle they could take TTOD. The principal is still true. If a car was made, say using carbon fiber technology with a goal of minimum weight, it would be even faster than the Super Seven. (Carol Shelby pitched that idea to Chrysler but they went with the Viper (Wiki) instead)
Super Seven web page with information about "The Prisoner's" car (Wiki).
British Cars web page -
More British Car web page links -
Yet more British car Links -
Sevens & Elans, Ltd. -
Autocourse Inc.- Caterham Dealer for California
Caterham UK - has the right to make the Super Seven which Lotus no longer makes
Catherham US - The CSR chassis is a little bigger (maybe I could fit it) and is much stiffer and has much more modern suspension + 260 or more HP.
New England Classic Car Company -
WorldClass Motorsports is continuing the tradition of making light powerful vehicles(6.3 lbs/hp).
The Ariel Atom (Wiki) is a very light (1350 lbs) and fast car. (2023: $80k)
Exomotive - similar to the Atom but the kit starts at one tenth the cost.
Pembleton - T24 four wheel cycle car -
Pickup trucks tend to last much longer than cars.
YouTube:Toyota PICKUP Truck - The Science EXPLAINED, 15:41 - @11:58 the 22R-E engine
Side
22R-E (Wiki) Engine
1985 - 1995
This is the stock engine (there was a question about
having a newer engine)
Note it seems in 2023 you can no longer buy a pickup truck with seating for 2 people. They all seem to have car cabs with seating for 5 and to go with that a much shorter bed, so less useful for hauling stuff.
The Only 4 Engines That Can Survive a Decade of Neglect (The ‘Low-Compression’ Loophole), 7:08 -
0:00 - The Scrapyard Discovery (The Death of Longevity)
0:45 - The Three Pillars of the “Low-Compression Loophole”
1:30 - The Toyota 22R: The Unkillable Workhorse (Wiki)
2:45 - The Cummins 12-Valve: The Diesel Legend (Wiki)
4:15 - Why Modern Engines Fail Where These Succeed
5:30 - The Small Block Chevy: American Iron that Shrugs Off Neglect (Wiki)
6:45 - The Mercedes OM617: The Pinnacle of Analog Genius (Wiki)
Wiki: Kei Truck; Kei Car; the idea is to encourage small cars & trucks with lower fees & lower insurance, i.e. very similar to how motorcycles are treated in most countries.
Kei cars must be under 11.2 'long x 4.9' wide x 6.6' high.
The Morris Mini (Wiki) was specified to fit into a box with internal dimensions of 10' x 4' x 4' (Wiki).
YouTube: Don't Buy A KEI Truck Without Watching This Video. Honda Acty, Subaru Sanbar, Suzuki Carry, 18:34 - recommends: Subaru Sambar w/manual 5-sped transmission
How to Import a Kei Truck Into The USA, 2023 Sep 28 - "If you’re looking to import a kei truck to the USA, you’ll need to get to grips with U.S. customs regulations and international shipping procedures. It’s crucial to find a reputable seller and make sure the kei truck is at least 25 years old to meet the 25-year exemption rule for importation."
One Year! (And One Month) Living With My Subaru Sambar Japanese Kei Truck!, 24:08 -
Subaru Sambar Buyers Guide 1990-1997 Review and tons of info!, 22:31 -
The Absolute Basics on the Subaru Sambar Truck and Van for the Future or New Owners KS3 KS4 KV3 KV4, 33:12 - Oh Kei Garage - Parts -
What happens when kei cars take over your life? Pure joy, 8:08 - Suzuki Cappuccino (Wiki)
Mitsubishi Pajero Jr Flying Pug: Always Something To Talk About // CARISMA, 8:14 - Mitsubishi Pajero Junior (not a Kei car) (Wiki); also see: Mitsubishi Pajero Mini (Wiki)
A small battery electric quadricycle based on the look and feel of the Isetta (Wiki) bubble car. It's as cute as a bug.
YouTube: Inside Ultra Modern Factory Producing Weird but Powerful Cars - Microlino, 17:38 - partially automated assembly line, @7:13 there's a laptop & data interface in the door.
2025 July 4: Micro Microlino - Palate Cleanser (ENG) - Test Drive and Review, 15:35 - Fun to drive, many admirers, 24,879 Euros in Italy
YouTube: Morgan Three Wheeler and Caterham Seven: Brilliant British Flyweights, 15:38 - small, light, agile, FUN
YouTube: 1932 Morgan Three-Wheeler - Jay Leno's Garage, 9:30 - "...one of the oddest and most fun cars that I have..."
Separate web page for Tilting Three Wheelers.
TriKing
A YouTube video of a 1918 Harley Davidson Cyclecar (1918 Harley Davidson Cycle car LEAVING) where the engine sound was what got my attention. That started me on a path that led to the TriKing cycle car, but it's based on a Moto Guzzi rather than a Harley Davidson.
YouTube: Antique Cycles:Harley Davidson Cyclecar, 8:43 - 1200cc Sportster (Wiki) Engine
Knucklehead Powered Cyclecar On The Dyno, 3:10 -
Jalopy Journal: 1918 Harley Davidson Cyclecar - Harley engine behind driver in normal orientation so easy drive line. No reverse, but wonderful sound.
TriKing (UK) & TriKing (US) Moto Motivo - looks like early Morgan, based on Moto Guzzi drive train (i.e. shaft drive is directly compatible whereas chain drive is not).
Have book on order: Three-wheelers: the Complete History of Trikes, 1885-1995 by Chris Rees, 1995 -
Elio
This is a project to make a 3-wheel car in the US that will sell for $6,800.
Their YouTube page.
The mule car uses a 3-cylinder Geo Metro (Wiki) engine that's from the Suzuki G line and front end assembly, but the actual car will use a special built engine.
The Geo metro gets the same or better fuel economy than the Prius.
"... ultra-fuel-efficient Geo Metro XFi model, which delivered as much as 58 miles per gallon..."
The reason given for the 3-wheel design (2 in front) is lower aerodynamic drag (front and back seats, not side by side like the Morgan).
The mule car has a 100 MPH top speed.
Press Release 28 Apr 2016 - Elio Motors Completes Final Stage of Engineering for E-Series Vehicles with Chassis Design
YouTube 2018 Dec 24:How this Radical Car Missed its Chance to Change the World - (5:52) Wasted money on developing engine and in the end went with Roush engine. The need to shift consumer habits was another problem. (7:01) since rated as motorcycle, driver & passenger need to wear helmets and driver needs M1 drivers license. A 4-wheel version might have been an easier sell. As of this video they have not yet shipped anything.
Morgan
The Morgan Car Co. in England (yes they are still in business) made a three wheel "motorcycle". There is a legal distinction that is still true today, i.e. if it has three wheels it will be treated as a motorcycle by the government licensing agency (the DMV in California). The idea was to lower the cost of ownership. It had two steering front wheels and a driven rear wheel. This is a stable configuration meaning that you are less likely to crash it. Search YouTube for "Bond Bug" (YouTube, Wiki) to see many crashes of a car with 2 rear powered wheels and a single front wheel. The single steering wheel in front and two driven wheels in back is an unstable configuration. These definitions come from vehicle dynamics. The story is that Mr. Morgan, a preacher's son, wanted to take girls out on dates in the new car so it had to have side by side bench seating. In the nineteen seventies I went to the Morgan factory and asked about a tour. They said that they did not have the staff to do tours, but that I was welcomed to just walk around and have a look! It is interesting that wood (not in the frame, but used between the frame and body panels, is a material very much like carbon fiber in plastic. They both have a lot of strength for their weight.
Note this is the same construction as used on the Rolls Royce PII (chassis: WJ14) that I had. Coach builders used wood to build the body and set it onto the metal car chassis.
MORGAN PLUS FOUR CLUB of Southern California -
JZR Pilots Association - replica 3-wheel Morgan using Honda V4, Harley EVO or Moto Guzzi engines.
Nov 2010 - Morgan is looking into making a new 3-wheel car.
Morgan Reviving Threewheeler With Harley-Davidson Power
Tri-Hawk (Trihawk)
The Tri-Hawk was made in Dana, Southern California as a autocross car. It would not roll over and developed very high lateral G forces in turns. It had both steering and drive on both front wheels supplied by a compact car front engine-drive-line assembly. The single rear wheel was fixed. Harley Davidson bought them out and offered the car in 1984 but they never installed their V-twin so as to make a modern version of the Morgan e-wheeler. This would make a desirable modern version of the Morgan. The key is to lower the center of gravity so that the car will not roll over during hard cornering. People have been killed driving the original Morgan 3 wheelers in modern times because they have a high CG and can roll over.
4453763 Frame and Body Construction for Automotive Passenger Vehicle, Louis R. Richards (Trihawk Inc.), Jun 12 1984, 296/181.2 ; 180/215; 280/756; 296/191; 296/205; 296/35.3 -combines fuel economy of motorcycle with safety of car
D274995 Three Wheel Automotive Passenger Vehicle, Louis R. Richards & David J. Stollery (Trihawk Inc.), Aug 7 1984, D12/85
Tri-hawk design elevation view
David J. Stollery has other related patents:
D283113 Body for three-wheeled motor vehicle, David J. Stollery (Fire Arrow Inc), Mar 25, 1986, D12/85 - similar to the Trihawk
D312228 Sports Car, David J. Stollery, Nov 20, 1990, D12/90 - futuristic 4 wheel drive
D389094 Vehicle, David J. Stollery (Industrial Design Research, Inc.), Jan 13, 1998,D12/91 - Jeep
D389095 Vehicle Body Kit, David J. Stollery (Industrial Design Research, Inc.), Jan 13, 1998, D12/91 - Jeep body kit (for ??)
D389109 Vehicle hood unit, David J. Stollery (Industrial Design Research, Inc.), Jan 13, 1998, D12/173 - Jeep w/HMMWV look
Campagna Motors
Different engines available, Harley, BMW, . . .
Messerschmitt
The Messerschmitt KR-200 was built by the German aircraft factory that built the Messerschmitt planes (Wiki). It has two front steering wheels and a single rear driven wheel. The hinged bubble top looks very much like it came from a fighter plane. Automobile Quarterly - Second Quarter 1973 - Vol XI, Number 2:. "Ist Das Nicht Ein Kabinenroller?", "Ja! Das Ist Ein Kabinenroller!" page 162 and Under the bubble: a Short Flight in a Messerschmitt KR 200, page 172. This car appeared in one of the Adams Family movies driven by "thing". KR200, TG500,Corbin Motors Inc.
Sparrow - I saw one parked at Fry's in Sunnyvale, cute as a bug! It's a one passenger electric powered, enclosed 3-wheeler with 2 wheels in front.
Merlin - is a V2 gas engine version of the Sparrow due to be available in 2002.New Design 3-Wheeler
BIG BRUTE V8 Super Cycle - makes a chev V8 motorcycle. Has a right anlge drive that can handle some torque
Boss Hoss - Chevy 350 V8 engine powered cycle, maybe good for 3-wheeler parts? The trike they make has two rear wheels, not a stable arrangement, two in front is the way to go.
Tilting Three-Wheelers
There is another class of Three-Wheelers that are designed to tilt into turns like a motorcycle rather than lean out like a car. The above 3-wheelers lean out.
Patents related to Tilting Three Wheelers
Maxmatic - Max Hall's page of interesting vehicles
Ref: Three-Wheelers: From Morgan to Messerschmitt, Benz to Bond and Beyond.... The Complete history of trikes 1885 - 1995, Chris Rees, ISBN 1 899814 05 1
Pembleton V_Sport
While looking for patents related to Golf Carts (I think my Polaris Ranger EV uses a motor and ??? from golf carts) found patents for the Cushman (Wiki) motor scooter and a prior patent for the automatic clutch. It takes the automatic clutch and the variable speed V-belt pulley to make the Cushman motor scooter. The Clutch patent included an image of a scooter (without variable speed clutch and used a manual transmission. It looks like Charles was hired by Cushman and there he came up with the variable ratio V-belt drive.
In the early days of Cushman Motor Works they made gas engines. The brothers Everett & Leslie have their names on a number of patents. The patents cover single sylinder gas engines, accessories for those and some agricultural devices that would use the engines.
703695 Gas Engine, Everett B Cushman, Leslie S Cushman, (before Cushman Motor Works) 1902-07-01, -
Click on Everett B Cushman to see the early patents. He has 35 but Leslie is only on 14.
736224 Gas-engine, Everett B Cushman, Leslie S Cushman, Cushman Motor Co, 1903-08-11, - 2-cycle ICE
2429153 Centrifugal clutch, Charles D Ammon, Raymond M Snyder, Fitchie Guy, App: 1944-04-06, W.W. II, Pub: 1947-10-14, -
2556512 Variable ratio drive mechanism, Charles D Ammon, Cushman Motor Works, App: 1949-03-08, Pub: 1951-06-12, -
I know a guy who races vintage sports cars and has a vintage Fox motor scooter (& a bespoke trailer) that he uses in the pits (Wiki: Pit bike). His motor scooter has a centrifugal clutch but no variable speed drive and no transmission.
Fig 1 Right side
Fig 2 Left side
Fig 3 Left of engine
Fig 4 Scooter is at right front,
scooter's trailer hanging on left wall
YouTube: MiniBike History, 10:57 -
The Welbike (Wiki) to fit into the Container for Light Equipment (Wiki: CLE) 5.6' long, 16" dia.
@3:26 The Cushman Model 53 (Wiki).
@4:17 The Welbike became the Corgi (Wiki) after W.W.II., a US version was branded the Indian Papoose (Wiki).
@5:37 The US Doodle Bug (Wiki)
@6:34 The Micro mini bike; Artic Cat &Etc.
@7:14 Tama Tech Amusement Park (Wiki) ride made of of Honda Z100 (Wiki) which became the Honda Z50 (Wiki: Z series).@8:14 The Suzuki trail hopper, Kawasaki KV75 (Wiki), Yamaha Chappy (Wiki), Harley-Davidson Shortster (Wiki), Indian Bambino.
@8:33 In Australia Grand Prix deltek and Decks mini bikes.
@9:19 Honda Compmo folds into a package (46.5" x 21.25" x 9.5") to fit into a car trunk and be taken out to drive in a city.
@10:24 Pocketbikes (Wiki) are even smaller, Pit bikes (Wiki) and Mini choppers (Wiki).
@10:49 car fender bikes.
Dream Car Rentals - Las Vegas, Maui, Kauai, San Jose, Ft. Laudrdale, Miami
LUXURY CAR RENTALS - New Orleans
Exotic Rentals - Boston
Red Hot Cars - Phoenix
Exoticrentals.net - New York
Bespokes - England
Roots of Motive Power Steam Up 9 Sep 2012
All through history there have been "hi-tech" fields. At one time it was designing and building Cathedrals. At another the Steam powered rail road system. At all times in history very bright people have spent a large amount of time studying, designing and refining their "hi-tech" products. A man found that the new horse less carriages were so unreliable that they could not make it across London. He started his own car company to make a more reliable car. Henry Royce was an engineer apprenticed at the Baldwin Locomotive works (hi-tech live steam).
Typical schedule
08:00 Safety meeting
Fire up boilers (may take 2 to 3 hours)
10:00 Willamette & stationary engines operating
11:00 Bucyrus Erie 50B Demo
Estep yarder running on spur
Mason County Logging #7 on track loop
12:00 Willamette exercises dynamo
Library & Ranch Car Open
Lidgerwood Tower Skidder tour
Bucyrus Erie 22B demo
13:00 Bucyrus Erie 50B moves to shop
Willamette exercises Washington Duplex Loader
Steam it up: Learn how to work the huge machine that helped build California, 4:15 - 50B
14:00 Le Tourneau Tourna Crane demo
Willamette exercises Washington Yarder
Raymond moves back to shop
Corliss demo in Engine house
15:00 Shut down boilers.
Up until 1948 the Fowler company was making and selling live steam "heavy haulage" trucks that out performed diesel based trucks for hauling very heavy loads.
In England there are a large number of people devoted to various hobbies related to live steam and there are quite a number of them in the U.S.
At first steam engines were stationary (Wiki) and used in manufacturing plants to power machinery by means of line shafts and flat leather belts. Mr. Watts invented a 4-bar linkage used on Beam engines (Wiki), a handsome type of stationary engine. Later with skids under the steam engine it could pull itself (called a mule or yarder: Wiki) by means of a powered spool and rope, or with carriage wheels it could be pulled by horses - a portable engine (Wiki), a version of this is the "Fire Engine" (Wiki). Then with the steam engine powering it's own wheels, the traction engine (Wiki). Traction engines were the predecessors to tractors with large diameter metal wheels, tracks came later. The Showman's traction engine was used around the Circus and had lights and music. Some traction engines are very large. A short history of steam. Other traction engines are fractional reproductions made for fun driving.
Note that until the middle of W.W.II that torpedoes used steam power driving a piston engine. Even after electric torpedoes were introduced the steam version still was in service.
Engine or Motor?
Note that an engine (Wiki) is a device that burns (Wiki) or otherwise consumes fuel, changing its chemical composition, whereas a motor is a device, which does not change the chemical composition of its energy source.. Examples: starter motor in a car, diesel engine, electric motor, gas engine, Sterling engine, a WWII submarine has motors for propulsion and engines to charge the batteries, most ships have engines. Hydraulic and air powered motors are used for many things. While the thing that makes a rocket fly is often called a motor, it's really an engine.
Ship or Boat?
For a single keel vessel: Has to do with how it leans in a turn.
YouTube: Whiteboard: Difference Between a Ship and a Boat - a ship has the center of gravity above the center of buoyancy so it leans out in a turn. A submarine must have the center of gravity below the center of buoyancy so it leans in when turning. If the submarine had these reversed it would flip upside down.
Steam Stuff
Kew Bridge Steam Museum - links-
Cambridge Museum of Technology - with live steaming days
Steam & Engine of Australia - general steam stuff
Roland's Cornish Steam Engine Page - information about various steam topics
Steam Engine Library - many books that can be read on line
HOLLYCOMBE STEAM COLLECTION - UK Gallopers - National Fairground Archive - links - working full sized carousels,
M u s e u m s around the UK -
London Transport Museum - links -
The New England Wireless and Steam Museum - Steam Engines -
How Stuff Works - Steam Engine -
Jensen Live Steam -
Actual Full Sized Historical Equipment
There are a number of people who have restored and have in excellent working condition all types of steam powered vehicles. They have meetings where Traction Engines race, have tug of wars, and other events so people can enjoy seeing these magnificent machines working like when they were new. Some of these huge machines, that I saw in England, were licensed for traveling on public roads (MOT stickers, Wiki). There is a driving school for traction engines.
Roots of Motive Power - Is in Willits just North of me (Events Schedule). It is a museum with a lot of live steam machinery that was used for logging in this area.
1932 Bucyrus-Erie 5O-B Steam Shovel - My Erie page -Murray Brothers Single Drum Donkey "D11" c1900 (Mur_d11.dwf) To view this drawing you need the Autodesk WHIP! Plug-in. For Netscape 4.05 or higher there is a <Shift><Click to download as file> whip.jar file (about 2.8 megabyte).
A key component is the Capstan Winch (Wiki: Capstan, equation) YouTube: Making The Easiest Winch!, 28.38 -
Roots of Motive Power, Willits, CA: c1900 Murray Brother's Single Drum Donkey - note this is a Dolbeer Vertical Spool per the patent below.
256553 Logging-engine, John Dolbeer, Apr 18, 1882, 254/336; 254/360; 254/342 -
These are also called a Yarder or Donkey. They are on a sled, no wheels.
While located in one place (Fig2) the redwood logs between 4 and 8 feet in diameter can be moved to the road my moving the snatch blocks to different trees.
The Yarder can be moved by pulling it toward a tree.
YouTube: The Machine That Killed More Loggers Than Falling Trees, 34:21 - Only a few of the logging-engines are shown with winches that have cable on a spool, most use a Capstan.
Even though a boiler can be safely tested by filling it completely with water it can still fail if the water level allows the crown plate at the bottom to be heated above the steam temperature, i.e. weaken the steel.
279916 Snatch Block, J. Cochran, June 26, 1883, 254/405 -
To get a rope on a pulley (Wiki) you need to thread it. If the rope has been whipped (Wiki: Knot, Whipping) or has a hook (Wiki) or other fastener installed on the end you will not be able to thread it onto a pulley and will need a snatch block (Wiki) that can be opened.
993423 Cable-tramway, Sern P Watt, Washington Iron Works, 1911-05-30, - Main Line & Outhaul rope.
1017831 Cable-tramway, Sern P Watt, Washington Iron Works,1912-02-20, - Hauling rope (19), Out-haul rope (21), hoisting rope (26)
The gypsy (D) mentioned in the patent today is called a Capstan (Wiki) or Windless (Wiki), also see Block & Tackle (Wiki). Snatch blocks can be used to aim the direction of pull or to double the pulling force.
Capstan Winch see Power Winch Capstans -
Hit & Miss engine (Wiki)
The meaning of the name is that the engine "hits" (the engine fires and has a power stroke) only occasionally and the rest of the time it "misses" or coasts. The lighter the load the more missis.
1076589 Internal-combustion engine, Hermann Lemp, GE, 1913-10-21, 123/373 -
Notice Fig 4 showing 1 hit and 5 missis at no load.
Most YouTube Hit & Miss videos show a hit on every revolution, but that means the engine is not working properly.
1727016 Internal-combustion engine, Harold E Mccray, John Deere Tractor, 1929-09-03, 123/195R; 184/11.1 -
1803120 Internal-combustion engine, Harold E Mccray, John Deere Tractor, 1931-04-28, 184/13.1; 184/6 -
Tracks (Wiki)
Tracks are very different from tires (see above) in how they work.
Ground Loading
The wiki Track page shows a number of patents, but also confuses the definition. They are talking about continuous tracks, but that misses what I think is the point. In my opinion the whole point of tracks is to reduce the ground pressure. This is mentioned at the bottom of the advantages paragraph on the Wiki Track page after some other things that are really are not that important. The examples given are the M1 Abrams tank which has a ground pressure of 15 psi and a typical car which has a ground pressure of 28 to 32 psi.
Note the M1 tank weighs between 60 and 68 tons (120,000 to 136,000 pounds) which means the track area is in the range of 8,000 to 9,066 square inches or 55 to 63 square feet.
If wheels were used a vehicle of this weight would immediately get stuck when driving on anything but a think concrete road.
Note that for balloon tires the inflation pressure is the ground pressure. This is why ATVs (Wiki) and other off road vehicles use special low inflation pressure tires, both to have a light environmental footprint and to avoid getting stuck. The Wiki Tire page does not get how they work. See Tires above. I've recently been looking at "Fat Tire" bicycles and tricycles that are suitable for driving in snow, sand, mud &Etc. (see M-360)
Also note that trailers use small tires to allow for a wider payload with a maximum eight foot trailer width set by law. They use high inflation pressure in order to carry more weight. This is way you don't want to pull a trailer over dirt when loaded.
Traction
The traction (Wiki) of a tracked vehicle is greatly increased by the use of Grousers (Wiki). This allows tracked vehicles to have drawbar (Wiki) pull much higher than vehicles with tires. A common fair attraction is the Tractor Pull (Wiki)
Patents
Top Patent Class numbers:
180 Motor Vehicles
7.1 Special Driving Device
.9 Portable Track
..9.1 Endless Flexible
...9.62 Toothed Drive Wheel
674737 Logging-engine, Alvin O Lombard, Nov 9, 1900, 180/9.62; 305/140 - for logging in mud or snow in 1900. Here the emphasis is low ground pressure.Note these prior patents missed the mark (all class 180/9.62):305 Wheel Substitutes for Land Vehicles
251513 Steam (snow) Plow - uses "Feet" instead of treads.
312630 Traction Engine - uses a form of rail and wheel with groove for rail.
334333 Traction Engine - uses "Feet" instead of treads.
467095 Road Locomotive - Uses tracks, but they are tight around wheels thus not effective in lowering ground pressure.
484829 Traction Engine - 4-wheel drive and treads wrapped tight around wheels
484830 Traction Engine - treads wrapped tight around rear wheels front wheels powered
120 with frame carried endless track
.121 With roller antifriction means
351749 Vehicle, Chaeles Dinsmoor, Nov 2, 1886, 305/121 - is a tracked vehicle, but the purpose is to avoid bumps and jolts, like when a wheel hits a rock.
But the first patent with class 305/121 has continuous tracks:
7427 Traction-Wheel, Gideon Morgan, June 11, 1850, 305/121 - Note this predates the Blinov Russian patent of 1877.
874008 Traction-engine, Benjamin Holt (Wiki), 1907-12-17, - the large diameter wheels he patented still sank into the Peat soil (Wiki) in Stockton, California. Wiki:"...the first to design and manufacture a practical continuous tracks for use in tractors"
1736391 Drive for motor vehicles, Christie John Walter, Browning Crane, 1929-11-19, - modern truck tractor, single differential, dual rear axles & 8 tires - includes provision for tracks.
1846471 Endless track for truck tractors, Christie John Walter, Browning Crane,1932-02-23
Half-track (Wiki)
Half-Tracks: The Mechanical Centaur that Won WWII, 21:42 -
@3:13 854364 Log-hauler, Alvin O Lombard, 1907-05-21, - skies in front of tracks
@5:06 Holt 75 & 120 (Wiki) 994317 Traction-engine, Pliny E Holt, 1911-06-06, - wheel in front of tracks
@6:38 Linn Tractor 1270531 Tractor, Holman Harry Linn, 1918-06-25, -
@8:20 Why a Half-track? Tracks for lower ground pressure, Wheels for sharper and more responsive turns. Faster on roads than all track vehicle while being able to keep going in harsher environments. Half-track can carry more weight than all wheeled vehicle.
@10:18 Golden Age of the Half-track (W.W.II) - French, German &
@17:14 American @17:25 M2 (Wiki) & @18:09 M3 (Wiki).
@19:53 The end of half-tracks - Improved steering (Wiki) for all track vehicles & the M113 (Wiki, Wiki) became very popular (made at Food Machinery Corp (FMC) in San Jose, just across the runway of the San Jose airport).
1401221 Driving and steering mechanism for motor-vehicles, Rollin H White, Cleveland Tractor Co, 1921-12-27, - Controlled differential, M113
Skunk Train
Just across the street from Roots of Motive Power is the office of California Western Railroad that runs the Skunk and Super Skunk trains between Willits and Fort Brag on the California coast.
Historical Traction Engine Pages - links to Societies - Three Counties Steam Tour - great photos of engines on the road
Historical Construction Equipment Association - Big Toys
Antique Gas & Steam Engine Museum - links -
Early Day Gas Engine and Tractor Association - TECHNICAL DATA - links - Santa Rosa, CA branch -
The Traction Engine Pages - links - For Sale - THE BENSON MOUNTAIN COMPANY - videos, books, etc.
The Stationary Engine Publications Archive - Harrolds' Antique Tractor and Engine Links -
STEAM INDUSTRIES, INC. - 1/2 Size Case Traction Engine - big enough to ride = 20" OD flywheel, 2' front & 3' OD rear wheels
Steam on the Internet - some photos of BIG engines
U.C. Davis Antique Mechanics - early farm tractors
Stanley Steamers - Stanley links -
1903 Puritan steam car -
Harrolds'Antique Tractor and Engine Links -
Tod Engine Project - At its design speed of 80 rpm, the engine produced 4,000 horsepower, with a reserve of 4,000 hp stored in the 20', 75 ton flywheel, making it possible to deliver 8,000 hp to the rolls at times of peak load
Antique Steam - South Peace Centennial Museum - live steam days for traction engines and others - When an engine has a name like 25 -75 HP it means that the draw bar has a rating of 25 HP and the flywheel has 75 HP. The 25 HP is close the the boiler HP rating derived from it's surface area.
ChemicaLogic - steam related softwareModels
You can buy finished live steam models ready to run, kits of parts that are ready to assemble, kits of parts that need some work to assemble, raw castings that need machining, and plans for build form scratch models. There is a good sized industry in the United Kingdom to fill the needs of this model builder market. In the U.S. there are a number of live steam railroads built to a scale where people can ride on or in smaller sized rail cars. Many of these are in peoples gardens.Manufacturers
1 HORSEPOWER STEAM ENGINE by Mike Brown & Sensible Steam Consultants -
Bill Newcombe Steam Models - steam@web-uk.com
Brunell Model Engineering - nice line of engines
Caloric Engine Co. - model gas engines
Maxwell Hemmens - dealer - very nice showman's traction engine - financial info -
Kenneth Rhodes - builds (machines & assembles) model steam a gas engines
Reeves - has a wide assortment of castings and plans.
South Street Trading Co Ltd. - about 3 dozen very high quality models
Stuart Models - have kits with all parts machined ready for assembly. I built one of their stationary engines. YouTube: Lets Assemble and Test Fire the Stuart D-10 ---- Enjoy !!!, 25:04
TINY POWER: STEAM ENGINES - small engines for doing work
Model Steam Engines UK - castings, machined kits, finished + 6 VAC alternator - Aug 2023 website being updated?
Information
Classic Steam Engine Engineering - steam and IC forums.
Bailey Craftsman Supply - Stirling Cycle Engines - The Stirling Outlet - Sterling engine models - Excellent Sterling links - American Sterling
LindsayPublications Sterling plans
Bay Area Garden Railway Society - California garden railway group & Steam in the Garden - with good links for garden railroads
ENGINEERING in MINIATURE - magazines - Books -
Live Steaming - If you are interested in model RR engines that use live steam to drive real pistons, then this is a page for you
The Traction Engine Pages Steam Links - Many live steam links on the U.K. web page.
Live Steam - a U.S. magazine devoted to live steam - Stemgag Publishing - Antique Power - Modeltec -
Model Engineering and Home Shop - web page
Modeltech - magazine
The Model Engineer - a magazine with lots of construction articles - I'm not sure if this is the web page for the magazine
Web Model Steam Engine that you work with your mouse - shows the linkage and valves (takes a couple of minutes to load)Toys
Toys in my definition are made using sheet metal and lower cost construction methods. These are the sheet metal type models, not the ones made from castings like the Reeves line.
Yesteryear Toys and Books Inc. - in U.S.A. -
Mamod - dealer -
Wilesco? - dealer -
Dave's Toy Steam Engine collection -
Toy List - some steam models and toys
Tim the Toy Man - Steam & Things - links -
A Collection Of Toy Stationary Steam Engines And Pop-Pop Boats -
Krick - steam boat engines - dealer -
Jensen Steam Engine Mfg. Company - stationary engine plants
Eureka, Found It! - used live steam toy dealer -
Paul Pluta - Wilesco & Mamod
LGB - these are G scale electric trains. the link is here even they are not steam because I used to have a lot of them. I found that putting 2 magnets under the engine made the switches work more reliably. Using the switches you could have layouts with many independent trains all running by themselves. Since there are only 2 rails the polarity would need to be switched to allow a train to go either way on a given section of track. I remember one layout that had a yard with 4 trains. One would let the train go down a long track and at the end go around a loop and come back on the same track. Near the yard it would branch and go back onto the same track that it came from. That would release the next train to run. They would all take their turns. I resisted the temptation to build my own parts of the system. If I started doing that, there would be no end to what could be done. A friend liked to build with Legos. He built a working grandfather clock that kept time reasonably well, but used only Lego parts, he did not want to get into making his own parts.
Lilliput Motor Company - has some live steam toys
Patent by the Oliver Lodge (Wiki) of electricity, magnetism & radio fame and his son Alexander:
869208 Electric ignition of explosives, Oliver Joseph Lodge, Alexander Marshall Lodge (Wiki), 1907-10-22, -
Magneto
An alternative form of gas engine ignition is the Magneto (Wiki). They have a number of advantages. No battery needed, great for vehicle that's stored longer than shelf life of battery. Ignition system is light weight so used in aircraft and motorcycles. Also see: Quack medicine Magneto-electric machines.
662316 Magneto-electric machine, Frederick Richard Simms, Rober Bosch, Nov 20, 1900, 310/155; 123/149G - internal combustion engines
802291 Magneto-electric ignition apparatus for explosion-engines, Gottlob Honold, Robert Bosch GmbH, 1905-10-17, -
Atwater Kent Type B. Unisparker
The Arthur Atwater Kent company (Wiki) purchased the spark ignition system he sold from Thomas H. McQuown. This system works on a different principle than the later Kettering (Wiki: Delco) ignition system. The Kent system used "trembler or buzzer" coils, like on the Ford Model-T (Wiki) (1919 to 1927). These produce many sparks and if constant power is applied the high voltage will be a constant stream of sparks. The problem is that it only works on low compression engines and at low RPM. With the advent of higher compression ratios (Wiki) and higher RPM engines the Kettering system took over. The Kettering ignition system uses a coil that's just an auto transformer (it has no trembler or buzzer). The current is going through the coil most of the time so it's magnetically saturated. At the instant the points break the magnetic field collapses causing a single high voltage pulse on the secondary.
Functional Description
This is based on looking at the outside since the inside is potted.
The two left terminals marked: INT and G go to the interrupter and engine ground, i.e. the points that make a very brief contact at the moment there should be a spark.
The two right terminals marked: CARBON and ZINC to the the Positive and Negative battery terminals of the series connected ignition batteries.
The center terminal is the High Voltage output.
The On-OFF switch at the top right is for turning the engine on or off.
The START switch at the top left is for "starting off the switch" (Rolls Royce).
Photos
Fig 1
Fig 2
Fig 3
Fig 4 Box filled with Red Glyptal?
Patents
Oct. 11, 1904 (see: RE12273)
Nov 22, 1904 (see: 775665)
Ohm Meter Readings
Note 1: 0.7 Ohms when START is pressed
Switch: OFF
INT
G
CARBON
ZINC
HV
INT
-
1M2
1.2 uF0.7
OL
4k7
G
-
1M5
1.2 uF
OL
1M5
OL uF
CARBON
-
OL
4k7
ZINC
-
OL
HV
-
Switch: ON
INT
G
CARBON
ZINC
HV
INT -
1M2
1.2 uF0.7
1M5
1.2 uF4k7
G
-
1M5
1.2 uFOL
1M5
1.2 uFCARBON
-
1M5
1.2 uF
------
Note 2
4k7
ZINC
-
1M5
OL uF
Note 1
HV
-
Note 2: With INT shorted to G: Carbon to Zinc is 0.9 Ohms
Note 2: With START pressed: Carbon to Zinc is 0.7 Ohms
----- searching for Nov 22, 1904& class 200/? ----
755844 Electric Time switch - for a clock
775665 Circuit Controller, Archibald D Scott, Varley Duplex Magnet Co, Nov 22, 1904, 200/19.26; 200/574; 200/6BB; 200/DIG.9 -
for gas engines, goal minimum contact time (backwards from Kettering ignition which needs as much dwell as possible).
Similar to the "points" in the distributor of a more modern car.
------ McQuown patents ------
745370 Electric-circuit closer and breaker, Thomas H McQuown, Dec 1, 1903, 200/469; 200/19.2; 200/38D - for sounding chimes from master clock
748638 Electric-circuit closer and breaker, Thoma H. McQuown, Jan 5, 1904, 200/38R; 200/19.2; 200/38D - for sounding chimes from master clock
749743 Speed-indicator, T. H. Moquown, Jan 19, 1904, 235/104; 377/23; 73/489; 73/491; 73/506 - shows speed and total revolutions of vehicle, but Fig 5 to Fig 8 show the circuit breaker and were the subject of a separate applications serial No. 137445 dated 1900 and serial No. 137790 also of 1900 which turned into RE12273.
950339 Sparking device, Thomas H Mcquown, Arthur Atwater Kent, Feb 22, 1910, 200/19.12 - timer and distributor for gas engines
1011070 Electric-circuit closer and breaker, Thomas H McQuown, Arthur Atwater Kent, Filed: Jul 18, 1904, Pub: Dec 5, 1911, 200/19.2 - applied to gas engines - "Points" with short closing time
RE12273 Electric-circuit closer and breaker, Thomas H. McQuown, Oct 11, 1904, 200/19.26; 341/17 - (Re-Issue of 749743)
1109689 Electric-circuit closer and breaker, Thoma H McQuown, Arthur Atwater Kent, Sep 8, 1914, 200/19.2, 235/103 -
------- Arthur Atwater Kent Patents-----
1082810 Electric device, Arthur Atwater Kent, 1913-12-30, - "Points" with very short dwell time.
1082811 Device for uniting insulated conductors of electricity, , Arthur Atwater Kent, 1913-12-30, -Spark plug terminal
1391256 Induction-coil structure, Arthur Atwater Kent, Atwater kent Manufacturing Co, Sep 20, 1921, 323/305, 338/301, 336/107, 123/594, 123/634, 336/96 -
1474152 Induction coil, Atwater Kent Arthur, Nov 13, 1923, 336/96, 336/234, 336/107, 336/65 -John's Vertical Keystone 2-stroke cycle gas engine
Atwater Kent type K coil & Unisparker Type B.
No patent info on Type K coil.
Patent Dates on Unisparker Type B:
Oct 1, 1904: Not a Tuesday= not valid US patent date
Nov 22, 1904: 775665 - points
Dec 8, 1910: Not a Tuesday= not valid US patent date
Dec 5, 1911: 1011070 -
Jun 25, 1912: 1030432 Electric igniter, Frederick Henry Royce, (not assigned to RR) 1912-06-25 - Distributor; 1030288 Ignition system for gas-engines, Willard E Dow, Mag or Coil; 1030413 Electric ignition device, Joseph J Lombardi, Spark Plug, None of these looks correct, maybe a typo in the patent number????
Oct 11, 1904: RE12273
Kettering (Delco) Ignition System
The points in the 427 Cobra would "float" at about 5,000 RPM and that was the limit to higher revs, so I had a distributor shop install racing points to raise the RPMs. More modern spark ignition engines use one HV coil per cylinder thus allowing more time to charge the coil allowing higher RPM operation. Also this eliminated the distributor (one less thing to go wrong).
1150523 Engine-starting device, Charles F Kettering, Dayton Engineering Lab Co, Aug 17, 1915, 290/22, 74/481, 74/810.2, 123/179.1 - electric starter
1037491 Ignition apparatus for explosion-motors, Charles F Kettering, Dayton Engineering Lab Co, Sep 3, 1912, 315/219, 335/124, 315/226, 361/268, 315/287, 315/224 - uses an interrupter (trembler, buzzer) item "I", so not the modern system.
1037492 Ignition system, Charles F Kettering, Dayton Engineering Lab Co, Sep 3, 1912, 123/146.50A, 310/247, 200/6.00R, 200/19.1 - this is the modern Delco system.
1163092 Timer or current-interrupter, Charles F Kettering, Dayton Engineering Lab Co, Dec 7, 1915, 200/19.29 - distributor combines points and HV selection
1170275 Ignition system, Charles F Kettering, Dayton Engineering Lab Co, Feb 1, 1916, 290/41 -
Reference: Atwater Kent Automotive Applications
Reference: OldMarineEngine
Kittering Bug (Wiki)
This is the precursor to the Cruise Missile (Wiki) designed by the same Charles Kettering with the help of Elmer Sperry of Gyroscope fame. Sperry patented a radio controlled version:
1792937 Wireless-controlled aerial torpedo, Sperry Elmer A, Sperry Gyroscope Co Inc, Priority: Dec 22, 1916, (15 year delay) Pub: Feb 17, 1931 - secret throughout W.W.I
The distance traveled was estimated by using a counter preset to the number of propeller revolutions to the target and counting down. At zero the wings were disconnected and the engine turned off.
YouTube: America Had No Reliable Spark Plugs — So Champion Built Ones That Wouldn’t Melt, 42:11 -
Patents
1094528 Spark-plug, Albert J Champion (Wiki), Champion Ignition Co, 1914-04-28, - solves problem of breaking insulators due to differential expansion caused by the large temperature difference.
Zinc Air (hearing aid) batteries generate hydrogen gas when they have a heavy load. This can be used to drive a piston and force grease into a bearing over a time span measured in months.
Rolls Royce used the Bijur chassis lubrication system on their early cars.
Note this is very similar to the problem of putting air into tires.
Button Head Fittings 1922
I remember using this one on my uncle's heavy earth moving equipment. Sometimes the grease gun would pop off the Zerk fitting. This alternate type grease fitting looked like a disk maybe 3/4" in diameter and the grease gun would surround the disk so no matter how much pressure there was it never could pop off. This grease gun had a tub that sat on the ground and held over a gallon of grease. The pumping level was on the tub so you could apply much more force than with a hand held cartridge type grease gun.
1307734 Lubricating means, A.V. Gullborg, 1919-06-24, - Bayonet connection lube system
1541329 Coupling, Ernest W Davis, Bassick Mfg, 1925-06-09, - predecessor fitting to Zerk = Button Head
1734288 Lubricating fitting, Ernest W Davis, Alemite, 1929-11-05, -
2172136 Lubricating apparatus, Ernest W Davis, Stewart Warner, 1939-09-05, -
2243605 Grease fitting, John W Richardson, Prime Mfg, 1941-05-27, -
2351909 Lubricating apparatus, William H Beretish, Campbell Thomas Arthur, Stewart Warner, 1944-06-20, - improvements to predecessor fitting to Zerk
2390781 Lubricant compressor, Ernest W Davis, Stewart Warner,1945-12-11, -
Zerk 1929
Adding this since recently have seen Zerk grease (Wiki) fittings show up.
Patent 6339961 relating to ultrasonic monitoring of the grease gun.
1697217 Lubricant fitting, Oscar Ulysses Zerk, Alemite Mfg, 1929-01-01, - tub sits on ground pump lever on top
2016809 Lubricating apparatus, Bystricky Joseph, Stewart Warner, App: 1933-03-20, Pub: 1935-10-08, - modern/improved Zerk fitting
2362880 Coupler, Campbell Thomas Arthur, Stewart Warner, 1944-11-14, -
The 20/25 Rolls used Trafficdators. The switch on the instrument panel activated one or the other and included a timer function, not sure if clockwork or pneumatic.
Was reminded about these on YouTube:SOLENOIDS & RELAYS - The Secret Life of Components, a series of guides for makers and designers - 15,
@11:44 Trafficator,
1265197 Electromechanical traffic-signal, Henry W Hawes, 1918-05-07, - hand with extended index finger rotates.
1284134 Electric signaling system for motor-vehicles, Joseph P Ogden, Naillik Motor Signal, 1918-11-05, - adds lights to the arms.
I interviewed for an engineering job related to a start up company making traffic light controllers. You could drive all around the building through the parking lot so they had loops in the parking lot that allowed testing the controllers. There was an intersection in Los Altos which flashed red in all directions at night when there was no traffic. As you approached the light it would turn green so you didn't need to stop. Very cleaver.
I think his name was Doble.
3346856 Inductive loop vehicle detector, Robert N Doble, Robert J Miller, Sepe Lawrence, General Precision, 1967-10-10, -
1475024 Traffic signal, Garrett A Morgan, 1923-11-20, - cross arm with "STOP" spelled out gets manually turned 90 degrees.
1490567 Automatic traffic signal, Hugo A Kleinsteuber, Thomas E Hayes, Assigned to: William A. Callahan, 1924-04-15, - Lights behind panels marked GO & STOP face in 4 directions. Light in top Globe marked Traffic Change - so equivalent to a 3 color light. A motor controlled switch automatically changes lights, or can be turned off and lights manually operated.
1575571 Traffic signal, Albert M Gray, 1926-03-02, - one red light for ALL STOP (also bell) plus 3 white lights for: Stop, OK to go straight, OK to turn right, OK to turn left, OK to make U-turn,
1640170 Street-traffic-signal device, John E Wright, Assigned to: Austen H. Fox, 1927-08-23, - cylinder with red & green filters is rotated by a bevel gear/motor. A third All Stop light is at the top.
1852989 Traffic signal, John H Walrath, Schwartz Elizabeth Gill, Assigned to: Walrath, 1932-04-05, - boxy Stop/Go with auto timer.
2457019 Signal lamp, Earl E Weber, 1948-12-21, - battery powered toy with Red, Amber & Green filters on lamps.
2201146 Traffic detector, John L Barker, Automatic Signal Co, 1940-05-21, - gradiometer (see: Metal Locator) to sense vehicles on side street
2477567 Means for detecting presence and movement of bodies, John L Barker, Eastern Ind, 1949-08-02, - FM Doppler allows setting range of detection
RE18507 (1725963) Switch Means, H.I. Morris, 1932-06-28, - hose
2521683 Traffic detection apparatus, John L Barker, Eastern Ind, 1950-09-12, - microgroove version of 2477567.
2540089 Vehicle detector, John L Barker, Eastern Ind, 1951-02-06, - microgroove version of 2477567.
3056106 Infrared detectors, Hendricks George Donald, Gamewell Corp (see: Gamewell), 1962-09-25, -
Also see Gamewell - Diaphone Air Horn & Bells & Gongs.
Klaxon (Wiki: Awooga)
Patents
Miller Reese Hutchison (Wiki) in addition to inventing the Klaxon horn also invented a number of hearing related patents, see Hearing\Patents.
883643 Mechanically-actuated acoustic diaphragm, Miller Reese Hutchison, 1908-03-31, -
923048 Mechanically-actuated acoustic apparatus and method, Miller Reese Hutchison, 1909-05-25, - Klaxon type
D39785 Design fob a resonator and case for mechanically-actuated diaphragm, Miller Reese Hutchison,1909-01-19 - looks like electric motor powered.
D39786 Design fob a resonator and case for mechanically-actuated diaphragm, Miller Reese Hutchison,1909-01-19 - looks like electric motor powered.
D39801 Diaphragm Case and Reasonator for Disphragm Actuated Horns, Miller Reese Hutchison,1909-02-02 -
923049 Cam-operated horn, Miller Reese Hutchison, 1909-05-25, - Klaxon type including the horn shape
923122 Mechanically-actuated diaphragm horn or alarm, Miller Reese Hutchison, 1909-05-25, - electric motor driven
956898 Signaling-horn, &c., Miller Reese Hutchison, 1910-05-03, - electric vibrating diaphragm & linear taper horn
1043703 Signaling-horn, &c., Miller Reese Hutchison, 1912-11-05, - two diaphragms "Y" to single horn
1147866 Mechanically-actuated diaphragm, Miller Reese Hutchison, 1915-07-27, - different ways of attachng "tit" to center of diaphragm
1160900 Mechanically-actuated diaphragm-horn, Miller Reese Hutchison, Lovell McConnell Manufacturing Co, 1915-11-16, -
1317473 Physical Instrument for the Production of Sound Waves, Emanuel Aufiero, 1919-09-30 - Crank - gear train - Klaxon - for use in schools classroom for demonstrations
1395246 Warning-signal, Aufiero Emanuel, 1921-10-25, -
1511345 Motor horn, Kaisling William, Kellogg Switchboard and Supply Co, 1924-10-14, -
Delco-Remy
1528964 Signaling instrument, Horig Heinrich, Robert Bosch AG, 1925-01-20, - cited by Delco-Remy 1735235 as prior art.
1676455 Electric horn, Duncan A Mcconnell, Delco Remy Corp, 1928-07-10, - electric solenoid pushes diaphragm, spring retracts it.
a couple more patents with the above mechanism
1673794 Signaling device, Fred W Ayers, Delco Remy Corp, 1928-06-19, - Klason type - special motor construction to fit in can behind diaphragm
1696625 Sound signal, Robert M Critchfield, Delco Remy Corp, 1928-12-25, - solenoid type, but small and compact.
1735235 Electric horn, Robert M Critchfield, Delco Remy Corp, 1929-11-12, - complex asymmetrical motor construction (very expensive) to fit in can behind diaphragm
1847727 Sound signal, Walter W Riedel, Delco Remy Corp, 1932-03-01, - solenoid type
When designing a product there are always considerations of schedule and price and sometimes one of these may be the critical design parameter. The normal case is when functional engineering decisions are made.
I attended a lecture by Charles and Ray Eames (Wiki) where they said a product designed when the life of the user is at stake did not contain any marketing elements and so tended to be elegant. This is related to the Form Follows Function school of design (Wiki). The example given was the gyroscope used in aircraft.
There are conflicting functions for any vehicle and they may be Performance, Utility, Luxury and Economy. There are many performance parameters such as top speed, gas mileage, range, &Etc. Utility vehicles need to do the job they were designed to do at the lowest cost point. Luxury vehicles tend to give up on all the other factors. Economy vehicles give up on the other factors, &Etc.
Vehicles that are aimed at general markets tend to be a blend of Performance, Utility, Luxury and Economy. But a blended design can not come close to a purpose designed vehicle where only one goal is present. The family sedan can not set a world land speed record.
As of 2023 full size pickup trucks seem to be only available as luxury vehicles with 4 doors and a plush interior. For some reason none of the major car companies is making a utility pickup truck.
A multi-tool that does many things can not compete with a single purpose tool when used for it's stated task.
Mean Time Between Failures
A possible design consideration is Mean Time Between Failures (Wiki: MTBF). I learned about this when I was engineering products for military applications where MIL-HDBK-217 was the defining document introduced in 1961. I also had a conversation with Keith, another engineer, who worked at RCA and was involved in the design of color TV picture tubes where the goal was to get the MTBF at one year plus one day. That's to say just after the warranty ran out. While not the same as the "sell razor blades not razors" business model (Wiki), it's in the same ballpark. This would allow RCA to sell a second picture tube and give employment to the local TV shop.
Individual components can be tested to determine the parameters needed as inputs to the MIL-HDBK-217 calculations. Then these components can be combined to make a sub assembly where its MTBF can be computed. These sub assemblies can be combined into a sub system with its MTBF and so on. Thus the MTBF for a complete aircraft outfitted for a specific mission can be calculated. The idea is that the MTBF should be longer (maybe 4 times longer) than the total mission time. It's my recollection that an early F-111 (Wiki) had failures during a mission and the guys at Aertech who made some parts for the terrain following radar were nervous until they learned is was not their component that failed. In any case the MTBF was shorter than the mission time.
I think MTBF should be a required part of a product label for expensive items. The idea is to let the buyer know the longevity of the product. Some buyers may want to pay less and get a product that's only going to last a year while others may want to pay more and have a longer lasting product. This has implications when deciding to make a major repair. On a car with a short MTBF making a major repair may be a waste of money, but on a car with a longer MTBF might be an excellent investment.
At the end of the movie Blues Brothers (IMDB) the car they were driving throughout the movie disintegrates. This is the ideal case of matching of MTBFs for all the components of the car. If, for example, one part of the car has a much longer MTBF than the rest of the car then that part can be re-engineered to have a lower cost and shorter MTBF thus lowering the cost of the car without impacting anything else.
While electric vehicles have many advantages (see my Polaris EV) there may be a problem relating to MTBF. Currently it pays for manufacturers who produce high quantities of a single product to spend say $10,000 to lower the cost of a part by one cent that will go into a million products. The amortized cost of the engineering is $10,000/1,000,000 = 0.01, i.e. a penny. The proviso is that the MTBF of the part needs to be greater or equal to the MTBF of the final product. So this cost reduction is aimed at parts that have an MTBF that's too high which are typically higher quality parts. That's to say those parts need to be made cheaper in both the literal and figurative sense.
If the car is designed so that the its MTBF and the battery MTBF are about the same then the whole car is considered a one time use product to be dismantled/scrapped at the end of it's life. This seems to be the case for most products. (2022 June: PS Last night I replaced a 3-way lamp socket because it was not working. The store clerk said he did not see many people repairing products much any more.) Most of today's products seem to be single use. This is not sustainable in the long haul.
The implication is that electric (or really any) car (product) that is designed to a specific MTBF will have matched quality parts. Unlike early Rolls Royce cars that were designed to last as long as possible. That's why the Phantom II and 20/25 models will be functional for a minimum of 100 years.
My 2003 Mercedes Benz has plastic parts in the engine cooling system that have a life on the order of 20 years. It's not that they fail at 20 years so much as it is that if a mechanic touches one of them to replace a sensor the plastic part breaks. As long as replacement parts are available or the broken part can be repaired the car can be kept on the road. But you can see that at some point the car must be scrapped. This is very different from the early Rolls Royce cars that do not have plastic and rubber parts with a limited life.
A possible solution would be to go back to the system where the chassis and coach/body were made as different assemblies. That way the power train (electric motor and battery) could be thrown away/recycled and the higher quality body could be kept in service. This is backwards from how it used to be. My RR Phantom II body fell out of style and was removed from the chassis (which was the high MTBF part of the car) and a delivery truck body was fitted. But currently it would make sense to have the high MTBF part of the car be the body on high end cars.
For low end cars they will just be scrapped (Wiki) at the end of their life.
2023 Oct - New considerations:
1. Because of the problem the lack of a way to put out an EV fire, insurance for EVs will soon become very expensive and they will be banned from some locations.
2. A gas station has a large storage tank in the ground and so can fill dozens of cars at the same time. Since there is currently no practical grid level electrical storage system it will not be possible to have an electrical charging station with a dozen charge points, or if they do that the capacity of each charge point will be reduced.
Pete Brock was big on the idea that engines (and vehicles) should be very reliable as well as fuel efficient and easy to repair. His idea was a low BMEP (Wiki) engine was superior to a high BMEP engine. Also he used the same size hex bolt throughout the engine. If more strength was needed he used two bolts. That way a single size hex tool, that also could be made to be a torque limiter, would be needed for engine work.
Note electric vehicles control the battery use (minimum depth of discharge, maximum charge) in such a way as to extend the battery life at the expense of restricting range. This way they hope to get a desired MTBF for the battery. Since the battery is not easily replaced that means the vehicle will also be designed to have the same MTBF. The end result is that most EVs will be on the cheap side. Note the EU ruled on 30 June 2023 that cell phones need to have user replaceable batteries. This is because cell phones are thrown away when their battery fails. This has happened to my last three cell phones. If EVs have owner replaceable batteries then the MTBF for the car can be longer than the battery and so of a higher quality. That might allow battery swapping if the process is designed for "quick change" batteries, which would make commercial use practical. As it is a commercial user needs to have his economic assets in use for as many hours a day as possible, so waiting hours for a non-replaceable battery to charge is a deal breaker.
Repair
The Honda headlight replacement (see: Trade Offs above) where a more expensive pre focused lamp is less costly than a much lower cost lamp that needs alignment.
2023 Oct - there have been a few YouTube videos about things like $5,600 to replace a Ford pickup tail light, a quotation of $41,000 to fix a dent in a Rivian pickup truck, A friend just told me he installed new wiring on an RV for high and low beam headlights for about $10 in parts where the dealer quote was for $7,500 to replace a wiring harness. This points in the direction that modern vehicles may be getting to the point where they are disposable rather than repairable.
2025 March: YouTube: A $20 Bulb Could Equal A $500 Bill!? What The....!, 11:29 - $80 for the Hi and Lo beam lamps, $160 for labor to replace them, $250 for alignment of the parking camera.
Another symptom is my local Mercedes Benz dealer will no longer work on my C230 because it's too old. I'm guessing that they can no longer get parts and don't want to install after market parts, so just will not work on my car. Note that the 1929 and 1934 Rolls Royce cars my son now has can be maintained for centuries to come. But cars that contain electronics will become bricks when those parts are no longer available. You can see this when companies sell product lines to what may be called after market test equipment companies. The new company raises the price by a large multiplier and tells the government (and all customers) that's the price if they want that piece of equipment.
There may be a market for a utility vehicle that uses parts that are available world wide in large numbers, i.e. that is easy to source to manufacturer and easy to get repair parts. Rather than use a wire harness it would use cable management so that a repair would only require a spool of wire. It would not use electronic ICs that are custom made, but could use generic ICs that have multiple sources.
I have repaired my refrigerator two times. "Repair is Recycling" appears on a local appliance company truck. But when the clothes washer that was maybe 10 years old failed, the cost of the mother board was about $400 + labor + a substantial wait time, so I bought a new washer. This is a sign that modern products are designed as throwaway products. This is not sustainable.
There's a whole separate thing relating to the Right To Repair (Wiki). There are two aspects to this. The Right to property (Wiki) that you have purchased and the Repairability (Wiki) of the product.
Also a major EV maker in China has gone bankrupt and because their internet server is no longer on line the cars they made are susceptible to being bricked (Wiki). This is different than although related to the right to repair issue of John Deer tractors, Apple products &Etc. (Wiki).
In order to minimize the cost of many electronic products the manufacturer will order custom parts specifically for that model series and maybe a few percent overage for repairs during assembly. That means there will be no repair parts so when the custom part fails the product can not be repaired. Back in the Golden Era most products could be repaired using off the shelf components. A similar thing is now happening with vehicles. That's so say the cost and or availability of repair parts makes it non economical to repair them. My neighbor ended up scrapping a Ford pickup truck because the cab-off repair cost was very close to buying another truck.
In the horse and buggy days "coachbuilders" (Wiki) built the coach part which was then placed on a chassis (Wiki). When automobiles were invented the same coach builders made bodies for cars. So for may decades Rolls Royce (see: PII & 20/25) did not make complete cars but rather made the chassis, and companies like Barker (Wiki) would make the coach work. Later the car manufacturer made both the frame and body. Note heavy duty vehicles like trucks have always been body on frame (Wiki) construction because it's stronger than unibody construction.
The following cars are held in high regard and I think the key reason is they are the last body on frame cars by Chevrolet and Ford. All cars since have been unibody which has a lower cost to make, but not as rugged. It may be that a body on frame car can handle more engine torque than a unibody and so for cars with more powerful engines a frame is needed.
1957 Chevrolet Bel Aire (Wiki)
1957 was the last year Chevrolet made cars with a separate frame and body. There is no Wiki page for 1958 Chevrolet probably because they were made using unibody construction. The 283 cu in engine with factory fuel injection achieved 1 HP per cu in, a first for Chevrolet (Wiki).
1996 Chevrolet Caprice (Wiki)
The last year Chevrolet made the Caprice body on frame car in the U.S. was 1996. GM did continue to make them in Australia under the Holden (Wiki) brand up until 2017.
2011 Crown Victoria (Wiki)
2011 was the last year Ford made a car using body on frame construction. Versions of this design were and still are used by police (Wiki) and taxi cab companies because of the longevity and ease of repair.
Miles per gallon has been the metric for quite some time. But the introduction of alternative fuels has complicated the comparison. Now new cars are labeled with MPGe (Wiki). This is based on the energy content of various fuels (Wiki). Note the table says 34.02 kWh/Gallon, but the EPA uses 33.7 kWh/Gallon.
The Delsbo Electric contest in Sweden (New Atlas: June 2019) the new record is "0.603 watt-hours per person per kilometer" (when 6 people are on board with a total people weight of 660 lbs.) The actual vehicle therefore comes in at 6 * 0.603 Wh/km = 3.618 Wh/km = 3.618 Wh * (1 km/0.6213712 miles) = 5.82 Wh/mile. This is done on train tracks, not on a road using tires. Using the EPA value of 33.7 kWh/Gallon = 33,700 Wh/Gallon gives about 8,000 MPGe.
The Tesla Model S is rated about 104 MPGe. Delsbo says the Eximus III is about 76.4 times more efficient than the Tesla Model S, or 7945 MPGe.
Self reporting by the CSX railroad says they get 471 ton-miles per gallon of Diesel fuel whereas trucks get 134 MPG on Diesel.
These translate to 418 MPG for rail and 118 MPG for trucks on gasoline because Diesel contains more energy per gallon than gasoline.
But how the weight (note: ton-miles) effects the results depends on the elevation changes of the routes used for the annual calculation.
A horsepower (Wiki) is defined as lifting 550 pounds one foot in one second. Also see M-360 eTrike hill climbing.
So the Delsbo results are biased because they are run on a level RR track. It's similar to measuring gas mileage on a level track on a windless day. Much better to make these measurements on some stated course, like the CSX railroad using all the routes they have.
2024May21 Vox: The misleading, wasteful way we measure gas mileage, explained, David Zipper - If CO2 is the issue then Gallons per 100 miles is a far better measure that allows making comparisons that effect actual CO2 emissions, unlike MPG.
The Man Who Accidentally Killed The Most People In History, 24:56 - Tetraethyllead (Wiki)
Pete Brock made a big thing of how wrong it is to consider horsepower per cubic inch of displacement. It would have been much better to look at efficiency and reliability. In a similar way there is a movement to use Gallons per Mile as a metric for fuel efficiency.
The INDYCAR trick no one else thought of!, 12:51 - using abandoned tunnel in Peninsula for Indy car testing, constant temperature and humidity.
The Secret Racing Tunnel No One Wants to Talk about, Larry Webster, Road & Track Jan 9, 2015 -
The Laurel Hill Tunnel Controversy: Chip Ganassi’s Secretive Racing Experiments That Shocked the NASCAR World -
20060053873 (7131319) Method and apparatus for testing a moving vehicle, Chip Ganassi, Benjamin Bowlby, Chip Ganassi Racing Teams Inc, 2006-03-16 (2006-11-07), - wind, temperature, humidity are repeatable.
Got his start by winning a 1904 contest to see how far a contestant could go on an Imperial quart of petrol. He went 40 miles, i.e. 160 MPG (Wiki). He did that by optimizing everything he could think of for maximum fuel efficiency.
He holds over 100 patents related to engines. including US1677249 Method of making sleeve valves, 1928-07-17. Wiki says he didn't invent them but wrote an extensive paper.
In the movies it's sometimes said that the GPS system knows where a GPS receiver is located and that by hacking the GPS system that location can be found out. That's not the case. The GPS satellites only transmit to the GPS receivers. The GPS receiver does not transmit any data back to the satellite. also see Key, Object & Pet Location Tags & FasTrak.
Cars, Trucks, Motorcycles &Etc.
There are a number of ways cars can be tracked. For example by the use of bridge toll transponderes or license plate cameras (see FasTrak). If the car has it's own cell phone, such as the On Star system, then there are many ways cell phones can be tracked (see: Spying on Cell Phones). There are many "GPS Trackers" sold on eBay. These combine a GPS receiver and a Cell phone which places a call from the tracked item. These only work if the GPS antenna can see the sky AND the cell phone antenna can connect with a cell tower for the provider. The newest wrinkle is the use of the Apple AirTag.
License Plate Recorders/Cameras
For more see FasTrak\LPR.
Aircraft
Most modern aircraft now have ADS-B (Wiki) transponders. There are a number of services, like FlightRadar24, that consolidate that information and present it on a world map so that you can see pretty much all aircraft traffic in the world. Note that ADS-B works in conjunction with the 1 GHz IFF (Wiki)/Aircraft Transponder system (Wiki, SSR)) so is not available over oceans.
Ships
Most commercial ships have a transponder and can be tracked using something like Ship Tracker. This makes use of Automatic Identification System (Wiki: AIS). Most of these ships transmit the AIS information on a VHF radio channel (about 162 MHz). There is a Satellite version (S-AIS) and a Long-range Identification version (Wiki: LRIT) that will work in the oceans.
YouTube:
How gas pumps know when to turn themselves off, 13:55 -
2320033 Filling nozzle with automatic shutoff, Jr Archibald H Davis, American Machine and Metals, 1943-05-25, 141/209; 137/390; 137/614.2; 251/73; 411/915 -
When figuring out the weight transfer on an electric trike I used an industrial platform scale.
Today I saw this YouTube: I Invented a Better Way to Weigh Your Car. And it's Cheaper, Too, 7:20 - He spends the first half talking about failed ideas then @4:59 SuperFastMatt describes "The Better Idea" of using a wheel dolly and 4 load cells. He used the Sunex 1500-Pound Wheel Dolly (needs to be hydraulic or ratchet jack type) and FSK Livestock Scale Kit Build Your Own Scale at a Fraction of the Price (includes 4 load cells, 20,000 # max) both on Amazon for a total under $400. The beauty of his idea is it's very quick to measure the weight.
Note vehicles that have a GVW greater than 10,000# have fewer rules than lighter vehicles. So a 20,000# weight for one wheel may be overkill. 5,000# total for the 4 load cells costs less and has finer resolution. See Car Bloat above.
1443413 Socket wrench, Johnson Joseph, Snap On Wrench Co, App: 1920-07-01, Pub: 1923-01-30, - - maybe the oldest Snap On patent?
BOLTR: Snap-On Ratchet, 5:35 - 3 US patent numbers on this 3/8" ratchet.
6125722 Ratchet wrench with sealed reversing lever, Richard L. Hopper, Jr., William A. Nurmi, Charles H. Heiligenthal, Kenneth E. Kessler, Snap On Tools, 2000-10-03, -
7987747 Bias assembly for ratchet tools, David T. Ross, Steven R. Wente, Snap On Inc, 2011-08-02, -
8720308 Dual pawl ratchet mechanism and reversing method, Richard Hopper, Michael Foster, Christopher Thompson, Snap On Inc,2013-10-31, -
Search eBay for "STRUCTO".
1353861 Toy tractor-chain and link therefor, Strohacker Louis, Structo Mfg Co, 1920-09-28,
1553482 Toy steam shovel, Strohacker Louis, Structo Mfg Co, 1925-09-15, -
1553483 Toy steam shovel, Strohacker Louis, Structo Mfg Co, 1925-09-15, -
1573203 Grab-bucket-crane toy, Strohacker Louis, Structo Mfg Co, 1926-02-16, -
2672216 Spring motor construction for toys and the like, Joseph G Gokey, Structo Mfg Co, 1954-03-16, - used in toy garbage truck
2954437 Telegraphy educational device, Marlan S Riggle, Structo Mfg Co, 1960-09-27, - press a key and hear Morse code - 36 cams rotating on shaft.
3161987 Bulldozer toy with automatic dump mechanism, Raymond H Decker, Structo Mfg Co, 1964-12-22, -
The horse was stabled in a barn, and probably also the buggy was in the barn.
I expect that early garages used the same hinged or sliding doors as were used on barns and railroad box cars.
Tilt up Garage Door
I lived in houses that had these. A single panel swung up using a mechanism that had a large coil spring on each side.
1261686 Disappearing garage-door, George B Boughton, 1918-04-02, - two panels, horizontal hinge half total door height. "The object of the invention is to provide an improved door and operating means therefor, so constructed as to position the door in the upper part of the garage or other building when the same is opened, whereby it will be entirely out of the way and will therefore render all space in the building available for other purposes."
2162381 Swinging closure mounting, Frederick A Guth, 1939-06-13, - "The primary object of the invention is the provision of a hinge mounting which will permit the door to be opened to an overhead position with out the use of trackways and other associated hardware."
2628385 Mounting for tilt-up type garage doors, Richard B Rogers, 1953-02-17, - easily fabricated single panel tilt-up door
Roll Up Garage Door
1508886 Overhead door, Owen L Dautrick, Clarence G Johnson, Kraska Arthur, Dautrick Johnson Mfg Co, 1924-09-16, - This is very much like my current garage door, but uses a different spring arrangement.
Motor Operated Garage Door
1578177 Garage-door-opening device, Andrew J Schrade, Johnson Elmer, 1926-03-23, - shown with two control switches, maybe one outside and one inside.
Remote Controlled Garage Door
2299330 Remote control system, Vernon C Macnabb, 1942-10-20, - tube type 400 kHz, on/off remote control
2533116 Control system for doors, Felton S Jenkins, App: 1946-05-01, Pub: 1950-12-05, - long lead screw to open door, tube type RF remote
2543789 Automatic door operator, Duncan C Macmillan, Navy, 1951-03-06, - used two transmitters and two receivers to minimize false openings.
2914709 Photoelectrically actuated garage door opener, Rabinow Jacob (See China Lake Patents), 1959-11-24, - based on flashing headlights
3041507 Mobile door control, Samuel W Rose, Robert P Crow, Walter A Kelley, Motorola, 1962-06-26, - Rx loop can be aimed to match driveway angle
3716865 Radio controlled system for garage door opener, C Willmott, Chamberlain Group, App: 1971-06-10, Pub: 1973-02-13, - transistorized handheld remote, FM modulation for longer range while keeping below FCC power limits. No code, all remotes the same.
This Western Electric 318W Chauffeur's phone showed up on eBay. Two patent dates and Western Electric 318W could be seen. This transmitter would be used by the passenger and a loud speaker would be near the driver.
Might have been used in the Rolls Royce Phantom II.
1050304 Telephone-transmitter, Charles E Scribner, Western Electric,1913-01-14, -
1120049 Telephone apparatus, Omer M Glunt, Emil C G Mueller, Western Electric, 1914-12-08, -
This is a carbon button type microphone and works with a 6V battery and loud speaker (maybe with a transformer?).
For another 300 series Western Electric microphone see WE 396A Chest Horn Carbon Microphone.
Based on:
Why did the rich buy Scoota - Car, 4:13 -
The Rytecraft (Wiki) microcars (Wiki) were based on fairground bumper cars (Wiki).
Scootacar (Wiki, Brooklands Museum) was a different company that made micro cars between 1957 and 1964.
1467959 Amusement device, Stoehrer Harold, Stoehrer Max, Stoehrer & Pratt Dodgem Corp, 1923-09-11, -
Original patent shows the idea. Later the vehicles looked more like micro cars.
YouTube: 100 Controversial Vintage Photos They Didn't Want You to See, 19:59 -
@8:48: "2 young ladies driving and riding in a Lawson's Motor Wheel of 1902."
633014 Motor-vehicle, Henry John Lawson, 1899-09-12, - tricycle w/pedals
Fig 7: multi prupose cylindrical tank: Carburetor, lube oil, fuel & burner for ignition tube (before spark plugs).
658068 Motor-vehicle, Henry John Lawson, 1900-09-18, - a motorized wheel intended to replace a horse.
688101 Motor-vehicle, Henry John Lawson, 1901-12-03, -
Uses the multi-prupose cylindrical tank covered in 633014.
This looks very much like the YouTube Photo.
@16:07: A woman driving a 1944 Brogan Doodlebug 10 HP.
The Doodlebug could achieve a top seppd of 45 MPH and travel almost 70 miles on one gallon of gas.
D148516 Automobile, Frank Brogan, 1948-02-03 - single seat.
This may apply to the Steam Engine Lubricator invented by Elijah McCoy.
129843 Improvement in lubricators for steam-engines, Elijah McCoy (Wiki), App: 1872-07-23, Pub: 1872-07-23, -
The J-Damper (Wiki: Inerter) was designed for shorter Formula 1 lap times. It's a two terminal equivalent for mass. This allows making a shock absorber that stores energy and returns it rather than dissipate the energy.
YouTube: The Genius Device That Rocked F1 | An Interview With Its Inventor, 47:21 - Malcolm Smith interview.The key idea is to have a correspondence between electrical components and mechanical components. The problem was mechanical mass has a single terminal, unlike an electrical capacitor that has two terminals. The Inerter is a two terminal device that contains a flywheel and acts as a two terminal mass thus allowing the synthesis of more complex mechanical circuits. Unlike active suspensions that require hydraulic power, the J-Damper requires no external power.
First used in 2005 and banned in 2022.
GB0116424 Mechanical device, Cambridge University, 2001-08-29, -
20220228652 Lossless continuously adjustable devices, Tryphon T. Georgiou, Malcolm Clive Smith, Faryar Jabbari, Neil E. Houghton, Cambridge Enterprise & UCSD, 2022-07-21, -
Surface Towed Array Sonar Sys-tem (SURTASS)
Over 23,000 were made and were a major factor in the D-day landing. The Gray Marine Diesel Engine (Wiki) was based on the GM Detroit Diesel 6-71 (Wiki).
YouTube: The Rise and Fall of Detroit Diesel, America’s Greatest Engine Company, 19:00 - The 6-71 (Wiki) was a popular supercharger in drag racing.
2341866 Lighter for mechanized equipment, Higgins Andrew Jackson, App: 1941-12-08, W.W. II, Pub: 1944-02-15, -
YouTube: The Forgotten Engineer Who Won WWII, 20:49 - Andrew Higgins
The DUKW was one of the National Defense Research Committee projects (Wiki: NDRC Projects, DUKW History) along with the Proximity Fuze (China Lake patents), RADAR (RWR), Atomic bomb (Wiki), Penicillin (Wiki) and many other things.
The DUKW was a modification of the GMC CCKW 2-1/2 Ton 6x6 Truck (Wiki).
2420154 Rudder control linkage, Jr Roderick Stephens, App: 1945-01-04, W.W. II, Pub: 1947-05-06, - "...another object of the invention is to pro wide a rudder control mechanism particularly adapted for use with amphibious vehicles of the type in which both the steering wheels of the vehicle and the rudder are operated by the same steering means, and in which a substantial turn of the rudder is possible with only a partial turn of the steering means. This permits a complete turn of the rudder with only a partial turn of the front wheels and provides the quick control of rudder essential in amphibious operations of military character."
Vehicles and Heavy Weapons of the Vietnam War by David Doyle, ISBN 9781526743640, on order
2290089 Four wheel drive, Carl J Bock, Yellow Truck and Coach, App: 1941-03-11, W.W. II, Pub: 1942-07-14, - includes a 6x6 version
2354300 Transfer case for power transmissions, Carl J Bock, GM, App: 1942-06-03, W.W. II, Pub: 1944-07-25, - for an 8x8 (Wiki).
WHAT IS THIS MYSTERIOUS ITEM? FOUND IN MY GRANDMA’S ATTIC!, 16:46 - I recognized the first item since my mother's was used by a friend of my brother to paint his car blue. The Kirby Vacuum (Wiki) had an easily accessible output. There was a lot of orange peeling.
1713902 Sprayer attachment for vacuum cleaners, Frank O Hartman, Hartman Electrical, 1929-05-21, - cited by 8 patents
1932 Bucyrus-Erie 5O-B Steam Shovel
3 Wheel Recumbent Electric Bikes
Addmotor M360 Electric Trike
Aircraft
ATV Fire Truck (Polaris Ranger EV)
Bicycle Science - M-360 eTrike
CSX-3282 427 Cobra
Ford 1942 script GPW Jeep
HMMWV Hummer 1 ¼-Ton, 4X4
M1009 CUCV TRUCK, UTILITY, TACTICAL, 3/4 TON, 4x4, M1009, Chevrolet K5 Blazer with a diesel engine and 24 Volt electrical system
M151 MUTT Jeep
Military Vehicles
Motor Bikes & Scooters
Rolls Royce
Submarines
Tilting Three Wheel vehicles
Kew Bridge Steam Museum - good links page - Rod Stewart's link page -
Hary's Old Engine page - Stationary Gas Engines - links - Antique Gas Engine & Related links - Fairbanks Morse - 10.5" flywheel gas model castings & plans -
Tractor Related Sites -
Coker Tire - for old American iron from motorcycles to trucks
Acronyms: Jokes-News, DrunkWorld, AllAcronyms, HumorEtc, CarOfCars, TapATalk, Jalopnik,
PreWarCar - Cars, Bikes, Parts, &Etc.
Facebook: Early Iron Car Club of Ukiah -
Electric Vehicles, Design and Build Your Own by Michael Hackleman, Earthmind/ Peace Press, 1977, ISBN 0-915238-17-9 is an excellent book for many uses. I used it as part of the basis of my vehicle acceleration computer program.
How to Make Your Car Handle by Fred Puhn, H.P. Books, 1976, ISBN 0-912656-46-8 - The best book on handling that I have seen. It is both understandable and practical.
Are You Eligible for a California Vehicle License Fee Refund from DMV? -
AutoWeek - automotive magazine with good articles
Antique Power - tractor magazine - This old truck -
Beaulieu - National Motor Museum - Core Collection - Cars & Vans - Motorcycles, Bicycles & scooters - extensive collection & restoration
BMW motorcycle- USA factory bage
Classic Motorbooks - they've got a book on about every car ever made & a lot of books on special interest cars, tractors, motorcycles, etc.....
Cornell - Formula SAE - used to do vehicle dynamics calculations, like used for the car stunts in the Burt Renolds "Smokey and the...." movies
Edmonds - new, used, road tests, etc.
Electric Auto Association -
Electrical Vehicle Association of the Americas -
Hemmings Motor News - all auto related classified ads
Motorsport News International -
New Scientist -
R.Q. Riley - Electric And Hybrid Vehicles - An Overview of the Benefits, Challenges, and Technologies - Plans: Cars, Three-Wheelers, EVs & Hybrid
Skinned Knuckles Magazine - if you're doing automotive restoration work this is a must have, the "what went wrong" is very informative (the idea behind my web page Hints & Tips)as are other sections
Special Car Journal - on line mag
started 7 Nov 2024
Politics
I ran as an independent for the open CA2 House of Representatives seat in 2012 (Wiki). I had no expectation of winning, but ran to tell the voters about the problem of both major parties being in agreement on the key issues that voters wanted to change. If you vote for a Republican or Democrat there will be no change in the key issues. Note the press reports on some sex related issue prior to elections since there's agreement on the major issues. There was no accountability for those responsible for the Global Financial Crisis (Wiki). Dodd-Frank was supposed to be a fix, but in fact made no substantial changes (Wiki) and in some cases make the problem worse. Both parties were in agreement on war policy (see the Obama Romney debate on "foreign policy" (YouTube). In my opinion the landslide turnout for Trump is the voters saying they are willing to break the existing system to get the changes they need.
The combination of the Nanny State (Wiki) and Protectionism (Wiki) like the Chicken Tax (Wiki) has lead to the current ban on small light vehicles, like the Kei in Japan (Wiki: Kei truck, Kei Car). In Japan there's a need to encourage the use of small light vehicles both because lack of space for vehicles and to allow middle class people to have access to an affordable vehicle. These can be imported in to the US if over 25 years old and may or may not be street legal depending on where you live. The Volkswagen (Wiki) was intended to be the "people's car", i.e. low cost which results in light weight, under powered and small.
Cars
I've put this idea on my Cars web page because it's a microcosm of a problem that shows up in many areas. Prior to 1966 there were essentially no rules for cars other than a few requirements to be street legal. When I ordered a new 1967 AC Cobra it ended up being sold and registered as a 1966 model because it did not meet the new smog (Wiki: CARB) and safety rules for a California car. The federal safety rules started a few years later, Wiki: NHTSA. Note NHTSA has conflicting goals. On one hand they want cars to be safe which tends toward heavy vehicles with crumple zones, air bags and a very strong frame that allows doors to open after a crash. On the other hand fuel efficient vehicles tend to be light weight with small efficient engines. The Tesla Cybertruck (Wiki) is a vehicle that meets NHTSA safety requirements and being electric does not use any gasoline, so is an example of a vehicle that meets both of their requirements. It's very expensive and heavy (high operating costs), so not at all in the realm of a "people's car". also see Bloat.
I had a Mk I and Mk II of Austin-Healey Sprite cars (Wiki). These were small, light weight under powered and extremely fun to drive with no smog or safety features. I also owned a couple of motorcycles which to this day do not have any NHTSA type safety features and riders know and accept this. People are free to choose to ride a motorcycle.
New ideas from YouTube video: Former GM Powertrain Engineer REVEALS Truth on Quality Issues - Full Interview, 1:14:56 - GM (and most certainly other brands) are now designing cars and trucks to be throwaway products. "No maintenance, unavailability of repair parts, high cost of repair parts, requirements to tie electronic parts to VIN which only the official dealer can do, &Etc). The days when a vehicle would go 1,000,000 miles are long gone, and getting 60,000 miles is optimistic. GM has been making more money financing it's vehicles rather than on profit from making the vehicle for many decades. Rather than sell a large volume of low cost vehicles GM as opted to sell very expensive vehicles to rich people.
Electric Vehicles
I see many problems with electric vehicles (Wiki) for everyday use. I live in Northern California within a few miles of a number of wild fires since 2017. Electrical power outages lasting a number of days are so common I've retrofitted my house with a generator. While there's a push to electrify vehicles and buildings I don't see a push to build more electrical generation plants, so the cost of electricity is going to go way up and the reliability will continue to get worse. Note using electricity for space heating a house is very bad in terms of CO2 since modern natural gas/propane home heating furnaces are over 90% efficient and the best conventional electrical plants are only about 40% efficient. Note home heating is typically done at night or winter time when PV solar is no making any electricity.
The 2025 Iberian Peninsula blackout pointed out that pretty much everything being connected to the electrical grid is a big problem when the grid goes down, in this case because of the renewable inverters were a very large percentage of the sources of energy.
Gas Vehicles
Now most US vehicle manufacturers (Wiki) only make pickup trucks and SUVs, i.e. they make very few gasoline powered "cars".
2024 November
Subaru: Impreza (gas Car?, Wiki); Legacy (gas car Wiki), BRZ (2D gas car, Wiki)
GM: Chevrolet: Malibu (4D gas car end of life Nov 2024 (Wiki)) Buick: Envista (gas SUV=Chev Trax); GMC: Pickup trucks; Cadillac: all SUVs
Ford: Mustang (gas car Wiki: 7th gen);
Dodge: Hornet (gas SUV); Challenger (gas car, Wiki) end of life 2023; Charger (gas car, Wiki) 3L engine, not 7L; The Hemi engine does not appear to be in an 2024 cars (Wiki)
Toyota: Corolla (gas car); Camry (gas car); GR86 (gas car, Wiki: 2nd Gen);
Honda: Civic (gas car); Accord (gas car)
BMW: too many models, hard to tell what they are; Mini (gas cars, Wiki)
Mazda: Miata (gas car, Wiki); 4D Sedan (gas car?)
I did not find a gasoline powered car that would come anywhere near the idea of a "peoples car", i.e. light weight, affordable, gasoline powered.
Economy - MMT
Guns
Housing
There used to be thousands of Single-room occupancy housing units in San Francisco. These were buldozed to make way for "redevelopment". These units were not replaced. Note the housing projects in California often have a goal of providing "hundreds" of units, and typically fall short of that. What's needed is tens of thousands of units. The only way that's going to happen is with SROs and multistory housing like is used in the rest of the world.
Health Care
CARB SORE & Generators, Tractors
Courts
Brooke's Home Page
Page created 30 Jan. 2000.