2 Front steering wheels and 1 rear drive wheel. Both
electrical motor and pedals.
![]() |
D871258S1
Hybrid pedal and electric powered vehicle, Robert
M. COTTER, Sun
MicroMobility (Organic
Transit), 2019-12-31, - |
![]() |
10864961
Steering mechanism for vehicle, Robert M.
COTTER, Sun
MicroMobility (Organic
Transit), 2020-12-15, - The two parallel rear rails are where the drive train is located. |
The classic example is the Wizzer (see below).
But you can still buy kits to add a 50cc (U.S. definition of displacement) / 80cc (China definition of displacement plus head volume) motor kits for bicycles.
I live in a hilly location and the slope of my drive way is over 11% (Wiki) and this motorized bicycle was able to drive up to the top.
That's really doing something that most electric bikes can not do.
One seller is Fast Bike Motors, but there are plenty just search for "motorized bicycle".
The Bicycle shown below is a Northrock CTM which is sold at Costco. Because it has a large diameter down tube where the motor mount is located it might pay to get the optional motor mount bracket from Fast Bike Motors.
Solex
I've known the name Solex for years associated with carburetors.
Solex (Wiki) started during W.W.II in France.
Facebook VeloSolex Buy/Sell -
Brian's Solex: Solex motorbike History - many details
Solex Millenium - Extensive Solex motorbike information
GB110103 (eSpaceNet) Improvements in Motor Cycle Frames, Maurice Goudard, Marcel Mennesson, 1917-10-11, -
A design prior to the Solex. Rear engine, which is better for climbing hills. No provision for pedals, so this is a motorcycle.
Frame made of two stamped sheet metal parts that are then joined using rivets (Wiki).
GB106411 (eSpaceNet) Improvements in Power Units for Motor Wheels, Maurice Goudard, Marcel Mennesson, 1917-05-24, -
engine mounted on rear axle, see below
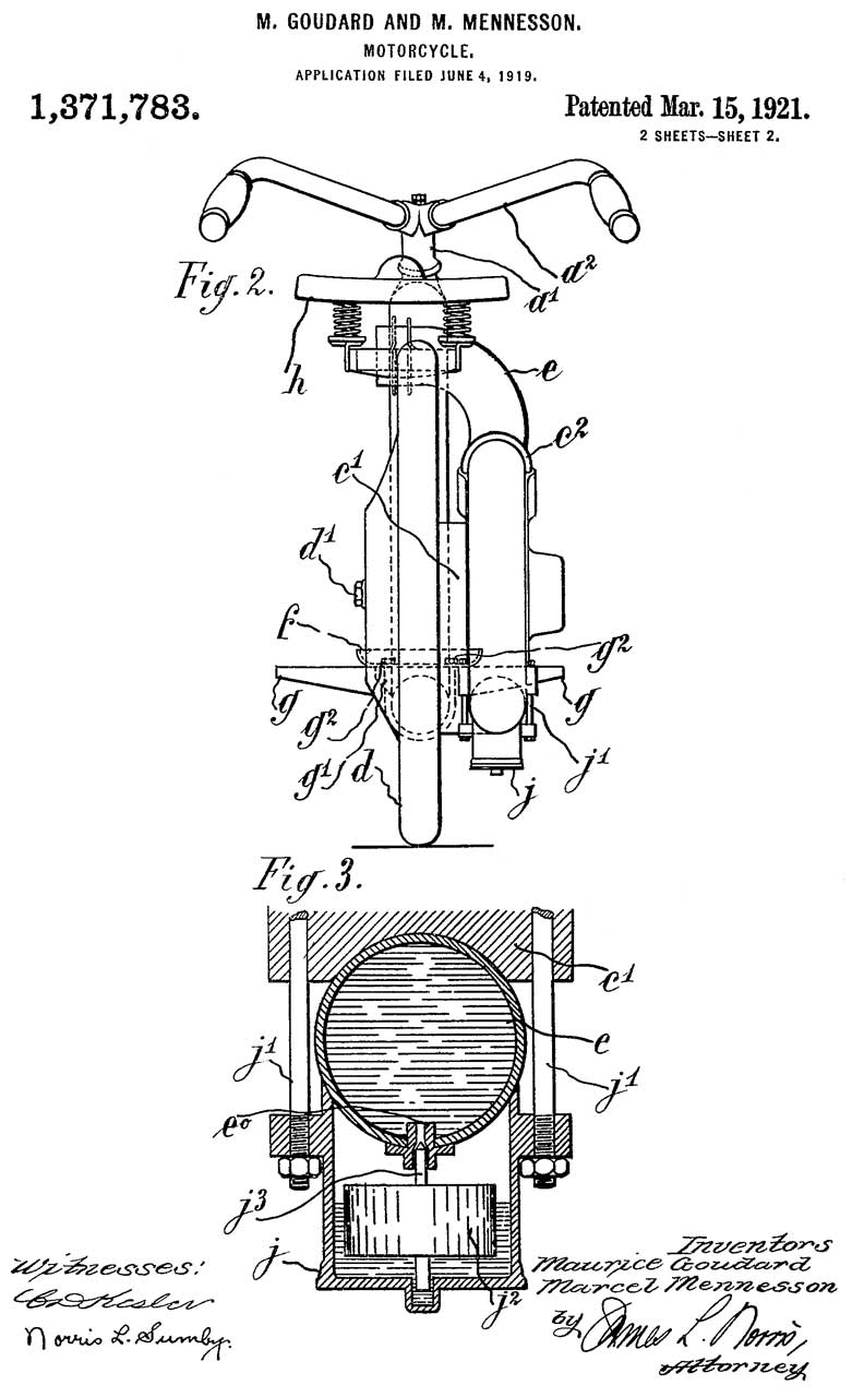
1371783 Motorcycle, Maurice Goudard, Marcel Mennesson,1921-03-15, - Motorcycle with engine mounted at rear axle.
Frame made from a large diameter tube. Open frame, like the Vespa and for the same reasons, only 20 years prior, Floorboard (f)
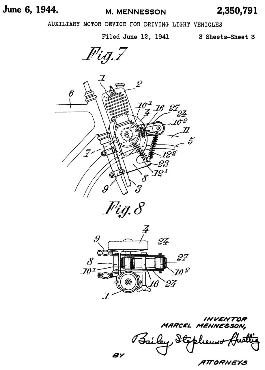
2350791 Auxiliary motor device for driving light vehicles, Mennesson Marcel, App: 1941-06-12, W.W.II, Pub: 1944-06-06, - Solex motorbike
DE807592C, Exhaust Device, Marcel Louis Mennesson, Societe dApppareils, 1951-07-02, - accommodating the exhaust pipe in the mudguard
2351992 Auxiliary device adapted to drive light vehicles, Mennesson Marcel, App: 1942-10-22, W.W.II, Pub: 1944-06-20, - Solex motorbike
DK72058 (eSpaceNet) Auxiliary drive motor for light vehicles, e.g. bicycles,
FR898439 (eSpaceNet) Bicycle with Auxiliary motor, Rene Plasseraud,
GB600769A Bicycle with Auxiliary motor,
D152430 Bicycle, Marcel Mennesson, 1949-01-18, - Ladies style, large tube frame, luggage rack.
also see 2495859 Frame for Bicycle
2768005 Footrests for pedal cycles fitted with an auxiliary engine, Mennesson Marcel Louis, Societe dApppareils, 1956-10-23, -
CH314537A Pedal cycle, Mennesson Marcel-Louis, 1956-06-15, -
The Vespa idea with floorboard
2699228 Cable operated brake for bicycles and similar vehicles, Mennesson Marcel, APP D'equipment, 1955-01-11, - pincer wheel brakes
DK100.090 (eSpaceNet)Air filter for internal combustion engines, Bernard Rene Mennesson, 1964-10-19, -
In the 1960s there were thousands of these in France.
Photo from the Wiki page.
Solex 3800
The round black disk is the muffler.
Photo from silodrome -with more photos
MotoPed
Appears to be a kit of parts including a patent pending jack-shaft system. Uses horizontal E-22 (Honda style) engines up to 155cc (MotoPed: FAQ). When the 49cc engine is used it's probably in the unlicensed category of a motorbike.
Part of Motovox and tied to SmartCarb (will increase the fuel economy by an additional 25% to 40% with a target of 200+ miles per gallon, but costs about $700 so not economical).
$2,000 for a kit missing the engine and a few other items, or about $3,000 assembled and ready to ride.
Gross Vehicle Weight is not specified. Dry weight just over 120 pounds and varies a little with the model.
Phantom Bikes - no license, not registration, no drivers license, maybe need a helmet. Although the bikes shown on the Jay Leno Garage video were powered by a 49cc gas engine, the bikes shown on their web page seem to be all electric.
bicycle-engines.com - has 2-cycle and 4-cycle kits as well as various parts.
Honda Cub (Wiki, Quora: What is the best all around motorcycle? Why?)
While made to be a motor bike rather than a conversion I put it under Motorized Bicycle rather than Motor Scooter because it has larger diameter wheels. A very important distinction because of the greater stability related to gyroscopic effects.
The Wiki page says the Super Cub is the Most produced motor vehicle in history. The early versions and some current versions have 49cc engines so that in many locations there's no licensing required.
Here's the official Honda web page for the: 2021 Super Cub C125, labeled "The World's Favorite Bike".
Fuelly reports that the C125A gets about 116 MPG with a range of 100 to 139 MPG.
Topspeed reports: 60 MPH
2023 Aug update: YouTube:The Vespa was designed by a man who hated Motorcycles, 19:32 - @10:27 The Austin Mini (Wiki) is a very similar utilitarian vehicle.
YouTube: Vespa: The Scooter That Rebuilt Italy, 7:11 -
The MAJOR problem with these is the small wheel diameter means a small gyroscopic action unlike motorcycles that have much larger and heavier wheels. This showed up in San Francisco when Vespa's were popular. When driving over tracks at an angle the front wheel would turn very quickly and dump the rider onto the pavement before they had time to react. There is no problem when driving on smooth roads.
ES15487U Type of motorcycle with special chassis, 1947-07-23 - Vespa
D111525 Motor-Scooter, David C. Rockola, Rockola Mfg, 1938-09-27
D147472 Prior Art
Looks like Cushman 50 or 60 Series
National Muesum of American History: 1945 Cushman Motor Scooter -
Maybe 1938 Moto Scoot
D147472 Motorized Scooter, Jimmie H. Reed, 1947-09-09
D147472 Prior Art
Did not find this "Wasp tail" make.
D156609S Motor bicycle, Corradino d'Ascanio, 1949-12-27 - Vespa
Named after 'wasp" since in my opinion the tail has that look.
ES15487U Type of motorcycle with special chassis, 1947-07-23 - Vespa
"A new type of motorcycle, with a special chassis, characterized by having a mud guard and a box covering the entire mechanical part and equipped with a very wide footboard, constituting, in addition to a comfortable support for the feet, the medium of resistance and meeting between the front and the back. (Machine-translation by Google Translate, not legally binding)"

The motor is built into the center of the wheel.
An advantage is that you can buy a complete motor wheel
assembly which makes installation pretty easy since you just
replace a wheel, front, rear of both.
The problem is that there's no transmission so not much power
going up hills.
These replace the crank cartridge and crank with an
integrated unit. While there is only one crank gear
(?choice of teeth?) the rear gears remain so much better for
going up hills.
A disadvantage is it takes much more time to install.
Bafang make a
number of mid drive conversion kits. Retailers relabel
these and greatly increase the price.
These come in power ratings of 200,
220SD,
250,
250SD,
750(44T,
48T, 52T), 1000(46T)Watt
ratings (746 Watts = 1 HP, SD suffix I added for Shaft Drive)
The 1kW motor can be operated at 48 (1500 W max) or 52 (1600 W
max) Volts - the power ratings require a battery that can
supply at least 30 Amps.
There are two bottom bracket sizes supported: 68 - 73mm for
normal bikes and 74 - 100mm for fat tire bikes.
Video
of Installation process using 750W motor as example
(pretty much identical for 1000W or 100mm bracket)
Calls:
6296072 Electric bicycle and methods, Opti Bike LLC, 2001-10-02 - ($4k to $14k) -
expired 2019-03-22
The Opti bike system integrates the rear derailer and other functions.
YouTube Opti Bike - Videos -
This appears to be the same general layout for the Bafang mid motor.
![]() |
552271 Electrical bicycle, O. Bolton Jr., Dec 31, 1895 - Rear hub motor. |
![]() |
596272
Electric bicycle, H.W. Libbey, Dec 28, 1897 - Mid motor 596273 Electric bicycle, H.W. Libbey, Dec 28, 1897 - Mid motor 596274 Electric bicycle, H.W. Libbey, Dec 28, 1897 - motor above rear axle 596275 Bicycle, H.W. Libbey, Dec 28, 1897 - no motor, "chopper" style handlebars 536689 Electric Battery, H.W. Libbey,Spr 2, 1895 - for electric bike or trolley car |
| 2479279
Motor Wheel, 1949-08-16 - hub electric
motor 2514460 Wheel motor unit, 1950-07-11 - hub motor with planetary gear 3884317 Electrically powered cycle, 1975-05-20 - Mid electric motor 3921741 Bicycle with electric motor assist, 1975-11-25 - small wheel rides on rear tire 627066 Automobile, J. Schnepf, June 13, 1899 - small wheel rides on rear tire (battery weight w/motor) 3431994 Electric drive for bicycles, Garfield A Wood Jr, 1969-03-11 - 4 small motors ride rear tire |
|
| 4267898 | May 1981 | Wheaton |
| 4979927 | December 1990 | Tabori et al. |
| 5256112 | October 1993 | Thomey et al. |
| 5551927 | September 1996 | Enzmann et al. |
| 5937964 | August 1999 | Mayer et al. |
| 6024186 | February 2000 | Suga |
| 6155369 | December 2000 | Whittaker |
| 6173801 | January 2001 | Kakutani et al. |
| 1177210 | March 1916 | Pooley et al. |
| 1269558 | June 1918 | Neracher |
| 1373918 | April 1921 | Smith |
| 2520587 | August 1950 | Wiesert |
| 2822879 | February 1958 | Overton |
| 3312299 | April 1967 | Kuecker |
| 3934666 | January 1976 | Ellington |
| 4346772 | August 1982 | Clifft |
| 5113959 | May 1992 | Mastov et al. |
| 2575873 | November 1951 | Henney |
| 3878910 | April 1975 | Walker, Jr. |
| 3912039 | October 1975 | Ordemann |
| 4200164 | April 1980 | Pearne |
| 4267898 | May 1981 | Wheaton |
| 4280581 | July 1981 | Rudwick |
| 5076386 | December 1991 | Ferneding |
| 5341892 | August 1994 | Hirose et al. |
| 5755304 | May 1998 | Trigg et al. |
| 5857537 | January 1999 | Matsumoto |
| 0675390 | June 1901 | Keating |
| 1743751 | January 1930 | Baker |
| 3387681 | June 1968 | Rabjohn |
| 3921741 | November 1975 | Garfinkle et al. |
| 4410060 | October 1983 | Cunard |
| 5253724 | October 1993 | Prior |
| 5341892 | August 1994 | Hirose et al. |
| 5368122 | November 1994 | Chou |
| 5375676 | December 1994 | Takata et al. |
| 5474150 | December 1995 | Mabuchi |
| 5487442 | January 1996 | Hua |
| 5671821 | September 1997 | McGreen |
| 1832018 | November 1931 | Gossard |
| 3841428 | October 1974 | Bialek |
| 3878910 | April 1975 | Walker |
| 3905442 | September 1975 | O'Neill |
| 3966007 | June 1976 | Havener et al. |
| 3991843 | November 1976 | Davidson |
| 4030562 | June 1977 | Leighton et al. |
| 4168758 | September 1979 | Holt |
| 4175629 | November 1979 | Kalajzich |
| 4183418 | January 1980 | Dudas |
| 4410060 | October 1983 | Cunard |
| 3991843 | November 1976 | Davidson |
| 4221275 | September 1980 | Pennebaker et al. |
| 5272938 | December 1993 | Hau et al. |
| 5368122 | November 1994 | Chou |
| 5433284 | July 1995 | Chou |
| 5450915 | September 1995 | Li |
| 5474150 | December 1995 | Mabuchi |
| 3773131 | ELECTRIC AUTOCYCLE | Nov 1973 |
| 4280581 | Motor and pedal driven bicycles | Jul 28, 1981 |
| 4346777 | Motor unit for bicycles | Aug 31, 1982 |
| 4559462 | Dynamo-electric cycle axle | Dec 17, 1985 |
| 5272938 | Flat rim type motor drive mechanism for bicycles | Dec 28, 1993 |
| 572036 | Wheel
with Electrical Motor Hub for Vehicles |
Nov 1896 |
| 3800898 | ELECTRICALLY POWERED BICYCLE | Apr 1974 |
| 4346777 | Motor unit for bicycles | Aug 31, 1982 |
| 5199520 | Wheeled chair | Apr 6, 1993 |
| 5207288 | Scooter body and front-wheel drive type electromotive scooter | May 4, 1993 |
| 5272938 | Flat rim type motor drive mechanism for bicycles | Dec 28, 1993 |
| 5341892 | Motor and pedal driven bicycle | Aug 30, 1994 |
| 5366037 | Powered wheelchair having drive motors integrated into driven wheels | Nov 22, 1994 |
MID replaces the crank cartridge
| Maker |
Model |
Description |
Pwr |
Type |
Drv Loc |
| Cushman |
|||||
| eZee |
|||||
| Wizzer |
all |
gas engine ki | 2SG | BK PMB |
Frm |
| Zap | DX |
Dual
Motor Kit |
EM | BK | FRW |
| Zap | SX |
Single
Motor Kit |
EM | BK |
FRW |
Uses a dual motor system and a roller to power the tread of the tire.
patent 5491390 02/13/1996 Electric propulsion system for a bicycleSlipstream Electric Bicycle -
patent 5671821 09/30/1997 Electric propulsion system for a bicycleElectric Motorbike Incorporated (EMB) - Lectra VR24 - 8HP peak, 3 HP continuous - dist. by ZAP with Evercel Ni-Zn battery
Uses 1 HP motor, chain drive to rear wheel and single large sprocket.Electric Vehicles Northwest - electric-human hybrid vehicles dealer
US Pro DriveTwike - 3 wheel (1 front, 2 rear - not as stable as 2-front, 1 rear) - TWIKE Resource Page -
Twike US dealer
Zap
Currie Technologies Inc. makes the US Pro Drive -
Uses chain drive to rear wheel on side opposite to stock pedal derailer drive.
I erased background from photo at
National Muesum of the US AF -
Volocars\Scooters: 1938 Cushman Auto Glide -
Silodrom: Cushman Series 60 Turtle Back - nice photos
Jim's Cushman Scooter ID Page -
central motor drives rear wheel via huge pully with belt.eBikes - by Lee Iaccoca
Motor is inside a special rear hub. $995 to $1295Electric Transportation Company (etc) -
Has a saddlebag looking product that fits over a tire to add a motor and battery to a bike.EV Rider - Two and Three-Wheeled Electric Scooters - BatteryBikes on line sotre
Righton KM Corporation - Keelung, Taiwan
BiKit -
Uses 2 motors driving the side walls of the tire, not the tread.Charger Electric Bicycles - partnership between GT bicycles & AeroVironment -
electric power is provided proportional to the riders input and can be set from 1/2 to 4 times assist.Suppo -
Uses a second chain driving the rear wheel.
Drive motor in rear hub, foldable modelsDimension EDGE - also complete bikes at Detour Bicycles -
Skeeter! EV - Mike's E-Bikes, 2270 Yale St., Palo Alto, CA 94306
USA http://members.aol.com/TailwindEV/
- A Tailwind(tm) Electric Scooterbike is a hybrid
human-powered/electric-powered around-town scooter with
aerodynamic streamlining. Today's version achieves five times the
range of other "electric bicycles" and achieves comparable daily
"City Miles" to other 4-wheeled electric vehicles (while costing
ten times less than those overpriced vehicles). Future versions
will achieve over 100 miles at 25 mph per charge *without*
reliance on expensive and high-tech batteries/motors.
Mike's Electric Bikes of Palo Alto
Mike Saari
2270 Yale Street
Palo Alto, CA 94306
415-493-7633

Yamaha PAS (Power Assisted Peadling) - ikley -
Uses speed and torque sensors to only apply power when the rider is peadling.
Sanyo -
Panasonic -
Suzuki -
Autoped scooters (1915 - 1921)
A key idea for all of these is that the scooter needs to be small and light enough that it can be carried by the rider when needed.
D45868 Design for an automobile, Arthur Hugo Cecil Gibson, Jun 2, 1914,
1192514 Self-propelled vehicle, Arthur Hugo Cecil Gibson, Autoped Co. of America, July 25, 1916, 180/223, 180/13 - less than 50 pounds, foldable handle small, compact & light weight scooter.
1297676 Motor-vehicle, Arthur Hugo Cecil Gibson, Gibson Mon-Auto Co., Mar 18, 1919, 180/225, 477/209, D12/110, 192/217, 180/229 -
1293642 Automobile, Arthur Hugo Cecil Gibson, ibson Mon Auto Company, Feb 4, 1919, 180/10, 180/225, 280/287 - small, compact and light enough that it can be carried by the rider if needed.
EV World - electric
bicycle shop - Bicycle
Comparison Chart -
Electric
Vehicle Internet Resources -
Moped News - Moped
Web
Ring -
Electric Vehicles
Northwest -
EV Global Motors -
www.electric-bikes.com
- Electric
Trikes and Tricycles (adult three-wheelers) - Survey of
Electric Bikes and Power Systems -
Workbikes
and Pedicabs -
workbike.org -
bicycles used for work
Neighborhood Electric Vehicle
Company - gizmo - looks like the Messerschmitt
3-wheel
bubble
car, except backwards!
Human Powered Vehicle Association
-
Tricycles -
stable 2-whels in front, 1-wheel in back
Inspired Cycle Engineering
(ICE)-
stable
2-whels in front, 1-wheel in back , including a tandem model
r h o a d e
s c a r - 4 wheel cycles
Quadracycle -
Byke Kar -
Tipke - Pedicabs = Rickshaws
Kango - electric
go carts -
A2Marketing -
Supplying Electric Bikes to the South Coast of England
Back to Brooke's home page
[an error occurred while processing this directive] page created 12 Feb.
2000.