Hearing

© Brooke Clarke 2021 - 2024

Zenith A2A Hearing Aid Acousticon
                  A-200 "Barrette" hearing aid Acousticon
                  Model SRD Carbon hearing aid

Background
    History
    Hearing Aids
    Audio Test Equipment
Description
    Zenith A2A Hearing Aid
        Photos
Acousticon
    Electro-Mechanical Amplifiers
    Acousticon A-200 "Barrette"
    Acousticon Model SRD Carbon
T-Coils
Patents
Trans-Oceanic Portable Radio
Related
References
Links

Background

Hearing aids (Wiki: History) were one of the products that used subminiature tubes prior to W.W.II.  These tubes where made more rugged for use in the Proximity Fuze.  It makes sense to have a page for hearing related items so that some of them can be removed from the China Lake Patents page.

History

Mechanical Horns prior to 1899 (HAM)

There's a local guy who has made what amounts to a larger version of his own ear, sort of a fan shape, not a tubular horn.

Carbon Electric 1899 - 1920 (HAM)

Before vacuum tubes the gain of carbon microphones was optimized to have fairly high gain.

Vacuum Tube Electronic (HAM)

1926 - Vacuum Tubes (1935 Lunch box size with early tubes, 1941 shirt pocket size with Subminiature tubes)
The sub-miniature tubes were made in high volume for use in Proximity Fuzes during W.W.II.

Transistor Electronic 1953 shirt pocket and 1958 behind ear (HAM)

Digital 1966 in ear

Hearing Aids

Acousticon Model A-335 Transistor
Acousticon Tube models: A-45, A-55, A-90, A-100, A-120, A-130, A-140, A-145, A-150, A-160, A-165, A-69.50, A-180, A-200,
Hearing Aid Museum - Tube hearing aid makers: Acousticon, Amplivox, Ardente, Beltone, Bonochord, Fortiphone, Hale, Maico, Medresco, Micronic, Microtone, Multitone, National, Otarion, Paravox, Radioear, Rochester, Silbertone, Sonotone, Telex, Vacolite, Western Electric, Zenith...
Zenith A2A - first wearable Zenith hearing aid, prior model was for use on table top.  Uses external battery box. 2 tubes. Z-30 45 V "B" Battery & Z-1 1.5V "A" Battery.

Hearing Aids (Wiki) have a history (Wiki) that goes back to the 17th century ear trumpet.  I know a local man who has 3D printed a modern ear trumpet that clips to his ears making his ears bigger and it helps him hear.

Audio Test Equipment

Audiometers (Wiki) are used to test a person's hearing.  An example is the Beltone 12D it or something very similar was often seen in public schools as part of a hearing screening program.

The Air Force was concerned with how ears work at high altitudes where the air pressure is much lower than on the Earth's surface and so the Teledyne Avionics TA-3D Acoustic Impedance Meter.

Description

Zenith A2A Hearing Aid

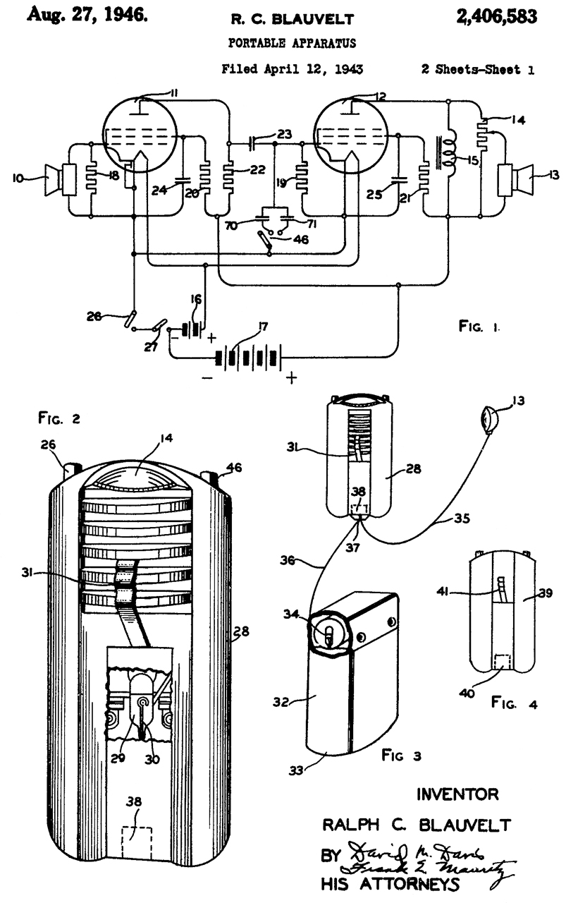
This model A2A was sold on 10-13-45 serial number 76958.  It was factory reconditioned on 7-14-47 and tested by O. Tanchek.
Made under patent 2406583 with an application date in 1943.  Uses two tubes.

Tubes

Pre W.W.II subminiature tubes used in hearing aids were the CK526 (5 leads, T2x3 envelope, ), CK512 (5 leads, T2x3 envelope) & CK537 (Dead Tech Rescue, Hearing Aids before 1960)

The 5829Wa: T2x3 envelope, 7 leads (1 to 7): P, C, H, sd, H, P, C

7-Pin Miniature

Marked: "Tung-Sol 28"

Looks like EF506S, 6267 (9-pin so not a match), 7-pins, not dual triode, inside the glass is a silver colored sleeve, not the dual black rectangle plates of a dual triode.

From the appearance of the metal sleeve inside the glass I'm guessing this is one of the 1.4 Volt filament tubes (Wiki).
T5-1/2 envelope. JEDEC 5AP base.

Model
(Datasheet)
Dia
in.
1
2
3
4
5
6
7
Comment
1A3
<0.750
F P
C
nc
nc
P
F
FM discriminator
1L6
<0.750 F-
P
G2
G1
G3
G4
F+
Converter/Mixer, Oscillator
1R5
<0.750 F-
P
G2
G1
F-
G3
F+
combined Oscillator - Mixer
1S4
<0.750 F-
P
G1
G2
F-
P
F+
Audio Amp, low voltages (>100mW @ 45V)
1T4
<0.750 F-
G3
P
G2
nc
F-
G3
G1
F+
RF amp with AVC
1U4
<0.750 F-
G3
P
G2
nc
F-
G3
G1
F+
Sharp cut-off pentode, 90 V typ.
1U6
<0.750 F-
P
G2
G1
G3
G4
F+
Converter

The most likely tube is the 1S4.

6-Pin Subminiature

The subminiature tube has six leads and the T2x3 envelope, not the T3 round envelope.
Marked: "Raytheon 511X" 6-pins labeled: F, G3, G1, F, G2, P
Raytheon Industrial Tubes Characteristics (pdf)  example data for 45V on plate, base diagram 6C: F-, G3, G1, F+, G2, P
4 lead: 6286, 5676, 7246, 7979,
5 lead: 5703WB, CK6088, 5744,
6 lead:
7 lead: 5702,
8 lead: 6021 (T3)
Model
(Datasheet)
Env
1
2
3
4
5
6
Comment
5703
T3
P
nc
H
H
G
C




















Circuit

The On/Off switch, upper right of Fig 6, switches the common ground wire and so disconnects both A and B batteries with a SPST action.  It's not making good contact.  Maybe needs a shot of contact cleaner?
The patent 2406583 mentions a mercury switch in either the main body or in the battery box.  The idea is that when either of them is laid on a table it will turn off the power.  The mechanical design prevents standing up either the main unit or the battery box so they will allow the mercury switch to work.
Photos
Fig 1
Zenith A2A
                      Hearing Aid
Fig 2
Zenith A2A
                      Hearing Aid
Fig 3 Red dot on battery cable plug.
Zenith A2A
                      Hearing Aid
Fig 4
Zenith A2A
                      Hearing Aid
Fig 5
Zenith A2A
                      Hearing Aid
Fig 6 Mike marked "2 44" & "C=S-10761"
Zenith A2A
                      Hearing Aid

Acousticon

The word Acousticon is is both a company name and a noun for Hard of Hearing (HoH) aid.

Electro-Mechanical Amplifiers

See Douglas Self - The Gallery ofElectro-Mechanical Amplifiers.

 based on carbon amplification (Hearing Aid Museum) that was used prior to the introduction of vacuum tubes.  Also see Wiki: Carbon microphone.

Note carbon amplification is also used in the BZ-7 Buzzer that generates a 1 kHz tone in the TG-5 telegraph set and the ML-138 Time Interval Unit.

Acousticon Model SRD Carbon

Hearing Aid Museum Acousticon Model SRD Carbon Hearing Aid - Uses Dual carbon microphones with 6-step volume switch and 3V No. 5 battery to drive earphone with On-Off switch.

Hearing Aid Museum Acousticon Model SRD Carbon Hearing Aid - Uses Dual carbon microphones with 6-step volume switch and 3V No. 5 battery to drive earphone with On-Off switch.

Description

Photos

Fig 1
Acousticon Model SRD Carbon hearing aid
Fig 2
Acousticon Model SRD Carbon hearing aid
Fig 3
Acousticon Model SRD Carbon hearing aid
Fig 4
Acousticon Model SRD Carbon hearing aid
Fig 5 Connectors
Battery smooth, one larger, one smaller
Mike & Speaker: threaded
Acousticon Model SRD Carbon hearing aid




Acousticon A-200 "Barrette"

Description

Hearing aid for women at acts like a barrette.  Comes in White, Black and faux tortoiseshell so the lady could choose a color to match her hair.

Photos

Fig 1
Acousticon A-200 "Barrette" hearing
                      aid
Fig 2 Front "A", "B" battery & speaker
Rear: Microphone, amplifier, Off-Volume control
Center: 4-wire cable
Acousticon A-200 "Barrette" hearing
                      aid
Fig 3
Acousticon A-200 "Barrette" hearing
                      aid
Fig 4
Acousticon A-200 "Barrette" hearing
                      aid





See Hearing Aid Museum: Acousticon Carbon Hearing Aids; Model SRD; (1910 - 1928) Acousticon A-200 Vacuum Tube (Barrette) Hearing Aid - Instruction booklet.pdf -

Acousticon Patents

The Bold dates below are on an antique General Acoustic Co. Acousticon" Model SRD carbon type desk top hearing aid.

Akouphone Mfg Co.

691144 Apparatus for charging batteries, Miller Reese Hutchison, Akouphone Mfg Co, 1902-01-14, - wind vane clockwork timer activated when earphone is on hook
 
710979 Telephone-transmitter, Miller Reese Hutchison, Akouphone Mfg Co, 1902-10-14, -  hinged dual microphone for HOH

GB190209956A (eSpaceNet)  Improvements relating to Telephone Receivers, and the like, 1903-01-08, - earphone with adjustable volume


Hutchison Acoustic Co.
711974
                      Sound-concentrator, Charles Livingston Hyde,
                      Hutchison Acoustic Co, 1902-10-28, -
711974 Sound-concentrator, Charles Livingston Hyde, Hutchison Acoustic Co, 1902-10-28, -

Frame or case (b) is very thick reducing the sensitivity, see 874004 below for more sensitive version.

This is the same idea as a horn loudspeaker (Wiki), just reversed for use with a microphone.  This was done on the Edison cylinder recorder.

Just noticed the Klipsch 3-way horn speaker on the wiki page.  Unlike the Voice of the Theater speaker, which has the diaphragms of both speakers in the same plane, the Klipsch will have destructive interference near the crossover frequency. 



712134 Electric time-switch, Miller Reese Hutchison, Hutchison Acoustic Co, 1902-10-28, - wind vane clockwork timer activated when earphone is on hook

717407 Ear-massage apparatus, Miller Reese Hutchison, Hutchison Acoustic Co,1902-12-30, - electric buzzer drives diaphragm
 
718204 Telephone, Miller Reese Hutchison, Hutchison Acoustic Co, 1903-01-13, - granular carbon particles spread on horizontal plates to avoid packing.
737242
                      Telephonic apparatus, Miller Reese Hutchison,
                      Hutchison Acoustic Co (Acousticon), 1903-08-25, -
                      "...an apparatus by which any number of deaf
                      (HoH) persons within an assembly or gathering may
                      hear all that is going on and take part in the
                      conversation. The apparatus comprises,
                      essentially, a transmitting device, known as an
                      'acousticon,' which is placed at a central
                      position in the room and connected to circuits
                      including telephone-receivers for the various deaf
                      (HoH) persons." 737242 Telephonic apparatus, Miller Reese Hutchison, Hutchison Acoustic Co (Acousticon), 1903-08-25, - "...an apparatus by which any number of deaf (HoH) persons within an assembly or gathering may hear all that is going on and take part in the conversation. The apparatus comprises, essentially, a transmitting device, known as an 'acousticon,' which is placed at a central position in the room and connected to circuits including telephone-receivers for the various deaf (HoH) persons." 

746514 Electric battery, Miller Reese Hutchison, Hutchison Acoustic Co, 1903-12-08, - 3-cells, either primary or secondary, with provision for gas venting

758363 Telephone-receiver, Miller Reese Hutchison, Hutchison Acoustic Co, 1904-04-26, - earphone with click stops on screw cap to control sound volume (diaphragm tension?).

789915 Method of determining degree of deafness, Miller Reese Hutchison, Hutchison Acoustic Co, 1905-05-16, - makes use of telephone transmitters and receivers.

Assigned to: Kelley M Turner or Inventor: Kelley Monroe Turner

817457 Head band or support for telephone-receivers, Kelley M Turner, 1906-04-10, - single earphone, adjustable, "C" clip holds earphone (not two tits).

843186 Telephone dictating machine or apparatus, William F H Germer, Assigned to: Kelley Monroe Turner, 1907-02-05, - Wiki: Covert listening\Dictograph
843890
                      Connection for acousticons, Howell W Haff, Kelley
                      M Turner, (Acousticon Dictograph) 1907-02-12,
                      -They made Two and Four microphone versions 
843890 Connection for acousticons, Howell W Haff, Kelley M Turner, (Acousticon Dictograph) 1907-02-12, -They made Two and Four microphone versions
Two mikes in series & Two mikes in parallel.
843891
                      Telephone-receiver, Howell W Haff, Kelley M
                      Turner, (Acousticon Dictograph) 1907-02-12,
                      -ON-Off switch
843891 Telephone-receiver, Howell W Haff, Kelley M Turner, (Acousticon Dictograph) 1907-02-12, -ON-Off switch

In some applications each headphone coil is driven by a separate carbon ball microphone.
844635
                      Carbon-ball transmitter, Kelley M Turner, Norton W
                      Johnston, General Acoustic Co, 1907-02-19, -
                      hemispheres hold carbon granules
844635 Carbon-ball transmitter, Kelley M Turner, Norton W Johnston, General Acoustic Co, 1907-02-19, - hemispheres hold carbon balls (not granules).
See photos at: Hearing Aid Museum: Carbon Hearing Aids -  General Information

848073 Modulating telephone-receiver, Kelley M Turner, 1907-03-26, - for HOH, adjustable sound level by means of a dampening pad

941114 Telephonic system for auditoriums, Kelley Monroe Turner, 1909-11-23, - PA system for HoH, multiple mikes, many speakers
1039443
                      Telephonic transmitting appliance, John K Rhodes,
                      assigned to: Kelley Monroe Turner,1912-09-24, -
                      dual carbon mikes (711974 or 874004), volume
                      switch.
1039443 Telephonic transmitting appliance, John K Rhodes, assigned to: Kelley Monroe Turner,1912-09-24, - dual carbon mikes (711974 or 874004), volume switch.

Used on Acousticon" Model SRD & other models

D43198S Telephonic Transmitting Station, Edgar Lowe, Howell W Haff, Wallace Pfau Andrick; assigned to: Kelley Monroe Turner, 1912-01-29 - Box with speaker an toggle switches, looks like business intercom (Dictograph)


1060576 Key construction and support for telephonic apparatus, Wallace Pfau Andrick, Edgar Lowe, Howell W Haff; assigned to: Kelley Monroe Turner, 1913-05-06, - toggle switches for Telephonic Transmitting Station (Dictograph)

1073788 Telephone outfit for the deaf, Kelley Monroe Turner, 1913-09-23, - carbon amp  built into purse. 
See: Walkie - Recordall - has mike built into end of brief case (see Slit in Fig 1)



General Acoustic made a number of products for the Hard of Hearing (HoH) as well as parts for telephones and switchboards.


855911 Telephone-receiver, Kelley Monroe Turner, General Acoustic Co, 1907-06-04, - auto transformer with many taps - for Hard of Hearing (HoH).
874004
                      Telephone-transmitter, Howell W Haff, General
                      Acoustic Co, 1907-12-17, - Improvement on 711974
                      - 
874004 Telephone-transmitter, Howell W Haff, General Acoustic Co, 1907-12-17, - Improvement on 711974 -
Front plate (9) is very thin so acts on the back of the carbon element (7) making this unit more sensitive than 711974.

933404 Telephone apparatus, Kelley M Turner, Howell W Haff, General Acoustic Co, 1909-09-07, - shirt pocket case with round mike on top. Carbon type, no tubes. "tits" hold mike, Case for battery. clip on back of Mike, battery case has cap with "C" for "tits" and notches so wires come out the side.

1081712 Key construction and release for telephonic apparatus, Wallace Pfau Andrick, Edgar Lowe, Howell W Haff; General Acoustic Co, 1913-12-16, - toggle switches for Telephonic Transmitting Station (Dictograph)

1094156 Battery-regulator, Edgar Lowe, General Acoustic Co, 1914-04-21, - plug inserted into a string of resistors (seems like it would drain battery?)

1147282 Stethoscope, Kelley M Turner, General Acoustic Co, 1915-07-20, - with Carbon type amplification & Rheostat microphone

1150009 Telephone set, Wallace P Andrick, General Acoustic Co, 1915-08-17, - Two Acousticon mikes with different wiring arrangements to a Two coil earphone.

1280556 Telephonic apparatus, Louis Scher, General Acoustic Co, 1918-10-01, - add-on Carbon amplifier for long pole telephone receiver for HoH.

1281593 Telephone set, Charles H Lehman, General Acoustic Co, 1918-10-15, - sealed box telephone for mines, ships.

General Acoustic Co. became Dictograph Products around 1918  to 1920.
Dictograph Products manufactured the A-200 some of their patents apply to the A-200 and other hearing aid related products.

The Dictograph (Wiki) "Among the earliest covert listening devices used in the United States of America was the dictograph, an invention of Kelley M. Turner patented in 1906 (US Patent US843186A).  It consisted of a microphone in one location and a remote listening post with a speaker that could also be recorded using a phonograph. While also marketed as a device that allowed broadcasting of sounds, or dictating text from one room to a typist in another, it was used in several criminal investigations.

The word Acousticon is used in a number of patents (for example 737242 & 846068) as a noun meaning what might be called a group hearing aid.  The idea is to use multiple carbon microphones to get more gain.

Dictograph Products


1356634 Rheostat for telephonic instruments, Koch Henry, Dictograph Products Co, 1920-10-26, - instruments adapted for the use of persons with impaired hearing
See Ref 3 - The 1907 patent is 844635 and the rheostat is this patent.

1361590 Telephone-transmitter, Koch Henry, Dictograph Products Co,1920-12-07, - passenger to chauffeur (See Cars\Intercom)
 
1501670 Winding machine, Koch Henry, Dictograph Products Co, 1924-07-15, - for electromagnets/speakers/microphones

1551723 Transmitter, Friedrich H N Wohlers, Dictograph Products Co,1925-09-01, - to better control carbon balls (not granules)
Calls: 844635 Carbon-ball transmitter, Kelley M Turner, Norton W Johnston, General Acoustic Co, 1907-02-19, -

1893143 Acoustic device, Koch Henry, Dictograph Products, 1933-01-03, - in ear speaker; cited by 42 patents.

1941987 Acoustic device, Koch Henry, Dictograph Products, 1934-01-02, - microphone with internal vibration dampening
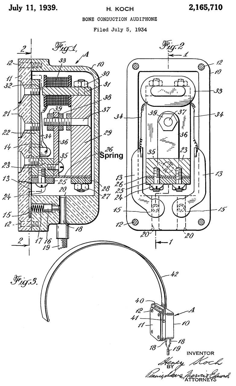
2165710 Bone
                      conduction audiphone, Koch Henry, Dictograph
                      Products, 1939-07-11
2212848 Microphone amplifier, Sterling G Sears, Dictograph Products, 1940-08-27, - Bone conduction or air Carbon Mike + battery & speaker. (before subminiature tubes)

2497336 Casing for unitary hearing aids, Don H Young, Dictograph Products Co, 1950-02-14, - cigarette pack style

2764640 Hearing aid apparatus, Osserman Stanley, Emmanuel C Nicholides, Dictograph Products, 1956-09-25, - Wrist mounted A-165, uses patented mike.
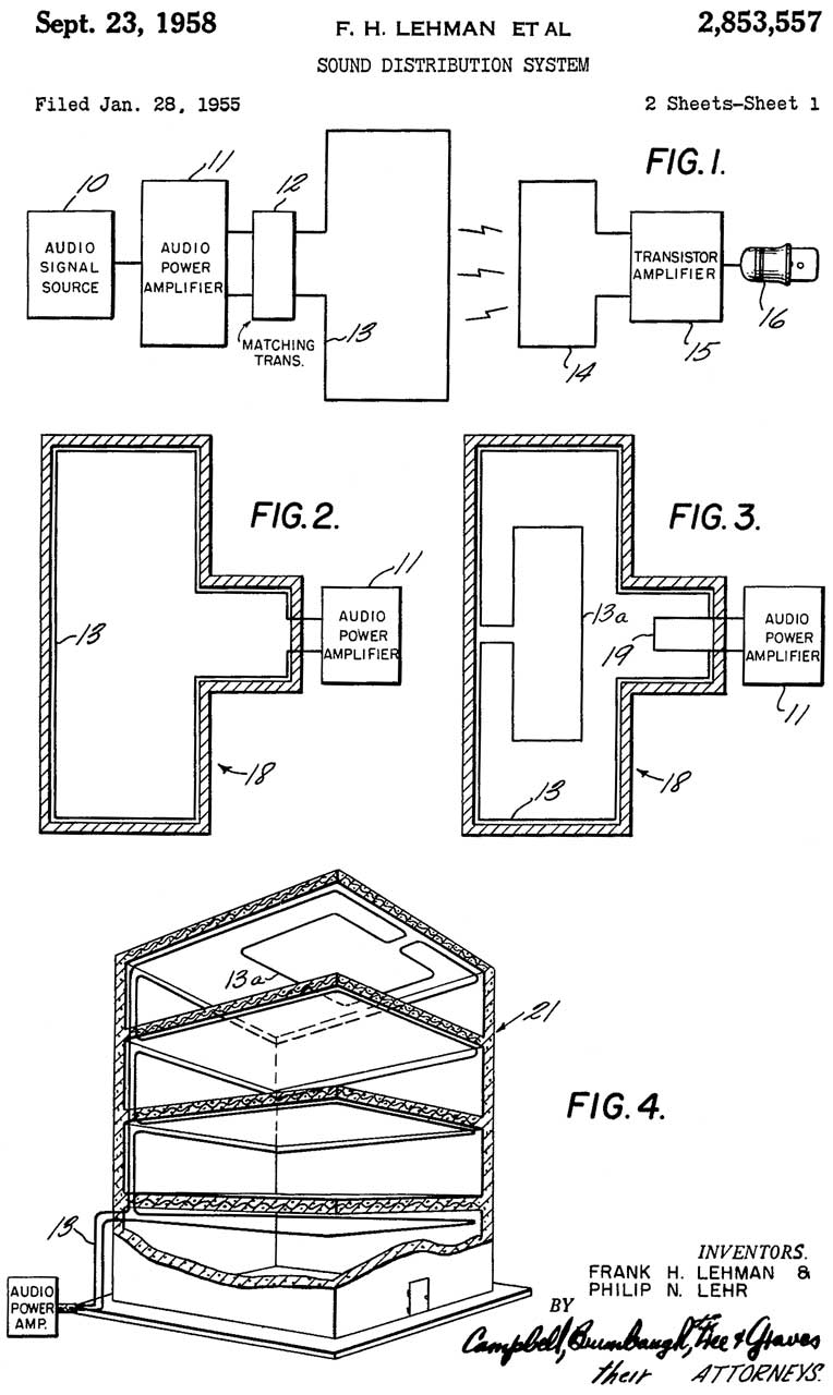
2853557 Sound
                      distribution system, Frank H Lehman, Philip N
                      Lehr, Dictograph Products, 1958-09-23, - a loop of
                      wire surrounds a room and carries an audio signal
                      that's picked up by a small loop which drives a
                      crystal in ear speaker. T-Coil
2853557 Sound distribution system, Frank H Lehman, Philip N Lehr, Dictograph Products, 1958-09-23, - a loop of wire surrounds a room and carries an audio signal that's picked up by a small loop which drives a crystal in ear speaker. T-Coil

Cites: 6 patents
Cited by: 11 patents

2886623 Battery assembly for hearing aids, Philip N Lehr, Dictograph Products, 1959-05-12, - stacking button cells, user gets to determine number of cells to control gain.

T-Coils

Wiki: Hearing aid\Telecoil: Audio induction loop)

Patents, General Hearing Aid


227178
                      Ear-trumpet, Stephen North, 1880-05-04
227178 Ear-trumpet, Stephen North, 1880-05-04 -
466725 Magneto
                      Telephone for Personal Wear, Alonzo E. Miltimore
466725 Magneto
                      Telephone for Personal Wear, Alonzo E. Miltimore 466725 Magneto Telephone for Personal Wear, Alonzo E. Miltimore, 0ne-half to: George G. Schroeder & Frank Palmer,  1892-01-05, 381/330 D24/174 181/137 381/381 381/385 - watch case carbon mike (1) , battery (6) & ear speaker (12).

622328 Magneto
                      ear-phone, Frank H. Collins, 1899-04-04
622328 Magneto ear-phone, Frank H. Collins, 1899-04-04, 381/328 601/47 381/324 381/385 381/313 - adds transformer
Carbon mike (N), Battery (K), transformer (L), speaker with ear tube (A & Fig 3).
622368
                      Electrical Audiphone, Reese Hutchison, 1899-04-04
622368
                      Electrical Audiphone, Reese Hutchison, 1899-04-04 622368 Electrical Audiphone, Reese Hutchison, (Akouphone), 1899-04-04, 381/321 340/388.1 340/388.4 340/392.3 381/322 - "Audiphone", adds volume control.
Carbon mike (3), Battery (6), Multi-tap transformer (9), speaker (2), volume control (5).

The photo of Eugene McDonald, founder of Zenith, on his Wiki page shows a similar microphone with a wooden handle.

631505
                      Audiphone, Reese Hutchison, 1899-08-22
631505 Audiphone, Reese Hutchison, 1899-08-22, 381/77 381/104 381/321 - individual version and one with one mike and multiple speakers (school room). coined the term "earpiece" for the telephone "receiver".


791655 Telephone-current reinforcer or relay, Herbert E Shreeve, AT&T, 1905-06-06, -
See: E-89A\Patents - Passive Repeaters

846068
                      Acousticon, Kelley M Turner, Norton W Johnston,
                      General Acoustic Co, 1907-03-05, - defines
                      "Acosuticon" 846068 Acousticon, Kelley M Turner, Norton W Johnston, General Acoustic Co, 1907-03-05, - defines "Acosuticon"


848073 Modulating telephone-receiver, Kelley M Turner, (Acousticon Dictograph) 1907-03-26, - adjustable volume for use with an acousticon


1207384 Electric amplifier, Henry C Egerton, Western Electric, 1916-12-05, - earphone-> microphone


1219411 Hearing aid, Charles E Williams, Williams Articulator Co, 1917-03-13, - Carbon mike, battery & earphone.


1232514 Electric amplifier system, Henry C Egerton, Western Electric, 117-07-10, - earphone-> microphone; multiple amps on same power supply

1302036
                      Ear-trumpet, Henry Hamann, 1919-04-29, -
                      re-entrant horn
1302036 Ear-trumpet, Henry Hamann, 1919-04-29, - re-entrant horn


1343717 Telephone apparatus for the deaf, Earl C Hanson, 1920-06-15, - Carbon mike & transformers & earphone + 2 vacuum tubes. Maybe Acousticon Dictograph device?


1486132 Telephone-transmitter button, Henry C Egerton, Western Electric, 1924-03-11, - the complete capsule "button" is attached to the diaphragm so that it gets more shaking to keep the carbon granules free.


1486868 Intercommunicating telephone system, Henry C Egerton, Western Electric, 1924-03-18, - earphone-> microphone


1501670 Winding machine, Koch Henry, Dictograph Products Co, 1924-07-15, - for electromagnets/speakers/microphones


1558758 Induction coil, De Elbert A Reynolds, Audiphone Co of America, App: 1917-11-22, W.W.I, Pub: 1925-10-27, - multiple receivers or transmitters - like inside a telephone


1611130 Artificial aid for improving hearing, Vern O Knudsen, Isaac H Jones, 1926-12-14, - 2 tubes & shaped frequency response
1630028 Ear
                      phone, De Elbert A Reynolds, 1927-05-24, - on
                      Acousticon A-69.50 1630028 Ear
                      phone, De Elbert A Reynolds, 1927-05-24, - on
                      Acousticon A-69.50 1630028 Ear phone, De Elbert A Reynolds, 1927-05-24, - on Acousticon A-69.50 -


1688976 Audiphone, George R Lum, Western Electric, 1928-10-23, - 2 tubes, lunch box size, aka: "deaf set"


1802780 Piezoelectric device, C.B. Sawyer, 1931-04-28, -


1802781 Piezoelectric device, C.B. Sawyer, 1931-04-28, -


1802782 Piezoelectric device, C.B. Sawyer, 1931-04-28, -


1803275 (RE20680) Piezoelectric device, C.B. Sawyer, Brush Development Co, 1938--3-29,


1802782 (RE20213) Piezoelectric device, C.B. Sawyer, 1936-12-22,


1811638 Earphone transmitter, Lieber Hugo, Sonotone, 1931-06-23, - Model 33 +++


1893143 Acoustic device, Koch Henry, Dictograph Products, 1933-01-03, - in ear speaker cited by 42 patents.


1897833 Audiphone, William G G Benway, 1933-02-14, - single tube, eye glass frame


1941987 Acoustic device, Koch Henry, Dictograph Products, 1934-01-02, - microphone with internal vibration dampening


1973410 Hearing-aid device, Greibach Emil Henry, Sonotone Corp, 1934-09-11, - Carbon Mike, battery & miniature speaker


2045404 Piezoelectric vibrator device, Nicholides Emmanuel Christ, Sonotone, 1936-06-23, -


2064426 Hearing-aid device, Greibach Emil Henry, Sonotone Corp, 1936-12-15, - miniature speaker


2017358 Hearing aid apparatus and amplifier, Taylor Samuel Gordon, 1935-10-15, - lunch box size, one tube


2045404 Piezoelectric vibrator device, Nicholides Emmanuel Christ, Sonotone, 1936-06-23, - bone conduction


2045427 Bone-conduction hearing-aid, White Sidney Young, Sonotone, 1936-06-23, -


2105011 Piezo-electric apparatus, Alfred L W Williams, Brush Development Co, 1938-01-11, -


2106143 Piezo-electric apparatus, Alfred L W Williams, Brush Development Co, 1939-01-18, -


2112569 Method and apparatus for selecting and prescribing audiphones, Samuel F Lybarger, E A Myers & Sons, 1938-03-29, -


2122145 Radio communication system, Frank G Kear, Gomer L Davies, William H Orton, Washington Institute of Technology, 1938-06-28, - T-coil - Cited by 13 patents,


2161169 Dentiphone, Jr Albert W Jefferis, assigned to: ERWIN H WILSON, 1939-06-06, - a lot ot stuff in the mouth


2165710 Bone conduction audiphone, Koch Henry, Dictograph Products, 1939-07-11, -


D118923 COMBINED CASE AND CONNECTOR FOR A HEARING AID RECEIVER , Alfred L W Williams, Brush Development Co, 1940-02-06, -


2192669 Hearing aid device, Arthur M Wengel, Ray-O-Vac Corp, 1940-03-05, - table radio size, 5 full size tubes


2212848 Microphone amplifier, Sterling G Sears, Dictograph Products, 1940-08-27, - Carbon Mike + battery & inductor. (before subminiature tubes)


2217394 Method and apparatus for testing hearing, Arthur M Wengel, Ray O Vac, 1940-10-08, - 
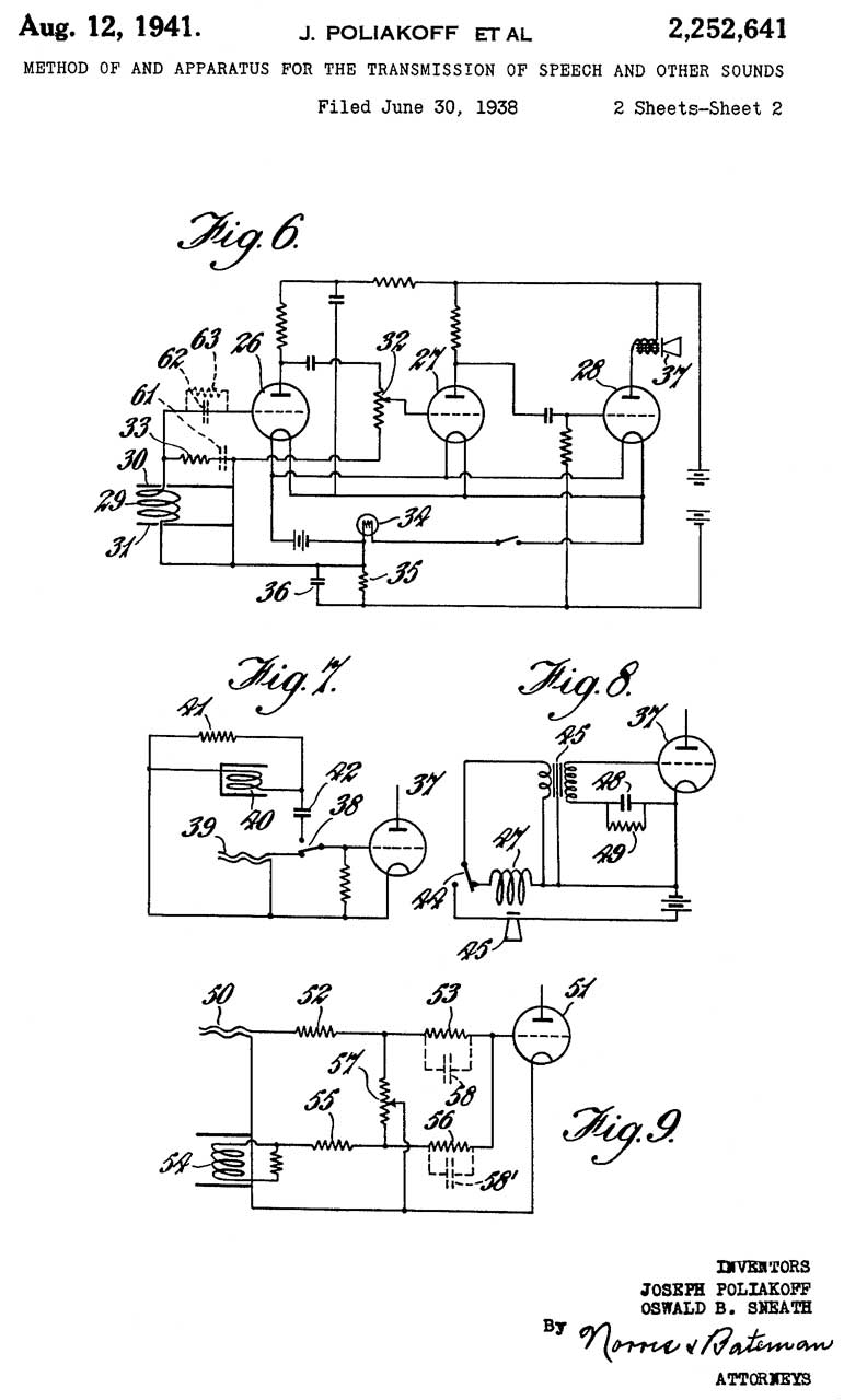
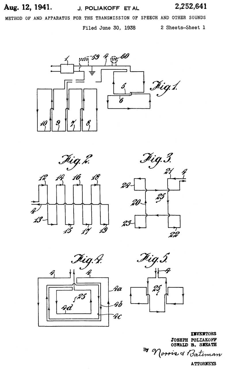
2252641 Method
                      of and apparatus for the transmission of speech
                      and other sounds, Poliakoff Joseph, Sneath Oswald
                      Barber, 1941-08-12, - T_Coil
2252641 Method
                      of and apparatus for the transmission of speech
                      and other sounds, Poliakoff Joseph, Sneath Oswald
                      Barber, 1941-08-12, - T_Coil 2252641 Method of and apparatus for the transmission of speech and other sounds, Poliakoff Joseph, Sneath Oswald Barber, 1941-08-12, - T-Coil (Hearing Aid Museum) or inductive pickup for use in theaters, auditoriums &Etc.


2266669 Hearing aid device, Arthur M Wengel, Ray O Vac, 1941-12-16, - 5 tubes, 6 headsets


2287401 All-frequency generator, Arthur M Wengel, Ray O Vac, 1942-06-23, - fixed oscillator mixed with a sweept VFO - for testing Ray-O-Vac hearing aids


2308550 Amplifying hearing aid, Harry B Shapiro, Sonotone, 1943-01-19, - vibrator power supply box + 2-subminiature tube Amplifier box


2327321 Hearing aid amplifier, Harry B Shapiro, Sonotone, App: 1941-11-12, Pub: 1943-08-17, - vibrator power supply box + 2-subminiature 5-pin tube Amplifier box

2345761 Hearing
                      aid circuit, Samuel F Lybarger, E A Myers &
                      Sons, App:1943-03-15
2345761 Hearing aid circuit, Samuel F Lybarger, E A Myers & Sons, App:1943-03-15, [W.W.II], Pub: 1944-04-04, -
3-subminiature tubes each with 5 leads.
choke (27) allows high impedance for piezo/crystal earpiece (28).


2351026 Thermionic tube, Edwin C Ewing, Zenith Electronics, 1944-06-13, -


2355083 Electrode assembly for discharge tubes, Norman B Krim, Raytheon, App: 1941-01-03, W.W.II, Pub: 1944-08-08, -

2371819 Sound
                      reproducing unit and method for making the same,
                      Gilbert E Gustafson, Zenith Electronics,
                      1945-03-20
2371819 Sound reproducing unit and method for making the same, Gilbert E Gustafson, Zenith Electronics, 1945-03-20, - maybe earpiece for A2A?


2384716 Frequency responsive indicating apparatus, Arthur M Wengel, Ray O Vac, App: 1941-03-14, W.W. II, Pub: 1945-09-11, -
for testing hearing aids



2390243 Hearing aid device, Frank J Faltico, Maico Co, 1945-12-04, -combined bone conduction and air conduction speaker

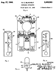
2406583
                      Portable apparatus, Ralph C Blauvelt, Zenith
                      Electronics, App: 1943-04-12, W.W.II, Pub:
                      1946-08-27, - A2A hearing aid
2406583
                      Portable apparatus, Ralph C Blauvelt, Zenith
                      Electronics, App: 1943-04-12, W.W.II, Pub:
                      1946-08-27, - A2A hearing aid 2406583 Portable apparatus, Ralph C Blauvelt, Zenith Electronics, App: 1943-04-12, W.W.II, Pub:  1946-08-27, - Zenith A2A


2419833 Antenna arrangement for induction communication systems, Harlan E Grimes, 1947-04-29, - Cited by 13 patents - many for inductive or T-Coil


2424422 Hearing aid apparatus, Raleigh E Tresise, Paul D Kendall, Paraphone Hearing Aid, App: 1943-06-12, [W.W.II] Pub: 1947-07-22, -  2 subminiature tubes


2431198 Base structure for miniature electron tubes, Posen Sam, Beltone, App: 1944-03-17, W.W.II, Pub: 1947-11-18, -
2444302 Hearing
                      aid, Samuel F Lybarger, E A Myers & Sons, App:
                      1943-03-16
2444302
                              Hearing aid, Samuel F Lybarger, E A Myers
                              & Sons, App: 1943-03-16
2444302
                              Hearing aid, Samuel F Lybarger, E A Myers
                              & Sons, App: 1943-03-16

2444302 Hearing aid, Samuel F Lybarger, E A Myers & Sons, App: 1943-03-16 [W.W.II], Pub: 1948-06-29, -

3-subminiature tubes

This has a strong family resemblance to the Zenith 2A2, but is a newer design. Maybe there's an older patent by the same inventor or assignee?  No, but did find the Zenith patent for the A2A see 2406583

2447576
                      Portable radio receiver, Gilbert E Gustafson,
                      Zenith Electronics, App: 1944-03-11, W.W.II, Pub:
                      1948-08-24, - Trans-Oceanic?
2447576 Portable radio receiver, Gilbert E Gustafson, Zenith Electronics, App: 1944-03-11, W.W.II, Pub: 1948-08-24, -

My grandmother had a radio that had this feel in her gazebo (Wiki).

looks like Trans-Oceanic (Wiki)



2476940 Subminiature type vacuum tube structure, Wood Ross, Raytheon, 1949-07-19, -


2482288 Wearable electronic hearing aid having the amplifier and the batteries contained in a common casing, Posen Sam, Beltone Hearing Aid Co, App: 1944-03-17 [W.W.II], Pub: 1949-09-20, -  3-subminiature tubes, shirt pocket - 17 patent citations -


2497336 Casing for unitary hearing aids, Don H Young, Dictograph Products, 1950-02-14, - uses A (17), B (18) and C (19) batteries and 3 subminiature tubes (after W.W.II). - cigarette pack style


2530621 Wearable hearing aid with inductive pick-up for telephone reception, Samuel F Lybarger, E A Myers & Sons Inc, 1950-11-21, - shirt pocket, switch between mike and loop,


2567431 Communications system of restricted-range type, William S Halstead, 1951-09-11,
T-Coil, for HoH people,


2650267 Hearing aid construction, Warren R Walters, Maico Co, 1953-08-25, - 3 tube design.
Patent Citations (9)
No                  Priority         Pub          Assignee                          Title
US1576638A  1922-10-28  1926-03-16  Coto Coil Company            Electrical socket
US1719288A  1925-11-23  1929-07-02  Gray & Danielson Mfg Co   Radio tube socket
US2269122A  1940-06-01  1942-01-06  Douglas T Mitchell              Contact
US2268619A  1938-01-08  1942-01-06  Joseph A Beasley                Radio receiving apparatus
US2424422A  1943-06-12  1947-07-22  Paraphone Hearing Aid Inc     Hearing aid apparatus - 3 tubes
US2477653A  1943-08-10  1949-08-02  W H Reisner Mfg Company    Primary electrical training test board apparatus
US2482228A  1945-12-07  1949-09-20  Ohio Thermometer Company   Thermometer
US2495546A  1947-11-24  1950-01-24  Beltone Hearing Aid Co             Hearing aid chassis - 3 tubes
US2496683A  1947-03-06  1950-02-07  Paravox Inc                              Hearing aid chassis and assembly - 3 tubes - Maico


2656421 Wearable hearing aid with inductive pickup for telephone reception, Samuel F Lybarger, E A Myers & Sons Inc, 1953-10-20, - shirt pocket, switch between mike and loop,T-Coil


2692305 Hearing and unit, Clayton D Mullin, Microtone Co, 1954-10-19, - "a hearing aid having substantially all the parts thereof easily removable to facilitate replacement thereof. "  I've read that the subminiature tubes may have had a very short mean time between failures.


2764640 Hearing aid apparatus, Osserman Stanley, Emmanuel C Nicholides, Dictograph Products, 1956-09-25, - Wrist mounted A-165, uses patented mike.


2845497 Transistorized amplifier circuits, Fred E Barron, Samuel F Lybarger, E A Myers & Sons Inc, 1958-07-29, -


2853557 Sound distribution system, Frank H Lehman, Philip N Lehr, Dictograph Products, 1958-09-23, - a loop of wire surrounds a room and carries an audio signal that's picked up by a small loop which drives a crystal earpiece. T-Coil


2886623 Battery assembly for hearing aids, Philip N Lehr, Dictograph Products, 1959-05-12, - stacking button cells, user gets to determine number of cells to control gain.


2930856 Hearing aid, Arthur E Toht, Sears Roebuck and Co, 1960-03-29, - behind ear, transistors


2995633 Means for aiding hearing, Henry K Puharich, Joseph L Lawrence, 1961-08-08, - tooth filling makes sound,wirelesw feed.


3008091 Direct coupled cascaded complimentary transistor amplifier, Adrianus Johannes Wilhel Marie, Stieltjes Frederik Hendrik, Jochems Pieter Johan Wilhelmus, Ensink Johannes, Verhagen Jan, Tummers Leonard Johan, US Philips Corp, 1961-11-07, -
2 and 4 transistor amplifiers with direct connection between transistors.  Transformer input and transformer output. Mixes NPN and PNP transistors.
3015704
3015704
                      Acoustical apparatus, Behymer Donald James, Maico
                      Electronics, 1962-01-02
3015704
                      Acoustical apparatus, Behymer Donald James, Maico
                      Electronics, 1962-01-02
3015704 Acoustical apparatus, Behymer Donald James, Maico Electronics, 1962-01-02, -
Includes switch for mike or telephone pickup (T-Coil)

Newer than the Transit-ear since has 6 transistors.



3044054 Receiver for electromagnetic signals, Sneath Oswald Barber, Multitone Electric Co, 1962-07-10, - 2 - 15 kHz carrier, 50 to 60 subscribers, 1 - 2 kHz audio tone output, paging system, fountain pen shaped receiver.


3078348 Lecture broadcasting system, Frank H Mcintosh, 1963-02-19, - multiple transmitters (100 kHz) are picked up using loop antennas in different locations - maybe used in museums?  T-Coil


3031537 Acoustical device, John F Rose, Maico Electronics, 1962-04-24, - 3 transistor behind ear


3179894 Transistor amplifier, Howard W Bloom, Maico Electronics, 1965-04-20 - 3 transistors: PNP - PNP - NPN- for use "in ear"


3201528 Multi-directional hearing aid, Johanson Donald Lee, Clinton V Hulse, Audiovox, 1965-08-17, - behind the ear. Audiovox started with this and eyeglasses types based on transistors.


7010132 Automatic magnetic detection in hearing aids, Henry Luo, Horst Arndt, André Vonlanthen, Mark Schmidt, Unitron, 2006-03-07, - T-Coil

Trans-Oceanic Portable Radio

While looking for patents for the Zenith hearing aid came across a patent for the Wave-Magnet used with the Trans-Oceanic portable radio so started this paragraph.
Eugene F. McDonald Jr. joined Zenith electronics (Wiki) in 1923.  So the patents below for the Trans-Oceanic series of radios were only in his name, i.e. he did not assign them to Zenith Electronics.  YouTube: "Zenith Trans-Oceanic".

Photo
Series
Type
Year
Zenith 7G605 Trans-Oceanic portable Radio
7G605

YouTube: Zenith 7G605"Clipper" or "Bomber" radio. 1942, 9:45 -


Tube
1942
Zenith
                      5G500
5G500

AM Broadcast band only
Not Trans-Oceanic
3 position antenna switch
upside down chassis
miniature
Tube

Zenith Trans-Oceanic G-500 Portable Radio
500

8G005Y

YouTube: Zenith Trans-Oceanic Clipper Shortwave Radio, 15:40 -

Zenith Transoceanic 8G005, 33:23

8G005YT - no bomber image, just grill marked Zenith.


6 locatal tubes
1949

G500
YouTube: G-500 - The Transitional Trans-Oceanic, 11:07
& comparisons to H500

front drawer with instructions
no Magnet shaped "wave Magnet"
5 miniature
Tube
1449 - 1951

H500 / R-520/URR
YouTube: The Zenith H500 Super Trans-Oceanic Portable Radio, 17:55
Selenium rectifiers
no Magnet shaped "wave Magnet"
1 series miniature tubes
1951
Zenith Y600 Trans-oceanic Portable Radio
600

Slide rule dial

Zenith Trans-Oceanic R600 Part 1: Installing a FILT-R-PAK 60+ Power Supply and Complete Recapping, 17:44 -

Zenith Trans-Oceanic Model B600 Radio (1959-1962), 7:20 -

tube
1954
Zenith 1000 Trans-Oceanic Portable Radio
1000/3000


A classic gets the full treatment. Zenith Trans-Oceanic Royal 3000-1 full restoration, 47:01 -
transistor
1957
Zenith 7000 Trans-Oceanic Portable Radio
7000

YouTube: Zenith Royal 7000 Transoceanic Repair, 25:42 -

D7000Y
Zenith TransOceanic D7000Y Episode 1 First Look, 7:48 -
transistor
1968

Books about Zenith
The Zenith Trans-Oceanic, the Royalty of Radios Paperback – March 1, 1995, Harold N. Cones (1st Ed)
Zenith Trans-Oceanic: The Royalty of Radios Paperback – Illustrated, June 30, 2008 by John H Bryant Faia (2nd Ed)
Zenith(r) Radio: The Early Years 1919-1935 Paperback – September 30, 1997 by Harold Cones
Zenith Radio, the Glory Years, 1936-1945: History and Products Paperback – Large Print, July 22, 2003 by Harold Cones
Also see Ref 2 about solid state tubes.


2164251
                      Portable radio receiver, Jr Eugene F
                      Mcdonald,1939-06-27
2164251 Portable radio receiver, Jr Eugene F Mcdonald,1939-06-27, -

2200674 Radio
                      apparatus, Jr Eugene F Mcdonald, 1940-05-14
2200674 Radio apparatus, Jr Eugene F Mcdonald, 1940-05-14, - "The desired location of the set is not always the best position for the antenna and this is particularly true when attempts are made to use portable radio receiving sets within metal shielding structures such as Pullman cars, airplanes, boats, etc.


early Trans-Oceanic radio shown in a railroad train passenger compartment with the Wave-Magnet antenna mounted a couple of feet above the radio.


2237260 Portable radio receiver, Jr Eugene F Mcdonald, 1941-04-01, - looks like 2164251
2250387 Radio
                      apparatus, Jr Eugene F Mcdonald,1941-07-22 2250387 Radio
                      apparatus, Jr Eugene F Mcdonald,1941-07-22 2250387 Radio apparatus, Jr Eugene F Mcdonald,1941-07-22, -


2329634 Radio apparatus, Jr Eugene F Mcdonald, 1943-09-14, - looks like 2250387
2361953 Radio
                      receiver, Jr Eugene F Mcdonald, 1944-11-07
2361953 Radio
                      receiver, Jr Eugene F Mcdonald, 1944-11-07 2361953 Radio receiver, Jr Eugene F Mcdonald, 1944-11-07, - "A further object of the invention is to provide a portable radio receiver with a plurality of antennas capable of being selectively connected to the input circuit of the set through flexible connectors so that an antenna suitable for a desired frequency band may be positioned apart from the set but connected thereto so as to enhance reception of the desired signal frequency."
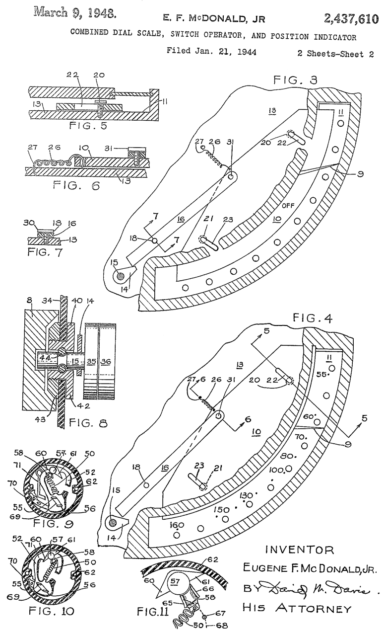
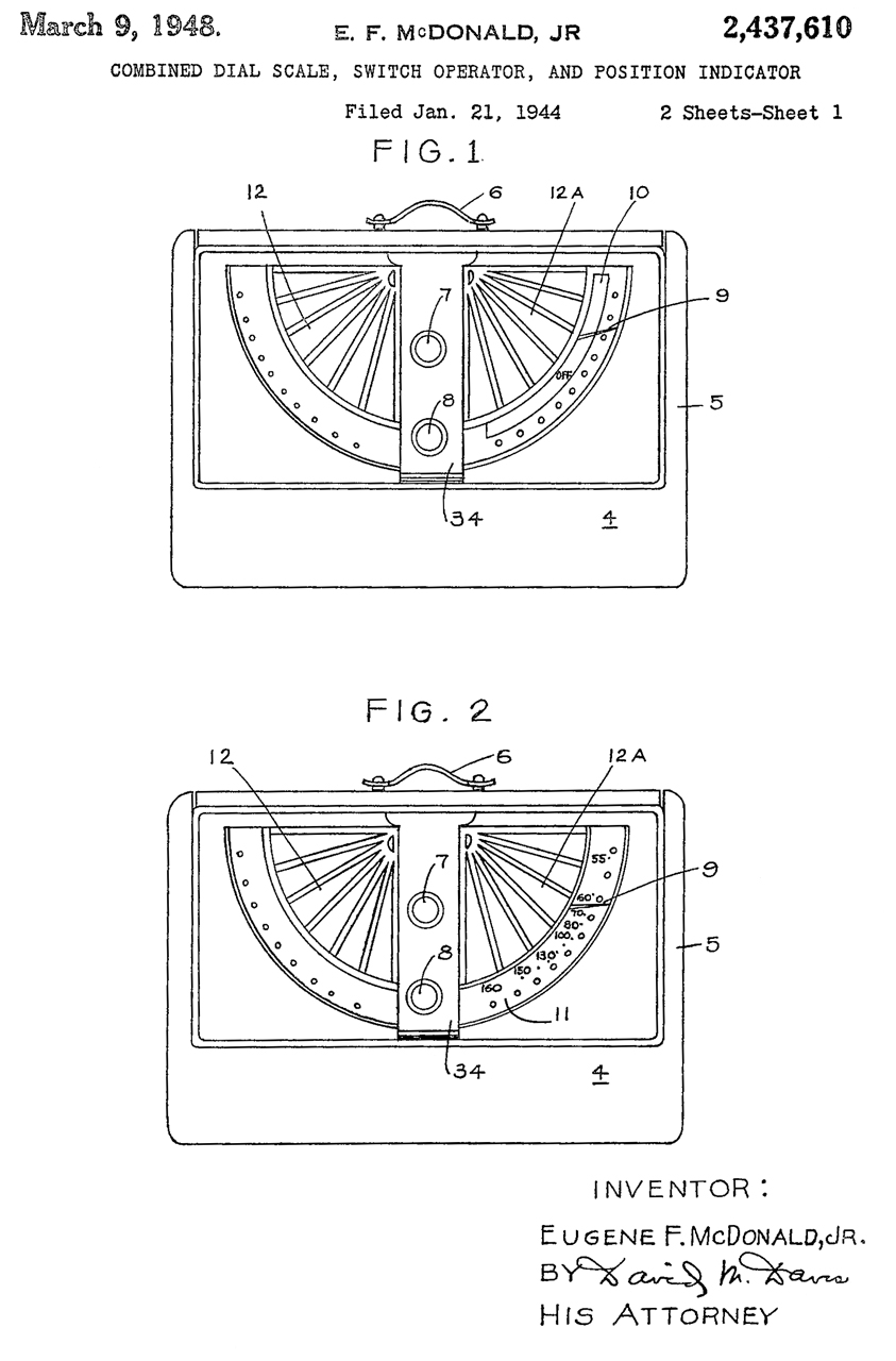
2437610
                      Combined dial scale, switch operator, and position
                      indicator, Jr Eugene F Mcdonald,1948-03-09
2437610
                      Combined dial scale, switch operator, and position
                      indicator, Jr Eugene F Mcdonald,1948-03-09 2437610 Combined dial scale, switch operator, and position indicator, Jr Eugene F Mcdonald,1948-03-09, -
"Shutter Dial"?

2447576
                      Portable radio receiver, Gilbert E Gustafson,
                      Zenith Electronics, App: 1944-03-11, W.W.II, Pub:
                      1948-08-24, - Trans-Oceanic? 2447576 Portable radio receiver, Gilbert E Gustafson, Zenith Electronics, App: 1944-03-11, W.W.II, Pub: 1948-08-24, -

My grandmother had a radio that had this feel in her gazebo (Wiki).

looks like Trans-Oceanic (Wiki) Wave-Magnet Antenna.


2491629 Antenna, George B Vernier, Richard L Rost, Zenith Radio, 1949-12-20, - telescopic antenna

Related

Audio Audio Connectors & Military Cloning - Fill - Retransmission
Aviation Headsets - a main feature is noise reduction headphones and noise cancelling microphones because of the noisy enviornment
Beltone 12D Audiometer
Cars - Horns
FreqStd Frequency Standard, Audio
GRsound General Radio Sound Measurement Instruments
HP204 HP 204B Audio Oscillator from HP 3350 Carrier Test Set (AN/USM-181 Telephone Test Set
HP241A HP 241A Audio Oscillator w/Radio Buttons
MAA Military Audio Accessories
PatchP Audio Patch Panel
SDAR Signal Design, Inc. 65630 Audio Recorder RD-609/TSQ-164 Communications Recorder
Sound Powered Telephones - use technology similar to very early speakers.
Teledyne Avionics TA-3D Acoustic Impedance Meter -
TS585 TS-585 Audio Level Meter
TS-2839/GY Audio Test Set - for testing military audio equipment with UG-77 connectors (carbon mikes & dynamic speakers)
U229AA U-229 Audio Accessories
U229PO U-229 Pin Out by Function
U229Y "Y" Cable,  U-229/U

References

Ref 1. Hearing aid Museum -
Ref 2. Solid State Tubes 1L6 Zenith Transoceanic Performance Test Several Radios, 2:09:22 -
1L6 Problems
@3:00 Testing old 1L6 at top of AM broadcast band with vacuum tube
@3:40 Old Solid State 1L6: Noise
@4:28 New Solid State 1L6: less noise, but vacuum tube is quieter
@10:00 Explaining problem with first generation solid state 1L6. (Solid State Tubes on eBay)
Ref 3. The Dictograph "ACOUSTICON" hearing aid c1910, 1:38 -


Links

PRC68, Alphanumeric Index of Web pages, Contact, Products for Sale
Page Created 2021 November 6