China Lake Patents

© Brooke Clarke 2017 - 2026

Background
Description
    Proximity Fuzes
        Rifled Barrel
        Smooth Bore
    Table of China Lake Related Weapons
Reserve Batteries
Subminiature Tubes
Sputnik, Transit & GPS
    Sidetone Ranging
    Space Fence AN/FPS-133, NAVSPASUR
    NOSS
Spreadsheet of Patents
    Nomenclature
    Patent Dates (and Classification)
    Table of over 800 patents
Safe and Arm
Air to Air Missiles
    Sidewinder
        Rolleron
            Photos
            Patents
Air to Ground Missiles
    AZON, RAZON & TAZON
    ASM-N-2 Bat
    Walleye
    Shrike
    Paveway
    Farnsworth (TV General)
    AGM-65 Maverick
Surface to Air (SAM) Missiles
Ground to Ground Missiles
Army Proximity Fuzes
Sea to Ground Missiles
    Polaris
Laser Guided Bomb
TOW Anti-tank missile
Javelin Anti-tank missile
Missile Utility Transformation via Articulated Nose Technology (MUTANT)
Smart Artillery Shells
Fuze Setters
    XM63 Fuze Setter
Deep Submergence Vehicle
Related
References
Links

Background

Started this page when researching the Sidewinder missile (Wiki) developed by China Lake Naval Weapons Center (Wiki), aka: Naval Ordnance Test Center (NOTS).  This missile uses IR guidance.  See the Related paragraph below for more IR and optical devices.
It turns out that the Navy was behind the VT Fuze (Wiki) and that they both depend on a radio fuze that functions in a very similar manner.  That's to say a three dimensional map of the trigger envelope comes close to a three dimensional map of the shrapnel.

The first patent on what turned out to be RADAR (Wiki) is this one:
1981884 System for detecting objects by radio, Lawrence A Hyland (Wiki), Albert H. Taylor (Wiki), Leo C. Young (Wiki), Nov 27, 1934, 342/27, 367/128, 342/453, 340/991, 342/407 -



Experimental RADAR at US Naval Research Laboratory, Anacostia, D.C. late 1930s (from Wiki)

See Pushing the horizon (Ref 18) pg 91 for a photo of Building 12 in the summer of 1940 showing this
and three other antennas.
Experimental RADAR at US Naval Research
                      Labratory, Anacostia, D.C. late 1930s (from Wiki)
Note that this first RADAR was not pulsed, but rather a CW (Wiki) type more like a Doppler RADAR (Wiki).  The SD RADAR (maritime.org) used on subs early in W.W.II only had an "A" range (2 to 30 miles) display, not the PPI (Wiki) rotating type display.  In 1943 the SJ RADAR with PPI display was introduced.

Sep 2017 - a photo dated September, 5, 1947 on eBay has the following caption:
"General Electric's motion detector, using the principle of the VT fuze, is displayed here by W.C. White, left, Research Laboratory electrinics engineer, and H.S. Lasher, a research engineer.  Five-inch-long microwaves are sent out by the papabolic (sic) reflector, which also receives the reflected signal.  When motion is detected the device can be made to operate a light, ring a bell, and perform other tasks."

A 5 inch wavelength corresponds to a frequency of (speed of light / 5") 2,362 Mhz (Wiki: S Band)
a photo
                    dated September, 5, 1947 on eBay has the following
                    caption: "General Electric's motion detector,
                    using the principle of the VT fuse, is displayed
                    here by W.C. White, left, Research Laboratory
                    electrinics engineer, and H.S. Lasher, a research
                    engineer. Five-inch-long microwaves are sent out by
                    the papabolic (sic) reflector, which also receives
                    the reflected signal. When motion is detected the
                    device can be made to operate a light, ring a bell,
                    and perform other tasks."
a photo
                      dated September, 5, 1947 on eBay has the following
                      caption: "General Electric's motion detector,
                      using the principle of the VT fuse, is displayed
                      here by W.C. White, left, Research Laboratory
                      electrinics engineer, and H.S. Lasher, a research
                      engineer. Five-inch-long microwaves are sent out
                      by the papabolic (sic) reflector, which also
                      receives the reflected signal. When motion is
                      detected the device can be made to operate a
                      light, ring a bell, and perform other
                      tasks."

2193361 High frequency apparatus Rice Chester W, Gen Electric, Mar 12, 1940, 342/104, 367/91, 343/756, 342/461, 343/836 - differential Doppler - Referenced by 40 patents

In "
The Deadly Fuze" (Ref 1) it's mentioned that British worked on a Photo Electric Fuze (as did the U.S.) so I searched for patents related to that and there are a lot of them.  Some of them where the publication date is about 20 years after the filing date indicating that they were classified secret.  The level of detail indicates that they may be been manufactured in production quantities, probably for  some special application.  Note that the Sidewinder missile uses thermal IR for guidance and so a PE Fuze that was sensitive to thermal IR would work very well and not be susceptible to jamming.

Note that proximity fuzes can be used on different platforms.  Bombs and rockets experience much less acceleration than artillery shells.  Also bombs and rockets do not spin at all.  So the early work on proximity fuzes was done on bombs and rockets and then later, as high-G components were developed, they applied to shells.

While there are patents the have illustrations that look like production VT fuses, I think 2959128 and more important 3001476 are the heart of the magnetic proximity fuse based on the time delay between the priority date and issue date, i.e. top secret classification.  These patents are about antennas that can stand the very high wind velocity of projectiles and not vibrate.  The method of operation is to have a magnet (either electro or permanent) and a coil to sense a change in the magnetic filed.  This is very different from the "magnetic influence" exploder used on W.W.II torpedoes which did NOT work.

YouTube:
Flak Training for Pilots in WW 2 - T.F. I-3389, 1944 - no mention of lethal radius, i.e. how far the burst needs to be for safety.
Horizontal: 300 MPH = 440 feet per second,
Vertical: roughly 1000 feet per second, if 50 foot lethal radius then timing accuracy of 50 milli seconds needed.  There are two aspects how repeatable are the shells and are they set to the correct time delay.  The proximity fuze was developed to solve this problem where NBS and Harry Diamond were involved.

Description

Proximity Fuzes

There are two fundamentally different weapons platforms that make use of the proximity fuze and the key difference is if it spins on the long axis.

Rifled Barrel

Projectiles fried from a rifled barrel have very high (20,000G) set back forces and spin.  Both of these make a reserve battery that uses a glass vial of battery acid work well.  The set back force can be use with a "breaker" to open the glass capsule.  The spin can be used to force the acid into the battery plates.

Development of these fuzes was done by the Navy along with the Johns Hopkins Applied Physics Laboratory.

Smooth Bore (see Army Fuzes below)

Mortars, rockets with non rolling air frames and bombs have lower forces and no spin so reserve batteries are not a good choice.

The development of these fuzes was done by the Army and Harry Diamond leading a group at the NBS which included Wilbur S. Hinman, Jr., Allen V. Astin, Cledo Brunetti, Jacob Rabinow. Also see Radiosonde: Theory & James A. Van Allen (Wiki)

Bomb fuzes need to work in very cold temperatures where dry batteries have low or no output.

Mk 173 VT Proximity Fuze
Photo from Robert M. Gillespie
taken at National Air and Space Museum: Fuze, Proximity, Cutaway (a different model)
Mk 173 VT
                        Proximity Fuze
It turns out this is in fact for a 5" rocket rather than a rifled gun, so I need to move it to a different paragraph.

This fuze appears in Ref 9: OP 1480 VT Fuzes for Projectiles and Spin-Stabalized Rockets, 15 May 1946.

Description in Ch 5
VT FUZES FOR SPIN-STABILIZED ROCKETS

and in Ch 2 Description where the various breakers are described.   Fig 2 shows the Long Breaker Mk5 MOD 2.
and Fig 3 shows the spin breaker Mk 1 MOD 0.

Table of China Lake Related Weapons

Date
Title
Description
Guidance
dia
1944-1951 Tiny Tim (rocket) Air to ground (Ship) none
11.75"
1944-1955 Holy Moses (rocket) Air to ground unguided rocket none
5"
1948-1953 AAM-N-5 Meteor Air to Air missile semi active RADAR 8.9"
1949 LTV-N-4 Experimental Rocket none
   30"?
1950 - 1954 Ram (rocket) Air to ground (Tank) none
6.5"
1951 - 1969 RUR-4 Weapon Alpha Surface ship to submarine rocket
12.75"
1954–1956 Gimlet (rocket) Air to air/air to ground none
2"
1956 - now
AIM-9 Sidewinder Air to Air missile designed to shoot down bombers, not fighters.
IR 5"
1960s - 1990s AGM-62 Walleye Air to Ground bomb TV guided
250 - 2000 lb
1956–1963 BOAR (rocket) Air to Ground W7 Nuke (Wiki)
none
30.5"
1958 Hopi (missile) Air to Surface W50 (Wiki) Nuke bomb

1959 Terasca Sounding Rocket none
18"
1965 AGM-45 Shrike Air to Ground anti-radiation missile (see: RWR Shrike)
8"
1968 C. L. Grenade Launcher 40mm grenade launcher
YouTube: China Lake 40mm Pump Action Grenade Launcher
 
see patent 3435549 on my 40mm web page.
none
40mm
1979 CL-20 solid rocket fuel na
na
1983 - now Tomahawk missile Surface ship or submarine to ground Terrain Contour Matching (Wiki) ?
2000 - now SLAM-ER Ship/Air to ground/ship missile
13.5"

In addition the China Lake folks also patented civilian ideas like garage door openers, headlight dimmers, &Etc.

Reserve Batteries

A reserve battery (Wiki) "is a primary battery where part is isolated until the battery needs to be used. When long storage is required, reserve batteries are often used, since the active chemicals of the cell are segregated until needed, thus reducing self-discharge.".  They are used in Sonobuoys where salt water is the electrolyte and Radiosondes where room temperature tap water is used for activation as well as proximity fuzes.

This is one of the modular components of the proximity fuse.  It's my understanding that all of the proximity fuzes use the same reserve battery, setback switch, Centrifugal switch and I suspect other components so that they do not need to be engineered for every new project.

See Ref 45 for a good explanation of how the reserve battery for artillery shells works.

Glass ampule

Capsule to hold reserve battery electrolyte.  This is a promotional item made by GE.  There were other promotional ads, like for the vacuum tubes that would survive being fired from a gun.
If 30 million were made over 2 years that's about 40,000 per day.
Somewhere else I read that Christmas tree lights were impossible to get (the box says "hard to get").

Fuzes designed for artillery make use of the very high G forces to break the glass capsule allowing the reserve battery to operate.  It's not clear to me what activates the reserve battery in a bomb or missile proximity fuze.  Reference 11 (pg 134) says that rockets have enough set back force to break the glass. 

Bombs use a generator rather than reserve battery as do some rockets.  Generators used either a propeller or turbine.  In some cases the generator shaft turned a gear train that set off the initiator after some number of revolutions as a self destruct mechanism.  The frequencies coming out of the generator, no matter what the bomb or missile speed, needed to be out of the audio range of the received signal.  Hence the 6-pole generator rather than a 3-pole design which would have cost less.

From Reference 11 (pg 138):


Perchloric Cell
Reserve Battery
Dry Cell
Flashlight Battery
Lead Acid Cell
Car Battery
Voc
2.2/1.8
1.6/1.5
2.12
Ah/kg
22
10
9
Wh/kg
39
12
17
Freezing
-60 c
-25 c
-65 c
Flash Amps
(small cells)
1.2
0.01
0.37
Rinternal
(small cells)
1 Ohm
150 Ohm
5.6 Ohm

The generators were AC alternators with stationary windings for filament and plate voltages and rotors holding permanent magnets (then Alnico II or IV).  That's to say they were essentially DC permanent magnet motors but without brushes.  Ref 11 pg 145.

Torpedoes used an internal impeller powered generator for electrical power.  See the Mk 6-5 Exploder of 1945.  This also acts as a Safe and Arm since the exploder can not work until the HV capacitor is charged.

The
                    Shell with a Radio Brain! . . . the true story of a
                    mighty secret weapon of World War II
There's an ad by the National Carbon Company (Eveready) "The Shell with a Radio Brain! . . . the true story of a mighty secret weapon of World War II", that claims Eveready batteries were used in the VT Fuse.  I don't see how that's possible other than in prototypes.  If you know more about this let me know.
The problem with primary batteries is their limited shelf life.  Reserve batteries are a way to get around that problem.


Fig 1 A Bitter Pill
Proximity VT
                    Fuze (fuse) Capsule to hold reserve battery
                    electrolyte.
A Bitter Pill
for the
Japs and Nazis
Fig 2
Proximity VT
                    Fuze (fuse) Capsule to hold reserve battery
                    electrolyte.
One of the biggest problems making the glass
capsule was to make sure that it broke only when
you wanted it to.  It had to be strong enough not
to break when handling ammunition; yet it had
to break when fired in low velocity projectiles
(rockets) or high velocity projectiles (anti-air
craft).  G-E's glass technologists solved the problem
and produced the capsules on machines used to
make Christmas tree lamp bulbs - which is one
reason why Christmas tree lights were hard to get!
               Lamp Department
               General () Electric
                      Company
Fig 3  Diagram of VT Fuse
Proximity VT
                    Fuze (fuse) Capsule to hold reserve battery
                    electrolyte.

Fig 4
Proximity VT
                    Fuze (fuse) Capsule to hold reserve battery
                    electrolyte.
The glass tube at left is 0.2465" OD (probably called 1/4").
The ID is 0.183" and length is 2.137

The bulbs are about 5/8" diameter x 1.4" long.
Over thirty million of these glass capsules
were produced by General Electric's Lamp
Department to make the "VT" radio prox-
imity fuse a practical success and one of
our most effective defenses against Kamikaze
attacks (Jap suicide planes).  When the
shell is fired the capsule shatters, freeing
the electrolyte which makes the battery
operative.  A tiny "radio station" then
sends out radio waves which, if reflected
by any target 70 feet or less away, detonate
the projectile at the ideal distance for
maximum effect.
(See back of box for more details)

Patents





2147116
                      Generator for emergency lamps, Gunnar A F
                      Winckler, Filed: 1936-02-11
2147116 Generator for emergency lamps, Gunnar A F Winckler, Filed: 1936-02-11, Pub: 1939-02-14, -

This unit depends on the absorbent material at the bottom all the cells to suck up all the electrolyte.  If this does not happen then the series connected cells will short out.  I very much doubt this was a viable product, but it has the look and feel of the reserve battery used in the proximity fuze.
403567
                              Electrically energized fuse, Jr Nathaniel
                              B Wales, Filed: 1942-01-13 (W.W.II) Pub:
                              1946-07-09
403567
                              Electrically energized fuse, Jr Nathaniel
                              B Wales, Filed: 1942-01-13 (W.W.II) Pub:
                              1946-07-09

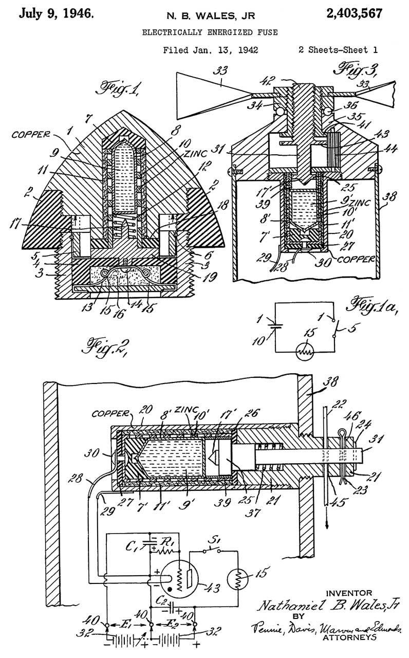
2403567 Electrically energized fuse, Jr Nathaniel B Wales, Filed: 1942-01-13 (W.W.II) Pub: 1946-07-09, -

There are two versions.  Fig 1 is for munitions shot from guns (battery) and Fig 2 is for bombs (Fig 3) and rockets (Propeller-Generator).

Wales also has patents on the Bazooka base detonator

The Hot Gas - Generator system is covered in patents 2695365 & 3001474 - These hot gas systems can only provide power for tens of seconds, long enough for an air-to-air missile flight, but not long enough for some air-to-ground applications.

The hot gas comes from a rocket fuel grain.
2534056
                              Deferred action battery, Pitt Arnold,
                              Filed: 1947-05-15
2534056
                              Deferred action battery, Pitt Arnold,
                              Filed: 1947-05-15

2534056 Deferred action battery, Pitt Arnold, Filed: 1947-05-15, Pub: 1950-12-12, -
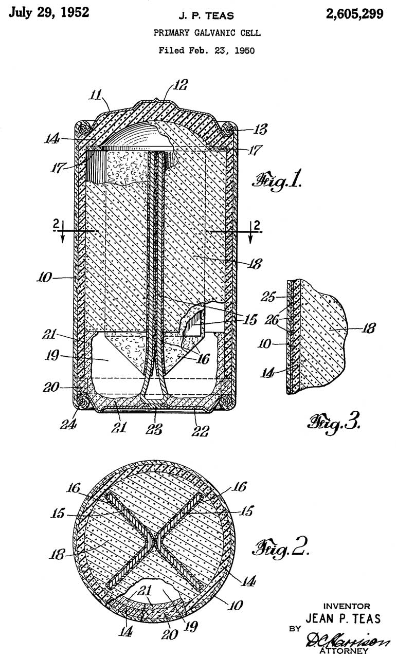
2605299 Primary
                      galvanic cell, Teas Jean Paul, Union Carbide,
                      1952-07-29
2605299 Primary galvanic cell, Teas Jean Paul, Union Carbide, 1952-07-29, -

Replaces the zinc cup in the classical "dry cell" to avoid the problems that causes (leaking).

Jean P. Teas is mentioned in "12 Seconds of Silence" (RWR Ref 3) as part of the team that developed the reserve battery for the proximity fuze.
2656401 Breaker
                      mechanism for deferred action batteries, Franklin
                      L Everett, Navy, Filed: 1945-06-28 (W.W.II) Pub:
                      1953-10-20
2656401 Breaker mechanism for deferred action batteries, Franklin L Everett, Navy, Filed: 1945-06-28 (W.W.II) Pub: 1953-10-20, -

Subminiature Tubes

This got started after seeing the YouTube on subminiature tubes for the proximity fuze (Ref 26) and hearing aids (also RC model remote controls).
Norman Krim (Wiki) at Raytheon subminiature tube development. Raytheon CK5676 shown.  CK549DX shown in 1954 Acousticon Hearing Aid.
John Eng's Rescue: Subminiature Tubes -
RK61 - Gas Triode Receiving Tube - single tube garage door openers and RC models.

2355083 Electrode assembly for discharge tubes, Norman B Krim, Raytheon, App: 1941-01-03, W.W.II, Pub: 1944-08-08, -
2476940 Subminiature type vacuum tube structure, Wood Ross, Raytheon, 1949-07-19, -
3113235 Rugged vacuum tube, Henry H Porter, Karrer Sebastian, Raymond D Mindlin, James A Van Allen, Secretary of the Navy, App: 1944-01-24, TOP SECRET, Pub: 1963-12-03, - subminiature tube for firing from guns for Proximity Fuze.

I've read that Remote Control model airplanes is another area where subminature tubes may have proceeded the proximity fuze, but so far have not found patents.
Model Aviation: The history of Radio Control -
Radio Control History -
2437558 Precision radio remote-control system, Edgar L Rockwood, App: 1943-03-12, [W.W.II], Pub: 1948-03-09, - tubes, reeds, proportional control
2522893 Remote-control system, Ellison S Purington, RCA, App: 1945-04-05 [W.W.II] Pub: 1950-09-19, - 100 MHz carrier, tones of: 52, 64, 56 & 68 kHz with 100 RPM commutator.
2539618 Vibration responsive apparatus, Walter A Good, Wenrich Loran, Navy, App: 1946-01-15 [W.W.II] Pub:  1951-01-30, - vibrating reed tachometer for Gyro speed measurement
2832426 Teledynamic system for the control of self-propelled vehicles, William A Seargeant, 1958-04-29, - tubes, but what type?
2867394 Pulse control of programming device for aircraft, Frank P Schmidt, 1959-01-06, - with no input control motor goes to neutral position
3151297 High gain superregenerative detectors, Toomim Hershel, Electrosolids Corp, 1964-09-29, -
May have been used in Proximity Fuzes from a thread on the Antique Radios web site:
Since Proximity Fuze tubes would have been custom designed since they were made in very high volumes, the filament voltage would have been 1.25, i.e. to work with a single cell battery.  6.3 V filaments might be for fuzes with wind powered generators, like on bombs, rockets and mortars.
The 5643 thyratron may be a candidate.
Type
Fil
Plate
Description
5636
6.3
165
sharp cut off pentode
5639
6.3
150
pentode
5641
6.3
330
half wave rectifier
5642
1.25

half wave rectifier
5643
6.3

thyratron
5672
1.25
67
PA Pentode
5676
1.25
135
triode
5678
1.25
90
Pentode, beam
5702
6.3
165
sharp cut off pentode
5718
6.3
150
twin triode
5719
6.3
150
twin triode
5783
na

Gas regulator
5787
na

Gas regulator
5829
6.3

dual diode
5896
6.3

twin diode
5977
6.3
180
 triode
6021
6.3
165
dual diode
6029
1.25
90
triode
6110
6.3
150
dual diode
6111
6.3
165
twin triode
6247
6.3
250
triode
6397
1.25
135
power pentode
6418
1.25
22.5
PA Pentode

From a post on the Tube Collectors Association:
The submin types that Raytheon theoretically registered in 1948 were the 2B24, 2C27, and 2E27. The "registration" was type-number-only because the characteristics were considered classified (BFD).  The unclassified ones were the 2D29 and 2E29.
Type
Fil
Plate
Description
2B24
QF-197



2C27
QF-200C


Oscillator
2E27
QF-206


Audio amp
2D29
SA-782B
GE-NS4


Cold Cathode Thyratron (Wiki) - Thyratrons are used in many W.W.II ear fuzes.
T-172 mortar: 2C27, 2E27/2E29, 2D29
UK: CV474 - b8d base, 0.4"dia x  1.5" long.
2E29
SA-781A


Audio amp
Tube Collectors Association - Photo Archive - Links to members web pages -

Sputnik, Transit & GPS

I watched a documentary on Amazon Prime (17 Feb 2019) titled "The Lonely Halls Meeting" (IMDB).  It gave the credit to the Air Force for inventing GPS, but after finding the patent shown in the documentary (the patent number was hidden, but the filing date May 12, 1958 was shown I found the patent and it was for the Transit (Wiki) navigation system, not GPS. So I initially posted the following on my Radar Warning Receiver web page.  But after doing more research I'm moving it here because it looks to me like the Navy was really the father of GPS (even though China Lake was not involved as far as I know).

A major event was the launch of Sputnik (Wiki) On 4 October 1957.

After the Powers U-2 shoot down on Mayday (1 May) 1960 these overflights were cancelled.  They were replaced by the Corona (Wiki) photo reconnaissance and GRAB (Wiki) satellites, both of which were operational within a year.  Note the GRAB ELINT (Wiki) package was designed to detect S-band radar, as used by the SA-2 (Wiki) that shot down Power's U-2 (Wiki).  This allowed mapping the location and functional parameters of all the SA-2 systems from space.

There is a GRAB display at the National Cryptographic Museum because it was the first ELINT (Wiki) satellite also see Spy Satellite (Wiki).

GRAB &
                      Transit Satellites
Note the photo at the top of the Wiki page for the Transit satellite shows the GRAB satellite sitting on top of it for a dual satellite launch.

Related pages:
MX 4102 Transit Satellite Receiver
Navigation
Sputnik - Transit - GPS
Time & Frequency
Surveying

3172108 Method of navigation, Frank T Mcclure, 1965-03-02, -  Transit error 0.03 to 0.07 miles (158 to 369 feet).  Because of the Earth's rotation there is no ambiguity for a receiver to the East or West of the satellite ground path. Clock needs to be good to 1 part in 107.  This is well within the capability of the first generation HP 5060A Cesium standard that came out in 1964.  The patent says crystal oscillators will work, so maybe URQ-10 or URQ-23 were used with Transit? Let me know.

"The precision time standard 51 provides highly accurate timing signals in order that one mile accuracy may be obtained. The time standard 51 may include a crystal oscillator, similar to the oscillator 31 illustrated in FIG. 4, together with a time comparator 52 providing a correcting means which is responsive to the satellite timing signals. Alternatively, time standard 51 may comprise an atomic clock in which case the need for satellite timing signals is eliminated."
75 & 150 MHz operation.  
 

Another response to Sputnik was the development of the Transit (Wiki) navigation satellite system (Electronics:Sputnik & Transit & GPS).  Transit depends on having an atomic frequency standard as part of the receiver, which makes for a very expensive receiving system.  Also the Nautilus (Wiki) Submarine needed to be on the surface for a long time (maybe a half hour or more) in order to record the full Doppler (Wiki) curve.  So a more cost effective satellite navigation system was wanted where the receivers cost less and the Time To First Fix (TTFF) was much shorter.  That system turned out to be GPS (Wiki - history).

There is an Amazon Prime documentary titled "The Lonely Halls Meeting" (IMDB) with some information on the development of GPS from the Air Force perspective.  The following patent was referenced as the invention of GPS, but it relates to the Transit (Wiki) satellite navigation system.  They point to Bradford Parkinson (Wiki) as the "inventor" of GPS but Wiki says "he led the re-architecture of the concept".  His first patent (5726659) was filed in 1995.  The GPS Wiki says "Roger L. Easton of the Naval Research LaboratoryIvan A. Getting (Wiki: Project Nobska) of The Aerospace Corporation, and Bradford Parkinson of the Applied Physics Laboratory are credited with inventing it."  So the documentary is slanted in favor of the Air Force.  Note that the principal inventor and designer of the Global Positioning System, Roger Easton is not mentioned in the documentary.  He holds a number of patents starting in 1955.  The documentary also claimed that CDMA (Wiki) was developed for GPS, but the Wiki page says it came from Russia.  While GPS does make use of CDMA, I'm not aware of it being invented on the GPS program.  Gold code (Wiki) is an implementation of CDMA that minimizes the cross correlation between signals and was developed within GPS.  Maybe that's what they meant to say in the documentary?
The Space Review: Who invented the Global Positioning System? by Richard Easton (Roger's son), May 22, 2006 - Has a table comparing the Navy's Timation sattelite (Wiki)) and the Air Force 621B satellite (Wiki).  To my reading Timation was the key contributor.

Characteristic Navy Timation (Wiki)
AF 621B (Wiki)
GPS
Number of satellites 27 3 or 4 groups of 5 24 satellites and 3 spares
OrbitsNote3 12,875 km (8 hour orbit, though the 12 hour orbit was also proposed) Geosynchronous or near geosynchronous or high altitude circa 40,000 km 20,300 km, 12.0 sidereal hour orbits
Signal sidetone rangeNote 1 Pseudo random sequence Pseudo random sequence Note 2
Time setting on satellites Atomic clocks on each satellite - periodic updates from ground stations No clocks on satellites - time transmitted from seven ground stations Atomic clocks on each satellite - periodic updates from ground stations

Note 1: Sidetone Ranging:

"Tracking, Command, Control and Data Acquisition of NASA Flight Programs, (19660009104.pdf) Tracking includes side tone ranging:
pg 4: "The range of spacecraft can be determined by measuring the travel time of an electromagnetic wave. Knowledge of the propagation velocity gives the distance. This can be accomplished either by using a pulse as in the radar principle, or by measuring the phase of the electromagnetic wave traveling from a transmitter to the spacecraft and back to the ground station receiver by means of a ranging transponder in the spacecraft. The latter principle is applied here and is known as sidetone ranging. A carrier is modulated with several mathematically related frequencies, and measuring the phase of these related frequencies after transmission to the spacecraft and return enables the determination of range. This in essence is a time measurement."
Analysis of the "range and Range Rate" Tracking System, 1962 (19620000013.pdf) - sidetone ranging on page 3
the book "High Precision Navigation and Geodetic Methods by Linkwitz & Hangleiter, 1989, - page 475 has equations and details and that STR is much better than Time Of Flight (Wiki: TOA)
3384891 Method and system for long distance navigation and communication, Roy E Anderson, GE, 1968-05-21, - cited by 105 patents

Note 2: Pseudo Random Sequence

Because of the process gain (Wiki) involved with the pseudo random code the GPS signal on the surface of the Earth is below the thermal noise (Wiki).  This means that someone who looks for the signal on a spectrum analyzer will not see it.  That's to say it is a covert signal.  In order to detect the GPS signal you need to know how it's modulated.

Another aspect of this is that all GPS satellites transmit on the same channel.  That's to say they all are interfering with each other.  So the signal to noise ratio is always the same since the interfering signals are always about the same.  Improving the s/n ratio can only be done by good processing of the signal, not conventional analog methods.

Note 3 Orbits

The documentary says the orbit height was chosen based on the throw weight (Wiki) of the known type of booster rocket and the trade off between the satellite weight versus the weight of the inter orbit rocket.  The result was an orbit with a period (Wiki) around 12 hours.  I've also read that a period of 12:00:00 sidereal (Wiki) hours was chosen so that the ground track (Wiki) would repeat.  This would make testing the system much easier during the time before all the satellites were functional.

Missile Gap

Around this time the Air Force and the Gaither Committee (1957) were saying there was a missile gap (Wiki), i.e. that Russia had many more ballistic missiles than the US, so there should be a major spending program to build more missiles.  A strong motivator for the U-2 program and spy satellites was to get an answer to this question.  It turns out there was no "missile gap". see Aerial Photography Ref 7

3384891 Method and system for long distance navigation and communication, Roy E Anderson, GE, 1965-02-11, 342/357.64; 455/13.1; 968/922; 342/353 -
3643259 Navigation satellite system employing time synchronization, Ronald S Entner, 1970-02-20, 342/357.21; 701/492 - maybe using Timation satellite (Wiki) to improve Inertial Nav.
3789409 Navigation system using satellites and passive ranging techniques, R Easton, 1970-10-08, 342/357.21 -
CA986611 Navigation by means of a passive ranging technique, Navigation by means of a passive ranging technique, Roger L. Easton, Navy, 1973-09-11, - Maybe the first GPS patent?
3172108 Method of navigation, Frank T Mcclure, Navy, based on application serial 736435 filed May 12, 1958 (7 months after Sputnik).  150 MHz only Transit system.  Precision time (frequency) standard (51) needed to get 1 mile accuracy (but Fig 2 shows between 158 to 316 feet error).  The Earth's rotation is taken into account. 
3191176 Method of navigation, William H Guier, Navy, 1962-09-18 - The McClure system is "expensive and complicated"  This is a Transit system operating at 150 & 400 MHz.
3906204 Satellite positioning apparatus, James W Rigdon, Saburo Ifune, Leroy D Graber, Seiscom Delta Inc, 1973-04-20, 701/514; 342/357.22; 342/357.25; 342/357.65; 342/357.59 - Transit using Doppler
4555708 Dipole ring array antenna for circularly polarized pattern, Douglas K. Waineo, Sam S. Wong, Air Force, 1984-01-10, - the documentary pointed out how this antenna cut the power requirement for a GPS satellite in half because it shapes the power to the Earth gets a more uniform coverage.  Quite a big deal and the antenna system still used on the current satellites.

A key GPS patent is by Trimble (Trimpack)
4754465 Global positioning system course acquisition code receiver, Charles R. Trimble, 1984-05-07, - This design uses a very simple (inexpensive) RF front end and a low speed microprocessor to deliver a complete GPS receiver.  I believe the Trimpack was the receiver requested by the troops in Desert Storm (Wiki: Gulf War), not the marine and aircraft units shown in the documentary.

4972431 P-code-aided global positioning system receiver, Richard G. Keegan, Magnavox Electronic Systems Co, 1989-09-25, 375/150; 342/357.69; 380/258 - by squaring P-code, not as good as Ashtech method (US5134407A).  In both these cases precision  surveying can be done without knowing the secret P-code key.

5040240 Receiver architecture for use with a global positioning system, Richard G. Keegan, Magnavox Electronic Systems Co, 1989-11-30, 455/260; 342/356; 342/357.63; 342/357.72; 342/357.75; 455/264; 455/315; 701/468 - cleaver synchronization of LOs and sampling to lower phase errors.

Also see my GPS & Satellite Navigation patents web page.

YouTube:

Space Fence AN/FPS-133, NAVSPASUR (Wiki)

Roger L. Easton, the father of GPS also invented the Space Fence.  Found that out when looking at his patents.

This was a 216 MHz Radar system designed to detect satellites and determine their orbital parameters (Wiki).  It was shut down in 2013 and has been replaced by an S-Band (Wiki) system.

3122741 Device for detecting objects in space, Roger L Easton, Navy, 1961-03-30, - 
3603885 Spectrographic IF preselector, Charles A Bartholomew, Roger L Easton, Navy, 1965-03-30, - "A device for automatically tuning interferometer-type receivers in a space surveillance system comprising receiving means, a comb filter comprising a plurality of channels, each including a filter, and a tuning means connected to each filter." 108 MHz input with 16 kHz bandwidth.  Today DSP filtering would be used instead of the 256 discrete 30 Hz BW crystal filters used here. (256 chan* 30Hz = 7680 Hz, not 16 kHz?)  The IF output is between 16 kHz and 32 kHz.  The Agilent 4395A spectrum analyzer could replace almost all of this patent and provide a true 1 Hz IF bandwidth.
3504367 Method of ranging compatible with space surveillance system, Roger L Easton, Navy, 1963-02-28, 342/83; 342/129; 342/127 - only requires 2 locations, the prior versions required a pair of receiving stations located on either side of the transmitting station, 3 stations in total.  range info by shifting the Tx frequency.
3406397 Satellite angle and altitude measuring system, Roger L Easton, Thomas B McCaskill, Navy, 1967-07-21,
342/156; 342/357.52; 342/127; 342/146 -

2020 March 27 Space Force:
USSF announces initial operational capability and operational acceptance of Space Fence - "...initial operational capability and operational acceptance of the Space Fence radar system, located on Kwajalein Island in the Republic of the Marshall Islands,... Information about objects tracked by the SSN is placed in the space catalog on www.space-track.org (requires mil login ID)....capable of detecting objects in orbit as small as a marble in low earth orbit (LEO)."

A parallel optical method of detecting satellites was the GEODSS (Wiki) system made by TRW.  Another was the Baker-Nunn camera (Wiki).

NOSS (Wiki)

Looking for patents.  This is an outgrowth of the HawkEye360 satellites.
Satorbs.org - NOSS Double and Triple Satellite Formations -
Paul D. Maley - Spy Satellites -
Wiki: SAR,

This was developed by the U.S. Navy in order to locate ships at sea anywhere on Earth.  It has been copied by China (Wiki: Yaogan). 

3806929 Method for the detection of radar targets, R Moore, Navy, 1974-04-23, -
4101891Surface roughness measuring system, Atul Jain, NASA, 1978-07-18, -
4204655 Broadband interferometer and direction finding missile guidance system, Joseph F. Gulick, James S. Miller, Alan J. Pue, Navy, App: 1978-11-29, Pub: 1980-05-27, 244/3.19; 342/375; 342/424- works as part of the guidance system of a rolling air frame missile.  Allows pointing an (optical?antenna) device at the source of the signal.  This needs to be done using a frequency independent method.
4292634 Real-time multiple-look synthetic aperture radar processor for spacecraft applications, Chialin Wu, Vance C. Tyree, NASA, 1981-09-29, -
4494211 Balanced system for ranging and synchronization between satellite pairs, Jay W. Schwartz, Navy, App: 1982-11-24, Pub: 1985-01-15, 375/356; 368/47; 375/358; 701/531; 702/89; 73/1.44; 73/1.45; 968/922 -
4450444 Stepped frequency radar target imaging, Donald R. Wehner, Michael J. Prickett, Navy, 1984-05-22, -
4633255 Method for sea surface high frequency radar cross-section estimation using Dopler spectral properties, Dennis B. Trizna, Navy, 1986-12-30, - 3 to 6 Mhz
4851848 Frequency agile synthetic aperture radar, Donald R. Wehner, Navy, 1989-07-25, -
5233354 Radar target discrimination by spectrum analysis, Duane Roth, Larry M. Morrison, Navy, 1993-08-03, -
5719584 System and method for determining the geolocation of a transmitter, James C. Otto, SPHERIX Inc (Harris), App: 1996-09-03, Pub: 1998-02-17, 342/465; 342/387; 342/457 - combines Time and Angle of arrival methods.  Cited by 71,80 other patents.
Ciatations:

3789413 Radio navigation system, G Ross, R Jacobson, Honeywell, 1974-01-29, - Angle of Arrival

4888593 Time difference of arrival geolocation method, etc., Joseph S. Friedman, John P. King, Joseph P. Pride, III, NSA (Signal Science), 1989-12-19, - Time of Arrival

5317323 Passive high accuracy geolocation system and method, Joseph P. Kennedy, Christopher D. Roller, Robert W. Hooper, Allen Telecom (E-Systems), 1994-05-31, - Time of Arrival - for cell phone location

5493308 Close range fault tolerant noncontacting position sensor, Dennis N. Bingham, Allen A. Anderson, Lockheed Martin (DOE), 1996-02-20, -
Time of Arrival

5526001 Precise bearings only geolocation in systems with large measurements bias errors, Conrad M. Rose, Kurt M. Dangle, Northrop Grumman Guidance and Electronics, 1996-06-11, - "Bearing rate of change, or equivalently bearing differences"

5596313 Dual power security location system, Victor P. Berglund, Richard R. Jaffe, Personal Security and Safety Systems, 1997-01-21, - First: Time of Arrival, then Angle of Arrival.

5986972 Beam pattern shaping for transmitter array, Peter C. Li, Navy, 1999-11-16, -
7646327 Synthetic aperture radar motion estimation method, Will Freeman, Duane Roth, Navy, 2010-01-12, -
8023760 System and method for enhancing low-visibility imagery, David L. Buck, Brian T. Williams, Elan Sharghi, Navy, 2011-09-20, -
8422738 Adaptive automated synthetic aperture radar vessel detection method with false alarm mitigation, John C. Stastny, Michael R. Hughes, Keith Pifko, Daniel Garcia, Bryan Bagnall, Heidi Buck, Navy, 2013-04-16, -
8958602 System for tracking maritime domain targets from full motion video, Corey A. Lane, Heidi L. Buck, Joshua S. Li, Bryan D. Bagnall, John C. Stastny, Eric C. Hallenborg, Navy, 2015-02-17, -

Spreadsheet

Nomenclature

In the Re column:

ASROC = Anti-Submarine ROCket (Wiki) started in service 1961
FAX = Fuel Air eXplosive (Wiki)
FFAR (Wiki) "Mighty Mouse" Folding Fin Aerial Rocket, 2.75" spin stabilized, used in Air-to-Ground roles
Fluidics Wiki
GlowStick = Glow Stick (Wiki)
HMD = Helmet-mounted display (Wiki)
JATO = Jet assisted take-off (Wiki)
PE Fuze = Photoelectric Fuze (precursor to radio proximity fuze)
ResBat =Reserve Battery
RWR = Radar Warning Receiver (see my RWR web page)
SADF = Safe and Arm Device + Fuze (Wiki)
Shrike = Shrike missile (Wiki)
SW = SideWinder (Wiki)
SWmfg = manufacturing equipment for Sidewinder
SWtest = test equipment for the Sidewinder
TRANSIT = TRANSIT satellite (Wiki)
TV =Television (Wiki)
VT Fuze = Proximity Fuze (Wiki) developed during W.W.II - Note can be used against aircraft or ground targets.  YouTube: Critical Challenge: A History of the Proximity Fuze presented by Stephen Phillips -
wEye = Wall eye (Wiki)

Patent Dates

Projects at China lake (it's not easy to correlate the patents with their project).  The below table is in more or less chronological order based on patent issue date.

Most patents are granted within a range of the same year to a few years after the application.  If the subject is a SECRET then the publication is delayed, in some cases forever, or other cases up to 40 years.  So whenever there's a long time delay between application (or priority) date and Issue/Publication date something special may be going on.

PS It's highly probable that most patents are granted on Tuesday.  I've never seen a non Tuesday publication date.  Be suspicious of a patent date that is not Tuesday.

Photoelectric Fuzes

PE fuzes were used on the 4.5" solid fuel M-8 rocket (Wiki). see Ref 7 for a lot of information on PE fuzes and some info on radio proximity fuzes.  The rocket was launched from the ground and Army Air Force planes.  2.5 million rockets were made for W.W.II.  The ground launched rocket was inaccurate.  The air launched rocket was inferior to the Navy 5" High Velocity Aircraft Rocket (Wiki: HVAR). 

The warhead for the HVAR included shells for the Navy 5"/38 gun.  Note these shells were fitted with radio proximity fuzes when used on guns so probably could also be used on the HVAR.

The TDU-11/B Rocket was used as a target for the Sidewinder missile. It was fitted with four 1" dia x 10" long flares.  The TDU-11 could be fired from the same plane that would launch the AIM-9 Sidewinder.

Frequencies

The tubes used in the proximity fuzes would work up to 200 Mhz.  The T-5 fuze for the M-8 rocket (Wiki) used three frequencies below that upper limit with code names of Red, Yellow, Green which were near the resonant frequency of the M8 rocket (Wiki).  It was 33" (0.838m) long.  If the resonant frequency corresponds to 1/2 wavelength then a wavelength is 1.676 m or a frequency of 179 MHz.  Ref 11 (pg 159).  Note Ref 11 was published in 1947 with a SECRET classification but the frequencies were at a higher classification, at least TOP SECRET.  Yet it's fairly easy to figure out.

For bombs the frequency codes were White and Brown.  Later a single frequency "Brown-20" was used for all bombs between 100 and 2,000 pounds.

Patent Table

Pat No.
Re
Title
Date
Inventor
Assigned to
Class
1388932
Aerial torpedo Aug 30, 1921 Hugo Centervall Optically Guided smart bomb

1506785

Gravity Bomb
Sep 2, 1924 Elmer A. Sperry
Remote Radio control

1858969
Electric (contact) fuse for projectiles May 17, 1932 Herbert Ruhlemann Rheinische Metallw & Maschf
2021491
Electrical pyrometer resistance Nov 19, 1935 Samuel Ruben Vega Mfg
2404553

Electric fuse and setting apparatus
Time only 5 - 30 seconds for bombs (not shells)
1946-07-23
5 year delay
Jr Nathaniel B Wales


2060206 PE Fuze Torpedo
Hammond Jr John Hays so torpedo explodes under center of ship

2137598 PE Fuze Artillery projectile - light activated

Mauritz Vos Ericsson Telefon Ab
Referenced by 52 patents

2193361 Doppler
High frequency apparatus Mar 12, 1940 Rice Chester W Gen Electric Wiki: Doppler RADAR
2242275

Electrical Translating System and Method (10 Ghz Oscillator?)

Russell H. Varian
Stanford Univ.

2255245
PE Fuze
Firing Device
Sept. 9, 1941
Clyde B. Ferrel
Federal Ordnance Inc.
Photoelectric Fuze w/built-in light
Referenced by 38 patents
a precursor to the Radio based fuze.

2272969
Prism Batt
Galvanic battery
1939-01-28
Harry F French
National Carbon Co

2310623
Polarimetric apparatus (measure optical rotation)

Roger S Estey Spencer Lens Co  
2330694
Spectrometer
Estey Roger S, Harper Kennard W    
2351743

Automatic fuse setting apparatus
1944-06-20
Ralph R Chappell, Rutger B Colt
Bendix Aviation
to set mechanical time fuze
2410832

Snap-on propeller
(quick on or off, application?)
1946-11-12
(2 year delay)
William B Mclean
Sec of War

2353716
Colorimetric apparatus
Estey Roger S, Harper Kennard W, Peck William F

2403567
Res Bat
or Gen
Electrically energized fuse 1942-01-13 Jr Nathaniel B Wales
may be first of this type
2403975
TV
Automatic following system
1946-07-16
(5 year delay)
Robert E Graham
Bell Labs

2404343 PE Fuze
Phototube and method of manufacture (Hi G)
Jul 16, 1946 Henderson Joseph E, Janes Robert B Secretary of Navy, Rca Corp
2404553
Fuze
Electric Fuse and Setting Apparatus
10 to 40 seconds in 3 ranges
July 23 1946
N.B. Wales Jr.


2406372

High-frequency apparatus (Z matching)
Aug 27 1946
William W Hansen, John R Woodyard
Sperry Gyroscope Co Inc
2406405
1N23
Coaxial condenser crystal and method of making same
1N21, 1N23 cartridge  type
Aug 27 1946
Frederick L Salisbury
Sperry Gyroscope Co Inc
2414103

Apparatus for controlling missiles in flight
bomb follows radar beam (Wiki: beam riding)
Jan 14, 1947
(6 year delay)
Hunter Paul B Sperry Gyroscope Co Inc
2414836 SADF
Timing unit for centrifugal switches Jan 28, 1947 Walter Rickmeyer Ernst Jefferson Electric Co
2414897 SADF Electrode attachment Jan 28, 1947 Walter Rickmeyer Ernst Jefferson Electric Co
2419828 SADF Setback switch Apr 29, 1947 Ferris Robert G Us Navy
2421085

Target seeking aerial bomb (early attempt?)
1947-05-27
Gregory V Rylsky
Bendix Aviation Corp

2421859

Mechanical time fuse
1947-06-10
Maurice P Whitney
Bendix Aviation Corp

2423885
Radiant energy detecting apparatus
(visible and thermal IR to locate ship)
Jul 15, 1947
(6 year delay)
Laurens Hammond  Referenced by 33 patents
 
2424390
VT
Switch
1947-07-22 Robert G Ferris
Secretary of the Navy set back operated switch for use in projectiles.
2428850 Battery
Deferred action dry cell with magnesium electrode
1947-10-14
(6 year delay)
Herbert E Lawson
 Burgess Battery Co

2434723 SADF mfg
Means for measuring volumetric samples Jan 20, 1948 Ellen L Shook not assigned

2435602
SADF Switch Feb 10, 1948
(4 year delay)
Walter Rickmeyer Ernst Jefferson Electric Co
2436601 SADF Switch element Feb 24, 1948 Walter Rickmeyer Ernst

2436602 SADF Timing switch Feb 24, 1948 Walter Rickmeyer Ernst

2441387
Doppler
Electronic squaring circuit May 11, 1948
( 4 year delay)
Berger France B, Higinbotham William A Jefferson Electric Co
2445306
Thermal
Battery
Electrolyte for primary cells comprising lithium bromide (Magnesium & silver electrodes)
1948-07-13
(5 year delay)
Herbert E Lawson
Department of Navy
see 2428850
2445594

Telecentric projection lens (tool makers)
1948-07-20
Harold F Bennett
Navy

2449862 SADF
Centrifugal circuit breaker Sep 21, 1948
(4 year delay)
Walter Rickmeyer Ernst Jefferson Electric Co
2455620 SADF
Centrifugal switch Dec 7, 1948
(4 year delay)
Sreb Jules H Sec of War -
2458470 SADF
Centrifugal unshorting device Jan 4, 1949
(6 year delay)
Flett William J, Hafstad Lawrence R Secretary of the Navy
2464181

Rocket device
1949-03-08
(6 year delay)
Charles C Lauritsen
Secretary of the Navy
2480563 SADF
Safety device for fuses Aug 30, 1949
(6 year delay)
Ferris Robert G, Jordan James D Us Navy
2496316
Rocket projector = Bazooka (Wiki, Shaped Charge)
Feb 7, 1950
(7 year delay)
Skinner Leslie A, Uhl Edward G Sec of War -
2498026 SADF
Mercury switch tester Feb 21, 1950 Brown Calvin F Secretary of the Navy
2498040 SADF
Setback switch Feb 21, 1950
(7 year delay)
Ferris Robert G, Jerdan James D Secretary of Navy
2501787 SADF
Closure and contact for mercury switches Mar 28, 1950
(5 year delay)
Walter Rickmeyer Ernst Jefferson Electric Co
2509527 SADF
Centrifugal switch May 30, 1950
(5 year delay)
Walter Rickmeyer Ernst Jefferson Electric Co
2509903
Fuze
Antenna and oscillator coil unit
(155 note spiral antenna coil)
May 30 1950
(7 year delay)
R.B. Brode, R.G. Ferris
Secretary of the Navy
2513157
Nose structure for projectiles Jun 27, 1950
(7 year delay)
Dike Sheldon H, Ferris Robert G Us Navy
2522536 ?
Mechanical acceleration integrator
Jacob Rabinow    
2523327
(airplane) Remote-control mechanism
Jacob Rabinow    
2527712
Doppler
SD
RADAR?
Electrical apparatus Oct 31, 1950
(5 year delay)
Dicke Robert H Sec of War -
maybe the SD radar used in subs

"to radio-echo detection systems of the
Doppler type "where the position of moving targets are determined" by changes in frequency of received signals."

2535274 RADAR Moving Target Indicator (MTI)
Dec 26, 1950
(5 year dealy)
Dicke Robert H Sec of War -
Plan Position Indicator (Wiki: PPI)
Moving Target Indicator (Wiki: MTI)

2534056 Res Bat
Deferred action battery Dec 12, 1950 Pitt Arnold (Canada)


2541603 SADF
Fuse
(threaded 2 pin spanner to install)
Feb 13, 1951
(8 year delay)
Nichols Harry J not assigned

2542430
Automatic regulation of timepieces
Jacob Rabinow    
2544685 VT Fuze test
Testing device Mar 13, 1951 Jackson Frank H Secretary of the Navy
2558000 SADF
Adjustable arming mechanism Jun 26, 1951 Jacob Rabinow    
2568762
Autofocus enlarger
Jacob Rabinow    
2575360
Magnetic fluid torque and force transmitting device
Rabinow Jacob    
2586861 SADF Arming cover for fuses (lockable, changes propeller arming)
Jacob Rabinow    
2593120 RADAR
Wave guide transmission system Apr 15, 1952
(7 year delay)
Dicke Robert H Us Sec War
Magic-T

2596171 SADF
Pressure switch for fuses (high air velocity)
Jacob Rabinow    
2597758 VT Test
Setback gauge May 20, 1952
(7 year delay)
Sreb Jules H Us Navy
2606248
Transmit receive device
Aug 5, 1952
(7 year delay)
Dicke Robert H Sec of War -
Wave guide T/R Switch

2611125 Doppler
Doppler radar system Sep 16, 1952
(7 year delay)
Dicke Robert H (Wiki)
Sec of War - looks like a microwave system that uses a "Magic-T" (see: 2686901)
maybe the SD radar used in subs

2615158

Radio object locating system
A-Scope display (Wiki)
1952-10-21
(9 year delay)
Edwin K Stodola
Sec of War -
2622713
High-speed magnetic fluid clutch
Rabinow Jacob    
2624836 Noise
Radio noise transmitter
(to test radar for jamming, or why?)
Jan 6, 1953
(8 year delay)
Dicke Robert H Sec of War -
2624876 Pulse RADAR
Object detection system Jan 6, 1953
(8 year delay)
Dicke Robert H Sec of War -
Chirp pulse to get narrow pulse and high Tx energy w/o arcing SJ Radar?

2629471
Radial flux magnetic fluid clutch
Rabinow Jacob    
2643333

Data transmission system
1953-06-23
(8 year delay)
Andrew B Jacobsen
Dept of Navy

2644364
Cartridge case containing propelling rocket igniting charge and rocket projectile
Nass Walter R    
2647465 SADF
Device to resist the disarming of bombs Aug 4, 1953 Jacob Rabinow Us Army  
2650237
Preparation of hexuronic acids and derivatives thereof
Elonza A Cleveland, Dean H Couch Corn Prod Refining Co  
2655033 Res Bat
Spin-testing device
(2-1/2" dia x 10" long: 50,000 RPM)
Oct 13, 1953 Burrell Ellis Secretary of the Navy
2655566
Explosion-proof acoustic device (use in mine)
Pittinger Abraham L    
2655867
Fuze
 (impact, see 1858969)
Oct 20, 1953
8 year delay)
Jordan James D Secretary of the Navy
2665896
Variable resistance acceleration sensitive device (accel transverse to travel)
Kirby Frank J, Vore Willis E    
2656401 Res Bat
Breaker mechanism for deferred action batteries Oct 20, 1953
(8 year delay)
Franklin L Everett Secretary of the Navy
2667237
Magnetic fluid shock absorber
Rabinow Jacob    
2682047 VT/PE Fuze
Electrical control system for ordnance fuzes
(propeller drives gen for B+ DC pwr: bombs & rockets)
Needed because no hi-G force to break glass
Jun 22, 1954
(9 year delay)
Allen Harold P Us Navy
2682567
Res Bat
Breaker mechanism for frangible ampule in deferred action battery Jun 29, 1954
(10 year delay)
Henry H Porter Us Navy
2686901 RADAR
Turnstile junction for producing circularly polarized waves Aug 17, 1954
(9 year delay)
Dicke Robert H Us Navy
Magic-T (Wiki) Wave guide junction

2687095
VT/PE Fuze
Electrically operated fuse
1954-08-24
(9 year delay)
Edward J Naumann US Secretary of Navy
2687482
Res Bat
Electric generator(for Prox fuze)
1954-08-24
(9 year delay)
Ralph N Harmon, Edward J Naumann US Secretary of Navy
2690913
Magnetic memory device (disk hard drive juke box)
Jacob Rabinow    
2692035
Self-adjusting clutch or brake
Jacob Rabinow    
2695365 SW
Regulating turbine AC electric generator
powered by hot gas generator
1954-11-23
Mclean William B  US Secretary of Navy  
2710578 SADF
Arming device Jun 14, 1955
(11 year delay)
Jacob Rabinow    
2711133 SADF
Fuse Jun 21, 1955
(10 Year delay)
Harvey Rines Robert

2712791
Switch Jul 12, 1955
(13 year delay)
John Workman Everly, Max Bieakney Robert Secretary of the Navy
2715007
Gimbal mounting
Eli A Zeitlin    
2715725 VT Fuze
Circuit tester for electronic fuzes for munitions Aug 16, 1955
(9 year delay)
Jackson Frank H Secretary of the Navy
2718603 SW
Reference voltage generator
(absolute position output)
1955-09-20
Mclean William B    
2725492
Dual range string accelerometer (meas + and - accel)

Wallace H Allan    
2725520 wEye
Electrical error detector
Woodworth William H    
2727140
Proximity fuse adjusting means
Height above ground based on impedance
Dec 13, 1955
(11 year delay)
Bell Richard A Philco Corp
2727605
Electrodynamically operated clutch and brake
Jacob Rabinow    
2728221
Apparatus for applying fluid pressure
Reuben G Klammer    
2730654
Automatic headlight dimmer insensitive to ordinary lights
Jacob Rabinow    
2731521 wEye
Magnetic amplifiers
 Crawford Jack A    
2732514 PE Fuze
Electron Tube
PE relay tube (combines PE & thyratron)
Jan 24, 1956
(12 year delay)
Joseph E. Henderson

2734384
Nutation Damper
Donald J. Stewart    
2743412 SW
A. C. power supply driven by hot gas gen
1956-04-24
William B Mclean  Sec of Navy
 
2743576
Propellant impelled turbine
Crockett Sydney Robert    
2743722
Free diving apparatus
Mclean William B    
2746352
Optical indicating device (auto colimator?)
May 22, 1956 Roger S Estey    
2750887
Motor mechanism for missiles (hi spin not sidewinder)
Marcus Stanley J  M16 MRLS (Wiki)? 4.5" dia
 
2752850
Self-propelled missile (3-Fin 2" dia) Gimlet
1956-07-03
Mclean William B, Warner Arthur H    
2760188 PE Fuze
Proximity control device
(minimizes low frequency noise in tube)
1956-08-21
(5 year delay)
Guanella Gustav, Guttinger Paul RADIO PATENTS Co
2761309
Method for determining high intensity transient stresses in impulsively loaded bodies
Pearson John, John S Rinehart    
2766662
Rocket with electrical contact of wire screen (not SW)
Marcus Stanley J, Mcclung Roderick M, Weinland Clarence E    
2768259 SADF
Inertia switch Oct 23, 1956 Bild Charles F, Young Felix H not assigned

2768874
Method of making hydroxylamine perchlorate
Robson Iii John H    
2769137
Single bias voltage curve shaping network
Creusere Melville C    
2770885
Contact indicator for adjustable spherometer
Mapes Joe M    

2775202
SW
Gyroscopic roll control system for aircraft
like Rolleron except pivot shaft is 90 deg to C.L.
1956-12-25
Sydney R Crockett
not assigned

2775942
VT Fuse
Self-destruction device (to protect nearby ships)
1957-01-01
Albert H Dell, John H Kuck, Jules H Sreb
Navy

2779287 SADF
Contact fuze (cluster bombs)
Andrews Laurence M, Jacob Rabinow    
2779288
Propellant powder and process for making same
Besser Eli D, Joseph Cohen    
2794756
Reinforced plastic article
Roy F Leverenz    
2795661
Spring wound mechanical intervalometer
Kielman Leo L    
2795705
Optical coincidence devices (data base)
Jacob Rabinow    
2798433
Stable sabot (fire missile from gun)
Allan Wallace H    
2798995 SW
Electric motor (Gyro rotor)
Gyro stabilized telescope of target seeker

Mclean William B    
2800592
Rotary scanner ( Nipkow disc (Wiki))

Jacob Rabinow (MD)    
2800794
Flowmeter
Meneghelli Hugo A    
2801585 SADF
Squib (to light rocket motor, no brisance)
Rex L Smith    
2809585
Projectile for shaped charges
Sidney A Moses    
2803885
Gauging apparatus (AEC tapered edges)
Ruggles Clarence A    
2804822
Attachment for rocket motors (safe shipping)
Meneghelli Hugo A    
2810097
Optimum sensitivity automatic biasing circuit (Headlight dimmer)
Jacob Rabinow (MD)    
2810519
Magnetic amplifier
Creusere Melville C    
2811074
Cylinder end angularity gauge

Jack H Davidson    
2813154
Telephone call indicator
Jacob Rabinow (MD)    
2820338
Constant periodic motion device
Jacob Rabinow (MD)    
2821396
Aerial tow target
Seeley Leonard W    
2821583
Intervalometer
Kielman Leo L    
2822145

Turbine rotor (use with 2743412)
has the look and feel of an gyro rotor
1958-02-04
William B Mclean
Secretary of the Navy
2822511 wEye
ASROC?
Magnetic integrator
Crawford Jack A, Mclean William B    
2822721
Shutter attachment for high speed cameras (Explosions)
William C Griffin, Theodore C Parker    
2827594
Color discriminating headlight dimmer
Jacob Rabinow (MD)    
2834922
Cellular method of electronic assembly
(Cord Wood)
May 13, 1958 Paul J Selgin Secretary of the Navy
2835631
Electro-chemical preparation of nitrosoguanidine
Metcalf Harold F, Whitnack Gerald C    
2840078
Sanitary napkin and holder
Smith Cuba I    
2847329
Sensitization of photoconductive cells by the use of indium vapor
Lloyd E Schilberg, George G Kretschmar    
2847502
Telescribing apparatus
Jacob Rabinow (DC) Telautograph Corp  
2851537
Audio system for drive-in theater
Jeung Jasper L, Rosenberg Harold W, Smith Hadyn L    
2851950
Rocket fin assembly (free flight rockets)
Aken Ray W Van, Drinkwater William D    
2851986
Machine for coating igniter lids
Herschelman Henry E    
2854744
Method of locking and sealing tubular structures rocket motor tubing
Crockett Sydney R    
2855473
Fluid operated switch
Jacob Rabinow (MD)    
2856852 VT Fuze
Proximity fuze
Harry Diamond, Hinman Jr Wilbur S (Top Secret 1944 - 1958)   102/214, 342/68
2859293
Acceleration responsive device (1st stage separation)
Marcus Stanley J    
2859913
Mail box flag
Paschke Henry A, Paschke William C    
2862660
Decimal converter (HP AC-4A?)
Robert B Purcell    
2863064
Scanning type headlight dimmer
Jacob Rabinow    
2863145 RWR
Spiral slot antenna
Turner Edwin M Secretary of the Air Force  
2864053 wEye
Silicon diode error detector
Woodworth William H    
2864056
Remote impedance indicators
Alfred B C Anderson, Walter H Barkas    
2865726
Explosive charge for delay fuze (attack airplane wing)
Jenkins Jr Hugh P, Shomate Charles H    
2866413
Non-propulsion attachment for rockets (safe shipping)
Roquemore Cass R    
2868287
Delay timer
Estey Roger S    
2872538 SW
Inertia arming switch (for missile)
1959-02-03
(15 year delay)
Mclean William B  Secretary of the Navy  
2872869

Rocket base fuze
not contact water, but after penetrating metal ship hull
1959-02-10
(9 year delay)
Volney K Rasmussen
Navy

2872870 SW
Igniter squib
Gey William A    
2877452

Telemetering transmitter for a projectile
1959-03-10
(15 year delay)
Allen V Astin (Wiki - NBS)
Navy

2878199
Phenol-aldehyde resins esterified with fatty acids
Erwin L Capener, Robert A Mohr General Mills  
2882822
Fuze housing Apr 21, 1959
(15 year delay)
Crane Clarence B Secretary of the Navy
2882897
Breathing apparatus
Mclean William B American Mach & Foundry  
2885635 SADF test
Apparatus for testing mercury switches May 5, 1959
(10 year delay)
Brown Calvin F not assigned

2889777 SADF
Electrical arming mechanism for fuses (missile safe & arm)
Jacob Rabinow    
2891120
Pressure actuated switch (main then sustainere rocket motor)
Saholt Orville J    
2892093 PE Fuze
Fuze Jun 23, 1959
(15 year delay)
Henderson Joseph E Secretary of the Navy
2892124
Noise discriminating, high gain automatic headlight dimmer
Jacob Rabinow (MD) (motor driven reticule)    
2894699
Toroidal coil winding machine
Onisko Jr John    
2898857 FE Fuze
Fuze Aug 11, 1959
(1 year delay)
Hafstad Lawrence R, Roberts Richard B Secretary of the Navy
2900242
Igniter for gas generator grains and propellants (does not crack grain)
Williams Harry, William A Gey    
2900906 SADF
Self-destruction device (rockets)
 Olsen Charles R    
2901525 Res Bat
Breaker mechanism for frangible ampoule in deferred action primary cell Aug 25, 1959
(16 year delay)
Franklin L Everett Secretary of the Navy
2901569 SADF
Centrifugal switch with fluent conductor for rotating projectiles Aug 25, 1959
(14 year delay)
Darr Samuel M Secretary of the Navy
2907028
apparatus for trajectory determination (sig amp ->interference patterns)
George Leitmann, Stirton Robert J    
2908171
Magnetic torque motor (precessing a gyroscope)
Biberman Lucien M    
2910645 SADF
Mercury switch spinner head timing unit Oct 27, 1959
(9 year delay)
Boncher Frank G, Sewell Ben W Secretary of the Navy
2911573
Multiple point altimeter for use with toss bombing integrators
Rabinow Jacob, William B Mclean    
2911639
PE Fuze
Grid-coupled oscillator for proximity fuze use
(prior art rain, fog, dust caused detonation)
1959-11-03
(8 year delay)
John J Hopkins, John H Kuck
Secretary of the Navy
2912933 SADF
Safety device (missile safe and arm)
Jacob Rabinow    
2914709
Photoelectrically actuated garage door opener
Rabinow Jacob (MD)    
2915315
Servo arm for phonograph pickups
Jacob Rabinow (MD)    
2917664
Automatic headlight dimmer with antioscillation circuit
Rabinow Jacob (MD)    
2916221
Coil winding machine
Onisko Jr John    
2918516 Res Bat
Deferred action battery containing frangible ampoule and breaker construction Dec 22, 1959
(14 year delay)
Franklin L Everett Secretary of the Navy
2918517 Res Bat
Deferred action battery
Dec 22, 1959
(14 year delay)
Franklin L Everett Secretary of the Navy
2920157
VT
Inertia switch
1960-01-05
(17 year delay)
Rabinow Jacob
William B Mclean
Secretary of the Navy operates upon sustained acceleration of the projectile in flight to close an arming circuit, and upon substantial cessation of the acceleration closes a second arming circuit, whereby the switch provides a dual safety factor.
2920568 SW
Turbo-generator system
Jacob Rabinow MD)    
2921521
Gas generator assembly
La Haye Frank, Ordahl Douglas D  Navy
 
2921524 SADF
Fuze safety device (safe & Arm)
Jacob Rabinow    
2921974
Res Bat
Deferred action type battery
1960-01-19
(17 year delay)
Lewis M Mott-Smith Secretary of the Navy
2922100
Wave energy translating system
(heat seeking
Jan 19, 1960
(16 Year Delay)
Raymond W Ketchledge Bell Telephone Lab
2924174
Combustible pre-spin turbine for spinner rockets
Mclean William B    
2925776
Combination amplifier and oscillator unit Feb 23, 1960
(16 year delay)
Ferris Robert G Secretary of the Navy
2927145
Electrolyte leveling system for deferred action type batteries Mar 1, 1960
(10 year delay)
Burrell Ellis Secretary of the Navy
2927213 PE Fuze
Electronic control circuit
(not effected by Sun)
Mar 1, 1960
(15 year delay)
Marion Thomas M, Streib John F Secretary of the Navy
2927259
transistor time delay device
Neal Conrad L    
2928347 SADF
Inertia arming switch
Mclean William B    
2929008
Electric motor (gyro rotor)
Wilcox Howard A    
2931300 VT
Radiant-energy projectile detonating system Apr 5, 1960
(13 year delay)
Lord William Burton Housley,
Tomlin George Maurice,
Turner Henry Cobden
Secretary of the Navy " Alternatively, the wave length of the signal can be made relatively so long that the relay operates when the distance be tween aerial and reflector is one-half wave length."
2931847
PE Fuze
Photoelectric cell mounting Apr 5, 1960
(15 year delay)
Robert K Dahlstrom, Daniel W Ross Secretary of the Navy
2931848 Res Bat
Breaker mechanism for deferred-action electrical batteries Apr 5, 1960
(13 year delay)
Burrell Ellis Secretary of the Navy
2931849 Res Bat
Method of manufacturing deferred action batteries Apr 5, 1960
(13 year delay)
Burrell Ellis Secretary of the Navy
2931868 VT Fuze
Electrical switch Apr 5, 1966
(14 year delay)
Helminak John E, Sreb Jules H Secretary of the Navy
for high G applications in projectiles

2931911 TV
Detector system for optical scanners (reticule + filters)
Nichols Lawrence W 250/226, 250/208.2, 359/891  
2933246
(optical) Reading machine
Jacob Rabinow (MD)    
2933889
Thrust cut-off apparatus for rocket motors (range limiting)
Tolkmitt Richard G    
2934015 SADF
Instantaneously variable electromechanical time fuze (limit range)
Herdman Donald F    
2934020 SADF
Free flight arming device (Zero G)
Jacob Rabinow    
2934287 PR Fuze test
Sonde
VHF transmitter sends audio
Apr 26, 1960
(14 year delay)
Ault John W Secretary of the Navy

2935947
SW
Three axis gyroscopic aerodynamic damping system
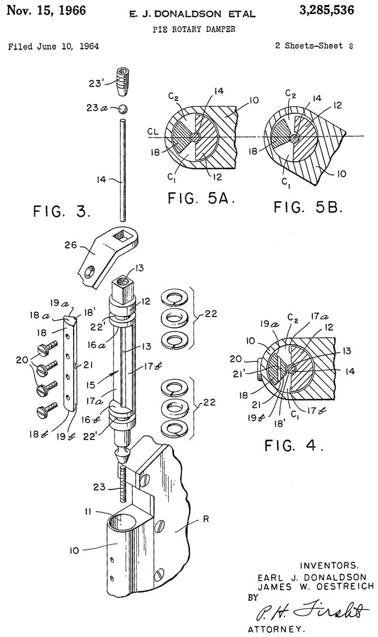
Rolleron (Wiki, YouTube1, YouTube2)
also see:
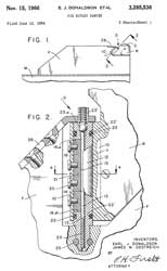
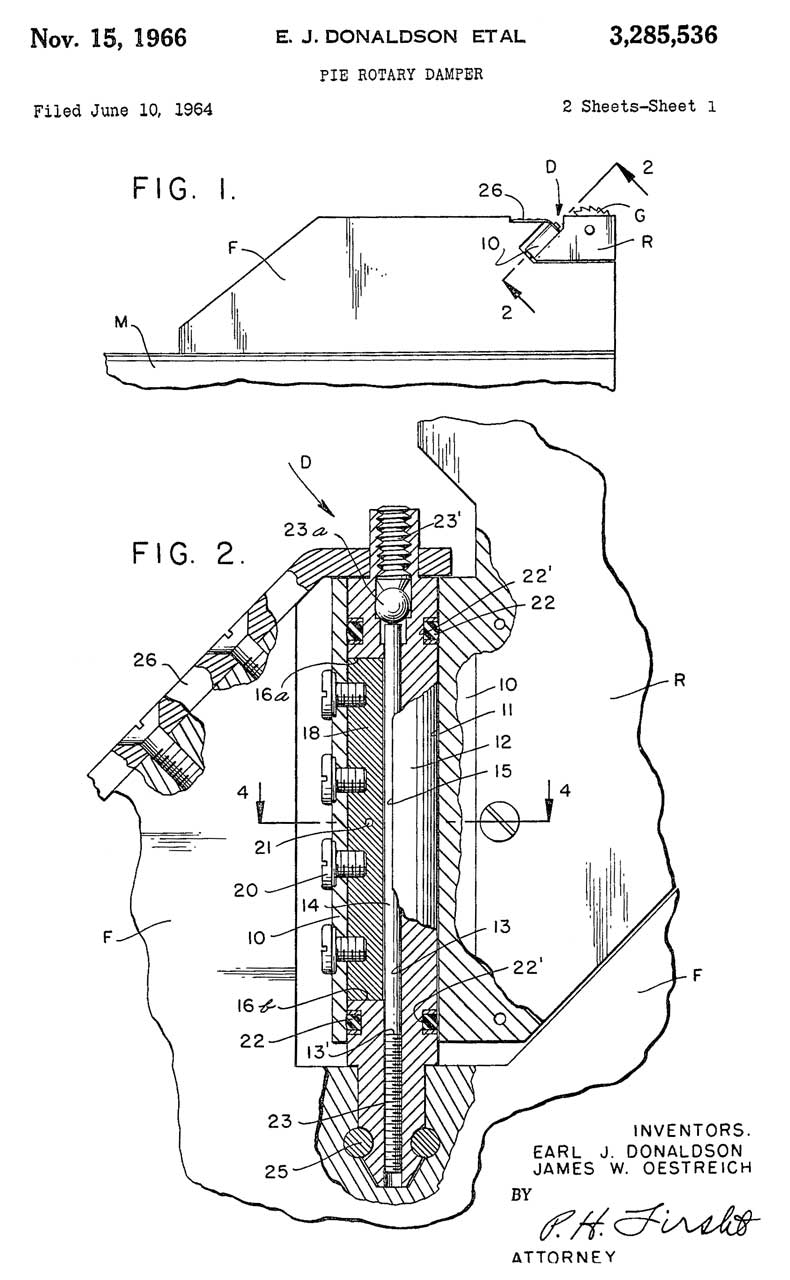
3285536 Pie rotary damper &
277520
Gyroscopic roll control system
10 May 1960 Leonard T Jagiello Secretary of the Navy
2935950

Release mechanism
For electric generator shaft w/setback to unlock
1960-05-10
(16 year delay)
William B Mclean
Secretary of the Navy
2938088 SADF
Time delay means for centrifugal switch May 24, 1960
(10 year delay)
Ellis Burrell Secretary of the Navy
2938461 SADF
Free-flight arming device (bomb & ?)
Jacob Rabinow    
2943572 PE Fuze
Fuze
Flett William J Secretary of the Navy
2944221
Transmitter final with series-tuned self-neutralized tank circuit (space - low wt & vol)
Madden James H, Robinson Gilhert G    
2944384
Self-actuated automatic regulation of timepieces
Jacob Rabinow    
2946261
Peripheral nozzle spinner rocket
Crockett Sydney R    
2946820
High bulk density nitroguanidine
Ronald A Henry, Cohen Joseph    
2947255
VT Fuze
Projectile choke

John H Kuck, Jules H Sreb
Navy
decouples antenna at tip of projectile from body
2948219 SADF
Rocket fuze
Sapp Winfred F    
2948923
High pressure, explosive-activated press (>hydr)
Rocca Edward W La, Pearson John    
2949819
PEfuze
Toroidal lens device
1960-08-23
(18 year dealy)
Kenneth D Smith
Bell Labs
The function of this unit is to detect the presence of an object such as an airplane in proximity to its path of travel due to an impulsive reduction in the amount of light incident on the cell and to cause the explosion of the explosive charge.
2950477
Bat?
(Wiki)
System for synchronization and range measurement with a semiactive radar guided missile
1960-08-23
Frederick C Alpers


2952158
SW
Photosensitive cell support
1960-09-13
Friedman Donald, Bernard L Sandberg
individuals, Navy

2952207
Rocket (which one? BC) rocket stabalization

Kamimoto Michael M    
2953302
Magnetic amplifier servo circuit
Davis Billy E    
2954670
Method of propellant stowage, arming and initiation of propellant flow for a liquid fuel propulsion system in a liquid fuel rocket motor
Dyer Gail M, Helus Richard R    
2954947
Rocket assisted pilot ejection catapult
Cecil A Glass, Richard J Zabelka    
2957574
Apparatus for continuously feeding articles of finite length (rocket fuel rods)

Roy C Compton    
2958135
Collision-course director (dive or toss bombing)
Charles T Lakin    
2959128 VT Fuze
Control device
also see:
3001476
Nov 8, 1960
(15 year delay)
Boykin John R Secretary of the Navy
2961933 SW test
Airborne cinetheodolite (missile near bomber)

Green Elmer E, Kinder Floyd A    
2963241 SW
Electrical gate phase discriminator (SW)
Edwin G Swann    
2963973 SW
Gyro optical system (Sidewinder IR tracker)
Roger S Estey    
2966316
Missile (air to ground Rem Ctrl flashlight In nose)
maybe a version of BAT
1960-12-27
(7 year delay)
William B Mclean, Newton E Ward  Secretary of the Navy  
2967217 SADF
Escapement arming switch (safe & arm)
Louis Alpert    
2972225
Motor mechanism for missiles (nozzle)
Cumming James M, Dyer Gail M, Noeggerath Wolfgang C    
2974598

Self destruction switch
destroys air-ro-air rocket after some time - propeller)
1961-03-14
(14 year delay)
William B Mclean
Sec of War

2977372
Process for preparing substituted tetrazoles
Robert H Boschan, William G Finnegan    
2977590 VT Fuze test
Method of testing a proximity fuze Mar 28, 1961
(8 year delay)
Lovick Robert C Secretary of the Navy
2979552
Res Bat
Deferred action battery
1961-04-11
(10 year delay)
John H Kuck
Navy
glass capsule at center of clinder
2979614 wEye
Sweep-memory voltage generator (based on magnetic amp)
Woodworth William H    
2980773 SADF
Lateral acceleration switch Apr 18, 1961
(9 year delay)
Leaman Audley B, Norman Czajkowski Secretary of the Navy
2981778 Res Bat
Spin activated deferred action battery
Ref
3170822
Apr 25, 1961
(12 year delay)
Freund John Mortimer Secretary of the Navy
2981779 Res Bat
Stack construction for deferred action type battery Apr 25, 1961
(12 year delay)
Freund John Mortimer Secretary of the Navy
2981780 Res Bat
Deferred action type battery with involute plates Apr 25, 1961
(11 year delay)
Jr Thaddeus C Burnette Secretary of the Navy
2982639
Explosive compositions (not sticky like RDX)
Gey William A    
2983800 SADF
Free flight arming device (zero G)
Jacob Rabinow (MD)    
2985105 SADF
Wind-operated delayed arming fuze (internal turbine) 1961-05-23
(14 year delay)
Jacob Rabinow, Mclean William B  Sec of War  
2985702 Res Bat
Deferred action battery
(VT Fuze bat)
May 23, 1961 Orville H Bell, Roswell J Bennett, Jr William G Darland, Russell P Fox, Charles E Ulrich Union Carbide Corp
formerly National Carbon Co.

2989576 Res Bat
Ampule breaker Jun 20, 1961
(11 year delay)
John C Jacobs Secretary of the Navy
2990507 SADF
Variable safe separation timer
Nuffer Harold D    
2992088
Slurry casting of high explosive content compositions
Burkardt Lohr A, Mclean William S    
2994270
AA
guidance
Anti-aircraft Defense Systems
Aug 1, 1961
(19 year delay)
Mury I. Hull
Sec of Navy
(light) Beam rider AA missile

2994271 SW
Fuze arming device
Hassel William F, Herdman Donald F, Meyer Silver    
2994597 SW
Slow burning propellent grain with polysulfide polymer coating
William A. Gey    
2996008
Projectile nose structure (whisker dipole antenna)
Aug 15, 1961
(17 year delay)
Allen James A Van, Ferris Robert G Sec of Navy
2996461 SW
Adhesive comprising polymerizable monomeric mixture, peroxide, cobalt naphthenate, and ethyl cellulose sorbate
Paul K Chung, Martin H Kaufman, James J Killackey    
3000262
Photoelectrically controlled rear mirror
Jacob Rabinow, Morse Arthur O Libman Max L  
3000314

Proximity Fuze (dielectric nose cone keeps water in clouds from causing triggering)
Sep 19, 1961
(15 year delay)
E. R. Sanders Sec of Navy
3001474 SW
Propellant servo and power supply for missile guidance (gas operated, constant torque)
The gas generator provides AC power and servo power.
1958-02-04
Crockett Sydney R, Mclean William B, Michael Kamimoto, Montank Howard A  Sec of Navy  
3001476
Magnetic fuze (bomb, atomic?)
also see:
2959128
Sep 26, 1961
(26 year delay)
Boykin John R Secretary of the Navy
3001186

Missile guidance system
1961-09-19
(10 year delay)
Otto J Baltzer
Secretary of the Navy
3016687
Safety automatic regulator for timepieces
Jacob Rabinow (MD) Libman Max L  
3001044 SADF
Low spin double purpose mercury switch Sep 19, 1961
(7 year delay)
Brown Calvin F Secretary of the Navy
3001718
Radar range converter (compensating gun sight)
Melville C Creusere, John H Gregory    
3004491 SW
Arming device (missile not rocket)
Davidson Jack H, De Santo James D, Place Eugene W Sec of Navy  
3008415

Hermetically sealed proximity fuze
1961-11-14
(12 year delay)
Nelson D Foley
Sec of Navy
3009152
Lead computing and scanning antenna (modified SW system) Nov 14, 1961 John M Boyle, John H Gregory    
3010815
Monofuel for underwater steam propulsion (bubbless torpedo)
Firth Pierce, Gey William A    
3011714 SW?
Settable magnetic integrator Dec 5, 1961 Wheeler Donald H Secretary of the Navy  
3012148 SW?
Infrared tracker 
Franklin Hummer Robert, Snyder Hartland S    
3016588 SW?
Contact bands for rockets Jan 16, 1962 Barnes Paul T, Weinhardt Robert A    
3016798 SW?
Compact achromatic telescope lens Jan 16, 1962 Lawrence Robert E    
3020710 SW?
Sealing means for rocket nozzles Feb 13, 1962 Herzog Stephen H    
3027842

Fuze
improvement on 3166015 (solder melted)
1962-04-03
(16 year delay)
John J Hopkins
Secretary of the Navy
3033020
Thermistorized apparatus for differential thermal analysis May 8, 1962 Leonard Guy W, Pakulak Jr Jack M    
3034745
Spin-axis stabilized space vehicle structure May 15, 1962 Donald J Stewart    
3035796
Dual thrust rocket booster tube May 22, 1962 Glass Cecil A    
3038973
Impact switch ( depth charge fuzing system) Jun 12, 1962 Alpert Louis    
3040661
PE Fuze
Projectile nose structure
Photoelectric Fuze
Jun 26, 1962
(18 year delay)
Ross Daniel W Secretary of the Navy
3041298 ?
Azeotropic esterification of phenolic resins Jun 26, 1962  Berglund Lawrence W, Capener Erwin L, Harrison Stuart A    
3041470 wEye
Horizontal sweep circuit for cathode-ray tube Jun 26, 1962 Woodworth William H    
3041665 SW?
Cross-head for inhibitor extrusion (propelent grain coating) Jul 3, 1962 Emery J Bowers, Rodney D Sutherland    
3045428 SW
Vortex gas turbine (improved Tesla 1061206)
Mclean William B Walter G Finch  
3045598 SADF
Ball set back detent Jul 24, 1962 Brown Calvin F, Campbell Richard T, Jackson Roderick M Secretary of the Navy
3046168
Chemically produced colored smokes (rocket tracer)
Lohr A Burkardt, William G Finnegan, Rex L Smith    
3048076
Method of inhibiting propellant

Erwin L. Capener    
3048109 SW?
Wing assembly Aug 7, 1962 Feemster John R    
3048970 SW
Plastic nozzle plate for missile motors Aug 14, 1962 Stephen H Herzog    
3050429 ?
Polyethylene inhibitor for propellant Aug 21, 1962 Jack H. Baxby Secretary of the Navy  
3051991 ?
Vacuum type potting fixture for coating articles (propelant grains) Sep 4, 1962 Hanzel Joseph W    
3052090 SW?
Heat shield and nozzle seal for rocket nozzles Sep 4, 1962 Stephen H Herzog    
3054253
Case-bonding of double-base propellant grain by using silicone elastomers Sep 18, 1962 Paul K Chung    
3054353
Segment grain Sep 18, 1962 Paul K Chung, Cecil A Glass, Norman L Rumpp    
3055780
Binder for explosive compositions Sep 25, 1962 Finnegan William G, Smith Rex L, Wiebke Armin T Secretary of the Navy  
3056003
Fluid operated switch Sep 25, 1962 Jacob Rabinow    
3064578 PE Fuze
Light-sensitive proximity fuze Nov 20, 1962
(18 year delay)
Hafstad Lawrence R, Henderson Joseph E, Roberts Richard B Secretary of the Navy
3068643
Rocket with internal rod
(double base propellant, Stanford, )
Dec 18, 1962 Camp Albert T    
3069546
Radiant-energy translation system
Thermal IR
Ref: 2414793
Method of making resistors (Wiki: thermistors)
Dec 18, 1962
(14 year delay)
Buntenbach Rudolph W Bell Telephone
3070017 PE Fuze
Photoelectric proximity fuse mounting Dec 25, 1962
(19 year delay)
Clark Earl K Secretary of the Navy
3072020
Propellant supply system for rockets and the like (rocket sled) Jan 8, 1963 Barnes Paul T, Keegel Charles P    
3077818
Breakaway suspension band (bombs?) Feb 19, 1963 Jr Carl E Rhodes    
3080815
Electrical squib separation device (initial expansion volume) Mar 12, 1963 Simshauser Anthony J    
3081050

Seeker system (air-ti-air missile, active radar seeker)
1963-03-12
Jr Edmund F Lapham, Ian H Mclaren
Bendix Corp

3083299
Apparatus for processing optically received electromagnetic radiation Mar 26, 1963 Cruse Philip M (rotating reticule) Santa Barbara Res Ct  
3088403
ASROC
Rocket assisted torpedo
1963-05-07
James T Bartling, Orville J Saholt, Smith Bernard
Navy

3089034 SW
Light sensitive detection circuit (temperature to tone) May 7, 1963 Meade Robert C    
3091923
Liquid propellant tankage Jun 4, 1963 Barnes Paul T    
3093157
Metering and mixing apparatus Jun 11, 1963 Aitken Adrien J, Rutkowski Eugene V    
3093523
Process for making extrudable propellant Jun 11, 1963 Besser Eli D    
3093821
Corvus?
(Wiki)
Control system for homing guided missile
(too many tybes to work)
1963-06-11
(11 year delay)
Frederick C Alpers, Fred S Atchison, Wilfrid A Yates


3095218 ?
High pressure gas connection and seal wherein said seal has collapse preventing means 3095218 Alton P Elder, Grand Theodore P Le    
3103784 ?
Plastic internal rocket nozzle Sep 17, 1963 Herzog Stephen H, Miller Ray A,
Vetter Ronald F
   
3104190 ?
Nitrocellulose propellants containing a dinitrile plasticizer Sep 17, 1963 Ernsberger Fred M, Kaufman Martin H    
3104262 HE
Alkyl ether of linear methylene nitramines Sep 17, 1963 Dolah Robert W Van, Gey William A    
3104324
Electro-optical scanning system for reading machines Sep 17, 1963 Jacob Rabinow MD) Rabinow Engineering Co Inc  
3107618
De-arming device Oct 22, 1963 Vanover James L    
3109110 ASROC
Rectifier-amplifier with built in clipping Oct 29, 1963 Lewis George R    
3110640 HE
New explosive compositions Nov 12, 1963 Dolah Robert W Van, Gey William A    
3112615 ASROC?
Electrical connector for boost sustained rocket motor (2 stage motor) Dec 3, 1963 Cook Harold G    
3113235 VT Fuze
Rugged vacuum tube (internal construction)
Dec 3, 1963
(19 year delay)
James A Van Allen, (Wiki) Raymond D Mindlin, Henry H Porter, Karrer Sebastian Sec of Navy
Van Allen belt 2744697 Cosmic ray altimeter

3113305 Prox Fuze
Semi-active proximity fuze Dec 3, 1963
(12 year delay)
Raff Samuel J, Trounson Edmund P depends on ground based tracking radar

3115008
Integral rocket ramjet missile propulsion system Dec 24, 1963 Cohen William, Jr Hugh P Jenkins    
3116691 VT Fuze
Proximity fuze
(rear antenna allows frequencies above 150 MHz)
Jan 7, 1964
(20 year delay)
Skaggs Lester S, Tatel Howard E Secretary of the Navy
3117231
SW
Optical tracking system
1964-01-07
Harold E Haynes
Secretary of the Navy
3117284 VT Fuze
Noise discrimination control circuit utilizing a volume control thermionic amplifier circuit Jan 7, 1964
(20 year delay)
Kuck John H, Thayer Robert H Secretary of the Navy
3117417
Two-stage valve (liquid fuel rocket w/IR sensor) Jan 14, 1964 Rutkowski Jr Eugene V    
3119097
(Pseudo Random) Electrical signal generator Jan 21, 1964 Tullos Frank N Jersey Prod Res Co  
3121748 ?
Long chain nitramine diols Feb 18, 1964 Gey William A, Reed Jr Russell    
3122462
Novel pyrotechnics (hi alt igniter or flare) Feb 25, 1964 Davidson Julian S, Kaufman Martin H    
3129424
Distance responsive device (proximity fuze or altimeter)
Jacob Rabinow    
3129767 ?
Torque converting propeller (hydraulic quiet) Apr 21, 1964 Mclean William B Walter G Finch  
3131298 ?
Diode multiplier network Apr 28, 1964 Creusere Melville C    
3136848 wEye
Vidicon with low impedance amplifier for extended high frequency response and improved signal to noise ratio (photo sensors work well into shorts)
Jun 9, 1964 Woodworth William H    
3136872
Gas operated ignition switch for a multi-stage rocket propelled missile Jun 9, 1964 Banaszak Lloyd J    
3137851
Gyro verticality interferometer (roll & pitch by RADAR) Jun 16, 1964 Keyes John C, Kirby Frank J    
3138129
Hydrodynamic electromagnetic propulsion (Hunt for Red October) (Wiki) (see: 2997013) Jun 23, 1964 Bankston Lester T, Jenkins Jr Hugh P    
3139750
Hydraulic force balance apparatus (motor testing) Jul 7, 1964 Howell Melvin D, Smith Max R    
3140207
Pyrotechnic composition (cloud seeding) Jul 7, 1964 Mary M Williams, Lohr A Burkardt    
3141727
Film-strip density curve plotting device Jul 21, 1964 Devereaux Jr Harry L    
3141936

Conductive springs and ball acceleration switch
(similar to ball in cage vibration sensors)

John M Boyle,
Earl J Donaldson
Secretary of the Navy
3143072 VT Fuze
Proximity fuze antenna Aug 4, 1964
(16 year delay)
Dell Albert H, Kuck John H, Sreb Jules H Secretary of the Navy
3150010 Res Bat
Electrolyte control for a battery
( looks like VT fuze bat)
Sep 22, 1964 Clark C Cleveland Secretary of the Navy
3152547 VT Fuze
Radio proximity fuze (Wiki)
Oct 13, 1964
(14 year delay)
Kyle John W   102/214
3152777
Jet propelled aerostat (hot air mylar balloon) Oct 13, 1964 William B Mclean    
3156579
Process for bonding salt to metal ballistic rod (ref 3068643) Nov 10, 1964 Baldwin John E, Capener Erwin L    
3156821
Method of monitoring low level radioactivity by the stimulated growth of bacteria Nov 10, 1964 Engel Rene L, Giorgio Soli    
3158676 SW
Gyroscope mounted cassegrain telescope with central support for secondary mirror Nov 24, 1964
(10 year delay)
Francis McCaffrey 
  359/857
3160752
Reflectometer for measuring surface finishes Dec 8, 1964 Bennett Harold E    
3161375 SW test
Solar cell look-angle detecting system (testing) Dec 15, 1964 Justin M Ruhge    
3161878 VT Fuze test
Apparatus and method for testing radio fuses
spinning plastic wheel with resonant elements
Dec 15, 1964 Quinlivan John E not assigned

3162127 SW
Delay train for fuze Dec 22, 1964 Sr Richard K Bianche, Bertram A Breslow    
3163726 SADF
Discs for the mercury unshorter switch Dec 29, 1964
(12 year delay)
Gilbert Ray John, Jackson Heights, Kalish Herbert S Syivania Electric Products Inc
3166015
VT Fuze
Radio frequency proximity fuze Jan 19, 1965
(22 year delay)
Roberts Richard B, Tuve Merle A Applied Physics Lab
Sec of Navy

3167015
Flash lamp ignited rocket Jan 26, 1965
(13 year delay)
Bernard Smith, Weinland Clarence E
   
3167652 SW test
Miss distance and vector measurement system
Weisbrich Jr Henry T    
3169003
Ejection seat apparatus Feb 9, 1965 Cecil A Glass    
3169084 Res Bat
Deferred action battery Feb 9, 1965
(18 year delay)
Dale C Gerber, Roy D Livingston, George M L Sommerman Secretary of the Navy
3170822 Res Bat
Deferred action type battery construction Feb 23, 1965
(16 year delay)
David L Babcock Secretary of the Navy
3176523
wEye
Two axis rate gyro (pitch & yaw telemetry)
1965-04-06
Thomas S Amlie, Earl J Donaldson


3178150
Bottom outlet valve for a mixing vessel Apr 13, 1965 Johnson Stanley L    
3181147
wEye
All-weather projectile fire control system-director mode
1965-04-27 Jack A Crawford, John H Gregory
Sec of Navy

3181814 SW test
Missile target intercept angle measuring system
Pittman Charles W    
3181822
"wheels-up" flare warning system
Foote Kenneth R, Russell Allen Sanford    
3188482 wEye
Stabilized servo system
Crawford Jack A, Woodworth William H    
3189823 ?
Transistorized transmitter employing a transmission line section Jun 15, 1965 Mitchell Jr James C    
3189907
Zone plate radio transmission system (telemetry ant) Jun 15, 1965 Buskirk Lylnan F Van    
3192476
Method and system for obtaining data regarding the surfaces of celestial bodies (mag tape telemetry) Jun 29, 1965 Mccarty Richard G, Nuffer Harold D    
3194686
Battery
Galvanic thermal battery cell
1965-07-13
(10 year delay)
Joseph C Jerome
Sec of Navy
2457860 Delay fuse compositions
3196794 SW
Piezo-electric fuze device (impace with fins denotates) Jul 27, 1965 Meade Robert C    
3196820
Torpedo craft (sound homing, rotating body) Jul 27, 1965 William B Mclean Walter G Finch  
3201937
Variable area orifice injector (thrust vectoring) Aug 24, 1965 Dean Mckee Richard    
3202386
Aerial cargo delivery device Aug 24, 1965 Mccullough Jr Foy    
3202557
Burn inhibitor for fluorocarbon bound propellants Aug 24, 1965 Martin H. Kaufman    
3206820
Lanyard operated latch (ref 2442374 Aeril bomb) Sep 21, 1965 Long Ernest T    
3209716
Speed reduction device for a screw-driven power boat Oct 5, 1965 Hartley Roy E    
3211588 Res Bat
Deferred action battery Oct 12, 1965
(19 year delay)
Marsal Paul Secretary of the Navy
3211911 PE Fuze
Method and (lateral) photocell device for obtaining light source position data (Ref 3181814) Oct 12, 1965  Ruhge Justin M    
3212256
Case bonding system for cast composite propellants Oct 19, 1965  Sampson Henry T    
3215352
Bi-propellant metering and injecting valve Nov 2, 1965 Meraz Jr Daniel    
3216674 SW app
Proportional navigation system for a spinning body in free space Nov 9, 1965 William B Mclean Walter G Finch  
3218975
Shaped charge liner (for rotating artillery shell)

2717552   Mortar
2741180  artillery shell (reduce problem of spinning)
Nov 23, 1965
(15 year delay)
Massey Mark F na

3218976
Multi-projectile warhead Nov 23, 1965 Nooker Eugene L    
3223777 wEye
Scanner system (Earth imaging from space - weather) Dec 14, 1965 Crawford Jack A, Woodworth William H    
3224249
Adjustable fixture for drop testing Dec 21, 1965 Bernard W Ford, Jr William J Switzenberg    
3224371 SW
Warhead for missiles Dec 21, 1965 Kempton Marvin L, Nooker Eugene L Secretary of the Navy
3224372 SW
Multi-projectile continuous rod warhead Dec 21, 1965 Nooker Eugene L    
3225172
Resistance welding process Dec 21, 1965 Galloway George W, Nooker Eugene L    
3225242 SW test
Infrared calibration lamp Dec 21, 1965 Ephraim Regelson    
3246185 SW
Piezoelectric installation Apr 12, 1966 Hinton Ray F    
3249050 SW
Continuous rod warhead May 3, 1966 Allen William W, Cordle Paul E, Moore Hiram E Secretary of the Navy
3262125
Protective headgear (aircraft carrier) Jul 26, 1966 William D Bowen    
3266603
Extreme environment hermetically sealed damper Aug 16, 1966 Kamimoto Michael M    
3269314 VT Fuze
Radio proximity fuze
(UHF remote control)
Aug 30, 1966
(24 year delay)
Varian Russell H Sperry Rand Corp
3273289 SW mfg
Aspheric surface generator Sep 20, 1966 Harold E Bennett, Ralph W Dietz    
3273835
Self-ejecting emergency chute recovery system (drone instruments) Sep 20, 1966 Lloyd J Holt, Harry L Myers    
3274393
Single modulation star tracker (see: MD-1 star tracker)
(Ref:  3002096)
Sep 20, 1966 Zuckerbraun Jacob S Kollsman Instrument Corporation  
3276379
Bonding material for propellant grains Oct 4, 1966 Dallett Lawrence R    
3276926
Composite polysulfide propellants containing additives for producing extremely fast burning
Robson Iii John H    
3279186
Thrust variation and vectoring nozzle Oct 18, 1966  Hoffman Herman J, Sippel Nathan J    
3281079
Transpiration cooling system actuating a liquefied metal by pressurized gas (rocket nozzle cooling) Oct 25, 1966 Robert L Mcalexander, Allen T Robinson    
3285536
SW
Pie rotary damper
Rolleron hydraulic damper
1966-11-15
Earl J Donaldson,
James W Oestreich


3288068
Triggered exploding wire device
(for igniting rocket motors)
Nov 29, 1966
(

Sec of Navy
3291864
Polytetrafluoroethylene composition containing vinylidene fluoride-perfluoroproylenecopolymer Dec 13, 1966 Judson B Eldridge, Elmo C Julian    
3295321
Method and apparatus for injecting a secondary propellant in multi-heat release combustors Jan 3, 1967 Krzycki Leroy J    
3295322
Hypergolic slug igniter (Wiki)
Jan 3, 1967 Joseph J Atkins, Robert J Geres    
3301187
Consumable materials
(burn rapidly at atmospheric pressure)
Jan 31, 1967 Butler Carroll W, Donaldson William E, Porter Harry B, Whitman Rosemary R    
3304030
Pyrotechnic-actuated folding fin assembly (Wiki)
This may be the 2.75" aircraft launched rocket.
FFAR YouTube XM-3 for UH-1
1965-09-24 James E Weimholt Jr Lawrence M Biggs Sec of Navy
3306556
TV
Automatic guidance system
1967-02-28
Richard F Kaufman
Sec of Navy
3309250
Temperature resistant explosive containing titanium and alkali metal perchlorate Mar 14, 1967 Charles W Falterman, William J Griffith, Harold J Gryting    
3311324 SW test
Destruct system for target aircraft (cuts off wing) Mar 28, 1967 Lloyd J Holt, Harry L Myers, Jr Gordon F Zurn    
3317181
Fully sealed, pressure operated metering valve May 2, 1967 Robbins Jr Roland W    
3327227
Shrike?
System for isolating multi-frequency signal components
1967-06-20
Sykes Langthorne, Estates Palos Verdes, Duane J Russell, Cyril D Hansen


3326226
Fluid pressure actuated valve Jun 20, 1967 Ray F Hinton    
3331203
Hydrazine propulsive method using lithium and ammonium perchlorate with metal Jul 18, 1967 Kaufman Martin H, Sims James R, Stull Bertram O    
3332353
Auxiliary igniter and sustainer Jul 25, 1967
(8 year delay)
 Lohr A Burkardt, William G Finnegan, Rex L Smith    
3336799
Free-floating apparatus for measuring and telemetering sea-wave characteristics Aug 22, 1967 Kermode David W    
3341653

Video (IR) tracker
1967-09-12
John R Kruse
Barnes Engineering

3343400
Impact test apparatus (high velocity)
Sep 26, 1967 Marvin E Backman, Rogers Bernice Parks, Robert G S Sewell    
3343491
Protective circuit for electrofiring devices Sep 26, 1967 Peters Jr Carl I    
3351017 SADF
Air-arming impact fuze Nov 7, 1967 Myers Jack A Us Navy
3352965
Method and means for enhancing camouflaged target detection utilizing light polarization techniques
(ground attack)
Nov 14, 1967  Paul C Driver, Robert E Fowler    
3353870
Method and apparatus for recovering a naturally occurring brine containing sodium carbonate Nov 21, 1967 Budke Carl P    
3356957
Hybrid amplifier (Mag + Transistor)
Wheeler Donald H    
3360726
Radiation responsive device (Ge diodes)
Peters Jr Carl I    
3362166
Bipropellant rocket combustion chamber Jan 9, 1968 Hoffman Herman J, Sippel Nathan J    
3362378 Glow Stick
Light extending product and process (Chem Sticks)
Bens Everett M Navy Usa  
3367129 SW
Switching circuit, of a type employing a four-layer solid state switching device (Cryostat control)
Freitag Walter E Navy Usa  
3368088
Standing-detonation wave magnetohydrodynamic electrical generator Feb 6, 1968 Krzycki Leroy J, Spindler Clinton L Navy Usa  
3370519 SW test
Method and means for removing an opaque film of atmospheric particles from before the lens of a camera Feb 27, 1968 Lawrence H Maschhoff, Garcia Thomas, Jr Lyman G Vance Navy Usa  
3371635
Submersible vessel (2-man powered recrational sub) Mar 5, 1968 Leonard W Seeley Nancy Lee Seeley  
3373363
wEye
Discriminator circuit responsive to a pulse position relative to a gate period
1968-03-12
Joseph S Brugler, William H Woodworth,
Sec of Navy

3374865
Snubber for deploying lines (parachute load) Mar 26, 1968 Craig Jimmie M Navy Usa  
3375148
Pyrotechnics comprising silver iodate, ammonium nitrate, nitrocellulose and nitrate esters (cloud seeding) Mar 26, 1968 William G Finnegan, Lohr A Burkardt Navy Usa  
3375176 Glow Stick
Chemiluminescent formulation Mar 26, 1968 Humiston Lee E Navy Usa  
3375376
Anti-intruder device using vibration responsive member between light and photocell Mar 26 1968
David W Kermode Sec of Navy
Outdoor Intrusion Detector
3380761
Quick disconnect coupling device (missile staging) Apr 30, 1968 Devender Jr Russell R Van Atomic Energy Commission Usa  
3382800
Linear-shaped charge chemical agent disseminator May 14, 1968 Biggs Jr Lawrence M Navy Usa  
3382803
Fuse (small munition, parachute dropped)
(Ref: 3351017)
May 14, 1968      
3388371
Sonic echo system Jun 11, 1968 Mclean William B Walter G Finch  
3388667 SADF
Contact fuze (missile safe & arm) Jun 18, 1968
(9 year delay)
Louis Voida, Tafel Robert E, Wilke Donald H Navy Usa  
3392672
Flare lighter (balloon or parachute) Jul 16, 1968 Noles Ronald C Navy Usa  
3402634 SW test
Instrument for measuring absolute reflectance and transmittance at cryogenic temperatures
Bennett Harold E Navy Usa  
3403873

Guided missile
Ramjet SAM
1968-10-01
Alfred J Bell, Ralph W Blevins,
Harvey J Everett, Jr William Garten,
Jr Everett J Hardgrave
Dept of Navy

3407320
Wafer type submersible motor for underwater device Oct 22, 1968 Mclean William B Walter G Finch  
3412403
Radiating tuned inductance coil antenna
Peters Jr Carl I    
3415190
Anti-disturbance fuse
Hart Otho E, Imm Lewis W Navy Usa  
3417455
Explosive welding (Wiki)
Dec 24, 1968 John Pearson Navy Usa  
3419628
Process for preparing fluorocarbon monomers Dec 31, 1968 Martin H Kaufman, John D Braun Navy Usa  
3420474
Method for collapsing an aerodynamic decelerating vehicle (baloon or parachute after load delivery) Jan 7, 1969 Jimmie M Craig, Ronald C Noles Us Navy  
3420695
Process for desensitizing metallic powders Jan 7, 1969 Dow Robert L, Rice George B Us Navy  
3421111
Voltage controlled field-effect transistor L-C oscillator Jan 7, 1969 Joseph Jacob Boyajian Us Navy  
3425353 SADF
Arming and safety mechanism for a drag chute retarded bomb Feb 4, 1969 Halling Michael A Us Navy  
3431147 Res Bat
Platform style ampule breaker
(diagram matches VT fuse reserve bat description)
Mar 4, 1969
(9 year delay)
Clark C Cleveland Us Navy
3431820

Grenade launcher
tripod mounted, belt fed
Mk 19
1969-03-11
George M Chinn
William P Schnatter
Henry F Watson
Department of Navy

3432359
Res Bat
Setback activated,spin filled galvanic battery
1969-03-11
Clark C Cleveland, Harry F French
Navy

3434419
Rocket assisted projectile with movable piston base plate Mar 25, 1969 Dimond Robert M, Payne Howard H    
3435549
40mm
Pump type tubular magazine repeating firearm
1969-04-01
Alfred F Kermode


3437035
Method and apparatus for disseminating fluid from vehicle in flight Apr 8, 1969 Weimholt James E Us Navy  
3437041 Fuze
Supersensitive impact sensor Apr 8, 1969 Hart Otho E, Miller Samuel A    
3440115
Shock-gel process for preparing plastic-bonded explosives Apr 22, 1969 Falterman Charles W, Stanton Horace D Us Navy  
3448653
Quick disconnect Jun 10, 1969 Jack A Myers Us Navy  
3450155 SW?
Frictionless relief valve (Cryo?) Jun 17, 1969  Froehner Warren P, Huffman Delbert W, Swallow Robert E Us Navy  
3453617
Shrike
Switchable linear-circular polarized monopulse radar feed producing two axis (three-dimensional tracking) information utilizing a two-lobe monopulse design
1969-07-01
Robert H Begeman, Orville G Brickey, Charles W May, Richard E McCormick
Dept of Navy

3457329
Inert simulant composition for a plastic bonded explosive Jul 22, 1969 Wallace E Silver, Jack Sherman Us Navy  
3460507 Glow Stick
Piston expelled chemiluminescent water signal dispenser Aug 12, 1969 Little Steven M, Mcgowan Marvin E Us Navy  
3468256 SW
Impact fuse assembly (to explode when hitting ground) Sep 23, 1969 Vanover James L Us Navy  
3469260 SW test TV
Remotely monitored and controlled airborne television system Sep 23, 1969 Holt Lloyd Junior, Myers Harry L Us Navy  
3469805
Method for inflating a balloon Sep 30, 1969 Craig Jimmie M, Pohl Russell A, Yost Paul E Us Navy  
3473135 TV
Variable reference video amplifier Oct 14, 1969 Hughes Richard S Us Navy  
3474264
Circuit for varying the hysteresis of a schmitt trigger Oct 21, 1969 Hughes Richard S Us Navy  
3474267
Piezoelectric transducer
(Villari effect (Wiki) feedback)
Oct 21, 1969 Colberg Stephen R Us Navy  
3474986 wEye
Two-degree gyro for a television camera Oct 28, 1969 Donaldson Earl J Us Navy  
3476012 SADF
Arming wire assembly (2-stage rocket)
Nov 4, 1969 Lloyd J Jackson Us Navy  
3477666

Guidance system (RIM-2 Terrier?)
active radar seeker, many tubes,
CW interferometric homing system, Doppler gating
1969-11-11
(9 years delay)
Robert L Kent, Rosario S Badessa, Carl Barus, Joseph M Dunn, Raymond Arthur Glaser, Leonard B Johnson
Dept of Navy
each component has a designation, so this may be an actual fielded system.
3480233

Missile guidance method and apparatus
"X" form fixed antennas at nose
1969-11-25
(15 year delay)
Lan J Chu
Dept of Navy
3489318
Buoyancy system (hydrazine) Jan 13, 1970 Herman S Kunz, Jay Witcher Us Navy  
3490023
Induced doppler direction finder Jan 13, 1970 Weisbrich Henry T Jr Us Navy  
3490374 SW
Continuous rod warhead Jan 20, 1970 Nooker Eugene L Us Navy  
3491694
Plastic liners for controlled fragmentation Jan 27, 1970 Fountain Gilbert Us Navy  
3493284 SW test
Variable apertured radiating diffusing integrating cavity Feb 3, 1970 Michel A Vernon-Cole Us Navy  
3494577
Tomahawk?
Map matching guidance system
Feb 10, 1970
Robert P Moore
Us Navy
3497578
Method of forming articles to close dimensional tolerances in a hydrostatic press Feb 24, 1970 Cecil A Glass, Wallace E Silver Us Navy  
3497619
Digital data transmission system (LAN UTP 10-base-T?) Feb 24, 1970 Babcock Gary C Us Navy  
3498218
Bomblet (chemical delivery) Mar 3, 1970 Myers Jack A Us Navy  
3498224
Shrike
Fragmentation warhead having circumferential layers of cubical fragments
1970-03-03
Paul E Cordle, Richard P Birge
US Dept of Navy

3499716 SW test
Wide range absolute reflectometer Mar 10, 1970 Bennett Harold E Us Navy  
3500401 RWR
Radar detection device  (APS-54?)

Elliott Denman R, Miller Gerald O Us Navy  
3504632 ?
Time delay fuze (can not be disarmed)
Apr 7, 1970 Clapp Robert L, Forster Robert H, Quist Donald G, West Gaylon L Us Navy  
3507055 SW dev
Missile tracking simulator Apr 21, 1970 Arriola William A, Claunch M Wayne, Regelson Ephraim Us Navy  
3507707 Res Bat
Reserve battery Apr 21, 1970 Allan M Biggar Us Army
3508019 SADF
Apogee sensing switch (fancy ball in cage)
Apr 21, 1970 Crockett Sydney R Us Navy  
3508051 SW app
(False IR color) Employing a plurality of dichroic mirrors to produce a three-color image Apr 21, 1970 Lamar Jesse, Nichols Lawrence W Us Navy  
3518942
Shrike
precursor?
Antiaircraft projectile
(antiaircraft projectile which is not adversely affected to any great extent by altitude variations, that is to say, the structural damage caused by this projectile is about the same at high altitudes as it is at low altitudes.)
1970-07-07
(10 year delay)
Vasil Philipchuk
Department of Navy

3520218
Transistor cap remover (based on pipe cutter) Jul 14, 1970 Tolkmitt Richard A Us Navy  
3524410 VT Fuze
Oscillator-detector device Aug 18, 1970
(20 year delay)
Erath Louis W, Plotkin Gerald N Us Navy
3528864
High impulse explosives containing tungsten Sep 15, 1970 Weinland Clarence E Us Navy  
3529291 TRANSIT
Synchronized sequence detector (Barker PR Word Generator) (Ref 3119097) Sep 15, 1970 Claude W Brown Us Navy  
3530478
Shrike
Frequency independent log periodic slot multi-mode antenna array
1970-09-22
Robert G Corzine, Joseph A Mosko
Dept of Navy

3533551
Bomb ballistic slide rule (total lead angle) Oct 13, 1970 Cole Roy D, Rogers Alexander K Us Navy  
3539740
Anti-disturbance switch (ball in cage) Nov 10, 1970 Isenor Ernest H, Karsten Carl G, Kearsley Joseph B, Moe Richard G, Smith James W Honeywell Inc, Air Force, China Lake
 
3546609
Linear wide band discriminator (100% bandwidth)
See: Aertech
Dec 8, 1970 Boyajian Joseph J Us Navy  
3551222
Coated water soluble inorganic oxidizers Dec 29, 1970 Carroz John W, Kaufman Martin H, O'drobinak John D Us Navy  
3553432 SW
Heated dome window (Prevent ice and RFI) Jan 5, 1971 David N Livingston, Max R Smith, Charles T Newmyer Us Navy  
3554129 wEye
Optical fusing system (missile warhead) Apr 27, 1971 Alpers Frederick C Us Navy  
3566026
wEye?
Automatic acquisition and tracking system
1971-02-23
Robert L Bonebreak, David B Park, Phillip R Tulloh
Hughes

3566794

Controlled fragmentation of multi-walled warheads
1971-03-02
John Pearson, Robert G S Sewell,
Richard T Carlisle
Dept of Navy

3569625

Telemetry data transmission system
(secure transmission of telemetry data)
1971-03-09
(10 year delay)
T Burr Jackson
Dept of Navy
3574258
Shrike
Method of making a transreflector for an antenna
1971-04-13
Charles W May, Franklin A Porter,
John W Pickett
Dept of Navy
3576604
Method of heat detection (color change only while at temp)
Hammond Peter R Us Navy  
3576944 SW app
Scanning radiometer with plural reference sources (scanning long IR fast response) May 4, 1971 Labaw Kenneth B Us Navy  
3590231
Digital (Function) signal generator using digital differential analyzer techniques Jun 29, 1971 Wenzl Bernard P Us Navy  
3596603
Method of dispersing bw/cw or other materials Aug 3, 1971 Gryting Harold J, Robbins Robert C, Stevens Lewis A Us Navy  
3598203

Spring applied, electric released brake
use with gyro torquer motors)
1971-08-10
Earl J Donaldson
Dept of Navy
3560642 Sat TV
Television satellite system
George B Bush, Irvin H Schroader, Charles J Swet, Theodore Wyatt Us Navy  
3610099
Flueric diode (Wiki)
Oct 5, 1971 Ankeney Dewey P Us Navy  
3611940 VT Fuze
Simplified proximity fuze and/or howitzer shells Oct 12, 1971
(23 year delay)
Hopkins John J, Thayer Robert H Us Navy 102/214, 342/68
3613581
Explosive device for perforating high-strength metal plates (Ref 2809585 Bazooka (Wiki) Oct 19, 1971
(6 year delay)
 Cosner Lawrence N, Mclean William B, Pearson John Us Navy  
3614781

Dual channel doppler frequency-selective fuze system
1971-10-19
(15 year delay)
Samuel W Lichtman
US Navy

3614782

Noise-modulated fuze system
1971-10-19
(13 year delay)
Donald J Adrian
US Navy
3614783

FM cross-sideband fuse system
(
FM Doppler fuse system Wiki)
1971-10-19
(13 year delay)
Donald J Adrian
US Secretary of Navy
3617015 HMD
Head-coupled missile-aiming device (Wiki)
Nov 2, 1971 Kinder Floyd A Us Navy  
3620072

Restraining collar device for squibbing missile motors Nov 16, 1971 Albers Francis L, Barrett Allan G Us Navy
3620162
Rifle launched rocket (w/bullet catcher) Nov 16, 1971 King Paul C Us Navy  
3621784
Optical system for an infrared missile fuze Nov 23, 1971
(16 year delay)
Mundie Lloyd G Us Navy
3622814 SADF
Negatively charging piezoelectric power supply Nov 23, 1971 Thomas E Carlson Us Navy
3623375
wEye
Gyro-nutation damper
1971-11-30
William H Woodworth, Jack A Crawford, James Parmerlee
Dept of Navy

3624365 wEye
Vertical attitude measuring device (gyro + accelerometer) Nov 30, 1971 Woodworth William H Us Navy  
3626581

Wire wound conical liner for shaped charge warhead Dec 14, 1971 Clarence E Weinland Us Navy
3626697
Method and means for controlling the thrust in a solid propellant rocket motor Dec 14, 1971 Chafin Lane Curtis, Nunn Robert H Us Navy  
3634154
Solid propellant composition containing gelled hydrazine Jan 11, 1972
(9 year delay)
Burdette George William Us Navy  
3636874
Method and means for dispersing chemical agents Jan 25, 1972 Gey William A, Wiebke Armin T Us Navy  
3639183 SW
Gas generator compositions (electric generator) Feb 1, 1972 Crescenzo Frank G, Dow Robert L Us Navy  
3640070
Hybrid propellant system Feb 8, 1972 Martin H Kaufman, John D O'drobinak, James O Dake Jr Us Navy  
3640785
Castable fluorocarbon binders for propellants Feb 8, 1972
(8 year delay)
Kaufman Martin H, O'drobinak John D Us Navy  
3646597 JATO
Variable thrust propulsion engine Feb 29, 1972 Feemster John R United Technology Center  
3651325
wEye
Image stabilization system
1972-03-21
Frederick C Alpers
Dept of Navy
3651326
wEye
Passive electro-optical seeker - only scans a circle
1972-03-21
Frederick C Alpers
Dept of Navy

3650857
Gelled amine rocket fuels Mar 21, 1972 George William Burdette, Dean Henry Couch Us Navy  
3660594 TV
Line-scan television system employing spectrum analysis May 9, 1972 Marsh Lawrence B Us Navy  
3661047
Apparatus for casting thin walled hollow cylindrical inserts May 9, 1972 Sherman Jack, Silver Wallace E Us Navy  
3661083
Device for rapidly mixing and agitating chemicals in sealed containers (just prior to missile launch)
May 9, 1972 Weimholt James E Us Navy  
3661347 wEye
Gain changer (missile control system)
May 9, 1972 Crawford Jack A, Woodworth William H Us Navy  
3661525
Process for neutralization of amorphous boron May 9, 1972 Gonzales John, Lee Benjamin Y S Us Navy  
3670656
SADF
Fuze arming device
1972-06-20
(7 year delay)
William J Donahue, David L Blanchard, John M Wack


3671341
Dense propellant composition Jun 20, 1972 Dierolf Arthur Jack Us Navy  
3676581 Space
Optical scanning spacecraft system Jul 11, 1972 Swet Charles J Us Navy  
3678308

Scanning device
1972-07-18
Spencer D Howe
Hughes

3683385 Shrike
Direction finding antenna system
 (Spiral Ant + 4 detectors)
Aug 8, 1972 Corzine Robert G, Mosko Joseph A Us Navy  
3697434 GlowStick
Chemiluminescent spray formulation (Wiki, GlowStick)
Oct 10, 1972 Shefler Sydney Us Navy  
3699892 VT Fuze
clockwork
Controlled variable time radio proximity fuze Oct 24, 1972
(21 year delay)
Kopec John C, Schmitt Henry O Jr, Tenney Frederick H Us Navy
3706867
Electronic anti-intrusion device (see: Geo-ID)
Dec 19, 1972 Bianchi John, Bohacz Maxine, Lyon Jerry, Pitman Robert L, Rand Henry T, Shaw Donald N, Less « Us Army  
3706935
Pulse repetition frequency detection and lock-on system Dec 19, 1972 Hughes Richard Smith Us Navy  
3712054 anti-SW
Method for suppression of heat radiation Jan 23, 1973 J Crecelius, E Regelson, H Sumnicht Us Navy  
3712061
Vortex baffle (spinning rocket)
Jan 23, 1973 Dillinger R, Thorsted K Us Navy  
3712228 Shrike
Target marker warhead (prior warhead did not work well) Jan 23, 1973 Burford M, Handler G Us Navy  
3713383
Dispersal technique for cw bw agents Jan 30, 1973 Crescenzo F, Gey W, Wiebke A Us Navy  
3714498 wEye
Television camera (electrostatically deflection) Jan 30, 1973 Woodworth W Us Navy  
3715398 HE
Process for recrystallizing diaminotrinitrobenzene Feb 6, 1973 Kaufman M Us Navy  
3717098 Fuze
wEye
Warhead breakup sensor 1973-02-20
Cordle P, Davis E, Higuera R, Lockwood D, McCubbin M Us Navy  
3717878 RWR
(Log) Spiral antenna Feb 20, 1973 Mosko J Us Navy  
3718508 Res Bat
Deferred-action battery comprising a perforated ampoule sealed with removable plugs Feb 27, 1973 S Levine US Government

3720168 Shrike?
Elliptical warhead (Shrike? roll-stabilized air-to-surface missile)
Sylwester A Us Navy  
3721192
Shaped charge Mar 20, 1973 Mallory H, Mc Ewan W Us Navy  
3722415
Electrostatic contact fuze
AA missile (which one?)
Mar 27, 1973
(9 year delay)
Lunt W Us Navy
3722416 Fuze
Fuze function selection and firing system (missile)
Mar 27, 1973
(9 year delay)
Brown M, Lunt W Us Navy  
3724319 FAX
Fax (Fuel Air eXplosive) minefield clearing device Apr 3, 1973 Smith L, Zabelka R Us Navy  
3725576 wEye
Television tracking system Apr 3, 1973
(11 year delay)
Woodworth, J Crawford, G Lewis Us Navy  
3726802 GlowStick
Low temperature chemiluminescent formulations Apr 10, 1973
(8 year delay)
Bens E, Morley C Us Navy  
3727569
ASROC
Missile
1973-04-17
14 year delay
H Johnson, H Silk,
US Navy

3727861
Method and apparatus for suppression of antiaircraft fire (IR seeks hit gun barrel)
Apr 17, 1973 Swann E Us Navy  
3728169
Encapsulation of nitronium perchlorate employing ammonia to form ammonium perchlorate Apr 17, 1973
(10 year delay)
Diebold J Us Navy  







3728270 GlowStick
Chemiluminescent formulation containing inorganic salt solution Apr 17, 197
(8 year delay)
Bens E, Morley C Us Navy  
3728724 TV
Adaptive swept-frequency active radar seeker
anti-ship or land target, FM CW
1973-04-17
F Alpers
Dept of Navy

3728478
Electro-optical tracker Apr 17, 1973 Quist D, Turner D Us Navy  
3729150

Missile guidance system
1973-04-24
(12 year dealy)
R Conger
US Secretary of Navy
3729350
Composition for forming cloud of in-capacitating agent upon detonation (riot control &Etc.)
Apr 24, 1973 W Gey (China Lake) Us Navy  
3732132
Extrudable fluorocarbon propellants May 8, 1973
(9 year delay)
R Merrow, E Julian, J Eldridge, G Rice, R Dow, C Rodgers, B Stull Us Navy  
3732413 GlowStick
Light producing device (metal can with easy off lid) May 8, 1973
(8 year delay)
Humiston L, Little S, Mills J, Shefler S Us Navy  
3732564 VT Fuze
Pulse doppler fuze (8 tubes) Also see:
3849778 Pulse doppler fuze (6 tubes - 24 yr)
4194203 Pulse doppler (4 tubes - 29 yr)
4203365 Prox fuze w/jamm resistance (26 yr)
May 8, 1973
(22 year delay)
Kuck J, Mccord W (Top Secret 1951- 1973) Us Navy 102/214, 342/68, 342/16
3734982
Process for case bonding cast composite propellant grains May 22, 1973
(11 year delay)
Sampson H Us Navy  
3736376

Automatic control system for video tracker
1973-05-29
P Kato
Hughes

3738273 SADF
Safety-arming device Jun 12, 1973
(13 year delay)
Hoelzen W Us Navy  
3742701
Propellant injector assembly Jul 3, 1973 Feemster J, Langenborg N Us Navy  
3742812
wEye
Method of aiming a television guided missile 1973-07-03  W Woodworth, R Cunningham US Secretary of Navy
3742859
Explosive charge Jul 3, 1973  Burkardt L, Finnegan W, Larocca E, Mcewan W, Mclean W Us Navy  
3753811
Igniter composition Aug 21, 1973
(16 year delay)
Crescenzo F, Julian E, Meyers B, Meyers R    
3756538 SW
Guided missile (7 drawings)
Sep 4, 1973
(16 year delay)
W McLean Us Navy  
3764923 wEye
Automatic (Video) pulse level control
M Moulton, J Whittington, W Woodworth Us Navy  
3767489
Nitrasol propellant
Davidson J, Reinhart J, Stump W Us Navy  
3774540
Terradynamic brake (Spikebuoy?) Nov 27, 1973 Bernardin R, Burford M, Simpson R Us Navy  
3775735
Apparatus for scanning an underwater area (minimize backscatter)
C Funk, I Lemaire, F Marrone, J Sutton (San Diego) Us Navy  
3813670
Shrike?
High resolution range tracking circuit
1974-05-28
F Alpers Dept of Navy

3782285
Flare cartridge (IR countermeasure ejected from planes) Jan 1, 1974 Froehner W Us Navy  
3879504
Method for injection molding of explosive and pyrotechnic material Apr 22, 1975 David A Colpitts, Jack Sherman, Ronald R Vigneault Us Navy  
3802971
Pyrotechnic formulations for weather modification comprising a mixture of iodates (Wiki)
Apr 9, 1974 L Burkardt, C Stanifer, W Finnegan, F Odencrantz Us Navy  
3820463 Grenade
Shotgun Grenade
Jun 28, 1974   Us Navy  
3820953
Method for measuring liquid particle distribution from fogs clouds and sprays Jun 28, 1974 C Drew, Ewan W McLean Us Navy  
3821043
Hydrazine gel composition Jun 28, 1974 N Sippel Us Navy  
3821737 VT Fuze
Ratio (sic: Radio) fuze (altimeter type) Jun 28, 1974
(19 year delay)
Kalmus H (Top Secret 1955 -1974) MICRON SEMICONDUCTOR 342/68, 342/91, 102/214
3823901

Aerial launch system
(for helicopter)
1974-07-16
D Knutsen, K Holmes, J Knepshield
Dept of Navy

3827656
Protective weapon for attack aircraft Aug 6, 1974 Bush J, Dettling R, Zulkowski T Us Navy  
3829859 VT Fuze
Low-noise fuze Aug 13, 1974
(20 year delay)
Goldberg H, Kalmus H, Sanders M (top Secret 1954 - 1974)   342/68, 102/214
3833905 VT Fuze Proximity fuze
balanced for carrier elimination
Sep 3, 1974 Apstein M Us Army
3849778 VT Fuze Pulse doppler fuse (6 tubes)
Nov 19, 1974
(24 year delay)
Redcay P (Top Secret 1950 - 1974) Us Army  342/68, 102/214, 342/202
3853059 SW
Configured blast fragmentation warhead Dec 10, 1974 R Moe Us Navy  
3855789
Explosive coupling assembly Dec 24, 1974 Platzek H Us Navy  
3858207 VT Fuze Range sensing target detecting device Dec 31, 1974
(8 year delay)
Gravelle N, Macomber B Us Navy
3858516 SADF
Thermal arming system (missile safe & arm) Jan 7, 1975
(24 year delay)
Rabinow Jacob Us Army  
3864566 PE Fuze
Optical systems and associated detecting means Feb 4, 1975
(18 year delay)
George R Simpson, Stephen M Macneille American Optical Corp
3866037 PE Fuze
Optical systems and associated detecting means Feb 11, 1975
(18 year delay)
George R Simpson American Optical Corp
3867893 ASROC
Rocket-thrown missile
anti-submarine weapon Wiki: ASROC
Feb 25, 1975
(15 year delay)
Saholt Orville J, Stoehr Donald Us Navy  
3872792 VT Fuze
Fuse
(FM modulated)
Mar 25, 1975
(19 year delay)
Goldberg Harold, Sanders Milton (Top Secret 1956 - 1975) Us Army 102/214, 342/68
3876308

Automatic command guidance system using optical trackers (launch plane controls missile to ship)
1975-04-08
Frederick C Alpers
Dept of Navy

3877377 VT Fuze
Proximity Fuze (Top Secret 20 yrs) Apr 15, 1975
(20 year delay)
Rabinow Jacob Us Army 102/214, 342/68
3878483
wEye
Voltage-tunable, seven-decade, continuously-variable oscillator
1975-04-15
Kay R Richardson
ept of Navy
3879637 wEye
Television camera (TV-guided missiles) Apr 22, 1975 Woodworth William H Us Navy  
3886498
Shrike
Wideband, matched three port power divider
1975-05-27
Joseph A Mosko, Robert G Corzine
Dept of Navy

3888180 SW
Rod warhead Jun 10, 1975
(7 year delay)
Eugene L Nooker Us Navy
3887446 SW comp
Electrochemical preparation of metallic tellurides Jun 3, 1975 Mcewan William S, Miles Melvin    
3890901 SADF
Digital electronic safety and arming system (missile S&A) Jun 24, 1975 Anderson Matthew E, Redmond Stephen L Us Navy  
3895581 VT Fuze
Voltage supply for radio proximity fuze Jul 22, 1975
(24 year delay)
Jacob Carlyle W (Top Secret 1951 - 1975) Us Navy 102/214, 342/68
3897283
Plastic bonded explosive composition Jul 29, 1975 Falterman Charles W, Wiebke Ethyl F Secretary of the Navy  
3902685
wEye
Angle gating
1975-09-02 Frederick C Alpers
Dept of Navy

3905298 VT Fuze
Electronic proximity fuse incorporating means for preventing premature detonation by electronic counter measures
3063345 exp bomb (19 yr)
Sep 16, 1975
(14 year delay)
Rehbock Ekkehard Telefunken
3906861 SADF
Fuze sterilization system Sep 23, 1975 Crossley John E, Hamilton C Robert, Hampton Thomas W, Morris Kenneth N Us Navy  
3907947
Method for shaped charge bomblet production Sep 23, 1975 Neuhaus Herbert M, Sherman Jack, Silver Wallace E, Williams Lloyd A    
3908933

Guided missile
RIM-2 Terrier (Wiki)
1975-09-30
(19 year delay)
Wilbur H Goss, Henry H Porter,
Richard B Roberts, Merle Antony Tuve, Jesse W Beams, Harner Selvidge
Dept of Navy

3911438
Proximity sensing device
uses waveguide magit-T, trigger on radar jam
Oct 7, 1975
(9 year delay)
Banks Donald S Us Navy
3913104 VT Fuze
Incoherent spectral comparison fuze system with hybrid agc (noise modulated)
Oct 14, 1975
(16 year delay)
Adrian Donald J, Cash Carlton H Us Navy
3916759
Rocket launcher
(extremely lightweight portable rocket launcher)
Nov 4, 1975 Forster Robert H, Jones Bernard M, Loyal Harry C, Quist Donald G, West Gaylon L Us Navy  
3918060
Shrike
Terminal aim point refinement circuit
1975-11-04
Frederick C Alpers
Dept of Navy

3920199 wEye
Rate-gyro stabilized platform Nov 18, 1975 Moulton Marc L, Woodworth William H Us Navy  
3922968
Fuze
Bomblet fuze system (Tx bomblet and Rx bomblet)
Dec 2 1975
Robert L Conger, John A Parks, Leslie T Long
Us Navy
3924458
wEye
Pressure sensitive control device
(substantially unmovable Joystick Wiki)
1975-12-09
William H Woodworth,
Robert D Cunningham


3924536
Fuze signal circuit
(ignores the noise in jet exhaust plumes)
Dec 9, 1975
(10 year delay)
Dick John O, Forrester Howard M Us Navy
3927849 Fluidics
Fluidic analog ring position device (Wiki)

Kovalenko Gerald E, Woods Charles E Us Navy  
3929075 VT Fuze
Guided missile fuze system
Dec 30, 1975
(11 year delay)
Beane Theodore E, Kirsch Alan L Us Navy
3934511
wEye
Linear shaped charge warhead
1976-01-27
(8 year delay)
Paul E. Cordle, Melvin J. McCubbin


3945008
VT Fuze
Electronic proximity fuse having multiple Doppler frequency channels
(countermeasure to prior art P. Fuzes)
1976-03-16
Georg Schmucker
Telefunken

3949955
Shrike
Monopulse receiver circuit for an anti-radar missile tracking system
1976-04-13
(13 year delay)
Langthorne Sykes, Duane J. Russell,
Robert E. Atkinson
Dept of Navy

3950611
wEye
Gated video centroid tracker
(improvement on Area balance & contrast gradient)
1976-04-13
(10 year delay)
James W. Callis, William A. Chambers
Raytheon/Hughes
USAF Air-to-Ground-Missile TV guided

3953670
wEye
Adaptive video centroid tracker
1976-04-27
Paul R. Prince
Hughes
Wiki: Contrast seeker

3955507
Fuze
Proximity fuse
(a 20mm HE round explodes and the flash triggers
the following proximity fuzed round)
1976-05-11
(13 year delay)
Richard T. Ziemba
GE

3977250

Encoding altimeter (anti collision)
also see coding altimeter
1976-08-31
Thomas S. Amlie


3978797 SDAF
Radiometric target detection device (passive anti-ship missile fuze) Sep 7, 1976 Frederick C. Alpers, William W. Harrington Secretary Of The Navy  
3992998
wEye
Warhead, penetrating nose shape
1976-11-23
Paul E. Cordle, Melvin J. McCubbin, Clifford T. Johnson, James K. Brown


3994229 VT Fuze
Pulse doppler proximity fuze (2 tubes)
2699543 ordnance fuze (10 yr) bomb & rocket
2856852 Prox Fuze (12 yr) (4 tubes) gun fired
many drawings
Nov 30, 1976
(19 year delay)
John W. Flowers Secretary Of The Navy  102/214, 342/68
4010689
wEye
Apparatus for sensing target distance
(uses gamma  X-rays)
1977-03-08
Irving I. Sochard, Marcella C. Petree, Wallace N. Knutsen, Frederick E. Warnock, Edward A. White, Jr.


4024392

Gimballed active optical system - active laser missile seeker Hellfire?
1977-05-17
Edward A. Teppo, Leonard R. Haugen
Department of Navy

4024998
Rocket (fired backward from plane) Why? BC

May 24, 1977
(21 year delay)
William Hunter A. Boyd, Jacob Rabinow (DC)    
4032918 VT Fuze
Dual channel radio frequency fuzing system Jun 28, 1977
(14 year delay)
George F. Masin Secretary Of The Navy
4035760
Radar/Sonar
Object detecting system
1977-07-12
(26 year delay)
1951-09-18
George F. Asbury, Earl J. Kohn, James R. Richards
Secretary Of The Navy
4040357 VT Fuze
Air target fuze (missile) Aug 9, 1977
(18 year delay)
William K. Saunders Secretary Of The Army 102/214, 342/68
4047792

Torque while turn-around scan mirror assembly
1977-09-13
C. Harold Dale, Jr.Spencer D. Howe, Robert L. Bonebreak, Charles J. Starkus
Hughes

4059052 VT Fuze
Fuze modulation system Nov 22, 1977
(20 year delay)
Philip R. Karr Secretary Of The Army 102/214, 342/68
4083238 VT Fuze test
System for testing proximity fuzes
roof of building with numerous antennas nearby
Apr 11, 1978 John O. Dick Secretary Of The Navy
4089000 VT Fuze
High altitude pulse doppler fuze May 9, 1978
(8 year delay)
William C. Bradford Secretary Of The Navy
4093154 SW
Target seeking gyro for a missile (1953)
vacuum tubes
"requires the use of an AC signal to accomplish precession" see 4464943
Jun 6, 1978
(25 year delay)
William B. McLean Walter G. Finch  
4118702 VT Fuze
Doppler distance measuring system (proximity fuze) Oct 3, 1978
(19 year delay)
Jacob Rabinow (MD) Secretary Of The Army  
4122776 VT Fuze
Dynamic clamp circuits  Oct 31, 1978
(24 year delay)
Paul M. Tedder (Top Secret 1954 - 1978) Secretary Of The Army 102/214, 327/335, 342/68, 327/551, 327/13
4139849 VT Fuze
Doppler fuzing system having a high resistance to noise and jamming Feb 13, 1979
(25 year delay)
Paul M. Tedder Secretary Of The Army 342/68, 342/16, 102/214
4159476 VT Fuze
Ejection fuze  Jun 26, 1979
(25 year delay)
Hans W. Kohler (Top Secret 1954 - 1979) Secretary Of The Army 102/214, 327/69, 342/68
4168663 VT Fuze
Computer fuzes
3562752 Dist ind sys (18 yr) - AEC
4128836 Ord Fuze (18 yr)
Sep 25, 1979
(25 year delay)
Hans W. Kohler (Top Secret 1954 - 1979) Secretary Of The Army 102/214, 342/68
4185797 SW
Target seeking gyro (1953)
vacuum tubes
Jan 29, 1980
(23 year delay)
William B. McLean Walter G. Finch  
4191346 SW
Target seeking gyro
vacuum tubes
Mar 4, 1980
(23 year delay)
William B. McLean, deceased Walter G. Finch  
4194202 VT Fuze
Grid pulsed oscillator and detector Mar 18, 1980
(21 year delay)
William E. Doyle (Top Secret 1959 - 1980) Secretary Of The Navy 102/214, 102/219, 327/494, 327/587, 342/16, 342/68
4194203 VT Fuze Pulse doppler-radio proximity fuze
3125026 Prox Fuze (19 yr)
3326130 Prox Fuze (18 yr)
Mar 18, 1980
(29 year delay)
William E. Doyle (Top Secret 1951 - 1980) Secretary Of The Navy  342/16, 342/68, 102/214
4195294 VT Fuze Dual channel proximity fuze Mar 25, 1980
(24 year delay)
John D. Reid (Top Secret 1956 - 1980) Secretary Of The Navy 102/214, 342/68, 342/16
4195295 VT Fuze Pulse doppler-radio proximity fuze Mar 25, 1980
(24 year delay)
John H. Kuck (Top Secret 1959 -1980) Secretary Of The Navy 342/68, 342/16, 102/214
4195574 PW Fuze
Optical fuze (thermal IR)
Apr 1, 1980
(19 year delay)
Stephen M. MacNeille Secretary Of The Navy
4203110 VT Fuze Microwave proximity fuze requiring no warm-up time after being activated (transistors)
May 13, 1980
(17 year delay)
John O. Dick Secretary Of The Navy
4203365 VT Fuze Jammer apprehending amplifier for proximity fuzes
(jammer resistance circuits)
May 20, 1980
(24 year delay)
Bradshaw Burnham, Charles F. Nichols Secretary Of The Navy 102/214, 342/16, 342/68
4218525 Res Bat
Reserve type battery Aug 19, 1980
(31 Year Delay)
Paul J. Selgin Secretary Of The Army
4218977 VT Fuze Doppler distance measuring system (Proximity Fuze) Aug 26, 1980
(21 year delay)
Henry P. Kalmus (Top Secret 1959 - 1980) Secretary Of The Army 102/214, 342/68
4203365
VT Fuze Jammer apprehending amplifier for proximity fuzes
1980-05-20
(24 Year delay)
Bradshaw Burnham
Charles F. Nichols
US Secretary of Navy
4220952 VT Fuze Random FM autocorrelation fuze system Sep 2, 1980
(24 year delay)
Donald J. Adrian, Thomas B. Whiteley Secretary Of The Navy 102/214, 342/68
4232314 VT Fuze FM Autocorrelation fuze system Nov 4, 1980
(22 year delay)
Donald J. Adrian (Top Secret 1958 - 1980) Secretary Of The Navy 342/68, 102/214
4245558 PE Fuze
Infrared proximity fuze electronic amplifier Jan 20, 1981
(18 year delay)
Michael Flaherty Secretary Of The Navy
4270142
Adaptive slant range compensator for a remote optical mapping system
Gerald R. Mackelburg, Peter D. McCardell, Howard B. McCracken Secretary of the Navy  
4281809
wEye Method of precision bombing (using beacons)
1981-08-04
Frank P. Oglesby,
Walter L. Wuster
US Department of Navy

4307855 SW
Target seeking gyro (1953)
William B. McLean Walter G. Finch  
4309003 SW
Target seeking gyro (1953)
William B. McLean Walter G. Finch  
4309004 SW
Target seeking gyro (1953)
William B. McLean Walter G. Finch  
4309005 SW
Target seeking gyro (1953)
William B. McLean Walter G. Finch  
4309706
Shrike
Wideband direction-finding system
1982-01-05
(8 year delay)
Joseph A. Mosko
Dept of Navy
4315609
Pelican?
(Wiki)
Target locating and missile guidance system
(very complex system)
1982-02-16
(11 year delay)
James D. McLean, Frederick C. Alpers, George R. Lanning, Fred H. Camphausen
Dept of Navy

4317118
Shrike
Symmetrical beam-forming network
1982-02-23
(9 year delay)
Robert G. Corzine, Guenter H. Winkler
Dept of Navy
4320703
Shrike
Target detecting device Mar 23, 1982
(14 year delay)
Erwin I. Abadie, Kenneth A. Lawlor, John O. Dick Secretary Of The Navy
4337701 SADF
Electromechanical (missile) warhead safety-arming device Jul 6, 1982 James G. Janson Secretary Of The Navy  
4351240
Shrike?
Incendiary fragmentary warhead
1982-09-28
(7 year dealy)
Melvin J. McCubbin, Clifford T. Johnson, Paul E. Cordle


4355562

Armor
(composite plate light weight)
1982-10-26
Robert G. S. Sewell, John K. Pringle, Marvin E. Backman, Stephen A. Finnegan Dept of Navy

4360816
Shrike
Phased array of six log-periodic dipoles
1982-11-23
(11 year delay)
Robert G. Corzine
Dept of Navy
4360812 VT Fuze FM-CW Fuze  Nov 23, 1982
(15 year delay)
Salvador J. Peperone (Top Secret 1967 - 1982) Secretary Of The Army 342/128, 102/214, 342/68
4388869

Rotating rod warhead
(warhead, for a non orbital satellite interceptor)
1983-06-21
(15 year delay)
Stuart K. Edleson
US Department of Navy

4431306
Method and apparatus for precision control of radiometer Feb 14, 1984 Roger S. Estey, Michael F. Hanna    
4464943

Seeker gyroscope having reduced cross-coupling between rotor spin and precession
"in target seeker missiles"
1984-08-14
Harold E. Andrews, Spencer D. Howe
Hughes

4525720
Shrike
Integrated spiral antenna and printed circuit balun
1985-06-25
Robert G. Corzine, Joseph A. Mosko
Dept of Navy

H27H
Shrike
Integrable broadside power divider
(H: Statutory Invention Registration (SIR))
1986-02-04
Joseph A. Mosko
Dept of Navy
4609888
Shrike
Direction finding antenna interface
1986-09-02
Robert G. Corzine, Joseph A. Mosko Dept of Navy
4661907
Method for determining an angstrom exponent for correcting satellite color scanner images (ocean color)
Robert A. Arnone, Ronald J. Holyer (Carriere, Miss.) Secretary Of The Navy  
4665401

Millimeter wave length guidance system
1987-05-12
John T. Garrard, Jack E. Gregg, Robert S. Roeder
Sperry Corp

4719584

Dual mode video tracker
"both correlation and centroid video processors"
1988-01-12
Arthur K. Rue, Gordon T. Pope, Earl L. Emerson
Hughes

4737740
Shrike
Discontinuous-taper directional coupler
1988-04-12
George L. Millican, Joseph A. Mosko
Dept of Navy
4885994

Armor penetration resistance enhancement
(adds armor to missile)
1989-12-12
Marvin E. Backman, Stephen A. Finnegan, Kent G. Whitman, Robert G. S. Sewell
Dept of Navy

4982665
wEye?
Shaped charge
1991-01-08
(18 year delay)
Robert G. S. Sewell, John Pearson
Dept of Navy

4901039
Shrike
Coupled strip line circuit
1990-02-13
Robert G. Corzine, Joseph A. Mosko
Dept of Navy
4999491

Optical seeker with rosette scanning
(YouTube: Strela-2 Missile IR seeker)
Mar 12, 1991 Gerd Semler, Gerd Wilhelm Bodenseewerk Geratetchnik Gmbh
5021796
Shrike
Broad band, polarization diversity monopulse antenna
1991-06-04
(20 year delay)
Robert G. Corzine, Bruce E. Bolstad,
John S. Johantgen


5038686
Shrike/Harm?
Spherical warhead
(Anti-Radiation Missile (ARM) warhead)
1991-08-13
Thomas R. Zulkoski, Robert G. S. Sewell


5144422

Optimal television imaging system for guided missile
Newvicon (Wiki) replaces Vidicon(Wiki)
1992-09-01
Leland R. Baker, Lewis J. Golden
Hughes

5182418
Aimable warhead
pattern of shrapnel can be controlled at detonation
Jan 26, 1993
(28 year delay)
James C. Talley Secretary Of The Navy
5233420

Solid state time base corrector (TBC)
1993-08-03
John L. Piri, Marc L. Moulton


5679921
Infra-red tracking flare Oct 21, 1997
(29 year delay)
George T. Hahn, Paul G. Rivette, Rodney G. Weldon Secretary Of The Navy  
5791591
Target seeking free gyro Aug 11, 1998 Fay Hoban Secretary Of The Navy  
6198425 VT Fuze
Pulse doppler target detecting device (5 tubes)
Mar 6, 2001
(31 year delay)
John J. Nastronero Top Secret 1970 - 2001) Secretary Of The Navy 342/68, 102/214
6518912 VT Fuze
Signal processing circuit (Noise or CW jamming imune) Feb 11, 2003
(37 year delay)
John O. Dick, Erwin I. Abadie, Kenneth A. Lawlor (Top Secret 1966 - 2003) Secretary Of The Navy 342/13, 102/214, 342/68, 342/16, 342/17
7504177 Res Bat
Reserve battery with set back mechanism for delayed battery activation Mar 17, 2009 Mark John Peabody Eaglepicher Technologies, Llc
63 Citations

Safe and Arm

Whenever the U.S. military makes use of explosives in munitions a Safe and Arm mechanism is typically present to prevent the explosive from going off during normal handling and mishandling of the munition. 

Ref: Design Methodology for Safe and Arm Devices, F. Sauerlaender, OSD, Aug 2001, NAWCWD, China Lake (DTIC.pdf)
Acknowledgements: Steven Fowler, Jack Waller, David Riggs, Ken Chirkis, Erhard Knebel, Werner Gehrke,
"Fuze development is a very complex process. For example, not only must the fuze initiate the warhead at the appropriate time (reliability considerations), the weapon must be safe to store, transport, and handle prior to that point (safety considerations).  In other words, throughout its lifetime, the fuze must be 99.9999% safe"

Patents

4091734 Aircraft to weapon fuze communication link, Stephen L. Redmond, Steven E. Fowler, Dept of Navy, 1978-05-30, -

Prior Art: AWW-1, AWW-2m AWW-4: Fuze function control sets.  Choose, by setting voltage at release: (proximity (+300), instantaneous (+195), delay1 (-195)or delay2 (-300)).  Makes use of the Mark 39 quick-disconnect receptacle which has problems with high humidity.  see: 3667392
4215633 Acoustic emission contact fuze with signal processing capability, Matthew E. Anderson, Timothy P. Zvada, Jack T. Waller, Jr., Dept of Navy, 1980-08-05, - triggers based on sound in the 100kHz to 1 MHz range, of impact between missile and aircraft.

H492H Safe/arm device, Jerome A. Kong, David L. Riggs, Dept of Navy, 1988-07-05, - [statutory invention registration See 35 U.S.C. 157, repealed 9/16/2011]

Air to Air Missiles

Unknown model:
4867393 Reduced fin span thrust vector controlled pulsed tactical missile, Lawrence C. Faupell, Steven R. Wassom, Northrop Grumman, 1989-09-19, - "A  tactical pulsed missile with a movable nozzle for thrust vector control and movable aerofins to provide greater maneuverability and flexibility."

One of the motivating incidents for the development of the Sidewinder was the Battle of Palmdale (Wiki). The Mighty Mouse 2-3/4" Folding Fin Aerial Rockets (Wiki) failed to shoot a Grumman F6F-5K down.  Then a massive attempt was made to shoot it down with no success.

    Sidewinder (Wiki)

This web page contains many many patents related to the Sidewinder.  It was intended for shooting down high altitude bombers.  See: Ultimate Weapon.
In the patent table on this web page "SW" is the code for Sidewinder.

The power source for the Sidewinder is a gas generator.
See References: Ref 12, Ref 13, Ref 14, Ref 23, Ref 25, Ref 43, Ref 48, Ref 52, Ref 57, Ref 64, Ref 74.

Rolleron (Wiki)

The Bat TV guided bomb (Wiki) demonstrated a problem of air frame movement caused by aerodynamic instability which in turn changed where the TV camera looked.  That in turn means that for a TV camera fixed to the air frame the field of view needs to be much wider so that target lock is not panned out of frame.  If target lock is broken it may take some time to reacquire or it may never reacquire.  I expect this lesson had been learned before or during the development of Sidewinder.

YouTube: spicy110: The Rolleron! Amazing engineering! Aim-9 Sidewinder!, 5:40,  AIM 9 SIDEWINDER MISSILE | How it Works with Rolleron Demo!, 23:43, THE SIDEWINDER SAGA!, 14:03
YouTube: Millennium 7 * HistoryTech: Who Invented the Rollerons? - The genius behind the Sidewinder's stability mechanism, 4:05 -

Photos

Fig 1 Overall
Sidewinder
                      Missile Rolleron
Fig 2 Rolleron locked (shipping & storage?)
Sidewinder
                      Missile Rolleron
Fig 4  Bottom
Sidewinder
                      Missile Rolleron
Fig 3 Rolleron unlocked
Sidewinder
                      Missile Rolleron

Patents

2775202
                              Gyroscopic roll control system for
                              aircraft
2775202
                              Gyroscopic roll control system for
                              aircraft

2775202 Gyroscopic roll control system for aircraft, Sydney R Crockett, 1956-12-25 -

Only works to stabilize missile in roll.
like Rolleron except pivot shaft is 90 deg to C.L.

I'm guessing that if the air frame rolls the IR guidance system which uses what amounts to circular scanning might get confused and break lock. So that may have been the impetus to add this device.
2935947
                              Three axis gyroscopic aerodynamic damping
                              system, Leonard T Jagiello, Sec of Navy,
                              10 May 1960
2935947
                              Three axis gyroscopic aerodynamic damping
                              system, Leonard T Jagiello, Sec of Navy,
                              10 May 1960

2935947 Three axis gyroscopic aerodynamic damping system, Leonard T Jagiello, Sec of Navy, 10 May 1960 -
"Three axis" is in title because by canting the pivot axis from 90 to 45 degrees a lot more control has been achieved in Pitch, Yaw and Roll.

These improvements all make the view of the IR sensor more stable, that's to say make it less likely to loose lock.

It goes without saying (but I'm saying it here) that this is a missile that does not roll like a bullet, but rather has a well defined up, down left and right directions.
 
3285536
                              Pie rotary damper, Earl J Donaldson, James
                              W Oestreich, 1966-11-15
3285536
                              Pie rotary damper, Earl J Donaldson, James
                              W Oestreich, 1966-11-15

3285536 Pie rotary damper, Earl J Donaldson, James W Oestreich, 1966-11-15, -

Air to Ground Missiles

These may be an based on the German Hs 293 (Wiki) and Fritz X (Wiki) guide bombs (See Ref. 41) since Herbert Wagner came to the US as part of Operation Paperclip (Wiki). These were primarily anti-ship glide bombs.  The Radio Control link from the bomber to the glide bomb (Hs 293 or FX) was the Kehl-Strasbourg (Wiki).

An image dissector tube showed up on eBay with a description that it was used in a TV like camera to guide a drone-bomb.  Farnsworth, the father of TV, (Wiki) patented a Fusor (see my Electron/fusion web page) that will never work.  Also see Farnsworth TV below

Early U.S. work on a TV guided bomb (Wiki) was not successful.  The GB-1 (Wiki) preset azimuth, and the GB-4 (Wiki, Ref 69) TV guided were early Guide Bombs that did not work 4 missions, all failures). 

AZON
The Azon (Wiki) AZimuth ONly glide bomb did work.  Developed under Division 5 of the NDRC (Wiki) VB-1 (1,000#) and VB-2 (2,000#) bombs.
See Ref 28, Ref 29 & Ref 30, Ref 65, Ref 67 videos.

Uses a pair of gyroscopes to prevent rotation, i.e. up - down - left - right have meaning.  See Rolleron above for a simpler way.
The Radio receiver is a box as is the dual gyro unit.  The 24 VDC battery is also a box.  All three boxes are inserted in the back of the Azon adapter and paperwork is placed under the rear cylindrical flare (looks like a quart or gallon paint can).  I'm guessing that part of the paperwork is the radio channel used for that receiver. There are videos showing 5 Azon bombs all in the air at the same time which implies five bombers and 5 operators controlling each of them.

Ref 65 displays the BC-1156 control box for either the AZON or the RAZON.  The control stick appears to be a bang-bang (Wiki) rather than proportional.  Bang-bang was used for W.W.II torpedoes.
It was almost impossible for a human to see/track the bomb and to steer it.  The photo showing a bridge with three hits in Ref 65 is a one in a million exception, not at all what could be depended on.
Even the "smart bombs" in the Vietnam era were not good enough to take out bridges.  The Kerch bridge (Wiki) in Ukraine is still standing three years after their war started.

References cited in Ref 36 (from Chapter 9):
25. NDRC Report WA-33-2; report of J. Lawson.
26. NDRC Report WA-71-14; equipment GL3(X).
27. Intelligence Report, Serial 920, Naval Attache at London, May 20, 1941.
28. Intelligence Report, Serial 213, Naval Attache at London, Feb. 11, 1941.
29. ONI Report, Serial 256, N.A.A. London, Jan. 29, 1942.
30. BuOrd Letter S67(Re4al), Dec. 19. 1941.
31. C.O. R.O.E. Letter DD418/S67/A5, Serial 01. Jan. 5, 1942.
32. Letter from Navy Department to Dr. R. C. Tolman, File No.(SC)S78-l(SONRD),Oct.24,1941. Div.4-730-M2
33. Memorandum on Radar Ranging—Tests at Parris Island, S67G047) Re4, Oct. 13, 1941. Div. 4-730-MI
34. Serial 920 N.A.A. London, May 20, 1941.
35. NDRC Report W-143-1, Section f.

RAZON
VB-3 RAZON (WikiRange and AZimuth ONly.  VB-3 (1,000#) and VB-4 (2,000#) bombs.

TAZON
ASM-A-1 Tarzon (Wiki) VB-13 RAZON guidance system and British Tallboy (Wiki) 12,000# bomb.  AN/ARW-38 Remote Control Radio Transmitter and AN/URW-2 Remote Control Receiver.  Too large to fit inside the B-29 so mounted half in and half out slowing down the B-29.

ASM-N-2 Bat

The ASM-N-2 Bat (Wiki) was an early RADAR guided bomb.  It started out as a TV Guided bomb (Wiki: Bat-history).  This was closely  related to Project Pigeon (Wiki) where a pigeon would guide the bomb.  Pigeons in a Pelican by B.F. Skinner, Harvard Univ,
Also see Rolleron regarding the need for a stable air frame.

The US Kittering Bug was the first of our guided missiles.  The Air Force JB-1 Bat "Thunderbug" (Wiki) was a missile similar to the N-2 Bat.  The JB-2 (Wiki) was a US version of the German V-1 (Wiki) with twice the payload (2,000 lbs v. 1,000 lbs.).

Sea Skimming Anti-ship missiles
Wiki: Sinking of the Moskva - R-360 Neptune anti-ship missile - This may be an explanation: YouTube: Bad design can kill: Missile defense and user fatigue -
Quora: What do anti-ship missiles do differently from other missiles? - Wiki: Sea skimming -
Wiki: Comparison of Anti-ship missiles -
US Navy: Naval Strike Missile - Raytheon



2443198 Pulse selector unit, Max E Sallach, 1948-06-15, - Radio Control decoder

2448007 Self-controlled projectile, Waldemar A Ayres, Sperry Corp, App: 1943-01-08, W.W.II, Pub: 1948-08-31, - RADAR based anti-ship

2462081 Servomotor system, Orland E Esval, Sperry Corp, 1949-02-22, - Bat?????

2512693 Guided missile, Jr Earl C Sparks, Moulton B Taylor, App: 1946-07-02, W.W.II, Pub: 1950-06-27, - "...particularly, this invention relates to guided missiles capable of computing and traveling along an intercept course..."

2516356 Automatic range tracking and memory circuit, William J Tull, Proctor Warren, Sec of Navy, App: 1944-10-13, W.W.II, Pub: 1950-07-25, 342/95; 342/92 -

2572986 Radar tracking system, Chance Britton, App: 1945-03-22, W.W.II, Pub: 1951-10-30, - "...to track a target in range..."

2587995 System for guiding airplanes in flight, David T Griggs, Navy, App: 1943-10-05, W.W.II, Pub: 1952-03-04, - early ILS (Wiki)?

2677758 Electrical tracking circuit, Carl C Robinson, William J Tull, Sec of War, App: 1945-12-10, W.W.II, Pub: 1954-05-04, - "...automatic homing nissile..." see: 2950880 below

2709804 Automatic range and azimuth tracking system, Chance Britton, Andrew B Jacobsen, Sec of War, App: 1945-09-14, W.W.II, Pub: 1955-05-31, - Track While Scan (Wiki) the wiki page does not know about this patent.

2710958 Pulse encoder, Max E Sallach, App: 1946-08-07, W.W.II, Pub: 1955-06-14, - for Radio Control

2824710 Control system for guided missiles, Albert C Hall, Air Force, App: 1949-01-05, SECRET, Pub: 1958-02-25, - "...a servo control System for a guided missile having the aerodynamic form of a glider employing elevon control surfaces."  Controlled by on board RADAR.
2950880 Method
                      of and means for guiding missiles, Chance Britton,
                      David T Griggs, Navy, App: 1945-01-18, TOP SECRET,
                      Pub: 1960-08-30
2950880 Method of and means for guiding missiles, Chance Britton, David T Griggs, Navy, App: 1945-01-18, TOP SECRET, Pub: 1960-08-30, 244/3.11; 102/384; 244/3.13; 244/3.19; 244/190; 318/581; 342/62 -

 Glide bomb with on board RADAR: ASM-N-2 Bat (Wiki)

Walleye (Wiki)

The AGM-62 Walleye (Wiki) was a 1960s TV guided bomb.  This was developed at China Lake by: Norman Kay (hands on TV experience, no patents), William H. Woodworth, Dave Livingston, Jack Crawford, George Lewis, Larry Brown, Steve Brugler, Bob (Sam) Cunningham

To get away from command guided missiles and have a launch and leave capability was the goal.  Note that Laser Guided "smart bombs" are NOT launch and leave, they require target designation until impact.

This is my best guess as to Walleye related patents.  But some may apply to another missile or to both Walleye and some other, or if I made a mistake it's a patent that does not belong on this list.
Excluded are patents that Walleye borrowed from Sidewinder which would include the servo actuators but not the gas powered electrical generator which did not have the run time needed for Walleye (1 min 30 sec for a long drop) and so Walleye used a tail mounted propeller to drive a generator.

See video Ref 13.

2725520 Electrical error detector, Woodworth William H, 1955-11-29, 
2731521 Magnetic amplifiers, Crawford Jack A, 1956-01-17, 
2822511 Magnetic integrator, Crawford Jack A, Mclean William B, 1958-02-04, 
2864053 Silicon diode error detector, Woodworth William H, 1958-12-09, 
2979614 Sweep-memory voltage generator, Woodworth William H, 1961-04-11, - based on magnetic amp
3041470 Horizontal sweep circuit for cathode-ray tube, Woodworth William H, Jun 26, 1962,
3136848 Vidicon with low impedance amplifier for extended high frequency response and improved signal to noise ratio (photo sensors work well into shorts), Woodworth William H, Jun 9, 1964
3176523 Two axis rate gyro (pitch & yaw telemetry), Thomas S Amlie, Earl J Donaldson, 1965-04-06
3181147 All-weather projectile fire control system-director mode, Jack A Crawford, John H Gregory, 1965-04-27, 
3188482 Stabilized servo system, Crawford Jack A, Woodworth William H, 1965-06-08, 
3223777 Scanner system, Crawford Jack A, Woodworth William H, Dec 14, 1965, - Earth imaging from space - weather (Walleye?)
3373363 Discriminator circuit responsive to a pulse position relative to a gate period, Joseph S Brugler, William H Woodworth, 1968-03-12, 
3474986 Two-degree gyro for a television camera, Donaldson Earl J, Oct 28, 1969, 
3554129 Optical fusing system, Alpers Frederick C, Apr 27, 1971, - missile with wings so Bat/Walleye, not sidewinder
3566794 Controlled fragmentation of multi-walled warheads, John Pearson, Robert G S Sewell, Richard T Carlisle, 1971-03-02, -
3623375 Gyro-nutation damper, William H Woodworth, Jack A Crawford, James Parmerlee, 1971-11-30,
3624365 Vertical attitude measuring device (gyro + accelerometer), Woodworth William H, Nov 30, 1971,
3651325 Image stabilization system, Frederick C Alpers, 1972-03-21, - the optics are shifted but not the imaging tube, so less weight is being moved.  Removes platform motion from the image.
3651326 Passive electro-optical seeker, Frederick C Alpers, 1972-03-21,
3661347 Gain changer (missile control system), Crawford Jack A, Woodworth William H, May 9, 1972,
3714498 Television camera (electrostatically deflection), Woodworth W, Jan 30, 1973, - electrostatic deflection TV camera, transistors, replaced by 3879637
3717098 Warhead breakup sensor, Cordle P, Davis E, Higuera R, Lockwood D, McCubbin M, 1973-02-20, explodes warhead if breakup sensed
3725576 Television tracking system, Woodworth, J Crawford, G Lewis, Apr 3, 1973 (11 year delay), - Fig 5 aircraft parallel with Walleye, so plane needs to point to target to train missile (just like shrike).
3742812 Method of aiming a television guided missile, W Woodworth, R Cunningham, US Secretary of Navy, 1973-07-03, 89/1.56; 33/230; 348/117; 348/169 -
3764923 Automatic (Video) pulse level control, M Moulton, J Whittington, W Woodworth, 1973-10-09,
3878483 Voltage-tunable, seven-decade, continuously-variable oscillator, Kay R Richardson, 1975-04-15, 
3879637 Television camera, Woodworth William H, Apr 22, 1975, - magnetic vidicon (Wiki) TV-guided missiles, transistors, very small and light, electronic zoom, digital methods of generating needed frequencies,
3902685 Angle gating, Frederick C Alpers, 1975-09-02, - allows excluding nearby false targets
3920199 Rate-gyro stabilized platform, Moulton Marc L, Woodworth William H, Nov 18, 1975,
3924458 Pressure sensitive control device,  William H Woodworth, Robert D Cunningham, 1975-12-09, - (substantially unmovable Joystick Wiki) for use in aircraft)
3934511 Linear shaped charge warhead, Paul E. Cordle, Melvin J. McCubbin, 1976-01-27 (8 year delay), - Monroe Effect (Wiki), 8-point star in cross section,
3992998 Warhead, penetrating nose shape, Paul E. Cordle, Melvin J. McCubbin, Clifford T. Johnson, James K. Brown, 1976-11-23,
4010689 Apparatus for sensing target distance (uses gamma  X-rays), Irving I. Sochard, Marcella C. Petree, Wallace N. Knutsen, Frederick E. Warnock, Edward A. White, Jr., 1977-03-08,
4982665 Shaped charge, Robert G. S. Sewell, John Pearson, 1991-01-08 (18 year delay), - conventional cone illustrated but applicable to the linear units used in missiles.  The idea is to put a small air gap between the explosive and copper cone.

Shrike (Wiki)

While technically an Air to Ground Missile (AGM) it's function was as an anti radiation missile.
Also see my Radar Warning Receiver web page for the AGM-45 Shrike.  I designed one of the detectors and an automatic test system to match them into sets of four.
The key Shrike patents are 3949955 and 5021796.

This is my best guess pairing patents with the Shrike.  If you know of an mistake or omission please let me know.

Andreas Parsch: Texas Instruments ASM-N-10/AGM-45 Shrike - great details.


3121869 Radar range tracking system, Frederick C Alpers, Sec of Navy, 1964-02-18, - maybe not Shrike.  Tracks on the leading edge of the return pulse.  Vacuum tubes.
3453617
                              Switchable linear-circular polarized
                              monopulse radar feed
3453617
                              Switchable linear-circular polarized
                              monopulse radar feed

3453617 Switchable linear-circular polarized monopulse radar feed producing two axis (three-dimensional tracking) information utilizing a two-lobe monopulse design,
Robert H Begeman, Orville G Brickey, Charles W May, Richard E McCormick, Dept of Navy, 1969-07-01, -

While this is a patent for circular polarized radar (with Tx and Rx) it also provides for a single antenna that can resolve 2-axis information.
3498224
                      Fragmentation warhead having circumferential
                      layers of cubical fragments
3498224 Fragmentation warhead having circumferential layers of cubical fragments, Paul E Cordle, Richard P Birge, US Dept of Navy,
1970-03-03, - twenty something thousand metal cubes

Photo of flechette and cubes from Ukraine 2023.
These came along with a Shahed 136 part that included a servo.
Flechettes
3508493 Dynamic
                      warhead fragment
3508493 Dynamic warhead fragment, Peter J Olenick Jr, Department of Navy, 1970-04-28, -
3530478
                      Frequency independent log periodic slot multi-mode
                      antenna array
3530478 Frequency independent log periodic slot multi-mode antenna array, Robert G Corzine, Joseph A Mosko, Dept of Navy,
1970-09-22, -
3574258 Method
                      of making a transreflector for an antenna
3574258 Method of making a transreflector for an antenna, Charles W May, Franklin A Porter, John W Pickett, Dept of Navy,
1971-04-13, -
3683385
                      Direction finding antenna system
3683385 Direction finding antenna system  (Spiral Ant + 4 detectors), Corzine Robert G, Mosko Joseph A, Us Navy, Aug 8, 1972, -

Shrike
x
3712228 Target marker warhead (prior warhead did not work well), Burford M, Handler G, Us Navy, Jan 23, 1973, -
3720168
                      Elliptical warhead
3720168 Elliptical warhead, Sylwester A, Us Navy, 1973-03-13, -
3813670 High
                      resolution range tracking circuit
3813670 High resolution range tracking circuit, F Alpers, Dept of Navy, 1974-05-28, -
3886498
                      Wideband, matched three port power divider
3886498 Wideband, matched three port power divider, Joseph A Mosko, Robert G Corzine, Dept of Navy, 1975-05-27, -
3918060
                      Terminal aim point refinement circuit
3918060 Terminal aim point refinement circuit, Frederick C Alpers, Dept of Navy, 1975-11-04, -
3949955
                              Monopulse receiver circuit for an
                              anti-radar missile tracking system
3949955
                              Monopulse receiver circuit for an
                              anti-radar missile tracking system
3949955
                              Monopulse receiver circuit for an
                              anti-radar missile tracking system

3949955 Monopulse receiver circuit for an anti-radar missile tracking system, Langthorne Sykes, Duane J. Russell, Robert E. Atkinson, Dept of Navy, App: 1963-04-04 (13 year delay), Pub:1976-04-13,

Shrike
4309706
                      Wideband direction-finding system
4309706 Wideband direction-finding system, Joseph A. Mosko, Dept of Navy, App: 1974-11-14, (8 year delay), Pub: 1982-01-05, -  Combines log spiral and "towel bar" antennas for broader frequency coverage.

Is this Shrike or HARM? 
let me know.
4317118
                      Symmetrical beam-forming network
4317118 Symmetrical beam-forming network, Robert G. Corzine, Guenter H. Winkler, Dept of Navy, App: 1973-11-08, (9 year delay) Pub: 1982-02-23, -
4320703 Target
                      detecting device
4320703 Target detecting device, Erwin I. Abadie, Kenneth A. Lawlor, John O. Dick, Secretary Of The Navy, App: 1966-05-27, (14 year delay), Pub: 1982-03-23, - "Accordingly, an object of the present invention is to provide a passive type target detecting device which will discriminate against off-target radars."
4351240
                      Incendiary fragmentary warhead
4351240 Incendiary fragmentary warhead, Melvin J. McCubbin, Clifford T. Johnson, Paul E. Cordle, App: 1975-02-28 (7 year delay) Pub: 1982-09-28, -
4360816 Phased
                      array of six log-periodic dipoles
4360816 Phased array of six log-periodic dipoles, Robert G. Corzine, Dept of NavyApp: 1971-07-21 (11 year delay) Pub: 1982-11-23, -
4525720
                      Integrated spiral antenna and printed circuit
                      balun
4525720 Integrated spiral antenna and printed circuit balun, Robert G. Corzine, Joseph A. Mosko, Dept of Navy,
1985-06-25, -
H27H Integrable broadside power divider
H27H Integrable broadside power divider, (H: Statutory Invention Registration (SIR)), Joseph A. Mosko, Dept of Navy, 1986-02-04, -
4609888
                      Direction finding antenna interface
4609888 Direction finding antenna interface, Robert G. Corzine, Joseph A. Mosko, Dept of Navy, 1986-09-02, -
4737740
                      Discontinuous-taper directional coupler
4737740 Discontinuous-taper directional coupler, George L. Millican, Joseph A. Mosko, Dept of Navy, 1988-04-12, -
4901039
                      Coupled strip line circuit
4901039 Coupled strip line circuit, Robert G. Corzine, Joseph A. Mosko, Dept of Navy, 1990-02-13, -
5021796 Broad
                      band, polarization diversity monopulse antenna
5021796 Broad band, polarization diversity monopulse antenna, Robert G. Corzine, Bruce E. Bolstad,
John S. Johantgen, Department of Navy, App: 1971-01-15 (20 year delay), Pub: 1991-06-04, -
038686
                      Spherical warhead, (Anti-Radiation Missile (ARM
5038686 Spherical warhead, (Anti-Radiation Missile (ARM) warhead), Thomas R. Zulkoski, Robert G. S. Sewell, Department of Navy, 1991-08-13, -

Paveway (Wiki)

Also see RWR \ LASER Guided Bom
This is not a directly a China Lake development, but I'm putting it here because the Shrike was used as an early test bead (AirVectors: Paveway) and also on production version II.
The guidance system for Paveway was developed by TI based on the 4-quadrent Shrike and the bang-bang (Wiki) control system of the Shrike, even though the control surfaces were not located at the center of mass.  The path of the falling bomb oscillates up-down and left-right so the optical head is on a swivel and is aerodynamically designed to always point into the wind.  In this way the optics does not see the oscillation caused by the bang-bang control system.  W.W.II ear torpedoes used bang-bang control.  Looking for a patent for the swivel "birdie".

That lead to a some of patents:
3380358 Range gated imaging system, Don B Neumann, App: 1965-08-24, Pub: 1968-04-30, - Q-switched ruby laser 60ns pulse, allows clearer photograph by gating out stray light.
3409368 Ranging device, Humbert M Fernandez, Martin Marietta, App: 1964-01-07, Pub: 1968-11-05, - Laser Range Finder.
3567163 Guidance system, Robert B Kepp, Raymond C Shreckengost, Martin Marietta, App: 1971-03-02, Pub: 1971-03-02, - dual TV cameras track missile and tank, AGM
3707598 Electronic pattern recognition, Joe M Scarbrough, Martin Marietta, App:1969-07-02, Pub: 1972-12-26, -
3772516 Magnifier scanner tracker, R Roberts, G Harmon, M Colpack, B Askowith, Martin Marietta, App: 1969-11-06 , Pub: 1973-11-13, - targeting pod for aircraft?
4091412 Target designation system, David J. Salonimer, Army, Priority: 1967-12-01, Pub: 1978-05-23, - the priority date is before 3778007 - laser designator, includes RF gating signal
4049969 Passive optical transponder, David J. Salonimer, Buster E. Kelley, AF, App: 1970-03-19, Pub: 1977-09-20, - UV to colored light for IFF
3778007 R.O.D. television-guided drone to perform reconnaissance and ordnance delivery, S Kearney, W Richardson, Navy, App: 1972-05-08, Pub: 1973-12-11, -laser designator, includes RF gating signal, Remote Observation & Destruction.

Farnsworth (TV General)

2071515 Electron multiplying device, Philo T Farnsworth, Farnsworth Television Inc, 1937-02-23, 348/330; 313/381; 330/42; 331/133; 327/573; 348/217.1; 250/207; 315/11; 331/86; 331/184 -
2085742 Electron image amplifier, Philo T Farnsworth, Farnsworth Television Inc, 1937-07-06, 315/1; 315/11; 315/13.1 -
RE22009 Electron Image Amplifier, Philo T Farnsworth, Farnsworth Television Inc, 1942-01-20, 315/1; 313/378; 315/13.1; 313/409 - 2087683 Image dissector, Philo T Farnsworth, Farnsworth Television Inc, 1937-07-20, 315/1; 315/11.5; 427/74; 427/427; 315/11; 315/13.1; 427/64; 427/75 -
2140695 Charge storage dissector, Philo T Farnsworth, Farnsworth Television Inc,1938-12-20, 348/330; 313/103R; 313/329; 315/11; 427/64; 427/74; 427/125; 313/381 -
2216265 Image dissector, Philo T Farnsworth, Farnsworth Television Inc,1940-10-01, 348/330; 313/310; 313/381; 315/10; 348/164 -
2163966 Box element multiplier, Richard L Snyder, Farnsworth Television and Radio Corp, 1939-06-27, 313/105R -
2292111 Image dissector, Philo T Farnsworth, Farnsworth Television Inc, 1942-08-04, 313/381; 313/329; 313/346R -
2425956 Target seeking device with phototube multiplier, Hans W G Salinger, Farnsworth Television and Radio Corp, App: 1944-01-27, Pub: 1947-08-19, -
2433700 Phototube multiplier, Christian C Larson, Farnsworth Research Corp, App: 1943-11-04, Pub: 1947-12-30, 313/103R; 250/207; 313/105R; 313/536 -
2433724 Phototube multiplier, Lozure G Wolfgang, Farnsworth Research Corp, App: 1944-05-29, Pub: 1947-12-30, 313/536; 313/105R -
2445562 Panoramic receiving system, Cawein Madison, Robert W Sanders, Farnsworth Research Corp, App: 1943-02-25, Pub: 1948-07-20, 455/146; 455/147; 455/148 -
2459778 Image dissector, Christian C Larson, Farnsworth Research Corp, App: 1945-07-09, Pub: 1949-01-18, 348/330; 250/207; 250/214R; 313/105R; 313/381; 315/11; 315/12.1 -
2586854 Printed circuit construction, William H Myers, Farnsworth Research Corp, 1952-02-26, 361/795; 174/260; 174/267; 439/56; 361/760; 361/816; 174/263; 330/66; 174/387; 174/DIG.35 -
2641723 Television image analyzing tube, Philo T Farnsworth, Capehart Farnsworth Corp, 1953-06-09, 313/381; 313/256; 313/394; 313/111; 313/296 -
2824253 Electron multiplier, Samuel G Fong, Hans W G Salinger, ITT, 1958-02-18, 313/105R; 313/536 -

AGM-65 Maverick (Wiki)

The Maverick is one of the missiles developed by Hughes (not China Lake) (Wiki: AIM-4 Falcon et al, AIM-54 Phoenix, AIM-120 AMRAAM, AGM-65 Maverick, BGM-71 TOW, Brazo) and is the most widely produced precision-guided missile in the Western world.  Has the look and feel of the AIM-4 Falcon and the AIM-54 Phoenix.  The AGM-65 has a cylindrical body with long-chord delta wings and tail control surfaces mounted close to the trailing edge of the wing of the aircraft using it. Some versions are fire-and-forget.
Variants
Two warhead options: 125 pound Shaped-charge or 300 pound penetrator.
1971
AGM-65
Wiki: Contrast seeker
1975
AGM-65B "Scene Magnified" capability in addition to classic EO TV for Warsaw Pack forces
1978
AGM-65C/E Wiki: LaserGuided, 300 pound penetrator, not fire-and-forget
1977 - 1986
AGM-65D imaging infrared (IIR) seeker
1989 - 1994
AGM-65F imaging infrared (IIR) seeker for Navy (P-3C)

AGM-65G imaging infrared (IIR) seeker
2007
AGM-65H AGM-65B & CCD seaker for use in deserts

AGM-65J Navy version of the AGM-65H

AGM-65K AGM-65G EO TV seeker

Sea to Ground Missiles

Polaris (Wiki: UGM-27)

At 4'-6" dia x 32'-4" tall with a weight of 35,700 pounds.  2,500 mile range.  W47 nuclear warhead (Wiki) which had a lot of problems.
3379097 Rocket launching, Fisher William Thoby, Vickers, 1968-04-23, -
3408873 Pulsed integrating pendulum accelerometer, John R Mcneil, Navy, App: 1965-03-29, Pub:1968-11-05, -
3906719 Rocket having movable secondary nozzle, Clair M Beighley, Orin J Demuth, Richard W Froelich, Aerojet Rocketdyne, App: 1968-08-19, Pub: 1975-09-23, -
4405985 Guidance computer, Eldon C. Hall, Harold H. Seward, Joseph D. Sabo, Vincent R. De Marco, Millard B. Prisant, Navy, App: 1965-10-22 (Secret), Pub: 1983-09-20
4470562 Polaris guidance system, Eldon C. Hall, Joseph D. Sabo, Samuel A. Forter, Ralph R. Ragan, J. H. Laning, David G. Hoag, Wallace E. Vander Velde, Daniel J. Lickly, Edward M. Copps, Jr., Navy, App: 1965-10-22 (Secret), Pub: 1984-09-11, -
2780059 Jet direction control device (AKA: Jetevator), Willy A Fiedler (Early Flight Era: Life & Work of WAF), 1957-02-05, - Thrust Vectoring (Wiki: Thrust Vectoring, Loon Missile)

Surface to Air (SAM) Missiles

SA2

The SA2 (Wiki) was of historical importance because it's one of the key systems Radar Warning Receivers were designed to counter.

While searching for a patent stumbled across this missile designed for altitudes over 70,000 feet. It may be an Air-ti-Air missile patent 4867393 listed under unknown Air-to-Air missile.

Stinger (Wiki)

see the 40mm web page FIM-92 Stinger and the Ultraviolet web page: Negative UV.

RIM-116 Rolling Airframe Missile (Wiki)

3323757 Missile autopilot, Donald E Cole, General Dynamics, 1967-06-06, - cited in Ref. 48.

3323757 Missile
                      autopilot, Donald E Cole, General Dynamics,
                      1967-06-06, - RIM-116 Rolling Airframe Missile
3323757 Missile
                      autopilot, Donald E Cole, General Dynamics,
                      1967-06-06, - RIM-116 Rolling Airframe Missile 3323757 Missile
                      autopilot, Donald E Cole, General Dynamics,
                      1967-06-06, - RIM-116 Rolling Airframe Missile


Ground to Ground Missiles

These have classically been called Intercontinental Ballistic Missiles (Wiki: ICBM).  Because China has a satellite system with the same capability is the US NOSS, there's speculation that an ICBM might be used with a conventional warhead to attack a US aircraft carrier in the middle of the ocean.  The missile would approach the carrier from almost the zenith and so would be impossible to defend against because the time between detection and impact would be a matter of seconds.  But this may have a overlooked the idea that a hyper-velocity missile probably can not have terminal guidance because it's surrounded by a layer of plasma that blocks electromagnetic radiation over a very wide range of wavelengths.  If the missile is slowed down in order to not form a plasma then the lower speed means there's more time between detection and impact, so maybe time to shoot it down.

In the current, 2023, Ukraine-Russia war there are a lot of GGM being used.  Some are old school Multiple Launch Rocket Systems (Wiki).  These are dumb and are considered area weapons, i.e. they can not be aimed at a specific target.  the HiMARS with some rockets does provide a GPS guided precision weapon and these have been very effective.  There are a number of single use UAVs that also seem to be area weapons, rather than precision guided.

Army Proximity Fuzes

While the Navy worked on Proximity fuzes for rifled barrel use, the Army worked on versions for smooth bores, i.e. rockets, mortars and bombs.

Hary
                      Diamond NBS Proximity Fuze
From Wiki. also Harry Diamond Labs (Wiki)
Harry Diamond (left), Chief of the Orgnance Development Division at NBS, shown holding the 81mm mortar shell with the mortar fuze, and Dr. Alexander Ellett, Chief of Division 4 of NRDC, shown holding the mortar fuze unmounted. Displayed left to right on the table: a ring-type bomb fize on a 260-pound fragmentation bomb, a rocket with the latest developed rocket fuze, a bar-type bomb mounted on a 260-pound fragmentation bomb, and a ring-type fuze on the 500-pound general purpose bomb.


Table

Note Pub Date in Red Bold means probably TOP SECRET.

No.
Re
Title
App Date
Pub Date
Inventor
Assigned
2468120
Gen
Air turbine generator for fuses (for bombs or rockets)
1947-12-17
1949-04-26
Jurg A Senn
Sec of War
2856852
PF
Proximity fuze (4.5"x33" anti-aircraft rocket)
1944-05-30
1958-10-21
Jr Wilbur S Hinman, Diamond Harry

2990776
Gen
Wind driven generator
1949-11-17
1961-07-04
Allen S Clarke
Army
3401635
Gen Fast starting turbine for a projectile fuse
1951-06-22
1968-09-17
Rabinow Jacob
Army
3677184
PF
Proximity fuzes (supersonic shock wave)
1955-08-16
1972-07-18
Jacob Rabinow, Israel Rotkin, Allen V Astin
Army
3872791
PF
Increased sensitivity for fuze oscillators (Volt doubler)
1955-09-21
1975-03-25 Paul Wilson Redcay

3872792
FM PF
Fuze (FM CW Doppler=range)
1956-01-11
1975-03-25 Harold Goldberg, Milton Sanders

3877377
PF for?
Proximity Fuze
1955-01-17
1975-04-15
Jacob Rabinow (NBS Pat List)
Army
3889599
electrostatic
Fuze
1951-02-07
1975-06-17
Maurice Apstein
Army
3895580
PF Band pass integrator for proximity fuses
1957-10-17 1975-07-22
Paul M Tedder
Army
4059052
FM PF Fuze modulation system (FM CW Doppler=range) 1957-02-21
1977-11-22
Philip R. Karr
Army
4108075
PF
Means for suppressing oscillator-generated noise in Doppler proximity fuzes
(uses 45 deg phase shifter between osc and ant)
1959-04-09
1978-08-22
Wilbur S. Hinman, Jr., Helmut Sommer, Louis M. Tozzi
Army
4205316

 Enhanced accuracy Doppler fuze
1967-03-16
1980-05-27
Salvador J. Peperone Army
4207841
Bomb PF
Dipole antenna for proximity fuze
1945-05-19
1980-06-17
Thomas M. Bloomer
Army
4360812
FM PF
FM-CW Fuze (FM CW Doppler=range) 1967-03-16
1982-11-23
Salvador J. Peperone
Army
5271327
Elecro-mechanical base element fuze
for M829 smooth bore tank round (Wiki)

1993-12-21 Gregory F. Filo, Dennis L. Kurschner, Paul L. Weber Northrop Grumman
5275107 SA
Gun launched non-spinning safety and arming mechanism
for M829 smooth bore tank round (Wiki)

1994-01-04
Northrop Grumman

Laser Guided Bomb

Note that Laser-guided bombs (Wiki) require a laser designator (Wiki) to illuminate the target from before the bomb is released until it explodes.  These are not fire and forget weapons like the Walleye.  The Paveway (Wiki) is an add on kit for iron bombs that adds laser guidance.  Note the BGM-71 TOW anti-tank missile (Wiki) needs to be guided all the way to the target.  It was replaced by the FGM-148 Javlin (Wiki) which is a fire and forget type weapon.  Fire and forget weapons avoid exposing the designator operator to enemy fire, a good thing.

2870671 Autocollimator for measuring angle of incident light beam, Oscar R Falconi, 1959-01-27, -
3296444 Optical target sensing device using variable density filters, Marlin Van Wilson, Martin Marietta, 1967-01-03, - cites 3 star trackers, cited by 4 patents - first generation laser pulse receiver - Laser-guided bomb (Wiki) -  Pave Penny (Wiki) ?
3470377 Two-axis automatic autocollimator, David A Le Febre, Walter Kuehne, TI, 1969-09-30, - Bolt-17 (Wiki)?
3548212 Multibeam laser tracking system, Lloyd A Whetter, Army, 1970-12-15, - causes a tank gun to track a target
3876308 Automatic command guidance system using optical trackers, Frederick C Alpers, Navy, 1975-04-08, - designator needs to see both bomb and target.
4028991 Weapon system, Milton Kuby, Fairchild, 1977-06-14, - A-10, requires laser designator (2) on the ground to illuminate the target
4153224 Laser command guidance system, Robert W. Rampolla, Brewton O. Van Hook, Westinghouse, 1979-05-08, - air-to-air or ground-to-air laser guidance
4349838 Laser target designator system, Jean P. Daniel, Thales, 1982-09-14, - aligns a TV viewing system with laser designator
4678142 Precision guided antiaircraft munition, Tomas B. Hirschfeld, US Air Force, 1987-07-07, - for 20 to 50mm dia shell, "...uses a pulsing target laser designator for illuminating the intended aircraft target. "
4738044 Light beam target designator, Ralph F. Osterhout, S-TRON, 1988-04-19, - rifle mounted, IR and Visible, NOT for bombs, just for sighting
5259568 Command optics, Max Amon, Andre E. Masson, Rheinmetall Air Defence, 1993-11-09, - for beam rider missile
5661257 Multispectral covert target marker, Daniel B. Nielson, Brad A. Fairbourn, Northrop Grumman, 1997-08-26, - "A hand held, rocket-propelled parachute signal is disclosed which includes near infrared emitting photodiodes and oscillator electronics assembly encased in a hardened polymeric molding compound launched from a hand-fired expendable-type launcher. " NOT for laser guided munitions but for general marking
6060703 Coaxial unfocused optical sensor for dual mode seekers, Clarence C. Andressen, Northrop Grumman, 
6650277 Target designation system, James Albert Wilkinson, Navy, 2003-11-18, - radio receiver on ground based target designator controls output from aircraft.
10539403 Laser guided bomb with proximity sensor, Barry A. Maxwell, Kaman Precision Products, 2018-12-13, - Looks like Paveway
20210302142 Laser guided bomb with proximity sensor, Barry A. Maxwell, Kaman Precision Products, 2021-09-30, - cites 48 prior art patents,

TM 9-4931-501-14 Operator's, Organizational, Direct Support, and General Support Maintenance Manual, Including Repair Parts:
Test Set, Guided Missile System
Calibration Kit (4931-01-003-2703) APN 7915881, Hughes Aircraft Co, p/n: 1089933, June 1984 (TM-9-4931-501-14.pdf)

TOW Anti-tank missile

The TOW (Wiki: Tube-launched, Optically Tracked, Wire-guided) is optically guided using a system designed  by Hughes 1963 - 1968 (Wiki: Designs) and developed by TI.  Note that the TOW requires the operator to guide it all the way to the target.  It is NOT fire and forget.  The FGM-148 Javelin (Wiki, Ref ) is fire and forget and so has replaced the TOW.  Also the warhead in the original TOW can be defeated by reactive armor (Wiki), which the Javelin also solves with a two stage warhead.  See TOW video Ref 59, Ref 60 & Ref 61, Ref 62 for what's inside the missile.

Note that the two rocket exhausts are around the center of the length, not at the rear.  The rear has the flashing IR beacon light and the wire outlet.
Also see the Laser Guided Missile - Patents section which includes TOW.

3319781 Control wire dispenser for a guided missile, Simpson James Charles, Wells Henry George, British Aircraft Corp, 1967-05-16, - the bulk of the wire is carried by the missile "so that the trailing leads are substantially stationary in the air".
3868883 Guidance system, James M Tucker, McDonnell Douglas, App: 1964-02-20, Pub: 1975-03-04, - TOW?
4111383 Laser beam transmitter system for laser beam rider guidance systems, John B. Allen, Cecil R. Coale, Jr., TI, 1978-09-05, - TOW
4111384 Scanner system for laser beam rider guidance systems, Erwin E. Cooper, TI, 1978-09-05, -
4111385 Laser beam rider guidance system, John B. Allen, TI, 1978-09-05, -
4406429 Missile detecting and tracking unit, John B. Allen, TI, App: 1978-04-13, Pub: 1983-09-27, - TOW?
4424943 Tracking system, Robert Zwirn, John W. Bozeman, Hughes, 1984-01-10, -
4431917 Compact, high cold shield efficiency optical system, Robert C. Gibbons, TI, 1984-02-14, - FLIR (Wiki)
4666103 Carrier tracking system, John B. Allen, TI (Raytheon), 1987-05-19, -
    RE33287 Carrier tracking system, John B. Allen, TI (Raytheon), 1990-08-07, -
6041688 Wireless guided missile launch container, "improved missile launch tube design" with phased array antenna

YouTube: BGM-71 TOW Anti-tank missile | Wire Guided Wonder Ref 55 - @4:41 you can see the tracking light on the rear end (it's not a rocket flame)
YouTube: Can the TOW Missile Launcher Make a Difference?, Ref 56 - forward side exhausting rocket nozzles to keep from burning up the wire.  There are operational limits to the use of wire guidance, like over water and in jungles.
YouTube: The Dark Reason the TOW Missile Is Still in Service Ref. 77.
0:00 The System That Refused to Die
1:12 The Problem That Killed Soldiers
3:45 How SACLOS Changed Anti-Tank Warfare - Wiki: Semi-automatic command to line of sight
6:02 The First Combat Use — Kontum, 1972 - Wiki: Easter Offensive
8:10 What the Army Learned From Vietnam
10:05 The Yom Kippur War and Global Impact - Javelin: $175,000, TOW: $55,000
11:55 Replaced — Again and Again
13:40 Why the TOW Still Exists
15:05 The Cost That Decides Wars
16:00 Why It Will Still Be Here in 2050
Also see Military Vehicles\M274 Ref 4.

Missile Utility Transformation via Articulated Nose Technology (MUTANT)

YouTube Short: The US Mutant Missile Designed to Annihilate Any Aerial Threat -
The WarZone: USAF Testing ‘Mutant’ Missiles That Twist In Mid-Air To Hit Their Targets, 2023Mar9 - AFRL: MUTANT,
YouTube: Mutant Missile - America Most Greatest and Innovative Missile Idea!, 5:08 -
6364248 Articulated nose missile control actuation system, Wayne V. Spate, Robert J. Adams, Donald P. Williams, Raytheon, 2002-04-02, - The Starlink customer antenna has a similar actuation system where two motors can set Az-El.
6467722 Magnetostrictive missile guidance system, Roger P. Berry, Daniel F. Lawless, Stephen C. Cayson, Lamar M. Auman, Army, 2002-10-22, - deflecting nose cone used to steer missile
Historically, missile flight direction control has been achieved by using:
Thrust Vector Control (Wiki) - even though TVC systems provide high controllability with minimal drag force, they are only effective during the boost portion of the flight.
Jet Reaction Control (Wiki) - can provide control during the entire flight and also have very low drag, but are limited by the amount of propellant that can be packaged in the missile
Canard Control (Wiki) or Tail Fin Control (Wiki)- enable excellent controllability provided that the missile velocity is sufficient and can result in excessive drag

Currently, there no known missiles that utilize deflection of the missile nosecone for controlling their flight paths. (B.C.: but Smart artillery shells are doing this).

Smart Artillery Shells

May 2022 the M982 Excalibur (Wiki) showed up in the Russia v. Ukraine war with CEP around 2 to 4 meters.  This is not a China Lake development, but this is the best place to put it.

The M712 Copperhead (Wiki) was an earlier 155mm smart munition from the 1970s. Martin Marietta and TI were early contractors so there might be patents.


3374967 Course-changing gun-launched missile, Harold J Plumley, Navy, App: 1949-12-06, Pub: 1968-03-26 - "...changing the course of a rotating, fin-stabilized missile during the flight thereof by firing a reaction steering charge contained in the missile through one side thereof and in a direction at right angles to the line of flight, the Steering charge being arranged to direct its force through the center of gravity of the missile."

3514608 Laser errored azimuth-elevation servo lockon tracking system, Lloyd A Whetter, Army, 1970-05-26, 250/203.2; 89/41.06; 356/4.01 - includes both laser and tracker.


3695555 Gun-launched glide vehicle with a mid-course and terminal guidance control system, William R Chadwick, Navy, App: 1970-06-12, Pub: 1972-10-03, - fired from 8" gun, sounds too complex to work


3696248 Laser tracking method and apparatus, Robert A Cunningham, John T Winkler, Martin Marietta, 1972-10-03, 250/203.2; 372/24; 356/139.08; 356/139.03 - Laser target designator


4123019 Method and system for gravity compensation of guided missiles or projectiles, David S. Amberntson, Martin Marietta, App: 1976-11-10, Pub: 1978-10-31, -


4198015 Ideal trajectory shaping for anti-armor missiles via time optimal controller autopilot, Robert E. Yates, John P. Leonard, Robert E. Alongi, Army, App: 1978-05-30, Pub: 1980-04-15, -  Javelin?


4383662 Ideal trajectory shaping for anti-armor missiles via gimbal angle controller autopilot, Robert E. Alongi, Robert E. Yates, John P. Leonard, Army, App: 1978-03-13, Pub: 1983-05-17, - Javelin?


4431147 Steerable artillery projectile, Isadore R. Paley, Bendix Corp, App: 1981-12-24, Pub: 1984-02-14, 244/3.3 - nose moves relative to tail section


4533094 Mortar system with improved round, Norman P. Geis, Edward A. Chambers, Raytheon, App: 1982-10-18, Pub: 1985-08-06, - fired from the M30 107mm (4.2") mortar (Wiki) Wiki does not mention a smart round for the M30.


4561357 Steering mechanism for an explosively fired projectile, Inge Maudal, Byron M. Niemeier, Larry D. Wedertz, Hughes Missile Systems, App: 1982-09-15. Pub: 1985-12-31, 102/439; 244/3.11; 244/3.26; 244/3.3 - a rod trails projectile fired from tank, radio guidance signal,


4598884 Infrared target sensor and system, Spencer J. Speer, GD, App: 1984-11-28, Pub: 1986-07-08, - A gimbal-less infrared (IR) target sensor IR homing missile


5261629 Fin stabilized projectile, Wilfried Becker, Gerhard Glotz, Josef Osthues, Hans-Peter Opitz, Heinz-Josef Kruse, Jutta Peters, Helmut Peller, Rheinmetall, App: 1989-04-08, Pub: 1993-11-16, - tank fired anti-helicopter -


5775636 Guided artillery projectile and method, John R. Vig, Steven W. Waugh, Army, App: 1996-09-30, Pub: 1998-07-07, - can be an applique to an existing 155 round -  M982 Excalibur (Wiki)?

5932833 Fly over homing guidance for fire and forget missile systems, Ricky K. Hammon, Monte K. Helton, Army, App: 1997-03-03, Pub: 1999-08-03, - NLAW (Wiki)?


5943009 GPS guided munition, Anthony Steven Abbott, Northrop Grumman Systems, App: 1997-02-27, Pub: 1999-08-24, - "...an aftermarket tail fin kit is provided so as to facilitate the simple and inexpensive conversion of existing unguided munitions (bombs) into GPS guided munitions. An autonomously operated bomb control unit eliminates the need for expensive modifications to the aircraft."

6981672 Fixed canard 2-D guidance of artillery projectiles, John A. Clancy, Thomas D. Bybee, William A. Friedrich, Alliant Techsystems, App: 2003-09-17, Pub: 2006-01-03, -


8237096 Mortar round glide kit, Steven B. Alexander, Richard Redhead, L3 Technologies, App: 2010-08-19, Pub: 2012-08-07, - modified mortar round carried on the RQ-7 Shadow UAV (Wiki) - the General Dynamics 81 mm (Wiki) 4.5 kg (10-pound)[42][43][44] air-dropped guided mortar - In Ukraine they are dropping PRG rounds (with added tail fins) from commercial/home built quad copters.


9945649 System and method for guiding a cannon shell in flight, Assaf Malul, Ziv Moshkovitz, BAE Systems Rokar, App: 2011-08-24, Pub: 2018-04-17, - "Silver Bullet"
Feb 2014: Successful Trial for the Silver Bullet Fuze - Google Images: "Silver Bullet Fuze"
Artillery Compendium-Armada April-May 2015: The EPIAFS (Enhanced Portable Inductive Artillery Fuze Setter) is the same as the one used for the Raytheon Excaliber and coes with the platform integration kit that allows to plug it into a fire control system or into a DAGR GPS receiver."
10928169 Seal for a projectile guiding kit, seals the joint between the front and rear bodies to keep contamination from getting into the crack at the rotary joint. Cleaver set back operation.

Fuze Setters

These started out as specialized wrenches applied to the a ring on the fuze (Wiki) to set it's function.  The M14 (Bulletpicker) is an example.  This probably was first used for an artillery fuze (Wiki).

TM 9-500 (RadioNerds) Data Sheets for Ordnance Type Materiel, Army,  Sep 1962, 843 pgs - no fuze setters, but lots of interesting stuff.

XM63Fuze Setter

This fuze setter came with one adapter, but the case has spaces for four adapters.  It also has a battery compartment that holds a couple of "D" cell batteries.
When the button is pressed two grain of wheat lamps light behind a red lens.
The yellow ID tag is marked NSN: 1290-00-966-9318.

Not sure of the function of the red light.  Let me know.  Also let me know what other adapters are available for the XM63.

also see 40mm \ M777

Fig 1
XM63Fuze
                      Setter
Fig 2 the adapter works similar to a LEMO connector,
push on - pull off.
XM63Fuze
                      Setter
Fig 1 Showing the test button. red light, and battery cap.
XM63Fuze
                      Setter
Fuze
Gun
Seconds
Type
TM
M562
4.2" Mortar
0-100
clockwork
43-0001-28
M563
105mm
0-100
clockwork 43-0001-28
M564
105, 155mm & 8"
2-100
clockwork 43-0001-28
M565
105mm through 8"
0-100
clockwork 43-0001-28

1739921 Operating electric projectile fuses, chuler Hermann, Gietmann Anton, Rheinische Metallwaaren and Maschinenfabrik, 1929-12-17, - cited by 29 patents
2404553 Electric fuse and setting apparatus, Jr Nathaniel B Wales, App: 1941-08-06, W.W.II, Pub: 1946-07-23, - vacuum tube, 10 - 40 second range, cited by 45 patents -
2465351 Projectile timing, Henri G Busignies, Rosa Louis A De, Federal Telephone and Radio, App: 1943-03-26, W.W.II, Pub: 1949-03-29, - inductive coil at muzzle
3143964 Arming and firing mechanism, Jr Charles Young, 1964-08-11, -
3714898 Fuze actuating system, R Ziemba, GE, 1973-02-06, -
3967557 Adjustable electrical time delay fuze, Charles G. Irish, Jr., Army, 1976-07-06, -
4022102 Method and apparatus for adjusting a fuze after firing a projectile from a weapon, Godwin Ettel, Rheinmetall Air Defence, 1977-05-10, - projectile goes through coil that inductively programmed it
4495851 Apparatus for setting and/or monitoring the operation of a shell fuse or detonator, Hans-Gerhard KoernerHelmut LangRainer BertholdRainer StrietzelFriedrich Melchior, Brown Boveri, 1985-01-29, - microwave data link

Deep Submergence Vehicle

Patents that have the phrase "deep submergence vehicle" most of which are assigned to the Navy.

Related

40mm Grenades -China Lake Pump 40mm Grenade launcherRocket Patents -
Aircraft
C-3 US Navy Infrared IR Signaling Telescope
Harold "Doc" Edgerton & GR Strobotac, Sonar & Krytron
IR_Beacon IR Beacons
M32 Tank IR Gun Sight
M18 M18 IR Binocular
M227 M-227 Signal Lamp Equipment SE-11 - Gun shaped flashlight, trigger, relay, IR Filter option
Optics
PAS6 PAS-6 Metascope IR Viewer & IR Source
Radar Warning Receivers
Radiosonde & PILBAL theodolite
Torpedoes 
UAS4 UAS-4 Infrared Surveillance System, AN/AAS-14 Infrared Detecting Set, MK-898/AAS-14A IR Optical Filter Kit

References

Ref 1. The Deadly Fuze: Secret Weapon of World War II, Ralph B. Baldwin, 1980, ISBN: 0-98141-087-2
Ref 2.  Scientists Against Time, Baxter, 1968, , ISBN: 9780262520126
Ref 3. Pieces of the Action: The personal record of sixty event-filled years by the distinguished scientists who took an active and decissive part in sharing them, Vannevar Bush, 1970, ISBN: 9780304937837
Ref 4. U.S. Army Test and Evaluation Command Commodity Engineering Test Procedures, Fuze Jammer Countermeasures Equipment, 19 Nov. 1968, AD718605
Ref 5Proximity Fuzes Theory and Techniques, VK Arora, Ministry of Defence, India, 2010, ISBN: 978-81-86514-29-0
Ref 6. Radio Proximity Fuzes:  The Radio Proximity Fuze - A survey, Edward A. Sharpe, SMEC, 2003 -
Ref 7. NDRC: Summary, photoelectric fuzes and miscellaneous projects -
Ref 8. Ordnance School Text: Rockets and Launchers All Types, 1944 - Also see Bazooka
1. General
M6A1, M7A1, M8 & M9 Rockets

2. 2.36" Rockets, Bazooka M6A1, M7A1, M6A3, M7A3, T12 & T23 (6 forward folding fins), T26, T27, T31
Rockets, Bazooka M6A1

3. 3.25" Rockets, Target M2, M2A1, TM 4-236, TM9-390
4. 4.5" Rockets, M8, M9 (forward folding fins), M4 fuze, T29 - Launchers: T27 (8 tube), T34 (60 tube), T36 (8 tube)
4.5" Rockets, M8

5. 7.2" Rockets, T14, T15, T16, T17, T21, Mk 147 Fuze, T24, T37, Mk 146 Fuze - Launchers T40
7.2" Rockets T21


6. 8" Rockets, 100# bomb + M8 4.5" rocket
7. 10" Rockets, T10, T10E1, T10E2,
Ref 9. OP 1480 VT Fuzes for Projectiles and Spin-Stabalized Rockets, 15 May 1946 - 5" rockets do not have the set-back acceleration that breaks the glass ampule in guns, so uses a Spin Breaker Mk 1 Mod 0.  "Wave-Suppression Feature" is circuitry that suppresses the effect of ocean waves on the Doppler processing by filtering low frequencies out of the receiver.  "Tracers cannot be used with VT fuzes. When tracers are used, the fuzes are caused either to "premature" on arming or to remain electrically inoperative until the tracer burns out. This is caused by the ionized trail from the tracer flame. The same effect is present in rockets; hence the long arming time for rocket VT fuzes."  No mention of operating RF frequency.
Ref 10. YouTube:
The Proximity Fuse - Secret Weapon of World War 2 -  The VT Fuze 8:23 - Office of Scientific Research & Development, Naval Bureau of Ordnance, Army Ordnance Department - many videos of VT fuzes in action is different modes.
Ref 10.
History of Communications-Electronics in the United States Navy, by Howeth,1963 (free) - X=Ch XLI: The Proximity Fuze, pg 495 -
Ref 11. Radio Proximity Fuzes for Fin-stabalized missiles, NDRC Div 4, Vol 1, 1946 (Wiki: Proximity fuze), 496 pgs, Declassified Sep 1960,
The original divisions of the NDRC: A: Armor and Ordnance, B: Bombs, Fuels, Gases, & Chemical Problems, C: Communications and Transportation, D: Detection, Controls and Instruments, E: Patents and Inventions.
The later divisions:
Div
Name
1
Ballistic Research
2
Effects of Impact & Explosion
3
Rocket Ordnance
4
Ordnance Accessories
5
New Missiles
6
Sub-surface Warfare
7
Fire Control
8
Explosives
9
Chemistry
10
Absorbents & Aerosols
11
Chemical Eng
12
Transportation
13
Electrical Coms
14
Radar
15
Radio Communication
16
Radio Coordination
17
Physics
18
War Metallurgy
19
Miscellaneous

Applied Math

Applied Phychology

Comm on Propagation

Tropical Deterioration
TOC
Introduction
The Radiation Interaction System
Electronic Control Systems
Mechanical Design
Catalogue of Fuze Types
Production
Laboratory Testing of Fuzes
Field Testing of Proximity Fuzes
Analysis of Performance
Ref 12. YouTube:
To the Sea , . . a Sidewinder 50 years of snakes on the wing. AIM-9 Sidewinder missile history, 1:07:08 -
Started November 1947 with memo by W. B. McLean
@2:27 FS 567 for a Heat Homing Rocket, 1950 Local fuze project 602,
@12:22 China Lake would develop a "heat homing rocket" i.e. not a "missile".
@12:54 Using a centerline bomb trapeze to release a rocket
Ref 13. The Pursuit of Precision. AGM-62 Walleye The TV-Guided Glide Bomb, 1:48:02 - Wiki: AGM-62 Walleye -
@10:30 Pigeon, dog, bat & @10: 45 Kamikaze guidance
@10:55 Project Coso Jr. China Lake testing anti-kamikaze Weapon Tests, 1945
@22:00 Crawford: RCA History of Television in W.W.II - Mistakes in W.W.II TV guided bombs.  A hard mounted TV needs a wide field of view so you can't see very well.  So, Gyro stabilize camera and use much narrower field of view.
@22:57 we learned how to build TV stuff that could go into a missile
@23:04 we did develop a small, compact, solid state, camera system
@24:04 many aspects of Sidewinder development also drew on in house funding "if it wasn't for sidewinder WallEye would never have been funded."
@38:57 the hot gas power source used on Sidewinder did not last long enough for WallEye, so a Ram Air Turbine generator (Wiki: RAT)
@1:09:44 Mel McCubbin linear shaped charge
@1:24:47 Project 1-63: June 1963 demonstration for JFK
Ref 14. The origins of ARM. Defence suppression and the AGM-45 Shrike antiradar missile, 1:15:54 Anti-Radiation Missile (Wiki: ARM)
@3:57 Cdr "Bud" Biery, USN (ret) Iron Hand pilot 1968-69
@5:15 APR-25, APR-27 warnings
@6:50 "Dip Angles" & "Line Up Your Needles"
Shrike Line Up
                      Your Needles
How to get wiring diagram for the
Indicator-attitude, Remote?

Let me know.
This is larger than a standard aircraft instrument. 
5" wide x 5-1/4" tall x 8-1/2" deep.

The below indicator does not have the horizontal and vertical needles shown in the Ref 14 video.  It's got a 1956 contract date so predates the Shrike missile.
Fig 1
NARF - Alameda: 70 Dec update
Indicator-attitude, Remote MM-1
Fig 2
Con: 3106A-22-14P
19 male pins
Indicator-attitude, Remote MM-1
Fig 3  Indicator-attitude, Remote
BUAER USN
Type: MM-1
Spec.: IL-I-25022
Mfr's Model No.: 978R
Mfr's Part No.: 105759-01
Series: G
Mfr's Serial No.: 51183
Order No.: NOA-8-56-157F
Stock No.: R8811398-005-000
Lear, Incorporated, U.S.

Indicator-attitude, Remote MM-1

@12:38 Countermeasure for Measure: Chaff, Moth missile which was intended for German Radars in W.W.II, but abanded
@14:05 Frederick Alpers, NBS - in the Korean war radar directed guns were very effective,  Bat II (Wiki ASM-N-2 Bat)
@19:59 Cobra BuOrd No. 13-59
@23:33 "A Bird in the Hand" 1961 Cobra renamed "Shrike" a small bird that pecked the eyes out of it's enemy. Corvus guidance system had all kinds of problems, new control system based on the hot gas system from Sidewinder, used 8" dia Sparrow motor (Wiki), Paul E Cordle primary engineer on fuze - warhead combination 23,000 steel cubes,
@26:08 cavity backed spiral antenna (you can see 4 quadrents) by Robert Corzine,
@27:20 Richard Smith Hughes (patents): Stripline or microstrip Joseph Mosko "we woud use a single broadband spiral antenna, 5:1 bandwidth or greater,
@30:09 Paul E. Cordle (warhead) guess steel cubes are 1/2" on a side,
@32:38 Ray A. Miller, Propulsion design engineer, First gen Shrikes had Aluminum powder in rocket which made visible smoke, the next generation was reduced smoke,
@37:26 Bob Corzine - scale model on boom from pickup truck at 55 MPH.  SCR-584 radar and hot air balloon.
@42:48
Project 1-63: June 1963 demonstration for JFK
@45:49
Entered service in 1965,  -1 & -2: FireCan Radar (Wiki: SON-9) and Fan Song (Wiki) family, in 1966 -3: real work horse with 16,000 produced.  Bar Lock, introduced angle gating (see: 3902685) which ignores other emitters that are more than 4 degrees away from the target.
@47:40 Craig Rae -9 and -10 were broadband versions.  -4, -5, -6 and -7 to supress: Headlights, Low Blow, Flat Face, and new generations of Fan Song.  Shrike On Board (SOB) ship launched to attack radar guided shore batteries.
@53:50 "Harmonic Progression"
1968 - 1969 Frank Knemeyer Shrike 73 was HARM (Wiki)
@1:04:00 "Dead Reckoning" From SEAD to DEAD.  follow-on to HARM is AARGM
Ref 15. The Grand Experiment at Inyokern: Narrative of the Naval Ordnance Test Station During the Second World War and the Immediate Postwar Years (History of the Naval Weapons Center, China Lake, California, Volume 2), 1978, L.C. Card: 78-600077, 432 pgs hard cover
Ref 16. Magnificent mavericks: transition of the Naval Ordnance Test Station from rocket station to research, development, test and evaluation center, 1948-58, by Elizabeth Babcock
Ref 17.Twelve Seconds of Silence (RWR Ref 3)with extensive comments.
Ref 18. Pushing the horizon: Seventy-Five Years of High Stakes Science and Technology at the Naval Research Laboratory, Ivan Amato, 1998 - the personal copy gifted to Dr. Fred Saalfeld.
Ref 19. YouTube: Proximity Fuze – The 3rd Most Crucial Development of WW2 (15:28)
Ref 20. AirVectors:
The Wizard War: WW2 & The Origins Of Radar: 5.5 Proximity Fuze -
Ref 21. Ground to Air AA Guns - YouTube:
Flak (1944), 17:06
Ref 22. US Naval Weapons: Every gun, missile, mine and torpedo used by the US Navy from 1883 to the present day, Norman Friedman, 1982, ISBN: 0-87021-735-6
Ref 23. Guidance and Homing of Missiles and Pilotless aircraft (DTIC:ADB807471.pdf), H.L. Dryden NBS, G.A. Morton RCA & I.A. Getting MIT, WPAFB May 1946,
Part 1: Selected Guided Missiles now Developed or Under Development, Hugh L. Dryden, Nov 1945
Air to Ground Missiles
PC-1400-FX (German) - radio controlled guide bomb
Hs-293 (German) - radio controlled guide bomb
GB Series (AAF) - numerous types, the GB-6A uses the "Offner heat seeker"
2517702 Locating device, Offner Franklin, App: 1944-11-03, Pub: 1950-08-08, - IR seeker - similarities to the MD-1 Star Tracker
VB Series (AAF) - azimuth only remote control (Axon). VB-5 uses "Bemis heat-seeker"
2826703 Optical system for heat-homing bomb, Alan C Bemis, Willard E Buck, Jr Ernest B Dane, Sec of War, App: 1947-02-17, Pub: 1958-03-11, - heat homing bomb,  a lot of similarity with Sidewinder.
2705274 Bolometer and method of making, Willard E Buck, Sec of War, App: 1946-11-21, Pub: 1955-03-29, - for use in Heat-homing bomb, uses Nickel strips for the Bolometer.
Glomb (Navy, Wiki, Ref 22- pg:200) - remote control with TV
Gargoyle (Navy, Wiki, Ref 22-pg: 201)
Pelican (Navy, Wiki) - RADAR homing glide bombs
Bat Series (Navy, Wiki)
Dove (Navy, Ref 22:pg 202, Mark Dionne: First Heat-seeking Missile) - IR homing bomb, transferred to Kodak in July 1946 (Ektron P-2?)
Ground to Ground Missiles
V-1 (German, Wiki))
V-2 (German, Wiki)
A-9, A-4 (German) - a V-2 with wings
JB Series (AAF) - US copy of the V-1
BQ & Willie (AAF) - remote controlled bombers
Ord-CIT (Army) - Private, WAC Private & Corporal missiles
Hermes (Army) -
TDR (Navy) - pilot-less aircraft - drones
Air to Air Missiles
Hs-298 (German) - radio controller liquid fuel rocket, mechanical wire guidance
X-4 (German)
Gorgon (Navy, Wiki) - remote controlled rocket
Lark (Navy, Wiki) - could not attack jet powered bombers, program did not continue.
Ground to Air Missiles
Enzian (German, Wiki) - cancelled before becoming operational
Rheintochter (German, Wiki) - radio control, cancelled on February 6, 1945
Wasserfall (German, Wiki) - anti-aircraft version of the V-2 - manual radio control
Feuerlilie (German, Wiki) - shelved because of problems with the controller and the drive section at the end of January 1945
Boeing Study (AAF)
Nike (Army, Wiki) - many variants and sites
Bumblebee (Navy, Wiki) - Talos, Terrier/Tartar, Typhon, Triton, Standard Missile
Part 2: Heat and Television Guided Missiles, G.A. Morton
Heat and Light Homing Missiles
Sensors: bolometer (temperature -> resistance), thermopile (temperature->voltage) & Golay sensitive element (temperature ->brightness).
The Lead (sulphide/selenide/teluride) photoelectric cell is 1,000 to 10,000 times more sensitive than any of the prior sensors, but can not see in the 1.8 to 13.5 micro atmospheric window, it's limited to at most 4 micron "short IR".  This means the target needs to be over 50 deg C.

2424976 System for detecting sources of radiant energy, Marcel J E Golay, Harold A Zahl, Sec of War, App: 1939-06-12, W.W. II, Pub: 1947-08-05, - visible, ultraviolet, and infrared spectra, "...the visual indication of minute distortions produced in a suitably flexible thin film by gas pressures acting on one surface of the film where these pressures are related to and caused by radiant energy falling on the device."
2557096 Radiation detecting device, Marcel J E Golay, 1951-06-19, - has the look and feel of a reflection type image converter tube.
2502319 Method and apparatus for measuring radiation, Marcel J E Golay, 1950-03-28, - spectroscope

Project Felix (NDRC-rc-180, NDRC-rc-183)
GB6 -Eppley thermopile

Application of TV to Guided Missiles

Part 3: RADAR Aids for the Guidance of Missiles, I.A. Getting, Nov 1945
RADAR Aid to Guided Missiles W.W.II
Advantage of RADAR Guided Missiles
Disadvantages of RADAR Guided Missiles
The Problem - the problem arising from poor data - causing errors in the control loop
Part 4: RADAR Homing Missiles, Hugh L. Dryden
This is about using a RADAR to illuminate a target and homing on that target.  But clutter is a big problem.
Ref 24. Insisting on the Impossible : The Life of Edwin Land by Victor K. McElheny - includes some info on the Dove IR homing bomb
Ref 25. The War Zone:  Her Majesty's Death Ray: How The AIM-9L Sidewinder Vanquished The Argentine Air Force, Oct 2020 - has some sidewinder history.
Ref 26. YouTube: The Subminiature Vacuum Tube, 1986, 16:37 Proximity Fuze - over 100 Million subminiature tubes made during W.W.II (PS Raytheon made the CK722 (Wiki).  The one I bought was blue).
Ref 27. YouTube:
WWII - Top Secret \"Smart Bomb\" Technology Developed During the War (1947 film) by Signal Corps (Misc. 1231)
@0:04 Rebecca - Eureka (Wiki) -
@2:07 VT Proximity Fuze
@3:20 Sound Ranging Equipment See: RT-1185/GRA-114 Sound Observer Receiver Transmitter -
@3:33 Mortar Locator precursor to TPQ-37 & TPQ-37
@3:43 Radio Controlled Mines AN/TRT-1 - rotary telephone dial to select mine
@4:09 Azon Bomb
@5:00 Television Bomb - Radio Guided Missile
@5:35 Future TV controlled Atomic Rocket showing a V-1 launch, Elevation & Azimuth controls with no way to know Lon & Lat.
Ref 28. Azon Bombs checked for military operations in China-Burma-India Theater during Wo...HD Stock Footage, 4:15 - CriticalPast uses a very dark watermark that makes their videos almost useless.  The round can is the flare with a 10 second delay fuze.  @1:55 Electrical test with Ohm Meter.  @2:13 The rectangular can contains the two electric motor gyroscopes which are @2:56 tested on a 90 degree rotation table.
Ref 29. Azon, 2:11 - VB-1= 24V battery, Gyro Stabilizer to keep from spinning (could have use the Rolleron), Radio Receiver, 600,000 CP flare, if a 2,000# bomb is used it's called a VB-2.
Ref 30. Demonstration on assembling and directing Azon Bombs by the 7th Bombardment Group...HD Stock Footage, 1:59 - Apr 1945, Filling web battery, @0:23 Testing Gyros, proportional control
Ref 31. RAZON, 9:42 - Div 5 of NDRC, VB-3 (Wiki) with 1,000# bomb.  Cylindrical housing, unlike rectangular housing on VB-1 and VB-2 AZON.  Major components are: Receiver (new shape to fit cylinder, 24 VDC battery and dual gyro.  It's not clear what causes the gyros to spin. The gyros control fins separate from the up/down elevators - left/right rudders fins.  Flare on tail cover. Nose arming and tail arming are also present.  Video explains modification to Nordeen bomb sight and how it works.  @5:42 Example drop where two bombs are releases at same time one normal and one RAZON.
Ref 32. NBS RP1723, Vol 37, July 1946, 18 pgs: Radio Proximity Fuze Design, Wilbur S. Hinman Jr & Cledo Brunetti, 1946, 18pgs -  (jresv37n1p1_A1b.pdf, jresv37n1p1_A1b.pdf) - "Navy assumed responsibility for the development and procurement of proximity fuzes for rotating projectiles, such as antiaircraft and artillery shells, while the Army directed the development of fuzes for nonrotating projectiles, such as bombs, rockets, and mortars. This paper deals with the Army phase of proximity fuze development."
Ref 33. NBS: Radio Proximity Fuzes,  John W. Lyons for Army Research Lab, - cutaway view of T50 bomb fuze
Ref 34. Radio proximity fuzes for fin-stabilized missiles,  Ellett, Alexander,  Bush, Vannevar, Conant, James Bryant, OSRD/NDRC, 1946, 496pgs, (Declassified Sep 1 1960)
1. Introduction                       1
2. The Radiation Interaction System  17
3. Electronic Control Systems        81
4. Mechanical Design                167
5. Catalogue of Fuze Types          209
6. Production                       245
7. Laboratory Testing of Fuzes      278
8. Field Testing of Proximity Fuzes 312
9. Analysis of Performance          360
Glossary                            433
Bibliography                        437
OSRD appointees                     463
Contract Numbers                    464
Service Project Numbers             467
Index                               469
Ref 35. Fuze Sensivity to EM, 41pgs, - in relation to pre-1960 UXO (Wiki)
Ref 36. Summary Technical Report of the National Defense Research Committee, Summary, Photoelectric Fuzes and Miscellaneous Projects, 1946
1. Summary of Work of Division 4                                                                                 1
2. Proximity and Time Fuzes                                                                                     12
3. Photoelectric Fuze Development; Intro and Summary                                                            20
4. Basic Principles and Design of PE Fuzes by Alex Orden & R.F. Morrison                                        24
5. Description of Photoelectric Fuze Types by Charles Ravitskey, T.M. Marion, W.E. Armstrong & J.G. Reid Jr     36
6. Laboratory Methods for PE Fuzes by Alex Orden                                                                59
7. Field Test Methods for PE Fuzes by Alex Orden                                                                70
8. Evaluation of PE Fuzes by Alex Orden                                                                         75
9. Miscellaneous Projects of Division 4 by Clarence B. Crane, L.M. Andrews, T.N. White & Robert D. Huntoon      89
9.5 TV controlled rudder glide bomb (AZimuth ONly: AZON)see book ref 25 through 35.
Bibliography                                                                                                   101
OSRD Appointees                                                                                                109
Contract Numbers                                                                                               110
Service Projects                                                                                               113
Index                                                                                                          115
Ref 37. The Proximity Fuze, Louis Brown, Carnegie Institution of Washington, April 24, 1993, IEEE -Tubes: triode Osc: Sub miniature 739,  Pentode Amp:two each: QF5C, Thyratron: Sub miniature 7368?
Ref 38. Developing the Proximity Fuze, and Its Legacy by Dr. William T. Moye -
Ref 39. They Never Knew What Hit Them: The Story of World War II's Best Kept Secret, Ralph B. Baldwin, 1999, ISBN-0-969683-15-6 -
Ref 40.
Ref 41. VT Proximity Fuze Manufacturers of World War Two - many many facts, figures, photos, and articles.
Ref 42Warriors and Wizards: The Development and Defeat of Radio-Controlled Glide Bombs of the Third Reich, Martin J. Bollinger, 2011 - Use of wire recorder to capture the control signals. Howard Lorenzen (Patents)
2620470 Doppler traffic control system, Jr Roy L Rather, Howard O Lorenzen, 1952-12-02, - CW Doppler seems like a poor idea since it can not see stopped cars.
2763783 High frequency oscillator, Howard O Lorenzen, App: 1946-04-05, W.W.II, Pub: 1956-09-18, - for use with Lighthouse tube (YouTube: Radar History: Part II: The Lighthouse Tube) Rudolph Dehn (Patents), William Kornrumpf (Patents),
Airborne Instruments Labratory, Mineola, NY, (patents) was involved in building prototype jammers. - some history of AIL - Invention of Stripline - also see 1N21 tester AIL 390.
2602924 Antenna field pattern measuring system, Otto H Schmitt, Winfield E Fromm, Wesley A Fails, Fredrik R Barnes, Roger E Avery, AIL, 1952-07-08, - measuring airborne antennas using scale models.

Lenkkörper und Zielweisungsgeräte der deutschen Luftwaffe - 234 pages, while mainly about the "Television Aided Missile Guiding System of German Airforce WW II (Luftwaffe)" it also covers aspects of the "Der Bildsender der Hs 293D".

HyperWar US Navy in World War II: NRL Report No. R-2241: General Instructions for Guided Missile Countermeasure Systems, 3 March 1944, NRL -
Ref 43. youTube: The Proximity Fuze: Whose Brainchild?, James W. Brennan, Sept 1968, USNI Proceedings, Vol 94/9/787 - poor OCR,
Ref 48. History of the Electro-Optical Guided Missiles, 2016, 82 pages (web page) - lots of Sidewinder & related information + countermeasures + FIM-92A Stinger - much in common with Ref 49.
Ref 49. Aircraft Infrared Principles, Signatures, Threats, and Countermeasures, 2012, 129 pages, (ADA566304.pdf), NAWCWD Point Mugu - mostly theory, many photos,
Ref 50. Critical Technology Events in the Development of the Stinger and Javelin Missile Systems, 2006, 39 pages (ADA454087.pdf)
Ref 51. Genesis of Infrared Decoy Flares, The early years from 1950 into the 1970s, 2009, 186 pages (ADA495417.pdf)
Ref 52. Sidewinder: Creative Missile Development at China Lake, Ron Westrum, 1999, 331 pages, ISBN-13 ‏ : ‎ 978-1557509512 - This is one of a handful of books where I have more than one copy.
Ref 53. Designation-Systems.Net: Early Navy Missiles -
Ref 54. Ref 56. LDM #276: TOW Missile - Flight motor, thermal batteries and Gyro, 7:43 -
Ref 60. LDM #270: BGM-71 TOW Missile Part 2: electronic boards, 20:34 - 2 Freq to Volt boards, a 4-channel power output control board, Sequencer board with custom brass part (EaglePicher Pyro Switch),  @ 8:17 Block diagram
Ref 61. LDM #273: BGM-71 TOW Missile Part 3: pitch and yaw commands test, 8:18 - PLL boards at 520 & 840 Hz, Bandpass filters at 520 & 840 Hz;
Ref 62. LDM #277: Inspection cameras comparison, 15:49 - TOW rocket engine, Maverick Laser Seeker head. - can not see much.
Ref 63. The Kidnapping of the Lunik (Kidnapping-of-the-Lunik.pdf)
Ref 72. NSA: Intelligence for the Space Race, Wheelon & Graybeal, 1961 - (EBB-03.pdf)
Ref 73B-24 Proximity Fused Bombing Attacks Supporting the Iwo Jima Landings – Combat Effectiveness Review, 14:44 -
Ref 74. How one missile changed air combat | The AIM-9 Sidewinder, 15:44 - SubStack - overview of each varient
Ref 75. January 1945, The German Engineers Who Examined the 'Magic Shells', 28:50 -
Ref 76. NRO: Declassifying Jumpseat: An American Pioneer in Space - ELINT  (Wiki: AFP-711, Project EARPOP- replaced by the Trumpet satellites (Wiki).
Ref 77. The Dark Reason the TOW Missile Is Still in Service, 16:36 - battery problems when hot or cold.


Links

China Lake Museum Foundation - Books & DVDs

PRC68, Alphanumeric Index of Web pages, Contact, Products for Sale
Page Created 2017 September 1