Radio Direction Finding

© Brooke Clarke 2009 - 2025



Background
Huff-Duff
Operation Rafter
Platforms
Patents
    Left-Center-Right A/N
    ILS
    Magic Eye Tube
    Pan Am
References
Satellite Based RDF
My Related web pages
YouTube
Links

Background

After reading "Secret Weapon" by Kathleen Broome Williams (ISBN: 1-55750-935-2)  Ref 1, about shipboard High Frequency Direction Finding (HFDF) and it's impact on sinking German U-boats I wanted to have a look at the patents relating to direction finding.  The model SE950 1918 Navy aircraft LW direction finder started this.

There are different flavors of Radio Direction Finding (RDF).  In navigation systems the transmitter is at a known frequency and transmits pretty much all the time.  But in the case of a distress transmission the frequency is known (was 500 kHz) but the duration is short.  And in the case of a German sub in W.W. II the frequency is sort of known and the transmission time is very short (under one second, GRA-71, Wiki: Burst Transmission).

Lorenz Beam (Wiki) uses dots and dashes similar to the  dot dash - dash dot (A-N) Low Frequency Radio Range (Wiki).  This Wiki page has excellent background on the early DF systems starting about 1928. The Robert Watson-Watt lightening strike system paper was given in 1926.
Battle of the Beams (Wiki) is related to German radio systems for blind bombing the UK in W.W.II.
List of Set, Complete Radio (Wiki: SCR)

The precursors to the Wullenweber (Elephant Cage) (Wiki) the following are DF systems that give an instantaneous bearing.

Probably the earliest direction finding was done by Robert Watson-Watt, see: An Instantaneous Direct-reading Radiogoniometer, 1926- This was for locating lightening strikes, but in the discussion after the lecture it's application to aircraft navigation beacons was discussed.

Huff-Duff (Wiki)

In the movie Castles in the Sky (IMDB) they point out that Robert Watson-Watt worked in the meteorology (weather) (Wiki: MET) branch of the National Physical Laboratory (NPL).  While there he developed a direction finding system utilizing an Adcock antenna (Wiki) combined with a Western Electric model 224 oscilloscope which gave instantaneous bearings to lightening strikes.  This lead to automatic HF DF (Wiki: Huff-Duff).  An advanced version of this system in the Elephant Cage (Wiki: Wullenweber) DF system that has a bearing in a fraction of a second.

This is very different from DF systems that require manual pointing.

Patents by Robert Watson-Watt.
YouTube: The Last Elephant Cage - FLR-9
Sonobuoy Ref 54:
Sighted Sub Sink Same: the United States Navy's Air Campaign Against the U-boat, pgae XV has a photo of a CRT based Huff-Duff station.

Operation Rafter (Wiki)

By listening using a very sensitive receiver the LO of a W.W.II vintage receiver can be tuned.  For RAFTER the frequency of the transmitter was known (typically a specific Numbers Station (Wiki).  The sensitive receiver would be tuned to 455 kHz above the transmit frequency (sometimes 455 kHz below).

From the Wiki page: "By accident, one such receiver for MI5 mobile radio transmissions was being monitored when a passing transmitter produced a powerful signal. This overloaded the receiver, producing an audible change in the received signal. Quickly the agency realized that they could identify the actual frequency being monitored if they produced their own transmissions and listened for the change in the Superheterodyne (Wiki) tone."

It's not clear what is learned and how the sensitive receiver is tuned?  Let me know.

Platforms

Ships

The idea of the SE950 was that ships in W.W.II could locate submarines by using RDF. The target signal might be a transmission or from the Local Oscillator (LO) from a receiver leaking out to the antenna.

The YE-ZB system (http://aafradio.org/docs/YE-ZB.pdf) as described in History of Communications-Electronics in the United States Navy, by Howeth,1963 (Ref 2), used 12 azimuth beams each of which sent out a Morse code letter.  An omni directional receiver in a carrier based airplane would know the bearing to the carrier by the letter that was strongest. 
Aircraft: "ZB" UHF adapter for RU receiver.
Aircraftcarrier: rotating YE transmit antenna at top of mast.  Codes tied to Magnetic North, not ship heading.
This system was replaced by TACAN (Wiki).
1820004 Aerial navigation system and method, Kruesi Geoffrey Gottlieb, FED TELEGRAPH CO, 1931-08-18 - a 6 beam system.  

Aircraft

One use for RDF is part of a navigation system where the transmitting beacon location is known.  This might be a low frequency, high frequency, VHF or UHF.  The ARN-89 is an example of a LF-HF RDF system and the Light Weight Beacon is an example of an LF beacon that can be backpacked to a known location.

Another application is the one Robert Watson-Watt first developed, knowing about lightening. The "StormScope" and SkyScan are just such an instruments. The Tempest weather station has a lightening detection capability.

The A-N Low Frequency Radio Range was introduced in 1928.  The early Link Trainer was to learn how to use this navigation aid, not to learn to fly.
FAA: Flight Inspection History - checking various radio aids to navigation

The DU-1

This was made by Bendix.  It covers the low and medium frequency bands.

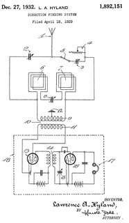
1892151 Direction
                  finding system, Hyland Lawrence A, Wired Radio Inc,
                  Dec 27, 1932
1892151 Direction finding system, Hyland Lawrence A, Wired Radio Inc, Dec 27, 1932, 342/445, 343/728 - loops & sense whip, switchable unidirectional or bidirectional

Note sense antenna (1) used to eliminate ambiguity of loop antennas (6, 7).
1981884 System for detecting objects by radio,
                  Hyland Lawrence A, Taylor Albert H, Young Leo C, Nov
                  27, 1934
1981884 System for detecting objects by radio, Hyland Lawrence A, Taylor Albert H, Young Leo C, Nov 27, 1934, 342/27, 367/128, 342/453, 340/991, 342/407 -
bi-static RADAR, depends on re-radiation rather than reflection since the frequency is much lower than current RADAR systems (i.e. probably HF).

Note this is THE first U.S. RADAR patent.
It is for a CW system that can not determine distance, only Doppler from a single station.
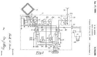
2144309
                          Radio apparatus, Hicks Charles William, Bendix
                          Radio, App: 1935-07-12
2144309
                          Radio apparatus, Hicks Charles William, Bendix
                          Radio, App: 1935-07-12


2144309 Radio apparatus, Hicks Charles William, Bendix Radio, App: 1935-07-12, Pub: 1939-01-17, 342/443 116/280 342/449 116/302 455/274
2144310 Radio
                  apparatus and method of manufacture, Hyland Lawrence
                  A, Bendix Radio Corp, Jan 17, 1939
2144310 Radio apparatus and method of manufacture, Hyland Lawrence A, Bendix Radio Corp, Jan 17, 1939, 343/842, 343/866, 29/605, 29/602.1, 343/872, 403/270

Note using insulating spacers (5) to keep wires separated from eachother and from the metal tube reduces capacitance which improves operation.
2159379 Radio
                  antenna, Hyland Lawrence A, Bendix Radio Corp, May 23,
                  1939
2159379 Radio antenna, Hyland Lawrence A, Bendix Radio Corp, May 23, 1939, 343/705, 343/872, 123/41.56, 244/1.00A, 343/866 - shielded loop built into a Townend ring (Wiki).  Note even though the cowling is close to the spark plugs, the shielding stops the ignition noise.
2411198
                          Radio apparatus, George V Eltgroth , Bendix
                          Aviation Corp, App: 1941-11-07, W.W.II, Pub:
                          1946-11-19 - DU-1 Loop
2411198
                          Radio apparatus, George V Eltgroth , Bendix
                          Aviation Corp, App: 1941-11-07, W.W.II, Pub:
                          1946-11-19 - DU-1 Loop

2411198 Radio apparatus, George V Eltgroth , Bendix Aviation Corp, App: 1941-11-07, W.W.II, Pub: 1946-11-19, -
looks like the DU-1
Band 1: 200 - 400 Kcs
Band 2: 400 - 800 Kcs
Band 3: 800 - 1600 Kcs.
2356922 Direction finding apparatus, George V
                  Eltgroth , Bendix Aviation Corp,App: 1942-04-27
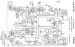
2356922 Direction finding apparatus, George V Eltgroth , Bendix Aviation Corp,App: 1942-04-27, W>W.II, Pub: 1944-08-29, -
has motor powered tracking loop, uses thyratron tubes in push-pull (400Hz?) oscillator

This is for a system newer than the DU-1 manual loop, maybe the ARN-6 or later systems.
Bendix DU1 Loop Antenna

AAF Radio: DU-1 -

Another use might be when an aircraft is involved in Search And Rescue (Wiki: SAR) where the beacon transmitter is in an unknown location.  Survival Radios such as the PRC-90 transmit on known frequencies so the aircraft direction finder system only needs to operate on a limited number of frequencies.

Modern aircraft ejection seats contain a beacon transmitter, similar to the Vietnam era URT-33.  Also built into aircraft there are locator beacons (Wiki) that are activated by a crash.  Locating a downed aircraft is a problem that's not been solved as of 2015.  The case of MH370 (Wiki) is troubling.  The crash type beacon would be ineffective if a plane crashes into water because it will be under water in a very short amount of time.  Although an improved crash beacon could be made (or probably already exists) that would eject from the aircraft and float to the surface. The ultrasonic Underwater Locator Beacon (Wiki: ULB) only has enough battery life to work for a month.  So in the case of MH370 where the crash location could be in a huge area the battery had gone dead by the time the search location was narrowed.  There needs to be improvement in the ULB.  One area is so that standard Sonobuoys can detect it's signal.  The existing signal was designed for optimum range when a very specialized ULB receiver is used.  But in the case of MH370 where no one knew where to look that's of no value.  But there are a huge number of sonobuoys all over the globe and the related equipment and personnel trained to use them.

There has been talk about live streaming aircraft data so that a plane in trouble would be recognized before it crashed, but that's not practical because if every plane aloft or moving on the ground was streaming data there would need to be a system that could (1) have enough bandwidth and (2) process that large volume of data in real time.  A more practical system would be to put a box between the airplane and Flight Data Recorder (Wiki: Black Box) that would look for signs that a crash was likely.  The problem is if the algorithm is too sensitive there will be a lot of false alarms and if too rigid it may not transmit enough information prior to the crash.  Note this system would probably be put out of action the instant of a crash.

2020 June:  the ADS-B beacons (Wiki) might be the answer if it's possible to have a satellite monitor the oceans?

Here's an idea I sent to the FAA:
"A simple solution might be to make an ADS-B transponder with internal rechargeable battery in an enclosure that's strong enough to contain an internal explosion and or fire caused by it's own battery.  This would allow the crew to turn off it's external power, but not turn off the transponder function.  The battery would be charged from the aircraft electrical system and there would be signal from the transponder if it's battery state was low.  That signal can be monitored both by the crew and anyone receiving it's signal.  The battery needs to have enough capacity so that the beacon can operate for more time than the plane it's in.  Rather than just using the internal battery to replace the normal external power when the external power is off the transponder would go into a mode that depends on internal sensors.  Part of this battery mode would be a signal saying it's on battery power.  If a combination of sensors all say the plane is stopped on the ground then the transponder would turn off it's internal battery, but even then would run if external power was applied."

TACAN (Wiki)

The frequency band for TACAN is 916 to 1215 MHz which includes IFF and ADS-B.
Wiki: Transponder, Modes, IFF (used Chain Home radar as trigger,not reliable), IFF2 (pre Magnatron based RADARs), IFF3 (157 - 187 Mhz), The APX-6 included three explosives to keep it out of enemy hands, the Mk X IFF introduced 1030 Mhz for interrogation and a reply at 1090 MHz.  The separation of 60 MHz means an LO at 1060 gives a 30 MHz IF for both Rx and Tx thus allowing the use of very common 30 Mhz IF equipment, ADS-B

TACAN replaced the ZE-ZB system (see ships above).  TACAN systems can be installed on ships or pretty much wherever they are needed. But I'm guessing (2020) that as of the common use of ADS-B beacons and GPS the use of TACAN may decline.

The Wiki mentions there's no provision for stealth or crypto.  That's to say the TACAN can be used by an enemy for their own use, or to attack the TACAN station.

2232096 Radio direction finder, Francis W Dane, 1941-02-18 -
2468109 Direction finder,Avery G Richardson, Arbor G Everhart, Federal Telephone and Radio Corp, 1949-04-26 - motor driven & oscilloscope
3185988 Navigation bearing indicator system, Conrad D Ramalho, Hoffman Electronics Corp,  1965-05-25 - TACAN receiver 

Ground Based

During W.W.II there were HFDF systems called Wullenweber (Wiki) FLR-9, Circularly Disposed Antenna Array or AN/FRD-10 (Wiki).  In these systems which started off using a motor driven high speed scan and later upgraded to solid state beam rotation a very short transmission was all that was needed to get a good bearing to the source.  This eliminated the cover that was provided by burst transmission like the GRA-71 that transmitted a message at 300 Words Per Minute instead of maybe 15 WPM for a manual Morse transmission.

The Army has a number of DF systems to locate enemy ground radio transmitters, for example the PRD-1 HF Direction Finding Radio used in Korea and Vietnam, Radio Receiving Set AN/TRQ-23 which uses the OE-4/GR antenna group.  This system uses a motor drive to rotate the DF antenna and a CRT to provide bearings.

The Drop Zone Assembly Aid System (DZAAS)  is a directional receiver worn on the wrist the points to a package on the ground that's arrived by parachute.

Key, Object & Pet Location Tags are a new class of devices.  Most work in conjunction with a smart phone and can help in locating something.  Most of them do not depend on direction finding, but rather proximity between the tag and smart phone.

I have a couple of Black Boxes that are in machined aluminum boxes with water proof sealing that probably good to very great depths, i.e. they are the most indestructible electronic products I've ever seen.  Not only could a tank drive over them but also they are immune to high levels of shock and vibration.  They transmit a narrow pulse that all my receivers will not receive because a matched detector would require a much wider bandwidth than commercial or military receivers use, so the signal is very stealthy.  I'm sure there's a directional receiver that works with these to help someone find whatever is attached.

Submarines

They can have systems that are similar to the Wullenweber only at much higher frequencies.  This could be used to locate other ocean going vessels or land based radio transmitters.

Missiles

Anti Radiation Missiles (Wiki: ARM) are designed to fly into a source of radiation like would be used on a ground to air weapon system. For example the Shrike and HARM.

Vehicles

Many law enforcement agencies use LoJack (Wiki, Object Location Tags) receivers on their cars.  The police cars use 4 roof mounted antennas that work in a pseudo Doppler mode to provide a bearing.
There are also vehicle beacons that allow a tracking vehicle to follow without being in a direct line of sight.  But I expect these have been replaced by tracking devices that combine a GPS receiver with a cell phone.

Patents

"radio direction finder" exact phrase.
Quick Search for Class  with all years selected. CCL/342/443, also: 342/436
Quick search for Class  with all years selected.  CCL/342/$
Also See: Antennas\Dipoles & WiresAntennas\Direction Finding

GB130490 (Google)  Means for Determining the Direction of a Distant Source of Electro-magnetic Radiation (Wiki: Adcock antenna), Reginald Eaton Ellis (Adcock, Frank (Wiki?)), 1919-08-07, -

984108 Apparatus for Determining the Direction of Space Telegraph signals, Oscar C. Roos, Feb 14 1911, [Secret Weapon Ref 1 pg  76] 342/439 -System using two whip antennas along the centerline of a ship
1218237 Method and apparatus for determining the direction of a Hertzian light-house, Andre Blondel, App: 1913-11-04, Pub: 1917-03-06, 342/398 116/19 367/120 367/138 - directional Tx "frames" coded by bearing, mentioned prior art radiogoniometer.  But station ID not part of directional signal Note "Frames" are a large type of directional antenna, not a small Rx loop.
1221787 Apparatus for directed wireless telegraphy and telephony, Ettore Bellini, App: 1915-06-19, Pub: 1917-04-03, 342/367 342/444 - quad plates or whips
1297313, Ettore Bellini - about switching drive to antenna to rotate pattern
1311654 Radio Method and Apparatus, F. A. Koster, App: 1919-07-29, Pub: 1919-07-29, -  loop Rx antenna with peak and null (although he didn't call it that).  Ref 14  Ch XXII RDF. " In 1915 he discovered that a coil of wire wound on a rectangular frame mounted in such a manner that it could be rotated could be used to determine the direction of propagation of radio waves." - this appears to be the invention of the Rx loop antenna.
1303625 Receiving Instrument for Wireless signaling, A. Artom, 1919-5-13, 342/443 342/444 - crossed loops
1394560 Apparatus for transmitting radiant energy, F. A. Kolster (sic: F.A. Xolster), App: 1916-11-27, Pub: 1921-10-25, -
1447165  - Radio Method and Apparatus, F.A. Kolster, 1923-2-27,  342/448; 343/743; 342/449 - carotid pattern Null for better accuracy -

1471406 Radiotelegraphy, Frederick S Mccullough, Glenn L Martin Co, 1923-10-23,  - for determining the direction of a distant station, uses CRT for instant indication of magnitude, but requires manual antenna rotation.
1569745 Radiocompass reading device for ships, Eoline R Hand, 1926-01-12, 342/443 342/449 342/448 - compass rose below rod then rotatable loop antenna

Weston Model 602 Left-Center-Right meter

1579849 Pointer for electrical measuring instruments, Edward F Weston, Weston Elec Inst, 1926-04-06, - needle for meter movement. 
1635595 Electrical measuring instrument, E.F. Weston, 1927-07-12, - meter movement
1661214 Zero corrector, Carpenter Grant, Weston Electric Inst, 1928-03-06, - meter zero adj

also see Weston Model One and other early galvanometers

1590346 Radio Direction Finding, L.M. Clement (WE), Jun 29 1926, -Bellini-Tosi principle
1593276 Radio direction finder, Stone John Mcwilliams, Operadio Corp, 1926-07-20 - magnetic compass on loop frame
1606476 Radio Signaling System, J.O. Mauborgne & G. Hill, Nov 9 1926, -Includes loop antenna on with azimuth and elevation adjustments
1637615 Radiocompass, Frederick A Kolster, Federal Telegraph, 1927-08-02, 342/443 342/448 - compass rose below rod then rotatable loop antenna
1685821 Direction Finder, A. Leib, Gesellschaft, 1928-10-2, 342/443 342/449 -
1708536 Arrangement for eliminating disturbing oscillations, A. Easu, RCA, 1929-04-09
1715270 Radio direction and position finder, Preston R Bassett, Sperry Gyroscope, 1929-05-28, 342/443 342/449 367/120 33/351 235/83 - compass rose below rod then rotatable loop antenna coupled to gyro compass
1717674 Aerial System for Wireless Signaling, C.S. Franklin (RCA), Jun 18 1929 -Combines two crossed loop antennas seperated by a wavelength and adds a sense antenna
1741282 Radio direction finder, hertzian compass, and the like, Busignies Henri, 1929-12-31, - needle with 90 movement covers 360 degrees of bearing
1767140 Radio-compass indicator, Frederick A Kolster, Federal Telegraph, 1930-06-24, 342/448 313/1 313/580 315/156 342/443 367/124 - lamp indicates strong signal
1796988 Direction indicator and control for radio antenne, Erle H Hand, 1931-03-17, 342/443 343/760 33/355R 343/764 - motorized antenna rotator w/indoor compass rose (electromagnet for indexing)
1799238 Radio direction finding means for airplanes, Leib August, Federal Telegraph Co., 1931-04-07 - constantly rotating antenna
1800454 Radio compass,
Frederick A Kolster, Federal Telegraph, 1931-04-14, 342/443 342/449 33/356 - compass rose below rod then rotatable loop antenna
1806577 Directional Radio System, Frederick A Kolster, Federal Telegraph, 1931-5-19, 342/443 367/120 340/686.1 33/356 -
1809967 Radiant energy receiving system, Henry C Forbes, Westinghouse (CBS), 1931-06-16, 342/443 73/866.1 - loop & E-filed ant, Chart plot of signal v bearing.
1834274 Radio antenna system, Gerhard R Fisher (also see Metal Locators), Federal Telegraph, 1931-12-01, - attention to loop balance for more accuracy.
1839290 Direction finder for radiowaves, Bailey Austin, AT&T, 1932-01-05, 342/436 342/439 367/129 - crossed loops + sense whip, very complex transformer combining network
1849927 Radio direction indicator, James M Howe, 1932-03-15, 342/443 343/871 343/894 - US map with stations?
1868945 Radio direction finder, Kruesi Geoffrey Gottlieb, Bendix Aviation Corp, 1932-07-26, 342/436; 342/443; 342/448 - loop fixed to plane, L-center-R meter.
1876124 Wireless telegraphy and telephony, Wright George Maurice, RCA, 1932-09-06, 455/273 455/293 342/436 - grounded whips transformer coupled to tubes, complex
1883802 Radiocompass, Horatio W Lamson, Texas Co, 1932-10-18, 342/443 343/764 343/760 343/870 - used with transit for surveying
1884006 (RE20922) Antenna, N.E. Lindenblad, RCA, 1938-11-22, -
1908006 Radio goniometer, Bellini Ettore, 1933-05-09, 342/441; 343/867; 343/748 - by using the amplification of triode tubes a part of the crossed loop antennas is made to work as the reference antenna to resolve the 180 degree ambiguity.  Reference is made to the use of a vertical antenna for that puropse in a French 1908 patent # 387933.
1915274 Aircraft compass, Gerhard R Fisher, Federal Telegraph, 1933-06-27, 342/433 - an Aircraft "Radio Compass" uses a motor to keep a loop antenna aligned with radio transmitter and displays L center R meter.
1917268 Multiple frequency receiving system, Carlos B Mirick, National Elec Sup, 1933-07-11, 455/145 342/443 455/157.2 324/76.41 346/33B - motor driven spectrum sweep
1923976 Portable direction finder, Hammond V Hayes, Submarine Signal Co, 1933-08-22, 342/419 342/443 -
1931853 Radio direction finding, John C Schelleng, Bell Labs, App: 1929-08-23, Pub: 1933-10-24, 342/443 342/449 - gimbals for loop
1931864 Radio transmitting system, Gerth Felix, Kramar Ernst, Lorenz, 1933-10-24, 375/309; 342/415 - Transmitter for A-N radio range station (Wiki)
1940902 Direction finding, Henri G Busignies, International Standard Electric Corp, 1933-12-26, - loop on ship
1943329 Visual indicating radiocompass, Carlos B Mirick, National Electric, 1934-01-16, 342/443 342/444 - lamp driven from loop + E-field
1945952 Radio range finder, Nicolson Alexander Mclean, Communications Patents, 1934-02-06, 342/125 342/443 367/2 342/455 - feedback frequency has hyperbolic decrease with distance
1967604 (RE19784) Aerial System, H.H. Beverage, RCA, 1935-12-10, 455/279.1; 343/853; 455/292; 343/851; 455/284; 455/345 - trailing wire, bridge of matching stray cap.
1992019 Radio receiving apparatus, Laurens A Taylor, GE, 1935-02-19, 342/436 - loop + sense: L-center-R.
1997111 System of stroboscopic radiogoniometry, Hardy Rene Jean, 1935-04-09 - motor driven Goniometer
2083495 Electrical Indicating or Measuring System, H.S. Black, E&J Edison,  (Bell Labs),Jun 8, 1937 [Secret Weapon Ref 1 pg  81, 251] -CRT indication of relative phase or amplitude of two same frequency signals

ILS (Wiki; Dev of US ILS)

2044852 Electric indicator for comparing field intensities, Kramar Ernst, Lorenz, App: 1932-12-13, Pub: 1936-06-23, - plane on or off course
2072267 System for landing aircraft, Kramar Ernst, Lorenz, Filed: 1932-09-22, Pub: 1937-03-02, 342/416; 244/186 -
2093885 Means for guiding aeroplanes by radio signals, Gerth Felix, Kramar Ernst, Lorenz, App: 1932-01-06, Pub: 1937-09-21, 342/415; 340/952 - uses two VHF signals for glide slope rather than one VHF and one LF signal. 
2118929 Slip-way beacon, Kramar Ernst, Lorenz, Priority: 1934-03-01, Pub: 1938-05-31, 342/412 - includes marker beacon (D1) (Wiki)
2196674 Method for landing airplanes, Hahnemann Walter Max, Kramar Ernst, Lorenz, Priority: 1933-05-10, Pub: 1940-04-09, 342/412; 340/952 - a way to compensate for receiver sensitivity changes
2151921 Method of modulating high frequency transmitters, Kramar Ernst, Heinecke Erich, Lornez, Priority: 1935-02-05, Pub: 1939-03-28, - constant modulation level.
2212568 Modulated high frequency transmitter system, Kramar Ernst, Heinecke Erich, Lorenz, 1940-08-27, - keeping modulation level constant
2215786 System for landing airplanes, Hahnemann Walter Max, Kramar Ernst, Lorenz, 1940-09-24, - including marker beacons
2226726 Educational appliance for aircraft navigation, Kramar Ernst, Lorenz, 1940-12-31, - training for instrument landing
2241907 Landing method and system for aircraft, Hahnemann Walter Max, Kramar Ernst, Lorenz, 1941-05-13, -
2297228 Glide path producing means, Kramar Ernst, Lorenz, 1942-09-29, - dual lobes
3587099 Sector radio beacon, Ernst Kramar, Internatinal Standard Elec, 1971-06-22, - rotating antenna pattern, ILS, TACAN, but no mechanical rotation

2209191 Radio navigation device, John B Dearing, RCA,1940-07-23, 342/452; 33/319; 89/1.61; 324/88; 340/979; 33/356; 367/120; 340/8.1 - in addition to the two needle indicator (mag compass, bearing to Tx) there's a moving map display.
2092081 Indicator, Miles A Mclennan, RCA, 1937-09-07, 324/88 315/378 324/121R 342/443 33/360 315/382 73/1.76 - loop rotated by synchronous motor, causes spot to circle on scope.  RAC Radiomarine?

Magic Eye Tube & Cathode Ray Tube

2098231 Cathode ray device, DuMont Allen B, DuMont Labs, App: 1932-05-28, Pub: 1937-11-09, 334/33; 313/107.5; 315/375; 327/600; 340/815.66; 116/263; 313/112; 315/409 - One pair of deflection plates, so not an oscilloscope.
2163256 Cathode ray tube, Mont Allen B Du, DuMont Labs, App: 1934-09-18, Pub: 1939-06-20,
313/413; 313/326; 313/336; 313/452; 315/379; 313/252; 313/337; 315/13.1 - This is the oscilloscope CRT with two pairs of deflection plates.

2051189
Tuning indicator tube, Herbert M Wagner, RCA, App: 1935-06-27, Pub: 1936-08-18,
313/3; 313/107.5; 313/241; 313/117 -  6E5 Magic Eye Tube (Wiki)
2124740 Electronic indicating device, Charles N Kimball, Edward W Wilby, RCA,
1938-07-26, 313/3 313/107.5 313/301 315/382.1 334/35 342/443 - improvement on 6E5 for balance indication.

2137912 Radio direction finding system, Jeffcock John Parkyn, 1938-11-22, 342/434 116/286 342/439 74/10.9 116/298 342/443 - the "Sense" button reverses polarity of both loops for carotid pattern
2144309 see above
 
2142133
2142133 Radio
                direction finder, Geoffrey G Kruesi, 1939-01-03
2142133 Radio direction finder, Geoffrey G Kruesi, App: 1933-11-25, Pub: 1939-01-03, 342/436 342/439 -

two seat biplane.  flexible shafts for loop rotation and loop tuning as well as radio tuning.
What Radio Direction Finder is this.  Let me know.

See Army Air Force Radio:
SCR-AE-183 and scroll down to:
Flight, April 11, 1935, pg 400:
An American "Radio Compass"; The Kreusi Type which is the Key Unit in the U.S. Army Air Corps Blind Landing System.
Thanks to Mike  KC4TOS for this link.

AAF Radio: Bendix 1941 Brochure - SCR-242 (MN-26) 1937 manual -
Thanks to Bart, K6VK

2160093 Direction finding aerial system, Smith Sidney Bertram, RCA, 1939-05-30,
342/444 342/443 342/449 - compass rose below rod then rotatable loop antenna
2173487 Sensitive indicator, Carl G Seright, Bendix, 1939-09-19, - L-Center-R indicator with more sensitivity and proper dampening

Pan Am

See Ref 15: Pan Am, Hugo Leuteritz and Radio Direction Finding -

2166100 Direction finder, Ferris W Sullinger, Pan Am, 1939-07-11, - vertical dipoles

Sequential patents, all issued on Sept 26, 1939 to Pan American Airways
2174014 Direction finder, Ferris W Sullinger, Hugo C Leuteritz, Pan Am, 1939-09-26, 342/440; 333/124; 333/5; 342/437 - improvements on Adcock (Wiki) DF system by improving it's balance relative to ground and eliminating pickup from the horizontal wiring.
2174015 Direction finder, Ferris W Sullinger, Pan Am, 1939-09-26, 342/440; 342/437; 333/124 -  Quad vertical dipoles "Adcock type"
2174016 Direction finder, Ferris W Sullinger, Pan Am, 1939-09-26, 342/440; 342/437 - uses balanced twisted pair (UTP) to get vertical dipoles to center of array, but key is the use of tubes
2174017 Goniometer, Ferris W Sullinger, Jr Charles W Winter, Pan Am,  1939-09-26, 336/87; 336/208; 235/61PG; 336/125 - "electrostatic and electro-magnetic symmetry"

2183746 Radio apparatus,Lawrence A Hyland, 1939-12-19, 342/429 - motor driven Goniometer & Oscilloscope
2184306 Radio direction finder, Geoffrey G Kruesi, 1939-12-26, 342/436 342/440 - 6 tube Left-Center-Right type, uses phase shifting goniometer
2184843 Method and means for determining position by radio beacons, Kramar Ernst, Lorenz, 1939-12-26, 342/398; 377/17 - improvement on A-N radio range that gives bearing to station. Wiki: VOR?, VARR?
2199819 Aerial navigation means, Galle Jean Baptiste Paul Henri, Jaeger-Aviation, 1940-05-07, 342/436; 342/464; 342/439 -  dual loops + CRT
2207750 Radio receiver and direction finder, Harold B Miller, Gerhard R Fisher, Navy, 1940-07-16, 342/436 455/275 - loop uses for L-Center-R, whip used for DF and for audio to receiver.
2213863 Cathode-ray-type direction finder, Jeffcock John Parkyn, 1940-09-03, 342/420 324/121R 342/443 - aeronautical, "Gonioscope',
2238951 Direction finder monitor, Smith Sidney Bertram, Kemp Roland John, RCA, 1941-04-22, 342/439; 342/443 - In "two path" receivers you can not get usable audio from either path.  By combining the channels in a non-phased way, you can get usable audio.
2231929 Tridimensional radio direction indicator, Lyman Joseph, Sperry Gyroscope, 1941-02-18, 342/158 89/41.07 340/961 342/443 342/455 343/758 343/765 367/103 - aircraft nose mounted VHF one antenna for up/down, another for left/right


2333688 Distance
                measuring system, Francis H Shepard, RCA
2333688 Distance measuring system, Francis H Shepard, RCA, App: 1937-10-29, Pub; 1943-11-09, 367/95; 73/384; 235/414; 331/64; 331/168; 331/170; 331/174; 342/88; 367/114 - Fig 1 -4 & 7 - 9 audio, Fig 5 & 6 RF.  Plate current depends on distance.

This may be the first patent for this simple type distance measurement?
Why does the plate current vary with the distance?


2237604 Instantaneous direct reading radiogoniometer, Marique Jean Brussels, 1941-04-08, 342/429 - motor driven rotating loop with CRT display.
Calls patents:
GB252263 - 252,263. Watt, R. A. W. Dec. 3, 1924 - One loop (North-South) connected directly to the vertical deflection plates of a CRT and another (East-West) loop connected to the horizontal deflection plates of a CRT.
GB274344 - 274,344. Pilgrim, G. J. M. Dec. 9, 1926. Adding and subtracting apparatus - Not R.A. Watt
GB280235 - Telefunken Ges. fłr Drahtlose Telegraphie. Nov. 5, 1926, [Convention date]. Vacuum tubes. - a CRT like device with a sector shaped metal target or viewing screen.
GB380385 - 380,385. Directive wireless signalling. BRAILLARD, R., 55, Avenue Beau- Sejour, Uccle, MARIQUE, J., 249, Avenue Brugmann, and SOC. ANON. INTERNATIONALE DE TELEGRAPHIE SANS FIL, 13, Rue Brederode, both in Brussels, both in Belgium. April 2, 1932, No. 9514. Convention date, April 3, 1931. [Class 40 (v).] A direct reading radio compass comprises a mirror galvanometer 9
GB447238 - 447,238. Directive wireless signalling. MARIQUE, J., 36, Avenue Burnard, Uccle, and SOC. ANON. INTERNATIONALE DE TELEGRAPHIE SANS FIL, 13, Rue de Brederode, both in Brussels. Oct. 11, 1935, No. 28155. Convention date, Jan. 4. [Class 40 (v)] Relates to direct-reading radiogomometers of the type in which a Neon-lamp is used to indicate the critical points of maximum or minimum reception.
US1471406 see above.

Cited by 11 patents
2254943 Radio direction finding, Galle Jean Baptiste Paul Henri, Jaeger-Aviation, 1941-09-02, 342/436; 332/173; 336/170; 336/182; 336/184; 336/212; 336/233; 342/439; 336/165; 336/178 - Crossed loops CRT display, similar to Robert Watson-Watt lightening system
2264279 Radio navigation device, John B Dearing, RCA, 1941-12-02 342/452; 33/1MP - panel indicator has two needles, one pointing to Tx and the other is a gyro based compass.
2266918 Direction finder, Ferris W Sullinger, Hugo C Leuteritz, Pan Am, Priority: 1937-02-04 : Pub: 1941-12-23, 342/440; 343/799; 342/437; 343/814 -

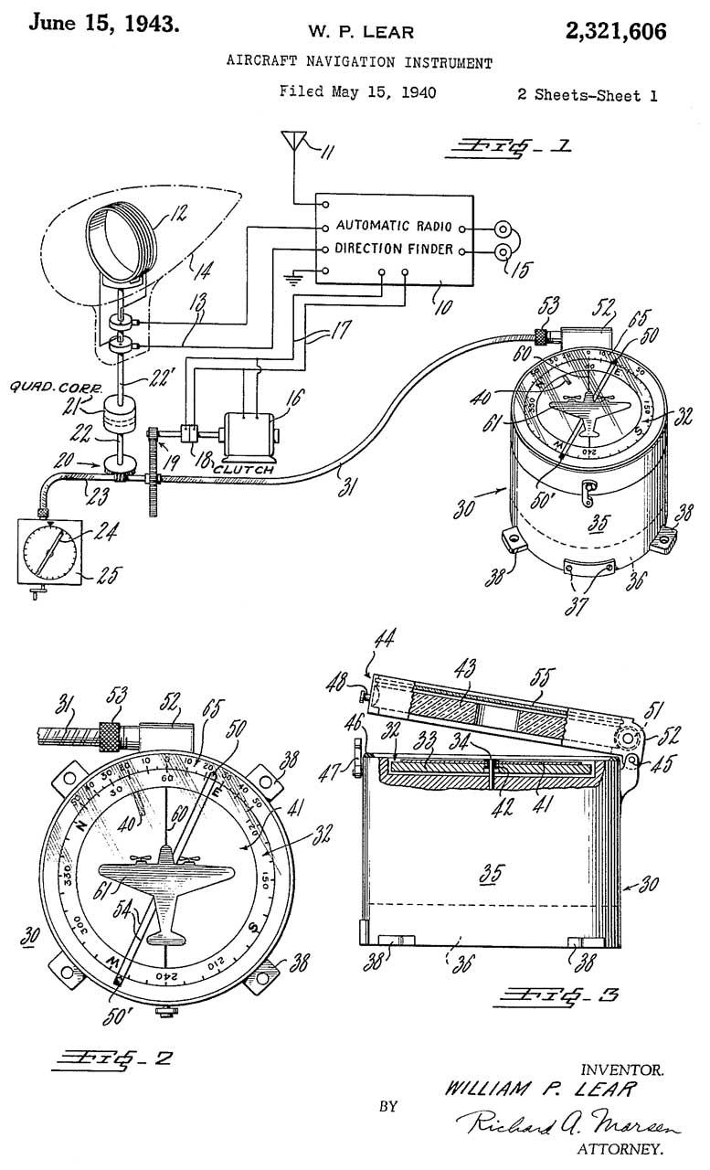
2321606 Aircraft
                navigation instrument, William P Lear, Lear Aviation,
                App: 1940-05-15, Pub: 1943-06-15


2321606 Aircraft navigation instrument, William P Lear, Lear Aviation, App: 1940-05-15, Pub: 1943-06-15, 342/426; 342/443 -

Is this the SCR-269/LP-21 or some other manual rotation DF antenna?

2334247 Detected signal direction finder, Henri G Busignies, International Standard Electric Corp (ISEC), 1943-11-16, 342/431 - motor driven Goniometer & Oscilloscope  2419219 Phase responsive circuits, Charles W Johnstone, Sperry Gyroscope, App: 1943-05-25, Pub: 1947-04-22, 324/88; 342/442 - maybe for radar with Conical scanning (Wiki, SCR-584)
2397746 Wave-signal direction finder, Harold M Lewis, Hazeltine Corp, App: 1942-05-23, W.W.II, Pub: 1946-04-02, - IFF? related?
2419987 Direction finder, Wendell L Carlson, RCA, App: 1942-07-30 (W.W.II), Pub: 1947-05-06, 342/436; 342/439 - single loop and steer Left-Right indicator.
Calls:
2254943 see above
2286804 Radio compass, Frederick J Hooven, RCA, 1942-06-16, 342/436; 342/439 - single loop and steer Left-Right indicator.
2279151 see: Radar Warning Receivers\Panoramic (Radio Corp or Labs)
2159754 Tuning element for broadcast receiver sets, Wohlfarth Otto, AEG, 1939-05-23 - "On the other hand, Variometers have been disclosed in the prior art in which changes in in ductance are effected by variation of permeability rather than the shifting of an iron-core. The said change in permeability is obtained by varying the biasing magnetization of the iron coils. For instance, an auxiliary winding wrapped on the iron-core could be connected with a source of voltage existing in the set, the current caused to flow through the said auxiliary winding being regulated by a variable resistance or potentiometer."
2423437 Direction Finder, H.T. Budenbom (Bell Labs), filled: Aug 25, 1934, issued: Jul 8 1947, 342/369 -Short Wave DF receiver with CRT readout of difference between signals (not bearing)
2208209 Radio Direction Finder, Henri Gaston Busignies (Intl Std Elec Corp), Filed: Dec 17, 1937, Issued: Jly 16 1940,  [Secret Weapon Ref 1 pg  81, 251] 342/428 ; 324/121R; 348/116
Rotating CRT gives bearing to SW transmitter- this works even if burst transmissions are being used, i.e. very fast
2314029 SELF-ORIENTING RADIO DIRECTION FINDER, Donald S. Bond, W.L. Carson (RCA), Mar 16 1943,
2360810 SELF-ORIENTING RADIO DIRECTION FINDER, Donald S. Bond, W.L. Carson (RCA), Mar 16 1943,
2397128 Radio adapter unit, Cole Eugene, Robert E Mccoy, Sec of War, App: 1944-09-13, Pub: 1946-03-26, 342/436; 342/439 - uses Magic Eye type instead of meter or CRT for RDF. Start of TRQ-23?
2234331 Ultra High Frequency Radio Direction Finding, D.S. Bond (RCA), Mar 11 1941, [Secret Weapon Ref 1 pg  82, 251]
Vertical half wave dipoles, drives a L -center-R meter output
2252063 Radio direction finder, Cockerell Christopher Sydney, RCA, 1941-08-12, 342/434 342/436 - uses goniometer search coil & CRT, much simpler to use
2268085 Radio direction finder, Walter Van B Roberts, RCA, 1941-12-30, 342/436 342/439 - both horizontal & vertical deviations, CRT  ILS? (Wiki)  Maybe on LF bands and so not really ILS?
Popular Mechanics1931 Planes are Landed by Radio when Fog Hides Field.  "Airplanes can be landed safely by special radio guidance even when dense fog shrouds the field.  Transmitting and receiving apparatus developed by the Bureau of Standards make it possible for the pilot to tell by indicators if he is on the proper course, when he reaches the boundary of the field and if he is sending the ship down at the right angle of glide to make a safe landing.  A visual pointer, actuated by radio beams, shows the proper curve to make at landing and tells if the plane is too high or low for safe approach.  The signal is loud until the boundary is reached and stops when crossing it."
2454768 Direction Finding Antenna System, G.S. Burrroughs (Fed Tel & Radio Corp), Nov 30 1948 - "H" Adcock type system with sense antenna
Calls:
2174016 Direction finder - "H" Adcock type
2182950 Direction finder or course indicator - "V" shaped antenna with steer right or left indication for radio range?
2234331 Ultra high frequency radio direction finding, Donald S Bond, RCA, 1941-03-11 - similar to Adcock, Left-Center-Right
2468064 Radiogoniometer, R. Hardy (Intl Std Ele Corp), Apr 26 1949, 342/429 ; 342/431; 342/436; 342/440-Neon lamps for Left or Right, manualy turned antenna array.  "H" Addock with sense ant
2365347 Radio Direction Finding System, W.P. Lear (Lear Avia Inc), Dec 19 1944, -Manually or motor turned loop, sense antenna, for aircraft LF and MF.
Ref:
2317922 Directional radio system - uses teardrop shaped cover for aircraft loop antenna (LP-21, Google Images, used with BC-433, SCR-269, BC-434)
2308521 Automatic radio direction indicator, William P LearLear Aviation
2379422 Goniometer construction, Henri G Busignies, Avery G Richardson, Standard Telephone and Cables,
2403967 Radio direction finder, Henri G Busignies, International Standard Electric Corp, App: 1941-02-27. (SECRET), Pub: 1946-07-16, 342/429; 340/870.44 -
2408041 Instantaneous visual direction finder, Henri G Busignies, Federal Telephone and Radio Corp, App: 1941-05-22, W.W.II, Pub: 1946-09-24, - motorized Goniometer and CRT.
2415954 Radio direction finding, David G C Luck, RCA, App: 1942-02-28, Pub: 1947-02-18, 342/369 - uses LO set to same frequency as received signal to cancel phase errors.
2415955 Radio direction finding, David G C Luck, RCA, App: 1942-02-28, Pub: 1947-02-18, 342/369 - amplitude limiting removes gain and results in more stable phase.
2419994 Direction finding, Clarence W Hansell, RCA, App: 1942-08-01, Pub: 1947-05-06 342/417 - about processing amplitude limited signals
2422073 Radio direction finder, Donald S Bond, RCA, App: 1942-07-30, Pub: 1947-06-10, 342/436; 342/434 - uses audio modulation of RF carriers to improve balance of signals.
2450014 Electronic goniometer for radio direction finders, John H Newitt, Federal Telephone & Radio, App: 1944-10-28, Pub: 1948-09-28, 342/436; 342/439; 324/88; 342/440 - my Goniometer?
Cites
Publication number  Priority date  Publication date  Assignee  Title
US2156297A *  1936-09-30  1939-05-02  Geoffrey G Kruesi  Radio compass
US2174016A *  1937-04-08  1939-09-26  Pan American Airways Corp  Direction finder
US2184306A *  1936-09-30  1939-12-26  Geoffrey G Kruesi  Radio direction finder - Steer Left-Right
US2208378A *  1938-06-30  1940-07-16  Rca Corp  Continuously indicating radio compass, David G C Luck - CRT
US2213273A *  1936-11-06  1940-09-03  Int Standard Electric Corp  Radio direction finding apparatus, Earp Charles William - CRT no moving parts
GB526658A *  1938-04-13  1940-09-23  Sperry Gyroscope Co Inc  Improvements in or relating to apparatus for indicating the position of objects emitting or reflecting radio beams
US2279021A *    1939-11-30  1942-04-07  Rca Corp  Directional receiver
US2408039A *1941-03-05  1946-09-24  Int Standard Electric Corp  Electronic rotation direction finder, H.G. Busignies - similar to Watson0Watt system fixed antenna, CRT rotating sweep, see Background above.

Cited by:
2547028 Direction finding system, Lester L Libby, Cole EugeneFederal Telephone & Radio (Standard Telephone & Cable), App: 1946-02-14, Pub: 1951-04-03, - similar to Robert Watson-Watt lightening system.
3105193 Visual frequency indicator for broad band sonar monitor, Robert L Denton, 1963-09-24 - indicates the frequency of sonar pulse less than 100 mS long.
2684480 Permeability goniometer, John M Tewksbury, Alfred A Hemphill, Bendix Aviation, 1954-07-20, 342/436; 342/435; 342/440 - East-West, North-Sount & Sense antennas, goniometer with no moving parts.
2475412 Radio Direction Finder, E. Torcheux, Radio Electrique, 1949-07-05, 342/434; 342/436; 342/439 - uses filtering which seems like a difficult and expensive option.
2475612 Direction finding system, Paul G Hansel, App: 1945-06-27, Pub: 1949-07-12, 342/431 - SCR-291 (Radio Nerds: 2 - 10 MHz DF Set) "... relates to radio direction finders, particularly those which employ a direct reading cathode-ray bearing indicators of the phase meter type." Wullenweber?
2476977 Radio direction finder, Paul G Hansel, App: 1944-06-24 (W.W.II), Pub: 1949-07-26, 342/434; 324/88; 342/439; 342/436 - Wullenweber?
Calls:
2208378 see above
2213273 see above
2263377 System for indicating the direction of propagation of electromagnetic waves, Busignies Henri Gaston, Bac Fernand, International Standard Electric Corp, 1941-11-18, 342/429; 367/120 - spinning antenna and CRT/deflection.  See Background above. Cited by 44 patents.
2380929 Indicating system particularly for the measure of angles, Ahier Jean, Hardy Rene, App: 1941-05-17, Pub: 1945-08-07, 342/429 - CRT electrical commutation
2403727 Direction-finding system, Arthur V Loughren, Hazeltine Research, App: 1941-11-10, Pub: 1946-07-09, 342/436; 342/439 - feeds signals into antennas = complex
2407281 Radiated-signal direction finder, Johnson John Kelly, Harold A Wheeler, Hazeltine Research, App: 1941-12-18, (W.W.II), Pub: 1946-09-10, 342/429; 315/378 - 100 to 156 MHz coverage, CRT display, cited by 15 patents.
2408039 see above.
2590080 Cathode-ray tube screen filter, Paul R Adams, Standard Telephone and Cables, App: 1945-07-09, W.W.II, Pub: 1952-03-25, - When the most dense portion of the filter is adjusted to overlie this blue line, the spots on other portions of the screen will then be visible through the less dense portions of the filter. In addition, the filtering action, over any one area. of the screen progressively decreases as the filter is rotated, thereby compensating for the loSS in brilliance of Spots as the afterglow fades.
2656536 Oscillographic plotting system, Robert W Lockhart, Stewart Warner, 1953-10-20, 342/428; 455/130 - motor driven loop and CRT
2746037 Spaced loop direction finder, Robert E Mccoy, Army, 1956-05-15, 342/430 - Start of TRQ-23?
Calls:
2361436 Radio direction finder, Paul B Taylor, App: 1937-11-18, Pub: 1944-10-31, 342/437; 342/439; 342/448 - CRT
2365118 Electrical apparatus, Strafford Frederick Wentworth, AC Cossor, App: 1941-09-13, Pub: 1944-12-12, 342/432; 343/812 - remove ambiguity w/o sense ant.
2407659 Phase comparison system, Fuchs Morton, Federal Telephone and Radio, 1946-09-17, 342/430 - not clear if manual or CRT?
2427660 Radio direction finding system, Roger B Colton, Rex V D Corput, Eleanor T Watson, App: 1944-06-27, Pub: 1947-09-23, 342/428 - CRT
2474268 Radio-frequency in-phase indicator, Marchand Nathan, Federal Telephone and Radio, App: 1945-07-03, Pub: 1949-06-28, 324/84; 324/85; 342/439; 333/125 - phase comparison
2476977 see above.
2656536 see above.
2761134 Means for operating antennas, John M Tewksbury, Alfred A Hemphill, Bendix Aviation, 1956-08-28, 342/434; 342/436 - Adcock array has the look and feel of my Goniometer
2862188 Electromagnetic modulator device, Victor A Misek, Lockheed Sanders, 1958-11-25, 332/167; 332/173 - ML 1331 ferrite core, 2.25 MHz & 1 kHz, horseshoe magnets,
3701155 Automatic direction finder, Henry G Adams, ITT, 1972-10-24, - rotating crossed loops & Sense antenna.
3757341 Long wire v-antenna system, A Gilbo, Sanders Associates, 1973-09-04, - Fig 18 & Fig 19 is circular array of 36 terminated (wide band) horizontal wire antennas.
3939477 Quadrupole adcock direction finder and antenna therefor, Terence C. Green, William G. Guion, Douglas N. Travers, William M. Sherrill, Southwest Research Institute, 1976-02-17, -
4318106 Direction finding system, Arthur Luedtke, FCC, 1982-03-02, -
"In the field of WADF's it has been the general practice to use narrow lobes and high rotation rates. This puts severe limitations on the receiving system and the bandpass of the IF and detecting circuitry, and in some cases even requires a dual receiving system. The antennas are usually fed through delay lines to the combiner networks to simulate a broadside pickup pattern with a portion of the circular array. A goniometer spinning at a constant rate couples the antenna signal to a coaxial feed to the receiving system. The most common, Wul lenweber WADF's employ circular rings of identical elements requiring huge reflector screens. These circu lar ring arrays are quite costly to construct and maintain while achieving satisfactory radiation patterns over only about 3:1 or 4:1 frequency range. In most cases at least two ring arrays are required to give even the most minimal coverage over the 15:1 frequency range from 2 to 30 MHz. Ionospheric disturbances such as multipath propagation characteristically generate substantial bearing errors in the HF spectrum which are difficult to resolve with conventional single lobe methods."
5030959 Enhanced automatic bearing indicator system, Edgar C. Hayden, Southwest Research Institute, App: 1991-07-09, - "automatic bearing indicator", CDAA-Multicouplers_DF Goniometer=Wullenweber; cited by 19 patents

References

Ref 1 Secret Weapon by Kathleen Broome Williams (ISBN: 1-55750-935-2) - History of HF-DF
Ref 2 History of Communications-Electronics in the United States Navy, by Howeth,1963 (free)
Ref 3 History of the Bureau of Engineering, Navy Department, during the world war, 1922 - about W.W.I
[Part 2 Radio Direction Finder pg 210] - Kolster, Stone Radio & Telegraph, 1916 patent
Ch 22 The Radio Direction Finder, pg 261 -
Ref 4 An instantaneous direct-reading radiogoniometer, R.A. Watson Watt & J.F. Herd, IEE, Vol 64 (1926), pages 596-622 or (611-622) - operated between 200 and 400 kHz. (see: SkyScan Severe Thunderstorm Detector which operates on 700 & 1400 kHz)
Ref 5 Journal of Intelligence History: Shore High-Frequency Direction-Finding in the Battle of the Atlantic: An Undervalued Intelligence Asset - mentions Ref 4 above
Ref 6 Scottish Science Hall of Fame: Robert Watson-Watt (1892-1973): An instantaneous direct-reading radiogoniometer - Page 614 -
Ref 7 FCC Radio Intelligence Division (RID) - historic info - also see Aperiodic receivers on my Radar Warning Receiver web page.
Ref 8 CIA:
The U.S. Hunt for Axis Agent Radios - also see my Hollow Nickel Spy Case web page.
Ref 9 The History of the Radio Intelligence Division Before and During World War II, 1940 -  1945(pdf), (Google search page, NSA.pdf)
Ref 10 YouTube: Patrolling the Ether, (echo in sound)
Ref 11 TM 11-487D, Radio Direction Finding Equipment, Jan 1951, (Google), 27 pages.
Type
Manual
Frequency MHz
Receiver
Ant
Unpacked
Weight
Pounds
CRD-2

0.54 - 30
R-127
4 Verticals
2,959
CRD-3

0.25 - 1.5
R-128
5 Verticals 10,060
SCR-206

0.2 - 18
BC-470
Manual
Loop
+ Sense
383
SCR-255

0.55 - 30
BC-903
Twin
Vertical
Dipoles
on
Building
2,974
SCR-291

2 - 20
BC-1147
5ea Crossed "U"
Adcocks
6,683
SCR-502

1.5 - 30
BC-1147
2 sets of 5 crossed "U:
Adcocks
9,015
SCR-503
TM 11-246
286 pages
(2 radios)

Precursor to
PRD-1
1 - 3
0.1 - 1
BC-973
BC-1003
Stylish
LP-23
LP-33
Manual
Crossed
Loop
+ Sense
602
SCR-504

0.1 - 65
BC-792
Suitcase
Built-in
89
SCR-555

18 - 65
BC-1005
Manual
Adcock
+ Sense
1,468
SCR-556

65 - 156
BC-1006
Manual
Adcock
+ Sense
1,453
TC-8

0.015 - 145
BC-342
BC-344
BC-787
BC-794
BC-969
Many on Masts
9,470
Ref 12 Radio Material School, Chapter 3, Aircraft Radio Direction Finders (pdf) - The RDF-1-A has a resonate loop driving the grid of VTa, a wire antenna with a pot feeding VTb with a variable cap connecting the two tube plate circuits and a fixed cap feeding the receiver.  Similar to the DU-n series of 1' OD loops on a box.
Ref 13 Appendix  M.  U.S.  Naval  Radio  Equipment - 4. The Radio Direction Finder: includes SE 950
Ref 14 History of Communications-Electronics in the United  States Navy, 1963 (html, pdf)
Ref 15. YouTube: Pan Am, Hugo Leuteritz and Radio Direction Finding, 1:20:22 -
@46:40: RCA receiver patents - the most early patents were licensed
1050441 Electric signaling apparatus, Reginald A Fessenden, 1913-01-14, - motor driven spark transmitter
1050728 Method of signaling, Reginald A Fessenden, 1913-01-14, - motor driven spark transmitter
1113149 Wireless receiving system, Edwin H Armstrong, 1914-10-06, - one tube radio
1173079 Selective tuning system, Ernst F W Alexanderson, GE, 1916-02-22, - Tuned Radio Frequency (TRF) receiver
1201272 Telegraph and telephone receiving system, Lee De Forest, De Forest Radio Telephone & Telegraph, 1916-10-17, -
1231764 Telephone-relay, Fritz Lowenstein, 1917-07-03, - audio amplifier
1239852 Receiver of electrical impulses, Frederick K Vreeland, Vreeland Apparatus, 1917-09-11, - long pole telephone receiver for spark system
1273627 Method of and means for controlling electric currents or potentials, Irving Langmuir, GE, 1918-07-23, - for controlling AC voltage?
1282439 System for amplifying variable currents, Irving Langmuir, GE, 1918-10-22, - transformer coupled TRF?
1329283 Thermionic amplifier, Harold De F Arnold, WE, 1920-01-27, - physical layout of tube
1349252 Method of and means for utilizing thermionic currents, Harold D Arnold, WE, 1920-08-10, - non-linear tube circuits (detectors)
1377405 Audion-circuit, Forest Lee De, De Forest Radio Telephone & Telegraph, 1921-05-10, - audio amp
1398665 Thermionic amplifier, Harold D Arnold, WE, 1921-11-29, - audio amp
1401121 Mounting for vacuum-tubes, Roy M Allen, WE, 1921-12-27, - socket for 4-pin tube with terminals on one side
1426754 Circuits for electron-discharge devices, Robert C Mathes, WE, 1922-08-22, - a change in the "B" supply has a compensating effect on the grid circuit.
1459419 Multistage amplifier circuits, Edward O Scriven, WE, 1923-06-19, - number of stages selected by switch
1465332 Vacuum-tube amplifier, Arnold Harold De Forest, WE, 1923-08-21, - common B+ supply for multiple tubes
1492000 Thermionic device for wireless telegraphy and telephony, Round Henry Joseph, RCA, 1924-04-29, - physical layout of tube
1537708 Thermionic vacuum tube, Schottky Walter, Siemens, 1925-05-12, - physical layout of tube
1544081 Transmitting intelligence by radiant energy, Frederick K Vreeland, Vreeland Apparatus, 1925-06-30, - CW system
1558437 Electrical discharge apparatus, Langmuir Irving, GE, 1925-10-20, - physical layout of tube
1611848 Wireless receiving system for continuous waves, Edwin H Armstrong, Westinghouse, 1926-12-21, - one tube radio
Ref 16. YouTube: Navigation in the 1940s: The Four Course Radio Range, 10:00 -
Introduction
3:25 take off
4:30 Description of ground based transmitter - 28 MHz,
7:20 In plane with graphic of map location
Ref 17. YouTube: 1941 U.S. Army Air Corps Training Film " Radio Aids To Navigation " 32084, 28"30 -
01:45. There is an aerial view of a radio range station. Graphics are used to show how radio fields are set up at a range station using radiators. A map shows radio range coverage in the U.S.
05:27. The film shows a radio tower and discusses the “cone of silence,” which is located directly above a radio tower
06:50. A pilot sits in the cockpit and adjusts knobs on his radio panel
07:29. Z-type markers are used at a radio range station
08:58. A marker beacon in the plane flashes when a plane flies over the Z-type marker
09:41. A fan marker can also be used as a position marker at a radio range system
10:05. The pilot watches the plane’s marker beacon signaling when it is in range of the fan marker. A pilot dials in his range receiver
12:29. The pilot looks at his radio facilities chart. A graphic is used to show how a pilot adjusts his course based on the signals he receives from a radio beam. The film uses basic animation over an aerial photograph to show how a plane can make minor adjustments while the pilot is trying to determine the correct course
18:00. A pilot adjusts the volume of his radio in the cockpit
18:40. A man in a range station transmits regular weather reports
22:31. The film shows the fifth radio tower of a range station that is for voice transmissions, primarily weather reports. The film then shows the radio compass on the instrument panel
23:29 and its antennae on the exterior of the plane. A man takes off the cover of a loop antennae on the top of an aircraft
24:40. A pilot plots his location on a chart (26:30). The film then shows the new automatic compass panel
26:47. A plane flies over a radio tower of a radio range station, concluding the film.
Ref 18. Allied Analysis of Electronic Transmissions in WWII by Jerry Proc VE3FAB was: "Radio Fingerprinting (RFP) and Tina"
RFP involves measuring parameters associated with the transmitting hardware, like carrier frequency, harmonics, azimuth bearing, chirp, hum, &Etc.  Tina involves measuring the "fist" of a telegraph operator.
Ref 19. RDF to RADAR | The secret electronic battle (1946), (A Record of the work of TRE, Malvern 1942), 41:34 -
@1:50 The Defensive - Chain Home (Wiki, Watson-Watt)
@9:50 IFF (Wiki, APX-6)
@ 11:16 The Defensive: The Night Battle -
@21:05 Sea War, Phase I -
@22:52 Allied Air Offensive - GEE (Wiki)
@25:01 Oboe (Wiki) & H-System & Gee-H (Wiki)
@28:06  H2S (Wiki) ground scanning radar
@30:18 Airborne Jamming (APT-3 Mandrel (Wiki) v. Freya (Wiki) and Wurzburg (Wiki), Moonshine (Wiki) Fighter v. fighter,
@32:03 Window (Wiki, Chaff)
@32:42  Carpet II jamming
@34:06 Saw War, Phase II - ASV (Wiki: Air-to-Surface Vessel radar), ASV-X X-band radar mounted on swordfish (Wiki) biplanes.
@36:38 D-Day - Rebecca/Eureka transponding radar (Wiki, Drop Zone)
Ref 20. YouTube: The Viet Cong and North Vietnamese Army's Radios of the Vietnam Wars, 1:11:52, KN4R -
Left Jab U-21A (Wiki) with Spinning Spaced Loop - (b.c.- later replaced with the RC-12 Guard Rail (Wiki)
Ref 21. Pronto in South VietnamUnited States Air force Airborne Radio Direction Finding (ARDF) System South Vietnam 1966  (formerly SECRET) -
The EC-4
Nav Equip: AN/APN-179 Bendix Doppler Computer, C12 compass
ARDF Workstation: X, Y and Z.  (ALR-38 Mini-Mod VHF ARDF)
Sub-references
Project CHECO
Southeast Asia Report. Igloo White (Initial Phase) (ADA485055.pdf), 64 pgs, July 1968. (see also Sonobuoy\Ref 72)
Adsid - bomb shape with fins + fake plant antenna out the tail end
Acoubuoy - cylinder with hemispherical nose
Spike Acoubuoy - longer version of Acoubuoy with pointed nose
Munitions: Grave; XM41 & XM41E, Micro-Gravel/XM45E1, Dragon Tooth/CBU-28 (Wiki: MSQ-77) for seeding sensors
There were many problems, many related to management.

Project CHECO Southeast Asia Report. Southeast Asia Tactical Data Systems Interface (U) (ADA486939.pdf) 74 pgs, Jan 1975

Project CHECO Southeast Asia Report. USAF Reconnaissance in Southeast Asia (1961-66) (ADA486464.pdf)  119 pgs, Oct 1966 - (formerly TOP SECRET/NOFORN) the report mentioned in Ref 21, there are many CHECO reports and Ref 21 did not mention which one.
pg 42 Wild Weasel - See Radar Warning Receivers -
App A: USAF Reconnaissance aircraft in SEA 1961 - 1966
App B: USAF Reconnaissance Losses in SEA
App C: Data on Basic USAF Reconnaissance Equipment in SEA
I. Aircraft: RF-101, RF-4C, RB-57E, RB-66
II. Aircraft Performance: Speed (cruse & Max), Radius, Nav Sys, Coms
III. Sensors: Photo (Aerial Recon): KS-72, KA-56, KA-1, KA-55, KC-1B,KA-2, K-47; IR: AN/AAS-18, RS-7, RECON VI; SLR: APQ-102; Other: APQ-99, ALR-47 (RWR\FLares)
IV. Photo Equipment Data:
V. IR Equipment Data: Reconofax VI 70mm film; RS-7 57mm film, AN/AAS-18 no film
VI. Side-Looking Radar: AN/APQ-102 X-band, 5" film
VII. Forward Looking Radar: TI, Modes: Terrain Following, Terrain Avoidance, Gross Scan, Ground Map - lo alt, Ground Map - hi alt.
App D. USAF Sorties by Project: 6 Jan 1966; Rolling Thunder, Electronic Warfare, Steel Tiger, Blue Tree, South Vietnam, Barrel Roll, Yankee Team.
App E. USAF Sorties by Project: 7 Jan - 31 May 1966: RT, BT, YT, SW (Sky Wave), EW, SV
App F. USAF Reconnaissance SEA Sorties & Targets in 1965
App G. Analysis of Sorties in May 1966
App H. 7AF IPIR Dist List
App I. USAF Reconnaissance Projects in SEA: Able Mable to Yankee Team
Ref 22. EC47.com (Wiki) - Electronic Equipment -  USAFSS History of the 6994th Security Squadron 1 July – 31 December 1966, (1969-07_thru_12_6994th_History_(Web).pdf), 93 pgs, March 1970,
Ref 23. Sigint Chatter - The Radio Security Service (in W.W.II)
Ref 24. The Secret Listeners - Direction Finding (in W.W.II)
Ref 25. Hide and Seek during the Battle of the Atlantic with @USSCod Pt 1, 4:42 - mainly about the Bathythermograph,
Ref 26. Hide and Seek during the Battle of the Atlantic Part 2, 8:06 -
Ref 27. Krakenrf - KrakenSDR - 5 channel SDR - YouTube -

Satellite Based RDF

Poppy

The Poppy satellites (Wiki) were early (1962) ELINT (Wiki) satellites, some of which may have flown in formation.

NOSS

Naval Ocean Surveillance System (Wiki) satellites flying in formation can locate Russian (any) ships at sea.  First launch in 1976.
In the past decade I've read that China has a very similar system that can locate US (any) ships at sea.  That article also stated that China could use the same missiles used for nuclear weapons to launch a missile with a conventional warhead.  This is a problem because at launch we will not know what type of warhead is being used. The time between a ship detecting that the missile is coming straight down and the time the conventional explosive destroys the ship is a few seconds.  Note this is much less warning time that is available when an anti-ship missile approaches from the horizon.  Similar to the ultimate weapon that existed prior to W.W.II.

HawkEYE360

A private company doing RF emitter location using three satellites flying in formation. Covers 144 Mhz to 15 GHz.  This is part of Geospatial intelligence (Wiki).

8952847 System of geographical location of a radio signal transmitter located on the earth's surface, and associated method of distributed interferometry, Christian Peyrotte, Francis Martinerie, Jean-Baptiste THEVENET, Thales, 2015-02-10, 342/424 - the satellites shown in Fig 1 look very much like those shown at: HawkEye360/Technology.

My Related Web Pages

Antennas
An Instantaneous Direct-reading Radiogoniometer by Robert Watson-Watt, 1926
Shrike & HARM missiles
SkyScan Severe Thunderstorm Detector -
StormScope - airborne lightening location display
Survival Radios
PRD-1 Army HF Direction Finding Reveiver (Italian web page)
AN/ARN-89 & other Aircraft Direction Finders * DF Loops
AN/TRQ-23 which uses the OE-4/GR & many different loops
Radar Warning Receivers use Time Of Arrival (Wiki) to give an instantaneous indication of the bearing of the threat
Time Delay Beam Steering - Fenwick patent

YouTube

Restricted Training Film 1-328, Aerial Navigation, 1942,  28:58  - Airways Flying -

Radios and the the Disappearance of Amelia Earhart and Fred Noonan, 1:27:21 - @34:00 Hooven Loop
2062906 Direction finder, Frederick J Hooven, 1936-12-01, -
2107633 Direction finder, Frederick J Hooven, 1938-02-08, -
2171561 Air navigation and landing system, Frederick J Hooven, 1939-09-05, -
2175025 Radio receiver, Frederick J Hooven, 1939-10-03, - aircraft radio compass
2190787 Radio compass, Frederick J Hooven, 1940-02-20, -
2220904 Radio compass system, Frederick J Hooven, 1940-11-12, -
2327641 Radio compass, Frederick J Hooven, 1943-08-24, -
many patents related to aircraft & radios

The Secret Allied Weapon That Made U-Boat Wolfpacks Useless, 13:13 - Henri G. Busignies (Wiki) HFDF

Links

The Chum Bucket - Marine Radios - Marine Radio Direction Finders -
USASADF (United States Army Security Agency Direction Finding): Radio Fingerprinting - RFP - identifying transmitters (giving each a serial number).
FAS: PRD-12 - HF/VHF/UHF
An Evaluation of Short-Based Radio Direction Finding 1978 - for VHF EPRIB beacons with analysis of Doppler and other systems
Army: More aerial intelligence systems used during Vietnam War - various platforms and bands
: United States Army Airborne Radio Direction Finding Operations -
General Dynamics: AN/MLQ-44 Prophet-Enhanced SIGINT -
AirVectors: The Wizard War: WW2 & The Origins Of Radar: 10: Radio Navigation Systems -
RDF Products: LiteratureWN-004, A Comparison of the Watson-Watt and Pseudo-Doppler DF Techniques -
Back to Brooke's Products for SaleMilitary Information, Electronics, Personal Home, PRC68.com page

page created 5 Oct 2009.