AN/ARN-89 Direction Finder Set
NSN 5826-00-790-6453

© Brooke Clarke, N6GCE 2001 - 2023


General Information
Parts List
Connectors
Manuals
Older DF sets
    ARN-6
        AS-313 Loop
    RA-10
    ARN-7
    ARN-83
    ARM-93 Test Set
    ARN-59
        AT-780 Loop
Newer DF Sets
What is It?  VHF Homing Indicator p/n 9024
LORAN Receivers
Related
Links

General Information

There are the ARN-89 and ARN-89A and ARN-89B versions. 100-3,000 KHz, AM and CW Direction Finder Set that is powered by 28 VDC at 1.4 amps.  It is used in many military aircraft and as a navigation beacon receiver.  There are two loop antennas and preamplifiers in the AS-2108 housing.  Inside the R-1496 receiver is a goniometer module that has servo motors that rotate to find the direction of the signal relative to the aircraft center line.  The goniometer includes a number of adjustments to compensate for errors caused by the aircraft.  When in COMPass mode the ID-1351 Radio Compass indicator pints to the signal source.  Note that no whip antenna is needed for the DF function unlike the PRD-1 which uses the whip to eliminate the 180 degree ambiguity.

Future Version (or maybe the ARN-89B)

It should be possible to use a modern synthesized receiver that instead of using a mechanical goniometer, does an equivalent signal processing using a DSP chip.  The result may allow the complete receiver and control circuitry to fit into the C-7392/ARN-89 Control box (i.e. the receiver box would no longer be needed).  The performance would also be much better.  Maybe there could be a protocol for multiple stations: the ID-1351 would point to each station for 5 seconds then the next station.  I know that the PRD-1 could detect a two or three stations on the same frequency so an airborne ADF set should do this much more often.  Multiple stations would show up as multiple peaks on the cross correlation fucntion plotted aginst bearing.

Prior Version

The ARN-83 consisted of the AS-1863 antenna, R-1391 receiver, MT-3605 mounting and C-6899 control.  It covered 190 to 1750 kHz in 3 bands.

ARN-6 then the ARN-59 then the ARN-89.  The ARN-6 is a tube type receiver.

Parts List

ARN-89 Top OffR-1496/ARN-89 Radio receiver, Direction finding, 100-3000 KHz, AM CW

receiver markings:
removable top cover: 5826-882-1625
Label: AN/ARN-89 RDF, R-1496/ARN-89, MFR 20418, SER NO. 004XL



AS-2108 Loop

AS-2108/ARN-89 Antenna, Flush mount

100-3000 KHz (Schematic Diagram) DC power is from +15 volts through 10 Ohm resistor and through transformers in the 1A4 goniometer assembly of the R-1496 receiver.  Cables CG-3492 and CG-3493 should be the same length.  Note that loop antennas work well below 3 MHz where the polarization is vertical.  Above 3 MHz the Adcock type antenna works better for getting bearings, maybe this is why the upper frequency limit of the AS-2108 is 3 MHz.

The connecting cables have connectors:
Amphenol - DM5142-E  & DM1-690-1A
Photo of AS-2108 back showing connectors, label and arrow FSN 5826-790-6427
4J1 has 2 lugs and 4J2 has 3 lugs so that the X and Y cables will not get cross connected.
These should be 50 Ohm Connectors since the preamps have 50 Ohm output.
The label on the AS-2108 says "28 VOLTS DC" but this must refer to the ARN-89 system, NOT the antenna!
Magnified two connectors photo - the O.D. of the connectors is 0.285", the I.D. inside the white dielectric is about 0.143"
 WHAT ARE THESE & WHERE TO GET MATING CONNECTORS?  mailto:brooke@pacific.net

AM-4859/ARN-89 Amplifier, Impedance matching

The AM-4859 is an active amplifier for a 0.35 meter whip or wire antenna for non directional use of the radio.
Marked:
AM-4859/ARN-89
28 Volts DC
Code 80063 Mfr 36180
Order No. FR-28-043-P6-00006(E)
Ser No. 907  US
FSN 5826-883-1521

This is an active whip amplifier.  Although it does not amplify the signal voltage it does convert the impedance from some very high value to 50 Ohms.
The problem is that it uses the same Bendix 3-lug connector as the AS-2108 loop antenna, i.e. the connector that's no longer available.
AM-4859/ARN89 Amplifier,
                  Impedance
AM-4859/ARN89 Amplifier,
                  Impedance
AM-4859/ARN89 Amplifier,
                  Impedance

C-7392/ARN-89 Control box, Direction finding NSN: 6220-00-010-5359  SM-D-597309

 
eBay Photo of Front, Back, Mfr: 36180 -> Hermes Electronics Inc 40 Atlantic St, PO Box 1005, Dartmouth, NS B2Y 4N2, Canada
Front - the three circular items with 4 small bumps are panel lights with red filters
Back - the coax connector is just like the 2-lug version on the AS-2108 antenna (see above) it's marked "DAGL 1-531-1"
           TM 11-5826-227-35P lists J2 as 5935-783-7232 SM-B-597016-1 (80063 = Fort Monmouth)
            the multipin connector is marked "Burndy MS 3112E-14-19P
Inside Bottom -
Inside Top -
Inside Switch side - switch is marked "8868K3 MS90310-311 MFD 12-67 ON OFF ON"

MK-994/AR Test Facilities Kit (includes the ID-1351 indicator and a C-7392? control panel

TM 11-6625-928-35 (013608.pdf) is on line at LOGSA ETM; -20P & -34P are restricted
TB 11-6625-928-35 (038839.pdf) has some connector info and NSN 6625-00-802-7191

ID-1351 Compass Indicator

 
Sperry Phoenix Co ID-1351/A
Indicator, Heading-Radio Bearing
32 male pins
0.965" ID
1.12" O.D.
3 lug Bayonet shell connection

eBay photo of Honeywell ID-1351 -

Connectors

2 Aug 2004 Still Looking for all of these.
Box
Con photo
Desi
Description
on box connector
Mating
Connector
ARN-89
1J1
aircraft I/O
Brundy
MS33122E14-15P
?1
"
1J2
to
C-7392 2J1
Brundy
MS3122E14-19S
?2
"
1J3
to
C-7392 2J2
Bendix 2 lug female coax recpt*
1531-1
1P3
2 slot male coax plug
?3
"
1J4
X loop
Bendix 2 lug male coax recpt*
5786-1
DAGE DM 1-690-1
2 slot female coax plug
?4
"
1J5
Y loop
Bendix 3 lug male coax recpt*
1707-1
DAGE DM 5142-1
3 slot female coax plug
?5
"
1J6
from sens amp
Bendix 3 lug female coax recpt*
5797-1
1P6
3 slot male coax plug
?6
C-7392
2J1
Burndy
MS33112E 14-19P
MS3116F14-19S
works
"
2J2
DAGL 2 Lug female coax recpt*
1-531-1
2P2
2 slot male coax plug
?3
AS-2108
4J1
X loop
DAGE 2 Lug male coax recpt*
5796-1
DAGE DM 1-690-1
2 slot female coax plug
?4

4J2
Y loop
DAGE 3 Lug male coax recpt*
1-707-1
5P3
DAGE DM 5142-1
3 slot female coax plug
?5
ID-1351
-
32 male pins
0.965" ID
1.12" O.D.
3 lug Bayonet shell connection
?7

* All of the coax receptacles have an O.D. of 0.285"

Manuals

TM 11-5826-227-20, -34, -23P all restricted on ETM
TM 11-5826-227-35P (+ C1) from Fair Radio
TM 11-5826-227-35 from Fair Radio
CECOMCommand Publication Data - Publication Number: DMWR 11-5826- 227, C2 - Document created on 08/03/1998 by Glen Puhak

Older DF Sets

ARN-6

Components
R-101 Radio Compass Unit Receiver
ID-92 Indicator
ID-90 Indicator
C-149 Control Box

AS-313 Loop


Fig 1
AS-313/ARN-6 Loop
Fig 2
AS-313/ARN-6 Loop
Fig 3
AS-313/ARN-6 Loop

Reference: TM 11-5125 Radio Compass AN/ARN-6 (pdf) - lots of details on all parts of ARN-6.

ARN-7

YouTube: WWII ARN-7 Military Aircraft Radio Compass Bench Test -

B-17 ARN-7
                  Radio Direction Finder/Compass LP-21 loop antenna
Photo from the Wiki page: Direction Finding\Operation

Components

R-5 Receiver
C-4 Manual Control
I-82-A large Navigator's Indicator
I-81-A small Pilot's Indicator
Dehydrator & Hose
Relay BK-22-E Relay
LP-21-A Loop (teardrop can be removed to show loop).

YouTube PeriscopeFilm: 1941 U.S. ARMY AIR CORPS TRAINING FILM " RADIO AIDS TO NAVIGATION " 32084 - The Link Trainer is aimed at learning the A-N Radio Range system (Wiki) - A-N radio range Tx: 5 tower antennas square pattern with one in center.  A 75 Mhz marker beacon (Wiki) might be at the center of an A-N range Tx site.  BC-345 Switch Box: Range, Voice, Both.  @24:32:  LP-19, @26:49 ARN-7 Automatic Radio Compass, Teardrop loop antenna.

RA-10

Components

RA-10 Receiver
MN-20 Loop 9" OD
Type MR-9 Remote Control
Type MR-11 Loop Relay Unit
MN-22 Azimuth Control (pointer)
MN-52 Azimuth Control (pointer & Crank)
MS-14 Junction Box

Reference: RA-10B Radio Receiver, Northern Electric (pdf)

ARN-83

Airborne automatic DF set 190 to 1,750 Khz.  "Golden Age" construction using transistors and discrete components.  This LF DF set has been used on both choppers and fixed wing aircraft including the A-37, C-2, UH-1, AH-1T, VH-3A, OH-6, P-3, S-3, OV-10, U-8F, U-21A, 727 & others.
Main components:

Three connectors:
J1 = Loop Antenna Input BT02A-12-10P pins A, C, E, G are ground. pins F&H are Loop 1, pins B&D are loop 2 (Inductance compensator is between antenna and receiver).
J2 = Sense Antenna Input BT02A-10-6P Pin A is 220 uuF antenna input, C&E are ground pin F is for a 150 uuF sense antenna.

J3 Cannon 38 pin "D" shell connector that mates to the MT-3605 mount.  The mount has the DC to AC inverter.  The control and power wiring goes through J3.  The manual loop control (CW or CCW) wiring changes depending on if the antenna is mounted to top of or below the aircraft.
passive Loop Antenna (4 ferrite loopsticks, no amp) NSN 5826-00-985-917  The connector is probably the same as the one on the receiver, a BT02A-12-10P.

16" long, 12" at widest section, < 1" high.
<>
AS-1863 Loop
                    Ant AS-1863 Ant
                    Bottom


Info on using the ARM-93 test set.
TM 11-6225-821-12
TM 11-6225-821-40P
To use this test set you also need:
27.5 VDC @ 1.5 amp power supply, HS-33 headset or other 1/4" phone plug type headset, signal generator in the 90 kHz to 1.8 MHz range, TS-585 or equivalent audio output meter, a meter with Ohms capability.  This example has a C-6899 control and the DC to 400 cycle AC inverter installed and so can be powered by just the DC supply.  When the C-6899 is installed the front panel is called the TS-2052/ARM-93. 

Control Panel

The control panel is held in place with 4 each Dzus 1/4 turn fastners and the test set cable is terminated with a KPT06B20-41S mil circular connector.  The control panel is marked ADT Control, Type 614L-8, CAT.A TSO-C41a TSO-C41b, Collins p/n 522-2357-021.  There is no C-xxx number on the control.

CV-2128 Inverter

Part of the MT-3605 mount that holds the R-1391 receiver.  Converts 27 Volts DC into 26 volts AC at 400 Hz

MT-3667 Antenna Q-meter adapter

An antenna adapter stored in the lid that allows attaching the loop antenna to a Q-meter, like the Boonton 160, or other Q-meter that has the standard Q-meter arrangement of banana jacks to the top.  A switch on the adapter allow checking the N-S or E-W antenna coils.

The condition of a loop antenna could probably also be checked using a flyback tester.

Cannon Connector

The manual mentions CX-11570 as being a 10 pin to 10 pin cable to allow connecting the receiver to be tested.  But there is also another larger cable called a "pendant cable" with this connector that mates directly to the receiver.  The connection on the pendant cable is a functional equivalent of the connector in the mount.

Operation

It may be that after powering up the test set from 27.5 VDC and switching to "Control" that by changing the control frequency the Bearing Indicator will point to different bearings at different frequencies.  This is part of the Quarterly PMCS.  But before powering up the test set I need to confirm the unmarked 2 wire cable is indeed the DC power input.

The 821-12 TM has not information about what the 13 positions of the Control Test switch are for.

Manuals

TM 11-1520-217-20-2 ?
TM 11-5826-225-12 ch 2 Direction Finder AN/ARN-83 (NSN 5826-00-912-4415) (ch 2 Jan 1966)
TM 11-5826-225-35 ch 5 Direction Finder Set, AN/ARN-83 (NSN 5826-00-912-4415)  (ch 5 3 July 1980)
    contains the receiver, control & inverter test procedures to use with the ARM-93 test set.

TM 11-5826-225-20P  nc  Direction Finder Set AN/ARN-83 (NSN 5826-00-912-4415)
TM 11-5826-225-34P nc  Direction Finder Set AN/ARN-83 (NSN 5826-00-912-4415

Info from an eBay ad in Jan 2015:
That set has been used in the following aircraft and more:
Comment on the test set in the eBay ad:

ARN-59

May be a much older tube type aircraft LF DF set.
YouTube: T.F. 46   3200: Automatic Direction Finder - U.S. Army Aviation Training Film (1961) -
C-2275 Control PanelADF REC
MC Band .19-.40, .40-.84, .84-1.75
COMP - ANT - LOOP
VOL
BFO-ON
LOOP<-->
Tuning Knob and lock
Signal Strength meter








DV-14 13/26 ARN-59 (125vdc 100ma, 13vac 800ma 100hz) (replacement for P-14A)
Plug #16115 = 19 pins female, key left, screw ferrule. USA. Used on ARC-60, K-13 Oscillator Relay, ARN-59 control.
ARN-59 D-F Receiver 190-1750 KC TM 11-5826-217/204-*
R-836/ ARN-59 Receiver
AT-382/ ARN-59 Loop, servo rotated, also has T-type wire Sense Antenna.
AT-780/ ARN-59 Loop Ant
aka: L-11, p/n: 18000
Fig 0
AT-780 Loop Antenna
Fig 1
AT-780 Loop
                  Antenna
Fig 2
AT-780 Loop
                  Antenna
Fig 3
AT-780 Loop
                  Antenna
Fig 4
AT-780 Loop
                  Antenna


Patents, RDF related

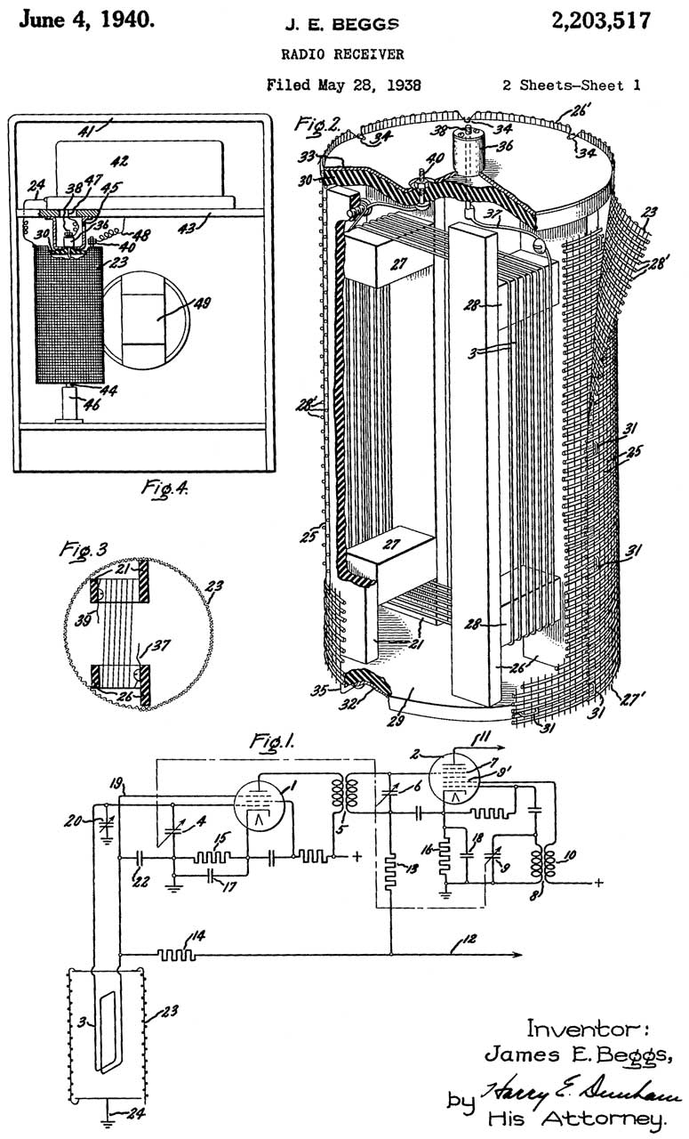
2203517 Radio
                  receiver, James E Beggs, GE, 1940-06-04
2203517 Radio
                  receiver, James E Beggs, GE, 1940-06-04
2203517 Radio receiver, James E Beggs, GE, 1940-06-04, 455/193.2; 343/728; 343/842; 455/300; 343/748; 343/897; 455/289; 455/347 -
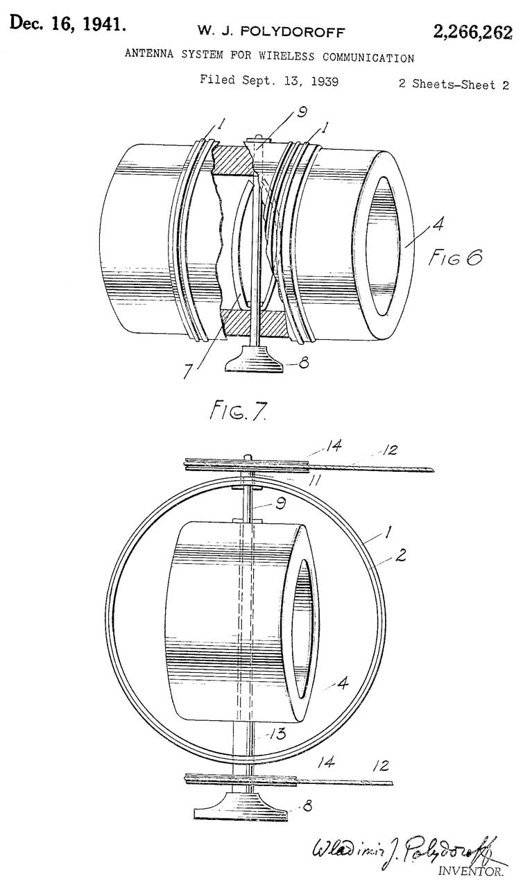
2266262 Antenna
                  system for wireless communication, Wladimir J
                  Polydoroff, 1941-12-16
2266262 Antenna
                  system for wireless communication, Wladimir J
                  Polydoroff, 1941-12-16
2266262 Antenna system for wireless communication, Wladimir J Polydoroff, 1941-12-16, 343/764; 336/208; 343/748; 343/842; 336/183; 336/233; 343/788; 343/846 -
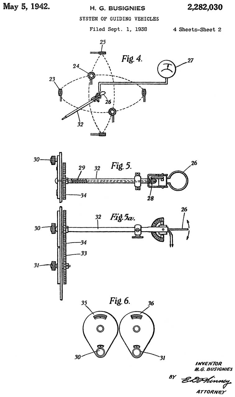
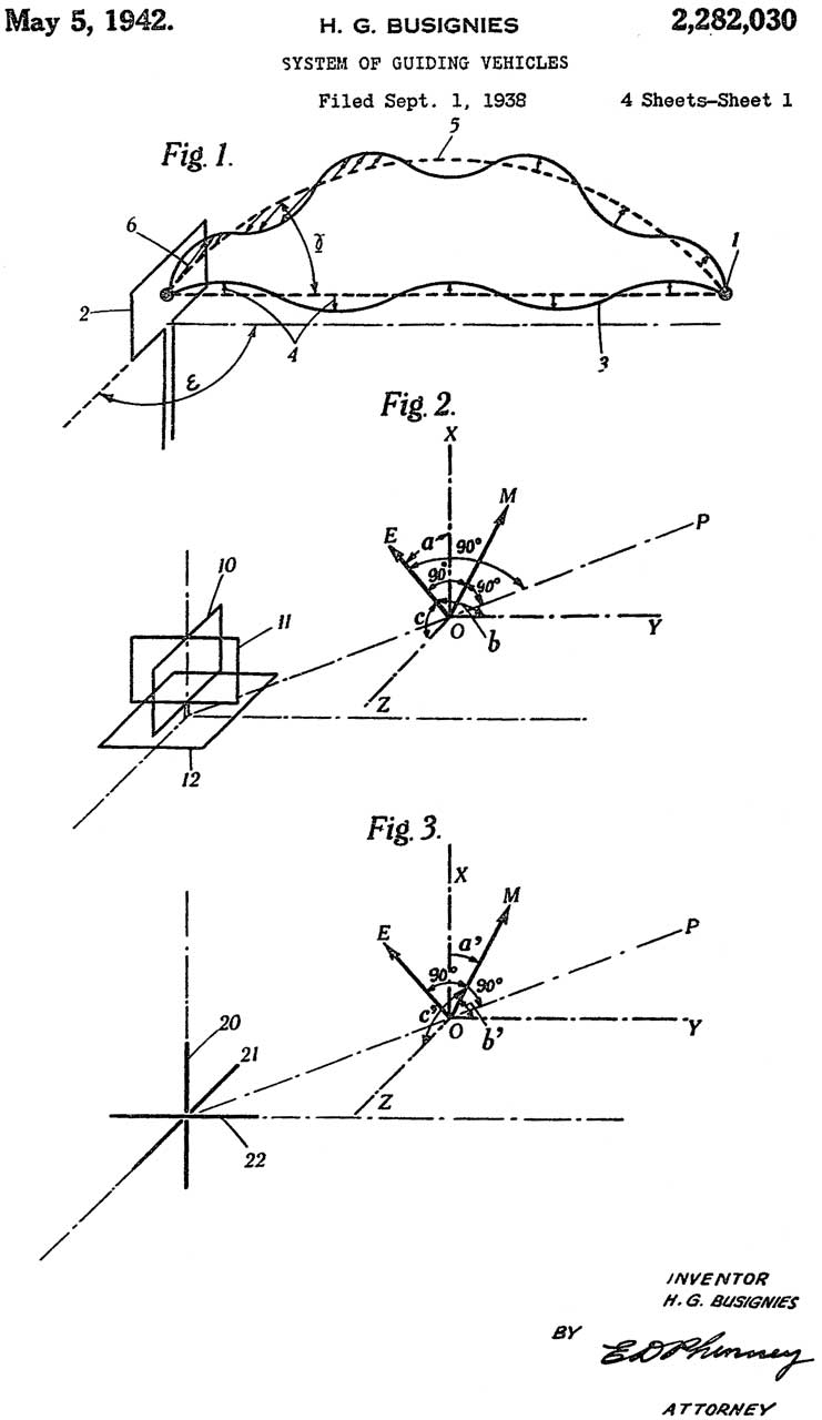
2282030 Busignies
                  Henri Gaston, International Standard Electric Corp,
                  1942-05-05
2282030 Busignies
                  Henri Gaston, International Standard Electric Corp,
                  1942-05-05
2282030 Busignies Henri Gaston, International Standard Electric Corp, 1942-05-05, 342/432 -

This is RDF based on a loop (26) sensing the direction of a transmitter.
2308521 Automatic radio direction indicator,
                  William P Lear, Lear Aviation, App: 1939-07-27, Pub:
                  1943-01-19, -

2308521 Automatic radio direction indicator, William P Lear, Lear Aviation, App: 1939-07-27, Pub: 1943-01-19, -
2339234 Directional
                  antenna system, Wladimir J Polydoroff, 1944-01-11
2339234 Directional
                  antenna system, Wladimir J Polydoroff, 1944-01-11
2339234 Directional antenna system, Wladimir J Polydoroff, 1944-01-11, 343/788; 336/130; 343/869; 343/867 -
Delta to 2394787: Fig 2 with loopstick


2390543 Directional antenna system, Paul H Kreager, Bendix Aviation Corp, App: 1941-12-12, (W.W.II) Pub: 1945-12-11, -
2394787 Directional
                  antenna system, Paul H Kreager, Bendix Aviation Corp,
                  App: 1941-12-12, (W.W.II) Pub: 1946-02-12

2394787 Directional antenna system, Paul H Kreager, Bendix Aviation Corp, App: 1941-12-12, (W.W.II) Pub: 1946-02-12, - LP-21
Delta to 2390543: Fig 2 no loopstick
2399382 Directional
                  antenna system, Wladimir J Polydoroff, 1946-04-30

2399382 Directional antenna system, Wladimir J Polydoroff, 1946-04-30, 343/788; 336/188; 343/867 -


2419480 Loop antenna shield, Robert H Bryan, Truman L Johnston, Stewart Warner, App: 1944-05-18, W.W.II, Pub: 1947-04-22, - "Another object is to provide an electrostatic shield that will shield the loop antenna electrostatically in any position without producing undesirable nulls in the received directional signal."
2442310 Directional
                  antenna system, Wladimir J Polydoroff, 1948-05-25


2442310 Directional antenna system, Wladimir J Polydoroff, 1948-05-25, 343/788; 336/188; 343/867; 343/842 -
2624004
                  Ferromagnetic antenna, Wladimir J Polydoroff,
                  1952-12-30



2624004 Ferromagnetic antenna, Wladimir J Polydoroff, 1952-12-30, 343/788; 343/842; 343/873; 336/84R; 343/867 -
2804617 Antenna
                  systems, Wladimir J Polydoroff, 1957-08-27


2804617 Antenna systems, Wladimir J Polydoroff, 1957-08-27, 343/788 -



2939138 Bearing correction means for a direction finding antenna, John R Rennels, Collins Radio Co, 1960-05-31, 342/420; 343/788 -
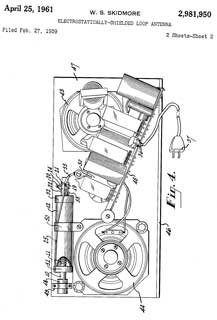
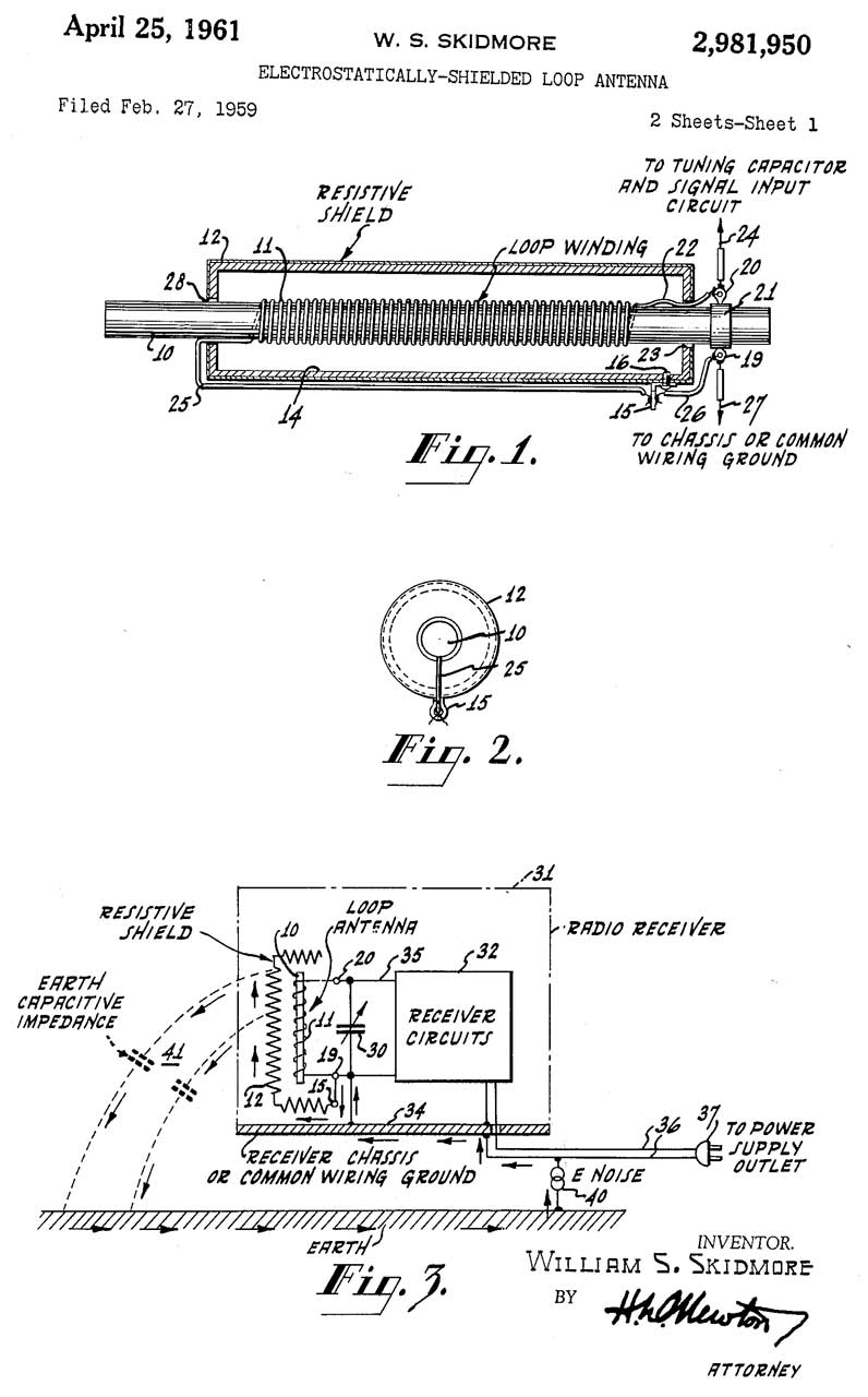
981950
                  Electrostatically-shielded loop antenna, William S
                  Skidmore, RCA, 1961-04-2
981950
                  Electrostatically-shielded loop antenna, William S
                  Skidmore, RCA, 1961-04-2
2981950 Electrostatically-shielded loop antenna, William S Skidmore, RCA, 1961-04-25, -
3031663 Magnetic
                  antenna systems, Wennerberg Gunnar, Motorola Solutions
                  Inc, 1962-04-24
3031663 Magnetic
                  antenna systems, Wennerberg Gunnar, Motorola Solutions
                  Inc, 1962-04-24
3031663 Magnetic antenna systems, Wennerberg Gunnar, Motorola Solutions Inc, 1962-04-24, 342/422; 343/705; 343/867; 343/788 -

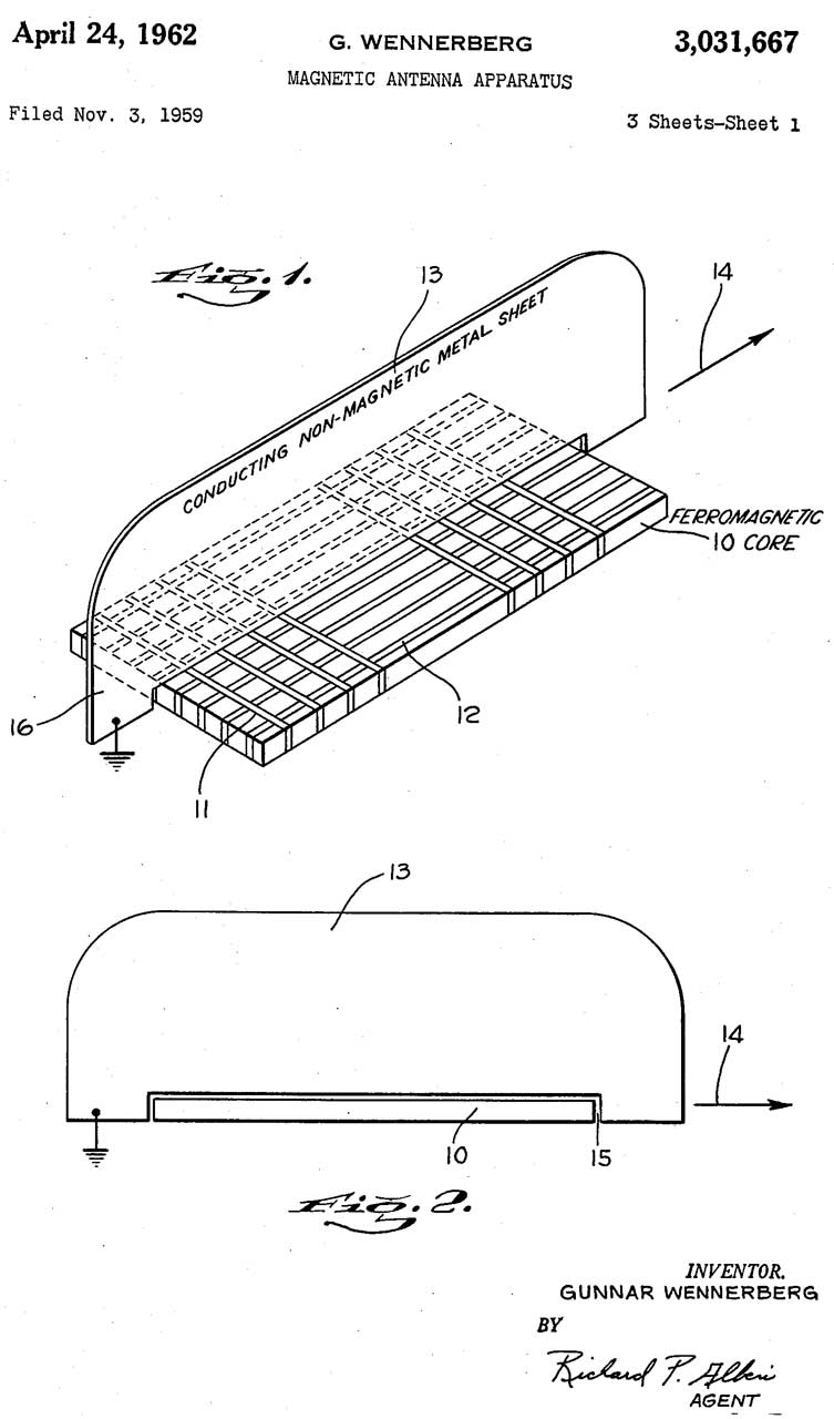
AS-1863/ARN-83 Loop Antenna and/or AS-2108/ARN-89?
3031667 Magnetic
                  antenna apparatus, Wennerberg Gunnar, Motorola
                  Solutions Inc, 1962-04-24
3031667 Magnetic
                  antenna apparatus, Wennerberg Gunnar, Motorola
                  Solutions Inc, 1962-04-24
3031667 Magnetic antenna apparatus, Wennerberg Gunnar, Motorola Solutions Inc, 1962-04-24, 343/788; 342/420 -


C-2275/ ARN-59 Control Box. Tuning, Loop Controls, S-Meter, Volume.
CX-4232/ ARN-59 Cable for C-2275
DY-107/ ARN-59 Dynamotor 24 VDC to 110 & 125 VDC, 13 V 100 Hz for loop
ID-637/ ARN-59 3" Compass Heading Indicator.
MT-1912/ARN Receiver Mount
MT-1913/ARN Dynamotor Mount
PP-4328/ ARN-59 PS, 28 VDC

S72-1759 Low Profile Ferrite Loop Antenna

designation-systems.net - LF Direction Finder; used in C-2, C-130, RF-101, F-105, UH-1, HH-3, SH/UH-3H, OH-6A, H-34, H-43, H-46, CH-47, CH-53D, O-1, OV-1, S-2, T-37, T-38, U-1, HU-16, X-19; replaced by AN/ARN-89

Newer DF Sets

AN/ARN-149

Current Rockwell LF DF set

VHF Homing Indicator p/n 9024

What system, radio, application?  Let Me Know.

VHF Homing
                  Indicator p/n 9024
VHF Homing
                  Indicator p/n 9024

Aircraft LORAN Receivers

LORAN-A (obsolete 1.8 MC, sound bite: http://alancordwell.co.uk/radio/soundclips/Loran_A_sim.mp3): ARN-70, 81
LORAN-C (current 100 kHz): ARN-76, -78, -81, -85, -92, -94, -98, -101, -109, -110, -114, -133, -515

Related

Antennas
An Instantaneous Direct-reading Radiogoniometer by Robert Watson-Watt, 1926
Radio Driection Finding
Shrike & HARM missiles
SkyScan Severe Thunderstorm Detector -
StormScope - airborne lightening location display
Survival Radios
AN/TRQ-23 which uses the OE-4/GR & many different loops
Radar Warning Receivers use Time Of Arrival (Wiki) to give an instantaneous indication of the bearing of the threat
Time Delay Beam Steering - Fenwick patent

Links

Light Weight Beacon - Navagation Beacons may be the primary reason to have an LF DF set on modern aircraft
AirCav - AH-1F Cobra System Information - Pilot StationDirectional Finder Set AN/ARN-89 - TSEC / KY-28 - AN/APR-39 Radar Warning Set -
Tobyhanna Army Depot  - Airborne Navagation Division -
Bell-212 UH-1N -
Eastern Avionics - Opinions on Aircraft ADF Systems - modern commercial ADF systems
Fair Radio Sales - Technical Manual -
H-1 WRA OPPORTUNITY INDEX
NIIN         NOMENCLATURE WUC CAGE PART NUMBER        DEPOT   TOTAL    MFHBF*  DCI RI OI
                                                                                                         REPAIR   DEPOT
                                                                                                         COST       COST
000014076 CONTROL,RADIO SET 713J2 59926  C-7392A/ARN-89  865.00  4325 2787.3 371.8 15.2 30416.7
RODELCO ELECTRONICS CORP
111 HAYNES CT
RONKONKOMA, NY 11779-7221
CAGE CODE: 59926
Status: A - Active
DUNS Number: 052778388
Voice Telephone: 516-981-0900
County: SUFFOLK
Date CAGE Code Established: 04/18/1981
Last Updated: 05/28/1998
CBD - SOURCES SOUGHT FOR MANUFACTURER OF PANEL, INDICATING LIGHT, P/O AN/ARN-89 DIRECTION FINDER SET
AVIATION SAFETY ACTION MESSAGE, MAINTENANCE MANDATORY, RCS CSGLD-1860(R1), ALL U.S. ARMY AIRCRAFT -
C-130/Hercules Aircraft and Y2K -
Janes - SIKORSKY S-70A - Emerson - BOEING AH-64 APACHE -
FAS - AH-64 Apache - 4.7.1 Technical Manuals -
Direct Support and General Support Maintenance Manual Direction Finder Sets
AN/ARN-89 (NSN 58261-00-790-645)
and AN/ARN-89B (NSN 5826-00-151-2685)
and AN/ARN-89B (NSN 5826-01-021-3289).
ION Meeting Proceedings Index - Experimental Coherent Modification Designs of the AN/ARN-83 and AN/ARN-89 ADF Sets - J. J. Battistelli 242
List of NSN parts available from Electronetics - Control Radio Set 5826-00-001-4076 C-7392A/ARN-89
MOS 35R Avionic Radar Repairer and ASIW5 SL 1 Critical Task List -  093-35R-1708 Restore ADF Receiver R-1496(*)/ARN-89 UNIT TATS-C:NO Mobilization:YES

Warbird Parts and Memorabilia -
WWIIAircraftParts.com - no too much
AN/ARN - Airborne Radio Navigation Equipment - a list of the ARN series sets
"LF Automatic Radio Direction Finder Set; used in AH-1W, YO-3, OH-6, CH-47, OH-58, OV-1D "

Back to Brooke's PRC68Products for saleNavigation, Military Electronics Information, Cryptographic, Personal Home page

[an error occurred while processing this directive] page created 16 Jan. 2001