Weston Model 1 Volts Milliampers D.C. Meter

Leeds & Northrup 2420-A Galvanometer

© Brooke Clarke 2020

Weston Model One
Weston Model 1
                  Volts Milliampers D.C. Meter
L&N 2420-A
Leeds &
                  Northrup 2420-A Galvanometer

Background
Description
    Weston Model One
    Weston Model 30 Sensitive Relay
    Weston Sensitrol Relay
    Leeds & Northrup 2420-A Galvanometer
Photos
    Weston Model One
    Leeds & Northrup 2420-A Galvanometer
    Leeds & Northrup 2420-C Galvanometer
Patents
Related
References
Links

Background

For some years I've been looking for a copy of the book: Measuring Invisibles by Weston Electrical Instrument Corp. (Measuring Invisibles) and during March 2020 I got a 1938 hardback version.  On page 12 is a photo of Model One, Number One.  So I looked to see if any Model Ones were available and found one on eBay.  I choose this particular meter because there was a change it had a patent data plate, which turns out to be the case.  Other meters had a simpler label even though they were also Model One meters.  Current, Voltage and Light are all invisible, hence the title.
This is Model One No. 44506.  In their advertising they say the model numbers do not change every year.

While searching out all the patents listed (see Fig 2) I discovered why sometimes you see patent dates but not patent numbers.  In this case by using patent dates they save a lot of space since in many cases more than one patent is issued on the same date.

Also see how a Helmholtz coil will deflect a compass.

Description

Weston Model One

The first needle type meter movement made by Weston based on patents between 1888 and 1901 as shown on the label.  Note that patent dates are shown not patent numbers.  This saved space since there were often more than one patent granted on the same day (always a Tuesday).  Some of the earliest patents were for a Reflecting Galvanometer which sparked an interest in getting one of them.  Many of them on eBay had photos showing broken coil suspensions, i.e. not at all in working condition.  The L&N 2420-A seemed to be a much more rugged design, so I got one of them.

Ohms Table (to + terminal)

Terminal
Ohms
1500 mA
0.0?
150 mA
0.2
15 mA
2.0
150 V
22k64
750 V
113k3

Weston Model 30 Sensitive Relay

This appeared on eBay in Feb 2022 and the following patent dates could be read:

Image
No.
Title
Inventor
Assigned
Date
Class





Nov 6, 1888






May 14, 1889






Apr 29, 1890






Feb 17, 1891






Dec 19, 1893






Oct 4, 1898






Jul 16, 1901

FTL Design: Weston Electrical Instrument Corporation Model 30 Sensitive Relay - wood box unit s/n: 427 & Bakelite unit s/n: 11020.  Both show the above 7 patents.
Harvard: Collection of Historical Scientific Instruments: sensitive DC relay, Weston model 30 - 20 uA controls 0.1A current.

Weston Sensitrol Relay

This is a very sensitive relay which AFAICR could be operated directly from a Weston Model 594 Photronic Cell.

Is KS-7901 a telephone specification, like KS8455Let me know. Not at the TCI Library.

Photos

Fig 1
Weston
                      Sensitrol Relay
Fig 2 Looks like Red & Black wires in center tube; relay coil?
Terminal posts numbered 1 to 5.
Weston
                      Sensitrol Relay
Fig 3 Terminals 4 & 5 are outer contacts.
Weston
                      Sensitrol Relay



Drawing

Patent
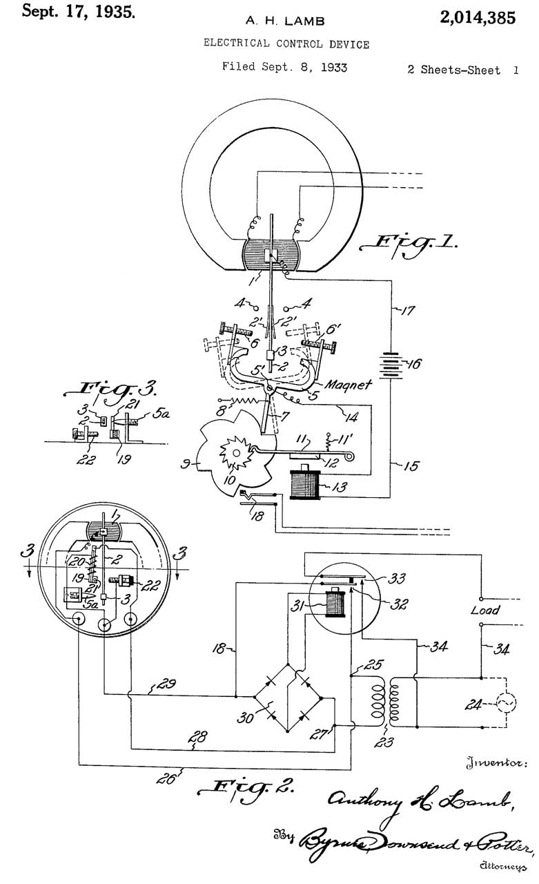
2014385
                      Electrical control device, Anthony H Lamb, Weston
                      Electric Instrument Corp, 1935-09-17

2014385 Electrical control device, Anthony H Lamb, Weston Electric Instrument Corp, 1935-09-17, 361/157 -
2014386
                      Sensitive control device, Anthony H Lamb, Weston
                      Electric Instrument Corp, 1935-09-17

2014386 Sensitive control device, Anthony H Lamb, Weston Electric Instrument Corp, 1935-09-17, 361/157 -
2014387 Relay
                      system, Anthony H Lamb, Weston Electric Instrument
                      Corp, 1935-09-17

2014387 Relay system, Anthony H Lamb, Weston Electric Instrument Corp, 1935-09-17, 361/157; 200/7 -
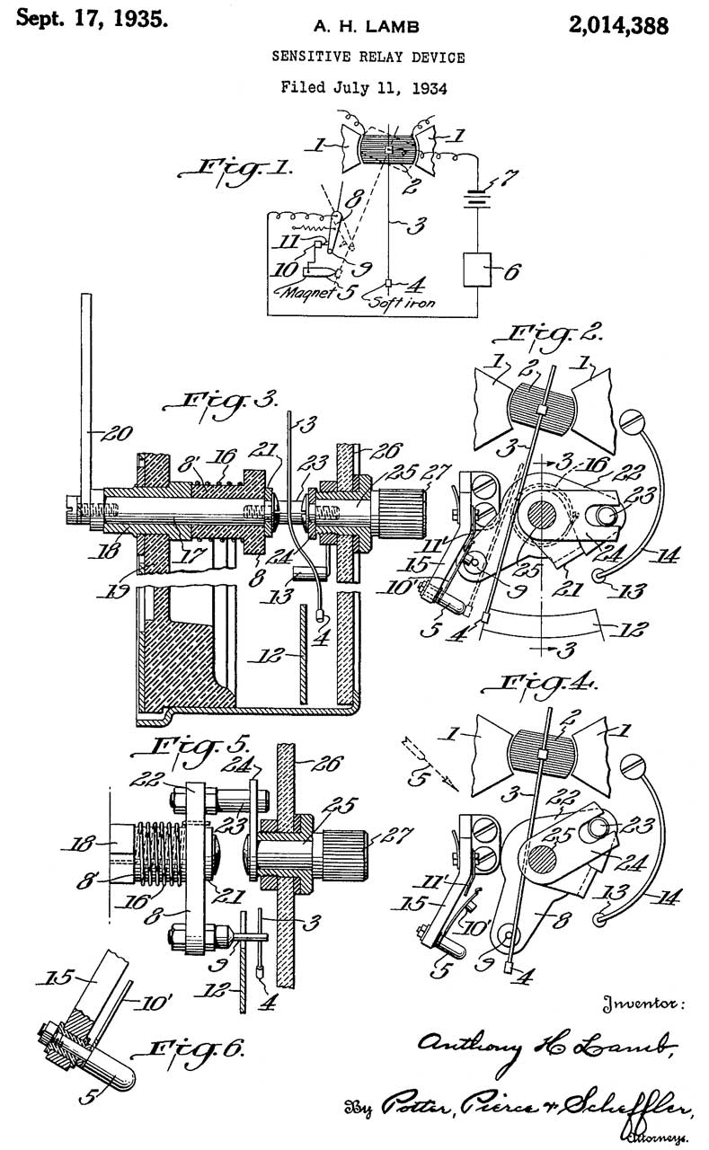
2014388
                      Sensitive relay device, Anthony H Lamb, Weston
                      Electric Instrument Corp, 1935-09-17

2014388 Sensitive relay device, Anthony H Lamb, Weston Electric Instrument Corp, 1935-09-17, 200/56R -
2062915 Control
                      device, Anthony H Lamb, Weston Electric Instrument
                      Corp,1936-12-01

2062915 Control device, Anthony H Lamb, Weston Electric Instrument Corp,1936-12-01, 335/150; 307/41; 307/102; 307/104; 318/122; 318/443; 318/448; 318/686; 335/179; 338/116; 338/150; 361/157 - 

  YouTube: Applied Science: Vintage electrical tech - Weston Sensitrol Relay - two of the contacts are for a solenoid that brings the needle back to zero. Pin Out?  - Link to YouTube courtesy of  Steve Cichorsky.

http://n4trb.com/AmateurRadio/SemiconductorHistory/Electronic%20Shortcuts%20for%20Hobbyists.pdf - from Ed Sharpe of SMECC.

Leeds & Northrup 2420-A Galvanometer

This Reflecting Galvanometer contains not only the reflecting galvanometer but also a light source, lens with pointer mask and provision for a fine wire across the lens at the tip of the pointer.  This way a beam of light shines out of the rectangular slot.  So all that's needed is a horizontal yardstick (meter stick) for the light to shine one.

From what I've read the sensitivity of this instrument is much higher than of a needle type meter of similar vintage.

Leeds & Northrup Co. Catalog 1925 Physics Instruments: "These galvanometers are completely portable and have a sensitivity some twenty times that of the best pointer type portable galvanometers.  They require no leveling.  They are much more convenient than other reflecting galvanometers, and will withstand as much rough usage as an ordinary millivoltmeter.  The scale illumination is such that they are easily read in daylight."

Ohms Table (to + terminal)
Terminal
Ohms
1500 mA
0.0?
150 mA
0.2
15 mA
2.0
150 V
22k64
750 V
113k3

Photos

Weston Model One

Fig 1
Weston Model
                      1 Volts Milliampers D.C. Meter

Fig 2 Patent numbers
Weston Model
                      1 Volts Milliampers D.C. Meter
Measuring Invisibles
Measuring Invisibles by Weston Electrical
                      Instrument Corp 1938
Fig 3
Weston Model
                      1 Volts Milliampers D.C. Meter
Fig 4
Weston Model
                      1 Volts Milliampers D.C. Meter
Fig 5
Weston Model
                      1 Volts Milliampers D.C. Meter

Leeds & Northrup 2420-A Galvanometer

Looking for manual, documentation, years when on market, catalog entry, &Etc.
Looking for a Catalog of  Leeds & Northrup instruments by L&N Model number. Let me know.
This Harvard L&N 1903 - 1995 page lists many interesting documents, but they are all 404 Not Found.
 HarvardL&N Collection: L&N 2420,

Fig 1 Missing either a ground glass meter face or a clear glass
to keep out dust.  Let me know.
Cat. No. 2420-A,  Serial No. 422628
Leeds &
                      Northrup 2420-A Galvanometer
Fig 2 Horseshoe magnet provides field for galvanometer.
Lamp at left shines through lens with pointer mask with fine wire.
Light bounces off Galvanometer mirror and shines on ground
glass or out clear glass?
Leeds &
                      Northrup 2420-A Galvanometer
Fig 3 Solder spots on lens frame for fine wire.
Front terminals for lamp.
Rear (shorted to ship) terminals for Galvanometer.
WM?193.
Leeds &
                      Northrup 2420-A Galvanometer
Fig 4 What does the black knob do when turned?
Let me know.
Leeds &
                      Northrup 2420-A Galvanometer
Fig 5 Rear metal ID plates.

GSID265014 S8

U.S. Government, Contract# W-2279-SC-17, Project 2B
Property

L/200/00

Leeds &
                      Northrup 2420-A Galvanometer
Fig 6 lamp powered.
back of business card in glass slot.
The fine wire is missing from the pointer.
There is considerable dampening of the zero adjustment
(black knob).
Leeds
                    & Northrup 2420-A Galvanometer

Leeds & Northrup 2420-C Galvanometer

Photos from Dan Graybeal
Note the optical system is different from the "-A" version in that the lens and surrounding ring with pointer and fudicial wire is missing.  Maybe incorporated into the fancy lamp?

Fig 1 Note missing lens assembly.
Leeds &
                      Northrup 2420-C Galvanometer
Fig 2  Does this lamp include optics?
Is this a line source of light?
Leeds &
                      Northrup 2420-C Galvanometer
Fig 3 I think this is a replacement for the factory frosted glass scale.
Note paper is on front side and numbers read correctly.
Leeds &
                      Northrup 2420-C Galvanometer


Patents

Weston

Because the dates are very difficult to read, after getting the list of patent dates, I used an on line calendar to check that the issue date was a Tuesday.  Those that were not I re-read using a magnifying glass and guessed at a different date until it came out on a Tuesday.  There were over a half dozen in error.

DOW
Date
No.

Title
Class
Comment
Tu
Oct 21, 1884 307031 307031
                      Electrical Indicator, Thomas A. Edison, Oct 21,
                      1884 Electrical Indicator, T. A. Edison,

copied to here 30 Dec 22 from:
One Tube Radio \
Tube History

both meter and vacuum tube
Tu
Sept 11, 1888
389274
389274 Standard
                      tangent-galvanometer
Standard tangent-galvanometer 324/97 324/154R not listed
on Mdl 1
Tu
Nov. 6, 1888
392385
392386
392387
392476
392477
392478


392387
                              Electrical Measuring Apparatus (damped
                              Moving Coil, E Weston, Nov. 6, 1888

392477
                              Galvanometer, Weston


Electroplated Coil for Electrical Measuring Instrument
Electrical Measuring Apparatus (damped Moving Coil)
Electrical Measuring Apparatus (damped Moving Coil)
Reflecting Galvanometer
Galvanometer
"
324/144; 335/299; 336/82; 336/195; 310/194; 336/73; 336/84R
324/115
324/115
324/97
; 324/154R
324/97
"
-



400980

Standard tangent-galvanometer
not listed
on Mdl 1
Tu
May 14, 1889
403311
403312

Electrical Measuring Instrument (2 scales: 0-100 & 0-5)
Portable Tangent Galvanometer (Wiki & Helmholtz coil)
324/115
324/97
; 159/28.3; 324/154R

Tu
April 29, 1890
426992
427022



Electrical measuring instrument (Balancing temp rise)
Electrical measuring instrument (improvements to 392387) + mirrored scale
324/144
324/146
; 324/154R; 324/115; 359/439


Aug 5, 1890
433637
Electrical measuring instrument
RE-issued as RE11250 Jun 28, 1892
324/144
Tu
Nov 11, 1890
440291

Index-controlling device for electrical measuring-instruments
324/155; 116/297
Tu
Feb 17, 1891
446489
446490
446491
446492
446493
446494

Electrical measuring instrument
Rheostat
Electrical measuring instrument
Electrical measuring instrument
Electrical measuring instrument
Electrical measuring instrument
324/151R; 177/DIG.9
338/148; 336/45; 336/139; 338/196
324/144
324/127
324/145
324/145

Tu
May 12, 1891
452326

Electrical measuring instrument 324/144
Tu Dec 29, 1891
466087

Temperature-regulating device for electrical circuits
324/105; 374/183
Tu Mar 8, 1892
470340

Movable coil for electrical measuring-instruments
324/155; 336/205; 336/125
Tu Apr 26, 1892
473538
473539

Electrical measuring instrument
Electrical measuring instrument
324/145; 335/279
324/145
; 74/99A

Tu Jun 28, 1892
RE11250
RE11250
                      Electrical measuring instrument
Electrical measuring instrument (AC movement)
Also see 433636 Aug. 5, 1890 above.
324/144

Tu Aug 16, 1892
480894

Electrical measuring instrument 324/155
Tu Nov 22, 1892
486689

Electrical measuring instrument 324/144
Tu Jan 31, 1893
490699
490700
490760

Recording Ammeter
Electrical measuring instrument
Electrical measuring instrument
346/31; 324/100
324/106
324/144

Tu Apr 4, 1893
494828
494829
494830

Electrical measuring instrument
Recording Voltmeter
Ground-detector for electric circuits
324/106
346/31; 324/100; 324/113; 178/95
324/140R; 324/509

Tu May 2, 1893
496500
496501

Electrical measuring instrument
Shunt for Electrical Measuring Instruments
335/148; 324/154R
338/49; 324/126; 338/326; 338/315

Tu May 16, 1893
497521?
497522?

Electrical measuring instrument
Galvanometer
A.H. Hoyt assigned to Weston?
324/146; 310/190; 123/634
324/146

Tu Jun 13, 1893
499313

Electrical measuring instrument 324/144

Dec 19, 1893
511005
511005
                      Telegraphic relay, E Weston, 1893-12-19, Model
                      30?
Telegraphic relay
335/148 Model 30?
Tu Jul 10, 1894
522948
522949
522950

Electrical measuring instrument
Watt Meter
Watt Meter
324/144; 177/DIG.9
324/142
324/114; 324/156

Tu Nov 20, 1894
529434
529435

Electrical measuring instrument
Electrical measuring instrument
324/144
324/151R

Tu Jan 29, 1895
533107

Electrical measuring instrument 324/144; 324/150

Mar 22, 1898
600981
600982
600983

Electrical measuring instrument
324/157 not listed
on Mdl 1
Tu Oct 4, 1898
611722
611724

Electrical measuring instrument
Electrometer
324/155; 116/330
Tu Jul 16, 1901
678706
678707
678708

Electrical measuring instrument
Art of manufacturing movable coils for use in connection with electrical measuring instruments
"
324/155
29/595
29/564.1; 29/761; 33/613; 269/47



730061

Reflecting Galvanometer 324/97 not listed
on Mdl 1
Tu Jun 10, 1890
D19895

Case for electrical instruments


Tu Mar 20, 1894
D23141

Case for electrical instruments


Tu Mar 27, 1894
D23156
D23157

Supporting-frame for electrical instruments


Tu
Mar 22, 1898
D28394
D28395
D28396




Leeds & Northrop

Apr 4, 1893
494964

Galvanometer 324/97
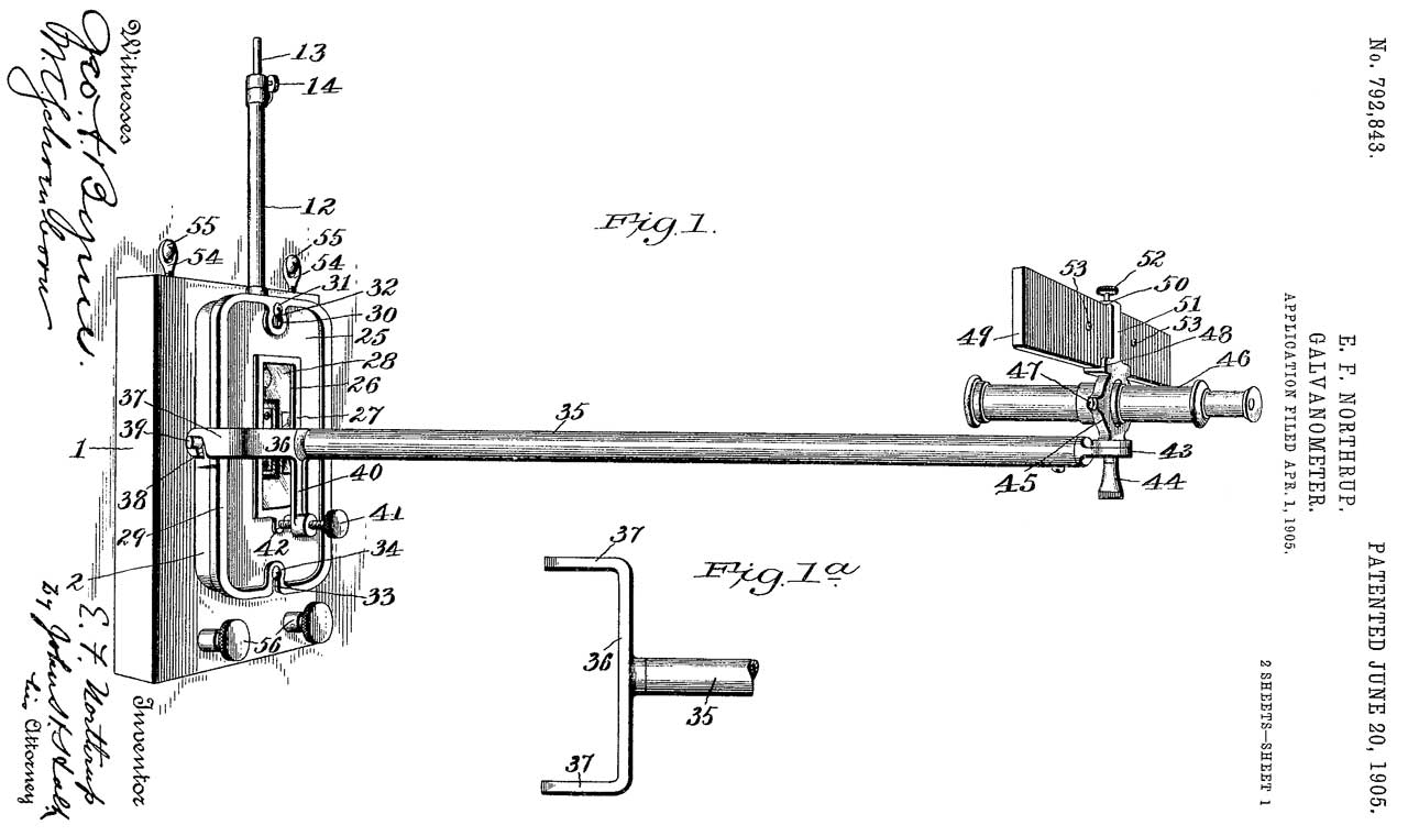
Jun 20, 1905
792843 792843 L&N
                      Model 2239 Galvanometer
Galvanometer (model 2239 wall mount - fragile) (Ref: L&N Prism 2178)
Scpoe probably folds up against wall like prior patent 561919
324/97
Feb 5, 1907
843414
843414 Optical
                      reading device for electrical measuring
                      instruments Leeds & Northrup
Optical reading device for electrical measuring instruments - microscope and reflected optical path
324/97 359/226.2 353/40 359/439

L&N 2420 Galvanometer

Did not find one.

Lord Kelvin (William Thompson) Patents

, W. Thompson (Wiki)
Date
No.
Drawing
Title
Class

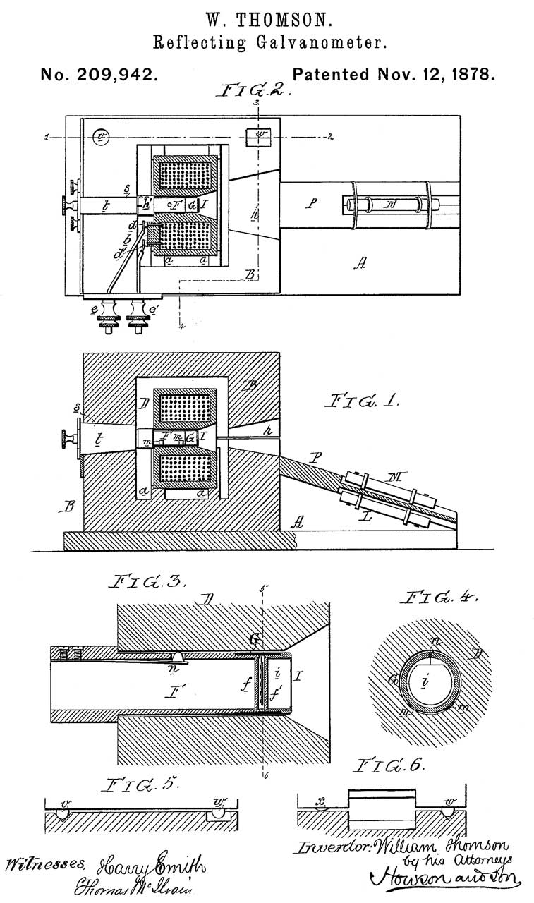
Nov 12, 1878

209942 209942
                      Reflecting Galvanometer, W. Thompson (Wiki), Nov
                      12, 1878
 Reflecting Galvanometer
Iron Box: B
Mirror: i
Zero adjust Permanent magnets: K & L

324/97
oldest galvanometer patent in class
March 3, 1902
696117
696117
Apparatus for indicating and recording electric pressure and current
Rather than a lab instrument this appears to be for
use in the field to measuring DC power either at
power stations or loads.
346/17; 346/49; 346/127
Aug 5, 1902
706361
706361
                      Instrument for measuring electric currents
Instrument for measuring electric currents
Note must be positioned as shown
so that gravity will be part of action.

Many early galvanometers depended on gravity.
They may have adjustable feet, bubble levels, &Etc.
324/145

String Galvanometers

Devoted to Medical and scientific uses.  In the time before vacuum tubes getting a lot of sensitivity was important.  These units have provision for many permanent magnets.

This term shows up in early Electrocardiograph patents.

1416824 Galvanometer, C.F.. Hindle, not assigned, 1922-05-23, 324/97; 324/144 -

1702650 Galvanometer, F.O. Hindle, Cambridge Instrument Co, 1929-02-19, 324/97  -

1942027 String galvanometer, F.O. Hindle, American Scientific Inst Co, 1934-01-02, 324/97 - This is decades newer than the Thompson patents, so has a different purpose.  This one is easier to use and maintain than prior art string galvanometers.


Related

Weston Model 594 Photronic Cell - Light meters
Integrating Sphere & light sources and sensors

References


Links

PRC68, Alphanumeric Index of Web pages, Contact, Products for Sale
Page Created