COVID-19

© Brooke Clarke 2020





Background
Description
    DIY
        Bag Valve Mask
        Snorkel Face Mask
        Army Emergency Respirator
    Pulse Oximetry
        Is COVID-19 a Blood Disorder Rather then a Respiratory Disorder?
        SantaMedical SM-110
        Masimo 2007 SET Radical V4
        Masimo 2004 SET Radical V4
            Sensors
                Masimo 1863 K2N2A Reuseable Finger Tip Sensor
                Masimo 14-Pin Plug to F-Tap Socket & F-Tap tongue to Fingertip Sensor
                Chinese Equivalent Single Cable Sensor
History of Ventilators
    Ventilator Patents
Photos
Patents
Ventilator Surge Production
Electrocardiograph
Water Filter
Sleep Apnea
Related
References
Links

Background

This is to keep notes related to COVID-19.
Sars-CoV-2 is the virus.  COVID-19 is the disease.
 
There are ethics questions, for example see: Pandemic Justice by Karen Lebacqz 2007

The first ventilator (Wiki) was the Iron Lung (Wiki) which was mainly used for Polio (Wiki) patients.

AARC: 1950s - 1970s Ventilators, 1980 - 1999 Ventilators,

ARDS (Wiki): Acute Respiratory Distress Syndrome - Causes may include sepsispancreatitistraumapneumonia, and aspiration. May not be COVID-19, see box below.

Pandemic: While the Wiki page for Pandemic mentions people being killed by disease, it does not clearly make that a part of the definition. But if you read closely it has the elements of: Infectious, contagious, kills many people, and is widespread.

Description


DIY

Bag Valve Mask Ventilator

These bag based ventilators are typically carried in ambulances.  It's a complete working ventilator, but requires constant labor to pump the bag.  If sensors and a mechanical way to squeeze the bag are added it can be made into a minimal ventilator.  There are a number of patents for doing just this.

eBay title: Medical PVC 100% Latex-Free Bag Valve Mask CPR Manual Resuscitator for Adult Use (about $35)
Item Detail:
Type: First-aid devices
Model:PVC Resuscitator
Suitable for: Adults
Material: CE PVC with 100% latex-Free.
Ballon Size: 1650ml
Reservoir bag: 2000ml
Pop-off: 60cmH₂O
Mask: Air cushion mask 20115
Oxygen tube:Non latex,CE Mark 0434
Color: Blue
Accessories:
Oxygen tube(1pc), reservoir bag(1pc), mask(1pc)
Fig 1 Kit as received.
Bag Valve Mask
                          Ventilator
Fig 2 Major parts: Bag, Mask, 2L bag reservoir, Tube & intubation supplies.
Bag Valve Mask
                          Ventilator
Fig 3 Mask with 6.5mm (?) O2 inlet port
Red fingers are to hold straps (not supplied) that hold
mask on patient face.  Port has the feel of Schrader Valve.
O2 Tube fits this port.
Bag Valve Mask
                          Ventilator
Fig 4 Patient outlet end w/22mm ISO tapered connection
Pop-Off valve protects bladder from over pressure.
Bag Valve Mask
                          Ventilator
Fig 5 Inlet End w/mixing chamber.
Mix Chamber inlets aprox 22mm, 7mm port and two valves.
Over pressure valve and inlet safety valve.
Main pump valve is at bottom of mixing chamber.
O2 Tube fits this port.
Bag Valve Mask
                          Ventilator
Fig 6 Pump Outlet (Duck's beak) Valve
Bag Valve Mask
                          Ventilator
Fig 7 Pop-Off Valve protects main bladder from over pressure
Bag Valve Mask
                          Ventilator
Fig 8 Reservoir Bag is filled by O2
and when full is a visual indicator
that the O2 is present.  The port for
the bag can only be used for the bag,
 i.e. it is not a standard 22mm ISO port.
Bag Valve Mask
                          Ventilator


3046978 Manually operated resuscitator, Lawrence N Lea, App: 1960-06-22, 128/205.13; 128/205.24; 417/478; 92/92; 128/207.16 - Cited by,

Snorkel Full Face Mask

Note that Full Face Mask Snorkeling (Wiki) is different from the classical plain snorkeling (Wiki) with a tube held in the mouth.  The idea is to remove the snorkel tube and float ball valve and replace it with an adapter to hold an air filter.  The result is both an excellent inlet air filtration system and a face mask that protects the full face.  A modification is possible for a Surgeons where the exhaust air is also filtered and directed away from the patient providing a “sterile-field”.

This project is mainly aimed at PPE (Wiki) rather than use as a ventilator.  But in light of the newest idea (still not tested) that COVID-19 is a blood problem rather than ARDS, this mask with the addition of some O2 may work to relieve breathing.

Fig 1 Box
Snorkel Full Face Mask
Fig 2 Carry bag
Snorkel Full Face Mask
Fig 3 Assembled + GoPro mount
+ GoPro screw + spare flap valve
Snorkel Full Face Mask

References

Stat: With diving gear and plumbing supplies, California labs fashion Covid-19 masks and ventilators, April 9, 2020 - Manu Prakash at Stanford, who developed the FoldScope (paper microscope), came up with this on 21 March 2020 in a Tweet.

Google Docs: Pneumask: Reusable Full-Face Snorkel Mask PPE Project - Very good information.  Air circuit diagrams for General and Surgeon's versions.
The link to ISO 5356-1:2015 Anaesthetic and respiratory equipment - Conical connectors - part 1: Cones and Sockets is broken.
Inter Surgical has a Chart.pdf of air circuit couplings. and a wall poster.  The tubes seem to come in 15mm and 22mm sizes (30mm & 19mm less common).  Ports in sizes: 7.6mm, Luer & MDI.

Snorkel Patents

2569451 Diving suit, Browne Jack, Diving Equipment and Supply, App: 1946-02-28, - Face mask covers eyes, nose and mount with one compartment.
4126131 Facemask and goggle combination for excluding smoke or noxious gases from the goggles, Donald G. Davis, John Wippler, David L. Heitman, Scott Technologies Inc (Sierra Eng), App: 1977-03-18, - manual valve to use clean air from the nose + mount mask to flush out the goggles (not the better system of feeding clean air to the eyes first, like in 4676236).
4676236 Helmet airflow system, Gary J. Piorkowski, William P. Giacomini, Gentex Corp, compartments: first for eyes, then for mount and nose (circuit diagram).

Army Emergency Respirator

Class 128/205.24 is closley related to respirators.  Also see Sprinkler Control Valves which were early applications of fludics.
Fludics (Wiki) was discovered by Billy M. Horton, Dr. R. E. Bowles and Ray Warren at the Harry Diamond Labs in the late 1950s.  This same lab, then called the Army Research Labs, invented the Breathing valve assembly.
ARL: Redditors revive interest in 1960s Army emergency ventilator invention -
3419029 Breathing valve assembly, Henrik H Straub, Army, App: 1967-01-27, 128/205.24; 137/835; 137/102 -
3586021 Fluidic breathing assistor, James P Mcguinness, Bowles Fluidics Corp, App: 1968-11-2, 128/204.24; 137/835 -

Pulse Oximetry (Wiki)

Whenever someone has problems related to breathing a test of the dissolved oxygen in their blood is an indicator of what's going on.  Whether it's pneumonia (Wiki) or COVID-19 (Wiki).  This test works by measuring the transparency of an ear lobe or finger at two different wavelengths, such as red and near infrared.  At the same time the pulse rate can be detected.

Perfusion (Wiki)

3796213 Perfusion monitor, F Stephens, 1974-03-12 -
4109643 Perfusion meter, Albert K. Bond, Edwin B. Merrick, Larry L. Nielsen, HP Inc, 1978-08-29 - single 650nm LED & CdS photocell (Wiki)

Is COVID-19 a Blood Disorder Rather then a Respiratory Disorder?

2020 May 21: WaPo: More evidence emerges on why covid-19 is so much worse than the flu - "Doctors have described widespread damage to blood vessels and the presence of blood clots that would not be expected in a respiratory disease."
2020 May 21: NEJM: Pulmonary Vascular Endothelialitis, Thrombosis, and Angiogenesis in Covid-19 -

2020 April 22: A mysterious blood-clotting complication is killing coronavirus patients -

2020 April 21: New analysis recommends less reliance on ventilators to treat coronavirus patients -

2020 April 10: COVID-19 May be a Blood disorder rather than a Respiratory disorder

2020 April 9: ChemRxiv: COVID-19:Attacks the 1-Beta Chain of Hemoglobin and Captures the Porphyrin to Inhibit Human Heme Metabolism, - "The attack will cause less and less hemoglobin that can carry oxygen and carbon dioxide." Even though the article starts off saying "...COVID-19) is an infectious acute respiratory infection.." the problem is really related to blood hemoglobin (Wiki). 

2020 April 9: Stat: With ventilators running out, doctors say the machines are overused for Covid-19,  - "Many patients have blood oxygen levels so low they should be dead. But they’re not gasping for air, their hearts aren’t racing, and their brains show no signs of blinking off from lack of oxygen."

2020 April 6: Medscape: Do COVID-19 Vent Protocols Need a Second Look?, April 6, 2020 - "In the past, we haven't seen patients who are talking in full sentences and not complaining of overt shortness of breath, with saturations in the high 70s.  It's just not something we typically see when we're intubating some of these patients. That is to say, when we're putting a breathing tube in, they tend to drop their saturations very quickly; we see saturations going down to 20 to 30. Typically, one would expect some kind of reflexive response from the heart rate, which is to say that usually we see tachycardia, and if patients go too low, then we see bradycardia. These are things that we just weren't seeing. I've seen literally a saturation of zero on a monitor, which is not something we ever want and something we actively try to avoid. And yet we saw it, and many of my colleagues have similarly seen saturations of 10 and 20. We try to put breathing tubes in to avoid this very situation. Now, these patients tend to desaturate extremely quickly, so these situations have occurred. Still, what we're seeing—that there was no change in the heart rate—is just unusual. It's just something that we are not used to seeing."

2020 April 5: Medium (by way of archive.org): Covid-19 had us all fooled, but now we might have finally found its secret. - written for non doctors

2020 March 30: ATS Journals: Covid-19 Does Not Lead to a “Typical” Acute Respiratory Distress Syndrome, Luciano Gattinoni,  - "... the lowest possible PEEP and gentle ventilation..." The first paper suggesting that classical ARDS (high PEEP) ventilation is a mistake and pointing to blood hematology as the problem.

-------------------------------
If this is the case then a low Pulse Oximetry reading may be an indicator of COVID-19 if other symptoms of something like pneumonia (Wiki) are not present?  Note somewhere in the above I read that pneumonia typically shows up a more in one lung than the other.  I had pneumonia pretty much all of January 2020 and it was in only one lung.  This is very different than COVID-19 in that both lungs are equally grainy in CT images (Wiki).

SantaMedical SM-110

After getting a reading where the pulsing bar graph is beside the SpO2% reading if you press the On/Off button the display will invert.  Note since the SpO2% reading is always near the On/Off button the readings flip top to bottom.  The included document says the LED wavelengths are 660 & 905 nm.  Runs on a pair of AAA cells (two included).  Because the display is LED based and LEDs are used as part of the sensing system battery drain will result in shorter battery life than an instrument that used a LCD display.  But LEDs are easy to read in dim light and easier to interface so maybe a good design choice.

Reading %
Description
>=95%
Normal
92%
potential hypoxemia (Wiki)
<=89%
Unhealthy

Photos

Fig 1
SantaMedical
                        SM-110 Pulse Ooximetry
Fig 2 Pulse rate (BPM) over SpO2%
SantaMedical
                        SM-110 Pulse Ooximetry
Fig 3 SpO2% over Pulse Rate (BPM)
SantaMedical
                        SM-110 Pulse Ooximetry

Masimo 2007 SET Radical 4 Pulse Oximetry

"SET" is a Maximo registered trademark acronym for Signal Extraction Technology.  It was a game changer compared to conventional pulse oximeters in that it not only greatly reduced the effect of motion it also allowed more precise measurements by separating arterial from venous blood.  Many, if not all Pulse Oximeters made by Masimo are branded "SET".  But that does not mean they all use the same sensors.  Which sensors go with which meters is something I'm trying to understand.

The RDS-1 Remote Docking Station has all the possible features except an internal battery (which is in the RDS-1b).  The RDS-2 and RDS-3 have fewer features.

Fig 1 Horizontal placement
Masimo SET Radical 4
Fig 2 Vertical placement
Masimo SET Radical 4
Fig 3 RDS-1, SET Oximeter, Battery
Masimo SET Radical 4
Fig 4 RDS-1 Rear Panel
Masimo SET Radical 4
Fig 5 Menu\About:
2007
SET V4.3.1.9
Handheld: R5 1.2.1
D Station R5.1.1.0
Masimo SET Radical 4
Fig 6 Clock Set: 50/27/20  05:38:31 (wrong showing am)
Top row indicators:
Blue: Docking
Yellow: AC Power
Red: Alarm
Yellow: Handheld Battery Charging
Yellow: Docking Station Battery Charging
The battery gas gauge near the bottom of the display shows the battery empty.

Masimo SET Radical 4
Fig 7 DB-9 size sensor shell, but is it a DB-9 socket or
something else?
Masimo SET Radical 4
Fig 8 The 1863 sensor connected to the RS-232 Jack.
NOT functional, just to show the 1863 connector is
a push-on DB-9 male.
Masimo SET Radical 4

Sensors

Masimo 1863 K2N2A Reuseable Finger Tip Sensor
The eBay listings seem to say this was one of the correct sensors to go with the Radical V4, but there's a connector mismatch.  The sensor has what amounts to a push-on DB-9m connector (see Fig 8 above).  The connector on the Radical V4 appears to have a total of 14 terminals in two rows of 7.

The cable that connects the 1863 9-pin Male to the Radical V4 might be this one on eBay:
Masimo SET 1814 LNC-10 SpO2 Patient Ext. Cable LNCS 9 Pin to LNC 14 Pin - 10FT
aka: LNC-10 LNCS Series Patient Cable, Ref: 1814
QR code: (01) 00843997000512,  (11) 180501,  (10) 18E57 (lot number)
Tag on cable: Do Not Discard, 1814-08HAE

Fig 1
Masimo
                        1863 K2N2A Reuseable Finger Tip Sensor
Masimo 1863 K2N2A Reuseable Finger Tip Sensor
Fig 2 Triangle = Pin 1.
This pin numbering matches RS-232.
Masimo
                        1863 K2N2A Reuseable Finger Tip Sensor


Fig 3 This is NOT the Masimo to DB9 cable!
Nihon Kohden JL-631P Masimo Spo2 Extension Cable Proble Adapter 14 pins To DB9
Nihon
                        Kohden JL-631P Masimo Spo2 Extension Cable
                        Proble Adapter 14 pins To DB9


Fig 4 While the wrong 14 pin connector is on one end, the DB9f hing open connector is correct.
Note the triangles matching on the bottom of each connector so show correct orientation.
Masimo
                        1863 K2N2A Reuseable Finger Tip Sensor


Fig 5
Masimo LNCS LNC-10 1814 Spo2 Extension Cable Probe Adapter 2.2M AMP 14Pin To DB9


Masimo 1863 Pin Out

See Fig 2 above for pin numbering. Black: -, Red +
Looks like app pins are open?

Ohms


1
2
3
4
5
6
7
8
9
1
*
OL
OL OL OL OL OL OL OL
2
OL * OL OL OL OL OL OL OL
3
OL OL * OL OL OL OL OL OL
4
OL OL OL *
OL OL

OL
5
OL OL OL OL *
OL OL OL OL
6
OL OL OL OL OL *
OL OL OL
7
OL OL OL
OL OL *

OL
8
OL OL OL
OL OL
*
OL
9
OL OL OL OL OL OL OL OL *

OL: Over Load (Open)

Diode


1
2
3
4
5
6
7
8
9
1
*








2

*






3


*





4



*





5




*




6





*



7






*


8







*

9








*



Masimo 2004 SET Radical V4

Got this second set containing:
Docking Station RDS-1 (no label)
Radical V4
Line Cord
Two cables including one that mates to the Radical V4.  Note the sensor cable is NOT the 1863 shown above but instead one that has the "tongue".
The "tongue" connector is stamped 15BJF.  Don't know if that's a model or lot number?
The adapter cable tongue socket is marked 9 JO01, again don't know if model or serial number.

Masimo 14-Pin Plug to F-Tap Socket & F-Tap tongue to Fingertip Sensor

Fig 21 Two Cables
Masimo Radical V4 Two cables
Fig 22 Tongue connection
Masimo Radical V4 Two cables

Fig 23 F-Tap socket to Masimo Radical 14-pin Plug
Masimo SET 1173 PC04 SpO2 Extension
                          Adapter Cable LNC 14 Pin to LNOP F-Tab
Masimo SET 1173 PC04 SpO2 Extension Adapter Cable LNC 14 Pin to LNOP F-Tab Socket - 4FT
PC Series patient Cable
Ref:  1173
14-pin connector to Radical V4 -  Socket for F-Tap sensor cable.
barcode: (01) 108439997001806,  (10) 11JPF (lot number)
Patents:
6280213 Patient cable connector, David R. Tobler, Thomas J. Gerhardt, Eugene E. Mason, Mike A. Mills, Masimo Corp, 2001-08-28, 439/160; 439/729; 439/838; 439/909 - makes use of locking hole (108) in F-tab.
6152754
5934925
5645440
D393830 Patient cable connector, David R. Tobler, Thomas J. Gerhardt, Eugene E. Mason, Mike A. Mills, Masimo Corp, 1998-04-28

Fig 24 Finger sensor to LNOP F-Tab
MASIMO 1269 SPO2 Adult Hard Shell Finger
                        Sensor LNOP F-Tab

Genuinie MASIMO 1269 SPO2 Adult Hard Shell Finger Sensor LNOP F-Tab 3' Cable

Fig 25 Display (Second Unit)
MASIMO 1269 SPO2 Adult Hard Shell Finger
                        Sensor LNOP F-Tab
Notice that below the LCD this Second unit has a sticker
with English names for the 3 buttons.

In Fig 1 above there are no labels on the 3 buttons.


Display Comments:
Left: %SpO2 is changing between 94 and 95
no upper alarm limit and 83% lower alarm limit

Center top:  Alarm silence has been pressed and will remain silent doe another 45 seconds.

Center bottom: The Perfusion Index (Wiki, Photoplethysmogram) varies between 0.02% & 20%.  Higher for stronger pulse.  This is reflected in the sound for each pulse.

Right top: Pulse rate: Alarm 150 Beats Per Minute max, 50 BPM min.
Alarm type: APOD shown (Adaptive Probe Off Detection white paper)

Bottom Right: date and time.

Fig 26
MASIMO 1269 SPO2 Adult Hard Shell Finger
                        Sensor LNOP F-Tab
 This shows the one hour trend instead of the pulsing PI.
Fig 25 & Fig 26 are for a 2004 SET ver4.1.0.0

Fig 27
MASIMO 1269 SPO2 Adult Hard Shell Finger
                        Sensor LNOP F-Tab
Fig 27 is for a 2007 SET ver 4/3/2/0
Note lack of English language sticker on 3 buttons at bottom.

If APOD was selected it would appear just to the left of the battery icon.  So "normal" probe off detection here.

Philips VueLink is a type of data output in a format to match Philips patient monitors.  A special cable is required.


Chinese Equivalent Single Cable SpO2 Sensor

eBay listing "14-Pin 3-M Reusable SpO2 Sensor Cable Adult Finger Clip Fit For Masimo Oximax CE".  Single cable design.  Under $20 including shipping From Rowland Heights, Calif.

But the 14-pin connector does not latch to the Radical V4 so not usable.  The slightest movement of the cable causes it to unplug.
Fig 1
Chinese
                        Equivalent Single Cable SpO2 Sensor
Fig 2 Top is Masimo brand, bottom is Chinese copy.
Two possible problems:
1. the fingers on the Chinese version have been bent 180 deg instead of 90 80 deg,
2. The gap between the fingers is too small.
Click photo for a magnified view.
Chinese
                        Equivalent Single Cable SpO2 Sensor
In Fig 3 the fingers have been bent, not quite to 90 degrees.
By being a little less than 90 deg, say 80 deg, when you
push in the connector the fingers cam back without squeezing
the release levers and snap into place.
Fig 3 Top is Masimo brand, bottom is Chinese copy.
Chinese
                        Equivalent Single Cable SpO2 Sensor


Masimo Radical Patents (from Fig 4)

Masimo/Patents - lists many patents grouped by product.

Drawing
Patent Date
Description &Etc

RE38492

Signal processing apparatus and method (was: 6036642)

RE38476

Signal processing apparatus (was: 6081815)

6699194
1997-04-14
Signal processing apparatus and method

6684090

Pulse oximetry data confidence indicator

6658276

Pulse oximeter user interface - Radical (Ver 4)

6654624

Pulse oximeter probe-off detector

6650917

Signal processing apparatus

6643530

Method and apparatus for demodulating signals in a pulse oximetry system

6606511

Pulse oximetry pulse indicator - output depends on quality of data, not always the same

6584336

Universal/upgrading pulse oximeter - The Remote Docking Station has output to other manufacturers to upgrade SpO2

6501975

Signal processing apparatus and method

6463311

Plethysmograph (Wiki) pulse recognition processor (e.g., pulse rate and amplitude)

6430525

Variable mode averager

6360114

Pulse oximeter probe-off detector

6263222

Signal processing apparatus

6236872

Signal processing apparatus

6229856

Method and apparatus for demodulating signals in a pulse oximetry system

6206830

Signal processing apparatus and method

6157850

Signal processing apparatus

6081815
Method for processing a hyperlink formatted message to make it compatible with an alphanumeric messaging device (see RE38476)

6067462

Signal processing apparatus and method

6036642
See RE38492

6011986

Manual and automatic probe calibration - adjust drive current to tweak wavelength.

6002952

Signal processing apparatus and method

5919134

Method and apparatus for demodulating signals in a pulse oximetry system

5823950

Manual and automatic probe calibration

5769785

Signal processing apparatus and method

5758644

Manual and automatic probe calibration

5685299

Signal processing apparatus

5632272

Signal processing apparatus - Monitor 3 of 3

5490505

Signal processing apparatus - Monitor 2 of 3

5482036

Signal processing apparatus and method - Monitor 1 of 3

Masimo Finger Probes

Drawing
Patent
Date
Description &Etc
Radical up to 1997-04-14

EP0576560
1991-03-21
Low noise optical probe

5337744
1993-07-14
Low noise finger cot probe

5452717
1993-07-14
Finger-cot probe

5743262
1995-06-07
Blood glucose monitoring system - spectrum 850 to 1350 nm, wedge wheel filter

5638816
1995-06-07
Active pulse blood constituent monitoring - cuff adds active additional pulse

5645440
1995-10-16
Patient cable connector - 6 pin PCB - "attach both disposable and durable sensors"

6088607
1991-03-21
Low noise optical probe - Optics

5934925
1995-10-16
Patient cable connector - very similar to 5645440
Generation after Radical 1997-04-14

5995855
1998-02-11
Pulse oximetry sensor adapter - complex

6525386
1998-03-10
Non-protruding optoelectronic lens - custom LED plastic package, not TO-5 package (Wiki)

6256523
1998-06-09
Low-noise optical probes - Optics, 6-terminal flex circuit

6278522
1999-05-26
Optical filter for spectroscopic measurement and method of producing the optical filter - "chemical analysis, blood glucose monitoring, and the like"

6377829
1999-12-09
Resposable pulse oximetry sensor - flex circuit, ID element (405) is printed resistor (real reason $) on tape

EP2319398
1999-05-27
Stereo pulse oximeter - Fick principle (Wiki), CO = Cardiac Output See: 5218962

6580086
1999-10-19
Shielded optical probe and method - reuseable, cable, through or reflected

6165005
1999-12-07
Patient cable sensor switch - 6-terminal PCB

Radius PPG Sensors

Drawing
Patent
Date
Description &Etc

7764982 2006-03-01
Multiple wavelength sensor emitters 4x4 array

9295421 2014-10-13
Non-invasive physiological sensor cover

10194848


10327337


10335033


10478107

RD (not Rainbow) Sensors

Drawing
Patent
Date
Description &Etc

6388240
Shielded optical probe and method having a longevity indication

6515273


6861639


6979812


7096054


7186966


7272425


7280858


7729733


7761127


7764982


7791155


7880626


8050728


8255026


8355766


8399822


8634889


8781544


8886271


8922382


9072474


9107626


9241662


9295421


9560998


9949676


10039482


10194848


10201298


10205291


10342470


10327337


10478107


LNOP Sensors

Red Patient LNOP Cable

Drawing
Patent
Date
Description &Etc

6152754 1999-12-21
Circuit board based cable connector - 6-terminals PCB

7919713 2008-04-16
Low noise oximetry cable including conductive cords

8255026 2007-10-12
Patient monitor capable of monitoring the quality of attached probes and accessories - resistor ID

8921699 2011-04-04
Low noise oximetry cable including conductive cords

8922382 2011-01-27
System and method for monitoring the life of a physiological sensor - Fig 1 Radical (prior art); add: temp & Memory  related to: 6388240 & 6515273. (worn out or $)

9107626 2014-12-17
System and method for monitoring the life of a physiological sensor - Fig 1 Radical (prior art);  "

9241662 2013-12-11
Configurable physiological measurement system - memory in cables and sensors ($)

9949676 2012-08-27
Patient monitor capable of monitoring the quality of attached probes and accessories " ($)

10039482 2016-12-22
System and method for monitoring the life of a physiological sensor

Rainbow Cables

Drawing
Patent
Date
Description &Etc

7919713
above

8050728 2006-03-01
Multiple wavelength sensor drivers -4 x 4 array of LED (not just 2)
630, 620, 610, -, 700, 730, 660, 805, -, -, -, 905, -, -, -, -

8118620 2008-10-09
Connector assembly with reduced unshielded area

8255026 2007-10-12
Patient monitor capable of monitoring the quality of attached probes and accessories ($)

8529301


8921699


8922382


9107626


9241662


9949676


10039482

Low Noise Cabled Sensors (LNCS)
Digital Clip sensors (DCI, DCI-P) [P = Pediatric]
RD SET Trauma: 4011
LNCS Trauma: 2411
LNC Patient Cables - and adapter cables to different monitors

Oximetry Patents


Note the Photelometer patents predate all of these. But . . . the measurement was made on a blood sample outside someone's body.


2358992 Oxygen meter, Glenn A Millikan, App: 1941-06-28, 356/41; 250/221; 250/239; 250/226 - "It has long been recognized that the hemoglobin of the blood changes color from red toward blue as the oxygen content diminishes." Using red and green filters.
2414747 Method and apparatus for controlling the oxygen content of the blood of living animals, Harry M Kirschbaum, 1947-01-21, 128/204.23; 137/624.15; 250/226; 137/2; 250/215; 356/41-
2706927 Apparatus for determining percentage oxygen-saturation of blood, Wood Earl Howard, Research Corp, App: 1949-08-04, 600/344; 250/226; 356/41 - dual wavelengths of light instead of filters
2754819 Apparatus for automatically administering anesthetics, Harry M Kirschbaum, 1956-07-17, 128/204.23 - based on O2 saturation
2790438 Earpieces for oximeters, Taplin Ronald Harold, Paul William, 1957-04-30, 600/344 - O2 saturation in blood based on 650 & 800 nm filters
3152587 Medical photometric apparatus, Ullrich Georg Josef, Mager Theo, Fritz Hillige & Co, 1964-10-13
3647299 Oximeter, Robert G Lavallee, American Optical Corp, App: 1970-04-20, - 600, 805 & 910 nm wavelength LED sources.
3704706 Heart rate and respiratory monitor, Bonita Falkner Herczfeld, Peter R Herczfeld, Richard D Klafter, Drexel U, App: 1969-10-23, Pub: 1972-12-05 - 670nm GaAs laser source  Monsanto MV10A + Motorola MRD210 Si photodetector: reflective mode. Single wavelength.
3769974 Blood pulse measuring employing reflected red light, R Smart, K Swonger, Martin Marietta, 1973-11-06, - 6 to 9 angstrom IR LEDs reflect off blood - just for pulse
4621643 Calibrated optical oximeter probe, William New, Jr., James E. Corenman, Nellcor Inc, App: 1982-09-02, 600/331; 250/252.1; 356/41; 600/479 - simple two LEDs (660 & 940 nm).
4653498 Pulse oximeter monitor, William New, Jr., James E. Corenman, Nellcor Puritan Bennett, Priority: 1982-09-13, Pub: 1989-04-18, - 8085 uC,
 EP0930045A2 Signal processing apparatus and method for an oximeter, Mohammed K. Diab, Esmaiel Kiani-Azarbayjany, Masimo Corp, Priority: 1991-03-07, -
5337744 Low noise finger cot probe, Brendan Branigan, Masimo Corp, Priority: 1993-07-14, -
5490505 Signal processing apparatus, Mohamed K. Diab, Esmaiel Kiani-Azarbayjany, Walter M. Weber, Masimo Corp, Priority: 1991-03-07, -
5919134 Method and apparatus for demodulating signals in a pulse oximetry system, Mohamed K. Diab, Masimo Corp, Priority: 1997-04-14, - similar to 6229856
6229856 Method and apparatus for demodulating signals in a pulse oximetry system, Mohamed K. Diab, Walter M. Weber, Ammar Al-Ali, Masimo Corp, Priority: 1997-04-14, - polarity reversal for Red/IR selection, includes both off.  Makes use of sampling Red, IR, OFF then analog filtering on those 3 signals.
8571619 Hemoglobin display and patient treatment, Ammar Al-AliMassi, Joe E. Kiani, Michael O'Reilly, Masimo Corp, Priority: 2009-05-20, - Masimo "Radical".
9037207 Hemoglobin display and patient treatment, Ammar Al-AliMassi, Joe E. Kiani, Michael O'Reilly, Masimo Corp, Priority: 2009-05-20, - Masimo "Radical".
9795739 Hemoglobin display and patient treatment, Ammar Al-Ali, Massi Joe E. Kiani, Michael O'Reilly, Masimo Corp, Priority: 2009-05-20, - Masimo "Radical".
also see Photelometer in References.

History of Ventilators

The story of ventilators starts with Forrest Bird (Wiki). 

ventilators

Trying to understand Ventilators (Wiki).  These are used to breathe for a patient either wearing a mask or an intubated (Wiki) patient such as one in a coma (Wiki)

There are a number of DIY (Wiki) ventilator plans on the internet, most of which may meet the minimum requirements, but would not at all be suitable to use on a real patient.  I say that because when I was writing computer software for microwave testing less than 10% of the time and effort was needed to meet the stated design goals and 90% of the time was spent preventing problems caused by operators who were untrained, tired, distracted or otherwise not knowledgeable about what they were supposed to do.  The specifications on the UK web page say that someone needs to be able to operate a machine with 30 minutes or less training and that all controls and connections need to be clearly marked.  The instructions for use need to be printed directly on the machine.  There are a number of safety features than need to be present in case of malfunctions and there may or may not be a requirement that the unit work during a power failure or the movement of the patient to another room.  Also is should survive a drop onto a concrete floor, &Etc.

Photos (missing until I buy a Ventilator)

Fig 1

Fig 2

Fig 3




Patents

Patent numbers appearing on a Bird Mark 7 ventilator: 3191596, 3353536, 3739776, 3068856, 3485243, 3454000, 3172406, 3688794.  These are not all ventilator patents, but also include related accessory equipment.

Forrest M Bird


3068856 Fluid
                      control device, Forrest M Bird, Henry L Pohndorf,
                      App: 1958-02-14, Pub: 1962-12-18
3068856 Fluid control device, Forrest M Bird, Henry L Pohndorf, App: 1958-02-14, Pub: 1962-12-18, 128/203.12; 128/204.19 - An outstanding feature of the present invention is that the patient can switch the respirator on with a very minimum of effort - 0.001 centimeter of water or less. The first Bird Respirator.
Patent Citations (11)
Publication number    Priority date    Publication date    Assignee    Title
US2071215A *1934-10-15    1937-02-16    Petersen Peter    Artificial respiration apparatus
US2251323A *1938-04-21    1941-08-05    Mark P Burke    Fluid operated means
US2462614A *1946-12-16    1949-02-22    Westinghouse Air Brake Co    Automatic drainage apparatus
US2567225A *1944-04-14    1951-09-11    Albert E Mckee    Oxygen administration
US2593046A *1944-05-29    1952-04-15   Albert E Mckee    Oxygen administration
US2598525A *1950-04-08    1952-05-27    E & J Mfg Co    Automatic positive pressure breathing machine
US2669249A *1949-11-02    1954-02-16    Robert A Wittmann    Diaphragm valve
US2736331A *1952-04-01    1956-02-28    Seeler Henry    Resuscitator
US2774346A *1953-07-13    1956-12-18    Dorothy L Bischof    Respirator
US2828740A *1956-12-07    1958-04-01    Sierra Eng Co    Emergency exhalation valve
US2996071A *1957-01-03   1961-08-15T    akaoka Kentaro    Gas regulator valve for artificial respiration
Cited By (27)
Publication number  Priority date  Publication date  Assignee  Title
US3138152A *1962-07-03  1964-06-23  Mine Safety Appliances Co  Positive pressure breathing apparatus
US3265061A *1960-11-07  1966-08-09  Bennett Respiration Products I  Respiration apparatus
US3283754A *1963-07-12  1966-11-08  Stephenson Corp  Apparatus for administering controlled volumes of gas
US3379194A *1965-06-29  1968-04-23  United Aircraft Corp  Fluid amplifier controlled respirator
US3434471A *1966-04-06  1969-03-25  Smithkline Corp  Therapeutic intermittent positive pressure respirator
US3435822A *1965-06-29  1969-04-01  United Aircraft Corp  Breathing apparatus with fluid diode valve
US3460532A *1965-08-06  1969-08-12  Bird F M  Pulmonary therapy respirator
US3561466A *1968-01-08  1971-02-09  Edward Carden  Anesthetist{3 s ventilator
US3584621A *1968-10-31  1971-06-15Bird F M  Respiratory apparatus
US3610237A *1968-10-07  1971-10-05  Michigan Instr Inc  Inhalation positive pressure breathing apparatus
US3633576A *1969-10-24  1972-01-11  Bourns Inc  Volumetric respirator
US3662751A *1970-05-20  1972-05-16  Michigan Instr Inc  Automatic respirator-inhalation therapy device
US3753436A *1970-04-06  1973-08-21  H Pohndorf  Automatic respirator
US4060078A *1975-08-18  1977-11-29  Bird F M  Ventilator and method
WO1992016250A1 *1991-03-25  1992-10-01  Choate Thomas V  Respiratory filter apparatus and method
US5699786A *1995-10-31  1997-12-23  Sanyo Electric Co., Ltd.  Atomizer system
US6067984A *1997-10-14  2000-05-30  Piper; Samuel David  Pulmonary modulator apparatus
US6794060B21992-03-27  2004-09-21  The Louis Berkman Company  Corrosion-resistant coated metal and method for making the same
US20050061318A1 *2003-09-22  2005-03-24  Faram Joseph Dee  Continuous high-frequency oscillation breathing treatment apparatus
US20080245368A1 *2007-04-02  2008-10-09  Dunsmore Thomas J  High frequency oscillation respiratory therapy
US20090188500A1 *2008-01-29  2009-07-30  Joseph Dee Faram  Combination breathing treatment method
US20110197892A1 *2010-02-12  2011-08-18  Michael Koledin  Enhanced manually actuated pressure controlled modulator technology
US8051854B22006-09-15  2011-11-08  Comedica Incorporated  Continuous high-frequency oscillation breathing treatment apparatus
US8460223B22006-03-15  2013-06-11  Hill-Rom Services Pte. Ltd.  High frequency chest wall oscillation system
US9050434B22007-05-18  2015-06-09  Comedica Incorporated  Lung therapy device
US9511202B1 *2012-12-04  2016-12-06  Mercury Enterprises, Inc.  Breathing assistance device with nebulizer
US9795752B22012-12-03  2017-10-24  Mhs Care-Innovation, Llc  Combination respiratory therapy device, system, and method




3172406
                      Nebulizer, Forrest M Bird, Henry L Pohndorf,
                      1965-03-09
3172406 Nebulizer, Forrest M Bird, Henry L Pohndorf, 1965-03-09, 128/200.21; D24/110; 128/200.18; 239/338

3191596
                      Respirator, Forrest M Bird, Henry L Pohndorf, App:
                      1960-09-19, Pub: 1965-06-29
3191596 Respirator, Forrest M Bird, Henry L Pohndorf, App: 1960-09-19, Pub: 1965-06-29, 128/204.19; 128/204.25; 128/204.26 - Improved Bird Respirator.  One very important problem has been how to compensate for leakage.
Patent Citations (7)
Publication number  Priority date  Publication date  Assignee  Title
US2441094A *1943-10-05  1948-05-04  Edward D Andrews  Valve - pull safety pin an lift lever, like on fire extinguisher, life raft inflation, or other emergency application
US2870763A *1957-03-15  1959-01-27  Philip L Stanton  Pressure breathing therapy apparatus
US2881757A *1956-01-03  1959-04-14  J J Monaghan Company Inc  Respirator control systems
US2918073A *1953-09-23  1959-12-22  Stephenson Corp  Demand valve
US2943837A *1958-05-16  1960-07-05  Noble John  Valve and magnetic actuating tool
US2952265A *1956-02-08  1960-09-13  Globe Ind Inc  Resuscitator valve assembly
US3033196A *1957-09-16  1962-05-08  Air Reduction  Artificial respiration apparatus
Cited By (68)
Publication number  Priority date  Publication date  Assignee  Title
US3331368A *1965-03-24  1967-07-18  Forrest M BirdPressure and volume limiting ventilating apparatus
US3400712A *1965-08-12  1968-09-10  James E. FinanSystem for intermittently dispensing oxygen or other gas suitable for breathing
US3454000A *1966-06-23  1969-07-08  Bird F MApparatus for the mechanical ventilation of a patient
US3584621A *1968-10-31  1971-06-15  Bird F MRespiratory apparatus
US3610236A *1966-11-22  1971-10-05  Globe Safety Products IncResuscitator device
US3610237A *1968-10-07  1971-10-05  Michigan Instr IncInhalation positive pressure breathing apparatus
US3662751A *1970-05-20  1972-05-16Michigan Instr IncAutomatic respirator-inhalation therapy device
US3664337A *1970-04-15  1972-05-23Bio Logics IncRespiration assembly and methods
US3682166A *1970-07-29  1972-08-08Harvey Barry JacobsEmergency percutaneous trans-tracheal high flow oxygen catheter-type resuscitator for restoration of breathing in non-breathing patients
US3850197A *1972-03-27  1974-11-26Hoffmann La RocheInspiration/expiration valve
US3871371A *1972-12-11  1975-03-18Puritan Bennett CorpRespiration supply and control
US3903884A *1973-08-15  1975-09-09Becton Dickinson CoManifold nebulizer system
US3910270A *1972-09-11  1975-10-07Bio Med Devices IncPortable volume cycle respirator
US3915164A *1974-08-22  1975-10-28Bird F MVentilator
US3972327A *1973-03-22  1976-08-03Hoffmann-La Roche Inc.Respirator
US4056098A *1975-01-17  1977-11-01Etat FrancaisRespiratory apparatus for free underwater diver
US4148312A *1976-10-08  1979-04-10Minnesota Mining And Manufacturing CompanyCombination anesthesia and intensive care apparatus
US4164219A *1976-10-08  1979-08-14Minnesota Mining And Manufacturing CompanyVentilator
US4456008A *1982-09-13  1984-06-26Clawson Burrell ERespiratory apparatus and method
DE3413037A1 *1983-04-06  1984-10-18Figgie Int IncSelf-contained ventilator / wiederbelebungsgeraet
US4481944A *1981-11-19  1984-11-13Bunnell Life Systems, Inc.Apparatus and method for assisting respiration
US4519388A *1981-05-19  1985-05-28Dragerwerk A.G.Respirator apparatus and method of operation thereof
US4622963A *1983-01-20  1986-11-18Figgie International Inc.Self-contained portable single patient ventilator/resuscitator
US4794922A *1986-11-04  1989-01-03Bird Products CorporationVentilator manifold
US5423313A *1981-03-10 1995-06-13Siemens-Elema AbRespirator intended for connection to human or animal airways
US5433193A *1989-09-22  1995-07-18Respironics Inc.Breathing gas delivery method and apparatus
US5632269A *1989-09-22  1997-05-27Respironics Inc.Breathing gas delivery method and apparatus
US5692498A *1993-11-09  1997-12-02Cprx, Inc.CPR device having valve for increasing the duration and magnitude of negative intrathoracic pressures
US6062219A *1993-11-09  2000-05-16Cprx LlcApparatus and methods for assisting cardiopulmonary resuscitation
US6067984A *1997-10-14  2000-05-30Piper; Samuel DavidPulmonary modulator apparatus
US6119723A *1997-02-14  2000-09-19Resmed Limited,Apparatus for varying the flow area of a conduit
US6155257A *1998-10-07  2000-12-05Cprx LlcCardiopulmonary resuscitation ventilator and methods
US6224562B11998-06-11  2001-05-01Cprx LlcMethods and devices for performing cardiopulmonary resuscitation
US6312399B11998-06-11  2001-11-06Cprx, LlcStimulatory device and methods to enhance venous blood return during cardiopulmonary resuscitation
US20020087097A1 *1999-08-31  2002-07-04American Biosystems, Inc.Method and apparatus for inducing sputum samples for diagnostic evaluation
US6425393B11993-11-09  2002-07-30Cprx LlcAutomatic variable positive expiratory pressure valve and methods
US6463327B11998-06-11  2002-10-08Cprx LlcStimulatory device and methods to electrically stimulate the phrenic nerve
US20030037784A1 *1993-11-09  2003-02-27Cprx LlcSystems and methods for enhancing blood circulation
US6532957B21996-09-23  2003-03-18Resmed LimitedAssisted ventilation to match patient respiratory need
US20030192547A1 *1993-11-09  2003-10-16Cprx LlcCPR mask with compression timing metronome and methods
US20040092961A1 *2002-04-29  2004-05-13Viola Frank J.Ligation clip applier and method
US20040200474A1 *1993-11-09  2004-10-14Advanced Circulatory Systems, Inc.Systems and methods for modulating autonomic function
US20040200473A1 *2003-04-08  2004-10-14Cprx LlcCPR demonstration device and methods
US20040211417A1 *2003-04-28  2004-10-28Advanced Circulatory Systems, Inc.Ventilator and methods for treating head trauma
US20040211415A1 *2003-04-28  2004-10-28Cprx LlcSystems and methods for reducing intracranial pressure
US20050016541A1 *2001-09-28  2005-01-27Advanced Circulatory Systems, Inc.Systems and methods to facilitate the delivery of drugs
US6863656B22002-09-20  2005-03-08Advanced Circulatory Systems, Inc.Stress test devices and methods
US20050056277A1 *2003-09-11  2005-03-17Advanced Circulatory Systems, Inc.Bag-valve resuscitation for treatment of hypotention, head trauma, and cardiac arrest
US20060249209A1 *2003-09-05  2006-11-09Ben Jonathan KValves
US20060278229A1 *2005-06-08  2006-12-14Imi Norgren, Inc.System and method to prevent the improper installation of the inlet fittings in a ventilator system
US20070017522A1 *2001-09-16  2007-01-25Eliezer Be-EriInexsufflator
US20070221222A1 *2003-09-11  2007-09-27Advanced Circulatory Systems, Inc.Cpr devices and methods utilizing a continuous supply of respiratory gases
US20080047555A1 *2003-09-11  2008-02-28Advanced Circulatory Systems, Inc.Bag-valve resuscitation for treating of hypotension, head trauma, and cardiac arrest
US20080108905A1 *2002-09-20  2008-05-08Cprx, LlcSystem for sensing, diagnosing and treating physiological conditions and methods
US20080110451A1 *2006-11-13  2008-05-15Dunsmore Thomas JRespiratory Therapy Device and Method
US20080245368A1 *2007-04-02  2008-10-09Dunsmore Thomas JHigh frequency oscillation respiratory therapy
US20080257344A1 *2007-04-19  2008-10-23Advanced Circulatory Systems, Inc.Volume exchanger valve system and method to increase circulation during cpr
US7766011B22003-04-28  2010-08-03Advanced Circulatory Systems, Inc.Positive pressure systems and methods for increasing blood pressure and circulation
US7836881B22003-04-28  2010-11-23Advanced Circulatory Systems, Inc.Ventilator and methods for treating head trauma and low blood circulation
US20110197892A1 *2010-02-12  2011-08-18Michael KoledinEnhanced manually actuated pressure controlled modulator technology
US8460223B22006-03-15  2013-06-11Hill-Rom Services Pte. Ltd.High frequency chest wall oscillation system
US9238115B22011-12-19  2016-01-19ResQSystems, Inc.Systems and methods for therapeutic intrathoracic pressure regulation
US9352111B22007-04-19  2016-05-31Advanced Circulatory Systems, Inc.Systems and methods to increase survival with favorable neurological function after cardiac arrest
US9724266B22010-02-12  2017-08-08Zoll Medical CorporationEnhanced guided active compression decompression cardiopulmonary resuscitation systems and methods
US9811634B22013-04-25  2017-11-07Zoll Medical CorporationSystems and methods to predict the chances of neurologically intact survival while performing CPR
US9949686B22013-05-30  2018-04-24Zoll Medical CorporationEnd-tidal carbon dioxide and amplitude spectral area as non-invasive markers of coronary perfusion pressure
US10265495B22013-11-22  2019-04-23Zoll Medical CorporationPressure actuated valve systems and methods
US10512749B22003-04-28  2019-12-24Zoll Medical CorporationVacuum and positive pressure ventilation systems and methods for intrathoracic pressure regulation



3331368
                      Pressure and volume limiting ventilating
                      apparatus, Forrest M Bird, Henry L Pohndorf, App:
                      1965-03-24, Pub: 1967-07-18
3331368 Pressure and volume limiting ventilating apparatus, Forrest M Bird, Henry L Pohndorf, App: 1965-03-24, Pub: 1967-07-18, 128/205.24 - Fixes a problem in the above two patents:
"For example, the accelerator cartridge assembly acted as a dam for gas molecules constantly coming from a metering valve assembly during the expiratory phase when the main control valve was in the off position. The effect of this dam was to create a reservoir of gas molecules under pressure in the spaces between the dam and the metering valve assembly.  It has been found that the number of gas molecules accumulating in the reservoir during the expiratory phase and during the duration of the pause before initiating the inspiratory or inhalation phase for opening of the main control valve varied considerably because of large variations in the expiratory phase and the duration of the pause from breath to breath of the patient. In fact, this reser voir of gas molecules acted as a preload which was de pendent on a variable time and also dependent upon Vari able pressures upstream from the metering valve assembly. Certain difficulties were also encountered with the accelerator-interruptor cartridge.

3347228 Volume
                      Limiting Ventilation Apparatus, Forrest M Bird,
                      Henry L Pohndorf, Oct 17, 196
3347228 Volume Limiting Ventilation Apparatus,  Forrest M Bird, Henry L Pohndorf, Oct 17, 1967, 128/204.26; 128/204.19; 600/534; 600/538 -  volume limiting ventilating apparatus in which thoracic volume is sensed.

3454000
                      Apparatus for the mechanical ventilation of a
                      patient, Forrest M Bird, Henry L Pohndorf,
                      1969-07-0
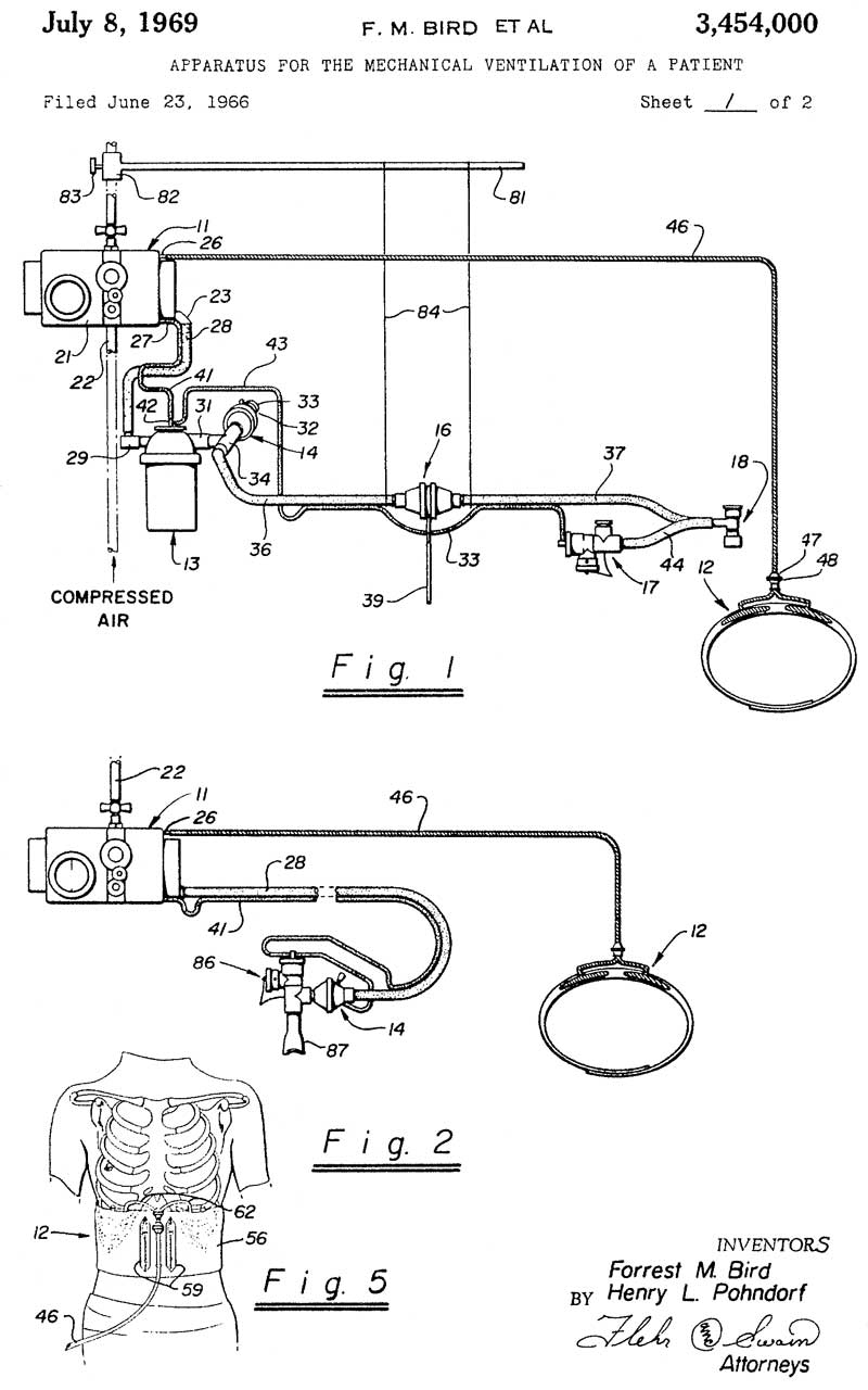
3454000 Apparatus for the mechanical ventilation of a patient, Forrest M Bird, Henry L Pohndorf, 1969-07-08, 601/41 -

3485243
                      Respirator with improved exhalation valve and
                      control means, Forrest M Bird, Henry L Pohndorf,
                      App:1965-08-02
3485243 Respirator with improved exhalation valve and control means, Forrest M Bird, Henry L Pohndorf, App:1965-08-02, 128/204.25; 137/114; 128/205.24 -



3353536
                      Nebulizer, Forrest M Bird, Henry L Pohndorf,
                      1967-11-21
3353536 Nebulizer, Forrest M Bird, Henry L Pohndorf, 1967-11-21, 128/200.18; 128/200.21; 261/DIG.65; 239/338; 422/266

3688794
                      Exhalation valve for respirator, Forrest M Bird,
                      Henry L Pohndorf, 1972-09-05
3688794 Exhalation valve for respirator, Forrest M Bird, Henry L Pohndorf, 1972-09-05, 137/529; 128/205.24; 137/542; 251/82 -

3739776
                      Fail-safe breathing circuit and valve assembly for
                      use therewith, F Bird, H Pohndorf, 1973-06-19
3739776 Fail-safe breathing circuit and valve assembly for use therewith, F Bird, H Pohndorf, 1973-06-19, 128/204.25 -

Ventec Life Systems


10245406B2 Ventilator with integrated oxygen production, Douglas F. DeVries, David M. Good, Shan E. Gaw, Joseph Cipollone, Richard Branson, Ventec Life Systems Inc, App: 2015-03-24, Pub: 2019-04-02, Patent citations (436) -

10576237B2 Active exhalation valve, Douglas F. DeVries, Shan E. Gaw, Ventec Life Systems, Priority: 2015-03-24, Pub: 2020-03-03, - Cough Assist




Thermo Electron Corp

A number of patents for a Spirometer. Did not find any ventilator patents.

Ventilator Surge Production

There are a number of parings of companies to make ventilators in high volume quickly.

GM & Ventec

This was the first announced partnership.
2020 March 27 -Ventec Life Systems and GM Partner to Mass Produce Critical Care Ventilators in Response to COVID-19 Pandemic - The VOCSN (Wiki) may be the most capable unit on the market.  VOCSN combines: Ventilator (Wiki), Oxygen concentrator (Wiki), Cough Assist (Wiki), Suction Unit (Wiki) and Nebulizer (Wiki).

The VOCSN is a very capable unit, but it's complex so that will slow down the production.  Maybe parts can be left out?  For example make the oxygen generator optional so that for hospitals that have plumbed in O2 they can get units faster.

Note that GM is going to assemble the ventilators in a clean facility used to manufacture automotive electronics, not a dirty car plant.  They mainly will bring a strong supply chain that can support monthly volumes in the range of 2 to 20 thousand per month.
The GM version will include neither Suctioin, Nebulizer nor Oxygen.  So instead of VOCSN is will be VC only.  That lowers the price ($420 Million (plus some more for tooling) for 30 Thousand units = $14k each instead of $17k each).

Ford & GE

FORD WORKS WITH 3M, GE, UAW TO SPEED PRODUCTION OF RESPIRATORS FOR HEALTHCARE WORKERS, VENTILATORS FOR CORONAVIRUS PATIENTSThe above is talking about two very different things. 
The Ford & 3M partnership is to make a PAPR.  This is just a gas mask with an electrical blower, see the Scott C420 PAPR.  I expect these can be made in high volume quickly as PPE for caregivers.
The Ford & GE partnership is to make a ventilator.  It will be a simplified version of the GE Carescape R860.  The user interface may be the GE units strong suit, so how it will be simplified is not clear.

Tesla & Medtronic

Medtronic claims to have released PB560 ventilator manufacturing documents (PB560 User Manual), but as of 31 March 2020 they have not. (see: eevBLAB #72 - BUSTED! Medtronics Open Ventilator FAIL).  They have published specifications, like would be used in a contract to buy them, and service documents that have some design information, but nothing that would allow anyone to build a part that would go into one.  They say as of 31 March 2020: More documents and source code files pertaining to the PB560 ventilator system will be available soon.

But much more is needed for someone to even start to do planning to build this.  They could easily give those documents to Tesla which would allow them to make some of the parts.
1 April 2020: After signing a limited license the manufacturing info is now available.  But that license expires 1 Oct 2024 or sooner if WHO says the pandemic is over.  This is good for someone like Tesla, but bad for any new open source development.

Bloom Energy & Stanford Health Care

Normally works with green electric power, but is now also repairing Ventilators.  Stanford will test the repaired ventilators prior to shipment to hospitals.
YouTube: Bloom EnergyAdapting Manufacturing Operations to Support COVID-19 Response Efforts -

MiCo BioMed

A South Korea company that makes the VERI-Q PCR 316 diagnostic tester.  It uses an optical setup that's very similar to a fluorescence microscope (Wiki).  Producing test results in less than one hour
See: Edmund Optics: Diagnosing the Novel Coronavirus with Optics - based on PCR (Wiki).

Vyaire Medical LTV 1200

One of the models stocked by FEMA.  Has internal low capacity battery.  The unit runs on a "12 Volt" source, it has no AC mains input. Internal battery needs to be changed if unit stored for any length of time.  The manual only says that a service technician needs to replace the battery using a Vyaire p/n so the model of the replacement battery is not known.

Electrocardiograph

Just parking this topic here for now.

HP 43200MC

1882402 Electrocardiograph, R.H. Kruse, Cambridge Instrument Co, 1932-10-11, 600/523 - "string-galvanometer electrocardiograph" Major parts: string galvanometer, a lamp, a time-mark er motor, and a camera motor.  AC line powered to get away from the multiple problems of storage battery operation.  There's a need to separate the sensitive circuits from the power circuits. No electronics
1958696 String galvanometer, J.D. Digby, Cambridge Instrument Co, 1934-05-15, 324/97; 74/501.5R - no electronics

2124208 Method and apparatus for amplifying and recording electrical currents, Frank G Paully, Hellige Inc, 1938-07-19, 600/523; 346/33ME; 330/129 - vacuum tubes.  "...amplifying and recording feeble electrical Cur rents produced by living organisms, as in making electrocardiograms..." Problems with film and pen & ink recording.

2439640 Electrocardiograph, Traugott Paul, Electro Physical Lab, App: 1944-05-24, Pub: 1948-04-13, 600/523; 600/522; 346/33ME - Tubes, pen on roll paper, batteries, wood box

Patent Citations (5)
Publication number  Priority date  Publication date  Assignee  Title
US1647710A *  1927-11-01                                      Portable electrocardiograph
US2124208A *  1934-02-15  1938-07-19  Hellige Inc  Method and apparatus for amplifying and recording electrical currents
US2213099A *  1935-12-11  1940-08-27  Rediffusion Ltd  Distortion indicator for electrical amplifying systems
US2289301A *  1939-01-26  1942-07-07  Alfred W Barber  Phase inversion circuit
US2352242A *  1941-02-14  1944-06-27  Apstein Maurice  Potential recording marker
Cited By (4)
Publication number  Priority date  Publication date  Assignee  Title
US2646336A *  1948-04-21  1953-07-21  Murray W Edinburg  Direct writing electrocardiograph
US2655425A *  1950-02-25  1953-10-13  Cambridge Instr Company Inc  Electrocardiograph
US3369249A *  1965-08-31  1968-02-13  Hallicrafters Co  Electrocardiograph
USRE31684E *  1970-08-17  1984-09-25  Bausch & Lomb Incorporated  X-Y Plotter
2655425 Electrocardiograph, Harvey W Wood, Cambridge Instrument, 1953-10-13, 346/23; 324/113; 200/19.01; 324/130; 346/33ME; 346/71 - balanced tube amp, paper strip chart output.  Includes a galvanic standard cell.
Cites:
2124208 (see above)
2170515 Sensitometer, John C Dionne, Henry W Keevil, 1939-08-22, - for testing the sensitivity of relays, like used in railroad signaling systems.
2436720 Measuring and controlling apparatus, Harry S Jones, Brown Instruments Co, 1948-02-24, 236/78R; 236/78B; 346/33R; 346/62; 318/639; 346/46; 374/168 - sensitive modular amplifier.
2439640 (see above)
2516520 Vacuum Tube Voltmeter (VTVM), Lamport Harold, Marvin G Schorr, 1950-07-25, 324/123R; 324/130 - "... portable milli voltmeter for the measurement of bioelectric potentials. "
2571223 Electrocardiograph, Murray W Edinburg, 1951-10-16, 600/508; 330/120; 330/123; 346/33R; 128/902; 330/122; 346/33ME - balanced tubes using VR75 & VR90 voltage regulation tubes, driving a dual coil electromagnet pen recorder.
Cites:
2409033 Electroencephalograph (Wiki) device, Garceau Lovett, 1946-10-08, 600/544; 330/65; 330/120; 600/386; 346/33ME - suitcase unit, paper strip chart output.  Balanced tube circuit.
2739030 Electrocardiograph, Ralph H Kruse, Cambridge Instrument, 1956-03-20, 346/76.1; 346/33ME; 346/139R; 346/112 - true rectangular coordinate recorder
Cites:
1071192 Recording measuring instrument
1782519 Electric Meter
1901921 Electrical meter
2003913 Position controlling device
2412639 Electrocardiograph, Paul Traugott, Electro-Physical Labs, 1946-12-17, - includes stylus parking
2606093 Recording apparatus
3147063 Stylus apparatus, Miller Arthur, HP, 1964-09-01, 346/139R; 346/117A -
3506813 Signal-to-noise ratio enhancement methods and means, Charles R Trimble, HP, 1970-04-14, - a form of averaging, not summing
3829826 Cable fastener for electrocardiograph electrodes, D Brown, R Dennison, HP, 1974-08-13, 439/835; 24/667; 600/372 -
4109643 Perfusion meter, Albert K. Bond, Edwin B. Merrick, Larry L. Nielsen, HP, 1978-08-29, 600/479; 356/41 - uses HP 14385A Optical Plethysmograph (single 650 nm LED  and photoresistor (Wiki).
4170992 Fiducial point location, Richard F. Dillman, HP, 1979-10-16, - applied to ECG
4692273 Novel gel compositions, processes for making same and uses in transmitting and measuring electrical impulses, Katherine Lawrence, HP, 1987-09-08, -

Water Filter

Started this paragraph after watching the YouTube: Virology and Forgotten History - @8:06 the Charles Chamberland microbe (Wiki) Filter is mentioned.  It filtered bacteria, not a virus (Wiki). Koch's postulates (Wiki) caused a two decade delay in the advancement of virology (Wiki) because they only applied to bacteria that are much larger than a virus.  Koch's postulates replaced the prior Miasma theory (Wiki).  Also see my Faradic web page for Quack ideas.

Many of the basic filter materials for water are the same as used in Gas Masks.  Some from of carbon being most common.

336089 Filter, C.E. Chambrland, Feb 16, 1886, - a can holds a half dozen cylindrical filters plumbed in parallel.
336385 Filtering Compound, Charles Edouard Chamberland (France), Feb. 16, 1886, - 20% to 40% clay &  60% to 80% porcelain-earth. Baked at 1850 to 2400 degrees F. 
336386 Filtering Compound, Charles Edouard Chamberland (France), Feb. 16, 1886, - 60% to 80% earthenware-clay, diluted in water, mixed with 20% to 40% of biscuit of the said clay and fired as above.
388162 Filter, F.K. Way, Pasteur Chamberland Filter Co, Aug 21, 1888 - can containing a number of cylindrical filters.
507770 Air-Valve, Frank K. Way, Frank M. Waters, Pasteur Chamberland Filter Co, 1893-10-31, - allows air to escape but not water.  For use with “Système Pasteur”.
519664 Filter, C.E. Chamberland, May 8, 1894, - can containing a number of cylindrical filters.
602304 Filter, C.E. Chamberland, Apr 12, 1898, - filter feeds water cooler with spigot.
615941 Combined Filter and Cooler, Walter G Wuichet, Pasteur Chamberland Filter Co, Dec 13, 1898, -
648043 Portable Filter, J.S. Miles, Pasteur Chamberland Filter Co, Apr 24, 1900 - tripod mounted can of cartridges with hand lever pump.
654775 Filter, W.G. Wuichet, Pasteur Chamberland Filter Co, Jul 31, 1900, - single cylindrical unit on stand. gravity feed to spigot. like office water cooler.
662668 Novelty for advertising or similar purposes, Claude R Crandall, Pasteur Chamberland Filter Co, 1900-11-27, - two water wheels that can be in a store window display.  One or more of the wheels turn in a direction opposite to what is expected.
664803 Combined faucet and overflow, Walter G Wuichet, Pasteur Chamberland Filter Co,1900-12-25, - crock pot with bottom spigot
684031 Lever-jack, Walter G Wuichet, Pasteur Chamberland Filter Co, 1901-10-08, - Similar to the Farm Jack.  Assigned to PCFC because he worked there?
695375 Filter, Charles Edouard Chamberland, 1902-03-11, - can containing a number of cylindrical filters.
713197 Combined filter and cooler, Joseph E Bimm, Pasteur Chamberland Filter Co, 1902-11-11, -
885125 Cooler, Walter G Wuichet, Pasteur Chamberland Filter Co, 1908-04-21, -

Surgical Pump

12753 Elastic-tube pump, Porter & Bradley, 1855-04-17, 417/476 -
249285 Instrument for transfusion of blood, E.E. Allen, 1881-11-08, 417/477.14 -
487136 Surgical pump, C.H. Traux, 1892-11-29, 417/477.8 604/185 604/153 - Wiki: Peristaltic pump -
5222880 Self-regulating blood pump, Jean P. Montoya, Scott I. Merz, Robert H. Bartlett, UoM 417/477.13; 138/119; 138/128

Sleep Apnea

Sleep Heart Health Study - 6.6.2.7 Scoring respiratory events - There are many different kinds of events, not mentioned are missed events caused by hardware not being perfice.  The Perfusion Index as part of high end Pulse Oximetey equipment gives an indication of the limits of the equipment.  If the PI is low then it's easy for the equipment to miss a pulse beat, but that's less likely to happen with a high PI value.  Note that the Chinese finger-tip sensors that have a single cable gave higher PI values than the factory two-piece cable sensors.

Philips: Alice NightOne -
Measures:
Nasal Cannula for air flow.  This is done using
Thoracic Effort Belt for chest motion related to breathing
SpO2 Sensor (Finger Clip) for Pulse Oximetry

I have the feeling that the proprietary software maximizes the "event count per hour" in order to make more money for everyone in the medical food chain.  When asked for details I was not able to get any.  "Trust us" is how this is handled.

There is also some funny business associated with the machines.  I was prescribed a machine that included data logging.  Later the equipment company asked me to trade it for a lesser machine.  There was no doctor involved, so suspect it's a way for the equipment vendor to make some extra money.

Related

Gas Masks & N95
Scott C420 Powered Air-Purifying Respirator (PAPR)
Photelometer & American Optical Hb-Meter

References

2020 March 27 -Ventec Life Systems and GM Partner to Mass Produce Critical Care Ventilators in Response to COVID-19 Pandemic - The VOCSN (Wiki) may be the most capable unit on the market.  VOCSN combines: Ventilator (Wiki), Oxygen concentrator (Wiki), Cough Assist (Wiki), Suction Unit (Wiki) and Nebulizer (Wiki).

Frank's Hospital Workshop - background, instruction manuals, service manuals, testing of a broad selection of hospital equipment.

YouTube: Steve Mold:

Links

PRC68, Alphanumeric Index of Web pages, Contact, Products for Sale
Page Created 25 March 2020