Eppley Standard Cells & Pyranometers

© Brooke Clarke 2014 - 2024

Background
Standard Cell
Pyranometers
Thermopile
Thermo Electric MiniMite 31101
Radiometers
    Crooks
        eBay Defective Radiometer
        Kikkerland_Radiometer Improper factory assembly
    YSI Kettering Radiometer Model 65
    International Light IL1400A Radiometer/Photometer & SEL007 InGaAs IR Detector
Patents
Related
Links

Background

Eppley started making standard voltage cells in 1917 through the 1990s.  In the 1960s they started making instrumentation for the measurement of solar irradiance and atmospheric irradiance and are still in that business.

Standard Cell

The Weston Cell (see patents below) (Wiki) was the first electrochemical (Wiki) voltage reference cell and was the standard definition of the Volt from 1911 to 1990.

The Eppley patents allowed for a cell that could be shipped rather than one that needed to be hand carried so that it always pointed up.  The chemical composition of the Eppley cell was more stable than the Weston Cell.

Using the HP 34401 in 6 digit mode and default 10 Meg Ohm input impedance it reads: 1.018367 Volts.
At 10 Gig Ohm input resistance it reads: 1.018447. It's 76 F inside and 91 F outside.
A short time later it's: 1.018451.

Eppley EPP 811381 Standard Cell in Box
Eppley EPP
                  811381 Standard Cell in Box
Raw Eppley EPP 811381 Standard Cell
E.M.F. 1.0192 (the 1.019 was printed on the card & 2 was hand written.
Raw Eppley
                  EPP 811381 Standard Cell

Pyranometers

I got interested in these after doing some research on the Campbell-Stokes Sunshine Recorder.  As it happens I already had the Eppley standard cell so put them both on this web page.

"A pyranometer (Wiki)  is a type of actinometer used to measure broadband solar irradiance on a planar surface and is a sensor that is designed to measure the solar radiation flux density (in watts per metre square) from a field of view of 180 degrees."
When narrow bands are measured the device may be called a Radiometer, like the Exotech 100AX.

Precision Pyranometer, Model PSP

This unit covers 285 to 2800 nanometers.
The output is 7.4 mv in direct afternoon sun (28 Apr 2014 39N, 123 W) and current of 2 micro amps. 
This is normal.  Email from factory:
"Model 2 or PSP Pyranometer #12250F3 was supplied without a calibration performed which is why there is nothing on the label.
If you assume 7 mV / cal / cm2 / min (or in SI Units = 10 uV / Wm-2) then you have

7.4/7 = 1.06 Langley per minute (1 Langley = 1 Cal / cm2)  or in SI Units 7.4/10*1000 = 740 Wm-2 (watts per meter squared)."

A Pyrheliometer (Wiki) is similar device except in this case is more like a telescope that's aimed at the sun.

Photos

Fig 1
Eppley
                  Precision Pyranometer, Model PSP
Fig 2 PT02H-4P (?) connector on unit
Mating connector is MS3116P8-4S
Eppley
                  Precision Pyranometer, Model PSP
Fig 3 Desiccant (Wiki) Window
Eppley
                  Precision Pyranometer, Model PSP
Fig 4 Top view
Note the bubble level can be adjusted relative
to the base plate by using 3 hex screws to attract
and 3 hex screws to repel.
Eppley
                  Precision Pyranometer, Model PSP
Fig 5 Label
Type _?_ Model 2 s/n: 12205F-3
Horizontal Surface
This radiometer has been compared
with the Eppley group of reference
standards.  The derived value of the
constant for this instrument is:
____?___ millivolts/cal-cm^-2 Min&-1 (Int.)

Eppley
                  Precision Pyranometer, Model PSP
Fig 6





Thermopile 12 Junction Bismuth-Silver

A Thermopile (Wiki, Battery\Heat)  converts thermal energy into electrical energy.

128 Ohms.  Slit wedges removed: Direct Sun: 3 mV or 3 uA?
Have reinstalled the slit blocks and aligned them so only the center most 12 devices are illuminated.
Now 4.3 mV or about 3 uA.  Maybe the other row of thermopiles are the cold junction?
How precise should the alignment of the slit be?

Photos

Fig 1
Eppley
                  Thermopile
Fig 2 "4" and "3" stamped into slit groove.
The slit blocks are stamped "3" and "4".
That allows matching the block to the slot
for a very tight fit.
Inside of back cover is black.
Eppley
                  Thermopile
Fig 3 24 junctions hand made.
Eppley
                  Thermopile
2807657 Method of making a thermopile, Robert W Jenkins, Max A Nadler, Bert J Sherwood, Ernest J Zeilberger, North American Aviation, 1957-09-24, - cites 6 patents and is cited by 23.

Thermo Electric MiniMite 31101

This was advertised on eBay as an Eppley item, but that's not the case, it's made by Thermo Electric.  It does however contain a standard cell.

It's intended for testing potentiometers (like the Leeds Northroup), measuring temperature of a type-K thermocouple (Wiki) in deg C or voltage in mV.
The reason it was for sale is probably that the internal "D" battery had leaked and there was corrosion on the battery holder.
I have made a pdf version of the manual including bookmarks and color photos for the MiniMite and MultiMite, ask if you want to buy a copy.

Setup

Cleaned battery holder contacts.
Turned switch from Transit Lock to Operate and used (-) screwdriver to zero meter.
Held switch in Operate and turned Std Adj to zero meter.
So it should be ready to measure either mV or a type-K thermocouple as selected by the Range switch.
With a paperclip shorting the + and - inputs, in Operate Mode, when the scale wheel at the bottom is adjusted so the meter reads zero the mV scale reads zero (it does not matter which range you use).

Fig 1
Thermo
                  Electric MiniMite 31101
Fig 2
Thermo
                  Electric MiniMite 31101
Fig 3 The standard cell is in the diagonal holder.
Thermo
                  Electric MiniMite 31101

Radiometers

A Radiometer (Wiki) is any device that measures radiant flux (Wiki: Radiometry) or electromagnetic radiation (Wiki).  Many devices do this for example: Light meters that work using photo-voltaic principles, Radiation Detectors that use Geiger-Muller tubes or other radiation sensitive devices,  Ultraviolet sensors, IR sensors, Pyranometers, thermopiles,  . . .

Crookes

The Crooke Radiometer (Wiki: Light Mill) was invented in 1876 by William Crookes (Wiki).
YouTube: Applied Science:  How a Crookes radiometer works, 6:16 - by air molecules hitting the dark faces, the Dust-Off experiment makes this very clear as well as the vacuum chamber.
YouTube: Crookes Radiometer: a Surprisingly Persistent Scientific Mystery, 18:19 -

Introduction
@0:48 Cookes Radiometer
@4:42 Johann Lambert
@6:21 Radiation Pressure
@7:08 Mean Free Path
@8:21 Other Theories
@9:49 Osborne Reynolds Theory
@11:03 The Edge Effect
@13:04 Electrostatic Repulsion
@15:58 White Veins
@17:06 Conclusion
YouTube: Trying To Solve The 150 Year Old Mystery, 9:27 - paper: A Horizontal Vane Radiometer: Experiment, Theory, and Simulation, Wolfe, Larraza & Garcia, 2016. (1512.02590.pdf)

182172 Apparatus for
                  Indicating Intensity of Radiation, W. Crookes, Sept
                  12, 1876
182172 Apparatus for Indicating Intensity of Radiation, W. Crookes, Sept 12, 1876, 356/216; 244/1R; 60/641.13; 244/172.7; 244/168 -

This device can be used as a photometer (sheet 2, Fig 4) (Wiki, Weston 594) to compare the light output of say a gas lamp with a standard candle by reflecting a narrow beam of light from a mirror and watching where it hits a scale. 

This is a very practical device, not a toy.
Fig 1
Crooke
                  Radiometer
eBay Defective Radiometer

The bulb was mounted to the base at an angle. So when sitting on a level surface the the edge of the open glass tube rubs against the support needle.  The friction keeps the paddles from turning.
Kikkerland
                  Design Solar Radiometer
Kikkerland_Radiometer Improper factory assembly

This Solar Radiometer looked like a stable design sold on Amazon made by Kikkerland Design.
Notice in Fig 1 the globe is fully seated, but in Fig 2 and Fig 3 the globe is not at all seated.
Tying to push the glass globe into the plastic sleeve that lines the hole in the wooden base takes more force than I'm willing to use.
Solar
                  Radiometer Kikkerland
The plastic sleeve has a top and bottom and was installed improperly.  Note the rings are at the top = WRONG.
Solar Radiometer Kikkerland
Note the rings are now at the bottom. The CORRECT way.

Solar Radiometer Kikkerland Now the globe seats properly.

2023 Aug - it has stopped turning after setting on a window sill for many years.  My guess is that the point of the pivot pin has been ground down?  The factory sent a replacement, but I'm storing this one in the shade, i.e. not turning all the time there's sun.

2656630 Advertising device, Jr Eugene F Mcdonald (Wiki), 1953-10-27, - "Z" from the Zenith (Wiki) logo on vanes.

YSI (Wiki) Kettering (Wiki) Radiometer Model 65A

Charles F. Kettering (Wiki) was involved the automotive ignitions, starting systems, Etc.

Back many decades I used YSI thermistors because HP sold them.  The specifications were very tight.  See my sensors web page for Thermistors.

Range: 0.2 to 40 microns wavelength flatness to +/- 1%.  Uses a balanced pair of thermistors (Reference and Detector).

This is the only radiometer I know of that uses a thermistor as the sensor.  It makes sense that YSI would do this because they are probably the pinnacle thermistor maker.
Thermopiles are made by Eppley, Newport, Coherent, Moleotron, Melles Griot, Raytek, Gentec, LaserBee, Betatherm, Kip & Zonen, Scientech . . .

I'm guessing you zero the meter with the port closed after letting the whole system come to thermal equilibrium.  Then the port cover is hinged open and a reading made.

Photos

Fig 1
YSI Kettering
                  Radiometer Model 65A
Fig 2
YSI Kettering
                  Radiometer Model 65A
Fig 3 No. 3 Rubber stopper to allow sensor to be in chamber (with gas?).
YSI Kettering
                  Radiometer Model 65A
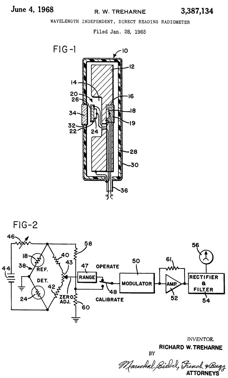
Fig 4 Sensor easy to replace. It's what the patent 3387134 is about, see below.
YSI Kettering
                  Radiometer Model 65A
Fig 5 Orange, Violet and Red wires to XLR jack (Wiki).
The AD235J is a precision
YSI Kettering
                  Radiometer Model 65A
Dual Thermocouple sensor wiring.

XLR Pin
Description
1
Target
2
Reference
3
Common





1639412 Indicator for heat rays, Mechau Robert, Carl Zeiss, 1927-08-16, 136/214; 338/15; 374/130; 338/11; 338/25- uses ether hot wire bolometer or thermopile

2761072 Total-radiation pyrometer, Eric M Wormser, Servo Corp of America, 1956-08-28, 250/233; 246/DIG.1; 250/347; 356/43; 359/366; 374/129; 374/130 -
3387134 Wavelength
                  independent, direct reading radiometer, Richard W
                  Treharne, Charles Kettering Foundation, Yellow
                  Springs, Ohio, (YSI) 1968-06-04, 250/349; 374/133;
                  338/18
3387134 Wavelength independent, direct reading radiometer, Richard W Treharne, Charles Kettering Foundation, Yellow Springs, Ohio, (YSI) 1968-06-04, 250/349; 374/133; 338/18 - this is the Model 65 sensor.

Sensing thermistor (24, Wiki) and reference thermistor (18) are measured in a Wheatstone Bridge (Wiki).
Other radiometers use thermopiles.  Maybe the thermistor is not as flat in response at different wavelengths?

The patent shows a switch for Calibrate or Operate, but this unit does not have that switch.


3392624 Flashing-light spectrophotometer with monochromatic monitoring, Ke Bacon, Richard W Treharne, Charlton K Mckibben, Charles Kettering Foundation, Yellow Springs, Ohio, (YSI),1968-07-16, 356/317; 356/419; 356/416 - a pair of strobe lights, photo-multiplier & tubes.

3444739 Radiant energy measuring instrument, Richard W Treharne, Charles Kettering Foundation, Yellow Springs, Ohio, (YSI), 1969-05-20, 374/128; 250/353; 374/168; 250/338.1; 374/133- hand held, transistors, uses reference and sensor thermistors.  Citations (9), Cited by (26)

3586439 Direct reading pyrometer employing pyroelectric crystal detector, Charlton K Mckibben, Richard W Treharne, Kettering Scientific Research Inc, 1971-06-22, 356/43; 136/213; 250/338.3; 250/353; 359/230; 374/130; 374/126 - A lead zirconium titanate crystal possessing pyroelectric characteristics is employed in a direct reading pyrometer for measuring directly the temperature of an object (first use of  Pb[ZrxTi1−x]O3)

3600611 Elasto-optic device with mechanical bias, Richard W Treharne, Charles Kettering Foundation, Yellow Springs, Ohio, (YSI), 1971-08-17, 359/286; 310/328; 310/311 - a modulator. for use on optical bench

International Light IL1400A Radiometer/Photometer & SEL007 InGaAs IR Detector

IL 1400A Meter

The IL1400A meter can be used as either a radiometer or photometer depending on which detector is used.

Supported Detectors

Model prefix: SCL, SEL, SPL, SUL, XRL (i.e. 10 position female PCB socket)
Note detectors for the IL 1700 are: SCD, SED, SPD, SUD, XRD (i.e. 15 pin mail D-Type)

Each of the following detectors comes in a few options so it's rather complex to specify all of them.

XRL140 UV Stabilized Si photodiode
SSL001A Superslim detector
SEL033 UV Stabilized Si photodiode
SEL240 Solar blind vacuum photodiode
SEL005 UV-Vis Ga AsP detector
SEL623 thermopile

SEL007 InGaAs IR Detector

850 - 1700 nm
1.5E-11 to 3E2 W/cm
1-1/4"-24 filter threads
Catalog page  26.

Fig 1 I'm guessing USPS put box in plastic bag, because it got
contaminated by another package.
International Light IL1400A Radiometer/Photometer
                  & SEL007 InGaAs IR Detector
Fig 2 Includes IL1400A, SEL007, A510, CC500
plus 1997-1998 IL catalog, IL1400A Manual,
A510 documents.
International Light IL1400A Radiometer/Photometer
                  & SEL007 InGaAs IR Detector
Fig 3 IL1400A, SEL007 & A510.
International Light IL1400A Radiometer/Photometer
                  & SEL007 InGaAs IR Detector
Fig 4
International Light IL1400A Radiometer/Photometer
                  & SEL007 InGaAs IR Detector


No patents found for International Light.

Patents

Clark Cell 1873
                  credit Wiki Clark Cell
Latimer Clark (Wiki) 1873 Clark Cell -
" at 15 °C was defined by the International Electrical Congress as 1.434 volts, and this definition became law in the United States in 1894 (Weston Cell)."
310004 Galvanic
                  Battery, Edward Weston, Dec 31, 1884
310004 Galvanic Battery, Edward Weston, Dec 31, 1884, 429/125 -
439737 Standard
                  Galvanic Cell, Edward Weston, Nov 4, 1890
439737 Standard Galvanic Cell, Edward Weston, Nov 4, 1890, 429/125 - requires temperature controlled water bath.

Wiki: Galvanic Cell
485089 Standard cell
                  for electric batteries, H. S. Carhart, Oct 25, 1892
485089 Standard cell for electric batteries, H. S. Carhart, Oct 25, 1892, 429/125; 429/222 -

Mentions prior art by Latimer Clark of England 1873 defects:
1.
Would not endure transportation because of the mixing up of the contents of the cell, causing short-circuiting and initiating chemi cal action fatal to the use of the cell,

2.
subject to more or less local action, which limited the life of the cell,

3. its change of electro-motive force with tem perature, technically called its “temperature coefficient, is large and apparently variable.
494827 Voltaic cell,
                  Edward Weston, Apr 4, 1893
  494827 Voltaic cell, Edward Weston,  Apr 4, 1893, 429/125; 204/408; 429/222 - standard "H" type voltage cell, maybe the first "H" type cell? - very temperature stable,

also see the Weston Model One meter.

From the Eppley web page: "The Eppley Laboratory was founded in Newport, RI by Captain Marion Eppley in 1917 for the purpose of supplying Weston Standard Cells at the request of the Leeds & Northrup Company"

Wiki: Weston Cell - "...it was adopted as the International Standard for EMF from 1911 until superseded by the Josephson voltage standard in 1990."
631044 Standard
                  voltaic cell, Richard O Heinrich, Weston Electric Inst
                  Corp, Aug 15, 1899
   631044 Standard voltaic cell, Richard O Heinrich, Weston Electric Inst Corp, Aug 15, 1899, 429/101; 429/125 - improvement on 494827 "H" type standard cell.

Note photos of the ID plate on some early Weston standard cells show a patent date of Aug 16, 1899 z(Wednesday) which is in error, the correct date is Aug 15, 1899 which is a Tuesday.  As far as I know all patents have been published on a Tuesday.
1081365 Thermopile,
                  William W Coblentz (licensed to Eppley), Oct 28, 1913
1081365 Thermopile, William W Coblentz (licensed to Eppley), Oct 28, 1913, 136/213 - the basis of the Eppley Laboratory Thermopiles and probably the PSP

Oldest patent with 136/213 as primary classification.

2613234 Plug or septum for electrolytic cells, Eppley Marion, Eppley Lab Inc, Nov 19, 1949, 429/125, 429/185

2816946 Cadmium standard cell, George D Vincent, Eppley Lab Inc, Jul 20, 1956, 429/125, 429/185

Related

Campbell Stokes Sunshine Recorder
Cloud Sensors
Dent Meridian Instrument - Dipleidscope
Digital Photography 204: Studio Flash - triggers SkyScan like lightening
Heathkit ID-4001 Weather Station
Oregon Scientific BAR122HGLA indoor WWVB clock, barometer, temperature, humidity & THGN321ES outdoor temperature and humidity.
IR Cloud Sensor
Seismometer & Geophone
Sensors - extensive page with many sensor types
SkyScan Severe Thunderstorm Detector
Soil Moisture Instruments
Sundial Sundials
SD_Pat2 Sundial Patents
TMQ-34 Meteorological Measuring Set -
Weather
Weston Model One meter -

TM 750-5-3 lists the GVH-1 Solar Radation Measuring Set.

Links

YouTube:

00:00 Intro
00:38 ADR history
03:02 ADR die
04:30 ADR datasheet
05:08 Project background
07:14 Ref schematic
08:24 Ratio stability
10:06 PSU schematic
11:00 Buffer schematic
13:20 PCB layout
16:08 PCBWay
18:02 SMT assembly
19:41 THT assembly
23:03 Vishay foil network
25:16 ADR availability
27:01 Output protection
28:45 Mechanical
30:22 Other trim levels
30:52 Tempco adjustment
34:58 ( ͡° ͜ʖ ͡°)
37:37 Tempco done
39:34 Accelerated aging
41:06 Results
49:56 Noise
54:49 Conclusion
Standard Cells, Their Construction, Maintenance, and Characteristics by Walter J. Hamer, National Bureau of Standards Monograph 84, January 15, 1965.

BASi Research Products -ElectrochemistryElectroanalytical Chemistry - PalmSens Educational Kits - Electrochemistry Educational Kit with EmStat4S LR Potentiostat - (sample of the) Teacher’s Guide to the PalmSens Educational Kit - PSAN-EmStat Pico Field Effect Transistor Characterization -

PRC68, Alphanumeric index to web pages, Products for Sale, Contact
Page created 25 April 2014