Background
Vibration Sensors
Hilger & Watts
Kinemetrics
SH-1 Horizontal
Seismometer
Cal Tech
(SH-1)
FC-1 Field Calibrator
SMA-1 Seismograph
Geophone
Quake Alarm
EarthQuake Alert
Atomic Bomb Test Ban
Earthquake Early Warning
Quake-Catcher Network
Earthquakes
Patents
Related
Links
Background
Seismometers & geophones are
some of the
sensor
types that I find interesting. The applications are
varied.
British Geological Survey:
History
of seismometer design -
YouTube:
Han Dynasty
Seismograph in 132AD -
USGS: The
Early History of Seismometry (to 1900) -
Earthquakes
Classically seismometers have been used to record the ground
shaking as the result of earthquakes. By measuring the
time from the "P" wave to the slower waves the radial distance
between the sensor and epicenter can be calculated. The
magnitude and duration of the slow waves gives an indication
of the energy. This is the application that first got me
interested.
Oil Exploration
Geophones are used to look for reflections caused by changes
in density of sub surface layers after a surface explosion or
a tamper initially shakes the ground. These are
typically used in large arrays.
Intrusion Detection
Outdoor intrusion detectors use
geophones as well as other methods to detect ground vibrations
caused by moving men and machines. Knowing about the use
of seismometers for recording earthquakes and then
seeing this application reinforced my interest.
Machine Balancing & monitoring
Some industrial motors are connected to a system that can be
balanced so sensing the out of balance helps make the initial
adjustments.
In an industrial environment when a machine is breaking down
or is about to, it starts to shake and detecting the vibration
allows shutting the motor off before there's a catastrophic
problem.
Detecting Nuclear Blasts
As part of the Non Nuclear Proliferation treaty a need arose
to detect nuclear blasts and differentiate them from other
types of blasts. Seismometers are able to do that by the
wave form shape.
Note that the technology used for seismometers is very similar
to that used for
pendulums and
gravity meters.
Monitoring Blasting
associated with Mining
The book Blasting Guidance Manual (Google
Books) lists the following companies that make seismic
recorders to monitor blasts for compliance with federal
rules:
Dallas Instruments, Digital Vibration Teleblast, Berger,
Slope Indicator, Sprengnether, Vibra-Tech (VME). I saw
a Berger SSU 1000D on eBay listed as "Geosonics Berger &
Associates Portable Seismograph Seismic Unit SSU
1000D" The sensor stored in the lid looks like a
microphone rather than a seismometer and it turns out that
it's used as a trigger for the chart recorder. The
black device may be the vibration transducer.
Vibration Sensors
There are a number of
technologies used for
vibration
sensing. One of these is very similar if not
identical to the geophone. The difference may be in the
frequency range that's being monitored. Vibration
sensors typically are concerned with audio frequencies and
into the ultrasonic whereas geophones and seismometers are
looking at
infrasound
frequencies.
Hilger & Watts
Label SG450, 157222, Made in England.
The Teledyne Geotech S13 Seismometer looks very similar and they
show up on eBay now and then.
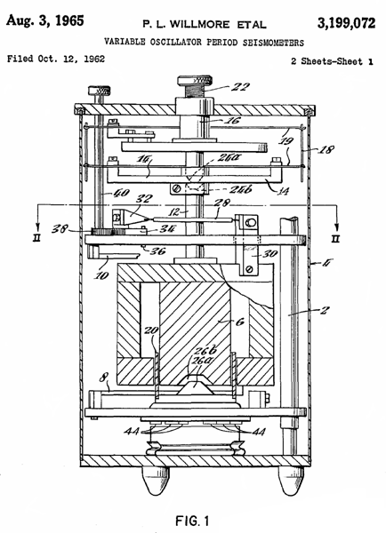
Variable Oscillation Period Seismometer (see patent below) that
can be used vertically or horizontally. Permanent magnet
and coil of wire.
 |

|

|
|
Hilger
Watts Seismometer Open
|
Hilger
Watts Seismometer Close Up
|
Bottom
showing
2 of 3 possible windings
|
Top
|
Mechanical
Diameter 6.625", height to top
of handle under 15" (varies with leveling feet) 27.5 pounds.
Voltage Generator6 is a floating permenant magnet with a fixed
coil (20) in the gap. Three bottom spokes 8 and two top
spokes 10 locate the magnet so that it's free to move up and
down (as shown in the patent drawing, but there's a way to use
it on it's side).
Spring Lifting System
The arms (14) are firmly attached to the magnet by a central
rod. Four triangular leaf springs (19) their base ends
clamped to arms (14) and their pointed ends are linked
(18) to the pointed ends of the top springs (19).
There's a plate anchored to the frame (shown just above 26a)
which holds brackets at the base of two of the top springs
(19). One of these is shown in the upper left of the
drawing. There are two Allan head screws that clamp the
spring to the bracket (the upper left screw and another behind
it not shown). There are two pivot screws whose ends sit
on the plate (above 26a) shown as the single screw to the right
of the bracket. The central screw goes through a clearance
hole in the bracket and into a tapped hole in the plate.
These two screws have horizontal holes in the head so they can
be adjusted from the side.
Spring Lifting System - Not shown in patent drawing

The
other two top springs (19) are held by an identical pair of
brackets, but instead of being connected to the plate (above
26a) they are connected to a plate that's been cut out of the
first plate. An an are bolted to the top of the plate
(above 26a) and cantilevered out over the cut out section of
plate. In it's outer end there's a tapped hole.
The screw in that hole can be turned to cause the floating
plate to move and this changes the tension of the spring
system. The screw can be accessed by removing the large
headed screw that holds the cover over the clamping screw
(22). The highest dial setting that I can get to work in
the vertical position is "18" and here the spring lifting
system adjustment screw is backed out so that it's
cantilevered is almost touching the floating plate.
Setting Period
If the dial associated with the
period adjustment (knob at top left) is set to full CCW it
stops at about 23. But it's impossible using the spring
lifting system screw to center the magnet (6) in it's range of
travel. This might require using a pin to adjust the
other two screws or some other adjustment, or maybe it can't
be done. The resistor that caused critical damping when
the dial was at 15 is much too weak when the dial is at 18 and
the period is some number of seconds. It takes a number
of cycles of ringing until the mass stops.
If you have any documentation on how to use this Hilger
& Watts seismometer please
let
me know.
Electrical
The three coil termination pairs
have letters scratched in the phenolic. Although there
are positions for 6 output wires, on this unit only 4 are
used. The patent mentions that the damping needs
to be adjusted for the selected period. This unit
has two separate coils, C-D (1k5 Ohms) and E-F (7k6
Ohms). There is a brown jumper between D and E thus
presenting the full coil between C and F (White and
Yellow). Connector pins B & F go to a pair of
wires terminated with a 6k7 Ohm resistor that I choose for
best damping.
Coil
Position
|
Wire
Color
|
Connector
|
A
|
na
|
na
|
B
|
na
|
na
|
C
|
White
|
B
|
D
|
Blue
|
broken
|
E
|
Black
|
A
|
F
|
Yellow
|
F
|
Chassis
|
Red
|
broken
|
The connector is marked in the center of the insulating block
148-CP and has 6 male pins. Threads for mating
shell are 0.864" O.D. mating insert OD less than 0.691"
O.D. with a single grove for keying.
Period
The dial calibrated from 0 to 25 which should change the
period instead seems to move the mass up or down and when at
15 the rod in the height viewing dome is level with the center
fiducial mark. Moving this dial to either extreme
bottoms the mass.
The label on the outside "1NS" implies this was used in the
horizontal position. But when placed horizontally the
mass locks up. So it's really not working
correctly. There is probably something that needs to be
done to get proper operation when vertical, which is the
position I'd like to use.
These look similar to the sensors used in the GR-8 Sound
Ranging Set.
Patents by Willmore:
3897686
Spring suspension for measuring instruments,
Patrick
Lever Willmore, 1975-08-05,
3199072
Variable Oscillation Period Seismometer, Patrick L. Willmore,
Hilger & Watts, August 3, 1965, 367/185
3292145 Willmore
Long
Period
Vertical
Seismograph, Patrick L.
Willmore
2909759
Sensitive Vertical Displacement Seismometer, George W. Cook,
Oct 20 1959,
367/186 ; 327/518
2933715
Seismic Device, Beuermann (Firma Seismos, DE), Apr 19 1960,
367/184 ; 310/15; 310/27; 73/654 -
3297982
Horizontal
seismometer
2939079
Method
of
Calibration
an Electromagnetic Seismograph, Patrick L. Willmore
GB2055169
(
eSpaceNet)
Compression spring particularly for use in vertical
seismometers, Willmore P L, 1981-02-25, -
GB980496
(
eSpaceNet)
(3199072) Improvements in or relating to seismometers,
David
Vivian Connell,
Patrick
Lever Willmore,
Hilger
and Watts Ltd, 1965-01-13, -
SH-1 Horizontal Seismometer
Fig 1
 |
Fig 2 FC-1 Field Calibrator

|
|
Cal Tech
Interesting photo from eBay of a vertical pendulum unit
that is the SH-1 & label shows patent 3685011.

3685011
Seismometer, Francis E. Lehner (Cal Tech), Aug 15 1972,
367/182
; 73/654 - coil in magnet type with calibration pulse
input, maybe 5 second period (adjustable).
Calls:
3194060 Seismic Displacement Transducer, L.T. Greenwood
(NASA), Jul 13 1965,
73/654 ; 367/179; 73/382R -
2074043 Seismograph, Louis Statbam (Std Oil), Mar 16,
1937,
367/182 ; 310/15; 73/654 - cylindrical
package, down hole? permanent horseshoe magnets
2873103 Seismological Instruments, R.F. Hautly, Feb 10
1959,
73/653 ; 73/514.14; 73/650 - torsional
damped limited frequency response reflecting mirror
Calls:
1869828 Devices for Measuring and Recording Vibrations
in Three Directions
2268526 galvanometer
2487793 Object Controlling Electric Motor System,
(Sperry Gyro) - used as part of aircraft auto pilot
2542018 Compass, Ferrill (Sperry Corp), Jr. et al, Feb
10 1951, 33/360 ; 33/362; 33/363Q; 73/504.14 -
vibratory compass
2552722 Electromagnetic Accelerometer, John G. King,
May 15 1951, 73/514.12 ; 324/127; 33/DIG.5;
336/135; 336/30; 336/67; 336/92; 336/94; 340/870.35;
73/514.31- magnet if bob of pendulum
2616681 Angular Velocity Responsive Apparatus, C.T.
Morrow (Sperry Corp), Nov 4 1952, - ref 2513340
2842752 Geophones, W.M. Jones (British Petrolum), Jly 8
1958,
367/182 ; 267/160; 336/100; 336/136
2852769 Time Interval Multiplier, R.L. Plouffe (Navy),
Sep 16 1958,
342/186 ; 327/134; 327/172;
327/174; 368/115
3704764
Air deliverable seismic
system, Harold
B Henderson, Texas
Instruments Inc, Dec 5, 1972, -
from patent number of a different seismometer on eBay.
FC-1 Field Calibrator
All the connections are on the front panel.
It appears the input is modified by a "Sensor" factor and an
"acceleration" factor and an output results.
See photo above with SH-1 and SH-1 documents.
SMA-1 Seismograph
Background
This is an early 3-axis seismograph (meaning it makes a
physical graph, aka accelerograph, aka Wood-Anderson, Strong
Motion Accelerometer (SMA).
Bulletin of the Seismological Society of America, Vol XV,
March 1925, No. 1: Description and Theory of the Torsion
Seismometer by Anderson & Wood.
CalTech CE-181: 4/14/204
Seismographic Systems.pdf "More than 10,000 SMA-1 series
of accelerographs were manufactured by Kinemetrics in Pasadena
from the late 1960’s to the mid 1990’s. This instrument also
has a mirror that deflects in torsion. It’s natural frequency
is about 30 Hz, and is also 70% damped. At frequencies
lower than 30 Hz, the records from this instrument are
proportional to ground acceleration. These instruments
record on70 mm film and they only record when triggered by
vertical accelerations that exceed about 1% g. The clip level
on an SMA1 is about 1.5 g. When the frequency of the
signal exceeds 15 Hz, it is necessary to deconvolve the
instrument response to obtain true ground acceleration from
this instrument."
Inst
|
Undamped
Nat. Freq
Hz
|
Damping
Ratio
|
Damping
Type
|
Sens
cm/g
|
Full
Scale
g
|
SMA-1
|
20-25
|
0.6
|
Electro-magnetic
|
1.9
|
1
|
The USGS had all their SMA-1 units fitted with the WWVB time
code option so that the exact time was recorded along with the
3-axis data. (Ref USGS
report 1953-1995)
Description
The heart of this device are three accelerometers where a
mass and spring are damped by a coil moving over a magnetic
rod. The damping factor is set by choosing a fixed
resistor to connect across the coil. While the primary
recording method relies on a mirror that's part of the
moving mass and a spot of light is directed at 70mm
film. A secondary method amplifies, integrates and
filters the voltage across the damping resistor and provides
it as an electrical output. I think these can be used
without using the 70mm film. Now looking for more
technical information.
The P-wave trigger is adjustable between 0.005g to
0.05g. An external trigger from all 3 axis is
available.
Patents
3877296
Strong motion accelerograph with self-starter and electrical
as well as light outputs, William Joseph Rihn, Kinemetrics Inc,
1975-04-15 - Strong Motion Accelerograph SMA-1 - contains a
P-wave trigger to start the 3-channel recording and also as
an output.
4028659
Strong motion accelerograph with self-starter and electrical
as well as light outputs,
William Joseph Rihn, Kinemetrics Inc,
1977-06-07 SMA-1 improvements
6363035
Seismic sensor having two symmetrical leaf springs and a
method for detecting seismic movement, Eric L. Canuteson
Guillermo D. Naranjo, Kinemetrics Inc,
2002-03-26 - to remove temperature sensitivity
6776042
Micro-machined accelerometer, William Thomas Pikeian, Maxwell
Standley, Amadej Trnkoczy, Kinemetrics Inc, 2004-08-17
4028659, Kinemetrics Inc ,
1975-04-15
Article: Cross-axis sensitivity of accelerographs
with pendulum like Transducers-Mathematical Model and the
Inverse Problem - Maria I Todorovska - USC
Geophone
12.7 oz.
Quake Alarm

The Quake Alarm is just a simple
brass rod pendulum whose lower end is in a triangular opening
in a brass block. The brass block can be moved in and
out by means of the adjusting screw on the front thus changing
the gap between the rod and block, i.e. the sensitivity.
BUT, this is not a P wave detector but rather a horizontal
motion detector, not what I was looking for.
This one is made by jds Products andis their model QA-2000.
At a prior house I had a similar looking unit that was a true
P wave (
Wiki)
detector to give earlier warning of a quake.
This is a P-wave (
Wiki)
detector that sounds a warning prior to the arrival of the S
(shear) wave that has the high energy. The p-wave is an
up-down motion that arrives before the S-wave, where the time
difference depends on the distance to the epicenter. Not
much warning if the quake is local, but many seconds for
someone in Los Altos Hills during the 1989 Loma Prieta quake (
Wiki).
Atomic Bomb Test Ban
By using a high dynamic range and wide bandwidth (
10 seconds to 10 Hz) seismograph the difference between an
earthquake and an explosion can be detected. The Vela
Uniform project (Wiki)
investigated how to do this. Keywords: Long Range Seismic
Measurements
Patents
1552186
Seismometer
John
A Anderson,
Carnegie
Institution, 1925-09-01, - optical spot projection, cited
by 14 patents
1625625
Seismograph,
Norman
H Ricker,
Humble
Oil, 1927-04-19, - This is not the guy who came up with
the Richteer Scale (
Wiki).
1784415
Electrical Recording Seismograph, H. Benioff (Carnegie), Dec 9
1930,
340/870.16 ; 310/15; 340/870.31; 340/870.44;
346/107.1; 346/65; 367/179; 367/182; 73/654
Called By:
2933715 Seismic Device,Beuermann, Apr 1960,
Calls:
2269453 Device for Detecting Displacements, E.L. Gayhart,
Jan 1942
2348225 Magnetic Seismometer, O.S. Petty, May 1944 - oil
prospecting geophone
2576775 Seismometer System, F.D. Case (Diamond Inst), Nov
1951, - long period earthquake detection in small size
2683867 <See below>
2756406 Vibration Detector, G.S. Schurman (Calif. Research
Inst), July 1956, - Frequency Response vs. Geophone mass -
oil prospecting
2788512 Low Frequenc Seismometer, W.J. Reichert (Shell),
April 9 1957,
2707776 Magnetron Type Seismometer, Cruzan (Phillips Petro),
May 1955 -
2683867 Parachuted Radio Seismic Transducer, J.O. Vann (not
assigned), July 13 1954, - for measuring polar ice
3225328 Transportable Seismograph, F Lecroart,
2096867
Low frequency oscillator with negligible resistance,
Thompson Robert R,
Standard Oil Dev Co, Oct 26, 1937, 333/186, 323/354, 331/154, 323/344, 336/136, 336/41
- coil over magnet suspended by spring, very high Q
2111643
Seismometer, H. Salvatore (Western Geophysical Co), Mar 22 1938,
- combine permanent magnets and coils - prospecting
Called by:
2418953 Transducing System, R.W. Raitt
2519916 Inertial Electromagnetic Throat Microphone, D.W.
Martin (RCA),
2470244 ELECTRICAL REPRODUCING STYLUS - for machine shop
duplicating
2562983 Frequency Adjustable Seismic Wave Detector, D.H.
Clewell, Aug 7 1951, - oil prospecting
2643367 MAGNETOSTRICTION SEISMOMETER, (Phillips Petroleum Co)
2663088 Pendulum and Acceleration Compensation System, R.T.
Cloud (N. Am Geo)
2540796 VIBRATION TRANSLATOR, A.N Stanton
2671202 VIBRATION PICKUP, M.O. Petroff (Stewart-Warner), Mar 2
1954 - wheel balancing
2595067 INERTIA TYPE VIBRATORY PICKUP, J.A. Flint (Jeffrey
Mfg), Apr 1952
2659065 SEISMOMETER, R.L. Cordell (Stanolind Oil)
3066526 UNBALANCE DETECTION APPARATUS, H.R. Tear
(Stewart-Warner),- wheel balancing
3480808 POWER GENERATOR, F. Rieth (Packard-Bell) - probably
for TV remote
4740775 Automobile burglar alarm, R. Price,
4584569 Motion sensitive security system,
M.J. Lopez,
5323133 Method and apparatus for making
electrical connection with a movable member, - loudspeaker
The above patents were found by
looking for patents that are called by or call the Hilger
& Watts patent.
2359245
Electrical
displacement vibrometer, Gulf
Research Development Co, Sep 26, 1944,
73/654,
367/178,
73/DIG.400,
340/870.16,
338/2,
381/162,
338/5,
338/43,
310/25
2390187
Seismic surveying, Joseph
A Sharpe, Standard
Oil and Gas, App: 1941-10-22, W.W.II, Pub: 1945-12-04, -
Figs 7 - 9 are of a seismometer
------------------ Korean Conflict-----------
2533249 Seismic Detector, December 12, 1950, 310/25 ; 367/183;
73/496
2636160 Vertical Component Low Frequency Geophone, April 21,
1953, 318/680
----------------- Korean Conflict end -----------
2696592 Vib Pickup, December 7, 1954, 336/30 ; 335/285; 336/100;
336/136; 336/90; 73/654
2745085 Seismic Detector, May 8, 1956, 367/185 ; 310/14
2748370 Seismometer, May 29, 1956, 367/187 ; 174/77R; 267/160
2751573 App Chg Reas Freq, June 19, 1956, 367/183 ; 310/25
coil current changes reas freq
and can be done on whole string.
2753544 Seismic Detector, July 3, 1956, 367/182 ; 267/159;
310/25; 73/654
2754435 Voltage Generating Vibratory Pickup Devices, T. Ongaro,
International R&D, July 10, 1956, 310/27 ; 367/183; 73/661
Machine Balancing or Monitoring
2756406
Vibration detector,
Glenn
A Schurman,
California
Research, 1956-07-24, 367/184 ; 310/15 - 14 citations:,
Publication
number Priority date Publication date
Assignee Title
US1271864A
1917-08-13 1918-07-09 Thomas J
Digney Submarine barrier.
US2013993A
1931-02-21 1935-09-10 Texas Co
Pneumatic vibration detector
US2038101A
1931-02-18 1936-04-21 Texas Co
Vibration detector
US2062784A
1932-04-04 1936-12-01 William G
Green Seismograph
US2074043A
1932-07-29 1937-03-16 Standard Oil Dev
Co Seismograph
US2130213A
1935-10-23 1938-09-13 Texas Co
Vibration detector
US2272984A
1939-07-21 1942-02-10 Gulf Research
Development Co Seismograph
US2304738A
1939-06-29 1942-12-08 Socony Vacuum Oil
Co Inc Seismograph
US2307792A
1939-07-28 1943-01-12 Cons Eng Corp
Seismometer
US2348225A
1940-02-13 1944-05-09 Olive S
Petty Magnetic seismometer
US2372056A
1941-06-21 1945-03-20 Socony Vacuum Oil
Co Inc Method and apparatus for recording seismic
waves
US2371973A
1944-01-10 1945-03-20 Socony Vacuum Oil
Co Inc Geophysical prospecting apparatus
US2387223A
1943-02-06 1945-10-16 Research
Corp Vibration pickup
US2636160A
1949-08-29 1953-04-21 Socony Vacuum Oil
Co Inc Vertical component low-frequency geophone
2764019 Vib Meas Dev, September 25, 1956, 73/654 ; 310/27;
73/661
rectify AC output and drive a
meter, no batteries machine monitor
2788510 Seismic Prospecting Apparatus, April 9, 1957, 367/86 ;
174/70S; 367/176
2788511 Frequency Seismometer, E.H. Marshall, Texas Inst, April
9, 1957, 367/187 ; 267/161, - oil exploration
2788512 Frequency Seismometer, April 9, 1957, 367/14
2788513 Cable, E.T. Howes, United Geophysical Corp, April 9,
1957, 367/180 ; 174/102SC; 174/106R; 174/27; 174/71R; 310/338;
310/357; 367/154
2842752 Geophones, July 8, 1958, 367/182 ; 267/160; 336/100;
336/136
2923367 M App for Seismic sur, February 2, 1960, 367/34 ;
367/48; 367/58
2933715 Geophones, April 19, 1960, 367/184 ; 310/15; 310/27;
73/654
2939079 METHOD OF CALIBRATING AN ELECTROMAGNETIC, May 31, 1960,
324/537 ; 324/202; 367/13
---------------- Vietnam Era ---------------
2980042 Method for Planting Seismic Detectors, B. McCollum,
April 18, 1961, 405/177 ; 111/199; 111/89; 343/719; 405/175;
405/183 - oil exploration
3020767 Linear Accelerometer, W.P. Kistler, KistlerInst Corp.,
February 13, 1962, 73/497 ; 267/160
feedback provides linear,
sensitive operation
3057209 Seismic Vibration Pickup Means, K.F. Frank, Micro
Balancing Inc., October 9, 1962, 73/654 ; 336/40
dynamic balancing machine
3067404 Vibration Detector, A.B. Hilderbrandt, Jersey Prod Res,
December 4, 1962, 367/182 ; 310/15; 310/27; 73/652
oil exploration
3119978
Device for connecting cables to geophones,
Harold
A Sears,
Hall
Sears, 1964-01-28, -
3199072 Variable Oscillation Period Seismometer, August 3, 1965,
367/185
Hilger & Watts earthquake
type
3202847 Tunable Vibration Pickup Device, L.H. Erickson, August
24, 1965, 310/14 ; 310/15; 367/184; 73/654
alarm or balancing equipment,
resonant type
3212057 Long Period Seismometer, F.E. Romberg, Texas Inst,
October 12, 1965, 367/184
portable horizontal period much
longer than equivalent pendulum, not as sensitive to tilt
(tolerates 0.5 deg).
aimed at nuclear detection
3230541
System for analysis of seismic signals, James J Roark, Henry B
Ferguson, Jersey Production Research Co, 1966-01-18, - frequency
analysis done optically or oil exploration
3241375 Transducer, R.M. Canzoneri, Consolidated Electrodynamics
Corp., August 24, 1965, 310/14 ; 310/15; 367/184; 73/654 -
strain gauge type, instrumentation, tolerates hi G
3281543
Calibrator for microphones,
Haile
S Clay,
Charles
W Cantoni,
Donald
B Ricketts,
GTE
Sylvania, 1966-10-25, -"Geologists, seismologists, and
petroleum and research engineers use acoustical data...", 0.1 to
20 Hz acoustic, not vibration - What microphone would this be
for???
let me
know (PS GTE in Mountain View) Guess: Nuclear Test
Ban monitoring, infrasound
3296587
Intrusion detector system, Buford M Baker, TI, App: 1963-02-20,
Pub: 1967-01-03 - See
PSR-1 Patent
3451040
Spring Suspension for Low Frequency Geophone,
W.P.
Johnson III,
Mark
Products, June 17, 1969, 367/183 oil exploration -
Sercel/Mark Products: L-4 is marked with this number
5,500 Ohms, 1 Hz, 45 dynes/Amp, 972 grams i.e.
L-4C. They also make geophone testers.
25Jun22-eBay: Mark Products L-4 | 500 Ohms | 1.0 Hz | 956.1 gm
| Seismometer Sensor,
Archive.org: Sercel\Seismometers
- Geophones_brochure_Sercel_EN.pdf
- Geophones_specifications_Sercel_EN.pdf
-
L-4:
L-4 is an instrument quality 1-hz or 2-hz multi-purpose
seismometer that is small, light, and economical. It is
designed to yield the performance needed for scientific
studies, yet has the ruggedness required for petroleum
exploration work.
L-22:
The L-22 miniature low frequency land seismometer is
available in 2.0 hz models, and may be obtained with
several different coil resistances as standard
manufacture. Other coil values are available on special
order.
Geophone Tester Related Patents
2597005
Method of calibrating microphones, James
M Kendall, Geophysical
Res Corp, 1952-05-20, 73/1.83; 324/202; 367/141; 367/13; 381/58 -
hydrophones
2923366
Seismic prospecting method, Edwin
P Meiners, Glenn
A Schurman, California
Res, 1960-02-02, 367/37; 367/189; 367/180 -
3224246
Low frequency hydrophone calibration, Schloss
Fred, Strasberg
Murray, 1965-12-21, 73/1.83; 367/13 - pressure tank + shaker moves tank
up/down
3744294
Acoustical transducer calibrating system and apparatus, T Lewis,
R Cohn,
NASA,
1973-07-10, 73/1.82; 381/150; 367/13 - air pressure for aircraft
measurements
3858169
Geophone impulse tester, T
Bardeen, Gulf
Res, 1974-12-31, 367/140; 367/13; 367/58; 73/1.85 - applying an
electrical impulse to a single sensor or string of sensors.
4441173
Very low frequency hydrophone calibration, James
F. McEachern, US
Navy, 1984-04-03, 367/13; 73/1.83 - motor makes LF waves
4909064
Impulse calibration of mechanical to electrical transducers, Richard
D. Talmadge, US
AF, 1990-03-20, 73/1.82 -
hammer taps sensor
3545286 Holder which is Displaceable Along one Axis, L.A.
Stenstrom, Philips, December 8, 1970, 248/604 ; 267/154;
267/160; 73/514.24; 73/654
3577184 Low Distortion Seismometer, W.O. McNeel, Geo Space
Corp., May 4, 1971, 525/342 ; 525/332.9; 525/333.1; 525/333.2;
525/359.1; 525/359.3; 525/359.5; 525/359.6; 525/361; 526/240
oil exploration
3582874 Electrodynamic Seismic Receiver, N.E. Fedoseenko, June
1, 1971, 206/6.1 ; 206/366
oil exploration
3582875 Geophone Device, S.H. Van Wambeck, June 1, 1971, 206/433
; 229/120.23; 229/120.27
oil exploration
3609674 Seismometer, S. Hansen, Hughes Aircraft Co., September
28, 1971, 65/135.7 ; 373/27; 65/136.4; 65/324; 65/327; 65/347;
65/356 - bubble movement is sensed and a PID feedback loop
provides wide bandwidth
3662326
Subaudible frequency detection system,
Paul
S Dennis Jr, (BAE)
Hazeltine,
App: 1969-11-04, Pub: 1972-05-09, - for making geophone output
of person walking audiable
3738445 Seismometer Spring Suspension System, Wilson,
3742441
Seismometer,
T Riley,
Mark
Products, App: 1970-03-25, Pub: 1973-06-26, - lower
distortion
---------------- Vietnam Era
ends---------------
4043175
Automatic method and apparatus for digitally indicating response
characteristics of geophones of a geophysical data acquisition
system
4259563
Method
for
dynamically
tuning a seismic transducer
4323994 Geophone Spring, J.M. Coogler, Geosource, April 6, 1982,
367/183 ; 267/158; 267/161; 367/187
4458344 Tapered Geophone SpringJ.M. Coogler, Geosource, July 3,
1984, 367/183 ; 267/161; 367/187
4623991 Delta Shaped Geophone Spring, F.A. Vitringa, Geosource,
November 18, 1986, 367/183 ; 267/161; 367/187
5113375
Method
and
apparatus for testing geophones
5134593 Geophone Spring, R.M. Logan, Western Atlas Intl Inc.,
July 28, 1992, 367/187 ; 267/141.3; 367/183
6658362
Method and apparatus for testing components
6816434
Seismic detection
WO2014015271
Micro-geophone,
Daniel
Woo,
Geospace
Technologies, 2014-01-23, -
Warning Alarm Patents
Class 340/ COMMUNICATIONS:
ELECTRICAL
4689997
Motion detector suitable for detecting earthquakes and the like,
September 1987,
73/652 ; 181/122; 340/580; 340/690;
367/182; 73/654
5633463
Earthquake detector, May 1997,
73/654 ; 181/122;
200/61.45R; 340/690; 367/182 - all mechanical
5837951
Inertia switching device, acceleration responsive device and
method of Making Acceleration Responsive Device, November
1998,
200/61.45R - ball in cage switch
6121888
Earthquake detector, September 2000,
340/690 ; 340/540;
340/686.1 - long spring sensor/switch
Calls:
| 2689341 |
SAFETY DEVICE FOR
INDICATING SHIFTING |
September 1954 |
340/690 ;
200/51.11; 200/61.45R |
| 4262289 |
Seismic tremor sensor
alarm |
April 1981 |
340/690 ;
200/61.51; 74/89.14; 74/89.1 |
| 4297690 |
Earthquake alarm system |
October 1981 |
340/690 ;
200/61.49; 200/61.51; 340/669; 340/689 |
| 4359722 |
Earthquake detection
system with pendulum switch |
November 1982 |
340/540 ;
307/117 |
| 4484186 |
Earthquake indicator |
November 1984 |
340/689 ;
116/303; 200/61.52; 33/391; 33/402; 340/690; 73/652 |
| 4689997 |
Motion detector
suitable for detecting earthquakes and the like |
September 1987 |
73/652 ;
181/122; 340/580; 340/690; 367/182; 73/65 |
| 4801793 |
Orientation indicating
device (camera portrait or landscape)
|
January 1989 |
396/50 ; 396/287 |
| 4945347 |
Motion and orientation
responsive device for seismic, intrusion, and tilt |
July 1990 |
340/689 ;
200/61.45R; 340/690 like Quake Alarm |
| 4978948 |
Combined earthquake
sensor and night light |
December 1990 |
340/690 ;
340/321; 362/253; 362/806 |
| 5418523 |
Earthquake motion
detector alarm |
May 1995 |
340/690 ;
200/61.45R; 200/61.51; 340/66 |
| 5596183 |
Seismically activated
appliance switch |
January 1997 |
200/61.45R ;
200/61.48; 200/61.51; 307/117; 340/690 |
| 5633463 |
Earthquake detector, |
May 1997 |
73/654 ;
181/122; 200/61.45R; 340/690; 367/182 |
| 5644300 |
Seismoscopic detector |
July 1997 |
340/690 ;
340/540; 340/691.5; 340/693.5 |
| 5867099 |
----- bad patent
no.------
|
February 1999 |
|
| 5929767 |
Earthquake detector and
alarm |
July 1999 |
340/690 ;
200/61.45R; 340/601; 340/689 |
6459379
Earthquake-alarm device, October 2002,
340/601 ;
200/61.52; 200/DIG.20; 340/689; 340/690; 340/691.1; 340/693.5;
702/15; 73/649 - like
Quake Alarm
7006000
Earthquake detecting and warning device, February 28, 2006,
340/690
; 200/61.52; 73/579; 73/594; 73/649; 73/658 - inverted bowl
Seismograph Service Corporation (patents)
The
TAGS Ship: How
Did Lorac Work? - AN/SRN-7
2493534
Testing device for seismic signal apparatus, James
E Hawkins, Seismograph
Service Corp, App: 1947-06-13, Pub: 1950-01-03, -
2648979
Transducer testing apparatus, Jesse
R Cornett, Seismograph
Service Corp, App: 1946-08-09, Pub: 1953-08-18, -
2757750
Apparatus for generating seismic waves, James
E Hawkins, William
E Pugh, Seismograph
Service Corp, App: 1948-10-08, Pub: 1956-08-07, -
2513314
Geophysical prospecting system, James
E Hawkins, Seismograph
Service Corp, 1950-07-04, - LORAC positioning system
2513315
Radio position determining system, James
E Hawkins, Seismograph
Service Corp, 1950-07-04, - LORAC positioning system
2513316
Radio survey system, James
E Hawkins, Seismograph
Service Corp, 1950-07-04, - LORAC positioning system
2513317
Radio position determining system, James
E Hawkins, Seismograph
Service Corp, 1950-07-04, - LORAC positioning system
2513318
Radio position finding system, James
E Hawkins, Seismograph
Service Corp, 1950-07-04, - LORAC positioning system
2513319
Geophysical prospecting system, James
E Hawkins, Seismograph
Service Corp, 1950-07-04, - LORAC positioning system
2513320
Radio position determining system, James
E Hawkins, Seismograph
Service Corp, 1950-07-04, - LORAC positioning system
2513321
Radio location system, James
E Hawkins, Seismograph
Service Corp, 1950-07-04, - LORAC positioning system
2513322
Radio location system, James
E Hawkins, Seismograph
Service Corp, 1950-07-04, - LORAC positioning system
2652558
Radio location system, James
E Hawkins, Seismograph
Service Corp,1953-09-15, - LORAC positioning system
2652559
Radio location system, James
E Hawkins, Seismograph
Service Corp,1953-09-15, - LORAC positioning system
2652560
Radio location system, James
E Hawkins, Seismograph
Service Corp,1953-09-15, -LORAC positioning system
2652561
Radio location system, James
E Hawkins, Seismograph
Service Corp, 1953-09-15, -LORAC positioning system
2652562
Radio location system, James
E Hawkins, Seismograph
Service Corp, 1953-09-15, - LORAC positioning system
Earthquake Early Warning
They also has an Android app that uses the 3-axis g sensor
combined with the magnet compass when the phone is sitting
unused on the charger to report quakes.
This is better than the USB hardware which should be oriented
to magnetic North.

|
In the padded envelope you get:
* The seismometer,
* a couple of mounting wood screws
* a USB-A male to USB-B male cable
* one page of instructions.
|
|
On order is a pair of USB to CAT-5 LAN
adapters which should allow making a USB
extension cable over CAT-5 cable.
|
|
Also on order is a 100 foot CAT-5 LAN cable.
|
For $50 you can have your
own USB seismometer connected to the internet.
The sensor contains a 3-axis MEMS accelerometer and a USB
interface.
http://www.youtube.com/user/QuakeCatcherNetwork
Sensor
ONavi B 16 bit.
The QCNLive display of the 3 sensor outputs does auto scale,
so there should be some benefit from mounting the sensor
away from the house.
USB-CAT5 adapters & 100" CAT5 cable
This does not work. Why? Ans: handshake timing limits
cable length. But, an active USB extension cable does
work and these could be cascaded.
Questions:
1. can the USB cable be extended say 100 feet to allow sensor
location far from the house?
2. does the software contain a circular memory so that the
data can be uploaded at a later time if there's a network
problem in real time?
3. Is there any intelligence in the sensor, i.e. a micro
controller?
4. Is there provision for adding different sensors, like those
on this page? Yes & No. There's a list of supported
sensors, but they are all USB based. There's not
provision for a 2-wire input type sensor like the
Hilger-Watts.
Software
There are three programs that need to be downloaded and
installed (Instructions)
Select “Add Project” (Lower Right).
Select “Next”.
Under “Project URL” type the following:
qcn.stanford.edu/sensor
USB driver for the specific sensor you have
QCNLive - program running on your computer
File\Local Settings - Lat, Lon, Ele, etc.
Windows Firewall needs to have Boinc added as an exception.
Earthquakes
Earthquake 25 Sep 2012 8:15 am Ukiah
The electronic equipment was swaying North-South and it
almost fell over.
Very strong shaking.
USGS
web page. M4.5