Gravity Meters
Brooke Clarke 2008 -2023
Background
Patents
Historical
Mass
& Spring
Falling
Object
Super Conducting
Other
Related
Links
Background
Measuring the strength of the gravity filed is historically closely
related to pendulum clocks and seismic
sensors. The period of a stationary pendulum (Wiki) is
related to the distance from the pivot to the center of mass and to
the restoring force of gravity. So one way to measure gravity
is to measure the period of a pendulum of known length. The
weight shown on a scale (Wiki)
(but not a balance Wiki)
depends the value of local gravity so that's another method of
measuring it, hence there's a relationship to spring and mass seismometers.
Also see the Pendulum page since many
of those patents are for measuring gravity.
Patents
Historical
1565596 Signal System, H.C. Shook (WE), Dec 15, 1925, 250/231.1
250/232 324/75 368/46 73/382R 968/463
A clock pendulum breaks a light
beam to generate regular electrical signals.
Not a gravity meter, although it would be sensitive to gravity.
1579273
Apparatus for the Measurement of the Variations in the Force of
Gravity, F.E. Wright (Carnegie Inst), Apr 6 1926, 73/382R 267/149
Spring & Mass
1613814 Gravity Meter, W.C. Wright, Jan 11 1927, - leterally a
mass hung from a spring, 0 to 1 G
Mass & Spring
La Coste (Wiki)
& Romberg (La Coste's professor)
Intended to explore for oil. The early patents were
assigned to Texas Instruments.
2293437
Force Measuring
Device, Lucien J.B. La Coste, Aug 18 1942,
73/382R
Prior to this the longest period was on the order of
4.4 seconds, but the La Coste gravity meter has a period of 44
seconds and since the displacement of a pendulum is proportional
to the period squared this meter is 100 times more sensitive
than prior meters. Was the first to make use of zero and
negative unstressed length spring. Because of
manufacturing tolerances a negative unstressed length spring is
would then some length of straight wire is added to bring it's
unstressed length to exactly zero.
2377889 Force Measuring Instrument, Lucien J.B. La Coste,
Jun 12 1945,
73/382R
This is the patent that introduced
the "Zero Length Spring"
2589709 Force Measuring Device, Lucien J.B. La Coste, Mar 18 1952,
73/382R
Calls:
1350705 Apparatus for Recording on Indica the Movements of a Mass,
Athol Clarke, Aug 24 1920 - not gravity
1921983 Follow-up device for Gyro Compasses, Wittkuhns Aug 8 1933
1930945 Navigating Apparatus and Method, Sjostrand Oct 17 1933
2253472 Apparatus for Submarine Geophysical Prospecting, Pepper
(Guld R&D), Aug 19 1941
2362135 Leveling Device for Gravity Meters, James Nov 7 1944
2367126 Gravimeter Null Indicator, P.H. James Jan 9 1945
2589710 Force Measuring Device,
Lucien J.B. La Coste, Mar 18 1952,
73/382R for use on ship
with sensor on sea floor.
2899826 Leveling Means for Gravity Meters or the Like, Lucien J.B.
La Coste (La Coste & Romberg), Aug 18 1959,
2930138 Leveling Device for Indicating Units, Lucien J.B. La Coste
(La Coste & Romberg), Mar 29 1960,
2964948
Force Measuring Apparatus, Lucien J.B. La Coste (La Coste &
Romberg), Dec 20 1960,
2977799
Force Measuring Apparatus, Lucien J.B. La Coste (La Coste &
Romberg), Apr 4 1961, for use in a submarine
3474672
Stabilized Platform for Gravimeter, Lucien J.B. La Coste... (La
Coste & Romberg), Oct 28 1969, for use with 2977799
North American Geophysical Co
2487695 Electric Heating Element, R.T. Cloud (North American
Geophysical Co), Nov 1949, - for gravimeter
2523075 Gravimeter, R.C. Sweet (North American Geophysical Co),
Sep 19 1950,
73/382R
2544587 Component Resolver for Mapping, R.T. Cloud (North American
Geophysical Co),
2598355 Pendulum Compensated Surveying Instrument, R.T. Cloud
(North American Geophysical Co), May 27 1952,
33/333 ;
33/345; 33/775; 74/5.46
2614432 Gravity Meter, R.T. Cloud (North American Geophysical Co),
Oct 21 1952,
73/382R - mass and spring
Calls:
1796150 Gravity Determining Device, R. Hamer, Mar 10 1931,
73/382R
; 340/870.16; 361/280; 367/14; 73/DIG.11- mass changes
capactance
2180175 Method and Apparatus for Measuring Small Changes in
Length, J. Siverstsen, Nov 14 1939,
2240849 Band-pass Filter, Lubeke, May 1941
2306137 Stress Determining Device, Pabst, Dec 1942, - vibrating
wires under tension
2316915 Apparatus for Amplifying and Measuring Small
Displacements, Truman, Apr 1943, - spring & mass gravity
meter with tube amplification
2322681 Condenser Gravity Meter, H.M. Zenor (Std Oil), Jun 1943,
- spring and mass changed condenser value
2435231 Acceleration Pickup, A.E. McPherson, Feb 3 1948, -
mass in the form of a rod
supported by wires which are connected in a bridge so any
strain unbalances bridge.
2525587 Spring Microbalance, Cahn, Oct 1950, - springs are also
inductors in the tank of an oscillator
2659985 Method of and Apparatus for Pendulum Compensating, R.T.
Cloud (North American Geophysical Co), Nov 1953,
2665499 Pendulum and Acceleration Compensation Device, R.T. Cloud
(North American Geophysical Co),
2681568 Maritime Mapping Means, R.T. Cloud (North American
Geophysical Co), Jun 22 1954,
73/178R ; 73/184 -
navigation, not gravity
TI
2674887
Gravity Meter, Samuel P. Worden (TI), Apr 13 1954,
73/382R
Thermos bottle and thermal compensation.
2738676
Large Range Gravity Sensitive Instrument, Samuel P. Worden (TI),
Mar 20 1956,
73/382R
Points out the prior gravitymeters must be used
locally, that's to say they provide high sensitivity but not an
absolute measurement
2732718
Gravity Meter, Boyd Cornelison (TI), Jan 31 1956,
73/382R
3035771 Apparatus for Simulating Geophysical Phenomena,
John A. F. Gerrard, May 22, 1962,
703/5 ; 702/2
3052125 Temperature-Controlled Gravity Meter Assembly, John B.
Damrel (TI), Sep 4, 1962,
73/382R ; 219/201
3194075 Apparatus for Measuring Gravity at Sea, Paul V. Hodge
(TI), Jul 13 1965,
73/382R
3245263, Gravity Meter Suspension System, Boyd Cornelison (TI),
Apr 12 1966,
73/383
3495460 Pull Pulse Restoring Force Generation for Gravity
Meter, Philip W. Ward (TI), Feb 17 1970,
73/382R
3505873 Material Flow Gravity Meter, Boyd Cornelison (TI), Apr 14
1970,
73/382R ; 368/93
Falling Object
1636234
Educational Apparatus, P.E. Klopsteg (Central Scientific), Jly 19
1927, 434/302 292/17 73/12.02 73/12.05 73/382R
Projectile captured by ballistic
pendulum, and later allowed to be shot and fall on the floor.
2137963
Gravimeter,
Carl
A Heiland, Heilalnd Res Corp, 1938-11-22, 73/382R;
346/107.1; 346/7; 346/38; 346/33A - various methods of recording
a number of points on falling object.
3429184
Gravity Meter, J.T. Russell (AEC), Feb 25 1969, 73/382R ; 359/529;
359/577 - retro reflector falling in vacuum, interference fringes
This may be the first modern
falling object gravity meter.
Calls:
3302027 Interferometric Method and Apparatus for Modulation and
Control of Light, D.L. Fried, et al (N. Amer Aviation), Jan 31
1967
6772630
Micro-distance toss-up type absolute gravimeter, Akito Araya (Univ
of Tokyo), Aug 10 2004, 73/382R
Super Conducting
The GWR
is used for the Apache
Point Observatory Lunar Laser-ranging Operation system to
cancel the Earth's tide motion of the telescope.
3449956 Force measuring instrument, Goodkind
John M, Prothero
William A, Jun 17, 1969, 73/382.00R, 73/514.18
5204568 Superconducting bearing
for borehole and survey gravimeters, Robert
L. Kleinberg, Douglas
D. Griffin, Richard
J. Warburton, Gwr
Instruments, Apr 20, 1993, 310/90.5, 33/366.11, 324/346, 73/382.00R
-
Other

|
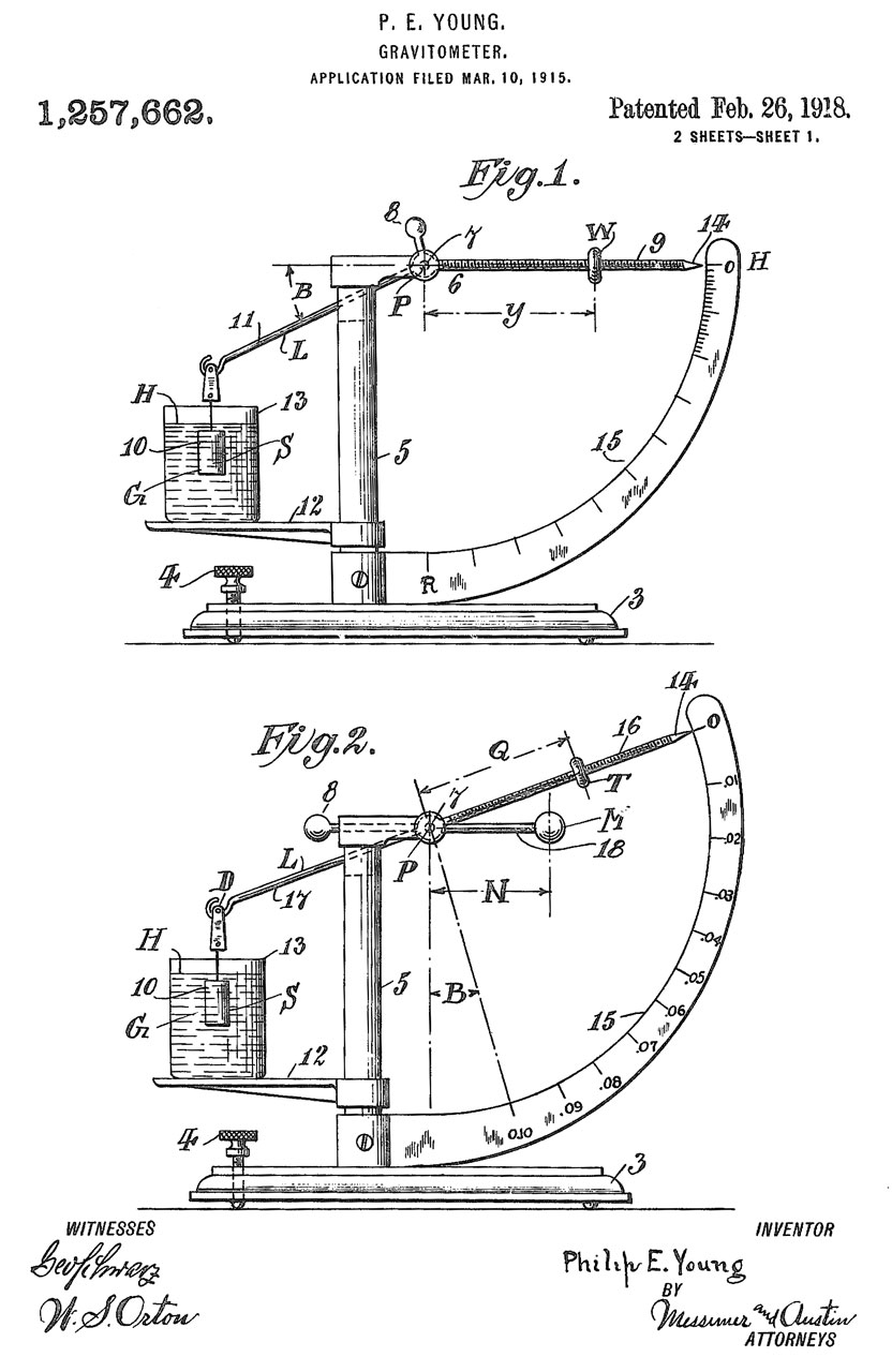
1257662
Gravitometer, Philip E Young,
1918-02-26 - Not for Earth's gravity, but rather specific
gravity of liquids
|
1792013
Apparatus for determining the force of gravity at sea, Harvey
C Hayes, 1931-02-10, - two oscillating wheels suspended by a
torsion filament.
1995305
Method and apparatus for determining the force of gravity, Hayes Harvey C, Mar 26, 1935, 73/382.00R, 340/870.3, 73/514.29, 331/157, 367/180, 331/156, 331/155
- referenced
by 27 patents. Tension in vibrating wire are caused by
gravity acting on weight. The resulting frequency is
measured.
2303845
Apparatus for the measurement of gravity, Krasnow
Shelley, 1942-12-01, 73/382R - quartz
pendulum coated for electrostatic bias - claims a part in a
million accuracy. Shelly is one of the inventors of the Type MC-1
pocket compass.
3062051
Portable Gravimeter, Slater et al (North American Aviation), Nov
1962, - balances Eddy currents against gravity using servo motors
3073165
Gravimeter, Slater et al (North American Aviation), Jan 1963 -
gyro-pendulum
3731537
Gravity Gradiometer, M.B. Trageser (MIT), May 8 1973, 73/382R
; 702/2
neutrally buoyant float
3803916
Direct Measurement of the Earth's Vertical Deflection using Ship's
Inertial Navigation System, Dematteo et al (Navy), Apr 16 1974, 73/382R
Comparing Inertial Nav System with LORAN, HIRAN, GPS
etc.
Related
Altimeters
& Barometers
Astromony
Seismometers
Stellar Time
Keeping
Time &
Frequency - Test Equipment
Links
Brooke's, PRC68, Index of Web Pages, Sensors, Personal
Home Page
[an error occurred while processing this directive] - page created 11
Dec 2008.