Astronomy

© Brooke Clarke 2000 -2024



Visual Astronomy - Binoculars - Organizations - Publications - Vendors - Images - Home Pages -
Orientation Sensors - What star is that, or where is object ____?
Satellite Watching - Amateur - Military - Tracking Software - Listening to Satellite Radio Signals -
Binoculars - separate web page
CCD - separate web page
My Ideal Telescopecope - separate web page
Tellurian
Questar
Radio Astronomy- Classical Radio Observing - Meteors - SETI -
Time -
Wobble of the Earth & Ukiah, CA -
Is Science Wrong?
UFOs - New Info Jan 2014 - New UFO Information April 2014 - Pentagon UFO Info March 2020 - Sep 2021 UFO Idea - Feb 2023 Chinese Balloon - Americans for Safe Aerospace - AARO
Google - Directory - Science - Astronomy - Amateur-
Takahashi FS-60CB
Advanced Technology

Visual Astronomy

I have a Celestron 8" telescope with a tripod equatorial mount and some accessories.  It takes quite a while to get proper polar alignment, but once you do it is very easy to point it at any object for which you know the declination and right ascension.  Although the newer digital setting circles will work without polar alignment, there is image rotation that limits the exposure time for astrophotraghpy.  I have seen image de-rotators that fix this problem, but still piggyback astrophotography needs the equatorial mount, that's why I have included a web reference for Astro Pier, to make it easier to use the equatorial mount.

Depending on what you are doing there are different ways to look at the night sky: your eyes, binoculars, telescope or scope with CCD and starting in 2001 or 2002 using a very sensitive TV camera.

What  you can see

There is a world of difference between what  you can see with your eye's and what can be seen using photography.

Your eyes and brain can see details that are very difficult to capture using photography because the "seeing" (Wiki) will degrade the photograph.  The larger the telescope objective the poorer the details captured in a photograph whereas for objectives below 12" this is less of a problem.

A photograph can see faint objects that your eye can never see.  The larger the objective the better for photographing faint objects.  You will see colorful photos of clusters, nebula, &Etc that you can never see with your eyes.

Determining Brightness using the Magnitude System -

Estimating Limiting Magnitude - using star counting

As a rough guide a decent 50mm pair of binoculars will take you from the naked eye limit of around mag. +6, to about mag. +10 (in suitable skies).
A six or eight inch reflector telescope will stretch this further to around mag. +14.   "...Magnitude +1 stars are defined as being exactly 100 times brighter than magnitude +6 stars.  At one extreme, the bright Sun is magnitude -27. At the other extreme, some of the faintest observed stars are about magnitude +24. The full moon is magnitude -12.5. Sirius, the brightest star in the nighttime sky, is magnitude -1.5, while the faintest stars visible to the naked eye under good conditions are about magnitude +6." (from Introduction to Visual Satellite Observing )  Satellites are about -0.2 to 11.8 in magnitude.

"all about Telescopes" by Sam Brown (Edmond Scientific) 1979 - Telescope Performance - Star Mag, Resolution, vs. Obj Dia. Table of image dia.  These figures are based on what the human eye can see, not on what can be done using a CCD or TV camera as the imaging device.

Organizations

American Astronomical Society -  is the major professional organization for astronomers and other scientists and individuals interested in astronomy.
American Astronomy Clubs - also other countries
American Association of Variable Star Observers (AAVSO) -
American Association of Amateur Astronomers - Constellation  page with M objects, large links page & much much more
Astronomical Calculations for the Amateur -
Astronomical Society of The Pacific  -
Australian Skeptics - Links -
Bradford Robotic Telescope-  http://www.telescope.org/ - Has enough smarts to work without any human interaction - has it's own weather station - other automated socpes
British Astronomical Association -
Continous Camera Net (concam)- Fisheye lens on from Dusk till dawn with archive of images
Dutch Occultation Association - mostly Lunar, with software
Educational Observatory by Sam Wormley
Exploratorium - Astronomy -
FAQ: Searching for an astronomy club near you -
Gamma Ray Bursters by Greg Goebel - Greg Goebel's Vectors -
Global Network of Astronomical Telescopes (GNAT) -http://www.gnat.org - These folks are interested in creating a network of identical (thus easily group-maintained) small automated telescopes - Standardized Design Parameters for a NGT One Meter Telescope -1/2 meter by  SciTech Astronomical Research http://www.foothill.net/%7Estar/ - 1 meter GNAT -
Grove Creek Observatory -
Hanna City Robotic Observatory - Details on how Jerry Gunn built this Obs
High Degree Helioseismology Network - Global Oscillation Network Group -
International Astronomical Union - THE astro org
International Dark-Sky Association (IDA) - Information on cutting down light polution - data on good and bad fixtures - General Links -
International Meteor Organization -
International Occultation Timing Association - Master Index and Information Site for Lunar Occultations & Grazes IOTA - IOTA Member Site -
Center for High Angular Resolution Astronomy -
JPL - Space Calendar -
Leonid meteors - images
Millstone Hill Observatory - Optical Facility -
Motorize Your Telescope: altazimuth and equatorial mounts...by Mel Bartels - nice page with parts and a lot of links
Mount Wilson Observatory -24/7 Web Cam on 150' Solar tower updates each 4 minutes
NASA - Sky View virtual multi wavelength telescope (gamma ray, hard X-ray, soft X-ray, EUV, UV, Optical, IR, Radio)
National Space Society - for manned missions
News Groups: Go To  sci.astro.amateur & sci.astro.ccd-imaging & sci.astro.research
North American Small Telescope Cooperative - The purpose of NASTeC is to bring to the attention of the general astronomical community the distribution and availability of small-to-intermediate size research telescopes and associated equipment through a voluntary information listing
Planetary Society - for robotic missions
NTO Nuevas Technology Observacionales- WhatUSee - Java Field Of View calculator
Society for Popular Astronomy - English Astro club
Old Royal Observatory and Planetarium -Royal Astronomical Society - Closing 31 Oct. 1998
Home Page of Paul Schlyter - precision positions of the planets & Photometry/radiometry and astronomy -
Pocono Mountain Optics - Star Bound Viewing Chair & carries a large number of product lines
Rigel - U of Iowa & Torus - done 2002, 14.5" turn key automated scope including the dome @AT&WB w/extensive description
Robert Ferguson Observatory - Sonoma County, CA
Role of Small Telescopes in Modern Astronomy - I think small means <= 1 meter
Sloan Digital Sky Survey - around Sep 200 check at Microsoft for their SkyServer data base
Society For Amateur Scientists -
Stanford - Stanford Astronomical Society
Stellafane - major exibition
The Astronomical Unit by Stephen Tonkin - FAQ, and a lot of general astronomy info + 5" scope web ring
Univ California Berkeley Astronomy Department -
Univ. of Tokyo - Cosmology -
USNO -
 

Publications

Amateur Astronomy Magazine -
AstroLinks - organized links
Astronomy & Astrophotography by Gary Holland - http://astro-photo@nightsky.com/
Astronomy Magazine -
Astronomy Net - just starting 8/8/99
Astronomy Now - in the UK just starting 8/8/99
Astrophotography for the Amateur by Michael A. Covington  Mostly film but some CCD information, includes AZ-EL field rotation calcs
Approximate Astronomical Positions -
Bad Astronomy - many examples from TV, movies, news, etc.
Cameras for Astrophotography - discussion of features and a list of bodies
CCD Astronomy - part of S&T stopped publication but has web articles - Charge Coupled Device (TV camera) Astronomy
Dave's Astronomy Magazine - mount reviews
FAQ Buying a Telescope - s.a.a FAQ
Florida Today - Space -
History of Astronomy - at Univ of Bonn
LiveSky.com - many links
NASA.ftp ftp://adc.gsfc.nasa.gov/ - NGC2000 ftp://adc.gsfc.nasa.gov/pub/adc/archives/catalogs/7/7118/ - BSC5P - Bright Star Catalog
Sky & Telescope- Excellent magazine & web page
Sky Publications - a number of on line articles of general interest - Deep-Sky Planner  -
Star Gazer - TV show
Sun Gun by Bruce Hegerberg - PVC pipe based lolar viewing
Telescope Review Web Site by Ed Ting
William Bell - Publishers & Booksellers

Vendors

Advanced Telescope Systems - Portable and fixed piers and related accessories
Aeroquest Machining - Worm gears - focuser-guider - knife edge focus
Agilent - E1710A Angle encoder - 0.0033 arc seconds resolution & they have a 360 deg scale
Aim Controls (formerly Quadrent Engineering Inc) -
Anssen Technologies - Mounts - drive controllers
AOKswiss · Astrooptics Kohler - Swiss dealer - WAM series of mounts to 100 kg scope weight
Apogee Instruments, Inc.  - CCD cameras
APM Markus Ludes - Intes and other scope distributor in Germany
Ash Manufacturing Company  - observatory domes and tracking instrument shelters.
Astro Arts - Image Processing Software - Many well arranged links to Sites in Japan -
Astro Domes - 3,4.5 & 6 meter dia spherical domes
Astro Optik - Cassegrains und RC-Systeme -
Astro-Physics - Model 1200 GOTO mount - at Company Seven -
Astro Pier - Fixed mounting for telescopes - I need to find a location here in the woods first
Astro Works Corporation - high end amateur scopes - Centurion 18" F/2.8
Astrolite-LED flashlight
Astromart - classifieds, auction, surplus, etc.
Astrometric Instruments, Inc. - Telescope Control Systems - GOTO for Losmandy G11
Astronomy Mall -
Astronomy Net - forums, classifieds, ect.
Astronomy Software - one line comment on many many programs
AstroSystems - TeleKit Truss Tube Alt-Azimuth -
AWR Technology -Intelligent Handset Drive System - Timekeeping Products -
Axiom Research, Inc. - MIRA 5.0 image processing software
Beacon Hill Telescopes -http://www.beaconhilltelescopes.mcmail.com/ Worm and Wheel Sets -3.5" to 14"
B & K Products - focusig attachment for OM-1 camera
Byers, Edward - retired - worm gears - Patents -
US05327062 07/05/1994 Precision drive assembly for telescopes and other instruments
US04671130 06/09/1987 Drive assembly for astronomical telescope
US04541294 09/17/1985 Drive assembly for an astronomical telescope
US04400066 08/23/1983 Mounting and precision drive system for astronomical telescope, and the like
Celestron - major scope & bino manufacturer - Fastar system (replace secondary mirror with SBIG St237 CCD camera, no other works as well)
Clear Night Products  - Portable observatories
COAA Telescope Controller - for Vixen Super-Polaris, Grand-Polaris, or similar German equatorial mount
Company Seven - Telescopes - Accessories -
COMSOFT - software products, a control system called PC-TCS™ for equatorial mounted telescopes and SATPRO™ - an earth orbiting satellite tracking program which can be used in conjunction with PC-TCS™ to accurately track earth orbiting targets.
Cookbook CCD Camera Home Page - info on building & using your own CCD camera
Ceravolo Optical Systems - Dual Configuration Astrograph
Clear Night Products - TeleDome - dew caps
Cutler of New England - replica antique
Dark Site Domes - 800 526-3887
Day Star Filters - high end solar filters
DC-3 Dreams - LX-200 Astronomer's Control Panel - "hub" software to combine scope control, star map, nights targets, etc.
DG Optical - 6490 Lemon Street, E. Petersburg, PA 17520, Tel: (717) 560-1519 Fax: (717) 581-9015
Deepsky 2000 - Observation planning software
Denver Observer's Seat -  on line plans Google plans & modifications
Deutsche Optik - new and historical optics from the world's finest optical houses
DFM Engineering, Inc.  - computer controlled astronomical telescopes and instruments.
DGM Optics - Innovative off-axis Newtonians
Eagle Optics - dealer
Edmund Scientific Company -
EOS Technologies, Inc. - EOST  -  .75m to 2m telescopes for astronomy, satellite laser ranging an optical  communication.
Europtik, Ltd. - P.O. Box 319, Dunmore, PA 18509, Tel: (717) 347-6049 Fax: (717) 969-4330
Excelsior Optics - 10" Newtonian OTA
F.C. Meichsner Company - dealer but frames web page with many broken links
Front Gate - German-engineered Stool provides posture-perfect comfort for ironing -
Gemini - G41 Mount with about 3" PE (without using any PEC)!
Guan Sheng Optical Co., Ltd.  - telescope manufacturer in Taiwan
Halfmann Teleskoptechnik  - 0.3 meter and up systems
Hands on Optics - dealer
Helios 1  is a 70mm scope with dedicated H-alpha filter by Coronado Instruments
International Optics Ltd. -
Internet Telescope Exchange (ITE) -ZEOS Off-Axis Parabolic Reflector Telescope Systems -
INTES Mk-67 - Russian  6" to 9" Maksutov  Cassegrain
Jim's Mobile, Inc. (JMI) -Manufacturing Advanced Telescope Products Next Generation Computer (DSC kits) & laptop star display SGT (BBox) NGT-12.5" and NGT-18" f4.5 equatorial Newtonian
JML Optical Industries, Inc.- multi element lens systems, shutters, simple lens, mirror, test targets, etc.
Laser Collimator by Howie Glatter
Lasermax, Inc. - collimators
Land,Sea & Sky Inc.- Takahashi & binocs - including the BRC-250 (Baker Ritchie-Chretien) - BRC-250@ATWB (nice photos)
Lichtenknecker Optics N.V. - VAF 150/1050 Apochromatic Refractor - @ AOK -
Losmandy - -G-11 Mount,  Digital Setting Circles User's Manual - G-11 Tuning - GoTo G-11 -
Lumicon - hypered film and astrophotography supplies & more
MaestroniX, Inc.  -Eureka 2001  telescope control (418) 681-6567 Ste-Foy, Quebec G1N 4L6 http://www.maestronix.com/
Mag 1 Instruments - PortaBall Telescopes
mailing lists for physics and astronomy -
Meade - LX200 computerized scope that works with some sat tracking software
Meteorites, Inc. -
Meade Advanced Products Users Group (MAPUG.com) - Milburn Wedge & Mounting Rings - for Meade LX-200 scopes
Minor Planet Observer - scripting language for LX200 & ST7/8
Monoptec  - Fixed Shutter Dome - Electro Optic Systems Pty Limited makes small windowed domes
MURNAGHAN Instruments Corp.- Flip Mirror, Coulter Optical dobs, CCD filters and accesories
Micro-Guider III - A Telescope to Computer Interface Device You Can Build BBox encoders to RS-232
Mountain Instruments - Mathis MI-250 German Mount -
Nelson Devices http://www.nelsondevices.com/ - Quick  Connect device for Meade and Celestron
Nova Astronomics - Micro-Guider a telescope to computer interface & Earth Centered Universe software
Nova Optical Systems @ Astronomy Mall - mirrors
Novosibirsk Instrument-Making Plant - Russian TAL 2.5" to 8" Telescopes, Binocs, Night Vision
ObservaDome Laboratories, Inc. - Observatory Domes, Missile Tracking, and Laser Ranging Shelters.
Obsession Telescope - Premium open truss Dobsonians
Ocean Optics - Fiber Optic Spectrometers - S2000 High-sensitivity Fiber Optic Spectrometer used in the Rigel project at U of Iowa
O'Neil Photo & Optical Inc.
Optical Guidance Systems -telescopes &  mounts
Orion Telescopes & Binoculars - Watsonville, Cupertino & S.F. stores + on line catalog
Ouranos instrument- A low price PC-to-telescope interface - has BBox protocal commands table
Parallax Instruments - Makers of Astronomical Telescopes and Equatorial Mountings - Parallax's Astro-Physics GTO computer drive system -
Parks Co. -
Photon Instrument, Ltd. - repair, restore, modernize, computerize, modify etc.
Pocono - Star Bound Viewing Chair - Fujinon binocs -
QSP Optical Technology Inc. - coatings and mirror cleaning instructions
Quadrant Engineering, Inc. QEI - controlers for mounts - Worm gears @ 10.1" to 25.24" dia -> now Aim Controls -
Questar - a classical small scope  (See below)
Rigel Systems -  LED based accessories
Santa Barbara Instrument Group -  CCD cameras & supplies
San Diego State - profesional CCD system integrator -
SCS Astro - UK dealer
SkyComm Engineering  - Digital Setting Circles
Sky Engineering - Sky Commander Digital Setting Circle
SkyMap Software Home Page - includes free demo version - driver for the buggie N5
Sky Scout - 4 fingers point to start to help you find them?
SkyTent - 10' dia portable tent with rotating dome- good reviews see Aug 2000 Astronomy mag
Sky-View 360 -http://www.woodyinc.com/skyview.html - 10' dia x 10' high Observatory
Software Bisque - GT-1000 mount & software
Sovietshi Collection - Giant 15 x 110 Border Guard Observation Binoculars -
Soft-Tec Systems - http://www.soft-tec.com/skyprobe/ - Sky Probe 1000 adds motors and software to existing mount GM-8 & GM-11 Kits
Space Media Store - astronomy software
S.T.A.N.O. Components Inc.  - night vision & other military optical
Stargazer Steve - small reflectors
Starlight Express - CCD cameras
Star Instruments - Ritchey-Chretien and Classical Cassegrain optics from 10 to 40 inch
StarMaster Telescopes by Rick Singmaster -
Starsplitter Telescopes - High-quality Newtonians and Dobsonians
StarStep Observing Chair - $99
Stellar Products - Adaptive Optics
Stellarvue - short tube scopes
Shutan - discount house telescopes, cameras, binoculars, etc.
Takahashi - @ Land,Sea & Sky - ATWB - Optical Guidance Systems - Dealer in Japan w/table of model # -yr
Tangent Instruments, 1691 Spinnaker Drive, Suite 202, Ventura, CA 93001 (805)642-3136 contact: Rick McWilliams. Tangent is reported to manufacture the Astro master for Celestron, the LumiconSky Vector and Orion's Sky Wizard. Mountain Instruments Star Pilot. NGC-MAX & Losmandy DSC's - Although it isn't widely known, they will sell to the rest of us.
Sunshine Design Engineering Services - Astronomy Calculator for Windows
TMB Optical - APO scopes & lens , mono eye eyepieces
Taurus Technologies - flip mirror system
TECH2000 -  2-axis Dob system
Technical Innovations, Inc. - Robo-Dome is a small dome for computerized scopes, Home-Dome & Pro-Dome
Tectron Telescopes -
Tele Vue Optics -  now links to Astronomy Mall - Choosing Your Telescope's Magnification -
4747675 Ultra wide-angle eyepiece - 04747675
4400065 Multi-purpose telescope

Telescope Engineering Company - Telescopes & optical materials
Thousand Oaks Optical - filters
Tianjin Nitsu Optical Products Co., Ltd. - China
Torus Technologies - $ 75k to $ 1,200 k (0.4 to 1.2 meter automated scopes)
Tradewinds Co. - Darksite Dome
Tpoint Software  - TPOINT analyses pointing observations to discover and measure misalignments and flexures, which the telescope's control system can then allow for.
Tuthill, Inc. - accessories
Unitron, Inc. - telescopes, microscopes, binoculars
U.S. Digital Corporation - practical motion control components such as absolute optical encoders, incremental optical encoders,  inclinometers, tilt sensors, standard & custom encoder disks, displays, qudrature  decoder IC's, zero-speed switches, PC-interfaces, standard & custom software, and  many other motion control products
Van Slyke Engineering - Multi-Imaging Portals, Bifilar Micrometers with Illuminated Reticles
Vernonscope Co. -
Vixen - makes scopes & binocs, many are relabled for resellers - Improving the CG-5 Equatorial Mount -
Costruzioni Ottiche Zen, S. Polo 1871/A, 30100 VENEZIA - Italy: manufacturer of Baker-Schmidt optics, +39 041 722162   (his home/lab in Venice), +39 0437 521117  (his second home/lab near Belluno -- he's there now), +39 328 2170608  (his cell phone)
 

Images

Steve Massey's - Astro Images ... Moon -
Fourmilab - Earth & Moon Viewer -
Google Maps (has satellite imagery and/or overlaid maps) - Google Earth (has aerial survey high quality color images) Fantastic application that runs on your computer.

Home Pages

Astro-Nuts Homepage (The Astronomy Beginner's Help Site) -
Astro Tips - links to astro software
Astrophotography Tips By Chris Vedeler
Amateur Radial Velocity Studies - looking for planets outside the Solar system
Amateur Telescope Making - Observatory Plans  -
Amateur Astronomical Observatories -
At Home in a Dome -
Better Barn Door - for use with a 35 m camera - see Electronics Now Nov 99 Q&A pg 9 for circuit to cause stepper to turn at 1 RPM
Copy Scope - Copyscope Page - How to Build a Copyscope - copy machine lens based telescope
Dan Stixrud - "Canned Mouse" Encoder page
Deep Space 99 Observatory - Dec bearing replacement on 12" Meade LX-200 & info on TPoint software
Getting the most out of your C-8 -
Make Your Own Digital Setting Circles for Your Astronomical Telescope by David Ek
Mel Bartels - Motorize Your Telescope: altazimuth and equatorial mounts -
Mike Boschat's Astronomy Page - massive list of links
Nite Lite  by Robert D. Webb
Occultation Resources  - including the use of GPS
Portable Astronomy Copyscope -
Purchasing Amateur Telescopes FAQ
Ron Wodaski's Astronomy Stuff - CCD tips 7 tricks - book cahpter
Stargazer's Pub - links
Simple Astrophotography - A Guide to doing On-Tripod Astrophotography by Todd Carlson

Sun

Ceolostat Designs - a ceolostat is a two mirror system that projects an image of the Sun either horizontally or vertically in such a way that the image does not rotate.  Similar in concept to an equatorialy aligned telescope as compared to an eleva
The Spectrohelioscope Network -
eyes-on-the-skies - a Robotic Solar telescope
DFM - Optical Systems - We define a:
Siderostat as an altitude over azimuth (Alt-AZ) gimbal mounting a single optical flat mirror.
Heliostat as an equatorial mounted optical flat mirror that directs light along the polar axis either upward or downward.
Lunastat may take either configuration.
Ceoleostat is typically a siderostat, but again the word is poorly defined.
Beam director can take the form of a siderostat, or a Coude' telescope of Alt-AZ, Alt-Alt, or equatorial configuration.

Orientation Sensors

For static applications (i.e. not in a moving vehicle) by using a compass you can determine the azimuth to a distant object.  When an inclination measurement is added you can find objects in the sky if you know where you are and what time it is.  You can get the latter two pieces of information from GPS.   When an orientation sensor is being hand held it probably will not be level and so the compass needs to work on 3 axis and be corrected by the "down" direction, which requires at least a dual axis inclinometer (or better 3 axis).  When all these are combined with a micro controller you get a star finder type product.

SkyScout

Gets better reviews than mySKY.  Orion no longer offers the laser pointer bracket (it was clunky) and has it on sale (July 2009).
Made by Celestron (Torrance, CA 90503) Invented by Yamcon (2007 address = Rancho Santa Margarita, CA 92688)
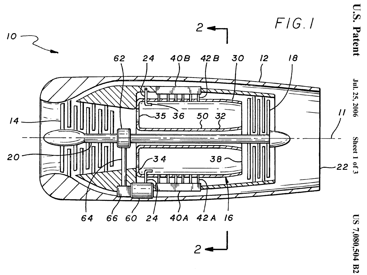
Patents
7155833 Viewing and display apparatus position determination algorithms, Lemp, III; Michael (Irvine, CA), Yamcon, Inc. (Rancho Santa Margarita, CA), January 2, 2007, 33/268 ; 33/355R; 33/366.11; 340/815.4; 434/284

7010862 Viewing and display apparatus position determination algorithms, Lemp, III; Michael (Irvine, CA), Yamcon, Inc. (Irvine, CA), March 14, 2006 33/268 ; 33/355R; 33/366.11; 340/815.4; 434/284

6844822 Celestial object location device, Lemp, III; Michael (Aliso Viejo, CA),  Yamcon, Inc. (Aliso Viejo, CA) January 18, 2005, 340/815.4 ; 33/628; 340/999; 701/13; 701/226

6570506 Celestial object location device, Lemp, III; Michael (Aliso Viejo, CA), Yamcon, May 27, 2003, 340/815.4 ; 33/628; 340/907; 340/999; 701/13; 701/226

6366212 Celestial object location device, Lemp; Michael (Aliso Viejo, CA), Yamcon, Inc. (Aliso Viejo, CA), April 2, 2002, 340/815.4 ; 33/268; 340/999; 701/13; 701/226

mySKY

Made by Meade.

There have been a number of reports that the GPS does not get a fix while other GPS receivers at the same location do work.  Also that there's problems with the buttons jamming or falling off the printed circuit board.
Patents
5311203 Viewing and display apparatus, Norton; M. Kent (Los Gatos, CA), May 10, 1994, 345/7 ; 33/355R; 345/8; 434/289

Satellite Watching

While looking up to see the fire falls (they pushed a big pile of burning wood over a water fall in a nightly ceremony) at the Yosemite National Park I noticed a bright light very high up in the sky moving at a speed that was much faster than an airplane at 35,000 feet could fly.  I knew that it was a satellite because I was working with some microwave components destined for military satellites.  I pointed out the satellite and many people were looking at it rather than the fire falls.

It turns out that if you are on a spot on Earth that is dark the Sun is still shining above you around dawn and dusk.  If a big satellite is in the Sun and you are in the dark you can see it without any binoculars or telescopes.  If you are outdoors at dusk, just look up every now and then, and if you pay attention, you will see a half dozen or more satellites every night that the sky is clear.

There are people that are more serious about this that just a look up every now and then.  This includes both the military looking for enemy satellites and amateurs just looking.  See the August '98 issue of Sky & Telescope for articles on computer software to forecast satellite visibility and an article on how to actually image a satellite using a single frame type of video camera and VCR to get around the distortion caused by the atmosphere.

13 Aug. '99 - Spent a few hours looking up with just eyes (about 6 very big shooting stars (6 hand spans long North to South) & dozens of satellites.  Most of the satellites were going either N to S or S to N and all in the same place (like a highway).  Using 9x63 Binos I could search the sky by moving to the adjacent 5 degree Field Of View and as soon as my shaking stopped I could tell if there was a moving sat.  Then moved to another FOV and stopped again.  In this way I could find sats that were too faint to see with just eyes.  I would think that some type of cooled CCD system with just a few seconds of integration time would be able to do this.  More research needed regarding pixel size and focal length.

Important Notice 1999 July 05 -

"Today, 1999 April 05, the following notice appeared on the NASA/GSFC Orbital Information Group (OIG) WWW page:

As the result of a joint request from USSPACCOM, NRO,  Pentagon, and other sources some objects have been removed from the OIG systems. This request was approved by NASA HQ. These objects were removed because they were deemed to be "sensitive satellites".

These 'sensitive' satellites include all operational GPS and DMSP satellites. Since there are no longer any element sets for these satellites available for release to the public, I am no longer able to provide them here and they have been removed from the current lists. I will continue to work to see what can be done to reverse this decision.

As of 1999 June 23, it appears that the Department of Defense has quietly reversed its position on limiting access to GPS element sets. However, there does not appear to be any change regarding DMSP element sets."


Note the GPS satellites broadcast their positions in a public format and that is part of how they work.  There are software routines that convert the data as broadcast from them into classical Two Line Elements (TLE) format that was being withheld.

I think that anyone who reads the links that I have here could build a system that would determine the TLEs for the DMSP sats by just looking at them either with trained eyes or a CCD equipped Meade LX-200 scope and a computer.

Alan Pickup - TLE file.zip -
Amsat -Satellite SummaryKeplerian Elements - Links - Suppliers -
Basics of Space Flight Learners' Workbook - NASA/JPL extensive basic information
Blind Deconvolution for Astronomical and Space-Object Imaging - post processing for debluring patent 5448053
Celestial and Orbital Mechanics - This is what they mean when they say "Rocket Scientist"
Celestron - NexStar 5 - GOTO scope for about $1300! - John's NexStar page - Email archive - photo of Hand Controller PCB -
Computers & Satellites by Dr. T.S. Kelso -
Dave's Military Space Page - information about a number of mil sat systems
Dave's Space Page - non military space
David Cottle's Home Page - orbital data
Decay information - when and where a satellite is expected to burn up
Dragon in Space - Chinese Space Links - reporting in Iriduim launches - unfortunately it's a geocities site with bothersome pop up advertising
Dr TS Kelso from NORAD Celestrak page - GEODSS & other ways that Space is officially  watched - tracking software -
Earth Satellites for Asteroid Hunters - to NEO hunters will not mistake them for NEOs
Edge of Space Sciences - EOSS - Balloon Related Software - Element Manager for Windows -
Element Manager for Windows by Rick von Glahn, NØKKZ -manipulate NASA/NORAD "two line elements" TLEs
FAS Space Policy Project - a huge amount of information compiled by a non government organization
Heavens-Above - enter your location & it tells you when & where to look
High Altitude Satellite Observers Home Page - orbital period greater than 225 minutes (approx. 5900km altitude for a circular orbit)
ISS + Shuttle - hand guided!
GEOS - government site about these geostationary weather satellites
GSOC Satellite Predictions on line - now called Heavens-Above
Gunter's Space Page - Information on Launch vehicles, Satellites, Space Shuttle and Astronautics - USA military satellites launch list -
Home Planet - freeware includes DDE export for telescope pointing - Fourmilab - John Walker's web page
Introduction to Visual Satellite Observing by Jeff Hunt - home page is Visually Observing Earth Satellites -
ISS/Shuttle/Satellite Tracking Software and Links to Keplerian Elements Pages  by Victor Amateur Radio Association (VARA), W2VTM.
NASA - Mission and Spacecraft Library -
Jonathan's Space Report - News of launches
Launch Logs - by year back to 1957 - Jonathan's Space Home Page -
LogSat Professional - prediction and Ham antenna pointing software
Mark Wade's ENCYCLOPEDIA ASTRONAUTICA - Huge reference source
Liftoff's J-Pass Version 1.0 - Java based on line predictor & J-Track Ground Track (both by NASA)
Mike McCants' Home Page - many links - THE TLE files -
Meade - LX200: 7, 8 & 10" -12" - 16" -12" f/2.2 Schmidt Camera - Doc G's Info Site - Sky & Telescope road test -
             Meade has introduced the ETX- a low cost small scope with GOTO capability - Michael L. Weasner's ETX page -
Mission and Spacecraft Library at JPL -

MoonWatch - astronomy clubs in the 1950 - 1960 ear finding satellites
NASA - Worldwide Space Launches - SkyWatch -
New Scientist -publication
OIG - Orbital Information Group see TLE.info
Orbitessera - Elements, Ham Radio, Weather & big satellitie info
Panel Report Reveals Satellite Details -
Photographing Satellites - using film
Ron Dantowitz - Professional viewing of satellites using video camera - C-Sat Satellite Tracking Software for your  

There was a question as to whether the C-sat program actually "tracks" sats, or just positions the LX-200 so that you can see the sat go through the field of view.  The answer is that it only points in a fixed location then the satellite goes through the FOV.  A very expensive mount is required for tracking or imaging satellites.
Russian Ball-head -http://www.photoutfitters.com/sputnik.html  for use between tripod and camera -made for wildlife photography, but should work for sat obs
Salopian Web - Astronomy....  Amateur Radio....  Computing....  Space....
Satellite Encyclopedia - launch date, official identification... and extensive description of the payload.
Satellite Hunting - software uses TLEs to predict sat position
Sattelite Observation by Alec Muffett -
Satellite Observing and Tracking with the Meade LX-200 -
Satellite Passes Over North American Cities -
Satellite Photo Gallery - by you can start to see the shape of the satellite
Satellite Program Homepages - both manned and unmanned
Satellite Situation Report - information to go with the satellite ID number COMSOFT
Satellite Tracking - 16" LX200 in Germany - great ISS photos
Satellite Tracking Web Ring Home Page  -6 sites as of 8 Oct. 99
SATPRO - $60 software by Comsoft
SatSpy for Windows - Windows based prediction software - Links -
SeeSat-L Home Page -(listserver subscribtion info) -does not predict, only what's overhead now (good reviews) -
Small Satellites - GPS -
Software and Data from David H. Ransom, Jr. - focused on observing the Space Station
Sources of Satellite "Two-Line" Orbital Elements (TLEs) -
Space Frontier Foundation - Znamya 2.5 is the world's first controlled global demonstration of space to Earth beamed solar power.
Space, Astronomy, and Other News Sites by Ed Cannon
SkyWatch - get an email when MIR or ISS is about to go over your location
Starshine - The Starshine spacecraft consists of a hollow aluminum sphere, 19 inches (48 centimeters) in diameter, covered with 878 polished aluminum mirrors, each of which is one inch (2.5 centimeters) in diameter. Beginner's Guide On How To Track Starshine - Help Contribute Time and Position Estimates -
Sunsat - Payloads include NASA experiments, Radio Amateur communications, a high resolution imager, precision attitude control, and school experiments

Telescopic Satellite Viewing -
Time magazine - Quick, Hide the Tanks! -
TLE.info - replaced OIG, requires email confirmation to get TLEs
Unofficial GPS Elsets -
Visually Observing Satellites - by Ed Cannon
Visual Satellite Observer's Home Page - Excellent starting place for this topic -Telescopic Satellite Observations - Orbital Elements & Satellite Prediction Programs.
Visual Satellite Observation in Maryland by Don Gardner
Wonderful World of Satellites (A Satellite Primer) -
www.space.com - articles relative to space. The "area 51" section has some strange stuff

Orbit Determination (Search) Software

I am not aware of any amateur software to do this.  Now only done by governments.  My current idea is to use the Takahashi BRC-250 and the Kodak KLI-10203 (3 x 10,203 pixels) CCD.  KLI10203.pdf data sheet, $736 ea. in small qty.  Eval Board 9/99 @ $2500.

Prediction Software

Alphonse POUPLIER - English page - How I Track the Artificial Satellites With My Telescope -
Bester Tracking Systems - Satellite Passes -
Earth Satellite Ephemeris Service - Georgia State univ -
GSOC -> Heavens-Above
LogSat Professional -
Marshall Flight Center's - J-Track 2.5 -
Satellite Hunting -
SatSpy for Windows -
STSPLUS -
Super Secret Projects, Inc. - OrbMaster™ 2.0 -

Tracking Software

Satellite Tracking Software Index -
 Satellite Related Software.
Program
Review
Op Sys
Bird Dog Version 2.0  Kelso Review  DOS
Home Planet Release 3 - only a single sat that you choose from list Kelso Review WIN95, NT
InstantTrack Version 1.00b Kelso Review DOS
LogSat Professional for Windows Version 5.2 Kelso Review WIN3.1
Micro Orbiter Version 3.0 Kelso Review DOS
Nova for Windows 32 Version 2.0j Kelso Review WIN3.1, 95, 98, NT
OrbMaster 2.0 Kelso Review WIN3.x, 95, 98, NT
Pangolin  no scope control

95 98 NT 2k Me XP
PC-Track Version 3.1 Kelso Review DOS
SATPRO  - from Comsoft   DOS
Satellite Tracker - continuous LX-200 tracking by Brent Boshart       supports a lot of scopes
Good usr comts WIN95/98/NT
Satscape - freeware - auto download of keps
WIN95/98/NT4/2000
Sat Spy Version 2.0 Kelso Review WIN3.x, 95, 98, NT
STSPLUS Version 9848 Kelso Review  DOS
TrakSat Version 4.09  Kelso Review DOS
WinOrbit Version 3.4 -freeware Kelso Review WIN3.x, 95
WinTrak Pro Version 4.07 Kelso Review WIN95, NT
C-SAT   V2.0 step track  LX-200 Scope (like SATPRO less features)   DOS
Super Secret Projects, Inc. - OrbMaster™ 2.0
  Marc DiPrinzio, president  <supersecret@pond.com>
  WIN3.1,95,98,NT
CoSaTrak - Computerised Satellite Tracking

Sky Map 6.5


Note: some Astro-Physics GOTO scopes have a command set that's LX-200 compatible

Satellite Tracking Software by TS Kelso

Astro Electronic - FS2 - Steper motor controler

Military

Optical Characteristics of Artificial Satellites

This is the report of a study done by the Space Division of North American Rockwell by studying the reported visual magnitude of observations most of which were done by amateur satellite watchers.  Has theoritical brightness information and some conclusions usch as to determine the size of a rocket body the minimum brightness is the better value to use.
SD 70-55.pdf
It may soon become possible for amateurs to have a system similar to the GEODSS  (Lincoln Labs: The GTS-2) run by the Air Force 18th Space Surveillance Squadron, Maui Optical Station ." The wing also controls and operates optical space tracking systems under the 18 SPSS, Edwards AFB, Calif.  Wiki - List of AF Space Survelliance Squadrons 
The Ground–Based Electro–Optical Deep Space Surveillance system, or GEODSS, is operated by Detachment 1, Socorro, N.M.;
Detachment 2, Diego Garcia, British Indian Ocean Territories;
Detachment    3, Maui, Hawaii; and
Det 4, 18 SPSS at Moron, Spain.
In addition, Detachment 3 also operates the Maui Space Surveillance System, or MSSS. "
Publishes the "Space Observer" with Links to other related sites
In the GEODSS system 1 meter telescopes have replaced the Baker-Nunn cameras (Wiki photo) (Google Baker-Nunn in .mil) (Telescope Fabra ROA Montsec (TFRM) - BNC web pages) -  overview of space surveillance) - list of SAOs Baker-Nunn Camera sites (Wiki).  They are on equatorial mounts and record the sky image on a very large CCD.  After some time the scope comes back to exactly the same RA and DEC and again records the sky.  The two images are subtracted and what's left are non star objects.  The system is designed to find artificial satellites and the data is made available to the JPL NEAT program.  The original GEODSS system was built by TRW and was going to use image orthicon tubes, but CCDs came out before the tubes were installed.  This system was written up in Sky & Telescope in the late 1960s. 
DARPA - Space Surveillance Telescope (SST) -
Popular Science Sep 1982 - Satellite Trackers spot ultra-dim stars too - enter GEODSS and search the issue to find the article.  They use the word "track" a lot but the system has the capability of finding new satellites and determining their orbital parameters.  The description includes the telescope as having a hyperbolic primary mirror, and a flat secondary mirror then a correction lens and finally a three inch vidicon tube.

2458132 Schmidt image former with spherical aberration corrector, James G Baker, Perkin Elmer, 1958-09-22, Pub: 1964-02-18, -
3121605 Tracking and photographic apparatus, Nunn
                  Joseph, Sputnik 1957-10-04 (Wiki), App: 1958-09-22,
                  Pub: 1964-02-18
3121605 Tracking and photographic apparatus, Nunn Joseph, Sputnik 1957-10-04 (Wiki), App: 1958-09-22, Pub: 1964-02-18, -

YouTube:  RAO-BN Corrector Plate rejoin, 6:13 - Rothney Astrophysical Observatory (UoC, YouTube, )

3464116 Four-axis satellite-tracking mount, Kenneth E Kissell, US Air Force, 1969-09-02, -

3506218 Resolution calibration satellite for tracking camera, Kenneth E Kissell, US Air Force, 1970-04-14, -

3614239 Photoelectric space-object position measuring device, Kenneth E Kissell, US Air Force, 1971-10-19, -

3678279 Automatic variable gain optical tracker for space vehicles comprising d-c system for error signal generation, Louis S Macknik, Kenneth E Kissell, US Air Force,1972-07-18, - allows servo tracking satellite that has large variations in brightness.
Overview

The Space Surveillance Telescope (SST) program will develop and demonstrate an advanced ground-based optical system to enable detection and tracking of faint objects in space, while providing rapid, wide-area search capability. A major goal of the SST program is to develop the technology for large curved focal plane array sensors to enable an innovative telescope design that combines high detection sensitivity, short focal length, wide field of view, and rapid step-and-settle to provide orders of magnitude improvements in space surveillance. This capability will enable ground-based detection of un-cued objects in deep space for purposes such as asteroid detection and space defense missions. The Air Force will participate in the DARPA funded developmental testing of SST and then take over operation of SST as a sensor in the Air Force Space Surveillance Network. An MOA has been established with Air Force Space Command for transition at the conclusion of Phase II that is anticipated to be completed in FY 2009."

The Spacewatch program at the Univ. of AZ uses a similar technique looking for Near Earth Objects. NEAR satellite at astroid 433 Eros (launch 17 Feb. 1996, arrives 10 Jan. 1999-rescheduled for mid Feb. 2000).  JPL page for NEAR. First (1998 Dec. 23) Close Up photo. The Lincoln Near Earth Asteroid Research (LINEAR) project.
Quail Hollow Observatory - amateur astroid & NEO watching

Space-Based Visible Program

The MSX satellite has a Visible sensor designed to look for satellites in space.
Technology Demonstrations - describes the unique sensor.

The operation is very similar to the GEODSS system, the SBV stares at a fixed RA-Dec location in space with a 1.4 x 1.4 degree FOV and takes up to 16 frames.  Streaks are detected and stars removed by subtraction.  Some fixed number of stars are retained, maybe a dozen, probably the brightest stars, which are later used to determine the exact RA-Dec if the center of the FOV.  This way only the satellite tracks and reference star locations along with brightness info for each pixel are downloaded, reducing the download by over 1,000 times what would be required if all the info in the 16 frames was downloaded.

The Meade - LX200R f10 computer controlled telescopes now are all of the Ritchey-Chrétien  instead of the older SCT design and come in 8", 10", 12", 14" and 16" objective diameters. The SBIG AO-7 adaptive optics contains a mirror with X & Y tip-tilt to remove any tracking error in the telescope mount.  It works with either the ST-7 or ST-8 CCD cameras with a ROM upgrade.  The ST-7 and ST-8 use  patent  5525793  which covers using a dual CCD.  This could also be used when coming back to a location in the sky to lock onto the exact same spot to make doing the subtraction of the previous image easier.  Still some computer pattern recognition would be needed to be sure that the images were registered.  To get the most from the LX-200 it needs to be on an equatorial mount on a pier in a dome.  The alignment requires a 2X or 3X barlow magnifier for the precision alignment method.

Advanced Electro-Optical System optical telescope - Wiki -
Aerospace Corporation - primary customer is the Space and Missile Systems Center (SMC) of Air Force Materiel Command
Air Force Research Laboratory Starfire Optical Range (SOR) -
Apogee CCD cameras
CASTOR - Molniya satellite orbit determination
CASTOR (new updated web page) -with details of how it's done
COMSOFT - software products, a control system called PC-TCS™ for equatorial mounted telescopes and SATPRO™ - an earth orbiting satellite tracking program which can be used in conjunction with PC-TCS™ to accurately track earth orbiting targets.
CORONA Satellite Photography - declassified photos
DFM Engineering, Inc. - makes high end mounts that use very smooth disks instead of gears
Fundamentals of Remote Sensing Tutorial - Google
Tim Puckett Obs  - nice equipment
Lloyd's satellite constellations -
NASA - Liftoff to space exploration -Spacecraft Tracking -  Satellite Pass Prediction - J-Track 3D shows the sats moving around the turning Earth GREAT!
Maui SSS allows researchers to use facility - news release-
National Space Science Data Center - SPACEWARN Bulletin - information on satellites and space probes 
Crypto Me - Naval Space Command Space Surveillance System - 217 MHz radar fence FAS page on this.   used to generate the Two Line Elements (TLEs) of satellites.

Optical Guidance Systems -
SatPro - Earth Orbiting Satellite Tracking Capabilities using Steward Observatory's 90 and 61 Inch Telescopes -
Software Bisque - a number of nice software products
TerraServer -lets you buy high-resolution satellite images and prints at an extremely low cost.
Vandenburg AFB - Unclassified Launch Schedule - Rawhide Space Page (close to VAFB) -

  Listening to Satellites

I'm putting this information on the astronomy page becasue the Two Line Elements are exactly the same as those used for visual satellite observation.  All active satellites have various radio transmissions, but the majority of man made objects orbiting Earth are quiet in terms of radio transmissions becasue they are space junk.  Most amateur satellite listening is done at UHF, VHF and HF frequencies although there is a lot of downlink in higher bands including  C and X band Television + S-band telemetry.

HearSat.org - HF, VHF and UHF including a TLE list with frequency and modulation type info.
Zarya Technical Area -

Tellurian & Orrery

Came across a patent for a Tellurian while looking for something else.  PS when checking eBay I found a number of Tellurians under $300, but they appear to be artists conceptions, i.e. not at all functional.

A Tellurian (Wiki: Tellurion, aka tellurian, tellurium, loxocosm) is very similar to an Orrery (Wiki) except the Tellurion contains a light source so show shadows on the Earth and Moon and does not contain other planets.
An Orrery (Wiki) does not contain a light source and typically includes the sun, Earth, Moon and the one or more of the planets:  (starting at the Sun) Mercury, Venus, Earth Mars, Jupiter, Saturn, Uranus, Neptune . . .
The Antikythera mechanism (Wiki) is believed to be an orrery based on the epicyclic model of what we call the Solar System.
2287594 Tellurian, Barbagelata Angelo, 1942-06-23, 434/293; 968/169 -
Cited by:
Publication number  Priority date  Publication date  Assignee  Title
US2550805A *1949-05-13  1951-05-01  Greenfield David  Adjustable illuminated tellurian
US2963798A *1958-05-22  1960-12-13  Trippensee Planetarium Company  Planetarium
US3068574A *1961-12-07  1962-12-18  Henry C Bieg  Sun simulator for architects
US3835554A *1973-05-09  1974-09-17  J Mast  Mini-scale space mechanics simulator
EP0441678A2 *1990-01-30  1991-08-14  Le Cren, Roger  World globe
US6343938B12000-08-30  2002-02-05  David R. Moreland  Moon phase demonstration system
ES2344878A1 *2008-07-15  2010-09-08  Juan Porcel Aibar  Planetary.
The oldest patent in class 4343/293 is:
51072 Improvement in Orreries, John G. Moore, Nov 21, 1865, 434/293 D19/61 - Sun, Earth & Moon
66791 Tellurian, S.P. Campbell, July 16, 1867, 434/293 - kerosene lamp (Sun), Earth and Moon
83474 Astronomical Apparatus, J. Davis, Oct 27, 1868, 434/293 -
122954 Improvement in Telluriums, G.S. McKenzie, Jan 23, 1872, 434/293 - astrological month names
167138 Tellurians, Joseph Troll, Aug 24, 1875, 434/293 368/16 -
198647 Tellurian, G. McBride, Dec 25, 1877, 434/293 -

Spark Museum: Other Scientific & Philosophical  Apparatus -

Questar

These got rave reviews then and now, but pricey.
Questar (Wiki) is still in business after being founded in 1950.

2628529 Reflecting telescope with auxiliary optical system, Lawrence E Braymer, 1953-02-17, - adds second eyepiece with high power narrow field of view (auto tracking?)
2649791 Telescope, Lawrence E Braymer,1953-08-25,
                  - Questar Telescope
2649791 Telescope, Lawrence E Braymer, 1953-08-25, - Questar Telescope

2670656 Telescope, Lawrence E Braymer, 1954-03-02, - Maksutov (Wiki) optical tube assembly

2693032 Telescope mounting, Lawrence E Braymer,1954-11-02, -
D175388 Telescope, Lawrence E Braymer,
                  1955-08-23, - Questar Telescope D175388 Telescope, Lawrence E Braymer, 1955-08-23, - Questar Telescope

2753760 Multiple image telescope, Lawrence E Braymer, 1956-07-10, - multiple path back plate

4061420 Catadioptric lens system, Edward K. Kaprelian, William E. Mimmack, Questar Corp, 1977-12-06, - 7" Questar

4235508 Dual focal length objective, Edward K. Kaprelian, Questar Corp, 1980-11-25, - Zoom for rocket & missile tracking

4728770 Dual axis optical system, Edward K. Kaprelian, Questar Corp, 1988-03-01, - for Laser cutting/engraving

EP1062530A4 Stereoscopic, long-distance microscope, Douglas M Knight Sr, Robert Machemer, Ronald F Overaker, Brian C Dodge, Questar Corp, 2000-12-27, - 100 to 300mm working distance.
More Questar references at: Company Seven Library.

Radio Astronomy

Classical Radio Observing

There is The Society of Amateur Radio Astronomers (SARA) that are working on various projects. They do not endorse amateur SETI work, not because they don't believe in ETI but because the search is not possible with small antennas.
University of Cambridge - Cavendish Laboratory - Astrophysics Group - Mullard Radio Astronomy Observatory -
U.C. Berkeley Radio Astronomy Lab -
Stanford - Space, Telecommunications, and Radioscience Laboratory -   Big dish on 280 freeway and there are a lot more RA dishes on the other side of the 280 freeway behind the tennis courts.  That's where I picked up a 10 dish and polar mount.
MIT -Radio A.Linclon Labs - Haystack Observatory -Radio Astronomy at Haystack ObservatorySmall Radio Telescope Project -
NRAO-Green Bank - Radio Astronomy Frequency Bands - 13.36 MHz to 8.51 GHz ,     Radio Astronomy Freq.Bands  > 10 GHz  - 10.6 GHz to 275 GHz
5.2 Meter Radio Astronomy Project for 1420 MHz - construction details
Radio Astronomy at the University of Indianapolis - How to Build an Inexpensive Radiotelescope
Radio Astronomy Web Ring -
Radio-Sky Publishing -Radio Sky CDROM I - radio sky surveys & software
Radio Astronomy Web Ring -
NASA - Project Radio Jove - natural radio emissions of the planet Jupiter and the Sun - RJ 1.1 20 MHz Receiver Kit manual.pdf - $115note that the kit does not include all the parts, you will need to get some things locally
Goldstone-Apple Valley Radio Telescope (GAVRT) -   Basics of Radio Astronomy, Tour of the GAVRT Antenna.pdf, Theory of Operation.pdf -
Syracuse University  Department of Physics- Science for the 21st Century -SETI - Measuring Time & Distnace -

Meteors

International Meteor Organization - Radio Observations - Video Observation (also see my page on Satellite Orbit Determination)
Observing Meteors by FM Radio -

SETI  Search for Extra Terrestrial Intellingence

The movie Contact is about this topic.

The SETI League, Inc. is interested in finding an intelligent signal from outer space using amateur equipment. There is a paper on the web that seems to say that amateur radio telescopes can only see a short distance into space.  If a large number of amateurs use these in parallel they can not see any further so amateur radio astronomy is of limited usefulness for SETI work.  SARA does not encourage SETI work.  SARA is very useful for other tasks.
The SETI Institute is a funded group of people working at a scientific level.  They are located in Mountain View, CA which is where much of the NASA SETI work was done. Project Phoenix is a continutation of the NASA HRMS Project - preceeded by Project Ozma in 1960. List of Searches - Links - "Contact" the Movie - web cams at the 1000' dish.
SETI@home - Version 1.0 available (5/30/99) -  U.C. Berkley is distributing a screen saver that will be looking for SETI signals while your computer is idle.  Quick theory of analysis. SETI@home data flow diagram - prototype graphics - NBC article on SETI@home - Arecibo Radio Telescope- source for SETI@home data
Sky map showing completed Work Units (purple) stars, and the Milku Way (blue area)
SERENDIP - (Search for Extraterrestrial Radio Emissions from Nearby Developed Intelligent Populations) - related to SETI@home
Optical SETI - looking for narrow band (not thermally broadened) laser lines or very short pulses of light
Discovery of Extrasolar Planets - summary - Links -
Kepler Mission - proposal to NASA search for extrasolar Earth-size habitable planets not yet funded
Popular Mechanics-  SETI page -
ABC News - Is It Time to Scrap SETI?
Columbus Optical SETI Observatory -
SETI Webring -

Note:  A way that small radio telescopes could be combined would be if they used atomic frequency standards for all the local oscillators and time stamped the recorded output.  This is what the do for VLBI (Wiki).

Time

For many years the Naval Observatory used photographic observation of the stars to set their clock.  This was using a Photographic Zenith Tube (PZT).  This is a telescope that uses a pool of mercury as the reflector so that it is looking exactly straight up.  Four exposures were made on a glass plate at times determined precisely from the house master clock.  By processing the plate and measuring the four images, the exact time that each exposure was made could be determined.  This would give a correction for the house clock. See my Time and Frequency page for more information.

Now Very Long Baseline Interferometry (VLBI) is used to measure the Earth's rotation. The definition of time is based on Cesium clocks since the Earth's rotation is not steady enough for precision time keeping.  Note that the Cesium oscillator supplies the "ticks" and the clock is set by one of many time transfer methods (today one of the GPS methods is the best).

Also see my Stellar Timekeeping web page.

Wobble of the Earth & Ukiah Latitude Observatory, California

In order to investigate the Earth's wobble about a half dozen observatories were set around the world all at about 39 degrees 8 minutes North Latitude.  The Ukiah Latitude Observatory is on Observatory Road.  That's how I found it.

PIXY System

The PIXY System is an automated astronomical image examination system developed by Seiichi Yoshida, used in the course of new object survey of the MISAO Project. It automatically detects all stars from an image, collates them with star data recorded in catalogs, and finds new objects or variable stars. It also prints out all astrometric and photometric data of all detected stars, so it is also useful for astrometry of minor planets or photometry of variable stars.

It is implemented using Java language. It runs both on a Windows PC and a UNIX workstation.

The PIXY System is a free software. The source files and documents are also available.

TYCHO-2 Catalog of the 2.5 Million Brightest Stars

ftp://cdsarc.u-strasbg.fr/cats/I/259/suppl_1.dat.gz

Is Science Wrong?

On Sep 3, 2007, at 11:15 AM, Brooke Clarke wrote:
Some people would get the impression that Newton made a mistake and  now has been discredited.  That's not the case.  The new ideas are extensions of Newton's laws that are only applicable in special cases.
Actually just to clarify, I would flip this statement of yours  around. The new ideas of 20th century physics (both relativity and  QM) are extensions of physics OF WHICH Newton's laws are a special  case. It is the new laws that are more general and more widely  applicable. Newton's laws are still correct (by which we mean,  correct to within our ability to measure) only in the limit of low  speeds and large sizes.

DM
--------------------------------
David L. Morgan
Assistant Professor of Physics
Eugene Lang College
The New School
-------------------------
2015 update by Brooke:
I highly recommend the book:
The Beginning of Infinity: Explanations That Transform the World by David Deutsch.
He gets to the heart of what science is.
I like his changing "theory" to "misconception" as in Newton's misconception of gravity, Einstein's misconception of relativity, the quantum misconception of physics, &Etc.  His bottom line: 1. Problems exist 2. Problems can be solved.
http://www.daviddeutsch.org.uk/


TED:Chemical scum that dream of distant quasars
For more see my Science paragraph on the Diet & Nutrition web page.  I started that page after reading about "bad science".

UFO

After reading all the web information (and a book about Roswell that I loaned but didn't get back) it is very clear to me that there are no UFOs as reported in fringe science.
Also see my Sonobuoy web page for the Roswell connection.
An Astronomer's Personal Statement on UFOs - by Alan Hale as in Hale-Bopp
How To Make An Alien - by a movie FX company
Outrageous Internet - UFO page -
Roswell Incident and Project Mogul - A Field Guide to Critical Thinking -
Skeptical Inquirer - What Really Happened at Roswell - The Roswell UFO Crash: What They Don't Want You to Know (Prometheus Books 1997)
Skeptics Society - different from Skeptical Inquirer
U.S. DOD page on UFOs - A.F. Roswell web page - "ROSWELL INCIDENT" 1994 - Roswell Report: Case Closed - Unidentified Flying Objects Research Guide - There are two official books on Roswell a 996 page book and a 243 page book  both available from the GPO.
U-2s, UFOs, and Operation Blue Book - official NSA UFO web page -
Government Records - Resultsof a Search for Records Concerning the 1947 Crash Near Roswell, New Mexico - July 28, 1995, 26 pages, reproductionn of about 10 original documents.

5 November 1990: UFOs made by ufologists (05/11/2011) - Translated into English  The 1990 decay of the rocket body that launched Gorizont 21 (see below)

Bad Astronomy -

New UFO Information April 2014

Stumbled onto this YouTube video that has new details about Roswell related to sound channels in both the ocean (SOFAR bombs) and atmosphere (project MOGUL).
For more see my sonobuoy web page.

New UFO Information Jan 2014

I belong an email server called SeeSat about visual observation of satellites.  It turns out that with binoculars, a good stopwatch and knowledge of the stars you can not only see but compute the orbital elements of classified satellites.  By "see" I mean as a point of light, not the shape.  In recent years a part of that has been forecasting when and where a satellite will reenter and maybe crash.  The people on that list have developed software expressly aimed at satellite reentry and it's been refined through a number of iterations over years, i.e. it works.

In the past few weeks they started to apply it to historical reentry events for the first time ever.  Many of these events were of space objects whose orbital elements were well known prior to their reentry.  But what was never before done was to use the new software and historical published reports to look at the reentry path.

It turns out that for the cases they studied there were "UFO" reports by all kinds of people.  I expect that these are a big part of UFO history and now have been explained.
Misperception of Satellite Re-Entries - Seeing is Not Necessarily Believing. (Ted Molczan), Seesat-l Digest, Vol 48, Issue 9 1/10/2014

I'm pasting the complete article below, i.e. no editing, but I've restored the format.

Can you tell me if the UFO literature cites any or all of these?

Ted Molczan is the guy who wrote the email, here's some info on him:
https://en.wikipedia.org/wiki/Ted_Molczan

Jim Oberg is a key player in this, so here's some information about him.
https://en.wikipedia.org/wiki/James_Oberg 
his web page:
http://www.jamesoberg.com/ufo.html

----------------------------------------------------------------------
Message: 1
Date: Fri, 10 Jan 2014 00:09:23 -0500
From: "Ted Molczan" (email removed)
Subject: Misperception of Satellite Re-Entries - Seeing is Not Necessarily Believing.
To: <seesat-l@satobs.org>
Message-ID: <013901cf0dc2$2da75030$88f5f090$@(email removed)>
Content-Type: text/plain; charset="us-ascii"

Over the past couple of years, I have learned from Jim Oberg about an interesting and useful difference in the way people perceive meteor or satellite re-entry fireballs. Through their descriptions and drawings, it is evident that some perceive the phenomenon more or less accurately, but others perceive a craft with lights, typically cigar or saucer-shaped. This is not a new discovery, and will not be news to everyone on the list, but it was new to me, and it has proven invaluable to my research to produce a comprehensive compilation of satellite re-entry sightings.

Jim is interested in this difference of perception for what it may add to our knowledge about human perception and the reliability of eyewitness reports. He has been compiling examples of known re-entries, for which both perceptions have been documented in eye-witness descriptions, preferably as drawings. He has even used this knowledge to identify previously unknown re-entries among old UFO reports. I assisted in the identification of the new cases and plotted witness locations in relation to the re-entry ground track. Below are links to Jim's reports, most of them just released, prefaced by a few comments from me.

Probably the earliest directly relevant study appeared in Scientific Study Of Unidentified Flying Objects, The University of Colorado, 1968 - commonly known as the Condon report, after principle investigator Dr. Edward U. Condon. Astronomer Dr. William K. Hartmann studied sightings of the decay of one of the ullage motor assemblies of the rocket body that launched Zond IV, witnessed over a wide area of the northeastern U.S. on 1968 Mar 04 UTC. Here is Jim's report:

 http://satobs.org/seesat_ref/Oberg/680304-Eastern-US.pdf

On 1990 Nov 05 UTC, the decay of the rocket body that launched Gorizont 21 was seen over a large part of Europe. Our colleague Pierre Neirinck quickly made the correlation, based on observations made by Daniel Karcher, an experienced satellite observer who happenned to witness the event. The following day, Pierre notified French authorities of his findings, documented here (top of pg.2):

 http://www.cnes-geipan.fr/fileadmin/geipan-doc/RENTREE_ATMOSPHERIQUE_5_NOVEMBRE_1990__E-Csep_CR_T_S_A__compte_rendu-R.pdf  <- add "f"

The event yielded a large number of sighting reports and drawings, with both categories of perception well represented in Jim's analysis: http://satobs.org/seesat_ref/Oberg/901105-French_wave.pdf Less than four years later, the rocket body that launched Cosmos 2290 was observed to decay from Zimbabwe and South Africa, on 1994 Sep 14 UTC. Sighting reports and drawings compiled by UFO researcher Cynthia Hind document both types of perception. The possibility that Cosmos 2290 rocket was the cause came to light early, but the UFO community seemed uncertain whether to embrace that explanation. I confirmed the correlation as part of my recent historical research. Here is Jim's analysis:

 http://satobs.org/seesat_ref/Oberg/940914-africa-pdf1.pdf

The ullage motor assembly of the rocket that launched Raduga 1-4 put on a fine show when it decayed over the U.S. Pacific Coast, on 1999 Sep 02 UTC. It was promptly and accurately identified as a re-entry, but the numerous reports of sightings of a structured craft caused some to doubt that explanation:

 http://satobs.org/seesat_ref/Oberg/990901-US_Pacific_coast.pdf

In April 2012, Jim demonstrated the usefulness of this perceptual difference in identifying re-entries in old UFO reports. He relayed to me a query from British journalist Ian Ridpath, about a UFO sighting in Yukon, on 1996 Dec 12 UTC, and asked whether the reported phenomena could have been related to a satellite launch or decay. I found an excellent correlation with the re-entry of the rocket body that launched Cosmos 2335. Both types of perception are readily apparent among the witness descriptions and drawings. Below are the reports that I and Harro Zimmer published:

 http://satobs.org/seesat/Apr-2012/0331.html http://satobs.org/seesat/May-2012/0015.html http://satobs.org/seesat/May-2012/0022.html

A couple months later, Jim found Russian reports of a UFO seen from Latvia, Belarus, Ukraine and Russia, on 1963 Oct 30 UTC. Some of the drawings looked like a re-entry; others like a structured craft. The historical orbital data leaves much to be desired, but I found it sufficient to confidently correlate the sightings with the re-entry of the rocket body that launched Cosmos 20. Here is Jim's compilation and analysis of the sightings:

 http://www.jamesoberg.com/10-30-1963_kiev.pdf

Here is my plot of known sighting locations and the ground track plot, which benefits from a trajectory analysis by Harro Zimmer, which I adjusted slightly to take advantage of a celestially referenced sighting made from Central Stadium, Kiev, during a soccer match:

 http://satobs.org/seesat_ref/Oberg/63040B_re-entry.png

Impressed by Jim's successes, I decided to try my hand at spotting a re-entry in a UFO report, which led to another nice find: the decay of the ullage motor of the rocket that launched Molniya 1-35, witnessed from the Canary Islands and Morocco on 1976 Sep 19 UTC. Here is Jim's report on the sightings:

 http://satobs.org/seesat_ref/Oberg/760919-morocco.pdf

In December 2012, I came across a UFO case witnessed from the Bahamas on 1985 Jan 11 UTC. Both kinds of perception were evident in reports and drawings, and at least one witness had suspected a re-entry, even sought NASA's assistance, to no avail. It turned out to correlate strongly in time and trajectory with the re-entry of the rocket body from the launch of Cosmos 1465. Recently, I found reports of sightings made at the same time from the southeast coast of Florida, with which this re-entry also correlates. Here is Jim's analysis:

http://satobs.org/seesat_ref/Oberg/850111-Bahamas_spaceship.pdf

A couple of weeks ago, Jim struck again, spotting a recent Russian article on a Bolide widely observed from Estonia and Russia on 1976 Feb 11 UTC. Both kinds of perception were evident. There had been sufficient sightings to enable meteor analysts at the time to determine the trajectory with great precision, to which I found an excellent match by the re-entry of the rocket body from the launch of Cosmos 799. Here is Jim's analysis:

 http://satobs.org/seesat_ref/Oberg/760211-baltic_bolide.pdf

These cases represent a small fraction of those likely to be found among UFO reports. I found more than 20 percent of the 211 re-entries in the latest draft of my compilation, by searching through old government and private UFO case reports. None had been correlated with a re-entry, though some had been suspected as such. Descriptions of craft with lights are common across the entire body of sightings. Whatever their cause(s), there does not seem to be any obvious correlation with geography, race or ethnicity. Having observed a re-entry myself, I believe I can understand the profound effect it can have on witnesses. The one I observed was among the small minority that could be predicted with some accuracy, so I was prepared for it and made scientific observations. Most witnesses are completely surprised. Emotional reactions vary considerably. Fascination is common. So is fear. Some claim to become convinced of the ET hypothesis of UFO sightings. Their common refrain is that seeing is believing. But an impressive and growing body of evidence continues to bear out Dr. Hartmann, that when it comes to re-entries, seeing is not necessarily believing. Researchers, whether interested in UFOs or re-entries, ignore this at their peril. Those who pay heed and make the necessary allowances for human limitations may profit.
Ted Molczan
------------------------------

Pentagon UFO Info April 2020

The pentagon released videos: FLIR, GOFAST and GIMBAL that show what many think are UFOs.  This was first reported by the New York Times related to sightings in 2015.  Glowing Auras and ‘Black Money’: The Pentagon’s Mysterious U.F.O. Program -, Dec. 16, 2017 by Helene Cooper, Ralph Blumenthal & Leslie Kean (Wiki - UFO author) - MUST READ: The New Yorker:  How the Pentagon Started Taking U.F.O.s Seriously, April 30, 2021 - about Leslie Kean - 1971 Lake Cote / Lago de Cote UFO Aerial Photo -

This has been played up quite a bit as evidence of UFO. But . . .

YouTube: Thunderf00t - has started posting analysis of the UFO videos:
Pentagon officially released 'UFO' videos: BUSTED (Part 1), May 3, 2020 - on the GOFAST video being of a duck
US Navy CONFIRMED UFO: BUSTED (Part 2), May 10, 2020 - This is about the 2004 USS Nimitz Tic-Tak UFO incident (Wiki) being another plane ahead of and slightly on a different course.
Pentagon officially released 'UFO' videos: BUSTED (Part 3) - First 19 minutes of recap, then about GIMBAL (at 19:38). Space junk.  See New 2014 UFO Info above.
also see:
Gimbal UFO: Why Does the Glare Rotate When the Horizon Does Not? - explains gimbal rotation. 
Note an astronomical telescope mounted on a polar aligned mount (mount axis is parallel to Earth's axis of rotation) can make time exposures of star constellations.  But if the astronomical telescope is on an Azimuth/Elevation mount as the telescope tracks a star's movement the image rotates, and so a device needs to be added to de-rotate the image for a time exposure.  The gimbal used on fighters is a straight forward Az/El type so produces image rotation which is then backed out by rotating the image.  This causes the background to be stable but the object imaged rotates.

Mick West: Gimbal UFO - A New Analysis, Mar 13, 2022, 21:24
references patent:
9121758 Four-axis gimbaled airborne sensor having a second coelostat mirror to rotate about a third axis substantially perpendicular to both first and second axes, Lacy G. Cook, Raytheon, 2015-091 - cites 5 patents, cited by 6.
more to come . . .
YouTube: Michael Shermer with David J. Halperin — Intimate Alien: The Hidden Story of the UFO - @ 1:29:45 about the Pentagon UFOs.  Mick West (Explained: New Navy UFO Videos) is mentioned.
He makes the case that:
* the Go Fast video is of a weather balloon with a radar reflector.
"Go Fast" UFO Video Explained?
* Is the Nimitz UFO Video Just a Plane? - aka Blur or tic-tak - Navy FLIR UFO - No Sudden Moves! -
* Gimbal UFO: Why Does the Glare Rotate When the Horizon Does Not? - de-rotater patent
6020955 System for pseudo on-gimbal, automatic line-of-sight alignment and stabilization of off-gimbal electro-optical passive and active sensors, Raytheon, to see Fig 1  you need to look at the patent document, Google does not have it as an image (why?).

NYT story whose byline included Leslie Kean (Wiki) a writer that promotes UFOs.  UFOs became respectable when FAS first published the countdown atomic clock, and not with COVID-19 they make a reappearance.

Triangle or Pyramid UFOs

For example CNN: Updated 10:23 PM ET, Thu April 15, 2021 Defense Department confirms leaked video of unidentified aerial phenomena is real,
May 8, 2021 Thunderfoot: Leaked: Pentagon's UFO -BUSTED! @17:12 gives Mick West Credit; 
Mick West (metabunk.org): May 8, 2021 "Pyramid UFO" - NEW FOOTAGE. It's Just Bokeh, not a Pyramid - also explains UFO label is "applied when sighted".

UFO People

The New York Times: Glowing Auras and ‘Black Money’: The Pentagon’s Mysterious U.F.O. Program, Helene Cooper, Ralph Blumenthal and Leslie Kean, Dec 16, 2017 - This is the story that started the current craze.
Wired: Inside Robert Bigelow's Decades-Long Obsession With UFOs by Sarah Scoles, Feb 24, 2018 -
The New Yorker: How the Pentagon Started Taking U.F.O.s Seriously by Gideon Lewis-Kraus, April 30, 2021
YouTube: Mick West: TFTRH #53: Jason Colavito - UFOs and the Invisible College, How Did We Get Here?, Jun 23, 2021, 1:02:59
New Republic: The Soapbox: How Washington Got Hooked on Flying Saucers by Jason Colavito, May 21, 2021

UAP Report

Preliminary Assessment: Unidentified Aerial Phenomena, 25 June 2021.pdf - the long awaited UAP report

Sep 2021 UFO Idea

The War Zone: Are Some Of The UFOs Navy Pilots Are Encountering Actually Airborne Radar Reflectors? -

2463517 Air-borne corner reflector, Chromak Leon, App: 1945-06-30, W.W.II, Pub: 1949-03-08, - radar corner reflector inside larger weather balloon supported by rubber bands in 6 places.  Flies higher and faster than older method of suspending corner reflector below balloon.  (See Radiosonde, PIBAL theodolite)
Cites 7 patents and is cited by 61 patents. mostly related to corner reflectors and balloons.

7341224B1 Miniature expendable surveillance balloon system, Robert Osann, Jr., App: 2004-10-14, Pub:

Feb 2023 Chinese Balloon

The China Balloon Incident (Wiki) made public that there had been previous sightings (Wiki) of Chinese balloons over the US.  These sightings at the time were by various military pilots and reported as UAPs (Wiki) to the pentagon.  Note that people who work at the pentagon do not see UAPs from their desks.  The pentagon investigated the reports and discovered that some of them were Chinese balloons, but this information was kept secret so as to not alert the Chinese that we knew.

Preliminary Assessment: Unidentified Aerial Phenomena, 25 June 2021, Office of the Director of National Intelligence, 9 pags (pdf)
2022 Annual Report on Unidentified Aerial Phenomena, Office of the Director of National Intelligence, 12 pages (pdf)
NYT: 17May22 - At House Hearing, Videos of Unexplained Aerial Sightings and a Push for Answers -
NYT: 12Jan23 - Report Categorizes Many Unexplained Sightings as Drones, Trash or Birds -
It seems the people at the pentagon are not woo-woo types, but in fact are level headed.  This is why the woo-woo people who see the UAP program as a way to learn about UFO and little green men are not at all happy with the people at the pentagon.

Americans for Safe Aerospace

Council members

Alex Dietrich -
Sam Fletcher -
David Fravor - Wiki: Pentagon UFO\Background
Michael Greene -
Lewis Harding -
Mark Hulsey -
Christopher Van Voorhis

 Advisory Board

Bryan Bender -
Tim Gallaudet -
Robin Hanson -
John Lettieri -
Avi Loeb - (Wiki) - The Galileo Project (Wiki, Twitter) - CNEOS 2014-01-08 meteor (Wiki, YouTube, BeLaU) -
Susan McCue -
Christopher Mellon -
Garry Nolan -
Adam Ozimek -
David Radzanowski -
Ravi Starzl -
AARO (Wiki)
Tim Phillips - Former Deputy Director of AARO, 1:42:44 -

00:00:00 - Start
00:02:12 - Background
00:03:22 - Clarifying Seeing the Black Triangle
00:04:29 - AARO’s Data Collection
00:08:20 - Drone reporting
00:11:07 - GREMLIN mobile system
00:15:09 - Limitations of the human sensory system
00:17:01 - What data do we have on “Genuine” UAP?
00:20:24 - AARO’s Hiring - Supernatural beliefs vs. Open Minded
00:23:38 - Our Technology could get mistaken for something from another world
00:26:49 - The Nimitz Incident and the Missing Tapes
00:28:49 - Missing Nimitz log books
00:29:27 - DARPA Took The Tapes
00:31:18 - WASP - Which the Princeton may have detected
00:33:43 - The Langley UAS (Drones) incident
00:34:47 - Langley recorded over UAS detections
00:35:59 - AARO leveraging Title 50, and Title 10. Organization structure
00:38:42 - Transparency, Disclosure, and Declassification
00:41:11 - Why some members of Congress were denied access
00:42:52 - One Witness seemed to be extorting AARO
00:44:38 - Visiting the Nevada Test Site (Area 51)
00:46:10 - Witness Reports are accurate, but of our technology
00:47:57 - Test Objects (Spheres and Eggs) at Area 51
00:49:57 - Revisting Langley
00:52:31 - Mexican Cartel Drones
00:53:26 - Cartels using Drones as weapons
00:53:51 - Drone warfare on the US homeland
00:55:06 - Golden Dome and Data Utilization
00:57:52 - Why are no UAP detected in the Capital Region?
00:59:46 - Gimbal
01:00:50 - Frustration at being asked to look at old cases
01:01:54 - Challenges of publishing classified information
01:03:13 - AARO’s analysis of physical material
01:05:29 - Blue Force Deconfiction - Is it one of ours?
01:07:12 - Gimbal - Is there more data?
01:07:48 - Chapter 33
01:10:11 - Film of the atlas missile interceptor test
01:11:48 - Malmstrom Nuclear Missiles - Transformer Failure or EMP Test?
01:14:42 - Yankee Blue
01:19:53 - Other examples of hazing or disinformation
01:23:59 - Was David Grush Influenced by Yankee Blue?
01:24:47 - NDA’s and the Death Penalty
01:26:27 - The UAP disclosure act
01:29:58 - Public help and a possible UAP identification contest
01:31:17 - SCU’s contribution
01:32:42 - Collection Bias
01:33:16 - Data mining FAA radar
01:34:40 - Possibility of things beyond standard physics
01:35:38 - UAP detection in space
01:37:05 - AARO and Instrumenting other areas of the world
01:39:07 - The need to demystify UAP research
01:41:21 - The future of AARO
Did the Wall Street Journal uncover America's secret EMP (Wiki) weapon?, 34:21 -
My comment 2025Jun22 (seems to have been removed):
"It's my understanding that EMP testing can be done in a number of ways. The methods are very similar to how EMC/EMI testing is done.
https://prc68.com/I/CEI.shtml#Background
https://en.wikipedia.org/wiki/Electromagnetic_compatibility#Types_of_interference
For example you can use antennas to get the test signal into the equipment under test, and your video covers how big they can be. But . . . another way to test, as you state at 9:35 is by using cables and a "device" to directly couple the pulse into existing wiring. I have an HF radio antenna, the TCI 651T, which tests as a DC short because it's rated for EMP. https://prc68.com/I/WireAntenna.shtml#TCI651T
My guess is that direct, wired with a "device", testing could be done the day after the Starfish Prime. It might involve charging a capacitor bank and then using something like the Kryton to discharge it into the "device". https://prc68.com/I/GRstrobotac.html#PatKrytron
Cites: WSJ The Pentagon Disinformation That Fueled America’s UFO Mythology, 2025Jun6 -
Starfish Prime (Wiki)- high altitude nuclear test
Los Alamos Electronic Pulse Calibration and Simulation (ALECS)
Black Vault: EMP - TEMPS Vol 1 -

Takahashi FS-60CB - FS-60CB Photo/Visual System Chart

The Most Powerful Little Scope in the Universe?, 18:52 - 2022 - FS-60C, but the CB is a newer version.
The bottom entry in the chart is:
Astrophoto: FS-60CB - (6) CAA Camera Angle Adjuster [TKA21200] - (18) Reducer-C 0.72x [TKA20580B] - (33) Wide Nikon T-mount [TKA20246] - Nikon D800e DSLR
Skywatcher Az-GTi sky tracker mount has 2 arc sec wobble. What's Up? Webcast: AZ-GTi Overview, 55:55  - this mount was not designed for EQ use.  Deep sky Stacker has
Automatic derotation. (Photoshop can also do this.
Visual: FS-60CB - (18) Reducer-C 0.72x [TKA20580B] - (10) Visual adapter [TKP20005] - (14) Coupling (L) [[TKP00104] - (46) Ocular adapter (31.7mm) [TKP00101]- (47) Ocular (31.7mm) [# depends on fl]

Advanced Technology (or Misinformation?)

YouTube: US Navy's Secret Advanced Technologies: Energy & Transportation Industries Would Never Be The Same, 10:00 -
YouTube: The UFO Patents: 5 Military Inventions of Unexplained Technologies, 10:28 -
Salvatore Pais (Wiki) Patents
Also see my web page: Measuring EMFs
There is no Class 1, see: Index to all US Patent Classes.
The USPTO uses Class 1/1 as a catchall classification for documents that currently cannot be classified in any current class/mainline or lower. Every two months the USTPO publishes a new classification schedule, which includes new classifications. Many 1/1 patents are then re-classified into the new classes.
7080504 Laser
                      augmented turbojet propulsion system, Salvatore
                      Pais, Northrop Grumman, 2006-07-2
7080504 Laser augmented turbojet propulsion system, Salvatore Pais, Northrop Grumman, 2006-07-25, 60/203.1; 60/39.821; 60/247 -
10135366
                      Electromagnetic field generator and method to
                      generate an electromagnetic field, Salvatore Pais,
                      Navy, 2018-11-20
10135366 Electromagnetic field generator and method to generate an electromagnetic field, Salvatore Pais, Navy, 2018-11-20, 1/1 -
There is no Class 1, see: Index to all US Patent Classes.
The USPTO uses Class 1/1 as a catchall classification for documents that currently cannot be classified in any current class/mainline or lower. Every two months the USTPO publishes a new classification schedule, which includes new classifications. Many 1/1 patents are then re-classified into the new classes.
10144532 Craft
                      using an inertial mass reduction device, Salvatore
                      Cezar Pais, 2017-11-02
10144532 Craft using an inertial mass reduction device, Salvatore Cezar Pais, Navy, 2017-11-02, 1/1 -
10322827 High
                      frequency gravitational wave generator, Salvatore
                      Cezar Pais, Navy, 2019-06-18
10322827 High frequency gravitational wave generator, Salvatore Cezar Pais, Navy, 2019-06-18, 1/1 -
20190058105 Piezoelectricity-induced Room
                      Temperature Superconductor, Salvatore Cezar Pais,
                      Navy,2019-02-21
20190058105 Piezoelectricity-induced Room Temperature Superconductor, Salvatore Cezar Pais, Navy,2019-02-21, ?-
20190295733 Plasma Compression Fusion Device,
                      Salvatore Pais, Navy, 2019-09-26
20190295733 Plasma Compression Fusion Device, Salvatore Pais, Navy, 2019-09-26, ??-


Brooke's PRC68Products for Sale, Personal Home Page

Web page created 19 Jan. 2000.