| Moved to Bathythermographs web page Glass Slides Dittmore & Freimuth Sippican XBT-T4 Resistance Bathythermograph Patents Niskin Bottle Patents References |
| moved to SUS:
Signal Underwater Sound Mk 84 |
The word sonobuoy is a portmanteau of sonar and buoy according to Wiki. The first U.S. sonobuoy was the CRT-1 used in W.W.II. Like the Mk 24 "Fido" Mine (Wiki) it could only hear cavitating propellers.
Submarines Diving
In most movies about submarines there is the diving practice where the captain says "Dive . . . Dive . . . Dive" and you hear a Klaxon horn (Wiki) sound. A big thing is made of timing how long it takes to dive to some depth. This comes about because aircraft specify how they turn by how long it takes to fly a full circle. For medium size airplanes this might be two minutes. Note the rate of turning is specified by the time for a circle, not bank angle or the diameter of the circle. So if an aircraft flies over a submarine and makes a tight circle to come back to attack it a second time the submarine has maybe 2 minutes to dive to safety.
This emergency dive process will go faster if the submarine is full speed ahead since there are some similarities between aircraft and submarines in the sense of how they respond to the elevator. At full speed ahead the propeller(s) will cavitate (Wiki) which makes a lot more noise than normal running. This extra noise was needed in order for the CRT-1 Sonobuoy and the Mk 24 "Fido" Mine (homing Torpedo) to work.
Types of Sonobuoys
ADAR: Advanced Deplorable Acoustic Receiver
ADLFP: Advanced Deplorable Low Frequency Projector
ALFEA: Active Low Frequency Electro-Acoustic
BARRA: means Listening in an indigenous Australian language - The Barra Sonobuoy System, Barra Sonobuoy Design, horizontal array
BT: Bathythermograph
CAMBS: Command Activated Multi-Beam Sonobuoy
CASS: Command Activated Sonobuoy System
CFS: Command Function Select (set function with 2-way radio when buoy is in water)
CO: Calibrated Omni type acoustic sensor (5 - 20 kHz)
CSO: Constant Shallow Omni type acoustic sensor (30 - 5000 Hz)
DICASS Directional Command Activated Sonobuoy System
DIFAR: DIrectional Frequency Analysis & Recording type acoustic sensor (5 - 2400 Hz)
EER: Extended Echo Ranging - uses small explosion as sound source see patent 2402391
EFS: Electronic Function Selector (RF Chan, Life, Depth, Sensor type, AGC)
HIDAR: High Dynamic Range DIFAR
LOFAR: LOw Frequency Analysis & Recording - low cost, the waterfall display good for classifying a contact
RDRH: Rotating Directional Receiving Hydrophone
REFS: optical Remote Electronic Function Select (either while in launch tube (easy) or in water (requires laser))
RO: Range Only
![]() |
|
| Transport
Canada SU
0850 makes provision for shipping experimental
sonobuoys in this container. But there are limitations: (a) all the dangerous goods are contained within the aluminum body of the experimental sonobuoy described by drawings no. 200896, 200898, 200702, 200671, 200836 and 200837 deposited by Ultra Electronics Maritime Systems, a division of Ultra Electronics Canada Defense Inc. on Transport Canada's Transport Dangerous Goods Directorate file A 4069-0850; (b) the sonobuoy contains a single UN0454 Igniter having a net explosive quantity equal to or less than 0.15 g; (c) the sonobuoy contains a maximum of 2 cylinders of UN1013, Carbon dioxide, each having a capacity equal to or less than 0.120 L; (d) the sonobuoy contains a quantity equal to or less than 40 "C" size lithium batteries that meet the requirement of paragraph (1) of Special Provision 34 of Schedule 2 of the Transportation of Dangerous Goods Regulations; (e) the sonobuoy is packaged in the military performance specification plastic shipping container type CNU-239/E specified in the drawing 012-159-0009-00 deposited by Ultra Electronics Maritime Systems, a division of Ultra Electronics Canada Defence Inc. on Transport Canada's Transport Dangerous Goods Directorate file A 4069-0850; |
|
The CRT-1 Sonobuoys
started out working in the VHF low band. First with
six channels between 62.9 and 66.9 then another six channels
were added in the 67.6 to 71.7 MHz range. That's a total
of twelve channels. This was during W.W. II.
Note: The eBay listing for a sonobuoy receiver
"R-156/ARR-16B Sonobuoy Receiver 62-72 MCs." is in
error by leaving off the "1" in front of the frequency.
R-156/ARR-16B covers 162 - 172 MHz.
It turns out the eBay listing was correct. Note that the
new VHF high band is pretty much 100 MHz higher than the prior
VHF low band.
Sonobuoys
Sonobuoy
SSQ-
Channels
41, 41A, 41B, 38, 50, 53, 57, 62
1-31
36
12, 14, 16
71
3, 5, 7
47A, 47B
1 to 12
This is a beacon transmitter that just transmits a narrow pulse in the sonobuoy RF frequency range. But, the signal requires a receiver with about a 150 kHz channel bandwidth.
Since the only information it sends is it's center frequency, probably one of a small list of possible frequencies and one of two possible duty cycles the process gain is extremely high.
During the Vietnam era there were airplanes circling over areas where ground based sensors were placed to relay the VHF sensor signals to a ground station (Wiki). This page was made because of the similarity of ground based intrusion sensors and sonobuoys. They both work the same way and both have the same reception requirements.
My guess is that today there is a satellite system doing the same thing. This system would receive in the 136 to 173 MHz range and use digital IF processing, similar to what's done in the HP 4395A combined spectrum network and impedance analyzer. If that was the case then it would be straight forward to have the ability for this receiver to receive not only sonobuoy signals but also the waveform used by the Black Box.
This makes sense in that the system would have world wide coverage without the need to have planes circling 24/7 like in Igloo White.
The WiNRADiO MS-8118/WSB Sonobuoy Telemetry Multichannel Receiving System (WiNRADiO) covers 136.000-173.500 MHz (custom frequency ranges available) with an IF bandwidth of 30 kHz @ -6 dB.
They also have a WiNRADiO AX-61S Sonobuoy Telemetry Antenna that covers 135 to 175 MHz.
The G315i receiver can be ordered with an optional hardware wide band demodulator that's the same as in the sonobuoy receiver: WR-G315i Receiver Options or for the WR-G315e Receiver Options .
Note the black box beacon transmitter may be associated with the SEAL Delivery Vehicle (Wiki: SDV).
That would be perfect for receiving the Black Box signal (thanks to Chip Veres) for letting me know about the MS-8118. But this raises a new question, what else generates such a wideband signal?
The transmission frequencies of some black box units are: 164.5375 & 164.5875 MHz. Note neither of these is on channel 4 (164.50 MHz) and they differ by 50 kHz, not likely an accident.
| Chan |
Freq |
Chan | Freq | Chan |
Freq |
| 1 |
162.25 |
6 | 166.00 | 11 |
169.75 |
| 17 |
162.625 | 22 |
166.375 | 27 |
170.125 |
| 2 |
163.00 |
7 |
166.75 | 12 |
170.50 |
| 18 |
163.375 | 23 |
167.125 | 28 |
170.875 |
| 3 |
163.75 |
8 |
167.50 | 13 |
171.25 |
| 19 |
164.125 | 24 |
167.875 | 29 |
171.625 |
| 4 |
164.50 |
9 |
168.25 | 14 |
172.00 |
| 20 |
164.875 | 25 |
168.625 | 30 |
172.375 |
| 5 |
165.25 |
10 |
169.0 | 15 |
172.75 |
| 21 |
165.625 | 26 |
169.375 | 31 |
173.125 |
| 16 |
173.50 |
||||

3093808 Air-dropped miniature sonobuoy, Gimber George A, Scarcelli Albert F, Tatnall George J, Secretary of the Navy , Jun 11, 1963, 367/4, 441/33, 441/25, 343/709, 455/99 - Prior art sonobuoys were 3' long, 5" diameter and weighed 16 to 20 pounds limiting aircraft time on station and had a max depth of about 50'. This one is 15" long, about 3" dia and weighs about 5 pounds with a max depth of 300'. also see 3047259 Speed brake retarding mechanism for an air-dropped store, George J Tatnall, Albert F Scarcelli, Navy, 1962-07-31, -
3116471 Radio sonobuoy system, Jesse J Coop, Dec 31, 1963, 367/3, 367/5, 367/113, 367/101, 367/126, 367/115, 318/638 - In the present invention a multi-beam directional hydrophone is utilized in a radio sonobuoy system whereby an immediate quadrant location and an accurate distance measurement of a reflecting object from the multi-beam directional sonobuoy can be obtained from a single pressure pulse generated in the water area of interest. - DIFAR
3444508 Directional sonar system, Ernest A Granfors, Don L Loveless, Charles F Boyle, Harry W Kompanek, Sparton, 1969-05-13, - DIFAR sonobuoy
|
3987404
Underwater Direction Finding System, Sanders, (filed:
Nov 3 1967) Issued: Oct 19, 1976, 367/3;
367/125;
367/126
-
"An underwater direction
finding system includes a pair of directional
hydrophones and a compass in a novel arrangement which
associates the signals from all three elements with a
single subcarrier. Subsequent demodulation of
the subcarrier signals in an airplane or ship then
provides directional information directly referrenced
to the earth's magnetic coordinates."
Calls:
|
| ignee | Title | |||
| US4078222 | Nov 20, 1969 | Mar 7, 1978 | The United States of America as represented by the Secretary of the Navy | Direction determining apparatus |
| US4371957 | Dec 12, 1969 | Feb 1, 1983 | Her Majesty the Queen in right of Canada, as represented by the Minister of National Defence | Antisubmarine warfare system |
| US4604733 | Jan 3, 1984 | Aug 5, 1986 | Westinghouse Electric Corp. | Apparatus for determining range and bearing |
| US4653033 | Oct 4, 1984 | Mar 24, 1987 | Thomson-CSF | Goniotelemetry system |
| US4691305 | Sep 5, 1985 | Sep 1, 1987 | The United States of America as represented by the Secretary of the Air force | Automatic attenuator for sonobuoys |
| US4872146 | May 23, 1988 | Oct 3, 1989 | Canadian Patents & Development Limited | Method and apparatus for simulating phase coherent signal reflections in media containing randomly distributed targets |
| US4914734 | Jul 21, 1989 | Apr 3, 1990 | The United States of America as represented by the Secretary of the Air Force | Intensity area correlation addition to terrain radiometric area correlation |
| US5859915 | Apr 30, 1997 | Jan 12, 1999 | American Technology Corporation | Lighted enhanced bullhorn |
| US5885129 | Mar 25, 1997 | Mar 23, 1999 | American Technology Corporation | Directable sound and light toy |
| US7088830 | Mar 18, 2002 | Aug 8, 2006 | American Technology Corporation | Parametric ring emitter |
| US7109789 | Jan 21, 2003 | Sep 19, 2006 | American Technology Corporation | Modulator—amplifier |
| US7224219 | Sep 18, 2006 | May 29, 2007 | American Technology Corporation | Modulator-amplifier |
| US7564981 | Oct 21, 2004 | Jul 21, 2009 | American Technology Corporation | Method of adjusting linear parameters of a parametric ultrasonic signal to reduce non-linearities in decoupled audio output waves and system including same |
4017822 Bearing determining apparatus including single channel multiplexing, William T. Rusch, Navy, App: 1969-11-24, SECRET, Pub: 1977-04-12, - DIFAR system
4114137 Directional sonobuoy, Russell I. Mason, John R. Dale, Secretary Of The Navy, Filed: Dec 19, 1974, Pub: Sep 12, 1978, 367/171, 441/1, 441/28 -
Earth's Field Magnetic Detectors
Also see my Flux Gate patents web page.
2252059
Method and a device for determining the magnitudes of magnetic fields, Gustav Barth, Priority Dec 24, 1936, Pub Aug 12, 1941 - rod fluxgate
2560132Unbalanced magnetometer, Schmitt Otto H, Jul 10, 1951, 324/255, 340/870.33 - second harmonic
2488341Detection system, Thaddeus Slonczewski, Bell Telephone Labor Inc, Nov 15, 1949, 324/246, 340/870.33, 324/254, 324/253 - moving parts
Calls:
2485931Magnetic field strength indicator - no moving parts
2468968Magnetic field strength indicator
2027393Cathode ray device
2047609Magnetic field direction and intensity finder
2053154Direct-current indicator
2438964Magnetic field detector - second harmonic magnetometer
Magnetic buoy
2397137Magnetic controlling device, Glennon James B, Maltby Wilson R, Sellman Albert H, filed Jun 25, 1941, pub Mar 26, 1946, 340/850, 324/259, 340/551, 102/417
2644243 Control compass, George E Breeze, Russell I Mason, Us Navy, Filed: Nov 20, 1944, Pub: Jul 7, 1953, 361/280, 33/363.00Q - for use in sonobuoy, eliminates vertical component of Earth's mag field for more accurate mag bearing (for: DIFAR) 3526002
Magnebuoy, Ramond C Waddel, Filing date Mar 31, 1960, Publication dateAug 25, 1970 (maybe withheld secret), 340/852
First generation sonobuoys and radiosondes used Zinc Carbon batteries, like were used to power contemporary tube radios. But within a year or less both sonobuoys and radiosondes switched to water activated reserve batteries.
It's interesting that the radiosonde design treats the battery as a non furnished item to be installed by the end user. They were packaged in sealed tin cans (Wiki) that were vacuum sealed (like coffee) and will last for many decades. But the sonobuoy design has the battery built into the unit and is not at all user serviceable. The sealing I've seen on sonobuoys is not good enough to keep atmospheric moisture from getting to the battery and that means some of the sonobuoys will no work at all or will have a life shorter than expected because of battery degradation.
The reserve batteries used in proximity fuzed artillery shells have the electrolyte sealed in glass ampules and so have a shelf life of many many decades.
A typical specification for a nominal 60-hour sonobuoy battery of the magnesium-silver chloride type will call for a voltage of 15.0+/-0.5 volts when discharged continuously for its full life into a resistive load of 60 ohms (nominal discharge current of 0.250 ampere) under variations in saltwater temperature from 0 C. to --30 C. and under variations in the saline content of the water from 1.5 to 3.0 percent.3462309 Magnesium anode primary cell, Burton J Wilson, Navy, 1969-08-19, - "... low voltage power sources for operation of sea based devices such as sonar buoys and light beacons. "
A typical magnesium-silver chloride battery specification will call for the output voltage to reach a minimum maintained level of 14.5 volts in 120 seconds after activation under the load conditions described above.
For a nominal 60-hour battery of the magnesium-cuprous chloride type, a typical specification will call for a voltage of 14.6+/-1.0 volts when discharged continuously into a resistive load of 66 ohms (nominal discharge current of 0.212 ampere) under variations in saltwater temperature from 0° C. to -30° C. and under variations in the saline content of the water from 1.5 to 3.6 percent.
A typical magnesium-cuprous chloride battery specification will call for the output voltage to reach a level of 11.0 volts in 60 seconds and a minimum maintained level of 13.6 volts in 180 seconds under the load conditions described above.
A water activated battery powers a GE 131 flashlight lamp
(1.3 Volts, 1.3 Watts, i.e. draws 1 Amp)
| Box Stk. No. 6230-299-5653 Type J-2, with Water Activated Battery. Spec. MIL-L-7396A(ASG) Application: Life Rafts One Each Item No. 4 Contract No. AF 30(635)-23525 Fulton Mfg. Corp. Mfg/Contr., Wauseon, Ohio A-1 A8- 8/61 Reinspection Date.......... 8/64 |
Plastic Housing Light Sea Rescue Marker Type J-2 MIL-L-7368A(ASC) Specification Part No. N-45A Fulton Mfg. Corp. U.S. ---------------------------------------------- Caution: Do Not Remove Plug for Inspection. |
| Function |
Start |
End |
Links |
|||||||||||||||||||||||||||||||||||||||||||||||||||||||||||||||||||||||||||||||||||||||||||||||||||||||||
| AN/CRT-1 |
5 vacuum tubes single
channel FM transmitter between 67 & 72 Mhz. See Roswell Connection below where this was used with "disk microphones" on Project Mogul CANADIAN LANCASTER - AN/CRT-1 SONOBUOY SYSTEM - drawing of aircraft equipment & buoy Chapter 16 - SOFAR, HARBOR DEFENSE, AND OTHER SONAR SYSTEMS Naval History - RADAR - MAD and CRT-1 CRT-1A: 67.7 to 71.7 MHz CRT-1B: 62.9 to 66.9 MHz |
Jun 1942 |
||||||||||||||||||||||||||||||||||||||||||||||||||||||||||||||||||||||||||||||||||||||||||||||||||||||||||
| AN/CRT-4 |
RDRH Mechanical rotation of hydrophone (Ref 6) also see SSQ-53 DIFAR patents, |
Feb 1943 |
||||||||||||||||||||||||||||||||||||||||||||||||||||||||||||||||||||||||||||||||||||||||||||||||||||||||||
| AN/CRT-1A |
6 channels |
1944 |
||||||||||||||||||||||||||||||||||||||||||||||||||||||||||||||||||||||||||||||||||||||||||||||||||||||||||
| AN/CRT-1B |
separate web page (Differences to -1 and
-1A? Let me know) |
|||||||||||||||||||||||||||||||||||||||||||||||||||||||||||||||||||||||||||||||||||||||||||||||||||||||||||
| AN/SSQ-1 1951 Ref 6 |
upgraded CRT-4 15 kHz to 17 kHz rotating directional, Magnavox, B-size (6-7/8" dia x 5' long). 60 lbs. The US bought the SSQ-20 (UK T-1946) while the bugs were worked out of the SSQ-1. |
SSQ-20 until 1954 |
||||||||||||||||||||||||||||||||||||||||||||||||||||||||||||||||||||||||||||||||||||||||||||||||||||||||||
| SSQ-2 1956 Ref 6 |
Magnavox & Bell Labs. Jerry Proc SSQ-2B - 4 blade "rotochute" |
15 Feb
1955 |
||||||||||||||||||||||||||||||||||||||||||||||||||||||||||||||||||||||||||||||||||||||||||||||||||||||||||
| 1950
start of: LOFAR Sound Surveillance System (SOSUS, Wiki) |
||||||||||||||||||||||||||||||||||||||||||||||||||||||||||||||||||||||||||||||||||||||||||||||||||||||||||||
| SSQ-20 |
1951 |
|||||||||||||||||||||||||||||||||||||||||||||||||||||||||||||||||||||||||||||||||||||||||||||||||||||||||||
| SSQ-2B |
Julie explosive |
1956 |
||||||||||||||||||||||||||||||||||||||||||||||||||||||||||||||||||||||||||||||||||||||||||||||||||||||||||
| AN/SSQ-15 1961 Ref 6 |
Julie RO B-size, Tx 26 kHz
to 38 kHz CW, |
|||||||||||||||||||||||||||||||||||||||||||||||||||||||||||||||||||||||||||||||||||||||||||||||||||||||||||
| SSQ-23 1957 Ref 6 |
Julie 100 to 3000 Hz |
1956 |
19 Nov 1964 | |||||||||||||||||||||||||||||||||||||||||||||||||||||||||||||||||||||||||||||||||||||||||||||||||||||||||
| SSQ-28 |
Jezebel-LOFAR
|
1960 |
19 Nov 1964 | |||||||||||||||||||||||||||||||||||||||||||||||||||||||||||||||||||||||||||||||||||||||||||||||||||||||||
| SSQ-36 |
BT Moved to the Bathythermographs\SSQ-36
web page. The BT sonobuoy is an expendable thermal gradient measurement sonobuoy that operates on one of three or one of 99 Radio Frequency (RF) channels. It consists of a thermistor (Wiki) temperature probe that descends through the bottom of the sonobuoy canister producing a continuous reading of temperature versus depth. The thermistor temperature probe will descend to 1000, 2000, or 2625 feet, depending upon the sonobuoy selected. 2017 Oct 11 - Navy places order for 166,500 anti-submarine warfare (ASW) sonobuoys - many types including -36, -53, -62, -101, 110, -125, Mk-84 2019 Dec 20 - 600 AN/SSQ-36/53/62 Sonobuoys to Denmark |
|||||||||||||||||||||||||||||||||||||||||||||||||||||||||||||||||||||||||||||||||||||||||||||||||||||||||||
| SSQ-38 |
30 day omni-directional
LOFAR (replaced SSQ-28) 10 to 6,000 Hz 31 chan |
1964 |
1 June
1961 |
|||||||||||||||||||||||||||||||||||||||||||||||||||||||||||||||||||||||||||||||||||||||||||||||||||||||||
| SSQ-41 1965 Ref 6 SSQ53A/Ref24&25 |
single hydrophone, Rx:
10-20,000 Hz replaced both SSQ-23 & SSQ-28 ARR-52 receiver (or ARR-75 with AN/UYS-1, i.e. modern displays) Made in large numbers for the Navy. |
1964 |
||||||||||||||||||||||||||||||||||||||||||||||||||||||||||||||||||||||||||||||||||||||||||||||||||||||||||
| SSQ-47 late 1960s Ref 6 |
(replaced SSQ-15 Julie
explosive system) Tx (once every 10 seconds): 13 kHz to19
kHz active ping omni directional range only replaced by SSQ-50 |
1968 |
||||||||||||||||||||||||||||||||||||||||||||||||||||||||||||||||||||||||||||||||||||||||||||||||||||||||||
| SSQ-48 |
replaced by SSQ-41B |
26 Feb
1981 |
||||||||||||||||||||||||||||||||||||||||||||||||||||||||||||||||||||||||||||||||||||||||||||||||||||||||||
| SSQ-50 1970s Ref 6 |
CASS Command Activated
Sonobuoy System, A-size, Pings only on UHF radio command.
Tx: 6.5 to 9.5 kHz. replace the SSQ-47 in 31 Second Generation Channel frequency plan. |
|||||||||||||||||||||||||||||||||||||||||||||||||||||||||||||||||||||||||||||||||||||||||||||||||||||||||||
| SSQ-53 1965 Ref 6 |
31 RF Channels 10 Hz - 2.4 kHz 90 feet fixed depth |
Sep 1967 |
||||||||||||||||||||||||||||||||||||||||||||||||||||||||||||||||||||||||||||||||||||||||||||||||||||||||||
| SSQ-53A 1979 (YouTube) |
90 or 1000' depth 1 or 8 hours YouTube: FixitFrank: |
|||||||||||||||||||||||||||||||||||||||||||||||||||||||||||||||||||||||||||||||||||||||||||||||||||||||||||
| SSQ-53B | DIFAR fitted with microprocessor controlled EFS capabilities, with three depth selections [100, 400 or 1000 feet], three operating time selections of 1, 3 or 8 hours, 99 vhf channels.
|
1984 |
||||||||||||||||||||||||||||||||||||||||||||||||||||||||||||||||||||||||||||||||||||||||||||||||||||||||||
| SSQ-53D | Dwarf "G" size version of
the B |
1991 |
||||||||||||||||||||||||||||||||||||||||||||||||||||||||||||||||||||||||||||||||||||||||||||||||||||||||||
| SSQ-53D | DIFAR only sensor, 90, 400
or 1000 feet, no CFS -53D(2) 5 Hz - 2.4 kHz 1/2, 1, 2, 4 or 8 hours -53D(3) sea state 6 ---------------- Ref 32: The AN/SSQ-53D DIFAR sonobuoy incorporates the Electronic Function Select (EFS) capability which provides the operator with the capability of electronically selecting one of the available 99 RF channels, sonobuoy life of one-half, one, two, four, or eight hours, and hydrophone depth of 90, 400, or 1000 feet. The AN/SSQ-53D also has improved suspension, wider sonic response curve, and electronic upgrades compared to previous DIFAR sonobuoys. |
2003 |
||||||||||||||||||||||||||||||||||||||||||||||||||||||||||||||||||||||||||||||||||||||||||||||||||||||||||
| SSQ-53E | Digital version Additional hydrophone @ 45' for CSO CFS 100, 200, 400 or 1000 feet AGC 91.44 cm long ----------------------- Ref 32: The AN/SSQ-53E DIFAR sonobuoy incorporates Command Function Select (CFS). Through CFS, a suitably equipped ASW aircraft can transmit Ultra High Frequency (UHF) radio commands to the sonobuoy. These commands select Very High Frequency (VHF) operation (on/off), hydrophone reception (Constant Shallow Omni (CSO)/Normal, Automatic Gain Control (AGC) operation (on/off), and change RF channel frequency. The CSO is an omnidirectional hydrophone positioned at a depth setting of 45 feet. It is less sensitive than the normal DIFAR hydrophone, but is useful against an evasive submarine. AGC selection provides the operator additional flexibility when operating in a noisy environment. The ability to select VHF operation and change RF channels enhances operations in the littoral environment. Also, the AN/SSQ-53E includes an additional 200 feet EFS depth setting. |
|||||||||||||||||||||||||||||||||||||||||||||||||||||||||||||||||||||||||||||||||||||||||||||||||||||||||||
| SSQ-53F |
DIFAR,
CSO made by combining the 305 cm long SSQ-53E & SSQ-57 NSN 5845-01-475-9870 adds CO hydrophone with directional units (replaces SSQ-57) CFS Rx - single channel UHF Tx - 96 selectable frequencies (136 - 173.5 MHz), 1W 90, 200, 400, 1000 Ft. "In order to process the DIFAR 53F, a demodulator strips the NEMA GPS stream off a 30 kHz carrier on each audio channels before transmitting it through a 232 serial interface to the STB (SDR System Test Bed), which has a component that reads this serial stream and parses the associated NEMA GPS messages for use by the system." TM2011-140_i.pdf |
2000 |
||||||||||||||||||||||||||||||||||||||||||||||||||||||||||||||||||||||||||||||||||||||||||||||||||||||||||
| SSQ-57A 1970s Ref 6 |
Calibrated-LOFAR -57 Rx: 10 to 10,000 Hz, -57A Rx: 10 to 20,000 Hz. See separate web page |
1972 |
||||||||||||||||||||||||||||||||||||||||||||||||||||||||||||||||||||||||||||||||||||||||||||||||||||||||||
| SSQ-57B |
Ref 32: The LOFAR sonobuoy is an expendable, omnidirectional passive sonar unit. It consists of an omnidirectional hydrophone that descends through the bottom of the sonobuoy canister to a pre-selected depth. The LOFAR operates from one of 31 RF channels preset during manufacturing. There is a selectable operating life of one, three, or eight hours and selectable operating depth of 90 or 400 feet. | |||||||||||||||||||||||||||||||||||||||||||||||||||||||||||||||||||||||||||||||||||||||||||||||||||||||||||
| SSQ-62 late 1970s Ref 6 |
DICASS
Directional Command Activated Sonobuoy System FM sweeps (FM-CW allows determining range (Wiki) a 4-hour life and 50 seconds of ping time, provides an instant range and bearing to the contact for each command and active ping. 99 channel Third generation frequency plan. |
1976 |
||||||||||||||||||||||||||||||||||||||||||||||||||||||||||||||||||||||||||||||||||||||||||||||||||||||||||
| SSQ-62B | Ref 32: The AN/SSQ-62B DICASS may be command activated to change depth, to activate sonar transmissions and to scuttle the sonobuoy. The AN/SSQ-62B DICASS operates on one of four preset sonar channels and one of 31 preset RF channels. These channels are preset by the manufacturer and cannot be changed. Upon deployment, the AN/SSQ-62B DICASS will initially deploy to a depth of 90 feet. Upon receipt of a command signal, the transducer will deploy to a depth of 400 or 1500 feet. | |||||||||||||||||||||||||||||||||||||||||||||||||||||||||||||||||||||||||||||||||||||||||||||||||||||||||||
| SSQ-62C |
Ref 32: The AN/SSQ-62C DICASS also operates on one of 86 preset sonar channels. The channels are preset prior to flight to one of 86 preset RF channels that correspond with the preset sonar channel. Upon deployment, the AN/SSQ-62C DICASS will initially deploy to a depth of 90 feet. Upon receipt of a command signal, the transducer will deploy to a depth of 400 feet or 1500/2500 feet. The 1500 or 2500 foot depth option must be selected through the EFS during preflight. | 1993 |
||||||||||||||||||||||||||||||||||||||||||||||||||||||||||||||||||||||||||||||||||||||||||||||||||||||||||
| SSQ-62D | Ref 32: The AN/SSQ-62D DICASS has been improved with the replacement of the lithium chemistry battery with a thermal battery. Additionally, the sonobuoy includes the EFS option of selectable depth families. During preflight, either a shallow or deep family of depth option shall be selected. If the shallow family is selected, depth settings of 50, 150, or 300 feet are available. If the deep family is selected, depth settings of 90, 400, and 1500 are available. These depth options provide sufficient flexibility for both littoral and open ocean ASW operations. | |||||||||||||||||||||||||||||||||||||||||||||||||||||||||||||||||||||||||||||||||||||||||||||||||||||||||||
| SSQ-62E |
Command Function Select Electronic Function Select 96 chan 136.000 - 173.500 MHz CW Out: 6.5, 7.5, 8.5 or 9.5 kHz -------------------------- Ref 32: The AN/SSQ-62E DICASS includes the following improvements and modifications to the AN/SSQ-62D DICASS design. It incorporates CFS, allowing a suitably equipped ASW aircraft to transmit UHF radio commands to the sonobuoy. These commands select VHF operation (on/off), change RF channel frequency and associated sonar channel frequency, change sonar frequency independently, and change depth setting. These features all provide enhancements for both deep water and littoral ASW environments. Additionally, the AN/SSQ-62E DICASS will include all four available sonar channel frequencies into a single sonobuoy which provides significant logistics savings. |
Sonobuoy Tech
Systems |
||||||||||||||||||||||||||||||||||||||||||||||||||||||||||||||||||||||||||||||||||||||||||||||||||||||||||
| SSQ-77 1970s Ref 6 |
VLAD | |||||||||||||||||||||||||||||||||||||||||||||||||||||||||||||||||||||||||||||||||||||||||||||||||||||||||||
| SSQ-77A 1981 Ref 6 |
VLAD (Vertical Line Array DIFAR) | 1981 |
||||||||||||||||||||||||||||||||||||||||||||||||||||||||||||||||||||||||||||||||||||||||||||||||||||||||||
| SSQ-77B | " more hydrophones, 2
depths, 2 beams Ref 32: The VLAD sonobuoy is an expendable, omnidirectional passive sonar unit. The VLAD uses a multi-element omnidirectional hydrophone array and a beamforming filter assembly to enhance acoustic sensitivity. The VLAD has a selectable configuration incorporated into the EFS. This allows the operator to select either bottom bounce or convergence zone sound reception. The EFS will also allow selection of one of 99 RF channels, two operating depths of 500 and 1000 feet, and selectable life settings of one, four, or eight hours. In all other respects, the VLAD is comparable to the DIFAR. |
1989 |
||||||||||||||||||||||||||||||||||||||||||||||||||||||||||||||||||||||||||||||||||||||||||||||||||||||||||
| SSQ-77C |
" adds RF command function selection | |||||||||||||||||||||||||||||||||||||||||||||||||||||||||||||||||||||||||||||||||||||||||||||||||||||||||||
| SSQ-86 |
DLC Ref 32: The DLC sonobuoy is an expendable, acoustic communication device designed to transmit a preprogrammed message to a submerged submarine. It consists of an omnidirectional acoustic transducer that descends through the bottom of the sonobuoy canister to a shallow transmission depth of 75 feet. After completing shallow depth transmissions, the transducer automatically descends to the deep transmission depth of 350 feet. The messages are encoded through the EFS prior to launch. The acoustic transmission frequencies are classified. The message transmission includes an address group, an addressee group, and two word groups. The sonobuoy does not have an RF transmitter. |
|||||||||||||||||||||||||||||||||||||||||||||||||||||||||||||||||||||||||||||||||||||||||||||||||||||||||||
| SSQ-101 early 1990s Ref 6 Ref 49 |
ADAR
Advanced Deployable Acoustic Receiver SSQ-101 NSN:
5845-01-453-8699 Ref 32: The ADAR sonobuoy is an expendable unit capable of receiving UHF downlink commands and sending real-time beamformed acoustic data via a VHF digital uplink to the monitoring unit. The ADAR will be a free-floating acoustic data receiver that will operate in conjunction with an acoustic source. The buoy will also scuttle automatically upon detection of a low voltage state or completion of its six hour life. |
FY97 |
||||||||||||||||||||||||||||||||||||||||||||||||||||||||||||||||||||||||||||||||||||||||||||||||||||||||||
| SSQ-101B Q101B.pdf |
NSN: 5845-01-629-8534 |
|||||||||||||||||||||||||||||||||||||||||||||||||||||||||||||||||||||||||||||||||||||||||||||||||||||||||||
| SSQ-110 | Ref 32: The AN/SSQ-110 EER sonobuoy operates on one of 31 selectable RF channels and is composed of two sections. The upper section is called the control buoy and is similar to the upper electronics package of the AN/SSQ-62 DICASS sonobuoy. The lower section consists of two explosive payloads of Class A explosive weighing 4.2 pounds each. The arming and firing mechanism is hydrostatically armed and detonated. | |||||||||||||||||||||||||||||||||||||||||||||||||||||||||||||||||||||||||||||||||||||||||||||||||||||||||||
| SSQ-110A |
EER MIL-S-29593, 30 July 1997 Ref 32: The EER sonobuoy is an expendable sonobuoy that is a commandable, air-dropped, high source level acoustic source. The SSQ-110A EER includes the following improvements and modifications to the AN/SSQ-110 EER design. The AN/SSQ-110A EER includes the EFS feature. EFS allows the selection of one of 99 RF channels. Additionally, the sonobuoy adds a classified depth setting for a total number of two depth settings. Upon deployment, the AN/SSQ-110A EER can be sent to its deeper depth setting via UHF radio commands. |
30 July
1997 |
||||||||||||||||||||||||||||||||||||||||||||||||||||||||||||||||||||||||||||||||||||||||||||||||||||||||||
| SSQ-120 |
(Wiki)
Transportable Radio Direction-Finding system, ...has HF,
VHF, and UHF antennas and direction-finding logic. FBOdaily
March 22, 1999 |
|||||||||||||||||||||||||||||||||||||||||||||||||||||||||||||||||||||||||||||||||||||||||||||||||||||||||||
| SSQ-125 |
advanced EER ADLFP sound
source used with: ADAR sonobuoys like SSQ-53F, SSQ-77C and SSQ-101 |
|||||||||||||||||||||||||||||||||||||||||||||||||||||||||||||||||||||||||||||||||||||||||||||||||||||||||||
| SSQ-536 |
BT | |||||||||||||||||||||||||||||||||||||||||||||||||||||||||||||||||||||||||||||||||||||||||||||||||||||||||||
| SSQ-801 |
BARRA | |||||||||||||||||||||||||||||||||||||||||||||||||||||||||||||||||||||||||||||||||||||||||||||||||||||||||||
| SSQ-906 |
LOFAR Omni |
|||||||||||||||||||||||||||||||||||||||||||||||||||||||||||||||||||||||||||||||||||||||||||||||||||||||||||
| SSQ-926 |
ALFEA, GPS 5452262 Radio telemetry buoy for long-range communication, James D. Hagerty, Navy, 1995-09-19, - 3 to 6 MHz Rx/Tx, GPS Rx, 162 to 173 Tx. |
|||||||||||||||||||||||||||||||||||||||||||||||||||||||||||||||||||||||||||||||||||||||||||||||||||||||||||
| SSQ-937C |
BT | |||||||||||||||||||||||||||||||||||||||||||||||||||||||||||||||||||||||||||||||||||||||||||||||||||||||||||
| SSQ-954 |
DIFAR | |||||||||||||||||||||||||||||||||||||||||||||||||||||||||||||||||||||||||||||||||||||||||||||||||||||||||||
| SSQ-955 |
HIDAR | |||||||||||||||||||||||||||||||||||||||||||||||||||||||||||||||||||||||||||||||||||||||||||||||||||||||||||
| SSQ-963D |
CAMBS | Janes |
||||||||||||||||||||||||||||||||||||||||||||||||||||||||||||||||||||||||||||||||||||||||||||||||||||||||||
| SSQ-981 |
BARRA | |||||||||||||||||||||||||||||||||||||||||||||||||||||||||||||||||||||||||||||||||||||||||||||||||||||||||||
Receivers
R-2/ARR-3 see the CRT-1 Sonobuoy page.
CIA-46186 (RBF-1)
The ARR-52 was a 16 channel receiver and the ARR-52A is a 32
channel receiver. (See: RxControl: ARR52A)
The internal modules have markings like:
| Module 1 |
p/o R1170/ARR-52A | 16 Tuning caps for crystal oscillators |
| Module 2 |
R-962 A/ARR-52 |
|
| Module3 | R-962 A/ARR-52 | |
| Module4 | R-962 A/ARR-52 | |
| Module5 | R-962 A/ARR-52 |
CQ magazine October 1974, Conversion to 2 meters?
Some info from Radio
Nerds:
ARR-52,A R-962/1170 Sonobuoy Receiver 162.5-173.5 MC AM-FM-Video AM-2375,76/ ARR-52 RF Amps. ARM-53 ARR-52 Test Set AT-933/ ARR-52 Antenna (2 used) C-3109,10*/ R-962/ Control Boxes, 4 & 2 Signal Channels, 16 RF Channels C-4505,06*/ R-1170/ Control Boxes, 4 & 2 Signal Channels, 31 RF Channels NSN: 5845-00-999-6285 C-4506 NSN: 5845-00-999-6286
MT-2258/ ARR-52 4-ReceiverRackCase MT-2259/ ARR-52 Shockmount for MT-2258/ PP-2479/ ARR-52 PS 115 VAC & 28 VDC in, -6, +18, +135 VDC out RD-53/ARH ARR-52 Bathythermograph Recorder U/W AM-1569/ARR-26 & IP-347/ SB-1084,85/ Signal Level Meters, 4 & 2 Channels
3778728
Phaselocked-fm detector apparatus, R Nupp,
EDMAC
ASS, 1973-12-11, -
3845402
Sonobuoy receiver system, floating coupler, R Nupp,
EDMAC
ASS, 1974-10-29, -
![]() |
ASA-20 Control Drift - Compute - Reset PDI (Pulse Doppler Indicator): BDHI (Bearing Distance Heading Indicator): Marker 1 to 6, GTP: Marker 1 to 6 Insert ASA-20 or AQA-1 ASA-20 or AQA-1 A-B: 1 to 6 Computer Ellipse A: Off to 6 Data Release B: Off to 6 |
ASA-31 Julie Control
Panel![]() |
Julie Control |
Deinterleaver Technology for Future ESM systems, Dec 1992 NSWC - each pulse received from a single emitter can be agile in frequency, pulse width, pulse amplitude, pulse repetition interval, but not direction. So using the Pulse Descriptor Word from the ESM sensor a future deinterleaver can sort out each emitter and differentiate between friendly and hostile emitters. ESM systems mentioned:
Racal SADIE
IBM Associative Comparator
Anaren ESM Processor
ALQ-32 Inner Processor
Instantaneous Frequency Measurement (IFM) receivers are part of the ESM sensor. But this type of receiver can have problems with two signals at the same time or with a CW signal anywhere in it's frequency range. The proposed configuration is to use narrow band receivers (many channels) and for each channel two paths, one for angle of arrival and the other for characterization of the received signal.
15 April 2023: The AN/TSQ-108(*) Radar Sonar Surveillance Center "van's" are basically a P-3 Orion without wings or torpedoes..( FAS, USNI)
SRQ-17 (Wiki, Ref 48)
Link between Vietnam Intrusion Detectors and Navy
6 Sep 2019 Discovered the next 3 patents while looking for information on the RR-97/AL chaff brick. The inventors of Navy Sonobuoy containers also invented seismic and acoustic intrusion detectors. This is the link that was obvious 7 years ago in 2012, but now is confirmed.
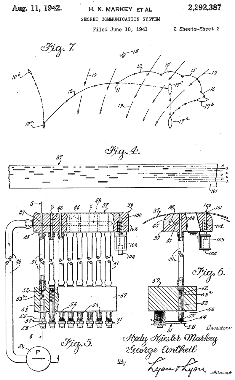
3891865 Intrusion detector, Salvatore R Picard, Robert F Starry, US Navy, 1975-06-24, 327/37; 340/539.1; 340/522; 340/566; 340/539.14 - "A low-current detection device responsive to both audio and seismic input signals received over predetermined periods of time at preselected amplitude levels."
Seismic & Audio inputs. Optional night operation. 3 tones (United Aircraft H2102 tone generator) in the range of 19 kHz to 32 kHz depending on code select plug.
Citations
Publication number Priority date Publication date Assignee TitleUS3139539A *1962-03-30 1964-06-30 Gen Electric Control circuit producing output signal so long as input pulses occur within certain time intervalUS3517316A *1966-03-22 1970-06-23 Res Instr & Controls Inc Surveillance equipment and systemUS3552520A *1968-02-27 1971-01-05 Us Navy Detecting and transmitting system with interval timing meansUS3569923A *1967-10-30 1971-03-09 Us Navy Adaptive acoustic detector apparatusUS3585581A *1969-07-22 1971-06-15 Honeywell Inc Seismic sensor apparatusUS3613061A *1968-08-29 1971-10-12 Bryant D Lund Pressure-responsive, timed, electronic control apparatus and methodUS3691549A *1970-12-02 1972-09-12 Sylvania Electric Prod Signal processor
US3714622A *1969-12-12 1973-01-30 Us Navy Adaptive agc system
Cited by
Publication number Priority date Publication date Assignee TitleUS4604738A *1982-02-22 1986-08-05 Honeywell Inc. Method and apparatus for classification of a moving terrestrial vehicle as light or heavy, compensates for different distances from vehicle to sensor by comparing the energy in the acoustic and seismic signals.
CitationsUS8331195B1 *2008-10-20 2012-12-11 Army Computer implemented sensor data analysis - Igloo White (Wiki)
Publication number Priority date Publication date Assignee TitleUS3585581A *1969-07-22 1971-06-15 Honeywell Inc Seismic sensor apparatusUS3824532A *1971-09-27 1974-07-16 Us Air Force Seismic signal intrusion detection classification systemUS3891865A *1973-11-14 1975-06-24 Us Navy Intrusion detectorUS3903512A *1974-03-07 1975-09-02 GTE Sylvania Inc Signal processorUS3984804A *1971-11-29 1976-10-05 Navy Acoustic and seismic troop movement detectorUS3995223A *1970-02-19 1976-11-30 Navy Seismic-acoustic detection deviceUS4081785A *1974-02-13 1978-03-28 Air Force Dual class amphibious target discriminatorUS4090180A *1976-03-16 1978-05-16 Elliott Brothers (London) Limited Vibration-responsive intruder alarm systemUS4158832A *1961-06-19 1979-06-19 Army Seismic apparatus for discrimination between track-type vehicles and wheel-type vehiclesUS4271491A *1978-11-20 1981-06-02 Simpson Ronald R Intruder alarm systemUS4337528A *1972-12-13 1982-06-29 Air Force Moving vehicle seismic target detector
Cited by
Publication number Priority date Publication date Assignee TitleUS4953144A *1989-09-11 1990-08-28 Shell Oil Company Third-party detection around pipelinesUS5007032A *1990-06-08 1991-04-09 Honeywell Inc. Acoustic alert sensorEP0535570A1 *1991-10-01 1993-04-07 Rockwell International Corporation Transient detection processing, especially underwater acoustic signal recognitionUS5229765A *1991-05-08 1993-07-20 Halliburton Logging Services, Inc. SP noise cancellation techniqueUS5737433A *1996-01-16 1998-04-07 Gardner; William A. Sound environment control apparatusUS6385130B1 *2000-09-11 2002-05-07 Navy Dual channel switch with frequency band limitingEP1222445A1 *1999-10-06 2002-07-17 George W. Herndon Seismic weigh-in-motion systemDE4212072C2 *1992-04-10 2002-09-26 Stn Atlas Elektronik Gmbh A method of detecting and classifying sound sources, in particular of vehiclesWO2005034062A1 *2003-10-02 2005-04-14 Robert Bosch Gmbh Method for the evaluation and temporal stabilization of classification resultsUS20070062289A1 *2005-09-07 2007-03-22 Luna Innovations Incorporated Method and apparatus for acoustically weighing moving loadsEP1835308A12006-03-16 2007-09-19 SmartTrig AB Detection unit and a method of using the sameWO2009019706A2 *2007-08-09 2009-02-12 Elta Systems Ltd Method and apparatus for detecting pedestriansUS20100157729A1 *2008-12-19 2010-06-24 Bae Systems Information And Electronic Systems Integration Inc. Seismic Method For Vehicle Detection And Vehicle Weight ClassificationUS20110199861A1 *2007-03-12 2011-08-18 Elta Systems Ltd. Method and system for detecting motorized objectsUS8331195B1 *2008-10-20 2012-12-11 Army Computer implemented sensor data analysisUS20150168545A1 *2013-12-13 2015-06-18 Agency For Defense Development Distance estimation device and method using the difference of wave speed between waves
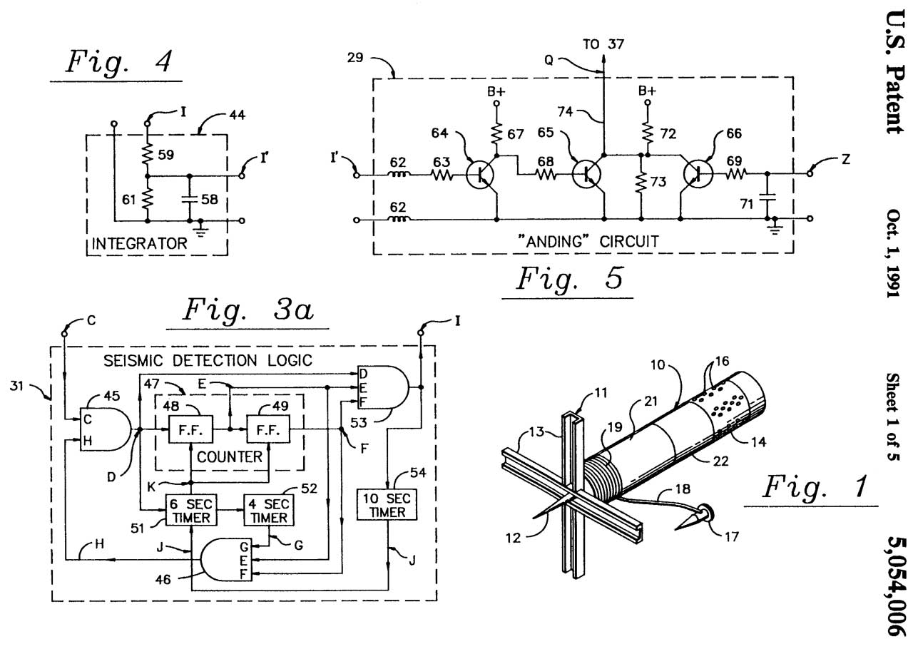
3995223 Seismic-acoustic detection device, George A. Gimber, Edward J. Cotilla, Salvatore R. Picard, Robert F. Starry, US Navy, Priority: 1970-02-19, Pub: 1976-11-3, 327/25; 367/93; 181/122 - "an acoustic sensor, a seismic sensor and an acoustic signal transmitter." Inventors are with Navy and have sonobuoy related patents.
The illustrations in this patent are almost identical to patent 5054006 below.
Citations
Publication number Priority date Publication date Assignee TitleUS3543172A *1968-09-19 1970-11-24 Anderson Jacobson Inc Digital frequency discriminatorUS3641443A *1969-12-11 1972-02-08 Westinghouse Electric Corp Frequency compensated pulse time discriminatorUS3705417A *1971-12-16 1972-12-05 Tel Tone Corp Pulse ratio detectorCited by
Publication number Priority date Publication date Assignee TitleUS4107616A *1976-01-22 1978-08-15 M. L. Engineering (Plymouth) Limited Signal monitoring circuitUS4230992A *1979-05-04 1980-10-28 Minnesota Mining And Manufacturing Company Remote control system for traffic signal control systemFR2521307A1 *1982-02-11 1983-08-12 Krupp Gmbh Passive method for acquiring data relating to a target that is a mobile preferably acoustic sourceDE3306155A1 *1982-02-22 1983-09-01 Honeywell Inc Device for weight-dependent classification of vehiclesFR2592200A1 *1985-12-24 1987-06-26 Maisonnette Miche lElectronic device for detecting any untimely triggering of an alarmUS4811308A *1986-10-29 1989-03-07 Michel Howard E Seismo-acoustic detection, identification, and tracking of stealth aircraftUS5007032A *1990-06-08 1991-04-09 Honeywell Inc. Acoustic alert sensorWO1991006874A1 *1989-11-02 1991-05-16 Rheinmetall Gmbh Process for determining the direction and range of noise-generating targetsUS5054006A *1970-02-19 1991-10-01 The United States Of America As Represented By The Secretary Of The Navy Seismic-acoustic detection deviceWO1997019368A1 *1995-11-17 1997-05-29 Stn Atlas Elektronik Gmbh Method and device for detecting pedestriansES2170603A1 *1998-06-19 2002-08-01 Tzn Forschung & Entwicklung Surface mine defenseUS8331195B1 *2008-10-20 2012-12-11 Army Computer implemented sensor data analysis
5054006 Seismic-acoustic detection device, George A. Gimber, Edward J. Cotilla, Salvatore R. Picard, Robert F. Starry, US Navy, App: 1970-02-19 (21 Year Delay) Pub: 1991-10-01, 367/136 -
The illustrations in this patent are almost identical to patent 3995223 above.
Citations
Publication number Priority date Publication date Assignee TitleUS2646559A *1949-06-09 1953-07-21 Nutzler Paul Gustav Adolf Approach detection by high frequency radiationUS3094929A *1960-07-29 1963-06-25 Singer Inc H R B Detonating systemUS3125953A *1964-03-24 AmplifierUS3147467A *1961-09-07 1964-09-01 American District Telegraph Co Vibration detection vault alarm systemUS3375376A *1964-02-20 1968-03-26 Navy Usa Anti-intruder device using vibration responsive member between light and photocellUS3474405A *1968-05-17 1969-10-21 Us Navy Method and apparatus for detecting the presence of enemy personnel in subterranean chambersUS3543261A *1968-06-14 1970-11-24 Us Air Force Upper threshold circuitUS3569923A *1967-10-30 1971-03-09 Us Navy Adaptive acoustic detector apparatusUS3995223A *1970-02-19 1976-11-30 Navy Seismic-acoustic detection device
Cited by
Publication number Priority date Publication date Assignee TitleUS5373486A *1993-02-03 1994-12-13 DOE Seismic event classification system - "...provide a method and apparatus for classifying seismic signals to verify nuclear test ban treaties."EP1835308A1 2006-03-16 2007-09-19 SmartTrig AB Detection unit and a method of using the sameUS8331195B1 *2008-10-20 2012-12-11 Army Computer implemented sensor data analysis - Igloo White (Wiki)US9851461B1 *2012-04-04 2017-12-26 Navy Modular processing system for geo-acoustic sensing - Igloo White (Wiki)
Construction
Since the sonobuoy has a cylindrical ( 4-4/7" O.D.) shape it makes sense to have the electronics in the form of cylindrical modules that can be stacked end to end. These modules are about 2-3/4" O.D. and have a circular connector around the outer edge. For use as an outdoor intrusion detector the hydrophone is replaced with a geophone (Wiki), or other sensor like used to listen for the RF generated from spark ignition engines.
April 2023: After getting an ADSID I not longer think the GSQ-160 (and others) use of the TCnnn cylindrical modules came from or are related to sonobuoys. This is because these modules are very heavy and sonobuoys require light weight construction both because of the need to maximize the number of sonobuoys that can be carried on a plane and to allow a small flotation device to keep the electronics package on the surface.
The barrier would consist of a 20,000 air dropped listening devices combined with 240,000,000 Gravel mine and 300,000,000 Button mines and 19,200 Sadeye cluster bombs at a cost of around one billion dollars a year, not including 1.6 billion dollars for research and development, and the construction of a 600 million dollar command center in Thailand.
ARFBUOY Acoubuoy
This is an 18 pound steel cylinder 4-3/4"x22". |
![]() |
![]() |
![]() |
![]() |
![]() |
![]() The central gold colored thing is the microphone. Note all the holes in the front to let sound in and protect the microphone from tree limbs. |
![]() |
![]() |
![]() |
Battery![]() This is a battery type I don't recognize. If you know about it please let me know what it is. |
Sound Observer (Locator)
Remote Microphone. It's identical to the mike in the Acoubuoy. ![]() This is the same mike that's in the photo at left with the question mark. The 5 socket connector is marked: 7004 Deutsh DBA36-10-5SN-10-6032 The contacts are numbered 1, 2, 3, 4 (but no 5). There's a knurled and slotted screw head on the back that can be unscrewed about 1 turn, maybe to normalizing the pressure inside to match atmospheric. See RT-1185 for a similar application. Maybe one of the applications was to locate enemy small arms or big guns? |
Does not call other patents but is cited by:3806908 Perimeter intrusion detection system, L Bound, A Hunting, Texas Instruments, 1974-04-23, -
5434828 Stabilizer for geophone, Roger M. Logan, Ion Geophysical Corp, 1995-07-18 - adds bumps so it will not roll around when on the bottom under water.
6531965 Modular open system architecture for unattended ground sensors, Stephen G. Kaiser, Mark D. Hischke, Shannon Mary Nelson, Stuart J. Collar, Dana Lynn Bourbonnais, Northrop Grumman Systems Corp, 2003-03-11 - the sensor modules look like those on the GSQ-154 & GSQ0160. "unattended ground sensor" (Wiki) mentioned many times.
History of the U.S. Army Research Laboratory - page with mention of UGS.
6823262 Method for conducting seismic surveys utilizing an aircraft deployed seismic source, Phillip Andrew Bahorich, Michael Stephen Bahorich, Apache Corp, 2004-11-23 - plane drops iron bomb w/o explosives, just it's weight hitting the ground makes the signal.
6831699 Deployable monitoring device having self-righting housing and associated method, Yu-Wen Chang, William Grainger, Michael Johnson, William Traeger, Pablo De Los Rios, William Osterholm, Chang Ind Inc, 2004-12-14 - egg shaped device with TV camera.
20060010998 Autonomous reconnaissance sonde, and method for deployment thereof, Roke Manor Research Ltd, 2008-05-20 - based on TV camera in Clay pigeon (Wiki).
WO2016139503 - sounds like a seismic sensor glues itself to the ground
The Turd,
Gravel Mines (Wiki),
and the BLU-43 Dragontooth (Wiki)
were used as part of Operation Igloo White (Wiki).
More about land mines at Blasting
Machines/M21 Training Land Mine -
![]() |
![]() |
An eBay ad showed the GSQ-171 beside the USQ-46
receiver. It has what appear to be Vietnamese markings.
Fig 1![]() |
Fig 2![]() |
![]() |
![]() |
![]() |
"Submarine-Launched One-Way Transmitter Buoy"; AN/BRT-1; NSN: 5820-01-233-6651
Wave Buoy
Wave rider buoys were used for station keeping the Glomar Explorer.
2402143 Parachute pack, Gilbert H Arenstein, 1946-06-18, - buoyant radio transmitter parachuted from plane.- cited by 21 patents.
2497852 Transmitter buoy, Gilbert H Arenstein, 1950-02-21, - CW radio beacon, maybe to mark a wreck.
2839920 Sea state wave meter, Thomas G Macanespie, Glenn L Martin Co, 1958-06-24, - designed to sense many parameters, for radio transmission
3110178 Disposable accelerometer wave buoy, Marks Wilbur, Robert G Tuckerman, Willis S Campbell, sNavy, 1963-11-12, - accelerometer has aluminum cylinder and permanent magnet damper as part of a variable capacitor that senses acceleration. For signal processing see: Pierson and Marks, "Power Spectrum Analysis of Ocean Wave Records,' Trans. Amer. Geophys. Union, v. 33, 1952. 100 kc FM modulation on a 132 Mc carrier.
Sonobuoy
1154272 Marine Mine, Emil Senger, Raimund Sauter, Sep 21, 1915, 102/408 - a plug dissolves after a predetermined time scuttling the mine
1308003 Apparatus for detecting and indicating the presence of submarine boats, G.E. Elia (Italy), June 24, 1919, - raises a flag when sub entangles net
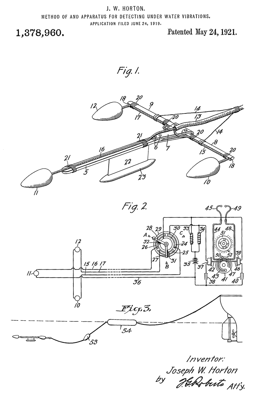
1426337 Signaling apparatus for detecting submarines, Sperry Elmer A, Filed: Jul 9, 1917, Pub: Aug 15, 1922, 455/97, 441/11, 343/709, 174/138.00R, 294/111, 313/553, 114/240.00R, 313/243, 102/402, 174/77.00R, 455/99, 174/153.00R, 343/896, 200/83.00R - when net is entangled by a sub the buoy sends a radio signal
203399 Improvement in Buoys, George D. Wyckoff, 1878-05-07, - Floating surface marker buoy with bell.
2629083 Expendable radiosonic buoy, Barkson Joseph A, Mason Russell I, Mcnary James C, Filing: Sep 21, 1944, Pub: Feb 17, 1953, 367/3, 343/709, 455/99, 441/33, 441/23, 343/705, 343/901 - CRT-1
1471547 Production of submarine signals and the location of submarine objects, Chilowsky Constantin, Langevin Paul, May 19, 1917 (W.W.I) Oct 23, 1923
367/87, 367/174, 89/41.8, 89/41.7, 310/337 - uses the term "ultra-sonorous" 50 kHz to 200 kHz
1426337Signaling apparatus for detecting submarines, Sperry Elmer A, Jul 9, 1917, Aug 15, 1922, - triggered by net 455/97, 441/11, 343/709, 174/138.00R, 294/111, 313/553, 114/240.00R, 313/243, 102/402, 174/77.00R, 455/99, 174/153.00R, 343/896, 200/83.00R
2310017 Emergency transmitter, Hartman B Canon, Joseph L Swallow, Gard Well Co, Wells-Gardner, App: 1941-05-05, W.W.II, Pub: 1943-02-02, - beacon Tx, no sensors
2311079 Transducer, Jr Josephus O Parr, 1943-02-16, - seismometer
2361177Method and apparatus for the detection of submarines by airplanes, Constantin Chilowsky, Apr 25, 1941, Oct 24, 1944, - fluxgate probe towed by cable from plane flying in a circle
367/120, 102/419, 244/137.1, 367/130, 102/427, 434/6
1829474Method and device for establishing communication between aircraft in full flight and the ground, Chilowsky Constantin, 1931-10-27, -
2397844 Signaling apparatus, Wallace W DeWhurst (RCA) Apr 2, 1946, 367/3, 138/89, 114/198, 455/99, D10/107, 441/11, 73/322.5 - sonobuoy
2402391 Submarine detection, De Witt R Goddard, Rca Corp, Filed: Aug 30, 1943, Pub: Jun 18, 1946, 367/115, 124/51.1, 89/1.51, 367/112, 221/279 - time from explosive detonation until pulse returned is range.
2420676 Submarine signaling apparatus, Robert E Peterson, Jan 23, 1943 (W.W.II) May 20, 1947, 114/23, 367/150, 114/21.1, 116/27, 181/402, 114/21.3 - uses the term "superaudible frequencies"
![]() |
2593432
Falls straight down from aircraft over water. Rights itself, an explosive extends the telescoping antenna, sends distress signal, after timer scuttles. 2637862 Buoyant chamber scuttling device, Raymond L Freas, 1953-05-12, - |
Calls:2828475 Remote Control or Measurement Indicating Means, (Sec of Navy), Mar 19 1958 - Sonobuoy that adds direction to sound in addition to just omni directional listening
1731127 Signal Control System (railroad), Oct 8 1929
1859423 Sound Recording - multiple needles for echos
2039405 Remote Metering System (AT&T) -
2066156 signaling Means, Apr 25 1929, - relative motion
2206156 Conveyer?
2206036 Distance Measuring Apparatus and System, J. Herson, Jly 2 1940, - optical aircraft altitude blind landing
2329612 Apparatus for Training Aircraft Pilots, G.E. Hill et al, Sep 14 1943, - includes real time position output
2332523 Ground Track Tracer and Landing Recorder, E. Norden et al, Oct 26 1943, - servo controled pen recorders
2358793 Navigation Instruction Device, C.J. Crane, Sep 26 1944, - scaled movement of student over floor
2373560 Sound Recording Method and Apparatus, J.M. Hanert (Hammond Inst Co), Apr 10 1945 - adding vibrato
2375004 Training Apparatus, May 1 1945 - sound and recoil of a real gun
2444477 Automatic Miniature Radio Range (A-N), 1948 - used with pen recorder
2452038 Photoelectric Radio Compass Trainer Control, 1948 - based on scale map
2459150 Interception Trainer 1949 - call "Link" patents: 1825462, 2099857
calls:
1610779 Signaling apparatus, Gen Electric, Dec 14, 1926 - an underwater device that sends a signal when it receives a signal. aimed at ship positioning, but could also be used for sub detection? A number of patents reference this on.
for use on a continental shelf where there's constant depth where the low frequency cutoff is given by f = v/4H.
If H = 1640 feet (500 meters) (Wiki: Blake Plateau) and v = 1500 meters/second; then
f = 1500/(4*500) = .75 per second or about 1 Hz.
This is very similar if not identical to waveguide propagation modes (Wiki).
Uses a shore station.2885565 Azimuth sensing device, Davis Alfred, Army, 1959-05-05, - for positioning an Az-El antenna in a remote location.
Cites:
2432083 Hydrophone Jr Robert Black, Frank F Romanow, Oscar A Shann, Bell Labs, App: 1942-12-08, W.W.II, Pub: 1947-12-09, -
| 3377615 | April 1968 | Lutes | |
| 3281765 | October 1966 | Taplin | |
| 2435587 | Compressional wave signaling device |
February 1948 | Harry |
| 3372368 | March 1968 | Dale et al. | |
| 3539979 | November 1970 | Crall |
| 2422337 | June 1947 | Chilowsky | Submarine detecting buoy |
| 3222634 | December 1965 | Foster | Underwater locating device |
| 3275976 | September 1966 | Farmer | Bottom release mechanism for a sonobuoy |
|
Calibrators & Test Sets
3875548
Calibrator plug-in-module for sonobuoy, Robert
S Acks, Navy,
1975-04-01, - inserted between the hydrophone and sonobuoy
(how?). |
| 2778332 | January 1957 | Talbot | Means for locating crashed airplanes |
| 3093808 | June 1963 | Tatnall et al. | Air-dropped miniature sonobuoy |
| 3140886 | July 1964 | Cotilla et al. | Coupling device |
| 3220028 | November 1965 | Maes | Radio-sono-buoys |
| 3309649 | March 1967 | Ballard et al. | Sonobuoy with depth selection capabilities |
| 3646505 | February 1972 | Kirby | Automatically deployable sonobuoy |
| 3701175 | October 1972 | Widenhofer | Hydrophone damper assembly |
| 3093808 | June 1963 | Tatnall et al. | Air-dropped miniature sonobuoy |
| 3262090 | July 1966 | Farmer | Sonobuoy depth selection mechanism |
| 3921120 | November 1975 | Widenhofer | Float actuated release mechanism |
4092627 Calibration circuit for expendable sonobuoys, Donald Murdock, Thomas E. Stixrud, Navy, 1978-05-30, - a dual 555 timer (Wiki) circuit generates a signal that's applied to a 10 Ohm resistor between the hydrophone and ground to make a test signal. 15VDC supply, R5 & 10 Ohms. 17 minutes off and 1 minute one using a 10 Hz test signal. The value of R5 is not mentioned so the amplitude of the signal in series with the hydrophone can only be guessed. If R5 was 1 Meg then the current would be 15V/1M = 15 uA. 15 uA * 10 Ohm = 150 uV.Patent Citations (11)
Patent Citations (4)4186370 Stabilized sonobuoy suspension, Raytheon, Jan 29, 1980, 367/4; 367/130; 441/11; 441/33 -
"...a minimum of three horizontal booms radiating from a central hub, sus pended at the array operating depth. The booms are preferably comprised of metal tapes which are treated in such a way that they curl and form tubular boom members that can be flattened and rolled onto a com pact spool for storage within an array deployment canister.5119341 Method for extending GPS to underwater applications, James W. Youngberg, AF, 1992-06-02, - GPS to Sonobuoy (fro P-3), acoustic signal to underwater vehicle.
The present invention further incorporates loose lines of hydrophones hung from pairs of points on the boom structure and allowed to hang in arcs approximating catenaries. Utilization of the hydrophone array disclosed in this application provides considerable flexibility with the spatial arrangement of the hydrophones as well as good acoustic performance.
...has ten db more array gain than any current array deployable as an off-board sensor."
"Basically, in acoustic systems, the larger the receive array, the greater will be the Sensitivity of the System. However, a large receive array is incompatible with a relatively Small ("A" size 5" x 3') Sonobuoy container. To achieve the Sensitivity of a large receive array, many Small Sonobuoys, or larger sized containers must be utilized. The present invention provides a Solution to this incompatibility problem."1124917 Aerostat deployable from sonobuoy launch container, James Joseph Bonang, Steven Lee Gall, Michael Jeffrey Greenfield, Randall L. Mosten, Matthew Joseph Ragozzino, Boeing Co, 2022-02-15, - sonobuoy deploys a blimp containing a radio repeater that works for a group of sonobuoys to increase their radio range by incfeasing the antenna height.
Cites:3603921 Sound transducer, Robert H Dreisbach, Magnavox Electronic Systems, 1971-09-07, - 4 lobe hydrophone for sonobuoy
3035285 Explosively anchored buoy, Jr Walter G Squires, 1962-05-22, - for marking applications where buoy is under water until a timer runs out then it surfaces.
3054123 Buoy with explosive anchor, Adolph F Moeller, Navy, 1962-09-18, - "Navy dan buoy": "A temporary marker buoy used during minesweeping operations to indicate the boundaries of swept paths, swept areas, known hazards, and other locations or reference points."
2722018 Float marker, Walter V Mueller, 1955-11-01, -
3036542 Embedment anchor, Russell S Robinson, Pneumo Dynamics, 1962-05-29
2993461Embedment anchor
"In the early days of DIFAR there was no real grayscale on the chart paper which indicated signal strength. Essentially you either had nothing or a real dark line. My logarithmic converter remedied that in that it allowed smooth transitions as signal strength varied. Of course now there would be so many better ways of doing it. However, at the time it worked and everyone was pleased. 73 – Mike" See AQA-7 below.4007316 Deferred action battery having an improved depolarizer, Ralph F. Koontz, Magnavox Co, 1977-02-08, 429/118; 429/220; 429/229 - sea water activated
Around August 2021 I realized that the displays used for
Sonobuoys and passive SONAR are identical. During W.W.II
it looks like they did NOT have frequency and/or bearing
waterfall displays which are the norm today. So I'm trying
to find when and who the waterfall display was introduced.
There are a number of Audio
Analysis patents on the SSQ-53A web page. They
typically show human voice or bird calls as the thing being
analyzed and often use the term "complex waves" which I think is code
for underwater sounds. Also see Ref 68.
From the web page: SQS Series Sonars:
| model |
Freq kHz |
Pulse mS |
Range k yards |
Scan RPS |
| SQS-1 | 20 - 28 |
12/36 |
1.5/4/6 |
90 |
| SQS-4 Mod 1 |
8 |
5.5 |
||
| SQS-4 Mod 2 |
10 |
4.5 |
||
| SQS-4 Mod 3 |
12 |
4.5 |
||
| SQS-4 Mod 4 |
14 |
6/30/80 |
4.5 |
|
| SQS-7 |
12 |
3/10/60 |
2.5/5/10 |
|
| SQS-10 |
20 |
6/30/80 |
1/3/6 |
150 |
| SQS-23 |
4.5/5/5.5 |
.005/.03/.12 |
1/2.5/5/10 | 150 |
Were the SQS-nn SONAR sets all after the searchlight
type. What was the nomenclature for the searchlight type?
![]() |
Note The silver cylinder on the top of each sonobuoy. It's a gas generator that's electrically triggered. Cartridge-Actuated Device = CAD MIL-C-83124 An alternative to using compressed gas from a tank. See patents directly below. Fig 1 from patent 3905291: ![]() |
The Earth's magnetic field varies between 25,000 and 70,000 Gamma (aka: nanoTesla) (Wiki) depending on the location.
These were originally called Magnetic Airborne Detectors (Ref 3) and was developed by the NDRC (Wiki, Executive Order 8807 June 28, 1941) and was paired with the use of sonobuoys.
Maximum range 1 to 2 thousand feet. I'm guessing the range includes the depth of the sub, so the deeper the sub the more likely MAD will miss it.
When I lived in Mountain View it was a very common sight to see a P-3 Orion (Wiki) landing or taking off from Moffett Field Naval Air Station (Wiki). They had a "stinger" on the tail that held the magnetic anomaly detector. Here's a Youtube video of the MX-1361/ASQ-8 MAD
It appears to have 3 coils, each about 4" in diameter by 2" thick made by TI mounted in 3 orthogonal directions (X, Y & Z)
The ASA-65 is the motion compensator for the ASQ-81 MAD system. That's to say that any motion of the P-3 will cause the X, Y & Z components of the Earth's magnetic filed to change. To back that out three coils can be placed over the magnetic sensors and those coils driven from the output of the ASA-65.
When testing a MAD a small portable "Gamma Slinger" is used that generates a known (1045' c.g.s units) rotating magnetic field.
1045 Gauss converts to 104,500,000 nanotesla. Since the Earth's field is about 50,000 nanotesla the Gamma Slinger is about 2000 times as strong as the Earth's filed.
It's probably made using a modern permanent magnet rotated on a shaft by a clock work where the shaft and clockwork are all non magnetic. This test device could be used on the flight line to check out the MAD system.
It can easily be detected at over 20 feet using the ASQ-81.
The AN/ASQ-208 is a digital processing type MAD system.
The ASQ-1, ASQ-1A, ASQ-3 and ASQ-3A was used in conjunction with the CRT-1 sonobuoy in W.W.II.
Ref pg 302, Chapter 16, SOFAR, Harbor Defense, and other SONAR Systems, Naval Sonar, NAVPERS 10884, 1953 (another source: NavalSonar.pdf)
The ASQ-3A was used as the basis of an magnetic survey of the world.
NOL vector airborne magnetometer type 2A (VAM-2A)
Ref: Airborne Geomagnetic Surveys by the United States Hydrographic Office, Henry P. Stockard, USN Hydrographic Office, NAVIGATION, Journal of The Institute of Navigation, Vol. 4, No. 8, 1955, pp. 320-323. modified to use the Vector Airborne Magnetometer type 2A (VAM-2A)
The Pave Mace system that used the Black Crow MAD sensor was optimized to pickup the magnetic filed from ignition system in Vietnamese vehicles. (link to external web page with photo of it). The plate to the side of the dome with 3 rows of holes along the top and 3 more rows of holes on the bottom has the feel of a slot antenna for VHF or UHF signals, so more of a radio system than a MAD system. If you have any definitive information let me know.
It's not clear if this is a magnetic system or a VHF/UHF radio system.
Jerry Proc: AN/ASQ-81 Magnetic Anomaly Detector - helium magnetometerASQ-8
The system weighs 150 pounds, occupies 7,700 Cu. In., is made up of 6 boxes, uses 44 vacuum tubes and requires 700 Watts of power (115VAC 400~ 3phase & 28VDC). The ASQ-10 weighs 32 lbs., has a volume of 1,200 Cu. In., uses 16 Vacuum tubes and needs only 117 Watts of power. (from NAVPERS 10317-A)
MX-1361 Three Channel (X, Y, Z) Magnetic Sensor
YouTube:
Magnetic anomaly detector - 3 orthogonal coils made by Texas Instruments p/n: 29604 - This is not the anomaly detector but rather the aircraft magnetic orientation sensor used to drive the X-Y movement of the DT-37 magnetometer. See References below.
C820 Control Panel
Label on back: C-820/ASQ-8, NOas 53-340, 439:CGO
Sticker on front panel: RCAF Inspection Due 0439?, 23/68, 7690-21-801-0255, RCAF S69
Labels above grommets: P1301 and P1302 and the cables have been cut off.
Changes 05 and 06 are scratched.
Side panel label: RCAF Instection Due, Batteries Installed 7 Dec 67, 7690-21-801-0255, RCAF S69.
There were internal batteries. What voltages?
Fig 1 Front
Fig 2 Back
Fig 3 Inside top to right.
Fig 4 Inside Maybe precision wire wound resistors at right side.
17H-4 Gamma Slinger
Wiring: A & B = AC input (Voltage TBD), C= ground.
Fig 1
Fig 2 North pole near nut.
Fig 3 Motor: Hurst, Princeton, M.D.
about 60mm diameter
Black Crow ASD-5
Wiki and other sources call this a MAD device used to detect trucks along the Ho Chi Minh trail (Wiki) in Vietnam, but I suspect that's a cover story since MAD sensors need to be on a boom or stinger at the tail far away from moving metal in the plane. But it's aplausible cover story since MAD detects ferrous metal that trucks are made from.
The ASD-5 was a system designed to detect spark ignition systems. Since there are filters to specifically eliminate impulse noise (Wiki) I expect there are filters that pass impulse noise and reject other sounds. Typical spark plug wires may be on the order of 1 or 2 feet long (0.3 to 0.6 meters) so frequencies around 1,000 MHz may be emitter. A test with a spectrum analyzer on a Chi Com truck would give a more accurate estimate. It would not detect a diesel engine.
My guess is that it also could detect the Hark-1 hand held transmitters used by ground observers along the Ho Chi Minh trail. Because the antenna array is on the left side of the C-130 the body of the plane could be used to shield the antenna from some RADARs that caused interference.
See: Ref 69
References
Aviation Electronics Technician 3 & 2, Bureau of Naval Personnel, Navy Training Course, NAVPERS 10317-A,
Ch. 14 Magnetic airborne detection equipment.
Ch. 15 Airborne Sonar and Sonobuoys. - SSQ-2B sonobuoy contains an X-band or S-Band RADAR beacon receiver that effects the output frequency in the 162 to 174 Mc range. This is used as an aid in locating the sonobuoy. I'm guessing to make them show up on the search RADAR is bright dots.
The data on the ASQ-10 in the below table is my best guess based on comments in NAVPERS 10317-A (page 401).
TR-218 The Influence of the Natural Enviornment on MAD Operations 1969 - The ASQ-10 will be followed by the ASQ-81 on the P-3 Orion. The ASQ-81 uses an optical pump type magnetometer (Wiki) rather than the flux-gate type magnetometer used on the ASQ-8 and ASQ-10.
YouTube - Andrew Ochadlick:Optically Pumped Magnetometer Sensitivity and Helium-4 Energy Levels 2015 - Part1 (theory), Part 2 (ASQ-81 details), Part 3 (Uncertainty Principal) - very technical/physics. - Google Search "Princeton Lorentz Violation"
The War against Trucks, Aerial Interdiction in Southern Laos 1968 - 1972, Nalty, (WarAgainstTrucks.pdf)
Magnetic Anomaly Detector (MAD) Patents
Also see the MAD patents on the Flux Gate Patents web page.
GB130050 Improvements in Means for the Detection and Location of Metallic Bodies, particularly applicable to Detecting Submarines, Vannevar Bush (Wiki), 1919-07-31, - 3-axis magnetic detector that can be manually turned on shaft.
2361177 Method and apparatus for the detection of submarines by airplanes. Constantin Chilowsky, Filed: 25 Apr 1941, Pub :24 Oct 1944, 367/120, 102/419, 244/137.1, 367/130, 102/427, 434/6 - Referenced by 35 patents - not MAD but rather audio
2406870 Apparatus for responding to magnetic fields, Vacquier Victor V, Gulf Research Development Co, filed: Jul 21, 1941, Pub: Sep 3, 1946, 324/253, 102/417, 33/361, 318/647, 324/326, 324/345, 324/255, 340/870.33, 102/427
This is THE MAD patent and is referenced by a very large number of others.
The following detectors are towed on a cable from a plane flying at 300 feet above the water:
2379447 Antisubmarine device, Lindsey Henry A D, Jul 3, 1945, 102/417, 102/212, 340/551, 324/247, 324/67, 307/652, 324/258, 340/552
2404806 Submarine detector, Lindsey Henry A D, Jul 30, 1946, 340/850, 102/402, 324/247, 324/331
2415808 Detection of large magentic bodies, Oliver E Buckley, Bell Labs, App: 1941-07-31, TOP SECRET, Pub: 1947-02-18, - "The invention is particularly applicable to the detection and location of submerged submarine or other vessels having hulls of magnetic material but it is applicable as well to the detection and location of other magnetic bodies, Such as large magnetic Ore deposits."
2424772 System for detecting magnetic masses, Frank Rieber, Interval Instr Inc, Jul 29, 1947, 324/247, 324/331, 322/1, 324/257, 322/59, 340/870.32
2485847 Combination magnetometer and gradiometer, Otto H Schmitt, Navy, App: 1944-09-23, (Secret?), Pub: 1949-10-25, 324/244; 340/870.33; 324/255 - two sensors in each wingtip, sum and difference outputs.
Cites 6 including:2549845 Ship's magnetic submarine detector, James C Mouzon, Edward S Lamar, Bardeen John, 1951-04-24, - big coils on surface ship to detect subs.
2238072 Method and means for locating concealed bodies, Dale H Nelson, William D Buckingham, Western Union Telegraph Co, 1941-04-15, 324/67; 102/406; 324/326; 324/243; 324/345; 405/173 - "...for locating and determining the depth to which a cable, or other body capable of afiecting, distorting and/or producing magnetic lines of force, is buried in the ground or otherwise concealed, and more particularly to locating and determining the depth to which submarine cables and the like are buried in the bed of the ocean or other body of water."
2549857Cable-suspended aerodynamic body, Schonstedt Erick O, Apr 24, 1951, 324/260, 324/262, 114/24, 244/3, 74/5.00R, 324/331, 324/246, 33/397, 33/366.11
2555209 Method and apparatus for measuring the values of magnetic fields, Gary Muffly, Vacquier Victor V, Gulf Research Development Co, Filed: Nov 1, 1943, Pub: May 29, 1951, 324/246, 324/345, 324/253, - aligns MAD sensors with Earth's magnetic filed
2632884Orienting mechanism for magnetic detector devices, Murphy Paul M, Mar 24, 1953, 324/253, 318/647, 324/246, 324/331
2696602Compensated magnetometer, Richard Evans Chauncey, Dec 7, 1954, 324/253, 324/345- uses term " magnetic anomalies" Cited by 133 patents. - two coils allows determining direction of movement, like trucks along road - Outdoor Intrusion Detectors
3039559 Sound producing device, William M Ellsworth, Pneumo Dynamics Corp, 1962-06-19, - a couple of CO2 like pressure cartridges holding Hydrogen and Oxygen fill a rubber balloon which then is exploded producing water vapor which causes a strong implosion or cavitation.
3258687 Wide range linear fluxgate magnetometer, J.P. Heppner & H.R. Boroson, NASA, Jun 28 1966, - range 1 gamma to 10E-5 Gauss.
3412371 Detection system, Arnold A Shostak, Navy, 1968-11-19, - magnetic micro pulsations
3530375 Aircraft magnetometer system with means to compensate said system for disturbing magnetic field generated by the aircraft, Fransiscus A Passier, Navy, 1970-09-22, -
3644825 Magnetic detection system for detecting movement of an object utilizing signals derived from two orthogonal pickup coils, Paul D Davis Jr, Thomas E Mccullough, Texas Instruments Inc, 1972-02-22 -
3697869 System for generating compensating signals for magnetic effects of aircraft on mad system, Myron M Greenberg, Steven A Macintyre, Navy, 1972-10-10, -
------------------ Helium Magnetometer (Wiki) -------------
3577068 Optically pumped magnetic gradiometer, Richard C La Force, Atlantic Richfield, 1971-05-04, -
4546317 Free nuclear precession gradiometer system, George F. Hinton, Navy, 1985-10-08, -
4766385 Underwater buried mine classifier, Donald G. Polvani, Westinghouse (Northrop Grumman), 1988-08-23, -
5182514 Automatic compensator for an airborne magnetic anomaly detector, Joseph A. Rice, Jr., TI, App: 1974-11-19, TOP SECRET, Pub: 1993-01-26, - mentions it's for the AN/ASQ-81.
Also see Torpedo Countermeasures (some are the same but some are different)
You see this in movies like The Hunt for Red October or Crimson Tide. A small can is ejected from the sub and a stream of bubbles comes out of it.
2710458 Underwater acoustic decoy, Donald G Reed, App: 1945-06-14, W.W.II, Pub: 1955-06-14, - torpedo that sounds like a sub for training SONAR operators.
2901997 Sound generator, Arthur H Brooks, Sep 1, 1959 (14 year delay), 116/27, 116/137.00R, 102/418, 367/1 -
2981927 Underwater sound transmitter See below
3180295 Submarine simulator, Niederer Otto Christopher, Navy, 1965-04-27, - a special torpedo with mag tape loop,
3194207 Underwater sound sources, Dunne Brian B, Gen Dynamics Corp, Jul 13, 1965, 116/27, 367/142 - electric motor driven noise maker + flotation device, cylindrical shape (torpedo tube or smaller?) 3771115 Simulated submarine target apparatus, McLinden Hugh, - a viscous, gelatinous material having metalic particles suspended in it, is ejected by the sub to form a hollow bag-like structure which is filled with water.
3408621 Submarine tracking apparatus, Franklin A Dobson, Philco Ford (Space Systems Loral), App: 1961-02-14, cold war, Pub: 1968-10-29. - noise maker magnetically attached to sub. "NATO Designed Magnetic Noisemakers to Track Soviet Submarines. The Plan Failed." Book: Hunter Killers, by Iain Ballantyne (Ref 59)
3612211 Method of producing locally occurring infrasound, William T Clark, 1971-10-12, - maybe similar to the Holosonics (Wiki) system that uses ultrasonics to generate an audio sound.
3786405 System for low-frequency transmission of radiant energy, M Chramiec, W Konrad, Raytheon, 1974-01-15, - underwater sound generation
3872421 Standing wave acoustic parametric source, Peter H Rogers, Buren Arnie Lee Van, Navy, 1975-03-18, - underwater sound generation
3891961 Sonar countermeasure, Rudolph M Haisfield, Navy, App: 1961-02-27, TOP SECRET, Pub: 1975-06-24, - phase shift with <1 Hz frequency difference. for submarines
3964013 Cavitating parametric underwater acoustic source, William L. Konrad, Navy, 1976-06-15, - bubbles provide for non-linear mixing
4183008 Noise making device, Ralph P. Crist, Navy, App: 1958-05-12, TOP SECRET, Pub: 1980-01-08, -
4194246 Noisemaker beacon, Ralph P. Crist, Secretary Of The Navy, Mar 18, 1980 (32 years delay=TOP SECRET), 367/1, 441/22, 441/12 - 10 to 100 kHz output
4214313 Multiple sonar masking and jamming countermeasure system, Keith E. Geren, Warren A. Sauer, Donald A. Young, Navy, Pub: 1961-04-27, TOP SECRET, Pub: 1980-07-22, - noise jamming for passive sonar over 5 to 70 kHz range and maybe (Wiki: Range gate pull-off, or Radar jamming and deception)
5117731 Tactical acoustic decoy, Mark A. Mendenhall, Secretary Of The Navy, Jun 2, 1992, 89/1.816, 102/348, 367/1, 102/501 - mounts on ship and jamms infrared, sonar & microwave.
5268875 Acoustic decoy, John D. Charlton, Navy, App: 1967-05-11, TOP SECRET, Pub: 1993-12-07, - contionous loop tape with multiple tracks with staggered heads.
6252822 Countermeasure device with air bag hover system and pressure compensated acoustic projectors, Robert J. Obara, Secretary Of The Navy, Jun 26, 2001, 367/1 - uses compressed air for both depth control and noise making
Maybe called sonar counter counter measures was a type of sonar that was difficult for an enemy to hear. Maybe done using a pseudorandom sequence of frequencies called direct sequence spread spectrum when done with radio frequency signals.
5301166 Remote control command system, John D. Charlton, Navy, App: 1967-06-29, TOP SECRET, Pub: 1994-04-05, - applies to either radio or sonic signaling.
One meaning of Sound Ranging (Wiki) is to locate explosions (like a gun firing) beginning in W.W.I. Based on measuring the differences in the time of arrival of the gunshot sound at multiple microphones. It's the nature of a gunshot that the sound only lasts for a fraction of a second. There is not enough time to turn a bearing dial back and forth to determine the bearing so this equipment needs to work without a human in the loop.
Another meaning of Sound Ranging is to get the bearing on a source of sound. This was done by the Navy using binaural headphones. Based on human hearing being able to determine the direction of a sound. This we the first form of passive SONAR. The sound of a ship or submarine is continuous so there's time for a human to use their hearing to determine the bearing to the source of the sound.
1874196 Sound ranging system, Horatio W Lamson, General Radio, 1932-08-30, -
A pair of microphones (1 & 2) pick up sound.
A pair of delay lines ("lag" or "retardation" lines15 & 16) are tapped by movable coils (11 & 12) which when adjusted by the operator wearing binaural headphones (75 & 76) displays the bearing to the sound.
Since this is a time delay system it is also frequency independent.
Very similar to the Fenwick time delay beam steering antenna patent.
1901342 Sound ranging system, Horatio W Lamson, General Radio,1933-03-14, - like 1874196 except has six microphones and delay lines.
A hydrophone (Wiki) is the common sensor for sonobuoys and can be deployed at various depths. A sonobuoy might have many depth settings that can be set prior to ejecting it from an aircraft. This is important because of what's called the thermocline (Wiki) which is where the temperature of the water changes rapidly. This changes the speed of sound (Wiki). This causes the sound to change direction just as light will be bent by a change in refractive index (Wiki). And just like light there's conditions where the bending acts like a mirror and all the sound (or light) is reflected off the layer instead of just changing angles. So if the hydrophone is on the wrong side of the thermocline it may not hear a sub that's on the other side. The key parameter is how the water temperature changes with depth which is measured by a Bathythermograph.
Arthur J. Mundy coined the term "hydrophone in the following patent:
793896 Submarine signal, Arthur J Mundy, Submarine Signal Co, 1905-07-04, - "The invention relates to that portion of a submarine signaling system which includes the means for taking the sound-signals conducted by the water from a submerged signaling apparatus from the water and transmitting them, preferably electrically, to a telephone receiver on a vessel. This portion of the apparatus as a whole I have named a 'hydrophone.” The part of the hydrophone which is immersed in the water and receives sound impulses from it and transmits them I term the "hydrophone-transmitter,” or, for short, the 'transmitter.” The part which receives the impulses from the transmitter and delivers the sound to the hearer I call the 'hydrophone-receiver," or for short, the "receiver."
See the SSQ-53A\Audio Analysis web page for the analysis of the sounds from hydrophones.
YouTube: PeriscopeFilm: Sounds in the Silent Deep Hydrophones Underwater Sound Documentary, Moody Institute of Science, Educational Film Division, "Sounds in the Silent Deep", 27:13, @4:33 underwater Disk microphone, @5:35 Hydrophone, 5:56 SONAR, @9:50 URI study marine animal sounds (Vibralyzer, I can not read patent number, Kay Electric Co. may be the same as Ohmega Lab), The Analysis of Bird Songs by means of a Vibralyzer; Kay 3090-A Vibralyzer - see SSQ-53A\Audio Analysis
1345717 Acoustic device, George B Thomas, Western Electric, 1920-07-06, - omni-directional
1393471 Submarine signaling, Raymond L Wegel, Western Electric, 1921-10-11, - directional
1681963 Magnetophone, Robert L Williams, Submarine Signal Co, 1928-08-28, - - used directly with earphones
1803257 = RE20680 Piezoelectric device, Charles B. Sawyer, Brush Development Co, 1938-03-29, -
2222056 Piezoelectric device, Alfred L W Williams, Brush Development Co, 1940-11-19, - lollypop shape
2353089 Transducer, Harry B Shapiro, Brush Development Co, App: 1942-03-26, W.W.II, Pub: 1944-07-04, -
2405472 Diaphragm, Tuttle William Norris, General Radio, App: 1934-06-12, Top Secret, Pub: 1946-08-06, -
2434900 Sonic translating device, Jr Robert Black, Frank F Romanow, Bell Labs, App: 1943-07-14, SECRET, Pub: 1948-01-27, -
2576155 Submarine compressional wave receptive apparatus, Horace M Trent, 1951-11-27, - piezoelectric transducer in rubber dome filled with Castor Oil.
2589403 Transducer construction and method, Franz N D Kurie, Navy, App: 1943-12-14, Pub: 1952-03-18, - bonding Rochelle salt to metal with min. capacitane and good mechanical coupling.
2594948 Electromechanical transducer unit, Thomas E Lynch, Brush Development Co, 1952-04-29, - crystal encased in petroleum jelly for use in photograph pickup
2602836 Instantaneous (audio) frequency analyzer, Harry R Foster, Elmo E Crump, Ohmega Lab, 1952-07-08, 324/76.29; 704/276; 324/76.19; 324/76.68; 324/76.44 - Vibralyzer?
2615078 Frequency analyzer system, Harry R Foster, Elmo E Crump, Ohmega Lab,1952-10-21, 324/76.19; 101/DIG.37; 346/33R; 704/205; 360/137; 324/76.13 - Vibralyzer? Sonogram (Wiki: Spectrogram)
2774035 Magnetostrictive frequency analysers, Martin R Richmond, Blitz Daniel, Raytheon, 1956-12-11, - maybe for ground based radar
3803546 Broad band hydrophone, R Leon, Navy, 1974-04-09, - 4 elements, 30 to 1000 Hz,
3903497 Opto-acoustic hydrophone, Morton Stimler, Zaka I Slawsky, Navy, 1975-09-02
A hydrophone (Wiki) is an underwater sound sensor. On purpose I did not call it some type of microphone because that would imply it can only respond to sound within the frequency band which human ears can hear. So, I think, sensor (Wiki) or transducer (Wiki) are better terms to use. The key reason for that is most SONAR (Wiki) involves ultrasonic frequencies.
An early piezo electric material used for hydrophones was Rochelle Salt (Wiki) which can be made from ingredients from the grocery store using instructions from YouTube. Since it's water based, getting water on the crystal will dissolve it, so maybe not idea for an underwater application. Barium Titanate (Wiki) is another piezoelectric (Wiki) material used for hydrophones. Although know in the W.W.II time frame, Titanium was not readily available in war time, so Magnetostriction (Wiki) was used for hydrophones early in W.W.II, like used on the CRT-1 sonobuoy.
See my Magnetics web page for an example of Terfenol-D material.
| Hydrophone, U. S. Navy
Harbor Detection, Sonic, NT-51038F; P/O type JR-1 Harbor
Detection Equipment. Sensitive listening, frequency range 1 - 20 thousand cycles per second; with 8 Rochelle Salt Crystal Doublets each approx. 3" x 2" x 1", in metal frame w/matching transformer to 25 ohm line, in Castor (?) Oil, encased by heavy rubber jacket 56" long x 2 1/2" in diameter; with 9 foot rubber covered cable 1/2" O.D. w/2 flexible copper wires insulated, plus 2 steel strain wires; to be used down to 400ft. depth while withstanding high pressure explosion waves. Mfg by Brush Development Company. |
Fig
HP1![]() |
Fig HP2 Transformer![]() |
||||||||||||||||||||||||||||||||||||||||||
The Black and Green terminals are physically in line. The White wire is not an electrical connection but rather is where a couple of steel cables attach for supporting the weight of the hydrophone. It's not clear what this is. |
|||||||||||||||||||||||||||||||||||||||||||
HP 4395A Plot 1 Hz to 20
kHz RBW: 1 Hz, True RMS detection, 16 averages:![]() |
HP 4395A Plot 1Hz to 20 kHz
RBW: 1 Hz, True RMS detection, 999 averages (54.6 hours):![]() |
||||||||||||||||||||||||||||||||||||||||||
HP 4395A Z transform
Impedance Real & Imaginary![]() |
HP 4395A Z transform
Hydrophone Impedance Smith Chart with Marker List (It's a
50 Ohm device!)![]() |
||||||||||||||||||||||||||||||||||||||||||
768567 Fig 1 Underwater Bell![]() |
768567 Fig 2 Telephone transmitter and receiver ![]() |
![]() |
1378960
Method of and apparatus for detecting under-water
vibrations, Warren
Horton Joseph, Western
Electric 1921-05-24, - |
||
![]() |
1381640
Detecting underwater vibrations, Warren
Horton Joseph, Western
Electric, 1921-06-14, - Carbon microphones 7 & 8 or 7 & 9 are fed to the telephone receivers 11 and 16 and can be used to get a rough bearing to the source of sound. |
||
![]() |
1624412
Submarine signaling, Joseph
W Horton, Western
Electric, Filed: 1919-10-31, W.W.I TOP SECRET, Pub:
1927-04-12, - Fig 1: Carbon mike Fig 2: Dynamic mike Fig 3: Dynamic mike (to be used with an amplifier) |
||
![]() |
1576459
Electric retardation line, George
W Pierce, Submarine
Signal Co, App: 1921-12-24, Pub: 1926-03-09, - "The present invention relates to electric retardation lines, and more particularly to a retardation line for introducing definite time retardation of electric currents in a manner such that currents of a complex character will be retarded in a rational and predeterminable way, with out essential distortion, over a significant range of frequencies. The present invention results in a considerable extension over previous retardation lines the range of frequencies for which the retardation time is independent of frequency." - This is a very important point. "The present invention, however, is not limited to the application of the retardation line herein disclosed, to an electric compensator, ..." I wonder if coax transmission lines were know then? Ans: Yes (Wiki) The Fenwick 1977 antenna patent is based on Time Delay Beam Steering where the lobes are frequency independent. Yet there are still many "phased array" antenna systems where the main lobe modes with any change in frequency, probably because they are much lower in cost to make. |
||
|
1682712
Electric compensator, George
W Pierce, Submarine
Signal Co, App: 1919-06-25, Pub: 1928-08-28, - Although there is a "steering wheel" used to point the SONAR beam, it is just an electrical switch, there is no mechanical connection to a moving SONAR array. For the switching scheme shown in Fig 2 to work the array needs to be self similar, like a cylinder where the elements are straight lines. This is analogous to the motor driven Geionometer used on the receive only Wullenweber antenna array (Wiki). Since it dates from early in W.W.II the sound based patents shown here predated it. |
||
![]() |
1893741
Arrangement for directional transmission and reception
with a plurality of oscillators, Hecht Heinrich, ELAC
Electroacustic GmbH, Priority: 1928-01-14, Pub:
1933-01-10, - Fig 4 placement on the bottom of the sea (or on the bottom of a harbor). |
||
| 1969005 Apparatus for the directional transmission and reception of wave energy, Hecht Heinrich, ELAC Electroacustic GmbH, 1934-08-07, - | |||
| 1997974
Apparatus for the directional transmission or reception of
wave energy, Rudolph Wilhelm, ELAC
Electroacustic GmbH, 1934-10-23, - |
|||
![]() |
1995708
Electrical compensator for the directional transmission or
reception of wave energy, Fischer
Fritz Alexander, ELAC
Electroacustic GmbH, App: 1929-11-21, Pub:
1935-03-26, - |
||
| 2473974
Underwater sound detecting and indicating system, Schuck
Oscar Hugo, Navy,
App: 1944-05-18, W.W.II, Pub: 1949-06-21, - Hugo has a
number of SONAR patents. Omni-directional 14 kHz transmit but rotating directional receive beam. Spiral scan on CRT. |
|||
| 2582994
Underwater microphone, James
M Kendall, Geophysical
Research Corp, Priority: 1943-06-04, W.W.II, Pub:
1952-01-22, - seismic surveys or research |
|||
![]() |
2592738
Electronically controlled low impedance phase shifting
device, Stanley
R Rich, Navy,
App: 1945-09-19, Pub: 1952-04-15, - The U.S. BQR-2 & BQS-4 SONAR domes are a based on the 1929 German compensator. The use of "phase shift" networks is a problem in that the pattern is a function of frequency. Much better to use time delay which can be frequency independent. |
||
| 2597005
Method of calibrating microphones, James
M Kendall, Geophysical
Research Corp, Priority: 1943-06-04, W.W. II, Pub:
1952-05-20, - also see patent 2582994 Underwater microphone, |
|||
| 2684449
Commutator tube, Stanley
R Rich, Jr
Edwin E Turner, Raytheon,
App: 1946-03-19, Pub: 1954-07-20, - for use with the SONAR
system of patent 2786193 below. |
|||
![]() |
2703396
Underwater echo range and bearing apparatus, Stanley
R Rich, Navy,
App: 1944-11-11, TOP SECRET,
Pub: 1955-03-01, - The key benefit it reduced time to make
a 360 degree search. Fig 1. TVG = Time Varied Gain. Scope shows spiral pattern. Also see: SSQ-53A Audio Analysis Patents 2418846 where the Tx and Rx elements rotate at different speeds. Fig 3 thin Nickel laminations with coil. BQR-2 and/or BQS-4 SONAR? |
||
| 2786193
Underwater sound system, Stanley
R Rich, Raytheon,
App: 1948-03-10, Pub: 1957-03-19, - no mechanical moving
parts. Uses commutator tube patent 2684449 above. |
Their early work with Piezoelectric
devices (Wiki)
was for microphones and speakers used in
air. But this was long after the Germans,
see SSQ-53A Ref 18.
The geophones used in Vietnam era outdoor intrusion detectors are functionally seismometers. Hydrophones with good low frequency response can also be used as seismometers. The MERMAID (Mobile Earthquake Recording in Marine Areas by Independent Divers - Earth Scope Oceans) devices drift at a depth of about 1500 feet to a mile and when they "hear" a P-wave (Wiki) they surface, get GPS coordinates and use the Iridium satellite telephone system to phone in the event. The hydrophone output has a 0.1 Hz high pass filter and is sampled at a 40 Hz rate. Note P-waves are very useful for studying the interior structure of the Earth. They are the first (Primary) wave from an earthquake to reach a given location and so are the basis of earthquake alarms (Seismometer)
Son-Of-MERMAID (A tale about MERMAIDs) is also an ocean hydrophone that works more like a sonobuoy. That's to say there's a float with GPS that knows where it is and a 1,000 meter cable supports a hydrophone. An on board recorder captures events that appear to be P-wave events.
Note that this system does not detect S-waves (Wiki) and so is lacking a lot of earthquake data, but it is a way to get some data that covers 3/4 of the Earth (i.e. the oceans where there is currently no data at all on earthquakes).
Found this on eBay but the photos and description were not at all clear. It's a linear array of 6 hydrophones.
Let me know if you have any information on this hydrophone assembly.
Looking for Hazeltine patent that might cover this, no luck, but maybe related ideas like lines of hydrophones.
Box label (Fig 1):
Hydrophone and Retainer Assembly
1 ea.
NOAS 58-548C
Hazeltine Corp Mfg/Contr
A22267-1
A-IA-8X-6/60
Sub-Item 5
Sensitivity Minus _____ db6 EL SH HYD
(6 ELement Small Hydrophone HYDrophone?)
Cable can: 4" dia x 5-3/8" high
This is smaller than an A Size sonobuoy (4-7/8").
Maybe fits inside an A-Size?
Hydro Cup: 2" OD x 5" high
Cup holds 5 hydrophones + cup-end hydrophone
for 6 total.
Fig 1 OEM Box
Fig 2 unknown total cable length.
No depth option, always the same.
Fig 3 latch mechanism (not clear how it works)
5132940 Current source preamplifier for hydrophone beamforming, James A. Culbert, Hazeltine Corp, 1992-07-21 - listening buoys
2891232 Hydrophone for directional listening buoy, Heinrich O Benecke, 1959-06-16 -
2898589 Hemispherical acoustic phase compensator, Abbott Frank Riley, 1959-08-04 - makes use of a miniature replica
3037185 Sonar apparatus and components, Gerhard H Dewitz, Cgs Lab Inc, 1962-05-29 - "In one embodiment of this invention, which will be described presently, a scanning system is provided which does not depend upon mechanically moving parts for controlling the direction of the transmitted beam or the direction of greatest sensitivity of the receiving apparatus, and which permits continuous high speed scanning over any desired area." i.e. beamforming
3064235 Audible broadband sonar monitor, Keith E Geren, 1962-11-13 - a broadband ( kHz to 100 kHz) hydrophone driven receiver with special signal processing for hearing "single ping" sonar at an unknown frequency
3116471 Radio sonobuoy system, Jesse J Coop, 1963-12-31 - directional sound receiving beam coupled with magnetic compass do give directional information DIFAR
3281769 Transducer apparatus, Theodor F Hueter, Honeywell Inc, 1966-10-25 - probably for underwater locator beacon since "for use at extreme depths."
3559160 Spatial surveying and target detection system, Bradshaw Burnham, US Secretary of Navy, Filed: 1963-11-07, Pub: 1971-01-26 "10,000 hydrophones", tubes SOSUS?
3903407 Method for correlating frequency-modulated signals, Bradshaw Burnham, US Secretary of Navy, Filed: 1963-12-11, Pub: 1975-09-02 - photo-optical, SOSUS?
3905320 Low frequency homing system, William J Mueller, US Secretary of Navy, 1975-09-16 - homing system for torpedoes "The low frequency homing system of this invention utilizes lines of hydrophones or transducers spaced along the port and starboard sides, and along the top and bottom sides of a torpedo."
2409632 Guiding means for self-propelled torpedoes, Robert W King, AT&T Corp, 1946-10-22 - active ultrasonic SONAR
4423494 Beam steerable sonar array, Kenneth W. Groves, John D. Lea, Sperry Corp, 1983-12-27 -
6088299 Vertical hydrophone array, Louis W. Erath, Phillip Sam Bull, Syntron Inc, 2000-07-11 - seismic exploration cable includes time delay elements: "traveling wave antenna"
While studying the MH370 disappearance and search (March - April 2014) and in particular the 37.5 kHz ultrasonic pings from the Cockpit Voice Recorder (Wiki: CVR) and the Flight Data Recorder (Wiki: FDR) generated by the Underwater Locator Beacon (Wiki: ULB, Ultrasonics). This lead to the SOFAR channel (Wiki) and the thermocline (Wiki). A way to determine the depth of the thermocline is to drop an SSQ-36 (see SSQ-36) or other Bathythermograph such as the SSXBT (Wiki: BT). Note that the maximum depth of the SSQ-36 is 800 meters, not the center of the SOFAR channel which might be at 1000 meters, but low enough to be in the channel.
2587301 Method of sound transmission, Ewing William M, (Wiki), Us Navy, Filed: Nov 16, 1945 (7 year delay), Pub: Feb 26, 1952, 67/127 - "sound channel" , Fig 7 map showing listening staations: Aleutian Islands, Kurie Islands, Marinas, Saipan Islands & Midway. Explosion set for 675 fathoms.
2601245 Underwater signaling device, Charles F Bowersett, Filed: Jan 30, 1948, Pub: Jun 24, 1952, 181/142, 102/229, 181/125 - contains explosives
2760180 Long range explosive sonobuoy, George Sipkin, Filed: Oct 6, 1949, (7 year delay), Pub: Aug 21, 1956, - explains sound channel - It's a buoy with a hydrophone and when it hears a ship it drops an explosive set to go off in the SOFAR channel. Shore based hydrophones hear the explosion and can triangulate the location of the explosion. A 10,000 mile range is expected. This sounds like the same system of shore stations described for the SOFAR bombs.
3517378 Underwater long-distance sound-detection system, Robert E Barrett, Navy, App: 1959-11-06, SECRET, Pub: 1970-06-23, - probably SOSUS (Crypto, Wiki) related - transducer at about 2,000 feet deep detects sub. A relay transducet at 4,000 feet deep (in the sound channel) relays the sub detection to a shore station.
3483837 Streamlined missile device for location of submarines, Robert E Peterson, 1969-12-16, - a streamlined missile attaches to a sub using a magnet. A switch closed and a signal between 16 kHz and 24 kHz indicates the depth.
Cites:
Cited by:
297648 Marine Torpedo, J.H.L. Tuck, Submarine Monitor Co, 1884-04-29, - ?
1300062 Submarine signaling device, George H Walker, 1919-04-08, - electromagnets attach to sub and roll along it activating switches to signal contact
1460175 Torpedo head, Joseph A Rayder, 1923-06-26, - switch in nose to set of explosives.
2397995 Submarine detector, Wikstrom Arne, App: 1943-03-24, W.W.II, Pub: 1946-04-09, - strong magnet attaches to sub which then signals an attachment
2405990 Spotting submarines, John T Beechlyn, Submarine Signal Co, App: 1943-05-22, W.W. II, Pub: 1946-08-20, - a slavo is fired off the bow of a ship, when they hit a sub a buoy is released and it jumps out of the water.
2545179 Submarine marker with sonic signal generators, Voorhees Vanderveer, Standard Oil Co, 1951-03-13, - underwater benchmark consisting of a heavy housing, batteries and a vibrator.
2656458 Compressional wave telemetering device, Joseph M Johnston, Joseph B Olsen, John A Moulden, 1953-10-20, - Helmholtz Resonator with diaphragm which by capacity change FM modulates a radiosonde transmitter. The resonator can be tuned to a low (not specified) frequency.
2750794 Acoustisonde apparatus for measuring and recording physical properties of the sea, George W Downs, Navy, 1956-06-19, - "...conditions of the sea such as pressure, temperature, turbidity, salinity, and radioactivity are detected by submerged apparatus and transmitted as sound through the water to receiving and recording apparatus at the surface thereof.
4448106 Method of identifying hard targets, Richard D. Knapp, McDonnell Douglas Corp, 1984-05-15, -
It turns out that a stock sonobuoy can not hear the 37.5 kHz ULB since the highest frequency they can hear is 20 kHz (see DIFAR above). So a stock sonobuoy can not be used to find the CVR or FDR. But all the information about sound propagation in water is applicable to normal sonobuoy operation.
Note that military passive SONAR (Wiki) is designed to pick up the sounds generated by surface ships, submarines and torpedos (maybe 10 Hz to 20 kHz), not aircraft black boxes at 37 kHz. This frequency range does include a lot of sea life so a sonar man needs to know what they sound like, or his computer knows. If you rub your thumb and index fingers together you generate an ultrasonic sound, like that used by Bats, in the 30 kHz region but no normal audio.
Maurice Ewing (Wiki) who discovered the SOFAR channel (Wiki) figured out that the speed of sound vs. depth would cause sound to be "piped" if it was in the SOFAR channel rather than being omnidirectional if not in the channel. He extrapolated that idea to the atmosphere where the speed of sound vs altitude curve has the same shape as the one for speed of sound vs depth in water and so there should also be an atmospheric channel ( it turned out to be at about 50,000 feet whereas the ocean channel is at about 1000 meters deep). By putting microphones (in the 1940s the state of the art microphone technology was the Disk Microphone (used by Orson Wells - Wiki), or disk for short like we now say radio instead of Radio Receiver) in the channel you can hear sounds from very very far away that you can not hear any other way. Disk microphones are called "spring microphones" on eBay. For example rocket launches or atomic bomb testing.
Richard Muller Physics Lecture 11 - Waves 1 (Richard A. Muller - Sound Channel)
Smithsonian National Air and Space Museum: Ask an Expert: The Roswell Incident, Apr 22, 2011 -
Wiki: Sofar bomb - Naval Airborne Ordnance NAVPERS 10826-A (Aircraft Reference book 17) describes the SOFAR bomb on pages 195 & 196 as "a 4-pound cylinder casing carrying the explosive, and a head which enables the operator to select one of the six possible depth settings between 1,500 and 4,000 feet." There is a Pacific ocean map showing receiving stations at Point Arena and Point Sur on the California coast and at Kaneone in the Hawaiian islands.
In the book Principles of Underwater Sound by Robert J. Urick (Reference 10) there is an example of the SOFAR bomb on page 415.
CommunicationThen I watched the UC Berkeley by Richard Muller (Amazon). It turns out that the Project Mogul (Wiki 1947 - 1949) used the bulk of a CRT-1 sonobuoy. They replaced the hydrophone with a string of "Disk Microphones" that was 657 feel long. He also mentions SOSUS and "Hunt for Red October" in passing. The SOFAR bomb was used by W.W. II pilots downed in the ocean. They would throw this hollow metal sphere (SOFAR bomb aka: SOFAR Sphere (Wiki)) into the water and it would sink. After about 5 minutes it would reach about 1000 meters depth and implode. The implosion had the energy of about 2 pounds of TNT. The shore based SOFAR stations would note the time of arrival and triangulate the location of the implosion. Later the Signals (underwater sound) Mk 22 Mods 0 and 1 were developed to work with the shore stations. If an enemy captured one of these SOFAR bombs and cut it open it would be very unlikely that they could determine what it was or how it was used.
Problem: In the sofar method of aviation rescue, a downed aviator drops a 4-lb explosive charge set to detonate on the axis of the deep sound channel. How far away can the detonation be heard by a nondirectional hydrophone, also located on the axis of the deep sound channel, at a location of moderate shipping in sea state 3?
Solution: (detailed description of calculation) 4,000 miles.
When Project Mogul flight No. 4 crashed outside Roswell the Air Force reported that "flying disks had been recovered" from the wreakage, but the local paper reported it as a "RAAF Captures Flying Saucer". Note the change from plural because there were a large number of disk microphones to singular Flying Saucer".
See my Western Electric 387W Disk Microphone web page for an example of a disk microphone. Note eBay search term "Spring Microphone".
The Wiki page Roswell_UFO_incident - has an image from the Roswell Daily Record, July 8, 1947. The main headline is: "RAAF Captures Flying Saucer On Ranch in Roswell Region". The subheading is "No Details of Flying Disk Are Revealed".
The problem I have with the "flying disk" idea is that those spring microphones are extremely heavy and because of that would never be flown below a balloon. So either there is some unknown to me "disk microphone" or another explanation for "flying disks".
The Roswell Daily Record, July 9, 1947 (roswelldailyrecord9jul1947.jpg):
Harassed Rancher who Located 'saucer' Sorry He Told About It
W. W. Brazel, 48, Lincoln county rancher living 30 miles south east of Corona, today told his story of finding what the army at first described as a flying disk, but the publicity which attended his find caused him to add that if he ever found anything else short of a bomb he sure wasn't going to say anything about it.
Brazel was brought there late yesterday by W.E. Witmore, of radio station KGFL, had his picture taken and gave an interview to the Record and Jason Kellahin, sent here from the Albuquerque bureau of the Associated Press to cover the story. The picture he possed for was sent out over AP telephone wire sending machine specially set up in the Record office by R.D. Adir, AP wire chief sent here from Albuqueruue for the sole purpose of getting out his picture and that of sheriff George Wilcox, to whom Brazel originally gave the information of his find.
Brazel related that on June 14 he and an 9-year old son, Vernon were about 7 or 8 miles from the ranch house of the J.B. Foster rance, which he operates, when they came upon a large area of bright wreckage made up on rubber strips, tinfoil, a rather tough paper and sticks.
At the time Brazel was in a hurry to get his round madea nd he did not pay much attention to it. But he did remark about what he had seen and on July 4 he, his wife, Vernon, and a daughter Betty, age 14, went back to the spot and gathered up quite a bit of the debris.
The next day he first heard about the flying disks, and he wondered if what he had found might be the remnants of one of these.
Monday he came to town to sell some wool and while here he went to see sheriff George Wilcox and "whispered kinda confidential like" that he might have found a flying disk.
Wilcox got in touch with the Roswell Army Air Field and Maj. Jesse A. Marcel and a man in plain clothes accompanied him home, where they picked up the rest of the pieces of the "disk" and went to his home to try to reconstruct it.
According to Brazel they simply could not reconstruct it at all. They tried to make a kite out of it, but could not do that and could not find any way to put it back together so that it would fit.
Then Major Marcel brought it to Roswell and that was the last he heard of it until the story broke that he had found a flying disk.
Brazel said that he did not see it fall from the sky and did not see it before it was torn up, so he did not know the size or shape it might have been, but he thought it might have been about as large as a table top. The balloon which held it up, if that was how it worked, must have been about 12 feet long, he felt, measuring the distance by the size of the room in which he sat. The rubber was smoky gray in color and scattered over an area about 200 yards in diameter.
When the debris was gathered up the tinfoil, paper, tape, and sticks made a bundle about three feet long and 7 or 8 inches thick, while the rubber made a bundle about 18 or 20 inches long and about 8 inches thick. In all, he estimated, the entire lot would have weighed maybe five pounds. (See: Radar Reflectors)
There was no sign of any metal in the area which might have been used for an engine and no sign of any propellers of any kind, although at least one paper fin had been glued onto some of the tinfoil.
There were no words to be found anywhere on the instrument, although there were letters on some of the parts. Considerable scotch tape and some tape with flowers printed upon it had been used in the construction.
No strings or wire were to be found but there were some eyelets in the paper to indicate that some sort of attachment may have been used.
Brazel said that he had previously found two weather balloons on the ranch, but that what he found this time did not in any way resemble either of these.
"I am sure what I found was not any weather observation balloon," he said. "But if I find anything else besides a bomb they are going to have a hard time getting me to say anything about it.
This web page was started because of the connection to Vietnam era seismic detectors (outdoor intrusion alarms). But I still have not determined which sonobuoy was the source for the 2-3/4" diameter cylindrical components of the GSQ-160, if you know please tell me.
In the official Air Force book "The Roswell Report - Fact vs. Fiction in the New Mexico Desert - Headquarters United States Air Force - 1995 - ISBN 0-16-048023-X (free on line as roswell.pdf) - 993 pages see attachment 32, "Report of Findings on Balloon Research", chapter Project MOGUL, pdf-Pg 303 that describes the underwater sound channel and the idea by Dr. Maurice Ewing (Wiki) that there might also be a sound channel in the atmosphere and how to exploit that idea as Project Mogul (Wiki).
A Google Patents search on inassignee:"Gen Mills Inc" balloon will turn up many patents related to the new type balloon good for high altitude
2526719Balloon construction, Winzen Otto C, Gen Mills Inc, Apr 2, 1948 - key is replacing rubberized fabric with polyethylene (Wiki)
2492800Fast rising sounding balloon, Isom Langley W, Aug 16, 1948 - key non elastic material.
2767940 Balloon with strengthening elements, Donald F Melton, General Mills Inc, Filed: 1953-11-04 -
2767941 Seam for gored balloons, Frederick J Gegner, Alan A Reid, General Mills Inc, Filed: 1953-11-04 -
In the book An Ocean in Common: American Naval Officers, Scientists, and the Ocean Environment (Ref 4) they mention that the sound channel in the Atlantic ocean is 4,000 feet but in the Pacific it's at 2,500 feet. (page 173).
June 2018: In the book UFO Crash at Roswell: The Genesis of a Modern Myth edited by Benson Saler - There is a chapter on the ML-307 Radar Reflector.
The Project Mogul balloon flights (Wiki) are described as being run as an unclassified program to develop constant altitude balloons, not the actual flights with disk microphones. Project Genetrix (Wiki) balloons carried 600 lb. cameras. Ran 1955 to 1958.
2666601 Constant altitude balloon, William F Huch, General Mills Inc, Filed: 1952-02-15, Pub: 1954-01-19
2606443 Exploration of troposphere stratification, George W Gilman, Bell Labs, Filed: 1946-06-14 - shows existence of sound channel, although not called that
3070335 Automatic lift augmentation for balloons , Leland S Bohl, William F Huch, Edward P Ney, John R Winckler, Secretary of the Navy, Filed: 1959-08-04, Pub:
1962-12-25 - has the feel of Skyhook balloon (Wiki) flies at 100,000' (harder to shoot down)
3369774 Balloon envelope structure, Jr Arthur D Struble, Filed: 1961-08-02 -
also see: Radiosonde and New UFO Information April 2014
2021 Sep - While learning about the equipment used to receive and process the DIFAR signal from the SQQ-53A sonobuoy, which it turns out is almost if not totally identical to a passive sonar, I started looking into passive and active SONAR (Wiki). I hit a roadblock. Even the Wiki SONAR web page shows neither the frequency v. time waterfall display nor the bearing angle v. time waterfall display not any of the waterfall displays that combine those two.
Also there are two very different frequency bands. Classic active SONAR uses a "ping" frequency that's in the audio range since very high power levels are needed for long range. This is analogous to RADAR where the units designed for search use lower frequencies (Wiki: SURTASS) and units designed for tracking or homing use higher frequencies because smaller antennas work better at higher frequencies. What's called "broadband SONAR" operates at ultrasonic frequencies. So on a sub there's the classical SONAR operator and the Broadband SONAR operator.
When the MH370 went down Sonobuoys could not be used to hear the ELB ping at 37.5 kHz because that's above the frequency range of classical SONAR and above the sonobuoy frequency range. But I'm guessing that a submarine could hear the ULB ping if they were close enough on the Broadband SONAR. For example see the projects at Extreme SONAR. 1 to 470 kHz passive SONAR, Projects at In-Depth Engineering: BLQ-10, BQQ-10, SQQ-89
Processing of Data from SONAR Systems, Vol III, Morton Kanefsky, Allen Levesque, Peter Schultheiss & Franz Tuteur, of Dunham Laboratory, Yale University, General Dynamics/Electric Boat, 1965 (AD0476591.pdf) - a very technical analysis of a hydrophone array of 40 elements at 2 foot spacing relating to optimal signal processing when there's an interfering signal or unknown noise levels. It has the feel of the Fenwick time delay beam steering patent and the antenna system with both main beam steering and null steering.
A Fresh Look at "Broadband" Passive Sonar Processing, Robert Zarnich, (ADA367050.pdf#page=100)
Black Box for ships
6706966 Hardened voyage data recorder, L3 Communications Corp, 2004-03-16 - a black box for ships. Based on the 1974 the Safety of Life at Sea (SOLAS) Convention. - Patent Citations (89) -
There are many similarities with the CRT-1, but . . .
It looks like mid 1960s (date code, TO-3 power transistor in power supply, 1xx and 3xx tubes).
Someone has scratched SONOR on one of the sheet metal covers with an arrow pointing down. This implies it's an active pinging unit rather than a passive listening only unit.
That is reinforced by the large space for batteries.
This is not mine. Photos and information supplied by Michael, VK4ZKT
UnKS Fig 1
UnKS Fig 2 Tubes may be 12AT7,
not low voltage like in the CRT-1.
UnKS Fig 3
UnKS Fig 4
I received a couple of emails from John B. who lives in Greece. He has sent a number of photographs of a sonobuoy that makes use of both tubes and solid state devices.
Fig 1
Fig 2
Fig 3
Fig 4
Fig 5
Fig 6
Fig 7
Fig 8
Fig 9 Chesapeake Instrument Corp.
Shadyside, MD
Fig 10 Hydrophone
Mod. SB 154C
Auditory Capacities in Fish.pdf
5cm dia x 1.5cm thk
barium titanate
-89 decibels (re 1 volt per microbar of sound pressure) and a frequency response essentially flat from 50 cps.
Fig 11
![]()
Fig 12
![]()
Fig 13
![]()
Fig 14
![]()
Fig 15
![]()
Fig 16
![]()
Fig 17
![]()
Fig 18
![]()
Fig 19
![]()
Fig 20
![]()
Fig 21
![]()
Fig 22
![]()
Fig 23
![]()
Fig 24
![]()
Fig 25
![]()
Patents for underwater communications
2530528 Phase comparator for underwater signaling, John G Kreer, Bell Labs, App: 1944-11-01, Pub: 1950-11-21, - involves balanced modulators and SONAR bearings
2798902 System and method for underwater communication, Kursman Daniel Richard, Sigmund P Rosen, 1957-07-09, - single-sideband (Wiki) Suppressed-carrier transmission and reception, balanced modulator & filter, audio 250 Hz to 3 kHz, 8.1 kHz oscillator/carrier frequency. 6 Watt Tx has range of 2,000 yards.
2958039 Delay line time compressor (Deltic), Victor C Anderson, University of California, 1960-10-25, - used in patent 4203164
3076174 Method and apparatus to enable swimmers to converse under water, Walter N Wainwright, Russell I Mason, 1963-01-29, - all audio frequency
3164800 Underwater telephony, John T Kroenert, Navy, 1965-01-05, - bal mod & filter, SSB, 8.1 kHz oscillator/carrier.
3181116 Underwater telephone system, William F Gordon, 1965-04-27, 367/132 455/40 367/124 455/73 - 10kHz balanced carrier
3218607 Underwater telephone, Charles R Brock, Reginald J Cyr, Bendix, 1965-11-16, - aprox. 50 kHz carrier
3263207 Transistor underwater telephone system, Herbert L West, Francis E Huff, Navy, 1966-07-26, 367/132 330/298 455/40 331/116R - may look like flashlight
3267414 Portable underwater communication unit, Kritz Jack, Janus Prod, 1966-08-16, - similar to a flashlight.
3277429 Communication system, Ralph G Lucas, 1966-10-04, - radio buoy & submerged ultrasonic transducer
3337841 Underwater telephone, Walter N Wainwright, Russell I Mason, Jr Victor Savchuk, Stanley L Ehrlich, Navy, 1967-08-22, - modular system, for free swimmers,
3495209 Underwater communications system, Homer A Engle, 1970-02-10, -
3789353 Diver communication system, E Hunter, D Smith, Navy, 1974-01-29, - binaural output to facilitate the localization of sender. balanced modulator SSB system.
3848226 High capacity underwater acoustic release, G Perez, AMF Inc (American Machine & Foundry), 1974-11-12, - cited by 26 patents.
4039999 Communication system, John Weston, 1977-08-02, - uses angle or FM modulation for noise rediction
4203164 Secure sonar communication system, Robert D. Isaak, William E. Klund, Woodrow H. Littrell, Richard G. Stephenson, Navy, App: 1961-03-06, TOP SECRET, Pub: 1980-05-13, -
Tones: 1446, 1450 & 1454 break: 1442 Hz. 27 dB process gain, Citations & Cited by.
Makes use of Pseudorandom noise (Wiki) - this may have been one of the first, if not the first, use of PN noise in a crypto patent and it probably why the 19 year delay in granting the patent. The emitted signal is called Low Probability of Intercept (Wiki).
Range increment switch for: 0.1, 1 or 10 miles. Three CRTs, one is related to range,
"While use of underwater sound and detection systems are not new as a means for communicating between marine and submarine vehicles, their limitations are well known and in many instances very disconcerting. For example, the underwater telephone was limited to a transmission range of approximately 10,000 yards, echo ranging sonars had a maximum effective range of 2000 to 3000 yards, and passive detection of cavitating vehicles was only successful as far as 10,000 to 20,000 yards. In addition, such systems were extremely susceptible to enemy detection and their data transmission rate was slow and often resulted in obtaining inaccurate information."4227479 Submarine communications system, Morton Gertler, Lester F. Whicker, Thomas Gibbons, Navy, App: 1962-08-07, (SECRET for 18 years) Pub: 1980-10-14, - TV camera, TV antenna,, VLF antenna, LF antenna (this was prior to satellites).4336537 Bi-directional underwater communication system, Fredrick G. Strickland, 1982-06-22, - tethered to radio buoy
"Although the systems of the prior art mentioned above and the subject invention both propagate acoustical energy through an aqueous medium for communication purposes, their similarity ends there. The present invention, for instance, enables messages and data to be exchanged between submerged submarines separated by distances as great as two hundred miles. Further more, in the process of establishing communication, the range distances and bearing between submarines may be measured and displayed with an accuracy limited only by the knowledge of the speed of sound in the operating area. Detection security is feasible through techniques utilizing a relatively low source spectrum level made possible by broadband signal projection, a highly directional receiving hydrophone and transducer array, and the processing gain derived by cross-correlation of the received signal with a local replica. Insonification of a minimum ocean area results from directional transmission and use of the oceanographic convergence zone phenomenon which, likewise, improves security from detection by other than the intended communication target vessel. The initial acquisition on the readout display itself constitutes positive friend or foe identification which, of course, provides considerable additional security. Also, since the signal transmission may be varied between a few seconds and a few minutes as necessary to meet given operational requirements, and inasmuch as the signal energy is noise-like in character and is distributed over approximately a one half octave frequency band, the probability of detection by the enemy is relatively small. Moreover, because a local time-varying replica is employed for the correlation process, a very high degree of cryptographic security is inherent."
4418404 Single-sideband acoustic telemetry, Alan Gordon, Stanley J. Watson, Steven J. Cowen, Gerald Mackelburg, Brett D. Castile, Navy, 1983-11-29, -
6856578 Underwater alert system, Daniel J. Magine, Kevin D. Kaschke, Feb 15, 2005, 367/134 - Ocean Technology Systems Diver Recall System DRS-100?
3867715 Underwater communications system, Fred G Geil, Navy, 1975-02-18, - sub to sub, reversed time order, WQC or UQC: underwater telephone,
4203164 Secure sonar communication system, Robert D. Isaak, William E. Klund, Woodrow H. Littrell, Richard G. Stephenson, Navy, App: 1961-03-06, TOP SECRET, Pub: 1980-05-13, -
6118732 Secure marine communication system, John Lamar Worzel, Alan Berman, Navy, App: 1959-02-12, TOP SECRET, Pub: 2000-09-12, -
7218574 High range rate signaling, Maurice D. Green, Teledyne Benthos, 2007-05-15, - backs out range rateBQC-1 Underwater Telephone (Wiki: Gertude)
Battery powered portable unit in sub escape trunk. (SEATALK frequencies?)
YouTube: Sub Brief: Whiteboard: AN/BQC-1 Underwater Telephone 5:06 - Patreon, Aaron Amick, SubBrief.com,
MIL-S-15232 - SONAR SET AN/BQC-1 ( )Voice Mode:
500 yard (1500 feet) range.
Single Side Band (USB), not the double sideband in the early patents below.
8.3 kHz carrier.
Beacon Mode:
20,000 Yard (11 mile) range.
24.26 kHz ping once every 30 seconds.
BQC-1B & C additional homing tone: 9.58 kHz.
WQC-2 Underwater Telephone
Wired into sub or surface ship control room. More power. 8.0875 kHz carrier frequency.
UQC-1 was replaced by the WQC-2. (SSQ-53A Ref 1, pg 142)
8kHz to 10.5kHz see JANUS paper on Telesonar below.
Communication Buoy "Float the Buoy"
4227479 Submarine communications system, Morton Gertler, Lester F. Whicker, Thomas Gibbons, Navy, App: 1962-08-07, (SECRET for 18 years) Pub: 1980-10-14, - TV camera, TV antenna,, VLF antenna, LF antenna (this was prior to satellites).
JANUS (Wiki)
STANAG 4748 is a digital protocol that has a range up to 28 km (17 miles).
Bit Allocation table, 002 Underwater AIS (Wiki, this is the maritime version of ADSB).
Underwater Acoustic Communication and Modem-Based Navigation Aids -
Telesonar Signaling and Seaweb Underwater Wireless Networks, J.A. Rice, Oct 2000 - 8kHz to 10.5kHz (compatible with WQC-2.
Acoustic release (Wiki)
A device holds instrumentation or crab (Wiki) or Lobster (Wiki) traps down until it receives an specific acoustic signal at which point it releases the package to float to the surface.
They are similar to aircraft bomb racks in that heavy loads can be held securely and released when desired. This typically involves linkages.
3848226 High capacity underwater acoustic release, G Perez, AMF Inc (American Machine & Foundry), 1974-11-12, - cited by 26 patents.
The Regulus Missile (Wiki) seems related to this patent by the Martin Co.
2735391 Warship Weapons System, Including Aircraft Storing and Launching Arrangement, H.H. Buschers, Glenn L Martin Co, 1956-02-21, -
2792599 Seal, Gantschnigg Gottfried Karl, Herbert H Buschers, Glenn L Martin Co, 1957-05-21, -
aka: Submerged Signal and Decoy Ejectors (SSDE)(Wiki)
Maritime.org - 12-4-01 Submerged Signal Ejectors - 6" internal diameter:
These are similar to 100mm diameter torpedo tubes and probably are located in torpedo rooms. These tubes can be used to launch various devices that fit the 100mm (4") tube.
Countermeasures, emergency beacons, signal flares, small explosive charges and probably a Bathythermograph (would require a way to handle the trailing wire) . . .
T-347/SRT Submarine Rescue buoy that transmits SOS SUB SUNK SOS is about 3-1/4" dia x 40-1/2" long and can be launched using the SSE.It appears this is more of a standard than just for subs. Aircraft also have a 3" dia. launch tube.
3" Launch Tube devices top to bottom:
T-347/SRT Buoy, Radio Transmitting - launched from submarine
Vaisala RD93 GPS Dropsonde - launched from airplane
SUS: Signal Underwater Sound - launched from airplane
Sippican Ocean Systems SSXBT Model ST-1 Bathythermograph -launched from submarine
Ref 8 mentions a 3" signal/decoy ejector (pg 69 photo of Bathythermograph & its terminal) that can be used for the Submarine Launched One-way Transmitter (SLOT)(pg 70). In the Glossary (pg 308) "usually 3-inch".
So are there two different small launch tubes, i.e. 3" and 4" or has one of these become a standard? let me know
Patents related to this have been moved to the Signal Underwater Sound (SUS) Mk 84 web page Patents section.
2710458 Underwater acoustic decoy, Reed Donald G, Sec of Navy, Filed: Jun 14, 1945 (10.0 year delay), Pub: Jun 14, 1955, 434/6, 114/20.1, 367/1, 434/25 - passive SONAR training device
Fig 1: either 3x32" or 4x43", most likley 3x32"
Fig 9: either 3x24 or 4x32"
This may or may not be launched from a sub.
2981927 Underwater sound transmitter, Vaughn G Mckenney, Sec of Navy, Filed: Apr 4, 1946 (15 year delay: SECRET), Pub: Apr 25, 1961, 367/1, 455/18, 114/20.1, 360/6 - returns SONAR pings at same frequency but offset in time (very similar to RADAR countermeasures). see Radar Warning Receiver
Fig 1 shows a length/diameter ratio of 11.5, so if 3" dia then length is 34", if dia is 4" then length is 46".
Since a yard or meter shows up as a practical length then I'd assume this is a 3 x 34" device.
maybe launched from the SSE 3" port?
Mentions: 2793589 Buoyancy control device, Atchley Raymond D, Filed: May 3, 1944, (13 year delay), Pub: May 28, 1957, 102/414 -
3379273 Powerful sound impulse generation methods and apparatus, Stephen V Chelminski, Bolt Technology, 1968-04-23, - the "airgun" mentioned by AAron in Sub Brief: Analysis: Seismic Airgun - used for geology of the ocean bottom.
Has the look and feel of the Gamewell Diaphone Air Horn used at fire stations to call firemen and as a Fog Horn.
![]()
5003515 Submarine emergency communication transmitter, Albert S. Will, Frank C. McLean, Sylvan Wolf, Samuel H. Kauffman, John C. Hetzler, Jr., Charles A. Lewis, George E. Maxim, Secretary Of The Navy, Filed: May 28, 1964, (27 year delay) Pub: Mar 26, 1991, 367/131, 367/145 -
Image flipped so that it's oriented as if in the water. There are 7 drop bombs which are released by explosive bolts and they explode after 20 seconds so that their depth will be controlled (probably within the sound channel (see Roswell Connection above). If the sink rate was the same as the Mk IX depth charge (15 fps) then after 20 seconds it would be down to 300 feet which is too shallow to get into the SOFAR Channel (Wiki). I suspect the time delay is really much longer to that the drop bombs get into the SOFAR Channel.
The timing of the drop bomb release translated into one of a number of coded messages.
The length/diameter ratio is very small so will not help to determine its dimensions.
See other Albert Will patents
5044281 Submarine flare with vertical attitude determination, Peter Ramsay, Brian W. Whiffen, Gerald M. Bushnell, Victor Nanut, Robert C. Czigledy, Robert J. Swinton, Maxwell J. Coxhead, Timothy R. Clarke, Australia, Sep 3, 1991, 102/340, 102/224, 102/351, 102/357, 102/354 -
The length/diameter ratio is 12.67, so: 3" x 38" or 4" x 57", seems to indicate it's 3 x 38".
UAV (Wiki) that can be launched from sonobuoy tube.
6056237 Sonotube compatible unmanned aerial vehicle and system, Richard L. K. Woodland, 2000-05-02, - cited by 276 other patents
Global Hawk
While learning about the AMT-6 Dropsonde which is 5" dia x 21-1/8" long I check to see if that was a standard sonobuoy size. It is not. But the F size is about 5" x 12". The Global Hawk (Wiki, NCAR/NOAA, Dropsonde) drops a smaller unit (1-3/4" x 12"). I suspect sonobuoys could be dropped either by making them the same size or by using a different dispenser. The existing dispenser holds three dozen dropsondes and feeds then to a single launch tube.
3093808 Air-dropped miniature sonobuoy, Gimber George A, Scarcelli Albert F, Tatnall George J, Secretary of the Navy , Jun 11, 1963, 367/4, 441/33, 441/25, 343/709, 455/99 - cited by 31; Prior art sonobuoys were 3' long, 5" diameter and weighed 16 to 20 pounds limiting aircraft time on station and had a max depth of about 50'. This one is 15" long, about 3" dia and weighs about 5 pounds with a max depth of 300'. also see 3047259 Speed brake retarding mechanism for an air-dropped store, George J Tatnall, Albert F Scarcelli, Navy, 1962-07-31, - Note this may be compatible with the common 3" launch system (the same as the Submerged Signal Ejector)
4721961 Submarine detection system, Henri G. Busignies (Wiki), Louis A. DeRosa, ITT Avionics, App: 1959-11-03, TOP SECRET, Pub: 1988-01-26, - lightening generates a vertically polarized pulse that's reflected from subs.
5452262 mentions "Another modulation scheme uses a DTMF (dual tone, multiple frequency) encoder to modulate an AM transmitter at UHF. This allows the use of inexpensive "touch tone' telephone technology. Thus, using a key pad encoder and decoder circuit board, sixteen unique decoded outputs can be obtained by pressing only one keypad button per command. Combinations of two and three keypad digits may be used to further expand the command set, with increased complexity at the decoder end." Limited to Line-Of-Sight (LOS) or about 10 miles for sonobuoys.
3344420 Data collection system, Melvin W Arsove, Raytheon, 1967-09-26, -
The sonobuoy has a 1N21 mixer diode in a microwave circuit responsive to the search radar in a P-3. When a Command is given to a specific sonobuoy over the UHF CAS link data in modulated on the 1N21 diode by an audio frequency. The aircraft PPI display shows a sonobuoy icon and numerical data from the sonobuoy,3676780 Digital frequency generator for coded interrogation, George W Niemann, Charles N Shannon, Navy, App: 1966-06-09, SECRET, Pub: 1972-07-11, -
"A command control sonobuoy system is provided in which a large number of buoys are commanded on a single frequency from a remote position. A single radio frequency carrier signal is modulated with selected two tone signals from a plurality of discrete tones derived from digital elements upon the receipt of instructions from an operator or a computer."Uses a 1.6384 MHz crystal divided by 512 = 3200 Hz.
3731262 Time mark-numeral generator system, R Blake, Navy, 1973-05-01, - uses a sonobuoy that includes a magnetic tape recorder.
"The present invention relates to generator systems and more particularly to a time mark-numeral generator system which performs the major function of timing and identification. Time marks and numerals are permanently exposed on recording film so as to indicate the buoy number, time of day, the day, and the month that corresponding data on the film was recorded in the buoy at some remote point.3772639 Sonobuoy mooring unit, R Snyder, Navy, 1973-11-13, - (same time frame as 3731262 & not at all standard sonobuoy practice. maybe testing locations for SOSUS hydrophones?
There frequently arise occasions when it is important to record over extended periods of time various sounds and noises which arise below the surface of the sea. This information would be particularly important during the case of a war to give an indication of submarine activity, or the information may be used to indicate the movement of schools of fish, the location of geodetic explosions, or even the movement of thermal tides. The usual procedure for obtaining this type of information is through the use of either passive sonar or listening equipment located within a moored sonor buoy. The buoys continuously record the sea noise on some form of film or magnetic tape usually in a frequency band in the neighborhood of 10 to 300 cycles per second. When it is necessary to retrieve the recorded information, an interrogation signal is sent to the buoy which then plays back the recorded data to some remote station. Certain procedures proposed for analyzing the data require a knowledge of the time of day signals were recorded in the buoy. For convenient application of these procedures, it is necessary to have a time scale corresponding to recording time written in the margin of the recording film. However, there are no timing signals available in the transmitted RF signal from the buoy to the remote station which can be used to deter mine recording time. Therefore, the construction of a time scale must be based on the time playback is started and the ratio of playback to recording speed, so experience from past attempts to write time numerals on the film manually indicated that an automatic system was needed."
Maybe this was a precursor to SOSUS (Wiki)? Or maybe testing locations for SOSUS hydrophones?
3783441 Air launched, wire guided torpedo, Z Slawsky, Navy, App:1965-06-30, SECRET, Pub: 1974-01-01, -
"A submarine detecting and tracking system which ultilizes sonouoys to track both a target submarine and a guided torpedo. The sonobuoy signals are received and processed on a surface vessel or aircraft and the torpedo is guided by remote control to intercept the target submarine." Torpedo leave a buoy on the surface and a wire connects buoy and torpedo.
Cites 2 patents, Cited by 16 patents.
4660182 Programmable multichannel sonobuoy transmitter, Albert M. Bates, Wayne H. Sandford, Jr., Michael T. Junod, Navy, 1987-04-21, - 145.375 (Chan 57)
3649735 Transmission System, William K Coburn, Richard E Hillger, Navy, App:, SECRET, Pub: 1972-03-14, - simulates up to 9 sonobuoys and transmits on a single antenna to nearby aircraft. The location of the buoys and sub can be set as well and the speed and bearing of the sub. The signal amplitude to each of the sonobuoys is attenuated to match the range to the sub. Sea State noises are included. 162.25 to 173.5 Mhz. range where 5 adjacent channels of the possible 16 channels can be selected.
4436049 Simulator for testing sonobuoys, Louis E. Ante, Richard A. Lindquist, Eugene R. Roeschlein, Navy, 1984-03-13, - a floating barge with a 2-way winch can simulate wave motions.
I lived in Mountain View, California for some decades and Moffett Field was the base for P-3 aircraft.
NASA operated a flying telescope and a U-2 there as well as a giant wind tunnel among many wind tunnels of all kinds.
Just looking up the systems listed for the Update II.
Navy.mil: Standard Aircraft Characteristics, P-3C Update II.pdf , 12 pages, 1984 -
Coms
Data Terminal
ACQ-5A
Teletypewriter
AGC-8
Intercom
AIC-22(V)1
UHF
ARC143B
HF
ARC-161
Emerg. Trans
PRT-5
Crash Locator
URT-26(V)
VHF Comm Group
618N-3/A
Armament
Harpoon Ctrl
AWG-19B(V)1
Nav
True Airspeed
A24G-9
Central Repeater
AM-4923/A
Flight Director System
AJN-15
Altimeter
APN-194(V)
Navigation Set, Radar
APN-227
RAWS
APQ-107
UHF DF
ARA-50
LF-DF
ARN-83
Omega
ARN-99(V)1
TACAN
ARN-118(V)
AFCS
ASW-31A
Horiz. Situation Ind
ID-1540/A
Periscope Sextant
MS28011-7
OTPI Receiver
R1651/ARA
Sonobuoy Reference Set
ARS-3
VHF Navigation Group
VIR-31
Inertial Nav System
LTN-72
Non-Acoustical Sensor Data
ESM Set
ALQ-78A
Radar
APS-115B
IFF
APX-72
SIF
APX-76A(V)
SAD ASA-64A
Compensator ASA-65(V)2
Compensator ASA-65(V)2 MAD ASQ-81(V)2
IRDS AAS-36
IRDS VIdeo REc Grp OA-8962/ASH
Disp Grp, Tact Aux (TADS)
OD-159A
Acoustical Sensor Data
Sonar Comp Rec Grp
(Triple Vernier)
AQA-7A(V)6/7
Sono Recorder Sys AQH-4(V)2
Sonobuoy Rcvr Sys
ARR-72(V)
CASS (Modified) ASA-76A
Bathythermograph SSQ-36/RO-308
Sea Noise Meter ID-1872A
IACS OV-78/A
Data Processing/Display
Tact Disp
ASA-66
Radar Scan Conv
ASA-69
Tact Dsip Grp
ASA-70
Avn Unit Comp
ASQ-114(V)4
Data Anal Proc Grp
AYA-8B
Synchro Conv
CV-2461A/A
Time Code Gen
TD-900A/AS
Dig Dta Rec Rep
ASH-33
ACQ-5 Data Link
This is a data link system based on the aircraft HF-1, HF-2 or UHF-2 radios. Uses Navy Tactical Data Systems serial protocol which includes symbology.
PP-6140/ACQ-5 Power Supply
C-7790/ACQ-5 Control Monitor - modem control
CV-2528/ACQ-5 Data Terminal Set Converter-Control - 26-bit serial modem in normal use: Clock Select=Master, Control=Operate, then other troubleshooting controls are disabled.
Communications Interface No. 2 - converts 30-bit parallel computer words into 26-bit serial data
Used with Link 11 (Wiki: MIL-STD-6011) and KG-40 (Crypto Museum)crypto.
AIC-22 Aviation Inter Communications
Aircraft intercom using headsets. The prior system was the AIC-18. There were complaints of the radios interfering with the intercom and an investigation showed that using fiber optics would decrease the problem.
AM-3364/AIC-22(V) Interconnecting Box Amplifier
ARC-143 UHF Radio
Control head
Tranceiver
ARC-161 HF Radio
C-9245/ARC-161 Control Box
RT-1000/ARC-161 Receiver Transmitter
AM-6561/ARC-161 RF Amplifier
CU-2070/ARC Antenna Coupler
works with TSEC/KY-75 Remote Control Unit
PRT-5
Floating buoy that transmits on 8.364 MHz and 243.0 MHz. 1/4 Watt output power on both bands and a 3 day battery capacity. Looks like a replacement for the Gibson Girl. A 9 foot ling telescoping HF antenna will not be very efficient on HF (0.076 wavelength).
AQA-7 Sonar Computer Recorder Group (Triple Vernier)
"That system was the AQA-7 that "burned" the recorded data on paper. In it's original form it was call the "Jezebel" and we'd often call the acoustic operators "Jez" even after it was long gone from the aircraft. It would scroll like a fax machine and at the end of the mission, the paper would be turned in to the debriefing gang for reconstruction. One positive thing was the paper was an immediate visible replay of the information gained by the sonobuoys and the operators would also write and do computations on the paper itself. Plus an operator could cut off the paper and remove from the machine and review back in time while on the mission to maybe see if contact was missed. The negative was the nasty smell this machine produced!!!!!!!
Initially the buoys were "Lofar", or basically the buoy would detect a sound and give the operator a circle around the buoy and it would take multiple buoys to localize to a small area to search. "Difar" buoys, which provide sound recordings, but more importantly, direction from the buoy were the next important tool to be developed and replaced Lofar. Two or three buoys with lines pointing to a noise source and there it is where those lines intersect.
The USN went away from the AQA-7 when the P-3C Update III came on line in the mid 1980s. The acoustic processing system was now all computerized, Lofar buoys were a thing of the past. The new system was called the UYS-1, and the big and probably final upgrade to that system was introduction "CHEX" or channel expansion, allowing the aircrews to have 99 channel capabilities for buoy channel numbers of buoys instead of only 32 (see Channels above). Now, all the data is recorded on tapes that had to be replayed on ground based computer systems to review the mission and compare with operator notes. (Operators could not do this in-flight). That system is what is featured in the Hickory Aviation Museum's P-3C (See below), with plasma panels to enter data and manipulate the buoys. When flying, the operator on the right was the lead, he'd usually do the Difar work, which was passive only, just listening for noise. The other operator was usually in training and would help and also do the Dicass, or active buoys should they be authorized. Dicass would provide a range and bearing from buoy to target with burst of energy, just like sonar.. I flew on aircraft with both systems, and a lot comes down to the quality of the operator and numerous other factors such as oceanographic conditions, and of course, the target itself. Hope that answers the question, if not, let me know., I had 3k+ hours flying P-3C?s." . . . . Brian Harrison
"I concur with what Bill said for the most part. The AQA-7 operators, SS1 and SS2, didn't provide circles. They would provide frequency of the signal, its signal strength, time of detection and loss of signal. Based on the signal strengths, the TACCO could draw circles around the buoys on his display to help localize the target. The greater the signal strength, the smaller the circle. Where the circles intersected, if they did, could provide possible target locations. That was only useful if the signal was direct path (nearby the buoy), but not if the signal was actually from a convergence Zone (CZ) (much farther away). The TACCO would use tactics to determine between the two. The tactics would include more Lofar buoys and/or some Difar buoys." Brian's brother.
4736199 Method of selectively displaying data, Victor J. Chadwick, Ronald W. Barnes, BAE Systems, 1988-04-05, -
WO2001098796 Acoustic surveillance system with signature and bearing data display, John J. Molini, Warren C. Hollis, Sung Hong, Lockheed-Martin, 2001-12-27- has examples of various waterfall displays.
Fig 1 LOFAR waterfall with frequency on X-axis.
You can get this from an omnidirectional sonobuoy
Fig 2 Side by Side LOFAR waterfall and Bearing Time Recording (BTR) waterfall
Fig 5 Composite acoustic data display
Top display Frequency waterfall. (frequencies 0 to 2400 at bottom)
Left display Bearing waterfall (bearings 0 to 360 at right).
Lower right (main) display Frequency-Bearing display
Fig 6 Correlogram Frequency-Bearing display
Fig 7 Pictorial of the frequency/bearing area of Fig 5
YouTube: Sub Brief: Whiteboard: AN/BQC-1 Underwater Telephone 5:06 - Patreon, Aaron Amick, SubBrief.com,
"Float the Buoy" 4227479 Submarine communications system, Morton Gertler, Lester F. Whicker, Thomas Gibbons, Navy, App: 1962-08-07, (SECRET for 18 years) Pub: 1980-10-14, - TV camera, TV antenna,, VLF antenna, LF antenna (this was prior to satellites).
4995101 Secure two-way communications with submerged submarines, Paul J. Titterton, Frederick Martin, Dan J. Radecki, Robert W. Cotterman, GTE (GD), 1991-02-19, - cited by 33 patents.
Pushbroom is a type of scanning (Wiki) not a program name.
Modern digital communications require wide bandwidths which are hard to come by using radio transmissions and so are moving to modulating light (either in an optical fiber or directly through the air, like in the Starlink satellite-to-satellite links.
I think SOSUS developed the various waterfall displays but in a crude electromechanical way that would be too heavy and bulky for use on aircraft. But the next generation equipment would fit on aircraft. The first generation SOSUS worked with paper plotters (probably using the same paper as the Western Union DeskFax machine).
3611277 Sensitive hydrophone, Max N Yoder, Navy, 1971-10-05, - laser interferometery
Frederick Hunt (Wiki) in charge of the Harvard Underwater Sound Laboratory and came up with the word SONAR. He developed a technique called the Bearing Deviation Indicator (BDI). The following patent is cited my many other patents.
3893061 Underwater acoustic detection system, Zaka I Slawsky, Wayne Dee Wilson, Navy, 1975-07-01, - This is really a transponder that sends out a ping when it detects something interesting.
4115753 Fiber optic acoustic array, Peter Shajenko, Navy, 1978-09-19, -
2166991 Direction finding system, Guanella Gustave, Radio Patents, 1939-07-25, - This "Big Ears" was a system based on sound (prior to RADAR) to detect the ultimate weapon of that time, the high altitude bomber.
Here are some patents by Frederick Hunt:
2666192 Apparatus for determining the direction of underwater targets, Frederick V Hunt, Schuck Oscar Hugo, Charles R Rutherford, Hathaway Jarrett Lewis, Jr Arthur Nelson Butz, App: 1944-07-27, W.W.II, Pub: 1954-01-12, - this is for an active 20 kHz "Searchlight" type SONAR and improves the bearing accuracy. The CRT trace time starts at the bottom center and when a return arrives it deflects the spot to the right if the target return is to the right. To get the bearing the searchlight is turned to the right until the spot is centered. This is a SONAR patent.
2595791 Transducer, Frederick V Hunt, Navy, App: 1946-04-05, W.W.II, Pub: 1952-05-06, - magnetostrictive (moved to the CRT-1 sonobuoy web page)
6164179 Submarine deployable vertical launch spar buoy, Martin Buffman, Navy, 2000-12-26, - "Fixed air support missiles (FASM) have been developed for multiple missions. The fixed air Support missile is a class of Small missile which can be used against airborne targets Such as helicopters, can be deployed to provide aerial Surveillance, or can be used for ground Support missions. These missiles are relatively Small and cheap. They have not been deployed on Submarines because of launching considerations."
Cites:
3158062 Missile container and launcher, Feiler describes a launching tube for a missile, which launching tube is designed to protect the missile while it is being transported to its launch Site. The Feiler launching tube is further designed to be anchored in an upright position So that the missile stored within can be launched vertically. 4586421 Underwater weapon systems,
illustrates yet another vertically oriented, underwater launch tube for a missile. The launch tube comprises an elongate outer container which is buried or partially buried in the Seabed in an upright position. The container uses devices at its bottom end for removing Sand or Silt and an auger for boring a hole in the Seabed or a rotary stirrer. The missile is housed within an inner container which is telescopically arranged within the outer container. 5092222 Float up system for submarine launched missiles, Lynch illustrates a float-up launching System for launching missiles from Submerged Submarines or other Submerged launchers which utilizes a lightweight rigid cylindrical tube telescoped over the missile while Stored in the launcher. On launching, the tube is extended forward of the missile by a gas generator to form a floatation chamber which creates extra buoyancy forward of the missile center of gravity. This lifts the missile nose upward to the water Surface allowing ignition of the missile booster motors and launch of the missile. 5076192 Unmanned submarine for air rocket, Tegel & Wenzel illustrates an unmanned Submarine launching System which is guided to the Surface of the water in order to launch an air rocket contained therein and which is provided in its walls with closeable openings for the discharge of the rocket recoil gases into the Surrounding water to conduct the impinging recoil gases of a launched air rocket directly out of the Submarine. 4854260 Configuration of discharge tubes, ejection tubes or receptacles in submarines, Woidich & Toobe
illustrates a configuration in which bodies such as torpedoes can be held in an additional container inside a torpedo tube in a Submarine. The container is in the manner of an interior tube. The annular space between the torpedo and its tube is used to hold damping elements, which are located individually or over the entire structure of the torpedo, and the annular Space is kept free of water by means of Sealing elements. Another damping element is positioned in the rear portion of the container in the torpedo tube. 5542333 Undersea vehicle ejection from capsules, Hagelberg & Allardt
illustrates an Under Sea Vehicle Storage and Ejection System which includes a capsule having a cavity for storing and launching a vehicle. The capsule has an opening at one end for passage of the vehicle therethrough. A closure member is adapted to be mated with the housing at the opening to seal the cavity. A rocket unit is incorporated within the capsule to remove the closure member at launch. The closure member includes a sealing arrangement for withstanding the hydrostatic pressure when the system is in the under sea environment of use and block the entry of sea water into the cavity. The rocket unit, when ignited, rapidly builds up pressure within the capsule to a level exceeding the external hydrostatic pressure on the cover, thereby removing the cover So that the vehicle may be launched.
Bombshell: The Hedy Lamarr Story - IMDB - Claims that the Navy used her invention on DIFAR sonobuoys in the RF link back to the airplane. The reference cited is:
http://www.rism.com/atribute.htm#sonobuoy
Which no longer is on line and archive.org does not have a copy.
But that's a false claim since the link back to the aircraft is not encrypted. and doesn't need to be. There's no enemy to hear the transmission. Even today with satellites it's questionable if there's any value in encrypting the link.
2413066 Torpedo control by multiple channel selector, Ellison S Purington, Navy, App: 1935-11-06, SECRET, Pub: 1946-12-24, uses either one of two RF frequencies or one of two audio modulation tones for Left or Right signal.
2292387 Secret communication system, Markey Hedy Kiesler, Antheil George, App: 1941-06-10, granted the next year, 1942-08-11, -
This is for a secure way to use radio remote control for a torpedo.
While 67 patents cite this one, Lamarr & Purington do not cite 2413066 above.
Note this patent was granted in about a year and during W.W.II, not held like the patent above until after W.W.II. which goes to say it was not considered a secret or anything to protect.
Also see: Aircraft Reference books, Submarine References, Torpedo Reference Books,
Ch XXVI Development of Underwater Sound and Detection Equipment (html)Ref 17. Probing The Oceans For Submarines -- A History of the AN/SQS-26 Long-Range, Echo-Ranging Sonar (a538018.pdf) 266 pgs
Ch XXXI The Navy and the Patent Situation (html) - W.W. I
XXXIX SONAR (html)
1. Introduction
2. History
3. Launching Program
4. Full Scale Experimentation & Development
5. Prototype Testing
6. Supporting R&D
7. Rubber Dome Window
8. Equip Ops & Tactical Employment
9. Fleet Performance
10 Conclusions
11. End Notes
App A: Event Chronology
App B: Personnel by employer
Index
Looking for patents based on names mentioned in Ref 17.Ref 18. Hitler's Naval War, Cajus Bekker, 1971 - Around 1939 the German Subs had pretty much the same problems that the U.S. had starting in 1942. Torpedoes that ran deep, Magnetic exploders that did not work, contact exploders that did not work. Haven't yet seen circular running mentioned.
2434469 Pressure-proof reproducer, William A Myers, App: 1944-07-01, Pub: 1948-01-13, -
2537052 Tuning means for ultra high frequency signal generators, Andrew V Haeff, Charles B Smith, Robert H Mellen, App: 1945-08-30, Pub: 1951-01-09, -
2563829 Cable seal, James W Fitzgerald, Burton G Hurdle, Carlton L Morse, App: 1946-04-17, Pub: 1951-08-14, -
2694868 Echo repeater, Edwin M Mcmillan, William A Myers, App: 1943-08-03, Pub: 1954-11-23, -
3209314 Sound beacon, William A Myers, Vaughn G Mckenney, App: 1944-08-09, (SECRET for 21 YEARS), Pub: 1965-09-28, -
3229245 Echo ranging display system, Burton G Hurdle, Jr Robert J Mackey, 1966-01-11, -
3246289 Resonant underwater hydrodynamic acoustic projector, Robert H Mellen, 1966-04-12, -
3307142 Three-color echo ranging display, Harold J Doebler, 1967-02-28,
3403374 Underwater hydrodynamic acoustic projector, Robert H Mellen, Berman Robert, Kenneth L Moothart, Navy, 1968-09-24, -
4473896 Tactical Expendable Device, Harrison T. Loeser, Harold J. Doebler, Navy, 1984-09-25, -
5526323 Method and apparatus for interpretation of sonar signals, Robert M. Chapman, GD, App: 1965-09-28, (SECRET 31 YEARS) Pub: 1996-06-11
5911172 Retractable underwater turret, Kyrill V. Korolenko, Navy, 1999-06-08, -
6052335 Multiple-frequency sonar system, Kyrill V. Korolenko, Navy, 2000-04-18, -
6229761 Estimating ship velocity through the water and over the ground, Kyrill V. Korolenko, Henry Ralph D'Amelia, Henry Robert D'Amelia, Navy, 2001-05-08, -
6868768 Surf zone mine clearance and assault system, Thomas J. Gieseke, Kyrill V. Korolenko, 2005-03-22, -
7940602 Real-time system and method of underwater depth discrepancy detection, recordation and alarm notification, Kyrill V. Korolenko, Navy,2011-05-10, -
1. Guns (surface fire)Ref 21. Pushing Horizon: Seventy-Five Years of High Stakes Science, Ivan Amato, 1998 -
2. Fleet air defense before 1945
3. Underwater ordnance
4. Fleet are defense after 1945
5. Air-to-air weapons - See China Lake
6. Surface-to-air missiles
Appendidces: Guns, Fire Control Systems, Gun Mounts, Armor Penetration, Airborne Radars, Sonars, Sonobuoys, Torpedoes, Mines, Depth Charges, ASW Projectors, ASW Missiles, Guided Missile Launching Systems, Surface-to-air Missiles, Bombs, Nuclear Weapons, Air-to-Surface Missiles, Surface-to-Surface missiles.
Part 1: Basic Principles of Underwater SoundRef 23. Naval War College Newport Papers 16; The Third Battle, Innovation in the U.S. Navy's silent Cold War struggle with Soviet Submarines, Owen R. Cote Jr, 2003
Part 2: Echo Ranging
Part 3: Listening
This is an excellent overview of the cold war ASW approach by aircraft, surface ships and other submarines.Ref 24. Aircraft and Submarines: The Story of the Invention, Development, and Present-Day Uses of War's Newest Weapons, Willis J. Abbot, 1918, 567pgs (pdf)
The USS Nautilus (SSN-571) had the machinery anchored to the hull and so generated a large amount of noise. That led to a new class of subs using "rafts" to isolate machinery and dampened flexible tubing to move water in or out to lower the acoustic signature of our subs.
1. From Holland to the Second Battle (end of W.W.II), the first 50 years
2. Phase 1: German Type XXI & early cold war - SOFAR channel,
3. Phase 2: ASW & the two Nuclear Revolutions, 1950 - 1960 -
BQR-2 (Wiki), BQR-4 (Wiki), p32:CRT-1, SSQ-2 (JPROC), LOFAR4. Phase 3: ASW and the Happy Time, 1960-1980
QHB sonar: scanning, 25 khz, 19" trans, 1,800 yds @ 20 knots
SQS-4 sonar: 15 khz, 5' array, 8,000 yds (DASH, QH-50)
SQS-23 sonar: 5 khz, 8' array, 10,000 yds
SQS-26 sonar (Wiki): 3.5 khz, 11 - 40 miles
HENs (Wiki: Hotel, Echo, November)
P-3 Orion (Wiki)5. Phase 4: ASW & accoustic Parity, 1980-1990
SOSUS (Wiki) LOFAR,
LAMPS (see: AM-6536/ALR-54 LAMPS Radar Warning Receiver Front-end)
"Because the Akulas did not produce powerful, continuous, narrowband tonals, transient tonals often provided the best initial detection opportunities at long range."6. Forth Battle? Subs & ASW after the cold war
SURTASS (Wiki)
LOFAR display: Y-axis newest time at top, X-axis frequency, i.e. a Waterfall display.Ref 30. Naval SONAR, 1953, NAVPERS 10884
Bearing Time Recording: Y-axis newest time at top, X-axis bearing, i.e. another kind of Waterfall display.
"Before 1985, the sonar images produced by the signal processors were printed to thermal hard-copy paper and then analyzed. Each data tape generated about 1,000 sheets of hard-copy paper, or more than 100,000 sheets for a single SSBN submarine mission. Each image was printed on dry silver paper, which was quite expensive in the quantities required."
Authors: Hugh M. South, David C. Cronin, Samuel L. Gordon, Timothy P. Magani. - no patents by any of them
Ch 12 Sound-Range and Depth Recorders - electrochemical wet paper feed roll stored in vapor-tight tank. 2-speed paper advance motor and 2-speed left-right stylus motor.Ref 31. FAS: ES310 Introduction to Naval Weapons Engineering Course Syllabus - Under Water Acoustics & SONAR: Introduction, Enviornment, ASW Systems (Bearing Time History), Sonobuoys: DICASS, DIFAR, VLAD
Ch 13 Submarine Listening Equipment - JP-1, JP-2 & JP-3 manually trained hydrophone,
Ch 17 SONAR Training Equipment: QFA-6 Attack Teacher - made by Sangamo Electric Co. because 2 electric meter mechanisms were used to move mirrors to position a spot of light on a screen. The meters respond to E * I *COS(phase) which matches the needed math for position plots. (I=ships speed, E=COS(heading from East)
The sonobuoys discussed in this NTSP are all A-size: length 36 inches, diameter 4 7/8 inches. The sonobuoy weight varies by manufacturer and buoy type, but will not exceed 39 pounds.
The BT, DIFAR, LOFAR, DICASS, VLAD, and DLC sonobuoys are used in conjunction with the on-board systems of the P-3C, SH-2G, and SH-60B/F aircraft.
The P-3C Update III, SH-60B Upgrade, SH-2G Upgrade and SH-60F Upgrade are potential recipients of the ADAR sonobuoy.
The AN/SSQ-110 EER sonobuoy will operate with the P-3C Update III to form the EER System. The AN/SSQ-110A EER sonobuoy will operate with the P-3C Update III to form the EER and Improved EER Systems, respectively. The SH-60B Upgrade, SH-2G Upgrade, and the SH-60F Upgrade are potential recipients of the EER sonobuoy.
SSQ-36 BathythermographRef 33. RP33 Fleet Oceanographic and Acoustic Reference Manual - 1999, 234 pgs,
SSQ-53D/E Low Frequency Analysis and Recording (LOFAR)
SSQ-62B/C/D/E Directional Command Activated Sonobuoy System (DICASS)
SSQ-77B Vertical Line Array DIFAR (VLAD)
SSQ-86 Data Link Communications (DLC)
SSQ-101 Air Deployable Active Receiver (ADAR)
SSQ-110/A Extended Echo Ranging (EER)
Technical Manuals
TM
Title
Format
NAVAIR 28-SSQ-500-1 Sonobuoy Instruction Manual Hard copy NAVAIR 28-SSQ-500-4 Basic Introduction to Air ASW Sensors CD-ROM NAVAIR 28-SSQ-500-4A Basic Introduction to Air ASW Sensors (Confidential Supplement) CD-ROM NAVAIR 11-1-107 SUS Technical Manual Hard copy NAVAIRINST 4010.3A Sonobuoy Inventory Cord Report, Control & Disposition CD-ROM NWP 3-20.5 P-3 TACMAN Hard copy NAVAIR 01-75PA-75 P-3 A/B/C Airborne Weapons, Storage, Loading Manual Hard copy NWP 3-21.64 SH-60F TACMAN Hard copy NAVAIR H60BB-LWS-000 SH-60B Airborne Weapons, Storage, Loading Manual Hard copy NWP 3-21.63 SH-60B/LAMPS MKIII TACMAN Hard copy NWP 55-2-SH2/LAMPS MKI SH-2G TACMAN Hard copy
Development Spec. DuKane Model N15A234: 10 kHz pulse 12.5ms every 1.4 seconds. 8 ea 1450 Mercury batteries, 240 Hours operating life (10 days), 2.340" dia x 7" long.Ref 35. The Naby's Best-Kept Secret: is IUSS Becoming a Lost Art?, D.M. Maskell, 2001 (DTIC: ADA401150.pdf) -
Photos:
Fig 1. ACR EPIRB
Fig 2 SUS Mk 59 Mod 5 Explosive Wt. 1.90 lbs, Total Wt. 4.80 lbs.
Fig 3 TDRSS tracking method
Fig 4 North Atlantic Ocean-depth profile
Fig 5 Down-looking sonar 30 deg beam
Fig 6. DuKane Model N15F210B FAA approved underwater sound source
Fig 7 Burnet Model 590 FAA approved underwater sound source
Fig 8 Dukane N15M210 commercial version of naval Mk 87 Mod 0 with optional mounting bracket.
Fig 9 DuKane recovery aids used on early NASA missions
Fig 10 DuKane N15A217 long range Appolo unit w/bracket.
Fig 11 DuKane N15A234 severe environmental conditions
Fig 12 DuKane N15M210 delayed turnon timing device in end cap
Fig 13 Deep submersible (SCRAB) to 6,000'
Fig 14 Navy "Deep Drone"
Fig 15 Search transceiver/receiver block diagram. spread spectrum Tx 9062 & 11.875 kHz.
Fig 16 Underwater transponder/transmitter block diagram
Fig 17 model of underwater depressor transducer vehicle
Fig 18 Fixed beam, towed transducer platform using NRL type depressor (Rx @ 30 - 40 kHz & 9 - 12 kHz)
Fig 19 48-crystal beam forming underwater platform @ 10 kHz
Fig 20 Proposed concept for Fig 19
5122807 Motion-compensated direction finding system, Peter M. Trask, Gregory J. Majewski, Navy, 1992-06-16, - "The motion compensated direction finding system of the invention has especial utility for buoys released from undersea vessels released to sea surface."Ref 45. Expendable Communication Buoys - Gabler Naval Technology borchure (GABLER-Naval_ECB_2021-05_EN.pdf)
2821709 Antennas, Fucci Salvatore, 1958-01-28, - stacking VHF & UHF antennas on a mast.
4554554 Quadrifilar helix antenna tuning using pin diodes, Ralph C. Olesen, Robert A. Sainati, John J. Gropelli, Jr.Andrew J. Stanland, Navy, 1985-11-19, - Band 1:250 - 270; Band 2: 290 - 315 MHz & a 5 Band version for 260 to 400 MHz.
UHF SATCOM buoy, now designated AN/BRT-6
6859180 Gravity-actuated submarine antenna, David F. Rivera, Navy, 2005-02-22 - buoyant cable antennas (BCA) that works for SATCOM. (see AS-3379A BCA)
7577405 Disposable radio communication device (buoy), Charles Philip Amidon, Navy, 2009-08-18, -
7559288 Recoverable optical fiber tethered buoy assembly, Charles Philip Amidon, Navy,2009-07-14, -
6711095 Expenable/recoverable voice and data communications system buoy, Danny Daniels, Navy, 2004-03-23, - AN/BRT-6?
432 patents assigned to the US Navy relating to "VLF", 99 Navy patents with "extremely low frequency"
Part 1 History of Antisubmarine OperationsRef 48. Steel Boats Iron Men - Submarine League, 1994, 208pgs, ISBN-13 : 978-1563110818 - SQR-17 SONAR Signal Processing Set info
Part 2 Antisubmarine Measures and their Effectiveness
Part 3
2857510 Container suitable for dropping from aircraft, Patrick E Haggerty, Robert W Olson (oil seismic), Richard L Congdon (oil seismometer), Eugene J Toomey, Jr John T Thomson, Richard E Byers, TI, 1958-10-21, - Sonobuoy?Ref 61. VO-67: The Ghost Squadron - Stephen Tucker, 1:49:07 -
***** Wiki: Invention of the integrated circuit *****
2727840 Methods of producing semiconductive bodies, Gordon K Teal, Bell Labs, 1955-12-20, - making transistors
2892931 Transistor radio apparatus, Richard C Koch, IDEA Inc, App: 1955-03-25, Pub: 1959-06-30, - Regency TR-1 (Wiki) NPN Germanium (not Silicon) Four transistor radio - 2820890 Chassis -
2978314 Compositions for electrical resistance films, Lawrence B Krauss, Fairchild Camera, App: 1956-03-05, Pub: 1961-04-04, -
2978364 Automatic control system for precision resistor manufacture, Blaustein Aaron, Fairchild Camera, App: 1956-03-05, Pub: 1961-04-04, - Glass bell jar & sputtering
**** Fairchild has patents for photolighographic equipment used for printing newspapers & magazines that would be the basis for step & repeat semi printing.****
2990501 Novel header of semiconductor devices, Cornelison Boyd, James H Eddleston, Arthur D Evans, Jr Mark Shepherd, Robert L Trent, Jr Elmer A Wolff, TI,
3025589 Method of manufacturing semiconductor devices, Jean A Hoerni, Fairchild Camera, App: 1959-05-01, Pub: 1962-03-20, -
3138743 Miniaturized electronic circuits, Jack S Kilby, TI, 1964-06-23, - interconnects by hand wire bonding - not photolithography like Fairchild.
3264493 Semiconductor circuit module for a high-gain, high-input impedance amplifier, John E Price, Fairchild Camera, App: 1963-10-01, Pub: 1966-08-02, - Silicon oxide used as insulating layer for photolighography wiring.
3819921 Miniature electronic calculator, J Kilby, J Merryman, Tassel J Van, TI, App: 1972-12-21, Pub: 1974-06-25, -
@20:08: Neptune P-2 Aircraft (Wiki)Ref 62. Twitter Post by P3Guy about Cold War stuff.
@25:11: VO-67
@32:55: Vietnam Ho Chi Minh Pack Bike
@39:01: The Other Weapon - ADSID
3585578 Side looking sonar apparatus, Raymond C Fischer Jr, Westinghouse Electric (CBS), 1971-06-15, -Ref 66. US Scary Technique to Hunt & Destroy Enemy Submarines from Advanced Plane, 20:39 - See JANUS, https://cirs.udg.edu/, Slocum electric glider, (Teledyne Webb Research) , Douglas C. Webb (WHOI, patents)
5260912 Side-looking fish finder, Mark W. Latham, Computrol Inc (Techsonic Ind, Johnson Outdoors), 1993-11-09, - side looking fish finder that looks for a fish surrounded by water.
6421299 Single-transmit, dual-receive sonar, David A. Betts, Louis Loving, Techsonic Ind, 2002-07-16, - each beam at different frequency to allow for vehicle speed.
ASW To Catch a Shadow - Anti-submarine Warfare, P-3 Orion, USS Scorpion 20850 HD - 29 minutes
Goblin on the Doorstep - ASW Anti-submarine Warfare 20870 HD - 29 minutes -Collecting microscope slide from early Bathythermograph,
ASW: Tracking the Threat 1982 US Navy Training Film; Anti-Submarine Warfare - 23 min - Launching Bathythermograph -
BT data after launch of BTU.S. NAVY SONOBUOY INDICATOR GROUP AN/AQA-1 ANTI-SUBMARINE WARFARE FILM 51114 (28:53) - 17.5 minutes @2:16: ANB-H-1 Headphones -
Works with:U.S. NAVY MK-84 SONOBUOY TRAINING FILM SIGNAL UNDERWATER SOUND (SUS) 81204 - 12 minutes - Sound Underwater Signal Mk 84 Mod 0. Non Explosive, can be set to one of 4 preset codes. 2.95 & 3.55 kHz: can be heard with: AN/BQR-2, AN/BQR-7, AN/UQC underwater telephone on the third harmonic (aprox. 10 kHz)
R-316A Dual receive channel sonobuoy receiver - 16 frequency channels
ARR-26
SSQ-15 Range only (sends out pings every 5 seconds)
SSQ-20 DIFAR
SSQ-2b non-directional (Explosive type)
Coordinated Anti-Submarine Warfare - SONAR, Sonobuoys, USS Stein, USS Badger 20890 HD - 19 minutes - about fleet operations
ASW The Submariners - USS Shark, Anti-submarine Warfare Maneuvers 20800 HD - 29 minutes - @12:22: USS Holland First US sub
Hunter Killer Anti-Submarine Wwarfare U.S. Navy Film 30102 - 21 minutes - Edward R. Murrow (Wiki) - Prop planes
Blind Man's Bluff - History Channel Documentary - 1hr 35min - Some factual errors, see: SOSUS
HD Historic Stock Footage AERIAL ANTI-SUBMARINE WARFARE - @4:34 MAD chart output,
The Guide To Submarines Documentary - welldone
Inside a Navy anti-Submarine Lockheed P-3 Orion Aircraft - Moffett Field Museum -14 -
Visualizing Humpback Whale Calls using DIFAR Sonobuoy -
Modern Sonar Sounds and other Sounds of the Sea - LOFAR
Lockheed P-3 Orion Training Mission- Part 1, Part 2 -
P-3 Orion 50th Anniversary -
Project Tinkertoy (IC Precursor) 1953 US Navy; Automated Manufacturing of Modular Electronics - @4:43 shows Sonobuoy (or?) -
Submarine Communications: "Signal, Underwater Sound (SUS) Mark 84" US Navy Training Film -
P3 Orion SSQ-801E BARRA Sonobuoy deployment (1:28) - deploys into a 3 dimensional structure
Greyhounds of the Sea - History of the U.S. Navy Destroyer 80260 , 26:53 - narration by Jack Web. (new movie " Greyhound", 2020 IMDB -
Sub Brief:A Beginner's Guide #4: Target Motion Analysis (TMA) -(Wiki) Moffett Field: Finding Submarines by P-3 Orion, Sonobuoys AN/AQA-5 Acoustic Charts Recorder Moffett Field Museum, 1:16
Moffett Field: Finding Submarines by Lockheed P-3 Orion and Sonobuoys, 1:39 - shows some sonobuoys
Moffett Field: Inside a Navy anti-Submarine Lockheed P-3 Orion Aircraft, 8:12 - tour -
Moffett Field: Sonar & underwater sounds of Whales, Submarines, Torpedo launch - 3:26 - a computer simulation using actual sounds + sonogram.
Smarter Every Day: How Sonar Works (Submarine Shadow Zone) - cites RP 33 (Ref 33)
What Happens if You’re Hit by Sonar?, 8:26 - has examples of: @3:22 SQS-53, @3:27 SQS-510, @3:38 SQS-26,
Aircraft
AN/ARR-26 Sonobuoy Bathythermograph Receiver - this is a dual tube type receiver that fed the AQA-1 Indicator Group (chart plotter with frequency & bearing waterfall displays)
Astronomy - UFOs - YouTube: Richard Muller Physics Lecture 11 - Waves 1
Cars
CRT-1B Sonobuoy
SSQ-36 Bathythermograph
SSQ-53A DIFAR sonobuoy
SSQ-57A LOFAR Sonobuoy
T-347/SRT Buoy, Radio Transmitting - sends SOS
CRT-3 BC-778 Gibson Girl Survival Beacon Transmitter SCR-578
Helmholtz Coil (Helmholtz Resonator)
Magnetics
Navigation
MIL-S-5807A Sextant, Aircraft, Periscopic (used on the P-3, see Hickory Aviation Museum virtual tour below)
Radiosonde - PIBAL Theodolite - The weather stations lifted by Pilot Balloons have a very strong similarity to sonobuoys.
Submarines
Torpedoes
Western Union DeskFax - made this page mainly looking for the paper used on the AQA
Hickory Aviation Museum - P3-C interactive tour - Grab circle behind pilot's seat and look up to see this periscope sextant mounted in ceiling of P-3.
The Cutting Edge ASWS-3 Viking 1980 VS-24 (23:50 training video)
Sub Killers Part 11960 Walter Cronkite S2F Tracker - USS Randolf exercise
Sub Killers Part 2 S2F -
Sippican's expendable probes - temperature, sound velocity, conductivity, etc.
Sonar Training Record Series D16: training sonobuoy audio from records
Expendable Radio Sonobuoy Training Records, 15P3: training sonobuoy audio from records
USS Pampanito Operating Equipment: sounds
Net and Boom Defenses - Ordnance Pamphlet 636A June 1944
Welcome to USS PAMPANITO (SS-383) - SS-383 Sonobuoy web pages - Manual for Expendable Radio Sono-Buoy Training (phonograph) Records -
Chapter 16 SOFAR, Harbor Defense, and other SONAR Systems - Fig 16-9 shows the above hydrophone. - JM-4 sonobuoy schematic dia -
Naval SONAR -
WiNRADiO AX-61S Sonobuoy Telemetry Antenna- 135 to 175 MHz.
Harvard Underwater Sound Laboratory. Records of the Underwater Sound Laboratory : an inventory
OEG REPORT No. 51, ANTISUBMARINE WARFARE IN WORLD WAR II, Charles M. Sternhell and Alan M. Thorndike 1946 - links to contents do NOT work
Scientists create the loudest possible (underwater) sound - SLAC: In brief: Record-shattering underwater sound - cavitation puts an upper limit on how loud sound in water an be.
University of Bergen - Sonobuoys - to use SSQ-57 LOFAR for scientific use with modified ICOM 8500 receiver
Acoustical Society of America - Search for Sonobuoy -
1979IUSS*Caesar Alumni Association - Articles & Briefings - Integrated Undersea Surveillance System (IUSS) = SOSUS + SURTASS
4109232
4114135 Acoustic device, Clarence J. Funk, Navy, 1978-09-12, - vertical line array, doppler, LOFAR
4121190
4114137 Directional Sonobuoy
4013756
page created 22 Oct 20112