Western Electric 387W Disk Microphone



© Brooke Clarke 2018
Western Electric 387W
                  Carbon Button Disk Microphone
Western Electric 387W
                  Carbon Button Disk Microphone

Background
Description
Photos
Patents
Related
References
Links

Background

Got this to illustrate what a disk microphone is.  This is because the Army Air Force reported that "flying disks had been recovered" but the Roswell Daily Record, July 8, 1947 reported "RAAF Captures Flying Saucer On Ranch in Roswell Region".  The newspaper changed "flying disks" into "flying saucer".  Bringing the term flying saucer into common use to describe a UFO.  For more about that see my Roswell Connection paragraph on the Sonobuoy web page.

I believe these very heavy microphones were intended for use in movie studios, not for telephones.  The spring mount in a disk shape was needed to isolate them from conducted noise.  The reason for the heavy construction was to allow tightly clamping the aluminum diaphragm and then "tuning" by using separate screws to tension the diaphragm.  This gave better frequency response and so these were desirable for project Mogul (Wiki).

This is a very heavy microphone and no way was it carried on a balloon as part of Project Mogul (Wiki).  What "disk microphones" did they fly below the CRT-1 sonobuoy?

In the movie Ma Rainey's Black Bottom (Netflix, IMDB) this mike is featured in a number of scenes.
I had what might have been a Rek-O-Kut record cutting lathe.  It looked like a record player except the arm was larger and there was a lead screw underneath the table.
2583972 ?

Description

W.E. 387W Microphone

I think this is a double-button carbon microphone with a stretched diaphragm. Not sure why the "W" suffix.  The body is 3-3/8" dia x 1-7/8" thick. 

The patent numbers on the microphone are for both condenser microphones and carbon type microphones.  There is about 400 Ohms resistance between the center terminal and the case (terminals B and C in Fig 2), so this appears to be a carbon button type.

The very strong case construction is so that the diaphragm is stretched after the case is closed raising the resonant frequency to improve the fidelity.  The stretching is done using different screws than the clamping screws.  The stretching is called "tuning" in the patents since it has a strong effect on the frequency response.

Support Ring (Disk)

The ring is marked:
J. R. Palmenberg's Sons Inc., Made in U.S.A.
This might be their model Nbr. 200.
They mostly made garment forms and store displays.
The support ring has a fitting that has female 1/2" x TBD threads for a support pipe.

Versions

The WE 600A looks very similar. Patents: 1333744, 1456538, 1603300, 1611870, 1675894 (1928) - all except the last one are applicable to the 357 Microphone.  The last patent is about how to get good voice recordings on movie film.  Talking films (Wiki) were in development during the 1920s.

Photos

Fig 1
Western Electric
                      387W Carbon Button Disk Microphone

Fig 2 Marked: B and C for wires.
Western Electric
                      387W Carbon Button Disk Microphone



Patents

050304
                      Telephone-transmitter, Charles E Scribner, W.E.,
                      1913-01-14 - "granular button unit"
1050304 Telephone-transmitter, Charles E Scribner, W.E., 1913-01-14 - "granular button unit"
1333744
                      Telephone-transmitter, Edward C Wente, Western
                      Electric, Mar. 16, 1920
1333744 Telephone-transmitter, Edward C Wente, Western Electric, Mar. 16, 1920 -
Condenser

This was designed for the new talking pictures. (Way Back Machine: Motion Picture Sound 1910-1929)

"1915 - Harold Arnold began program at Bell Labs to improve sound recording using the vacuum tube amplifier, condenser microphone, balanced armature loudspeaker, and light valve. This would lead to the electrical recording technology used by the two basic motion picture sound systems: sound-on-disc and sound-on-film. Edward B. Craft was asst. chief engineer at Western Electric 1918-1922, then VP of Bell Labs 1925. He led the motion picture sound project. He arranged demonstrations at Yale Oct. 27, 1922, and in Feb. 1924 for the sound-on-disc method that produced better sound than the sound-on-film method. A recording studio was set up in 1923 to make experimental films. The Western Electric sound-on-disc system made test films in room 1109 at 463 West St. by H. M. Stoller, under project chief J. P. Maxfield. T. L. Downey designed the recording turntable; H. C. Harrison designed the electrical recording head with cutting sylus; E. C. Wente designed condenser microphone (Patent No. 1,333,744 filed December 20, 1916) and an improved light valve for sound-on-film (Patent No. 1,638,555 filed May 1, 1923)."
1456538
                      Acoustic apparatus,I.B. Crandall, Western
                      Electric, Filed: Dec. 24, 1917, Pub: May 29, 1923
1456538 Acoustic apparatus,I.B. Crandall, Western Electric, Filed: Dec. 24, 1917, Pub: May 29, 1923
Condenser
1603300
                      Telephone transmitter, Richard C Winckel, Western
                      Electric,Filed: Sep. 2, 1924, Pub: Oct. 19, 1926
                      Carbon Button (24)
1603300 Telephone transmitter, Richard C Winckel, Western Electric, Filed: Sep. 2, 1924, Pub: Oct. 19, 1926
Carbon Button (24)
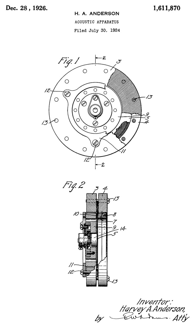
1611870
                      Acoustic apparatus, Harvey A Anderson, Western
                      Electric, Dec 28, 1926 -
1611870 Acoustic apparatus, Harvey A Anderson, Western Electric, Dec 28, 1926 -
0.0017" thick Duralumin diaphragm better than steel.
Voltage out ~ Amplitude of diaphragm movement
Duralumin delivers 25X the output of a steel diaphragm, equivalent to 15 miles of  number19 B&S cable.  This patent is about the diaphragm and works with either condenser or carbon microphones.
1670777
                      Acoustic device, George Lum, Western Electric,
                      1922-06-26 1636006 Telephone transmitter mounting, George Lum, Western Electric, 1927-07-19 -"1A" stand
1670777
                      Acoustic device, George Lum, Western Electric,
                      1922-06-26 -
1670777 Acoustic device, George Lum, Western Electric, 1922-06-26 - Microphone with improved diaphragm clamping to allow "tuning" by controlling the stretching.

Note 12 each diaphragm clamping screws (10) around the outside.
The 6 tuning screws (12) are closer to the center.

1675894 Method and apparatus for recording and reproducing sound, Charles D Lindridge, W.E., 1928-07-03 - bi-amplification
1700441
                      Acoustic device, George Lum, Western Electric,
                      1929-01-29 - folded horn loudspeaker
1700441 Acoustic device, George Lum, Western Electric, 1929-01-29 - folded horn loudspeaker

Also see similar loud speakers on my Sound Powered Phones web page.

Related

Audio Connectors & Cloning - Fill - Retransmission
Bats -
Beltone 12D Audiometer
CRT-1 Sonobuoy - Used in Project Mogul, but it's hdrophone was replaced with a string of disk microphones.
Teledyne Avionics TA-3D Acoustic Impedance Meter - allows applying positive or negative pressure and then measuring the impedance of the ear.
TS-2839/GY German Audio Test Set
General Radio Audio Testing equipment
Freed-Eismann Radio Speaker FE-50 - efficient horn type loudspeaker
FreqStd Frequency Standard, Audio
HP204 HP 204B Audio Oscillator from HP 3350 Carrier Test Set (AN/USM-181 Telephone Test Set
HP241A HP 241A Audio Oscillator w/Radio Buttons
HP33120 HP 33120 Function Generator -both audio and sub audio frequencies and various harmonic contents because of waveform
MAA Military Audio Accessories
M1024 Magnacord 1024 Reel to Reel Tape Recorder
SDAR Signal Design, Inc. 65630 Audio Recorder RD-609/TSQ-164 Communications Recorder
Surround Sound 7.1: Sub woofer, Setup,
Telephone
Telephone Patents
Cryptography
Crypto Machines
EE-8 Telephone Set
Fullerphones
GRA-39 Radio Set Remote
KYV-2 Secure Voice Module for PRC-68 family radios
KY-38 Man Portable Secure Voice System
KY-57 Voice Transmission Security Device
KY-65 Voice Encryption Unit 
KY68 DSTV
KY-99 Advanced Narrowband Digital Voice Terminal (ANDVT)
MSC-2001 Voice Encryption Unit (VEU)
Phones
PSR-1 - Seismic intrusion detector with audio output
SB-22A  Switchboard
Seismometer & Geophone
Sensors - AcousticInfrasound -
Sound Powered TelephonesBaldwin Speaker Driver - Peerless Speaker (Lektophone)
TA-1 Sound Powered Telephone Set
TA-312/PT Telephone Set  (Field Phone)
TA-341/TT Analog touch tone phone
TA-838/TT Telephone Set
TG-5-B Telegraph Set
TS585 TS-585 Audio Level Meter
U229AA U-229 Audio Accessories
U229PO U-229 Pin Out by Function
U229Y "Y" Cable,  U-229/U
Ultrasonics -
Voice of the Theater speakers - efficient exponential horn + 15" woofer with voice coils in same vertical plane to avoid phasing problems at crossover frequency

References

Wiki: Microphone

Links

PRC68, Alphanumeric Index of Web pages, Contact, Products for Sale
Page Created