Bathythermographs

© Brooke Clarke 2021 - 2024

MBT
BATHYTHERMOGRAPH Dittmore & Freimuth
XBT
Sippican
                  XBT-T4
SSXBT
Submarine-Launched
                  Expendable Bathythermograph (SSXBT)
AXBT
SSQ-36 Shipping & Launch tubes + housing


Background
Description
    Types of Bathythermograph
        Mechanical (MBT or BT)
            Dittmore & Freimuth
            Glass Slides
            Patents
        Expendable (XBT)
            Sippican XBT-T4
                Resistance
                Patents
        Sub-Launched
            SSXBT Model ST-1
            Patents
        Aircraft Launched (AXBT)
            SSQ-36
                Manuals
                Patents
                Test & Evaluation
            SSQ-937 (Helicopter)
        Hull Mounted
        Manual Launched
Niskin Bottle
General Bathythermograph Patents
Speed of Sound in Water Patents
Related
References
Links

Background

A Bathythermograph (Wiki) is used to plot water temperature v. depth.  While this data has scientific value it's vital for SONAR operators since the "Shadow Zones" can be estimated and the temperature profile from the surface down to as deep as a submarine might be is one of the things that needs to be known to arrive at the sound speed v. depth plot. (NPS: VIII. SONAR Modeling and Visualization).

YouTube: How Sonar Works (Submarine Shadow Zone) - Smarter Every Day 249, 26:41 - @15:15 XO knows what's in PR33 (Ref 33), @15:45 Multipath,  @18:27 RP33 pages & FAS:Sonar Propagation & Fig 13 Sonic layer (Shadow Zone), note the equations for Best Depth are just below "Figure 13. Sonic layer."

Description

To record the water temperature vs. depth.

Types of Bathythermograph

I've just made paragraphs for the types I know about.  They are: Mechanical, Expendable, Submarine Launched, Aircraft Launched, Hull Mounted launch tube on  surface ships, and Manual Launched.

Mechanical (MBT)

Drawing: Bathythermograph assembly, cross section. March 11, 1964 -

These were used starting in W.W.II and probably continued for some time afterwords.  As of 2021 there are a number of MBTs on eBay coming out of Germany.  These often include a wood case, glass slides, a magnifying slide viewer, so look like they are from a working environment.

Dittmore & Freimuth MBT

This works with two actuators.  One in the nose responds to pressure (depth) by pushing a glass slide along the central axis of the body.  The other sensor consists of a long tube wrapped around the tail section where the fluid expands or contracts depending on the water temperature.  This is turn drives a Bourdon Tube (Wiki) which moves a stylus more or less at right angles to the centerline.  This results in a scratch line on the smoked glass slide giving a pressure diagram from the surface down to depth and back to the surface.

There may be another version that looks identical but has a depth range of 0 - 300 (450?) Feet instead of the 0 - 900 Feet range of this example.

Found this on eBay and recognized it from the patent drawings. 
Auction title: WWII USN MECHANICAL BATHYTHERMOGRA
PH Dittmore & Freimuth SUBMARINE SONAR vintage

This company lost a hydrophone contract with the Navy because of poor delivery and other issues, see:  B-153795, JUL. 17, 1964
This seems to be a company that bids on government contracts for a variety of products rather than a company that has a product line of standard products.
They do hold a number of patents.
Another Dittmore-Freimuth Bathythermograph is marked:  FSN 655-739-4360.  This unit has a much shorter tail section.
The glass slides may be NSN: 6655-00-676-7987.  Another eBay auction shows a wooden box to hold slides marked: Smoked Cards for Submarine Bathythermograph Type CTB 40131.

Photos
Fig 1 Loading sleeve closed.
BATHYTHERMOGRAPH Dittmore & Freimuth
What appears as a coil of Copper wire at the tail is actually a hollow tube filled with Xylene which acts like the liquid in a clinical thermometer, i.e. expanding when warmed and contracting when cooled.  That liquid drives a Bourdon Tube (Wiki) which in turn moves an arm with a stylus in a left or right motion.


Fig 2 Loading sleeve open (moved to front/left).
BATHYTHERMOGRAPH Dittmore & Freimuth


The microscope slide is connected to the pressure sensor consisting of a spring and bellows mechanism in the front which pushes and pulls the microscope slide front to rear.

Note there is a hole on the opposite side of the
Bathythermograph to allow a wooden dowel to be used to push out the scribed glass slide.
Fig 3
BATHYTHERMOGRAPH Dittmore & Freimuth
Markings visible after outer weight is removed.

Bathythermograph
OC-ED/S
0 - 900 Ft.
Ser. No. 15923
Mfr. 97188

Glass Slides

The early slides were rubbed with Skunk Oil which was blackened using a flame.  Later slides were coated with  a thin film of metal.  This was probably done using the same technique of metal deposition (Wiki) later used in the semiconductor industry.  This may also be the method used for making reticles (Wiki) for Gun Sights like the Mk 20 Mod 4.  These later prepared slides may have had a graph marked on them to make reading much easier.

Fig 4
BATHYTHERMOGRAPH Dittmore & Freimuth


A standard 1" x 3" Microscope Slide (Wiki) is shown installed.
It is too long.
The correct size might be 1" x 1.7"


Prepared Slide image from Ripley's
WHEN SONAR WASN’T ENOUGH: THE BATHYTHERMOGRAPH
BATHYTHERMOGRAPH Dittmore & Freimuth


Marked: Bathythermograph Shallow
From left to right calibrated 30 to 90 deg F.
From Top to bottom depth 0 to 180 (feet, meters)

There will be a plot of temperature v. depth as the Bathythermograph is
lowered to depth and another plot as it is pulled back up.

Patents

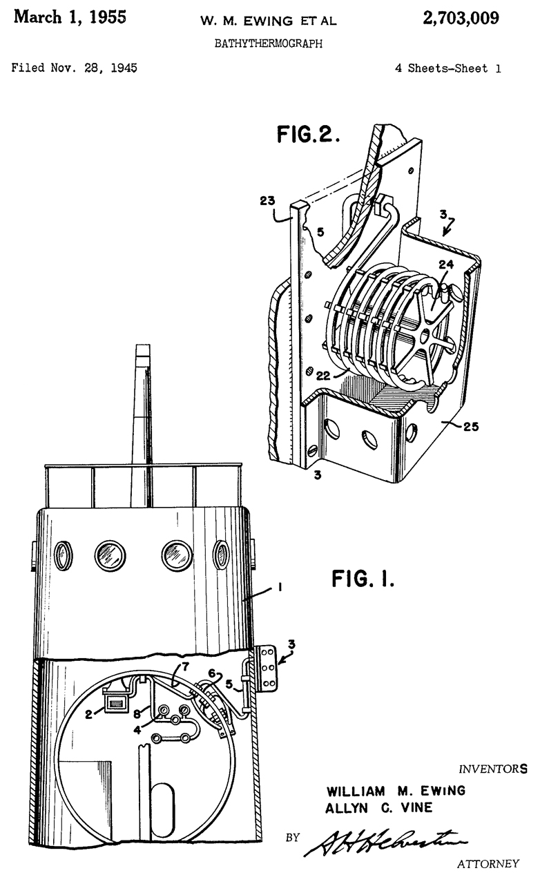
2515034
                        Bathythermograph, William M Ewing, Allyn C Vine,
                        Us Navy, Filed: May 27, 1944, Pub: Jul 11, 1950 2515034 Bathythermograph, William M Ewing (Wiki) Allyn C Vine (Wiki), Us Navy, Filed: May 27, 1944, Pub: Jul 11, 1950, 374/136, 73/300 - rapid response to temp & pressure (recording inside unit) that allows ship to be moving at 20 knots, rather than be stationary.

The nose hss a weight to get fast decent.
The front contains the pressure sensor including an evacuated bellows that moves the glass slide front to back.
The middle contains the smoked glass slide used to record the data.
The rear contains the temperature sensor consisting of 40 to 60 feet to copper tube filled with Xylene (Wiki) with a melting point of -47.4 C (-53.3F). It moves the stylus side to side.


Expendable (XBT)

This is the type that came after the above Mechanical units.  They are single use, hence "expendable".

Sippican XBT-T4

This unit is a derivative of the Francis Associates BT mentioned in BT Reference 8.  It has the same shape.  It is paired with a launch tube (the other BT's tested in the reference used other methods).  The temperature precision of the Francis Associates BT was the best of those tested but it had an offset.

NSN: 6655-00-932-1353

These contain a Thermistor which has a non-linear negative temperature coefficient.  patent 3341757 & RE27103 are designed to address the problem of converting to a linear temperature output and compensating for the resistance of the very long fine Copper wire's resistance at different ocean temperatures.

Bathythermograph Reference 6 Covers the XBT in chapter C starting with paragraph C10 on page C-9.  This is for the first generation where there is a roll chart plot of temperature v. time.

Another problem is the rate of decent in the ocean.  This will not be constant because of the un-spooling of the Copper wire from the probe causes its weight to decrease with depth.  So assuming a constant decent rate will introduce an error.

The label says "Patent No. 3,221,556" that is for either a single wire system or a two wire system.

A key idea is: "Cable 24 stored within housing 12 upon spool assembly 26 is freely payed out through opening 32 to thereby proovide for the vertical motion of the bathythermometer. It can be readily understood that by positioning a cable spool within the housing of the bathythermometer and another spool assembly aboard a moving ship a means is provided which allows the bathythermometer to fall freely since the cable holding the bathythermometer does not move in relation to the water in either a horizontal or vertical direction. This phenomenon is effected because the unwinding of the cable from spool 34, located aboard the ship compensates for any horizontal motion of the cable with respect to the water and the cable being payed out of the bathythermometer eliminates any vertical motion of the cable with respect to the water. Thus the cable represented by the line in FIG. 1 does not move with respect to the water in either a vertical or a horizontal direction"

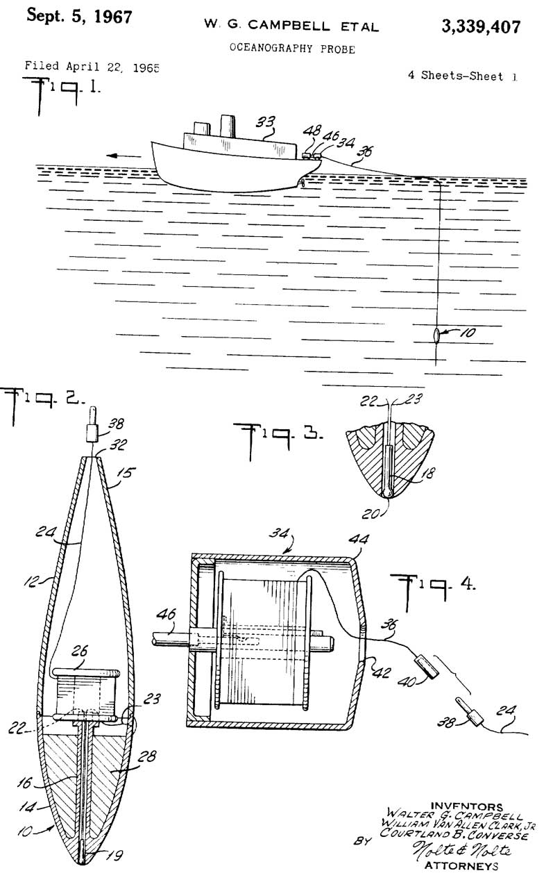
Patent 3339407 covers the canister holding the fixed coil of wire and the probe with it's coil of wire.

This model is part of a common set of eXpendable BathyThermographs which also includes:
Model
Max Depth (m)
T4
460
T5
1830
Fast Deep
1000
T6
460
T7
760
Deep Blue 760
T11
460

The T-6, T-7 and Deep Blue (DB) models do not contain a pressure sensor so depth is determined by the time since release and a known rate of decent.
I think that there are many more models of the XBT offering various parameters.

eXpendable Sound Velocimeter (XSV) (20050054_XBT_XSV_reader_page.pdf, ADA142936: similar to sonobuoy: floating part w/Tx and descending part)
Model
Max Depth (m)
XSV-01
850
XSV-02 2000
XSV-03 850
eXpendable Current Profiler XCP Mod 7 - this appears to be a transmitting buoy

patent number on the label: 3221556
Fig 1 In launch tube as received.  The rotational location
of the clip is important since it sets the location of the three electrical terminals behind the label.
Sippican
                        XBT-T4
Fig 2 Bottom cap pulled off and pin pulled.
Sippican
                        XBT-T4
Fig 3 Hole in nose allows water to flow inside
to get rapid response on temperature sensor.
Sippican
                        XBT-T4
Fig 4 Using Flashlight to see wire spool down launch tube.
Sippican
                        XBT-T4
Fig 5  Note space to the right of tail in launch tube for wire spool.
You can see wire spool in hole just behind metal nose with a
flashlight and your eye, not easy to photograph.
Sippican
                        XBT-T4
Fig 6 Three Terminals (note Index mark)
16.65 k Ohms at room temp.
The cream colored material is some type of wax. Probing near the outside edge finds a metal plate but if probe is too near the
center there's no contact, so the location of the tips black lines
is about a good place to probe.

Now in the refrigerator overnight to see the difference.
Sippican
                        XBT-T4
Fig 7  Thermistor (Wiki) recessed in nose hole. 
Small thermistor size means fast response time.
There is no electrical connection between either thermistor lead and the metallic nose.
Sippican
                        XBT-T4
Fig 8
Lockheed Martin Sippican, Inc.
T4
[bar code]
SN 397657 DOM Made in Mexico, 06 / 26/ 06
NSN 6655-00-932-1353
Patent No. 3,221,556
XBT
Expendable Bathythermograph
Sippican
                        XBT-T4


XBT-T4 Resistance

In order to make some resistance measurements I first checked my refrigerator and freezer and found they were slightly warmer than the desired 40F (4C) and 0F (-14C) readings. 
Temperatures measured using Fluke 87V DMM with 80T-150U & Type-K thermocouple.
After some adjusting of the controls and waiting a day for the temperature to stabilize I'm now getting:


Desired
Measured
Thermistor
Resistance
Ohms
Freezer
0F
0F (-18C)
51.30 k
Refrigerator
40F
43F (6C)
22.87 k
Room
na
68F (20C)
17.49 k
Note that most bathythermographs that use an electrical temperature sensor typically use a thermistor (Wiki). They have a large change of resistance with temperature, are inexpensive and being physically small can have short thermal time constants.  But the relationship between temperature and resistance is non-linear.  It's possible to get near linear response over a small temperature range by being a little cleaver with the circuit.  See my paragraph on Temperature sensors.

Patents

3221556 Bathythermograph system, Campbell Walter Graham, Jr William Van Alan Clark, Courtland B Converse, (SIPPICAN OCEAN SYSTEMS Inc), 1965-12-07 - probe has diode in parallel with resistor, single wire w/sea return - marked on T4, XBT NSN: 6655-00-932-1353 - Main Sippican BT system 

3221556
                        Bathythermograph system, Campbell Walter Graham,
                        Jr William Van Alan Clark, Courtland B Converse,
                        (SIPPICAN

3221556
                        Bathythermograph system, Campbell Walter Graham,
                        Jr William Van Alan Clark, Courtland B Converse,
                        (SIPPICAN

3221556
                        Bathythermograph system, Campbell Walter Graham,
                        Jr William Van Alan Clark, Courtland B Converse,
                        (SIPPICAN

3221556
                        Bathythermograph system, Campbell Walter Graham,
                        Jr William Van Alan Clark, Courtland B Converse,
                        (SIPPICAN

3221556
                        Bathythermograph system, Campbell Walter Graham,
                        Jr William Van Alan Clark, Courtland B Converse,
                        (SIPPICAN

3221556
                        Bathythermograph system, Campbell Walter Graham,
                        Jr William Van Alan Clark, Courtland B Converse,
                        (SIPPICAN

3221556
                        Bathythermograph system, Campbell Walter Graham,
                        Jr William Van Alan Clark, Courtland B Converse,
                        (SIPPICAN




3339407 Oceanography probe, Walter G Campbell, W Van Alan Clark, Courtland B Converse, Sippican Ocean Systems, 1965-04-22, - bomb shaped drop probe with 2 wires

3339407
                        Oceanography probe, Walter G Campbell, W Van
                        Alan Clark, Courtland B Converse, Sippican Ocean
                        Systems, 1965-04-22
Through hole (5a) and blocked hole (5) versions.
3339407
                        Oceanography probe, Walter G Campbell, W Van
                        Alan Clark, Courtland B Converse, Sippican Ocean
                        Systems, 1965-04-22

3339407
                        Oceanography probe, Walter G Campbell, W Van
                        Alan Clark, Courtland B Converse, Sippican Ocean
                        Systems, 1965-04-22

3339407
                        Oceanography probe, Walter G Campbell, W Van
                        Alan Clark, Courtland B Converse, Sippican Ocean
                        Systems, 1965-04-22



3469444 Launching apparatus, William H Ayer, Sippican Ocean Systems, 1967-07-17, -
LM2 Deck Mount Launcher.
one wire spool stays in launcher and the other wire spool is part of the probe.
3469444
                        Launching apparatus, William H Ayer, Sippican
                        Ocean Systems, 1967-07-17
3469444
                        Launching apparatus, William H Ayer, Sippican
                        Ocean Systems, 1967-07-17

4939700 Bathymetry using computational algorithm field and background of the invention, J. Raymond Breton, 1990-07-03, -

Sub-Launched (SSXBT)

The temperature profile must start at the surface since that's where the major SONAR beam bending occurs.  So a submarine profile starting at whatever depth it happens to be would be of little or no value.  One way to get a profile that starts at the surface would be for the sub to come up to at least periscope depth.  A much better way is to use a special submarine XBT that can be launched from any depth and then floats to the surface, and after a brief delay releases the probe to drop normally. 

SSXBT Model ST-1

Submersible Ship (Submarine) launched XBT, i.e. SSXBT made by Sippican Ocean Systems.
When launched from an upward facing 3" signal ejector the complete unit floats upward.  The float separates from the lifting body and continues to ascend. When the float reaches the surface the probe and wire spool are released.

This is one of a number of devices that can be launched from the 3" launcher (signal ejector).

Fig 2 Label
Submarine-Launched Expendable
                      Bathythermograph (SSXBT)
Fig 1 3" dia x 36" long
Submarine-Launched Expendable
                        Bathythermograph (SSXBT)
Some Guidelines for the Submarine-Launched Expendable Bathythermograph (SSXBT) System (DTIC Oct 1981, 50 pages) The AN/BSQ-23 (older) and AN/BQH-7 (newer) have higher incidence of failure than the Bathythermographs used aboard surface ships.  This document is to help in recognizing when they have failed.  Typically used to measure ocean temperature v. depth in 100 foot intervals down to 2,500 feet.  This can be used a part of the launch solution for the Mk 48 torpedo.  It seems the sub needs to be at the surface to launch the ST-1.  Because of the hydrodynamics of the ST-1, it's rate of decent is known, it's possible to know the depth by the time since it was on the surface.  It should take 2 minutes 58 seconds to go from the surface to 2,500 feet.  If the sub enters a new ocean front (see map on pdf pg 18) the BQH-1 graph will show a change.  That can be compared to the SSXBT data to confirm correct operation of the SSXBT.  The appendix has 21 example plots each showing a different problem.

UISSXBT Under Ice (only) SSXBT

Saw this on eBay. Marked: SSXBT for under ice use only.  Do not launch above 150 ft. keel depth. Part No: 214673-1, 6/10/92
Maybe the 4215571 patent works under ice, but there's a problem when there's no ice?  Let me know.

AN/BSQ-23

4518915 Test device for expendable bathythermograph, Philip G. Danforth, Thomas G. Bucko, Kenneth R. Galliher, Joseph T. Lucia, Richard L. Miller, Timothy B. Straw, Secretary Of The Navy, May 21, 1985, 324/750.01, 324/762.01, 374/E15.001, 374/134 - "...to provide a simulator for testing and calibrating a wide variety of XBT systems used on board surface ships and submarines...."

The BQH-1 Depth-Sound Speed can be used as a check on the SSXBT.  This plots the speed of sound (time delay for a fixed distance) v. depth (water pressure). Either temperature or sound speed units can be used, it's best to use temperature units to allow matching to the SSXBT data.
AD-758 085, Engineering Evaluation of Depth-Sound Speed Measuring Set AN/BQH-1 Manufactured by Dyna-Empire Corp. Garden City, New York.  Contract NOBSR-75772, Navy Underwater Sound Laboratory, New London, Connecticut, 10 March 1961.

Patents

3349613
                          Aquatic probe, Samuel A Francis, Buzzards
                          Corp, 1967-10-31 3349613 Aquatic probe, Samuel A Francis, Buzzards Corp, 1967-10-31 -

works with submarine by adding float to nose of standard probe.
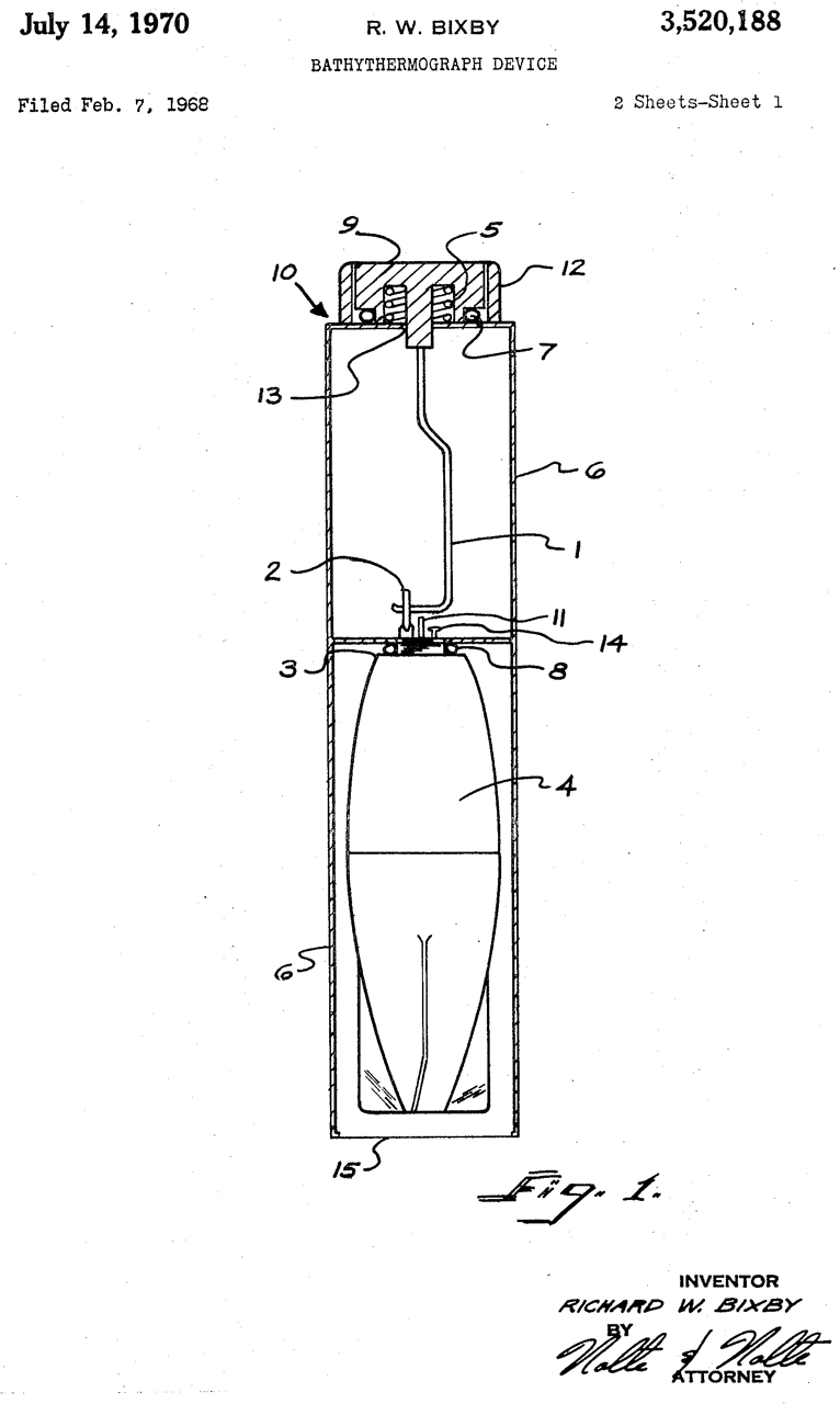
3520188
                          Bathythermograph device, Richard W Bixby,
                          Sippican Ocean Systems (Buzzards), 1970-07-14
3520188 Bathythermograph device, Richard W Bixby, Sippican Ocean Systems (Buzzards), 1970-07-14, -
3524347 Expendable
                                  bathythermograph for submarines and
                                  device for launching, Ralph P Crist,
                                  Navy, 1970-08-18
3524347 Expendable
                                  bathythermograph for submarines and
                                  device for launching, Ralph P Crist,
                                  Navy, 1970-08-18

3524347 Expendable bathythermograph for submarines and device for launching, Ralph P Crist, Navy, 1970-08-18, 73/170.34 -

This is an add-on to the conventional trailing wire bathythermograph that floats it to the surface then drops it so that the plot starts at the surface and not at the current submarine depth.
4215571
                          Expendable bathythermograph for use under ice,
                          Ralph P. Crist, Navy, 1980-08-05
4215571 Expendable bathythermograph for use under ice, Ralph P. Crist, Navy, 1980-08-05, -

Submarine launched.  Detects either water surface or bottom of ice when head (40) bumps into ice.

Aircraft Launched (AXBT)

These are typically launched out of a sonobuoy type-A launch tube.

The SSQ-36, SSQ-536 & SSQ-937 are all part of the same family.

SSQ-36

Versions

Version
Frequency
Channels
NSN
Years
SSQ-36
12, 14 or 16
6655-01-146-5010
6655-01-059-9259 (Chan 12)
6655-00-926-7780
1998?
SB Ref 32
SSQ-36A
?
?
?
SSQ-36B
1 to 99
6655-01-607-7360
6655-01-475-9479
1997 ->

So far I haven't found much information on the SSQ-36A, only a report on testing a single launch tube (Ref 12) so wonder if the "A" version ever saw the light of day? Let me know.

MIL-B-22356 Bathythermograph Transmitting Set AN/SSQ-36.
"...compatible with and certified safe, in accordance with SPD-14, for al1 sonobuoy launch tube systems in the P-3A/B/C, S-3A, SH-2F, SH-3H, and SH-60B aircraft."
Operates from 1.5 meters to at least 305 meters.
"Following commencement of 0.25 watt VHF carrier and within 0.25 seconds of commencement of Modulation the temperature sensing device shal1 be released and begin to descend."
"...at the rate of 1.524 meters per second +/- five percent. Terminal velocity shal1 be reached within three seconds after the release of the device."
Channel
Fre
MHz
12
170.50
14
172.00
16
173.50
Modulation: "...frequency modulated by the temperature signal in the frequency band of 1,360 to 2,700 Hz. The VHF carrier frequency deviation shall be 75, +10-25 kHz (75 kHz deviation represents 100 percent modulation).
Audio Frequency(Hz) = 1440 + 36 * T(deg C) to be within 20 Hz over the range -2 to +35 deg C.
Thermal Time Constant: not greater than one second.

From Ref 4.
The SSQ-36B can be set to one of 99 frequencies (136.000 to 173.500 MHz).
Depth profile covers 0 to 800 meters.
NSN 6655-01-475-9479

SSQ-36 Tube Sizes
SSQ-36 Shipping
                        & Launch tubes + housing
Shipping: 7" x 45"
Launch: 5-3/8" x 39-1/4"
Housing: 4-3/4" x 35-7/8"

Launch Tube Cap - twist and lift.
SSQ-36 Launch
                        Tube Cap

Housing (what drops through air and lands in ocean
SSQ-36
-14 is the RF Channel number.

Manual

NAVAIR 16-30SSQ36-2;  Handbook of operating instructions for bathythermograph transmitter set AN/SSQ-36. Naval Air Systems Command (1968), Motorola.

NAVAIR 16-30SSQ36-200;  Technical manual for bathythermograph transmitter set. Naval Air Systems Command (1975), Magnavox AXBT's.

NAVAIR 16-30SSQ36-201; Operating manual for bathythermograph transmitters SSQ-36. Naval Air Systems Command (1978). Hermes AXBT's.

Patents

3098993
                        Sonobuoy-bathythermograph system, Coop Jesse J,
                        Jul 23, 1963
3098993 Sonobuoy-bathythermograph system, Coop Jesse J, Jul 23, 1963, 367/134, 374/E01.3, 340/870.17, 340/870.6, 367/185, 367/3, 374/E01.4, 73/170.34 - sound output that can be heard by sonobuoy.
3119090 Sea
                        depth determination air survey means, Earl W
                        Springer, Navy, App: 1952-07-03
3119090 Sea depth determination air survey means, Earl W Springer, Navy, App: 1952-07-03, SECRET, Pub: 1964-01-21, -

"...to make rapid deter minations of the depth, temperature, velocity, and other oceanographic conditions..."
3273393 Bathythermograph, Spark
                                Wallace R, Douglas Aircraft Co Inc, Sep
                                20, 1966
3273393 Bathythermograph, Spark
                                Wallace R, Douglas Aircraft Co Inc, Sep
                                20, 1966

3273393 Bathythermograph, Spark Wallace R, Douglas Aircraft Co Inc, Sep 20, 1966, 374/136, 340/852, 73/170.34, 374/E01.3, 73/292, 367/134, 374/142 -
RF transmitter & matching receiver
Looks like a complete weather station in a buoy.
3359801 Bathythermograph system,
                                Robert A Rasmussen, Navy, 1967-12-26
3359801 Bathythermograph system,
                                Robert A Rasmussen, Navy, 1967-12-26

3359801 Bathythermograph system, Robert A Rasmussen, Navy, 1967-12-26, -
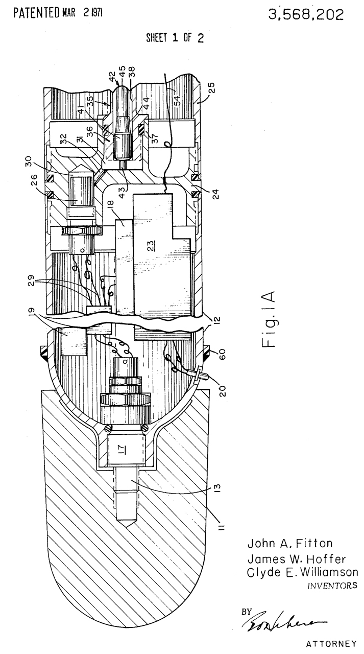
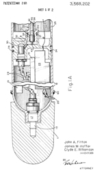
3568202
                        Extendible antenna for bathythermograph, John A
                        Fitton Jr, James W Hoffer, Clyde E Williamson,
                        Northrop Grumman (TRW), 1971-03-02
3568202 Extendible antenna for bathythermograph, John A Fitton Jr, James W Hoffer, Clyde E Williamson, Northrop Grumman (TRW), 1971-03-02, - "...a for a bathythermograph..."

"...utilizes a pyrotechnic squib of high proven reliability in missile systems having a small propellant charge to extend the antenna."

Test & Evaluation

While looking for information on these I found many papers by oceanographers where they add serial numbers and characterize each unit to get improved accuracy.  The sink rate, sensor time constant and sensor equation are all important to get improved accuracy.

These are simple devices that are a "bomb" shape and have a thermocouple in the nose and a trailing wire.  The depth v. time should follow the equation: Z(t) = A*t2 + B*t
Where: Z is the depth in meters at time t (Seconds).  A & B are constants for a specific model.Following from Ref 1.
For the early Hermes SSQ-36
Decent rate is 1.52 +/- 5%  meters/second
 the transmitted audio frequency is:  F (HZ)= A + B*T
T= Temp in deg. C
A =1440 Hz (i.e. at zero deg C) and B=36.
Note the coldest water is 4 deg C where the frequency would be 1440 + 36 * 4 = 1584 Hz.
Boiling water is 100 C and the frequency would be 5040.
Note that 5040 Hz is above the 300 to 3,000 Hz bandwidth of most voice communication radios, hence the need for a special radio, like the AN/ARR-26 Sonobuoy Bathythermograph Receiver.

For the Motorola SSQ-36 the Temperature is:  T = A + B*f + C*f2
Where F is the audio frequency in Hz, T is in deg C, and A=-45.11. B=+0.03381 and C=-1.676E-6.

The second generation Hermes SSQ-36 follow:  f = A + B*T
F(Hz), T(deg C), A=1425 and B=37.18.

Data Recording in a P-3 using Scripts Recording system after the stock Navy Sonobuoy receiver.

"AXBT data from sonobuoy radio receivers aboard P-3 type aircraft are in the form of an audio frequency between 1000 and 3000 Hz with an amplitude of about either 6 or 36 volts depending on the output selected (both are available simultaneously). A block diagram of the recording system is shown 1n Figure 6.

Operation of the system is as follows. The operator initiates the data recording by pressing a launch switch at the time the AXBT exits the aircraft. A serial number previously entered into the system via a panel mounted thumbwheel switch is recorded on the digital cassette recorder. Simultaneously this serial number and time from the system digital clock are printed on the digital printer, and the auto-start circuits are enabled. Several minutes later (time depending on altitude of launch) the AXBT impacts the water's surface and begins transmitting a carrier to the aircraft. This event is detected by the operator on the oscilloscope monitor by noting the receiver noise going to zero signal level. About one minute after carrier detect, the AXBT releases the temperature probe which switches the audio signal from the probe to the transmitter modulator. A sudden appearance of an audio tone within the limits of amplitude and frequency of the phase lock loop filters in the auto-start circuit initiates the recording cycle. The signal is applied to the input of a frequency counter which counts the frequency for a one second period. The digital output from the frequency counter is recorded in serial form on digital magnetic cassette and also recorded on the digital printer along with time. The frequency signal is also sent to a frequency to voltage converter. This analog output voltage is recorded on a strip chart recorder giving the usual temperature versus depth (actual time) trace. This cycle is continued for some preset time Interval, typically between 220 and 280 seconds (equivalent to 335 to 425 meters depth at the nominal 1.52 m/sec descent rate). At the end of this time interval all systems are reset and ready for the next AXBT launch."

Ref: USNS James M. Gilliss (T-AGOR-4) (Wiki)
A Biblography of Reports, Articles, and Data References Resulting from
Scientific Operations abord the Navy Pool (T-AGOR) Ships: 1963 Through 1969.

Fig 13 Setup on Ship
Niskin Bottle as reference.
Expendable Bathythermograph, Evaluation FIg
                        13
The Francis Associates BT sink rate is a constant to a first order approximation.
This allows making a roll chart plot where the long axis is time (= depth).
They mention that the changing mass, because of un-spooling the cable,
will slow the sink rate as it goes down (is a second order effect).

The probe and it's shipping container have provision for 3 electrical terminals,
even if only 2 of them seem to be used on the XBT-T4.

SSQ-937

These shorter length units were developed for helicopter use.

Hull Mounted

Most of these are launchers mounted on surface ships.  But patent 27030069 for for a mechanical Bathythermograph built into a submarine.
The Sipican LM4 is the through hull launcher.

Table of launchers from Ref 2, pg 627

Set
Recorder
Set Differences
Launcher
Launcher Differences
Manual
NAVSHIPS
SSQ-56
RO-326 Earliest model. 1960s
Chart paper moves from top to bottom.
Bridge, trigger logic & power on two circuit boards, hard-wired to harness.
MX-7594
Earliest model, deck mounted
0967-225-6010
SSQ-56A
RO-326A Major mechanical and electrical changes.
Recorder instrument assembly inverted for improved chart display.
Bridge, trigger logic and power supply combined on single connector-mounted circuit board.
Test panel and switches added.

MX-7594A Minor mechanical changes in stanchion, breech adapter and launch tube.
0967-305-6010

SSQ-60
RO-326A MX-8416
Manor mechanical changes.
Launcher installed through hull rather than on deck.  Uses heavy muzzle protector.
SSQ-61
RO-326B
Minor mechanical and electrical changes.
Added power switch and servo muting.
MX-8577
Major mechanical changes in launch tube and mounting.  Stanchion and muzzle protector eliminated.  Launch tube changed to urethane material.
0967-333-6010

Patents

2703009
                        Bathythermograph, Ewing William M, Vine Allyn C,
                        Filed: Nov 28, 1945, Pub: Mar 1, 1955
2703009 Bathythermograph, Ewing William M, Vine Allyn C, Filed: Nov 28, 1945, Pub: Mar 1, 1955, 73/178.00R, 346/120, 73/712, 73/742, 374/E01.3, 73/299 - This Bathythermograph is installed on a submarine.  As it changes depths the temperature is plotted v. depth.  NON-expendable.

Manual Launched

I've seen photos of people, typically on a small boat, launching an XBT using a small hand held launch tube.
Sipican LM3 is the hand-held launcher.
The black ball lever clamps the launch tube to the hand-held device and at the same time three pointed electrical pins make contact with the terminals under the paper label.  At that point an electrical readout will confirm that a good connection has been made.  When the hitch-pin is pulled and the launch tube pointed slightly down the probe will be released.

Fig 1
Sipican LM3
                      XBT Launcher
Fig 2
Sipican LM3
                      XBT Launcher

Niskin Bottle

This is a way to get a water sample from a known depth and optionally to capture the temperature at that depth.  Special thermometers are used that when activated lock in the temperature.

YouTube: General Oceanics: Setup of a Niskin Bottle, 4:06, -Parts of a Niskin Bottle, 1:44 -

The first one was invented by Fridtjof Nansen (Wiki) in the early 1900s.  In the early 1960s it was improved by Shale Niskin (Wiki).
Nansen
                      Bottle
Image from the Nansen Wiki page.

I have not yet figured how it works.
If you know, please tell me.
3242740 Water
                      sampler system, Shale J Niskin, 1966-03-29
3242740 Water sampler system, Shale J Niskin, 1963-05-31, 73/863.31; 374/102; 374/157; 73/864.67; 374/136; 73/864.62 -

When messenger weight (45) from ship slides down cable (12) and hits plunger (47) the unit is activated
and another messenger weight (45) is dropped from the bottom of the unit.  This way a number of samples can be taken at the depths set by where on the cable the samplers are clamped.

Plunger (47) causes blade (48) to cut the neck of the sample bag (14) allowing it to fill with water.
Plunger (47) also releases catch (51) allowing the thermometer tube (72) to flip 180 degrees.  Thus locking in the temperature at that depth.

Water Sampling Patents

2155442 Means for sampling a liquid, Douglas L Parkhurst, IUS Sec of Commerce, 1938-09-24, 73/863.01; 73/864.63 - mentions a prior art sampler that uses a propeller to close the bottle when it's lifted up.
2314372 Sea sampler, Athelstan F Spilhaus, Submarine Signal Co, 1941-04-18, 73/863.01; 73/864.63; 73/863.31 - 6 bottles
3266323 Deep ocean environmental sampler, Chester L Buchanan, Jervis J Gennari, Howard E Barnes, Jr Walter L Brundage, Navy, 1966-08-16, - keeps sample at the pressure where it was taken, unlike prior art samplers that allow it to expand.
3339417 Water sampling apparatus, Joseph D Richard, 1964-11-19, 73/863.31; 73/864.63; 73/170.29 - 10 botles
3489012 Water sampler device, Shale J Niskin, 1967-07-17, 73/863.31; 24/115R; 74/2; 73/864.63 -
3537316 Underway water sampler, Richard L Stewart, Kenneth M Olson Jr, Leonard Walsh, US Navy, 73/170.33; 374/E13.012; 73/864.63; 374/157; 374/136 -
3625066 Water sampling apparatus, Michael L Greene, US Navy, 1970-03-30, 73/864.63 -
GB189900564 Sounding Apparatus for Purposes of Navigation, Zera Luther Tanner, John Bell Blish, 1899-02-11, -

General Bathythermograph Patents

The early Spilhaus Bathythermographs were based on a stylus marking a microscope slide blackened soot.  This basic design went through many improvements.  It was deployed on a line and recovered to get the glass slide.  Note while each of these has a serial number and a custom made calibration chart for that serial number in order to convert the data on the glass slide to  depth and temperature.  That data was used to determine the Assured Range (AR) of a sonar system.  Note the sound is bent downward when the water gets colder with depth and when a submarine on the surface is beyond the AR distance it is invisible to the sonar.

The Submarine Bathythermograph (SBT) is built into the sub and records depth and temperature on paper cards.  The sound man will know from charts that contain BT data, as well as other data related to sonar, what to expect in the current operational area.  But to get a more accurate picture a deep dive with a fresh BT card in the machine or dropping a BT sonobuoy (SSQ-36 , ST-1 from the surface will give an accurate picture of the current conditions.  A lot more info on BT in An Ocean in Common (Ref 4).

Courtland B Converse worked for a number of companies that have patents related to Bathythermographs.


2297725
                        Bathythermograph, Athelstan F Spilhaus,
                        Submarine Signal Co, 1942-10-06
2297725 Bathythermograph, Athelstan F Spilhaus, Submarine Signal Co, 1942-10-06, -

This has all the elements for a mechanical Bathythermograph, but could be more refined.

Looks like it takes a full microscope slide.
2331810
                        Bathythermograph, Spilhaus Athelstan F,
                        Submarine Signal Co, Oct 12, 1943
2331810 Bathythermograph, Spilhaus Athelstan F, Submarine Signal Co, Oct 12, 1943, 374/136; 374/143; 73/300 - separate temp and pressure mechanisms

2402143 Parachute pack, Arenstein Gilbert H, Sec of War, Filed: Jun 7, 1944, Pub: Jun 18, 1946, 244/138.00R, 455/99, 343/709, 244/151.00B, 343/889, 441/11, 367/4, 116/26, 455/96 - for emergency radio marker beacon with antenna through center of parachute.

2297725 Bathythermograph, Spilhaus Athelstan F, Submarine Signal Co, Filed: Aug 10, 1938, Pub: Oct 6, 1942, 374/136, 374/E01.3, 73/729.1 - marks smoked glass slide with pressure & Temp, Bourdon tube - prior to W.W.II, pull up to get plot - has the look and feel of 2297725 above.
x


2515034 Bathythermograph, William M Ewing (Wiki), Allyn C Vine (Wiki), Us Navy, Filed: May 27, 1944, Pub: Jul 11, 1950, 374/136, 73/300 - rapid response to temp & pressure (recording inside unit) Bourdon tube During W.W.II - design separates pressure sensing from temperature sensing so they can be made and tested separately.

2629083 Expendable radiosonic buoy, Barkson Joseph A, Mason Russell I, Mcnary James C, Filed: Sep 21, 1944, Pub: Feb 17, 1953, 367/3, 343/709, 455/99, 441/33, 441/23, 343/705, 343/901 - the CRT-1
2683987 Method of ascertaining unknown data, Earl W Springer, Filed: Jan 2, 1946, Pub: Jul 20, 1954, 374/100, 356/393, 73/584, 367/99 -  the importance of depth v. Temp data for sonar. - uses optical comparison of a BT glass slide plot with a catalog of plots to get a rapid interpretation of the meaning in terms of SONAR.
2703009 Bathythermograph, Ewing William M, Vine Allyn C, Filed: Nov 28, 1945, Pub: Mar 1, 1955, 73/178.00R, 346/120, 73/712, 73/742, 374/E01.3, 73/299 - for use on subs  See above
2741126 Thermistor temperature profile recorder, Ernest R Anderson, Arthur T Burke, Navy, 1956-04-10 - drum of wire at surface - cable to thermistor
3119090 Sea depth determination air survey means
3135943 Underwater thermometric apparatus, Welex Electronics, - sets off a small explosion at a specified amount of change in temperature.
3137264 Underwater towed vehicle, Ii Edward C Brainard, Courtland B Converse, Endeco Inc, Braincon Corp, 1961-11-15, 114/244; 367/106; 114/243 - water dynamic shape but mechanical mechanism.
CA1037290 Apparatus for measuring the properties of water, Walter G. Campbell, William V. Clark (Jr.), Courtland B. Converse, Buzzards Corp, App: 1963-02-06,
3209208 Mounting assembly for modular electronic units, Samuel A Francis, Arthur W Sinkinson, Courtland B Converse, Sippican Corp, 1961-08-14
3327968 Aircraft towed underwater skip probe, Courtland B Converse, Francis Associates, 1966-04-01, 244/3; 114/244; 174/69; 324/330; 367/106; 114/253; 244/1TD; 73/170.33; 331/36C - aircraft towed sonar probe
3341757 Bridge circuit for determining the inverse of resistance, Dexter E Cate, Sippican Ocean Systems, 1966-07-11, - a circuit to mitigate the nonlinear property of a thermistor.
RE27103 Bridge circuit for determining the inverse of resistance, Dexter E Cate, Buzzards Corp, 1971-03-30, - a circuit to mitigate the nonlinear property of a thermistor.
3364744 Expendable bathythermograph, Eugene A Mcmahon, Halliburton, 1968-01-23, - sets off squibs to indicate positive or negative changes in temperature.
3389604 Temperature sensing device, George B Williams, Sippican Ocean Systems, 1965-11-05, - special thermistor to work in sea water and at depth.
3394583 Doppler shift systems and components therefor, James G Dongherty, Donald S Moseley, Vitro Corp of America, 1965-02-16, - Ocean sounding probe
3397573 Oceanographic apparatus, Howard J Carter, 1968-08-20, - depth causes interruptions in temperature readout, similar to Radiosonde
3408867 Temperature measuring sea water probe, insulated wire suitable therefor and method of making same, Charles G Henricks, Mieux William C Le, Sippican Ocean Systems, 1966-10-10, - " fine wire and particularly to wire coated with multiple alternate layers of epoxy and nylon enamel."
3401560 Oceanographic measuring and recording device, Samuel A Francis, Sippican Ocean Systems, 1965-04-07, - describes the 1-wire BT probe system.  Processed output on 80 column IBM punched card (Wiki).
3417619 Single wire measuring device for bathythermograph system, Samuel A FrancisBuzzards Corp (SIPPICAN OCEAN SYSTEMS Inc), 1968-12-24 -
3479580 Apparatus including a conductivity probe for determining the salinity of water, Hoyt Clarke Hottel Jr, Sippican Ocean Systems, 1965-04-22, - makes use of their standard bomb shaped probe with a central hollow tube, alternating polarity current generators are connected to the single wire.
3483749 Bathythermograph system, Samuel A Francis, Sippican Ocean Systems, 1968-07-22, improves on 3221556 by using a current source and using both polarities in order to cancel out the resistance of the wire and sea water paths so more accurate.
3496525 Expendable transmission loss hydrophone system, Samuel A Francis, Sippican Ocean Systems (Buzzards Corp), 1968-05-29, - 3 wire system.
3504278 Bathythermograph testing apparatus, John A Lyons, Sippican Ocean Systems, 1968-03-12, - just tests wire by using two spools underwater to wind wire to simulate extending all of the wire.
3524347 Expendable bathythermograph for submarines and device for launching, Ralph P Crist, Navy, 1970-08-18
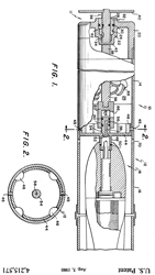
3535924 Bathythermograph system, Richard Bixby, Sippican Ocean Systems, 1969-09-11, - wire spool in probe and wire spool in launch container.  But instead of the hollow central tube it uses symmetrical grooves on it's nose to direct water to measuring devices in the tail.  Improvement on 3221556.  Smaller, lighter, sealed.
3552205 Apparatus for measuring properties of a fluid body from an airborne vehicle, Samuel A Francis, Sippican Ocean Systems, 1968-07-24, - helicopter requires a 3-wire cable instead of the normal 1-wire probe.
3553639 Expendable sonar source, Daniel Schiff, Hoyt Clarke Hottel Jr, Sippican Ocean Systems, 1968-08-09, - water hammer (Wiki) converted onto hi power sound
3561268 Expendable bathythermograph, Frank Massa, Dynamics Corp of America, 1971-02-09, - depth & temperature sensors, output by audio into the water, not a wire
3568202 Extendible antenna for bathythermograph, John A Fitton Jr, James W Hoffer, Clyde E Williamson, Northrop Grumman (TRW), 1971-03-02, -
3588794 Underwater data acquisition device, Samuel A Francis, Sippican Ocean Systems, 1969-04-04, - sonar system
3605492 Preassembled model SXBT flotation device, George D Stohrer, John H Cawley, Richard P BerthiaumeDaniel Schiff, Navy, 1971-09-2
3561268 Expendable bathythermograph, Frank Massa, Dynamics Corp, App: 1969-01-14, - contains both pressure and temperature sensors, uses sound to send back data, not cable.
Citations:
3349613 Aquatic probe (See above)
3038143 Telemetering depth meter, Dow Willard, Navy, App:1956-01-17, - Tubes, uses sound to send temp data. 13 citations.
3069573 Connector assembly for annular piezoelectric transducers, Eugene Van Liew, Navy, App: June 26, 1961, -
3135943 Underwater thermometric apparatus (See below)
3273393 Bathythermograph (see below)
3892281 Temperature measuring system having sensor time constant compensation, Neil L Brown, Navy, 1975-07-01, - combines Platinum thermometer & thermistor to give both speed and accuracy.
3926056 Conductivity, temperature and pressure measuring system,
Neil L Brown, Navy, 1975-12-16, -
4025847 Measurement system including bridge circuit, Ralph G. Washburn,
Sippican Corp, 1975-08-27, -
4044611 Expendable oceanography probe, Yuichi Kaname, Masaya Nakajima, Katumi Tabuchi, Matsushita Electric, 1977-08-30, - switches between the temperature oscillator and the reference oscillator.
4215571
Expendable bathythermograph for use under ice, Ralph P. Crist, Secretary Of The Navy, Aug 5, 1980, 73/170.29, 374/E01.018, 374/E01.004, 73/300, 73/170.34, 374/136 - a housing for the (SSQ-36?) that floats up and when it hits the surface or the bottom of the ice releases the (SSQ-36?).
4041382 Calibrating a measurement system including bridge circuit, Ralph G. Washburn, Sippican Ocean Systems, 1977-08-09, - bathythermograph thermistor processing circuit, probably for some version of the SSQ-36.  With a 1977 date maybe for the SSQ-36 (no letter).  references 3221556
4359285 Temperature measurement system, Ralph G. Washburn, Sippican Corp, 1982-11-16 - uses #38 9very fine) wire to get down to 10,000 feet - transistor oscillator circuit draws much less current than thermistor

4436365 Data link using integrated optics devices, Martin G. Hodgins, William J. Jordan, Bell Labs, 1984-03-13, -
4673363 Marine measurement device, Alan T. Hudson, David P. Gagnon II, David W. Johns, William J. Langenhein, Jr.,
Sippican Ocean Systems, 1983-06-15, -Sonobuoy with simple hydrophone,  maybe much larger than standard launch tube.  I do not think it was adapted by anyone??
4854728 Seawater probe, George Baron, William H. Vreeland, Neil L. Brown,
Sippican Ocean Systems, 1987-05-18, - a glass sealed 2k @ 25C Thermistor is included with the probe with data measured when built.  An HP desktop computer (80 series?) is used to correct the as made readings when the probe is actually used.  Very similar to how Radiosonde cal works. There is active circuitry and a battery in this XBT.
4953986 Air/sea temperature probe, Jack R. Olson, Herbert V. Hitney, Richard A. Paulus, Kenneth D. Anderson, Navy, 1990-09-04, -
5046359 Underwater launched carrier, John L. Layport, Sippican Corp, Filed: 1975-01-24, Pub: 1991-09-10 - launched from sub, floats to surface, then descends
GB2197066 Bathythermographs or the like, John Phillip Dakin, Michael Mudditt, Christopher Anthony Wade, Michael Laurence Henning, David John Pratt, Plessey, 1990-11-21, - fiber optic cable instead of wires.
7760587 Methods of and systems for monitoring the acoustic transmission conditions in underwater areas using unmanned, mobile underwater vehicles, Philip A. Abbot, Charles J. Gedney, Chris J. Emerson, David W. MortonOcean Acoustical Services and Instrumentation Systems Inc OASIS, 2010-07-20, -
20210072094 Bathythermograph buoy and associated method of operation, Michael Jeffrey Greenfield, Randall L. Mosten, Boeing, 2021-03-11, - records temp and depth during decent, then inflates float (optionally records temp and depth) and when at surface transmits data.

Speed of Sound in Water Patents

3258737 Silent underwater beacon, R.J. Ciavaglia, 1966-06-28, - a rotating corner reflector adds Doppler to underwater swimmer sonar
3341808 Telemetering apparatus, Levin Morris, Raymond A Stahl, Bosch Arma, 1967-09-12, - speed of sound in water
Note in 1969 the ability to measure short time intervals was much poorer than today, so the length of the base line can be shortened from maybe 100 feet to something more reasonable like a yard so that the device could be permanently mounted on a ship or sub.
3388372 Determination of ocean sound velocity profiles, Witz Gerhard H De, General Precision, 1967-05-22
3441901 System for measuring sound velocity in water as a function of depth, Cawley John H, Schiff Daniel, Us Navy, Apr 29, 1969, 367/131, 367/134, 73/597, 367/89 -  a sound projector, triggered by a surface ship sends a ping to the ships sonar which measures the time delay.  Knowing the depth and horizontal distance to the probe allows a direct readout of the sound velocity.
3482647 Apparatus for precise sound path in velocimeter, Thomas H Lynch, Hudson T Patten, Bunker Ramo, 1969-12-09, - uses techniques analogous to clock pendulum compensation to correct for pressure and temperature changing the distance between the transducer and reflector.
3561268 Expandable Bathythermograph (See above) does both temperature and speed of sound, Frank Massa, Dynamics Corp,
3611276 Instrument for direct measurement of the velocity of sound in a fluid, Frank Massa, Dynamics Corp, 1971-10-05, -
3697936 Sound velocimeter, Ellis M Zacharias Jr, Uldis Cirulis, Nusonics, 1972-10-10, - uses phase locking and a number of improvements over the "sing around" type.
3861211 Ultra-low flow velocity current meter, Rajinder N Dewan, Navy, 1975-01-21, - exact parallel to ultrasonic wind speed & direction instruments.
3932833 Instrument for direct measurement of the velocity of sound in a fluid, Frank Massa, Donald P. Massa, Priority: 1969-01-14, Pub: 1976-01-13, -
"The optimum range of choices for the preferred frequency of operation of the probe lies between 15 kHz and 60 kHz. A choice of the 30 kHz region has proved to be very satisfactory. Such a choice offers an additional advantage since it permits the transducer elements 26 and 42 to be spaced apart by a distance which may be adjusted to 1/20 meter or to 1/20 yard. Then, the transmitted frequency will be exactly 20 times the velocity of sound in terms of m/sec or yds/sec. Other suitable adjustments might be distances such as 0.2 feet. These parameters are convenient for the direct interpretation of the velocity from a direct frequency reading. For example, it may only be necessary to divide the frequency by two and move the decimal. This arrangement coincides with the velocity of sound in the region of 1500 m/sec, which is the approximate velocity of sound in the ocean."
4429994 System for remotely determining velocity of sound in water, John L. Guagliardo, Harold L. Dufilho, Navy, 1984-02-07, -
uses a pulsed laser.  Based on Brillouin scattering (Wiki).  "...the Brillouin shift in frequency, Co is the speed of sound in the medium and theta is the angle be tween the incident and the scattered light wave vectors...."
4867558 Method of remotely detecting submarines using a laser, Donald A. Leonard, Harold E. Sweeney, GTE, 1989-09-19, -
"Subsurface waves in a body of water such as an ocean caused by a submarine are remotely nonacoustically detected by monitoring subsurface water temperatures using a laser. A pulsed laser beam is directed into the water to at least the depth of the thermocline and an analysis is made of the resultant Brillouin and Rayleigh backscatter components. Wavelength shifted Brillouin scatter is mixed with the unshifted Rayleigh scatter in a self-heterodyne manner for each volume element of illuminated water, and the frequency of the heterodyne signal is measured and converted into temperature. This produces the desired temperature-depth profile of the water enabling detection of internal waves generated by submarines."  Done from an aircraft.
4893924 Method of remotely detecting submarines using a laser, Donald A. Leonard, Harold E. Sweeney, GTE, 1990-01-16, -
 "Subsurface waves in an ocean are created by the turbulence in a submarine's wake. These waves can be remotely detected by a search submarine (NOT an aircraft or satellite) by monitoring subsurface water temperatures using a laser. A pulsed laser beam is directed into the water to at least the depth of the thermocline and an analysis is made of the resultant Brillouin and Rayleigh backscatter components. Wavelength shifted Brillouin scatter is mixed with the unshifted Rayleigh scatter in a self-heterodyne manner for each volume element of illuminated water, and the frequency of the heterodyne signal is measured and converted into equivalent temperature values. This produces the desired temperature-depth profile of the water enabling detection of the first submarine by tracking the internal waves at or near the ocean thermocline."
4926395 Method and system for measuring sound velocity, Dwight E. Boegeman, Carl D. Lowenstein, Fred N. Spiess, UC Berkeley/NASA, 1990-05-15, - "Ranging with acoustic signals is the primary method utilized for determining distance in the ocean and positions on the sea floor. The conversion of travel time measurements into distance requires accurate knowledge of the effective sound velocity along the sound propagation path."  The prior art "sing around" method is limited to 1E4 accuracy because of echos.  This method is good for 1E5, i.e. it's 10x better.  Cites 30 prior art patents.

Related

Aircraft
Cars
Submarines
Sonobuoys
SSQ-36 Bathythermograph Sonobuoy
SSQ-53A DIFAR Sonobuoy
SSQ-53B DIFAR Sonobuoy
SSQ-57 LOFAR Sonobuoy
Torpedoes - Mines, Depth Charges, Hedgehogs

References

Ref 1. The airborne Expendable Bathythermograph for Oceanographic Measurements, Scripps, (AD p000954.pdf)
Ref 2. Aerographer's Mate 1 & C (google books), Bathythermograph (Hull Mounted) Systems (pg 625).
Ref 3. An Evaluation of the Airborne Expendable Bathythermograph (AXBT SSQ-36 BTS), 1982 (AD A277729.pdf) - Hermes, Sippican, Magnavox.
"A variable power supply was used to provide the operating voltage through an external test jack installed by each manufacturer to bypass the salt water activated battery. The supply voltage, monitored with a digital voltmeter, was varied (from 9 to 13 or 7 to 12 VDC) on randomly selected units to determine output dependency on supply voltage. Test data for the Hermes AXBTs were obtained by directly measuring the audio signal proportional to the temperature since this signal was readily available at the test plug. In subsequent testing of the Sippican and Magnavox units a VHF receiver was used to receive the actual AXBT transmission and strip off the audio modulation proportional to the bath temperature. The audio signals were measured by a Hewlett Packard (HP) 5323A counter under the control of a HP9830 desktop calculator. The counter readings and temperature computed from the standard equation T = (f - 1440)/36 (where f is frequency in Hz, and T is temperature in deg C) were listed on a HP9866B thermal printer. The reference (bath) temperature was provided by a HP 2801A quartz thermometer with .O01oC resolution."
Ref 4. Sonobuoy Tech Systems - AN/SSQ-36B EXBT Sonobuoy brochure (Q36B.pdf)
Ref 5. Data Analysis Methods in Physical Oceanography, 2001
Ref 6. U.S. Naval Oceanographic Office Pub No. 607, Instruction Manual for Obtaining Oceanographic Data 1975 - Chapt. C "Measuring Water Temperature and Depth with a Bathythermograph" is all about this BT.
Ref 7. Scripps Institution of Oceanography: Probing the Oceans, 1936 to 1976, (1978 pub date)
Ref 8. Expendable Bathythermograph, Evaluation, DTIC_ADA045064.pdf - 78 pages, Dec 1964.  The unit from Francis Associates looks very much like the XBT-T4. Courtland B Converse worked for Francis Associates at one time and worked for a number of companies that have patents related to BTs.  Fig 2 shows 3-conductor cable.Ref 7. Bathythermograph Data Analyzer, 5 June 1954 - AD043424 - takes up a 10' x 20' room.
Ref 9. An Ocean in Common: American Naval Officers, Scientists, and the Ocean Environment (see Ref 4 below)
Ref 10. Prediction of Sound Ranges from Bathythermograph Observations,  (free online) 1944 confidential, 1967 declassified - how to prepare a message to another sub hunting ship about sonar conditions.  i.e. how subs can hide just below the thermocline and the maximum range that sonar can detect them.
On depth and temperature biases in bathythermograph data: Development of a new correction scheme based on analysis of a global ocean database, May 2010 (free online) - Niskin Bottles used for checking BTs since their depth is well known and if processed quickly the temperature of the water is also well known.
One of the things mentioned is the Nicopress swaged sleeve (Wiki) used to form a loop on stainless steel cable.  Home Depot calls these Everbilt Cable Ferrules
Ref 11. Lockheed-Martin Oceanographic Instruments - XBT/XSV datasheet.pdf, SSXBT/SSXSV datasheet.pdf,
Ref 12. Performance Oriented Packaging Testing of AN/SSQ-36A Sonobuoy Launch Containere (SLC) for Packing Group II Solid Hazardous Materials, 1993 (ADA272024.pdf) - 5-3/8" x 19-1.2" (see:  SQQ-36 sizes above)
Ref 13. HP Journal April 1967 - Precision Measurement of Ocean Temperatures - HP2801A & 2832A quartz crystal probe.
3617780 Piezoelectric transducer and method for mounting same, Albert Benjaminson, Donald L Hammond, HP, 1971-11-02, -
3423609 Quartz crystal temperature transducer, Donald L Hammond, HP, 1969-01-21, -
2906844 Constant temperature oven, Donald L Hammond, 1959-09-29, - induction heater with insulation between heating coil and crystal package.
Ref 14.  See Radio Direction Finding Ref 25.
Ref 15. Development of a 2000 Meter Aircraft Expendable Bathytherograph, Russell, Leavitt & Hudson, 6 Nov 1984 (ADA192413.pdf) - Sippican, Inc.- there may be a problem with high water pressure distorting temperature measurement.

Links

PRC68, Alphanumeric Index of Web pages, Contact, Products for Sale
Page Created 2021 Aug 25