Radiosonde

© Brooke Clarke 2017 - 2025

Background
Theory
Description
Table of Radiosondes
Photos
    Space Data Corp.
    Air Inc Airsonde AS-1A-PTH
   
    Viz
   
    Viz Mark II
        ML659(V)  p/n: 1461-053
        Viz MD-210B/AMT-4B Modulator
        Viz T-435A/AMT-4B Transmitter
        AMT-6
    Vaisala RS80-67
    Vaisala  RD93 GPS Dropsonde
    Vaisala RS92-NGP
    Vaisala RS41-SGP
    Friez Instrument Division of Bendix Aviation
        ML-310H/AMT-1 Radiosonde Modulator
        T-69F/AMT-2 Radiosonde Transmitter
    Batteries
        AMT Batteries
Rawinsonde
Dropsonde
Manuals
Patents
James A. Van Allen Patents
Radar Reflectors - Roswell Connection
Lights on PIBAL web page
UMQ-4 Wiresonde
Area I Inc Altius-600 drone
Cosmic Rays
Related
References
Links

Background 

It turns out Radiosondes has a very strong relationship with Sonobuoys and Pilot Balloons.

Sonobuoys use water activated batteries as are most radiosonde batteries and they both use VHF or UHF radio transmissions to send data/audio.  They both have an operational life measured in minutes or hours, not days or any time longer.  Both are made to be light weight.  They are both considered single use, i.e. expendable.

Pilot Balloons (PIBAL) are part of learning about the upper air as are radiosoundes.  They overlap in that PIBALs do not carry a radiosonde, but are used by themselves or with a PIBAL light for low light conditions.

This is part of my interest in weather, Cloud Sensors and Electronics/Radio & sonobuoys.

Typical frequencies are 403 and 1680 MHz.  These are typically lofted using a free balloon, but sometimes are dropped from aircraft using a parachute (Wiki: Dropsonde).  Balloons can be tracked using a Pilot Balloon Theodolite or by means of an automatically following receiving antenna or Radar if a reflector is hung below the balloon.  For the Project Mogul (Wiki) balloon flights they also used the Direction Finder (Wiki) radio in a chase airplane that would fly below the balloon.  This required a special balloon transmitter in the frequency range of the DF radio.    For a time they used Omega (Wiki) or LORAN (Wiki) for tracking but these systems have been decommissioned.  The most modern radiosondes/dropsondes make use of GPS.

Dropsondes are the main source of data from hurricane hunter (Wiki) flights (Ref 14).

Theory

Very early balloon lifted weather instruments were essentially the same a ground based instruments such as drum recorders or smoked glass recorders.  But starting with the availability of vacuum tubes (Wiki) in the early 1900s radio telemetry (Wiki) was used. There were numerous schemes of how to encode the weather data, typically barometric pressure, temperature and humidity, onto the radio frequency signal.

Chronometric encoding

The idea here is to have meter faces all in the same plane and a contact driven by a clockwork, say once per minute.  Then the clock dial can be divided up, for example: 0 to 15 seconds the temperature, 16 to 30 seconds the humidity and 31 to 59 seconds the barometric pressure.  With a reference signal at the top of the minute.  This is an unambiguous readout, but the clockwork motors are mechanical and so not as reliable as more modern electronic methods.

Coding (Lange)

These sent Morse code (Wiki) messages. a big advantage is that a radio or telegraph operator can write down the data, but at a huge expense in the mechanism.
2287786 Automatic weather station, Diamond Harry, Jr Wilbur S Hinman, 1942-06-30 - does not require a specialized receiver.

Radio Frequency Modulation

This had problems in that many things cause the frequency of an oscillator to change in addition to the parameter that was being measured.

NBS - Diamond & Hinman -  Navy: Pressure Drive

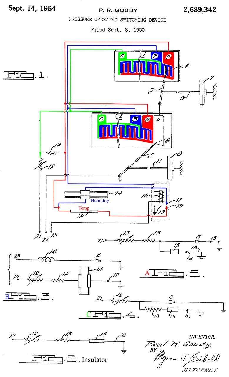
For example see AMT-4B Modulator Fig 2 below and Figures 52 & 53 in the reference and patents 2283919 & 2689342 below.  This system worked fine for a free weather balloon that is always rising.  But. . . has a problem with what is supposed to be a constant altitude balloon where it goes up and down in cycles.  That makes interpreting the data almost impossible.  This caused problems for the project MOGUL balloon flights (Wiki).

References:

The Invention and Development of the Radiosonde, with a Catalog of Upper-Atmospheric Telemetering Probes in the National Museum of American History, Smithsonian Institution, 2002 -
Harry Diamond (Wiki) - Harry Diamond Labs (Wiki) - a key part of the development of the proximity fuze.  holds a number of patents including aircraft DF

MIL-H-12082 - HUMIDITY ELEMENT, RESISTANCE (HUMIDITY ELEMENT ML-418) (/AMT-4)
MIL-M-11109 - MODULATOR, RADIOSONDE MD-210( )/AMT-4B
MIL-M-55296 - MODULATORS, RADIOSONDE MD-210()/AMT-4 AND MD-317()/AMT-12 (S/S BY MIL-R-55364 OR MIL-R-55672)
MIL-R-55672 - RADIOSONDE SET AN/AMT-4()(UNITS OF)
MIL-T-11035 - TRANSMITTER, RADIOSONDE, T-435( )/AMT-4 AND T-652( )/AMT-12 (S/S BY MIL-R-55672 AND MIL-R-55364)
MIL-T-12284 - TEMPERATURE ELEMENT RESISTANCE, MET. (TEMPERATURE ELEMENT ML-419)(/AMT-4)

TM 11-2430 Radiosondes AN/AMT-1, AMT-2 1947 11-2431 Radiosonde AN/AMT-3* 1951 11-2432 Radiosonde AN/AMT-4 1950 11-2433 Radiosonde AN/AMT-2A 1950 11-2434 Radiosonde Receptor R-228/FMQ-2,A 1952

Description (Wiki)

The first generation were balloon carried radio transmitter sending barometric pressure (altitude), temperature and humidity back to a ground station.  A Pilot Balloon (Pibal) theodolite would track the balloon by recording azimuth and elevation vs. time, which can be converted to a map of the balloon location and altitude.  A fist step in making a weather map or forecast.

Later special radar sets (Rawinsonde) replaced the pibal theodolites.  The first generation used the SCR-582 anti-aircraft RADAR (Wiki) sets and ML-307 radar reflectors (TM 750-5-3 pg 133).  The latest units contain built-in GPS receivers.

Table of Radiosondes

The audio signal was from a blocking oscillator (Wiki, Joule Thief) over a frequency range of 10 to 200 Pulses per second.

Year
System
Tx
Modulator
Receiver
Comment
Freq
MHz
1943
AMT1
T-49 ML-310


72.2
1943
AMT-3


BC-348
Morse code, hair for humidity
3.135
1944
AMT-2
T-69
ML-310
955 tube 6v filament, SCR-658 (Wiki
403
1950
AMT-4
T-35
MD-210

AN1/GMD-1
1680

AMT-6



Bendix-Friez Dropsonde


AMT-7



Bendix


AMQ-9






AMT-11



FSN: R6660-530-0799-H035


AMT-12

MD-317

Bendix


AMT-13



Bendix Dropsonde 6660-168-0679


Photos

Space Data Corp.

This radiosonde was made by Space Data Corp.
6660-NC-830-3482
Cage: 27555
Mfg p/n: 691-4005-02
Contract: F04606-89-C-1041  (year 1989)

Fig 1 SDC

SDC
                        Radiosonde

Fig 2

SDC
                        Radiosonde

Fig 3 Paper Tape and Humidity
sensor on lid.

SDC
                        Radiosonde

Fig 4

SDC
                        Radiosonde




A.I.R. Inc Airsonde Model: AS-1A-PTH radiosonde

250 to 1050 MB
Base station coefficients:
Tc.A2(2).A1(2).A0(2);
0 90 -60 -95 5 70
Carrier Freq. Mhz    403.500

Atmospheric Instrumentation Research

Patent 4112753
4112753
                      Meteorological measuring apparatus
Fig 1 New in sealed bag
A.I.R. Inc Airsonde Model: AS-1A-PTH
                      radiosonde
Fig 2
A.I.R. Inc Airsonde Model: AS-1A-PTH
                      radiosonde




4907449 Meteorological data encoder for measuring atmospheric conditions, A.I.R., Inc., Mar 13, 1990, 73/170.28, 73/724, 374/170 -

4112753 Meteorological measuring apparatus, David B. Call, Sep 12, 1978, 73/170.28, 340/870.1 -
"
A radiosonde is conformable for use either as a disposable sonde in which the device will ascend vertically to a predetermined altitude and when the balloon from which it is suspended bursts at a maximum altitude the sonde will automatically flip over and autogyrate at a reduced rate of descent back to earth; or may be used as a tethered radiosonde in which it is suspended from a tethered balloon in such a way as to be freely rotatable about a substantially horizontal axis. In either version, the sonde is characterized by a generally helicoidal propeller construction having thermistor-receiving end tips and whereby the propellers will impart sufficient spin or rotation to the sonde as to cause the desired degree of aspiration to provide accurate wet bulb psychometric measurements; and further the propeller construction is such as to permit freefall at a reduced controlled rate of speed without the assistance of a parachute."

4543836 Modular cup-type anemometer, David B. Call, Atmospheric Instrumentation Research, Inc., Oct 1, 1985, 73/861.85, 416/197.00A, 416/212.00A -

Viz


Viz Mark II radiosonde

p/n:1540-510  1540-611
NSN 6660-01-348-7451,  ML-674(V)3/TMQ
 Viz
                      Mark II radiosonde



1680 MHz



Viz Mark II
                      radiosonde

ML659(V)  p/n: 1461-053

MIL-R-49315
ML659 (V) 2
6660-01-166-8048
403 Mhz VLF/OMEGA
Fig 1
Radiosonde Set ML659 (V) 2 6660-01-166-8048

Viz MD-210B/AMT-4B Modulator Fig 1

Rawinsonde
See FM 6-16 Ch 6.6 Radiosondes for detailed description.
FM signal modulated by audio frequency switched by barometric pressure.

Viz MD-210B/AMT-4B Modulator

Fig 2
Viz MD-210B/AMT-4B Modulator
Fig 3
Viz MD-210B/AMT-4B Modulator
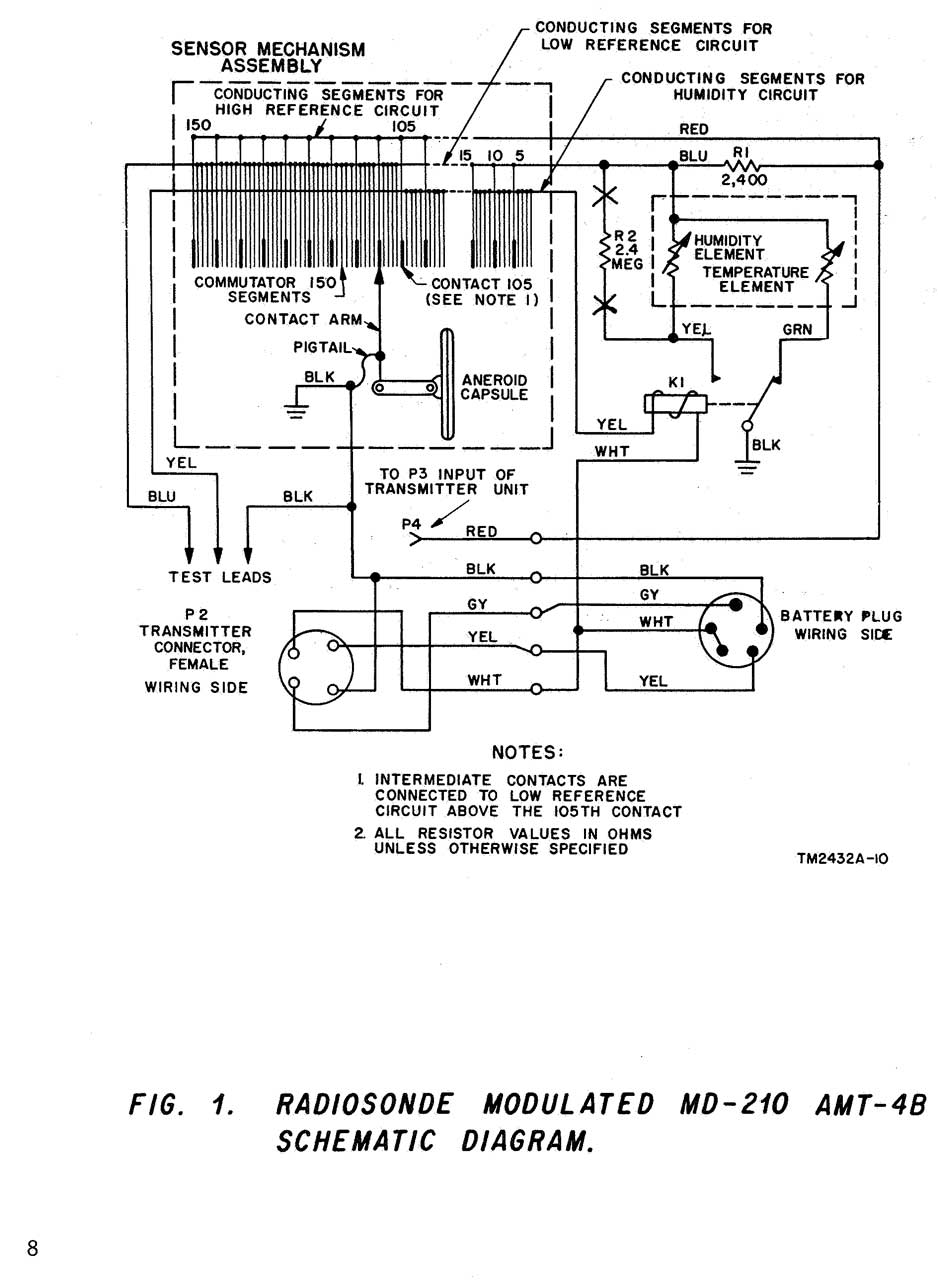
Temperature Measurement inside a Jim Sphere Balloon, 1970 (19700032535.pdf) (page 12)
Fig 1 Radiosonde Modulated MD-210 AMT-4B Schematic Diagram

They replaced the humidity sensor with a second ML-419 temperature sensor so can record both inside and outside temperature on the Jim Sphere wind balloon.
Radiosonde
                      MD-210B/AMT-4B Schematic

Viz T-435A/AMT-4B Transmitter Fig 1

Rawinsonde

Viz T-435A/AMT-4B Transmitter
Fig 2 1680 MHz +20/- 10 MHz adj.
Viz T-435A/AMT-4B Transmitter


4956646 Deployment apparatus and method for radiosondes, Edward J. Miller, John M. Beukers, Maurice Friedman, Sippican (Viz), 1990-09-11, - the line between balloon and sonde is LF antenna and dereeled as balloon ascends.  Supports Omega & LORAN-C.

AMT-6D Bendix-Friez Dropsonde

These are mainly used by Hurricane Hunters (Wiki) using sonobuoy launch tubes (Ref 14.)
This has the look and feel of a sonobuoy\SSQ-53B.  I think the green tape has been applied because the shipping and launch tubes are missing (see Sonobuoy\Fig 53-1 through Fig 53-6).

The AMT-6 is noticeably different from a Radiosonde in that there is no effort to make the AMT-6 light weight.  Light weight is the number one parameter for a Radiosonde since it will be lifted by a balloon.  But a dropsonde is just a weight under a parachute so weight is not that important.

The AMT-6D metal tube is 5" in diameter so is compatible with a sonobuoy A size launch tube.
The AMT-6D is 21-1/8" (53.7cm)long which is shorter than the 36" allowed for an A size sonobuoy, but that's not a problem.  Note a G size would be 18" long and an F size would be 12". So the AMT-6D is not a standard sonobuoy length.  The NRD-94 (GH dropsonde) mini-dropsonde used with the Global Hawk (Wiki) is 30.5cm (12", i.e. F size sonobuoy) long but they are only 1-3/4" dia. so not F size sonobuoys. 
Global Hawk dropsonde Trivia:  The humidity sensor in a dropsonde starts at the highest altitude then drops down.  This means in the case of the Global Hawk the dropsonde is launched at 50,000 or 60,000 feet where there is no humidity (less than 1%) and so there's a large error at launch that caused some teething problems.

The Temperature Element ML-419/AMT-4 Assembly plugs into the bottom end and also holds the Humidity Element, Resistance ML-476/AMT.

The brass rod that goes from the parachute (top) end all the way to be bottom plate is the antenna release.  It trips the holder for the Tape-Whip antenna (See AT-892) allowing it pop out. The antenna when released may be coaxial with the dropsonde, not at a right angle to it as shown in Figures 4 to 7.

Fig 5 The 9 pin miniature tube base test Socket works in conjunction with the push-to-advance rotary function test switch shown in Fig 4 and Fig 6.

Fig 1
AMT-6 Bendix-Friez Dropsonde
Fig 2
AMT-6 Bendix-Friez Dropsonde
Fig 3
AMT-6 Bendix-Friez Dropsonde
Fig 4
AMT-6 Bendix-Friez Dropsonde

Fig 5
AMT-6 Bendix-Friez Dropsonde
Fig 6
AMT-6 Bendix-Friez Dropsonde
Fig 7
BXF tube near base of antenna
AMT-6 Bendix-Friez Dropsonde
Fig 8 Top - Back
parachute end
"Apr 8 1961"
AMT-6 Bendix-Friez Dropsonde
Fig 9 Bottom - Front
Sensors &  Electronics end
AMT-6 Bendix-Friez Dropsonde

Batteries

BA-416/U: 130V (Orange);  Gnd: Black

BA-471/U: 7.5 V (Gray or White)& 1.5 V (White or Gray); Gnd: Black

Manual ?

Instructions Radiosonde Navy Model AN/AMT-7A, Bendix-Friez Model 275-5
Bendix Aviation Corporation, Friez Instrument Division, Baltimore, Maryland
Nov 1949, 28 pages

Vaisala RS80-67 radiosonde

Fig 1
Vaisala RS80-67 radiosonde
Fig 2
Vaisala RS80-67 radiosonde
Fig 3
Vaisala RS80-67 radiosonde
Fig 4
Vaisala RS80-67 radiosonde
Fig 5
Vaisala RS80-67 radiosonde

Vaisala  RD93 GPS Dropsonde (data sheet.pdf)

PS the photo on the data sheet shows both red tapes in place and the chute deployed, i.e. a fake photo.

Airborne Vertical Atmospheric Profiling System (AVAPS)

UCAR/Intellectual Property and NCAR/SSSF have licensed Vaisala Inc. of Woburn, Massachusetts to build the NCAR GPS Dropsonde, as Vaisala model RD93.

This is a dropsonde (dropped from an aircraft) rather than a radiosonde that's lifted by a pilot balloon.  In includes a built-in GPS receiver so no tracking is needed.  A special receiver is used to capture both the weather data and GPS position.

Ships with six CR-2 lithium cells in series (>15 VDC) with a current draw of 235/1200 mA giving a 2 to 3 hour operating time.

In Fig 2 below note the two red tapes that are to be removed prior to launch.  One allows removing the bottom cap and the other uncovers the square cone parachute.  There is also a plug just next to the 4P4C RJ-11 socket that activated the battery when it's removed.

Fig 1 came in hermetic sealed bag. Marked:
0041 255 081
Vaisala
                        RD93 GPS Dropsonde
Fig 2 Label:
RD93 GPS Dropsonde
Serial Number: 004 255 081 (stick on label just line the label on bag)
Revision: B.2
Manf. Date: February 2001
Made in USA, VAaisala, Woburn, MA
Vaisala
                        RD93 GPS Dropsonde
Fig 2 Top cap removed showing pyramid (Square cone) shaped retarding chute
5149019 Balloon parachute, University Corp for Atmospheric Research (UCAR), 1991-09-30, -
Vaisala RD93 GPS Dropsonde
Vaisala RD93 GPS Dropsonde square
                                cone parachute

Fig 4:       3" Launch Tube devices top to bottom:
T-347/SRT Buoy, Radio Transmitting - launched from submarine
Vaisala  RD93 GPS Dropsonde - launched from airplane
SUS: Signal Underwater Sound - launched from airplane
Sippican Ocean Systems SSXBT Model ST-1 Bathythermograph -launched from submarine

Vaisala
                        RD93 GPS Dropsonde,
9753183 Aircraft expendable instrument launch detector system, University Corp for Atmospheric Research (UCAR), 2015-03-03 - interesting citations & references
7358862 Radiosonde system, radiosonde system receiver and signal processing method in a radiosonde receiver, Vaisala Oy, 2008-04-15 -400 MHz data down-link & separate position DL channel.  A multi-channel receiver, uses DSP techniques so can receive data from multiple soundes at the same time.

Vaisala RS92-NGP

Vaisala RS41-SGP

Rawinsonde(RAdar WInd SONDE)

See FM 6-15, Chapt 6 Observation equipment, Section V, Rawinsonde System.
Designed for taking atmospheric soundings and thereby obtaining upper air meteorological data.  This is accomplished by measuring the wind speed, wind direction, pressure, temperature, and humidity through out the vertical extent of the sounding.

consists of:
Radiosonce AN/AMT-4
Rawin set AN/GMD-1
Radiosonde recorder AN/TMQ-5
and associated equipment: TS-65 Freq Std, Baseline check set AN/GMM-1, Test Set TS-538, 10-kW power unit PE-75, Met Station Manual AN/TMQ-4

Dropsonde (Wiki)

I'm adding this paragraph because I may have found that a dropsonde was used to monitor the Little Boy and Fat Man atomic blasts.

Looking for Dropsonde patents that might be related:

3039355 Apparatus for indicating variations in the atmospheric index of refraction, Suter Henry, 1962-06-19, - propagation of radio and radar waves, presently available radio-Sonde apparatuses used to obtain weather data have been found to be unsatisfactory,  a simple, rather compact, apparatus which is suitable for being embodied in a drop-sonde,

3071004 Force balance instrument, Donald C Lips, Garrett Corp, 1963-01-01, - an instru ment responsive to altitude pressure and having particular utility in providing values of that condition for use in a dropsonde; - to improve accuracy at high altitudes

3213010 Vertical drop atmospheric sensor, Hugh E Saunders, Kenneth G Riddle, Mast Dev Co, 1965-10-19, - to measure trace constituents in the atmosphere, the changes in the constitution of the atmosphere are often signs of atmospheric disturbances, bursts of intense radiation, or other such transient phenonena
3038848 Method and apparatus for detecting and measuring trace constituents in air and other gases, Brewer Alan West, Milford James Richard, MAST DEV CO, 1962-06-12, - ozone up to 10 miles high,

3230368 Atmospheric chemical sensory systems, David J Chleck, Navy, 1966-01-18, - May 1961 issue of “Nucleonics,' published by McGraw-Hill, there is an article entitled, "Ozone Analyzer Uses Radioactive Clathrate,” having as one of its authors David J. Chleck, which describes how Ozone concentration can be measured by running a gas strean over a Kr85 containing quinol clathrate and observing the amount of radioactivity released.
3366574 Catalyst containing reaction cell of powdered hydroquinone clathrated with radioactive gas, David J Chleck, Navy, 1968-01-30, -

3739390 Duplexed antenna for retransmission devices, M Poppe, L Masoian, Viz Mfg Co, 1973-06-12, - two frequency bands, pointing up for use on dropsonde.

3925726 Electric field sensor, Arthur A Few, Navy, 1975-12-09, - 12' dia balloon with metalized areas and electronics package inside the balloon.(Wiki: Field Mill)


Friez Instrument Division of Bendix Aviation

Friez Raysonde

ML-310H/AMT-1 Radiosonde Modulator

Order No. 17 25-PHIL-49-2
Possible wire color code (from TM 11-2424)
Red: High reference
Blue: Low reference
Yellow: Humidity

Connectors
4 Pin equal spaced: Red, Black-Blue, Black-Blue, Yellow
4 Pin on half circle: Blue-Black, Yellow-Yellow, Red, Blue

See patent 2738392 below.

Fig 1
ML-310H/AMT-1
                      Radiosonde Modulator
Fig 2
ML-310H/AMT-1
                      Radiosonde Modulator
Fig 3 4 cut wires: Yellow, Yellow, Brown & Black.
Maybe missing relay (2423116) that switches between temp and humidity?  Note 2 empty mounting holes.
ML-310H/AMT-1
                      Radiosonde Modulator
Fig 4 Test points & Connectors
ML-310H/AMT-1
                      Radiosonde Modulator
Fig 5
ML-310H/AMT-1
                      Radiosonde Modulator


T-69F/AMT-2 Radiosonde Transmitter

Model
AMT-2
AMT-2A
Freq MHz
403
403
Altitude Ft
60,000
100,000
Batteries
BB-208=
3 ea: BB-51 & BB-52
BA-259


Fig 1
T-69F/AMT-2
                      Radiosonde Transmitter
Fig 2
T-69F/AMT-2
                      Radiosonde Transmitter
Fig 3
T-69F/AMT-2
                      Radiosonde Transmitter
Fig 4
T-69F/AMT-2
                      Radiosonde Transmitter
Fig 5
T-69F/AMT-2
                      Radiosonde Transmitter
Fig 6 Front black support marked "VIZ"
T-69F/AMT-2
                      Radiosonde Transmitter
Fig 7
T-69F/AMT-2
                      Radiosonde Transmitter
Fig 8 With a BB-52 battery installed
BB-52 Radiosonde Battery


Batteries

The common carbon-zinc and lead acid batteries stop working at slightly below the temperature where water freezes because the electrolyte in a aqueous solution.  So, for use in radiosondes where light weight and operation at very cold temperatures is important a new battery was needed.  Other factors pointing to the need for a new battery type are the weight of conventional batteries and their short shelf life. 

Many of the batteries used for Radiosondes are the type called a Reserve Battery (Wiki) since this type of battery has an extremely long shelf life. Other applications for reserve batteries are sonobuoys and proximity fuzes.
See the Reserve Battery paragraph on the Sonobuoy web page.

AMT Batteries

BA-259 & BA-380


The BA-259 contains the water activated batteries for the AMT series radiosondes?  The appearance of the BA-259 battery is very similar to the BA-380.  2023 Aug 27: The socket on the single unit BA-259 looks identical to the socket on the BA-380 based on an eBay listing for the BA-259.

The BA-259 and BA-380 showed up on eBay in October 2017 from seller delawarelisterI expected the tin cans (Wiki) to be smaller than they turned out (5" dia x 6-1/4" tall) they are the size of a 2# coffee can.

Fig 1
BA-259
                        & BA-380 Reserve Batteries
Fig 2
BA-259
                        & BA-380 Reserve Batteries

BA-259/AM

Thismight be a water activated battery that can be used to replace a BB-51 and three BB-52 batteries.
See patent 2640090 below.

Used with the AMT-4 radiosonde.

Top
Caution
------------
Do Not Open
Until Battery is to be
Activated

Label
Battery, Water Activated
BA-259/AM
1 Each
DAAB 07-81-D-6553-{0001]
Eagle-Picher Industries
Colorado Springe, Colo.
[A0782]

BA-380/AMQ-9

This is a water activated primary (one time use) battery.

The AMQ-9 is listed as: Transponder Radiosonde; manufactured by VIZ Manufacturing Co.
MIL-R-55065A(3) NOT 1 Radiosonde Set AN/AMQ-9() (No SS Document)(Cust:ER)(Review:99)
Very similar to the VIZ MD-210 above.

Top
Caution
------------
Do Not Open
Until Battery is to be
Activated

Label
1 Each
DAAB05-68-C-2394
Ray-O-Vac Division, Mfg/Contr
ESB Incorporated
Wonewoc, Wisconsin
A-9/68
-----------------------------------------------------

Below is a different BA-380/AMQ-9 Radiosonde Battery
No hissing sound when can opened, so no as good a seal as the above VIZ 1271-007.  Also there was neither desiccant nor plastic bag in the coffee can.

Marked:
Battery, BA-380/AMQ-9
DAAB05-68-C-2394
mfg - 0968
Ray-O-Vac Division
ESB Incorporated
Wonewoc, Winsconsin
Battery shown with "Top" up.
BA-380/AMQ-9
                        Radiosonde Battery
BA-380/AMQ-9
                        Radiosonde Battery

BB-208/AMT

This Spam can (Wiki) contains one BB-51 6V filament (A) battery and three BB-52 36V plate (B+ = 108V) batteries.  They are packed in the tin using corrugated metal (stainless?) plates to allow acid to be injected into the can.  Note the batteries do not have fill caps but instead have many small holes for the acid to enter.  The ends of the batteries rest on what may be asbestos sheets which may be there to protect the covering of the needle terminals.

Fig 1
BB-208/AMT
                        Battery Pack - Spam can
Fig 2
BB-208/AMT
                        Battery Pack - Spam can
Signal Corps          U.S. Army
Battery Pack - BB-208/AMT
Date of Manufacture  Jan  1952
Order No.  3809-PHIL-52-18
Manufacturer - Willard Storage Battery Co.
INSTRUCTIONS: 1. slide piercing unit on container as indicated in drawing.
2. Immerse tube in electrolyte (1.350 Sp. Gr. for one shot service - 1.280 Sp. Gr. for cyclying).
3. Press down on plunger of piercing unit.  Turn clockwise to lock.
4. Allow acid to remain in container from 3 - 5 minutes.
5. Open container slightly with key provided on bottom of can and pour off excess acid.
6. Open container and remove batteries.  Wipe electrolyte from batteries.
7. Remove protective coating from terminals by inserting each prong into hole at (A) of piercing tool and rotating until clean or break protective coating from terminals with notch (A), pliers, knife or other sharp instrument, being careful not to short circuit battery terminals.
8. Allow batteries to stand a minimum of 1/2 hour before using.

Fig 3 inside the Spam can.  Nice strong his as the key was turned so the vacuum held for 71 years (1952 date code).
BB-208/AMT
                        Battery Pack - Spam can

Fig 4 This is a modern Spam can, but the old Spam cans looked like the BB-208.
BB-208/AMT
                        Battery Pack - Spam can33

BB-51

Lead Acid, 6 Volt,  0.5 Amp,  5.5 oz, Willard BR-3, used with Radiosonde, ML-128

BB-52

Lead Acid, 36 Volt, 0.08 Amp, 0.39 lbs Willard BR-18, used with Radiosonde, ML-128

Military batteries that start BA-nnn are primary and that start BB- are rechargeable, so this is a rechargeable battery.
Three of them are used on the T-69F/AMT-2 Radiosonde Transmitter.

Fig 1
BB-52 Radiosonde Battery
Fig 2
BB-52 Radiosonde Battery
Fig 3
BB-52 Radiosonde Battery
Signal Corps      U.S. Army
Battery BB-52
Date of Manufacture:  2  1945  Order No. 6675-PHIL-A-45-33
Printed in U.S.A.                           11-280  67-43
Remove tape over vents.  Fill each cell slowly, using Hypo-dermic needle, with 1.280 acid.
Stand 1 to 4 hrs.  Emergency - place in service after stand.
Initial Charge and Recharge - 10 mA for 12 to 20 hrs. after
refilling each cell with approved water.
Printed in U.S.A.     114-378  9-43         

Eagel-Picher MAP-12060B, 1680 MHz Solid State

This appears to be an 18 Volt water activated battery.
Eagel-Picher MAP-12060B, 1680 MHz Solid State
                      Radiosonde Battery
The vacuum sealed MIL-B-131H metal foil bag contains:
  • Battery
  • Plastic Bag used during flight
  • Desiccant
  • Instructions for activation
Mfg: Mar 13  1989  Ship: Mar  1989


Time in
H20
Wt g
Voltage
-
136
0
10 s
na
14.6
30s
na
16
1m
na
16.9
2m
na
17.8
3m
224
18.2

After an hour the battery is warm to the touch, but not hot.
The instructions say "shake vigorously" and that the weight should be less than 210 grams, maybe I did not shake properly, but it's slightly overweight.

VIZ 1271-007

This is a dual voltage +6 and +18 with a common ground.
Vacuum packed, you can hear the hiss when the can is opened.
Rosle Smooth Edge Can Opener allows reinstalling lid, but w/o the vacuum.
VIZ 1271-007
                      Radiosounde Battery
Weight 111 g dry

Battery Radiosonde
VIZ 1271-007
Mfg. May 2  1974

VIA Manufacturing Co.
Phila, PA, 19144

Battery Tester

This light came in a box with a bunch of PIBAL lights and Radiosonde batteries.  But I doubt it's a PIBAL light because:
1. the wires seem too long, i.e. they add weight with no purpose,
2. this type of LED is far too dim to be seen at a great distance.
After cutting off the shrink wrap...
The PCB is marked:  VIZ 9J15-231B  so related to Radiosondes.

The Red LED comes on at 8 Volts (Positive to orange wire & Negative to black wire).  The Green LED comes on at 12 Volts.
So maybe this is a battery tester for Radiosondes?

Red and Green
                      LED with 8" lead & Molex connector.

Patents

Many of these started out with Julien P Friez then Julien P Friez & Sons then the Friez Instrument Division of Bendix Aviation (aka: Bendix Aviation), then Bendix Corp.

Olland radio meteorograph, NBS RP-1169, VOl 22, 1939 - is mentioned in some of the patents.
Diamond-Hinman UHF Tx "Research Paper RP 1329" NBS Vol 25, Sep 1940) "An Improved Radiosonde and It's Performance".

Wallace and Tiernan mainly did water Chlorination, but also patented may Aneriod pressure gauges (Wiki).  Some of these were calibrated as altimeters.
Kollsman mainly made aircraft instruments, many of which made use of
Aneriod pressure capsules.

2022 June 2 moved most patents into this table so that the chronology is maintained.


681536 Recording water-gage, Julien P Friez, 1901-08-27,

756109 Rain-gage, Julien P Friez, 1904-03-29, -

765060 Storage battery, Theodore A Willard, Willard Storage Battery Co, 1904-07-12, - lead acid

776315 Automatic water-stage recorder, Julien P Friez,1904-11-29,
809672 Automatic
                      indicating and regulating hygrometer, Stuart W
                      Cramer, 1906-01-09
809672 Automatic indicating and regulating hygrometer, Stuart W Cramer, 1906-01-09, -
D145345 Wind
                      indicating apparatus or similar article, Louvan E.
                      Wood, Bendix Aviation, 1946-07-3
D145345 Wind indicating apparatus or similar article, Louvan E. Wood, Bendix Aviation, 1946-07-30,

1422920 Multiple-Recording Instrument, Richard P. Brown, Fritz Wagner, Brown Instrument Co, 1922-16-18, - multiple thermocouples recorded on a removable paper chart chartridge

1507016 Radiosignaling system, Forest Lee De, Forest Radio Telephone, 1924-09-02, -
Licensed by Fritz for the TDC radiosonde

1507017 Wireless telegraph and telephone system, Forest Lee De, Radio Telephone & Telegraph Co, 1924-09-02, - Licensed by Fritz for the TDC radiosonde

1849870 Telemetric system, Gerald Alan S Fitz, GE, 1932-03-15, - remote meter reading

1929241 Telemetric system, Charles S Franklin, GE, 1933-10-03, - clockwork selects sensors

1934726 Modulating system, Harold J McCreary, Associated Electric Laboratories (AEL), 1933-11-14, - photocell controls oscillator output

1937630 Means for indicating angular motion, Ralph R Chappell, Robert J Streb, Julien P Friez & Sons, 1933-12-05, - tachometer

1985148 Means for indicating angular movements, Chappell Ralph, Robert J Streb, Julien P Friez & Sons,1934-12-18, - tachometer

1958909 Wind direction recorder, Ralph R Chappell, Robert J Streb, William G Boettinger, Julien P Friez & Sons, 1934-05-15, - uses a heart shaped cam allowing many complete revolutions of the wind vane yet displaying 0 to 360 degrees.

1966847 Jewel bearing and mounting therefor, Ralph R Chappell, Robert J Streb, Bendix Aviation,1934-07-17, - cone supports the pin shaped jewel in a fly-ball mechanism

1998340 Hygrostat, Robert J Streb, Ralph R Chappell, Meagher John, Bendix Aviation, 1935-04-16, - human hairs are the most sensitive, choosing linkages ratios to get rational display

2027367 System of determining meteorological conditions by radio, William R Blair, Jan 14, 1936, 342/450, 340/870.28, 73/170.28, 340/870.1, 455/61, 342/460 - AM & FM modulation - Radiosounde - Licensed by Fritz for the TDC radiosonde

2049688 Control mechanism for recording devices, Ralph R Chappell, Robert J Streb, Julien P Friez & Sons,1936-08-04, - humidity sensor and control

2064651 Humidity responsive device, Marcus E Fiene, GE, 1936-12-15, -Fused salt coating cylinder,  AMQ-1

2118459 Float type rain gauge, Ralph R Chappell, Rutger B Colt, Bendix Aviation, 1938-05-24, -

2148188 Ralph R Chappell, Rutger B Colt, Bendix Aviation,1939-02-21, - speed regulator for gravity driven paper chart recorder

2156868 Control device for a radiometeorograph signal transmitter, William H Reynolds, American Instrument Co, 1939-05-02, -

2215542 Multiple traverse recorder, Ralph R Chappell, Rutger B Colt, Bendix Aviation, 1940-09-24, - water-stage recorder

2159424 Shaft speed indicator, Ralph R Chappell, Rutger B Colt, Robert J Streb, Bendix Aviation, 1939-05-23, -  uses Autosyn transmitter to translate wind speed shaft motion to remote station where it's speed is determined.  see 2259615 for improved version.

2162308 Diaphragm device, Cletus J Jenny, Bendix Aviation, 1939-06-13, 73/708; 73/386; 73/729.2; 73/179 - effect of different metal alloys on Aneroid

2165744 Temperature compensating means for a measuring instrument, William G Boettinger, Bendix Aviation, 1939-07-11, 73/386; 74/518 - for aneroid barometers or altimeters

2210903 Temperature measuring, Francis W Dunmore, US Government, 1940-08-13, - for use on radiosonde
2211493
                      Variable resistor, Ralph R Chappell, Bendix
                      Aviation, 1940-08-13
2211493 Variable resistor, Ralph R Chappell, Bendix Aviation, 1940-08-13, -human hair humidity  AMQ-1

2216161 Apparatus for making meteorological observations, Leon F Curtiss, Allen V Astin (Wiki) 1940-10-01, - balloon, nominal 60 MHz Tx,

2230779 Pyrometer potentiometer, Manfred J Johnson, Lewis Eng Co, Feb 4, 1941, 374/166, 374/E07.16, 340/870.1, 374/181, 340/870.17, 236/69, 324/98 - thermocouple w/cold junction comp, lab inst

2232589 Telemetric device, Ralph R Chappell, Rutger B Colt, Robert J Streb, Bendix Aviation, App :1936-04-29; Pub: 1941-02-18, - maybe aimed at a tide gauge (related to Friez 776315?)
2259615
                              Wind velocity indicator, Ralph R Chappell,
                              Rutger B Colt, Bendix Aviation,
                              1941-10-21
2259615
                              Wind velocity indicator, Ralph R Chappell,
                              Rutger B Colt, Bendix Aviation,
                              1941-10-21

2259615 Wind velocity indicator, Ralph R Chappell, Rutger B Colt, Bendix Aviation, 1941-10-21, - uses an Autosyn transmitter for wind speed and overcomes the problems if the power is turned off then back on.

2277692 Measuring cloud height and thickness, Dunmore Francis W, Mar 31, 1942, 73/170.28, 356/28, 250/208.3, 250/214.00R, 367/130, 250/564, 250/222.1, 340/870.1, 346/33.00B - phototube modulates UHF Tx, hung from pilot balloon

2279854 Apparatus for making aneroids, Kenneth E Whitney, Bendix Aviation Corp, App: 1941-01-02, Pub: 1942-04-14, 219/604; 29/DIG.44; 73/386; 219/635; 219/659; 219/651; 29/454  - Licensed by Fritz for the TDC radiosonde & Bendix AMQ-1
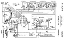
2283919
                              Art of radiometeorography, Diamond Harry,
                              Jr Wilbur S Hinman, 1942-05-26 -
2283919
                              Art of radiometeorography, Diamond Harry,
                              Jr Wilbur S Hinman, 1942-05-26 -
2283919
                              Art of radiometeorography, Diamond Harry,
                              Jr Wilbur S Hinman, 1942-05-26 -



2283919 Art of radiometeorography, Diamond Harry, Jr Wilbur S Hinman, 1942-05-26 73/170.28; 340/870.28; 340/870.1 -

2285421 Humidity variable resistance, Francis W Dunmore, Sec of Commerce, 1942-06-09, -long term aging mitigation
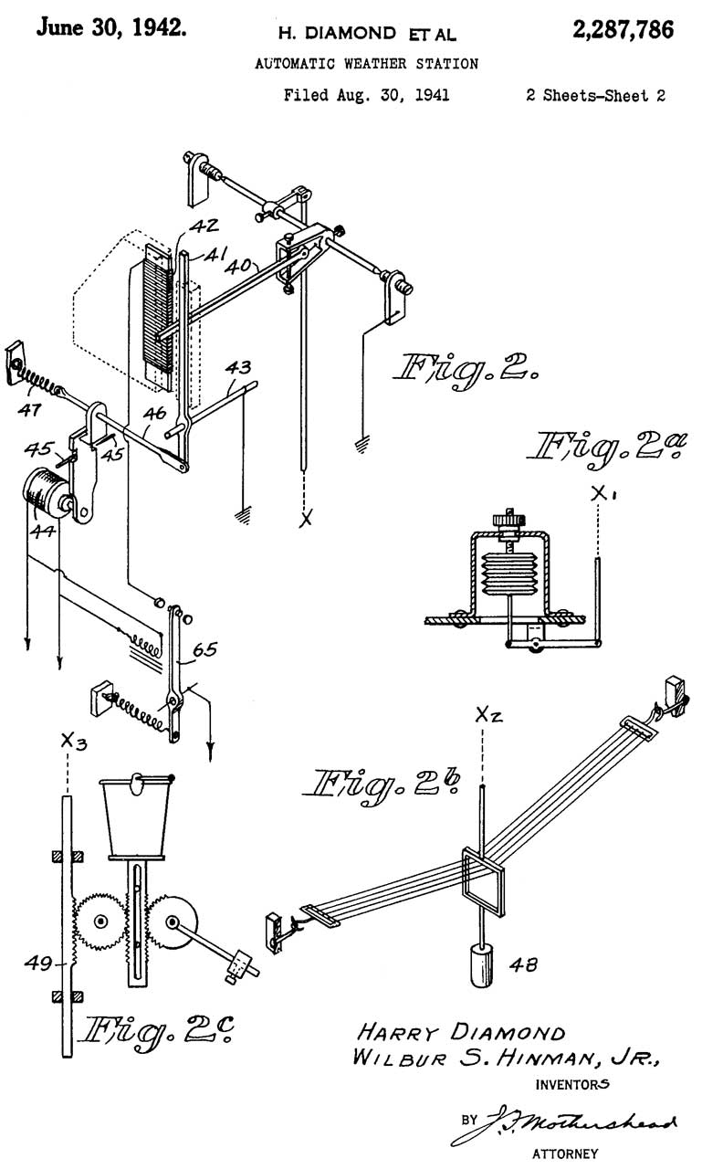
2287786
                              Automatic weather station, Diamond Harry,
                              Jr Wilbur S Hinman, 1942-06-30
2287786
                              Automatic weather station, Diamond Harry,
                              Jr Wilbur S Hinman, 1942-06-30

2287786 Automatic weather station, Diamond Harry (Wiki) Jr Wilbur S Hinman, 1942-06-30, -

2295570 Humidity measuring, Francis W Dunmore, Sec of Commerce, 1942-09-15, - for radiosondes, an electrical sensor rather than horse hair (Wiki)

2315353 Radiosonde box, Shaw Benson Russell (other radiosonde patents), Washington Institute of Technology, App: 1941-07-18, W.W.II, Pub: 1943-03-30, - designed for good air circulation

2317028 Accelerometer, Ralph R Chappell, Rutger B Colt, Bendix Aviation, App: 1941-08-06, Pub: 1943-04-20, - looks like using Aneroid barometer elements as springs to support a mass.
2322229
                      Pressure switching, Diamond Harry, Jr Wilbur S
                      Hinman, 1943-06-22 2322229 Pressure switching, Diamond Harry, Jr Wilbur S Hinman, 1943-06-22 200/83R; 200/263 -

2323317 Altitude measuring, Francis W Dunmore, Evan G Lapham, Sec of Commerce, Jul 6, 1943, 324/461, 455/95, 342/462, 340/870.1, 73/384, 367/118, 310/301 - pressure -> resistence (ionozed air gap)-> audio modulation frequency ( 40 to 200 Hz.) for radiosonde

2328054 Recorder, Ralph R Chappell, Rutger B Colt, Robert J Streb, Bendix Aviation, App: 1936-04-29; Pub: 1943-08-31, - roll paper plotter

2334211 Gas generator, Charles E Miller, Bendix Aviation Corp, 1943-11-16, - for use on life raft

2347160 Radiometeorograph transmitting apparatus, Charles F WallaceWallace and Tiernan, App: 1940-04-04, W.W.II, Pub: 1944-04-18, - Temperature, pressure, relative humidity

2347345 Radiometeorograph transmitting apparatus, Wallace Charles F, Wallace & Tiernan Inc, Apr 25, 1944, 340/870.1, 340/870.12, 340/870.16, 188/185, 200/56.00R, 340/870.13, 73/170.28 - Temperature, pressure, relative humidity
also see their altimenters

2348711 Recording system, Ralph R Chappell, Bendix Aviation, App: 1940-05-09, W.W.II, Pub: 1944-05-16, 346/33B; 346/101; 250/214R; 250/215; 346/33R-

2354086 Radiometeorograph receiving relay apparatus, John R Mackay, Wallace and Tiernan, App: 1941-09-30, W>W.II, Pub: 1944-07-18, - UHF receiver drives paper chart recroder

2355739 Meteorological apparatus, Mccabe Ira E, Aug 15, 1944, 340/815.73, 126/263.1, 340/870.1, 362/92, 362/458, 429/158, 126/263.5 - Dry battery heater for very cold operation

2366423 Radiosonde antenna system, Jr Charles B Pear, Washington Inst of Tech, 1945-01-02 - pattern optimized for long range

2368905 Aneroid barometer movement, Wallace Charles Frederick, Wallace and Tiernan, App: 1941-09-24, Pub: 1945-02-06, 73/386; 177/DIG.9- "...e. g., a pointer or a corresponding element in recording devices of the depressor bar type." sounds more like an Radiosonde than altimeter or barometer.  Also see Altimeters and Barometers.

2374653 Recording system, Rutger B Colt, Ralph R Chappell, Bendix Aviation, App: 1940-05-09, W.W.II, Pub: 1945-05-01, 346/33B; 346/136; 346/33R; 340/870.02; 346/101 - Radiosonde

2381009 Chronometric radiosconde system, Slderman Joseph A, Aug 7, 1945, 340/870.1, 307/651, 455/91, 340/870.12, 340/870.16, 340/870.13, 307/650, 455/98 - resistive sensors coupled with clockwork

2396955 Radiosonde, Lange Karl O, Mar 19, 1946, 340/870.1, 455/98, 340/870.28, 340/870.13, 340/870.12 - clockwork driving a helical switch

2404144 Acid-releasing means for deferred action type batteries, Riggs Harold Coleman, Smith William Wharton, Electric Storage Battery Co, Filed: 1943-10-29, (W.W.II), Pub: 1946-07-16, - multiple squibs are fired to release electrolyte.  Application???

2409155 Radio transmission apparatus, Gibbs Norman E, Schellens Eugene L, R W Cramer Company Inc, Oct 8, 1946, 340/870.1, 340/870.18, 455/98, 340/870.12, 340/870.13 - clockwork driven as unit descends from balloon - They also made a UHF survival radio with a code wheel.

2418836 Remote recording system, Bradford K Hawes, GE, App: 1943-08-19, W.W.II, Pub: 1947-04-15, - timer selects weather instruments which modulate a transmitter, receiver drives paper chart recorder.  can produce a roll chard with 4 separate traces.

2423116
                              Electric relay, Osborne I Price, Magnetic
                              Devices
2423116
                              Electric relay, Osborne I Price, Magnetic
                              Devices

2423116 Electric relay, Osborne I Price, Magnetic Devices, App: 1944-06-30, W.W. II, Pub: 1947-07-01, -

2v operation from -90 to +60 deg C.
Coil resistance of 125 Ohms ( 2V/125Ohm = 16 mA)

2424807 Piercing device for filling batteries, George E Eckman, Primerica Inc/American Can Co, Filed: 1944-09-13 W.W.II, Pub: 1947-07-29, - looks like sardine can - "My invention relates to a method and means of filling very small wet cell batteries as used in radiosonde equipment and more particularly to a can piercing device for vacuum-pack containers,"

2425537 Calibration of radiosondes, John Hornbostel, Edison Inc Thomas A, Aug 12, 1947, 73/1.6, 340/870.1 - plots millibars vs. % time cycle by serial number of barometer

2428850 Deferred action dry cell with magnesium electrode, Herbert E Lawson, Burgess Battery Co, App: 1941-12-26, Secret, Pub: 1947-10-14, - water activated

2433288 Weather station, George S Miles, Bendix Aviation, App: 1944-05-04, W.W. II, Pub: 1947-12-23, - small one man portable,  self contained,

2434263 Determining upper air wind conditions by radio direction finding, Diamond Harry, Francis W Dunmore, Jr Wilbur S Hinman, Filed: 1938-12-22, Pub: 1948-01-13 342/417; 342/458 -

Bulletin of the American Meteorological Society, March 1937, pages 'Z3-100 (see also Bureau of Standards Research Paper R. P. 1082, Journal of Research N. B. S.. vol. 20, March 1938, pages 369-391) -  ...the radiometeorograph transmits a continuous carrier wave, particularly suitable for direction finding...Thus the angle of elevation may be measured simply by varying the height of the receiving antenna until a null is obtained in the receiving set output.


2437473 Pressure switch, William L W Ogden, William R Ryan, Bendix Aviation, App: 1944-08-29, Pub: 1948-03-09, 200/83R; 73/386 -

2347160 Radiometeorograph transmitting apparatus, Wallace Charles F, Wallace & Tiernan Inc, Apr 18, 1944, 340/870.1, 340/870.28, 73/170.28, 340/870.13, 200/56.00R, 340/870.12, 200/19.21 - Temperature, pressure, relative humidity
also see their altimeters

2441133 Automatic weather data transmitting station unit, James M Brady, Sec of War, App: 1945-09-24, Pub: 1948-05-11, 455/128; 244/138R; 340/870.28; 73/170.28-

2452049 Combined package and filling device for batteries or hollow bodies, Vernon D Hauck, Bendix Aviation, 1948-10-26, - fine capillary holes in cell so electrolyte can be added just prior to use

2454320 Hygrometer and switch for radiosondes, John Hornbostel, Edison Inc Thomas A, Nov 23, 1948, 200/61.6, 73/335.13, 340/870.1 - chronometric type, temp compensated hydrogemeter

2455469 Meteorological balloon, Caspar Frank Albert, Pak Parachute Co, App: 1945-10-11, W.W.II, Pub: 1948-12-07, - metallic mesh as part of balloon.
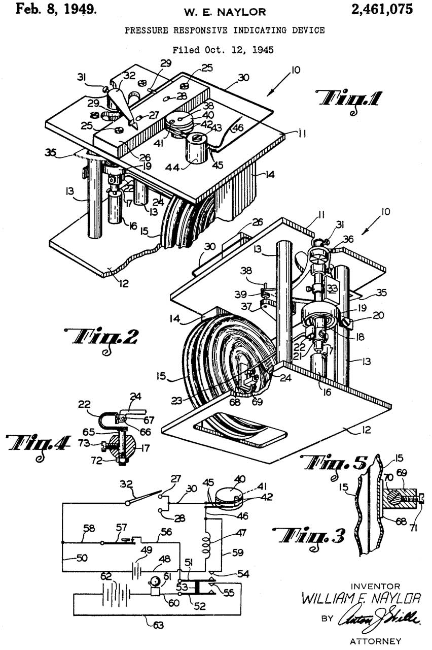
2461075
                      Pressure responsive indicating device, William E
                      Naylor, Bendix Aviation Corp, App: 1945-10-12,
                      Pub: 1949-02-08
2461075 Pressure responsive indicating device, William E Naylor, Bendix Aviation Corp, App: 1945-10-12, Pub: 1949-02-08, -
2462102
2462102 Modulated
                                reflecting-resonant target, Edwin J
                                Istvan, 1949-02-22
2462102
                              Modulated reflecting-resonant target,
                              Edwin J Istvan, 1949-02-22

2462102 Modulated reflecting-resonant target, Edwin J Istvan, 1949-02-22, -

A propeller spins an 6 dipole antennas that act as a radar reflector that has a unique signature because of the spinning.

When it gets to some predetermined altitude a solenoid lifts the center conductor breaking the dipoles and so stpps them from reflecting.

2467929 Recording and controlling apparatus, Rutger B Colt, Bendix Aviation, App: 1945-10-04, W.W. II, Pub: 1949-04-19, - temperature & humidity at a number of stations, sent to a number of monitoring posts

2468703 Chronometric electronic radiosonde system, Hammel Clifford M, Serdex Inc, Apr 26, 1949, 340/870.1, 374/142, 370/213, 374/143, 340/870.28, 327/551, 340/870.15 - complex pulse modulation (many tubes)

2476400 Automatic transmission of data from aircraft, Peter R Murray, Apr 19, 1949, 340/870.18, 340/870.26, 340/870.27, 340/539.1, 340/870.1, 340/539.17, 340/670, 340/13.24 - audio subcarrier telemetry
2481728
                      Humidity responsive resistor, Alexis B Dember,
                      Bendix Aviation, App: 1945-10-24, W.W.II, Pub:
                      1949-09-13, - Radiosonde
2481728 Humidity responsive resistor, Alexis B Dember, Bendix Aviation, App: 1945-10-24, W.W.II, Pub: 1949-09-13, 338/35; 73/335.05; 338/309 -

2482196 Resistance measuring apparatus, Robert B Marye, Bendix Aviation Corp, 1949-09-20, - for checking radiosonde sensors?
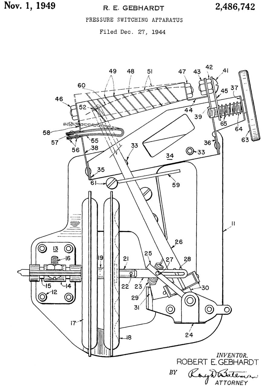
2486742
                      Pressure switching apparatus, Robert E Gebhardt,
                      Bendix Aviation - Radiosonde
2486742 Pressure switching apparatus, Robert E Gebhardt, Bendix Aviation, App:1944-12-27, W.W.II, Pub: 1949-11-01, 200/83D; 4/DIG.4; 200/81.5; 73/708; 200/83C -
2491640
                      Deferred action battery, Ivan C Blake, Lawrence H
                      Harriss, John B Mullen, Burgess, Filed:
                      1945-06-20
2491640 Deferred action battery, Ivan C Blake, Lawrence H Harriss, John B Mullen, Burgess, Filed: 1945-06-20 (W.W.II) Pub: 1949-12-20, 429/119; 429/152 -

Fresh or salt water activated, 2+ V per cell,

"A battery of the character specifically described and illustrated comprising 12 cells connected in parallel and having a length of approximately 6 inches and a diameter of approximately 5 inches, upon immersion in ordinary tap water, is capable of delivering approximately 3 amperes continuously for more than 40 hours at a voltage above an end point of 1.2 volts."

Run time too long for radiosonde, maybe for Sonobuoy?

2492206 Lead perchloric acid primary cell, Joseph C White, John H Baldwin, Edward J Peebles, Wilson H Power, Filed: 1943-01-19, (W>W.II) Pub: 1949-12-27, 429/200; 429/228; 205/63; 429/245 -

2594879 Deferred-action battery, James N Davis, Sylvania, 1952-04-29, - water activated

2698633 Evacuated capsule for aneroid barometers, Philip W Harland, American Machine and Metals, 1955-01-04, 73/386; 200/83R - temperature compensation
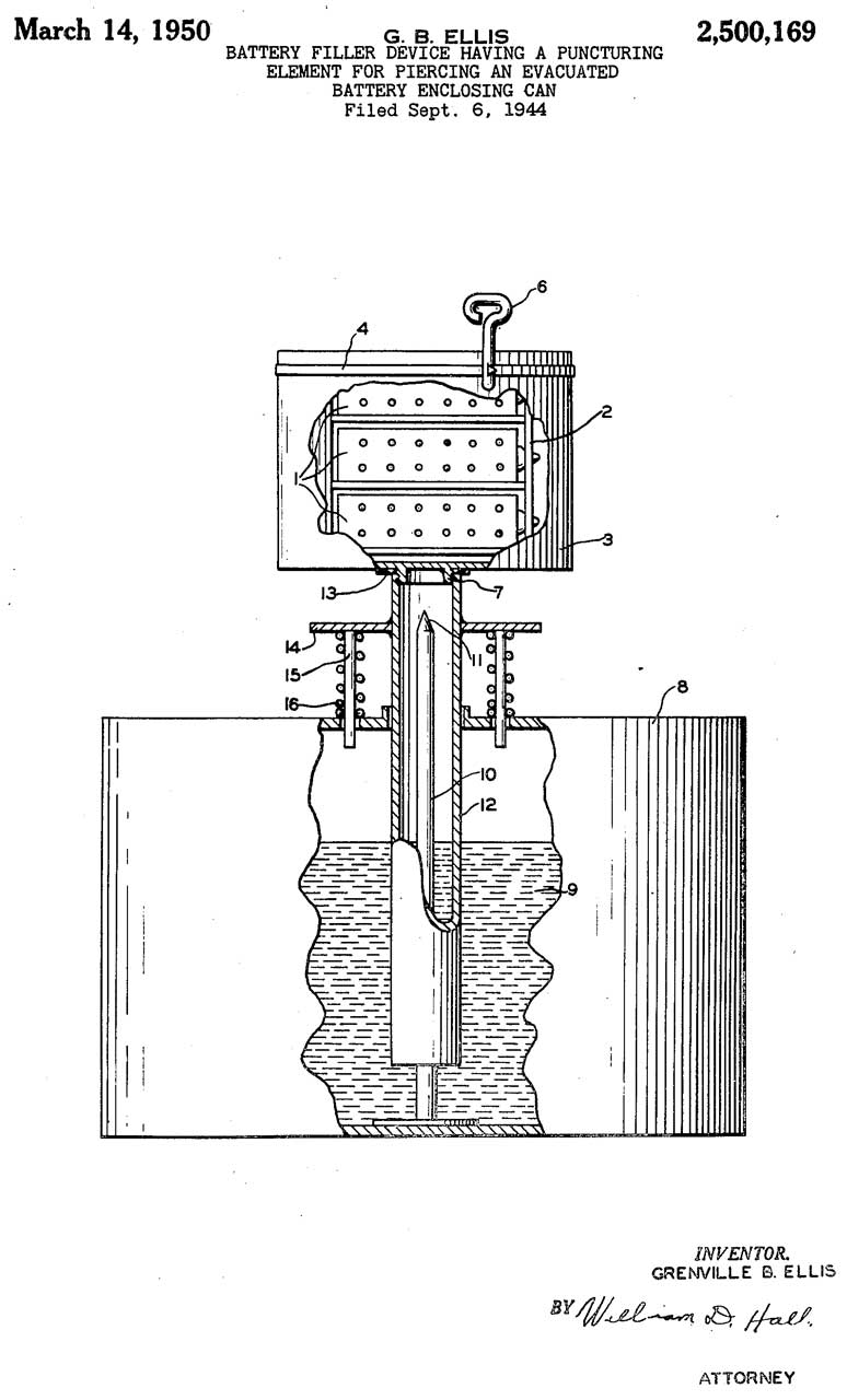
2500169 Battery
                      filler device having a puncturing element for
                      piercing an evacuated battery enclosing can,
                      Grenville B Ellis, Sec of War, Filed: 1944-09-06
                      (W.W.II) Pub: 1950-03-14
2500169 Battery filler device having a puncturing element for piercing an evacuated battery enclosing can, Grenville B Ellis, Sec of War, Filed: 1944-09-06 (W.W.II) Pub: 1950-03-14, 141/329; 141/383; 429/74; 222/80 -

2500186 Meteorological telemetering system, Morris Kline, Us Sec War, Mar 14, 1950, 342/425, 340/870.11, 340/870.1 - Pulse repetition rate modulation, scanning tracking antenna (Diamond-Hinman UHF Tx "Research Paper RP 1329" NBS Vol 25, Sep 1940)
2509215
                      Radiosonde, Craig Leo S, Leon Hillman, Us
                      Socretary Of War, May 30, 1950 2509215 Radiosonde, Craig Leo S, Leon Hillman, Us Socretary Of War, May 30, 1950, 340/870.1, 340/870.12, 340/870.13, 369/22, 73/170.28, 374/142 - phono record w/4 arms Tx fixed audio tones, can receive with headphones.

AN/AMT-3


2504848 Resistance measuring apparatus, Jr William J Kunz, Bendix Aviation Corp, App: 1945-11-16, Pub: 1950-04-18, - uses a stop clock and RC circuit to measure very high resistance devices (Radiosonde sensors?)

2508412 Method of and apparatus for checking frequency characteristics, Robert B Marye, Bendix Aviation, App: 1945-03-29, W.W.II, Pub: 1950-05-23, 324/612; 331/50; 331/64; 331/146; 331/44; 331/55; 331/66 - a receiver at 72.2 Mc makes plot of Resistance v. Audio Frequency to calibrate sensors

2522907 Socket for radio tubes, Robert J Streb, Bendix Aviation, App: 1946-07-31, W.W.II, Pub: 1950-09-19, - for the UHF 955 Acorn Tube (Wiki, 955)
  .
 2540076 Radio
                      cycle summation measuring apparatus, Oscar H
                      Dicke, App: 1944-09-28, W.W.II, Pub: 1951-02-06
2540076 Radio cycle summation measuring apparatus, Oscar H Dicke, App: 1944-09-28, W.W.II, Pub:  1951-02-06, - Bearing & Distance to RADAR reflector (RE3) or aircraft
Fig 4 Transponder can replace reflector (RE3)

Fig 7 Directional Bomb Control - pg 11 Line 35: "The electronic measuring, apparatus described also lends itself for the remote control, particularly steering, of a vehicle such as a boat, an airplane or a robot flying bomb." - very complex and so not at all practical

2547009
                              Telemetering system, William D Huston,
                              James M Brady, Apr 3, 1951 2547009
                              Telemetering system, William D Huston,
                              James M Brady, Apr 3, 1951

2547009 Telemetering system, William D Huston, James M Brady, Us Socretary Of War, Apr 3, 1951, 340/870.1, 369/22, 200/DIG.340, 340/870.18, 340/870.28, 340/870.13 - phono record w/multiple arms

AN/AMT-3


2555352 Air launched radio station, Percival D Lowell, Hakkarinen William, App: 1945-06-20, Pub: 1951-06-05, - weather behind enemy lines
2555867 Air
                      launched radio station, Robert P Bennett, USA,
                      App: 1945-08-28, W.W.II, Pub: 1951-06-05
2555867 Air launched radio station, Robert P Bennett, USA, App: 1945-08-28, W.W.II, Pub: 1951-06-05, -

"...weather stations, which may be dropped by parachute onto remote or hostile territory..."
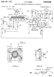
2558342
                              Condition responsive measuring apparatus,
                              James R Cosby, Bendix Aviation, App:
                              1946-01-18, W.W.II, Pub: 1951-06-26, -
                              Radiosonde
2558342
                              Condition responsive measuring apparatus,
                              James R Cosby, Bendix Aviation, App:
                              1946-01-18, W.W.II, Pub: 1951-06-26, -
                              Radiosonde

2558342 Condition responsive measuring apparatus, James R Cosby, Bendix Aviation, App: 1946-01-18, W.W.II, Pub: 1951-06-26, 331/65; 331/64; 340/870.26; 331/54; 331/181 -

Fig 3 is the audio relaxation oscillator auxiliary frequency coils that can be used with Soft Iron, Stainless or Brass cores that couple plate to grid.

ML-310H/AMT-1 Radiosonde Modulator


AMT-7
Bendix Ray Sonde
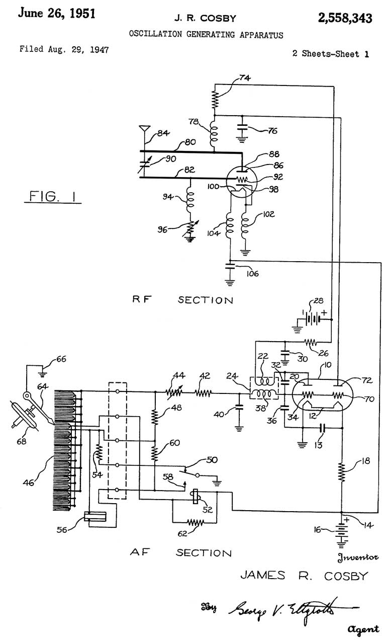
2558343
                              Oscillation generating apparatus, James R
                              Cosby, Bendix Aviation, App: 1947-08-29,
                              W.W.II, Pub: 1951-06-26
2558343
                              Oscillation generating apparatus, James R
                              Cosby, Bendix Aviation, App: 1947-08-29,
                              W.W.II, Pub: 1951-06-26

2558343 Oscillation generating apparatus, James R Cosby, Bendix Aviation, App: 1947-08-29, W.W.II, Pub: 1951-06-26, -

T-69F/AMT-2 Radiosonde Transmitter


Ray Sonde


2584988 Dew point measuring apparatus, Alexis B Dember, Bendix Aviation, 1952-02-12, - by measuring the dry bulb temperature and humidity. (with equations)

2584989 Dew point measuring apparatus, Alexis B Dember, Bendix Aviation, 1952-02-12, - by measuring the dry bulb temperature and humidity. (with equations)

2587946 Meteorological apparatus, Louvan E Wood, Bendix Aviation, 1952-03-04, - makes forecast on a scale from FAIR to STORMY based on dry bulb temperature, wet bulb temperature and barometric pressure.

2590584 Sea-water battery, Raymond L Taylor, Bell Labs, 1952-03-25, - construction similar to a Selenium Rectifier (Wiki) with plates of Magnesium and silver chloride on silver. A 1.25" dia disk cell develops about 0.9 Volts @ 0.9 Amps.

2591600 Radiosonde calibration method, Pear Jr Charles B, Washington Inst Of Technology, Apr 1, 1952, 374/1, 331/48, 340/870.1, 331/167, 331/64, 331/143, 331/65, 340/870.18, 331/54, 73/170.28, 331/177.00R, 340/870.4 - for use with British patent 235254 June 11, 1925.  Resistance to audio frequency.

2594879 Deferred-action battery, James N Davis, GTE Sylvania, 1952-04-29, 429/119; 110/165R - fresh or salt water.  Quick activation.  maybe sonobuoy type.  preventing shorting between cells.
Cites:
2441896 T.G. Moir, May 18, 1948


2599276 Wick hypsometer, Wayne R Norman, GE, 1952-06-03, -

2609512 Frequency meter, Conviser Harry, Bendix Aviation, 1952-09-02, 250/375; 250/389; 331/65; 331/149; 327/47; 324/120; 331/74; 324/76.71 - for Geiger-Mueller tube used in Radiosonde
2604582
                              Atmospheric sounding apparatus, Vernon D
                              Hauck, William L W Ogden, James R Cosby,
                              Bendix Aviation, 1952-07-22, Radiosonde
2604582
                              Atmospheric sounding apparatus, Vernon D
                              Hauck, William L W Ogden, James R Cosby,
                              Bendix Aviation, 1952-07-22, Radiosonde

2604582 Atmospheric sounding apparatus, Vernon D Hauck, William L W Ogden, James R Cosby, Bendix Aviation, 1952-07-22, 340/870.28; 455/98; 73/170.28 -

2613347 Modulator, for radiosonde apparatus, William Todd, Sec of War, Oct 7, 1952, 332/131, 340/870.1, 455/95 - FM modulation, uses a  tube blocking oscillator to convert resistance changes into pulses.

2623388 Portable device for measuring and indicating the direction and velocity of wind, Louvan E Wood, Jr L Heath Vining, Bendix Aviation, 1952-12-30, - mechanical hand held, maybe one of the ML- instruments.

2631778 Digitizer, Charles A Piper, Lowell R Brown, Bendix Aviation Corp, 1953-03-17, - digitizer required prior to data transmission so that each digit can be sent individually

2636061 Deferred action type battery, John H Baldwin, 1953-04-21, - acid electrolyte

2637757 Deferred action battery, Milton E Wilke, Burgess, 1953-05-05, -
2640090
                      Battery, Leo E Pucher, William A Cunningham,
                      Willard Storage Battery Co, 1953-05-26
2640090 Battery, Leo E Pucher, William A Cunningham, Willard Storage Battery Co, 1953-05-26, - water activated version i.e. BA-259 of the BB-51/BB-52

2640091 Battery, Leo E Pucher, William A Cunningham, Willard Storage Battery Co, 1953-05-26, -very similar to 2640090 above.

2640863 Deferred action type battery, Grenville B Ellis, Army, 1953-06-02, - zinc-sulfuric acid -lead peroxide.
2648980
                      Apparatus for measuring and recording the
                      direction and velocity of wind, Louvan E Wood,
                      Vernon D Hauck, Bendix Aviation, 1953-08-18
2648980 Apparatus for measuring and recording the direction and velocity of wind, Louvan E Wood, Vernon D Hauck, Bendix Aviation, 1953-08-18, -

This is the classic airplane shaped Fan Anemometer and Wind Vane, but this early version is all mechanically coupled to the display.
Later versions are electrically coupled to the display, see: 2923861

2653179 Primary battery and method of making the same, John H Baldwin, 1953-09-22, - cadmium-acid lead peroxide

2655551 Magnesium-cuprous chloride reserve battery, Grenville B Ellis, Army, 1953-10-13, - "Deferred action batteries of the magnesium water-cuprous chloride type have attained considerable importance as "meterological' or 'one shot' batteries due to their high capacity per unit of weight and volume, their excellent operating characteristics even at low temperatures and their ease of activation with water."
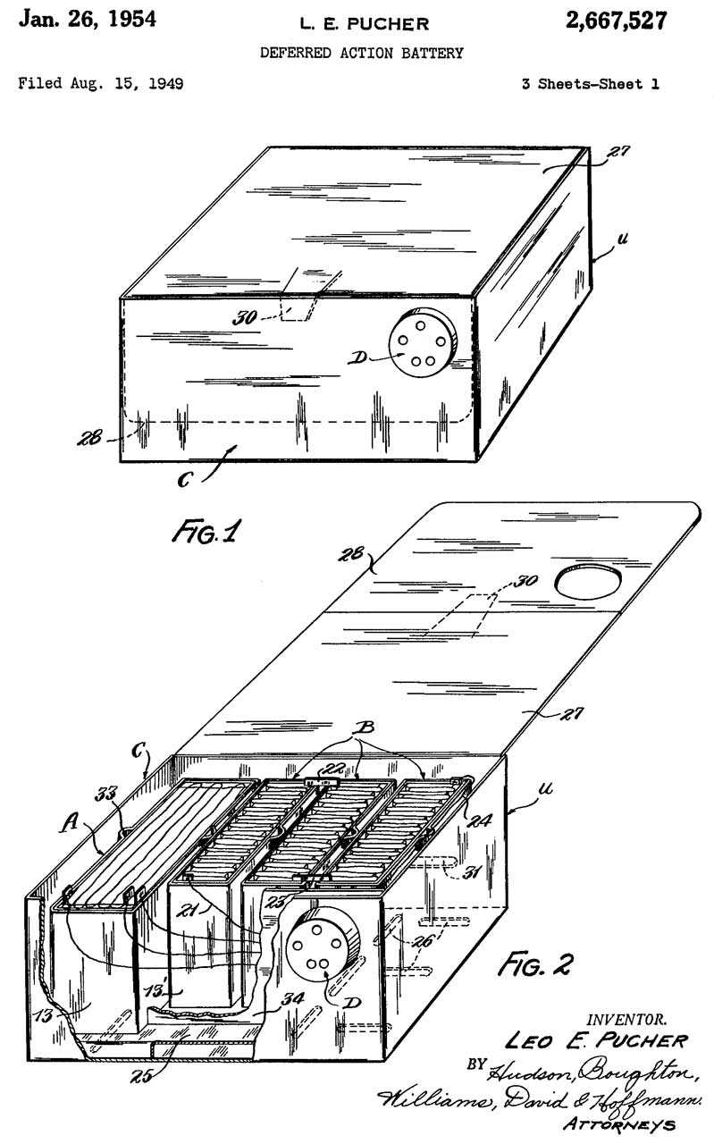
2667527
                      Deferred action battery, Leo E Pucher, Willard
                      Storage Battery Co, 1954-01-26, - water activated
2667527 Deferred action battery, Leo E Pucher, Willard Storage Battery Co, 1954-01-26, - water activated - similar to the BA-380

2674459 Code disk for radio sonde, William D Moehring, Wilcox Gay Corp, 1954-04-06, -

2684395 Electric battery, Melvin F Chubb, Eagle Picher, 1954-07-20, - water activated
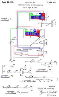
2689342
                      Pressure operated switching device, Goudy Paul R,
                      Kollsman Instr Corp, Sep 14, 1954 2689342 Pressure operated switching device, Goudy Paul R, Kollsman Instr Corp, Sep 14, 1954, 340/870.1, 200/83.00R, 200/81.5, 439/31, 340/870.13, 340/870.16 - uses two barometric elements with different pressure ranges to improve accuracy.

This is a 2 capsule version of the pressure drive system.  I've colored the contacts on the
Aneriod to make the switching more clear.  In this application there's a relay and segment "D" to handle 2 capsules, but in the single capsule version there is neither segment D nor relay.

This is the design that has a problem when used with a constant level balloon.

2695207 Hermetically sealed package, Walter E Windsor, Bendix Aviation, 1954-11-23, 312/31; 220/4.23; 220/323; 206/204; 206/527; 220/4.27; 220/520 - packaging for the humidity sensor (2481728)

2699461 Deferred action battery, Milton E Wilke, Burgess, 1955-01-11, - "...the positive terminal 14 is composed of copper, the depolarizing cathode 16 is of cuprous chloride, the electrolyte-receptive element 18 is of absorbent paper such as blotting paper, the anode 20 is of magnesium, and the negative shield and terminal 22 is of copper."

"Instead of the magnesium, cuprous chloride cell System described the magnesium, silver chloride cell system may be used in which the elements are of the following composition: 14 silver, 16 silver chloride, 18 absorbent paper, 20 magnesium, 22 silver or copper"

2701354 Airborne radiosonde recorder, Bennett Aubert E, Feb 1, 1955, 340/870.1, 346/101, 340/870.26, 340/870.18, 340/870.28, 346/33.00B - airborne receiver/recorder w/o ink  see: Western Union DeskFax & Teledeltos paper

2708745 Telemetering system, Ralph R Chappell, Kenneth E Whitney, 1955-05-17, -

2717309 Radiosonde with projectile means to carry it aloft, Walter H Campbell, 1955-09-06, - rocket is part of the radiosonde, but it separates at altitude and then becomes a dropsonde.

2717370 Transmitting system and method, Charles A Piper, Bendix Aviation Corp, 1955-09-06, - uses Teletype methods so that data from sounding rocket can be directly printed.
2738392
                      Pressure switch assembly, Jr Edwin M Talbott,
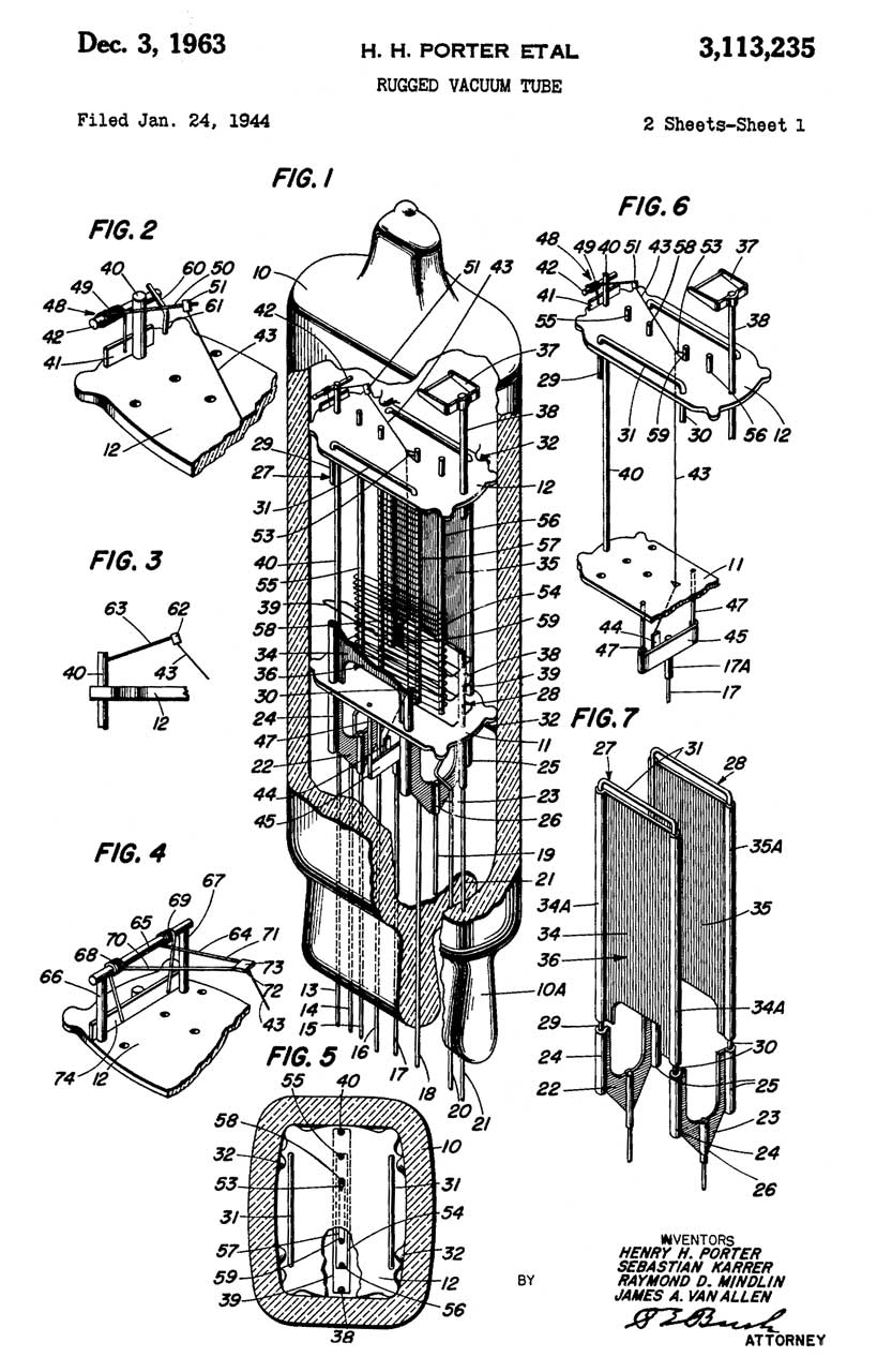
                      Bendix Aviation, 1956-03-13 - Radiosonde
2738392  Pressure switch assembly, Jr Edwin M Talbott, Bendix Aviation, 1956-03-13, 200/83R; 73/384; 367/140; 200/251; 73/1.71; 73/170.28 -
2741921
                      Hypsometer, Jr Walter E Windsor, Sobel Frederick,
                      Bendix Aviation, 1956-04-17 - Radiosonde
2741921 Hypsometer, Jr Walter E Windsor, Sobel Frederick, Bendix Aviation, 1956-04-17, 73/384; 374/156 - Wiki: instrument for measuring height or elevation.

The Aneroid barometer (Wiki) can be used to measure the barometric pressure as part of weather logging and forecasting or used as an altimeter (Wiki).  But at high altitudes (guessing above 30,000 ft) the accuracy of the aneroid barometer is poor.  This invention may have been for very high altitude balloons.

2743413 Voltage regulator, Jr Emil L Johnson, Bendix Aviation Corp, 1956-04-24, - NTC Thermistor based.

2816279 Calibrated electrical telemetering instrument, Bradford K Hawes, GE, 1957-12-10, - in addition to sending the senors data, calibration values are sent every now and then.

2819614 Hygrometer, Sion Elio, Bendix Aviation Corp, 1958-01-14, - "...operates on the principle of heat transfer and electrostriction."  "...indicating the degree of moisture in the at mosphere, for monitoring mixed gases, detecting impuri ties in a gas..."

2829187 Deferred-action battery, Harrison M Mcdonald, Burgess, 1958-04-01, -

2860326 Position indicating device, Charles A Walton, IBM, 1958-11-11, - shaft angle readout, very much like the baro switch.

2883537 Radiosonde transmitter, Robert V Orr, Bendix Aviation, 1959-04-21, 331/96; 331/47; 331/54; 331/65; 455/95 - UHF (403 or 1620 MHz) uses etched tube circuit
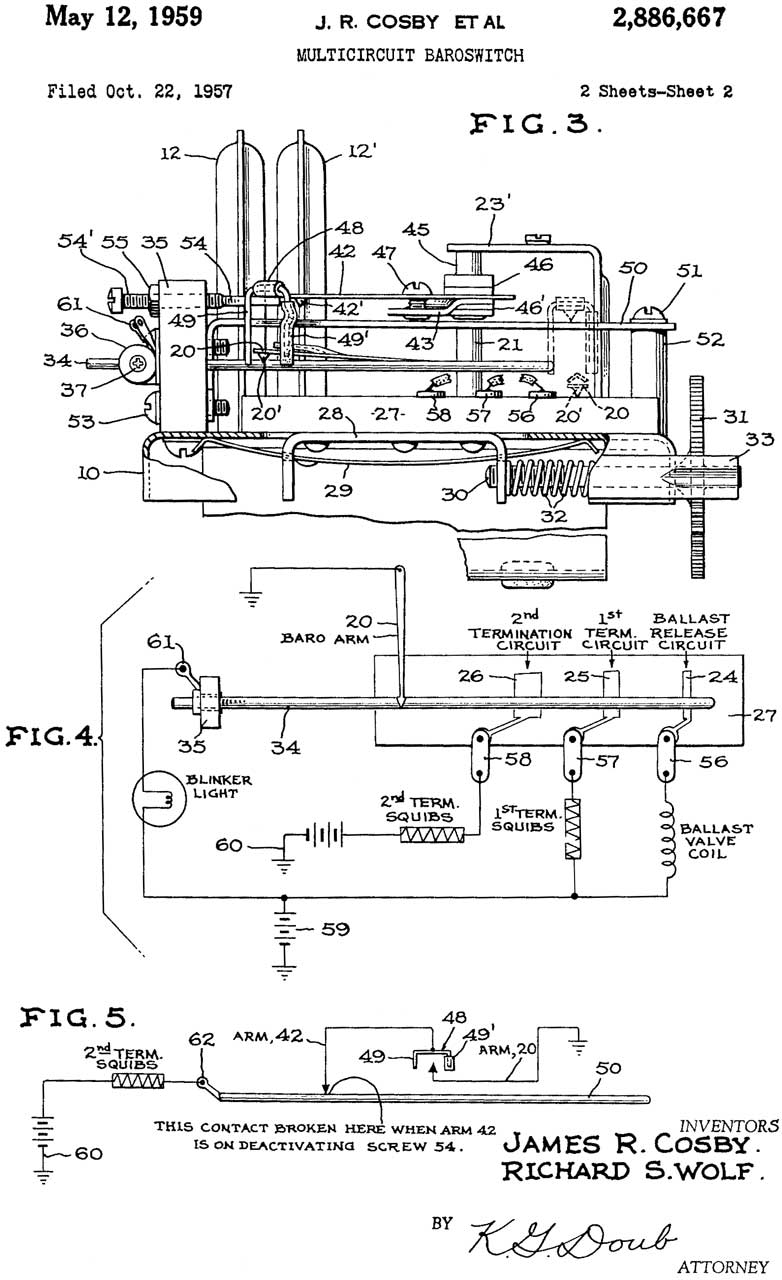
2886667
                      Multicircuit baroswitch, James R Cosby, Richard S
                      Wolf, Bendix Aviation, 1959-05-12
2886667 Multicircuit baroswitch, James R Cosby, Richard S Wolf, Bendix Aviation, 1959-05-12, -
very unusual - "... release of ballast through actuation of ballast control valves or the like, energization of flight termination control circuitry should the unit descend an increment of say 1500 feet while it is ascending to its flight altitude or should it descend a given distance below its flight altitude following a successful launching, energization of signal light circuitry during the ascent and descent periods, ..."

An additional arm is added to the basic patent 2738392 for the new functions.
2877452
                      Telemetering transmitter for a projectile, Allen V
                      Astin (Wiki), Navy, App: 1944-10-07, TOP SECRET;
                      Pub: 1959-03-10
2877452 Telemetering transmitter for a projectile, Allen V Astin (Wiki), Navy, App: 1944-10-07, TOP SECRET; Pub: 1959-03-10, - a radio sonde for bombs or artillery (& rockets) in order to test proximity fuzes.
Cites:
1934726 Modulating system
2277692 Measuring cloud height and thickness
2283919 Art of radiometeorography
2287786 Automatic weather station

Fig 5 Inductive tuned antenna

Fig 6 Capacity tuned antenna

Fig 7 Streamlined

Fig 8 Bomb tail antenna

Fig 13 Transmitter schematic for changes of potential

2923861
                              Controller responsive to wind direction
                              and speed, Rutger B Colt, Bendix Aviation,
                              1960-02-02
2870383
                              Control for apparatus for treating
                              smokestack gases and like effluents,
                              Daniel A Mazzarella, Bendix Aviation,
                              1959-01-20

2923861 Controller responsive to wind direction and speed, Rutger B Colt, Bendix Aviation, 1960-02-02, - The outdoor unit looks like a plane.  uses Autosyn transmitter for wind direction and DC generator for wind speed.

2870383 Control for apparatus for treating smokestack gases and like effluents, Daniel A Mazzarella, Bendix Aviation, 1959-01-20, - details of the "airplane" shaped transmitter assembly.

Name plate on eBay:
Fan Anemometer and Wind Vane
(Generator and Selsyn)
Range: 2 to ???
Power: 100 V 60 Cycles
Date: Jun ????
??? ??? Electric Instrument ????
These range from $300 to $700 for just the outdoor unit in unknown condition.

2619527 Airport wind indicating and warning system, Gray Richard Edmund, International Standard Electric Corp, International Standard Electric Corp, -

2608859 Propeller anemometer, Harcourt C Sontag, Cordero Fidel, Samuel H J Womack, 1952-09-02

2939130 Dipole radio sonde, Jr Ralph O Robinson, Navy, 1960-05-31, - non-rotating rocket proximity fuze
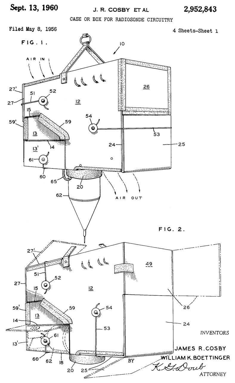
2952843 Case or
                      box for radiosonde circuitry, James R Cosby,
                      William K Boettinger, Bendix Aviation, 1960-09-13,
                      - Radiosonde
2952843 Case or box for radiosonde circuitry, James R Cosby, William K Boettinger, Bendix Aviation, 1960-09-13, 361/690; 340/870.1; 455/128; 361/814; 174/387 - AMT-4 Transmitter

2992120 Telemetering system, Richard H Elsken, 1961-07-11, - frozen food on palletts

3008666 Temperature sonde, John H Kuck, Navy, 1961-11-14, for artillery projectile, thermistor & tubes

3015456 Apparatus for atmospheric sounding and celestial observing, Delbert A Deisinger, 1962-01-02, - Balloon lofts small UAV which is released at high altitude, UAV contains instruments.

3090917 Transmitter for radio-sonde battery potential indications, Bullock Byrell W, Kuck John H, Secretary of the Navy, Filed: Mar 26, 1946, Pub: TOP SECRET, May 21, 1963, 340/870.1, 455/95, 331/144, 340/870.18, 331/177.00R - battery condition causes audio frequency change;

3109607 Inflation of balloon, Vincent E Lally (Wiki) American Bosch Arma, 1963-11-05, -
Lally came up with the Cannibal-loon, a device intended to sent the balloon out of harm's way above the icing level.
3144531
                      Multicircuit baroswitch for telemetering devices,
                      James R Cosby, Bendix Corp, 1964-08-11
3144531 Multicircuit baroswitch for telemetering devices, James R Cosby, Bendix Corp, 1964-08-11, - a complete remaking of 2738392 to get the added functions that were accommodated by adding an arm in patent 2886667.

3183122 Fuel cell, Joseph C White, Schuldiner Sigmund, Navy, 1965-05-11, - porous anode of Nickel-Palladium alloy, Porous cathode, Hydrogen & Oxygen inputs, aqueous electrolyte.

3194067 Meteorological rocketsonde, Salvatore J Grillo, 1965-07-13, -
3283328
                      Sounding balloon and target assembly, Louvan E
                      Wood, Bendix Corp, 1966-11-01
3283328 Sounding balloon and target assembly, Louvan E Wood, Bendix Corp, 1966-11-01, -
see Radar Reflectors below.
Cites:
2463517 Air-borne corner reflector, Chromak Leon, App: 1945-06-30, Pub: 1949-03-08, - corner reflector inside balloon - faster ascent rate than using separate corner reflector.
2560218 Submarine antenna structure, Jr Orrin E Dunlap, RCA, 1951-07-10, - ... reflectors for high frequency directive antennas mounted on submarines.
2770800 Antennas,
2814038 Lightweight antennas, Coleman J Miller, CBS Westinghouse, 1957-11-19, - balloon radome metalized on inside
Cited by:
5838275 Marine personal locator and automatic opening omnidirectional radar retroreflector incorporated therein,
cites 34 prior art patents
2888675 Water borne inflatable radar reflector unit, Martin Co, 1959-05-26, -
3115631 Inflatable reflectors for radio waves, Martin Erwin Herbert Erhard, Dunlop Rubber, 1963-12-24
3671965 Rapid deployment corner reflector, Navy, 1972-06-20 - radar countermeasure
3902176 Atmospheric probe system for passive telemetry, USAF, 1975-08-26 - switched antenna length
4072948 Light weight radar reflector, Army, 1978-02-07 - "An array of eight trihedral corner reflectors arranged to be suspended beneath a balloon such that they aim into the eight quadrants of a three-dimensional coordinate system aligned vertically and equipped with a set of vanes which cause it to rotate when ascending."
4673934 Inflatable radar reflector, Gabb Corp, 1987-06-16 -
5457472 Corner reflector for use in a radar balloon, Baco Ind, 1995-10-10 -
3353100 Package
                      for radiosonde, John N Collins, Friedman Maurice,
                      (prior to joining Viz), 1967-11-14
3353100 Package for radiosonde, John N Collins, Friedman Maurice, (prior to joining Viz), 1967-11-14, -

3356537 Foamed silver electrode and a method for preparing it, Joseph C Duddy, ESB Inc, 1967-12-05, -

3432350 Sea water battery, Burton J Wilson, Navy, 1969-03-11, - "A Sea water battery having a succession of cells which with the exception of the first are closed to influx of ambient sea water on immersion of the battery and in operation of the battery are opened in a delayed cell sequence."  multiple squibs, "sea-based devices such as sonar buoys and light beacons"

3497393 Sea water activated battery, Robert H Dreisbach, Roderick G Bergstedt, Dale W Siegelin, Navy, 1970-02-24, - plates being made of magnesium and of silver chloride, runs in excess of two months,
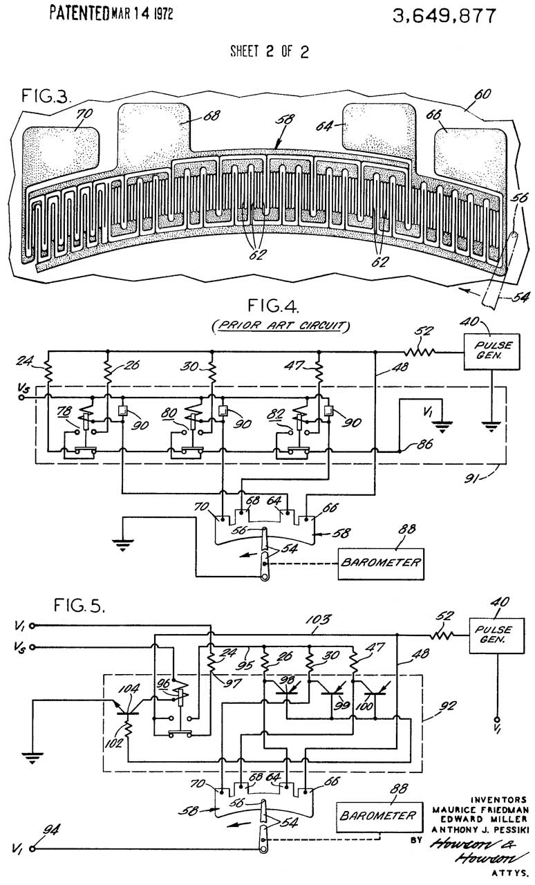
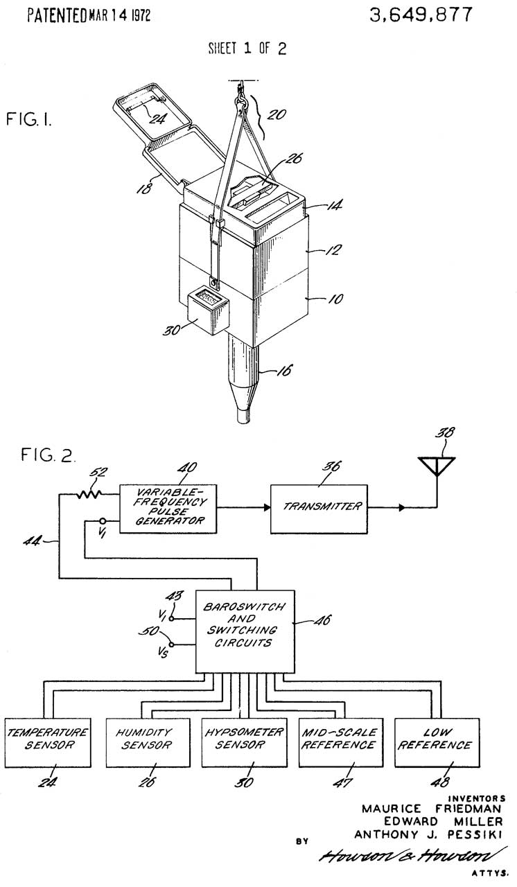
3649877
                              Radiosonde apparatus and switching
                              circuits suitable for use therein, Maurice
                              Friedman, Edward Miller, Anthony J
                              Pessiki, Viz Manuf, 1972-03-14
3649877
                              Radiosonde apparatus and switching
                              circuits suitable for use therein, Maurice
                              Friedman, Edward Miller, Anthony J
                              Pessiki, Viz Manuf, 1972-03-14

3649877 Radiosonde apparatus and switching circuits suitable for use therein, Maurice Friedman, Edward Miller, Anthony J Pessiki, Viz Manuf, 1972-03-14, -
24: Temperature
26: Humidity
30: Hypsometer (Wiki) - pressure type for better high altitude adduracy (see W-T altimeters for high altitudes)
47: Mid-scale reference
48: low reference

3781715 Radiosonde meteorological data oscillator and pulse stretcher, M Poppe, M Friedman, Viz Man, 1973-12-25, - transistor circuit, can combine two parameters like temperature and humidity.

3781893 Antenna for weather balloon, M Poppe, M Friedman, Viz Man,1973-12-25, - for LORAN-C and/or Omega

3805256 New temperature sonde, T Pepin, Navy, 1974-04-16, - Thermistor,

4481514 Microprocessor based radiosonde, John M. Beukers, Christian B. Williams, Viz man (Beukers Labs), 1984-11-06, -

4754283 Codeless GPS sonde, Clarence W. Fowler, Tracor, 1988-06-28, - a way to process the RF part of GPS and transmit it on 403 MHz.  A ground based receiver does the same thing.  The difference is a Doppler signal that can be processed, like for a Transit satellite (Wiki).

4907449 Meteorological data encoder for measuring atmospheric conditions, A.I.R., Inc., Mar 13, 1990, 73/170.28, 73/724, 374/170 -

4112753 Meteorological measuring apparatus, David B. Call, Sep 12, 1978, 73/170.28, 340/870.1 -
"
A radiosonde is conformable for use either as a disposable sonde in which the device will ascend vertically to a predetermined altitude and when the balloon from which it is suspended bursts at a maximum altitude the sonde will automatically flip over and autogyrate at a reduced rate of descent back to earth; or may be used as a tethered radiosonde in which it is suspended from a tethered balloon in such a way as to be freely rotatable about a substantially horizontal axis. In either version, the sonde is characterized by a generally helicoidal propeller construction having thermistor-receiving end tips and whereby the propellers will impart sufficient spin or rotation to the sonde as to cause the desired degree of aspiration to provide accurate wet bulb psychometric measurements; and further the propeller construction is such as to permit freefall at a reduced controlled rate of speed without the assistance of a parachute."

4445120 Radiosonde, David A. Rosenthal, Navy, 1984-04-24, - method of triangulation for determination of altitude

4480334 Radiosonde housing, John M. Beukers, Christian B. Williams,  Viz man (Beukers Labs),1984-10-30, -

4543836 Modular cup-type anemometer, David B. Call, Atmospheric Instrumentation Research, Inc., Oct 1, 1985, 73/861.85, 416/197.00A, 416/212.00A -

4754283 Codeless GPS sonde, Clarence W. Fowler, Tracor Aerospace, 1988-06-28, 342/461; 342/104; 342/352; 375/141; 380/34 -0 - uses 403 MHz telemetry to send data and GPS IF.
Vaisala RD93 GPS Dropsonde square cone
                      parachute 5149019 Balloon parachute, University Corp for Atmospheric Research (UCAR), 1991-09-30, -

8825232 Systems and applications of lighter-than-air (LTA) platforms, Space Data Corporation, Sep 2, 2014, 701/4, 244/128 - While about balloon control it seems to be a way to provide internet.

11845527 Atmospheric measuring techniques with balloons having venting system that vents gas with diminished balloon elasticity, Andrey Sushko, John Dean, Joan Creus Costa, Paige Brown, Windborne Systems, 2023-12-19 - Long duration balloons, one hit UA1093 (Wiki), Scott Manley (X).

20050173590 Radiosonde system, radiosonde system receiver and signal processing method in a radiosonde receiver, Henry Andersson, Juhana Jaatinen, Jussi Akerberg, Vaisala Oy, 2008-04-15, - 

Vaisala Oy US patents

20100212925 Lightning directing system, John S. Canham, Northrop Grumman, 2011-03-29, - a dreopsonde (note: direction NOT detection!

Manuals

Radio Nerds: List of ML-numbers and manuals for some of them -
French: Meteophysique: Sonde ML-659-V2 USA -

TM 11-420 Weather Balloon Distance Tables
TM 11-421 Cloud Ceiling Projectors ML-121, ML-331/TM
TM 11-422  Meterological Station An/PMQ-1
TM 11-423 Surveying Equipment ML-* and MT-*
TM 11-424 Meterological Equipment ML-
TM 11-425 Barographs ML-3-*, ML-563/UM
TM 11-426 Thermographs ML-77-, ML-277
TM 11-427 Barometers ML-102-*, ML-316/TM
TM 11-428 Barometers ML-2-*, ML-48-*, ML-512/GM
TM 11-429 Wind Equipment SCM-20 and AN/GMQ-1
TM 11-487G (pdf) Directory of signal Corps Equipments; Meteorological Equipment; April 1951 -

Chapter 1 PRINCIPAL ITEMS OF METEOROLOGICAL EQUIPMENT
AMQ-2 aircraft mounted weather station records: Temperature, Humidity, Pressure, Air Speed
AMT-1 balloon mounted: ML-351/AM Ventilation Duct, ML310A/AMT-1 or ML-310B/AMT-1 Radiosonde Modulator, T-49C/AMT-1 Radiosonde Transmitter, 72.2 MHz, BA-67, BB-208, TM 11-2430
AMT-2 balloon mounted: ML-3100/AMT-1 or ML-310E/AMT-1 Radiosonde Modulator, T-99/AMT-2 Radiosonde Transmitter, 403 MHz, BA-259, TM 11-2430
AMT-3 dropped from aircraft: 3.135 MHz,  BA-67,
AMT-4 balloon mounted: MD-104/AMT-4 Radiosonde Modulator, T-93/AMT-4 Radiosonde Transmitter, ML-418/AMT-4 Humidity element, ML-419.AMT-4 Temperature element, 1680 MHz, BA-259 & BB-208,
FMQ-1 Radiosonde Receptor: 72.2, 403
FMQ-2 Radiosonde Receptor: 403 Mhz
AN/GMD-1 tracking receiver: 1620 MHz
AN/GMQ-1 Wind Equipment: displays speed and direction
AN/GMQ-2 Ceilometer: fixed vertical beam, tilting detector.
AN/GRD-1A Static Direction Finder: Lightening, crossed loops
AN/TMQ-1 Meteorological Station: Theodolite (ML-47, similar to W-K) & Tripod ML-78), tent, wind speed & direction, Ceiling light projector (TMQ-2), plotting tables, work table, Hydrogen generator (TMQ-3),
AN/TMQ-4 Meteorological Station: Mercury barometer ML-2 & case ML-48), Recording barograph (ML-3), Thermometer (ML-4 or ML-5), Aneroid barometer (ML-9), Recording hygrograph (ML-16), Wind speed & direction (ML-80), Anemometer (ML-62), Wind Vane (ML-73), wet bulb thermometer rotor (ML-74), Recording thermograph (ML-77, ML-277), Anemometer (ML-80: Friez Baltimore), Barometer (ML-102 similar to W&T), Recording wind speed & direction (ML-103), Timing & Telephone (ML-110), Wind direction indicator (ML-117), Clinometer (ML-119), Ceiling Light Projector (ML-121), Weather Panel (wind speed & direction + clock: ML-143; ML-173), Wind Recorder (ML-144; ML-174), Wind Intensity Transmitter (ML-151), Wind Direction transmitter (ML-152), Theodolite permanent pier (ML-180), Weather Panel (wind speed & direction: ML-183), Hydrogen generator (ML-185), Funnel Rain gauge (ML-217), Sling Psychometer (ML-244),  Pilot Balloon (ML-307), Graphing Board (ML-312), Aircraft mounted Psychrometer (ML-313), Psychrometric Circular sliderule (ML-322), Set of 3 Barometers (ML-330), Barometer (ML-331), Thermometer (ML-352, ML-353),
SCM-1 Meteorological K-53 Truck: TM 11-2409,
SCR-658 Balloon tracking RDF: 403 MHz, TM-1158A
TS-407/AMQ-2 Aerograph Calibration Set;
TS-538/U test the operation of radiosonde equipment
Chapter 2 Miscellaneous Meteorological Equipment
TM 11-2400 (pdf) Generator ML-185-A (Hydrogen)
TM 11-2401
TM 11-2402
TM 11-2403 ML-310*/AMT-1 Radiosonde Modulator u/w AMT-1, 1948 -or- Radioscope Receptors AN~FMQ-1 and AN/FMQ-1A
TM 11-2403 FMQ-1 R-17* Radiosonde Receiver & Recorder (AM-7, RD-3, TS-29)
TM 11-2404 Operating Instructions for Radiosondes AN/AMQ-1, AN/AMQ-1A, AN/AMQ-1C, and Radiosonde Receptor AN/FMQ-1, 1947
TM 11-2405 (pdf) Meteorological Balloons, War Department, 24 April 1944
TM 11-2406 Meteorological Station AM/TMQ-1
TM 11-2407 Aerograph Equipment AN/AMQ-3
TM 11-2408 Aerograph Equipment AN/AMQ-2
TM 11-2409 Mobile Meteorological Station SCM-1
TM 11-2410 (pdf) Pilot Balloon Tables (30-gram)
TM 11-2411 Pilot Balloon Tables (100-gram)
TM 11-2412 PMQ-4 Portable Met Set, in CY-1010A
TM 11-2413 (1944, 1945, pdf) Hydrogen Generator ML-303/TM and Hydrogen Generator Set AN/TMQ-3
TM 11-2414 Instruction Book for Weather Panel ML-143-A, ML-143-B, ML-143-C, ML-143-D, Wind Recorder ML-144-A, ML-144-B, ML-144-C, ML-144-D, Wind Intensity Meter ML-151-A, ML-151-B, ML-151-C, ML-151-D...
TM 11-2415 (pdf) Psychrometer Equipment ML-313/AM
TM 11-2416 Ceiling Light Set AN/TMQ-2
TM 11-2417 Thermometers ML-4 and ML-5, Psychrometers ML-24and ML 224, Shelters ML-41, ML-41-A, and ML-41-B
TM 11-2418 Plotting Set AN/GMQ-3
TM 11-2419 Ceilometer Equipment AN/GMQ-2
TM 11-2420 Wind-Measuring Set AN/MMQ-1
TM 11-2421 (pdf) Barometers (Mercury:) ML-330/FM (Aernoid:) ML-331/TM ML-332/TM ML-333/TM (See Barometers & Altimeters)
TM 11-2422 Psychrometric Calculator ML-322/UM
TM 11-2423 Clinometers ML-119-C, ML-119-D, ML-119-E, and ML-119-F
TM 11-2424 Instructions for Modulated Audio Frequency Radiosonde Observations (WBAN Manual); War Department, Feb 1945
TM 11-2425 Meteorological Station Set AN~TMQ-4
TM 11-2426 Meteorological Station Set AN~TMQ-4
TM 11-2427
TM 11-2428 Aerographic Calibration Set TS-407/AMQ-2; War Department, 26 Oct 1945
TM 11-2429 Graphing Board ML-312/TM
TM 11-2430 Radiosonde AN~AMT-1, and AMT-2
TM 11-2431 Radiosonde AN~AMT-1, and AMT-3
TM 11-2432 Radiosonde AN~AMT-1, and AMT-4 (1680 Mhz)
TM 11-2433 Radiosonde AN~AMT-2A
TM 11-2434 Radiosonde Receptor AN~FMQ-2
TM 11-2434 FMQ-2 R-228 Radiosonde Receiver, 390-415 Mc
TM 11-2435
TM 11-2436 TMQ-5A Radiosonde Recorder in CY-1390A/ Cabinet
TM 11-2437
TM 11-2438-20 Organizational Maintenance Wiresonde Set AN~UMQ-4
TM 11-2439
TM 11-2440 Radiosonde Test Set U/W AMT-4
TM 11-5021 GRR-1 Radiosonde Test Receiver
TM 11-6660-204-25P Organizational, DS, GS, and Depot Maintenance; Repair Parts and Special Tools Lists; Radiosonde Recorders AN/TMQ-5, AN/TMQ-5A, AN/TMQ-5B, and AM/TMQ-5C; Department of the Army 28 August 1970,
TM 11-6660-206-nn GMD-18 RAWIN Tracking Set, 1660-1700 Mc
TM 11-6660-218-12 (pdf) Operator's and OM Manual; Meteorological Station, Manual;AN/TMQ-4 (NSN 6660-00-537-9195);25 May 1967 - T-435/AMT-4 & MD-210/AMT-4 Radiosonde, ML-608/AM Lighting Unit (3V water immersion),
TM 11-6660-219-34 (pdf) DS & GS Maintenance Manual; Radiosonde Baseline Check Sets; AN/GMM-1 & AN/GMM-1A; (NSN 6660-00-527-6392) with Radiosonde Test Set TS-1348/GMM-1A (NSN 6625-00-924-0327); Army  Dec 1971 -
"Radiosonde Set AN/AMT-4(*) represents Radiosonde Sets AN/AMT-4A, AN/AMT-4B, AN/ AMT-4C, and AN/AMT-4D.
Radiosonde Set AN/ AMT-12(*) represents Radiosonde Sets AN/AMT12 and AN/AMT-12A."
TM 11- 6660-220-nn AMT-12 Radiosonde, 1660-1700 Mc T-652/, MD-317
TM 11- 6660-228-nn AMT-4 Radiosonde, 1680 Mc T-435A/ & MD-210B
TM1-6625-407-14 Operator's Organizational, Direct Support, and General Support Maintenance manual, Frequency Standard TS-65C/FMQ-1 and TS-65D/FMQ-1, NSN 6625-00-649-4279, October 1973. - Tuning Fork audio generator with output frequencies of: 10, 20, 40, 60, 80, 100, 120, 140, 160, 180 and 190 Hz as negative going pulse to calibrate the AN/TMQ-5(*) recorder.
TM 750-5-3 Meteorological Equipment Data Sheets
Lists equipment with the following designations:
AMQ-23
AMT-4, -12
GMD-1
GMM-1, -7
GMQ-11
GVH-1
PMQ-1, -3, -4, -6
TMA-1
TMQ-3, -5, -19, -22, -34
TPS-41
UMQ-4, -7
AS-262/GMD-1
CP-164, -223
ML-4, -5, -7, 17, -24, -48, -51, -54, -64, -74, -77, -79, -102, -122, -132, -145, -155, -156, -157, -158, -159, 160, -161, -162, -180, -187, -188, -193, -214, -224, -247, -303, -305, -307, -312, -332, -333, -433, -462, -474, -475, -512, -513, -514, -536, -537, -541, -556, -566, -573, -577, -594, -605, -607, -1309
RO-2/GMQ
S-101
TA-65, -1348

James A. Van Allen (Wiki) Proximity Fuze & Cosmic Ray Patents

The first two patents below relate to Cosmic Rays (Wiki)  but the second two relate to the Proximity Fuze (see: China Lake Patents) but the main one is titled Radiosonde as a cover story.  It does look a little like the T-435A/AMT-4B Transmitter (see above).
2573823
                      Altimeter actuated by cosmic rays, John W B
                      Barghausen, James A Van Allen, 1951-11-06

2573823 Altimeter actuated by cosmic rays, John W B Barghausen, James A Van Allen, 1951-11-06, - looking for coincidence (Wiki)



2647991 Projectile radio sonde, Howard E Tatel, Edgar W Trainer, Navy, 1953-08-04, - cord wood construction for rocket or ram jet telemetry.
2744697 Cosmic
                      ray altimeter, James A Van Allen, 1956-05-08
2744697 Cosmic ray (Wiki) altimeter, James A Van Allen, 1956-05-08, - shielded and unshielded GM tubes on rocket

Van Allen radiation belt (Wiki)


2931897
                              Radiosonde, Merle A Tuve (Wiki), James A
                              Van Allen, App: 1943-08-10, (TOP SECRET
                              for 17 years) Pub: 1960-04-05
2931897
                              Radiosonde, Merle A Tuve (Wiki), James A
                              Van Allen, App: 1943-08-10, (TOP SECRET
                              for 17 years) Pub: 1960-04-05
2931897
                              Radiosonde, Merle A Tuve (Wiki), James A
                              Van Allen, App: 1943-08-10, (TOP SECRET
                              for 17 years) Pub: 1960-04-05

2931897
                              Radiosonde, Merle A Tuve (Wiki), James A
                              Van Allen, App: 1943-08-10, (TOP SECRET
                              for 17 years) Pub: 1960-04-05

2931897 Radiosonde, Merle A Tuve (Wiki), James A Van Allen, App: 1943-08-10, (TOP SECRET for 17 years) Pub: 1960-04-05, - This is really a proximity fuze.
See China Lake Patents
2934287 Sonde,
                      John W Ault, Filed: 1946-03-26 W.W.II, Pub:
                      1960-04-26
2934287 Sonde, John W Ault, Filed: 1946-03-26 W.W.II, Pub: 1960-04-26, -
"The present invention relates to sondes and specifically to an arrangement including a wave-signaling circuit used in conjunction with light-responsive and amplifying circuits for providing modulated wave signals, these circuits being installed in a test projectile and the signals being employed in the study of the behavior of proximity fuzes.

A representative proximity fuze is disclosed in the copending patent application of Joseph E. Henderson et al., Serial No. 568,020, filed in the U.S. Patent Office on December 13, 1944, entitled "Fuze” and assigned to the same assignee as the instant application."

3064578 Light-sensitive proximity fuze, Joseph E Henderson, Lawrence R Hafstad, Richard B Roberts, Filed: 1944-12-13 W.W.II Top Secret 18 years, Pub: 1962-11-20, -

2939127 Radiosonde for release from aircraft, Graw Josef, Graw Messgerate Dr GmbH, 1960-05-31, - rapid rate of decent so that a jet aircraft can receive all the data.
2996008
                      Projectile nose structure, James A Van Allen,
                      Robert G Ferris, Sec Navy, App: 1944-09-21.
2996008 Projectile nose structure, James A Van Allen, Robert G Ferris, Sec Navy, App: 1944-09-21. (Top Secret 17 years) Pub: 1961-08-15, -

3064194 Radio sonde, Jules H Sreb, Navy, App: 1945-04-10, Top Secret, Pub: 1962-11-13, -used to measure the spin rate of artillery shell.

3113235
                              Rugged vacuum tube, Henry H Porter, Karrer
                              Sebastian, Raymond D Mindlin, James A Van
                              Allen, App: 1944-01-24, (TOP SECRET 19
                              years), Pub: 1963-12-03, - 3113235
                              Rugged vacuum tube, Henry H Porter, Karrer
                              Sebastian, Raymond D Mindlin, James A Van
                              Allen, App: 1944-01-24, (TOP SECRET 19
                              years), Pub: 1963-12-03, -
3113235 Rugged vacuum tube, Henry H Porter, Karrer Sebastian, Raymond D Mindlin, James A Van Allen, App: 1944-01-24, (TOP SECRET 19 years), Pub: 1963-12-03, -"Mousetrap Spring"

A key design element of the proximity fuze for artillery shells.

Additional Proximity Fuze Patents

2959128 Control
                      device, John R Boykin, Sec of Navy, App:
                      1945-06-04(TOP SECRET) Pub:1960-11-08
2959128 Control device, John R Boykin, Sec of Navy, App: 1945-06-04(TOP SECRET 15 years)  Pub:1960-11-08, -

To withstand the high wind speeds and be stable.  See 3001476 for related fuze circuits.

Fig 1 & Fig 2 show loop antennas whose impedance changes when near a conductor.

Fig 3 see 3001476 below.
3001476
                      Magnetic fuze, John R Boykin, App: 1945-06-04 (TOP
                      SECRET 26 years), Pub: 1961-09-26
3001476 Magnetic fuze, John R Boykin, App: 1945-06-04 (TOP SECRET 26 years), Pub: 1961-09-26, -

Fig 1 Winding (2) creates constant magnetic field bowered by battery (3).  The winding (2) is also AC coupled to the grid (9) of tube (6).

Fig 2 permanent magnet (21) in nose.  Loop picks up Eddy currents induced in loop (22).
3063345 Method
                      and apparatus for exploding bombs, Ralph N Harmon,
                      John R Boykin, Westinghouse, App: 1943-05-25 (TOP
                      SECRET 19 years) Pub: 1962-11-13,
3063345 Method and apparatus for exploding bombs, Ralph N Harmon, John R Boykin, Westinghouse, App: 1943-05-25 (TOP SECRET 19 years) Pub: 1962-11-13, -

Instead of having a transmitter in the bomb, it's located in the plane.
1. saves destroying a transmitter in every bomb,
2. allows adjusting the trigger altitude from the plane by adjusting the width of the transmitter pulse.
3166015
                              Radio frequency proximity fuze, Merle A
                              Tuve, Richard B Roberts, App: 1943-01-06,
                              TOP SECRET, Pub: 1965-01-19
3166015
                              Radio frequency proximity fuze, Merle A
                              Tuve, Richard B Roberts, App: 1943-01-06,
                              TOP SECRET, Pub: 1965-01-19
3166015
                              Radio frequency proximity fuze, Merle A
                              Tuve, Richard B Roberts, App: 1943-01-06,
                              TOP SECRET, Pub: 1965-01-19

3166015 Radio frequency proximity fuze, Merle A Tuve, Richard B Roberts, App: 1943-01-06, TOP SECRET 22 years, Pub: 1965-01-19

Citations
Pat
Title
Inventor
Priority
Pub
Assignee
GB289195A Improvements relating to the assembly of units in radio receivers and other electrical apparatus
1927-02-11 1928-04-26 British Thomson Houston Co Ltd
1769203 Helicopter John P Buckley 1929-04-30 1930-07-01 John P Buckley
2022517 Radio echo altimeter Franklin G Patterson 1928-11-17 1935-11-26 Gen Electric
GB453567A Improvements in mechanical fuzes for projectiles
1935-03-31 1936-09-14 Mefina Sa
2060198 Echo torpedo detonator
sends Pings and listens for return
Jr John Hays Hammond 1932-11-28 1936-11-10 Jr John Hays Hammond
AT149723B
Air defense missile.
1936-04-15 1937-05-25 Hugo Ing Gutmann
2137598 Artillery projectile
Optical proximity fuze

1935-04-02 1938-11-22 Ericsson Telefon Ab L M
2176469A
Steering device responsive to radio signals
similar to the A-N
Low-frequency radio range (Wiki)

1936-01-23 1939-10-17 Csf
2255245 Firing device
optical range finder-fuze
Clyde B Ferrel 1938-04-26 1941-09-09 Ferrel Ordnance Inc
2341351 Aerial mine
sound activated bomb hung from balloon
Barkley Joseph Amos 1941-05-15 1944-02-08 Barkley Joseph Amos
2403567 Electrically energized fuse
"Reserve Battery"
Jr Nathaniel B Wales 1942-01-13 1946-07-09 Jr Nathaniel B Wales

269314
                              Radio proximity fuze, Russell H Varian,
                              Sperry, App: 1941-07-08, TOP SECRET for 25
                              years, Pub: 1966-08-30
269314
                              Radio proximity fuze, Russell H Varian,
                              Sperry, App: 1941-07-08, TOP SECRET for 25
                              years, Pub: 1966-08-30

3269314 Radio proximity fuze, Russell H Varian, Sperry, App: 1941-07-08, TOP SECRET 25 years, Pub: 1966-08-30, -
Two methods of Proximity triggering plus guidance.  In principle can be used for AA, bombs or rockets.
Varian was a pioneer in UHF and higher frequency high power tubes.  This patent made use of a Hi power UHF tube.

This patent is mentioned in RWR Ref 3 -

Mentioned in body of patent, not prior art, but part of system
2162698 Bomb sight, Earl W Chafee, Murtagh Hugh, Sperry Gyroscope, 1939-06-20, -

2242275 Electrical translating system and method, Russell H Varian, Stanford, 1941-05-20, - see RWR Early Radar Patents


2414103 Apparatus for controlling missiles in flight, Paul B Hunter, Sperry Gyroscope, App: 1941-07-08, (SECRET) Pub: 1947-01-14, -
Figures very similar to 3269314.  It's the guidance part of  3269314 without the fuzing.

Radar Reflectors (Roswell Connection)

The Pilot Balloon theodolite main function is to track a weather balloon in order to determine the wind direction and speed at the various elevations as the balloon rises.  There are some problems such as when you can not see the balloon because of clouds or darkness (a small flashlight lamp + battery was tried as a solution, but I don't know how well it worked).

A solution to the problem was to use the SCR-584 RADAR (Wiki) that was already fielded in many war zones for pointing anti-aircraft guns.  But RADAR can not track a balloon, it needs some type of reflector.  The ML-307 was designed to reflect the 10 cm wavelength RADAR signals allowing it to automatically track a balloon as it rises.  These Weather RADar WINd Targets were called RAWINs.

The ML-307  RAWIN is made of balsa wood and gets destroyed when it comes back to the ground, so there was not a "return for reward" marking on it.  This is the source of the hieroglyphics markings discovered at the Roswell UFO crash sight.  The garment company that made the reflectors used a tape that they had on hand to reinforce the construction and it happened to have poorly printed flower designs.  This is covered in a chapter of the book: UFO Crash at Roswell: The Genesis of a Modern Myth edited by Benson Saler

MX-138/A Radar Corner Reflector

This is for use on an inflatable life raft or possibly a larger vessel. When collapsed it is less than 2" diameter by less than 26" long.  This is too long to fit into the pilot's one man life raft pack that has a maximum length of 15".  The MX-137/A was made shorter to fill that role.  If you know which came first and/or the frequencies of the search RADARs let me know.

Fig 1  The reflector is made of woven metal mesh.
MX-138/A Radar
                      Corner Reflector
Fig 2
MX-138/A Radar
                      Corner Reflector
Fig 3
MX-138/A Radar
                      Corner Reflector
Instructions
To Erect
MX-138/A RADAR Corner Reflector
1. Secure loose end of ten foot securing line to boat.
2. Remove chafing covers from each end; insert hub
in only one section of oar handle and twist until
snap buttons engage.  Stand oar handle upright
in boat.
3. Carefully unwrap wire mesh from around metal
arms.  Shake and pull gently to loosen arms
from each other.
4. Unfold arm to which this tag is attached and
hold as far downward as possible.
5. Pull down the two arms with red dots and hold
them at right angles to the oar handle.
6. Holding these three arms as directed above, care-
fully unfold the arm to which the tie-cord is
attached.  This last arm will spring past a cen-
tral position to extend downward at an angle
of 45* from the oar handle.  Be careful.  DO
NOT FORCE.
7. Connect tie-cord between two lower arms.  Re-
move oar handle section from hub and replace
through loop in tie-cord.
8. Carefully pull and form mesh fabric to shape into
smooth flat surfaces at right angles to each other.
9. Add second section of oar handle to give a
height of about 4 feet.  Step mast through grom-
met into sleeve on bottom of boat.
10. Slip rubber collar, furnished with oar, over oar
handle.  Push up tight against underside of grom-
met to prevent mast from working out of sleeve.
11. Proper height of reflectgor for air-search is about
four feet, but when surface vessel is sighted add
all available extra sections of oar handle and
hold reflector as high as possible.  DO NOT
WAVE REFLECTOR.
12. Use of this device will greatly Increase probabil-
ity of pickup by patrol craft.  Its effectiveness
depends on the accuracy of the rightangled
corners.  Do not tear, wrap, or distort them.
13. Use all available visual aids - smoke, mirror,
and sea marker - when friendly craft are in sight
                                                                 EB 2051
Fig 4 Tube that couples to oar section with 2 push down pins.
Tube OD: 1.169"
Pins OD: 0.175"
Would fit an oar section with ID: 1-3/16"
That had 3/16" holes for the two spring loaded pins.

MX-138/A Radar
                      Corner Reflector


2463517 Airborne Corner Reflector, L. Chromak, App: 1945-06-30, W.W.II, Pub: 1949-03-08, 342/8 244/24 52/DIG.10 446/220 52/2.26 244/31 - inside balloon

2419549 Radio reflecting and low drag tow target, John W Griesinger, Goldstein Hymen, 1947-04-29, 273/360; 244/153R; 342/9 -

2452822 Reflector, James M Wolf, Sec of War, App: 1944-04-28, W.W. II Pub: 1948-11-02, 342/7; 359/529; 343/916 - carried flat and assembled by folding and unfolding.

2475633 Folding corner reflector, Henry D Morris, Jr Conrad H Zierdt, 1949-07-12, 342/8; 359/529 - an improvement on chaff

2498660 Collapsible multicorner reflector for ultra high frequency radiant energy, Francis W Dunmore, Lyons Harold, 1950-02-28, 342/8 - for use with radiosonde

2534716  Inflatable radar reflector buoy, Emmett L Hudspeth, John P Nash, Navy, App: 1945-10-08, W.W. II, Pub: 1950-12-19, 441/20; 52/2.21; 343/709; 403/176; 342/8; 343/915 -

2576255 Reflecting fabric, Emmett L Hudspeth, John P Nash, Sec of Navy,1951-11-27, 342/8 66/202 - to provide collapsible antenna/reflector units

2746035 Radar reflector, Virginia T Norwood (Wiki), Army, 1956-05-15, 342/7 - "In order to utilize fully, all of the reflective corners, the reflector should be permitted to rotate or tumble freely in all directions. This can be accomplished by providing gimbals 12 or universal joints..." - designed for weather balloons and resulted in discovering high-altitude winds.

2778010 Reflector target, Leonard Nathaniel Nelson, 1957-01-15, 342/8 - for life boats

UMQ-4 Wiresonde

Sensors for temperature and humidity are lofted by a captive Kytoon (Wiki: portmanteau of kite and balloon).
The RL-156/UMQ-4 Reeling Machine holds 2,000 feet of 3-conductor wire.

What instrument reads & records the temperature and humidity? 
There is no barometer/altimeter lofted so altitude is determined by the cable footage counter and inclinometer being used to calculate the instrument height.

Aircraft Safety

Safety Deflation Device for Large Captive Balloons, Daniels, 1958 (1520-0477-1520-0477-40_2_53.pdf) - requires using a 4-wire cable instead of the stock 3-wire cable. 
There is a safety concern if the cable breaks allowing the Kytoon to float around at altitudes where aircraft may crash into it.  One way to mitigate that is to have a battery, relay and hot wire that can release the gas from the balloon that is activated if the cable breaks. 

There are more modern balloon deflators that compare the GPS position to a limit and deflate if the balloon violates the boundaries.

Kytoon Operation

I'm thinking about the Kytoon as a way to loft an antenna that could be longer than that of a tethered balloon.

I'm guessing that the Kytoon has enough lift near the ground to get up quite high without any wind.  But when wind is encountered the lift rate will increase and the maximum altitude will increase.  If the wind then stops I expect the Kytoon will descend and if not reeled in possibility all the way to the ground.  For this case as the cable is reeled in the weight being carried by the Kytoon is lowered and at some point it will behave the same as a tethered balloon.
RL-156/UMQ-4
                    Reeling Machine
The RL-156/UMQ-4 Reeling Machine holds 2,000 feet of 4-conductor wire.

Manuals

TM 11-2438-10 Operator's Manual
TM 11-2438-20 Org Maintenance Manual
TM 11-2438-35 Field and Depot Maintenance Manual

Patents

2431938 Kite
                      balloon, Domina C Jalbert, App: 1944-04-15,
                      W.W.II, Pub: 1947-12-02, - Kytoon
2431938 Kite
                      balloon, Domina C Jalbert, App: 1944-04-15,
                      W.W.II, Pub: 1947-12-02, - Kytoon 2431938 Kite balloon, Domina C Jalbert, App: 1944-04-15, W.W.II, Pub: 1947-12-02, - Kytoon


3229517 Aerological mapping arrangement, Smith Charles Arthur, 1966-01-18, - for weather station - instruments in wing like structure

Area I Inc Altius-600 drone

Learned about this from the YouTube Why Fly a Business jet Into a Hurricane Ref 14.  It's a UAV that can be dropped from an aircraft sonobuoy tube.  The company that developed it, AREA I Inc. has been purchased by Anduril which is developing the Altius for military uses.


D317003 Aircraft, Alex E. Tribe, Marion R. Bottorff, Ronald G. Cottrell, Richard L. Ranes, William B. Whistler, Northrop Grumman Systems Corp,1991-05-21, - Design News Apr 1986: "HOTOL Transatmospheric Aircraft" - folding winds - cited by 21
D377326
                      Tactical aircraft decoy (TAD), Stephen P.
                      Grossman, Richard L. Ranes, Perry B. Petersen,
                      Barnaby S. Wainfan, Northrop Grumman Systems Corp,
                      1997-01-14, - ADM-160 MALD
D377326 Tactical aircraft decoy (TAD), Stephen P. Grossman, Richard L. Ranes, Perry B. Petersen, Barnaby S. Wainfan, Northrop Grumman Systems Corp, 1997-01-14, - ADM-160 MALD (Wiki)
6056237
                      Sonotube compatible unmanned aerial vehicle and
                      system, Richard L. K. Woodland
6056237 Sonotube compatible unmanned aerial vehicle and system, Richard L. K. Woodland, 2000-05-02, -  Cited by 308 -
---------------------- Prior Art Above ---------------------

9545991 Aerial vehicle with deployable components, Nicholas Robert Alley, Joshua Lemming Steele, Jesse Owen Williams, Daniel Kuehme, Jonathan Caleb Phillips, AREA I Inc (Anduril Ind),2017-01-17, - looks like patent 9555873?
9555873 Aerial
                      vehicle with deployable components, AREA I Inc
                      (Anduril Ind), 2017-01-31
9555873 Aerial vehicle with deployable components, Nicholas Robert Alley, Joshua Lemming Steele, Jesse Owen Williams, Daniel Kuehme, Jonathan Caleb Phillips, AREA I Inc (Anduril Ind), 2017-01-31, - An unmanned aerial vehicle with deployable components (UAVDC) is disclosed. ...telescoping wing, improved portability, deployment, post-deployment transition to flight control, aerodynamic efficiency and flight endurance, payload capacity, and maximized mission capability, ..launch recovery and flight, and a third configuration may be an expanded configuration suitable in, for example, high-endurance flight. As will be detailed below, the UAVDC may be fully functional and operable in intermediary configurations between these three configurations to provide some of the advantages of the improved UAVDC at higher airspeeds...

Fig 1A: stowed config (fits in launch tube)
Fig 1B: high speed, short wing
Fig 1C: long range, wing extended

Cites 72 prior art UAVs from a who's who of UAV manufacturers.

Fits in Sonobuoy launch tube.
Modular payloads at front, pusher prop at rear.

YouTube

Introducing ALTIUS-M: Loitering Munition, 0:38 - Air-Launched, Tube-Integrated, Unmanned System, ALTIUS.
ALTIUS-600M Kamikaze Drones: The New Threat In The Ukraine War, 3:10 - 3 to 7 pound payload, airframe weight 20 to 27 pounds, launched from Polaris MRZR (Wiki), UH-60 Black Hawk (Wiki), ground launcher, C-130 (Wiki), AC-130J (Wiki), P-3, & civilian planes, XQ-58 Valkyrie (Wiki), MQ-1C (Wiki), high altitude balloons? (Wiki).  Max range: 276 miles, maximum flight duration 4 hours, Altius-600 is recoverable, but the Altius-600M is for one-way missions. Model 600 payloads: Surveillance, Electronic Warfare, kinetic engagements. 

Cosmic Rays

In the early days of atomic particles it was observed that an electroscope (Wiki) would discharge all by itself.  The cause was believed to be ionizing radiation (Wiki) but there was the question of where it was coming from.  Victor Francis Hess (Wiki) won the Nobel Prize in Physics (Wiki) in 1936 for his demonstration that radiation was coming from above the atmosphere, based on him going aloft in a balloon. See: Ref. 15. through Ref  20.

Fig 1
Millikan
                      spherical Ionization Chamber
Fig 2
Millikan
                      spherical Ionization Chamber

The spherical Ionization Chamber (Wiki) used on Radiosonde flights was probably the one used in Millikan's Laboratory (at Cal Tech he coined the name "Cosmic Rays", Wiki) for Cosmic Ray (Wiki) research. (See Ref 16, Ref 17 and Ref 18).

Related

China Lake Patents -
Weather - Wind Speed -
Electronics
Radio
Radio Direction Finding
Pibal Theodolites
Tuning Forks -US Army Signal Corps Frequency Meter TS-65D/FMQ-1 - used to calibrate the TMQ-5 receiver.
Sonobuoys - Roswell connection
CRT-1B Sonobuoy -Roswell Connection
Wallace & Tiernan FA 181 Altimeter = Barometers & Altimeters

References

Ref 1. FM 6-15 Field Artillery Meteorology 1970 (online) - 320 pages, Ch 6.5 Rawinsonde, 6.6 Radiosondes,

Ref 2. MIL-R-49315 Radiosonde ML-659(V), Family of

Ref 3. Radiosonde Museum of North America - The Collection - moved to: Lindenberg Weather Museum -

Ref 4. The Invention and Development of the Radiosonde, 2002,  - patent list from appendix shown above.

Ref 5. Recent Applications of Radio to the Remote Indication of Meteorological Elements (pdf), Harry Diamond, April 1941 - Explains:
* the Olland method from 1872 and it's problems,
* Carrier-Frequency Variation method from Norway,
* Modulation-Frequency Variation method does not require a clockwork and elimination of mechanical contacts
* a full ground weather station that uses radio to send temperature, humidity, wind direction, wind speed, and rain data to a remote location is described.

Ref 6. YouTube: Radiosondes & Weather Balloons: "Weather Friend or Foe" ~ 1957 US Army; The Big Picture TV-363 (0:27:08) -
Ref 7. YouTube:
Vaisala RS92-SGP Radiosonde teardown -

Ref 8. AN/AMT-3 by Al Klase - Including video of operation showing to phonograph record. Here is a photo of the record (by Michael Bittner)

Ref 9. The Acorn Tube (pdf), Ludwell A. Sibley, Antique Wireless Org -  955 standard version, 5731 for use in Radiosondes.

Ref 10. Naval Weapons Center Version of the Atmospheric Transmittance Computer Code LOWTRAN: User's Manual and Program Listing (ADA063476.pdf) - calculates transmittance between 0.25 and 28um based on upper air data.

Ref 11. YouTube: GERMAN WW2 WETTERSONDE, RADIOSONDE type C, 2:42 - RF frequency increases as temperature gets colder

Ref 12. YouTube: Chasing Radiosonde Weather Balloons used in Meteorology for Fun by Mark VK5QI, 47:59 -
Ref 14. YouTube: Bathythermographs being programmed, not dropsondes.
Ref 15. History of Atmospheric Cosmic Ray Research at the National Bureau of Standard, Bert M. Coursey, 2020 (jres.125.001.pdf) -
Ref 16. The Discovery of Cosmic Rays (h13-1-carlson.pdf) -
Ref 17. Ionization Chamber Used at Robert Millikan's Laboratory for Cosmic Ray Studies, - 10" diameter copper sphere, gold-plated quartz fiber anode.
Ref 18. Fluctuations and Latitude Effect of Cosmic Rays at High Altitudes and Latitudes, H. V. Neher, V. Z. Peterson, and E. A. Stern, Phys. Rev. 90, 655 – Published 15 May 1953
Ref 19. Modification to the Automatic Ionization Chamber, H. V. Neher; Alan R. Johnston, Rev. Sci. Instrum. 27, 173–174 (1956).
Ref 20. YouTube, Bell Telephone TV series: The Strange Case of the Cosmic Rays (1957), 54:42 - Patrick Blackett (Wiki) & Giuseppe Occhialini (Wiki) came up with an automatic trigger for cloud chambers. @29:01 Balloons demonstrate the latitude effect, @41:30 Cosmic ray emulsion plate (Wiki) and Sky Hook balloon (Wiki) to over 140,000 feet and then rockets up to 150 miles up.
Ref 21. WaPo: What we lose when weather balloons don't fly, 2025 May 26 - newspaper article with embedded photos/videos.

Links

SondeHub - worldwide real time radiosonde tracking. (set to display all of California. - Sondehub for Balloons - Amateur Radio High Altitude Ballooning - A Beginners Guide to High Altitude Ballooning -

Wettermuseum (formerly Radiosonde Museum of North America)

GRUAN - Global Upper Air Reference Network - TM807: An assessment of different radiosonde types 2015/2016 -
Recessim: DFM-17 Radiosonde -

PRC68, Alphanumeric Index of Web pages, Contact, Products for Sale
Page Created 17 March 2017