Signal Underwater Sound (SUS) Mk 84


© Brooke Clarke 2021

Mk 84 SUS launched
                  from inside a P-3C
Signal
                  Underwater Sound (SUS) Mk 84 Mod 1

Background
Description
    Mk 84 Mod 0
    Mk 84 Mod 1
Documents
Patents
Related
References
Links

Background

This used to be a part of the Sonobuoy web page, but after getting a complete Mk 84 Mod 1 I'm moving it to this page.

There are many reasons that someone might want to make a sound underwater.

These started out as explosive devices.  In a 1985 paper (DTIC: AD1119733.pdf)  it mentions using an explosive SUS.
The Mk 84 is typically dropped from a friendly submarine hunter aircraft in order to send one of a small number of predetermined messages to a submerged sub.  It uses audio tones around 3 kHz.
Like the CRT-1 Sonobuoy, ST-1 Bathythermograph and the T346/SRT SOS buoy is 3" in diameter so could be used from the Submerged Signal Ejector on a sub?

YouTube: Submarine Communications: "Signal, Underwater Sound (SUS) Mark 84 Mod 0 US Navy Training Film, 12:11, 1967 -  non-explosive aircraft to submarine communication device.  Three sections:
1. Tail: stabilization and housing salt water battery
2. Mid: Ceramic transducer & electronics package
3. Nose: Manual code selector switch
Can be received by submarine SONAR or underwater telephone.
@6:18 Audio of the four codes: @6:32 Code 1, @6:44 Code 2, @6:59 Code 3, @7:11 Code 4 sinks at about 18 feet per second.  signal starts no more than 3 seconds after water entry and lasts for 45 to 120 seconds.  AN/BQR-2,
AN/BQR-7, AN/UQC (receives the third harmonic

SOFAR

Sound Fixing And Ranging sonobuoys can be used in a passive way by just listening to the sound made by things in the ocean.  They can also be used an an active way by settiing off a small underwater explosion.  This use of a small explosive may also be applicable to LOFAR (LOw Frequency Analysis and Ranging) sonobuoys, like the SSQ-57A.  In addition to the SOFAR underwater sound channel (Wiki) there is a similar sound channel at high altitudes that channels sound.  For more on that see the Roswell Connection on my Sonobuoys web page.

Countermeasures

A submarine can deploy countermeasures and some of those might be small explosive charges.

Signaling Submarines

One way a surface ship or aircraft can signal a submarine is to drop small explosive charges in a timed pattern.  There needs to be a prearranged meaning to the pattern.  A much safer way to do this is using the Mk 84 SUS which makes use of audio tones rather than explosives and so is much safer.  I think this is the current method of signaling submarines.

Description

These are Non-Explosive underwater sound signals.  There are a number of explosive type signals such as the Mk 82 and Mk 128.

Table of Signal Underwater Sound

Mk
MIL-S-
NSN
TNT
lbs
Comment
Mk 61
MIL-S-23311
1.8

Mk 64 MIL-S-23311
0.07
Practice?
Mk 82


1.8

Mk 128


1.1 oz
Practice?
Mk 123 Mod 0 (NTRL)



NTIS 197707
no moving parts in fuze
Mk 4101


larger

Mk 4111


small

SSQ-110A (FAS)


4.2
2 charges, command activated
Mk 84 Mod 0
MIL-S-81340
0

Mk 84 Mod 1 MIL-S-81340 US 1360-01-037-0588
CD
N 5845-21-892-5363
0

Mk 84 Mod 2 MIL-S-81340
0

Note 1: Canada NOTMAR: 37 Handling of Unexploded Ordnance -

Mk-84 Mod 0

This goes with the nose section that has codes 1 through 4.

I only have the tail section. Marked:

DOD Code: SA-06
FSN: 1360-052-1480
Date Pkgd: (blank)
Contr. No. N00019-67-C-0322
Mfrg. 94117
Ser. No. (blank)
Wt. 6.5 Lbs. Nom.

NONEXPLOSIVE
SUS MK84 MOD 0

There are 4 tapped holes for attaching the transducer/electronics package.  Adjacent to these holes are 4 holes 3/8" dia (total area: 0.44 sq in) that are the inlets for the water activated battery that's inside this tail section.  The center hole at the back is 7/8" ID (total area: 0.61 sq in, i.e. much larger than the inlet hole area. Why?).

Photos

Fig 1
Signal
                      Underwater Sound (SUS) Mk 84 Mod 0
Fig 2
Signal
                      Underwater Sound (SUS) Mk 84 Mod 0
Fig 3
SUS Signal
                      Underwater Sound Mk-84 Mod 0

Mk 84 Mod 1

This supports codes 1 through 5.
Can Label:

Signal Underwater Sound
Mk 84 Mod 1 (Nonexplosive)
DOD Code SW 39
NSN: 1360-01-037-0588
p/n DL 500164 M
1 ea   Level A
Wt 2.5 kg / 5.5 lbs CU 0,25
Lot -MRI-
Hermetically sealed
Do not open until needed
000104-76-C-B066
Marine Resources Inc.
Fern Park, Fla.

Unit Label:

Signal, Underwater Sound, Mk 84 Mod 1
DOF Code: SW39
NSN: 1360-01-037-0588
PN-DL-500164
Wt 2.5kg/5.5lbs
Mfg Mri - 34998
N00104-76-C-B066
Lot: 04-MRI-06-79
NONEXPLOSIVE
U.S,

SUSMK84MOD1

There is a different looking Mk 84 Mod 1 SUS made by Sonobuoy Tech Systems.
Their Datasheet has a photo.
The code selector is on the side.
NSN 1360-01-037-0588

NSN: 5845-21-892-5363 (from 2012 Canada contract)


Part Number CAGE Company Status RN CC RN VC DAC RN AAC RN FC RN SC RN JC SADC HCC MSDS
130-3440-043 74VP7 ERAPSCO C 5 1 4 9Z 4 A



130-8929-001 AM394 MICROSPACE SRL C 5 2 5 ZR 4 A



MIL-S-81340A 81349 MILITARY SPECIFICATIONS PROMULGATED BY MILITARY DEPARTMENTS/AGENCIES UNDER AUTHORITY OF DEFENSE STANDARDIZATION MANUAL 4120 3-M C 4 1 4 JG





WR-54/131A 10001 NAVAIR AND NAVSEA MANAGED ORIGINAL DESIGN ACTIVITY DWG NOT MATERIAL/PARTS SUPPLIER C 3 2 5 JG





5845-01742 D3000 STREITKRAEFTEAMT (PLANUNGSNUMMER) H 6 9 9 ZG 4 B



DL500164 34998 MARINE RESOURCES INC U 5 9 1 JG 1 B



MIL-S-81340 81349 MILITARY SPECIFICATIONS PROMULGATED BY MILITARY DEPARTMENTS/AGENCIES UNDER AUTHORITY OF DEFENSE STANDARDIZATION MANUAL 4120 3-M U 4 1 4 9Z





SUS MK 84 MOD 1 16848 LOCKHEED MARTIN SIPPICAN, INC. U 3 9 6 9Z 4 D




(MK-84 MOD 1 SUS uses 3.3 and 3.5 kHz audio to generate 5 codes as messages to a sub.)
          Air to sub communications.
Code
Morse
3.3 kHz
3.5 kHz
Meaning?
1
M
-
-

2
A
.
-

3
I
.
.

4
N
-
.

5
na
off
cont

If there are standard meanings for these let me know what they are.
VLAD: Vertical Line Array Detector - long range: 7 km (4+ miles)

Photos

Fig 1
Signal
                      Underwater Sound (SUS) Mk 84 Mod 1
Fig 2 Excelsior (Wiki)
good mechanical support.
Signal
                      Underwater Sound (SUS) Mk 84 Mod 1
Fig 3
Signal
                      Underwater Sound (SUS) Mk 84 Mod 1
Fig 4 Code positions 1 to 5.
Signal
                      Underwater Sound (SUS) Mk 84 Mod 1
F

Fig 5 From Wikimedia Commons
Mk 84 SUS launched from inside a P-3C

Documents

Manual

NAVAIR 11-1-107 SUS Technical Manual
Technical manual : description, operation and handling instructions signals, underwater sound (SUS).
"NAVAIR 11-1-107 first revision."
"This manual supersedes Navair 11-1-107 dated 1 December 1963 and change dated 1 December 1967."
Published by direction of the Commander of teh Naval Air Systems Command."

MIL-S-81340 (T-Pub) Signal, Underwater Sound (SUS) Mk 84 and Mods (Non-Explosive)

31 March 2015 (origional Dec 7, 1965)
MOD
Codes
rain & spray
tight
14" Suspention
option1
0
1 - 4
No
No
1
1 - 5
Yes
No
2
1 - 5
Yes
Yes
Note 1: capable of being launched from bomb rack or shackle adapters such as the ADU-369/A; from bomb racks or shackles with 14" suspension

MIL-S-85064 Signal, Underwater Sound, Mark 82 Mod 0 And Mark 128 Mod 1

I think the Mk 82 Mod 0 contains 1.8 pounds of TNT and the Mk 128 does not.  The Mk 128 only contains the 1.1 ounces of tetyl booster, i.e. a practice version.

Naval Sonar (Sonobuoy Ref 30), Ch 16, SOFAR, Harbor Defense and other SONAR Systems - SOFAR Bombs, pg 284,

Patents

These are patents related to making noise underwater.  As described in the Background section above there are many reasons to do this, not all of which are for SUS.


861795 Signal-buoy and lifting device for sunken submarine boats, Edward L Benson, 1907-07-30, - light bulbs powered from the sub

2520814 Impulse emitting device, Bruce H Rule, App: 1945-02-03, Pub: 1950-08-29, - fires a series of blasting caps allowing the underwater position of a torpedo to be tracked.

2546961 Submarine carried cartridge ejector, John V Amero, App: 1945-05-31, Pub: 1951-04-03, -
2568712
                      Underwater signaling device, Charles F Bowersett,
                      Kenneth L Baker, Carl A Axelson, App: 1947-12-18
2568712 Underwater signaling device, Charles F Bowersett, Kenneth L Baker, Carl A Axelson, App: 1947-12-18, Pub: 1951-09-25, 181/142 102/392 181/125 102/382 116/200 - "This invention relates to a signaling device and more particularly to an underwater explosive signaling device adapted to be dropped from an aircraft or launched from a life raft into a body of water, in which means controlled by hydro static pressure is adapted to explode the Signaling device when the device sinks to a predetermined depth. Within the body of Water."  A SOFAR Bomb.

Can select either: 1500, 2000, 2500, 3000 or 3500 feet depth for detonation.

Does this have an official designation? let me know.
2601245
                      Underwater signaling device, Charles F Bowersett,
                      1952-06-24
2601245 Underwater signaling device, Charles F Bowersett, 1952-06-24, - SOFAR bomb launched from life raft.

Can select either: 1000, 1500, 2000, 2500, 3000 or 4000 feet depth for detonation.
2710458
                      Underwater acoustic decoy 2710458 Underwater acoustic decoy, Reed Donald G, Sec of Navy, Filed: Jun 14, 1945 (10.0 year delay), Pub: Jun 14, 1955, 434/6, 114/20.1, 367/1, 434/25 - passive SONAR training device

Fig 1: either 3x32" or 4x43", most likley 3x32"
Fig 9: either 3x24 or 4x32"

This may or may not be launched from a sub.
2901997 Sound
                      generator, Arthur H Brooks, Sep 1, 1959
2901997 Sound generator, Arthur H Brooks, Sep 1, 1959 (14 year delay), 116/27, 116/137.00R, 102/418, 367/1 -
"
for use as a countermeasure against acoustically detonated explosive instruments, or the detection of a ship using the device by another ship having underwater sound locating equipment."

A SCUBA tank both supplies the air to drive a hand held riveting tool to strike an anvil, but also holds and anvil and acts as an acoustic resonator. 

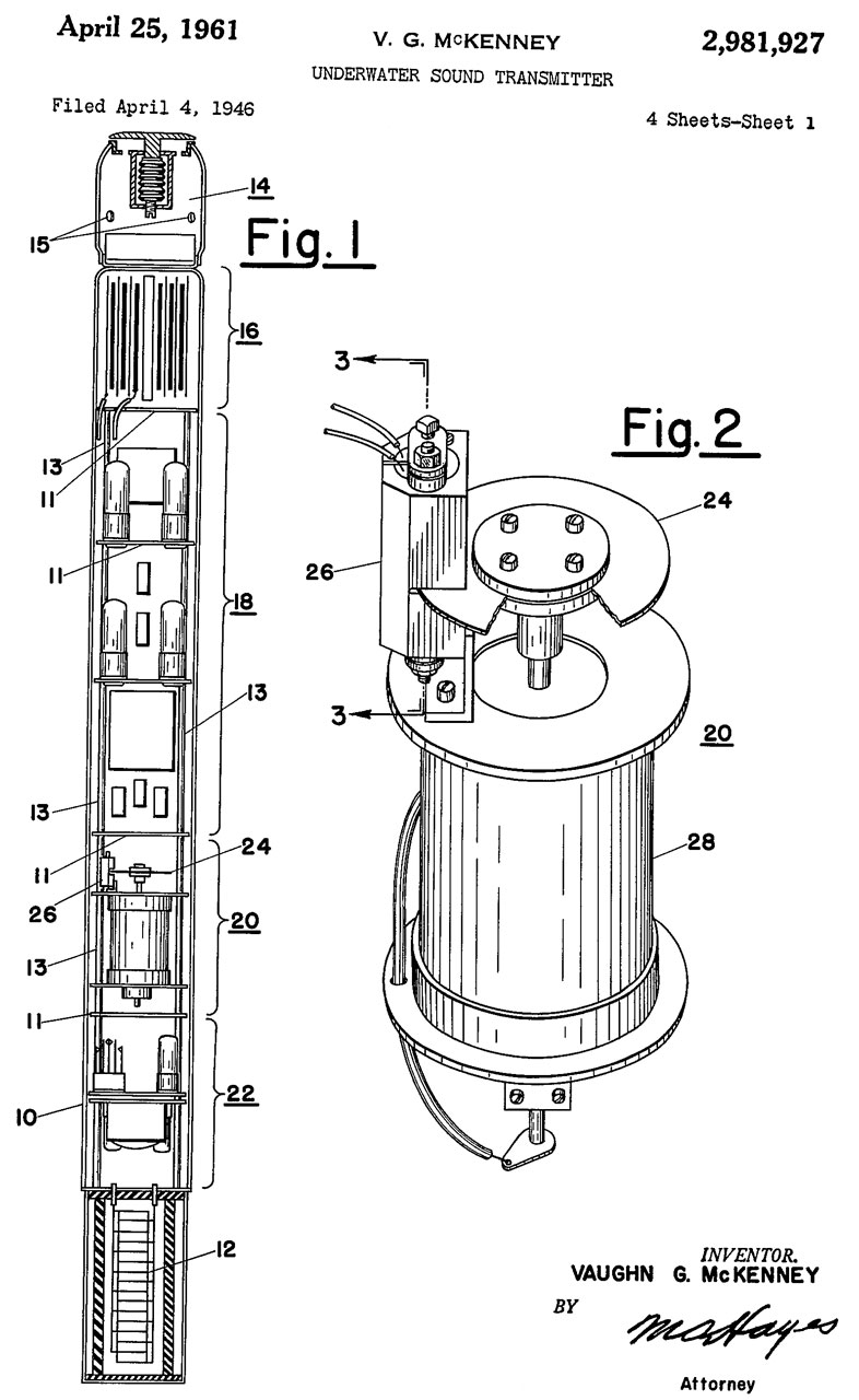
2981927
                      Underwater sound transmitter 2981927 Underwater sound transmitter, Vaughn G Mckenney, Sec of Navy, Filed: Apr 4, 1946 (15 year delay), Pub: Apr 25, 1961, 367/1, 455/18, 114/20.1, 360/6 - returns SONAR pings at same frequency but offset in time (very similar to RADAR countermeasures). see Radar Warning Receiver

Fig 1 shows a length/diameter ratio of 11.5, so if 3" dia then length is 34", if dia is 4" then length is 46".
Since a yard or meter shows up as a practical length then I'd assume this is a 3 x 34" device.

Mentions:
2793589 Buoyancy control device, Atchley Raymond D, Filed: May 3, 1944, (13 year delay), Pub: May 28, 1957, 102/414 -

2989024 Submarine signal device, Sebastian J Tralongo, Vitro Corp of America, 1959-03-19 - colored dye pack

3056104 Underwater signaling and apparatus therefor, Kanski Leon M De, Theodore E Dinsmoor, Norman W Guinard, Pio F Martinuzzi, AMF, 1962-09-25, - sonar good to a few miles, this device 1500 miles.
operates from a few Hz to 100 Hz with a large output power.  Shaft or pneumatic/hydraulic input.  Includes feedback to control the frequency of signal.
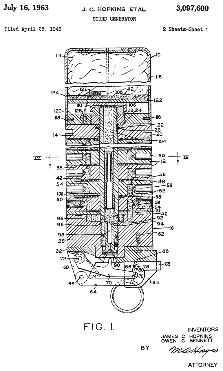
3097600 Sound
                      generator, James C Hopkins, Owen G Bennett, Navy,
                      1963-07-16
3097600 Sound generator, James C Hopkins, Owen G Bennett, Navy, 1963-07-16, - countermeasure to protect sub
Contains a large number (dozens?) of small explosive caps which are set off in succession, in some cases two or more caps at the same time.

Hand grenade like device with internal parachute.
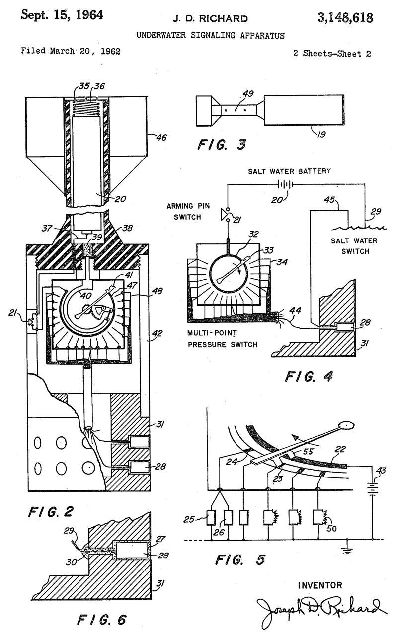
148618
                      Underwater signaling apparatus, Joseph D Richard,
                      1962-03-20
3148618 Underwater signaling apparatus, Joseph D Richard, 1962-03-20 - used to determine optimum depth for SONAR by working with sonobuoys

Contains a pressure sensor that drives an arm which makes contact with successive explosive caps at known depths.  This is very similar to how the pressure sensor in a Radiosonde makes contact with different sensors at different altitudes.

3194207 Underwater sound sources, Dunne Brian B, Gen Dynamics Corp, Jul 13, 1965, 116/27, 367/142 - electric motor driven noise maker + flotation device, cylindrical shape (torpedo tube or smaller?)  pipe dream nuclear powered steam system

3530952 Undersea,long-range tracking and signalling systems and apparatus, Sidney Epstein, David Epstein, Vadys Associates, 1970-09-29, - "This invention generally relates to the tracking of bodies on or in the ocean and in particular to the long-range, long-time tracking of so-called Swallow floats (Wiki) in the deep ocean areas."
Also see Woods Hole: Floats & Drifters -

3582672 Pyrotechnic devices, Malcolm George Palmer, Solvay Solutions UK, 1971-06-01, - a capillary tube, closed at one end has two small electrical terminals.  When the watter pressure is high enough water is forced into the tube against air pressure and when it touches the terminals activates an amplifier which acts as a trigger circuit.

3567880 Submarine signalling device and fail-safe switch, Malcolm George Palmer, Frederick Arthur Ridgway, Edwin Leslie Minshull Roberts, Solvay Solutions UK, 1971-03-02, - a reed switch is held closed by a magnet but when the plug holding the magnet dissolves in water a spring moves the magnet and the switch opens.
3612211 Method
                      of producing locally occurring infrasound, William
                      T Clark, 1971-10-12
3612211 Method of producing locally occurring infrasound, William T Clark, 1971-10-12, - maybe similar to the Holosonics (Wiki) system that uses ultrasonic to generate an audio sound. 

The
High-frequency Active Auroral Research Program (Wiki: HAARP) high power RF signals excite the non0linear ionosphere and there generate lower frequency signals.

I think Sound from ultrasound (Wiki) may be an explanation for Havana Syndrome (Wiki).


3724374
                      Underwater sound source, Navy, 1962-04-27
3724374 Underwater sound source, Navy, 1962-04-27 - used with active sonobuoy, not as signal to friendly sub

Ccommand activated each activation advanced a stepping switch.

3771115 Simulated submarine target apparatus, McLinden Hugh   - a viscous, gelatinous  material having metallic particles suspended in it, is ejected by the sub to form a hollow bag-like structure which is filled with water.
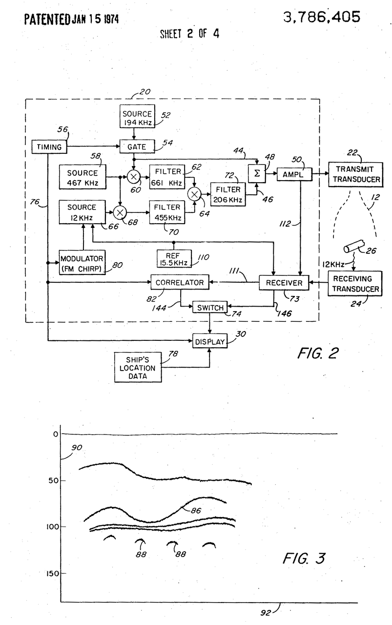
3786405 System
                      for low-frequency transmission of radiant energy,
                      M Chramiec, W Konrad, Raytheon, 1974-01-15
3786405 System for low-frequency transmission of radiant energy, M Chramiec, W Konrad, Raytheon, 1974-01-15, - underwater sound generation.

Very similar to 3612211  above.  A 194 kHz signal and a 206 kHz signal are sent with a narrow beam which can be done because of their short wavelength underwater.  Non linearities mix these two signals into a 12 kHz signal with the same beam width as the higher frequency signals.

3379273 Powerful sound impulse generation methods and apparatus, Stephen V Chelminski, Bolt Technology, 1968-04-23, - the "airgun" mentioned by AAron in Sub Brief: Analysis: Seismic Airgun - used for geology of the ocean bottom. 
Has the look and feel of the Gamewell Diaphone Air Horn used at fire stations to call firemen and as a Fog Horn.

3872421 Standing wave acoustic parametric source, Peter H Rogers, Buren Arnie Lee Van, Navy, 1975-03-18, - underwater sound generation - "A piston type transducer in combination with a thin wall waveguide which is terminated by a thin plug of pressure release material to form a resonant cavity. The transducer is driven simultaneously at two closely spaced high intensity, high frequency signals. The two frequencies are chosen to be either neighboring resonances or to be within the bandwidth of a single resonance. A low frequency acoustic wave is generated by the nonlinear interaction of the two high frequency standing waves in the fluid within the resonant cavity and radiates omnidirectionally into the surrounding medium through the thin walled waveguide."  Very similar to 3612211  above.

3964013 Cavitating parametric underwater acoustic source, William L. Konrad, Navy, 1976-06-15, - bubbles provide for non-linear mixing. 
Very similar to 3612211  above.
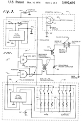
3992692
                      Programmable underwater acoustic beacon, Armand
                      Jay Filer, Navy, 1976-11-16
3992692 Programmable underwater acoustic beacon, Armand Jay Filer, Navy, 1976-11-16, - more like a ULB, but might also work for a SUS.  The audio frequency is set by the piezo element, only the pulse width and duration are settable.  Includes circuit for sea water switch.
4047148 Piston
                      type underwater sound generator, Julius Hagemann,
                      Navy, App: 1956-02-29
4047148 Piston type underwater sound generator, Julius Hagemann, Navy, App: 1956-02-29 SECRET Pub: 1977-09-06, 367/143; 181/119; 116/27- 10 to 20 Hz.  Hydraulic power.
4194246
                      Noisemaker beacon, Ralph P. Crist, Secretary Of
                      The Navy, Mar 18, 1980
4194246 Noisemaker beacon, Ralph P. CristSecretary Of The Navy, Mar 18, 1980 (SECRET 32 years delay), 367/1, 441/22, 441/12 - 10 to 100 kHz output
"
This disclosure relates to decoy rounds for launching from launcher systems which may be installed aboard a ship or the like, or, which may be of a portable type. The decoy rounds provide a protective cover for craft such as war ships, against homing devices operating upon infrared or microwave-reflected energy or against craft utilizing sound navigation and ranging systems. The decoy rounds contain one or more bun dles of either RF chaff, infrared energy creating pel lets, or bubble creating pellets, or any combination thereof, and are provided with a launch charge and a dispersion charge for each of the bundles of decoy material therein."
4975890
                      Underwater sound transmitting system, Sylvan Wolf,
                      Charles C. Vogt, Walter O. Allen, Melvin W.
                      Crawford, Robert D. Mattingly, Donald M. Leslie,
                      Navy, App: 1960-05-10
4975890 Underwater sound transmitting system, Sylvan Wolf, Charles C. Vogt, Walter O. Allen, Melvin W. Crawford, Robert D. Mattingly, Donald M. Leslie, Navy, App: 1960-05-10, SECRET, Pub: 1990-12-04, - based on explosives, dropped from aircraft to signal to sub.  Maybe the Mk 82 SUS?

"
An underwater signalling device to fire explosives at a preselected depth a prearranged time sequence, which is intended to be part of an underwater sound communication system."
5003515
                      Submarine emergency communication transmitter 5003515 Submarine emergency communication transmitter, Albert S. Will, Frank C. McLean, Sylvan Wolf, Samuel H. Kauffman, John C. Hetzler, Jr., Charles A. Lewis, George E. Maxim, Secretary Of The Navy, Filed: May 28, 1964, (27 year delay)    Pub: Mar 26, 1991, 367/131, 367/145 -

Image flipped so that it's oriented as if in the water.  There are 7 drop bombs which are released by explosive bolts and they explode after 20 seconds so that their depth will be controlled (probably within the sound channel (see Roswell Connection).  If the sink rate was the same as the Mk IX depth charge (15 fps) then after 20 seconds it would be down to 300 feet which is too shallow to get into the SOFAR Channel (Wiki).  I suspect the time delay is really much longer to that the drop bombs get into the SOFAR Channel.

The timing of the drop bomb release translated into one of a number of coded messages.

The length/diameter ratio is very small so will not help to determine its dimensions.

See other Albert Will patents
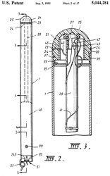
5044281
                      Submarine flare with vertical attitude
                      determination 5044281 Submarine flare with vertical attitude determination, Peter Ramsay, Brian W. Whiffen, Gerald M. Bushnell, Victor Nanut, Robert C. Czigledy, Robert J. Swinton, Maxwell J. Coxhead, Timothy R. Clarke, Australia, Sep 3, 1991, 102/340, 102/224, 102/351, 102/357, 102/354 -

The length/diameter ratio is 12.67, so: 3" x 38" or 4" x 57", seems to indicate it's 3 x 38".

5117731 Tactical acoustic decoy, Mark A. Mendenhall, Secretary Of The Navy, Jun 2, 1992, 89/1.816, 102/348, 367/1, 102/501 - mounts on ship and jams infrared, sonar & microwave.  sounds very similar to 4194246 above.
5175712
                      Underwater sound source with timed actuator, Mark
                      J. Vaccaro, Thomas R. Stottlemyer, William L.
                      Konrad, Navy, 1992-12-29
5175712 Underwater sound source with timed actuator, Mark J. Vaccaro, Thomas R. Stottlemyer, William L. Konrad, Navy, 1992-12-29, - a floating device that can drop many acoustic charges (34) that look a lot like a SUS.
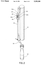
5339288
                      Underwater sound source with remote controlled
                      actuator, Darren J. Blier, Christopher J. Dubord,
                      David W. Grande, Navy, 1994-08-16
5339288 Underwater sound source with remote controlled actuator, Darren J. Blier, Christopher J. Dubord, David W. Grande, Navy, 1994-08-16, -
Acoustic charge (52) looks a lot like a SUS.

6252822 Countermeasure device with air bag hover system and pressure compensated acoustic projectors, Robert J. ObaraSecretary Of The Navy, Jun 26, 2001, 367/1 - uses compressed air for both depth control and noise making


Related

40 mm -
Aerial Photography - DJI Mavic mini 2
Astro-Compass MkII
Barometers & Altimeters
Black Box -
Cars
China Lake Patents - Sidewinder, Proximity Fuze & Others
Drop Zone Assembly Aid System -
Electro-Optical Gadgets - Grimes AN-3038-2A aka C-5A UV Cockpit Light - MODEL 9379640 Cockpit light -
FN FAL - Types of Sights -
Gibson Girl AN/CRT-3B life boat survival beacon transmitter
GRC-206 Program Pacer Speak & MT-6250 - Forward Air Controller
Gyrodyne QH-50 DASH Drone Helicopter -
Gyroscopes - Norden Bomb Sight
MD1 Star Tracker Navigation System
MIL-S-5807A Sextant, Aircraft, Periscopic
Mk 20 Mod 4 Gun-Bomb Sight
Navigation
Navy Mk. 18 Gun Sight
Optics
Outdoor Intrusion Alarms - Vietnam era
Radar Warning Receivers - AM-6536 - AN/ALR-54 LAMPS
Radio Direction Finding 
Radiosonde - Area I Altius-600 Drone  ADM-160 MALD (Wiki)
RPG-7 Rocket Propelled Grenade Launcher
RWR - RADAR Guided & Laser Guided
Ruger SP101 Laser Sight
SDU-5 distress strobe beacon & Battery Adapter.
Sonobuoys - Underwater Locator Beacons & Roswell Connection - CRT-1B
StormScope - lightening mapper
Submarines
Torpedoes - "Range" problems with torpedoes, battleship guns, depth charges, horizontal bombing
Ukiah - Helicopter photos from my house - and scroll down, Kaman K-Max,
Ultra Violet light -
Aircraft Cockpit UV Instrument Lights -
Wallace & Tiernan FA 181 Altimeter, Barometers & Altimeters, Aneroid (aircraft instruments)

References

Ref 1. Explosive Sound Sources Technology - photo hand launch of Mk 82 explosive SUS.
Ref 2. YouTube: Grumman S-2 Tracker, 0:55 - "production aircraft entered service, with VS-26, in February 1954."
Ref 3. Submarine Communications: Signal Flare Ejectors Aboard USS Cod, 7:42 -

Links

PRC68, Alphanumeric Index of Web pages, Contact, Products for Sale
Page Created 2021 Aug 4