Aerial Photography

© Brooke Clarke 2023

DJI Mini 2 Remote & mini 2 Window Sill DJI mini 2 Pano 3x3

Background
    Classic Aerial Photography
    Balloons
         Shoot Downs
    Friend's DJI Mavic mini 2
Mavic mini 2
    Description
    Memory
    Operation
    Quick Shots
    Hints & Tips
    Photos
    DJI Photos
Photo Interpenetration of Aerial Photographs
Fairchild B-3B Intervalometer
LA313A Viewfinder
Patents
Anti Drone
Related
References
Links

Background

This is related to my other web pages on photography and aircraft (see Related below).  A couple of decades ago I got a very small quadcopter (Wiki) that had a camera.  I played with in indoors since any wind would blow it into the forest.  It was a toy. 

I titled this page aerial photography because I also have an interest in all photography done from above the ground such as: photo reconnaissance aircraft (Wiki),  spy aircraft (Wiki) and spy satellites (Wiki), aerial mapping (Wiki) .  There are straight forward optics equations that define the resolution of these systems.
2955518 Aerial Camera, Perry Edward Gordon, TI, 1960-10-11, - pans left right and at the same time changes zoom settings to minimize distortion.

The DJI mini 2 quadcopter is optimized for photography.  There are other styles of quadcopter such as the First Person View (Wiki) where the video coming back to the remote control pilot is to allow high speed maneuvering/racing.

There is some sophisticated aerial mapping of wildfires.  See FIRIS & CALOES.

Classical Aerial Photography (Wiki)

A very early use of balloons and aircraft was to take photos of enemy positions during wars.  While regular cameras can be used it makes more sense to use a camera that is permanently focused at infinity.  They share this feature with astronomical telescopes.  Also since depth of field is not an issue in aerial photography a "fast" lens that's of good optical quality will give high resolution images.  This may require a fast shutter speed and the ability to make exposures quickly one after the other, see "Photographic shutter" patent 1626032 below

Attaching a camera and intervalometer (Wiki) to a pigeon was patented by Julius Neubronner (Wiki) in the first decade of the 1900s (Ref 11, Ref 12).

GB190813128
                      Method of and Means for Taking Photographs of
                      Landscapes from Above, Julius Neubronner,
                      1909-01-28
GB190813128
                      Method of and Means for Taking Photographs of
                      Landscapes from Above, Julius Neubronner,
                      1909-01-28 GB190813128
                      Method of and Means for Taking Photographs of
                      Landscapes from Above, Julius Neubronner,
                      1909-01-28 GB190813128 (eSpaceNet) Method of and Means for Taking Photographs of Landscapes from Above, Julius Neubronner, 1909-01-28, -

2512486 Fore-and-aft aerial camera, Burnie M Craig, Glen J Robinson, Fairchild Camera, App: 1944-09-26, W.W.II, Pub: 1950-06-20, - cites this patent as prior art.

Soapbox Derby filmed by Neubronner: Kronberger Automobil-Jugendrennen 18.8.1907, 3:01



CH192864 (eSpaceNet)Photographic apparatus with a swiveling lens provided with an automatic release, in particular for carrier pigeons, Adrian Michel Christian, 1937-09-15, -

Nighttime aerial photography requires a light source like a strobe flash (Edgerton, photoflash, Strobotac) or chemical flare.  Also nighttime aerial photography requires the light source to be relatively close to the ground.

Remote sensing (Wiki, Evolution.pdf) includes cameras along with other types of sensors to get a multispectral image (Wiki).

1236419 Aviator's camera, William F Folmer, Eastman Kodak, 1917-08-14, - box on pistol grip with trigger.

Aerial Cameras: K17 (CWiki), K18, K19, K20 (Wiki), K21, K22, F20, F40, F56 - also see Ref 2.

KA-1

9





also see the K-8 aerial camera patents on the Optics web page.

K3


1568969 Camera, Sherman M Fairchild, 1926-01-12, - maybe not K3, but is very early aerial camera.

K-3A


1925 Includes time & date, altitude & other data on negative.

F-3


1925 focal plane & fiducial marks in the camera body for Canada mapping, does not use film magazine for precision,

T-4

5x5
Focal plane shutter, hand held, redesigned F-1, 7", 10" or 20" lens options,

K-4


A K-3 with 20" lens and new between-the-lens shutter

K-6


focal plane shutter, long distance, high altitude oblique only,

K-7

9x18
high altitude vertical,

F-4


a low cost version of the K-6, cut film or roll film, eventually focal plane shutters were prohibited.

K8




K17
Folmer Graflex
9x9
1974842 Camera, William A Black, Fairchild Aerial Camera, 1934-09-25, -

K18

9x9
for vertical photography

K19

9x9


K20

4x5
20' to 200' long roll film, Fairchild  (Folmer Graflex under license)
1779424 Rewinding and resetting mechanism, Fairchild Sherman Mills, 1930-10-28, - "It is the object of this invention to provide in a handheld aerial camera mechanism whereby the shutter may be rewound and an unexposed sensitized surface advanced to exposure position by an operator without removing his hands from the hand grips or disturbing the alignment of the camera."
1974842 Camera, William A Black, Fairchild Aerial Camera, 1934-09-25, -
2131926 Camera magazine, Erwin C Weiblen, Irving W Doyle, Fairchild Aerial Camera, 1938-10-04, - 

K21

5x7


K22

9x9


K25


1626032 Photographic shutter, Sherman M Fairchild, 1927-04-26, -

K37




K-47

9


F8




F20




F40




F56


1939

KE28
Chicago Aerial Ind
70mm


KA-55

5


KA-56

5


KC-1

9


KS-72

5


?


36" f/4 lens - 2872845 36-inch f/3.7 lens, James G Baker, Air Force, 1959-02-10, -


Cameras mounted in aircraft frequency made use of an intervalometer (Wiki) to take a specified number of photographs at a specified time interval.

Balloons

Balloons have been used for photoreconnaissance since there have been balloons.   In modern times they are also used for ELINT (Wiki).

Shoot Downs

See Wiki: List of high-altitude object events in 2023 -

PS On Flight Radar 24 you can set an altitude filter.  When set to 42,000 feet there are dozens of planes both commercial and private in that air space.
Sometimes I see T-38 Talons (Wiki) which are rated to fly up to 50,000 feet over Northern California.  The F-22 (Wiki) is rated to 65,000 feet and the U-2 (Wiki) to 80,000 feet.
PPS Special altimeters are needed for high altitudes since the mechanical type do not work there.  (See: Servo altimeters)

Date
Location
Target
Altitude (k ft)
Shape
2023 Feb 4
South Carolina
Chinese Balloon
60
30m Balloon
2023 Feb 10
Alaska
UFO
40
"size of a small car"
2023 Feb 11
Yukon
UFO
40
cylindrical
2023 Feb 12
Lake Huron UFO
20
Octagon

Gas (Hydrogen or Helium) filled balloons (Wiki) have been around since about 1783.  Helium gas is made up of a single atom and so is the smallest particle possible which means it's very difficult to stop it from leaking.  We used Helium to test the hermetic seal of semiconductor packages.  Helium is not flammable so much safer than Hydrogen.  It's also very expensive.  Hydrogen gas is dia-atomic, i.e. H2 gas.  This makes the hydrogen molecule larger than Helium and so easier to contain.  You would think since it can be made from breaking water (H2O) apart it would be cheap, but the last time I priced these gases they were comparable in price.

There has been a history of the U.S. using balloons as a platform for aerial photography and it was also one of the first military uses of a balloon.

Starting in the 1940 General Mills (See Roswell - General Mills patents) developed balloons (Wiki: Skyhook balloon) that would go much higher than the classical Weather Balloon (Wiki).  Also see Radiosonde & Sonobuoy
The 1947 Project Mogul (Wiki) flew microphones on high altitude balloons in order to hear nuclear explosions - the source of Roswell UFOs & "flying saucers (disk microphones) see: Wiki: Roswell incident, Sonobuoy\Roswell
The 1955 Project Genetrix (Wiki) was aimed at photoreconnaissance of Russia in order to map items of interest.
The 1956 Project Moby Dick (Wiki), Atlas Obscura) used a film cassette similar to what would later be used for the Corona Project (Wiki).

YouTube: Deep Intel on the F-35 (Wiki), 44:49 - used a block III AIM-9 (Wiki) to shoot down balloon(s).  Note the F-35 fires the AIM-9 BEFORE it is locked.

16Feb2023: Aviation Week: Hobby Club’s Missing Balloon Feared Shot Down By USAF - cylindrical, Yukon, 11 Feb, lofted by the NIBBB. (on line 19 Feb - probably overloaded).  Super Pressure Balloons (Wiki) are different than a variable volume balloon, like used for Project Mogul.
Scientific Balloon Solutions - SBS-12 - APRS tracking -

The Google Loon balloons (Over my house, List, Wiki) can circle a location, i.e. they do not follow the jet stream (Wiki).
9193480 High altitude balloon system, Michael Smith, Kurt Sehnert, Randy Scott, Justin Lee Marsh, Mark L. West, Raven Ind, 2015-11-24, - Cites 110 patents, cited by 47 patents, by pumping gas between a lift and ballast chamber the buoyancy can be adjusted causing the balloon to rise or descend.
also see Sonobuoys\Roswell Connection for more on balloons & Radiosonde & Pilot Balloons
7469857 System and method for altitude control, Paul B. Voss, MIT, 2008-12-30, -  An differential expansion system and method for balloon buoyancy control which includes a zero-pressure envelope and a superpressure envelope. - maybe early reference to superpressure?
23Feb2023:CNN: Pentagon releases selfie taken by US pilot showing the Chinese spy balloon in air -

Friend's DJI Mavic mini 2 (Wiki)

A few years ago a good friend got a DJI Mini 2 (DJI) Aerial Camera Bundle from Costco (Includes: Extra Battery, Mini Bag+ and 32GB MicroSD Card).  This is not as good as the Fly More DJI bundle, but probably more cost effective.  The thing that really impressed me was that the images he took looked like the camera was on a tripod.  I would call it a tripod in the sky.  The airframe (Wiki) is controlled in such a way as to stay in the same place. This may require pitching or yawing to counter wind.  Image stabilization (Wiki) of the gimbal camera mount keeps the image steady.

DJI Mavic mini 2

The Costco bundle includes the DJI RC-N1 remote that couples to your cell phone.
Although I have not yet tried it, the mini 2 would be an excellent way to hang a wire antenna from a tree, replacing Line Launchers.

Description

The overall weight is 249 g (less than the 250 g weight that requires more paperwork.
No obstacle avoidance, that comes with the mini 3 Pro.
Level 5 wind Resistance means it can fly in winds up to 19 - 24 MPH.  My experience with the toy quadcopter taught me that this is an important factor.
I got this at a discount, probably because the mini 3 Pro is now available.  It's a 249 gram quadcopter that has Tri-Directional (forward, backward, and downward) Obstacle Sensing.

Memory

23 Aug 22 I'm trying to understand this.  Here's a first attempt:

Phone

The phone running the DJI Fly app stores what's called a cache memory, which may be a lower resolution version of whatever you did in the way to taking a video or still.
When you open the DJI Fly app in the lower left corner is "Album" which gives you access to the low resolution videos/stills that were recorded on you phone.
It is possible on most phones to capture a still of what the phone screen is showing -or- capture a video of what the screen is showing.  This is a function of what phone you have and something you need to do yourself.  It is not automatically done by the DJI Fly app.
On my android 9 phone:
 
Still screen capture: Press <Power> & <Volume Down>
Video screen capture: swipe down 2 times , press screen capture icon
 -or- edit and add screen capture.
Android 9 Video Screen Recording
To Clear the Cache:
Profile \ Settings \ Clear Cache
In the DJI Fly App:
Settings \ Camera | Max Video Cache Capacity: 2, 4, 8, .... (set the max size)

The phone Cache contains the following types of information: Video Cache, Photo Cache, Music Cache, Firmware Package (not needed after upgrade is done), Webpage Cache, Aircraft Flight Record Cache.

microSD Card

To format the microSD card in the mini 2 using DJI Fly App:
Settings \ Camera \ Format - this is a good idea with a new card or a card that might have been used in a different device to be sure the format is compatible.

Operation

A cell phone is used as an interface to the DJI Fly App. 
Power on the remote and DJI Fly app BEFORE connecting the USB cable!

YouTube: DJI MINI 2 | SECRET SETTINGS 1.4.0, 10:36 -
0:09 Tech-Drone Family -
0:20 Phone Charging - Settings\Control\Phone Charging: On
1:02 Camera Switch - use the camera in your phone to film the quadcopter, like taking off and/or landing.  This requires doing the takeoff and/or landing using the joy sticks (not the DJI Fly App which will not be accessible when the phone camera is in use).
2:34 1 Pilots Please? - "Added ability to control orientation of aircraft when flying forward during RTH." Rotating quadcopter gives great panning shots. Left stick rotate left or right.
3:57 Increase the Gimbal upward angle - Settings\Control\Allow Upward Gimbal Rotation
4:27 Data Geek - Settings\Camera\Video Subtitles (meta data): On - Requires video player turn on subtitles.
F/2.8, SS 728.01, ISO 100, EV 0, DZOOM 1.000, GPS (-30.0474,
53.9073, 28), D 2184.27m, H 701.20m, H.S 3.14m/s, V.S 0.20 m/s
5:11 Auto Sync Photos - Settings\Camera\Auto Sync HD Photos -
5:53 Quick(ish) Transfer - Holding down the light/button until it blinks blue allows quadcopter to join Wi-Fi network.  When done you must Switch to Flight Mode(upper right icon) to allow remote control.
6:44 Payload Off - activates when carrying extra weight.  Restricts to 30m hi & 50m distance.  Can be manually switched off.
7:46 Emergency Stop - quick press on Return to Home will very quickly pause & hover the quadcopter.
9:02 No Sticks No Problem - just move the controls with thumb on the threaded hole.  You actually get finer control this way.
9:44 Oops - some unique features that only the mini2 can do.

Quick Shots

YouTube:

00:56 Setup
01:45 Compass Calibration
02:30 Set to 4k Resolution
02:42 Dronie - keeps pointing to target (fixed azimuth) and moves up and out (set radius)
03:45 Rocket - top down (camera pointing down) (set height) and comes back
04:46 Circle - (set: CW or CCW) starting point sets altitude and radius.
06:15 Helix - (set: max radius)
07:34 Boomerang 
08:45 Summary

DJI mini 2 Hints & Tips

Micro SD Card

DJI Mini 2
                        MIcro SD card This was included with the Costco bundle.
SanDisk Extreme, 32 GB, V30, HC 1, U3, A1

(Wiki)
micro SDHC: FAT32, 2 - 32 GB
U3: 30, 60 or 90 MB/s;  V30= 30 MB/s
A1: Read: 1500 IOPS, Write: 500 IOPS
Also got the SIIG USB Type C 2-in-1 Card Reader mainly to get the 5Gbps speed associated with USB 3.0.  I remains to be seen if it will be noticeably faster than my existing USB-A (2.0) card reader.
My old reader transfers a 2.1 GB .mov file in 93 seconds.

Case to Hold 8 each Micro SD Cards & Spare cards


Propeller Strap

I have this on order since it did not come with the Costco bundle.  I feel much more comfortable using the strap that the props are protected.  See Fig 8, Fig 9 & Fig 10.

Batteries

Just a thought now, but in an emergency if live broadcasting video, like a wild fire, how many batteries would be needed to continuous coverage?
With one battery in mini2 and 3 fully charged batteries in the charger you would have about 4 * 30 minutes or 2 hours.
The number of batteries will be determined by the charge time of the charger for one battery and the capacity of the remote battery which may need an external battery bank.

Is there a limit how long a mini 2 can fly?  Some products shut down if too hot.

3 Battery Intelligent Charger with LCD (not DJI brand)

Polarizing Filter

I have a polarizing filter for some of my Nikon lenses and understand how they cut reflections.  But the video demonstrates that they have a positive effect on color balance.
YouTube: DJI MINI 2 FREEWELL Polarizer Filter vs NO FILTER: BEST Side by Side Comparison on YOUTUBE! 4K VIDEO -

DJI Fly App

Looking for the DJI Fly app in the Android Play store comes up with many hits, but none of them is the correct DJI version.  To find it go here on your phone and select the Apple or Android version.
https://www.dji.com/downloads/djiapp/dji-fly -or- https://www.dji.com/mini-2/downloads
During the install you will need to agree to give DJI access to pretty much everything.

Upgrading the DJI Fly app from 1.6.9 to 1.7.0 Solved the problems I first experienced.

Litchi Tracking (LitchiFly)

This is a third party app that makes use of the DJI Software Developers Kit (SDK) that does tracking.  But since there's no obstacle avoidance on the mini 2 it's up to the operator to avoid hitting something.  The app includes other features like FPV, way points, orbit, VR goggles, focus (select target, can be a separate Android device), Panorama (H, V or Spherical), Track.

It works by tracking your mobile phone that is running their app.  That also means you need to also have your remote on your person.
This single app works with most of the DJI quadcopters.
It appears to require a medium learning curve to get working.
YouTube: 22Jan22: ULTIMATE Active Track Test ft DJI Mini 2 with LITCHI, 12:10 - Follow: follows the GPS controller, Track is optical using the main (only) camera on the mini 2. - breaks lock a number of times which can be seen as he needs to restart the tracking.
As of 22 Jan 22 you may need to be part of the Beta program to get the mini2, but as of June 22 the mini 2 & Air 2S are part of Version 2.14.1/2.14.2.

LG G6 "Moisture in USB port" error

The first time I saw this error was in relation to the DJI mini 2 remote.  My phone has never been in water.

The following YouTube starts with the phone on it's home page.
YouTube:


DJI mini 2 Check USB Port. Charging Blocked due to moisture No. 2

I was able to install the app on my phone and go through the initial startup process and make a couple of test flights, but did not get as far as turning on the camera.  Then trying to make my third test flight this error has persisted and I can no longer open the Fly App.

This happens to the point that it's almost impossible to use the mini 2. 

Troubleshooting

A possible solution is to power down the phone and reboot it.  I'll try that.  Another possible reason is a USB cable with leakage resistance that the phone sees as moisture.  That was my first thought, but I found a posting suggesting the re-boot which is easier to try as a first step.  That did not work.

Connecting the short USB-C to USB-C cable to only the LG G6 VS988 phone does not bring up the error. (Tried this while the Use USB Connection was in Power Supply mode).  But nothing happened.  Probably because until the phone sees a DC load it does not do the moisture check.

Check USB Port. Charging Blocked due to moisture.

Next try wiping the Cache partition (Wiki How):
Settings \ Storage \ Internal Storage \ Free up space - delete Temp files & data: select items & delete Download folder: select items & delete; idle apps: select all & delete.
Power down & reboot.
Plugging in remote USB cable with remote powered down, no problems.
Powering up remote: Charging Blocked due to moisture.

In the LG G6 phone (Android ver 9): Use USB Connection for: was set to Power Supply - Charge the connected device.  Changed to Charging - Just charge this phone. ALWAYS.
Does not help.  As soon as the DJI remote is connected and powered on it must be asking the phone to charge it since when I look again at the Use USB Connection it has gone back to Power Supply.

DJI English tech support: 1 (818) 235-0789 Mon-Sun 6:00 - 18:00 (PST) was no help. A supervisor is supposed to call me back.  Called back the next day, not a known problem, engineers will look into it.

There may be a way to change some setting in the DJI Fly App, but I can not get into the app because of this error.  Maybe there's a way to reset the app?

Another possible solution would be to use the new DJI RC remote that does not require an external cell phone, BUT it's manual only mentioned two products: DJI Mini 3 Pro O3 & DJI Mavic 3: O3+.

My LG G6 VS988 is not on the recommended list of Android devices.  That list is very short.

Android Ver 9 USB settings

Settings \ System\ About Phone \ Software info \ Build Number (tap this 7 times) to turn on Developer mode.
now
Settings \ System \ Developer Options \ Select USB Configuration: A data cable must be connected between the phone and a computer, then the Use USB connection screen shows up.
I set it to Charging (just charge this phone) and ALWAYS.

Checking DJI RC-N1

Still get the Check USB port error when connected to the DJI RC-N1 remote.
Going back to the Use USB connection screen by connecting to a computer shows the option set at Charging NOT Power Supply.
I think that means there's a problem in the DJI RC-N1 remote or it's settings.

Normal phone charging

I normally charge this phone using a USB-C cable.  There has never been an error message about moisture.  (I think using wireless charging coupled with being in an area where there's a very weak cell signal has lead to exploding the battery in my previous three cell phones.)

Solution

Power on the remote and DJI Fly app BEFORE connecting the USB cable!

-------------------------------------------

DJI Assistant 2 (Consumer Drones Series)

WIN 7 Version is 2.1.10 9 Aug 2022.
The installation failed.  DJI WM160 USB Device loaded OK, but RNDIS and CDC Serial failed.

With DJI Assistant 2 running and with logged on, and USB 3 cable connected to computer . . .
Power On the mini 2 and within a few seconds plug in the cable.

EXPORT_FILE_2022-08-23_14-45-18.DAT - The DJI Fly app upgrade from 1.6.9 to 1.7.0 solved the problems associated with downloading files.

If needed:

So far I can move the video from the micro SD card to my WIN7 desktop computer and watch the silent movie on the computer.
BUT . . . so far have not found a way to see the movie on my Sony Bravia big screen TV.

Casting & Mirroring

Casting only works for allowed apps.
Mirroring shows the phone screen on another device.

WIN7 Desktop

Google Chrome can cast the computer screen, but that format is not compatible with the Roku device.  I am able to display my Android phone screen on the Sony via Roku.
Roku: How to cast apps like YouTube or Netflix from your phone to a TV - no help since it depends on an app
How to screen mirror your Android™ or Windows® phone to your Roku® streaming device - no help since it only works from a phone
Connecting Desktop with Roku Ultra - by means of HDMI, not LAN
Can no longer chromecast to streaming stick+ - 2) Roku does not support GoogleCast (aka ChromeCast - casting & mirroring) - confirmed, when I try it "
Cast tab
Roku Ultra
Available for specific sites
the above is grayed out and can not be clicked
Got some SanDisk Cruzer Blade USB2 thumb drives.  They come formatted as FAT32 (Wiki) , so my WIN7 computer did not see them.
After formatting as NTFS (Wiki) and assigning a new drive letter that did not conflict with existing drives I can write the MP4 video file.
But . . . my Sony Bravia TV, even though it will accept USB still and video files, does not recognize the NTFS stick.

Android Phone

I can view the videos on my big screen Sony Bravia TV from my cell phone Via a Roku Ultra.
Key Ideas:

  • Both the phone and the Roku must be using the same wireless network.  (Note I don't know a way of connecting my cell to the wired LAN network, so the Roku needed to be switched from wired (which gives much better streaming than wireless) to wireless and on the same network as the phone.
  • (from memory so may be off) Roku \ Settings \ System \ Screen Mirroring \ Always Allow
  • (must be done while TV & Roku are on): Android \ Settings \ Connected Devices \{ Screen sharing ON or Android Beam ON}
The data recorded as a subtitle appears on the TV.  Need to figure how to turn it off.
Watching the video on a big screen is the only way to watch DJI quadcopter videos.  Makes me consider getting an even larger screen.

Still Photo Size

Can be set to 48 MP.

In DJI App be in Photo mode (not video mode).
Click on J+RAW and for me: J+RAW rather than jpg only.
Size options: 4:3 or 16:9.  4:3 uses more of the camera's pixels.
In Photo mode (not video) tapping the lower right [auto] icon will bring up the [pro] manual settings menu.
Auto Exposure Bracketing (AEB) takes 3 images that could then be stacked in Photoshop for increased dynamic range.
ISO @ 100 for best results.
Stills, highest shutter speed available.
Photo\Pano\Wide-angle:  this takes an array of 9 images each in 4:3 aspect ratio for a huge image.

Friend's Birthday Party

I tried to use the mini 2 at a friends birthday party but got Account Not Logged In error.
After clicking on the red bar
DJI mini
                        2 Account Not Logged In error The red bar error message: Account Not Logged In
clicking on the red bar brings up "Log in or register" screen
DJI mini
                        2 Account Not Logged In error Log in or register
Enter Phone Number or Email <- THIS IS AN ERROR, ONLY EMAIL WILL WORK
____________________
The data window needs to be closed so that you can see and check the box.
[Check box] I have read and agree with the DJI Terms of Use, Privacy Notice, and
Information Authorization.


DJI mini
                        2 Account Not Logged In error But get "Invalid phone number" error?

Direct File Transfer mini 2 to Phone (DJI: Quick Transfer)

20 Aug 22

This also failed at my Friend's Birthday Party.  But this was the first time I tried to use it.
I suspect this is related to the cause of both problems, i.e. being on a different WiFi network, even though the phone knows the different networks and automatically logs onto them.

Back home using just phone and mini 2:
This works via Blue Tooth which needs to be turned on in the phone and then paired with the quadcopter.
"Can not pair with DJI" error.

Try starting in DJI Fly app, i.e. with phone and remote connected.
The DJI Fly app is unable to connect to aircraft when the quadcopter light is pulsing blue.
A long press of the blue light/button brings back the flashing green light (i.e. GPS lock, ready to fly).
Getting the Account not logged in error even though I'm back on my standard WiFi account.
After entering my password (but not the Captcha) got "Normal", i.e. ready to fly.
Now pressing green button, causing it to turn blue generates error "
RC not connected to mobile d..."

Direct
                        File Transfer mini 2 to Phone error

RTFM

Method 1: mobile device is not connected to remote.
1. on quadcopter, wait for green then press& hold lamp/button and wait for blue brightness smoothly pulsing (not blinking).
2. on phone with wifi and bluetooth enabled, start DJI fly app.
3.Prompt should automatically appear, it does not getting "RC not connected to mobile d..." error shown above.

Method 2: mobile connected to remote
1. Aircraft sitting for extended period.  Powering off automatically.  Wait until aircraft cools down (code: 30136) <-these are ERROR CODES
quadcopter and battery are hot!.  Swap battery to help cool.
But second battery is only at 21% charge according to the Intelligent Multi-Charger 3 Slot  (not DJI brand).
2. Phone \ settings \ WiFi and Bluetooth on.
3. Run DJI Fly, select Album icon lower left corner,
Enable location services on your mobile device to use Wi-Fi services normally."
2:35 started.  Rate about 2 MB/s (not 20).  After about an hour no more activity.
Now clicking the DJI Fly app brings up a roll of the photos but not the videos.

 DJI suggested that I turn off:
Settings \ Network & Internet \ Wi-Fi \ [...] \ Advanced Wi-Fi \ Aviod bad Wi-Fi connections (but it was already turned off).
22 Aug 22 - Does not work.

I have a multi-card reader to USB-A and I'm able to transfer filed from the microSD card to my desktop WIN7 computer and view the videos and photographs on my desktop screen.  BUT . . . so far (22 Aug 22) have not found a way to get them from here to my Sony Bravia big screen TV.

Big Screen Viewing

By using a SD & microSD card reader (Fig 12) to USB-C adapter with the microSD card from the quadcopter plugged into my Android cell phone I can use screen mirroring from my cell to the Roku Ultra connected to the Sony Bravia big screen TV.  In my opinion there's no point if having 4k video unless you watch in on a big screen.

Another idea is to use a double ended memory stick (both USB-A and USB-C), Fig 13 to allow carrying and accessing the video files from different viewing devices.

Intelligent Multi-Charger 3 Slot

Not DJI brand. box marked: Digital display Two-way (can be used as power bank) Charging Hub for MINI & MINI2, 3 output (3 slots)

eBay title: "5V/3A QC Charger Hub Intelligent Multi-Charging For DJI Mini 2/Mini SE Battery". Seller: parker3721

After a flight the battery was at 33% when installed in the charger.  Connecting one USB cable to the charger caused the two batteries that were almost full to be topped up to 100%.   Then the flight battery started to charge at 0.88A.  When the second charging cable was connected the charge current went up to 2.01 Amps.
Fig 1
Intelligent Multi-Charger 3 Slot
Charging the spare battery.

Yellow: Waiting
Blue: Charging
Green: Charged
Fig 2
Intelligent Multi-Charger 3 Slot
Comes with 2 USB-A to USB-C input cables.
Input cables not connected to source of 5V here.
When battery is installed the color LCD display lights up for a few seconds.
Fig 3
Intelligent Multi-Charger 3 Slot
When using two input USB-C cables the battery that's the most charged (No. 1: 80%) gets charged first.
In this case with a little over 2 Amps. 
But the spare battery (No. 2: 40%) is not charged and is waiting.
The charge current starts out high (2+ Amps and ramps down).
With no input power you can check all the batteries by pressing the Function button.

Photos

DJI Mini 2

Fig 1 Box as received: 11-3/4 x 7-1/2 x 6-1/4 weight 3# 4oz
There is also an UN 3481 battery label
Delivered by UPS ground.
There was a crushed air pillow in the box.
DJI Mini 2
Fig 2 Item: 1162016
UPC: 190021037441
DJI Mini 2
                      Costco Bundle

Fig 3
DJI Mini 2
                      Costco Bundle
Fig 4
DJI Mini 2
                      Costco Bundle
Fig 5 Spares Box
DJI Mini 2
                      Costco Bundle
Fig 6 Remove before flight
DJI Mini 2
                      Costco Bundle
Fig 7 Charging using standard USB -C cables
DJI Mini 2
                      Costco Bundle
Fig 8 DJI mini 2 Propeller Strap
DJI Mini 2
                      Propeller Strap
Fig 9
DJI Mini 2
                      Propeller Strap
Fig 10
1. Unfold the front arms forwards
2. Unfold the rear arms downwards.
DJI Mini 2
                      Propeller Strap
Fig 11 Micro SD Card
DJI Mini 2
                      MIcro SD card
Fig 12 SD & microSD card reader to USB-C adapter
SD &
                      microSD card reader to USB-C adapter
Fig 13 USBA-Memory-USBC
USBA-Memory-USBC, double ended memory stick
Fig 14 on window sill
DJI Mini 2
                      Remote & mini 2 Window Sill



DJI Photos

Fig 1 Pano 3x3 J-RAW
DJI mini 2 Pano
                      3x3






Photo Interpenetration of Aerial Photographs

YouTube:

Fairchild B-3B Intervalometer

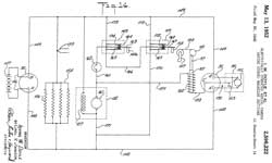
The Intervalometer (Wiki) output an electrical pulse or switch closure where the time interval between pulses can be set.  For example the B-3B is adjustable between 2 and 120 seconds.  These were used to trigger aerial cameras so that there would be a controlled amount of overlap on adjacent photographs.  The needed time delay depends on the speed and altitude of the plane and the angular coverage of the lens (i.e. the lens focal length and field of view) and the desired a mount of overlap.  Since the flight would be planned ahead of time the time interval could be preset.

Another intervalometer application is bomb release, but the B-B is intended for use with aerial cameras.  In general an intervalometer could be used for any time lapse photography application.

Connectors

3 male Pin DC Input & Shutter Output

AN-3102-168--6P

2 female Socket Warning Light Output

AN-3102-12S

Photos

Fig 1
Fairchild
                      B-3B Intervalometer
Fig 2
Fairchild
                      B-3B Intervalometer
Fig 3
Fairchild
                      B-3B Intervalometer



Field of View Calculator

35mm film ( 24 x 36mm) with 300mm (11.8", almost 1 foot) FL lens = 6.867 degrees on long axis, @20,000' long axis: 2,400'
At 68 MPH (100 Feet Per Second) it would take 24 seconds to cover all the field of view.
But for 69% coverage (i.e. 1440') for stereoscopic (Wiki) images the interval would be set to 14 seconds.

Manuals

 T.O. 10A1-5-2-23 (formerly AN 10-10AC-101) / 30 May, 1955, Handbook operation, service and overhaul instructions with parts catalog type B-3B intervalometer, 68 pages -

Patents


1775731 Warning signal, McSpaden Lewis, Fairchild Camera and Instrument Corp, 1930-09-16, - "...the chief object of my present invention to provide simple and effective means for giving the pilot a signal, preferably a visible signal, before each exposure,..."
817182 Driving
                      and controlling mechanism for automatic cameras,
                      Sherman M Fairchild, 1931-08-04, -
1817182 Driving and controlling mechanism for automatic cameras, Sherman M Fairchild, 1931-08-04, -

Fig 7 Electrical diagram
12: Motor
41: Solenoid
44: Battery
45: Solenoid contacts in intervolometer
46: Manual Trigger
80: Motor on Contacts
81: Motor stay on until cycle end Contacts

2048439
                              Photographic apparatus, Sherman M
                              Fairchild, 1936-07-21, - intervalometer 2048439
                              Photographic apparatus, Sherman M
                              Fairchild, 1936-07-21, - intervalometer
2048439
                              Photographic apparatus, Sherman M
                              Fairchild, 1936-07-21, - intervalometer 2048439
                              Photographic apparatus, Sherman M
                              Fairchild, 1936-07-21, - intervalometer

2048439 Photographic apparatus, Sherman M Fairchild (Wiki), 1936-07-21, - intervalometer

Aircraft DC power is supplied to Camera.
Cable between Camera and Intervalometer has power and trigger signal (3 wires).
Cable from Intervalometer to Warning Light is 2 wires.

Motor turns lead screw.  The position of trip device determines the time interval.

Fig 1 Main Components
1:  Intervalometer
11: Outlet
12: 2-wire cable
13: Signal Light 1775731
18: Outlet
14: 3-wire cable (Ground, Positive Battery, Solenoid 1817182)
15: Camera Interface

2432327 Electrical speed-responsive system with variable-ratio drive, Jr David W Moore, Fairchild Camera and Instrument Corp, App: 1944-11-17, Pub: 1947-12-09, - linear variable speed drive
Similar to the sextant averager.

2474323 Camera for photographing objects moving relatively to the camera, Rattray George, Fairchild Camera and Instrument Corp,App: 1944-09-20, Secret, Pub: 1949-06-28, - camera compensates for image motion due to low altitude and high speed.
2529728
                              Intervalometer, Leonard W Gacki, Fairchild
                              Camera and Instrument Corp, App:
                              1944-01-31, Pub: 1950-11-14, - B-3
2529728
                              Intervalometer, Leonard W Gacki, Fairchild
                              Camera and Instrument Corp, App:
                              1944-01-31, Pub: 1950-11-14, - B-3
2529728
                              Intervalometer, Leonard W Gacki, Fairchild
                              Camera and Instrument Corp, App:
                              1944-01-31, Pub: 1950-11-14, - B-3 2529728
                              Intervalometer, Leonard W Gacki, Fairchild
                              Camera and Instrument Corp, App:
                              1944-01-31, Pub: 1950-11-14, - B-3
2529728
                              Intervalometer, Leonard W Gacki, Fairchild
                              Camera and Instrument Corp, App:
                              1944-01-31, Pub: 1950-11-14, - B-3

2529728 Intervalometer, Leonard W Gacki, Fairchild Camera and Instrument Corp, App: 1944-01-31, Pub: 1950-11-14, - B-3

Instead of the lead screw, a wheel is rotated and the angle between start and trip sets the time interval.

Push-to-Set knob (65) sets time interval and is shown on pointer (16).

"EX PIC" finger piece (107) resets time interval and takes and extra picture.

Reset: cancels the current time interval to allow setting a new interval.

Solenoid (111) increments the Veeder Root exposure counter
There is a push-to-turn know to the right of the Veeder Root exposure counter that's used to reset the counter.

Signal Light (19) flashes just prior to each exposure.

(25) 2-Pin DC Output to warning light (? A(-) & B(+)?)
(26) 3-pins; 2 wires DC input, 1 Wire solenoid trigger; cable to camera.

.
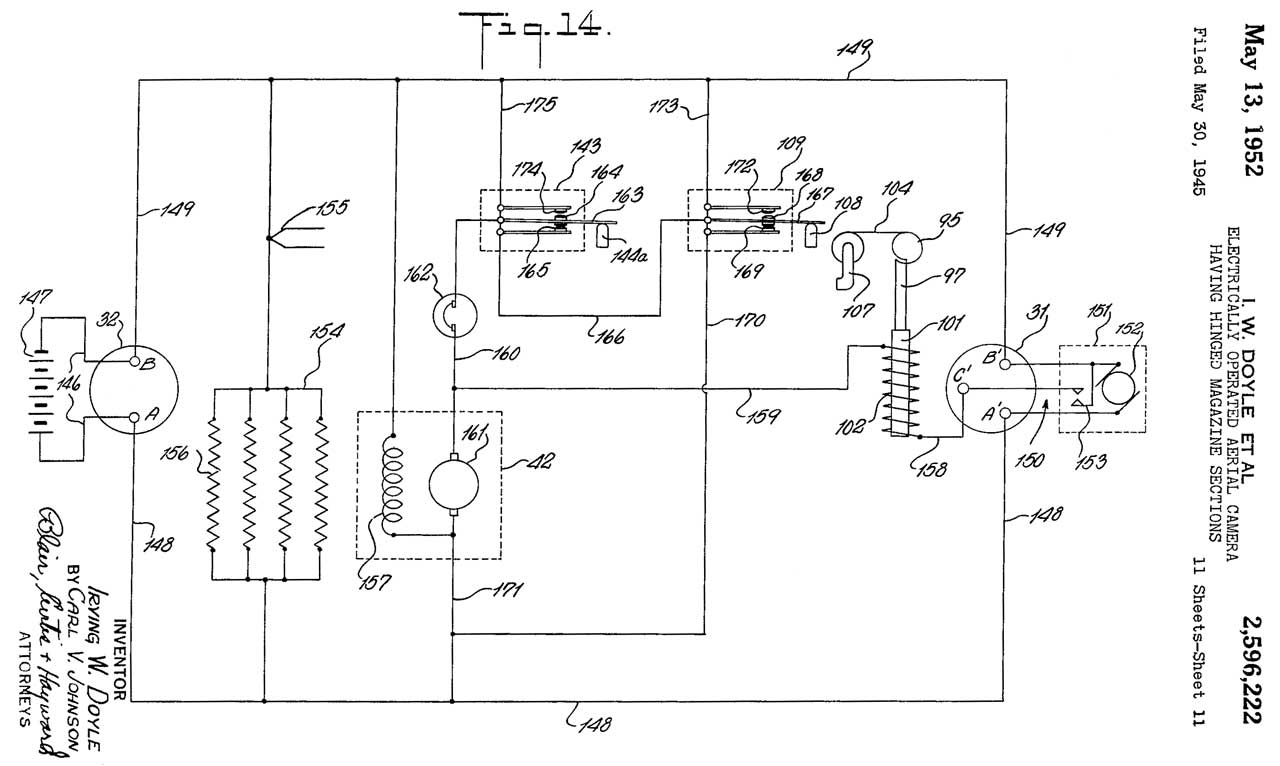
2596222
                      Electrically operated aerial camera having hinged
                      magazine sections, Irving W Doyle, Carl V Johnson,
                      Fairchild Camera and Instrument Corp, App:
                      1945-05-30, Pub: 1952-05-13
2596222 Electrically operated aerial camera having hinged magazine sections, Irving W Doyle, Carl V JohnsonFairchild Camera and Instrument Corp, App: 1945-05-30, Pub: 1952-05-13, -

" In this figure, a. two-wire cable 146 connects a power supply 147 to the power plug 32 of the magazine. This power plug includes terminals A(-) and B(+), which are connected respectively by lines 148 and 149 to terminals A' and B' of the intervalometer plug 31 at the right-hand side of the wiring diagram.

This plug is in turn connected by a three-wire cable 150 with an intervalometer 151 which may be of the type shown in the copending application of Leonard W. Gacki, Serial No. 520,575, filed January 31, 1944, now Patent No. 2,529,728 (B-3), issued November 14, 1950.

This intervolometer in brief, includes an operating motor 152 and contacts 153, which are periodically engaged at selectively spaced intervals to make a connection between terminals B' and C' of the intervalometer plug.

It should be noted that the contacts in the magazine, as shown in the wiring diagram, are shown in the positions they occupy when the magazine is fully wound and ready to be tripped."


LA313A Aerial Photographic View Finder

From the description in the NSN: "An instrument designed for use in conjunction with aircraft cameras. It provides a clear unobstructed view of the terrain below and in some cases, ahead of the aircraft for the photographer or navigator. It provides a means for determining the correct exposure interval. It may also include optical drift system for determining ground speed or angular drift. Excludes view finder, camera; view finder, camera, television and view finder, camera, photographic."
Fig 1
RF-4C Phantom cockpit LA313A viewfinder
Fig 2
RF-4C Phantom cockpit LA313A viewfinder
Fig 3
RF-4C Phantom cockpit LA313A viewfinder
Fig 4
RF-4C Phantom cockpit LA313A viewfinder
Fig 5 NSN: 6760-01-320-9433
DTID: SC440283040W10
Mfr p/n: 9037257-10
RF-4C Phantom cockpit LA313A viewfinder


The eBay ad "RF-4C Phantom cockpit viewfinder scope instrument" by seller instrumentp_pro; says this was used in the RF-4C Phantom jet which was used for tactical reconnaissance (Wiki). One of the photos shows 42 patent numbers (many very hard to read):
Prior Art Patents
510758 Method of
                      photogrammetry, Cornele B Adams, 1893-12-12
510758 Method of photogrammetry, Cornele B Adams, 1893-12-12, - "...the pictures obtained can be converted into topographical maps, to de lineate not only the horizontal positions and distances of the objects correctly, but from Which the altitude of the objects can be quickly and accurately ascertained, and such results obtained without the aid of other field instruments."

A single airplane can replace the two balloons by flying through the two points where the balloons are shown.

1612860 Aerial camera, Sherman M Fairchild,1927-01-04, -
2048439 Photographic apparatus,
                              Sherman M Fairchild, 1936-07-21, -
                              intervalometer 2048439
                              Photographic apparatus, Sherman M
                              Fairchild, 1936-07-21, - intervalometer
2048439
                              Photographic apparatus, Sherman M
                              Fairchild, 1936-07-21, - intervalometer 2048439
                              Photographic apparatus, Sherman M
                              Fairchild, 1936-07-21, - intervalometer

2048439 Photographic apparatus, Sherman M Fairchild (Wiki), 1936-07-21, - intervalometer

2413349 Camera for aerial photography, Jr David Hancock, Herbert E Meinema, (not assigned) 1946-12-31, - a photocell looks at the ground prior to the camera.





Patent Numbers on the LA313A Aerial Photographic View Finder
Chicago Aerial Survey (Wiki: Recon Optical)

254 ??

2931913 ??? Radiation receiver, Jr Geary A Long, 1960-04-05, - Prior Art, scanning or chopping. uses opaque bars to chop signal.

2603128 Optical system for objectives and eyepieces, John R Miles, Chicago Aerial Survey, 1952-07-15

2658422 Optical system for binocular viewing devices, John R Miles, Chicago Aerial Survey, 1953-11-10, -
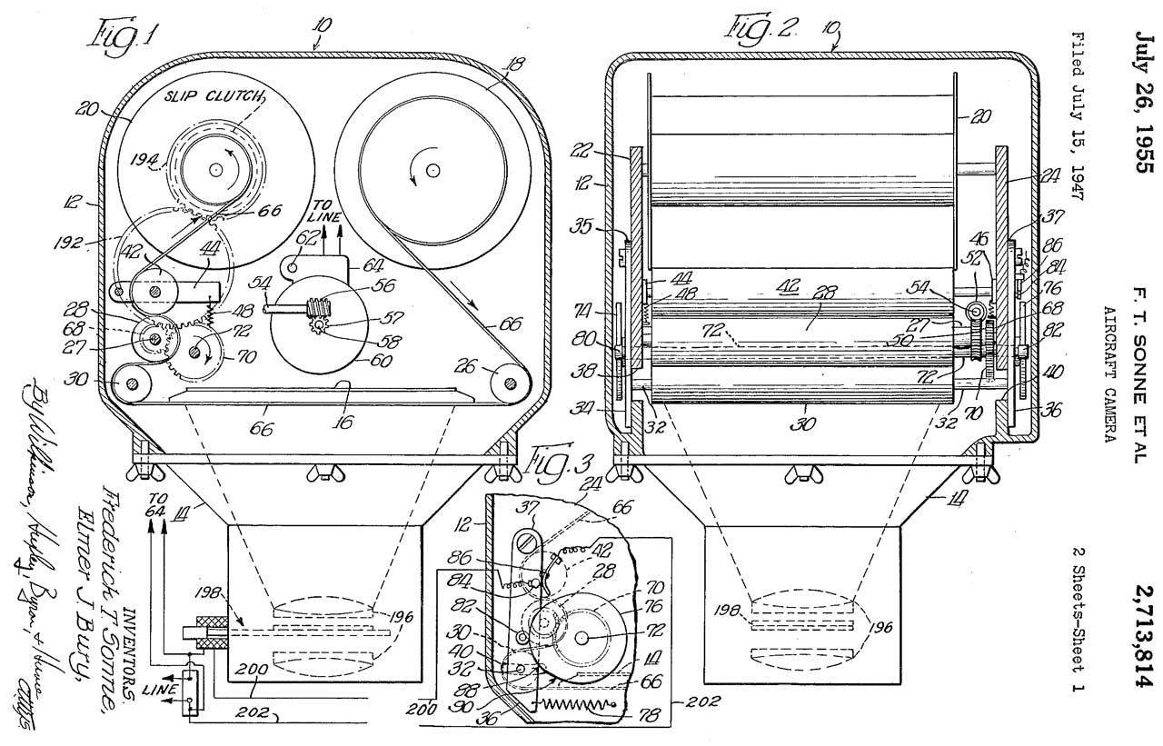
2713814
                      Aircraft camera, Sonne Frederick Theodore, Elmer J
                      Bury, Chicago Aerial Survey,1955-07-26
2713814 Aircraft camera, Sonne Frederick Theodore, Elmer J Bury, Chicago Aerial Survey,1955-07-26, -

2784 ??

....18 ??
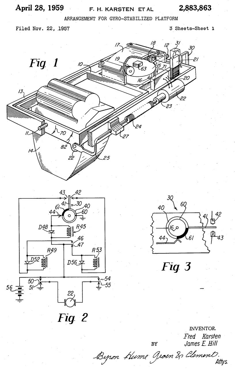
2883863
                      Arrangement for gyro-stabilized platform, Fred H
                      Karsten, James E Hill, Chicago Aerial Ind,
                      1959-04-28
2883863 Arrangement for gyro-stabilized platform, Fred H Karsten, James E Hill, Chicago Aerial Ind, 1959-04-28, -

2893290 Optical sighting lens systems, John R Miles, Chicago Aerial Ind, 1959-07-07, -

2925751 Symmetrical optical system for binocular viewing devices, John R Miles, Chicago Aerial Ind, 1960-02-23, -

298 ??
2967470
                              Control system for aerial photography,
                              Samuel P Willits, Jr William L Mohan,
                              James M Mccarty, Chicago Aerial Ind,
                              1961-01-10
2967470
                              Control system for aerial photography,
                              Samuel P Willits, Jr William L Mohan,
                              James M Mccarty, Chicago Aerial Ind,
                              1961-01-10

2967470 Control system for aerial photography, Samuel P Willits, Jr William L Mohan, James M Mccarty, Chicago Aerial Ind, 1961-01-10, -
also see 3158079 since the figures are about the same.
Control System for Aerial Cameras.pdf  (pg4 Fig 3 from 2967470 Fig 3)

Used with scanner patent 2413349 that measures Velocity/Height

2973985 Latching apparatus, Burton L Siegal, Chicago Aerial Ind, 1961-03-07, -

2986687  Variable output rectifier system for electric motor, Jr William L Mohan, Chicago Aerial Ind, 1961-05-30, -
2995662
                      Radiation responsive apparatus, Frederick A
                      Hamilton, Chicago Aerial Ind, 1961-08-08
2995662  Radiation responsive apparatus, Frederick A Hamilton, Chicago Aerial Ind, 1961-08-08, - tubes, ground speed measurement

3006263 Focal plane shutter, Eugene W Elliott, Elmer J Bury, Chicago Aerial Ind, 1961-10-31, -

3010367 Optical sighting lens systems, John R Miles, Chicago Aerial Ind, 1961-11-28, -

3016001 Polar camera, Frederick T Sonne, Chicago Aerial Ind, 1962-01-09, - is rotated on a vertical axis.

3028793 High edge definition lens, Bousky Samuel, John R Miles, Chicago Aerial Ind, 1962-04-10, -

3041501 Electrical energy storage device, Samuel P Willits, Chicago Aerial Ind, 1962-06-26, -

3044381 Camera shutter arrangement and means for operating the same, Eugene W Elliott, Chicago Aerial Ind, 1962-07-17, -

3045223 Device for detecting the presence of foreign material, Narinder S Kapany, Donald A Pontarelli, Phillip J Joseph, , 1962-07-17, -

3047870 Oscillographic viewing and recording systems, Bousky Samuel, Chicago Aerial Ind, 1962-07-31, - methods of recording RADAR displays

3049981 Film threading device, Eugene W Elliott, Elmer J Bury, Chicago Aerial Ind, 1962-08-21, -

3084301 Scanning apparatus, Jr William L Mohan, 1963-04-02, -

3087401 Focal plane shutter, John A Maurer, Eugene W Elliott, Chicago Aerial Ind, 1963-04-30, -

3088297 Apparatus for drawing fibers, Narinder S Kapany, David F Capellaro, American Optical Corp, 1963-05-07, -

3103546 Photorefractometer Narinder S Kapany, Optics Technology, 1963-09-10, -

3107070 Guidance system, Samuel P Willits, William L Mohan, , 1963-10-15, - a rotating disk has prismatic elements for Center, Up, Down, Left & Right to allow tracking a point on the ground.

3125626 Zonal Filter for Correcting Aberrations, John R Miles, Chicago Aerial Ind, 1964-03-17, -

3133486 Focal plane shutter mechanism, Maurer John AndrewChicago Aerial Ind, 1964-05-19, -

3139246 Automatic optical guiding system, Samuel P Willits, Chicago Aerial Ind, 1964-06-30, - similar to 3107070 plus has motors to point camera.

3143950 Cassette mechanism, Eugene W Elliott, Kenneth E Schaefer, Chicago Aerial Ind, 1964-08-11, -

3144497 Radiation sensitive ground speed indicator, Fredrick A Hamilton, Chicago Aerial Ind, 1964-08-11, - very similar to 2995662

3158079 Control system for aerial photography, Samuel P Willits, William L Mohan, Chicago Aerial Ind, 1964-11-24, -

3183811 Device for threading film, Eugene W Elliott, Earl E Gray, Chicago Aerial Ind, 1965-05-18, -

3188828 Photo-electric ice detecting device, Harry A Wayne, Chicago Aerial Ind, 1965-06-15, -

3190414 Combination motor-transmission-brake, John A Maurer, Eugene W Elliott, Chicago Aerial Ind, 1965-06-22, -
D191017
                              Camera, Eugene W Elliott, Chicago Aerial
                              Ind, 1961-08-01
D191017
                              Camera, Eugene W Elliott, Chicago Aerial
                              Ind, 1961-08-01

D191017 Camera, Eugene W Elliott, Chicago Aerial Ind, 1961-08-01, - K20 (Wiki)?

D137929 ?

D198501 ?

D200050 ?

Patents

Almost three thousand DJI US patents.
20220197309 Systems and methods for operating unmanned aerial vehicles, DJI, 2022-06-23, - changing the length of rotor arms to balance a change in the center of gravity (why? dropping munitions, package delivery, optional cameras?)

20160313742 Methods for launching and landing an unmanned aerial vehicle, Ming-Yu Wang, DJI, App: 2013-12-13, Pub: 2017-07-04, - Phantom (Wiki, DJI)? - under slung GoPro type camera
D768539 Aerial vehicle, Seung Heon Lee, GoPro, App: 2015-08-04, Pub: 2016-10-11, - folding arm quadcopter
20190185169 Unmanned aerial vehicle, Bogao XU, Zhenzhou LAI, Lei Wang, DJI, Priority: 2016-08-23, Pub: 2019-06-20, - Mavic?
D814970 Aerial vehicle, Shaojie Chen, Yumian Deng, DJI, App: 2016-02-22, Pub: 2018-04-10, - Mavic?
D868177 Controller, Yiwei Chen, DJI, App: 2018-07-20, Pub: 2019-11-26, - DJI RC?
20190375510 Unmanned aerial vehicle, Li Qiu, Mingxi Wang, DJI, Priority: 2017-02-24, Pub: 2019-12-12, - Phantom?
20200001990 Automatically and releasably coupling UAV propellers to propulsion motors, and associated systems and methods, Bin Jiang, Guannan Ren, DJI, Priority: 2017-03-15, Pub: 2020-01-02, -
20200023995 Unmanned aerial vehicle, Liang Song, Hongyun MA, Yazhen WEI, DJI, Priority: 2016-12-26, Pub: 2020-01-23, - optical object avoidance
20200148350 Unmanned aircraft, Guisheng NONG, Lei Zhang, Yin Tang, DJI, Priority: 2017-04-26, Pub: 2020-05-14, - Spark
D861573 Aerial vehicle, Baichuan He, Yumian Deng, Wenbo Li, DJI, App: 2018-01-19, Pub: 2019-10-01, - mini or mini2 ?
D869375 Aerial vehicle, Min Kim, Siyoon Kim, Guisheng NONG, Lei Zhang, Peng Bin, Tianhang MA, DJI, App: 2017-04-13, Pub: 2019-12-10, - Spark fixed motor arms, the mini has folding arms
D874532 Camera with gimbal, Yiwei Chen, DJI, App: 2018-06-26, Pub: 2020-02-04, - mini camera?
D905596 Aerial vehicle, Shaojie Chen, Yumian Deng, DJI, Priority: 2016-02-22, Pub: 2020-12-22, - one of the Mavic or mini series? 130 citations, maybe with optical avoidance?
D918087 Aerial vehicle, Baichuan He, Yiwei Chen, Shaojie Chen, DJI, App: 2019-07-12, Pub: 2021-05-04, - Design for the mini 2, 16 Figures.
20210341610 Ranging device, Shuai Dong, Xiaoping Hong, Huai Huang, DJI, Priority: 2019-01-07, Pub: 2021-11-04, - Zenmuse L1 - LIDAR also see: 20210336566, 20210333401, 20210333375, 20210333369, 20210333362, 20210333393, 20210335016, 20210335015, 20210335019, +many more
D931386 Controller, Min Kim, DJI, Priority: 2020-03-10, Pub: 2021-09-21, - RC-N1 remote control
D944665 Gimbal with detection device, Lin Li, DJI, App: 2020-06-30, Pub: 2022-03-01, - Zenmuse L1 - YouTube:

- from CIA\FOIA pg 8

Anti Drone

There are times/places were drones should not be flying.
SIAC Counter Unmanned Aerial Systems - they have a frequency allocation of 1.525 - 1.681 which is close to one of the Drones Vision frequency bands.
Drones Vision anti-Drone systems: Skynet Anti-Drone-System and Skynet Drone-2-Drone.  Both these are jammers working in frequency bands:
Channel 1 : 1.56 GHz – 1.63 GHz (see SIAC above)  (7 MHz bw)
Channel 2 : 2.4 GHz – 2.53 GHz (Wiki) ISM Band: 2.4 - 2.5 Ghz (100 MHz bw)
Channel 3 : 5.7 GHz – 5.91 GHz (Wiki) ISM Band: 5.725 - 5.875 GHz (150 MHz bw)
Drone Vision (YouTube) also makes weaponized drones including dropping 60mm mortar rounds.

Related

Aircraft
Campbell Stokes Sunshine Recorder
DigitalPhotography101 Digital Photography 101: The Basics
Digital Photography 201 Stacking Images
Digital Photography 202: Close-Up, Macro & Micro
Digital Photography 203: Color Management
Digital Photography 204: Studio Flash
Digital Photography 205: Astrophotography
Digital Photography 206 Micro Photography
Electro Optical Gadgets
Exotech 100BX Radiometer -
Optics
UAS-4 Infrared Surveillance System
Optical Spectrum Analyzers 

References

Ref 1. Photography Vol 1, Navy Training Courses, Navpers 10371, 1951
1. Navy photographer
2. Light and Lenses
3. View cameras & hand cameras
4. Negative materials
5. Shooting techniques
6. Photographic chemicals & solutions
7. Film developmment
8. Contact & projection printing
9. Negative & print troubles
10. Flash photography
11. Filters
12. Infrared photography
13. Making identification photographs
14. Copying
15. Portraiture & group photography
16. Lantern slides
17. Photography with Pola-screens
Ref 2. Photography Vol 2, Navy Training Courses, Navpers 10372, 1947
1. Color photography
2. Aerial cameras
F-1: Oblique, 7" f/4.5, 10" f/4.5, 20" f/5.6; Detachable 5x7 roll or sheet
F-8 (old): Oblique, 10" f/4.5; 5x7 sheet
F-8 (new): Oblique,10", 15", 5x7 roll
F-56: Oblique or Vertical, 5.25" f/6.3, 8.25" f/4.0, 20" f/5.6, 40" f/8.0, 40" f/5.6; 5x7 sheet, 6.6.2x7 roll; intervelometer
K-3A: Oblique or Vertical, 12" f/4.5, detachable 7x9 roll
K-3B: Oblique or Vertical, 6" f/6.3, 8.25" f/4.0, 12" f/5.0, 24" f6.0; 7x9 roll
K-7C: Oblique, 24" f/6.0, 9x18 roll
K-12: Oblique night, 13.5" f/3.5, 8x10 sheet
K-17: Oblique or Vertical, 6" f/6.3, 12" f/5.0, 24" f/6.0; 9x9 sheet or roll
K-18: Oblique or Vertical, 24" f/6.0; 9x18 roll
K-19: Vertical night, 13.5" f/3.5; 9x9 roll, sheet
K-19A: Vertical night, 12" f/2.5; 9x9 roll, sheet
K-19B: Vertical night, 12" f/2.5; 9x9 roll, sheet & motor drive
K-20: Oblique, 6.375" f/4.5; 4x5 roll
K-25: Oblique, 6.375" f/4.5; 4x5 roll & motor drive
T-3A: multi lens mapping, 150mm f/6.8; 5.5x6 roll
F-46: Torpedo attack, 5" f4.0, 5" f/4.5; 2x7 roll
Strip Camera: no shutter - film speed adjusted to match image movement <300 MPH
3. Aerial film
Aero panchromatic
Infrared
Aero color
4. Aerial photography - the "know how"
5. Stereoscopy - depth in pictures
6. Motion picture cameras
Mitchell 35mm
Bell and Howell Standard 35mm
Bell and Howell Eyemo Model Q, Model M 16mm
Bell and Howell Filmo 70A, 70D, 70F16mm
Kodak Cine Special 16mm
7. Motion picture processing
8. Motion picture technique
9. Motion picture projectors
10. Care of equipment
11. Administration regulations, records
Ref 3. YouTube: DJI

Ref 4. Mattheww Brennan: Mini 2 videos -





- Timecodes -
00:00 - "Drones"
01:11 - Why Defintions Matter...yes, they do :)
03:51 - UAV vs RPA vs UCAV
08:42 - UAV: Unmanned Aerial Vehicle
09:31 - RPA: Remotely Piloted Aircraft
09:52 - UCAV: Unmanned Combat Aerial Vehicle
10:28 - UAV is not RPA is not UCAV
11:38 - Using "drones": why context matters
14:26 - COIN, Naguro-Karabakh, Ukraine
17:54 - The real benefit of UAV and RPA
20:45 - Conclusion
Ref 6. Hexagon (KH-9) Mapping Camera Program and Evolution, 2012, 385 pages (free on line) - "This volume re- publishes Hexagon Mapping Camera Program and Evolution as part of the Center for the Study of National Reconnaissance's (CSNR ) Classics series. The introductory information explains that while the focus of this history is on the Hexagon KH- 9 mapping camera subsystem , it actually provides an overview of the entire Hexagon program and a full discussion of the evolution of satellite photoreconnaissance up to 1982." KH-7 Gambit (Wiki), KH-8 BYEMAN Gambit 3 (Wiki),  KH-9 BYEMAN (Big Bird) Hexagon (Wiki).
Related books:
The Gambit Story by Frederic Oder, James Fitzpatrick, and Paul Worthman
The Hexagon Story by Frederic Oder, James Fitzpatrick, and Paul Worthman
A History of Satellite Reconnaissance — The Perry Gambit & Hexagon Histories ( by R. L. Perry)
A History of the Hexagon Program — The Perkin - Elmer Involvement ( by R. J. Chester)

Ref 7. "CORONA Program (Wiki: KH-4) History, Vol I Program Overview , ” produced by the Directorate of Science and Technology, Central Intelligence Agency, 19 May 1976 (TOP SECRET / BYE ). (2005/06/09: 94 pages, pdf) - the first satellite based photoreconnaissance program starts 19 Aug 1960, just 110 days after the 1 May 1960 shoot down of Power's U-2.
Ref 8.
3:14 Optical Bar Camera - film: 5" x 2 miles, Cameras pointing Left, down, right looks like in U-2, AN/ASD-2 Pod (mounts in bomb rack) uses 70mm film.ASARS (FAS)
6:37 Active Pixel Sensors - COMS replaces CCD sensors,
8:11 Wide Area Motion Imagery - Constant Hawk (Wiki) 96 Megapixel camera, Gorgon Stare (Wiki, Sierra Nevada Corp, Big Safari)
12:43 ARGUS (Wiki) "...4 lens 368 cellphone 5 Mp cameras in a mosaic to video- and auto-track every moving object within a 15 square mile area.
14:05 Persistics (Earth Imaging Journal), Chinese Balloon
16:36  Brilliant ad
Ref 9. The Drone That Was Banned From War, 10:49 - Mavic 3,
Ref 10. Lookout Mountain U.S. Air Force Motion Picture Production Promotional Film 33584, 19:52 -
Ref 11. Dr Julius Neubronner’s Miniature Pigeon Cameras
Ref 12. The History of Pigeon Cameras, 10:02 - balloons, kites,
Ref 13. See Radio Direction Finding Ref 21: United States Air force Airborne Radio Direction Finding (ARDF) System South Vietnam 1966
Ref 14. How did this reconnaissance aircraft fool Nazi Germany?, 11:40 - Lockheed Electra (Wiki) G-AFTL; Sidney Coton (Wiki)
Ref 15. Operation Crossbow (Wiki); 58:57 -
Ref 16. AF Research Lab: A Brief History of Eclipse Photography: Episode 1, 12:33 -
Ref 17. DJI Air 3 For Photogrammetry and 3D Modeling Review, 13:12 -
Ref 18. Turn Your DJI Drone Into A Mapping Machine For FREE!, 18:10 - Mavic 3 classic an above, Air3 & Air3S, Mini 4 Pro,
Ref 19. 1.8 gigapixel ARGUS-IS. World's highest resolution video surveillance platform by DARPA, 4:40 - BAE Patents -
Ref 20.

Links

Aerial Reconnaissance - Cold War stuff including some interesting articles such as Image Motion Compensation.
Smithsonian Aerial Cameras - they typically do NOT mention film size.
ASPRS: Aerial Cameras and Photogrammetric Equipment: A Quarter Century of Progress, Sanders, Sep 1944, 24 pgs -

W.W. I: K-1, K-2 & 1918 K-3 with intervalometer.  The K-5 handheld camera was made by Folmer-Graflex.
ASPRS: Fairchild Solar Navigator, Eliel, 1937, 8pgs - Earth-Inductor compasses change readings with engine RPM.  Gyro compasses can change by a degree in 15 minutes if will aligned and in 1 minute if not so well aligned.  The Fairchild Solar Navigator combined a Sun sensor and gyro to get much better bearing accuracy.
ASPRS: The Story of Fairchild Aerial Surveys, Inc. Eliel, 8 pgs, 1942 - Fairchild's between-the-lens shutter was slower than the focal plane shutter so was not popular.  Fairchild started a mapping company to demonstrate the advantages of both the between-the-lens shutter and interchangeable film magazines.
PRC68, Alphanumeric Index of Web pages, Contact, Products for Sale
Page Created 2022 Aug 2