Tripods

© Brooke Clarke 2013 - 2023

Background
Consideerations
Heads
    Movement  
    Ball, Pan, Geared, Panoramic, Gimbal, Fluid
    Attachment
   Camera
    1/4"x20 Male US Camera Thread
    3/8"x16 Male EU Camera Thread
    Quick Release (proprietary)
    Surveying
    3-1/2"x8 Male Surveying Thread
    5/8"x11 Male Surveying Thread (Solid)
    5/8"x11 Male Surveying Thread (Hollow)
    5/8"x11 Core Drill Extensions
    GPS Quick Release 5/8" x11 Adapter
    Photography Studio Lighting
    Photo Studio Lighting
Tripods
    AB-1089 Tripod Head
    Arri
    Dorne & Margolin C152-1-1
    ITE
    Leitz115A
    M1913 Sketch Set, Surveying, Military Field Sketching   
    M-227 Signal Lamp Equipment SE-11 - LG-21 Tripod
    Mance Type Mk V Heliograph
    Nexstar 60GT Telescope
    Orion GoScope 80 Table Top Telescope
    Radio Shack Roof Top Antenna Mast Tripod 
    Slik F740
    T. F. Randolph Level
    Gibbs Tripod
    TiltAll
    Ultra Compact Light Stand
    Wild Heerbrugg ARK 1 Gyro Aiming Circle
    Manfrotto MT055XPRO3 Aluminum Tripod & 410 Jr Geared Head
    Folmer
Range Poles
    SECO
    3.7m/12ft Laser Level Telescoping Pole with Tripod Mount
    Leitz Range Pole Tripod
Manfrotto
Related
Links

Background

Tripods are used for many applications where you need to support something above the ground.  There are some similarities and difference in tripods depending on the application and where in the world they are being used.

Some common applications are for use with: Astronomy, Binoculars, Cameras, GPS receive antennas like for the PLGR or DAGR or Trimble antennas and Surveying instruments.

Considerations

Weight Carrying Capacity

Most tripods have some design limit on how much weight they can carry.  If that weight is exceeded the clamps may not work, allowing the load to move in unexpected ways (and it may allow the load to hit the ground).  For example the Slik F740 can not hold the Nikon D300s and a heavy lens without tipping down, but the TiltAll or Arri tripods can hold it.

Spreading of the legs is another problem as weight is added.  An outdoor tripod, like the Arri and TiltAll have spikes that can be extended from the feet to dig into the ground which helps the legs from spreading.  But when indoors when the spikes are retracted to protect the floor the rubber crutch tip feet may slide on a smooth floor lowering the weight capacity.   There's a triangular base that can be used to keep the legs from trying to spread out.

It may be that the weight of the tripod should be about weight of the camera? 
The Manfrotto 055 & 410 head weigh 8.5 pounds and rated to carry 11 pounds. 
The Slik F740 weighs 3.5 pounds and is rated to carry 3.2 pounds.
Vacuum tubes require a filament power that's greater than or equal to the power consumed by the plate circuit.

An astronomical telescope depends more on the mount than on the optics of the telescope.  The major effort goes into the pier and mount.

Maximum and Minimum Height

The most common tripod use is to hold something at standing eye level, like a telescope, camera to surveying transit or theodolite.  There are also times when you want to hold a camera close to the ground and at the same time be able to pan, tilt or rotate it and some tripods like the TiltAll allow the central support to be installed from the bottom.  Table top photography would appear to be a place for a small tripod but that doesn't work out to be the case, see Center of Mass below.  So for that application a clamp with a 1/4 bolt or ball head is the way to go.

Center of Mass

There are a number of "cute" small (under one foot tall) tripods on the market, but if you place a load that has a center of mass that's outside the tips of it's legs the tripod will fall over on it's side.  This happens with those small tripods with almost any practical load, even a USB camera will flip it over because of the weight of the cable.

Pan Heads

If the tripod is going to be used for movie or video where the head will be panned left or right then there are new things to consider.
There needs to be a way to plumb the rotation axis (or level the head) so that when you pan the camera keeps pointing at the horizon instead of pointing into the ground or the sky.
Also the panning motion needs to be smooth.  The Arri tripod has a "Ball Head" that's a hemispherical surface and the moving parts have good lubrication so it pans very smoothly.
An even better head is the "Fluid Pan" head that pans smoothly with heavy loads.

Leg Tips

Most surveying tripods have spike points at the tip of each leg and a small shelf that you can stand on to force the tip into dirt.  These legs do not work on smooth surfaces where they might allow the legs to open.

The TiltAll camera tripod has rubber hemispherical tips that work well on smooth indoor surfaces and also have points that can be screwed out when you need more traction in dirt.

Astronomical Heads

See my Telescope Mounts web page.

Equatorial (Polar) (Wiki) where there's a plate that can be adjusted so it's plane includes the North Celestial Pole (Wiki).  This type of mount allows one motor to de-spin the Earth's rotation and set the hour angle (Wiki) and at right angles to that axis an adjustment for declination (Wiki).
Example: Celestron C8 (Wiki)

Azimuth-Elevation (Wiki) used on lower cost telescopes.  Will work with GoTo telescopes (Wiki).
Example:  The Celestron NextStar 60

Dobsonian (Wiki) is a head type where the astronomer moves the telescope by pushing on it.  This requires both a balance about the horizontal and vertical axis of rotation and in addition some friction on each axis so the scope will stay when the pushing stops.

Application Specific

Many tripods are custom made for a specific application.  Usually there's a good reason like to minimize weight or size.  In early times standards had not yet developed so each company did their own thing.  In the case of a military product making instead of using a standard tripod increased the company profits.

Heads (Wiki)

How the head can be moved (or not) and how it attached to the item to be supported can vary a lot.  In addition there are adapters to allow one tripod to be used for an additional purpose besides the one it was designed to do.  The attachment method needs to match whatever you want to support.

Movement

Ball Head (Wiki)

Still Camera
Allow a lot of freedom of movement including pointing camera down parallel to head mounting axis.  Very simple and so these can be very cheap/low quality.
The idea is to unlock, move camera where you want it then lock.

Movie Camera
The Arri Ball Head has a 100mm diameter ball with grease to provide very smooth moves.  This comes close to a Fluid Head in terms of making smooth camera moves for film or video.
Note there's a built-in bubble level so that when panning left or right the camera does not point into the ground or sky.

Pan Head

Have pan and tilt motions that have friction locks.  The Slik 740 is this type.  When overloaded the locks do not hold and the camera drifts.
The idea is to unlock one axis, pan, tilt or rotate, make that move the lock that axis.

Geared Head

Is a pan head where gears replace the locks on each axis to allow working with heavier cameras.  The Manfrotto 410 Jr. is an example.  It is designed for close up photography to allow fine adjustments.
The idea is to use the clutch on an axis to get roughly the desired position then use the gear drive to get the final position.  No need to lock since the gears serve that function.  So if a tweak is needed you just turn the gear.

Panoramic Head (Wiki)

The idea is to take a number of still images and stitch them together to get a very wide angle image.  Commonly used for school class pictures and tourist attractions.  Also sued for VR 360 degree images.

Gimbal Head

Designed for heavy lenses (they are sort of like a pendulum) and when properly balanced make it easy to position the lens.
The Integrated Television Equipment (ITE) tripod has a spring on the tilt axis to partially counteract the weight of an early (read very heavy) TV camera.

Fluid Head

The current standard for smooth motion heads for film and video.

Attachment Method

1/4"x20 Male US Camera Thread

This is probably the most common attachment for tripods and is intended to hold a camera as used in the U.S. and many other countries.
Examples are: TiltAll camera tripod, Binoculars (see holding)

3/8"x16 Male EU Camera Thread

You would expect the European camera thread to be some metric size, but it's really a U.S. 3/8"x16.
Example: the Arri Movie Camera tripod.
This is a larger thread than the US 1/4" so would be better for heavier cameras.

Quick Release (proprietary)

Instead of turning a screw or the device you are attaching a proprietary plate is attached to the device and then it can be quickly installed or removed from the tripod by the operation of a lever.  The problem with these is that they are all different but you can get more top plates of the same kind.
Example: Slik F740 camera tripod, Veibon QRA-635L Quick Release Adapter used on the Arri tripod to hold the Nikon 300mm telephoto lens.

3-1/2"x8 Male Surveying Thread

This is an older surveying tripod thread.
Example: Leitz 115A Transit


Surveying
                    Tripod Head 3-1/2"x8 Male Thread

5/8"x11 Male Surveying Thread (Solid)

I got an adapter from 3-1/2"x8 to 5/8x11 so that I could mount GPS antennas on a 3-1/2"x8 surveying tripod.
Example: DAGR GPS receiver with external antennas (scroll down for many examples), GPS antenna on range pole, Trimble Military GPS Antenna 17572-00, Trimble 4000ST/SST Antenna, Trimble GeoExplorer II GPS receiver, Trimble 25785-00 ProBeacon Differential GPS receiver antenna,


Surveying
                    Tripod Head 5/8"x11 Adapter

5/8"x11 Male Surveying Thread (Hollow)

Modern surveying instruments that make use of a Tribrach (Wiki) typically includes an optical plummet instead of or in addition to a hook for a plumb bob (Wiki) require a hollow 5/8x11 male thread on the tripod.
Note: A Tribrach is only needed if the surveying instrument does not already have an optical plummet built in and  you don't want to use a plumb bob (Wiki).
The problem with plum bobs is that wind moves them and the price goes up with the weight.
Examples: Sokkisha/Sokkia/Leitz N010C Theodolite (aka: 10C Transit), Nikon NT-2S theodolite,


Surveying
                    Tripod Head 5/8"x11 Adapter
This tripod from eBay seller fltgeosystems was titled:
"
Aluminum Survey Contractor Tripod for Transit Laser"
and in the description they called it:
"Northwest NAT83 Survey Aluminum Tripod"
Bottom of head
Surveying
                    Tripod Head 5/8"x11 Adapter
The lateral position of the 5/8" bolt can be moved over
a considerable range (over 2") so that the center of
instrument rotation can be placed exactly over a point
on the ground.  Note at the bottom of the handle there's
a "V" shaped wire for hanging a plumb bob.

More photos on:
Theodolite

5/8"x11 Core Drill Extensions

These are available for about $15.  They have a male and female end with 5/8" x 11 threads.  Might be handy for mounting an antenna with 5/8x11 threads.

Holding GPS Antenna
Photo from John Ackerman N8UR
Trial fit, will be much higher soon.
5/8"x11 Core Drill Extensions - Holding
                    GPS Antenna
On Amazon  Concord Blades EXT06D 6" Core Bit Extension 5/8"-11 M to F - $15

GPS Quick Release 5/8" x11 Adapter

These are use to hold a GPS antenna on a range pole.  The idea is that the bottom of the rang pole is fixed on a way point and the pole top including the GPS antenna can be moved from way point to way point.

GPS Quick
                    Release 5/8" x11 Adapter The pin with a narrow waist is about 0.47" OD and is about an inch long.
It fits in a hole that's about 0.475" ID.

Photo Studio Lighting

Light stands for Photography have a spool head and the lighting equipment has a hollow sleeve and pinch clamp.
See the Photography Studio Lighting web page.
see the Ultra Compact Light Stand
Clamp to Light Stand
Photo Studio Tripod Head for Lights

There are three mating methods:
top: 1/4"-20 standard photo tripod thread.
center: 15 mm spool (small diameter is 12 mm)
bottom: 22 mm spool (small diameter is 20 mm)
The Einstein 640 mounts on a standard photographic studio light stand.
Photo Studio Tripod Head for Lights

Tripods

More information about these tripods can be found be clicking on the paragraph title.

AB-1089 Tripod Head

The idea is to use this head with three mast sections to support more mast sections by forming a tripod.
Can only be used with some undetermined mast sections.
AB-1089 Tripod Head


Arri 100mm Ball Head

Intended for small movie cameras and low budget applications.
Shown with Nikon D300s DSLR camera & 300mm f2.8 lens.
Arri 100mm Ball Head
            tripod

Dorne & Margolin C152-1-1 Military UHF Satellite Antenna & Tripod

This tripod can only be used with this or maybe other Dorne & Margolin antennas.
Dorne & Margolin C152-1-1 Military UHF Satellite
            Antenna & Tripod

ITE

Integrated Television Equipment made TV studio tripods and dollies (SMECC: ITE).
I was hoping for a tripod that had more weight carrying capacity than the Arri, but this one has a problem with the legs spreading.
By adding a "Y" plate on the ground/floor to stop the legs spreading this tripod appears to be capable of holding the TVS-2 night vision telescope.
Pan-Tilt head with a spring on the tilt so that a heavy camera would not tend to fall forward or backward.

Shown at max height.
Pan-Tilt head
ITE tripod

Leitz115A
This is a medium quality transit and works with any 3-1/2" - 8 surveying tripod.
Leitz 115A Transit on
            standard tripod

M1913 Sketch Set, Surveying, Military Field Sketching
This tripod is has a special head to allow leveling the plane table.  An Alidade (K&E 76 0000) was placed on the table and the combination used to draw scale maps.
xx
M-227 Signal Lamp Equipment SE-11
Custom built tripod to support high power flashlight used to send Morse Code.
x

Mance Type Mk V Heliograph

Used to send Morse Code by reflecting the sun in a tilting mirror.
Tripos is specific to this application.
Mance Type
              Mk V Heliograph

Nexstar 60GT Telescope

This is a very low cost "Go To" telescope.
Az-El motorized head.

Nextstar 60GT
              telescope

Orion GoScope 80 Table Top Telescope

This is a $100 list price range scope that's quite good for the price.  Used on a table top.
Can see rings of Saturn, moons of Jupiter, our moon and really good for birds.
Dobsonian mount.
Orion GoScope
            80 Table Top Telescope
PRD-1 HF Radio Direction Finder
This is a Korean war vintage HF radio direction finder also used in the early part of the Vietnam war.  Very heavy equipment so the tripod is much stronger than commercial units.
PRD-1 sitting on power
            supply on special heavy duty tripod

Peet Bros Weather station on Radio Shack Roof Top Antenna Mast Tripod

Peet Bros weather station on Radio Shack Roof Top
        Antenna Mast Tripod

Slik F740

Very light weight and compact camera tripod making it easy to carry.
Proprietary quick disconnect pan-tilt head.
Slik F740 camera tripod

T. F. Randolph Level

This tripod can only be used with it's associated level.  The tripod has the mechanism to plumb the horizontal axis of the level, unlike modern transits and theodolites where that function is part of the instrument.  All modern tripods do not have a leveling mechanism although some do have a bubble level on the head that's used to adjust the leg length to rough level the head.
T. F. Randolph Level

Gibbs Tripod

This tripod a a look that's similar to the T. F. Randolph above.  The name "Gibbs" was carved onto one of the legs by the owner and is not a brand name.
The male threads at the top of the tripod predate the 5/8"  and 3-1/2" standards we see today.
Fig 1
Gibbs Tripod
Fig 2 Thread protection cap.
Note plumb bob hook at exact center of male thread.
Gibbs Tripod
Fig 3


TiltAll

I had a couple of these, one modified for a view camera and used the other one for a Nikon or Hasselblad camera.  Very robust and reliable.  All metal construction.  But heavier and larger to carry then the modern plastic tripods.
TiltAll Tripod


Ultra Compact Light Stand

This is a stand for holding photo studio lights.  This one can be made very small which makes it handy to take on a location shoot.
Shown with the legs down, but they can be folded up parallel to the center making it very compact when fully folded.
Ultra
            Compact Light Stand

Wild Heerbrugg ARK 1 Gyro Aiming Circle

This gyroscope based North Finding surveying instrument is shown on a standard 3-1/2"-8 surveying tripod.
x

Manfrotto MT055XPRO3 Aluminum Tripod & 410 Jr. Geared Head

The Nikon D800E weighs 2# and the 300mm f/2.8 ED-IF AI-S lens weighs 5# for a total of 7#.  Much too much for the Slik F740 tripod which is rated to carry 3.2#.  The small amount of Manfrotto equipment I do have is all made with excellent build quality.  This combination of tripod and head is rated for 11# so has some headroom.  Note the 055 tripod & 410 head weigh 8.5 pounds.  So maybe a rule of thumb is that the tripod weighs about the same as the weight it's going to carry?

The patents make clear this is a tripod specifically designed for Macro Photography.  While the Tilt-All tripod is not mentioned by name the idea of inverting the central column is mentioned.  But the new tripod design offers more camera freedom for macro photography.

Another advantage of the 055 compared to the TiltAll is that the 055 does not have a cylindrical column.  The TiltAll cylindrical column is handy in that it allows turning the camera, but with a heavy camera it will turn all by itself, not a good thing.  This may also mean the macro configurations of the 055 may depend on which legs are at different angles.  TBD.

055 Tripod

Box Fig 1 Tripod box:
33.5" x 7.5" x 7.5", 7.5#; 
Head box:
12.5" x 10" x 6.5", 3.5#
Manfrotto
                  MT055XPRO3 Aluminum Tripod & 410 Jr. Geared Head
Box Fig 2 Tripod Box:
25.75" x 5.25" x 5.25", 6.5#,
Head box:
7.25" x 6" x 4.5", 3.5#
410PL Accessory Plate
Manfrotto
                  MT055XPRO3 Aluminum Tripod & 410 Jr. Geared Head
Fig 1 055 Tripod
The leg clamp adjusting tool is clipped at bottom of the front left leg.
Manfrotto
                  MT055XPRO3 Aluminum Tripod
Fig 2 410 Jr. Geared Head & Plate
Note 3/8-16 EU screw stored.
The storage should be on the plate, not the head.  That way with multiple plates the extra screw will not be lost.
Manfrotto
                  MT055XPRO3 Aluminum Tripod
Fig 3 1/4-20 screw holding camera
Note "Lens->" correct.
Not sure about front to back position.
Manfrotto
                  MT055XPRO3 Aluminum Tripod
Fig 4 D300s camera mounted.
Manfrotto
                  MT055XPRO3 Aluminum Tripod
Fig 5 Center column at 90 Deg
Normal Tripod leg position
Center column in 90 deg position.
Manfrotto
                  MT055XPRO3 Aluminum Tripod
Fig 6 Side view of Fig 5.
Normal Tripod leg position
Center column in 90 deg position.
Manfrotto
                  MT055XPRO3 Aluminum Tripod
Fig 7 Annotated details on Quick Release Plate
Manfrotto
                  MT055XPRO3 Aluminum Tripod
Fig 8 Overall view 055 Tripod & 410 Jr Geared Head
Manfrotto
                  MT055XPRO3 Aluminum Tripod
Fig 9 Two legs on right have been pulled up using the silver lever near that top of each leg.
The leg on the left is in normal tripod position.
The center column, in normal position, has been extended so it does not hit the floor.
Manfrotto
                  MT055XPRO3 Aluminum Tripod


410 Jr Head

The TiltAll tripod and the Slik F740 are fiction clamping heads with levers to position camera.  This is a "geared" head meaning that to move the camera you turn a knob which turns a gear train.  This is good for heavy equipment since a friction clamp will allow the camera to fall if it comes loose or if you are not paying attention.  With a geared head there will be no sudden camera movements.  There is a spring loaded sleeve that will disengage the gears to allow large movements. 

This is a head for a still camera or a movie camera that's "locked down" and will not be moved during a take.

2022 April 30 - While the 055 tripod and 410 head were only a few days from opening the box the plate was loose and the camera wobbling.  This is because the factory/dealer failed to use thread locker.  When I tried to assemble the parts the spring that holds the silver release button ran away.  I replaced it with the spring from a ball point pen that I cut shorter (cut off about 1/4").  Note the tension on the pivot can be adjusted using the brass nut if the screw is snug but not tight.  The brass nut does not move with the lever.  The brass nut should be turned Clockwise to tension the pivot spring.  Once the assembly is all connected you can adjust the spring using both a 3mm hex wrench and a 14mm box wrench (or adjustable wrench).  The tension can be read by the angle between the tip of the spring in the hole in the brass nut and the slot in the lever arm.

Fig 1
Manfrotto 410
                  Jr. Head
Fig 2 comes with both US (1/4-20) and EU (3/8-16) screws.
Manfrotto 410
                  Jr. Head
Fig 3
Manfrotto 410
                  Jr. Head
Fig 4  Gap
Manfrotto 410
                  Jr. Head
Fig 5 3mm hex wrench
DO NOT Open like this, small spring can get away!
Manfrotto 410
                  Jr. Head
Fig 7 Hold Open (Button & Release)
Locking (Cam & Ramp)
Note head angle to get access to 3mm hex screw on bottom of head.
Manfrotto 410
                  Jr. Head

Folmer

Found this while looking for Folmer Graflex aerial cameras.
731879 Tripod, William F Folmer, 1903-06-23, 248/188; 248/188.5 -
All the Folmer Fingerprint cameras now on eBay are for cut film.
1139022 Photographic camera, William F Folmer, 1915-05-11, 396/199; 346/107.2 - fingerprint camera, roll film
1139023 Photographic exposing mechanism, William F Folmer, Eastman Kodak, 1915-05-11, 396/183; 235/109 - fingerprint camera, combined shutter and light switch
1260356 Film-camera, William F Folmer, Eastman Kodak, 1918-03-26, 396/397; 396/389 - fingerprint camera,  roll film
1270280 Photographic camera, William F Folmer, Eastman Kodak, 1918-06-25, 396/351 - fingerprint camera,  roll film

Range Poles

SECO

These typically have 5/8" x11 threads.

DAGR (Polaris Guide) Azimuth Determination (Gun
                Laying System, North Finding, Carrier Phase Survey) Part
                of Setup Part of GPS Azimuth Determination system
Top to bottom:
AT-2775-42 GPS antenna
DAGR (or Polaris) GPS receiver
DAGR mount using Quick Release Pin
GPS Quick Release 5/8" x11 Adapter between top and bottom pole sections

Optional bi-pod holding range pole.  Note GPS receiver is on bi-pod side of pole for stability.



3.7m/12ft Laser Level Telescoping Pole with Tripod Mount

Got this as part of setting up a two DAGR - Polaris Azimuth Determining System.

eBay seller: sanqianj-1  about $100.
Fig 1 Comes  with a small carry bag.
3.7m/12ft
                  Laser Level Telescoping Pole with Tripod Mount
Fig 2 Range pole (in 5 sections that screw together with 5/8-11 threads) friction clamp laser shelf (5/8-11) and large foot with male 5/8-11 plus small tripod.
3.7m/12ft
                  Laser Level Telescoping Pole with Tripod Mount
Fig 3
3.7m/12ft
                  Laser Level Telescoping Pole with Tripod Mount
The Telescoping rod with the spring plunger and clamp that would be placed at the bottom,
requires that the rest of the rods be installed with the male threads pointing down.  Maybe this is common for laser levels?

I have just not installed that part and instead used the rubber pad foot at the bottom and installed the remaining rods with the 5/8-11 male threads pointing up, as is common for surveying.

Also not installed is the friction clamp shelf.  While the shelf is shipped with a 5/8-11 male - 1/4-20 female adapter installed, that adapter can be removed so you end up with a standard tripod 14-20 male pointing up.  Which would be great if the RA-1 antenna had a 1/4-20 socket, but the large threaded hole on the bottom of the RA-1 is a 10-32 thread NOT at 1/4-20 standard tripod thread!

Now need to figure out how to mount the RA-1.

Leitz Range Pole Tripod

This would be more reliable than the bi-pod support on a range pole.

Leitz
                  Range Pole Tripod
34" tall as shown.
1-3/8" dia hole for range pole.

Label:
Leitz
8078-95  08048
Range Pole Tripod

Manfrotto (Wiki, factory)

Very well made strong support equipment for cameras and lighting.
Looking for information about rods and clamps.

196B-2 2-Section Single Articulated Arm w/Camera Bracket (143BKT)

2.2 pounds max load.
This is not a Magic Arm.  The arms are hollow tubes.
Manfrotto
                  196B-2 2-Section Single Articulated Arm w/Camera
                  Bracket (143BKT)
Saw a photo of the camera bracket marked 196 and patent pending.
There is a flat (see bottom left) on the spool pins to prevent rotation.  Desired rotation can be had using adjacent clamp.

Manfrotto 035 Super Clamp

This is typically used for Studio Lighting, but is also useful for things like mounting a GoPro camera.

Fig 1
Manfrotto 035
                  Clamp
I have added a hot shoe clamp (not part of the factory 035).
Max Load = 15 kg (33 pounds) but it feels much stronger.

The wedge can be accessed by removing the Small black knob.  It can then be plugged into the "V" to give a flat parallel face instead of the "V", like for clamping to a shelf or table top.

PS Photo taken with Nikon D800E & 105mm Macro lens.
Einstein 640 strobe light, M, 1/100, f/20, ISO: 800 (panel shows: autoISO: 200).
Fig 2
Manfrotto 035
                  Clamp
The large washer is part of the clamping mechanism.  Note the wedge is installed.
Fig 3
Manfrotto 035
                  Clamp
The hot shoe connector is on the 1/4"-20 end of the spigot.  The 3/8"-16 EU thread is visible.
The push pin released the spigot.  The small knob locks the spigot.

Manfrotto Patents - a number are only in Italian and without the illustrations, so not listed here.  Camera bracket not found.

Patent
Title
Description
5662429 Extendible rod
Heavy duty Tripod leg
5707167 Extendable rod
Heavy duty  Tripod leg
5708889 Device for adjusting the length of an extendible rod-like element,
particularly an extendable leg of a tripod or stand for optical or photographic equipment
Heavy duty Tripod leg
5575448 Adjustable stand, particulary for photographic and cinematographic use
Tripod
5589903 Panorama head for optical equipment particularly for photographic equipment
3ea 90 deg joints
400 or 405 Head?
6092770 Stand for photographic-optical and cinematographic equipment
Compact folding light stand w/dense storage
1051BAC-3 "Quick Stack System"
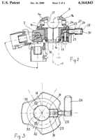
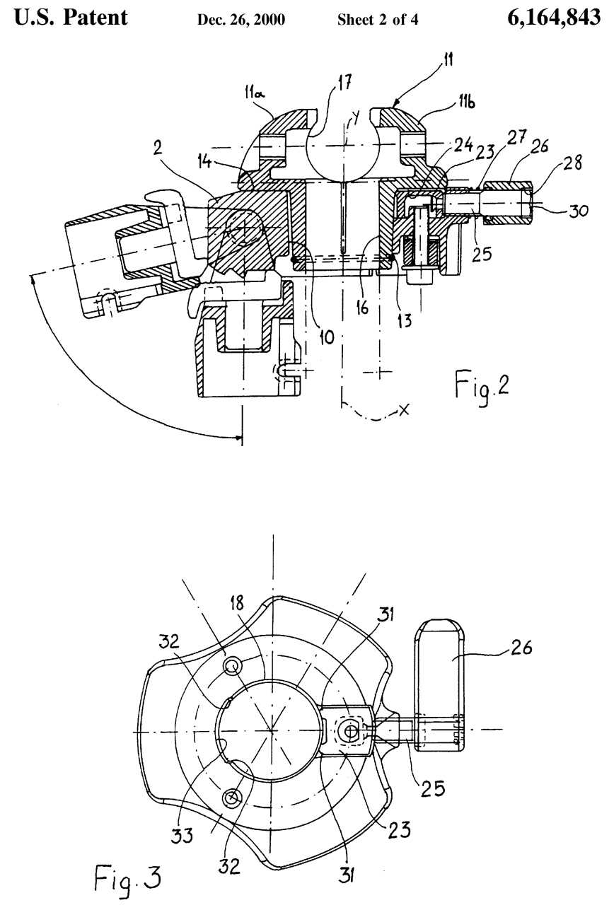
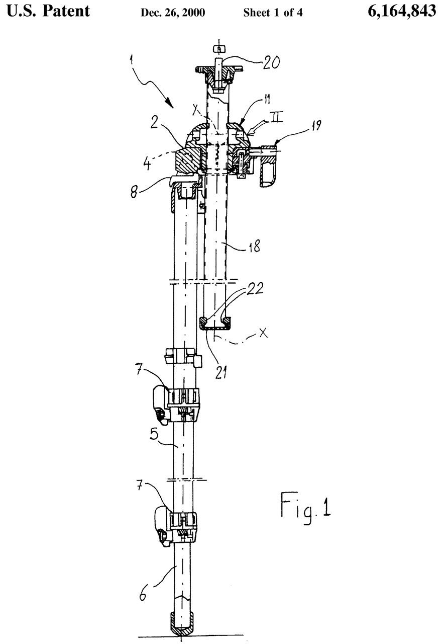
6164843 Tripod, particularly for photographic uses
Center column can be tipped to a horizontal position - 055 Tripod

Manfrotto
                          055 Macro Photography Tripod 6164843
Note II: horizontal position for column

Manfrotto
                          055 Macro Photography Tripod 6164843
Note legs can be almost horizontal


Manfrotto
                          055 Macro Photography Tripod 6164843
Fig 6 Conventional vertical column.
Fig 7 Column in horizontal position with legs opened.


6574924 Fitting for walls or panels
bayonet pin
6913231 Telescopic stand for optical or photographic apparatus and the like
fast unlock/locking of legs
6983916 Tripod for the support of apparatus in general and,
in particular, of optical or photographic apparatus and the like
center column can tilt for leveling.
7182303 Stabilizer with telescopic rods for tripods
ties legs to each other and center spider
7229053 Tripod for supporting apparatus in general and,
in particular, for optical or photographic apparatus and the like
Top leg hinged w/o thru pin to allow longer lower legs - head retracts into spider (more compact)
7364125 Support for apparatus in general and,
in particular, for optical or photographic apparatus and the like
Center post can be removed and used as monopod.
7464906 Orientable mounting for optical and/or photo-cinematographic equipment
Ball head
7506846 Foot for optical or photographic supports
central lock rod for tripod legs
7563038 Support for a camcorder
"C" type Steadycam
7588377 Rapid-orientation head for optical and photographic apparatus in general
pistol grip ball head
7828256 Quick device for video and photographic equipment
Quick connect camera plate system

7828256 Quick device for video and photographic
                  equipment, Manfrotto

8028963 Monopod support especially for video filming
foot acts as a fluid head
8256726 Head for video-photographic apparatus
adjustable stop for quick attach plate to maintain balance.
8568041 Support for video-photographic apparatus
small stand for small cameras
8807850 Support head for an optical or video-photographic apparatus fixed position Pan-Tilt
9223189 Support head for video-photographic equipment minimizes the levers controlling a fluid head
9360743 Support head for video-photographic equipment
Handle telescopes over rod for compact storage
9383632 Stand for video-photographic apparatus
offset spirit bubble level - 055 Tripod
 (and others?)

Manfrotto 055 Macro Photography Tripod 9383632

9512955 Tripod for supporting video/photographic equipment
Center column can be tipped to a horizontal position

Manfrotto 055 Macro Photography Tripod - 9512955

9752716 System for mounting video/photographic equipment on a support head
improvement on dovetail quick attach plate
9851624 Support head for video photographic apparatus
fixed position Pan-Tilt where turning handle works worm gear - 400 - 405 head?
20080210832 Support For Video/Photographic Equipment
ball head with groove and pin
20080232792 Miniaturised Support For Photographic Equipment
Such as Video and Photographic Cameras
small stand for small cameras
20080283713 Support Particularly for Optical or Photographic Use
fast unlock/locking of legs
20130058638 Support head for an optical or video-photographic apparatus
fixed position Pan-Tilt
20130163978 Support head of the ball joint type for videophotographic apparatuses
improved fixed ball head
20150053831 Support head for video-photographic equipment
minimizes the levers controlling a fluid head
20170123297 Support head for video photographic apparatus
fixed position Pan-Tilt - 400 - 405 head?
D515614 Head to rapidly orient optical or photographic apparatus and the like
pistol grip type
D532813 Support head for optical and photographic equipments
thumb trigger type
D537859 Support head for optical and photographic equipments
fixed position Pan-Tilt
D576658 Support head for optical and photographic equipments
includes quick connect plate
D629828 Support head for video and/or photographic apparatuses
quick connect plate
D807371 Support for portable electronic devices
#MCCLAMP
D815104 Support for portable electronic devices #MCCLAMP
DE202008015190U1
Clamp   - 2018-11-18 - Anticipated expiration 035?
EP0777057A1
Improved clamp
for square tubing
EP0702192B1/en
A clamp for supporting optical and photographic equipment
clamps to round tubing

Related

Aerial Photography - the DJI quad copter is a "tripod in the sky"
Astronomy
Binoculars
DAGR GPS receiver
PLGR GPS receiver
Trimble GPS receivers
Navigation - there's a strong link between knowing position, time and location.
Nikon camera & related
Photography
Surveying & Surveying Patents
Theodolites

Links

Back to Brooke's: PRC68, alphanumeric index of web pages, Products for Sale
Page created 13 Dec 2013

m