Mance Type Mk V Heliograph

© Brooke Clarke 2011 - 2023
Mance
                  Type Mk V Heliograph
Mance Type Mk
                  V Heliograph
Heliograph Instruction: Major Parts
                and use
Mk3
                Heliograph being used on a ship

Mk3 Heliograph being used on a shipMk 3 Heliograph
Photo and Heliograph ID by Richard Fowell



Background
Video
Description
Books
Patents
Related
Patents
Links

Background

Wiki has a Heliograph page.  The first recorded use of a heliograph was in 405 BC, when the Ancient Greeks used polished shields to signal in battle.  These instruments were used for signaling at distances up to about 100 miles. 

Dead Media Archive @ NYU - Heliograph -

Video

-----

-----

Description

Carry Case



Mance
                  Type Mk V Heliograph Carry Case

Mirror Assembly

Mance Type
                  Mk V Heliograph Mirror Assembly

Axillary Arm

Used to support the secondary mirror and/or aiming target.

Mance Type Mk V Heliograph Axillary Arm

Secondary Mirror

Used when the Sun is behind you.

Mance
                  Type Mk V Heliograph Secondary Mirror

Aiming Post

Mance Type
                  Mk V Heliograph Aiming Post

Tool

Mance
                  Type Mk V Heliograph Tool

Spare Parts Bag

Marked D. & M. 43

Mance Type Mk V Heliograph Spare
                Parts & Bag

Spare Mirrors



Mance
                  Type Mk V Heliograph Spare Mirrors

Books

Manual:  Signal Training. Volume III. Pamphlet No. 2. Heliograph, 5-inch, Mark V. 1922.
This URL may or may not last:
https://docs.google.com/open?id=0Bxca_am-Ldk6bTR5MVRmeXlScjZIQ19jWjloSTM0UQ (54 MB)

Smaller file size Pamphlet (6 MB) with bookmarks (see making pdf documents)
United Service Vol 2, About Heliographs, Philip Reade, 1880 (Google Books) -

Patents


186427 Improvement in Apparatus for Signaling by menas of Reflected Light, Henry C. Mance, Kurrachee Bombay, Jan 23, 1877, 116/20
Fig 1 Front Elevation
patent
                  186427 mprovement in Apparatus for Signaling by menas
                  of Reflected Light, Henry C. Mance Mance Type Mk V
                  Heliograph
Fig 2 Side Elevation
Fig 4X Bed Tangent Worm Section
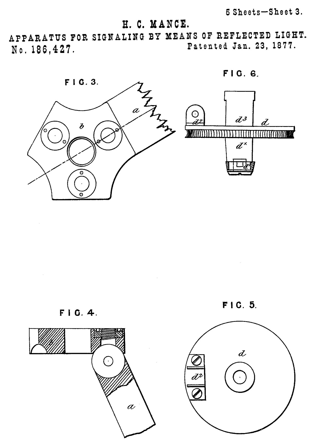
patent
                  186427 mprovement in Apparatus for Signaling by menas
                  of Reflected Light, Henry C. Mance Mance Type Mk V
                  Heliograph
Fig 3 Tripod Plan
Fig 4 Tripod Section
Fig 5 Base Plate Plan
Fig 6 Base Plate Section
patent
                  186427 mprovement in Apparatus for Signaling by menas
                  of Reflected Light, Henry C. Mance Mance Type Mk V
                  Heliograph
Fig 7 Mirror Assembly Front Elevation
Fig 12 False Bed (no tripod) Plan
Fig 13 False Bed (no tripod) Section
patent 186427 mprovement in Apparatus for
                  Signaling by menas of Reflected Light, Henry C. Mance
                  Mance Type Mk V Heliograph
Fig  8 Mirror Assembly Side Elevation
Fig  9  Telescopic Connecting Rod Side
Fig 10 Telescopic Connecting Rod Section
Fig 11 Signting Rod
patent 186427 mprovement in Apparatus
                  for Signaling by menas of Reflected Light, Henry C.
                  Mance Mance Type Mk V Heliograph

Signal Training. Volume III, Pamphlet No. 2. Heliograph, 5-inch, Mark V. 1922" Two Mirror Setup
Mance Type Mk V Heliograph 2 Mirror Setup
Signal Training. Volume III, Pamphlet No. 2. Heliograph, 5-inch, Mark V. 1922"  Single Mirror Setup
Mance
                        Type Mk V Heliograph Single Mirror Setup

Other Heliography Patents

34127 Optical Telegraph, William C Bridges, Jan 14 1862,  116/20
138162 Improvement in Methods of Adjusting Signaling-Mirrors, Martin M. Kenney, April 22 1873, 116/20
186427 (see above)
216565 Improvement in Heliotropes, John W. Garner, Jun 17, 1879, 116/20
239095 Heliotrope, Frank C. Grugan, Mar 22, 1881, 116/20
254790 Heliotrope, Ephinstone W. Begbie, Mar 14, 1882, 116/20
360425 Helio-Telegraph, John P. Finley, Apr 5, 1887, 116/20
444991 Signaling Apparatus, O. Morgan & J. Crowley, Jan 20 1891, 116/20 - huge on mountain top
456478 Signaling Apparatus, R.J. Crowley, July 21 1891, 116/20
527640 Heliograph Attachment, A.L. Wetherill, Oct 16 1894, 356/147; 116/20
617684 Heliograph, J.P. Friez, Jan 10 1899, 74/416; 116/20
797996 Apparatus for Signaling by Reflecting the Rays of the Sun or Other Light, J.F. Watson, Aug 22 1905, 116/20; 248/168
1094368 Signaling Apparatus, C. Lean (Graham & Latham Ltd), April 21, 1914, 116/20
1196331 Heliograph or the like, J.A.F. Burman & P.W. Lyth, Aug 19 1916, 116/20 - photo showing 1914 Dutch Mobilization
1196331
          Heliograph or the like, J.A.F. Burman Dutch Mobilization 1914

Life Raft Heliographs

YouTube Video - Emergency Rescue Equipment: The Signaling Mirror (ESM/1), Prepared by OSS, August 1943, 00:11:05 - Includes Gibson Girl use

2395605 Light-Directing Device, L.L. Young, Feb 26 1946, 116/20; 356/251; 356/255 -
2412616 Signaling Mirror, R.S. Hunter (US Sec of  Commerce), Dec 17 1946, 116/20 -
2467165 Heliographic Signaling Device, J.C. Stimson, Apr 12 1949,  116/20; 356/251; 356/254 -
2504982 Signaling Mirror, R.S. Hunter (US Sec of  Commerce), Apr 25, 1950, 116/20; 356/254; D10/111 -
Calls:
  992043
1377161
1552166
1949138
2187057
2273576
2387038
2395605
2412016
2557108 Signaling Mirror, R.S. Hunter (US Sec of  Commerce), Jun 19, 1951, 116/20; 356/251; 359/536 -
2589618 Mirror Signaling Device, C.H. Learned, Mar 18, 1952, 116/20; 359/529 - 
2594310 Signaling Mirror, R.S. Hunter (US Sec of  Commerce), Apr 29, 1952, 116/20; 359/527 -
2621623 Signaling Device, K.S. Thompson, Dec 16, 1952,  116/20; 359/529
2698593 Signaling Mirror, W.L. Morgan (Libbey-Owens-Ford Glass Co), Jan 4 1955,  116/20; 356/254 - built-in filter (maybe the one I have?)
2698594 "  116/20; 356/254 - partially transparent filter
2698595 " 116/20; 356/254 -
2698596 " 116/20; 356/254 - uses Scotch Lite
3012478 Reflectors, C.T. Reyner, Dec 12 1961, 359/853; 116/20; 353/3 -
3164124 Signal Mirror, F. Ehrsam, Jan 5, 1965, 116/20; 356/247 - floats on water providing a constant flashing reflected signal or can be aimed.
3335693  Signal Mirrors, M.G. Murray, Aug 15, 1967, 116/20; 359/515 - no glass to break or exposed metal to corrode & light weight
5528421 Signal Mirror, H. Kashibuchi, Jun 18, 1996,359/515, 359/527, 359/529 -

Light Communications (Not Heliography)

235199 Apparatus for Signaling and Communicating, called Photophone, Alexander Graham Bell (American Bell Telephone Co), Dec 7 1880,
398/132; 250/214.1; 359/226.2; 359/235; 359/236; 359/291
1356686 Means and Method for Secret Signaling, H.D. Arnold (Western Electric), Oct 26 1920, 116/20 ; 315/176; 315/291; 359/235; 398/172 - AC or DC Tx lamp current
1384014  Method and Apparatus for Signaling and Otherwise Utilizing Radiant Impulses, R.A. Fessenden, July 5 1921, 342/6 ; 116/20; 250/504R; 340/600; 359/529; 367/87 - retro relfector
1385696 Method and Apparatus for Utilization of Observable Radiations, N. Marshall & L. Bell, Jul 26, 1921,
250/461.1; 116/20; 250/458.1; 250/487.1; 250/493.1; 250/504.00R; 359/359; 398/172 - UV and IR signaling
2591837 Method and Apparatus for Signaling Employing Polarized Light, P.H. Lee (Sec of US Navy), Apr 8, 1952, 398/184; 116/20; 307/650; 359/246; 398/212 -
3290503 Light Communication System, C.W. Stanfenberg & D.H. Ward (Raytheon Co), Dec 6 1966, 398/135; 250/230; 250/239; 359/200.7; 359/225.1; 398/129 - Common Tx & Rx light path
Calls:
  796254 Photophone, R.W. Hartman, Aug 1 1905, 398/132; 359/224.1; 359/291 - seperate Rx & Tx light paths
1973089 Optical Signaling Apparatus, R. Mechau (Carl Zeiss), Sep 11 1934, 398/132; 398/131 =- single optical path
2153709 Apparatus for Establishing Communications by Means of Light, J. Bournisien, Apr 11 1939, 398/132; 359/230; 359/727; 359/889; 362/263; 362/293; 362/298; 398/131
2421468 Selective Transmitting, K. Singer (RCA), Jun 3 1947, 398/140; 398/128; 398/172 - the Tx can generate a 1 kHz tone instead of amplifying voice.
4882772 Electro-0ptical Light Beam Signal Transmission System, B.A. Rist & A.L. Casanova (Telescript Ind), Nov 21 1989, 398/129; 250/239; 250/491.1 -

Related

M-227 Signal Lamp Equipment SE-11 - Gun shaped flashlight, trigger, relay, IR Filter option & Aldis Signal Lamp info.
Navigation
Optics
Surveying
Survival Kit - life raft type Signaling Mirror

Links

Heliography by James Riddle - KD7AOI
YouTube: VMARS Heliograph Demonstration 2 ,
Emergency Rescue Equipment: The Signaling Mirror prepared by the OSS,
Heliographs: Cutting-Edge Victorian Military Communications, 15:26 - commercial ends @2:21 Development of the Heliograph. - the mirror is circular, but not parabolic.

Back to Brooke's Products for Sale, Astronomy (& satellites), Astronomical BinocularsCCD & Image Intensifiers, Military Information, Navigation, Home page

page created 18 Jun 2011.