Theodolite

© Brooke Clarke 2013 - 2024


Sokkisha/Leitz No. 10C
Sokkisha/Sokkia/Leitz N010C Theodolite0
Nikon NT-2S
Nikon NT-2S
                  Theodolite
Wild T2
Wild Heerbrugg
                  T2 Theodolite
Wild T-16
Wild T16
                  Theodolite (degree)

Background
Comparison
Sokkisha/Leitz N010C
    Item Number Table
    Sighting Polaris in the Daytime
Nikon NT-2S
Wild T2-57537
    Micrometer
    Vertical Bubble
    T2 Photos
    Problem
Wild T16
Patents
Tests & Adjustments
Dividing Engines
Manuals
    Pilot Balloon Theodolite
    T1
    T2
    T3
    T16
Related
Links

Background

As part of my interest in surveying I got a theodolite.  I already have a Leitz 115A transit that was very close to the one I used in a college class on surveying.

Although there's no universally accepted definition regarding the difference between a transit and a theodolite, here's some modern ideas:

US Patent Class 356 - Optics Measuring and Testing
    138 Angle Measuring or Angular Axial Alignment
        .139 Plural scales or different portions of same scale simultaneously observable
        .140 Apex of angle at observing or detecting station
            ..147 Measurement in two planes (e.g., azimuth and elevation; hour angle and declination)

1432570  Theodolite - "it is an object of the same to create the possibility in the case of instruments of this kind of observing simultaneously the circle of altitude and the azimuth circle,"...
1494565 Theodolite, spectroscope, and the like,May 20, 1924, 356/147 - "It is the object of the present invention to enable the observation of the cross webs and the reading of the micrometer to be taken without removing the eye from the eyepiece." Note: "web" means spider web, modern term cross hairs or reticule.
Fig 5 has the look and feel of a modern theodolite readout.
US Patent Theodolite 1494565 Fig 5
1502223 Theodolite, spectroscope, and the like, Jul 22, 1924, 356/139, -
US Patent 1502223 Theodolite Fig4


So . . . maybe the word theodolite centers around the idea of reading both horizontal and vertical scales without the need for the operator to change positions?

Comparison

There's a spec sheet on the inside of the shipping container (see Fig 3) with slightly more data in the user's manual.

Model
N010C NT-2S T16
T1
T2
T3
T4
Telescope
Power
30x
30x
30x
30x
30x
24x
30x
40x
60x
80x
Length
170mm





Image
Erect
Erect




Objective
 dia mm
40
45
42




min focus
dist meters
1.3

1.7




resolving power
3"
1° 24'





Field of View @ 100m
2.6m






Hor Circle
vernier reading
20 "






diameter
110 mm
82 mm





graduation
(direct reading)
20'
1'
1' 6"
1"
0.2"
0.1"
Dist1 (m/ft) for 1/8" @ H. grad.

0.5
1.8
10.9
35.8
10.9
35.8
109
358
655
2148
3274
10742
6549
21486
Vert Circle
vernier reading 1'






diameter 68 mm
72 mm





graduation
(direct reading)
30'
1'
1' 6"
1"
0.2"
0.2"
Sens of Level
Telescope
40"/2mm
auto





Plate
90"/2mm
40"/2mm 30" 30"
20"
6.5"
1"
Circular
10'/2mm
10'/2mm 8'




Stadia
Multiplication constant
100
100
100
100
100
na
na
addition constant
0
0
0
0
0
na
na
Optical Plummet
Focusing dist
1.5' to 50'
1.6' to inf





Image
Erect
3x erect





Weight
Instrument
5.3 kg






Case
2.9 kg







Note1: Distance to get a 1/8" offset when the angle turned is the horizontal graduation (marked resolution).
For the T16 that distance is 35.8 feet, something I can do on my property, but for the T2 the distance is 2,148 feet which exceeds the longest dimension of my property, so is not practical for setting stakes.  So the T16 is a more practical theodolite for my yard.

The Wild T16 is a military theodolite that reads in mils rather than in degrees.

My M2 pocket transit compass reads in mils and that makes it hard to use.

Sokkisha/Sokkia/Leitz No. 10C Theodolite (aka: N010C Transit)

Description

There's a spec sheet on the inside of the shipping container (see Fig 3) with slightly more data in the user's manual.

This theodolite can resolve 20" horizontally and 1' vertically.

Photos

Fig 1
Sokkisha/Sokkia/Leitz N010C Theodolite
Fig 2
Sokkisha/Sokkia/Leitz N010C Theodolite
Fig 3
Sokkisha/Sokkia/Leitz N010C Theodolite
Fig 4
Sokkisha/Sokkia/Leitz N010C Theodolite
Fig 5
Sokkisha/Sokkia/Leitz N010C Theodolite
Fig 6
Sokkisha/Sokkia/Leitz N010C Theodolite
Fig 7
Sokkisha/Sokkia/Leitz N010C Theodolite
Fig 8
Sokkisha/Sokkia/Leitz N010C Theodolite
Fig 9  Horizontal circle readout
Sokkisha/Sokkia/Leitz N010C Theodolite

Vertical circle readout

Sokkisha/Sokkia/Leitz N010C Theodolite


Fig 10 Main Scope reticule (partial)
Sokkisha/Sokkia/Leitz N010C Theodolite


Item Number Table

The above item numbers (1 to 27) match those in the user's manual.

Item
Name
Comment
1
Objective Lens
40mm dia, 30 power
2
Eyepiece
focus
3
Remove if installing prisim
4
Reticle adjustment cover

5
Telescope focus

6
Telescope pointer hard sights
also used to adjust telescope level
7
8
Telescope Level
9
Front - back plate level

10
Front - back plate level adjust screw

11
Side - Side plate level

12
Side - Side plate level adjust screw
13
circular level vial

14
Telescope Clamp knob

15
Telescope Tangent Screw
moves scope up/down and changes readout
16
Upper H. Motion Clamp knob
moves scale reading when lower motion is clamped
17
Upper H. Motion Tangent knob
loosen to make big changes in scale reading
18
Lower H. Motion Clamp knob
loosen to move scope without changing scale reading
19
Lower H. Motion Tangent knob
moves scope without changing scale reading
20
H. circle readout scope
(2 of these) 180 degrees apart
can be moved left or right to see different parts of the scale
21
H. circle readout illumination window
shine flashlight for night time (2 of these)
22
V. circle readout scope
can be moved left or right to see different parts of the scale
23
H. circle positioning ring

24
Optical Plummet
requires tripod 5/8" male bolt to be hollow.
25
Leveling Base

26
Leveling knob
( 3 each)
27
Base Plate
with 5/8-8 female thread
28
Accessory shoe for through compass
US2696054 Through Compass

Sighting Polaris in the Daytime

The idea is that you should be able to find Polaris in the daytime if you know where to look.  So far it has not worked, but I'll try a few more times.

Fig P1
Sighting
                  Polaris in the Daytime with Sokkisha/Sokkia/Leitz
                  N010C Theodolite
The optical plummet always is pointing down,
even before the tripod or plate are leveled.
So you can position the tripod over the mark
at the beginning.  Hint: place tip of shoe in
field of view to find starting position.
Fig P2
Sighting
                  Polaris in the Daytime with Sokkisha/Sokkia/Leitz
                  N010C Theodolite
Setup directly over survey nail in driveway.
Fig P3
Sighting
                  Polaris in the Daytime with Sokkisha/Sokkia/Leitz
                  N010C Theodolite
The N010C reads 0 verticle when level,
and positive angles as aimed up, so set to
my Lat of 39d11m
Fig P4
Sighting
                  Polaris in the Daytime with Sokkisha/Sokkia/Leitz
                  N010C Theodolite
Circular (pond) level is used to adjust tripod
legs.  The 3 knobs used to set the 2 plate levels.
The telescope level is a way to confirm the
vertical axis alignment.


Nikon NT-2S

This theodolite has an appearance that's very similar to the Wild T2.  Reads directly to 1'.

Photos

Fig 1 case
Nikon NT-2S
                  Theodolite
Fig 2 back
Nikon NT-2S
                  Theodolite
FIg 3 3/4 front left
Nikon NT-2S
                  Theodolite
Fig 4 3/4 back right
Nikon NT-2S
                  Theodolite
Fig 5 bottom
Nikon NT-2S
                  Theodolite
Fig 7 Main Scope reticule (partial)
Nikon NT-2S Theodolite
Fig 8 Hor and Vert circle readout seen both at the same time
but takes two camera shots to cover

Nikon NT-2S Theodolite

Nikon NT-2S Theodolite




Wild T2-57537

The T2 was made between 1926 and 1992 and there were 10 models.  Note that the U.S. tried to make a 1 arc second theodolite for W.W.II but failed (See The U.S. Theodolite below).  So the T2 was three or more decades ahead of the U.S. and even today is a fantastic instrument.

The Telescope Objective patent number on the front of the objective assembly dates this theodolite as after 1953.
On the Virtual Archive of Wild Heerbrugg page for theodolites they have a common photo for the: T21, T21E, T21L, T210, T211 and T211E.
I'm assuming that this is not the T121 (digital).  So It's one of the above models.

Maybe the T21 aka T2 (56) for the 1956 introduction year.

Note the mirrors for vertical and horizontal illumination have not been broken off, but rather removed, probably to allow the installation of the night time lamps.  Since my main interest is in viewing stars at night on order are:  a night light & right angle eyepiece for the telescope (the one for the microscope is not needed for the star position since the object is to transfer the meridian to the ground.

Micrometer

The micrometer (See photo Fig 4 & patent 1508585 below) is the magic addition to the T2 that separates it form the T1 and T16 theodolites in that it allows reading the horizontal or vertical circles to one arc second.  Once you have sighted the telescope cross hairs on the target you rotate the micrometer knob until the two central tick marks that are 10' apart are lined up top to bottom circle.  Then you read the degrees and nearest 10minutes using the central reference mark and either the top or bottom scale as appropriate.

Then the bottom micrometer reading is added to the above reading.  The range of the micrometer is 10'. 

Note: as the theodolite body is turned the two scales at the top are of opposite sides of the circle that's turning and so even though their tick marks are 20' apart they coincide every 10' of body rotation.  That's because both scales are turning in opposite directions.  This way the micrometer only needs to have a range of 10'.

Fig 30  Use jeweler's screwdriver to remove 4 screws.  2 of them shown in Fig 3.  Be very careful when lifting out the micrometer that you don't hit the glass disk.
Wild T2
                    Micrometer opened
Fig 31
Wild T2
                    Micrometer opened

Fig 32 Light path at center and at bottom.
Wild T2
                    Micrometer opened
Fig 14 Vertical Circle w/Micrometer at 0
Wild T2 theodolite vertical circle micrometer
                  at zero @ 0
Fig 16 Horizontal Circle Problem
The bottom circle is completely missing and the top
circle is at an angle.
Wild T2 theodolite with problem with
                  horizontal display

Fig 15 Vertical Circle w/Micrometer improperly set
Wild T2 theodolite vertical circle micrometer
                  improperly set


Fig 17 Vertical Circle w/Micrometer set properly
91d at left, 90 deg at center and 89 deg at right.
rough guess is 89d 40' plus some.
so:  89d 40m + 8' 8" = 89d 48' 8"
Wild T2 theodolite vertical circle with
                  micrometer set



Fig 18 Vertical Circle w/Micrometer set close but not correct
Wild T2 theodolite vertical circle
                  w/micrometer not quite set correctly


Vertical Bubble

Just after  you have sighted a target using the vertical slow motion knob (lower left in Fig 1 below) and before setting the micrometer you must first be sure the vertical bubble is level by sighting into the prism flat (see Fig 2 or Fig 10 below).  This is done by Turing the lumpy knob just above and to the left of the white reflector door in Fig 8 below.  Once the bubble is leveled then you can switch the micrometer knob so it's line is vertical and set the micrometer.

See patent 1034049 below for more on the vertical bubble system.  There is no need for marks on the level vial and when the bubble expands or contracts due to temperature changes that will have no effect on this system that compares the image of the ends of the bubble.

T2 Photos

Fig 1
Wild Heerbrugg
                  T2 Theodolite
Fig 2
Wild Heerbrugg
                  T2 Theodolite
Fig 3
Wild Heerbrugg
                  T2 Theodolite
Fig 4
Micrometer knob at upper  right and switch with horizontal line
Wild Heerbrugg
                  T2 Theodolite
Fig 5
Wild Heerbrugg
                  T2 Theodolite
Fig 6
Wild Heerbrugg
                  T2 Theodolite
Fig 7 Light from H. mirror (not shown) passes through
notch into prism at center and up to H. reading prism
 assembly.  Six screws hold bottom plate to theodolite.
Wild Heerbrugg
                  T2 Theodolite
Fig 8
Wild Heerbrugg
                  T2 Theodolite
Fig 10 US patent 2660093 Telescope objective is dated 1953.
Wild Heerbrugg
                  T2 Theodolite
Fig 11  T2 Theodolite Telescope Eyepiece Removed
Wild T2
                  Theodolite Telescope Eyepiece Removed
Fig 12 T2 Theodolite Eyepiece Right Angle Adapter
Wild T2
                  Theodolite Eyepiece Right Angle Adapter
Fig 13
Wild T2
                  Theodolite Telescope Tools Screwdrivers and Tommy
                  Bars
Fig 14 Right Angle Eyepiece adapter installed so that Bullet
Case can be closed.
Wild T2
                  Theodolite Telescope Rt Angle adpt to allow bullet
                  case to close


Problem

It turns out then when the optical path switch (Fig 1) has the line horizontal (i.e. the micrometer is set to the horizontal circle) the lower circle image is not present.
You can see both sides of the vertical circle.  Note the camera does not have a wide enough field of view to see both the circles and the micrometer at the same time.
See the Micrometer paragraph above for the vertical circle image.

Fig 16 Missing Horizontal Circle
Wild T2 missing Horizontal circle display
Fig 19 Hor-Vert switch panel opened by removing
4 screws holding on plate in Fig 5 above.
Para. 171, Fig 80 in TM 5-6675-213-15
Wild T2
                  theodolite Horizontal Vertical switch panel removed









The prism is at the top and is down close to the frame.  Light from the H. circle comes up and passes over the prism and goes into the micrometer.
Fig 20 Bottom showing H. circle & reading prism.
accessed by removing 6 screws on bottom (see Fig 7 above).
Wild T2
                  theodolite bottom corer removed showing Horizontal
                  circle and reading prisms
Fig 21 Close up of H. circle and reading prisms.
Wild T2
                  theodolite bottom corer removed showing Horizontal
                  circle and reading prisms
There appears to be a chip on the prism just to the left of center.  The scale is not being read on the left side ("78" is stamped on the body just next to the prism in this photo.

When a piece of paper is passed between the right side and the H. circle the scale disappears from view in the microscope.
When the paper is passed between the left side and the H.
circle you can see movement but it does not effect the top scale in the microscope. 

Maybe either the chip is the problem or the chip indicates that
the prism has been moved and is no longer sending the image.

Scratched into the long prisms:
Left (78) V+
Right (working) V+
Fig 22 Bottom plate removed.
Lens at center of bottom plate brings light from H. mirror
to H. prism assembly.
Wild T2
                  theodolite bottom corer removed showing Horizontal
                  circle and reading prisms
Fig 23
Wild T2
                  theodolite bottom corer removed showing Horizontal
                  circle and reading prisms
Fig 24
Wild T2
                  theodolite bottom corer removed showing Horizontal
                  circle and reading prisms
It looks like a couple of the glue dabs on the left long prism
have popped off and that prism can be moved slightly, but
in either of the possible positions there's no image of the scale.
Fig 25 The Problem are the cips on the edge of the center prisms.  The edge should be clean and sharp.
Wild T2
                  theodolite bottom corer removed showing Horizontal
                  circle and reading prisms


Mirrors

The mirrors for daylight horizontal and vertical scale illumination are interchangeable. They also may fit other Wild theodolites.

Lights

The lights used for nighttime work are designed to replace the mirrors.  Since the lights need power there is a socket where DC is applied to the theodolite and the mirror/light mounts also have electrical connections to power the lights.  See Fig 3 above, or the close up of the input and one of the mirror mounts here.

The reticle in the telescope is also lighted from the vertical mirror light path, see the red path in the patent 1508585 drawing below.
The brightness of the telescope reticle illumination is controlled by turning the knob below the rear sight post, see Fig 1 above.
Wild T2 theodolite DC
          power Input and Mirror mount with DC connections


Bullet Case

This is the case for carrying the theodolite.  There is a different shipping case that's trapezoidal in shape and holds the bullet case.

Right Angle Eyepiece

Looking at Polaris from 39 deg N. latitude is very difficult because of the steep angle of the telescope, see Fig P4 above. This is why most transit and theodolite manufacturers offer the accessory right angle adapter for the eyepiece.

Wild T16

This theodolite came with a through compass and the reticle has a Solar disk, so doubly suited for finding North.  Even though it doesn't come with the solar filter it may be possible to see the solar circle whit a projected image.

In the manuals section of this web page are listed three different FSN/NSN numbers for the T16 to represent different versions, but all of these versions use a circular compass, not the through type compass, so what is this?  The name plate says:
Wild
Heerburgg
Switzerland
T16-70215
Theodolite 0.2 Mil (modification to degrees)
FSN: 6675-542-1683
P.O. 88-B/E-45248-27

Note the Horizontal and Vertical circles are in degrees, not mils.

The base is threaded for hollow 5/8-11 tripod head just like the T2.

The reticle contains the usual cross hairs and stadia marks and in addition there's a "Solar Circle" that matches the diameter of the Sun to be used with a solar filter.
This allows pointing to the center of the Sun rather than a limb thus eliminating a calculation step and the possibility of making a sign error.  It also allows for a more accurate sighting because you average the position all around the Sun rather than trying to make a straight line tangent to the Sun's circular disk.

Fig T16-01
Wild T16
                  Theodolite (degree)
Fig T16-02  What is triangular lever on tribrach?
Wild T16
                  Theodolite (degree)
Fig T16-03
Wild T16
                  Theodolite (degree)
Fig T16-04
Wild T16
                  Theodolite (degree)
Fig T16-05
Wild T16
                  Theodolite (degree)
Fig T16-06 Markings:
Wild
Heerburgg
Switzerland
T16-70215
Theodolite 0.2 Mil (modification to degrees)
FSN: 6675-542-1683
P.O. 88-B/E-45248-27

Wild T16
                  Theodolite (degree)
Fig T16-07
Wild T16
                  Theodolite (degree)
Fig T16-08
Wild T16
                  Theodolite (degree)
Fig T16-09 Eyepiece Removed Ring clamps Bayonet Mount.
Wild T16
                  Theodolite (degree)
Fig T16-10 Bayonet Mount Eyepiece
Ring is diopter adjustment.
Wild T16
                  Theodolite (degree)
Fig T16-11 Lamp from T2 is very loose fit.
Correct Lamp attaches using threaded hole.
The correct lamp also has a reflector to put light into the
vertical level window (see Fig T16-02 above)
Wild T16
                  Theodolite (degree)
Fig T16-12 Degrees Circles
Elevation between 89 and 90 degrees
Az 312 on top scale and 47 on bottom scale
add to 359 deg.
i.e. not mils.
Wild T16 Theodolite (degree)
Fig 13 Bayonet to Smooth Right Angle Eyepiece Adapter
(T2 Right Angle to T16 bayonet)
Wild T16
                  Theodolite (degree)
Fig 14 T16 Eyepiece Removed, bayonet socket
sleeve in open position
Wild T16
                  Theodolite (degree)
Fig 15  Adapter in socket, sleeve in open position
Wild T16
                  Theodolite (degree)
Fig 16 Adapter in socket, sleeve in closed position
Wild T16
                  Theodolite (degree)
Fig 17 Adapter & T2 right angle eyepiece on T16
Wild T16
                  Theodolite (degree)

Patents

Heinrich Wild or Carl Zeiss

Wild (Wiki) developed a number of modern theodolites including the:
Kern DKM-1, Kern DKM-2, Kern DKM-3A, Wild T2, Zeiss Jena Level 1, Zeiss Jena Th1

Albert Koening designed many optical systems for Zeiss including:
binoculars, periscopes, range finders, eyepieces, objectives, telescopes, mortar (Wiki) sights etc.  Bio

   587443 Double Image Micrometer, Albert Koenig (Zeiss Carl Fa), Aug 3, 1897, 356/22 ; 359/638 - for use with Telemeter?
   754076 Low-power telescope, Albert Koenig (Zeiss Carl Fa), Mar 8, 1904, 359/431 ; 359/794; 359/834 - 40 deg FOV with good exit pupil location (Binoculars?)
   835625 Telescopic sight for ordnance (Mortar), Albert Koenig (Zeiss Carl Fa), Nov 13, 1906, 359/419 ; 24/129B; 89/41.19 -
  873870 Ramsden ocular, Albert Koenig (Zeiss Carl Fa), Dec 17, 1907, 359/646 - improved Ramsden without the fuzzy image of the Kellner eyepiece
   918752 Double Telescope, Albert Koenig (Zeiss Carl Fa), Apr 20, 1909, 359/404 - binocular periscope
CH38603 (eSpaceNet"Device for microscopic reading of graduations" Simultaneous readings of diametrically opposed circle points, Wild's first key patent Jan 5, 1907 - this is part of what's needed to make a 1" instrument.
939366
Telemeter (Coincidence rangefinder (Wiki)), Nov 9, 1909, 356/6 -
1016311 Tachometric telescope, Feb 6, 1912, 356/21, 359/426 - method of stadia
1034049   Spirit-level with a reflecting system, Heinrich Wild (Zeiss Carl Fa), Jul 30, 1912, 356/249 - The split bubble vertical indexing system.  key for 1" instrument. 
1503758 Reducing tacheometer, Albert Koenig (Zeiss Carl Fa), Aug 5, 1924, 356/22 - measures horizontal distance even when line of sight is inclined
1062166
Stereoscopic telemeter, Albert Koenig (Zeiss Carl Fa), May 20, 1913, 356/13 -
1085868 Objective system, Albert Koenig (Zeiss Carl Fa), Feb 3, 1914, 359/784 - wide field Binoculars?


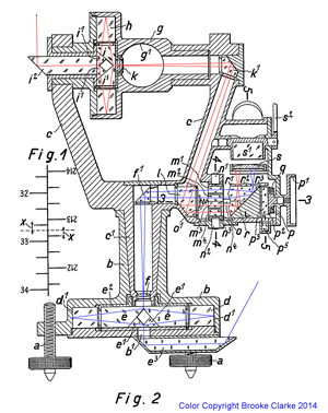
1508585 Theodolite, Wild, Heinrich, Sep 16, 1924, 356/139 - probably the T2
The vertical glass ring "h" has a scale on it's outer diameter graduated to 1/3 deg (20 min)
as does the horizontal circle "d".  The rotating glass blocks shown in Fig 3 bend the
light rays to allow reading to seconds of angle by rotating knob "p".
The "micrometer" part of this patent is another of the keys needed for a 1" instrument.

Fig 1 & 2
Wild T2 Theodolite US patent 1508585
Numbers 3, 4 & 5 refer to figures on next page at right.

Note light passing through telescope tube (g1) is used to illuminate cross hairs.
Fig 3 - Fig 6
1508585 T2
                                Theodolite patent
Fig 6 shows: 10d 53' 47"



1616751 Telescope objective, Konig Albert (Zeiss Carl Fa), Feb 8, 1927, 359/789, 359/791 - short so that telescope can be plunged.
1715845 Tacheometric telescope, Konig Albert (Zeiss Carl Fa), Jun 4, 1929, 356/22 -
1790926 Microscope objective, Albert Konig (Zeiss Carl Fa), Feb 3, 1931, 359/661 -
1791276
Microscope objective, Albert Konig (Zeiss Carl Fa), Feb 3, 1931, 359/659 - for reading glass circles, not biology laboratory use
2166102
Telescope comprising two refracting and one reflecting systems, Jul 18, 1939,
                359/365
, 359/727 - elimination of the secondary spectrum
2221317 Angle-measuring instrument, Wild, Heinrich, Nov 12, 1940, 356/139, 33/285 -
2439194
Stand with an adjustable receptionplate capable of being tipped over in every direction, (Kern '& Co. A. G., Aarau) Apr 6, 1948, 248/181.1 - tripod head
2549159 Highly corrected photographic objective having four axially air spaced components,
2660093 Telescope objective, Bertele Ludwig (Henry Wild Surveying Instr Sup), Nov 24, 1953, 359/747, 359/780 - low cost well corrected short for it's focal length telescope
2600948
Plotting apparatus for photogrammetric surveys, Filed: Sep 26, 1947, Issued: Jun 17, 1952, 33/20.4 -

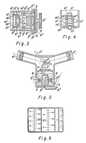
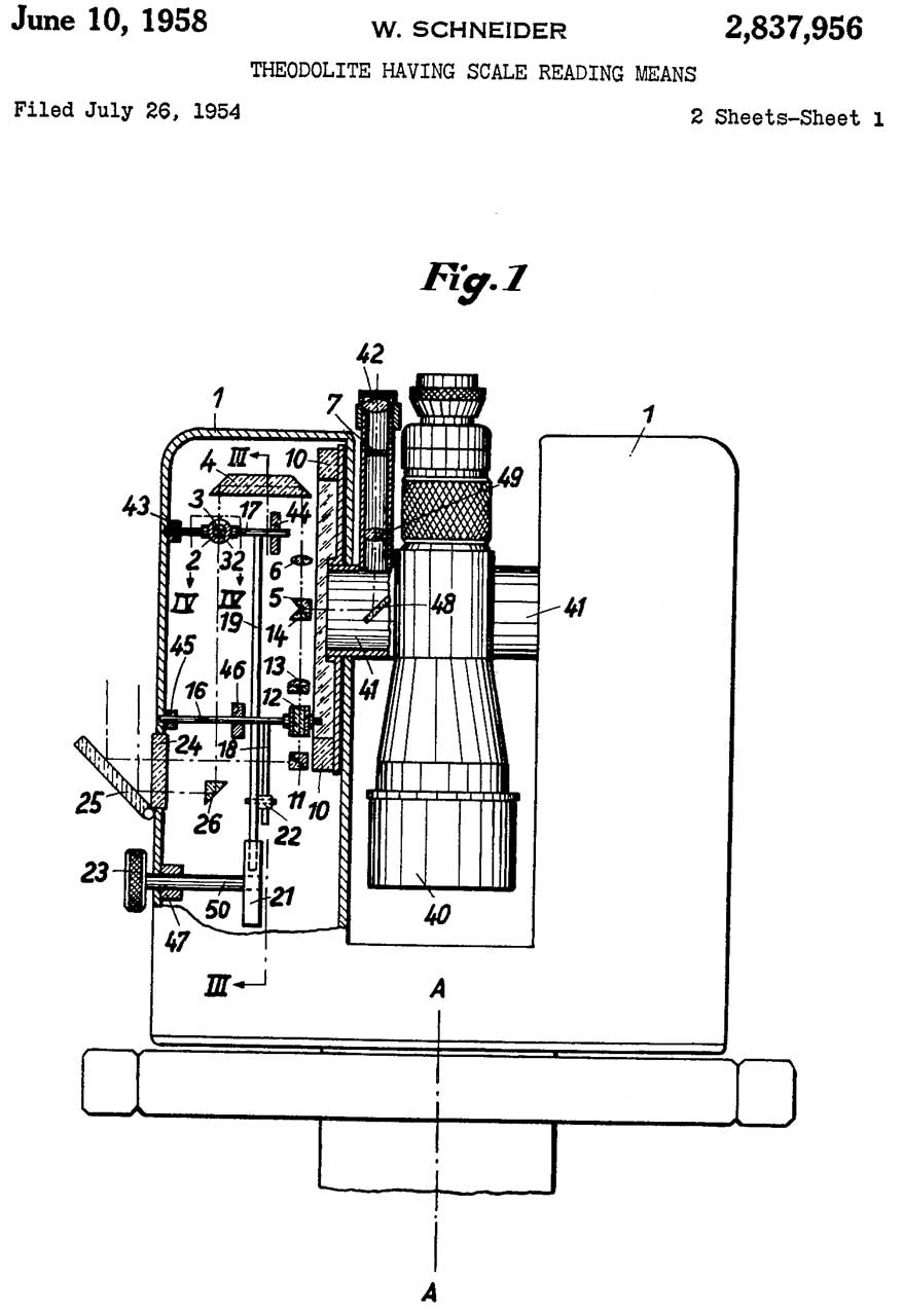
2837956 Theodolite
                  having scale reading means, Schneider Wilhelm, Carl
                  Zeiss AG, 356/148; 33/1T; D10/66; 33/282 -
2837956 Theodolite
                  having scale reading means, Schneider Wilhelm, Carl
                  Zeiss AG, 356/148; 33/1T; D10/66; 33/282 - 2837956 Theodolite having scale reading means, Schneider Wilhelm, Carl Zeiss AG, 356/148; 33/1T; D10/66; 33/282 -

Patent Citations (3)
Publication number  Priority date  Publication date  Assignee  Title
GB191205412A *1912-03-04  1913-01-30  William Peake  Improvements relating to the Adjustments of Clinometers and Degree Levels.
DE557349C *1931-02-28  1932-08-22  Askania Werke Ag  Pendulum Sextant
US2552893A *1950-06-08  1951-05-15  Conway D Hillman  Theodolite scale reading system

Cited By (4)
Publication number  Priority date  Publication date  Assignee  Title
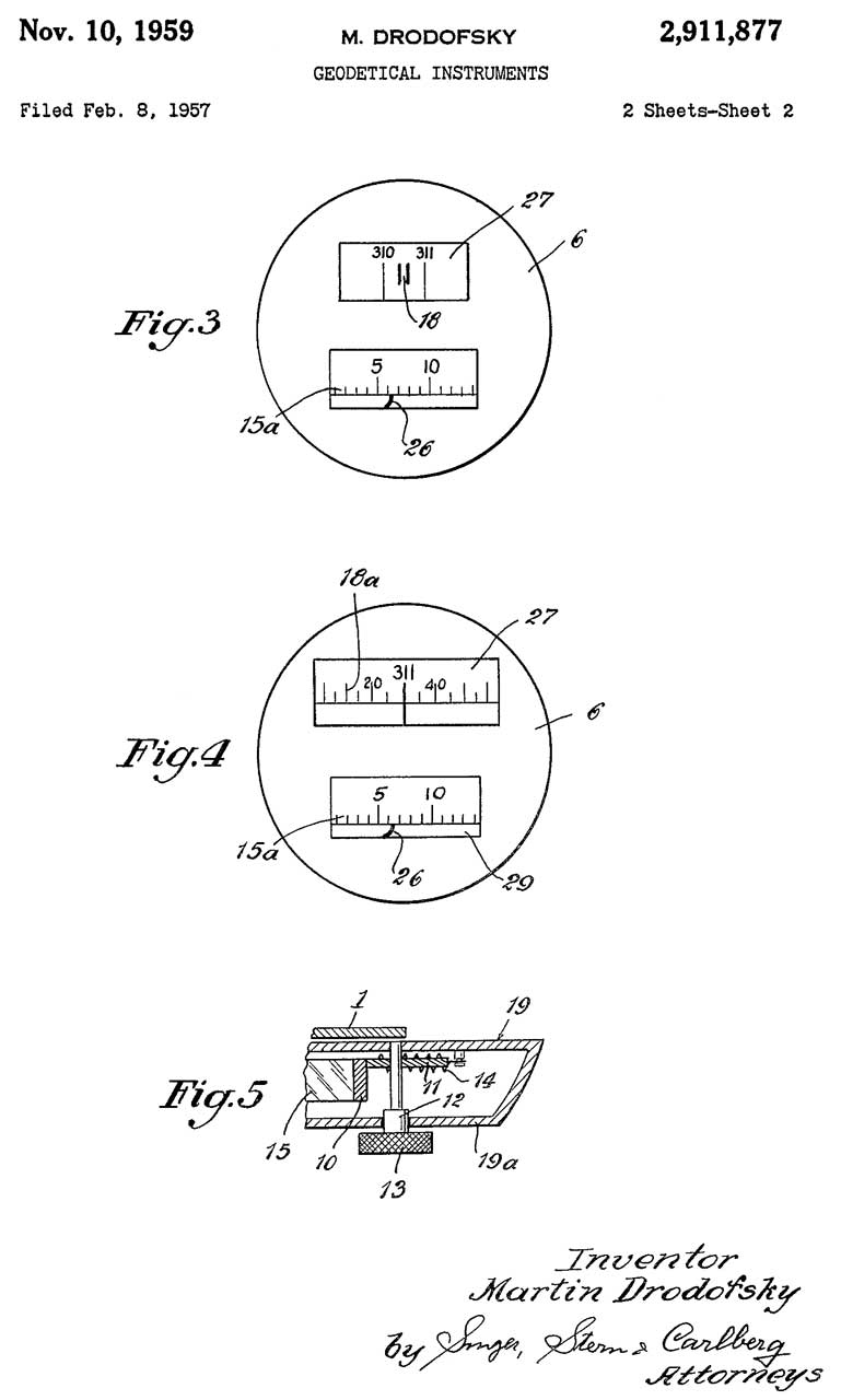
US2911877A *1956-02-08  1959-11-10  Zeiss Carl  Geodetical instruments
US4355901A *1979-10-10  1982-10-26  Wieland Feist  Arrangement for measuring the position of an index
US4355902A *1979-10-01  1982-10-26  Wieland Feist  Arrangement for determining the errors the vertical axis of a surveying device
US4445777A *1979-12-27  1984-05-01  Nippon Kogaku K.K.  Optical system of a theodolite

2911877 Geodetical
                  instruments, Drodofsky Martin, Carl Zeiss AG,
                  1959-11-10, 356/139; 356/143; 33/282
2911877 Geodetical
                  instruments, Drodofsky Martin, Carl Zeiss AG,
                  1959-11-10, 356/139; 356/143; 33/282 2911877 Geodetical instruments, Drodofsky Martin, Carl Zeiss AG, 1959-11-10, 356/139; 356/143; 33/282 -


Patent Citations (2)
Publication number  Priority date  Publication date  Assignee  Title
GB692617A *1949-12-12  1953-06-10  Fritz Herrmann  Improvements in optical instruments
US2837956A *1953-08-22  1958-06-10  Zeiss Carl  Theodolite having scale reading means

Cited By (2)
Publication number  Priority date  Publication date  Assignee  Title
US3200696A *1960-01-18  1965-08-17  Otto Fennel Sohne K G  Theodolite with coded indications
US3732015A *1970-11-19  1973-05-08  Jenoptik Jena Gmbh  Angle-measuring device


3958885 Optical surveying apparatus, such as transit, with artificial light scale illuminating system, - LED scale illumination

General Theodolite

  669705 Reading device for surveying or other instruments, Reinhard Reeh, Mar 12, 1901, 356/139 - H and V scales show up in main eyepiece, but take up a lot of the image.
1263353 Means for reading off angle measurements in Tachymeters and other angle measuring instruments, S. Baalsrud,  Apr 16, 1918, 356/139 - single axis
1502223 Theodolite, Robert M Abraham, Jul 22, 1924, 356/139 -provision to optically read the horizontal circle at two points 180 degrees apart.
1967541 Balloon theodolite, Schoute Cornelius (Zeiss Carl Fa), Jul 24, 1934, 356/251, 33/274 -draws chart
2153109 Theodolite, Veeder Curtis H, Apr 4, 1939, 33/285 - the goal is providing more accuracy by improving the bearings
2647320 Theodolite, Allister L Baker, Carl W Keuffel (Keuffel & Esser Co), Aug 4, 1953, 33/299 - modern optical readouts
2757567
Theodolite having scale reading means, Allister L Baker, Conway D Hillman (Keuffel & Esser Co), Aug 7, 1956, 356/139, D10/66, 33/281 -
                modern optical readouts
2911877 Geodetical instruments, Drodofsky Martin (Zeiss Carl), Nov 10, 1959, 356/139, 356/143, 33/282 - level incorporated into V. angle index rather than being separate
3732015 Angle-measuring device, W Feist, Chamier B Von (Jenoptik Jena Gmbh),  May 8, 1973, 356/139, 359/442 -
                modern optical readouts
4136955 Apparatus for correcting theodolites, Heinz Aeschlimann, Rene Nunlist, Rudolf Stocker (Kern & Co. Ag), Jan 30, 1979,
                356/139.1, 250/237.00G, 33/366.14, 356/149, 33/366.23, 250/231.1, 33/283, 33/377, 33/391, 33/1.00T, 33/1.0PT, 33/281
                Digital compensation for off level instrument.

4623790 Apparatus for digital angular measurement, Hans R. Stossel (Wild Heerbrugg Ag), Nov 18, 1986, 250/231.16, 250/231.17, 250/237.00G
DE 3521902 Device for superimposing two images, Arthur Richard Berrill (Wild Heerbrugg Ag), Jan 9, 1986,

Optical Plummet

  928477 Plumb Bob, L.O. Sloggett, Jul 20, 1909, 356/250 33/290 33/348 33/350 33/354 -
  973062
Optical instrument, Benjamin F Mayo, Oct 18, 1910, 356/250 - to replace plumb bob, but fits on top of tripod (no right angle in optical path).  Contains a pendulum.
2633050 Optical Plummet, Allister L Baker (Keuffel & Esser Co), Mar 31, 1953, 356/250, 33/396 - designed to be used under the tripod head (has right angle prisim).
2679181 Optical plummet, Allister L Baker, Carl W Keuffel, Kissam Philip (Keuffel & Esser Co), May 25, 1954, 356/250, 33/396, 33/348 - add on unit

Vertical Level (Indexing)

1034049   Spirit-level with a reflecting system, Heinrich Wild (Zeiss Carl Fa), Jul 30, 1912, 356/249 - no marks needed on level vial
                View both ends so that expansion or contraction is not a problem.
                Part of what's needed for a 1" instrument.          

Tests & Adjustments

There are a number of tests and adjustments that can be done in the field and these apply to most transits as well as theodolites.

Levels

When leveling the instrument if you can get the most sensitive level to remain centered when the instrument is turned to any azimuth then that vial is properly adjusted.
But when you rotate the instrument and the bubble does not move, but is not not centered then the vial needs adjustment.  The adjustment can be made to bring the bubble back to the center position because the lack of movement of the bubble in any azimuth shows the instrument is leveled.  i.e. there's no need to split the difference.

Reticle

Dividing Engines

On the Wiki page for Theodolite they mention that the dividing engine (Wiki) used to make the circles for the Great Ramsden Theodolite (Wiki). 
The horizontal angle could be read to 1 arc second.  That was possible because Jesse Ramsden (Wiki) had developed a dividing engine (Wiki) that good.
Since his engine was developed with funding from the Board of Longitude (Wiki, Amazon.com, IMBD) there was no patent and Jesse trained others to make the dividing engine.
Note:  The problem of finding the Latitude was even greater, see my Ukiah Latitude Observatory web page.
In order to make a dividing engine you need a good screw cutting lathe (Wiki).

Size of circles

Suppose you want to use a 100 foot baseline (i.e. two stakes 100' apart with small nails in the top) to define a North-South line.
What is the scale factor, i.e. how far at right angles to the line is what angle?
distance = 100' * 12"/' * SIN(1/60 deg) = 0.349
For 1 minute of angle it's 0.349" or about 11/32" which is a practical value.

Suppose you wanted to make a compass rose calibrated in degrees where the distance between each degree mark as 1/4".  What would be the diameter of the circle?
The circumference of the circle will be 360 * 1/4" = 90 inches.
The diameter of the circle will be 90 / PI = 28.64"

Suppose you want to make a compass rose calibrated in minutes where the distance between each minute mark is 1/8". What would be the diameter of the circle?
The circumference of the circle will be 360 * 60 * 1/8" = 2700" = 225' 
The diameter of the circle will be 225' / PI = 71.62'

This is why dividing engines that have a circle diameter on the order of a few feet use compound worm gears to get arc second accuracy in a small package.

Note:  It's possible to draw a circle on plywood and then cut and sand so that the outside of the marked line remains. Wrapping a cloth or metal tape measure around the circumference allows marking the outside diameter every 1/8".  A convenient max circle diameter for this process is 4' = 48" then what's a good scale factor?

For a circle of 48" diameter the circumference is 150.796" which will support 1,206 marks that are on 1/8" centers.  That's equivalent to 3.35 marks per degree.
If there were 3 marks for each degree (i.e. 20 arc minutes per mark) then there would be 1,080 marks on a circumference of 135" or a diameter of  very slightly smaller than 43" (0.028" on the diameter smaller, maybe finish to the inside of a 43" diameter pencil line?).

Suppose you want a North-South line good to 1 arc second.  Also suppose that scale factor on top of a stake needs to be equal to or greater than 1/8" for each arc second.
How far apart do the two stakes need to be?
The circumference of a circle will be 1/8" * 360 * 60 * 60 = 162,000", or a diameter of 51,566.2" or a radius of 25,783.1" or 2,148.59'.  Too big to fit on my property.
Even cutting the scale factor in half to 1/16" per arc second results in a base line over 1,000 feet long.

Manuals

Pilot Balloon Theodolite

TM 11 6660-258-25P ML-474 (Pilot Balloon type) PIBAL
TM 11-6675-200-10 ML-247 (Pilot Balloon type) PIBAL
TM 5-6675-200-14
TM 5-6675-200-25P
TM 11-6675-200-25P ML-247 (Pilot Balloon type) PIBAL
TM-11-6675-200-35 (Pilot Balloon type) (Wiki) PilotBalloon.com
Theodolites ML-47 - C through  ML-47-R,
ML-247 and  ML-247-A  and
Double Center Theodolite ML-474/GM

Wild T1

Wild T2

There are a number of different year models: 1956 (56), 1963 (63), 1966 (66), 1967 (67), 1968 (68), 1974 (74)
In addition there are letter designations for differences -C and -M.
There are also versions that read out in degrees, Mils (Wiki) and Gon (Wiki: Gradian).

T2-74DEG

TM 5-6675-306-14

Wild Heerbrugg Model T2 (74) Deg NSN 6675-00-334-5335  1975
This manual contains instructions on making a number of adjustments:
Fig 2-15 Plate Level.
Fig 2-16 Collimation, vertical and horizontal slow-notion screws, adjustment.
Fig 2-17. Horizontal circle drive knob, adjustment.
Fig 2-18. Footscrews, adjustment.
Fig 2-19. Horizontal collimation error, adjustment.
Fig 2-20. Vertical collimation error, adjustment.
Fig 2-21. Circular level, adjustment.
Fig 2-22. Optical plummet, adjustment.
Operation:
Fig 2-23. Theodolite leveling.

TM 5-6675-306-24P

  T2 (74) Deg

TM 5-6675-233-20P

  printed Jun 1970, Change 1 Feb 1993
Wild Heerbrugg Model T2 (63) MIL     FSN 6675-983-8027
Wild Heerbrugg Model T2 (67) MIL     FSN 6675-988-5225
Wild Heerbrugg Model T2 (66)-C MIL FSN 6675-937-2954

TM 5-6675-233-35

  Printed Jun 1970, Change 1 Feb 1993
Wild Heerbrugg Model T2 (63) MIL     FSN 6675-983-8027
Wild Heerbrugg Model T2 (67) MIL     FSN 6675-988-5225
Wild Heerbrugg Model T2 (66)-C MIL FSN 6675-937-2954

T2 Mil

TM 5-6675-296-14

 printed 28 June 1977 with Change 2 of 20 Jan 1987.
Model T2 (56)-C-MIL NSN 6675-00-682-4635
Model T2 (56)-M-MIL  N S N 6 6 7 5 - 0 0 - 7 9 6 - 9 4 3 9
Model T2 (63)-MIL NSN 6675-00-983-8027
Model T2 (66)-C-MIL NSN 6675-00-937-2954
Model T2 (68)-MIL NSN 6675-00-089-8885
Models T2 (56)-C-MIL , T2-56-M-MIL, T2-63-MIL, T2-66-C-MIL, T2-67-MIL, and T2-68-MIL) NSN 6675-00-988-5225

TM 5-6675-296-24P 

T2 (68) Mil

T-2 (56)-C-MIL, T-2 (56)-M-MIL, T-2 (56)-M-MIL, Reference, T-2 (56)-C-MIL, Reference

TM 5-6675-205-20P

Organizational Maintenance Repair Parts and Special Tools Lists for Theodolite: Directional; 0.002/Mil Graduation: 5.9 In. Long Telescope; Detachable Tribrach; w/Accessories and Tripod
(Wild Heerbrugg Model T-2 (56)-C-MIL)
(Wild Heerbrugg Model T-2 (56)-M-MIL);
(Wild Heerbrugg Model T-2 (56)-M-MIL, Reference);
(Wild Heerbrugg Model T-2 (56)-C-MIL, Reference)

TM-5-6675-205-35P

Wild Heerbrugg Model T-2 (56)-C-MIL) FSN 6675-682-4635
Wild Heerbrugg Model T-2 (56)-M-MIL) FSN 6675-796-9439
Wild Heerbrugg Model T-2 (56)-M-MIL, Ref FSN 6675-988-5225
Wild Heerbrugg Model T-2 (56)-C-MIL, Ref  FSN 6675-988-5225

TM 5-6675-244-15 Organizational, DS, GS and Depot Maintenance Manual Including Repair Parts and Special Tool Lists TARGET SET, Surveying: Circular Level and Optical Plummet in Tribrach w/Quick Release Mechanism (Wild  Heerbrugg Model T-2)

Wild T3

TM 5-6675-231-15 T3
TM 5-6675-231-24P  T3

Wild T16 Military

The T16 is similar to the regular Tn series theodolites, but is "direct reading".  By that I mean that the T16 units do not have the micrometer as described in patent 1508585 (See above).  This means they do not have the micrometer knob and after setting the angle using the fine adjustment you just look at the scale and read the horizontal and vertical angles directly.

The reticle may have a "Solar Circle" that's a circle with a diameter the same as the Sun.  When the optional "sunglasses" are used to allow looking directly at the Sun, the circle allows pointing to the center of the Sun rather than a limb.  This can only work when the magnification is low enough to allow seeing all of the Sun, so it does not appear on models with more angle accuracy because they have more powerful telescopes.

There are two types of optional magnetic compasses, one is the through compass that's housed in a narrow box and only has a North-South reference mark, the other is a conventional round compass that is calibrated either 0 to 360 degrees or 0 to 6400 Mils (Wiki).

The "eyepiece prism assembly" is a single unit with two right angle prisms to allow sighting the Sun or stars.
There is also a "solar filter" that fits the eyepiece for Sun sights.

There is an "autocollimination eyepiece" that allows using the theodolite to measure very small angles.

The "telescope level" is a level vial that can be mounted directly on the telescope to increase the accuracy of vertical angle measurements.

The T16 has an optical plummet like the other Wild theodolites.

The top of the theodolite can have the through compass, circular compass or a handle.

TM 5-6675-200-14

Operator, Organizational, Direct Support and General Support Maintenance Manual
Theodolite: Directional; 5.9 In. Long Telescope; Detachable Tribach, w/Accessories and Tripod
(Wild Heerbuugg Model T-16-0.2 MIL) (FSN 6675-542-1683)
Cover date:  13 May 1973
Change 5:       3 June 1992
Change 4:     14 July 1989
Change 3:     21 March 1988
Change 2:     18 Dec 1978

TM 5-6675-200-25P

Organizational, Direct Support and General Support, and Depot Maintenance Repair Parts and Special Tools List
Theodolite: Directional: 5.9 In. Lomg Telescope, Detachable Tribach, w/Accessories and Tripod
(Wild Heerbuugg Model T-16) FSN 6675-542-1683
Cover date: 26 January 1967
Change 2:    24 June 1992
Change 1:    28 Sep. 1967

TM 5-6675-270-15  

(Model 66 has clamping lever & 68 has clamping knob.  Model 68 has telescope level assembly. 
Model T16-MIL 66, Type II FSN 6675-926-4505
Model T16-MIL 68, Type II FSN 6675-861-7939
Theodolite: Directional: 1 Min Graduation; 5.9 In. Long Telescope, w/Accessories
Wild Heerbrugg Model T16-68 DEG, Type I  FSN 6675-770-4958
Cover date:  12 March 1970
Change 6:       5 Feb 1990
Change 5:     27 Dec 1976
Change 3:     25 April 1974
Change 1:     29 Sep. 1971

TM 5-6675-270-25P

Organizational, Direct Support and General Support, and Depot Maintenance Repair Parts and Special Tools List
Theodolite: Directional: 0.2 MIL Graduation; 5.9 In. Lomg Telescope, w/Accessories
(Wild Heerbrugg Models)
Model T16-MIL 66, Type II FSN 6675-926-4505
Model T16-MIL 68, Type II FSN 6675-861-7939
Theodolite: Directional: 1 Min Graduation; 5.9 In. Long Telescope, w/Accessories
(Wild Heerbrugg Model T16-68 DEG, Type I FSN 6675-770-4958
Cover date: 20 June 1980
Change 4:   28 February 1994
Change 3:   12 Aug 1992
Change 2:   25 April 1974
Change 1:     5 Oct 1971

TM 5-6675-312-14

Operator's, Organizational, Direct Support, and General Support Maintenance Manual
Theodolite, Surveying, Directional, One Minute
(Wild Heerbrugg Model T16-75DEG)
NSN 6675-01-075-3278
Cover date: 2 0 JUNE 1980
Change 1: 18 May 1992

TM 5-6675-312-2P

Organizational, Direct Support and General Support, and Depot Maintenance Repair Parts and Special Tools List
(Including Depot Maintenance Repair Parts and Special Tools)
T16-75 DEG Theodolite NSN 6675-01-075-3278
Cover date: 19 September 1980
Change 1: 3 April 1992

Related


Warren-Knight PIBAL Theodolites - easy to use at high elevation angles, i.e. the night sky.Navigation - there's a strong link between knowing position, time and location.
Surveying & Surveying Patents
Leitz 115A transit
Compass (military pocket, M2 transit, Marching, etc.)
North Finding -AG8 -  ARK2 Gyroscope, GKK3 DC - AC Converter, GKB2 Battery, GKL3 Batt. Charger, GST10-2 Tripod, Kern _____ theodolite
The American Theodolite - The American Surveyor, Vol 10, No. 9, 2013 - W & L E Gurley attempt at 1" instrument patents:
         2363877 Theodolite, Larsen Harold R, Sonderman John B (W & L E Gurley), Nov 28, 1944, 356/139 -
         2602229 Trunnion bearing, Gurney Daniel, Harold R Larsen (W & L E Gurley), Jul 8, 1952, 33/299, 384/492

Links

http://surveyantiques.com/alietzinstmainpage.htm

Virtual Archive of Wild Heerbrugg

Back to Brooke's: PRC68, alphanumeric index of web pages, Products for Sale

Page Created 7 Dec 2013