There are many ways to find true north.
Journal of Navigation: The Seven ways to Find Heading, Kenneth Gade, 2016, 16 pages (The_Seven_Ways_to_Find_Heading.pdf).
There is a fixed relationship between time and position on Earth that shows up in a number of ways. Navigation, Surveying, Time and Frequency, Gyroscopes, Flywheels , Astronomy as well as North Finding are all interrelated.
Method
Examples
1. Magnetic vector field of the Earth. Magnetic compass
2. Angular velocity of the Earth. See Stellar time. Gyro-compass (gyroscopes)
3. Vector between external objects. Star Tracker (MD1), downward camera in UAV
4. Vector from own vehicle to external object(s). Bearings to objects with known position
5. Body-fixed vector. Multi-antenna GNSS
6. Vehicle velocity vector. Doppler sensor or camera
7. Vehicle acceleration vector. Measure position or speed
Some crude ways are to use an analog wrist watch and point the minute hand to the Sun and then a North-South line is half way between the minute hand and 12:00, this is called the Boy Scout method (Wiki). Or that moss grows on the North side of tree trunks.
Following are some more accurate ways.
Magnetic Compass
Use a magnetic compass and correct for the local magnetic declination (Wiki), my sensors web page on magnetism.
A problem with this is applying the correction in the correct direction.
Another problem is that the compass needs to be level, if it's tipped there will be an error.
Another problem is using a compass that's accurate enough.
The compass that's part of a surveying instrument, like the Leitz 115 transit, is good to better than one degree.
A compass with a single piece needle will tend to point more in the up-down direction than horizontally in most parts of the world and so needs to have a balancing weight added to keep the needle level and so will only work over a limited range of latitudes.
Noon Sun
There are a number of methods of using the fact that the Sun is at true South (or North for the southern hemisphere) at local noon (not clock noon).
One way is to mark the path of the shadow cast by the tip of a vertical pole. A line from the base of the pole to the closest point of the shadow path is on a North-South line.
Another way to to determine time when the Sun is due south (transit time) at:
http://aa.usno.navy.mil/data/docs/RS_OneDay.php
Using a vertical pole mark the shadow of the tip at the transit time. A line from the base of the pole to the closest point of the shadow path in on a North-South line.
There are solar attachments for some transit surveying instruments that allow finding North based on the Sun's position.
The Dipleidscope is designed to tell you when it's exactly noon, but it could be used to find North if you know the time when the Sun transits (see above).
A Noon Mark (Wiki) is a type of Sundial (Wiki) that is constructed on a South facing vertical wall and incorporates the Equation Of Time (Wiki).
The EOT corrects Sundial time from being off by as much as 16 minutes to better than 1 minute of time based on the date. Or, more accurately if the EOT is computed for the current year.
It can also be implemented as a ceiling dial by means of a small mirror.
Skylight
The polarization of the sky in both sunlight and moonlight is polarized and so can be used to determine North. See: Skylight Compass.
Stars
Stars can be observed by knowing the time that they transit the local meridian just as was done for the Sun. A problem is that you don't want to use a star that transits directly overhead, but rather one that transits not too far above the horizon. For more on this and the limiting accuracy see my Stellar Timekeeping web page. (Note: Astronomical "seeing" caused by atmospheric turbulence limits the precision of a single star observation to single digit milli arc seconds of angle.)
Theodolites have right angle eyepiece attachments to allow looking at stars that are high in the sky. Also Pilot Balloon (PiBal) theodolites have the eyepiece at right angles to the telescope axis to allow looking skyward. The Wild T16 91 arc minute) or T2 (1 arc second) will result in precision North is the hour angle of Polaris is taken into account.
North Star
The North Star (Wiki) is not at the celestial pole (Wiki) and so circles the celestial pole. The error in finding North if you use the North star at a random time can be on the order of 3/4 of a degree.
One way to eliminate this error is to use a Polaris finderscope. This is a small telescope with circular rings that are offset from the center line of the scope by the offset of Polaris. When aligned with the center point at the celestial pole you will see Polaris on one of the rings. As time goes by Polaris will stay on the same ring. This is one way to align an astronomical telescope, but it can take some time since you need to wait for the sky to rotate.
Another way to eliminate the problem of Polaris not being due North is to determine when Polaris transits. That happens two times every day, once when Polaris is directly above the celestial pole and again when it's below the pole. If you follow the North star with a transit and stop tracking it when it transits then your have found North.
A normal surveying theodolite can not sight object that are high in the sky since the eyepiece gets too close to the base to allow your head to be there. There are right angle adapters (T2 Figures 11, 12, 13 & 14) that will allow this but they are a complication.
The surveying transits designed to track pilot a balloon have a
GPS
The AG8 gyroscope North Finding System was replaced by the "Gun Laying" (Wiki) application in the PLGR and DAGR GPS receivers.
The accuracy is easily better than one mil (Wiki).
There are two Gun Laying (Azimuth Determination) methods that can be done with either the DAGR or Polaris:
A less accurate, but quick and easy way to find North with the DAGR or Polaris is to use it's internal magnetic compass. Since the DAGR knows it's Lat and Lon and it has some version of the World Magnetic Model it can be setup to display true bearings by applying the WMM to the magnetic bearing. Note: You must hold the GPS horizontally level, best on a table or other surface.
- one uses a single GPS receiver that's taken from the starting stake to the far stake and then calculates the bearing and distance between the stakes.
- the other uses two GPS receivers (a base and a rover) and is more accurate.
There are other GPS methods but none of them come close the the Gun Laying System in accuracy.
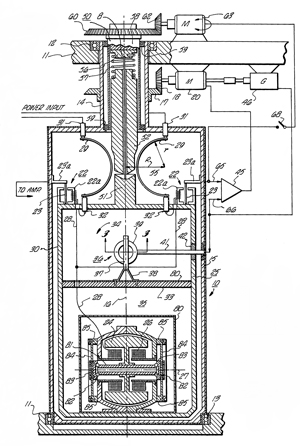
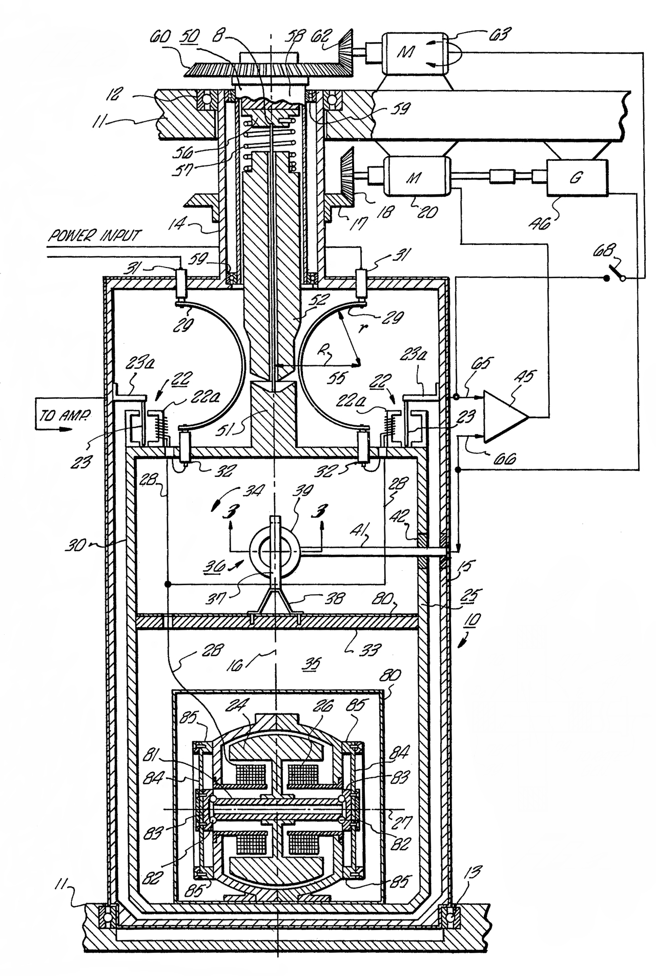
When the axis of a gyroscope is parallel to the Earth's spin axis the gyro will be stable, but if the gyro axis is off a little it will precess. In this way a gyroscope can be used to determine North to high precision. Note: This is very different than a gyro compass where the gyro just maintains an azimuth that drifts with time.
Wiki: Gyrotheodolite - Showing Wild GAK gyro mounted on a T16 theodolite. - Schuler tuning -
Also see my gyroscope web page.
3146530 Pendulous north seeking gyroscopic assembly, Keith H Clark, James V Johnston, 1964-09-01, -
3561129 North-seeking system, James V Johnston, Army, 1971-02-09, -
Pendulous
2510068
Gyrocompass
Sperry
ship use
3172213
see above
Lear Siegler North Finding
3258976
see below
Gen Precision
Tripod mounted
Fig 1 AG-8 theory of operation![]() |
AG-8 Patent 3988659 Fig 2![]() |

ARK 2 Aiming Circle![]() |
GAK 1 Gyro Attachment![]() |
| Patent Number | Title | Issue date |
| 3997975 | Calibration of a meridian seeking instrument | Dec 21, 1976 |
| 5115570 | Method for eliminating gyro errors | May 26, 1992 |
| 1240872 |
Gyro-Compass |
1917 |
| 2139558 |
Followup System for Gyro
Compass |
1938 |
| 2142018 |
Ball Gyrocompass (Sperry
Gyro) |
1938 |
| 2972195 |
(see above) |
|
| 3283408 |
(see above) |
| 2510068 |
see above |
|
| 3172213 |
see above |
|
| 3258976 |
see above |
| Patent Number | Title | Issue date |
| 2000524 | WELL SURVEYING INSTRUMENT | May 1935 |
| 2852943 | GYROSCOPIC APPARATUS | Dec 1974 |
| 3162951 | STATIONARY
GYROSCOPIC
COMPASS F looks like AG8 with gyro below tripod hea |
Dec 1964 |
| 3619905 | CYRO COMPASSES | Nov 1971 |