Photographic Studio Strobe System

Digital Photography 204: Flash

© Brooke Clarke 2011

Background
Components
    Pocket Wizard Hot-Shoe Transcievers
    Einstein 640 Monolight Strobe Flash
    Vagabond Battery Power for E640
    Pocket Wizard PowerMC2 interface for the E640
    Nikon SB-900 Speedlight
        SC-28 Extension Cord
        Diffuser
    Yongnuo YN-565EX Flash
    Light Modifiers
        PLM Unbrella system
            54" PLM Umbrella
            86" PLM Umbrella
        8.5-inch High Output Reflector
        22-inch Retro Laser
Light Table
    Accessories 
         Background
Balancing Flash & Other Illumination
Metering
    Patents
    Thomas Strobemeter Model 1B
    GR 1501 Light Meter
Related
Foot Notes
Links

Background

To illustrate these web pages I take a lot of product photos.  I used to take then in different rooms and places based on what was most convenient, but the quality of the images suffered.  Using ceiling bounce flash (see Nikon SB-25 web page) where I sit at the computer was a big improvement, but there's not much room and the background is very cluttered.

Setting up a small photo studio in the living room where there's a shooting table with a translucent surface that can be back lighted not only makes for a clean background but also for a background that does not need to be manually erased.

The next step was to get a few cheap monolights (studio strobe lights which are all in one package).  This is a big improvement over using hot-shoe type strobes in a studio.  There are a number of problems with this system:
  •  Dead AA batteries because I forgot to turn off something. 
  • Weak flash power and light control that's not as good as what's possible with studio lights.
  • The Nikon Creative Lighting System (CLS) does not work with these first generation strobes.
  • The camera settings are different than what's used with the SB-900.
  • Dead cheap strobe light (made in China with poor workmanship and no after sales service or warranty)
That brings us to this new strobe system.  There are a small number of studio monolights that use Insulated Gate Bipolar Transistors (IGBT) to both turn on and turn off the flash at very high speeds.  These semiconductor devices are capable of switching the high voltages and high currents that are encountered in the strobe flash high voltage flash drive circuitry.  A secondary advantage of this system is that when the flash is stopped any energy remaining in the HV capacitor is saved.  In the prior systems the flash was on until the capacitor voltage got low enough that the Xenon lamp turned off because of low voltage (no energy saved) or in second generation systems the High Voltage across the capacitor was shorted out thus stopping the flash sooner than waiting for the flash to drain the capacitor, but again there is no energy saved.

Components

Pocket Wizard Hot-Shoe Transcievers

These are RF based, not IR like the Nikon wireless system so they do not require line of sight and they work over longer ranges.  Powered by a couple of AA batteries that are included in the box.  Got two of the Flex TT5-Nikon tranceivers.  The first generation Pocket Wizzards were dedicated as either transmitters or receivers, but these can be used either way (but not both ways at the same time).  Also got a Nikon 10 pin to Pocket wizzard cable.  This allows remote shutter release. 
Pocket
                        Wizard FlexTT5 & N90M-ACC Cable
Pocket Wizard
                        FlexTT5 & N90M-ACC Cable


12 Nov 2011 - very poor customer service (see footnote 1, footnote 2, footnote 3)
With one unit on the camera and the other on the SB-900 not only do you have remote flast triggering, but also the FP flash sync mode works, i.e. you can use all the shutter speeds including 1/8000 second.  So far I have not been able to use them as a wireless remote shutter release.

IMPORTANT - Open Antenna
The antenna on the Flex TT5 must be opened fully in order to have a useful range.
With the antenna in the closed position the range from a Flex TT5 to the MC2 is about 5 feet, with it open it's much greater.

IMPORTANT - Wheel retracts locking pin
The wheel that clamps the FlexTT5 to the camera also raises and lowers the locking pin.  If you couple two FlexTT5 units together the locking pin is spring loaded and will snap into the other unit and they will not come apart until you retrace the locking pin by turning the wheel to the right on the top unit.  You can see how this works by turning the wheel on the bottom unit

Working Setup


Camera Top
Used for
Remote Shutter Release
Camera Top
Used For
Normal Shutter Release
Power Tracking on E640
Channel 1
Channel 2
ControlTL Transmit Ch 1
ControlTL Transmit Ch 2
Standard Transmit Ch 2 Standard Transmit Ch 2
ControlTL Receive Ch 1 ControlTL Receive Ch 2
Standard Receive Ch 1
Standard Receive Ch 32
On: Basic Trigger
Off: Basic Trigger
Power Tracking: Full Manual
Power Tracking
Center on ISO & Aperture w/First Shot
Remote Flex TT5 is in default config
Hold TEST while power on, wait for:
1, 2, 4 LED blinks.


If the E640 is set to plain CH 2 and the MC2 is installed the E640 manual flash power up/dn buttons do not work.
If the E640 is set to control C-TL 02 then the power can be adjusted from the camera or using the E640 buttons.

Note:

You can fire the E640 by pressing the TEST button on the FlexTT5.
BUT sometimes it takes a strong press of the TEST buttom to make contact.
That's to say the quality of the TEST button is not as good as it could be.

Channels

There are two channels on each unit (OFF - Ch1 - Ch2).  Each channel can be configured using the Utility software, a computer and USB-A to USB-Bmini cable.
The parameters are:
Channel numbers
    ControlTL Transmit
    Standard    Transmit
    ControlTL Receive
Flash
    Speedlight: Trigger or i-TTL
    Remote Studio Controls
        Remote Beeper: no change on wakeup (disable on wakeup, enable on wakeup)
        Remote Optical Trigger: no change on wakeup (disable on wakeup, enable on wakeup)
HyperSync/HSS
    On/Off HyperSync Only (Diable HSS/FP)
    HSS/FP Begins at (HyperSync Ends): (1/250 to 1/1250)
    HyperSync Flash Duration for Standard Channels: (1:Fast to 10:Slow)
    On/Off Manual HyperSync for Standard Channels
        Manual HyperSync Offset
        -1600 to 0 to +200 slider
    HyperSync for this FlexTT5 as Receiver
    AC9 Flash: (list of model numbers)
    P2 HyperSync Flash Duration (1-Fast to 10-Slow)
Power Tracking
    Mode:
         Full Manual,
        Center on ISO & Aperture w/First Shot,
        Center on ISO & Aperture - Set Both Below
        Center on Aperture Only - Set Aperture Below (aperture selection box)
        Center of ISO Only - Set ISO Below (ISO selection box)
        No Change (Trigger Only)
Modeling
    On/Off Modeling Light Control
    Control Mode: (Camera Wake, AF Assist)
    Modeling Light Auto Track (active or some % of full brightness)
    Modeling Light Sleep (always on or sleep after nn seconds after cameera sleeps at % brightness)
Sleep
    On/Off Remote TTL flash sleep Mode (always awake or nn seconds delay)
    On/Off Local Flash sleep mode (always awake or nn seconds delay)
Misc
    On/Off: Basic Trigger
    On/Off: Transmitter Only
    On/Off Disable Shoe Communications
   On/Off: SpeedCycler

Tools (gear icon in lower left)
Utility Updates
    On/Off: Check for new PW Utility updates every [14] days
Firmware Updates
    Check for FW updates every [14] days
    Select:
        Auto Download
        Notify when available
        Never download
Yes/No: Beta Test
Device Inventory
    Device     Serial             Version                Loader
MC2 US     M2Unnnnnn    2 (build 200)    3 (build 0)
TT5N US    5NUnnnnnn    3 (build3)         2 (build 7)
TT5N US    5NUnnnnnn    3 (build3)         2 (build 7)

Broken Foot

Dropping the camers+Pocket Wizard on the carpeted floor resulted in cracking the plastic foot on the bottom of the TT5 Pocket Wizard.  This is an assembly (probably there are different versions for Nikon and Canon flash hot-shoes) so can easily be replaced.  By rotating the knurled knob used to lock the foot to a camera 4 (+) screws can be removed, then the assembly can be moved a little but it is still restrained by the flex flat cable. The two black ears clamping the flex cable need to be moved away from the assembly to free the cable.

Pocket Wizard TT5 Flash Shoe Foot
                        Replacement


Adjusting Exposure at Camera

This is a great feature.  After turning on the Pocket Wizard then the camera and making the first exposure (in manual exposure control mode) fixed shutter speed and f/stop) and looking at the image on the back of the camera, you may want to change the exposure.  This can be done by pressing the exposure compensation button just behind the shutter release and while holding it down turning the rear knob to change the EV correction.  As the knob is moved the camera changes it's aperature by 1/3 f/stop AND the strobe changes it's light output in the same direction by 1/3 f/stop.  So each click of the knob results in a 2/3 f/stop change in exposure.

Patents

5359375 Microprocessor programmable digital remote radio photographic control, James E. Clark (Lab Partners Associates, Inc.), Dec 3, 1992, 396/56 -
Seperate Tx and Rx
7016603 Wireless communication module,  James E. Clark (Lab Partners Associates, Inc.), Mar 21, 2006, 396/56 -
Tx to be installed inside Nikon camera
7133607 Wireless communication activation system and method, James E. Clark (Lab Partners Associates, Inc.), Nov 7, 2006, 396/56; 396/59; 396/429 -
Tx to be installed inside Nikon camera and using PC connector for external antenna jack
7437063 Wireless camera flash synchronizer system and method,  James E. Clark (Lab Partners Associates, Inc.), Oct 14, 2008, 396/56; 348/211.2; 396/59 -
Tranceiver (first generation) the prior Flash Wizard II had two seperate LOs, one for Rx and one for Tx.
While in receive mode wait for hardware trigger event (camera hot shoe commade to flash, TEST button, External contact closure) and then switch LO to Tx freq.
7702228 Wireless camera flash synchronizer system and method,  James E. Clark (Lab Partners Associates, Inc.), Apr 20, 2010, 396/56; 348/211.2; 396/59 -
similar to the prior 063 patent
7764875 Wireless communication system and method for photographic flash synchronization, James E. Clark (Lab Partners Associates, Inc.), Jul 27, 2010,
Tx to be installed inside Nikon camera and using PC connector for external antenna jack
7783188 System and method for maintaining hot shoe communications between a camera and a Wireless Device, James E. Clark (Lab Partners Associates, Inc.),
Aug 24, 2010, 396/198; 348/371; 396/56; 396/189 -
This is the FlexTT5 where the data between camera and hot shoe flash is being handled over the radio link so a remote speedlight appears to be in the hot-shoe.
7880761 Wireless photographic communication system and method, James E. Clark (Lab Partners Associates, Inc.), Feb 1, 2011,
Provides connecting to other camera electrical ports, like the 10-pin, USB, etc so as to get access to more signals and DC power
7970267 Wireless camera flash synchronizer system and method,  James E. Clark (Lab Partners Associates, Inc.), Jun 28, 2011, 396/56; 348/211.2; 396/59 -
Includes the Rx while waiting for a command to Tx

Einstein 640 Monolight Strobe Flash

E640 head with Pocket Wizard radio
Einstein
                        640 Monolight Strobe Flash with Pocket Wizard
E640 with 51" PLM umbrella and diffuser inside view
Einstein
                        640 Monolight Strobe Flash with 51" PLM
                        unbrella inside view


Uses Insulated Gate Bipolar Transistor(s) to make and break the High Voltage circuit between the flash tube and the energy storage capacitors.  This allows contoling the flash duration and saving the charge in the capacitor bank.  Earlier designs dumped all the energy in the capacitor(s) which in addition to being wasteful makes for a much longer recycle time.

Triggering with Pocket Wizard MC2 receiver (one of the new advanced feature units) and FlexTT5 in the camera hot-shoe.

The 640 does not (and can not) support FP high speed sync like the Nikon SB-900 hot-shoe flash.

Vagabond Battery Power for E640

This unit uses Power Pole connectors in the standard ARES configuration that preserves the Hermaphroditic property.  That means an extension cord has the same connector on both ends.  Since the battery also has these Power Pole connectors it can be used in any "12 Volt" application with power poles.  For example the Power Pole to Cigarette Lighter Socket cable would work or any of the radio specific cables such as the VPA-2577 for the PRC-25 or PRC-77 radios.

Paul Buff
                      Vagabond 120 VAC Power Unit
Paul Buff
                      Vagabond 120 VAC Power Unit on Light Stand
Battery with Power Pole Connectors
Buff
                      Vagabond Battery with Power Pole Connectors
This is a "12 Volt" battery rated at 8.8 AH.
The UBI-2590 (BB-2590) is only rated for 6.8 AH.



Pocket Wizard PowerMC2 interface for the E640

Nikon SB-900 Speedlight

SC-28 Extension Cord

Nikon SC-28
                type flash extension cord

Diffuser

Nikon SB-900
                Flash Diffuser


Yongnuo YN-565EX Flash

Light Modifiers

PLM Unbrella system

The Parabolic Light Management (PLM) system uses specially shaped umbrella ribs rather than using a rain unbrella, also there are a lot more ribs to better control the shape.  The claim is 16X more light because it's an optical system.  There's also a white diffuser that makes this into a very powerful light box, or you can think of it as a shoot through umbrella backed by an optical system that makes it much brighter.

The hollow tube connected to the ring mount should be positioned so that it's far end is flush with the end of the short larger tube at the top of the umbrella, like if you pushed it aginst a wall.

51" PLM Umbrella


54"
                        PLM Umbrella w/ the soft cloth installed.
Notice light on floor is much larger than umbrella diameter.
Einstien E640 +
                      54" Parabolic Light Modifier (PLM) Glossy
                      Unbrella

86" PLM Umbrella

The circle of light on the floor is about the same diameter as the umbrella (7'+).
There are some shadows.

86" PLM Umbrella w/o the soft cloth
                installed.

22-inch Retro Laser

Einstien E640 Paul Buff 22" Spun Aluminum Parabolic Reflector "Retro Laser" being used with the StackShot for macro focus stacking.
The box attached to the light stand is the Paul Buff Vagabond battery powered 120 VAC power supply.  When the line cord is plugged into this supply the studio strobe can be used outdoors.
Paul Buff
                        22" Spun Aluminum Parabolic Reflector E640
The circle of light is much larger than the 22" dish
and it's harsh.  Note the floor is burned to white directly
below the reflector.
Einstien E640 Paul
                        Buff 22" Spun Aluminum Parabolic Reflector
                        "Retro Laser"

Light Table

The light table was showing surface scratches.  By taking a photo of just the table with no subject using the same manual exposure as for a subject the below image was discovered.


Only the left bottom strobe was firing.
Light Table Uneven Light
After rotating the right bottom strobe 180 degrees so that it's photo sensor was facing to the front it started working.  Adjusted both bottom power levels to about half way.  E640 with 54" umbrella and diffuser set to full power.  Camera M-mode, ISO: 200, 1/100, f/29 18-200 zoom lens.
Light Table Uneven Light

8.5-inch High Output Reflector

Accessories

5' x 7' Black or White Background

Impact Lighting
                5x7 Black or White Background


Balancing Flash & Other Illumination

The exposure from the flash depends on the f/stop and flash brightness since the duration of the flash is very short so changing the shutter speed has little effect.
So, when there are two different light sources you can set the flash exposure independently of the other source.  An example of this is when photographing test equipment (HP 66311A)  where there is a self illuminating front panel display.  First the flash exposure is determined then the shutter speed is slowed down until the display can be seen.  In this case f/22 @ 1/2.5.

HP 66311A Mobil
                Communications DC Source Power Supply

Metering


Conventional light meters do not work properly for strobe lighting because the flash duration is so short it isn't properly measured.


Patents


Thomas Strobemeter Model 1B

Strobemeter model 1B Front Panel
Thomas
                      Strobemeter Model 1B patent 3049050 Fig 1
3049050 Exposure Meter for Photography, Frederick A. Thomas, Aug 14, 1962,  356/215; 250/206; 250/214.00P; 355/68; 356/225 -
Calls:
2360082 Method for Determining the Breaking Time of Stratus and Fog, N.C. Stone (Pasadena Res. Found), Oct 10, 1944,
        356/72; 73/170.27; 250/214.00R; 250/573; 356/3; 356/215; 356/434; 361/175 -
Photocell measures light to predict when stratus clouds or fog will clear
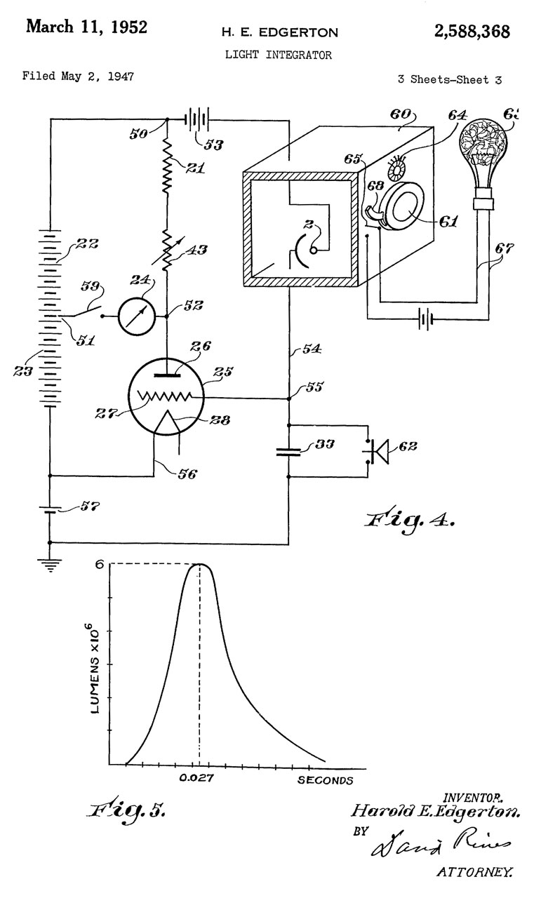
2588368 Light Integrator, H.E. Edgerton, Mar 11, 1952, 356/215; 73/1.56; 250/214.00R; 250/225; 250/229; 324/102 -
2633784 Photographic Printer, P.C. Cofield, Apr 7, 1953,  355/83; 356/443 -
dumb idea to control light source when printing.  According to Ansel Adams (Minor White Zone System Manual) the exposure is that required to print film base as black.



GR 1501 Light Meter

This meter was designed specifically to measure the light output of strobe flash tubes (like the GR Strobotac), also invented by Harold "Doc" Edgerton.  The third page of figures shows it also being used to measure the output of a flash bulb.
GR 1501 photos courtesy of Jason Hathcock.

Fig 1
GR 1501 Light
                      Meter
Fig 2
GR 1501 Light
                      Meter
Fig 3
GR 1501 Light
                      Meter
Fig 4 1P39 Cold Cathode Photocell
GR 1501 Light
                      Meter
Fig 5
3 ea No. 455 = 3*45V = 135V.
1 ea No. 742 = 1.5 V (maybe 4 parallel "F" cells)
GR 1501 Light
                      Meter



2588368 Light
                      intergrator, Harold E Edgerton, Filed: 1947-05-02,
                      Pub: 1952-03-11, 356/215; 73/1.56; 250/229;
                      250/214R; 250/225; 324/102-
2588368 Light
                      intergrator, Harold E Edgerton, Filed: 1947-05-02,
                      Pub: 1952-03-11, 356/215; 73/1.56; 250/229;
                      250/214R; 250/225; 324/102- 2588368 Light
                      intergrator, Harold E Edgerton, Filed: 1947-05-02,
                      Pub: 1952-03-11, 356/215; 73/1.56; 250/229;
                      250/214R; 250/225; 324/102- 2588368 Light intergrator, Harold E Edgerton, Filed: 1947-05-02, Pub: 1952-03-11, 356/215; 73/1.56; 250/229; 250/214R; 250/225; 324/102-

Also see:
 Harold "Doc" Edgerton - inventor of the strobe tube & Strobotac
 GR Strobotac, Sonar & Krytron - 631 & 1531 Strobotac (patent for 1531 is close to the 1501 patent)
Graflex Stroboflash IV - Egerton involved in design
 




Related

Digital Photography 101: Basics
Digital Photography 201: Stacking Images
Digital Photography 202: Close-Up, Macro & Micro
Digital Photography 203: Color Management
GR Strobotac, Sonar & Krytron
Harold "Doc" Edgerton - inventor of the strobe tube
Optics
Photography - general historical
Photoflash - historical Electronic flashes for still cameras
Nikon - cameras, flash, lenses, etc.
Nikon SB-25 Ceiling bounce and light box
Tripods
Ukiah - a number of photos
Ultraviolet
Weston Model 594 Photronic Cell & many other light meters

Foot Notes

1. Started to use the Pocket Wizard FlexTT5 units and ran into a bunch of problems.  Here's the email I sent them (no support available on Saturday)

I just received a couple of FlexTT5 units I bought directly from Pocket Wizard.  I've watched many of your on line videos and after receiving the two units was able to use one on my Nikon D300s (with the recommended settings) and the other on the SB-900 speedlight and take a photo at 1/8000 sec OK.
Some comments:
1) When I download the complete manual as a pdf file there are a number of places I see html code and in all those cases it appears to be related to a video, but the code is not a valid URL so there's no way for me to see the video.  You might consider making these links to you web videos.

2) I can not get remote shutter release to work.  Tried updating both units to the latest firmware version.  But I don't see a way to confirm what firmware version they have.  You might consider displaying the firmware version when connecting to a device.

3) I tried to do an on line registration, but was not able to because the form requires the dealer city and state.  You might consider an "About" tab on your web page with your address that way I could fill out the form and be registered.  A better thing to do is provide an option for the dealer that includes an on line purchase directly from you.

4) I tried to use your Wiki, but it requires registration, which means I can't access it (see 3 above).

5) I tried to phone you, but there was no answer.  You might consider posting the days and hours when phone support is available.

2. Not receiving any response to my email sent Saturday I phoned Pocket Wizard today (Monday) and after talking to the operator who transfered me to service who transfered me to an answering machine that has no outgoing message, just a weak beep, left a requrest for a call back and my phone number.
Additional comments:
6) Utility program (ver 1.35)  displays the firmware version in a format that's different than what's displayed in the literature and when downloading new versions.
7) Most of the press releases on the PW web page do not have release dates.
8) The LED on the MC2 receiver for the E640 (a) is hard to see if it's blinking, (b) is a TEST button, but there's no description of what it does.
9) the effect of holding the TEST button on the FlexTT5-Nikon then powering up and waiting for the 1, 2, 4 LED blink sequence is not clear.  I think it reverts the units to factory default settings, i.e. channel 1.

3. The Einstein E640, battery power supply and a few light modifiers arrived.  The MC2 does not work at all.  At least the light on the FlexTT5 blinks when trying to use a pair of them for remote shutter release.  Called Pocket Wizard at 6am California time, again was routed operator -> service -> answering machine with just a beep.  Again requested a call back.  Sent a backup email and later received an anwer pointing me to their web pages, pretty all of which I've now read and think have complied with. 
It's 4:30 pm Tuesday and still no useful help.
10) It's not clear how these units work in terms of being a transmitter or receiver or both?
11) is FP-sync supported with the E640

Links

Brooke's PRC68, Products for Sale, End 2 Party Government
page created 10 ANov. 2011.