GR Strobotac, Sonar & Krytron

© Brooke Clarke 2016 - 2021

Background
Description
    GR 631
    GR 1531
    GR 1532-B Strobolume
    EG&G 2020 Machine Vision System Strobe
Theory
Reed Tachometer
Related
References
Patents
    Photo
    Side Scan Sonar
    Krytron
Links

Background 

Harold Edgerton (Wiki) was an innovator in the areas of strobe light photography and invented the Strobe light, Strobotac  which was the first strobe light to operate at frequencies higher than twice the US line frequency ( 2 * 60 = 120 Hz).  See my separate web page linking to Doc Edgerdon's MIT notebooks.

He also was involved in the development of SONAR (Wiki) as well as an underwater camera-strobe system used by Jacques Cousteau (Wiki).  The company "Edgerton, Germeshausen & Grier" later changed their name to EG&G (Wiki) [probably because no one could spell it]. 

He came up with and made a strobe light fitted into W.W.II bombers with a power of 50,000 Watt Seconds for night photography.  It was used to photograph Stonehenge at night (BldgBlog) in 1944.  The company making the capacitors (and maybe the trigger tube) was taken over by the Manhattan project to supply parts for the firing circuit1 used to fire the 64 exploding bridge wire donators (Wiki).

EG&G made the Krytron tube (Wiki) which is a gas filled cold cathode tube (as is the flash tube used in the Strobotac) and uses the same triggering method, i.e. a high voltage pulse to the control grid.  It can switch 3,000 Amps at 5,000 Volts in under a nanosecond, just the thing for triggering atomic weapons.

Edgerton was involved in the development of the camera flash unit that ended up being the Graflex Stroboflash IV.

In general a tachometer to display a car engine's RPM is far from a trivial thing to do.

Description

631

The 631 design goes back to 1940 (see patent 2331317 below) and uses a Neon (Wiki) gas filled strobe tube.  It appears the 631 Stroboscope (Wiki) was invented solely by K.J. Germeshausen.
YouTube - Using a Vintage Strobotac  -

TS-805 Versions

The TS-805 is the military version of the 631.

Manuals

TM 11-6625-396-12 - TS-805B,  TS-805C, TS-805D, TS-805E User
TM 11-6625-396-24P - TS-805E Parts
TM 11-6625-396-40P - TS-805B Parts
TB 11-6625-396-35/11 Calibration Procedure for Stroboscope TS-805C/U, 3 March 1966
Model
NSN
Flash
Tube
Flash
Color
Range
RPM
TS-805B
6625-00-752-7992
S55B@
White
60 - 15,000
TS-805C 6625-00-752-7992
ID21/SN4
White
60 - 15,000
TS-805D 6625-00-196-2858
631P1
Red
600 - 15,000
TS-805E

Aul
                      Instruments, Strobotac TS-805E
2UP/3.0
White
100 - 25,000

631-B

Fig 1
GR
                        631-B Strobotac
Fig 2
GR
                        631-B Strobotac

Fig 3
GR
                        631-B Strobotac
Fig 4 Property label "Sperry Gyroscope".
GR
                        631-B Strobotac
Fig 5  1/4-20 standard tripod socket.
GR
                        631-B Strobotac
Fig 6 Inside
GR
                        631-B Strobotac
Fig 7 tall cap at left is 2uF @ 600V
max energy = 600 * 600 * 2E-6 / 2 = 0.36 Watt Seconds
which is a very weak flash at best.
GR
                        631-B Strobotac
Fig 8 631-P1 flash tube
Note on back of reflector:
Use # 40 pilot lamp.  Would fit the GR 358 Wavemeter.
GR
                        631-B Strobotac
Fig 9 Manual lists as 631-P1
Tube base: General Electric, GL-1D21/SN4, Made in U.S.A.
GE tube data sheet (Franks's tube data sheets)
Strobotron Type SN4, 1D21/SN4
aka: Sylvania 631-P1
National Valve Museum 'Strobotron' Neon Discharge Tube 631-P1 (CV220) - UX4 base -
1: Grid, 2: Anode, 3: inner Grid, 4: Cathode.
Popular Electronics July 1957: The "Varistrobe" High Speed Stroboscope Freezes Motion by Harvey Pollack (AntiqueRadio example)
GR
                        631-B Strobotac PL-631 Flash Tube

1531

The 1532 Design goes back to 1942, but the 1538-P1 (IET Labs)  xenon flash tube dates from _____.  Xenon tubes were used in 1916 as surge indicators in power plants, but not as light sources then.

YouTube - General Radio StroboTac 1531-AB Demo -
 
NSN: 6680-892-1560

TM 9-6625-2465-15 Operator's Organizational, Direct Support, General Support and Depot Maintenance Manual (Including Repair Parts) for Electronic Stroboscope [General Radio Type 1531-AB Strobotac), December 1969
TB 9-6680-284-35 Calibration Procedure for Stroboscopes, General Radio, Models 1531-A AND 1531-AB, & July 2004
GR Experimenter Sep. 1960 (IET Labs) - New Eyes for Modern Industry 1531-A Strobotac & Type 1532-C Strobolume
The 1531-A has a flash duration about 10 times shorter than the 631-BL and 70 times more light. Xenon gas lamp.

patents: 2966257 & 2977508
Tube: 1531-96011531-A
GR 1531-AB Series Strobotac Electronic Stroboscope User and Service Manual (1531_im.pdf)
Fig 1 Closed
GR 1531-A
                      Strobotac
Fig 2 Note "socket" for line cord.
GR 1531-A
                      Strobotac
Fig 3 Patents:
2478901, 2478907,
2492142, 2966257
GR 1531-A
                      Strobotac
Fig 4
GR 1531-A
                      Strobotac

GR 1532-B Strobolume

It turns out that all three founders of EG&G are inventors of the Strobolume.  Edgerton, Grier & Germeshausen.

GR 1532-B
                      Strobolume

Patent numbers from eBay listing:

2201166 Electric circuit
2341541 Flash-producing apparatus
2342257 Electric system
2399222 Flash-photography apparatus
2478901 Electric system

GR Type 1532-D, -DQ18 Strobolume (1532-D%20Strobolume.pdf) - 2.5 kV on lamp.

EG&G 2020 Machine Vision System Strobe

Think this strobe was designed to feed a flash of light into a fiber optic bundle, like used with microscopes, to illuminate something that would be photographed.  If you have a manual or any documentation about this unit or its application, please let me know.

Description

It's powered from 115 VAC and draws no more than 100 Watts.  But the power in the flash can be much higher than that depending on the duty cycle.  The energy storage capacitor appears to be larger than anything I've seen in the equipment I have although the bank of capacitors in my photographic strobes may in total be larger.

It turns out the cap is 12.0 uF at 600 Volts.  Energy = 2.16 Watt Seconds = 2.16 Joules  This is rather low, so the speed at which it flashes may be high?

In order to remove the chassis from the box a flat blade (-) screwdriver with a blade about 7" long is required, preferable a skinny one.

Connectors

There are two electrical connectors.  The 2 male pin probably for the AC line input and the 6 male pin probably for trigger signals, but why so many pins?

Photos

Fig 1
EG&G
                      2020 Machine Vision System Strobe
Fig 2
EG&G
                      2020 Machine Vision System Strobe
Fig 3
EG&G
                      2020 Machine Vision System Strobe
Fig 4
EG&G
                      2020 Machine Vision System Strobe
Fig 5
EG&G
                      2020 Machine Vision System Strobe
Fig 6
EG&G
                      2020 Machine Vision System Strobe
Fig 7
EG&G
                      2020 Machine Vision System Strobe

Theory

Some types of Thyratron tube (Wiki) when conducting emit a dim flash of light.  I think this effect was seen by Egerton when working on AC motors that lead to his development of tubes optimized for light output rather than for electrical switching parameters.  The early flash tubes were essentially Thyratrons.

Flash Tube (Wiki)

Modern photo flash tubes have the same color temperature as sunlight making for nice color photos outside with mixed lighting.

Energy

The energy stored in the high voltage capacitor is commonly referenced and related to the brightness of the flash.  The flash in a throwaway camera might be 12 Joules.
Note you can interchange Joules with Watt Seconds.
Energy (Joules) = 0.5 * C (Farads) * Volts * Volts (same as Watt Seconds)

Measuring a super capacitor requires techniques different from normal capacitors.

Duration

The duration of the flash is governed by the impedance in the electrical loop containing the high voltage capacitors and the flash tube.  For common camera type flashes it's in the range of 100 micro seconds to 1,000 micro seconds.  But can be much shorter or longer for special designs.

There are three circuit generations related to flash duration and efficiency.

First Generation

All of the Edgerton strobe units are of this type where the circuit consists of the energy storage capacitor connected directly to the flash tube.  When the tube is triggered the flash lasts until the capacitor voltage drops low enough that the tube turns off.  There is very little energy left in the capacitor.

Second Generation

A way to short out the capacitor was added in order to turn off the flash.  This was done to control (reduce) the light output of the flash.  The down side is that it wastes energy, not good if battery powered.

Third Generation

A way to open the circuit between the capacitor and the flash tube provides both the ability to turn off the flash but also the ability to save the energy in the capacitor.
The Nikon SB-900 controls the amount of light using pulses which remote flash units "see" and are controlled by.  See the light output waveform on my Nikon web page.   The pulses appear to be about 10 uS wide, but I expect the technology could make much narrower pulses.

Reed Tachometers

In a YouTube video a reed type tachometer is used as a spectrum analyzer.  This works because each read is independent of the other reeds.  The one shown appears to have 21 reeds and cover a frequency range of 3 to 5 Khz.
The reeds need to be cut for a specific frequency so it takes many models to get a wide frequency range.   The ones on a military generator may have a reed for 50 and 60 Hz (covers 42 to 62 Hz with two groups of 5 reeds) or a center reed for 400 Hz covering 380 to 420 Hz with 21 reeds..  These are called Vibrating Reed Frequency Meters. 
Davis Instruments lists a bunch of Sticht Vibrating Reed Tachometers.
Sticht Co - Catalog.pdf - They have stationary or hand held, single row or two rows of either 31 or 61 reeds per row.

Similar

A Tuning Fork is made up of a pair of vibrating reeds.
The reeds in a Harmonica (Wiki) are very similar.
A Music Box (Wiki) uses a similar set of reeds.

Patents


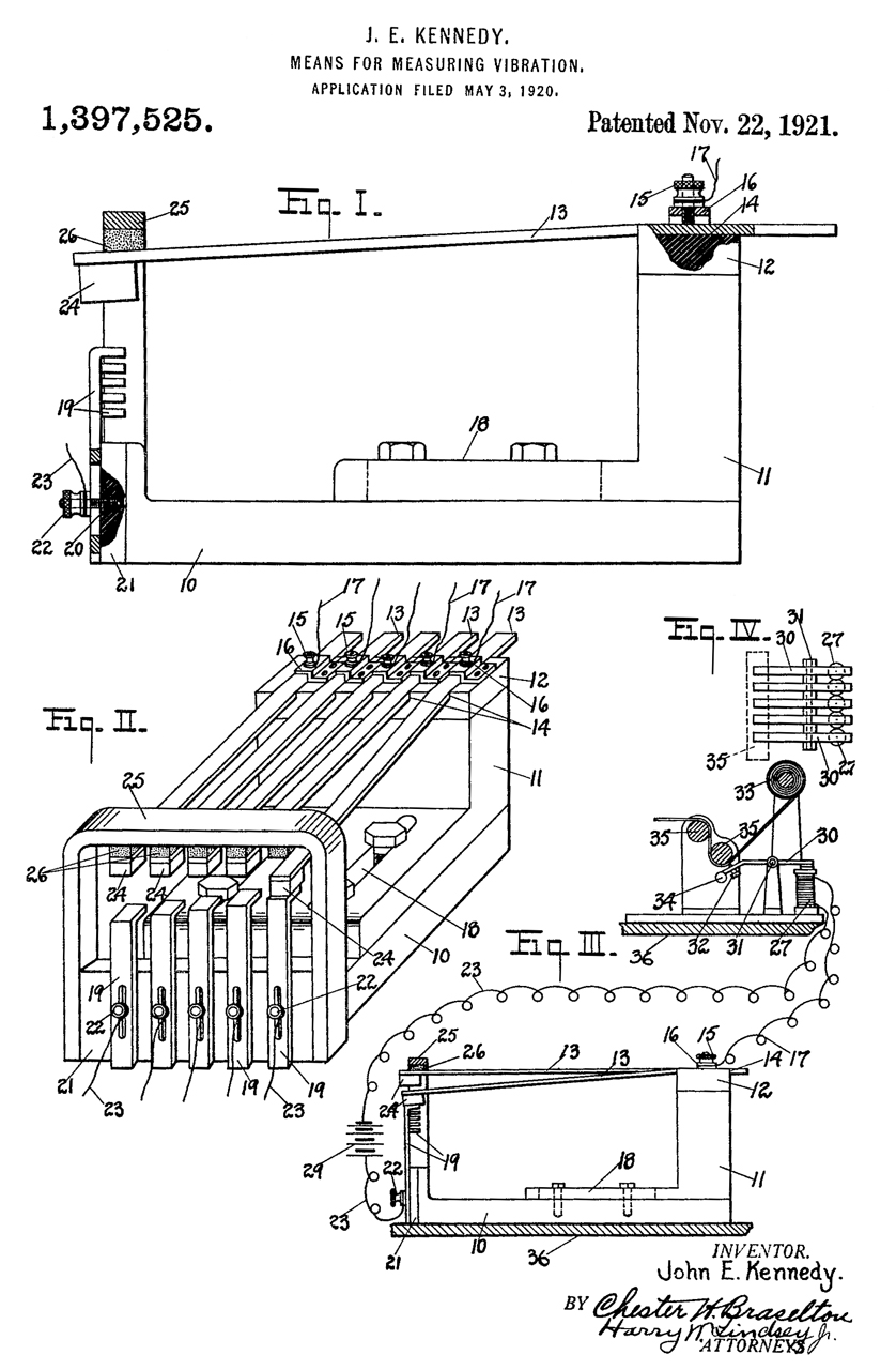
1397525 Means
                      for measuring vibration, John E Kennedy,
                      Willys-Overland Co, 1921-11-22
1397525 Means for measuring vibration, John E Kennedy, Willys-Overland Co (Wiki), 1921-11-22, -

"This invention is intended to provide an effective means for ascertaining, recording and comparing the number and intensity of shocks or vibrations transmitted to a vehicle when passing over a given stretch of roadway at various rates of speed with different tires, springs, shock absorbers, etc., or when subject to various service conditions."

5 reeds shown + a recorder that amounts to a 5 channel pen recorder.

1416550
                      Vibrating reed instrument, Frank Karl Georg,
                      1922-05-16
1416550 Vibrating reed instrument, Frank Karl Georg, 1922-05-16, -

42 reeds shown.  Contains an index line the height of which can be adjusted by knob (12) to measure the amplitude of a given reed.

This is the earliest patent I've found (as of 2 May 2021) that has the look and feel of the on in the YouTube that started this search.


1687507 Vibration meter, Frank C Perkins, GE, 1928-10-16, -
single reed that can  be adjusted to some frequency then the amplitude of vibration can be measured
Screws into a standard household Edison electric lamp socket
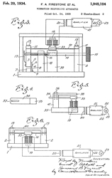
1948104
                      Vibration responsive apparatus, Floyd A Firestone
                      (Wiki), Ernest J Abbott, Harvard B Vincent,
                      1934-02-20
1948104
                      Vibration responsive apparatus, Floyd A Firestone
                      (Wiki), Ernest J Abbott, Harvard B Vincent,
                      1934-02-20 1948104 Vibration responsive apparatus, Floyd A Firestone (Wiki), Ernest J Abbott, Harvard B Vincent, 1934-02-20, -

"...to devise means whereby the natural frequency of the reed armaure may be varied without interfering with the vibration thereof, so that the arnature may be brought into resonance with a particular frequency of vibration by varying the tuning thereof until the amplitude of vibration of Said armature is a maximum."

"Our apparatus is especially useful in the meas urement of noises produced by gears, roller bearings, electric motors or any other mechanism which produces a vibration of a definite frequency,...As the speed of mechanism is liable to vary slightly, or the natural frequency of the reed is liable to change, it is a great advantage of our device that it is capable of adjustment sufficient to overcome the effects of Such changes."


2260210 Visual tip for vibrating indicators, Roland B Bourne, Maxim Silencer Co, 1941-10-21, -
Single reed wound on a drum so it's resonant frequency can be set
2303234
                      Vibratory instrument, Gerhard W Schwarzkopf,
                      Whitson Thomas Barclay, James G. Biddle Co,
                      1942-11-24
2303234
                      Vibratory instrument, Gerhard W Schwarzkopf,
                      Whitson Thomas Barclay, James G. Biddle Co,
                      1942-11-24 2303234 Vibratory instrument, Gerhard W Schwarzkopf, Whitson Thomas Barclay, James G. Biddle Co, 1942-11-24, 73/651; 73/506; 73/509 -

2356229
                      Alternating current generator, Kermit S Dunlap,
                      Clarence A Lovell, AT&T, 1944-08-2
2356229 Alternating current generator, Kermit S Dunlap, Clarence A Lovell, AT&T, 1944-08-22, -
A tapered reed shape stores more energy and so has a higher voltage output when used as a tone generator.

2428671
                      Vibration apparatus, Earle L Kent, Robert C
                      Treseder, CG Conn Ltd, 1947-10-07
2428671 Vibration apparatus, Earle L Kent, Robert C Treseder, CG Conn Ltd, 1947-10-07, -
Single reed that can be tuned to a desired frequency
2496295
                      Vibration spectrometer, Rudolph M Langer,
                      1950-02-07
2496295
                      Vibration spectrometer, Rudolph M Langer,
                      1950-02-07 2496295 Vibration spectrometer, Rudolph M Langer, 1950-02-07, -

The group of reeds can have their frequency changed.


2514153 Tuning device, Delbert J Dickerson, 1950-07-04, - for tuning musical instruments.  Looks like an ice pick where the pick is a reed that can be adjusted in length.

D188345 Vibrating reed instrument or similar
                      article, Frederick E. Lombard, James G. Biddle Co,
                      1960-06-05
D188345 Vibrating reed instrument or similar article, Frederick E. Lombard, James G. Biddle Co, 1960-06-05
4279159
                      Vibrometer, J. Laurence Powell, Richard A. Powell,
                      1981-07-21
4279159
                      Vibrometer, J. Laurence Powell, Richard A. Powell,
                      1981-07-21
4279159 Vibrometer, J. Laurence Powell, Richard A. Powell, 1981-07-21, -

Fig 6 shows reed size to resonate at 45, 50 or 55 MPH for different tire/wheel radius (10", 11", 12", 13")
Was this related to the 1974 US National 55 MPH speed limit (Wiki)?

Related

DigitalPhotography101 Digital Photography 101: The Basics
Digital Photography 201 Stacking Images
Digital Photography 202: Close-Up, Macro & Micro
Digital Photography 203: Color Management
Digital Photography 204: Studio Flash
Digital Photography 205: Astrophotography
Digital Photography 206 Micro Photography

Nikon SB-25 flash
Photoflash - includes Graflex Stroboflash IV
Sonobuoys - CRT-1 Sonobuoy
Tachometers - mechanical & Optical

Patents

Strobe Photography

2181879 Cutting Machine, Eugene Edgerton Harold, Filed: May 9, 1932, Pub: Dec 5, 1939, 83/520, 315/352, 315/241.00R, 315/241.00S, 315/237, 83/345, 356/23, 315/76, 83/312  - uses stroboscope
2185183 is mentioned in some patents and this may be a typo for 2185189.
2185189
Gaseous discharge tube, Joseph Germeshausen Kenneth, Filed: Nov 7, 1935, Pub: Jan 2, 1940, 313/566, 313/356, 313/346.0DC, 327/602, 313/265, 315/241.00R, 313/240 - cold cathode w/Mercury spot as light source + arc starting electrode (631)
2186013 Motion-picture apparatus, Eugene Edgerton Harold, Filed: Mar 10, 1934, Pub: Jan 9, 1940, 352/200, 315/207, 315/241.00S, 315/243, 315/352, 315/240, 315/237, 315/241.00P, 315/188, 315/181, 315/241.00R, 315/76, 315/209.00R, 315/340, 315/208 - instead of a mechanical shutter it uses a flash tube
2201166 Electric circuit, Joseph Germeshausen Kenneth, May 21, 1940, 315/233, 327/602, 315/238, 315/203, 315/237, 315/341, 315/230, 315/188, 315/337, 315/353, 252/181.4, 315/336, 315/241.00S, 313/566, 315/190 - (631) - includes oscillator, Calls: 2185189 & 2201167
2201167 Gaseous-discharge device, Joseph Germeshausen Kenneth, May 21, 1940, 313/566, 313/346.0DC - (631)
2205248 Synchronous-motor-control system, Eugene Edgerton Harold, Filed: Jun 12, 1937, Pub: Jun 18, 1940, 318/706, 327/142, 307/87, 318/532 - tubes 9 & 10 seem related to strobe tubes with mercury cathodes
2269338 Flash-producing system, Eugene Edgerton Harold, Joseph Germeshausen Kenneth, Filed: Sep 27, 1939, Pub: Jan 6, 1942, 315/181, 313/171, 315/354, 315/208, 315/243, 313/594, 315/342, 315/237, 313/166, 315/344, 315/340, 315/241.00P, 315/339, 313/167, 313/156 - "5" is a Mercury cathode.  High frequency flashes of light.
2277697 Electric system and apparatus, Grier Herbert Earle, Mar 31, 1942, 362/10, 362/12, 315/238, 315/DIG.100, 396/155, 362/216, 315/182, 315/245, 315/353, 315/241.00R - (1531-A)
2277698 Flash-photography apparatus, Herbert E Grier, Mar 31, 1942, 362/10, 362/216, 396/180, 362/12  - GR 1531 Strobotac
2331771 Gaseous electrical discharge tube system, Earle Grier Herbert, Joseph Germeshausen Kenneth, Oct 12, 1943, 315/129, 315/177, 315/341, 315/157, 315/238, 315/243, 315/200.00A - trigger transformer with wire near flash tube
2331317 Stroboscope, Joseph Germeshausen Kenneth, Filed: May 9, 1940, Pub: Oct 12, 1943 - (631)
                315/129
, 331/144, 315/241.00S, 315/241.00R, 73/649, 331/177.00R, 315/241.00P, 315/201, 331/44, 315/353, 331/156, 315/350, 315/238, 315/230, 315/232, 331/64, 315/183, 315/341
It looks like the patent office could only find a marked up copy of this patent.
Fig 1 & FIg 2
2331317 Stroboscope, Joseph
                              Germeshausen Kenneth GR 631
Fig 3
2331317 Stroboscope, Joseph
                              Germeshausen Kenneth GR 631


2341541 Flash-producing apparatus, Grier Herbert Earle, 1944-02-15, - proper charging of the capacitor for strobes that are driven from an ociallator, like 2201166 
2342257 Electric system, Edgerton Harold Eugene, 1944-02-22, - line powered strobe for photography with switched capacitors for intermittent or flashing; mercury-arc gaseous-discharge lamp
2351603 
Condenser-discharge electric system, Eugene Edgerton Harold, Filed: Dec 6, 1941, Pub: Jun 20, 1944,  315/230, 315/241.00P, 315/238, 315/353 - first mention of Xenon gas in flash tube. (1531?)
2399222 Flash-photography apparatus Joseph Germeshausen Kenneth, Filed:; Nov 8, 1941, Pub: Apr 30, 1946, 362/10, 315/335, 362/265, 362/216, 396/180 - flash tube inside a glass envelope to protect photographer from HV 
2408764 High-speed flash-photography, Edgerton Harold E, Filed: Jun 14, 1940, Pub: Oct 8, 1946 - studio electronic flash system
Strobotac
2478901 Electric systemEdgerton Harold E, Filed: Aug 16, 1933, Pub: Aug 16, 1949 (16 year delay for WWII), 315/183, 315/353, 315/354, 315/238, 315/252, 315/230, 315/201, 315/241.00S, 315/162 (1531-A)
2478902 Electric system, including a vaporelectric discharge deviceEdgerton Harold EFiled: Aug 16, 1933, Pub: Aug 16, 1949 (16 year delay for WWII), 315/238
2478903 Stroboscope, Edgerton Harold E, Filed: Aug 16, 1933, Pub: Aug 16, 1949 (16 year delay for WWII), 315/238
2478904 Light-flash-producing system, Edgerton Harold E, Filed: Dec 30, 1939, Pub: Aug 16, 1949, 315/162, 315/353, 315/291, 315/238
2478905 Electric system, Edgerton Harold E, Filed: Dec 30, 1939, Pub: Aug 16, 1949, 315/188, 315/208, 315/230, 315/190, 318/794, 315/241.00S
2478906
Electric system, Edgerton Harold E, Filed: Oct 2, 1946, Pub: Aug 16, 1949, 315/237, 315/227.00R
2478907
Flash-producing device, Edgerton Harold E, Filed: Jul 29, 1935, Pub: Aug 16, 1949, 315/188, 315/354, 315/353, 315/208, 315/230, 315/241.00R, 315/241.00P, 315/238 -  (1531-A)
2478908 Electric light-flash-producing system,
Harold E Edgerton, Filed: Feb 11, 1946, Pub: Aug 16, 1949, 340/331, 315/230, 362/35, 340/947, 315/325, 340/953, 315/241.00R, 315/241.00P, 315/353 - multiple strobe lights in a circle to replace rotating search light   

2492142 Electric system embodying coldcathode gaseous discharge device, Germeshausen Kenneth J, Dec 27, 1949, 315/238, 419/19, 313/594, 313/346.0DC, 241/15, 315/241.00R, 241/16, 313/25, 315/241.00P, 252/513 - (1531-A) - about coiled tube  flash lamp
2588368 Light intergrator, Harold E Edgerton, Filed: 1947-05-02, Pub: 1952-03-11, 356/215; 73/1.56; 250/229; 250/214R; 250/225; 324/102- see the GR 1501 strobe light meter
2722629
Electric system, Germeshausen Kenneth J, Filed: Jun 28, 1946, Pub: Nov 1, 1955, 315/163, 315/245, 315/289, 315/241.00S, 315/164, 315/239, 315/241.00P, 315/183, 331/127, 315/243, 315/173, 315/177 - eliminates trigger wire
2756361 Gaseous-discharge device and method of making the same, Germeshausen Kenneth J, Jul 24, 1956, 313/623, 65/60.4, 313/318.1, 445/44, 65/62, 313/266, 65/59.23, 220/2.30R, 403/271, 228/124.6, 313/634 - glass blowing
2756365
Electric-discharge system, Germeshausen Kenneth J, Jul 24, 1956, 315/234, 315/243, 315/238, 315/289 -
2893289 Microscope flash-photography system and apparatus, Edgerton Harold E, Jul 7, 1959, 359/363, 315/241.00P, 362/8, 313/570, 359/389, 396/432, 315/200.00R
2933647 Electric-discharge system, Edgerton Harold E, Germeshausen Kenneth J, Apr 19, 1960, 315/163, 315/169.1, 315/239, 315/241.00S, 315/173, 315/230, 315/241.00P, 315/241.00R -
2939984
Flash device and method, Edgerton Harold E, Edgerton Germeshausen & Grier, 313/634, 315/241.00R, 315/237, 313/594, 315/241.00P - modern photo flash tube with external trigger electrode 
2943222 Electric-discharge device, Colson Edward A, Edgerton Germeshausen & Grier, Jun 28, 1960, 313/594, 315/238, 315/241.00R, 315/241.00P, 315/234 - Xenon gas
Calls:
2031722 Braun Tube
2293529 Image Tube
2478908 Electric light-flash-producing system (above)
2358577 Device for lifting weights? (come-along)
2590821 Potted electrical subassembly?
2691120 Ionizing flash lamp,
2825000 Photographic light unit, GE
2960380 Flash-photography apparatus and method, Edgerton Harold E, Edgerton Germeshausen & Grier, Nov 15, 1960, 396/171, 396/187, 396/281, 352/174, 396/56, 73/167 - Schlieren technique (Wiki)
2966257 Instrument carrying case, Henry C Littlejohn, Gen Radio Co, Dec 27, 1960, 312/244, 73/431, 206/752, 206/305 - (1531-A)
2977508
Gaseous-discharge device and system, Kenneth J Germeshausen, Edgerton Germeshausen & Grier, Mar 28, 1961, 315/241.00S, 315/336, 315/84.61, 315/241.00R, 313/570 -

3075121
Flashtube and system, Goncz John H, Jacob Israelsohn, Seymour Goldberg, Jan 22, 1963, 315/168, 315/325, 315/241.00R, 315/238, 313/112, 315/241.00P, 313/595 - very small pixel size and UV output

3350602 Gaseous-discharge device having a trigger electrode and a light producing spark gap to facilitate breakdown between the trigger electrode and one of the principal electrodes, Kenneth J GermeshausenJohn L Turner, Eg & G Inc, Filed: Feb 11, 1965, Pub: Oct 31, 1967 - solves the "dark start" problem

Side Scan Sonar (Wiki)

EG&G developed their model 259 Side Scan Sonar with help from Edgerton.  Many entries in his notebooks about it.

3098210 Echo ranging with reference to boundary conditions, Sparling Stanley Capel, Haslett Roy William George, Hopkin Peter Roy, Sothcott John Ernest Leon, Kelvin & Hughes Ltd, Filed: May 1, 1956, Pub: Jul 16, 1963
4197591
Facsimile recording of sonic values of the ocean bottom, Julius Hagemann, Filed: Aug 4, 1958, Pub: Apr 8, 1980 (note 22 year delay because of military classification),  367/6, 367/106, 367/113, 367/115, 367/96, 367/88
3975704 Method of and apparatus for sonar and related signal texture enhancement of recording, Martin Klein, Aug 17, 1976 -
4198702 Time varying gain amplifier for side scan sonar applications, Peter J. Clifford, E G and G, Inc., Apr 15, 1980
4232380 Underwater mapping apparatus and method, Roger L. Caron, Peter J. Clifford, Francis R. Germain, Eg & G, Inc., Nov 4, 1980

Krytron tube (Wiki) & Misc EG&G

Edgerton developed 50,000 Watt Second airborne photo-flash systems carried in bombers because they weighed in the thousands of pounds.  These systems consisted of capacitor banks where both high voltage and high currents were involved.  The Plutonium implosion "Fat Man" (Wiki) bomb needed this type of "firing set"  they took over the Boston company making the airborne photo-flash systems for use in the firing set.  After W.W.II ended the government wanted to give MIT a contract for instrumentation of H-bomb testing, but MIT did not want it and EG&G was formed to handle atomic bomb instrumentation.

The "E" in EG&G is for Edgerton.  These patent choices are just guesses.  Let me know of kryton patents.

Bernard J. O'Keefe author of the 1983 book Nuclear Hostages, co-founder and former chairman & CEO of EG&G and has a little info on what they were doing during. 
Bernard has an excellent way of explaining difficult physics concepts.
The ceramic thyratron tubes patented by EG&G probably were aimed at radar applications.

The 1973 data sheet for the KN 2, KN 11B, KN 6, KN 22, KN 12 and KN 14 is on line.  The KN 6B is rated 8kV & 3kA whereas the KN-2(1) is rated 4kV @ 500 A.
Used to ground on end of the HV caps in a strobe or Exploding Bridge Wire (Wiki, patent)

These are patents by Frank Massa

These are related to transducers, not the Krytron.

3949349 Dual electroacoustic transducers, Frank Massa, Donald P. Massa, Filed: Apr 13, 1972, Pub: Apr 6, 1976 - has the cone shape (nb30, pg92)
4107659 Intrusion alarm system with improved air turbulence compensation - applicable to outdoor intrusion alarms.

General Search For Krytron patents

3040660 Electric initiator with exploding bridge wire, Lawrence H Johnston, Filed: Nov 8, 1944, Pub: Jun 26, 1962 (18 year delay because of classification), 102/206, 361/248, 102/202.7
Similar in appearance to a blasting cap (Wiki) it's very different.  A 2 uF condenser charged to 1500 Volts will explode a tungsten wire.  or a Nichrome wire 0.006" dia using 500 Volts from a 50 uF capacitor.
This was invented specifically for the Fat Man bomb.

2518879 Hydrogen thyratron, Kenneth J Germeshausen, App: 1945-02-03, Fat Man, Pub: 1950-08-15, - High Voltage & High Current - probably for photo flash.
2919368 Gaseous reservoir and method, Edward J Goon, Goldberg Seymour, Edgerton Germeshausen And Grier, Dec 29, 1959, 313/547, 313/346.00R - 313/547, 313/346.00R
Calls:
2497911
Hydrogen thyratron
2572881
Thyratron cathode design to prevent cleanup of hydrogen
2766397
Hydrogen-filled electric discharge device
2804563
Electron tube generator
3292049 Spark gap, Lucas Jr Louis, Edgerton Germeshausen & Grier, Dec 13, 1966, 361/117, 315/35, 361/120, 313/325 - surge protector
2937034 Electric-discharge device and cathode, Germeshausen Kenneth J, Goldstein David S, Seymour Goldberg, Edgerton Germeshausen & Grier, Filed: Sep 25, 1957, Pub: May 17, 1960, 313/631, 313/632, 313/336, 313/346.00R, 313/630, 313/351
2937303 Electric discharge device, Germeshausen Kenneth J, Edgerton Germeshausen & Grier, May 17, 1960, 313/568, 313/341, 313/632, 313/620, 313/622 -
3076911 Method of and apparatus for the reduction of thermionic emission in discharge devices, John L Turner, Goldberg Seymour, Edgerton Germeshausen and Grier, 1963-02-05, -
3098166
Gaseous reservoir and method, Goldberg Seymour, Edgerton Germeshausen & Grier, Jul 16, 1963, 313/547, 313/562 -
3207947 Triggered spark gap, Goncz John H, Sep 21, 1965, 315/109, 313/306, 313/602 - hydrogen thyratrons (5C22.pdf) limited to about 1,000 amperes. The minimum trigger signal was a 11.7 kv., 5 microsecond pulse. Similar devices have held off 60 kv. without static breakdown. When triggered at these voltages, the gaps passed currents on the order of 200,000 amperes. Ceramic envelope with high vacuum.
3319146 High efficiency converter circuit, Kearsley Wayne A, Eg & G Inc, Filed: Jun 10, 1966, Pub: May 9, 1967 - for photoflash cap charging, auto turn off when at voltage, independent of bat voltage.  see Joule Thief
    Calls
    2854615  Circuit arrangement for providing a d. c. output, Philips Corp, Sep 30, 1958 - voltage limited output
    2976461 Oscillator ignition system, Globe Union Inc, Mar 21, 1961 -
3324331 Gaseous reservoir and heater for hydrogen thyratrons, Reinhardt Nicholas, Eg & G Inc, Jun 6, 196 -
3458853 Underwater guidance method and apparatus, Daniels Charles KMccarthy John P, Eg & G Inc - Glomar Explorer? (sank April 1968)
3527535 Fingerprint observation and recording apparatus, John N Monroe, Eg & G Inc, Sep 8, 1970, - better optical properties lead to cleaner images.
3675069 Point light source, Crossen Kenneth R, Eg & G Inc, Jul 4, 1972, - fraction of a uS

Low Impedance Switch for Fat Man Atomic Bomb

32 Coaxial outputs.  Two of these used so there are two detonators in each explosive block.

3956658
                              Low impedance switch, Donald F. Hornig,
                              Energy R&D Admin, App: 1945-11-28, TOP
                              SECRET, Pub: 1976-05-11
3956658
                              Low impedance switch, Donald F. Hornig,
                              Energy R&D Admin, App: 1945-11-28, TOP
                              SECRET, Pub: 1976-05-11
3956658 Low impedance switch, Donald F. Hornig, Energy R&D Admin, App: 1945-11-28, TOP SECRET, Pub: 1976-05-11, -
YouTube: Building a Nuclear Bomb Detonator Switch, 20:37 - This unit has two rings of output, each with 16 output ports, i.e. it has 32 outputs which is the number of bridge wire detonators on the Fat Man bomb (Atomic Heritage Foundation: Electronics and Detonators -
William F. Lightfoot and the “Fat Man” Fireset)

Atom Bombs: The Top Secret Inside Story of Little Boy and Fat Man, 2019 -

Patent Fig 3 shows a switch just below the trigger transformer wired between the primary and ground.  I suspect this was an additional safety.
There are a number of patents related to atomic energy held by the Energy Research and Development Administration (Wiki)

See Radiation Detectors - Little Boy and Fat Man for some detonators.


WO 2000017600 A1
Improved chip slapper detonator, Eg & G, Inc. Mar 30, 2000 - (Wiki)

Related

APX-6 IFF Transponder
Blasting Machines
China Lake Patents
Photo Flash Units - Graflex Stroboflash IV -
GR Impedance Bridges
GR Sound measuring equipment
GR Strobotac with patent links - this page
Harold "Doc" Edgerton - looking at the MIT Edgerton Notebooks, Bhangmeter,
LM631A Amprobe (Meterman) LM631A Digital Light Meter
Macbeth Illuminometer -
Nikon SB25 on camera strobe flash
Nikon on camera flash units
Photo Studio Strobe Flash w/  Einstein 640 & Thomas Strobemeter Model 1B -
Radiation Detectors - Little Boy & Fat Man
Weston Model 594 Photronic Cell light sensor, & Weston 614, 615, 650, 703, 756, 819 & others

References

Ref 1 : Nuclear Hostages, Bernard J. O'Keefe, 1983 - an excellent description of the key parts of the Manhattan Project (Wiki) from someone who was there.  He was high up in EG&G from the beginning.
Ref 2.
Atom Bombs: The Top Secret Inside Story of Little Boy and Fat Man, 2019 -

Links

Harold Edgerton in World War II - 43 page pdf. 

PRC68, Alphanumeric Index of Web pages, Contact, Products for Sale
Page Created 26 Oct 2016