
There are some circuits used with very small solar cells to
power motors that make use of a voltage detector IC such as the
Panasonic MN1381, Maxium MAX8212, Microchip TC54, etc.
These CMOS circuits close a switch to ground when the voltage
falls below some minimum voltage (they come in many voltages or
allow setting the trip point with external resistors).
This way an energy storage capacitor can be charged by the very
small solar panel then discharged into the load. An
example is the MSE2.
Note that the solar panel is connected directly across the
storage capacitor.
Miller Solar Engine Solarbotics.com
|
![]() |
| The Panasonic poly crystal solar cell
generates electricity even when it's cloudy. The
motor runs once every six minutes for about six
seconds. When in direct Sun the motor runs for about
six seconds with a pause of a few seconds. Note: the business card size assembly instructions were for a different version MSE and incorrectly showed the two TO-92 components with the flats up. You can see (click photo for a larger version) that the diagram on the board shows the flats down. |
The Brown Fluxgate patents are based on a blocking oscillator that's modified to use less power, prolong battery life.
Note an induction coil generates a back EMF or kick when it's drive current is interrupted. Automobile spark ignition engines use "spark coils" to step up the vehicle low voltage DC to many kilovolts to fire the spark plugs.Note that the energy storage capacitor is in parallel with the
solar cell in the Miller Engine. Solar cells deliver
current that's directly proportional to the light level into a
short, so the current causes the capacitor voltage to ramp
up. When it gets to some preset voltage the trigger
circuit connects the capacitor to the load. This way loads
that take currents much higher than the solar cell can supply
can be used, but on an intermittent basis.
@:4:13 Big Clive comments on schematic.
S9014 silicon NPN TO-92
8550 silicon PNP TO-92
? coil data ?
| Date - Time | Delta | Kundo | K. delta | delta Fast | Rate |
| 9/13/19 14:56 | min | 9/13/19 14:56 | min | min/day | |
| 91 | 93 | 2 | 31.6 | ||
| 9/13/19 16:27 | 9/13/19 16:29 | ||||
| 1293 | 1309 | 16 | 17.8 | ||
| 9/14/19 14:00 | 9/14/19 14:18 | ||||
| 1480 | 1497 | 17 | 16.5 | ||
| 9/15/19 14:40 | 9/15/19 15:15 | ||||
| 1475 | 1493 | 18 | 17.6 | ||
| 9/16/19 15:15 | 9/16/19 16:08 | ||||
| 1383 | 1400 | 17 | 17.7 | ||
| 9/17/19 14:18 | 9/17/19 15:28 | ||||
| 1366 | 1380 | 14 | 14.8 | ||
| 9/18/19 13:04 | 9/18/19 14:28 |
| Date - Time | Delta | Kundo | K. delta | delta Fast | Rate |
| 9/21/19 13:47 | min | 9/21/19 13:47 | min | min/day | |
| 1717 | 1731 | 14 | 11.7 | ||
| 9/22/19 18:24 | 9/22/19 18:38 | ||||
| 1330 | 1344 | 14 | 15.2 | ||
| 9/23/19 16:34 | 9/23/19 17:02 | ||||
| 1264 | 1274 | 10 | 11.4 | ||
| 9/24/19 13:38 | 9/24/19 14:16 | ||||
| 1447 | 1461 | 14 | 13.9 | ||
| 9/25/19 13:45 | 9/25/19 14:37 |
Fig 1 Clock in glass case.![]() |
Fig 2 Front: Glass case removed (note open
clips and holes for case pins).![]() |
Fig 3 Back![]() |
Fig 4 1.5 Volt Battery came separately
wrapped![]() |
Fig 5 Two PNP transistor circuit. It's not clear if the metal case is part of the electrical circuit. Only a red and black wire come from the two coils. ![]() |
Fig 6 Left Reat including temperature
compensated top tube.![]() |
| Fig 7 "Kieninger & Obergfell, Made in
Western Germany". Germany was divided between 1945 and 1990 (Wiki). ![]() |
Fig 8 "Kundo Electric" "Made
in Germany" There is a space between "in" and "Germany" caused by the bottom of the numeral "6". ![]() |
Fig 9 Front close up![]() |
Fig 10 Front close up![]() |
Fig 11 Right Side: Pendulum locked as received from shipping. Note pendulum is lifted from normal position. temperature compensated top tube ![]() |
YouTube: https://youtu.be/9EK1MLA6igk |
| Fig 12 Horolovar long life Clock Battery
1.5 Volt The Horolovar Company: Size 8 or 9 Dual Prarllel AA battery adapter ![]() |
Fig 13 Back side. Note mounting screw
at lower right. This mounting bracket probably fits a number of Kieninger & Obergfell clocks in addition to this one. ![]() |
Fig 14 (from eBay) showing how the battery
holder mounts. Also note the leveling feet. Need to determine thread spec. ![]() |
Patents |
FR375188A (eSpaceNet) Pendule électrique libre sans échappement ni rouages, Charles Fery, 1907-03-01, - | |
| 1970412
Means for opening and closing circuits at regular
intervals, Clifford
V Bates, 1934-08-14, - |
||
![]() |
![]() |
2974265 Electric clock, Thoma Fritz, Kieninger and Obergfell, March 7, 1961, 318/132 368/157 310/32 446/484 968/463 - Kundo ATO Electronic Clock Cites: Publication number Priority
date Publication date Assignee Title
US537769A *1895-04-16
harbison - electric meter that uses a pendulum, with
coils disposed in a similar fashion, but not at all a
clock.
FR986536A *1949-03-11
1951-08-01 Hatot Leon Elselectric and
advanced clock systems Clocks - This is a very similar
mechanism, but seems much more complex and it uses
mechanical contacts.
US2644893A *1952-06-02
1953-07-07 RCA Corp Semiconductor pulse memory
circuits
US2695381A *1952-07-241954-11-23
Foxboro Co Follow-up type of measuring apparatus
FR1090564A *1953-09-171955-03-31Hatot
Leon Ets Improvements to schedules mechanisms
and similar apparatus - most likely a development of
FR986536A.
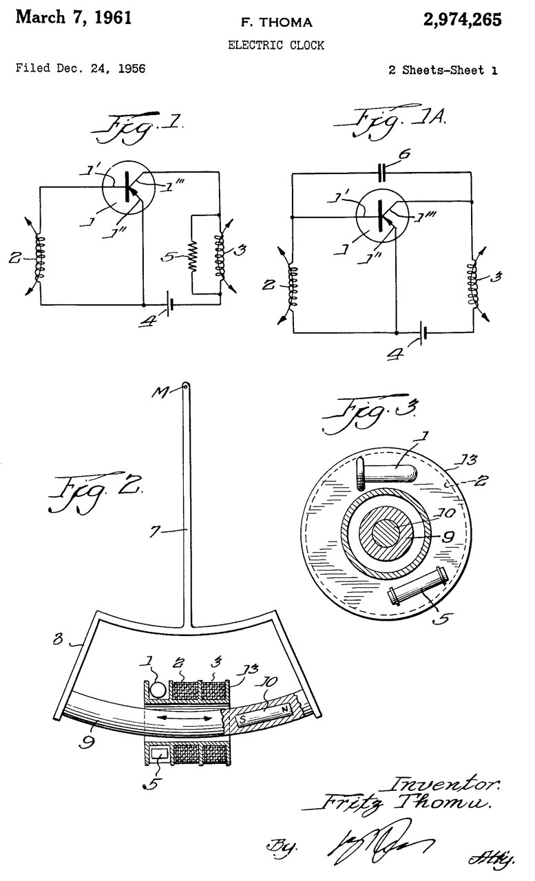
Note these use PNP transistors and run from a 1.5 V battery. The circuit is very similar to the Novelty Electric Motor which is dated 1974. Fig 5 Shows the generator (sense) coil (2) wound close to the armature (9) and the motor coil (3) would on top of the generator coil (2). Note the magnet (10) is near the right end of the armature (9). The right side of the armature on the clock shows as a North magnetic pole while there is no indication on the left side of the armature. A lot of effort went into arranging the components to maximize battery life and to correct for temperature effects on the transistor. Figures 2 & 3 show the transistor and resistor located inside the coil assembly so only the battery would be separately located making for a very clean design. The early patents in class 318/132 are related to electric jackhammers. Then come tuning fork related. |
![]() |
![]() |
3014168 Electronically controlled clock, Thoma Fritz, Kieninger and Obergfell, Priority: 1955-12-28, 318/132; 310/15; 368/157; 968/476; 310/27 Patent Figures 7 & 8 relate to temperature compensating the pendulum using a bi-metal strip (23). See photo Fig 11 above. Notice in patent Fig 6 the stabilizing resistor (6) in parallel with the motor coil (3). |
![]() |
![]() |
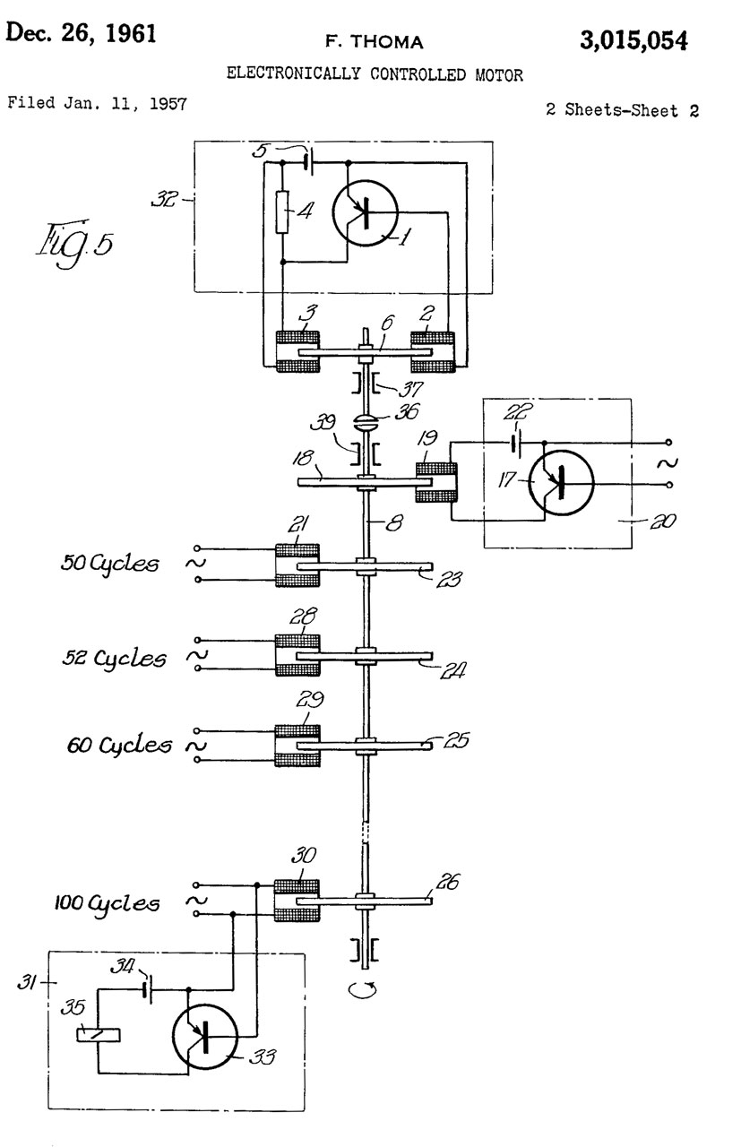
3015054 Electronically controlled motor, Thoma Fritz, Kieninger and Obergfell, Priority: 1956-01-14, 318/47; 318/130; 310/46; 318/132; 368/158; 968/476; 318/400.26 |
| 3005305
Electric watch, Thoma
Fritz, Kieninger and Obergfell, 1961-10-24, - very
similar offset permanent magnet and 2 coils |
||
| 3168690
Clock power-device, Marius
Jean Lavet, Jacques
Jean Gustave Dietsch, Leon
Hatot SA, App: 1954-08-31, Pub: 1965-02-02, - |
||
| 3724200
Electronic clock with low power consumption, S
Donner, Kieninger and Obergfell, 1973-04-03, - for
use with solar cells. |
Cites:
Publication number Priority date Publication date Assignee TitleUS2680160A *1951-09-15 1954-06-01 Bell Telephone Labor Inc Bias circuit for transistor amplifiersFR1090564A *1953-09-17 1955-03-31 Hatot Leon Ets Improvements to schedules mechanisms and similar apparatusFamily To Family CitationsUS2647958A *1949-10-25 1953-08-04 Bell Telephone Labor Inc Voltage and current bias of transistorsBE505739A *1950-09-12NL167001B *1951-01-31 Koninkl Mij Tot Het Uitvoeren A process for dredging and transporting dredge species.
Cited by:
Publication number Priority date Publication date Assignee TitleUS2957116A *1957-06-14 1960-10-18 Hurd Lock & Mfg Company Mechano-electric clocksUS2962643A *1955-04-26 1960-11-29 Omega Brandt & Freres Sa Louis Time-pieceUS2970277A *1957-10-07 1961-01-31 Gen Motors Corp Bridge biasing transistor circuitUS2972114A *1957-12-23 1961-02-14 Motorola Inc Amplifier circuitUS3005958A *1958-06-26 1961-10-24 Statham Instrument Inc Temperature-sensitive bias networkUS3010075A *1958-09-10 1961-11-21 Hamilton Watch Co Electric watchUS3014168A *1955-12-28 1961-12-19 Kieninger & Obergfell Electronically controlled clockUS3015054A *1956-01-14 1961-12-26 Kieninger & Obergfell Electronically controlled motorUS3026458A *1957-07-11 1962-03-20 Siemens Ag Electric clock driveUS3054966A *1959-07-15 1962-09-18 Gen Electric Crystal controlled oscillator with temperature compensating meansUS3061784A *1958-12-22 1962-10-30 Motorola Inc Bias control circuitUS3095529A *1959-06-10 1963-06-25 Suisse Horlogerie Device for electromagnetically maintaining oscillating movementUS3095528A *1958-05-24 1963-06-25 Suisse Horlogerie Electromagnetic device for maintaining the oscillatory movement of a balance wheel comprising a hair springUS3112418A *1958-06-20 1963-11-26 Renault Devices for gradually establishing an electric current, notably for controlling electromagnetic clutchesUS3117265A *1959-07-11 1964-01-07 Movado Montres Electromagnetic system for the maintenance of the movement of a movable memberUS3149318A *1959-09-11 1964-09-15 Specialties Dev Corp Temperature compensated sensitivity control network for disturbance detecting apparatusUS3156857A *1958-12-17 1964-11-10 Herr Fritz Electrodynamic rate regulator arrangement for clocksUS3176171A *1961-03-14 1965-03-30 Suisse De Rech S Horlogeres La Electromagnetic oscillatory driveUS3178644A *1961-06-19 1965-04-13 Automatic Radio Mfg Co Transistor vehicular radio receiver operable over a range of power supply voltagesUS3195065A *1963-06-26 1965-07-13 Statham Instrument Inc Temperature stabilization of transistor amplifiersUS3277394A *1963-03-12 1966-10-04 United States Time Corp Temperature compensated electromechanical resonatorUS3351833A *1962-06-29 1967-11-07 Diehl Compensated transistorized electric clock circuitUS3356919A *1963-12-09 1967-12-05 Reich Robert Walter Transistor circuit for the operation of electronic clocksUS3359473A *1965-02-25 1967-12-19 Negri Emillio Self-starting electronic oscillating device for clockworksDE1801444B1 *1968-10-05 1970-07-23 Kienzle Uhrenfabriken Gmbh Electronic switchUS3524117A *1967-11-021 970-08-11 Reich Robert W Transistorized amplifier for electronic clockwork motorUS3530664A *1966-11-25 1970-09-29 Ebauches Sa Electronic timepieceUS4080552A *1976-09-22 1978-03-21 Facet Enterprises, Inc. Hybrid blocking oscillator for an electromagnetic fuel pumpUS4728871A *1985-11-01 1988-03-01 Andrews Roger W Novelty electric motorFamily To Family CitationsDE1207886B *1957-07-11 1965-12-23 Siemens Ag Electronic clocks driveBE572724A *1957-11-06DE1175160B *1958-01-08 1964-07-30 Smith & Sons Ltd S Time measuring deviceDE1235825B *1962-11-08 1967-03-02 Kienzle Uhrenfabriken Ges Mit electronic car clock
Cites:
Publication number Priority date Publication date Assignee TitleUS2396224A *1943-06-16 1946-03-12 Rca Corp Oscillation generator - Vacuum Tube tuning fork
US2547027A *1948-01-02 1951-04-03 Motorola Inc Vibrating reed controlled oscillator - Tube type
US2692337A *1948-12-29 1954-10-19 Bell Telephone Labor Inc Oscillation generator - various transistor circuits
Cites:
2719944 Commutatorless direct current motor, Harrison D Brailsford, App: 1954-06-10
![]() |
![]() |
Solar Path Light
schematic with QX5252E![]() The QX5252F is in a different package and has an additional terminal for a CdS photo resistor to allow setting the turn off and turn on brightness. |
![]() |
| QX5252 Waveform at Lx (between L and LED)
with LED On (Solar Panel in dark). From Rigol Scope - The Channel 1 yellow icon at left is at 0 Volts with a scale of 1 Volt/square. The negative going spike goes to - 480 mV The positive spike is at +4.12 V. Frequency 101 kHz The flat bottom is at 0 Volts (FET On - charging inductor) A little over 2 uS on time. ![]() |
|
| Opened Rayovac and Energizer 9V battery
showing AAAA cells. Note the energizer has loose AAAA cells, but their polarity is backwards, i.e. point is negative. There's three jumpers in the energizer base each connecting 2 cells. The snaps on the Energizer are not on the center line, but are offset 0.5mm. A cleaver way to lower the cost, i.e. no Nickel tab & no welding. You also can remove individual cells. ![]() |
![]() If you look at the schematic you can see it matches the PCB. |
Walmart IDC IDC577105 (Westinghouse) Path Lights for less than $1![]() |
![]() The solar panel on this unit is 30mm x 30mm, smaller than the 45mm x 45mm panel op the Home Depot light. |
| This light has the QX5252E mounted as a
Chip On Board (Free
Dictionary) on the back of the PCB. The battery is a 2/3 AA size and is rated 150 mAh, the lowest capacity I've seen. I wonder how long and how bright this light is? 100 uH inductor. ![]() |
Comparing the Home Depot and Walmart solar
path lights The Home Depot on the left is a warmer light. ![]() My tripod repair part has not arrived, expect it tomorrow. This is a hand held 2.5 second exposure @ ISO 1000 |
| Battery |
Size |
Capacity mAh |
Chemistry | Weight Oz |
| Solar 250 mAh |
AA |
269 |
Ni-Cad |
0.5 |
| Energizer E91 |
AA |
3100 |
Alkaline |
0.8 |
| Imedion |
AA |
2100 |
Ready to Use Ni-MH |
1.0 |
| Energizer 522 |
AAAA |
600 |
Alkaline |
0.2 |
These have battery date codes of 2009 (it's June 2013) and are
either dead or nearly dead.
To open place a knife blade gently between the black top and
the narrow clear plastic ring and gently pry. If it does
now separate a little move a little and try again. After a
few tries you will be able to remove the top without any new
damage (the Sun has already done a lot of damage).
Remove the old battery and install a fresh high capacity Ni-MH
cell.
The removed batteries were:
Malibu 600 mAh Ni-Cad (65 each)
Solar 1500 mAh Ni-MH - still working
Hampton Bay 800 mAh Ni-Cad - still working
6 of 8 batteries dead - all Malibu 600 mAh
6 of 8 of the electronics units still light the LED when the
solar cell is face down on a table (in the dark) and 1.3 VDC is
applied to the battery terminals.
1 electronics still works even thought the surrounding black
material has crumpled into dust. It may be transplanted
into a mechanically good but electrically dead unit.
Need to check the solar cells as a couple of them look like they
may be dead.
Independent Coils
This showed up at Elektor magazine: One-Transistor Voltage Converter. The circuit topology is very similar the Joule Thief, BUT there is no magnetic coupling between the coils. A 150 pF capacitor is in series with the 470uH inductor in the base circuit in order to get an oscillation.
This is a circuit that uses push-pull transistors to drive a transformer. Good for applications that need 50-50 duty cycle.
Used to drive Flyback transformers (ZVS Driver) Zero Voltage Switching
This design depends on a saturable core material, i.e. with a rectangular B-H curve (Fig 2 on sheet 1).
2748274 Transistor oscillator with current transformer feedback network, Alan R Pearlman, Clevite, Royer?
2783384 Electrical inverter circuits, Richard L Bright, George H Royer, Westinghouse Electric Corp, 1957-02-26 - Magnetic flux swings from positive saturation to negative saturation
eBay search term: "High Voltage Boost Converter ZVS" - not Royer see article on it. just a boost converter
eBay search term: "40W DC-AC inverter 12V to 220V" - this is a Royer with a choke on the input - there are also 150W and 500W versions (eBay item 302490272292, YouTube - note 20 kHz,, NOT 60 Hz
YouTube: Dead car plasma unit (fixed) with schematic, 15:54 - correct start @3:58: better schematic than the Wiki page.
2915710 Magnetic coupled transistor oscillator, Arthur J Schiewe, Chen Kan, Westinghouse Electric Corp,1959-12-01 - a Joule Thief version of the Royer - Magnetic flux swings from starting point to positive saturation and back.
2954531 Transistor oscillator, Richard P Johnson, Avco, 1960-09-27, - improved Royer
Joule Thief- to promote circuits that work on dead single cell batteries.
Motivated by the Mini Maker Faire at the Mendocino County Museum on 25 May 2013 I'm designing a Printed Circuit Board that will allow changing all the components without soldering. It will have a AA battery holder mounted on the board with solder pads to add an external battery instead of using the on board AA. In a like manner it will be possible to solder wires for a external LED.
If you are interested in buying one of these printed circuit boards either as a kit to be soldered or already assembled let me know.
It turns out that the range of wire diameters that socket will accomodate is not large enough to handle the range of common parts so the idea does not work.
This is a Joule Thief made from the schematic above just to try some parts.
This is one way to experiment, but requires more experience than a purpose built board that has component markings.
Parts used for this prototype:
Transformer core: Fair-Rite 2673002402 9.65mm OD, 5mm ID, 73 material
T1 & T2 windings: 10 Turns of 24 AWG magnet wire (about 5" for each winding)
R1: 1 k Ohm
Q1: Fairchild KSD5041, NPN transistor made for use in single use flash cameras for High Voltage generation from one AA battery. This circuit will start at 0.5 Volts so can be powered by "dead" flashlight batteries, i.e. the battery doesn't work in the application but will power this circuit.
D1: Warm White LED from Electronic Goldmine Stock No. G18242. Warm White simulates a filament lamp or kerosene lamp and is a lot more pleasing to the eye than the "white" LEDs that have a lot of blue content.
The beta version has two socket configurations for Q1, one has the lead order E C B and the other E B C to match the two most common lead arrangements on TO-92 outline transistors.
R1, Q1 and the LED have sockets so the components can just be pushed in.
The transformer has screw terminals for all four wires.
Test points for Vb and Vc, wires can be soldered to make it easier for oscilloscope test leads.
Provision for soldering wires for an external battery marked + and -.
An external LED can be used by plugging wires into the LED socket.
Beta Silk Screen layer
28 May 2013 - The PCB, sockets & AA Battery holder have arrived and been assembled.
Waiting for the two dual terminal strips for holding the transformer wires.
29 May 2013 - on it's back working
29 May 2013 - on it's side working
Ideas for Improvements:
* move resistor to front edge of board so as to be easier to install
* move transistor sockets to side edge of board so as to be easier to install
* move LED socket to side edge of board so as to be easier to install
* try 45 degree terminal strips - possibility easier for wire insertion
* provide a jumper that can be opened to measure DC current & have bypass cap - added capability
* provide for a third winding, HV rectifier and HV cap to make HV supply - added capability
* provide for third and forth winding to make flux gate magnetometer (see Flux Gate Patents - Brown)
* troubleshooting ideas for when it does not work???
1. reverse the transformer leads on one of the terminal blocks.
2. try a different know good transformer
What should be included in Experimenter's Kit?
* which NPN transistors
* which toroid cores, material, size (unit show working has 4T #22 wire for both windings. (maybe a known working transformer?)
* How much and what AWG size wire
* resistors size and values
Let me know.
29 May 2013 - on it's end working
A second prototype with wire leads instead of a
battery holder and different transformer screw
terminals. Connected to an HP E3617A power
supply.
| V |
I |
P |
| 2.28 |
1 |
2 |
| 2.94 |
10 |
29 |
| 3.00 |
15 |
45 |
| 3.06 |
20 |
61 |
| 3.11 |
25 |
78 |
| 3.15 |
30 |
95 |
Joule
Thief circuit w/ Current Transformer ![]() Fig 6 Current Transformeer to measure Emitter (Collector) Current |
![]() Fig 7 Emitter Current Waveform |
| 3 Nov 2011 - Note: The output of a current transformer needs to have a resistive load since it's output is a current, not a voltage. By choosing the load resistor you can end up with a "nice" Volts/Amp conversion constant. That's probably why the output looked wrong. |

By trying all the transistors
some worked much better than others.
Modified Gummel-Poon BJT Parameters
|
|
|
Joule Thief Ic |
|
|
|
|
990 ma |
880 ma |
300 ma |
160 ma |
|
|
name |
parameter |
units |
default |
example |
area |
ZTX1048 |
ZTX690B |
2N4401 |
2N2222 |
|
1 |
IS |
transport saturation current |
A |
1.0e-16 |
1.0e-15 |
* |
2.6E-13 |
1.5E-12 |
26.03E-12 |
|
|
2 |
BF |
ideal maximum forward beta |
- |
100 |
100 |
|
|
4.292K |
200 |
|
|
3 |
NF |
forward current emission coefficient |
- |
1.0 |
1 |
|
1 |
|
|
|
|
4 |
VAF |
forward Early voltage |
V |
infinite |
200 |
|
60 |
90.7 |
|
|
|
5 |
IKF |
corner for forward beta high current roll-off |
A |
infinite |
0.01 |
* |
|
.2061 |
.3 |
|
|
6 |
ISE |
B-E leakage saturation current |
A |
0 |
1.0e-13 |
* |
4E-13 |
26.03E-12 |
|
|
|
7 |
NE |
B-E leakage emission coefficient |
- |
1.5 |
2 |
|
1.38 |
1.37 |
1.244 |
|
|
8 |
BR |
ideal maximum reverse beta |
- |
1 |
0.1 |
|
300 |
123 |
1.01 |
3 |
|
9 |
NR |
reverse current emission coefficient |
- |
1 |
1 |
|
1 |
1 |
|
|
|
10 |
VAR |
reverse Early voltage |
V |
infinite |
200 |
|
15 |
14.5 |
|
|
|
11 |
IKR |
corner for reverse beta high current roll-off |
A |
infinite |
0.01 |
* |
6 |
1 |
0 |
|
|
12 |
ISC |
leakage saturation current |
A |
0 |
|
8 |
1.6E-12 |
4E-13 |
0 |
|
|
13 |
NC |
leakage emission coefficient |
- |
2 |
1.5 |
|
1.4 |
1.34 |
2 |
|
|
14 |
RB |
zero bias base resistance |
|
0 |
100 |
* |
0.1 |
0.1 |
10 |
10 |
|
15 |
IRB |
current where base resistance falls halfway to its min value |
A |
infinte |
0.1 |
* |
|
|
|
|
|
16 |
RBM |
minimum base resistance at high currents |
|
RB |
10 |
* |
|
|
|
|
|
17 |
RE |
emitter resistance |
|
0 |
1 |
* |
0.022 |
0.045 |
|
1 |
|
18 |
RC |
collector resistance |
|
0 |
10 |
* |
0.010 |
0.027 |
.5 |
3 |
|
19 |
CJE |
B-E zero-bias depletion capacitance |
F |
0 |
2pF |
* |
559.1E-12 |
250E-12 |
24.07E-12 |
25E-12 |
|
20 |
VJE |
B-E built-in potential |
V |
0.75 |
0.6 |
|
0.533 |
0.68 |
0.75 |
|
|
21 |
MJE |
B-E junction exponential factor |
- |
0.33 |
0.33 |
|
0.299 |
0.36 |
.3641 |
|
|
22 |
TF |
ideal forward transit time |
sec |
0 |
0.1ns |
|
600E-12 |
0.77E-9 |
466.5E-9 |
400E-12 |
|
23 |
XTF |
coefficient for bias dependence of TF |
- |
0 |
|
|
|
0 |
3 |
|
|
24 |
VTF |
voltage describing VBC |
V |
infinite |
|
|
|
0 |
2 |
|
|
25 |
ITF |
high-current parameter |
A |
0 |
|
* |
|
0 |
1 |
|
|
26 |
PTF |
excess phase at freq=1.0/(TF*2PI) Hz |
deg |
0 |
|
|
|
|
|
|
|
27 |
CJC |
B-C zero-bias depletion capacitance |
F |
0 |
2pF |
* |
136E-12 |
59E-12 |
11.01E-12 |
8E-12 |
|
28 |
VJC |
B-C built-in potential |
V |
0.75 |
0.5 |
|
0.420 |
0.49 |
.75 |
|
|
29 |
MJC |
B-C junction exponential factor |
- |
0.33 |
0.5 |
|
0.267 |
0.36 |
.3763 |
|
|
30 |
XCJC |
fraction of B-C depletion
capacitance |
- |
1 |
|
|
|
|
|
|
|
31 |
TR |
ideal reverse transit time |
sec |
0 |
10ns |
|
3E-9 |
18E-9 |
233.7E-9 |
100E-9 |
|
32 |
CJS |
zero-bias collector-substrate capacitance |
F |
0 |
2pF |
* |
|
|
|
|
|
33 |
VJS |
substrate junction built-in potential |
V |
0.75 |
|
|
|
|
|
|
|
34 |
MJS |
substrate junction exponential factor |
- |
0 |
0.5 |
|
|
|
|
|
|
35 |
XTB |
forward and reverse beta |
- |
0 |
|
|
1.4 |
1.5 |
1.5 |
|
|
36 |
EG |
energy gap for temperature |
eV |
1.11 |
|
|
|
1.11 |
|
|
|
37 |
XTI |
temperature exponent for effect on IS |
- |
3 |
|
|
|
3 |
|
|
|
38 |
KF |
flicker-noise coefficient |
- |
0 |
|
|
|
|
|
|
|
39 |
AF |
flicker-noise exponent |
- |
1 |
|
|
|
|
|
|
|
40 |
FC |
coefficient for forward-bias |
- |
0.5 |
|
|
|
.5 |
|
|
|
41 |
TNOM |
Parameter measurement temperature |
|
27 |
50 |
|
|
|
|
Agilent has a 100+ page manual on the Gummel-Poon model. Wiki
Ebers–Moll model Wiki
12 May
2008 - Using the same Fair-Rite material 73 core (p/n 2673002402)
and winding the primary with 22 AWG (13") you can get 16 turns on
in one layer.Fig 10
Joule Thief 16T:4T 17 mat ZTX609B Collector Voltage![]() |
Fig 11
16T:4T Collector Current![]() |


| I ma |
V volts |
P mw |
Vspice volts |
| 1 |
2.3 | 2 |
2.7045 |
| 2 |
2.59 | 5 |
2.765 |
| 5 |
2.65 | 13 |
2.845 |
| 10 |
2.70 | 27 |
2.91 |
| 20 |
2.78 | 56 |
2.977 |
| 40 |
2.88 | 115 |
3.053 |
| 80 |
3.01 | 241 |
3.144 |
| 160 |
3.17 | 507 |
3.265 |
| 320 |
3.38 | 1081 |
3.448 |
Fig
13 5T-2T 28awg 73 mat 690B R1: 758 Ohms, Col volt![]() |
Fig 14
Collector Current![]() |

| 43 material 20T 29.6 kHz |
![]() |
||||||
| 43 material 30T 17 kHz Slow turn on, snappy turn off |
![]() |
||||||
| 43 material 52T 4.7kHz |
![]() |
||||||
| 73 material 57 Turns 3.2 kHz 38" 30 AWG 2.8 mH 0.36 Ohm This material must have a sharper corner on the B-H currve, it really snaps up. But when turning off it's slow. |
![]() |
||||||
| 14
Apr 2008 - stacked two of the 73 material cores and wound
about 50 turns of a wire pair , i.e. to make a 1:1
transformer to see what would be different. |
|||||||
| With 3.6 V the LED is
brightest. But at that high a voltage the PS is capable of driving the LED directly so this plot does not have much meaning. |
![]() |
||||||
| Dual 73 matereial cores 1.0 volt drive Collector waveform. voltage at top of waveform is 2.8 at bottom is 0.0 v timing same as base trace below. |
![]() |
||||||
| Dual 73 matereial cores 1.0 volt drive base waveform. Voltage at top of waveform is 718 mv at bottom peak is -1.6 voltage at right corner of neg pulse is -400 mv negative pulse is 122 us wide positive top is 322 us wide period is 444 us freq is 2.25 kHz |
![]() |
||||||
| Dual 73 core saturation test. Current displayed as voltage across 10 ohm. n.c. at center tap driving T1A-1 & T1B-2 (see Joule Thief sch above) Drive from HP 33120A set for 1 kHz, Square wave 20 volts pk-pk from 50 ohms. Loop resistance a little more than 60 ohms. top & bottom of waveform are +/- 166 ma. Trigger at left edge of scope. after switching from + to - the current has a linear ramp for 152 us then saturation lets the current jump to - 166 ma. The current just prior to saturation is about 1/2 square or 0.25 volts across 10 ohms or 0.025 Amps or 25 ma. about 100 turns so saturation is at about 2.5 Amp Turns. The inductance readings on the HP4332 don't look stable. Moving the meter away from the computer & monitor shows 6 mH center tap to either end, but no reading for the full winding. Resistance: 0.462, 0.463 & 0.925 Ohms |
![]() |
||||||
| Wound
on 4 feet about 47 turns and added to the collector side so
primary is about 50 T and secondary is about 97 T. |
|||||||
| Dual 73 mat 50T:97T Base 1
volt P.S. The left end of the top (intersection of H&V markers) is +650 mv and the right top is +743 mv. Width of the top is 672 us. The left bottom is - 6.3 mv and the right bottom is about +218 mv. Width of negative going pulse is 368 us. total period 1.04 ms, freq 961 Hz |
![]() |
||||||
| Dual 73 mat 50T:97TCollector
1 volt P.S. The top left point is +2.89 V sloping down to +2.53 V The bottom left is 0.0 volts ramping up to + 203 mv. |
![]() |
||||||
Theory of Operation - Joule ThiefIn the above collector waveform the LED voltage is the same as the collector voltage so the LED is on at the left edge.Starting in 1 3/4 squares where the collector voltage is zero the LED is off and the transistor is on hard with the current in the collector inductor linearly ramping up with a limiting value of (1.0 V - Vces)/ 0.977 Ohms (resistance of the 97 turn collector inductance). When Vc gets to about 0.2 volts the core saturates (5 squares in or after 672 us of ramping current. At this point the current in the core is (1.0 - 0.2) / .977 = 0.81 Amp so it's taking 0.81A * 97T = 79 Amp Turns to saturate. The energy in the magnetic field should be 0.5 * L * I ^2. Just prior to saturation the value of L would be about what it was when the current was zero and a number that's hard to measure with the HP 4332A (need the HP 4395A for this). When the core has saturated it can no longer contribute more magnetic field so the rate of increase slows down. This change in rate is what causes a voltage to appear in the other winding and turn off the transistor. The base voltage goes a little below zero volts. The transistor has been turned off so Ic = zero. As the magnetic filed collapses it supplies power to the LED. Just after saturation Vc is + 2.89, but 1.0 V of that is the power supply so the voltage across the coil is 2.89 - 1.0 = 1.89 Volts. The LED has a good heat sink so the values measured below are fairly close to what's happening in the circuit. The LED duty cycle is 368 us / (368 + 672) or 35% and the average current is about 37 ma for an overall average current of about 13 ma. When the LED is driven directly from the power supply at 13 ma DC the brightness is about the same as from the Joule Thief circuit with 1.0 V P.S.
The Amp Turns for saturation are not consistent in the above data. What happens to the magnetic field energy, coil inductance and coil current when the core saturates is not clear. |
|||||||
Novelty Electric Motor
It turns out that there's a strong similarity between the Joule Thief circuit and some "motor circuits".
Patent 3783550 Novelty Electric Motor by Roger Wayne Andrews, Jan 8, 1974 includes what amounts to the Joule Thief circuit, but instead of using a battery it gets the transistor base drive from a magnet moving past a coil. That switches the collector circuit repelling the magnet from the coil.
2020 Oct 22 YouTube: bigclivedotcom:
3783550 Novelty Electric Motor by Roger Wayne Andrews, Jan 8, 1974, 446/484 -
Scoping a perpetual motion ornament - includes the very interesting waveform of the drive coil (between the battery and emitter). Note in the patent drawing the number of turns between the emitter and battery is smaller than between the base and emitter. In the YouTube the drive coil ( Batt-E) is 25 Ohms and the sense coil ( E-B) is 2000 Ohms. With a 6 V battery the drive current would be 6/25 = 240 mA. A simple diode snubber is used ( Batt - E) and that cleans up the waveform. It would be interesting so see the effect of other snubbers. A Zener diode with a voltage a little below the transistor rating would allow more snap. A resistor might also allow more snap. Also see: Using a cap and series resistor to drive an L-R circuit.
This is very similar to how the Zendulum works. The Kundo ATO Clock dates back to 1961 (early days for the transistor (Wiki). I bought one of the CK722 (Wiki) transistors in the late 50s or early 60s.
It's also the main principle of the Bedini (Wiki) and Newman (Wiki) "motors" that really are not motors in the sense that they convert electricity to mechanical motion, the way they are used is converting DC electricity to pulse electricity, very much how the Joule Thief converts DC electricity to pulse electricity.
Top Mystery
When the top is not spinning the current draw is less than a micro amp, but when spinning it more like 1 or 2 milli amps. It also attracted a mosquito.
The operation may be improved by slightly tipping the unit rather than having it on a level table top. The amount of off level of the base is critical for operation.
Fig 1
Fig 2
Fig 3 Just a tapped electromagnet, transistor and battery.
YouTube Video:
https://youtu.be/ELaNvIzOvMA
Note that the Miller Solar Engine circuit can be used to drive motors from very weak DC power from solar panels.
Magnet Motor - Kicker - same circuit shown in patent 3783550 above, but with very large home made coil.
Swinging Sticks Kinetic Sculpture
This appeared on the desk of Pepper Potts in the Movie Iron Man 2 (IMDB, YouTube:
Strawberries Scene).
There are two versions. The original version has metal sticks and will run for a year on 4 AA batteries. It's about 10" from the table top to the fixed triangle point.
While one web page says it uses the circuit from patent 3783550 Novelty Electric Motor (see above) I do not think that's the case. This YouTube (Swinging sticks kinetic sculpture circuit)
The "toy" version uses plastic sticks and runs for less time.
has photos of the top and bottom of the board. It does not contain a microprocessor, just discrete analog components. Rather than the explanation given in his first YouTube ( How Swinging Stick Kinetic Sculptures Work) that the two side coils are used to measure the speed of the main stick, I think the two side coils are used as the trigger for the electromagnet. Note in the Novelty Electric Motor part of the coil is for sensing the magnet and part if for the driving electromagnet. I think here there are two sensing coils and a separate central electromagnet.
The design is based on a double pendulum (Wiki) which exhibits chaotic behavior.
Wayne Schmidt web page for Swinging Sticks -
Fig 1
Fig 2 It's very important that you not bend the pivot axles
when removing the sticks from the foam.
It was supposed to be shipped with the sticks in the bag.
How to take it apart? let me know
Fig 3 Running.
These electric fly swatters make use of the Joule Thief circuit with an extra transformer winding to generate the high voltage. Some use a Cockcroft-Walton high voltage multiplier to increase the voltage (Wiki).
2881554 Fly swatter, Laine Thomas H, Apr 14, 1959, 43/137, 43/112, D22/124 - similar to a model A car ignition, i.e. a buzzer in the primary of a transformer.
4300306 Electrical screen, Richard H. Hudgin, Nov 17, 1981, 43/112, 174/117.00M, 256/10 - senses bug then turns on HV (expensive)
5519963 Electronic insect-killing swatter, Tsao-i Shih, May 28, 1996, 43/137, 43/112 - uses 1,000 VDC or more (HV source not specified)
5886886 Voltage multiplier for a power supply unit of an electronic insect-killer device, Shie-Ning Teng, Mar 23, 1999, 363/59, 361/749 - why granted?
A patent for an early ULB mentions a squegging oscillator circuit which turns out the be the Joule Thief, blocking oscillator circuit. The Wiki page has a couple of patents: Golf Ball and 1424065 Signaling System (super-regeneration (Wiki) by Edwin Armstrong (Wiki)
3782730 Golf ball, S Horchler, EURONICS Ltd, 1974-01-01, - "...an electric squegging (Wiki) oscillator circuit", 10 kHz to 10 MHz operation - for finding lost golf balls. Various circuits to get different duty cycles in the 100:1 to 1000:1 range in order to conserve the battery.
73 Magazine, Jan 2003: Squegging: Now It Helps Us Track the Birds.
A rudimentary L-C Hartley oscillator has harmonics in the VHF frequency range, sounds like a bird chirping.
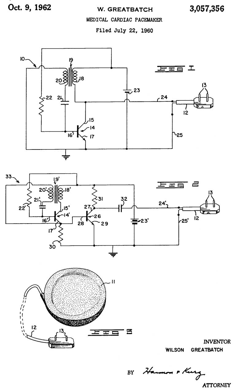
3057356 Medical cardiac pacemaker, Greatbatch Wilson (Wiki), 1962-10-09, 607/9,D24/167,623/3.1,331/112 -
Fig 1. Single transistor version with limited power output; 10 Volt pulse 1mS long at up to 3 mA at aprox. one pulse per second.
Fig 2. Two transistor version with more output power
cited as prior art by RelaxAcizor.
This is the IC commonly used for Solar Path Lights.
These require a 2.7V solar panel (eBay: "DIY solar panel (mono,monocrystalline, monocrystaline)"), typically 3x3cm with a short current current of 17 mA.
But a panel with more capacity, like the eBay: "DIY Toy 5V 30mA", should also work. These are under $6 for 10 pcs, free shipping.
The inductance value sets the LED current (330uH: 3.4 mA, 12uH: 82 mA).
ShiningIC - Solar Outdoor Lighting - Power Bank -
1.2 V single Ni-MH battery
Model
Vin
V
IoMax
mA
IiMax
mA
Idark
uA
Ichip
uA
VbMin
V
kHz
Ext
Comp
Pkg
Features
YX8018C
1.5
0.85
150
360
1.3
23
0.85
260
L
TO94
SOT23-6Adaptive, over-discharge protection
83%
Datasheet2018, datasheet2016, YouTube,
YX8012
1.5
0.9
100
100
8
1.3
Off
0.85
770
L
SOT23-5 Low power consumption, light touch switch, available multilayer inductor
83%YX805F
1.5
0.73
150
150
30
18
0.73
100
L
TO94
SOT23-5Over discharge protection, high current
83%
Datasheet1,
YX805C 1.5
0.850
50
30
18
0.8
600
L
TO94
SOT23-5High cost performance, low current, low inductance
83%YX8051B 1.5
0.8120
120
23
14
none
260
L
TO94
83% YX807 1.5
0.8150
150
30
19
0.8
100
L
TO94
SOT23-5Over-discharge protection, current reduction curve, extended lighting time on rainy days
Dims as battery voltage lowers
83%YX8071 1.5
0.8150
150
30
19
none
100
L
TO94
SOT23-5Falling flow curve, extending lighting time on rainy days
Dims as battery voltage lower
83%YX8055B 1.5
0.82
80
350
4
21
0.82
280
L +2C+R
SOT23-5 LED current up to 80mA, suitable for high Lumen products, synchronous rectification
90%
YX8301 3.3
0.7
400
400
16
150
none
350
L+2C
22uH
1uF
10uF
SOT23-5
Synchronous rectification outputs constant voltage and high current, suitable for high Lumen products
90%1.2 V single Ni-MH battery solar light string YX861B
1.5
0.9
100
350
25
20
0.85
180
L+C+2R
SOP8
Steady light or flashing light, the flashing time can be adjusted separately
1~200 LED parallel stringYX8615H
1.5
0.9
100
300
25
20
0.8
120
L
SOT23-5 Constant light or flashing is optional, flashing frequency is fixed at 1HZ, and external components are saved
1~200 LED parallel string
YX8628H
3.3
0.9
300
400
8
8.5
Off
none
350
L+2C+R
SOP8
Solar application is suitable for two-way stepless LED light string, light touch function switch 8 functions, long press to turn off
YX8628H adopts a dual-channel bridge output structure design, which greatly simplifies the system structure. Only two cables are needed to realize the dual-color LED light string drive application, which reduces one output cable compared with the traditional application structure. The maximum output current capability of up to 300mA can meet the ultra-large-scale LED light string drive application (if VOUT is connected to the load, the sum of the LED output and the load output must be less than the maximum output capacity); it provides 3.3V constant voltage output.
90%
Running water/marquee
3.2/3.7 V single-cell Lighium Iron Phosphate & Lithium battery YX8180 4.2
2.5
500
20
37
4.2
3.7
2.7
2.5
SOT23-5 3.2V/3.7V lithium battery power supply optional YX8183 4.2
2.7
400
600
37
4.2
3.7
2.7
2.5
SOP8
3.2V/3.7V lithium battery power supply optional, with EN enable YX8183H 4.2
2.7
500
20
38
4.2
2.7
SOT23-5 3.7V lithium battery dedicated YX8183L 3.7
2.5
500
20
33
3.7
2.5
SOT23-5 3.2V lithium iron phosphate battery dedicated YX8184 4.2
2.7
600
20
30
4.2
2.7
SOP8
3.7V lithium battery, timed current reduction (dimming), battery reverse connection protection YX8184L 3.7
2.5
600
20
30
3.7
2.45
SOP8
3.2V lithium iron phosphate battery, timed current reduction (dimming), battery reverse connection protection YX8185 5.0
2.5
3000
500
3
Off
4.2
3.6
3.0
2.6
ESOP8
3.2V/3.7V lithium battery power supply optional, three-stage dimming, optional brightness, optional timing YX8186 5.0
2.5
3000
?
3
Off
4.2
3.6
3.0
2.6
3xNMOS
+++
ESOP8
3.2V/3.7V lithium battery power supply optional, three-stage dimming fixed, charging can be external MOS current expansion
Web page about the YX8018 - YX8019 - YX8051 - YX801 - YX8122 (MPPT) - QX5252 - YX805F (YouTube: 6 parallel strawhat LEDs) -
On order: 10ea: 5V, 30 mA, 53x30mm Solar Panels; 20ea: YX805 TO-94 Solar Light boost converter; 10ea: YX8018 Solar Light boost converter; 5ea: 2V, 160 mA, 60x60mm Solar Panels;
Energy Harvester: TI bq25570 (bq25570.pdf)
Big Clive.com: How many LEDs in series can a solar circuit drive?, 6:51 - YX8018 4 cell: 2V solar panel, Ni-MH cell, inductor & <=4 LEDs with the stock inductor. - Solar insect trap teardown - with schematic, 5:57 (YX8018) - Ni-MH button cell battery, 470 uH;
6120165 Outdoor solar lamp, Ram Shalvi, Solar Wide Industrial Ltd, 2000-09-19, - uses boost inductor
6563269 Rechargeable portable light with multiple charging systems, Mark I. Robinett, Don Snyder, 2003-05-13, - 3V battery, boost inductor
10847992 Apparatus for a solar pathway light, Gary Osborne, 2020-11-24, - mentions the YX8018 (811) and has a lot of details of it's operation.
11754239 Apparatus for a solar light, Gary Thomas Osborne, 2023-09-12, -
This YouTube: Como Hacer Detector de Metales Muy Fácil y Super Simple!, 11:55 - shows the schematic @ 2:08, But what's not shown are the dots on the two coils, i.e. which end is wired to what. @7:30 It turns out that by flipping one coil you can get the correct coupling between them. The two coils (50T and 60T) are wound with 0.3mm wire on a form that's a little over 3" diameter, like the one used on the DT-832 metal detector. The LED in the base circuit of the transistor is an aid in setting the pot.
Blocking Oscillator (Wiki)
Also see Flux Gate Magnetometer Patents, Radiosonde Patents,
2211852 Blocking oscillator apparatus, Geiger Max, Telefunken, 1940-08-20, -
2547890 Electrical circuits, Milton D Rubin, Raytheon, 1951-04-03, - tubes, RADAR AFC
2745012 Transistor blocking oscillators, Jean H Felker, Bell Labs, 1956-05-08, -
2780767 Circuit arrangement for converting a low voltage into a high direct voltage, Janssen Peter Johanne Hubertus, 1957-02-05, -
2881380 Voltage converter, Kruger Bodo, US Philips, 1959-04-07, - for operating tube circuits including GM tubes.
YouTube: Easy Driver, 5:46 - The Pendulum Driver assembly contains the electromagnet coil, a pair of transistors and AA battery holder. It's labeled: LT-1-2PK.
It is part of the larger Cnlot Pendulum Drive Unit.
Big Clive.com Classic simple clock pendulum circuit, 6:12 - Joule Thief circuit, pendulum has permanent magnet at tip.
Pendulum Clock Movement---- Pulse Motor, 4:27 - uses the LT-1-2PK.
Pendulum Clock Movement ---- Non-Stop Spinner, 3:29 - works at 0.6 V @ 5uA! to 2.5V @ 500 uA.
Battery - thermopile
DC PM Motors - Lighthouse, Solar Showcase
LED - flash cameras
Flashlight - E10 socket
Fluxgate patents
Geek Stuff
Quartz Clock patents
Pendulums
Rigol Scope
Generator - Solar AA Charger & USB Power Source
Solar Panel
Time & Frequency
Zendulum - pendulum made of ball on curved track
Back to Brooke's PRC68, Products for Sale, Alphabetical List of Web pages, Flashlights & Patents, Electro-Optical Gadgets, Electronics, Home pages
page created 8 May 2008.