Background
History
Cores
Theory
High Q
Tesla
Properties
Testing
Toroids
Saturation
Energy Storage
88 mH Telephohne Loading Coil
Telephone Induction Coil
Table
Electromagnets
Miscellaneous
Patents
Related
Links
Background
Inductors (
Wiki) are
one of the basic electronic passive components along with
capacitors and resistors.
A capacitor stores energy in a electric field and an inductor
stores energy in a magnetic field. The capacity of a
capacitor can be increased by using a dielectric material
between its plates and an inductor can have its inductance
increased by using a magnetic material as its core.
History
When
telegraphy
was getting started resistors were made by winding a specified
length of wire on a bobbin. When Tesla was working in
Colorado Springs it was common to specify the inductance of a
coil in meters, and the same unit was used for capacitors and
frequency. Inductors were commonly used in tube type
electronic equipment and there were a large number of them
available as component parts. But they typically weigh
more, take up more volume and cost more than capacitors or
resistors.
It's very difficult to include an inductor in a semiconductor
type integrated circuit (IC). Prior to ICs to make a low
pass filter you would use series inductors and shunt
capacitors, but now it can be done with an op amp and just
resistors and capacitors. (see the
GR active filter patent
that's a key part of the HP 200A audio oscillator) In
fact all the common filter types can be realized without using
any inductors. With the advent of Switching Mode Power
Supplies (SMPS) inductors are much more popular. These
require the ability to handle the currents involved in a
specific design and be small and low cost. The
efficiency of the SMPS depends in a large measure on how low a
resistance the inductor exhibits and in fact the
specifications for the IC depend on the quality of the
inductor used. so it's common that the evaluation boards for a
SMPS will use an exotic inductor.
Joseph Henry (
Wiki)
was the first person to make a close wound
electromagnet.
He
used
"Bell
Wire"
which
was
uninsulated
wire
that was used to mechanically ring bells, like to call a
servant. He used his wife's spinning wheel to wrap silk
around the wire to form insulation (if you have details on how
this was done,
contact me).
Prior to this all the work done with electromagnetism was done
with bare wire wound with a large air gap between turns, or a
single turn. Insulated wire led to the
Telegraph
and
Stock
Tickers which in turn led to Teletype machines that use
a binary code for the characters. My first
computer
used a Teletype model 33 Automatic Send Receive (ASR) for
keyboard input, printing, paper tape punching and paper tape
input.
By adding an insulation that was very thin Henry was able
to close wind his wire on a soft iron "U" core to make a
lifting magnet that could hold many hundred pounds.
All the prior experiments with electromagnetism were done
with bare wire and so Henry was the first to demonstrate
this effect.
"Soft Iron" (Wiki)
was the first core material. The soft has two
meanings. First, like bailing wire (Wiki)
and floral design wire it is easy to bend and shape.
Second it does not get magnetized so when the electric
current is turned off the electromagnet has almost no
magnetic effect. Soft iron can support over a 2
Tesla field without saturating and so is commonly used for
electromagnet pole pieces.
In the early days soft iron cores were used in relays (Wiki) and
solenoids (Wiki).
Ignition Coils (Wiki),
Faradic (quack medical) devices,Violet Ray (quack medical
devices), early telephone
induction coils used in phones all used a core made
up of a bundle of fine soft iron wires.
Later, in some applications, Electrical Steel (Wiki)
replaced soft iron for applications where energy
efficiency mattered. For example in self
winding (Western Union) clocks the clocks made in
the late 1800s used solid soft iron cores, but the later
clocks used laminated Electrical Steel for the
synchronizing solenoid.
Electrical Steel laminations are used as the core of AC
transformers and motors. Not only does it improve
the efficiency it also allows a construction method where
the laminations are built up in overlapping layers.
Ferrite (Wiki)
and Powered Iron (Wiki)
cores are used to make inductors. These may be in
the form of a toroid (Wiki)
where there's a closed magnetic path and so very low
magnetic leakage or susceptibility. These cores are
also available with an air gap to prevent saturation where
the application needs that.
When the first turn is would on a core the filling factor
comes very close to being 1 (it's a little less because
the wire insulation and maybe there's paint on the
core). But when a second winding is added on top of
the first winding the copper wire of the first winding
takes up some of the area under the second winding
reducing its fill factor. As more and more layers
are added they have less and less inductance per turn.
Theory
Faraday's law of induction (
Wiki)
- The induced electromotive force (EMF) in any closed circuit
is equal to the time rate of change of the magnetic flux
through the circuit.
Ampère's circuital law (
Wiki)
- relates the integrated magnetic field around a closed loop
to the electric current passing through the loop.
Lenz's Law (
Wiki) -
An induced current is always in such a direction as to oppose
the motion or change causing it
High Q
To get a high Q in operation the load capacitance needs to
be much higher than the self capacitance of the coil.
That's so say the coil needs to be operated at a frequency
that's much lower than it's self resonate frequency.
To lower the self capacity of a coil you need to pay
attention to both the turn to turn capacitance AND to the
voltage between those turns. For example:
1. In a single layer cylindrical coil with a lead at
each end and it's tight would you can approximate the
capacitance between each turn by assuming the turns are
insulated rings. BUT, you also need to look at the
voltage between the turns. In this case the voltage
between adjacent turns is Vtotal/N where N is the number of
turns.
2. In a double layer tight wound coil where the input
and output wires are adjacent to each other you can use the
same ring approximation for the capacitance between adjacent
turns. But now there's a huge problem because of the
voltage between turn 1 and turn N. Between these two
turns the voltage is Vtotal. That's N times higher
than in the case above. This is why using bank winding
(see the Loop antenna page) is
used as well as breaking the coil into sections is used to
minimize the voltage between turns.
See my Q Meters web page for
more.
From eBay seller mkmak222_Litz
Wire here is a recommendation of Litz wire
application:
Note the eBay ads say these are Type 2, the designation,
like 660/46 is for a Type 1. Have question to seller
to clarify the Type.
Answer: 3/26/46 (78 strands) and 2/27/46 (54 strands) =
132 strands. Then 5 of those bundles are combined: 5
* 132 = 660 total strands.
Strand AWG
|
Freq kHz
|
No.
of Strands
|
Bundle
AWG:
|
36
|
34
|
32
|
30
|
28
|
26
|
24
|
22
|
20
|
18
|
16
|
14
|
12
|
10
|
8
|
6
|
48
|
1400 - 2800
|
|
|
|
|
|
180
|
300
|
420
|
675
|
1100
|
1725
|
|
|
|
|
|
46
|
850 - 1400
|
10
|
20
|
|
30
40
|
60
66
|
100
|
175 |
250
270
|
330
420
|
660
|
924
1162
|
|
|
|
|
|
44
|
350 - 850
|
|
10
|
|
20
30
|
40
|
60
|
100
125
|
160
|
255
|
405
|
550
650
|
850? |
|
|
|
|
42
|
200 - 350
|
|
|
|
16
|
26
|
40
|
66
|
105
|
165
|
270
|
420
|
660
|
1050
|
|
|
|
40
|
100 - 200
|
|
|
|
|
17
|
27
|
42
|
66
|
105
108
|
170
|
270
|
435
|
700
|
1100
|
|
|
38
|
50 - 100
|
|
|
|
|
|
16
|
25
|
40
|
66
|
100
|
162
200
|
280
|
420
|
660
|
1050
|
1650
|
36
|
20 - 50
|
|
|
|
|
|
|
16
|
27
|
41
|
65
|
105
|
165
|
265
|
|
|
|
35
|
20 - 50
|
|
|
|
|
|
|
|
|
|
|
|
|
|
100 |
|
|
33
|
10 - 20
|
|
|
|
|
|
|
|
13
|
21
|
32
|
53
82
|
100
|
150
|
329? |
|
|
32
|
10 - 20
|
|
|
|
|
|
|
|
|
|
|
50?
|
|
|
|
|
|
30
|
1 - 10
|
|
|
|
|
|
|
|
7
|
11
|
17
|
26
|
42
|
65
|
|
|
|
28
|
0.6 - 1
|
|
|
|
|
|
|
|
5
|
7
|
10
|
18
|
27
|
42
|
|
|
|
Here is the Cooner Wire web page
for Litz wire
showing the various types.
For Type 2 (No.
of groups)/(No. of strands in a group)/AWG
They claim that putting too many strands in a single
bundle (Type 1) does not work as well as Type 2.
Tesla
The best reference book is Tesla's The Colorado
Springs Notebook (ISBN-13:
978-9562914628). In the early part he did not have
high Q operation and showed photos of each complete
setup. Later, after adding a metal pipe vertical
antenna with capacitive top loading so that the secondary
coil was operating with a load capacitance much higher than
it's self capacitance, he only photographed parts of the
setup to keep some secrets. He mistakenly thought he
had power multiplication, rather than just the voltage
multiplication that comes with high Q operation.
Note: the demonstration "Tesla Coils" that are sold for
school demonstrations are not really high Q coils but rather
are just RF transformers. Their output voltage is just
the input voltage stepped up by N^2. In a true Tesla
coil there would be a capacitor in parallel with the
secondary and the output voltage would be Q * N^2.
Note it takes measuring the spark length between a couple of
large metal spheres or a high voltage probe (these are over
$1,500 used on eBay) to measure the voltage, not the gap
between points.
The units used for wavelength, Inductance and Capacitance
were all meters.
Properties
The basic unit of inductance is
the Henry (
Wiki)
named for
Joseph
Henry (Wiki) who in 1828 made the first practical
electromagnet (see my
electronic time line
page).
Any coil of wire will have some resistance and an ideal
inductor would have zero resistance. There are a number
of sources of resistance and the show up as different slopes
is a plot of coil Q vs. frequency. The DC resistance
does not change with frequency. The resistance because
of skin effect (
Wiki)
and proximity effect (
Wiki)
can be mitigated by using Litzendraht wire (
Wiki).
The dielectric loss (
Wiki)
in the wire insulation is also a factor. For example some
insulation materials are lossy at RF frequencies as some coil
coatings may be.
There is also capacitance between the turns of an inductor and
as the frequency is swept the impedance (
Wiki,
my
Impedance page) of the inductor goes
through at least one resonance. At a fixed frequency the
ratio of the inductive reactance (
Wiki)
to the resistance is called the Quality or Q (
Wiki) of
the inductor. When used to form a resonant circuit with
an external capacitor the Q of the circuit is inversely
proportional to the bandwidth of the circuit. Varnishing
or coating a coil to hold the turns in place or moisture proof
the coil also adds capacitance.
Testing
Most inductors have terminals
rather than coax connectors and so require some sort of test
fixture. The test fixture has parasitics that need to be
backed out of any measurements.
There are a number of ways of measuring inductance. One
way of characterizing the different methods is to look at the
measurement error as a function of frequency. This is
covered in
The Impedance Measurement
Handbook by Agilent. The most accurate method
makes use of the 4-terminal pair connection method as used by
such instruments as the
HP
4274 and HP 4275 LCR Meters.
For measuring the Q specialized equipment is more accurate
than using general purpose equipment. The Boonton 160
Q meter was an early instrument that
uses a 4-pin vacuum tube. There was a motorized
accessory for the HP 4285A that allowed it to measure Q.
2137787
Method and Apparatus for Electrical Measurements, H.A. Snow
(Boonton Radio Corp), Nov 22, 1938, 324/654; 324/653; 338/61 -
160 Q-Meter
Class Numbers:
324 Electricity: Measuring and Testing
653 Impedance, Admittance or other
Quantities Representative of Electrical Stimulus/Response
Relationship
Lumped type parameters
For figure of merit or Q value
654 Impedance, Admittance or other
Quantities Representative of Electrical Stimulus/Response
Relationship
Lumped type parameters
Using inductive type measurement
338 Electrical Resistors
61 with Inductance-Reducing
The
HP 4395A can measure the
impedance of a series connected component over the
frequency range of 10 Hz to 500 MHz with a Resolution Band
Width (RBW) as narrow as 1 Hz.
Rather than looking at the inductance and resistance at a
single frequency a better method is to make a swept
measurement and fit a model to the data. This way you
capture not just a 2-element model, but a more complex
model. This is the professional way to
measure
crystals.
Toroids
June 2013 - as part of my work
on the
Joule Thief circuit I'm
looking into ways to identify toroid cores that are unknown
manufacturer and material.
Note the Tnn size designation is based on the OD in inches.
A T100 core would have an OD of approximately 1 inch, a
T 50, half inch, etc.
The first step was to make a spreadsheet listing the sizes
down the left side and the materials along to top with AL
values in the main body.
Note ferrite toroids are commonly named FTnn, but I've dropped
the F and list them with all the other toroids.
A blank cell or "na" in a cell means no part with that
material and size was found on the first try.
There were a number of sizes where there was a suffix letter
like T50, T50A, T50B, T50C & T50D.
If a high letter suffix was found but no lower letters they
were listed anyway.
In the case of T200A and T200B they seem to be the same?
It takes 6 letter size pages to print, so here's a photo of
the AL chart.
It seems that the first step in figuring out what material you
have is to measure the physical OD, ID and Height of the core.
This will eliminate the vast majority of the possible cores.
Now measuring the AL value should narrow down the possible
cores.
Example No. 1:
Marking: 8620 55305-A2
Color: Gray
OD: 0.909
ID: 0.5395
Ht: 0.304
The T90 is: OD 0.900, ID: 0.55, Ht: 0.3 and the T90E is OD:
0.90, ID: 0.55, Ht: 0.3
Don't have dimensions for the T90A, T90B, T90C or T90D so not
sure what size this is.
Example No. 2:
Color: body: light green, one face: Blue
OD: 1.306
ID: 0.632
Ht: 0.451
The ID is slightly smaller than the T130 listed & the Ht
is a little bigger.
Example No. 3
Marking: 482S 77934-A7
Color: shiny black
OD: 1.066
ID: 0.573
Ht: 0.456
This is very close to the T106 and so might be material: 60,
63, 66, 70, M125, 26, 52, 1, 2, 3, 6, 7, 12, 15, 17, 0
An AL measurement would narrow that down. It's also not
a ferrite, but rather powdered iron.
Example No. 4
Color: light green body, one face blue (same as Ex No. 2
above)
OD: 2.012
ID: 1.24
Ht: 1.008
This is a T200A (same as T200B) so the material might be: 26,
52, 2, 60, 66 all powdered iron
Example No. 5
Color: light green/blue one face yellow
OD: 3.047
ID: 1.925
Ht: 1.005
This is a T300D and the material might be: 60, 63, 66 oin
powdered iron
Example No. 6
Marking: -MB4- 55321-04
Color: light brown
OD:
1.424
ID: 0.869
Ht: 0.415
Example No. 7
Marking: 563S 77548-A7
Color: shiny black
OD: 1.3" (broken so a guess)
ID: 0.82 (broken so a guess)
Ht: 0.427
By comparing this one with Ex. No. 3 the marking might be
decoded?
A toroid is shaped like a doughnut. Since it has a
closed magnetic path there is little magnetic leakage if the
turns are a single layer wound close to the core.
Different materials behave differently with frequency and
power.
These toroids were ordered for experimenting with the
Joule Thief LED circuit.
These are
Fair-Rite
RFI suppression cores.
Distributors that carry toroids:
Amidon and
Mouser also see my
Disty web page.
p/n
|
Mat
|
O.D. in.
|
I.D. in.
|
Len in.
|
2673002402
|
73
|
0.380
|
0.197
|
0.190
|
| 2643002402 |
43
|
0.380 |
0.197 |
0.190 |
2643706001
|
43
|
0.140
|
0.033
|
0.097
|
2643000301
|
43
|
0.138
|
0.051
|
0.236
|
|
 |
Toroid Equations
There are different ways a toroid can be wound.
One way it to get as many turns as possible. For these
applications the "Fill Factor" becomes important.
What you're looking at is how many square mills of wire area
can you fit into the hole area. If the wire diameter
was very small the fill factor will be near maximum but as
the wire size increases the fill factor gets smaller because
of the air gaps were there are no turns.
Another way is to wind a single layer coil. Again
smaller wire sizes allows more turns than larger wire sizes,
but smaller wires have more loss. This may be the most
effective way since each turn has the most core
material. If more than one layer is would then the top
coils have some core and some copper filling their ID.
Length of a Turn
For a single turn of a single layer wound toroid:
Lturn = 2*(OD-ID) + 2*Len
Example for the first two rows of the table above, Lturn =
(0.38 - 0.197) + 2 * 0.19 = 0.563
Then 10 turns would take 5.63" of wire plus a couple of 4"
leads is about 10" of wire.
AL
Each toroid has an A
L value that allows the number
of turns needed for a given inductance to be estimated.
N = SQRT(L/A
L)
A
L = L / (N*N)
Examples with 10 turns, A
L = L(10 turns) / 100
First row A
L = 50uH /100 = 0.5 uH
Second row A
L = 170uH / 100 = 1.7 uH
Saturation
For inductors that have magnetic
cores (typically without an air gap) there is a maximum limit
to the amount of magnetic flux that can flow. At some
point the core saturates and no longer has magnetic
properties, i.e. it's as if the core was removed and replaced
by air. At very low flux the permeability appears to be
a constant value, but as the flux approaches the saturation
value the permeability starts to decrease (approaches 1 = free
space or air). See:
Magnetic Locators
In a
magnetometer
(
Flux Gate Patents) when the core is
saturated there's no change in the Earth's magnetic files, but
when it's not saturated the Earth's filed is
concentrated. The difference between these causes an AC
output proportional to the field strength (especially at the
second harmonic of the drive frequency).
The core memory (
Wiki)
used in early computers requires that the core remains
saturated in one of two directions. The X and Y drive wires
carry just over half of the needed amp turns to flip the core
magnetization so only the core that has both X and Y driven
will be flipped (if it was magnetized in the opposite
direction).
Energy Storage
The energy stored in an inductor
is given by E = ½ * L * I
2
But the current (I) is limited by saturation of the core
material. A way around that limitation is to insert a
narrow air gap into the core. When measuring the core
current in the
Joule Thief
another core that was the same as the working core was used as
the current transformer and the drive current was limited by
the source impedance of the
HP 33120
Function Generator. A more flexible method would be to
use a FET and bench power supply so that the source resistance
would be near zero and the voltage could be higher allowing
for higher currents.
The energy is stored in the non magnetic parts of the core
structure, either in an air gap or in the non magnetic binder
that holds the material together.
For a transformer where you want low core losses it's good to
have a lot of magnetic material and not much air.
Electrical steel (
Wiki)
is used in thin sheets to minimize Eddy current (
Wiki)
losses. This was a big improvement from solid iron bar
cores. The use of a bundle of soft iron wires in the
core of induction coils (
Faradic
machines,
quack UV light
machines,
telephone
induction coils) was an improvement on the solid iron
rod cores of the first generation coils.
88 mH Telephone Loading Coil (Wiki)
In about 1887 Oliver Heaviside (Wiki)
knew that if R/G = L/C there will be minimal distortion in a
transmission line. But most phone and telegraph lines
were operated such that R/G >> L/C. In 1893 he
proposed adding discrete inductors at periodic intervals along
the line. He was working for AT&T at the time and
they started a patent application, but Putin beat them to it
with less understanding of what was going on.
Mihajlo Pupin (
Wiki)
patented Pupin Coils in 1899.
Trivia: It's not unknown for the inventor to not
understand how his device really works. An example is
the Griffin Grinding Mill (see my
Gyroscope web page.)
Loading coils come in two different colored wires (red and
green). A single winding has a DC resistance of 4
Ohms.
In the telephone application these were used to "load the
line". There are two key ideas: 1) If the signal could
be transformed to a higher impedance the line resistance would
cause lower loss. This is the method used to deliver AC
mains power by means of transformers. Transformers are
not a viable option in telephone circuits because they do not
pass the DC signaling, but the line impedance can be
raised using series inductors. There is a decrease in
line loss of about 1.4 dB per mile (1.6 dB/mi to 0.2
dB/mi. It's best if a
500 or
2500
telephone is used that compensates for the distance between
the phone and the central office. Older phones
will not work as well. 2) A low pass filter can be
formed where the inductance is that of the line plus the added
loading inductor and the capacitance is that of the
line. For 88 mH coils the typical distance between coils
is 6,000 feet. At the start and end of the line the
distance is 3000 feet. Testing should be done within
that range and is typically done at 1 kHz for audio signals.
Also see my web page on
line impedance
when operating below the critical frequency. Details on
the use of loading coils can be found in BC Burden's 1948
Handbook for Telephone Managers and Engineers.
Note: Loading should only be done between the central
office and a single phone. If a party line phone is
connected somewhere in the middle of the line the loading will
not work properly and the loss may (probably will)
increase. A party line could be implemented by having
home run circuits from the CO to each subscriber and bridging
them in the CO using bridge lifters (Saturateable inductors
that present a high impedance at voice frequencies to the
line(s) that are not in use to prevent them from imposing a
shunt capacitance across the line circuit, which would degrade
transmission on the pair that is in use. The DC current
through the inductor connected into the active line saturates
it, causing its impedance to drop to a negligible value.)
Wiki: Primary line constants: Loaded Line
Some vacuum tube power supplies included a "swinging choke"
whose inductance changed with the current flowing, i.e. very
similar to the telephone saturable inductor.
As received the same
color coils were connected together by adhesive
tape. Some care was used when separating each
coil
|
 |
There are four leads
since this is a dual coil, or transformer. Just as the
schematic symbol has one of the wires for each winding
marked with a dot this has one wire marked with yellow
sleeving.
When testing a winding (one yellow & one non yellow
found by experiment) it measures about 22 mH and a Q of
about 150
But when connected as shown (in series) the inductance
is 87 mH with a Q of about 200. Note doubling the
number of turns should multiply the inductance by 4
since inductance in proportional to (# turns)^2.
|

|
It's my understanding that when used in phone service the
individual coils would be connected in series with the tip and
ring wire pair. Some type of test would need to be done
(you can tell from the mechanical layout of the coil) to be sure
tip went to tip, i.e. that the wires were not reversed.
They are connected so the yellow sleeve points the same way for
the DC current, i.e. one pointing to the CO and one pointing to
the subscriber.
519346
Apparatus for Telegraphic or Telephonic Transmission,
M.I.
Pupin, May 8 1894, 381/98; 307/102; 379/41 -
652231 Art
of Reducing Attenuation of Electrical Waves,
M.I.
Pupin, June 19 1900, 178/45 -
705935
Magnetic core for inductance-coils,
John C
Lee,
Edwin
H Colpitts (
Wiki),
AT&T,
App: 1901-11-30,
178/46; 148/277; 336/210; 336/213; 29/607;
252/62.55; 336/234; 29/605 -Ferrite core
705936
Loaded electric circuit,
John C
Lee,
Edwin
H Colpitts,
AT&T,
App: 1901-11-30,
178/45; 336/213; 336/234; 178/46; 336/229
- improvement over solid iron or laminated iron cores.
980921
Loaded phantom-circuit,
George
A Campbell,
Thomas
Shaw,
AT&T,
1911-01-10,
370/200; 178/45; 178/46 -
1174187
Loading-coil,
Thomas
Shaw,
AT&T,
1916-03-07,
178/46; 370/200; 370/201 - duplex
phantom loading coils
1853548
Coil,
William
L Casper,
Western
Electric Co, 1932-04-12,
336/234; 148/310; 148/311; 148/312; 420/459; 420/581 -
"repeating coil with primary and secondary, the core of the coil
consisting of alternate layers or laminations of silicon steel
and high permeability nickel-iron alloy commonly known as
permalloy,...". works over a wider range of line voltages
than prior coils.
http://www.ptsupply.com/pdf/CharlesLoadCoils.pdf
- has info on various model numbers and sizes.
Also see my
Telephone
Poles &
telephone patents
web pages.
Telephone Induction Coil
These are used as part of a telephone set either as a
transformer or as an inductor.
The construction is similar to the violet ray quack medical
device and I suspect other "induction" coils in that their
magnetic cores are made up of many individual wires or in
the case of two of these No. 46 induction coils thin iron
plates. Using laminations
is another way to make more efficient magnetic paths, but
things like "E" and "I" or "L" and "I" shaped laminations
are not appropriate for this application (these have a part
of the path in air so they will not saturate). This is
an improvement on the solid iron cores used in early telegraph equipment.
Resistance: 1-2: 16.48 Ohms, 3-4: 26.78 Ohms.
Note coil acts as an electromagnet since the core is not
closed. The core is made up of straight soft iron and
works at least through 3 kHz voice frequency.
With a DC Gaussmeter touching the end of the core the
magnetic field in Gauss is about the same as the current
through the 1-2 coil in mA.
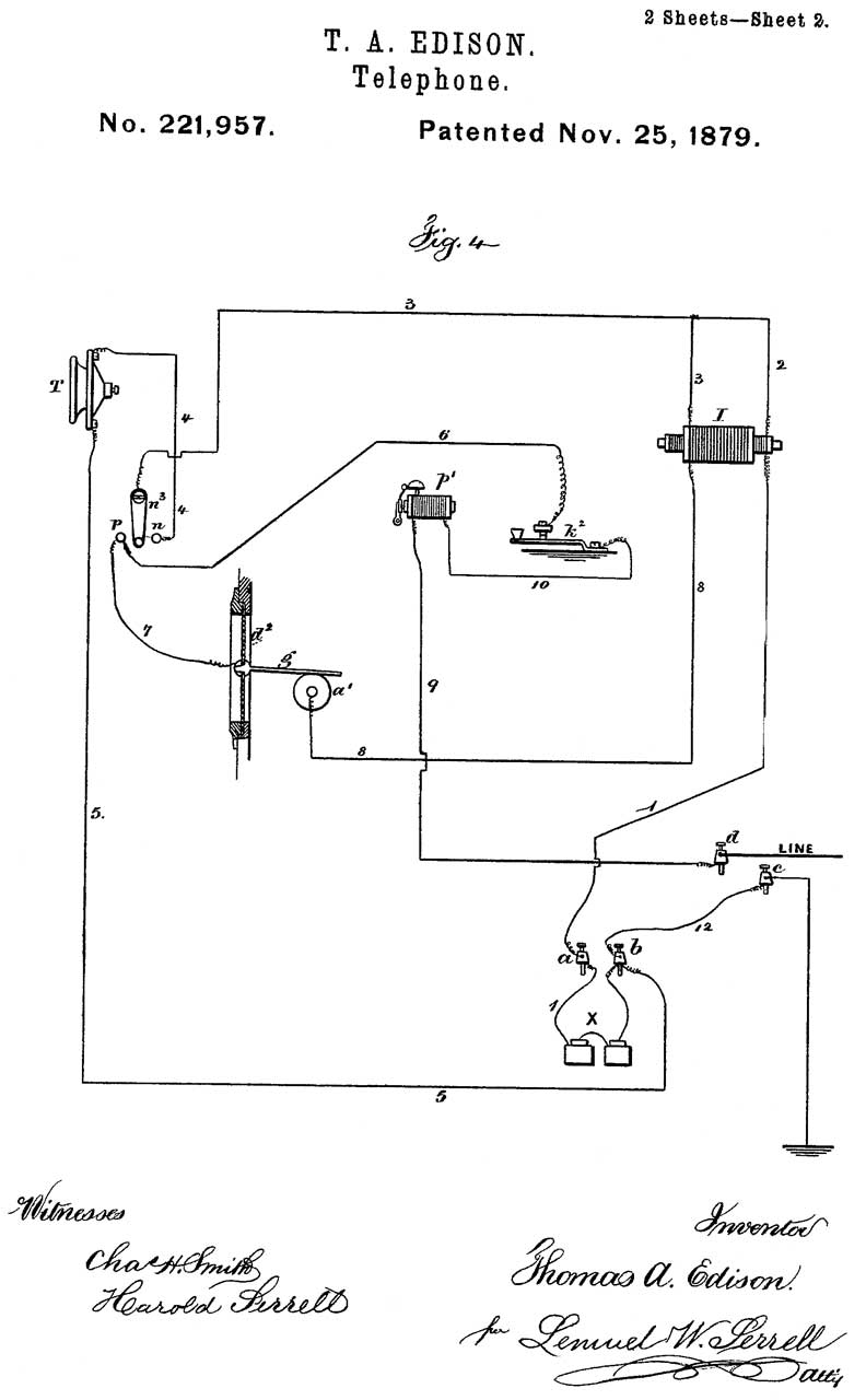
158787
Improvement in telegraph apparatus, T.A. Edison, 1875-01-19,
178/62;
178/118; 200/19.01 - "electric motograph" ?
259809
Means for utilizing secondary batteries on
telephone-circuits, C.E.Buell, 1882-06-20, 379/387.01 -
Table
|
DC
Omhs
|
FBtest1
|
SR 715 LCR
|
HP
427x LCR
|
88 mH (connected)
Telephone Loading Coil (Red)

|
4 + 4
|
G4
|
87 mH
|
200
(10 kHz)
65 (1 kHz)
|
|
|
88 mH (connected)
Telephone Loading Coil (Green)

|
4 + 4
|
G4
|
80.6
|
6.3
(10 kHz)
65 (1 kHz)
|
|
|
Three No. 46 Telephone
Induction coils (transformers)

|
|
|
|
|
|
|
|
|
|
|
|
|
|
|
|
|
|
|
|
|
|
|
|
|
|
|
|
Note 1: the
Fly Back (Ring Tester) LEDs
are codes as 1R, 2R, 3R, 4R, 1G, 2G, 3G, 4G with 1Red being the
poorest result and 4G being the best result.
Electromagnets
103231
Electro Magnet, H.M. Paine, 1870-05-17, 336/84R 336/195
336/73 - looks like a nail with wire wrapped on.
RE4237
Electromagnetic Coil, H.M. Paine, 1871-01-24, 336/84R 336/73
336/195 -
362135
Polarized electro-magnet, J.C. Wilson, 1887-05-03, 335/230 -
392385
Electroplated Coil for Electrical Measuring Instruments,
E. Weston, 1888-11-06, 324/144 335/299
336/82 336/195 310/194 336/73 336/84R - for meter
movements.
452003
Electro-magnet, C.E. Lipe, 1891-05-12, 336/206; 140/71R; 336/192; 336/223;
29/605; 336/190; 242/447.1 - bobbin on iron
core.
731741
Electromagnet, W. Baxter Jr, 1903-06-23, 335/265; 335/185; 335/279; 335/273 -
contactor
737720
Electromagnet, James
Duncan, AT&T,
1903-09-01, 336/192; 242/125.2; 439/889 -
mounting pins of classic spool type
931445
Electromagnet-coil construction, Abbot
A Low, 1909-08-17, 336/195 29/605
174/117R 174/129R 336/207 428/371 428/389 428/592 428/931
174/115 174/119R 336/206 336/223 428/591 428/609 -
1103530
Electromagnet, Charles
C Newburn, 1914-07-14, 335/275;
335/274; 340/396.1 - electric (phone?) bell.
1104077
Electromagnetic circuit-controlling device, William
F Smith, WE,
1914-07-21, 335/273; 335/274; 335/276; 335/281 -
single coil telephone relay stands on end with 2 electrical
coil prongs.
Miscellaneous Patents
486926
Coil for electrical apparatus, Henry C. Buck, 1892-11-29
336/205; 336/206 - each layer coated with "paraffine or other
plastic insulator" - No. 46 coils?
669710
Telephone-circuit, Charles
E Scribner, Western
Electric, 1901-03-12, 379/324 379/391-
"My invention concerns the operation of telephone transmitting
instruments at substations by means of current supplied over
the telephone line conductors from a central point, the
windings of an induction-coil and an accumulator, such as a
condenser or equivalent device, being associated by peculiar
circuits with the transmitting telephone, whereby speech
transmission of unusually high efticiency may be attained."
744018
Method of forming coils for electrical apparatus, Edward
L Aiken, GE,
1903-11-17, 72/371; 72/137; 29/609 -
795279
Winding-machine, Charles
E Hadley, Federal
Manufacturing Co, 1905-07-25, 242/483.4; 74/59;
242/486.9 -
1080830
Electrical coil and method of winding same, Max
Helm, 1913-12-09, 336/206;
206/389; 242/166; 242/178; 336/209; 242/444.4- basket
weave for magnet and resistance coils (not inductors).
1141583
Winding-machine, Claes
Ryden, Universal Winding Co, 1915-06-01, 242/480.8; 242/482.7- for wire coils
1203789
Electrical coil and method of winding same, Claes
Ryden, Universal Winding Co, 1916-11-07, 336/206; 242/166; 242/178; 336/209;
242/444; 242/447.1 -
1699661
Inductance, George
A Freeburg, 1929-01-22, 336/191; 29/605;
336/107; 336/67; 336/208; 336/229; 336/222 -
1806697
Coil winding machine, W.O. Meissner, 1931-05-26, 242/444.5 - multiple parallel coils, fine
lacquered wire, wax paper layers
1812349
Coil winding machine, Hoxsie
W Lillibridge, Atwater
Kent, 1931-06-30, 242/447.2 -
cylindrical form
1940228
Radio-amplifying circuits, Wladimir
J Polydoroff, Johnson
Laboratories, 1933-12-19, 330/169;
330/155; 334/77; 336/206; 336/234; 330/171; 334/61; 336/136;
336/226; 361/298.1 - powdered iron cores
1982689
Magnetic core material, Wladimir
J Polydoroff, Johnson
Laboratories, 1934-12-04, 336/233;
148/306; 29/608; 106/228; 106/287.18; 252/62.54; 264/325;
428/900; 75/348; 106/253; 106/287.23; 148/104; 252/62.53;
264/DIG.58; 428/402- torodial & pot cores
1978599
Variable inductance device, Wladimir
J Polydoroff, Johnson
Laboratories, 1934-10-30, 336/136 -
movable core of insulated magnetic particles
1978600
Permeability-tuned resonant circuit, Wladimir
J Polydoroff, Johnson
Laboratories, 1934-10-30, 334/65; 334/75;
334/77; 334/85; 336/87; 336/136; 336/208; 334/76; 334/80;
336/67; 336/90; 336/205; 336/231 -
2014833
Coil winding machine, Robert
H Burns, RCA,
1935-09-17, 72/133; 72/142 - Vacuum tube
filaments
2059393
Magnetic core for high frequency inductances, Wladimir
J Polydoroff, Johnson
Laboratories, 1936-11-03, 331/176;
336/155; 336/182; 336/233; 331/167; 336/179; 336/212;
336/234 -
2292182
Loop antenna, Lewis
H Van Billiard, GE,
1942-08-04, 343/866; 29/605; 336/205; 336/206;
343/702; 343/842; 174/396 - shielded with deep nulls
2305085
Machine for winding electrical coils, Frederick
N Jacob, Martin
J Kirk, Johnson
Laboratories, 1942-12-15, 242/447.1; 388/824
- cylindrical form, basket weave
5014012
(GB2220756)
D.C. biasing apparatus, Yoichi
Kuboyama, Koichi
Yanagawa, HP,
1991-05-07, - how DC current bias effects inductance - sore
saturation measurement method?
Related
Links
Wires.co.uk
- close to every wire known to man.
Back to Brooke's
Home,
Test Equipment,
Products for Sale,
Military Information
web pages.
Page created 19 Jan 2011.