APX-6 IFF Transponder

© Brooke Clarke 2023 - 2025

APX-6 IFF Transponder

Forward
Background
    Transponder
    Transponder Modes
    IFF
Description
    AN/APX-6
    Microwave Tubes
    AM-78/APX-6  IF Strip
    RF-29/APX-6 Microwave Assembly
    Destructors
    C-544/APX-6 Control Panel
    TPX-6 Antennas
Photos
    APX-6
    System Components
C-1158/APX Control Panel
TS-1314/U Transponder Test Set for AN/APX-44
TS-1843A/APX Transponder Test Set
    Label
    Photos
Documents
Patents
    Stewart-Warner IFF Patents
    Navy IFF Patents
    General
    Hazeltine
    Federal Telephone and Radio Corp
    After APX-6
Related
References
Links

Forward

This web page is here because of the generosity of E.M. who sent me this APX-6.

Background

This unit contains a number of features that have migrated into the present day.  I think it's an important milestone device.

Transponder

A transponder (Wiki) "is a device that, upon receiving a signal, emits a different signal in response." Invented by Luis W. Alvarez (Wiki) in 1943 (see patent 2568265)
Secondary surveillance radar (Wiki)
Transponder: Rx: 1030 MHz, Tx: 1090 - Note that a Local Oscillator at 1060 MHz will result in an IF frequency for both Tx and Tx at 30 MHz (a very common IF frequency where "IF strips" were standard parts.  It was a metal chassis about 2" x 2" x 12" with maybe a half dozen vacuum tubes.  No luck finding a photo on line.  Used to make noise figure measurements and other stuff.

 The FasTrak Vehicle ID Transponder is an example.  This is different from an RFID (Wiki) device in that RFID gets it's power from the interrogation signal, i.e. it has no battery or source of power.  Transponders are used in aircraft navigation systems such as ADS-B (Wiki) wjich is a direct decedent of this system.

Transponder Modes

This relates to the gap between the two challenge pulses and to the number of reply pulses, always separated by 16 us.

Mil
Mode
Civ
Mode
Gap
us
 Standard Reply
No. of Pulses
Emergency Reply
No. of Pulses
1

3
1
4
2

5
2
4
3
A
8
4 digit Octal ID
Squawk code
4
A&C
21
adds altitude

4


3
Crypto
5


data
Crypto

B
17



D
25



S
3.5


From: Ref 3, Wiki: IFF-modes, Aviation transponder interrogation modes, Secondary Surveilance RADAR\Interrogation modes

IFF

Identification Friend or Foe (Wiki: IFF) "It uses a transponder that listens for an interrogation signal and then sends a response that identifies the broadcaster."  This key idea is that the interrogation signal needs to be something the enemy can not easily generate.  If the enemy found a way to trigger a transponder response then that response could be used to target that vehicle.  One way that was done was using code wheels that might be changed on a daily basis to modulate the interrogation signal.

This compatible with Secondary Surveillance RADAR (Wiki).

The British Mk I IFF system was developed in parallel with the first Plan Position Indicator (Wiki, Ref 6 - pg58)

Louis Alan Hazeltine (Wiki) - Hazeltine Corporation (Wiki) - Neutrodyne (Wiki) -  Hazeltine Corp made Radio & Television sets.

SIF

This Selective Identification Feature (Wiki: IFF Mk X) enhances how the transponder responds to the interrogator by adding newer modes than 1, 2 & 3 that include an aircraft 4 digit Octal ID
Squawk code.  This is typically assigned by Air Traffic Control, but there are reserved codes for various special situations.

Description

AN/APX-6

Receive range 960 - 1150 Mc.

Microwave Tubes

2C42 (2C42.pdf)

Transmit tube.
"The 2C42 is a three-electrode tube of the disk-seal type designed for stable operation as a plate-pulsed oscillator at frequencies up to 1300 megacycles."
Typical Plate voltage 3,000V.
Typical peak output power 1,750 Watts @ 1050 Mc.
For 1090 MHz Tx, set dial to 650
The Antenna cavity can be set half way between Tx of 1090 and Rx of 1030, or 1060 MHz, Dial = 525
LO is set 60 MHz away from Rx so either 1090 or 970, i.e. Dial = 850 or 100.

The 2C42 and 2C46 have the same outline.  These are also known as Lighthouse tubes (Wiki).

Pin
Connection
1
Internal
2
Heater
3
Cathode
5
Cathode
7
Heater
8
Cathode

1B40 (1B40.pdf)

NSN: 5960-00-237-2414
AF 33(600)37650  July, 1956

T/R switching (Wiki) tube.
"The 1B40 is an Argon filled gas switching tube of the separate cavity type."
Ignition Voltage: 250 volts max.
Keep-Alive Current with 300 Vdc & 0.47 Meg limiting resistor: 180 uA min, 320 uA max.
Leakage Power with 500 Watts @ 1050 Mc peak input power, 1000 PPS, 1.0 us pulse width: 0.7 micro Watts continuous max.
Insertion Loss @ 1080 Mc.:  1.0 dB max.
Photo showing purple glow when biased (Industrial Alchemy - Spark Gap Tubes, Trigger Tubes & Passives - 1B40)
Fig 1
JAN-CBNQ-1B40 T/R Tube
Fig 2 Radioactive.  Do not remove from
carton except for use or inspection.  Do no handle
 broken tubes.
Radiation Detectors (ORAU, Radioactive Electronic Tubes: the 1B24 uses Ra226 (Wiki)

One each Electron Tube
JAN-CBNQ-1B40
Mfd. by BOMAC Labratories Inc.
Date Pkd>   5   56
JAN-CBNQ-1B40 T/R Tube
Fig 3 JAN-CBNQ-1B40
JAN-CBNQ-1B40 T/R Tube

2C46 (2C46.pdf)

"The 2C46 is a three-electrode tube of the disk-seal type designed for use in a specific cavity for stable local-oscillator service between 1000 and 1200 megacycles."
Typical DC plate voltage: 150 @ 8 to 40 mA.

2E39 Modulator

AM-78/APX-6  IF Strip

RF-29/APX-6 Microwave Assembly

Destructors

These three explosive charges are labeled on the front panel.  They are set off when a voltage is applied to the destruct terminals from an external source.  That source might be the "Destruct" switch on the C-544/APX-6 control panel, or from an aircraft impact or crash switch.  The idea is that the explosion will destroy the setting of the three cavities that make up the RF-29/APX-6 Microwave Assembly which is the only classified part of the aircraft transponder.  That's to say the APX-6 does not use any cryptography in the challenge or response.

The GSQ-160 Vietnam era outdoor intrusion detector contains a small explosive charge (Atlas MMS) that will make the unit inoperable if someone tampers with it.  This prevents the enemy from using it against us.

Most Sonobuoys use squibs (Wiki) to release spring tension but they are typically just a electrical resistor that is way overpowered and so gets hot and breaks, typically allowing a lanyard to be released.

Impact Switch Patents

2236872 Impact switch, Owen E Grigsby, 1941-04-01, -
2236959 Inertia element operated device, Salmond Hubert Mackenzie, Mathisen Anders, Graviner, 1941-04-01, -
2741674 Impact switch, Eugene D Richard, Army, 1956-04-10, - grenade fuze

C-544/APX-6 Control Panel

APX-6 Antennas

AT-234/APX Transponder Flush Mount Antenna
AT-234/APX Transponder Antenna
AT-234/APX Transponder Flush Mount Antenna
AT-234/APX Transponder Antenna
AS-133/APX Transponder Blade Antenna
AS-133/APX Transponder Antenna

Photos

    APX-6

Fig 1 Front Panel
APX-6 IFF Transponder
Fig 2 Inside Side View
APX-6 IFF Transponder
Fig 3 Inside Rear View, center tube missing
V-402 (1B40) Missing (1B40.pdf) & phenolic cap
APX-6 IFF Transponder
Fig 4 Inside Front View
Left to Right:
2C42, 1B40, 2C48
APX-6 IFF Transponder



C-1158/APX Control Panel

This was used with the APX-25 IFF which is basically the APX-6 with the addition of an external KY-95 coder (Vintage Avionics \ AN/APX-25) and the removal of the destruct charges.  This was to add the Selective Identification Feature (Wiki: SIF) for use with PPI (Wiki) displays that show the four octal digit squawk code.  The Destruct switch has been removed in this version. 

Fig 1
C-1158/APX
                      IFF Control Panel
Fig 2
C-1158/APX
                      IFF Control Panel
Fig 3
C-1158/APX
                      IFF Control Panel

TS-1314/U Transponder Test Set for AN/APX-44

This test set is built around the C-2714/APX-44 Control Panel. (Vintage Avionics \ AN/APX-44). 
The major sections are:
1. 28 VDC power to the C-2714.
2. An RF section that takes in 1090 Mc from APX-44 antenna, and 1030 Mc from VHF Sig Gen (TS-419: 0.9 to 2.1 GHz) and combines them with a directional coupler.  The combined signal is split into 3 paths: (P11) RF output to APM-123 Transponder Test Set Probe-11 (TM 11-6625-6678-12, Ref 7); (J21) demodulated RF to power meter TS-731/URM, (J13) RF output.
3. P23 to APX-44.

Fig 1
TS-1314/U Transponder Test Set for AN/APX-44
Fig 2
TS-1314/U Transponder Test Set for AN/APX-44
Fig 3
TS-1314/U Transponder Test Set for AN/APX-44
Fig 4
TS-1314/U Transponder Test Set for AN/APX-44



Transponder Test Set TS-1843A/APX

This came with an R-13 Aircraft VHF AM receiver with a number of Hazeltine patents.  It appears Hazeltine was involved in AM radio and television prior to their IFF work.  This makes sense since TV makes use of VHF/UHF and pulse signals for horizontal and vertical synchronization.

Label

TS-1843A/APX                 Serial No.  2032
FAA TSO-C74a
Env Cat. ABBAAAE     Class 1
Weight 3.0 lbs
Stewart-Warner Electronics    Chicago, Ill.

Photos

Fig 1
Transponder Test Set TS-1843A/APX
Fig 2
VSWR
RF Out
RF In
DB
-dBm
dBw
Transponder Test Set TS-1843A/APX
Fig 3
Transponder Test Set TS-1843A/APX
Fig 4
Transponder Test Set TS-1843A/APX
Fig 5
Transponder Test Set TS-1843A/APX
Fig 6 newest date code: 1969
Transponder Test Set TS-1843A/APX

Documents

Manuals


Patents

Stewart Warner Patents that might lead to IFF related patents

2375418 Fixed loop antenna mounting, Fred E Johnston, Stewart Warner, App: 1943-04-29, W.W.II, Pub: 1945-05-08, -
2407916 Shielded coil, Howard O Berg, Stewart Warner, App: 1943-04-10, W.W.II, Pub: 1946-09-17, - Double tuned IF can.
2423797 High-frequency circuit, Reber Grote, Stewart Warner, App: 1944-01-01, W.W. II, Pub: 1947-07-08, - VHF/UHF,
2499613 Electronic pulse time interval discriminator with maximum interval gate, Norman F Thompson, Stewart Warner, 1950-03-07, - IFF, gas tubes, delay lines,
2502343 Pulse generator, Reber Grote, Stewart Warner, App:1945-07-26, W.W.II, Pub: 1950-03-28, - radio altimeter,
2519603 Navigational instrument, Reber Grote, App: 1945-03-17, W.W.II, Pub: 1950-08-22, - radio astronomy, (Wiki: Grote Reber) - by "sighting" the Sun (even through clouds) you get a navigation application.
2542950 Permeability tuned radio receiver, Alfred W Simon, Jr George L Johnson, Stewart Warner,1951-02-20, - Superheterodyne receiver
2556713 Electronic control circuit, Norman F Thompson, Stewart Warner, App: 1946-05-16, W.W.II, Pub: 1951-06-12, - gas tubes, delay lines, IFF
2587146 Antenna, Irving A Gross (Wiki: Al Gross), Stewart Warner,1952-02-26, - dipole, fold-up, probably 60 - 470 MHz
2760056 Radio tuning apparatus, Irving A Gross, Stewart Warner, 1956-08-21, -
2760057 Signal duplexing system, John D Johannesen, Navy, 1956-08-21, - T/R switching
2760058 Radio frequency oscillator mounting, Irving A Gross, Stewart Warner, 1956-08-21, - 460 - 470 two way radio front end.
2607890 Variably sensitive frequency discriminator, Petroff Merlin, Stewart Warner,1952-08-19, - electrical dial gauge
2698380 High-frequency transmitter and receiver, Irving A Gross, Stewart Warner,1954-12-28, - 460 - 470 two way radio
2770723 Ultrahigh frequency tuner, Harry C Rowe, Stewart Warner, 1956-11-13, - lighthouse tube, variable donut cavity
2794909 Cathode follower radio frequency amplifier for radio receiver, Howard O Berg, Stewart Warner, 1957-06-04, - for use following a ferrite loop antenna.
2945189 Ultra high frequency tuner, Harry C Rowe, Stewart Warner,1960-07-12, - superheterodyne tuner


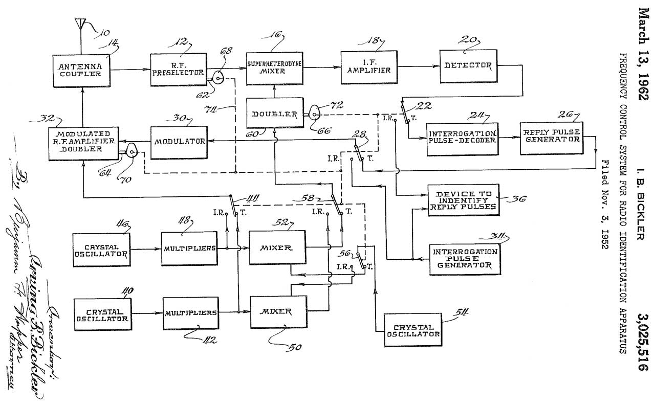
3025516
                      Frequency control system for radio identification
                      apparatus, Irving B Bickler, Stewart Warner, App:
                      1952-11-03, SECRET, Pub: 1962-03-13, - IFF
3025516 Frequency control system for radio identification apparatus, Irving B Bickler, Stewart Warner, App: 1952-11-03, SECRET, Pub: 1962-03-13, 342/45,455/75 - IFF

Navy IFF Patents

3870995 Electronic countermeasures system, Robert L Nielson, Navy, 1975-03-11, - separates jamming Tx from interfering with itself.

3905035 Electronic countermeasure system, Howard D Krumboltz, Clayton W Merrill, Navy, App: 1966-03-31, Vietnam era IFF, Pub: 1975-09-09, -

Cites 3025516 above
Calls:

4322729 Interrogator-responsor system for secondary radar devices, Peter Honold, Gerhard Wagner, Siemens AG, 1982-03-30, -

4876545 Adaptive blanking interface apparatus for self-protection jamming equipment employed in conjunction with radar systems, Christopher M. Carlson, Nicholas Deninno, ITT, 1989-10-24, -

4990919 Missile decoy system, David V. Manoogian, 1991-02-05 - protects SAM site from ARMs

5144315 System for accurately monitoring aircraft position during training exercises, Carl E. Schwab, Fred N. S. Goodrich, Cardion, 1992-09-01 - IFF pulses used to locate aircraft on test range.

5223837 Anti-exploitation method and apparatus for controlling aircraft IFF, Sidney J. Grossman, Army, 1993-06-29, - a signal analysis receive looks at the "signature" of the incoming IFF interrogation signal and if valid connects the IFF antenna to the IFF equipment, otherwise a termination is connected to the IFF antenna.  This implies that the IFF interrogation signal is not crypto covered and is probably the same as used in commercial aircraft transponders.

5424746  Method and system for monitoring vehicles, Carl E. Schwab, Fred N. S. Goodrich, Cardion,1995-06-13, - IFF pulses used to locate aircraft on test range including getting the aircraft altitude from its transponder.

5822430 System for encoding encryption/decryption information into IFF challenges, Robert Doud, Technical Communications Corp, 1998-10-13, - upgrade to the crypto aspects of the interrogation signal.

6545632 Radar systems and methods, Geoffrey Lyons, Michael Pywell, BAE Systems (Hazeltine), 2003-04-08, - adapting ESM Rx & ESM Tx to work as IFF transponder.

20060262006 Transponder, including transponder system, Geir Vavik, 2006-11-23, - commercial general purpose transponder, not military

20080143558 On-Demand Audio Information System and Method For Air Combat, Tsafrir Ben-Ari, Rafael Advanced Defense Systems, 2008-06-19, -

20110001062 Dynamic optical countermeasures for ground level threats to an aircraft, Carl R. Herman, Stephen C. MORAITES, Lockheed Martin, 2014-01-28, - "A laser beam, having Sufficient intensity to interfere with targeting of a weapon system, is projected from the aircraft over a defined scan pattern at ground level."  Where the beam scans is determined by the Black Hawk helicopter attitude.

9103628 System, method, and computer program product for hostile fire strike indication, Stephen C. MORAITES, Shawn McPhail, Donald Sobiski, Lockheed Martin, 2015-08-11, - projects gunfire hit probabilities on various places on a helicopter so that maintenance crews know where to look for bullet holes. An IR camera detects the projectile and predicts its path.

9146251 System, method, and computer program product for indicating hostile fire, Stephen C. MORAITES, Shawn McPhail, Donald Sobiski, Lockheed Martin, 2015-09-29, -

9196041 System, method, and computer program product for indicating hostile fire

EP2914977A4 Electronic countermeasures transponder system,

9632168 Visual disruption system, method, and computer program product, Stephen C. MORAITES, Carl R. Herman,  Lockheed Martin, 2017-04-25

9714815 Visual disruption network and system, method, and computer program product thereof, Stephen C. MORAITES, Carl R. Herman,  Lockheed Martin, 2017-07-25, -

R-13B

All the patent numbers on the R-13B (28V) 108 - 135 Mc ARC Receiver are assigned to Hazeltine.

The RCA Transponder Test Set TS-1843A/APX does not have patent numbers.

1755114 Unicontrol signaling system, Louis A Hazeltine, 1930-04-15, - TRF broadcast band receiver
1755115 Variable condenser, Hazeltine Louis Alan, Hazeltine Corp, 1930-04-15, - TRF broadcast band receiver
1951685 Peak detector, Harold A Wheeler, Hazeltine Corp, 1934-03-20, - peak detection of AM modulation
1958027 Emission valve modulation system, Harold A Wheeler, Hazeltine Corp, 1934-05-08, - mixer for AM radio
2015327 Electron discharge device, Harold A Wheeler, Hazeltine Corp, 1935-09-24, - five or more electrodes in AM radio mixer tube
2041273 Amplifier (AUtomatic) volume control, Harold A Wheeler, Hazeltine Corp, 1936-05-19, - Wiki: AVC
2041291 Detector circuit, Johnson John Kelly, Hazeltine Corp, 1936-05-19, - improved AVC
2152470 Wave signaling system, John F Farrington, Hazeltine Corp, 1939-03-28, - noise reduction

General

2480872 Beam tube receiver input, James R Moore, Sec of War, App: 1942-11-28, TOP SECRET, Pub: 1949-09-06, - T/R switching
2498561 Adjustable band-pass selector, Harry J LipkinSec of War, App: 1945-09-06, TOP SECRET, Pub: 1950-02-21, - wide IF BW for accurate pulse timing, narrow IF BW for sensitivity
2554515 Radio ranging system, Leo C Young, Robert M Page, (not assigned), App: 1938-08-06, TOP SECRET, Pub: 1951-05-29, - Pulse RADAR
2568265 Radio beacon and system utilizing it, Luis W Alvarez, Navy, App: 1943-03-18,
TOP SECRET, Pub: 1951-09-18, - This is the beginning of aircraft transponders (Wiki)
2597352 Decoding device, Jr Edward F Macnichol, Sec of War, App: 1944-10-10,
TOP SECRET, Pub: 1952-05-20, - depends on the time between a start pulse and a data pulse. 12.5 uS mentioned a number of times.
2606282 Pulse transponder, 
Harry J Lipkin, Sec of War, App: 1945-07-09,
TOP SECRET, Pub: 1952-08-05, -  "...generally known as beacons. When used for navigation and as . transponders when used for identification pur poses."
2567851 Pulse-blocking circuit, Harry J Lipkin, Sec of War, App: 1945-08-01,
TOP SECRET, Pub: 1951-09-11, - tube multivibrtor (flip-flop),
2679043 Beacon receiver, Harry J Lipkin, Grambsch Russel, Sec of War, App: 1946-05-21,
TOP SECRET, Pub: 1954-05-18, - concerned with AGC & responding only to the main RADAR lobe.
2679580 Wide band receiver-transmitter, Ware Harold, Sec of War, App: 1945-01-24, Pub: 1954-05-25, - acorn tube, Interrogator Responder Transmitter/ Interrogator Responder Receiver.
2890449 Radio navigation system, Sidney B Pickles, Sven H M Dodington, Stavis Gus, ITT, 1959-06-09, - DME (Wiki)
1025 to 1150 MHz in the same frequency range as IFF and also using pulsed signals.
3296615 Identification and recognition system, Robert M Page (Wiki), La Verne R Philpott, Navy, App: 1942-01-19,
TOP SECRET, Pub: 1967-01-03, - IFF
Cites:
1801466 Electrical method of and means for observing objects in motion, Townsend Clinton Blake, 1931-04-21, - may be the first case of radio telemetry - aircraft sends propeller turns, receiver integrates these to display distance traveled.
1815045 Radio signaling system, Clarence A Boddie, Richard C Curtis, Westinghouse, 1931-07-21, - aircraft uses radio remote control to turn On/Off airport landing lights
1945952 Radio range finder, Nicolson Alexander Mclean, Communications Patents, 1934-02-06, - Hyperbolic requiring multiple stations, LORAN-A?
1993497 Method and means for reporting interference with vehicles, Joseph A Wells, 1935-03-05, - Truck driver can, by pressing a pedal, transmit the truck ID number to indicate a robbery.
2134716 Measuring speed and distance by radiant energy, Gunn Ross, 1938-11-01, - a Doppler system where frequency conversion is used for speed, and pulse time to travel for distance.
2157122 Warning system for indicating the proximity of aircraft, Francis W Dunmore, US Sec of Commerce, 1939-05-09, - altitude coded Collusion warning system
2165690 Navigation instrument, Warrington C Wademan, 1939-07-11, - Time of Flight?
2168602 Radio-controlled signaling means, Joseph A Hassan, 1939-08-08, - light on roof of police car can be turned on by radio.
2207267 Radio apparatus for detecting aircraft, Plaistowe Donald Leopold, RCA, 1940-07-09, - Tx: TV type raster scan, multiple receivers
2225524 Directional wireless system employing pulses, Percival William Spencer, EMI, 1940-12-17, - "The System described in these specifications is of the type having an auxiliary receiver designed to discriminate in favour of interference and which serves to switch of the main receiver for short periods corresponding to each pulse of interference which exceeds a certain amplitude."
2252083 Radio traffic control, David G C Luck, RCA, 1941-08-12, - "As one of the objects of the invention, means are provided to visually indicate to a dispatcher the bearing of one or more aircraft approaching an airport. Another object is to provide means for identifying an aircraft, and its bearing and altitude with respect to an airport. A further object is to provide means on an aircraft whereby a signal from a rotating beacon at the airport keys an aircraft transmitter which sends signals from the aircraft to a suitable direction indicating receiver located at the airport. A still further object is to provide means on an aircraft for automatically transmitting information identifying the craft, its altitude, and bearing." - an aircraft transponder."

Cited by:
3427612 Air to ground radar target identification system, John Vander Horn, ITT, 1969-02-11, - operator in aircraft hears beep coincident with blip on PPI.

Patent Citations (5)

Publication number  Priority date  Publication date  Assignee  Title
2592777  1946-08-21  1952-04-15  Williams Frederic Calland  Pulse-echo identifying system
3078460  1958-09-02  1963-02-19  Cubic Corp  Electronic surveying system
3122737  1960-05-17  1964-02-25  Setrin Morton  Apparatus for suppressing side-lobe interrogations in transponder beacon systems
3296615  1942-01-19  1967-01-03  Robert M Page  Identification and recognition system
3302196  1957-08-02  1967-01-31  Edward G Mccoy  Emergency alarm circuit for use with aircraft detection and recognition systems

Cited By (1)

Publication number  Priority date  Publication date  Assignee  Title
3696419  1970-05-04  1972-10-03  Joseph W Crownover  Electronic ranging apparatus with transmitter-receiver cycling

3738593 Sector defense system, F Duvall, Army, 1973-06-12, - uses IFF to screen out friendly planes and sends targeting information for hostile planes.

Patent Citations (7)

Publication number  Priority date  Publication date  Assignee  Title
2891246  1945-12-10  1959-06-16  Jr John C Reed  Beacon system
3064929  1958-12-22  1962-11-20  Green William P  Automatic guidance system
3197775  1964-11-09  1965-07-27  Sendler Karl  Doppler tracking system with real time presentation of missile trajectory deviation
3286955  1963-01-28  1966-11-22  John A French  Low altitude air defense system and method
3296615  1942-01-19  1967-01-03  Robert M Page  Identification and recognition system
3427611  1962-08-15  1969-02-11  Litton Industries Inc  Laser system
3560971  1961-08-28  1971-02-02  Bell Telephone Labor Inc  Guidance control and trajectory measuring system
Cited by:
Publication number  Priority date  Publication date  Assignee  Title
DE3533212  1985-09-18  1991-05-16Siemens AgAircraft Friend-or Foe identification appts. for e.g. tank - comprises expected and actual values of target light parameters and sends friend of foe signal independent of aircraft flight parameters
20050077424  2003-05-30  2005-04-14  Schneider Arthur J.  System and method for locating a target and guiding a vehicle toward the target
20060097102  2004-02-26  2006-05-11  Chang Industry, Inc.  Active protection device and associated apparatus, system, and method
20060175464  2004-02-26  2006-08-10  Chang Industry, Inc.  Active protection device and associated apparatus, system, and method
20100270418  2008-02-21  2010-10-28  Mbda Uk Limited  Missile training system
7875837  2008-01-09  2011-01-25  Lockheed Martin Corporation  Missile tracking with interceptor launch and control
8125371  2008-10-10  2012-02-28  Sayo Isaac Daniel  System and method for reducing incidences of friendly fire
3772688 Secondary radar system, J SmitW Kneefel, 1973-11-13, -

Patent Citations (11)

Publication number  Priority date  Publication date  Assignee  Title
2595141  1946-10-10  1952-04-29  Rca Corp  Radio system for aircraft identification
3122737  1960-05-17  1964-02-25  Setrin Morton  Apparatus for suppressing side-lobe interrogations in transponder beacon systems
3153232  1960-09-26  1964-10-13  Sierra Research Corp  Station-keeping radar system
3296615  1942-01-19  1967-01-03  Robert M Page  Identification and recognition system
3312970  1941-06-27  1967-04-04  Rca Corp  Pulse echo recognition systems
3341845  1964-11-13  1967-09-12  Thomson Houston Comp Francaise  System for automatic radio transfer of digital information and for distance computation
Family To Family Citations
2677818  1945-10-19  1954-05-04  Us Sec War  Aircraft identification system
2929925  1946-01-03  1960-03-22  Marcus D O'day  Transponder system responsive to simultaneous identification and object locating signals
GB885923  1957-06-05  1962-01-03  Telefunken Gmbh  An aircraft radio navigation system
GB955380  1961-11-16  1964-04-15  Telefunken Patent  Improvements in or relating to mobile radio responding stations
DE1263872  1963-03-09  1968-03-2  1Telefunken Patent  Flight surveillance system with relay distance measurement

Cited By (13)

Publication number  Priority date  Publication date  Assignee  Title
4072946  1972-09-26  1978-02-07  Christiaan Huygenslaboratorium B.V.  Method and apparatus for measuring the distance between two stations
4333078  1978-08-25  1982-06-01  Stiftelsen Institutet For Mikrovagsteknik Vid Tekniska Hogskolan I Stockholm  Apparatus for synchronized reception in connection with system for recording objects
5382957  1989-12-19  1995-01-17  The United States Of America As Represented By The Secretary Of The Navy  System and method
20110156896  1999-02-01  2011-06-30  Hoffberg Steven M  Internet appliance system and method
8364136  1999-02-01  2013-01-29  Steven M Hoffberg  Mobile system, a method of operating mobile system and a non-transitory computer readable medium for a programmable control of a mobile system
8892495  1991-12-23  2014-11-18  Blanding Hovenweep, Llc  Adaptive pattern recognition based controller apparatus and method and human-interface therefore
9151633  1998-01-27  2015-10-06  Steven M. Hoffberg  Mobile communication device for delivering targeted advertisements
10361802  1999-02-01  2019-07-23  Blanding Hovenweep, Llc  Adaptive pattern recognition based control system and method
10943273  2003-02-05  2021-03-09  The Hoffberg Family Trust 2004-1  System and method for determining contingent relevance
11086006  2017-12-19  2021-08-10  Thales  Method for measuring antenna patterns of a secondary radar and secondary radar implementing such a method
Family To Family Citations
DE3009179  1980-03-11  1981-09-24  Brown, Boveri & Cie Ag, 6800 Mannheim  METHOD AND DEVICE FOR GENERATING THE REPLY SIGNAL OF A DEVICE FOR AUTOMATICALLY IDENTIFYING OBJECTS AND / OR LIVING BEINGS
AU1612383  1982-06-29  1984-01-05  Decca Ltd.  Measuring distance
NO833570  1983-09-30  1985-04-01  Findit As  MEASURING AND IDENTIFICATION SYSTEM
4104630 Vehicle identification system, using microwaves, Norman E. Chasek, AT Comm, 1978-08-01, - lTunnel diode & transistor based ow power transponder for railroad car identification
Citations:
Publication number  Priority date  Publication date  Assignee  Title
3296615  1942-01-19  1967-01-03  Robert M Page  Identification and recognition system
3312970  1941-06-27  1967-04-04  Rca Corp  Pulse echo recognition systems
3691557  1969-09-22  1972-09-12  James Nickolas Constant  System for identifying objects using an encoding array for each object
3745569  1971-07-22  1973-07-10  Raytheon Co  Remotely powered transponder
3918057  1973-02-28  1975-11-04  Philips Corp  Circuit arrangement for the identification of vehicles
4001822  1974-05-28  1977-01-04  Rca Corporation  Electronic license plate for motor vehicles

Cited by:
Publication number  Priority date  Publication date  Assignee Title
4339753  1979-12-19  1982-07-13  Rca Corporation  Vehicle identification system
4551725  1981-09-07  1985-11-05  Compagnie Des Montres Longines Francillon S.A.  System for identification and determination of the moment of passage of a multiple number of moving bodies at a given point on their path
4640552  1983-09-28  1987-02-03  Mobil Oil Corporation  Method and apparatus for splitting ice masses
4646090  1983-08-12  1987-02-24  Rca Corporation  Codeable identifying tag and method of identification thereof
4870419  1980-02-13  1989-09-26  Eid Electronic Identification Systems, Ltd.  Electronic identification system
4885591  1983-09-28  1989-12-05  Mobil Oil Corp.  Method and apparatus for monitoring ice masses
4937581  1980-02-13  1990-06-26  Eid Electronic Identification Systems Ltd.  Electronic identification system
5019815  1979-10-12  1991-05-28  Lemelson Jerome H   Radio frequency controlled interrogator-responder system with passive code generator
EP0449720  1990-03-27  1991-10-02  Thomson-Csf Semiconducteurs Specifiques  Bidirectional transmission active antenna
EP0474440  1990-09-07  1992-03-11  Plessey Semiconductors Limited  Moving vehicle transponder
5132687  1980-02-13  1992-07-21  Canadian National  Electronic identification system
5159344  1991-03-22  1992-10-27  North Atlantic Air, Inc.  Aircraft theft detection and location system
5164732  1980-02-13  1992-11-17  Eid Electronic Identification Systems Ltd.  Highway vehicle identification system with high gain antenna
5196846  1980-02-13  1993-03-23  Brockelsby William K  Moving vehicle identification system
5253162  1990-05-17  1993-10-12  At/Comm, Incorporated  Shielding field method and apparatus
5264854  1992-03-12  1993-11-23  Spiess Newton E  Multiple vehicle identification and classification system
GB2268031  1992-06-02  1993-12-22  Roke Manor Research  Automobile sensing and communicating transponder
5289183  1992-06-19  1994-02-22  At/Comm Incorporated  Traffic monitoring and management method and apparatus
5311186  1989-09-27  1994-05-10  Nippon Soken, Inc.  Transponder for vehicle identification device
5347274  1990-05-17  1994-09-13  At/Comm Incorporated  Hazardous waste transport management system
5351187  1992-12-30  1994-09-27  At/Comm Incorporated  Automatic debiting parking meter system
5376943  1990-09-07  1994-12-27  Plessey Semiconductors Limited  Moving vehicle transponder
5406275  1990-05-17  1995-04-11  At/Comm Incorporated  Object location process and apparatus
5563589  1993-12-10  1996-10-08  Thomson-Csf  Remote identification device
5606322  1994-10-24  1997-02-25  Motorola, Inc.  Divergent code generator and method
5751973  1990-05-17  1998-05-12  At/Comm Incorporated  Electronic parking and dispatching management method and apparatus
5757286  1993-05-28  1998-05-26  Saab-Scania Combitech Aktiebolag  Method and a device for the registration of the movement of a vehicle
5786764  1995-06-07  1998-07-28  Engellenner; Thomas J.  Voice activated electronic locating systems
5809142  1996-08-14  1998-09-15  Texas Instruments Incorporated  Method and system for calculating a user account balance in a recognition system
5859415  1993-05-28  1999-01-12  Saab-Scania Combitech Aktiebolag  Method and apparatus for the registration of a vehicle(s) in a free flow toll facility by tracking the vehicle along a path in the toll facility area
5867801  1996-01-11  1999-02-02  General Railway Signal Corporation  Remote asset monitoring system
5902341  1996-10-30  1999-05-11  Scientific-Atlanta, Inc.  Method and apparatus to automatically generate a train manifest
6109525  1993-05-28  2000-08-29  Saab-Scania Combitech Akitiebolag  Method and device for registering vehicles in a road toll facility
6111524  1995-11-09  2000-08-29  Vehicle Enhancement Systems, Inc.  Systems and methods for identifying tractor/trailers and components thereof
6127939  1996-10-14  2000-10-03  Vehicle Enhancement Systems, Inc.  Systems and methods for monitoring and controlling tractor/trailer vehicle systems
6166638  1998-04-03  2000-12-26  Intermec Ip Corp.  RF/ID transponder with squinted beam radiation pattern using dipole-over-ground plane antenna
6191705  1999-03-17  2001-02-20  Mark Iv Industries, Limited  Radio frequency highway management system
WO2001024127  1999-09-27  2001-04-05  Mitschele Frederick L  Parking meter
US6222463  1998-06-25  2001-04-24  Lucent Technologies, Inc.  Vehicle communication network
US6239737  1994-07-15  2001-05-29  Micron Technology, Inc.  Method and apparatus for attaching a radio frequency transponder to an object
WO2002073234  2001-03-14  2002-09-19  Ip And Innovation Company Holdings (Proprietary) Limited  Presence detection
6604038  1999-11-09  2003-08-05  Power Talk, Inc.  Apparatus, method, and computer program product for establishing a remote data link with a vehicle with minimal data transmission delay
20030200227  2002-04-19  2003-10-23  Ressler M. Kyle  Vehicle and driver identification system
6653946  1990-05-17  2003-11-25  Transcore, Inc.  Electronic vehicle toll collection system and method
6661352  1999-08-11  2003-12-09  Mark Iv Industries Limited  Method and means for RF toll collection
20040227616  2003-05-16  2004-11-18  Mark Iv Industries Limited  Handheld reader and method of testing transponders using same
20050016787  1999-11-17  2005-01-27  Lesesky Alan C.  Method for data communication between a vehicle and a remote terminal
WO2006006903  2004-07-09  2006-01-19  Tagmaster Ab  A method for reading a transponder for mobile units
20060071816  2004-10-05  2006-04-06  Wai-Cheung Tang  Electronic toll collection system
20060082470  2004-10-20  2006-04-20  Jeffrey Zhu  External indicator for electronic toll communications
20060109085  2000-05-01  2006-05-25  Mark Iv Industries Limited  Multiple protocol transponder
20060176153  2005-02-09  2006-08-10  Wai-Cheung Tang  RF transponder with electromechanical power
20060208873  1995-11-09  2006-09-21  Alan Lesesky  System, apparatus and methods for data communication between vehicle and remote data communication terminal, between portions of vehicle and other portions of vehicle, between two or more vehicles, and between vehicle and communications network
20060220794  2005-04-04  2006-10-05  Jeffrey Zhu  Phase modulation for backscatter transponders
20060255967  2005-04-22  2006-11-16  Woo Henry S Y  Open road vehicle emissions inspection
20070008184  2005-07-07  2007-01-11  Ho Thua V  Dynamic timing adjustment in an electronic toll collection system
20070063872  2005-09-21  2007-03-22  Ho Thua V  Adaptive channel bandwidth in an electronic toll collection system
20070118273  2005-11-21  2007-05-24  Wai-Cheung Tang  Method and system for obtaining traffic information using transponders
20070222607  2006-03-24  2007-09-27  Ho Thua V  Compact microstrip transponder antenna
20070268140  2006-05-19  2007-11-22  Wai-Cheung Tang  Method of enabling two-state operation of electronic toll collection system
7512236  2004-08-06  2009-03-31  Mark Iv Industries Corporation  System and method for secure mobile commerce
20090191246  2004-08-11  2009-07-30  Catalysts& Chemicals Industries Co., Ltd.  Method of producing scale-like composite particles
20090231161  2008-03-11  2009-09-17  Alastair Malarky  Real-time vehicle position determination using communications with variable latency
8536985  2001-07-30  2013-09-17  Imaging Systems Technology, Inc.  Data isolation
9443427  2015-06-25  2016-09-13  International Business Machines Corporation  Reference tokens for managing driverless cars
4376937 Antenna for primary and secondary radars, Georges Cohen, Thales, 1983-03-15, - waveguide combiner
Citations:
Publication number  Priority date  Publication date  Assignee  Title
3032759  1956-08-31  1962-05-01  North American Aviation Inc  Conical scanning system
3122737  1960-05-17  1964-02-25  Setrin Morton  Apparatus for suppressing side-lobe interrogations in transponder beacon systems
3296615  1942-01-19  1967-01-03  Robert M Page  Identification and recognition system
3311912  1942-12-11  1967-03-28  Verne R Philpott  Radar recognition system
3312970  1941-06-27  1967-04-04  Rca Corp  Pulse echo recognition systems
3618091  1961-11-10  1971-11-02  Sanders Associates IncC  onical antenna system
3688313  1966-12-19  1972-08-29  Motorola Inc  Combined cw and pulse tracking systems
3893116  1958-12-30  1975-07-01  Hughes Aircraft Co  Radar lobing system
3916414  1973-09-07  1975-10-28  Thomson Csf  Antenna system for primary and secondary radar

Cited by: 
Priority date  Publication date  Assignee  Title
4870426  1988-08-22  1989-09-26  The Boeing Company  Dual band antenna element
20120068878  2010-09-21  2012-03-22  Thales  Method for Increasing the Time for Illumination of Targets by a Secondary Surveillance Radar
10318903  2016-05-06  2019-06-11  General Electric Company  Constrained cash computing system to optimally schedule aircraft repair capacity with closed loop dynamic physical state and asset utilization attainment control
10982989  2018-01-16  2021-04-20  Krohne Messtechnik Gmbh  Fill level measuring device
11049403  2018-05-17  2021-06-29  Thales  Method for measuring, in line operation, certain characteristics of the onboard transponder by using the secondary radar
Family To Family Citations
JPS6249589  1981-01-29  1987-10-20  Tokyo Shibaura Electric Co
JPH0211165  1982-08-31  1990-03-13  Nippon Electric Co
FR2638531  1988-10-28  1992-03-20  Thomson Csf  SUM AND DIFFERENCE INTEGRATION SYSTEM I.F.F. IN A RADAR SURVEILLANCE ANTENNA
5483663  1994-04-05  1996-01-09  Diversified Communication Engineering, Inc.  System for providing local originating signals with direct broadcast satellite television signals
5761605  1996-10-11  1998-06-02  Northpoint Technology, Ltd.  Apparatus and method for reusing satellite broadcast spectrum for terrestrially broadcast signals
FR2773271  1997-12-31  2000-02-25  Thomson Multimedia Sa  ELECTROMAGNETIC WAVE TRANSMITTER / RECEIVER

5001488 Battlefield IFF method and system for its application, Jean-Claude Joguet, LMT Radio Professionnelle, 1991-03-19, -
Citations:
Publication number  Priority date  Publication date  Assignee  Title
2472136  1945-01-03  1949-06-07  Rex S Whitlock  Aiming and fire control system
3010102  1947-07-05  1961-11-21  Bell Telephone Labor Inc  Combination radar and thermal energy detection system
3104478  1960-12-05  1963-09-24  Aircraft Armaments Inc  Hit indicator apparatus
3296615  1942-01-19  1967-01-03  Robert M Page  Identification and recognition system
DE2215463  1972-03-29  1973-10-11  Precitronic  IDENTIFICATION AND SIGNAL TRANSMISSION SYSTEM FOR FRIENDS / FEMESE DETECTION USING LASER LIGHT VIA ROOM-STABILIZED EQUIPMENT
DE2223633  1972-05-15  1973-11-29  Licentia Gmbh  DEVICE FOR AUTOMATIC DRESSING POSITION DETECTION
3802780  1972-06-12  1974-04-09  Us Army  Optical device for position location
DE2251295  1972-10-19  1974-05-02  Eltro Gmbh  PROCEDURES FOR FRIEND / FEE IDENTIFICATION
3813553  1973-05-17  1974-05-28  Us Army  Laser transciever
4144534  1975-05-01  1979-03-13  The United States Of America As Represented By The Secretary Of The Navy  Battlefield IFF system
4145690  1976-08-12  1979-03-20  Le Materiel Telephonique  Ciphering device improving the secrecy of the encoded replies of a secondary radar
4361911  1981-05-21  1982-11-30  The United States Of American As Represented By The Secretary Of The Army  Laser retroreflector system for identification of friend or foe
DE3113154  1981-04-01  1982-12-02  Precitronic Gesellschaft für Feinmechanik und Electronic mbH, 2000 Hamburg  System for optronic data input in laser communications devices
4497065  1982-07-12  1985-01-29  Westinghouse Electric Corp.  Target recognition system enhanced by active signature measurements
4566009  1979-10-16  1986-01-21  Siemens AktiengesellschaftIdentification,   friend or foe IFF installation
Family To Family Citations
3076961  1959-10-27  1963-02-05  Bulova Res And Dev Lab Inc  Multiple-sensor coordinated apparatus
5223839 Radar identification, Sidney J. Grossman, Army, 1993-06-29, -
Citations:
Publication number  Priority date  Publication date  Assignee  Title
2691162  1949-10-27  1954-10-05  Geer Charles Willard  Radar equipment
2966675  1957-10-23  1960-12-27  Stewart Warner Corp  Radar beacon system with side lobe suppression
3090956  1960-12-23  1963-05-21  Rca Corp  Steerable antenna
3150320  1962-05-18  1964-09-22  Ibm  Space satellite communications system employing a modulator-reflector relay means
3267467  1962-01-23  1966-08-16  Thomson Houston Comp Francaise  Apparatus for eliminating spurious echoes in radars
3296615  1942-01-19  1967-01-03  Robert M Page  Identification and recognition system
3312970  1941-06-27  1967-04-04  Rca Corp  Pulse echo recognition systems
3371345  1966-05-26  1968-02-27  Radiation Inc  Radar augmentor
4322729  1969-12-10  1982-03-30  Siemens Aktiengesellschaft  Interrogator-responsor system for secondary radar devices
4347512  1968-04-18  1982-08-31  Allied Corporation  Communications systems utilizing a retrodirective antenna having controllable reflectivity characteristics

Cited by:
Publication number  Priority date  Publication date  Assignee  Title
FR2720514  1994-05-25  1995-12-01  Bertin & Cie  Remote surveillance and identification of military weapons or vehicles using radar
5483865  1993-06-09  1996-01-16  Eurocopter France  Aircraft sighting system
5796362  1994-06-13  1998-08-18  Hittite Microwave Corporation  Post launch on-board identification friend or foe system
5838276  1994-12-30  1998-11-17  Chapman; Aubrey I.  Microwave energy implemented aircraft landing system
6397018  1999-08-06  2002-05-28  Canon Kabushiki Kaisha  Developer amount detecting method, developing device, process cartridge and electrophotographic image forming apparatus
6476757  1972-10-24  2002-11-05  The United States Of America As Represented By The Secretary Of The Navy  Secure I/P
RU2688899  2016-11-21  2019-05-23  Федеральное государственное казенное военное образовательное учреждение высшего образования "Военный учебно-научный центр Военно-воздушных сил "Военно-воздушная академия имени профессора Н.Е. Жуковского и Ю.А. Гагарина" (г. Воронеж) Министерства обороны Российской Федерации  Method of identifying radar targets
WO2019185676  2018-03-29  2019-10-03  Damasia Holding Gmbh  Apparatus serving as retro-reflective element for electromagnetic waves, and radar system comprising such an apparatus
8049643 Vehicle tracking system for vehicle washing, Pete Ness, DRB Systems, 2011-11-01, - TV based for car wash
Citations:
Publication number  Priority date  Publication date  Assignee  Title
3296615  1942-01-19  1967-01-03  Robert M Page  Identification and recognition system
4339753  1979-12-19  1982-07-13  Rca Corporation  Vehicle identification system
4385322  1978-09-01  1983-05-24  View Engineering, Inc.  Pattern recognition apparatus and method
4611347  1984-09-24  1986-09-09  At&T Bell Laboratories  Video recognition system
4851849  1973-11-09  1989-07-25  Siemens Aktiengesellschaft  Interrogation-answering system with a primary radar
4893229  1988-09-09  1990-01-09  Innovative Control Systems, Inc.  Computerized car wash controller system
5031228  1988-09-14  1991-07-09  A. C. Nielsen Company  Image recognition system and method
5554983  1992-04-24  1996-09-10  Hitachi, Ltd.  Object recognition system and abnormality detection system using image processing
6590521  1999-11-04  2003-07-08  Honda Giken Gokyo Kabushiki Kaisha  Object recognition system

Hazeltine

1823327 Shielding for radio-frequency amplifiers, William A Macdonald, Fred E Johnston, Hazeltine Corp, 1931-09-15, - cans over the coils in a TRF receiver
2135344 Transposed lead-in, Fred E Johnston, Crosey Radio, 1938-11-01, - twin lead with transposing blocks "Tests demonstrate that the average impedance of a lead-in of twisted wires is in the region of 100 ohms, which makes Such a lead-in unsuitable for direct connection to most types of antenna, and receiver." see Zo twisted pair "...The transposition block lead-in, on the other hand, has an impedance averaging about 500 ohms, which is a value very much more suitable..."

2188970 Electric timing system, John C WilsonHazeltine Corp, 1940-02-06, - using lumped delay lines for working with TV pulses. involves pulse to pulse timing.
2327248 Wave-signal translating channel, Nelson P CaseHazeltine Corp, App: 1942-05-08, W.W.II, Pub: 1943-08-17, - IFF?
2398694 Carrier-wave generating system, Nelson P CaseHazeltine Corp, - generating correct frequency for given channel, IFF?
2403889 Telemetering system, Toro Michael J DiHazeltine Research, App:, TOP SECRET, Pub: 1943-08-24, - maybe to encode the altimeter onto an IFF type system?
2407282 System for indicating mechanical motion, Johnson John Kelly, Hazeltine Research, App: 1941-12-18, TOP SECRET, Pub: 1946-09-10, - goniometer & CRT
2413440 Electronic switch, John F FarringtonHazeltine Research, App: 1942-05-15, W.W.II, Pub: 1946-12-31, - IFF?
2413451 Ultra high frequency tuning unit, Johnson John KellyHazeltine Research, App:1942-10-03, W.W.II, Pub: 1946-12-31, - TV or IFF?
2413607 Time-delay network, Toro Michael J DiHazeltine Research, 1946-12-31, - TV or IFF?
2415359 Wave-signal translating system, Bernard D LoughlinHazeltine Research, Priority: 1943-12-31, TOP SECRET, Pub: 1947-02-04, - "This invention relates, in general, to wave-signal translating systems and is particularly directed to coding or secrecy aspects of transponder systems. As used throughout this specification and in the appended claims, the term “transponder system' is intended to describe a wave signal translating system which includes a receiving system and a transmitting system so arranged that a predetermined answer or reply signal is transmitted in response to a received interrogating signal, the reply and interrogating signals preferably comprising radiant-energy wave signals."
2421136 Gain control system for pulse modulation receivers, Harold A WheelerHazeltine Research, App: 1945-06-01, W.W.II, Pub: 1947-05-27, - "...for use in a radio-locating and direction-finding system of the type utilizing pulse-modulated signals ..." "For example, the coded signal may include a pair of pulse components, individually having a rectangular wave form and fixed duration but a time separation that is variable in a code sequence. "
2426454 Electronic switch, Johnson John KellyHazeltine Research, App: 1942-05-27, W.W.II, Pub: 1947-08-26, - IFF? pulse train with variable widths
2426454 Electronic switch, Johnson John KellyHazeltine Research, App: 1942-05-27, W.W.II, Pub: 1947-08-26, - IFF? pulse train with variable widths
2454865 Time-delay network, Toro Michael J DiHazeltine Research, App: 1945-06-18, W.W.II, Pub: 1948-11-30, -
2457212 Time-delay network, Toro Michael J DiHazeltine Research, App: 1945-06-18, W.W.II, Pub: 1948-12-28, -
2483097 Position indicator for airborne traffic, Mcilwain KnoxHazeltine Research, App: 1946-09-12, W.W.II, Pub: 1949-09-27, - bearing and altitude of aircraft
2522706 Multiple-reflecting time-delay system, Toro Michael J DiHazeltine Research, 1950-09-19, - television
2570805 Signal-translating system, Hazeltine AlanHazeltine Research, App: 1946-07-20, W.W.II, Pub: 1951-10-09. -
2589808 Transpondor system, Charles J HirschHazeltine Research, App: 1946-10-21, W.W.II, Pub: 1952-03-18, - 2 ground stations give position and direction of aircraft. -

Hirsch worked for T.A. Edison up until 1930, patent 1996378 Hum elimination (in AM radio) in his name 1931, then started at Hazeltine Research by 1944.
2462265 Frequency divider, App: 1944-08-16, W.W.II, Pub: 1949-02-22, - related to A-scope RADAR display
2572725 Path-indicating system for Mobile Craft, App: 1946-02-15, W.W.II, Pub: 1951-10-23, - for blind landing
2652194 Electrical Computer, 1953-09-15, - tubes, makes use of the frequency divider, not clear what it's for
2686910 Wave-signal transmitting system, 1954-08-17, - VOR (Wiki)
2640925 Electron discharge signal-sampling device, 1953-06-02, - DME (Wiki)
2754481 Electrostrictive time-delay signal translating device, 1956-07-10, - prior art barium titanate
2827564 Time-delay signal-repeater system, 1958-03-18, - MTI (Wiki)
2996707 Radar control system, 1961-08-15, - DME (Wiki)
2795656 Repeater system, 1957-06-11, - for bipolar signals down to DC, but what application?
3002090 Automatic-gain-control system, 1961-09-26, -
3015689 Color-television camera, 1962-01-02, -
3235806 Signal translating circuit, 1966-02-15, - based on Tunnel Diodes work done at and for RCA, not Hazeltine.
3387299 Lightweight IFF detection system, John H GutmanHuebscher HerbertHazeltine Research, 1968-06-04, - for use on the ground with SAM (Wiki).

Federal Telephone and Radio Corp

2513282 Beacon system, Henri G Busignies (Wiki), App: 1945-05-14, SECRET, Pub: 1950-07-04, -

After APX-6

2515178 Means for synchronizing detection and interrogation systems, Barchok Donald, Army, App: 1943-10-12, W.W.II, Pub: 1950-07-18, -
2796602 Aircraft identification and location system, Gerard C Hess, Norman H Taylor, Raymond M Wilmotte, PADEVCO Inc, App: 1947-08-08, Pub: 1957-06-18, - 32 patent citations.
3004253 IFF System, Teck A Wilson, Hughes Aircraft, 1961-10-10, -
3750163 IFF System, K Hecker, Navy, 1973-07-31, -
5892478 Adaptive azimuth processing for monopulse IFF interrogators, Leonard A. Moss, Hazeltine Corp,

Related

Agilent E4404B ESA-E 9kHz - 6.7 GHz Spectrum Analyzer
Aircraft
FasTrak Vehicle ID Transponder
Gamewell - Code Wheels
Navigation
RFID

References

Ref 1. QST Sep 1960: Communication on 1215 Mc. with the APX-6, printed page 30. - converting for use in ham band for AM voice.
Ref 2. QST Feb 1961: Practical Operating HInts for 1215 Mc. printed page 27. -
Ref 3. Army ST 44-188-9 IFF Mark X System and IFF Mark X with SIF, Feb 1962 - Training Manual
Ref 4. TM 11-1160, Radar Set AN/TPX-4, War Dept., 28 Dec 1944, 223 pgs, (pdf) TS-159, - this is an IFF interrogator, not a skin reflection radar. 157 to 187 MHz.
Ref 5. Power Point at jproc.ca: Identification Friend or Foe, Richard M. Trim OBE CEnd FIET, 7 Feb 2007, 57pgs -

pg 13: the system shown is not the APX-6.
Ref 6. “Radar Contact!”: The Beginnings of Army Air Forces Radar and Fighter Control, Randall DeGering, 2018, 111pgs (pdf) -
Ref 7. TM 11-6625-6678-12, [NAVAIR 16-30APM-123-1; TO 33A1-3-367-1], Operator and Organizational Maintenance Manual, Test sets, Transponder:
AN/APM-123(V)1 (FSN 6625-948-0071) - Army power cables
AN/APM-123(V)2 (FSN 6625-948-0077) - Navy power cables
AN/APM-123(V)3 (FSN 6625-948-0076) - AF power cables
June 1974, w/ C3 28 March 1977; C2  4 December 1975; and C1 3 December 1974.  (Liberated Manuals: TM-11-6625-667-12.pdf)
For checking AN/APX-44, DOD AIMS AN/APX-64 and AN/APX-72. The test set provides coded radio-frequency (RF) interrogation signals to check the transponder set P4610.19B and DSAR 4500.15.

Transmitter
Tx: 1030 MHz @ - 6 dBm
Sidelobe suppression type: 3 pulse
PRF: 230 pps
Pulse output group: 2 (P1 & P3) without sidelobe suppression or (P1, P2 & P3) with sidelobe suppression.
Pulse spacing (P1 & P3):
Mode 1: 2 us
Mode 2: 5 us
Mode 3/A: 8 us
Mode C: 21 us
TEST: 6.5 us
       4: Modulation from ext source.
Sidelobe suppression pulse spacing (P1 & P2): 2.0 us
Receiver
Rx: 1090 MHz
-3 dB bandwidth: 6.5 MHz
Sensitivity: -9 dBm
Gating: only for duration replies
Decoding: Codes 0000 to 7777 including emergency and identity

TS-1809/APM-123 Power Requirements:
AC: 115 VAC 50 - 420 Hz, 0.5 Amp
DC: 28 +/-3 VDC 1.5 Amps
Ref 8. TM 11-487, Electrical Communication Systems Equipment, War Dept, 2 October 1944, 537 pgs (Radio Nerds: TM_11-487_OCTOBER_1944.pdf) - does NOT have APX-1
    Ch 1. Purpose & Scope
    Ch 2. Illustrative Problems
    Ch 3. Telephone Station Equipment
    Ch 4. Telephone Centrals
    Ch 5. Portable AWS Information Centers
    Ch 6. Wire & Cable & Construction Information
    Ch 7. European & US Cables & Loading Systems
    Ch 8. Electrical Protective Equipment
    Ch 9. Telephone Line Transmission Equipment
    Ch 10. Telegraph Equipment (& TTY)
    Ch 11 Facsimile Equipment
    Ch 12 Power Equipment - Generators, inverters,batteries, Battery Terminals,
    Ch 13 Maintenance Supplies- Test Sets,
    Ch 14 Radio Equipment
       S1 General -
        S2 Tactical Radio Sets for Ground Use - SCR-nnn, BC-nnn,
        S3 Fixed Plant Radio Equipment
        S4 Antennas & Associated Equipment
    Index -

TM 11-487C-1 Military Standardization Handbook United States Radar Equipment, 15 Dec 1960, 1531 pgs. (Liberated Manuals: TM-11-487C-1.pdf)
    S1 Ground
    S2 Airborne
        APX-1 IFF
        APX-6 IFF
Technical Manuals: AN16-30.2APX6-3
Technical Orders: 12P4-2APX6-1, 12P4-2APX6-2, 12P4-2APX6-3, 12P4-2APX6-506, 12P4-2A PX6-5O6B, 12P4-2APX6-506C, 12P4-2APX6-506D
Specifications: MIL-R-6335B

"The primary purpose of Radar Set AN/APX-6 is to enable the airplane in which it is installed, to identify itself automatically as friendly whenever it is properly challenged by suitable equipped friendly surface and airborne radars.  Two supplementary purposes of the equipment are:
Two (sic) provide two separate channels for the identification of specific friendly airplanes among many friendly planes, and
to provide means for transmitting a special reply referred to as "emergency".
    Navy APX-7 IFF - C-1040 Control, B-47, B-52 - RC-121D & H and C130 aircraft
Technical Manuals: 12P4-2APX7-1, 12P4-2APX7-2, 12P4-2APX7-2C, 12P4-2APX7-2D, 12P4-2APX7-2E, 12P4-2APX7-3, 12P4-2APX7-4, 12P4-2APX7-4C, 12P4-2APX7-14
Specifications: MIL-I-5532
   AF  APX-25 IFF - Similar to AN/APX-6 and replaced by AN/APX-25A.
Components: RT-279/APX-25, C-1158/APX-25, AT-234/A PX-25, KY-95/APX-25, C-112B/APX-25, MT-362A/A
TO: 12P4-2APX25-2, 12P4-2APX25-2C, 12P4-2APX25-2E, 12P4-2APX25-2F, 12P4-2APX25-3, 12P4-2APX25-3C, 12P4-2APX25-4C, 12P4-2APX25-501, 12P4-2APX25-501B
Specifications: MIL-I-2534B
    AF APX-25A IFF - The AN/APX-25A is similar to AN/APX-6, and replaces the AN/APX-25. C130, C135, KC135, F105, T-39A & B
Components: RT-279/APX, C-1158/APX, AS-133/APX or AT-234/APX, MT-362A/A, KY-95/APX-25, F-245/APX-25
Technical Manuals: 12P4-1-1, 12P4-2APX25- Series
Specifications: MIL-C-25341A, MIL-T-25036, MIL-T-25348, MIL-M-25460A, MIL-C-8327A
    APX-26 IFF - This air-to-air identification system consists of an interrogator and a cooperative transponder operating in the X-band. It is operated in conjunction with a separate radar set, and uses the radar antenna and indicator to display identification information. B-52

    APX-28 IFF Interrogrator - Interrogator Set AN/APX-28 is an IFF Mark X interrogation set intended for use in interrogating Radar Identification Set AN/APX-6 and presenting visual indication of the range and azimuth of the AN/APX-6 reply source for air-to-air rendezvous of aircraft. 

Detailed operation of most of the stages in Interrogator Set AN/APX-28 are similar to the operation of like stages in Radar Identification Set AN/APX-6. The RT-198B/ UPX-7 is identical to the RT unit used in AN/UPX-7. Interrogator Set AN/APX-29A can be used by Air Rescue Service as a replacement for AN/APX-28 equipment
Components: RT-198B/UPX-7, MT-1439/A, C-774A/UPX-7, r IP-219/APX, AS-624/APX, AS-625/APX, SA-314/APX, MT-11B9/U,  FT-4O9/U
    APX-29A IFF Interrogrator - The Interrogator Set AN/APX-29A is an airborne interrogator-responder to be used in conjunction with Radar Identification Sets AN/APX-6 or AN/APX-25 for air-to-air rendezvous of aircraft.

Interrogator Set AN/APX-29A replaces the AN/APX28 and the AN/APX-29. AN/APX-29A uses components of the AN/APS-10 and AN/ UPX-7

    APX-35() IFF Transponder - C-1128 or C-1158;

    APX-37 IFF Transponder- C-1128 or C-1158;  The transponder set provides for the reception, detection, and decoding of IFF Mark X, interrogation, the coding of IFF Mark X replies, and the transmission of the coded reply.

    APX-46(V) IFF Transponder - Transponder Set AN/APX-46(V) is a lightweight airborne IFF equipment consisting of either radio receiver-transmitter RT556/APX-46 or radio receiver transmitter RT-555/APX-46, and coder group control C-1128/APX-25 and transponder set control C-1158/APX. This set provides for the reception, detection, decoding, encoding and transmission of signals in the IFF Mark X (SIF) system.

The AN/APX-46(V) is similar to the AN/ APX-37 in operation. It employs the same control panels as the AN/APX-37

    APX-49 IFF Interrogator - The prime purpose of the AN/APX-49 is to challenge the identity of targets that are detected and displayed by Radar Set AN/APS-95 operating with the interrogator set. The AN/APX-49 distinguishes between friendly targets and enemy targets and provides a more detailed recognition of friendly targets for additional security and tactical information.
The AN/APX-49 is used with AN/APS-20B, APS-95 and USQ-25.

ASQ-8 MAD - The AN/ASQ-8 is designed to detect submerged submarines from low-flying aircraft. The presence of a submarine is indicated by deflections in inked trace on the paper chart of a recording meter.
Range: 1000 ft approx
Components: ID-378/ASQ-8, AM-579/ASA-8, MT-993/ASA-8, C-934/ASA-8, DT-37/ASQ-8, AM-294/ASQ-8, MT-776/ASQ-8, 0-90/ASQ-8, AM-295/ASQ-8, y PP-447/ASQ-8, RD-47/ASQ-8, MT-B30/ASQ-8, C-820/ASQ-8, SA-181/ASQ-8, CN-191/ASQ-8, MX-1361/ASQ-8
Technical Manual: AN16-30ASQ8-3
    ASQ-10 MAD -

    OA-3369/APX-7 IFF Decoder - Decoder Group OA-3369/APX-7 is a selective identification feature (SIF) decoding equipment designed for use in an airborne Mark X IFF system and is comprised of three units: Pulse Decoder, Video Decoder and Control Indicator. Translation and read out of digital SIF codes are an integral function. Numerical display of code designations for three targets replying from a preset challenge sector is provided. The challenge sector is delimited by controls and circuitry within the Decoder Group units.
       
    S3 Shipborne
   
    AN/CPT-2 Life Raft beacon transmitter - The Radar Set AN/CPT-2 is a self-contained, lightweight beacon transmitter for use in a one (1) man life raft. The radar set has as effective range of from 12 to 18 miles. It operates in the frequency of 176 megacycle (mc).

Related Equipment: The AN/CPT-2 is designed to operate with such equipments as Radio Set SCR-729-A, Radar Set AN/ APN-12, Radar Set AN/APN-10, Radio Set SCR-521, Navy ASE, British MK 11. (Equipment Required but not Supplied) (1) Frequency Meter BC-96-C or BC-906-D; (1) Test Set TS-35; (1) Cathode Ray Oscillograph RCA-158 or equivalent; (2) Battery BA-30 (1.5v); (1) Battery BA-38 or BA-38B (103.5v or 93.6v).
Ref 9. YouTube: OZ1GEO's magnificent radio museum. Part 1, 11:36 - @6:20: APX-6 inside shows 1B40 tube removed.
Ref 10. F-22 Raptor: The Apex Predator, 36:55 - @19:00 Mode 5 IFF, STANAG 4193 (Global Spec); @21:26 Link 16 (Wiki); @22:36 BACN (Wiki); @28:45 AIM-260 (Wiki); @33:20 IRST (Wiki) is not FLIR (Wiki);
Ref 11. WWII Bomber IFF, Identification Friend or Foe system: How it Works Deep Dive Review, 10:26 - A single AN-M3 Destructor: 6" long plugged into the center of the front panel of the first generation IFF set.  It had a 2-pin plug on the front panel that was wired into the aircraft destruct circuit.  This was not the APX-6.

Links

YouTube:

Vintage Avionics.nl - APX-6 -
JProc.ca: APX-6 IFF Unit -
File:Hazeltine AN-APX-6 Identify Friend or Foe (IFF) transponder, introduced 1950 - National Electronics Museum - DSC00301.JPG -
APR-1 & APR-4 surveillance receivers

PRC68, Alphanumeric Index of Web pages, Contact, Products for Sale
Page Created 11 Jan 2023