Digital Photography 206 Micro Photography

© Brooke Clarke 2014 - 2023

Background
Microscope Standards
Lens Equations
    Numerical Aperture
Microscope Lens on Camera
    Table of Objectives & Extensions
    Tube Lens
        Infinity Head (built-in tube lens)
        Epi Illumination
        Infinity Microscope Optics Patents
Camera in Microscope Eyepiece Tube
    Imaging Solutions Camera Adapter
    Optexcom.com Camera Adapter
    Comparing Image Solutions and Optexcom Camera Adapters
Unitron No. 83444 Student Microscope
Lighting Methods
Stand Alone Video Systems
Related
Links

Background

Taking Close Up photography or macro photography is limited to about 2X magnification (subject to film/digital sensor).  Higher magnifications are called micro photography and involves optical microscope (Wiki) principals. That is what this web page is about.

A photograph of a subject under a microscope is a Photomicrograph.
A very very small photograph is a microphotograph, and even smaller is a microdot.


To see an old style microscope see my optical bench web page.

Microscope Standards

Starting about 1839 the Royal Microscopical Society of London (Wiki) set standards for various microscope dimensions.  There are also the German DIN (Wiki) standards as well as the Japanese JIS (Wiki)  standards. 

There are a couple of things that are not clear.
1) what is the size of the real image?  For example you would expect an RMS objective to make an image about the same size as the tube ID, so about 23mm for an RMS objective.
But newer scopes can have Ultra Wide heads with 30mm eyepiece tubes.  What objectives work with these?

2) RMS objectives require corrections in the eyepieces, is that the case also for DIN and JIS objectives?
    The Nikon Chrome Free (CF) and Chrome Free Infinity (CFI) objectives are fully corrected.

When classifying objectives there are many parameters, such as those in the table below as well as other optical characteristics such as phase.
But, it appears that the parafocal distance (PFD) is very important.  For example first generation objectives made to the RMS standards are 31mm PFD.
The JIS standard used 36mm PFD and these are not going to work in a Nikon scope.
The DIN standard of 45mm was adopted by Nikon for the CF series, so if an objective does not have a 45mm PFD then it's not a CF type.
But if it does have a 45mm PFD that does not mean it is a CF type.

The latest Nikon CFI60 objectives all have a 60mm PFD and may be unique?

Standard slides are 1" x 3" and the cover slips are 0.17mm thick and about 22mm square.

Some microscope specifications are in the following table:


RMS
JIS DIN CF
Nikon6
BD
Nikon7
Metalurgical
CFI60
Objective Thread1 51/64"W-36
RMS
51/64"W-362
RMS
51/64"W-362
RMS
51/64"W-362
RMS
26mm
31mm 25mm
Tube Length3
160mm
160mm 160mm
160mm 210mm
210mm
8
Eyepiece OD4
23mm
23mm 23mm
23mm
 or
30mm
23mm 23mm
30mm
Obj. Parafocal Distance5
31mm
36mm 45mm
45mm 45mm 45mm 60mm
Note 1: Some modern microscopes (Nikon CF Inn and Zeiss) use larger threads to allow better optics for some applications.
Note 2: Sometimes called 20mm or 20.2mm.
Note 3: You might find tube lengths anywhere between 140mm to 250mm.  Newer microscopes have an infinity tube length design that allows more stuff between the objective and eyepiece or camera to allow for modern lighting methods and more than one method at the same time.
Note 4: Some lower cost microscopes use a smaller eyepiece OD and some high end microscopes use a larger OD.
Note 5: If all the objective lenses that are mounted on the objective turret and each is in focus when used they are said to be parfocal (Wiki).  The advantage of this is that you can change objective lenses and they all will be in focus which can be a large time saver and may keep you from running the objective into the slide.  Modern microscopes, like the Labophot, expect the parafocal distance to be 45mm and the stage will not move high enough to bring a RMS or JIS objective into focus.
Note 6: Nikon: Epiphot, Optiphot (-66, -88, Inspection) [26mm thread  to allow room for light to go down outside objective optics.]
Note 7: Nikon: Metaphot  
[31mm thread  to allow room for light to go down outside objective optics.]
Note 8: Prior to the CFI60 infinity (Eclipse) microscopes Nikon made the
Epiphot Inverted Metallurgical and Optiphot-100S microscopes that used CF EPI infinity objectives with RMS threads and 45mm parafocal distance
Some external web pages with thread sizes:

FAQ: Screw Threads we use
The Macrolens Collection Database
 
Comparison CF vs. CFI objectives:
The CFI objectives are much larger, but that's harder to see when you're just looking at a CFI microscope.
For more on CFI see the Tube Lens paragraph below.
Comparison between
            Nikon CF vs. CFI objectives

Lens Equations (Wiki)

I've changed the Wiki names to make them easier to remember.
When the object is at infinity, like the Sun, then the image is at a focal length (f).
When the object is at 2 * f the image is at 2 * f and the magnification is 1x.
Lens Equations
Equation 1:  1/Do + 1/Di = 1/f

Equation 2: Xo * Xi = f*f

Equation 3: M = - Di / Do = f / (f-Do)

Microscope 160mm Tube Length Optics diagram (from Nikon booklet How To Use A Microscope and Take a Photograph
Note that the parafocal distance is shown as 45mm which indicates this is applicable to Nikon Chrome Free (CF) optics.
It also shows the real objective image 10mm below the top of the tube, i.e. at 150mm from the objective flange.

fo: Objective Focal Length
fe: Eyepiece Focal Length
45mm Objective Parafocal distance (i.e. CF optics)
160mm tube length

195mm from subject to real image
205mm from subject to top of tube

Lo: plane of the objective
Le: plane of the eyepiece
A-B subject on top of slide and below cover glass
A'-B' Real Image from objective 10mm below top of tube
A"-B" virtual image as seen by eye (250mm from eye)

FL (objective) = 160mm / power
Example:
10x objective is 16mm focal length.

FL (eyepiece) = 250mm/(power-1)
Example:
10x eyepiece is 27.77mm focal length

Note:  The 250mm shown in the diagram is
really 10 inches converted to metric with
rounding.  Based on The Microscope and it's Revelations by Carpenter 1856


Nikon Microscope CF Optics, 160mm Tube Length, 45mm Parafocal Distance
Nikon Microscope CF Optics, 160mm Tube Length,
                  45mm Parafocal Distance




Numerical Aperture (Wiki: N.A.)

Camera lenses (Wiki) are marked with f/ numbers which are calculated by dividing the focal length by the effective lens diameter.
For example for the Nikon 300mm (focal length) lens that is f/2.8 the lens diameter is FL/f = dia = 107mm or 4-1/4".
The lower the f/number the "faster" the lens, i.e. the better it works in low light conditions.
Also the lower the f/number the higher resolution if the lens design is diffraction limited (Wiki).  The idea of diffraction limited optical systems applies to microscopes, telescopes, cameras, radio telescopes, etc. but not to low cost optical devices.

The diffraction limited spot size in micro meters for a lens is close to the f/# divided by 2.  So for the Nikon 300mm f/2.8 lens the spot size when at f/2.8 would be 1.4 um.  Note for astronomical telescopes if you want small spot size you need a low f/#.  As a lens is stopped down to higher f/numbers the spot size gets larger, i.e. the resolution gets poorer.  But the depth of field gets deeper.  So when you stop down a camera in order to get a greater depth of focus you are at the same time getting less resolution.  If you want both resolution and depth of focus then focus stacking is the way to go.

The numerical aperture (N.A.) is a measure of the resolving power of a lens used in air and when focused at infinity, like an astronomical telescope or camera it is:
N.A. = D / (2 * FL)  for the Nikon 300mm f/2.8 lens it would be 107mm / (2 * 300mm) = 0.178

The N.A. is defined as n * SIN(theta)
where:
 N.A. is a dimensionless number
n is the refractive index (air=1, water = 1.33, objective immersion oil = 1.515)
theta is the half angle of the triangle formed by the point in focus and the diameter of the objective lens.  For example if the diameter of two objectives are different and the working distance between the lens and the subject is the same the lens with the larger diameter will have a higher N.A.  In a similar manner if two objectives have the same lens diameter and one of them has a smaller working distance it will have the larger N.A.

Note this is exactly the same as a camera where for a given focal length lens the one with the larger diameter has higher resolution and lower f/number.

The resolution (Wiki) of a microscope is given by:
R=\frac{1.22\lambda}{\mathrm{NA}_\text{condenser} +
            \mathrm{NA}_\text{objective}}

Ernst Abbe (Wiki) derived the math relating to microscope N.A. and invented the condenser named after him (Wiki: Abbe Condenser).  He was the optical designer at Carl Zeiss (Wiki: the man, the optical company) and developed their microscopes and also invented the three color corrected lens (Wiki: Apochromat).

The overall magnification of a microscope is the product of the objective power and the eye piece power.
The range of useful magnification depends on the N.A. of the optical system and is given as between 500 and 1,000 times the system N.A.(when viewed by human eyes).
For example for the Nikon
CF Plan 10x/0.30 ∞ / 0 EPI objective the magnification could be between 150X and 300X.
If the overall magnification is below 500 * N.A. then you are not seeing all that you could.
If the overall magnification is above 1000 * N.A. then  you have what's called "hollow magnification", that's to say the image is larger but there's not an increase of detail.  The above guidelines are based on the resolution of the human eye (Wiki: 4 arc minutes)

When a camera is used there are similar guidelines based on the number and size of the camera's pixels.

Digital Camera Resolution Requirements for Optical Microscopy -
This page says for the Nikon 10X / 0.30 N.A. objective the resolution limit is 0.92 um, projected size is 9.2 um and the required pixel size is 4.6 um.
The Nikon D300s has 5.5 x 5.5 um pixels ( 4288 x 2848) so it's pretty close.  But for the whole range of objectives the required pixel size varies between 3.5 um (1X/0.04) to 10 um (100X/1.40) so the D300s is a reasonable fit to all of them. 

Although a board CMOS camera that has pixels that are a 6 x 7 um it's resolution of 728 x 488 pixels is much lower than the Nikon D300s.

Microscope Lens on Camera

The big advantage of this method is much lower cost than using a modern microscope which can easily cost thousands of dollars, whereas the adapters and objectives for this method and in the hundreds of dollars.  The disadvantage of this method is it may be difficult to use modern lighting methods that are much easier with a modern microscope.  There's also the question of using infinity lenses because of the need for a "tube lens".  I have a couple of doublets on order to see how hard it is to use infinity lenses in this setup.

A camera mount that may be suitable for this is the Nikon Multiphot.  Photo studio high power strobe lighting (used for Fig 3 below) should also work.

It turns out that the Nikon D60 (shown in Fig 2 below) is NOT a good choice for this type of photography because it does NOT have live view.  You can focus by looking through the normal TTL viewfinder, but there's no way to magnify the image (maybe with an optional magnifying viewfinder attachment?).  But when the D300s is used and in live-view the (+) bottom is pressed a few times you can see very fine detail which allows focusing.

So, to use this method it's easier if you have a camera that supports live-view.

Fig 1 Adapters Nikon to Objective
Adapters Nikon
                  to Objective
Fig 2 Nikon D60 shown with all 8 extension tubes & Objective.
Adapters Nikon
                  to Objective
Fig 3 sample photo Nikon D300S DX handheld
all 8 extension tubes
Adapters Nikon
                  to Objective
Fig 4 T-mount (42mm) to 25mm Objective adapter
T-mount
                  (42mm) to 25mm Objective adapter
Fig 5 T-Mount (42mm) Extension Tubes each stack is close to100mm
T-Mount
                  (42mm) Tube Lens T-Mount Extension Tubes

The T-mount threads on the extension tubes do not match the
Edmund Optics 100mm extension tube.
Fig 6 "Chipped" Nikon T-Mount adapter
Front
"Chipped" Nikon T-Mount adapter
Back
"Chipped" Nikon T-Mount adapter
These threads match the Edmund Optics parts.

The adapters are:
Nikon camera body to T-Mount (aka: 42mm) (Wiki)
Extension tubes (two sets) length includes camera to T-mount (0.89mm) and T-mount to RMS (2.91 round to 3 mm)
    Tube 1:   7mm
    Tube 2: 14mm
    Tube 3: 28mm
  

T-mount to RMS microscope
10X objective 160/0.17, 45 EP, 10X/0.25 Translation: 160mm tube length/.17 mm slide cover slip thickness (if no number here then no cover slip needed),  45mm (DIN) working distance, 10 power, 0.25 N.A. (Wiki), Yellow color band: 10X

Table of Lens & Extension Tubes

Photo of front of U.S> $100 bill (new issue 2014).
Flashlight at about 45 degrees for light.
Nikon D300s Manual mode adjust shutter for camera recommended exposure (ISO at 200).
Lens code:  [2 letters maker)(power followed by X or XI if infinity)(cg if for cover glass) (nnn extension tube length in mm).
Taken with camera sitting on table top and bill held onto a 123 block with rubber bands.
Focus by using live view and a couple of presses of the magnify button, but it could be better if the camera was better anchored.
Notice extension tubes only reach to 98mm (+3mm camera & objective adapters for 101 mm total) not 160mm, need more extension tubes or a custom tube.
Under each photograph is the exposure time (ISO: 200).
It's difficult to focus the 40X objective by moving the camera, need a stand with slow motion control.


Note:  In the eBay ads for these adapters they typically show a camera and no extension tubes then a microscope objective.   The images you get are the first row in the table below and are not what the objectives were designed to do.

Note the Flange to Focal distance (Wiki) for the Nikon-F is 46.50 mm. 
This is the distance that needs to be added to the extension tube length to get the working focal length.
If the real image is formed 10mm down the main tube so that it is inside the eyepiece then the real image is formed about 150mm from the objective flange.
The last row in the table is for a working focal length of 147.5mm which is pretty close to the desired 150mm.

Lens
Extension Tube Length mm
Working
Focal
Length
mm
Bristol 4X/0.10
RMS




Bristol Microscope
                  Objective 4X/0.10
Shinco 6X/0.15
RMS




Shinco microscope
                  objective 6X/0.15
Made in China
160/0.17
45 EP
10X/0.25
RMS
Made in China
                  microscope objective 160/0.17 cover glass 45 EP
                  10X/0.25
Spencer
Cat. 1076
10X/0.25

RMS



Spencer Cat. 1076
                  microscope objective 10X/0.25 Infinity
Unitron
40X/0.65
RMS


 
Unitron microscope
                  objective 40X/0.65  
Nikon
CF Plan
10x/0.30
∞ / 0 EPI
RMS

Nikon CF Plan
                    10x/0.30 ∞ / 0 EPI Microscope objective
B&L
Micro-Tessar
32mm RMS
(160mm/32mm = 5x)
RMS


&L
                  Micro-Tessar 32mm RMS microscope objective
f/4.5 to f/16
set at f/4.5
ANO
F-4,3
0,95
62363
(160/4.3=37X)
ANO microscope
                  objective F-4,3 (37x) 0.95 PFD=33mm
B&L
4X/0.010

B&L
                    microscope objective 4X/0.010 ∞

Nikon
E Plan
CF
10/0.25
160/-
Nikon E Plan
                  CF 10x/0.25 160/- PFD=45mm
Nikon
CFI E Plan
4x/0.10
∞ / -
WD 30

Nikon CFI E
                    Plan 4x/0.10 ∞ / - WD 30 PFD 60
Plan 20/0.40
160/0.17
DIN

Plan 20/0.40
                  160/0.17 DIN microscope objective
Nikon S
40x/ 0.65
No Cover Glass
RMS
Nikon S 40x/0.65 micrsocope objective No Cover
                Glass
Parafocal dist in Labophot1
mm 36
JIS
36<Focus>45
(40mm)
45
DIN
36
JIS
no focus
works in RMS scope so 33mm
no focus
(50mm)
45
DIN
no focus
(33mm RMS)
no focus
(55mm)
45
DIN
60
CFI


No Ext 3mm

Image Circle2
49.5
Bristol Microscope Objective 4X/0.10 3mm Ext
1/60 s
Shinco microscope objective 6X/0.15 Ext: 3mm
1/40 s
Made in China microscope objective 160/0.17 cover
                  glass 45 EP 10X/0.25 Ext 3mm
1/20 s
Spencer Cat. 1076 10X/0.25 Infinity Ext: 3mm
1/8 s
Unitron microscope objective 40X/0.65 Ext: 3mm
1 s
Nikon 10x Infinity Objective
B&L Micro-Tessar 32mm microscope objective -
                  close-up lens f4.5 ANO Objective F-4,3 (37x) 0.95 PFD=33mm
B&L microscope objective 4x 0.010
Nikon E Plan CF 10x/0.25 160/- 45mm 3mm ext



Ex1: 10mm
56.5
Bristol Microscope Objective 4X/0.10 10mm Ext
1/160 s
Shinco microscope objective 6X/0.15 Ext: 10mm
1/500 s
Made in China microscope objective 160/0.17 cover
                  glass 45 EP 10X/0.25 Ext 17mm
1/320 s
Spencer Cat. 1076 10X/0.25 Infinity Ext: 10mm
1/320 s
Unitron microscope objective 40X/0.65 Ext: 10mm
1/3 s

B&L Micro-Tessar 32mm microscope objective -
                  close-up lens f4.5





Ex2: 17mm
63.5
Bristol Microscope Objective 4X/0.10 17mm Ext
1/160 s
Shinco microscope objective 6X/0.15 Ext: 17mm
1/500 s
Made in China microscope objective 160/0.17 cover
                  glass 45 EP 10X/0.25 Ext 17mm
1/200 s
Spencer Cat. 1076 10X/0.25 Infinity Ext: 17mm
1/125 s
Unitron microscope objective 40X/0.65 Ext: 17mm
1/4 s

B&L Micro-Tessar 32mm microscope objective -
                  close-up lens f4.5





Ex3: 31mm
77.5
Bristol Microscope Objective 4X/0.10 31mm Ext
1/250 s
Shinco microscope objective 6X/0.15 Ext: 31mm
1/125 s
Made in China microscope objective 160/0.17 cover
                  glass 45 EP 10X/0.25 Ext 31mm
1/60 s
Spencer Cat. 1076 10X/0.25 Infinity Ext: 31mm
1/250
Unitron microscope objective 40X/0.65 Ext: 31mm
1/2 s

B&L Micro-Tessar 32mm microscope objective -
                  close-up lens f4.5





Ex3+3: 59mm
105.5
Bristol Microscope Objective 4X/0.10 59mm Ext
1/320 s
Shinco microscope objective 6X/0.15 Ext: 59mm
1/50 s
Made in China microscope objective 160/0.17 cover
                  glass 45 EP 10X/0.25 Ext 59mm
1/40 s
Spencer Cat. 1076 10X/0.25 Infinity Ext: 59mm
1/50 s
Unitron microscope objective 40X/0.65 Ext: 59mm
1/10 s

B&L Micro-Tessar 32mm microscope objective -
                  close-up lens f4.5





Ex1+2+3+1+2+3: 101mm
147.5
Bristol Microscope Objective 4X/0.10 101mm Ext
1/100 s
Shinco microscope objective 6X/0.15 Ext: 101mm
1s
Made in China microscope objective 160/0.17 cover
                  glass 45 EP 10X/0.25 Ext 101mm
1/3 s
Spencer Cat. 1076 10X/0.25 Infinity Ext: 101mm
1/3 s
Unitron microscope objective 40X/0.65 Ext: 101mm
1 s

Nikon CF Plan 10X w/Tube Lens FL 118mm 100mm ext

B&L Micro-Tessar 32mm microscope objective -
                  close-up lens f4.5






Focused Tube Lens






with Tube Lens
Nikon CF Plan 10X w/Tube Lens FL 118mm bellows




Hand held
waiting for adapter
Nikon CFI 4x
                  objective & 200mm tube lens



Note1: The Labophot microscope focusing stage will not go up to a parafocal distance of 31mm (RMS) and that may be why some of the objectives do no focus.
Note 2: With the objective mounted close to the camera the image circle is smaller than when it's out at 160mm so you can get some idea of the image circle.

Tube Lens

A tube lens is used with the Nikon CFI (Chrome Free Infinity) optics system.  One way to use the CFI objectives with a camera is by placing them in front of a telephoto lens using a filter thread to 25-0.75mm adapter.  But I'd like to incorporate a true tube lens into an optical adapter system.  Since a classical RMS microscope tube takes eyepieces that are 23.2mm in diameter it's a little too small for tube lens optics, so I'm using T-mount parts which have an ID greater than 30mm.  C-mount works OK for RMS tube size optics hence most of the camera to microscope adapters use C-mount parts.

Note:  The T-mount threads (should be M42-0.75) on the Edmund Optics parts do not mate with theM42 on any of the Made in China parts.
The problem is with the M42 Made in China parts is that they are using M42-1.0 lens mount threads, not the M42-0.75 threads that are specified for T-mounts.

Note:  If a thread is specified just a M2 thread then it's the M42 Lens thread (Wiki) which is M42-1.0.
           If a thread is specified as T-mount (Wiki) then it's the M42-0.75 thread.
           It's easy to tell the difference using a metric thread pitch gauge.

Edmund Optics sells a "Nikon 200mm tube lens" that's mounted in a 38mm threaded housing p/n: 58-520, but it's $250.  It's possible the actual lens is p/n: 45-415?

The 45-415 lens is used as the objective lens in the Edmund Optics Cage System   Autocollimator

Fig TL1 T-Mount (42mm-0.77) Tube Lens Housing & Lenses
Anchor Optics (the discount part of Edmund Optics) has some
lenses that are suitable for use as a tube lens.
T-Mount
                  (42mm) Tube Lens Housing & Lenses
Fig TL2 100mm Ext & stack of two sets of 3
each about 100mm tall.
Edmund Optics 52-296 100mm T2-mount extension on left
 Made in China M42 (-1.0) extension tubes on right
T-Mount
                  (42mm) Tube Lens T-Mount Extension Tubes
Note: T-mount on left, M42 on right.
Fig TL3
T-mount Lens holder
with Tube lens installed
T-Mount
                  (42mm) Tube Lens Holder with Lens

Edmund Optics 57-977

In this photo the lens is
1mm from the front of
the top mating surface.
It's also about 10.5mm
from the bottom mating
surface.
Fig TL4 Nikon CF Plan 10X objective & 118mm FL tube lens
& 100mm T2 ext tube.
It's difficult to get the focus set and
make the image sensor be parallel with subject.
But this is the best image so far!  (June 2014)
Notice the blue dots (new $100 bill back side)
Nikon CF
                  Plan 10X w/Tube Lens FL 118mm
Fig TL5 D60 for illustration, actual photos taken with D300s.
Note front 42mm to RMS adapter does not match T-mount threads
on lens mount so there is a gap.
Nikon 10X CF
                  Plan objective with home made tube lens
With this setup a photo of the mountains is all blurry, i.e. this setup
has the tube lens out of focus.
Fig TL17 Camera with tube lens with objective adapter
and objective removed.  It's now a 200mm telephoto lens.
Focus is set to infinity and locked with setscrew.
Photo taken with Nikon D60.
Nikon to t-mount adapter
100mm T-mount extension tube
Focusing T-mount adapter
T-mount lens holder for 30mm dia lens holding tube lens.
Tube Lens
                  used as 20mm Telephoto and focused at infinity.
Fig TL6 with bellows to allow focusing.
Fig TL5 shows the tube lens too far from the camera to be focused.

Nikon 10X CF
                  Plan objective with home made tube lens
Fig TL7 image of mountains with setup shown in Fig TL6.
Nikon 10X CF
                  Plan objective with home made tube lens
TL 20 same as T-17 above but with ISO microscope adapter.
ISO is a 38mm (1-1/2") camera interface for microscopes.
Micro
                  Photography Nikon D60 with Infinity Tube & ISO
                  adapter
Fig TL8 Nikon CF Plan 10X objective & 118mm FL tube lens & bellows
NOTE: The bellows rails are in the way of where the subject wants to be.
Nikon 10X CF
                  Plan objective with home made tube lens & bellows
The objective to camera flange distance can be measured directly
when the bellows is removed from the camera and is 89.75mm.
When the Nikon-F flange to focus distance of 46.50 mm is added
to that it comes out 136.25mm, but the nominal FL of the tube lens
is 118mm so there's a discrepancy of 18.25mm. That's because the
tube lens sits back from the objective flange pretty much by that
amount.

If instead of measuring camera flange to back of objective the
distance from the camera flange to the front of the T-mount adapter
is measured the result is 65.25mm.  Adding 1mm for the lens shelf
and 46.50mm for the camera focal dist gives 112.75 which is closer.
Maybe the center of the lens is that far from the edge?

On order is Edmund Optics p/n: 45-415
MgF2 Coating, Achromatic Doublet Lens
200mm FL x 30mm dia lens to fit
existing 57-977 T-mount thick lens holder
10mm T-mount Ext tube p/n: 52-294
40 to 65mm adj T-mount ext tube p/n: 58-755


Fig TL9
New 45-415 Tube lens mounted in 57-977 thick lens T-mount.
100mm + 40-65mm T-mount extension tubes.
After removing T to RMS adapter and objective,
focused at infinity (local mountains).
Nikon 10X CF
                  Plan objective with home made tube lens & bellows
17 July 2014 Note on Edmund 40 to 65mm adj T-mount ext tube p/n: 58-755:
There is a 1.5mm pinch screw to lock adjustment.
There is an internal 32mm ID position for a lens.
The retaining ring has an ID of 29mm, so could be used for the 30mm tube lens.
Fig TL10
Local mountains
200mm tube lens 1/640 sec, ISO 200
Nikon 10X CF
                  Plan objective with home made tube lens & bellows
Fig TL11
100 dollar bill clock
Taken with setup in Fig TL9
Note magnification is higher with 200mm tube lens in this photo
compared with Fig TL8 taken with 119mm tube lens.
Nikon 10X CF
                  Plan objective with home made tube lens & bellows
TL 12 Actual camera and test subject for Fig TL11
Nikon 10X CF
                  Plan objective with home made tube lens & bellows
Fig TL13 taken with Nikon D60 + 18-200mm DX ED lens set to 1/640 sec, same ISO and shutter speed as in Fig TL10.
Data shows f/22.
Nikon D60 +
                  18-200mm DX ED lens set to 1/640 sec

TL 14 D300s, 80-210mm Lens, 52mm-25mm, E Plan 4x/0.10 ∞ / - objective Note: Manual focus mode and set to ∞.
D300s, 80-210mm Lens, E Plan 4x/0.10 ∞ / -
                    objective

52mm to 25mm adapter from cnscope


A tube lens is supposed to be needed when using infinity type objectives.  So I'm going to do some experiments making one.  The tube lens is to both allow more room in a microscope for additional optical elements, like filter cubes, and to provide some image compensation to improve image quality.  To go along with this some objective lenses use a 25mm thread instead of the smaller RMS thread to allow higher N.A. lenses that can be made using the RMS thread.  The Nikon CFInn series of objectives in an example.

There are a number of different "mounts" that might be used. C-mount (Wiki) is intended for movie and video camera lenses (it has a 1" thread size so the hole is smaller than that), but it might cause vignetting of the image on a full size 35mm camera.  The S-Mount (Wiki) is for very small board cameras and has a 12mm thread so is much too small. 

T-mount vs. C-mount
Most of the parts I'm using for this tube lens experimentation are also available as C-mount which works with TV/CCTV/Video camera lenses and is smaller in diameter and lower is cost.  I've chosen to work with T-mount because the lens diameters are larger thus have faster f/numbers and maybe will be working more near the center than the edges both of which should lead to higher quality images.  The max lens diameter that will fit in a stock C-mount lens holder is 25.4mm (1"), so the 45-415 will not work in a C-mount system.

This will be done by mounting a lens in a T-mount (Wiki, M42-0.75 threads)  tube so that the distance between the objective and tube lens and between the tube lens and camera imaging chip can be adjusted.

From the Edmund Optics catalog B141C page 315:

D1(mm) = 2 * F1 * N.A.             [Equation 1]

L(mm) = [(D2 - D1) * F2] / D     [Equation 2]

Where:
L = dist between objective and tube lenses
D = Field diameter
D1 = Objective Exit Pupil diameter (mm)
D2 = Tube Lens Entrance Pupil diameter (mm)
F1 = Objective Focal Length (mm) is a function of the tube lens focal length, see Eq 1 above.
F2 = Tube Lens Focal Length (mm)
N.A. = Objective Numerical Aperture

So, when using the Spencer, Cat. 1076, 10X/0.25, Infinity lens with two different tube lenses here are some calculations.
Entrance pupil = 5.23 mm by measurement, not optically calculated
D1 =Exit pupil = 9.1mm by measurement, not optically calculated

The Nikon D300s (Nikon data)has an imaging chip size of: 23.6 x 15.8 mm so D is about 15mm.
There are 4288 x 2848pixels on the chip.
Each pixel is 0.005504 x 0.005548mm or 5.5 x 5.5 um

The two tube lenses are shown in the table below.  Note these are low cost lenses, there are very nice lenses available with good coatings for much more money.

Edmund Optics Lens p/n:
96259
20989
45-415
F2 Focal Length Tube Lens (mm)   118
210
200
Tube Lens O.D. (mm)
29
29
30
D2 =  Tube Lens Entrance Pupil (E.O. p/n 57-977) (mm)
28
28

F1 = Tube Lens Focal Len / 10x 11.8
21.0

D1 = 2 * F1 * 0.25. 5.9
10.5*

L = [28 - 9.1) * F2] / 15
149
264

Note * The calculated exit pupil is larger than the physical hole in the objective, this may be a problem?

Nikon CFI60 Optical System - All of the CFI60 objectives use a 25mm thread rather than the RMS thread.

Basic Principles of Infinity Optical Systems - includes a flash calculator with Tube Lens to image distance (160 to 200mm) and Objective Focal Length 2 - 40mm (Power 80 to 4) as variables.

Infinity Head (built-in tube lens)

This infinity head came from an unknown microscope.  It has a 38mm dovetail, smaller than the Nikon CF head 48mm dovetail.
After installing Nikon CFW10 eyepieces and taking the head outside and pointing it to the distant mountain ridge it was almost in focus.
Extending the eyepiece focus almost all the way out brought the ridge into focus.  Thus confirming that this is an infinity head.
The entrance pupil diameter on this head is 9mm and on the Nikon CF head it's 14mm.

Infinity Head Fig 1
Infinity
                  Microscope Head
Infinity Head vs. Nikon CF Head
Infinity
                  Microscope Head


Epi Illumination

It's possible to illuminate the subject using the objective lens as a condenser (it inherently has the same N.A. as a condenser as it has an an objective).  This can be done using a beam splitter between the objective and tube lens.  Light is fed from the side of the beam splitter, reflects to the objective and the light from the objective goes to the camera.  Possible parts are:
Edmund Optics T-mount for beam splitter p/n: 63-981
40mm 50R/50T cube beam splitter p/n: 32-506
In addition there needs to be a collimated light source to drive the third input port so the cost is going to be over $1,000.

Infinity Microscope Optics Patents

725839 Apparatus for Facilitating the Sighting of Distant Objects from Submarine Boats, Barbettes, &c. Howard Grubb, Dec 13, 1901, 359/405
Parallel light rays travel down the tube.  Grubb mentiones looking up the tube and you will see an image at infinity.  But the telescope objective for the bottom part much be above the eyepiece at an optical distance of it's focal length, i.e. it's focused at infinity.

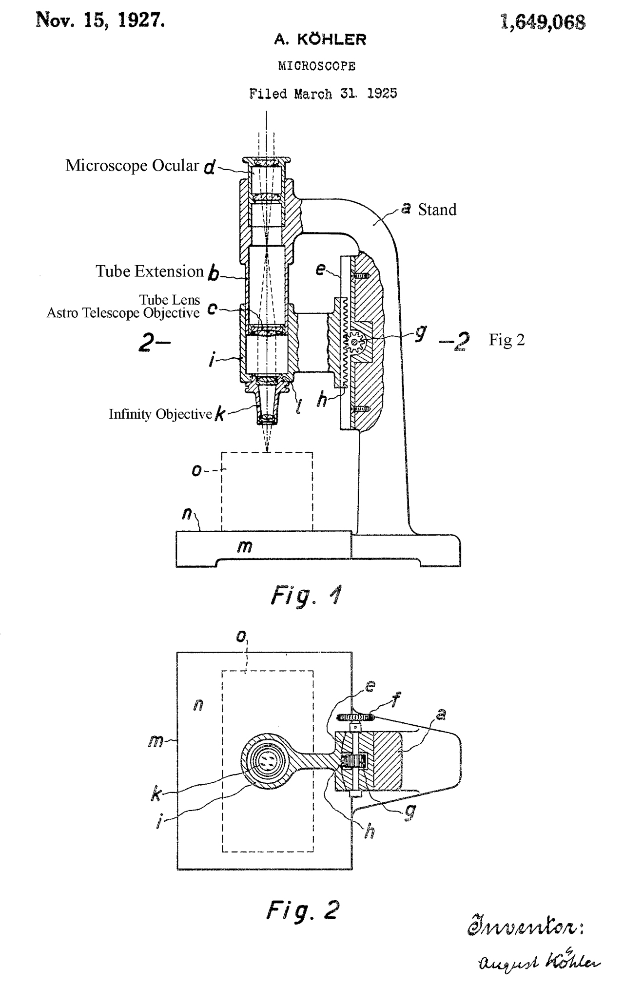
1649068 Microscope, August KöhlerZeiss Carl Fa, Apr 16, 1924, 359/379 -
The stand (a) holds in a fixed position the ocular (d) and substage (o).
Only the infinity objective (k) moves.
Instead of using the term "tube lens" the patent calls it an astronomical telescope objective (c).
So the combination of the ocular (d) and tube lens (c) makes an astronomical telescope which is focused at infinity.  This means that if you remove the objective lens and it's mounting plate and have just the camera and tube lens installed  you should be able to take photos of subjects that are at infinity.  Removing the stereo head from an infinity tube length microscope allows using the head like a pair of binoculars.


My first try at an infinity tube system for system was very fuzzy.  The 100mm T-mount extension was too long so not focused at infinity.
But after reading this patent it's clear that the head must act as an astronomical telescope, that's so say a telescope focused at infinity.

Patent 1649068 Microscope, August
                          Köhler, Zeiss Carl Fa, Apr 16, 1924, 359/379
                          -


3132200 Microscope optical system, American Optical Corp, Jun 5, 1961, 359/379, 359/763 - aimed at having tube and stage fixed to frame an only moving nose for focus.


Camera in Microscope Eyepiece Tube

Imaging Solutions Camera Adapter

The Nikon to 23 or 30mm microscope ocular tube is from eBay seller imaging-apparatus.  The adapter contains a couple of lenses to move the real image from 10mm below the top of the eyepiece tube up to the camera image sensor and at the same time add some (2X) magnification to better fill the imaging chip.

Fig CoM4 Nikon D60 (for illustration only)
With Nikon-T adapter and T-23mm adapter
On Unitron microscope.
Camera in
                  Microscope Eyepiece Tube
Fig CoM1
1. Nikon to T-mount adapter
2. T-Mount to 23mm microscope eyepiece tube adapter w/2 lenses
3. 23mm eyepiece tube to 30mm eyepiece tube adapter

Camera in
                  Microscope Eyepiece Tube
Fig CoM2
same as Fig CoM1 except showing bottom of T-Mount to 23mm
and second lens.
Camera in
                  Microscope Eyepiece Tube
Fig CoM5
Camera in
                  Microscope Eyepiece Tube

Fig CoM3  adapters mounted on camera.
Camera in
                  Microscope Eyepiece Tube
Fig CoM6 on Mitutoyo Toolmakers Measuring Microscope
Camera in
                  Microscope Eyepiece Tube
Fig CoM7 Nikon Labophot Microscope
See Example image No. 1
Nikon Labophot
                  Microscope
Camera Adapter sold as 0.5x
1230 pixels * 5.5 um/pixel = 6765 um = 6.765mm
6.765 / 5x objective = 1.353 power camera adapter
Calibrated
                  microscope slide 5x objective Nikon Labophot
In Labophot using light from below 10x E Plan objective
Labophot
                  Microscope D300s Camera Relay Lens
From left to right in Photoshop = 3694 pixels canvas is 4288 pixels
3694 * 5.5 um = 20.3mm
3694/4288 * 23.6mm = 20.3mm


Optexcom.com Camera Adapter

From eBay seller newhoper.  Marked as a 1x relay lens that comes with a Nikon to T-mount adapter, and a T-mount to C-mount adapter and the actual optics in a housing with a 23mm nose and C-mount output, along with a couple of 23mm to other size eyepiece tube adapters (29.9mm yellow band, 30.5mm).

The magnification of both this (Opterexcom) and the above Imaging Solutions relay lenses is very close to the same magnification, the Optexcom shows vignetting that is not in the Imaging Solutions relay lens.

Optexcom newhoper Microscope 1x Relay Lens

x
3719 pixels * 5.5um = 21.54mm

Comparing Image Solutions and Optexcom Camera Adapters

Although the Image Solutions relay lens is marked 2x and the Optexcom is marked 1x, they have essentially the same magnification.
By measuring Vernier calipers set to 0.5mm (1.0mm is too wide), see photo below the true magnification can be shown to be 2X for both relay lenses.
So the Optexcom lens is mismarked at 1X, it's really 2x.

The diameter of the lenses used in the Imaging Solutions camera adapter are considerably larger.

Imaging Solutions on left                  Optexcom on right



These camera to microscope adapters consist of:
* a camera to C-mount adapter
* a C-mount to microscope relay lens.

Here is a C-mount to Microscope adapter with no optics:
Microscope to
                    C-mount adapter
amoyca2011
Microscope Relay
                  Lensmarked 0.5x
Imaging Solutions on left, Optexcom on right

marked 0.5x
Microscope
                  Relay Lensmarked 0.5x
Imaging Solutions on left, Optexcom on right Vernier Calipers set to 0.5mm
1920 pixels * 5.5 um/pixel = 10.56mm
10.56 / 0.5 = 21.1x
21.1x / 10x objective = 2.1x relay lens.
Vernier Calipers
                  set to 0.5mm Nikon E 10x objective
The scale slide has 1 um per small division.
It it 1.0 mm divided into 100 divisions.
The central square is 20 divisions wide, i.e. 5um squares.


Microscope Relay
                  Lensmarked 0.5x Input
Imaging Solutions
Labophot
                  Microscope D300s Camera Relay Lens
Optexcom
x
Taken with 4x objective
scale end to end = 1230 pixels * 5.5 um/pixel = 6765 um = 6.765mm
6.765mm / 4x objective = 1.691mm or 1.691x power camera adapter
Note: dark circle in corners.
Calibrated
                  microscope slide 5x objective Nikon Labophot



The big advantage of this method is being able to utilize modern lighting methods and the big disadvantage is the high cost of a microscope that does not have an eyepiece that moves as the scope is focused. The accessories needed for each of the lighting methods and special objectives for each lighting method also add expense.

Note that it's very difficult to mount a digital SLR camera on top of an older microscope using an eyepiece adapter.  The problem is that old microscopes move the tube up and down to focus and the camera weight drives the tube down and can break the slide and/or damage the objective.  Modern microscopes mount the camera to a fixed part of the microscope frame so this is not a problem.

There are two optical approaches to doing this.

Afocal (Wiki) where the camera is focused at infinity and takes a photo through the eyepiece lens.  Nikon made an adapter (Model 2?)  in two parts where the eyepiece was removed, the lower part was clamped to the microscope barrel, like the Unitron below, the eyepiece was reinstalled, then the upper part was installed with the camera.

In eyepiece replacement the microscope eyepiece is removed and replaced by the camera with an adapter (typically 23mm).  I think these need a relay lens since the focal plane for a real image is down inside the microscope tube and that needs to be relayed up to the imaging chip in the camera.

Unitron No. 83444 Microscope

This microscope has been in a storage container for a few decades along with microscope related items.  I pulled it out when I started this web page.

There are two sub-stage lights, the one that came with the microscope is powered by 120 VAC (Fig U4) and the one from eBay that uses a LED (Fig U3 below).
Just below the slide there's a lens in the plate and below that a diaphragm that is made up of very thin metal strips and it needs help.  It does not open fully or close fully.

This is a first generation compound microscope.  All the optics are mounted on the moving tube.  When you put a heavy camera at the eyepiece the tube moves down.
This appears to be the microscope in Fig 1 of the book The Microscope and how to use it by Dr. Georg Stehli, 1955.  The condenser is shown in Fig 12 (pa 24).
Magnification = (tube length) /(objective focal length)
Max Magnification = 1000 * Numerical Aperture

The next generation have the optics as part of the frame and the stage that holds the slide moves up and down.


Fig U1
Unitron No.
                  83444 Microscope
Fig U2
Unitron No.
                  83444 Microscope
Fig U3 with LED light
eBay "Microscope LED Illumination"
Unitron No.
                  83444 Microscope
Fig U4 stock 120 VAC lamp
The pin that mates with the microscope frame is
5.43mm x 13mm
Unitron No.
                  83444 Microscope
Fig 5 Condenser diaphragm (needs work)
The condenser lens is fixed to the sub-stage,
it's not part of this assembly.  Some Kroil penetrating
oil freed it up.
Unitron No.
                  83444 Microscope



Lighting Methods

In Critical illumination (Wiki) the image of the light source is focused at the object plane by the condenser (Wiki).  The reason for this is to get the maximum amount of light on the subject.  The problem is that you sometimes see the filament image overlaid on the subject.

Köhler illumination (Wiki) improves on Critical Illumination by blurring the image of the filament while still getting plenty of light on the subject.
Note this is the same
August Köhler (Wiki) who came up with the "tube lens" (see above) where an infinity objective is used.  This was done in order to have a fixed ocular, but in modern microscopes it provides better images because the parallel light rays do not have as much distortion when passing through glass plus there's more room for beam splitters, filters and/or phase plates because the optical path length can be however long the microscope designer needs, i.e. not limited to some fixed length like 160mm.

13 Aug 2014 - For looking at pond water the best seems to be darkfield (obtained by pushing in the Phase 3 slider into the Labophot condenser and at the same time using a polarizing filter on top of the field illumination source and sitting in a well on top of the stand and below the head.  By turning the filter on the field source you can get the darkest background then back off a little.

Abbe Condenser (Wiki)

Needs to be adjustable in X, Y & Z and to have an adjustable iris and light brightness.
The key idea is to match the N.A. of the condenser and objective lens.

Köhler Illumination (Wiki)

"Köhler illumination acts to generate an extremely bright and even illumination of the sample and ensures that an image of the illumination source (for example a halogen lamp filament) is not visible in the resulting image."

Phase telescope or Bertrand lens (Wiki)

Alignment aid for various parts of optical microscope.

Reflected or Transmitted Light

When looking at opaque subjects like metal or semiconductor wafers the light must come from above.  One way to do that is use an external microscope light and aim it at an angle down on the subject.  But there are more sophisticated ways to illuminate the subject where the light comes down the optical tube and through the objective.

The instruction booklet for the Nikon Multiphot system talks of two types of illumination (Microscopyu):
Episcopic (Microscopyu) where the light is reflected off the subject and diascopic where the light is transmitted through the subject.

from MicroscopeU "the optical train"


Light from Above (aka: Reflective, Episcopic)

Differential Interference Contrast (DIC) also known as Nomarski differential interference contrast (Wiki).  This requires a microscope that has the needed optical paths and a polarizer and strain free objectives.  A Wollaston prism (Wiki) is used to generate the two orthogonally polarized light rays.  The Nomarski prism (Wiki) is more flexible in use than the Wollaston prism (Wiki).

In semiconductor fabs a common thing that's done is to grow an epitaxial (Wiki) layer on a wafer.  Since the wafer does not transmit light when looking at the layer it's illuminated from above with the light going through the microscope objective lens.  I think this is why it's called epi illumination or epi(something).  The apparent color or the number of fringes tells you something about the thickness of the layer.

For many microscopes you can remove the eyepiece head, install an epi vertical illuminator and reinstall the eyepiece head thus adding epi illumination capability.  Some epi light sources are only for white light but the more fancy ones allow the illumination light to be at some specific wavelength (which is blocked from going to the eyepiece) and the eyepiece sees only some other wavelength (Wiki: Epifluorescence microscopy).  Of course you could also do this with the light coming from below but that also requires a condenser that works with the wavelength of light used for illumination and a narrow band blocking filter between the eyepiece (or camera) and the subject.

Light from Below (aka: Transmission, diascopic)

Bright-field microscopy (Wiki) is the classical illumination method.  The image depends on the opacity and color of the subject.

Dark field microscopy (Wiki) blocks the main light and allows scattered light to be seen.
By mistake the Ph3 slider was pushed in for phase contrast lighting, when I was using a 10x objective and so got pseudo darkfield lighting.
This allows seeing bacteria that otherwise would be impossible to see with brightfield illumination.
See pond water video:  Labophot microscope

Phase contrast microscopy (Wiki, Wiki) the image depends on the optical length of the subject.
Gray scale image.  Can by used on living biologic samples.
2616334 Phase microscopy, Zernike Frits, Nov 25, 1947, 59/370, 359/580, 359/489.7

Phase Contrast Objectives
The N.A. of the condenser needs to be close to the N.A. of the objective.
Condenser
Phase #/N.A.
Objective
Power&Category/N.A.
PhL 4DL/0.1
Ph1
10ADL/0.25
10DL/0.25
10DL/0.3
20DLL/0.50
Ph2/0.52
20DL/0.4
Ph3
40DL/0.7
40DL/0.55
40LWD/0.55
60x/1.40
63x/1.25
100DL/1.30
Phase contrast condensers are available as:
Abbe design (no correction for chromatic or spherical aberration)
LWD - for Long Working Distance objectives
ELWD - for Extra Long Working Distance objectives (typically inverted scopes)
There needs to be alignment of the system in order to work correctly.

There are different categories (from MicroscopyU):

Polarized light microscopy (Wiki) can be done in a number of ways.  How the subject effects the polarization determines the brightness of the image.  Strain Free Objectives are needed.

Stand Alone Video Systems

After watching a YouTube on using 1070nm IR to make silicon transparent (IR Ref 2) I started looking into what models Hayear offers.
They have cameras ranked by the output from the lowly BNC, VGA and USB type to HDMI.

Related

Microscope Objective Standards
Table of Microscope Objectives & photos taken with camera (not microscope)
B&L Stereo Zoom Microscope
Unitron No. 83444 Microscope
Mitutoyo Toolmakers Measuring Microscope 176-134
Nikon Labophot Microscope & accessories
Nikon Multiphot stand & Table of Nikon "phot" microscopes
Nikon SMZ-U Stereo Microscope
Simple Microscopes, Foldscope, Leeuwenhoek Replica, Bullet

B&L StereoZoom microscope
Electrical Optical Gadgets
EOG Electro Optical Gadgets
Flashlights
LEDs
Light
Mitutoyo Toolmakers Measuring Microscope 176-134
Multiphot - Nikon macro photography stand
Nikon Camera
Optics
Optical Bench
Optical Spectrum Analyzers
Weston Light Meters

Links

Leica Science Lab -

Nikon Microscopy U -

Olympus Microscopy -

Zeiss Group - U.S. Carl Zeiss Microscopy - Light Microscopes  -

Molecular Expressions at Florida State University - Introduction to Optical Microscopy, Digital Imaging, and Photomicrography - Zeiss -

photomacrography.net - form with many microscope photography topics

FAQ: How can I hook a microscope objective to my camera?

Charles Krebs Photomicrography


Safe Microscopic Techniques for Amateurs. Slide Mounting.

RafCamera - many pricey microscope adapters

eBay seller:  newhoper - microscope adapters

Infinity objective on low-end zoom telephoto works fine - the only problem is getting the lens by itself focused at infinity which may not be what you get by turning the focus as far as it will go.  Often infinity is back a little.

Microscope objectives in photography by John Hallmen -

Conversion of f/# and NA


Back to Brooke's: PRC68, Alphanumeric Index of Web Pages, Contact, Products for sale

Page Created 17 May 2014