Nikon Multiphot system

© Brooke Clarke 2012

Background
Description
Phot Family
    Apophot
    Multiphot
    Biophot
    Fluophot
    Epiphot Inverted Metallurgical
    Alphaphot
    Metaphot  Metalurgical
    Labophot
    Microphot
    Diaphot Inverted
    TMS
    Optiphot
Stereo Microscopes
    B&L StereoZoom 4
    Nikon SMZ-U
Related
Links

Background

I have an interest in Macro and Micro photography, see my Close Up web page.  A tripod is awkward to use and a stand to hold the camera is much more user friendly.  This is much more than just a camera stand, it's a complete system including a lower illumination light source and there are many accessories that I don't have including some fantastic (read Expensive) lenses.

This is a 1970 to 1980 time frame macro photography setup by Nikon.  See their Multiphot Museum web page.

This system was designed to span the gap between 1:1 images that can be taken using just a camera and close up lens and the above 10x power were a microscope works best.
So the range of magnifications is on the order of 1X to 10X.  It can also be used with a trinocular microscope for higher powers.

Here's their suggested magnification range using the Micro-Nikkor lenses made for this system.  Showing only 35mm data.

Lens
Magnification
120mm f/6.3 M39 Leica (Wiki)
1/3 to 4x
65mm f/4.5 M39 Lieca
3.5 to 10x
35mm f/4.5 RMS (Wiki)
8x to 20x
19mm f/2.8 RMS
15x to 40x


Description


I don't yet have any documentation on this system so will not name the parts now.  If you have any sales brochures, manuals, etc.
The lamp housing is missing that fits on the horizontal rail leading to the Diascopic illuminator.  I need one of them.
please let me know if you can help.

Photos from eBay seller

Fig 1
Nikon Multiphot system
Fig 2
Nikon Multiphot system
Fig 3
Nikon Multiphot system
Fig 4
Nikon Multiphot system
Fig 5
Nikon Multiphot system
Fig 6
Nikon Multiphot system

Starting with the Multiphot

The parts may not be assembled in the proper location or orientation.

This system was designed to span the gap between 1:1 images that can be taken using just a camera and close up lens and the above 10x power were a microscope works best.
So the range of magnifications is on the order of 1X to 10X.  It can also be used with a trinocular microscope for higher powers.
Fig 11 Overall View
Nikon Multiphot system
Fig 12  This is a spare Nikon Lens Holder to Bellows stage
without the shutter and bellows plate.

Nikon lenses mount to this side and there's a pin to release them.
This is a bottom view
Nikon Multiphot
                system

Fig 13 top view showing the socket for the shutter.  The three posts
are for the bellows support plate.

Nikon Multiphot
                system
Fig 14 Nikon-F Adapter (replaces the 4x5 camera
When using T-mount extension tubes the bellows and shutter
are not needed.
Nikon Multiphot
                system
Fig 15 Diascopic Illumination (from below) where the lamp filament is focused on the subject to get the maximum lighting.  There are three possible lens plates in the illuminator: 120mm, 65mm, 35mm or 19mm.
Note Nikon made Macro-Nikkor lenses with those same focal lengths and they are color coded in matching colors.  The two shortest lenses are RMS microscope threaded.  The Nikon-S series microscopes were of the same vintage and are illustrated in the Instruction booklet.  The mirror can be tipped for oblique illumination or darkfield illumination.

phot Family

Some of these have a binocular head as standard and so in stock form can not be used for photography, but there's a optional trinocular head that will accept one of the camera adapters (FMF, PFM, HFM, EFM CFM).  The trinocular head comes standard on other models.

These are also referred to as the V-series microscopes.

Notice that with the exception of the Multiphot, all the other microscopes mount the camera so that it's weight does not tend to move something.
When you mount a camera on a classical microscope it will tend to push the tube down so only very light weight cameras can be used.
This is one of the reasons the August Köhler patented a microscope where only the objective moves and the eyepiece and stage fixed.  This system makes use of the tube lens and has what's called infinity optics.

The phot microscopes have the eyepiece fixed to the stand and move the stage for focus.

All of the "phots" are based on a 160mm tube length and 45mm parafocal distance.  The objectives will be marked 160/- (no cover glass) or 160/0.17 (0.17mm cover glass).
Some of these are the older type that require matched objectives and eyepieces to make some optical corrections.
The newer ones use CF (Chrome Free) objectives and CF eyepieces where there's not eyepiece corrections.

The newer series of microscopes are the Eclipse models that use the CFI60 (CF Infinity optics with 60mm parafocal distance instead of the prior 45mm parafocal distance).
These objectives have 25mm threads instead of the RMS threads used on the prior models.
The Eclipse microscopes call the head the "eyepiece tube" because that's where the tube lens is located.  There are both binocular and trinocular tubes available for the Eclipse models.
Also there are a number of accessories that fit below the eyepiece tube such as a 1" tall spacer to raise the eye level of the oculars.
1967
Apophot
Part of the "S" series (black) Nikon microscopes.
Uses 160mm tube length objective with 36mm parafocal length.  Not the more modern chrome free (CF) objectives.
Along with that is the need to match the eyepieces to the objectives to get all the corrections.
Nikon Apophot Table micro
                        photography system Nikon Apophot Microscope stand only, no
                          table


1970 - 1980
Multiphot
This is really more a camera than a microscope although it can be
used with a camera.
Nikon Multiphot Macro Copy Stand
1976
Biophot
VBS (only has the stock 12V 100 Watt lamp house) and VBD (allows second upper high pressure Mercury light source) models.
First microscope to use the CF (Chroma Free) optical system which uses CF eyepieces and CF objectives, but still RMS thread objectives.
160mm tube length and 45mm parafocal distance.
Uses a 100 Watt external lamp house.
Built-in 5 push-button color filters and a release button on right side.
Not shown n this photo is the photo support bracket.

Nikon Biophot microscope Nikon Biophot Optical Path





Fluophot
Uses the DM430 cube holder
diascopic (bottom) and episcopic (top)  illumination
Web page by an owner
shown with a film camera and film camera adapter.
Nikon Fluophot microscope
1997
Epiphot Inverted Metallurgical


The first (no number) version uses BD objectives so it has 26mm threads.

cubes for Brightfield, Darkfield, DIC and Polarizing attachments, epi-flourescence cubes

200 series
much smaller than the 300.
Eyepiece tubes:  B2 binocular, F2 trinocular, T2 trinocular, UW2 (30mm tube) trinocular (all infinity tubes).
Very modular

300 series
Nikon Epiphot 300 Metalurgical microscope
Fixed binocular head
closed system but with more light output ports and intermediate magnifications.

** This is where the CF EPI objectives are used (note: RMS threads).




Alphaphot
introductory/teaching microscope
YST stand uses 100VAC 20Watt Tungsten lamp inside base.
YSH stand uses 6VDC 20 Watt Halogen lamp inside base.
Interpupillary distance adjusts in linear mode.
can do Köhler illumination
The heads for the Optiphot, Metaphot, Labophot & Alphaphot are interchangeable
YS stand, sliding binocular head
Nikon Alphaphot YS microscope
YS Stand
Monocular head
Nikon Alphaphot Microscope


1976
Metaphot  Metalurgical
Both top and bottom illumination built-in lower lamp and top external lamp house.
Built in filter cassette buttons along right side of base.
M Plan objectives (210mm tube length, 31mm thread, CF optics, 45mm parafocal dist.)

Nikon Metaphot microscope
1980
Labophot
entry-level research microscope
CF optical system which uses CF eyepieces and CF objectives, but still RMS thread objectives.
160mm tube length and 45mm parafocal distance.
You can not use older objectives with shorter parafocal distance because the focus will not raise the stage high enough.
Optiphot Labophot Diaphot Microphot all use same filter cube if they have that capability/option fitted.
There is a Labophot and a Labophot 2.
It uses a bi-pin 20 Watt lamp.
Possible eyepiece tubes (heads) are
F trinocular head
T trinocular head
UW ultra-wide binocular head used with CFUW eyepieces.
So, which of these is on my labophot? contact me

Possible condensers are (for stock labophot):
Achromat/aplanat N.A. 1.35
Abbe N.A. 1.25
Swing top achromat

With the Phase Contrast system there is the Phase Turret condenser.
Nikon Labphot Microscope Nikon Labophot Optical Path





My Labophot
What is this head?
ans. A dual viewing head with the standard head removed.
What are the two black cylinders
(on right side an at angle on left rear)?
ans. a pointer and input port for pointer illuminator
(use THN transformer)
What is name of part(s) needed to attach
Nikon-F camera?  (38mm ISO Photoport, chimney)
Nikon Labophot
Labophot (not 2)
Nikon Labophot
Sticker on head 1.25
Nikon Labophot
Heads for CF series scopes:
* Stock binocular
* Ultra Wide head (not clear if it just binocular or trinocular)
* F trinocular (rotate head to switch between oculars and camera)
* T trinocular (push/Pull to switch between oculars and camera) (ordered)
* Teaching
* Combined binocular head and vertical illuminator
Options inserted between head and stand:
* Dogebone teacher-student attachment
* Epi vertical illuminator like used on Optiphot
*** Florescence illuminator with:
       1, 2 or 4 filter cube capacity
* Polarization analyzer
Relay lenses used with a camera:
CF PL2.5X
CF PL4X
CF PL5X
CF Photo8X

1985
Microphot

This was one of the first computer controlled microscopes. It used an RS-232 interface for remote operation.
There's an LCD display and pull out keyboard for local operation.
Two lamp houses, three camera ports, motorized objective selection and X-Y stage movement.
CF optical system which uses CF eyepieces and CF objectives, but still RMS thread objectives.
160mm tube length and 45mm parafocal distance.
uses the DM430 cube holder
Optiphot Labophot Diaphot Micropho all use same filter cube

Microphot-FX

Nikon Microphot-FX microscope

Microphot-FXA

Nikon Microphot-FXA Computer Controlled
                          Microscope
1988 Upper lamp house not installed
you can see black input for it below camera on right
Video camera for human viewing, 4x5 large format camera
at top, and 35mm camera on side.
Not shown is the power supply box that's required for operation.



1985
Diaphot
1980 TMD                CFN optics (160 mm)
1990 200/300           CFN optics (160 mm)
2000 TE200/TE300 CFI optics   (infinity) (Eclipse version)
Shown without the optional X-Y stage.
Shown with a Nikon F-mount camera on the front port.
The other camera port is on the left side and requires a camera adapter and lens.
Optiphot Labophot Diaphot Micropho all use same filter cube
Plain Diaphot
Nikon Diaphot Inverted Microscope

Diaphot 300
Nikopn
                          Diaphot 300 Inverted Tissue Microscope

Diaphot TMD
Nikon
                          Diaphot TMD Inverted Microscope



1987
TMS
No provision for a camera and not really a phot.
This is the introductory/teaching inverted microscope.
Note the linear interplanetary distance adjustment.
Uses the 6V 20 Wall halogen lamp.
Note 3-hole phase slider on the light source.

Nikon TMS Inverted Microscope
1987
Optiphot -77 & -88 Wafer Inspection & Pol
Semiconductor inspection microscope designed for epitaxial illumination (from the top through the objective lens)
Optiphot Labophot Diaphot Micropho all use same filter cube

The wafer inspection scopes can use Nomarski, DIC or BD objectives and so have 26mm threads.

-66 for 6" diameter wafers  Note:  Some Optiphot versions do not have an optical system in the base.
-88 for 8" diameter wafers  Note:  Some Optiphot versions do not have an optical system in the base.
-Biological  Does have both top and bottom (50W ext lamphouse) illumination.
- Pol  a Polarized light version "Pol" which uses a 50 Watt external lamp house to make up for the loss of light through the polarizing filters.
-100S

This one (maybe the biological version?) seems to have the option of getting light
for either or both the top and bottom
 (two lamp houses)
Also shown is the older film camera adapter that
allows using the fine focus telescope which is not
needed with digital cameras with Live View (Wiki).
Live View plus the ability to magnify allows for
great focusing without the complication of the old system.
Uses the type-F trinocular head (notice no push/pull on side).
This one has a large X-Y movement range yet has light from below?

Nikon Opiphot Semiconductor Wafer
                        Inspection Microscope
Without light from below (Diascopic illumination)
Only the top lamp house, the wafer inspection/metallurgical version
that uses 210mm TL BD objectives with 26mm threads
Nikon Optiphot Microscope without
                        Diascopic Illumination
Nikon Optiphot Biological Microscope
                          Optical Path
Bottom only Illumination (POL or Biological) 50 W Lamp
Probably RMS 160mm type objectives with 45mm PF dist.
Nikon Optiphot bottom only Illumination
-100S Top only illumintion.  More modern than other Optiphot designs.
Using CF EPI infinity objectives.  Note modern design vertical illuminator
and what's probably an infinity trinocular head.
Nikon Optiphot-100S Microscope



Stereo Microscopes (Wiki)

A stereo microscope allows seeing in 3D which is great for working where your hands are doing something, like Surface Mount Technology.  The microscope becomes part of  your feedback system between the eye, brain and hands allowing much finer work that you can do with just eyesight alone.

A binocular microscope also has two eyepieces, but only one objective lens so while you look through both eyes you do not have stereo 3D vision.  I mention this because recently I've seen some microscopes on eBay with stereo in the title, but they were compound microscopes with binocular heads.

Note that the image is erect, that to say when you move your tweezers to the right the image goes to the right.  This makes movements intuitive.

It turns out that looking at things like pond water is awkward with a compound microscope, like the Labophot, because you really don't need high power.  So I've started looking into a stereo microscope with more than 30X.  That power comes from my existing B&L StereoZoom 4

There are two types of stereo optical systems.
Microscope U -Fundamentals of Stereomicroscopy  

In the patent for the CMO scope, AO said one of the problems with the greenough design is that the eyepieces are rotated when changing the interpupillary distance and that can cause discomfort in the viewer.

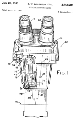
Greenough design


You can see that in the
Greenough design
 the two optical paths are not parallel,
but instead come together at a point. 
Because of the tilted optical path
there may be more distortion
of the object being viewed.
Although the depth of field in the eyepieces is good
it's not good when photographed.

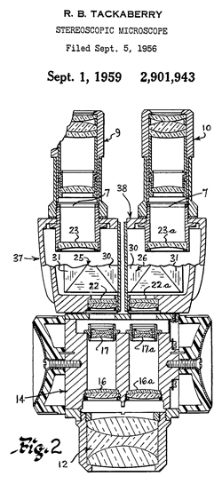
Common Main Objective

The light path is parallel and makes use of a
 common main objective lens (12 in patent dwg).

2942519 Stereomicroscope casing Bausch & Lomb, Apr 21, 1958

Bausch &
                  Lomb Stereo Zoom Microscope patent
2901943 Stereoscopic microscope, American Optical Corp, Sep 5, 1956
Common Main
                  Objective Microscope AO patent


B&L StereoZoom 4

This microscope has a variable zoom of 0.7 to 3.0 power for the objective which with a 10X eyepice gives 7x - 30x.
It is of the basic Greenough design.  It uses high quality mirrors to get an erect image and to tip the eyepieces angle for comfortable viewing.
Got this because they are what I used when working on microwave semiconductor level components.
B&L StereoZoom 4
Got this in 2014.  It's much brighter than the old illuminator and more even.  You also do not block the light with your hands.
60 LED Adjustable Ring Light Illuminator Stereo
                  Microscope
Has separate On-Off and Brightness control.
60 LED Adjustable Ring Light Illuminator Stereo
                  Microscope
Here's the ring light on the SZ4.
60 LED Adjustable Ring Light Illuminator B&L
                  SZ4 Microscope

Nikon SMZ-U

I'm considering getting one of these if the price is right.  It's of the CMO design and has a 0.7 to 7 zoom range which with a 10x eyepiece gives 7x to 70x, a much wider range of powers than the B&L SZ4.  It also has more modern optics as well as supporting a separate tube for a camera, or with an optional side port two cameras.


Table of Objective focal length vs. magnification
has implications on f/# = NA
SMZ-U, 10a, 800, and 1000
0.5x
200mm
1.0x
100mm
2.0x
50mm

Table of Objective focal length vs. magnification
has implications on f/# = NA
SMZ-1500

0.5x
160mm
1.0x
80mm
2.0x
40mm



6320702
Afocal zoom lens, and microscope having the lens, Nikon Corporation, Nov 24, 1999 - SMZ-U?
6339507
Galileo type stereomicroscope and objective lens thereof, Nikon Corporation, Jan 28, 1999 - SMZ-U?
8482862 Variable power optical system for stereomicroscope, Nikon Corporation, Dec 22, 2008 - SMZ-1500?

Related


Microscope Objective Standards
Table of Microscope Objectives & photos taken with camera (not microscope)
B&L Stereo Zoom Microscope
Unitron No. 83444 Microscope
Mitutoyo Toolmakers Measuring Microscope 176-134
Nikon Labophot Microscope & accessories

DigitalPhotography101 Digital Photography 101: The Basics
Digital Photography 201 Stacking Images
Digital Photography 202: Close-Up, Macro & Micro
Digital Photography 203: Color Management
Digital Photography 204: Studio Flash
Nikon cameras, lenses and accessories
Nikon SB25 Hot-shoe Flash
Photography
Photoflash

Links

Index of Nikon/ (~141M) - Microscope Manuals
PRC68, Products for Sale, Alphabetic List of Web Pages,
This web page created 18 July 2012