Magnetics

© Brooke Clarke 2015 - 2025

Background
    Things Unknown
Description
    Field Strength
    Measuring
    Viewing
Applications
    Magnetic Recording
    Magnetostriction
        Materials
        Terfenol-D
        Patents
        Soundbug
        Compass
            Magnetic
            Earth Inductor
        Measuring Thickness
    Flux Gate Magnetometer Cores
    Magnetic Navigation
References
Related
Links

Background

This is a way to collect things magnetic in the same way that the Optics or Battery pages collect those things.

Eddy Currents (Wiki)

Leon Foucault Gyroscope setup Leon Foucault (Wiki) used the same hand crank winding machine for his copper disk experiments as he used to spin up the gyroscope (which he also named).  This demonstrated the conversion of mechanical energy to heat.

The early electromagnetic devices used solid iron cores.

Electromagnetic Toy Engine
The Self Winding Clock Co. which made the Western Union clocks started off using solid iron cores on the synchronizing coil and later switched to laminated Silicon steel.
Stock Tickers - used iron rods as the core for electromagnets
Telegraph equipment - used iron rods as the core of electromagnets
Weeden Electric Motor (Generator)
Z Electric Co. 3-pole DC motor - uses solid iron, not laminated

So the first generation Permalloy (Wiki) cores used in Magnetic Amplifiers (Wiki) and Fluxgate Magnetometers were in very thin strips so as to minimize Eddy Currents.  Note a Fluxgate Magnetometer is just a Magnetic Amplifier where the input signal is replaced by the magnetic filed surrounding the core.

Things Unknown

The practical use of magnetic domains (Wiki) and grain size was not understood.  Note there is a paragraph on Magnetostriction on the Magnetic Domain Wiki page.  Note that the key ingredients of Permalloy are Nickel (80%) and Iron (17%) both of which are Magnetostrictive materials (Wiki).

A practical application of quantum mechanics (Wiki) is in the design of hard disk drives (both the head and magnetic material on the disk).

So there seems to still be some magic sauce involved in Fluxgate Magnetometers as of 2022.
PS Companies apply for and are granted patents to protect their products from their competition.  Another way is to keep the sauce a secret by means of non disclosure statements on all the employees.  But . . . sometimes the patent does not have all the secrets, but only enough to get the patent granted.  At other times the patent may have much more detail than needed so as to muddy where the secret is located.

Description

Field Strength

There are two areas of interest: 

Earth's magnetic filed

 Which is about 50,000 nano Tesla or 0.5 Gauss and important for things like compass determination of direction.

Permanent & Electromagnets

These develop much higher forces than the Earth's field and typically are measured by different instruments.

Measuring

There are many magnetic sensors some of which measure only the total magnitude of the magnetic field and others which measure the field in a specific direction and so have a vector output, like for a compass.

1925872 Apparatus for making magnetic tests, Hermann Peter C, Gen Electric, Sep 5, 1933 324/227 - when a ring of material can not be used.
RE?
2415808 Detection of large magentic bodies, Oliver E Buckley, Bell Labs, App: 1941-07-31, TOP SECRET, Pub: 1947-02-18, - "The invention is particularly applicable to the detection and location of submerged submarine or other vessels having hulls of magnetic material but it is applicable as well to the detection and location of other magnetic bodies, Such as large magnetic Ore deposits."
2427014 Orienting device, Winthrop J Means, Bell Labs, App: 1943-07-30, W.W.II, Pub: 1947-09-09, - magnetometer mounted on non-magnetic gimbal
2485931 Magnetic field strength indicator, Slonczewski Thaddeus, Bell Labs, App: 1943-04-20, W.W. II, Pub: 1949-10-25, 324/247; 102/427; 102/417; 340/870.33 - three flux gate magnetometers mounted mutually orthogonality.
2687507 Method and apparatus for measuring the earth's total magnetic field vector (from airplane), Erick O Schonstedt (Wiki), 1954-08-24, - makes use of a magnetometers, Pendulum, Vertical Gyroscope and Directional Gyroscope.
2829338 Test transformer for ring-type magnetic cores, Lord Harold W, Gen Electric, Apr 1, 1958, 324/223, 336/220, 324/260, 324/211, 336/212, 336/73, 336/174, 336/222 -  intended for measuring strip wound cores of high permeability material.
5008621 Multiparameter magnetic inspection system with magnetic field control and plural magnetic transducers, David C. Jiles, Iowa State U, Apr 16, 1991, 324/227, 324/232, 324/243, 324/223 - many citations and references, just the test set for developing magnetostriction materials.
5012189 Method for deriving information regarding stress from a stressed ferromagnetic material, David C. Jiles Iowa State U, Apr 30, 1991, 324/209 -

Viewing

Magnetic Viewing Film is green in color and allows visualizing magnetic fields.  The prior way to do this involved fine iron filings.  But these stick to magnets and are impossible to remove.
3320523 Method for visibly indicating and recording magnetic fields, Lyne S Trimble, 1967-05-16, 324/214; 346/74.2; 359/280; G9B/5.233 - maybe invented to view magnetic ink (Wiki) by NCR.

Applications

Magnetic Recording

Wire recording (Wiki) was the first type of magnetic recording.
661619 Method of recording and reproducing sounds or signals, Valdemar Poulsen, Nov 13, 1900, 360/87; 235/449; 360/136; 379/70 - for signals, messages or speech

The label on a "Webster Chicago (Wiki) Model 80-1 RMA 375" wire recorder says "This unit licensed under Armour Research Foundation patents"  So I looked for them:
2456767 Combination of magnetic transducing and erasing heads, Camras Marvin, Armour Res Found, Filed: Nov 29, 1945 Pub: Dec 21, 1948, 360/123.17, 360/121, 360/125.1, 361/151, 29/603.9 - This is for a single head where one coil is for recording/playback and the other is the erase head for a wire recorder.  Referenced by 38 other patents.

Tape recording works pretty much as wire recording except since the tape is much wider the signal to noise ratio is very much improved.  When learning how to adjust the Magnacord M1024 tape recorder I
discovered that the material being recorded acts like the bias signal and so the amount of bias depends on what's being recorded.  Very little bias is needed to record white noise whereas more bias is needed to record a single tone.

Magnetostriction (Wiki)

Technology used in the CRT-1 Sonobuoy for the hydrophone.
A lot of work was done on magnetostriction at Iowa State University, Ames Iowa and the nearby Ames Lab.

Note that magnetostriction is complementary to the piezoelectric effect.  In one case mechanical motion comes about by magnetic fields and in the other by electric fields.
YouTube: How anti-theft tags work - magnetostriction (MetGlass)

Also see the Magnetic Locators web page for a patent that goes into a lot of detail on magnetostrictive materials and their applications.


Materials

Iron (Wiki) and a number of iron alloys change dimensions when a magnetic filed is applied.  This is why transformers make noise.
Nickel (Wiki) was used in W.W.II About -50 ppm
Cobalt (Wiki) highest Magnetostriction of any pure element, about 60 ppm.
Metglas (Wili) - Fe81Si3.5B13.5C2 - see Magnetic Shielding & Fluxgate Core Material. don't know the coefficient (maybe 27 ppm for 2605SA1 & 2605HB1M Alloy, DataSheet.pdf)
Saturates about 1.6 Tesla.
Terfenol-D (Wiki)
Terfenol-D Rods  TbxDy1−xFe2 (x ~ 0.3), named after terbium, iron (Fe), Naval Ordnance Laboratory (NOL), and the D comes from dysprosium.  1000 ppm from room temperature Patent search on Tefenol-D.  Saturates at about 1 Tesla.

8.60 mm dia x 50.0 mm long  slightly too large in diameter to fit into Tattoo machine coil forms.

Galfenol (Wiki) is an alloy of iron and Gallium.  About 350 ppm in ~100 Oe magnetic field. Patent search on Galfenol
There is a list of patents for the CRT-1 sonobuoy hydrophone on that web page.

Patents

942897 Apparatus for receiving submarine sounds, Thomas Alexander Garrett, William Lucas, Dec 14, 1909, 367/168; 114/21.2; 318/118; 381/180 - " We make use of the well known fact that subjecting a longitudinally magnetized nickel rod or wire to variations of longitudinal stress causes variations in its magnetization and consequently causes variations of electric current in a coil of insulated wire around the rod or wire."

Patents issued on Oct 11, 1932 in a block to G.W. Pierce (Wiki) all on Magnetostrictive technology

1750124 Vibratory system and method,  George W. Pierce, Filed: Jan 3, 1927, Pub: Mar 11, 1930, 331/157, 310/26, 367/168, 318/118 - based on magnetostriction w/application to ships.
2014410  Electromagnetostrictive vibrator, Pierce George W, Priority: Jan 3, 1927, Pub: Sep 17, 1935, 318/118, 367/168, 73/662 - parallel rods or tubes

The below 9 patents 1882393 through 1882401 reference 2014410.

1882393 Magnetostrictive vibrator, Washington Pierce George, Priority: Mar 23, 1928,  Pub: Oct 11, 1932, 318/118, 367/168, 601/2, 29/607 -
1882394 Magnetostrictive vibrator, Washington Pierce George, Priority: Mar 23, 1928, Pub: Oct 11, 1932, 318/118, 310/26, 307/151, 367/176, 333/201, 322/3, 367/168, 331/157, 310/15 -
1882395 Frequency indicator, George W Pierce, Priority: Dec 31, 1927, Pub: Oct 11, 1932, 324/76.49, 318/118, 331/64, 29/607, 361/182, 331/157, 367/168, 367/176, 361/206, 601/2 -
1882396 Magnetostrictive transformer, Pierce George W, Priority: Dec 31, 1927, Pub: Oct 11, 1932, 333/201, 335/215, 318/118, 336/20 -  
1882397 Magnetostrictive vibrator, George W. Pierce, Filed: Aug 17, 1928, Pub: Oct 11, 1932, 333/201, 318/118, 361/206 - Nickel-Steel rod 0.5 cm (5mm or 0.196") dia X 10 cm (100mm or 3.937") long vibrates at 21 kHz. A rod 10X longer (1 meter) vibrates at 2.1 kHz.  Iron-Chromium vibrate at 27 kHz and 2.7 kHz respectively. By adding other metals with different coefficients of temperature a net zero temperature coefficient can be obtained.  Includes equations for the frequency of some standard configurations.
1882398
Magnetostrictive vibrator, Pierce George Washington, Priority: Aug 17, 1928, Pub: Oct 11, 1932,  318/118, 361/206, 428/595, 381/190, 261/DIG.480, 428/680, 261/1, 367/168, 428/684, 601/2 -
1882399 Magnetostrictive vibrator, Washington Pierce George, Priority: Aug 17, 1928, Pub: Oct 11, 1932, 318/118, 148/312, 367/168, 324/93, 148/315, 324/76.49, 451/165, 361/206, 148/310 -
1882400 Vibratory device, Alvord Buckingham Stephen, Washington Pierce George, Oct 11, 1932, 369/146, 381/190, 367/185, 318/118 - phonograph pickup using magnetostrictive element
1882401 Loud speaker, Washington Pierce George, Priority: Aug 17, 1928, Pub: Oct 11, 1932, 381/190, 318/118, 310/26, 340/384.73, 366/127 -

1962154 Magnetostrictive vibrator, George W. Pierce (Wiki), Priority Dec 31, 1927, Pub: Jun 12, 1934, 331/157, 116/137.00A, 318/118, 367/168 -
1962155 Vibratory system and apparatus, Pierce George W, Priority: Dec 31, 1927, Pub: Jun 12, 1934, 329/347, 318/118, 330/61.00R, 310/317, 310/328 - piezo-electric crystals

2044807 Transducer, Jr Atherton Noyes, Jun 23, 1936, 367/153, 367/176, 310/26, 318/118, 114/67.00R - underwater telephone - magnetostrictive type see" Sumarine - Echoscope (Gertrude)
2064911 Sound generating and directing apparatus, Harvey C Hayes, 1936-12-22, - magnetostrictive devices and mechanical impedance transformation.
Cited by 37 patents
2116522 Compressional wave sender and receiver, Willy Kunze, Submarine Signal Co, May 10, 1938, 367/168, 318/118, 335/215, 310/26, 29/609 -
2166359 Magnetostrictive device, Emory Lakatos, Bell Telephone Labor Inc, Jul 18, 1939, 333/201, 420/581, 252/62.55, 148/312, 367/168, 420/459, 310/26, 148/315, 335/215, 318/118, 367/176 - hi Q circuit elements
2170206 Electrical and electromechanical system employing magnetostrictive devices, Warren P Mason, Bell Telephone Labor Inc, Aug 22, 1939, 333/201, 381/190, 367/156, 310/26 - circuit elements & loud speaker + submarine sound projector.

2249835 Magnetostrictive vibrator, Emory Lakatos, Bell Telephone Labor Inc, Jul 22, 1941, 367/168, 381/190, 156/516, 335/215, 318/118, 310/26 - closing magnetic path2422425 Art of tuning magnetostrictive elements, Edward Lane Albert, Rca Corp, Jun 17, 1947, 310/26, 318/118, 367/168 -   
2398117 Magnetostrictive oscillator, Elias Claesson Per Harry, Fabian Rost Helge, Priority: May 3, 1941, Pub: Apr 9, 1946, 367/151, 381/190, 310/26, 367/156 - Submarine SONAR -
2487815
Magnetostrictive rod unit, Lee Norman E, Filed: May 13, 1944, Pub: Nov 15, 1949, 310/26, 331/157, 318/118 - oscillating rod frequency standard
2511178 Magnetostrictive stress-responsive device and system embodying the same, Herbert C Roters, Fairchild Camera & Instrument, App: 1944-02-26, TOP SECRET, Pub: 1950-06-13, - related to gyroscopes, Wiedeman effect (Wiki - "The twisting of a ferromagnetic rod through which an electric current is flowing when the rod is placed in a longitudinal magnetic field."
 2769161
Cone microphone, Laymon N Miller, Filed: Jan 1, 1944, Pub (12 year delay): Oct 30, 1956, 367/141, 102/418, 114/20.1 - magnetostrictive hydrophone for torpedo
2984819
Magnetostrictive transducer, Miller Laymon N Cambridge, MA, Sec of Navy,  Filed: Jul 14 (17 year delay) 1944, Pub:   May 16, 1961 - 18 citations
4907209 Low frequency sound transducer, Martin Marietta Corporation, Mar 6, 1990, 367/168, 310/26, 367/156 -
8155344 Vehicle speaker, Toyota, Dec 23, 2008, 381/86, -  magnetostrictive vibrator used as part of speaker system.

Submarine Signal Co. patents using the word
Magnetostrictive.

8126169 Super magnetostriction speaker, Hirofumi Onohara, Foster Electric Company, 28 Feb 2012, 381/190 - Vibration Actuators (all for reference only =  discontinued? ) -

Soundbug

A Magnetostrictive device which will turn any movable flat surface like wallboard into a speaker.


Soundbug
                      Magnetostrictive speaker

Compass

Magnetic (See Navigation)

Earth Inductor Compass (Wiki)

An early type of aircraft compass was the Earth Inductor Compass that used a rotating coil acting as a generator where the magnetic field is due to the Earth. powered by a windmill.
Pioneer made a number of aircraft instruments including Earth Inductor Compasses. (5 sequential patents!)  The Earth Inductor Copass was the origin of the term flux gate.

YouTube: What Is An Earth Inductor Compass?, 6:41 -
The directionality comes from the orientation of the brushes on the sense coil.

Also see Helmholtz Coils Waugh Patents, Navigation Earth Induction Compass.

1770243 Rotary coil compass, George A Titterington, PIONEER INSTR CO Inc, Filed: 1925-05-21, Pub: 1930-07-08 -
1770244 Aircraft-steering system, George A Titterington, PIONEER INSTR CO Inc, Filed: 1925-05-21, Pub: 1930-07-08 -
1770245 Earth inductor compass, George A Titterington, PIONEER INSTR CO Inc, Filed: 1925-05-21, Pub: 1930-07-08 -
1770246 Compass direction controller, George A Titterington, PIONEER INSTR CO Inc, Filed: 1925-05-21, Pub: 1930-07-08 -
1770247 Inductor-compass generator, George A Titterington, PIONEER INSTR CO Inc, Filed: 1925-05-21, Pub: 1930-07-08 -
1774458 Compass, James D Tear, General Electric, 1930-08-26, - motor driven, for aircraft use, motor drives one coil, manual adjustment of other coil, vacuum tubes.
1819488
Inductor compass generator, George A Titterington, PIONEER INSTR CO Inc, 1931-08-18 -vacuum-pressure driven using toothed wheel (see Train Gyroscope)

1963551 Inductor compass, Gunn Ross, BENDIX RES CORP, 1934-06-19 -
2025897 Earth inductor compass, Wladimir A Reichel, PIONEER INSTR CO Inc, Filed: 1929-05-22, Pub: 1935-12-31 -
2206018 Earth inductor compass, Bechberger Paul Franklin, Bendix Aviation Corp, 1940-07-02 -
2240680 Earth inductor compass, Jr Alfred A Stuart, Bendix Aviation Corp, Filed: 1938-12-29, Pub: 1941-05-06 - 3-phase for servo systems
  RE22699 Magnetic compass, A.A. Stuart Jr., Bendix Aviation, Filed May 21, 1940, Reiuued Nov. 27, 1945
2376883 Dynamic earth inductor compass, Alger S Riggs, Herbert H Thompson, Sperry Gyroscope, Filed: 1942-01-30, W.W.II, Pub: 1945-05-29, - uses servos (probably 400 Hz)
2434324 Earth inductor compass, Lehde Henry, Control Instrument Co, Filed: 1944-10-06, W.W.II, Pub: 1948-01-13, -
2464057 Earth inductor compass, Harry W Phair, Fairchild Camera and Instrument Corp, App: 1944-11-23, Secret, Pub: 1949-03-08, - compensated for local magnetic material (hard iron compensation).
2710942 Electromagnetic induction device, John F Emerson, Bendix Aviation Corp, 1955-06-14 - 3-phase for servo systems
2925662 Compass system, Harry B Wattson, John C Karlson, Bendix Aviation Corp, Filed: 1955-02-10, Pub: 1960-02-23 -

Measuring Thickness

There's a wide assortment of "magnetic coating thickness gauge" on eBay.

2021 July 11 - I have one on order for under $20 including shipping.
"Painting Thickness Gauge Non-magnetic Coat Thickness Meter Automotive Tester"
They claim it works on both steel and Aluminum car bodies.

By using the magnetic attraction force to stretch a spring it's possible to measure the thickness of non magnetic coatings, like paint on a steel bodied car using a magnet.  Note that Chromium (Wiki) used in Chrome Plating (Wiki) exhibits Antiferromagnetism (Wiki).  That's to say it is not magnetic and so it's thickness can be measured using this magnetic method.

Tinsley Thickness Gauge

Tinsley & Co also holds a patent related to Tuning Forks.
According to NBS Circular 585  (paragraph 4.11 Magnetic attractive force thickness measurement, pg 36) the British Standards Association (BSA) developed this gauge.

Fig 1
Tinsley
                      Thickness Gauge
Fig 2
Tinsley
                      Thickness Gauge
Fig 3 Scale Calibrated in mills.
Tinsley
                      Thickness Gauge
Fig 4 Linear Scale for custom calibrations
Tinsley
                      Thickness Gauge
Fig 5 Method of working.
Tinsley
                      Thickness Gauge


The American Instrument Company made the Tinsley gauge in the US.  (American Instrument Co patents) but did not have a patent on it. The case for this Tinsley Thickness Gauge is marked Biddle.
Patents
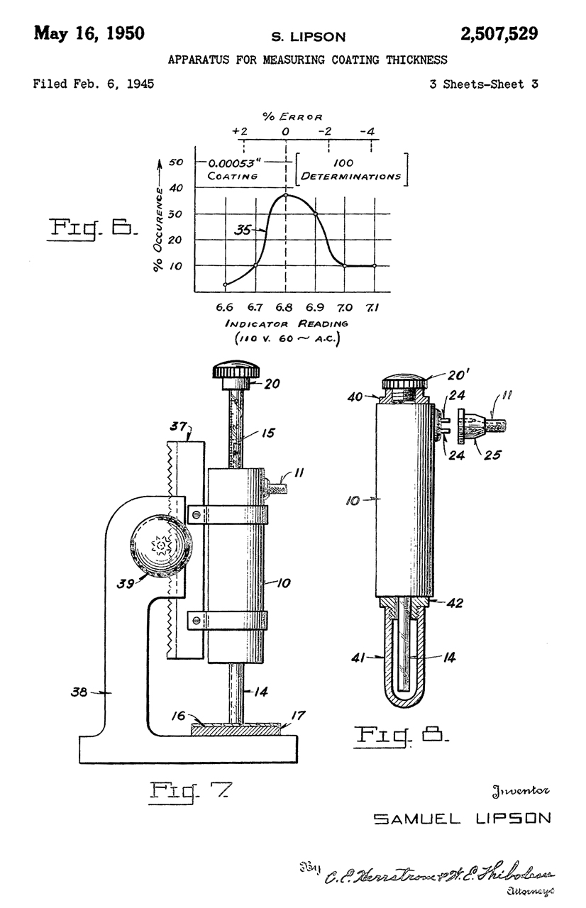
US2507529
                      Apparatus for measuring coating thickness, Lipson
                      Samuel, App: 1945-02-06
US2507529 Apparatus for measuring coating thickness, Lipson Samuel, App: 1945-02-06, Pub: 1950-05-16, - uses an AC line powered electromagnet.

Calibration data based on N.B.S. chrome plated steel standards.
US2625585
                      Magnetic measuring gauge, Glen N Krouse,
                      1953-01-13
US2625585 Magnetic measuring gauge, Glen N Krouse, 1953-01-13, - Uses a drum micrometer to lift the magnetic probe and you stop turning the drum when the magnet pulls free of the device under test.  A calibration chart is used to convert the micrometer reading into a thickness.
image not available
Let me know if it's on line.

GB1312763 Film thickness gauges, H Tinsley and Co Ltd,  App: 1971-03-08, Pub: 1973-04-04, -

A gauge for measuring the thickness of a non- magnetic film on a ferrous body 25 comprises, a sleeve 2 slidably positioned for datum purposes at locations 3a 3b of a dial gauge casing, and a tube 6 of Aluminium or its alloy slidable in the sleeve 2 and carrying a magnet 7 at one end and at its other end having a plug 8 provided with a brass pin 9 sliding in a slot 10 in the sleeve. The tube 6 has a tension spring 11 fixed to the plug 8 and at its other end the spring is tension adjusted by being fixed to a screw in the end of the sleeve 2. An indicating needle 12 counter-balanced at 14 and pivoted at 13 may be moved from the Fig.1 datum position by sliding movement of the abutting pin 9, which movement takes place when the magnet 7 is attracted to the end of the sleeve 2 by placing the gauge with its end 5 against the ferrous body 25. If the gauge is now drawn away from the body 25 the magnet 7 will be held by the attraction and withdrawn slightly from the end 5, and this movement will slide the pin 9 and move the pointer 12 over the gauge markings. Further movement of the apparatus finally breaks the magnet away from the ferrous body 25 and the magnet then retracts into the tube 6 and the pin 9 leaves the balanced pointer behind which remains in position indicating a reading on the gauge, the final pointer position depending on and indicating the thickness of the non- magnetic film on the body 25. A pointer reset mechanism 19, 20 operated by a plunger 23 is also provided.
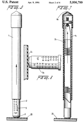
5006799 Low
                      cost magnetic coating thickness gauge with holding
                      magnet, bias spring and holding force indicator,
                      John G. Pfanstiehl, 1991-04-09
5006799 Low cost magnetic coating thickness gauge with holding magnet, bias spring and holding force indicator, John G. Pfanstiehl, 1991-04-09, - talks about the Tinsley gauge.

Flux Gate Magnetometer Cores

The Schonstedt Magnetic Locators use a pair of Flux Gate Magnetometers connected as a gradiometer.  Their cores are the subject of many patents, but all are made up of thin Permalloy formed into cylinder that's long and skinny.

There are other cores that are made by winding Permalloy tape into a toroid that looks similar to a donut called "tape wound cores".

Tape Wound Core

From eBay seller ttshungary who supplied them with 3D printed plastic cases.
YouTube: Evaluation of Permalloy cores for a fluxgate magnetometer, 2:19 - Permalloy 79% Ni core. 44 Turns of 90um thick ribbon.
Magnetization test: 49 Turns of 1mm dia magnet wire. 1 kHz test signal AC coupled (120 uF) to core with a 6.8 Ohm current sense resistor to ground.
2-channel scope with Ch2 connected to top of resistor (Current) and Ch1 connected to top of core winding (Voltage)
Vcoil= Ch1 - Ch2
Icoil = Ch2/6.8
At 10 mA pk looks like 25.46 mH with u about 31,000. No saturation.
At 20 mA pk some saturation.
At 1.2 A pk well saturated. Vcoil collapses when Icoil is 145 mA.

49 Turns x 1mm dia wire = 49mm winding width.
49mm / PI = 15.5 mm winding diameter if close wound.
Plastic case ID 17.5mm - one wire diameter of 1mm = 16.5mm.
So the wire used was applied one layer thick and with as many turns as would fit.

The magnetization for good saturation is 1.3 Amps * 49 Turns = 64 Amp Turns.
This can be achieved using less current and more turns.

Aschenbrenner & Goubau configuration flux gate.
Sense coil wound or bobbin with rectangular opening that clears core with drive winding.  600 Turns, 0.75mm magnet wire. 2.2 uF tuning capacitor (2 Khz, second harmonic).
1 kHz drive. 
Icoil = Ch1/6.8
Sense = Ch2
Sensitivity below 1 nT.


Fig 1 Core: 28mm OD x 20mm ID x 4mm thick
Tape Wound
                      Flux Gate Magnetometer Core
Fig 2 Case: 30.5mm OD x 17.5mm ID x 7mm thick
Tape Wound
                      Flux Gate Magnetometer Core


1673790 Magnetic material, process of producing it, and electromagnetic device incorporating such material, Bandur Adolph Francis, Western Electric, 1928-06-19, 148/121; 178/45 - "to secure constancy of operating characteristics of magnetic material used in signaling apparatus and for other apparatus employing low field strengths; examples of signaling apparatus  being inductive loading, transformers, relays, filter coils, and balancing and wave-shaping networks."

2164383 Magnetic device, Everett T Burton, Bell Labs, 1939-07-04, 330/8; 246/34D; 330/10; 336/210; 336/213; 363/91; 340/425.2; 178/70M; 330/3; 332/173; 336/219 - Magnetic Amplifiers

2166359 Magnetostrictive device, Lakatos Emory, Bell Labs, 1939-07-18, - mainly for use between 15 kHz and 100 kHz. This may become important after 1941 for SONAR.
2519495
                      Magnetostrictive core and method of making it,
                      Ethan A Nesbitt, Howell J Williams, Bell Labs,
                      1950-08-22
2519495 Magnetostrictive core and method of making it, Ethan A Nesbitt, Howell J Williams, Bell Labs, 1950-08-22, 335/215; 148/312; 148/676; 336/90; 336/213; 148/104; 336/20; 336/110; 336/219 -
By cold working the Nickel tape and then heat treating it no external permanent magnet or DC winding is needed, i.e. it can be magnetized.

Prior art applications used 1,000 deg C or higher to get the most sensitivity but this new process provides good sensitivity and eliminates the need for a DC bias.

2438926

2438926 Magnetostrictive supersonic transducer, Edward E Mott, Bell Labs, 1948-04-06, 367/168; 310/26; 381/190; 335/215 - 14 of the coils from patent 2519495 mounted between two plates.
2497901 Magnetostrictive transmitter, Edward E Mott, Bell Labs, 1950-02-21, 310/26; 381/173; 367/156 - 14 of the coils from patent 2519495 mounted between two plates.

3146380 Magnetostrictive elements, Clark Charles Alfred, International Nickel, 1964-08-25, - triangle diagram Ni, Cr, Co

Design and Construction of Fluxgate Magnetometer for Space Research, Roman Pavelka, July 2011,
Fig 4.5
Design and Construction of Fluxgate
                      Magnetometer for Space Research Fig 4.5
Single Core:

Vacquier: two parallel rod cores each with drive windings but a common sense winding.

Forster: two parallel rod cores each with its own drive & sense windings.  Total field or field difference depending on wiring.

Aschenbrenner & Goubau: toroidal core originally made up of fine iron wire.  More modern is the tape wound core.

Credit: PRIMDAHL, Fritz. The Fluxgate Mechanism, Part I: The Gating Curves of Parallel and Orthogonal Fluxgates. IEEE Trans. Magn. 1970 - Related to the Ørsted satellite (Wiki)

On order: Fluxgate Magnetometers for Space Research, by Dr. Musmann, Günter, 2010 -
copernicus: Low-noise permalloy ring cores for fluxgate magnetometers, 2019, - 6-81 permalloy,
"Geyger (1962) suggested the use of thin foils as a way to suppress eddy currents when constructing fluxgate magnetometers. However, it seems unlikely that, at the time, the researchers understood how the choice of foil thickness was impacting parameters such as grain size that appear to have controlled the magnetic noise of the sensors they were constructing..."

6278272 Integrating fluxgate magnetometer, John F. Scarzello, John J. Holmes, Edward C. O'Keefe, Navy, 2001-08-21, - Vacquier dual rod design except really a continuous loop core- good list of publications - length of core about one foot. Length/Diameter ~ 30, "Low-noise, fluxgate ring core transducers generally use moly permalloy or amorphous magnetic material, e.g., a thin-rolled Soft magnetic metal tape (1/2-mil thick x 1/8-inch wide) having a composition of 6%. Molybdenum, 81% Nickel and 14% Iron (6-81 Moly permalloy).
Cites:
3403329 Flux-gate magnetometer with magnetic amplifier, William A Geyger, Navy, 1968-09-24, -
Cites:
3040248 Self-balancing flux-gate magnetometer, William A Geyger, 1962-06-19, -
Cites:
2468554 Apparatus for magnetic field investigation, Albert W Hull, GE, App: 1943-03-19, W.W.II, Pub: 1949-04-26, - Cites 20 prior art patents


Magnetic Navigation

The Earth Induction Compass was one of the first aircraft compass systems with remote indicators.  It worked by spinning a loop of wire and looking at the AC voltage caused by the Earth's magnetic field.

The war in Ukraine has demonstrated that a number of our GPS guided weapons worked for maybe a few months then their accuracy decreased to the point the were no longer being used (today Aug 2024, Blunting Excalibur's edge).  The GPS M-code is still not operational because it requires a whole new infrastructure, i.e. all the ground stations need major upgrades to work with M-code and well as a new fleet of BLock III GPS satellites and a new generation of GPS receivers.

In my opinion the old LORAN-C system was almost as good as GPS and the proposed eLORAN-C would be more accurate.  It's extremely hard to jam LORAN-C because the transmit antenna needs to be a thousand feet long and even then megawatts of power are common. 

There is a search for an alternative to GPS that's more resistant to jamming (Wiki: R-330ZH Zhitel).  The Earth's magnetic field is three dimensional and even though it slowly changes with time it is very predictable.  So the Earth's magnetic field when combined with an INS may yield a non jammable navigation system, but I don't see it being a time reference.

9243915 Devices and methods for passive navigation, Walter C. Hernandez, Frederick Vosburgh, Archaius Inc, 2016-01-26, - "Devices and methods are disclosed for determining position and controlling navigation by sensing movement through the Earth's magnetic field. Change in position is determined by integrating Velocity which has been normalized for spatial and temporal field variation. Position is registered with respect to starting point and/or Subsequently detected environmental feature. Signals are provided to actuator for guidance, navigation and control."  This would work under salt water. "The most commonly used inferential sensor is the inertial measurement unit (IMU) which estimates position by double integration of trajectory disturbance signals. Unfortunately, Such processing creates fast growing, unbounded errors. And, IMU are insensitive to constant forces, e.g. cross winds, which can create large cross track errors."

11846685 Lorentz force (Wiki) velocity sensor system, Matthew J. Pelliccione, Danny M. Kim, Travis M. Autry, Rongsheng Li, Brian C. Grubel, James H. Kober, Boeing Co, 2023-12-19, - Fig 1 shows a submarine.

20240248152 Self-locating compass, Frederick Vosburgh, Archaius Inc, 2024-07-25, - This works in a way similar to the Earth Induction Compass, except instead of spinning a wire loop the signal comes from a wire fixed to the aircraft's frame.  The output is on the order of 70 uV or 100 uV/Gauss which is also orientation dependent, i.e. if moving magnetic E-W the output will be zero.

References

Ref 1: Ferromagnetism, Bozorth, 1959, 5th Ed, 968 pgs -

Part 1 - Introduction
1. Concepts of Ferromagnetism
2. Factors Affecting Magnetic Quality

Part 2 - Magnetic Properties of Materials
3. Technical and Pure Iron
4. Iron-Silicon Alloys
5. Iron-Nickel Alloys
6. Iron-Cobalt Alloys
7. Other Iron Alloys of High Permeability
8. Other High Permeability Materials
9. Permanent Magnets

Part 3 - Magnetic Phen;omena and Theories
10.  Magnetic Theory
11. The Magnetization Curve and the Domain Theory
12. Magnetic Properties of Crystals
13. Stress and Magnetostriction
14. Temperature and theCurie Point
15. Energy, SPecific Heat, and Magnetocaloric Effect
16. Magnetism and Electrical Properties
17. Change of Magnetization with Time
18. Special Problems in Domain Theory

Part 4 - Measurements
19. Measurement of Magnetic Quantities
Ref 2. YouTube:  Electromagnetic Videos - How do these Magnetizer/Demagnetizers work?, 9:10 -
Ref 3. K&J Magnetics: The History of Neodymium Magnets - Why were are Magnets Shaped like Horseshoes?
Ref 4. Magnetic Core Measurements, 19:01 - uses, calipers, LCR meter & VNA

Related

3am 3 Axis Magnetometer
Aircraft Pilot's Standby Magnetic Compass
Collins PN-101 Pictorial Navigation System (gyroscope & flux valve)
CRT-1B Expendable Radio SonoBuoy (ESRB) - uses a magnetostriction (Wiki) sensor as the hydrophone  
DC Gaussmeter Model 1
    AMY6 Magnetic Polarity Tester
    GE Gauss Meter & Reference Magnet
EM_Toy Engine  Electromagnet Toy Engine
FGPat Fluxgate (& other) Patents
Helmholtz Coil
    Sensitive Research Instrument Co. Fluxmeter
    Annis M25 Pocket Magnetometer
    Cenco Scientific 79860 Dynamo Analysis Apparatus - works with Fluxmeter
HT20 2000 mT Magnetic Flux Meter
Home Built Magnetometers
HP 428 Clip-on Milliammeter Magnetometer
KVHC100FG KVH C100 Flux Gate Compass module
Magnetic Locators
Magnetic Recording
Magnets
Magnetometer
MC1 MC-1 Magnetic Compass Calibration Set similar to AN/ASM-344
Poulsen Magnetic Telegraphone (Magnetic Recording)
Permanent Magnet DC Motors
Phones
Sonobuoys use magnetometers
Telegraph Telegraph Equipment, Stock Ticker, District Telegraph, Teletype, Keys, Relays, Sounders, Veedre Counter, Early Connectors, Electro-magnets
Torpedoes use magnetic exploders
Weeden-El-Mtr  Weeden DC Electro0magnetic Machine (Motor or Generator)
Wireless Driveway Monitor - STI-34100 solar power magnetometer

Links

YouTube: Applied Science: Engineering magnetics -- practical introduction to BH curve -

PRC68, Alphanumeric Index of Web pages, Contact, Products for Sale