Magnetic Recording

© Brooke Clarke 2023 - 2025

Minifon Mi-51
                  Wire Recorder Miles
                  Reproducer Co Walkie - Recordall Model CCB
                  Recordgraph
Tape Recorder

Background
Description
    Early Magnetic Recording
        Poulsen
        Minifon
            Mi-51 Wire Recorder
        Webcor
        ANQ-1 Wire Recorder
        Miles Reproducer Co Walkie - Recordall
        Magnacord 1024 Tape Recorder
        GRA-71 Coder-Burst Transmission Group
Patents
    Armour Research Models 20 & 50
    AN/FSH-6 Burst Transmission Recorder
Movie Sound
    NAGRA
Memovox
Memorox Paper Magnetic Disc Recording
SoundScriber
Magnetic Detector & Barkhausen Noise
Related
References
Links

Background

Since the Poulsen Magnetic Telegraphone was made to be a telephone answering machine (Wiki) this started out on the phones web page.  But as it grows in scope it needs a page of it's own.

For a number of years I played with a Magcord 1024 rack mount reel-to-reel tape recorder that came from an AM broadcast station.  It uses torque motors to tension the tape and control the feed and take-up reels.    The record and read heads are separate so it's possible to overdub.  It has bias and equalization adjustments to allow peaking the recorder performance for the particular brand and model of tape.  I made many plots of frequency response with different settings to optimize the flatness.

Then discovered the idea that a high frequency audio signal on the input also acts as a recording bias signal.  So another way of setting up a recorder would be to use a number of simultaneous tones instead of a single frequency like what I was doing.  Maybe a more advanced method would be to use a flat white noise signal?

Prior to the use of AC for recording head bias and erasing a prior recording, Permanent Magnets were used for erasing in low cost wire and tape recorders.

I was involved with the HP/Agilent "E5022 Spin Stand" used to evaluate hard disk heads and media.  This is a practical application of quantum mechanics, i.e. the design of the heads and media.

See the HP Magnetic Tape Recording Handbook (Ref 5) for an excellent overview of magnetic recording.

Also see my Telephones\Edison Cylinder information.

Description

Early Magnetic Recording

It appears clear that Poulsen 661619 based his magnetic wire recorder on the Edison cylinder phonograph (Wiki).  The physical similarity is striking.

Poulsen

Museum of Magnetic Recording - Wire Recorders -
Wiki: Timeline of audio formats -

Poulsen
                      Magnetic Telegraphone - Wire Recroder
From the Telegraphone Wiki page.

The Telegraphone was one of if not the first magnetic recording device invented by Valdemar Poulsen (Wiki) in 1900 long after the Edison Cylinder and about the same time as the flat disk record.

Minifon

While watching the movie Dragnet (1954, Wiki, IMDB) an undercover policewomen "wears a wire", i.e. is using a wire recorder.  (not that there's a wire from the microphone).
https://www.reddit.com/r/etymology/comments/gqp6cy/where_does_the_term_wearing_a_wire_come_from/
Meaning she has a hidden Model 51 Minifon wire recorder (Wiki).  Not the P55 or Ng55D because the recorder in Dragnet did not have the classic Stop, Rewind, Play Back and Record piano like buttons, i.e. it was the wire version.

Mi-51 Wire Recorder

In production between 1951 & 1955 (Crypto Museum has a number of papers relating to use of Minifon as countermeasures recorder)
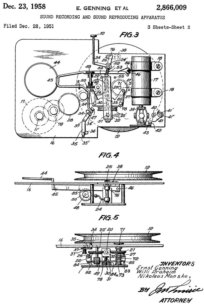
This wire recorder is described in US patent 2866009.
Wow & Flutter
Operation Paper Clip

Fig 1 Controls: Pull to start/Push to stop; Mike jack, Playback Volume
Minifon
                      Mi-51 Wire Recorder
Fig 2
Minifon
                      Mi-51 Wire Recorder
Fig 3 I think the groove on the On/Off knob and on the Forward/Reverse knob are to allow a string to be used as a remote control.
Minifon
                      Mi-51 Wire Recorder
Fig 4
Minifon
                      Mi-51 Wire Recorder
Fig 5
Minifon
                      Mi-51 Wire Recorder
Fig 6
Minifon
                      Mi-51 Wire Recorder
Fig 7
Minifon
                      Mi-51 Wire Recorder
Fig 8
Minifon
                      Mi-51 Wire Recorder
Fig 9
Minifon
                      Mi-51 Wire Recorder
Fig 10
Minifon
                      Mi-51 Wire Recorder
Fig 11
Minifon
                      Mi-51 Wire Recorder


Model 51 Minifon wire recorder
Photo from Wiki: Minifon

This is the Minifon Model 51 wire recorder in the movie Dragnet, 1954.

PS In modern (2022) movies people talk about looking at the (video) tape.  Yet the recorded images are coming from a hard drive.  This is a reference to the prior art called video tape such as VHS tape (Wiki).

PS The attaché model, with the tape cassette like push buttons is actually a cassette tape recorder called the P55.
The P55 tape recorder is used very near the end of the 1958 movie Touch of Evil (Wiki, IMDb) along with a home built tube type wireless mike (Wiki).
3134074 Microphone transmitter having a lavalier type antenna, Ray A Litke, Vega Electronics, 1961-05-08, - not the first wireless mike, but first patent - transistors

Webcor

Webster-Chicago (Wiki) made record changers, wire recorders and reel to reel tape recorders.  Maybe it's a concidence that Armour Research Foundation (Wiki: IIT Research Institute) is also located in Chicago and Armour Research Foundation holds many early magnetic (both wire and tape) recorder patents.

ANQ-1 Wire Recorder

The AAF Radio web page for Countermeasures - Recorders includes the ANQ-1 wire recorder as well as a Memovox disk machine, RD-7/APA-23 Thermal paper recorder and R-34/APR-2 90 - 1000 Mhz surveillance receiver head with thermal paper recorder.

Miles Reproducer Co Walkie - Recordall Model CCB Recordgraph

Fig 1 Microphone in pouch at left.
Miles
                      Reproducer Co Walkie - Recordall Model CCB
                      Recordgraph
Fig 2
Miles
                      Reproducer Co Walkie - Recordall Model CCB
                      Recordgraph
Fig 3
Miles
                      Reproducer Co Walkie - Recordall Model CCB
                      Recordgraph
Fig 4
Miles
                      Reproducer Co Walkie - Recordall Model CCB
                      Recordgraph
Fig 5
Miles
                      Reproducer Co Walkie - Recordall Model CCB
                      Recordgraph
Fig 6
Miles
                      Reproducer Co Walkie - Recordall Model CCB
                      Recordgraph
Fig 7
Miles
                      Reproducer Co Walkie - Recordall Model CCB
                      Recordgraph
Fig 8
Miles
                      Reproducer Co Walkie - Recordall Model CCB
                      Recordgraph
Fig 9 some 35mm movie film in on the way
to compare size.
Miles
                      Reproducer Co Walkie - Recordall Model CCB
                      Recordgraph

Fig 10 Close-up of stylus in play/record position.
Miles
                      Reproducer Co Walkie - Recordall Model CCB
                      Recordgraph


Model CCB, s/n: C7970, Date Sold: 3-19-58
This is not a magnetic recorder but it does use a plastic tape.  The recording method is more like a record, i.e. a groove. But unlike a record where a cutting head is used that produces swarf, the Recordgraph uses an embossing head that does not remove any material.

The Dictabelt (Wiki) used by Dictaphone (Wiki) for dictation is also an embossing rather than a cutting system.  Introduced in 1947.
I wonder if the recording belts are interchangeable?

The Fonda Cellophane Tape Recorder used 35mm Film (Douglas Self: Fonda). Patents.

Tangible Media: Walkie Recordall Sonoband - Radio Craft Oct 1044 article "Combat Recorder" about W.W.II Recordgraph Model A used to record D_Day sounds - Amertype Recordgraph. A 50' roll of  old school 35mm film has 12,000' of traces, good for 5 hours or recording.  Has "vocomatic unit", i.e. a VOX circuit.
Recordgraph -- First Impressions, 23:10 - Recordgraph Model A, more fixins and Operation, 52:08 -
STC Journal Jan 1941: Recordgraph Film Recorder By W. L. Woolf, Recordgraph Corporation - 35mm Cellulose Acetate safety film, 100 tracks (0.01" track-to-track), 20 or 40 feet per minute speeds. - The RECORDGRAPH A sound recording and reproducing system -
D_Day: The Stern Collection -
1958 Fuller Sonoband Recordings, 11:55 - Walkie - Recordall starts @1:33 -
Reel 2 Reel Texas: Walkie-Recordall -
Models
Model
Description
1962
$
CC
This unit could record up to 1 hour on each side of the belt. Microphone range was 60 ft. 450
CCB
Same as the CC, but came with the "covert" Briefcase. 466
CC4
Identical in function to the CC, but was larger and took larger belts, allowing up to 270 minutes of recording time. 750
CC4B
Same as the CC4, but included the "covert" briefcase 765
LC Basically the same as the CC, but only had a standard microphone where one had to be close to the mic. 350
LC4 Similar to the CC, but had a better microphone with a useful range to 4 feet and accepted the larger belts 650

1918164 Acoustic device, William L Woolf, Lionel B Cornwell, 1933-07-11, - driver for a horn speaker.
2152296 Advertising device, Weis David Albert, William L Woolf, Talking Advertising Corp, 1939-03-28, -
2173048 Portable sound recording and sound reproducing machine, Madaler Ferdinand Von, William L Woolf, Film Recording Corp, 1939-09-12, - precursor to the Model A.
2173050 Sound recording, William L Woolf, Film Recording Corp, 1939-09-12, - cutting stylus that also burnishes the groove
2173051 Recording head and process of recording, Madaler Arthur De, William L Woolf, Film Recording Corp, 1939-09-12, - horseshoe magnet, dusl electromagnet balanced stylus
2191691 Indexing and finding means for sound recording and reproducing machines, William L Woolf, Recordgraph Corp, 1940-02-27, -
2221661 Speed control for sound record medium, William L Woolf, Recordgraph Corp, 1940-11-12, - 3600 RPM, film speed 40 or 50 ft/min.
2248293 Sound record film, William L Woolf, Edgard L Steed, Recordgraph Corp,1941-07-08, - continuous strip of movie film (double row of sprocket holes).
2255840 Communicating device and system, William L Woolf, 1941-09-16, - balanced armature "sound powered" handset, hi-Z speaker (balanced armature or piezo)
2259715 Sound record, William L Woolf, 1941-10-21, - a hollow truncated cone of flexible mate rial, preferably cellulose acetate, such as that used in moving picture films
2292856 Precision positioning means for sound heads, William L Woolf, Edgar L Steed, Amertype Recordgraph Corp, 1942-08-11, -
2294854 Control means for sound recording and reproducing machines, Edgar L Steed, Amertype Recordgraph Corp, 1942-09-01, - wiring, probably the Model A
2292856 Precision positioning means for sound heads, William L Woolf, Edgar L Steed, Amertype Recordgraph Corp, 1942-08-11, -
2319282 Sprocket for feeding film, William L Woolf, Amertype Recordgraph Corp, 1943-05-18, -
2255232 Support for sound record films, Albert D Stern, Recordgraph Corp, 1941-09-09, - support arch with notch just below stylus so a splice does not make noise.
2259631 Sound recording device, Jr Henry Flood, Recordgraph Corp,1941-10-21, - sound tracks are usually spaced from One sixteenth to one one-hundred-fiftieth of an inch apart. At the end of a track the stylus can be set to automatically move to the next track.
2319282 Sprocket for feeding film, William L Woolf, Amertype Recordgraph Corp, 1943-05-18, - "The invention has for its objects an improved type of sprocket wheel wherein compensation is provided for expansion and contraction of the film; the elimination of side slipping of the film and the diminishing of sprocket modulation."
Movie film uses perforations (Wiki), aka sprocket holes to align each frame.  Note the the film is stopped then the light shined through the film.  There are many patents concerning how to get the best possible registration of the film.  Patents about perforations start about 1900 for still cameras and 1905 for movie film (788851).  Note that there are tolerances on the dimensions of perforation holes (not shown on the Wiki page for film perforations) and so there will always be some slop between the locating pins and the film frame.  This suggests some sort of spring pushing the film against a reference stop.
2328597 Controlling device for sound record film, William L Woolf,  Recordgraph Corp, 1943-09-07, - pinch roller instead of sprocket drive, dictating purposes, feed & take-up reels.
2330855 Method of splicing organic plastic film, William L Woolf, Recordgraph Corp, 1943-10-05, - but splice
2508783 Electrical sound translating device, Lionel B Cornwell, John F Nielsen, 1950-05-23, - phonograph pick-up sensitive to lateral vibrations but not vertical.
2546124 Record strip magazine and mounting, Frederick H M Hart, Recordgraph Corp, 1951-03-20, - coiled endless strip in magazine
2560395 Indexing control means, Edgar L Steed, Recordgraph Corp, 1951-07-10, - at the end of a track recording automatically steps to next track.  Sprockets shown.
2566540 Latch operated positive clutch, Edgar L Steed, Recordgraph Corp, 1951-09-04, - electromagnet fast start/stop
2577162 Sound film drive and guide, Thomas C Smith, Frederick H M Hart, William A Freer, Recordgraph Corp, 1951-12-04, - no sprockets

Lionel B Cornwell
many inventions related to sound, like loudspeakers, photograph electromagnetic pick-ups,

William L Woolf
invented drivers for horn speakers, an air powered vibrator,

Madaler Ferdinand Von

Patents for early movie devices
Wiki: Movietone 1916 - optical track on film
GB191124685 Improved Means for Providing Electric Light for Cycles, Motor Cycles, Motor Cars and like Vehicles, 1912-06-13, - generator
1607026 Combined picture and sound record and method of producing same, Madaler Ferdinand Von, 1926-11-16, - stylus into movie film (Wiki)
1713503 Means for reproducing sound and motion in synchronism, Visiontone Corp, 1929-05-14, - sound engraved on same film as image
1815692 Sound recording mechanism, Madaler Ferdinand Von, Visionola Mfg Corp, 1931-07-21, -

Griswold 35mm Film Splicer Model R-2

The model R-3 has sprocket holes down the centerline of the film.

1356761 Film-splicer, Frederick C Griswold, 1920-10-26, -
1413269 Film splicer, Griswold Frederick Clark, 1922-04-18, -
1464264 Film scraper, Griswold Frederick Clark, 1923-08-07, - removes emulsion prior to lap splice
1464265 Film splicer, Griswold Frederick Clark, 1923-08-07, - flashlight head below splice - Model T
1596966 Film splicer, Griswold Frederick Clark, 1926-08-24, -  flashlight head below splice
2245976 Film scraping device, Frederick C Griswold, 1941-06-17, - for constant thickness across splice, i.e. beveled joint
2300888 Film splicing device, Frederick C Griswold, 1942-11-03, -

Magnacord 1024 Tape Recorder

This came from a radio station that was on El Camino Real in Mountain View in the late 1950s or early 1960s.
I spent a lot of time making plots of response using different types of tape and with different adjustments of the AC bias and equalization.
Later read a paper that suggested that a loud audio input could act as an AC bias and that made how the bias is adjusted a very complex subject.

GRA-71 Coder-Burst Transmission Group

This was a radio accessory used to send Morse Code messages at 300 Words Per Minute, i.e. much faster than the old ham radio Novice class license requirement of 5 WPM.  This shortened the length of time a transmitter was on the air thus making it harder for the enemy to use Radio Direction Finding to locate the transmitter.

The message would be recorded on a magnetic tape using no electronics.  Then the tape cartridge could be played back at high speed using a tape player using transistor electronics that's powered by the HF radio it's attached to, like the GRC-109 or PRC-64 (Delco 5300), PRC-104, and maybe the PRC-47.

Patents

Patent Classes:
Class 360: Dynamic Magnetic Information Storage or Retrieval

Magnetic Recording Patents


520106 Transmitting Sound, Harry B. Cox, 1894-05-22, - compressed, i.e. high speed

521422 Telephone-call recorder, William F. Smith, 1894-06-12, - allows subscriber to send the phone number to the operator instead to telling her the number orally. 
Not a voice recorder.

1456595 Recording apparatus, Charles A Hoxie, GE, 1923-05-29, - received radio signals recorded on photographic roll.

1947249 Telephonic telegraphy, Bush Vannevar, 1934-02-13, - high speed telegraph sent over telephone lines.
227679
                              Phonograph, T. A. Edison, 1880-05-18
227679
                              Phonograph, T. A. Edison, 1880-05-18

227679 Phonograph, T. A. Edison, 1880-05-18, 369/214; 116/144; 181/162 -

A cylinder has a helical groove that wiggles up and down to record sound.

The Poulsen device is a cylinder with a helical wire that magnetically records sound.
661619 Method of
                      recording and reproducing sounds or signals,
                      Valdemar Poulsen, 1900-11-13
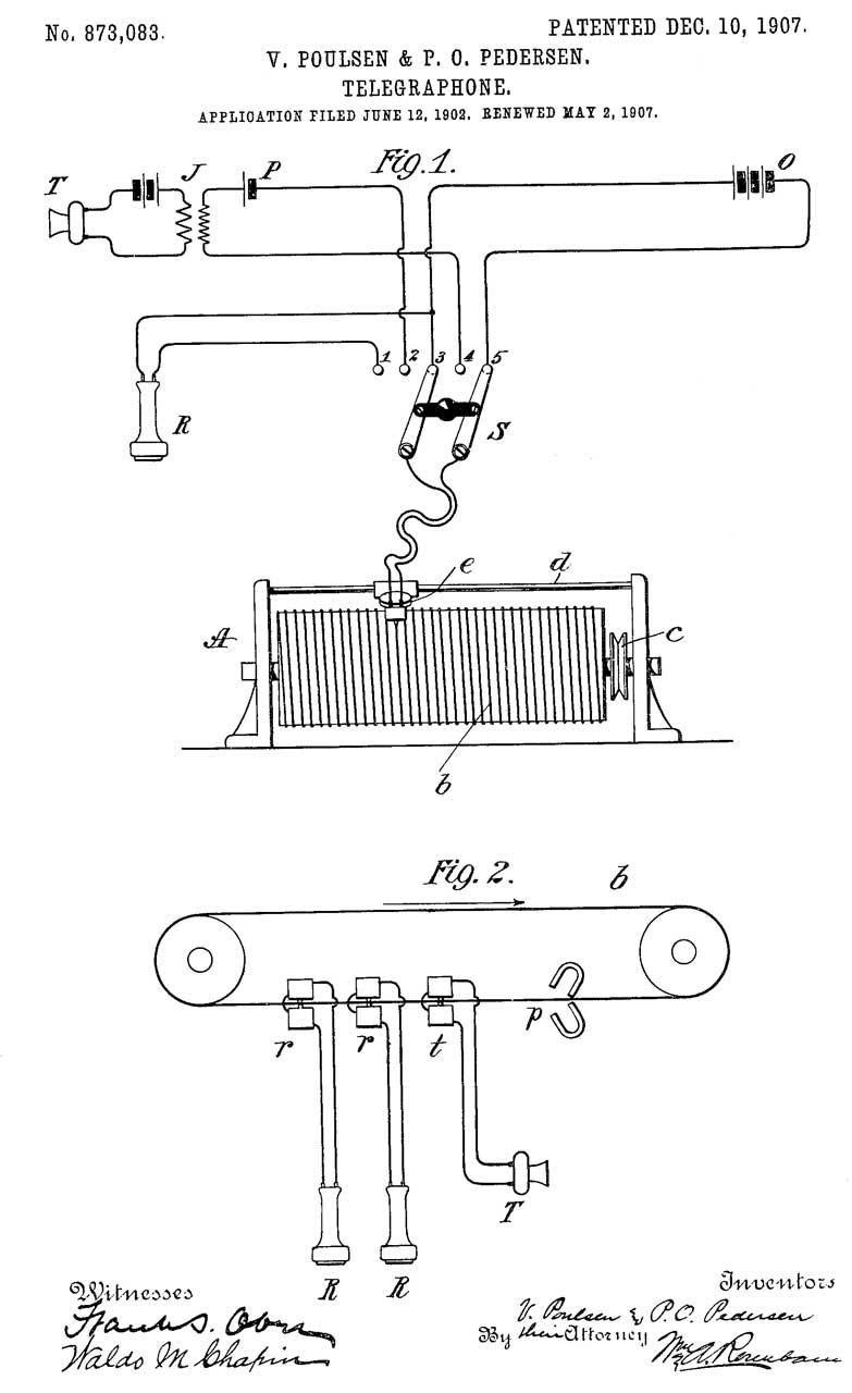
661619 Method of recording and reproducing sounds or signals, Valdemar Poulsen, 1900-11-13, 360/87; 235/449; 379/70; 360/136 -
Although the patent does not use the words, one of the applications is as a telephone answering machine, hence "Telegraphone".

Poulsen probably had seen images of the Edison Cylinder machine if not a real one in action since it had been around for a decade.
His idea duplicates the Edison Cylinder except instead of cutting grooves in wax Poulsen is magnetizing a wire would around a cylinder.  This is for all intents and purposes a wire recorder (Wiki) but with a much shorter wire wound on a cylinder.
773985 Apparatus
                      for recording and reproducing speech, Elias E
                      Ries, 1904-11-01
773985 Apparatus for recording and reproducing speech, Elias E Ries, 1904-11-01, 360/89; 242/125.1; 242/324.1 - wire recorder
788728 Apparatus
                      for electromagnetically receiving, recording,
                      reproducing, and distributing articulate speech,
                      &c., Valdemar Poulsen,1905-05-02
788728 Apparatus for electromagnetically receiving, recording, reproducing, and distributing articulate speech, &c., Valdemar Poulsen,1905-05-02, 360/7 - steel wire (a) loop moved by pulleys.


789336
                      Telegraphone, Valdemar Poulsen, Peder O Pedersen,
                      Carl Schou, 1905-05-09
789336 Telegraphone, Valdemar Poulsen, Peder O Pedersen, Carl Schou, 1905-05-09, 360/71; 360/72.3; 360/89; 242/324.3 -

Only the last of 6 pages of drawings shown here.
850036
                              Telegraphone, George Morin, 1907-04-09
850036
                              Telegraphone, George Morin, 1907-04-09

850036 Telegraphone, George Morin, 1907-04-09, 360/86 - removable steel disk (23) used to record voices
873078
                      Electromagnet for telegraphone purposes, Peder
                      Olof Pedersen,Valdemar Poulsen, American Telegraph
                      Co, 1907-12-10
873078 Electromagnet for telegraphone purposes, Peder Olof Pedersen,Valdemar Poulsen, American Telegraphone, 1907-12-10, 360/125.01 -  This is probably the first magnetic recording head.  But it has a lot of room for improvement.

873083
                      Telegraphone, Valdemar Poulsen, Peder Olof
                      Pedersen, American Telegraphone, 1907-12-10
873083 Telegraphone, Valdemar Poulsen, Peder Olof Pedersen, American Telegraphone, 1907-12-10, 360/66-

A horseshoe magnet is used to both erase and polarize the media.
900304
                      Electromagnet for telegraphones, Peder Olof
                      Pedersen,Valdemar Poulsen, American Telegraph
                      Co,1908-10-06
900304 Electromagnet for telegraphones, Peder Olof Pedersen,Valdemar Poulsen, American Telegraphone,1908-10-06, 360/123.01 -

While not much improvement in the recording head, Fig 5 does show the steel wire on a spool, so now looking like a reel to reel  wire recorder.

Now all that's needed to me more modern is a horseshoe core with a very narrow gap on the recording head.


1237496
                        Telegraphone, Charles K Fankhauser, Arthur M
                        McCrillis, 1917-08-21
1237496 Telegraphone, Charles K Fankhauser, Arthur M McCrillis, 1917-08-21, 360/73.14; 242/324.3; 360/110 - wire recorder, Pointer (83) and dial (84) indicate the percentage of wire used by indicating the radius of the spool.

1142384 Telegraphone, George S Tiffany, American Telegraphone Co, 1915-06-08, - rod type electromagnet as head

1442682 Endless sound record and mechanism therefor, Forest Lee De, 1923-01-16, - black paper Möbius strip (Wiki) with white markings read optically.
1560226
                      Automatic responding and recording device for
                      telephones, Fisher Sydney, 1925-11-03, - uses
                      Edison Cylinder
1560226 Automatic responding and recording device for telephones, Fisher Sydney, 1925-11-03, - uses Edison Cylinder - works with candlestick phone with no direct connection to phone wiring, i.e. hook switch control and speaker & mike interface.

1560721
                        Automatic reel-stopping device for
                        record-o-phones, Hugh P O'reilly,
                        Record-O-Phone, 1925-11-10
1560721 Automatic reel-stopping device for record-o-phones, Hugh P O'reilly, Record-O-Phone, 1925-11-10, 242/333; 360/74.2; 242/324.1; G9B/25.008; G9B/15.034; G9B/15.019 -
Emerson Record-O-Phone Telegraphone (see: Museum of Magnetic recording\Wire Recording) for photos
1640881 Radio
                      telegraph system, Wendell L Carlson, Glenn W
                      Carpenter, App: 1921-03-26, Pub: 1927-08-30
1640881 Radio telegraph system, Wendell L Carlson, Glenn W Carpenter, App: 1921-03-26, Pub: 1927-08-30, 360/66; 346/33M -
used to record German military burst transmissions (Wiki) and play back slower.  See See the GRA-71.

Introduced AC bias of the head replacing prior art DC head bias.  But it was forgotten.

DE500900 Phonetic carrier, Fritz Pfleumer, 1930-06-26
1653467 Record
                      for reproducing sound tones and action, Joseph A.
                      O'neill, 1927-12-20
1653467 Record for reproducing sound tones and action, Joseph A. O'neill, 1927-12-20, 369/16; 360/134; 427/132; 430/140; 427/130; 427/482 - magnetic paper tape
1738551
                      Telephone-message apparatus, Zullo Samuel,
                      1929-12-10, - uses speaking tube from machine to
                      mouthpiece of candlestick phone
1738551 Telephone-message apparatus, Zullo Samuel, 1929-12-10, - uses speaking tube from machine to mouthpiece of candlestick phone.
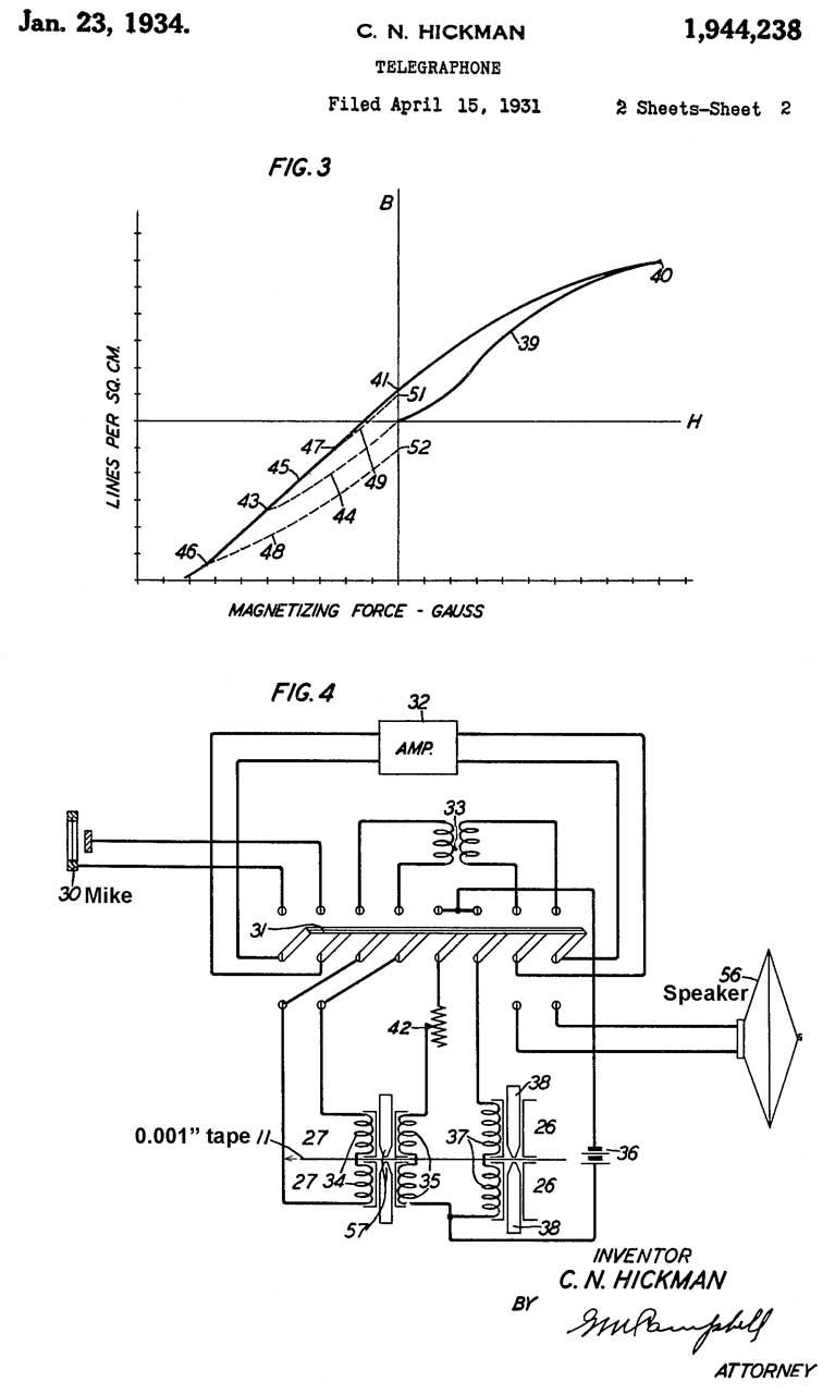
1944238
                              Telegraphone, Clarence N Hickman, Bell
                              Labs, 1934-01-23
1944238
                              Telegraphone, Clarence N Hickman, Bell
                              Labs, 1934-01-23

1944238 Telegraphone, Clarence N Hickman, Bell Labs, 1934-01-23, -

Prior art magnetic recorders suffered from: " volume level of the reproduced signals of previous systems was low, the frequency range covered was very limited, the extraneous noise was objectionable and the distortion of the wave forms was often so great as to render the reproduction almost unintelligible. The linear velocity required for the record member, which was usually of wire, to obtain even these results was as much as six to ten feet per second (72 to 120 IPS) so that the machine itself was exceedingly noisy and even somewhat dangerous in the event of breakage of the wire."

1973081 Automatic telephone message receiver and recorder, Keiser Morris, Televoice Corp of America,  1934-09-11, - uses tubes between phone and Edison cylinder machine.  Hook lift for connection control, i.e. no direct wire connection.

2080100 Method and means for storing and selecting records, Tauschek Gustav, 1937-05-11, 360/86; G9B/5.181; 360/55; 360/78.01; 235/449; 360/62 - not a magnetic drum data storage device, but rather a storage device that uses magnets to select the desired bin.
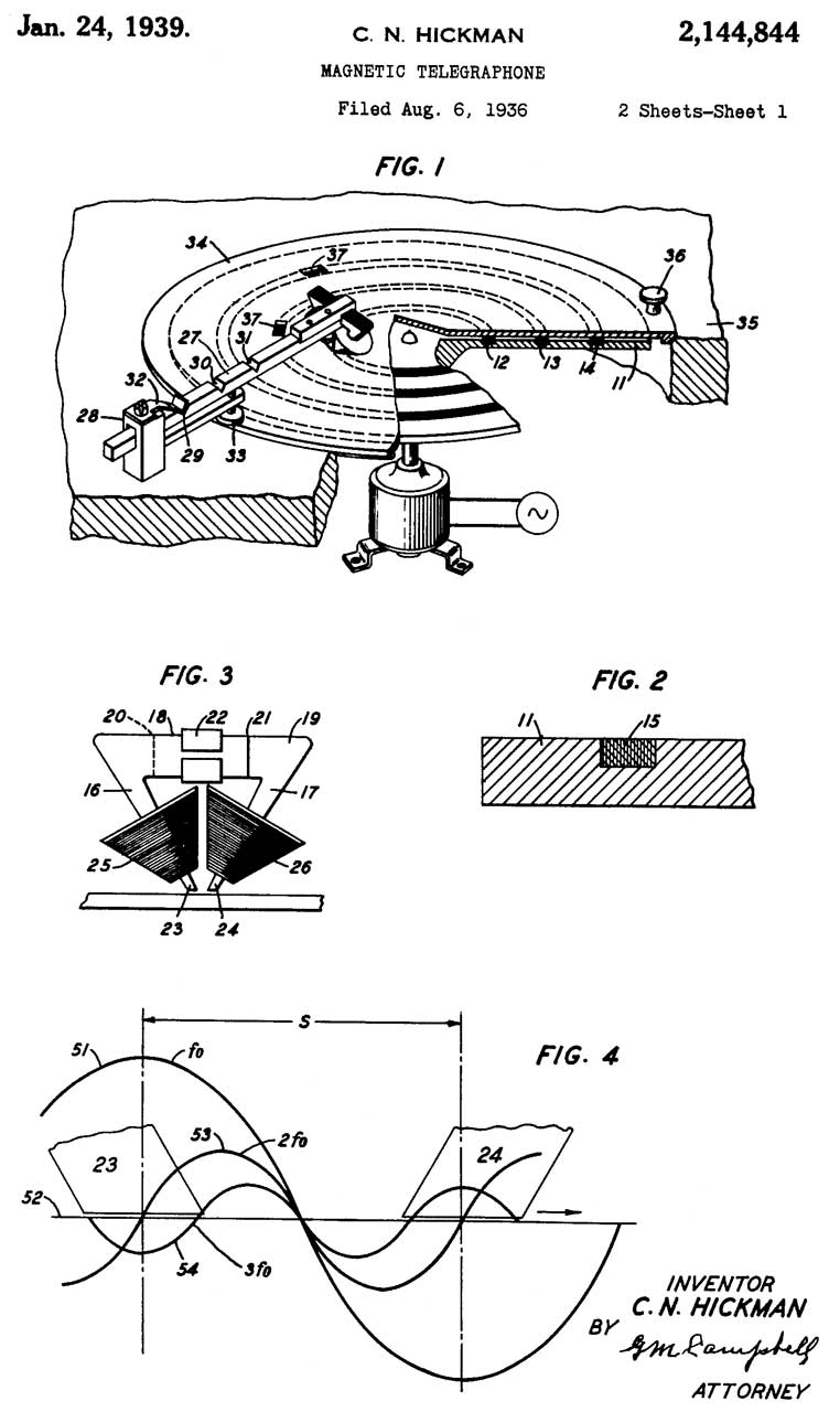
2144844
                              Magnetic telegraphone, Clarence N Hickman,
                              Bell Labs, 1939-01-24
2144844
                              Magnetic telegraphone, Clarence N Hickman,
                              Bell Labs, 1939-01-24

2144844 Magnetic telegraphone, Clarence N Hickman, Bell Labs, 1939-01-24, 360/86; G9B/25.003; G9B/5.293; 29/DIG.28; 369/278; 984/360; 360/135; 984/359 -

Bell Labs was doing a lot of work on underwater sound with a cover story about analyzing human speech around this time which required playback of sounds over and over, see Audio Analysis Patents.
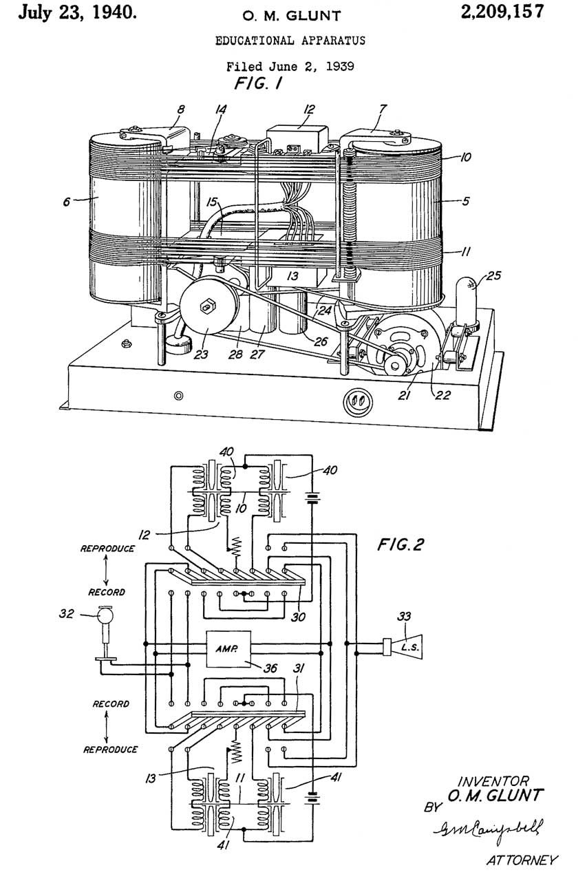
2209157
                      Educational apparatus, Omer M Glunt, Bell Labs,
                      1940-07-23, - magnetic tape
2209157 Educational apparatus, Omer M Glunt, Bell Labs, 1940-07-23, - magnetic tape

Manetic tapes 10 (reference) & 11 (student) are driven by drums 5 & 6 so they are at the exact same speed. 

2221883 Telephone answering system, Rowe Paul Henry, 1940-11-19, - improvement on his patent 2092024.  uses endless wire recording.

2446479 Method and apparatus for correcting phase shift distortion in sound recording systems, Begun Semi Joseph, Brush Development Co, App: 1942-09-17, SECRET, Pub: 1948-08-03, -

2514578 Sound recording and reproduction system, Herman S Heller, Willard E Stofer, 1950-07-11, - multiple lanes allow for more recording time for the same length of magnetic media.

2224854 Magnetic sound recording and reproducing, Begun Semi Joseph, Magnetone, 1940-12-17, 360/71; 242/327.3; 242/324.1 - continuous loop mag tape recorder

2230913 Magnetic sound recorder, Schuller Eduard, Licentia Patent Verwaltungs GmbH, 1941-02-04, 360/118; G9B/5.04 - ring shaped head & tape: "carbonyl iron powder with a base layer of cellulose acetate"

2245286 Electromagnetic sound recording, Marzocchi Luigi, Priority: Jun 26, 1936, Pub: Jun 10, 1941, 360/84, 369/97, 360/83, 346/139.00A, 360/122 - scanned mag tape recording   referenced by 91 patents

2247847 Recording and reproducing device for magnetic sound writing, Pfleumer Fritz, 1941-07-01, 360/110; G9B/5.04; G9B/5.147; 346/33M; 29/DIG.28 - the head "electromagnetic arrangement is used which functions entirely without iron"  That way there is to residual magnetism in the head that can act to erase a recorded tape.

2229293 See Memorox Paper Magnetic Disc Recording

2306162 Sound device, Harrison S Gipe, App: 1940-08-08, W.W.II, Pub: 1942-12-22, 360/89; 242/324.3; 360/75 - suitcase size, talks about problems with both tape and wire media.

D149541 Wire Recorder, Colin B Dale, Webster-Chicago, 1948-05-11, - Model 80 portable design

2364556 Telegraphone, Richard M Somers, Thomas A Edison Inc, 1944-12-05, 360/63; G9B/27.051; G9B/15.121; G9B/15.031; 360/93 - cassette with built-in recording head and multi-track tape that auto sequences and auto-reverses, like for dictation.

2291475 Airplane multiple control recorder, Kellogg Winthrop Niles, Rudolph Hans, Indiana University, 1942-07-28, - "...obtain a permanent record of the control of an airplane by a student or pilot during training or examination exercise or problem." pencil writes on paper strip pulled by clockwork.

Armour Research Models 20 & 50



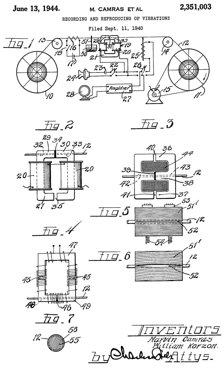
2351003
                              Recording and reproducing of vibrations,
                              Camras Marvin, Korzon William, App:
                              1940-09-11, W.W.II, Pub: 1944-06-13
2351003  Recording and reproducing of vibrations, Camras Marvin, Korzon William, App: 1940-09-11, W.W.II, Pub: 1944-06-13, - wire recorder. 
Fig 7: bronze core wire with magnetic coating.
2351004
                              Method and means of magnetic recording,
                              Camras Marvin, App: 1941-12-22, W.W.II,
                              Pub: 1944-06-13
2351004 Method and means of magnetic recording, Camras Marvin, App: 1941-12-22, W.W.II, Pub: 1944-06-13, -

The operating point on the B-H curve is optimized for low distortion.
2351005
                              Magnetic recorder, App: 1942-07-27,
                              W.W.II, Pub: 1944-06-13
2351005  Magnetic recorder, App: 1942-07-27, W.W.II, Pub: 1944-06-13, -

Military wire recorder Armour Research Foundation Model 50A ground.  Used with the Model 20 airborne recorder.
Photos in Ref 6, psge 667
2351006
                              Magnetic recording head, Camras Marvin,
                              App: 1942-07-27, W.W.II, Pub: 1944-06-13
2351006 Magnetic recording head, Camras Marvin, App: 1942-07-27, W.W.II, Pub: 1944-06-13, -

Wire deck for models 20 and 50.
2351007
                              Magnetic recording head, Camras Marvin,
                              App: 1942-08-10, W.W.II, Pub: 1944-06-13
2351007 Magnetic recording head, Camras Marvin, App: 1942-08-10, W.W.II, Pub: 1944-06-13, -

Wire head
2351008
                              Method of and means for neutralizing
                              inductive disturbances in magnetic
                              reproducers, Camras Marvin,
                              App:1942-11-18, W.W.II, Pub: 1944-06-13
2351008 Method of and means for neutralizing inductive disturbances in magnetic reproducers, Camras Marvin, App:1942-11-18, W.W.II, Pub: 1944-06-13, -

Stray magnetic fields from the transformer, choke, motor &Etc are bucked out using an auxiliary coil near the actual pickup coil.
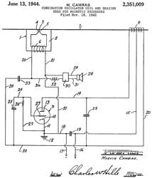
2351009
                              Combination oscillator coil and erasing
                              head for magnetic recorders, Camras
                              Marvin, App:1942-11-18, W.W.II, Pub:
                              1944-06-13
2351009 Combination oscillator coil and erasing head for magnetic recorders, Camras Marvin, App:1942-11-18, W.W.II, Pub: 1944-06-13, -

By combining the erase and bias it may be that you cannot over record.
2351010
                              Method of and means for controlling high
                              frequency voltage in magnetic recorder
                              heads, Camras Marvin, App:1942-12-26,
                              W.W.II, Pub: 1944-06-13
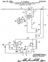
2351010 Method of and means for controlling high frequency voltage in magnetic recorder heads, Camras Marvin, App:1942-12-26, W.W.II, Pub: 1944-06-13, -
same drawing as above
2351011 Method of and means for energizing magnetic recorder heads, Camras Marvin, Armour Research, 1944-06-13, 360/66; 360/118; 29/DIG.28 - includes oscillator (18) "...Also an object of the invention resides in the provision of an electrical circuit arrangement for a magnetic recording device in which the output of an oscillatory hook-up is divided into a plurality of parts connected in series, one of the parts functioning as an erasing head to recondition the previously magnetized recording medium, and another part being directly associated with the recording head of the device to set up a high frequency magnetic field in the recording head." 


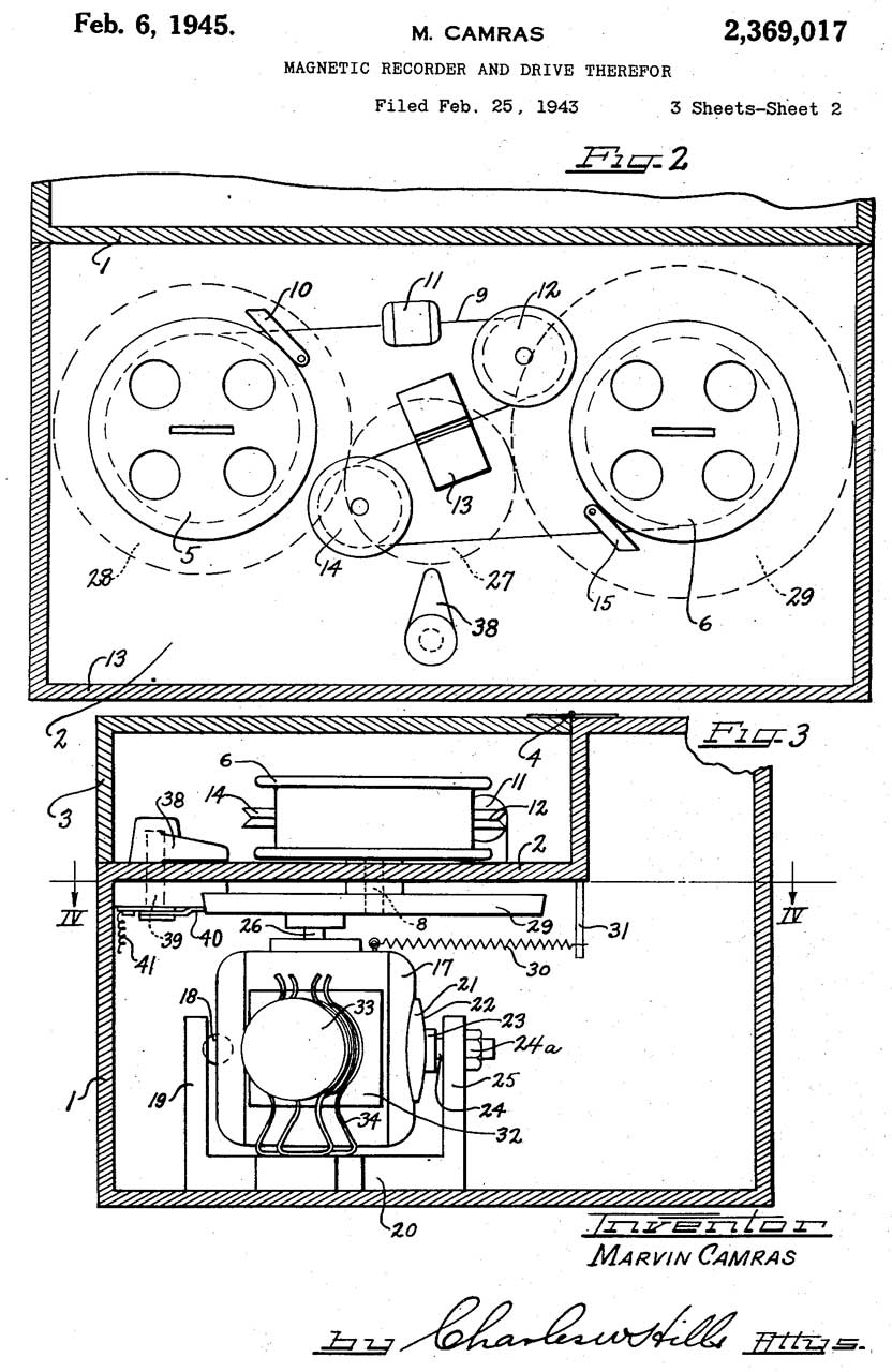
2369017
                              Magnetic recorder and drive therefor,
                              Camras Marvin, Armour Research Foundation,
                              App: 1943-02-25, W.W.II, Pub: 1945-02-06
2369017
                              Magnetic recorder and drive therefor,
                              Camras Marvin, Armour Research Foundation,
                              App: 1943-02-25, W.W.II, Pub: 1945-02-06 2369017
                              Magnetic recorder and drive therefor,
                              Camras Marvin, Armour Research Foundation,
                              App: 1943-02-25, W.W.II, Pub: 1945-02-06
2369017 Magnetic recorder and drive therefor, Camras Marvin, Armour Research Foundation, App: 1943-02-25, W.W.II, Pub: 1945-02-06, 242/356.5; 360/89; 476/11 -

Wire recorder with resilient motor mount for smooth start with no jerks.

2351005 Magnetic recorder, Camras Marvin, Armour Research, App: 1942-07-27, W.W.II, Pub: 1944-06-13, 360/89; 242/324.3 - Wire (or tape), Introduces the need for a bias oscillator (Fig 7).

2359617 Magnetic recording apparatus, James W Bryce, IBM, App: 1941-11-29, W.W.II, Pub: 1944-10-03, - looks like a cash register, prints on sheet from spool to another spool, maybe similar to magnetic printing on checks?

2378388 Recording and reproducing device, Begun Semi Joseph, Brush Development Co, App:1942-01-01, W.W.II, Pub: 1945-06-19, 324/112; 324/120; 346/21; 360/5; 361/149; 367/135; 324/180; 346/25; 361/143; 361/151 - continuous wire loop for transient analysis

2380392 Magnetic recording and reproducing, Begun Semi Joseph, Magnetone, App: 1943-07-21, W.W.II, Pub: 1945-07-31, 360/7; G9B/31; 360/31; 369/7 - time delay loop, for broadcasters "kill button".

2414976 Flight recording instrument, William S Redhed, 1947-01-28, 346/7; 346/49; 346/139R; 346/145 - mechanical pen on paper chart, for experimental aircraft and training

2416610 Magnetic recorder utilizing an energizing oscillating circuit, Camras Marvin, Raymond E Zenner, Armour Research, App: 1942-12-26, W.W.II, Pub: 1947-02-25, 360/66; 360/130.2; 360/89 - wire recorder, mostly about small size for use on aircraft AIC circuits, "...such an oscillating circuit is understood by those skilled in the art. " So the bias oscillator came earlier.
2419195
                      Apparatus and method for magnetic recording, Begun
                      Semi Joseph, Brush Development Co, App:
                      1944-06-16, W.W.II, Pub: 1947-04-22
2419195 Apparatus and method for magnetic recording, Begun Semi Joseph, Brush Development Co, App: 1944-06-16, W.W.II, Pub: 1947-04-22, 360/29; 29/DIG.28; 346/33M; G9B/5.031 - for transient analysis

The underwater audio signals from ships and submarines involve frequencies below hearing.  These signals are also very difficult to record directly onto magnetic media.  By using FM modulation prior to recording signals down to and including DC can be recorded.  This is needed to do audio analysis of these signals.

See: Ref 4 & Ref 5.

2461368 Magnetic transducing apparatus utilizing a helical sound trace, William E Bradiey, Philco Corp, Filed: Dec 19, 1944, Pub: Feb 8, 1949, 360/29 - wire recorder.  They had problems with wire rotation.

2466514 Magnetic recording and reproducing device with means to prevent accidental erase of record medium, Harold A Vagtborg, Armour Research Foundation, App: 1944-11-23, SECRET, Pub: 1949-04-05, 360/60; G9B/15.008; 242/324.2 - Spool interlock to prevent overwriting.

2467507 Wire feed for magnetic recorders, Irving A Stone, Wirecorder Corp, 1949-04-19, 360/89; 226/181; 242/324.1 - uses capstan (Wiki) instead of small storage spool and fixed large spool/flywheel.  Complex & Expensive.

2475421 Combined erasing and recording magnetic transducer, Camras Marvin, Armour Research, 1949-07-05, 360/121; 360/123.01; 336/184; 336/178; 360/118 - "E" core head with seperate gaps and windings for Erase and Record/Play.  Both 2 and 3 gap versions (erase, record, play).

2481004 Wire recorder, Colin B Dale, Webster-Chicago, 1949-09-06, 242/324.1 - wire tension control (to prevent breaking wire or letting it tangle).

2493657 Method of winding wire onto a spool, Colin B Dale, Webster-Chicago, 1949-09-06, 1950-01-03, 242/324.3 - the spools move up & down to spread the wire evenly.
2496047 Art of
                      recording and reproducing two-sided magnetic
                      records, De Witt R Goddard, RCA, 1950-01-31
2496047 Art of recording and reproducing two-sided magnetic records, De Witt R Goddard, RCA, 1950-01-31, - Möbius strip (Wiki) - "Accordingly, the principal object of the pres ent invention is to provide an improved paper tape telegraphone record and One capable of accommodating a longer recording than has here tofore been thought possible of practical achievement with paper-tape records."

2550803 Magnetic record, De Witt R Goddard, RCA, 1951-05-01, -

2499699 Wire and tape driving means, Russell J Tinkham, Magnecord, 1950-03-07, 226/183; G9B/15.039; 226/155 - without using sprocket holes - capstan drive shaft (13) is hard, pinch rollers (14 & 15) are soft.

2510575 Removable flight recording apparatus, Claude M Hathaway, 1950-06-06, - stylus on metallic foil.

2269152 Foil gauge, Claude M Hathaway, GE, 1942-01-06, - Claude invented a gauge while working at GE then invented a new use for the metal foil.

2440605 Accelerometer, 2240184 Electric, 2276843 Pressure

2513617 Magnetic recording and reproducing, Begun Semi Joseph, Brush Development Co, App: 1946-08-06. W.W.II, Pub: 1950-07-04, 360/110; G9B/5.04 - "...magnetically record or reproduce signals by means of a moving magnetic signal-carrier filament, such as a magnetic wire with substantially uniform response and level characteristics,..."

2515190 Record protector for magnetic recording and reproducing devices, Camras Marvin, Armour Research Foundation, App: 1944-07-17, W.W.II, Pub: 1950-07-18, 360/60; G9B/15.084; G9B/15.006 - "Upon the rewind and reproduction operations, the erasing head is automatically cut out of service."  A write protected spool locks rotation of shaft.

2521623 Magnetic recording and reproducing, John P Arndt, John E Shomer, Brush Development Co, App: 1945-02-06, W>W.II, Pub: 1950-09-05, 324/112; 360/5; 324/120; 360/88 - FM modulated for transient analysis

2532541 Mounting for wire recorder supply spools, Colin B Dale, Webster-Chicago, 1950-12-05, 242/571.4 - the spools move up & down to spread the wire evenly.

2536126 Wire recorder spool, Colin B Dale, Webster-Chicago, 1951-01-02, 242/125.2 - with pinch to hold end of wire.
2536260 Device
                      for reproducing magnetic records, Jr Leslie L
                      Burns, RCA, 1951-01-02
2536260 Device for reproducing magnetic records, Jr Leslie L Burns, RCA, 1951-01-02, 360/123.02; 324/212; 336/160; G9B/5.105 - "Accordingly, the principal object of my present invention is to provide a magnetic phonograph having a substantially linear frequency response characteristic." uses a balanced discriminator circuit (Seeley 2121103)

2537260 Wire recorder, Colin B Dale, WebsterChicago, 1951-01-09, 242/334; 242/324.1; 242/571.4 - maybe Model 80 portable, Classic Play - Stop - Rewind lever at front of deck.
2540654 Data
                      storage system, Arnold A Cohen, William R Keye,
                      Charles B Tompkins, Engineering Research Assoc,
                      1951-02-06
2540654 Data storage system, Arnold A Cohen, William R Keye, Charles B Tompkins, Engineering Research Assoc, 1951-02-06, 360/51; 235/449; 235/493; 315/244; 324/212; 360/73.03; 360/100.1; 101/93; 346/33M - Magnetic Drum Memory
Cites IBM punch cards (2150256) as prior art, Cited by 200 patents! i.e. pioneer digital magnetic recording

2551845 Recording head assembly, Harold W Lindsay, Ampex, 1951-05-08, 360/90; 360/251.3; 360/118; G9B/15.076; G9B/5.034 - for 1/4" audio magnetic tape.

2557437 Magazine type recording apparatus, Jepson Ivar, Sunbeam Corp, 1951-06-19, - aircraft engine RPM and manifold pressure scratched on 35mm film stock.

2596536 Wire recorder, Colin B Dale, Webster-Chicago, 1952-05-13, 242/324.1; 242/333; 242/356.5; 242/586.4; 242/912; 242/597.7; 242/353 - Nylon or string leader on end of wire

2609457
                        Electromagnetic sound recorder and reproducer,
                        Thurm Leon, 1952-09-02
2609457 Electromagnetic sound recorder and reproducer, Thurm Leon, 1952-09-02, 360/90; G9B/25.005; G9B/15.047; 360/261; 242/356.7 - massive central flywheel (larger than the case) with two small spools in a cassette.  Multi track monaural tape recorder.  Looks like BoomBox (Wiki).

2611813 Magnetic data storage system, Thomas K Sharpless, Jr Edwin S Eichert, Technitrol Eng Co, 1952-09-23, - multi platter disk drive.

2614845 Wire recorder, Colin B Dale, Webster-Chicago,1952-10-21, 360/89; G9B/15.048; 369/259; 242/324.1; 360/130.1 - maybe to keep the wire from spilling

2616982 Magnetic recorder, Gray Robert, Ellis Robert, Raytheon, App:1946-08-24, SECRET, Pub: 1952-11-04, 360/89; 242/324.3 - small size, reliable, easy to use, battery power; why, for spies? or use on military vehicle?  Record time can be preset up to 30 minutes, why? mentions recording conference speeches using desk microphone.

2618709 Cylindrical contact magnetic head, Jr John Presper Eckert, Mock Leon Robert, Eckert Mauchly Computer Corp (DMCC), 1952-11-18, 360/121; G9B/5.05; G9B/5.051; G9B/5.035; G9B/15.082; G9B/15.077; G9B/5.076; 360/15; 360/129; 360/128 - multi track digital tape head

2629827 Memory system, Jr John Presper Eckert, John W Mauchly, - various magnetic memory devices for computers, 1953-02-24, 360/54; 340/12.14; 365/157; 365/214; 379/280; 310/327; 333/141; 365/76; 365/211; 365/225.5; 327/406; 327/165; 327/263; 369/60.01 - ENIAC (Wiki)

2656524 Data storage and reproducing apparatus, Darrin H Gridley, Anthony J Stecca, 1953-10-2, - multiple channel magnetic recording of telemetry data (Wiki), uses tubes so maybe before IRIG (Wiki)?

2692379 Blocking oscillator magnetic recording device, Dolan H Toth, Sec of Navy, 1954-10-19, 360/67; G9B/5.05; G9B/5.033; 346/33M - for digital data, correct closed loop head design with small gap, the recording head is also the transformer of the blocking oscillator (also see Joule Thief).

2694656 Magnetic impulse record member, magnetic material, and method of making magnetic material, Camras Marvin, Armour Research Foundation,1954-11-16, - calls DE500900f - for magnetic material for tape recording.

2698875 Plural track magnetic recording and/or reproducing apparatus, James H Greenwood, Magnecord, 1955-01-04, 360/23; 360/63; 386/E5.008; G9B/5.16; 235/61PL - 6 tracks - "One application of the invention is in the field of recording television (video) signals for subsequent reproduction. Another application of the invention is in the field of recording military and communication signal currents of a frequency both within the standard video band as well as of frequencies above that band which are considered as falling within the video frequency range."

2713618 Pocket recorder, Louis A McNabb, 1955-07-19, 360/89; 360/71; 242/324.1 - wire recorder, coaxial spools, dual coil "C" shape read/write head, Record-Off-Rewind-Off-Listen switch,
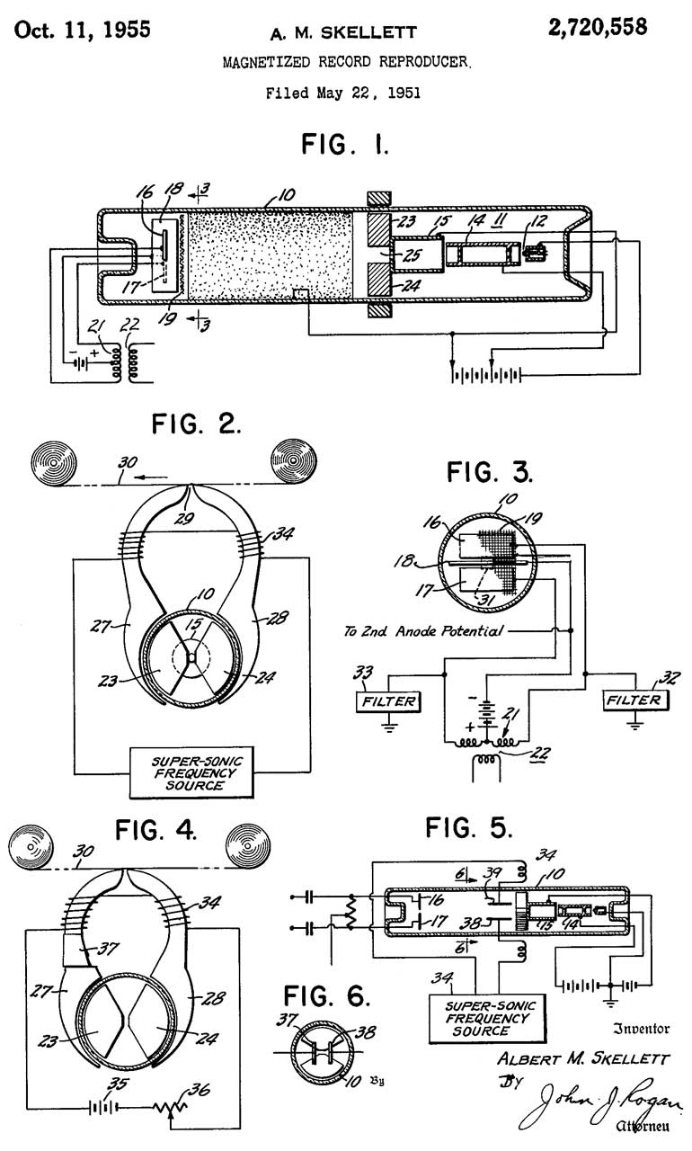
2720558
                      Magnetized record reproducer, Albert M Skellett,
                      National Union Electric Corp, 1955-10-11
2720558 Magnetized record reproducer, Albert M Skellett, National Union Electric Corp, 1955-10-11, - can process DC levels, unlike his prior patent 2165307.

2722676 Magnetic information-storing device, Begun Semi Joseph, Clevite, 1955-11-01 360/61; 360/72.3; 360/78.15; 235/61PL - 

2778636 Endless tape cartridge, George H Eash, Charles I. Poulsen, 1957-01-22, 242/326.2; 360/132; 242/345.3; 242/615.4 - Wiki: 8-track tape -

2787750 Speed control system for electric motor, Lawrence G F Jones, Sperry Rand, 1957-04-02, - Drum computer memory, tubes,  Cites 13, calls 24,
2792217 Tape
                      feed mechanism, James A Weidenhammer, Walter S
                      Buslik, IBM, 1957-05-14
2792217 Tape feed mechanism, James A Weidenhammer, Walter S Buslik, IBM, 1957-05-14, 226/50; 226/51; 226/186; G9B/15.075; 714/E11.055; 178/17B -

The free standing tape recorders used with computers are optimized for the highest possible speed of access.  They can not afford the mass of the tape tension swing arms, like on the Magnacord 1024, and have replaced both of them with a small elevator shaft like compartments where the tape hangs.  There's a control system that drives the reels to maintain the loop in the elevator compartments.  The tape should be as light as possible without breaking.

Professional audio tape recorders might run at 15 inches per second, the digital data tape machines could run at 75 to 200 ips (IBM: 3420).  Overview (HP: 7970)

Another factor is the data formatting which has a data track per bit so for recording bytes (8 bits) the recorder will have 9 tracks including a parity track, hende "9 Track Tape" (Wiki). There's a limit to how dense the bits can be recorded because of skew and imperfect alignment of the head gaps.

Wiki: Magnetic Tape Data Storage-Technology, IBM 727, IBM 729,

2794066 System for recording and reproducing television signals, John T Mullin, 3M Co, 1957-05-28, 360/23; 330/148; 327/297; 330/124R; G9B/15.018 - 15750 Hz timing trace, audio track & 38 other tracks.

2796571 Electric motor, William L Dunn, Magnecord, 1957-06-18, 318/722; 310/112; 310/164 - "... single-phase alternating-current machine that can be used as a synchronous motor, a variable speed motor, or a variable speed motor synchronized by external Synchronizing pulses." i.e. a stepper motor
(see 2866009)
DE970710 Small magnetic sound device for sound recording and playback, Willi Draheim, Dipl-Ing Ernst Genning, Nicholas Monske, App: 1951-10-28, Pub: 1958-10-16, -

2819957 Steel alloys for making magnetic recordings, Appel Karl, C Pouplier Jr, 1958-01-14, 420/94; G9B/5.237; 420/95; 420/97; 420/96; 420/98 - patent number seen on a Protona minifon P55 wire reel - Example 6: "This alloy is made into a wire having a diameter of 0.05 mms. Coercive force 450 oersted, retentivity 3000 gauss, at field intensity 900 oersted. "

2838360 Simplified crash data recorder, John V Foster, 1958-06-10, 346/74.2; 346/21; 346/7; 346/49; 346/74.5; 346/72; 360/5; 369/75.11 - magnetic drum
2862199
                      Magnetic drum storage system, John E Scott, Sperry
                      Rand, 1958-11-25
2862199 Magnetic drum storage system, John E Scott, Sperry Rand, 1958-11-25, -prior art patents cover magnetic wire and tape recording.

2866009
                              Sound recording and sound reproducing
                              apparatus, Genning Ernst, Draheim Willi,
                              Monske Nikolaus, Protona, App: 1951-10-27,
                              Pub: 1958-12-23
2866009
                              Sound recording and sound reproducing
                              apparatus, Genning Ernst, Draheim Willi,
                              Monske Nikolaus, Protona, App: 1951-10-27,
                              Pub: 1958-12-23 2866009
                              Sound recording and sound reproducing
                              apparatus, Genning Ernst, Draheim Willi,
                              Monske Nikolaus, Protona, App: 1951-10-27,
                              Pub: 1958-12-23

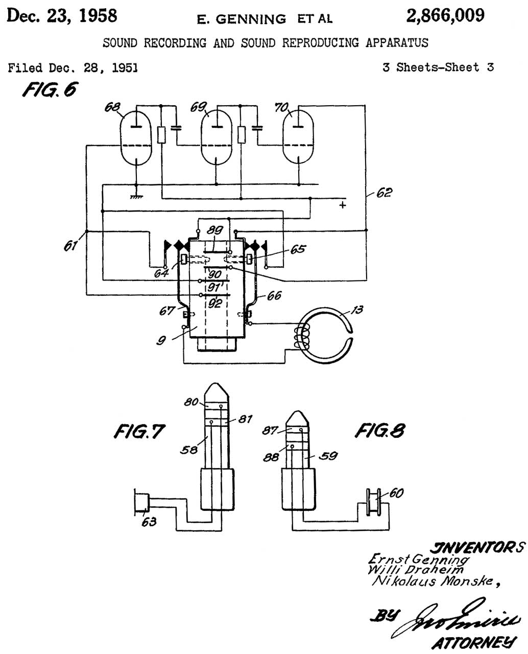
2866009 Sound recording and sound reproducing apparatus, Genning Ernst, Draheim Willi, Monske Nikolaus, Protona, App: 1951-10-27, Pub: 1958-12-23, 360/89; 242/355; 360/71; 242/356 - Minifon

2 & 3: 9V Motor Batteries (100ma @ 9V)
4: 1.5V Filament Battery
5: 30V B+ Battery
6: Battery or External Power Switch
7: Motor Control (Run/Stop) also brakes reel and turns on/off batteries.
8: Volume Control
9: Microphone (2 types) or Earphone Jack
10: Forward/Reverse
11: Supply Reel
12: Takeup Reel
13: Head
14: Permanent Magnet Erase Head
17: Motor
60: Output (short plug 59) headphone 63
63: Input (long plug 58) crystal diaphragm mike 60 or phone coil

Motor fly-ball governor and Friction brake used to control wire speed.  Ideal is 10 to 12 ips.
Cites:
597782 Telephonic Installation, G. Ritter, 1898-01-25, - switchboard plugs & jacks
1237496 Telegraphone, see above.
GB567152 apparatus for magnetically recording, reproducing and transmitting speech and messages, Robert Saint George Terry, Sydney James Smith, Telephone Manufacturing, 1945-01-31,
2369017 Magnetic recorder and drive therefor, See above.
2481004 Wire recorder. See above.
2609457 Electromagnetic sound recorder and reproducer. See above.
2616982 Magnetic recorder, See above.

2870270 Magnetic reproducing systems, Nagai Kenzo, Uemura Saburo, 1959-01-20, 360/123.01; G9B/5.104; 324/253 - reintroduce AC head bias

2908769 Tape recorder, Jay C Fonda, 1959-10-13, -
magnetic tape recorder, continuous loop, wide multi track tape.  Application?

2956114 Broad band magnetic tape system and method, Charles E Anderson, Ray M Dolby, Charles P Ginsburg, Jr Shelby F Henderson, Ampex, Oct 11, 1960, 360/30, 386/E05.9, 386/335 - helical scan video  
2959459 Flight
                      recorder, James J Ryan, App: 1953-08-04, Pub:
                      1960-11-08
2959459 Flight recorder, James J Ryan, App: 1953-08-04, Pub: 1960-11-08, 346/7; 346/18; 346/32; 346/136; 73/489; 346/23; 346/49; 73/514.13; 73/514.38; 73/514.33 -

This was an analog mechanical system where the data was recorded on metal foil written on by a stylus.

General Mills & the University of Minnesota were involved with this development.  General Mills was also a key player in high altitude balloons.  See Sonobuoy \ Roswell Connection

General Mills also was involved with the development of DSV Alvin (Wiki)

calls Workman's time-recorder, see: Watchman's Clock - is different from a workman's time clock.
2973156 Tape
                      recorder, Draheim Willi, Rhein Handel ges, App:
                      1956-12-01, Pub: 1961-02-28
2973156 Tape recorder, Draheim Willi, Rhein Handel ges, App: 1956-12-01, Pub: 1961-02-28, 242/356.4; D14/161; 242/355; 242/356.5 - similar to: Joy Stick or car manual transmission floor mounted lever

2992296 Crash data recorder, Albrecht Fritz, 1961-07-11, 360/5; 346/38; 346/21; 346/33M; 976/DIG.207 - magnetic recording on loop,

3011136 Electro-acoustic delay-line, Scarrott Gordon George, Ferranti, 1961-11-28, -
later used in the Friden EC-132 all electgronic calculator. YouTube: An astonishing old calculator - Numberphile, 9:19 - Cliff Stoll - Friden Calculator (extra footage), 8:09 -
3265908 Current pulse generator
3286190 Electromechanical delay line having profiled sensitivity transducer for correcting pulse dispersion
3465301 Delay line resynchronization apparatus
3495221 Data detector (calculator)
3546676 Calculator, Robert A Ragen, Singer, 1970-12-08, - Polish Stack register (Wiki: RPN)
3634666 Electronic desk top calculator having a delay line and automatic decimal alignment

3016244 Miniature magnetic sound recording and reproducing device, Schuh Carl Friedrich, Bavaria Lower, Hermann Gunter, Protona Prod, 1962-01-09, 242/333; 200/80R; 242/324.3; 242/597.3; 242/357; 242/331.3; 242/356.3 - Was this the start of the piano keyboard push buttons that were used on cassette tape players, i.e. Stop, Rewind, Play Back, Record?  The P55 model.  The model in Dragnet 1954 movie was an earlier M55 version.

3029684 Camera-projector apparatus, Lowell A Wilkins, Florence Kane, Henry S Kane, 1962-04-17, 352/29; 352/138; 360/3; 355/31 - adds optical sound recording
2910911 Portable sound and motion picture camera, optical sound track

3039319 Magnetic tape recorder, John P Lekas, 1962-06-19, - the provision of a tape recorder mechanism in which the pay-off and take-up reels are arranged one over the other in coaxial relationship, thereby conserving space.
3068455
                      Magnetic drum storage systems, Cebern B Trimble,
                      NCR Corp, 1962-12-11
3068455 Magnetic drum storage systems, Cebern B Trimble, NCR Corp, 1962-12-11, - vacuum tubes

To prevent head crashes:
1. the heads are retracted during spin-up and spin-down.
2. Head gap control to counteract temperature variations.


3070668 Hand recording apparatus, Owner John Lechmere, Archer John, US Philips, 1962-12-25, 360/117; 360/62; 360/67 - Hand held magnetic record/reproduce head with electronics, i.e. manually scan flat media.  Toy?
3077315
                      Recording medium transport mechanism, Draheim
                      Willi, Tcck Unter, Mohl Karl, App: 1960-04-23,
                      Pub: 1963-02-12
3077315 Recording medium transport mechanism, Draheim Willi, Tcck Unter, Mohl Karl, App: 1960-04-23, Pub: 1963-02-12, 242/356.5; G9B/15.002; G9B/15.034; G9B/15.041; G9B/15.05 -

3134097 Data storage machine, Louis D Stevens, William A Goddard, John J Lynott, IBM San Jose, 1964-05-19, 360/78.04; 360/75; 360/246.7; 360/267.2; 360/267.9; G9B/25.003; G9B/5.187 - digital magnetic drum (really writing on the OD of many disks).

3264622 System for compensating for tape skew and gap scatter, Richard K Gerlach, NCR, 1966-08-02, -

3326491 Reversible vacuum hub tape reel, Gordon E Bradt, Norman R Kubnick, George B Shields, Bell & Howell, 1967-06-20, -

3612774 Snap-on erasing member for compact cassette recorder, Edgard R Wiklund, 1971-10-12 360/128; 360/118; G9B/5.181; G9B/5.026 - permanent magnets used to erase cassette tape (Wiki).
3678481
                              Data storage apparatus employing a single
                              magnetic disk, Warren L Dalziel, Jay B
                              Nilson, Donald L Wartner, IBM San Jose,
                              1972-07-18
3678481
                              Data storage apparatus employing a single
                              magnetic disk, Warren L Dalziel, Jay B
                              Nilson, Donald L Wartner, IBM San Jose,
                              1972-07-18 3678481
                              Data storage apparatus employing a single
                              magnetic disk, Warren L Dalziel, Jay B
                              Nilson, Donald L Wartner, IBM San Jose,
                              1972-07-18

3678481 Data storage apparatus employing a single magnetic disk, Warren L Dalziel, Jay B Nilson, Donald L Wartner, IBM San Jose, 1972-07-18, 360/78.04; G9B/17.011; G9B/17.01; G9B/5.294; G9B/5.187; 360/99.05; 360/99.06; 360/130.34; 360/133 -  8" Floppy drive

AN/FSH-6 Burst Transmission 1/2" Tape Recorder

These were used to record burst transmissions (Wiki) from Russian Subs as part of Project Boresight (Wiki).  This was an HF direction finding system.


3317873 Multi-channel rotary transformer, Himmelstein Sydney, Howard S Knaack, Richard S Tveter, 1967-05-02, -
3441886 Rotary transformer with integral bearing
3531748 Rotary transformer construction, Richard S Tveter, Sydney Himmelstein, Himmelstein & Co, 1970-09-29, -
3531749 Rotor structure, Richard S Tveter, Sydney Himmelstein, Himmelstein & Co, 1970-09-29, -
where was this used, let me know.
3441187 Loop
                      tape transport mechanism, Richard S Tveter, Sydney
                      Himmelstein, 1969-04-29
3441187 Loop tape transport mechanism, Richard S Tveter, Sydney Himmelstein, 1969-04-29, -by eliminating tape reels, the inertia is limited to the tape itself so it can move very fast.

3717029 Torquemeter, R Tveter, Himmelstein & Co, 1973-02-20, - probably used with the rotary transformer in the tape drive
3800591 Hollow reaction torquemeter, R Tveter, Himmelstein & Co,1974-04-02, -
3827506 Torque control apparatus, R Tveter, S Himmelstein, 1974-08-06, - for tightening nuts?

Movie Sound

In the late 1960s I was taking camera classes at De Anza College which included both still and movie.  Around that time shot a sound color 16mm film at the Fremont Drag races.  I was a technical advisor and had access to the pits.  The "Funny Car" class were supercharged using Nitro-methane fuel.  These were essentially AA Fuel dragsters with the shell of a car body.  To access the engine you did not lift the hood, but instead lifted the whole body as if it were the hood.  A pump type oil can was used to squirt the  fuel directly into the supercharger inlet, making a distinctive clicking sound.  Then when the engine starts there's an unmistakable sound.

To record the sound a special Nagra tape recorder was rented.  At the start of each scene a movie clapperboard (Wiki) was used. A wire was run from the camera (which had a 60 Hz generator) to the battery powered portable tape recorder center track..  A "Pilot Tone" was recorded at the same time as the monophonic sound track.  (Wiki: Pilottone Technology).  The audio tape was sent to the lab along with the 16mm film.  When it came back I got a 16mm film  and a separate 16mm film that was a magnetic tape.  By using a multigang 16mm editing setup the clapper hit could be synced with the sound by locking the mag film spool to the movie film spool.  This way you can edit both the sound and film and keep them both in sync.

Then the two films (picture and sound) are sent to the lab and you get back a single 16mm sound film where the sound track can be either magnetic or optical.  I got the magnetic version since the Bolex 16mm movie projector has a mag audio track reader.

Components of film editing bench:
  • Moviola SZB Magnasync with a magnetic read head and URS 5-Watt audio amplifier, I think mine had 3 or 4 sprockets.  The sprocket wheels can either turn freely, independent of each other, or be locked together after the sound is synced.
  • Moviola 16mm viewer.  This has a light and maybe 4" x 3" magnifying glass, no motor.
  • a couple of film winders that need to be mounted on a board.  These have long shafts and squeeze type clamps that slide to any position then spring lock.
  • Splicing block that allows cutting film, beveling the edge and holding that piece of film, then allowing cutting and beveling the other film end.  Each piece of film held on a hinge so that after cement applied the two films are slapped together and in a few seconds the cement dries.  Very precise because of pin registration.

NAGRA (Wiki)

The thing about NAGRA tape recorders is their precision and elegance.  A pleasure to look at or hold.
I used one of these to record sound for a movie, but in Spying On Cell Phones Ref 9 I learned that they were also used as a body worn recorder for "wires". 
Fig 1
NAGRA SN
                      Série Noire minature tape recorder

The Série Noire were made at the request of President Kennedy for the US Secret Service.  They are much smaller than the pilottone models. (Wiki)

CH379146 Procédé d'enregistrement et/ou de reproduction d'un second canal sur une bande magnétique et dispositif pour sa mise en oeuvre [Method for recording and/or reproducing a second channel on magnetic tape and apparatus for implementing it], Stephane Kudelski, App: 1961-11-14, Pub: 1964-06-30, - This is the pilottone (Wiki)
3734368 Magnetic tape recorder with constant tape tension, S Kudelski, 1973-05-22, -

Memovox

A possibility is that the references to Memorox were a typo and the real name is Memovox.  They had a machine very much like the ones shown in the QST article and the Wireless Museum video (see: Aperiodic non tuned wide band receivers).
AAF Radio: Recorders: ANQ-1 Wire Recorder, ANQ-2 Acetate Disk (Memovox), RD-7/APA-23 Thermal Paper Recorder, R-34/APR-2 has narrow thermal paper recorder,

The Museum of Obsolete Media page for Memovox (early 1940s - 1950s), says they were used for recording both military and civilian purposes including interphone coms on the Enola Gay (Wiki)
2293217
                      Phonograph apparatus, Rieber Frank, Memovox Inc,
                      Pub: 1942-08-1
2293217 Phonograph apparatus, Rieber Frank, Memovox Inc, Pub: 1942-08-18, -This is not magnetic recording, but rather embossing of plastic.
2411501 Sound
                      recording system, George P Brubaker, Memovox Inc,
                      App: 1944-05-16, W.W.II, Pub: 1946-11-26
2411501 Sound recording system, George P Brubaker, Memovox Inc, App: 1944-05-16, W.W.II, Pub: 1946-11-26, - VOX

It's interesting that the last three letters in the company name are VOX.  This can have the meaning "Voice Operated Relay" which is commonly written as VOX (Wiki).  This is a patent for a VOX that's used to turn on the voice recorder when there's a sound and turn it off when it's quiet.

Memorox Paper Magnetic Disc Recording

I found out about this from a YouTube: Antique Wireless Museum: Patrolling the Ether in WW2 - Radio Intelligence for the War Effort, at 12:11 is shown a FBIS Broadcast Recording Unit using a half dozen "Memorox" Paper Disc Recording machines and at 12:52 is a close-up of the recorder.  See: Aperiodic non tuned wide band receivers for more on the Memorox disc recorders

In the Oct 1944 issue of QST "Hams in the RID" there's a photo showing these machines:
https://worldradiohistory.com/Archive-DX/QST/40s/QST-1944-10.pdf#page=25
with a caption that reads: "Transmissions being recorded on Memorox discs.  Each drawer beneath the amplifier includes a turntable and a magnetic recording head which embosses on paper based discs one hour and five minutes of playing time per side.  The operator here is transcribing signals which have been previously recorded."

Although I have not found anything about Memorox, patent 2229293 does cover a magnetic disk recording system intended for dictation that has the look and feel of the ones in the above references.

2229293
                      Magnetic recording system, Walter P Huntley, Ray M
                      Chenoweth, Emmett M Irwin, C-W-B Development,
                      1941-01-21 2229293
                      Magnetic recording system, Walter P Huntley, Ray M
                      Chenoweth, Emmett M Irwin, C-W-B Development,
                      1941-01-21 2229293 Magnetic recording system, Walter P Huntley, Ray M Chenoweth, Emmett M Irwin, C-W-B Development, 1941-01-21, -

C-W-B Development holds at least 4 patents related to dictating machines.

In addition to dictating machines Chenoweth holds patents on well drilling magnetic instrumentation.
2303360 Apparatus for determining inclination of well bores, Cooperative Development Co, 1942-12-01, - based on rolling balls.

Fig 4 on the second page is a Disk version that has wheels on the right side that look a lot like those on the Memorox magnetic disc recorders used by the FCC during W.W.II to record various radio transmission.

.

SoundScriber

The first generation SoundScriber (Wiki) worked by embossing a plastic disk.  This is very different from cutting vinyl in that there are no chips or swarf (Wiki) in the embossing process.  The company later used magnetic tape for their dictation machines but the tape was paper based.

2222342
                      Electromagnetic sound recorder, Thompson Lincoln,
                      SoundScriber Corp, 1940-11-19
2222342 Electromagnetic sound recorder, Thompson Lincoln, SoundScriber Corp, 1940-11-19, -

Obsolete Media: SoundScriber (1942 - 1960s) - This is NOT a magnetic recording but rather embossing plastic.

The company later took up magnetic tape recording based on paper tape.


Magnetic Detector & Barkhausen Noise

The 1902 Magnetic Detector (Wiki) consisted of iron wires moving inside an input coil with magnetic bias, so very similar to a wire recorder.
There was very noticeable Barkhausen Noise (Wiki). YouTube: TSG Physics: Barkhausen Effect, 1:02 -

Related

GRA-71 Coder-Burst Transmission Group
Magnacord 1024 Tape Recorder
Phones - Edison, Victor & Gramophone sound recorders
SSQ-53A Sonobuoy - Audio Analysis related to modern FFT type displays
Submarines
Telephone Patents

References

Ref 1: Magnetic Recording the First 100 Years,

1. Introduction
2.The Magnetic Recording of Sound
3. The Telegraphone
4. Steel Tape and Wire Recorders
5. The Introduction of the Megnetophone (plastic tape)
6. Building on the Magnetophone (Wiki: Magnetophon)
7. Product Diversification
8. The History of Digital Audio
9. The Challenge of Recording Video
10. Early Fixed-Head Video Recorders
11. The Ampex Quadruplex Recorders
12. Helical-Scan Recorders for Broadcasting
13. Consumer Video Recorders
14. Digital Video Recording
15. Capturing Data Magnetically
16. Data Storage on Drums
17. Data Storage on Tape
18. Data Storage on Hard Magnetic Disks
19. Data Storage on Floppy Disks
20. Instrumentation Recording on Magnetic Tape
Ref 2: Radio and Television News, May 1953, pg 38: A Diminutive Wire Recorder by Harvey Sampson,  (pdf) & pg 158 (pdf)
Ref 3: Journal of the Audio engineering Society, 1953, Jan, V1 No. 1: A New Pocket Wire Recorder - Oliver Read, pg 22 - 26
Ref 4: Richard L HessAudio Tape Restoration Tips & Notes - Instrumentation -
Ref 5: HP App Note 89 Magnetic Tape Recroding Handbook, 1967, 40 pgs - excellent overview of magnetic recording. Includes some IRIG (Wiki) specs which drove the spces on instrumentation recorders.
Ref 6: Magnetic Recording Handbook, Marvin Camras (288 Patents, block of 9 patents, Wiki) 4988,  ISBN: 0-442-26262-0 (Google preview)
1. Magnetic Recording History and Early Recorders
Part 1 Theory, Technology, and Manufacture
2. Fundamentals of Magnetic Recording
3. Magnetic Record Media
4. Magnetic Heads
5. Magnetic Heads: Special Designs
6. electronic Systems
7. Tape Transports
8. High Density Recording and Noise Limits
Part 2 Applications of Magnetic Recording
9. Professional Audio
10. General Audio Recording
11. Professional Video Recording
12. Home Video Tape Recording
13. Data Recroding
14. Computer Recording
Bibliography and References
App A. Highlights of Magnetic Recording Development
App B. Magnetic Recording Album
App C. Advances in Basic Magnetism
App D. Advances in Applied Magnetism
App E. True Position Dimensioning
App F. Compace Cassette Dimensions
App G. Standards Agencies
App H. ANSI Stds
App I. SMPTE Stds
App J. Physical Constants
App K. Conversion Factors
App L. Reference Info of Special Interest
Index
Ref 7. The Sound Barrier, 1952 (IMDB, Wiki) - Wire recorder used for ground to plane communications.  Bell X-1 (Wiki) first to break the speed of sound with rocket engine.
Ref 8. The Birth, Boom and Bust of the Hard Disk Drive, 22:01 - @6:29 The spec was two spindles of 30MB each, i.e. the 30-30.  "If it's a 30-30 then it must be a Winchester" (Wiki).
Ref 9. How Good Can a Wire Recorder Sound? - Ekko Recorder Restoration Part 6/6, 16:04 -
Ref 10. Black box: Inside a flight data recorder, 2:14 -

Links

The History of Magnetic Recording by Steven Schoenherr, University of San Diego, Nov. 5, 2002 - "The U. S. Navy discovered a new use for the Telegraphone in World War I. In 1914 Germany used wire recorders purchased from the American Telegraphone Company to transmit high-speed wireless telegraph messages to German submarines in the Atlantic. Only another Telegraphone operating at high speed could record the messages and make them intelligible at a slower speed."  See the GRA-71.

History of Sound Recording Technology - History of the Wire Recorder - Inventing the Wire Recorder  - European Wire Recorders in the 1920s - Wire Recorders in World War II - Post W.W.II Wire Recorders - The Wire Recorder and Tape Recorder in Completion -

Museum of Magnetic Sound Recording - Wire - Chronology -

PRC68, Alphanumeric Index of Web pages, Contact, Products for Sale
Page Created 2022 May 7