Stock Ticker Patents
© Brooke Clarke 2007 - 2024
Background
Ticker Models
Viewing USPTO patents
Class Numbers
Patent Numbers & Dates
Sequential Patents on same date
Companies
Major Ticker Models
Chronological List of Ticker Patents
Typewriter
Oliver
Underwood
Portable
Toy Typewriters
IBM Typewriters
Fountain Pen
Ball Point Pen
Pencil
Blackwing
Stenograph
Links
Background
2023: I have started including
patents that apply to writing instruments that appear in the TV
series Murdoch Mysteries (
Wiki)
since they happened in time overlapping stock tickers and are for
writing.
This list of patents used to be on the
Telegraph
Equipment web page, but it got too big so is now here.
The original Morse system of telegraphy included a
pen
register that would write short dots and longer dashes on a
strip of paper as the method of receiving the message. But
soon the operators learned to read by ear and so the
Sounder
was developed to replace the pen register. Later manual
keyed Morse code gave way to printing telegraph machines, like
those of Phelps.
In 1873 there were more than 150,000 miles of telegraph lines in
the U.S. alone operated by Western Union who had bought up most of
the smaller companies.
But there were some areas where a written strip of paper was
needed. One of these was fire or police
call box alarm
pen registers. The concept is very similar to the original
Morse pen register. These are typically spring wound and
only print when there's an alarm. The pen is powered by the
alarm loop and the paper tape is moved by a wind up clockwork.
Another is for recording phone calls (magneto crank type phones
where then in use). Another is for two way communications
between two operators.
The stock market price quotation system has some specialized
needs. First there's only one transmitting machine that
feeds a number of receiving machines all connected in a loop so
that all the receiving stations get their printouts at the same
time. So the vast majority of the patents are for the
receiving printers. A very simple way to select a letter for
printing is to have a wheel with the characters you want to print
of the outer edge. The wheel can easily be stepped by
sending a pulse on a telegraph line. Another line is needed
to bring a stop into play. Once the stop is activated the
type wheel can be pulsed more times than it takes for it to make
exactly one turn. Then you know that the type wheel is in
the home position. Now when the transmitter pulses all the
receiving type wheels turn in unison. There quite a number
of patents relating to how all the machines will be kept in
unison.

By being cleaver two type
wheels can be used, one with the letters and one with
figures. The letters print on the top of the paper tape and
the figures print on the bottom. This arrangement both
reduces the total number of characters on the type wheel making
for faster throughput and it makes the tape much easier to read.
After W.W. II the Teletype machine patents show up in some of the
same patent classes as these step-by-step type "printing
telegraph" machines. The Teletype machine has a line powered
motor that's always running and at the start pulse engages a
clutch that starts a selector spinning for one revolution and in 5
or 8 places along the revolution solenoids are either engaged or
not engaged setting type bars that cause the proper character to
be printed. These machines print on an roll of paper that's
about 7 or 8 inches wide. The Teletype patents are on the
Telegraph web page.
Parts for old tickers may be found at:
http://claussstudios.bizland.com/realtickers.chtml
Ticker Models
By 1919 Western Union had bought up
hundreds of telegraph related companies. They then supported
the following ticker machines:
- Universal
- Scott One-Wire Ticker
- Scott Two-Wire Ticker - weight driven
- Phelps Ticker
- Burry Ticker - for stock news in brokers office
- Burry Page Ticker (Scientific American, March 23, 1901
article)
- Self-Winding Ticker
Note about viewing USPTO patents
For the newer patents the first web
page has all the textual information that's in the patent in a
searchable form from the search pages. But the drawings (in
.tif format) are not on the first page. A .TIF file viewer
plug-in needs to be added to your browser in order to view the
Images used by the United States Patent & Trademark
Office. If you click on the [HELP] icon at the top of the
first page there's a topic relating to how to view images very
near the top. That link goes to a page that lists many
options. I use the free viewer from Altera (one install for
Netscape and another install for IE).
For the older patents the first page only has:
- Patent Number
- Date
- Class numbers
So you can not search old patents by inventor, title, key words,
etc. The old patents are only available as a .TIF
image. Since all the patents on this page are in the old
catagory, the title, inventor's name were manually typed and there
may be typos. The date and class numbers were cut and
pasted.
Class Numbers
The class numbers are in a format
like (top class number)/(sub class number). In Sunnyvale,
California, very close to the semiconductor factories, there's a
public patent library where they file by class number not by
patent number like all the other patent libraries. When
searching patent numbers once you know the class/subclass number
of a patent you can find like patents by searching on that
class/subclass number.
If you know the top level class number you can go to the
USPTO
Class
Schedule web page and click on the button with the same
number. On that page is the title for the top class
number. For example top class number
178
is "Telegraphy". The subclass number is a number that may
include a number of indentations. For example sub class 35
has the following listing:
35 .. With type-wheel
recorder
Notice the two dots preceding the words. That means that
this is the second indentation. Looking up from 35 the first
single dot is:
23R .Printing
It turns out that 178/35 appears a large number of times on this
page.
101
103
178 Telegraphy
29
32
35
37
38
41 * need search
335 Electricity: Magnetically Operated Switches, Magnets, and
Electromagnets
220 With magneto-mechanical motive device
(e.g., electromagnet with armature)
229 With permanent magnet
230
Polarized electromagnet
361 Electricity: Electrical Systems and Deveices
245 Polarity Reversing
246 Automatic - used as ring
generator for phones, for driving the type wheel in stock tickers
Patent Numbers & Dates
If you look at a sequence of patent
numbers the higher the number the higher the date. But it's
not a rule.
If a mistake is discovered the old patent is terminated and
another patent is REissued.
Patent numbers that start with the letters RE have been
reissued. The reissue numbers are sequential and have no
relationship to the old patent number. So I've placed the
reissued patents in the list based on their dates although the
rest of the list is in patent number order.
Related Technology
The Chemical telegraph uses a
treated paper instead of ink to make a visible mark. They
run faster than ink on paper recorders and so inventions for them
are for faster operating mechanisms that those for contemporary
ink recorders. Paper tape readers for chemical
telegraphs could also be used for tickers.
Developments in
typewriters,
and telegraph relays also had a direct impact on tickers.
Automatic Telegraphy refereed to sending and receiving messages
without operators. This can take many forms. For
example FAX, line drawing, or dots and/or dashes on paper tape.
The FAX machine started with Bain, see:
5957 &
WU Desk Fax.
YouTube:
Terribly
Outdated Technology that we Still Use..., 16:15 - FAX
Sequential Patents on same date
Inventor
|
Assigned
|
Date
|
#
|
Patent #
|
T.A. Edison
|
GSTC |
Mar 28,
1871 |
2
|
113033 & 113034
|
| T.M. Foote |
|
May 16,
1871 |
5
|
114790 to 114794 |
| T.A. Edison |
GSTC
|
Jan 23,
1872 |
2
|
123005 & 123006 |
| T.A. Edison |
GSTC |
May 7,
1872 |
8
|
126528 to 126535 |
| T.A. Edison |
GSTC |
July 2,
1872 |
5
|
128604 to 128608 |
| T.A. Edison |
GSTC |
Sep 17,
1872 |
11
|
131334 to 131344 |
| T.A. Edison |
GSTC |
May 13,
1873 |
2
|
138869 & 138870 |
| T.A. Edison |
|
July 1,
1873 |
3
|
140487 to 140489 |
| L.T. Lindsey |
|
Oct 14,
1873 |
3
|
143700 to 143702 |
| H.Van Hoevenbergh |
|
Dec 17,
1878 |
8
|
210890 to 210897 |
| C.J. Wiley |
|
May 18,
1880 |
2
|
227868 & 227869 |
A.F. & F.B. Johnson
|
|
Jan 31,
1882 |
5
|
253060 to 253064 |
| H.Van Hoevenbergh |
|
Mar 20,
1883 |
2
|
274416 & 274417 |
| H.Van Hoevenbergh |
|
Sep 25,
1883 |
2
|
285709 & 285710
|
| S.D. Field |
|
Oct 23,
1883 |
3
|
287265 to 287267 |
| S.D. Field |
|
Dec 18,
1883 |
2
|
290556 & 290557 |
| H.Van Hoevenbergh |
|
Feb 19,
1884 |
5
|
293922 to 293926 |
W.B. Vansize
|
WUTC |
Aug 26,
1884 |
2
|
304051 & 304052 |
C.G. Burke
|
|
Oct 7,
1884 |
2
|
306055 & 306056 |
R.J. Sheehy
|
() |
Oct 28,
1884 |
4
|
307231 to 307234 |
G.A. Cassagnes, Paris, France
|
()
|
Mar 3
1885 |
2
|
313175 & 313176 |
H.Van Hoevenbergh
|
B&OTC |
Apr 28,
1885 |
23
|
316676 to 316698 |
C.L. Buckingham
|
|
Oct 12,
1886 |
3
|
350615 to 350617 |
R.G. Brown
|
|
June 14,
1887 |
2
|
364893 & 364894 |
P.B. Delany
|
|
Feb 28,
1888 |
2
|
378436 & 378437 |
E.J. Mallett
|
|
June 12,
1888 |
7
|
384320 to 384326 |
C.L. Buckingham
|
|
Dec 13,
1892 |
6
|
487981 to 487986 |
R.J. Sheehy
|
W.
Goodwin |
Oct 10,
1893 |
6
|
506269 to 506274 |
J.C. Barclay
|
|
Jan 28,
1908 |
3
|
877821 to 877823 |
| J.C. Barclay |
|
May 5,
1908 |
2
|
886338 & 886339 |
L.M. Potts
|
|
Aug 4,
1914 |
3
|
1105920 to 1105922 |
G.S. Hiltz
|
SQTC |
Oct 22,
1929 |
2
|
1732601 & 1732602 |
H.H. Lynn
|
|
Jul 29,
1930 |
2
|
1771499 & 1771500 |
Companies
ATC
American Telegraph Co
B&OTC Baltimore & Ohio Telegraph Co
BTC Bankers Trust Co
C Creed
CTC Commercial Telegram Co
EPBC
GSTC Gold and Stock Tel Co
IPTC Independent Printing
Telegraph Co
K
Kkeinschmidt
NTC National Ticker Co
SQTC Stock Quotation Telegraph Co
TL Trans Lux
USPTC U.S. Printing Telegram Co
WUTC Western Union Telegraph Co
1887 B&O sells telegraph system to Western Union
Major Ticker Models
It might be possible to correlate these ticker models with patents.
Brand
|
Inventor
|
Years
|
Patent Numbers
|
Improvements
to the Laws Printer
New printer for Laws
|
Pope
Edison
Laws
|
1870
|
|
|
Pope
Edison
|
|
|
Universal
Model1, Model2,
Model3
|
Edison |
1870 to 1900 |
|
Exchange Telegraph Stock
Ticker (made using Edison patents?(G&S or U)
Models: 1902, 1907
UK patent 14430
|
|
1871 to 1907 |
|
NY Quotation
|
|
1889 to 1910 |
|
| Burry |
Burry |
1914 to 1922 |
|
Self Winding
aka Financial Instrument
1-C, 21-C, 22-A, 30-A, 31-A,
32-A, 34-A, 35-A, 41-A
maybe 300 char/sec
|
W.P. Phelps
G.B. Scott
J.C. Barclay
|
1903 to ?
|
|
NY Quotation Black Box
(Western Union 5A) 500 char/sec
uses a AC line powered motor like a Teletype machine
|
|
1934 to 196?
|
|
List of Ticker Patents
In Patent Number order which
sometimes is not in date order.
Pat #
pdf
Title
Inventor (assignee) Date Class #s
Comments
USPTO Local
---------------------------- 4 Digit Patent
Numbers-------------
4464
(pdf) Printing Telegraph, R.E. House,
Apr 18, 1846, 178/35
RE813
(
pdf) Printing Telegraph, R.E.
House, Sep 20, 1859, 178/35 -
5957 Automatic
Telegraph, Alexander Bain, 1848-12-05 - FAX (Wiki)
machine - Most of the patents with a title that includes "Automatic
Telegraph" are about the original Morse idea of inking a paper tape.
9505
(pdf) Printing Telegraph, R.E. House,
Dec 28, 1852, 178/38
RE605
(
pdf) Printing Telegraph, R.E.
House, Sep 28, 1858, 178/35
House's composing printing press
uses pneumatic connection to avoid the Morse patent
---------------------------- 5 Digit Patent Numbers-------------
14731
(pdf) Electromagnetic Printing
Telegraph, Albert J. Partridge, Apr 22, 1856, 178/38
It's strange that I haven't seen
mention of this very early printing telegraph?
14759
(pdf) Electromagnetic Printing Telegraph, H.N. Baker, April 29,
1856, 178/38
spring or weight driven,
individually radially moveable type slugs slide in type wheel
acquired by Laws to defeat E.A. Calahan
14917
(pdf) Telegraph, D.E. Hughes, 20
May, 1856 178/35 ; 178/37- spring power
20982
(pdf) Telegraph, E.F. Barnes, July
27, 1858, 178/35 - embossing type
22770
(pdf) Printing Telegraph, D.E.
Hughes, Jan 25, 1859, 178/35 ; 178/38 - piano keyboard
step-by-step
26003 (pdf) Printing
Telegraph, G.M. Phelps (ATC), Nov 1, 1859, 178/35,
RE6863 (
pdf) Printing
Telegraph, G.M. Phelps, Jan 18, 1876, 178/35 - Assigned to Western
Union Telegraph Co.
Combines the House and Hughes ideas
22770
(pdf) Telegraphing Machines, D. E.
Hughes, January 25, 1859, 178/35 ; 178/38 -
27655 (pdf) Magnetic Printing
Telegraph, S.F.Van Choate, Mar 27, 1860, 178/35, 238/379
29747 (pdf) Electro Magnetic
Telegraph, E.F. Reynolds, Aug 21, 1860, 178/35
32452
(pdf) Telegraphic Apparatus,
G.M. Phelps, May 28, 1861, 178/38 -combines compressed air and
electromagnets
Interchangable parts started after
the Civil War (1861
- 1865)
51261
(pdf) Magnetic Telegraph, C.
Kirchhof, Nov 28, 1865, 178/17R ; 178/41(1st unison)
The wheel can not make a complete
revolution and so stepping it in one direction many times will
bring it to a stop, thus this is the first patent in the 178/41
Unison class
The prior art patents above are aimed a general telegraphic use, not
specialized for the stock market.
72742
(
pdf) Electrical (Gold premium)
Indicator, S.S. Laws, Dec 31, 1867, 340/815.61 ; 340/815.64
Laws Indicator in Gold room and
facing the street
Looks like car odometer, can increment up or down
No need to worry about unison, since the operator can see the
indoor indicator.
75775
(
pdf) Signaling Apparatus, S.S.
Laws, March 24, 1868, 340/825.26
Both prints paper tape and
displays Gold premium price through holes in front.
---------------- Calahan--------------
76157
(pdf) Telegraphic Indicator, E.A.
Calahan, Mar 31, 1868, 340/815.6 ; 341/17
like a clock face for the least
significant digit and an odometer for the higher numbers.
Can either increment or decrement.
76654
(pdf) Induction Coil Apparatus and
Circuit Breaker, C.G. Page (1871 to WU) Apr 14, 1868, 361/268 ;
200/19.01; 335/252; 335/272; 335/273; 336/107; 336/192; 336/219;
336/223; 336/233; 336/234; 336/65
Notice all the class numbers.
This is THE patent for a Relay.
76993
(pdf) Printing Telegraph, E.A.
Calahan, Apr 21, 1868, 178/32 ; 134/166R
First Printer used for stocks and
the source of "Stock Ticker" because of it's sound. Sold 100
when offered in winter 1867.
Uses 2 wires, one for the type wheel
and one for printing.
Seperatre Letters and Numbers wheels
on seperate shafts and independent movement, the blank on one
wheel is used to stop both from printing.
A
boy would
run from building to building to synchronize the machines,
i.e. no unison device. Edison witnessed over a hundred boys
all running to the Gold exchange because the system went out of
unison and saw the need to avoid that problem.
Edison Universal made with this look & feel, i.e. round base
under glass dome, terminals on base, parallel frame members,
central typewheel high in center.
---------------------------------------
81871
(pdf) Printing Telegraph, R.K.
Boyle, Sep 8, 1868, 178/38 ; 101/103
82502
(pdf) Printing Telegraph, P.A.J.
Dujardin, Sep 29, 1868, 178/40 ; 400/471 - seperate letters and
numbers type wheels
89887
(pdf) Printing
Telegraph, G.M. Phelps, May 11, 1869, 178/38 ; 178/41(2nd
unison)
Transmitting and receiving machines
all have spinning type wheels (isochronously) includes a unison
device
RE4152 (
pdf) Printing Telegraphs,
G.M. Phelps, Oct 11, 1870, 178/41
One of the first practical uses for an electric motor.
Boston Instrument
91527
(pdf) Telegraph, T.A. Edison, Jun
22, 1869, 178/38
Edison has an address of Boston, MA
but this is an improvement on the Laws machine. Edison was a
young man working for Laws, but Black Friday had not happened yet
so Edison was on his own making minor improvements to Laws
machine.
Uses bipolar drive to eliminate the
local battery but had problem with polar relay not strong enough
to make good contact & with lightening demagnatizing the core.
No Unison device at this time.
RE4166
(
pdf) Printing Telegraph, T.A.
Edison, Oct 25, 1870, 178/35 Newark, New Jersey (Not New York)
not signed by Gold & Stock Co.
RE5519 (
pdf) Printing
Telegraphs, T.A. Edison, August 5, 1873, 178/35 - looks very
similar to 4166
Single row of characters on the type
wheel. Uses bi-polar drive on single wire.
91662
(pdf) Printing Telegraph, G.M.
Phelps, Jun 22, 1869, 178/38
Round base like used on the
universal
Air pot to seperate moving type wheel from printing
Black
Friday, Sep 24, 1869 Gould's attempt to corner the Gold
market & fails
The Laws indicator, which worked
like a car odometer by incrementing or decrement the fraction of
a dollar wheel could not keep up. Edison was there and
even adding a weight to pull the transmitter could not make it
turn fast enough.
Oct 1, 1869 Edison joins with Franklin Pope (who helped Dr. Laws
make the Gold indicator) to work on improving the Laws printer.
The Pope & Edison improvements included a simple unison
device which the Laws printer was lacking and more speed.
Note Edison's address for this effort was New York
96331
(
pdf) Perforating Paper For
Telegraphing, G. Little, Nov 2, 1869, 83/203 ; 178/84; 178/92;
83/238; 83/576; 83/590
10 Feb 1870 Edison signs two
contracts with George Field and Elisha Andrews of the Gold and Stock
Telegraph Co. (GSTC) that provide funds for developing inventions
and establishing a shop.
----------- Pope,
Edison
&
Laws
---------
96567
96567
(pdf) Electrical Printing
Instrument, T.A. Edison (Laws), Nov 9, 1869, 178/41(3rd
unison) - Edison in New York
RE3820
(
pdf) T.A. Edison's Electrical
Printing Instruments, Feb 1, 1870 - 96567 paragraph 5 is different
This model was made in cooperation
with and working for Dr. Laws and the rights sold to the Gold
& Stock Exchange who put them into service.
The unison stop requires a seperate wire and is just an
electromagnet that puts a pin in the ratchet wheel.
not at all like the "Universal"
On the first page it says "assigned in full to S.S. Laws".
On the last page is says: Dated December 28, 1869, The Gold and
Stock Tel Co., Geo, B. Field, President.
96681
(pdf) Automatic Switch for Telegraph
Apparatus, T.A. Edison (Laws), Nov 9, 1869, 361/208 ; 335/80
The current will pull this relay to
one side or the other depending on polarity. Needed for one
wire stock tickers.
99273
(pdf) Printing Telegraph, S.S. Laws,
Jan 25, 1870, 178/32 ; 178/41(4th unison)
6 wires to each printer, increment
forward or backward needs local battery.
Unison by applying a light current to the printing line (enough to
engage the unison stop but not enough to move the printing lever.
Made to compete with Calahan.
99047 (pdf) Printing
Telegraph, M.F. Adams, Jan 25, 1870, 178/35
99401
(pdf) Printing Telegraph, E.A.
Calahan, Feb 1, 1870, 178/41
---------------------------- 6 Digit Patent Numbers-------------
Financial & Commercial Instrument
102320 (pdf) Printing
Telegraph Apparatus, F.L. Pope & T. A. Edison, April 26, 1870,
178/35 Edison in New York
designed to operate a series string
of printers. Wheel is moved by short pulses and the printer
by a long pulse.
This is rectangular machine not at all like the universal.
RE7621
(
pdf) Printing Telegraph, F.L.
Pope & T. A. Edison, April 17, 1877, 178/35
RE10542 (
pdf) Printing
Telegraph, F.L. Pope & T. A. Edison, Dec 9, 1884, 178/38
102561 (pdf) Printing
Telegraph Instrument, J.T. Lindsey, May 3, 1870, 178/35
103035
(pdf) Electromotor Escapment, T.A.
Edison, May 17, 1870, 74/159
The stops are part of the lever arm,
no adjustment like with seperate stops.
103077
(pdf) Electromagnetic Movement,
F.L. Pope, May 17, 1870, 361/160
103496
(pdf) Printing Telegraphic
Instruments, W.P. Phelps & W.J. Philips, May 24, 1870, 178/38 ;
340/319
Combined keyboard and step-by-step tape printer
May 1872
Edison supplies stock printer to the Exchange Telegraph Co. of
London.
------------------- First Edison Design stock ticker ------------
103924
(pdf) Printing Telegraph
Instrument, F.L. Pope & T. A. Edison, June 7, 1873, 178/41 -
Edison in New York -
RE5523 (
pdf)
Printing Telegraph Instrument, F.L. Pope & T. A. Edison
(GSTC), Aug 5, 1873, 178/38 ; 335/84
This machine has a single wheel
with the characters to be printed and it is moved, one letter at a
time, until the desired letter is ready to be printed. A
short pulse will rotate the letter wheel but not fire the
striker. A longer pulse rotates the wheel and prints a
character. Thus it "ticks" then prints, hence the name
"Ticker Tape". There are numbers offset from the rest of the
characters that can be used to print fractions (1/8,
2/8...7/8). The base is circular, i.e. the classic Ticker
Tape machine. This patent expressly disclaims the the ideas
in patents 51261 (Kirchhof) and 99273 (Laws), i.e. Edison is doing
his own thing. Uses bipolar drive.
All 6 coils are vertical and above
the base plate. Frame is a closed loop. The
circular base appears too small for a glass dome.
The type wheel has the letters offset from the numbers and
fractions so that the letters print on the top of the tape and the
numbers on the bottom.
The Reassigned patent has new class numbers
Patent shows 2 binding posts, but production unit had 4 terminals.
104345 (pdf) Printing
Telegraph Instrument, W.P. & W.J. Pelps, June 14, 1870, 178/35
105060 (pdf) Telegraphic
Printing Apparatus, T.M. Foote, Jul 5, 1870, 178/41 ; 335/81
RE6434 (
pdf)
Telegraphic Printing Apparatus, T.A. Foote, May 18, 1875,
178/41
This is a Unison device, but it's fundamentally different from
T.A. Edison's in
108495
(pdf) Arrangement of Electrical
Circuits for Automatic Transmitting Instrument, G. Little, Oct 18,
1870, 178/3
Working on the problem of open lines
when key is up.
110675
(pdf) Printing Telegraph, G.M.
Phelps (WU), Jan 3, 1871, 178/32
Financial
Instrument
Aimed at Private Line customers so
has single typewheel with only letters.
Chicago Commodities Instrument

113033 (pdf) Printing
Telegraph Apparatus, T.A. Edison (assigned to GSTC), March 28, 1871,
178/35 - Newark, NJ -
Chicago
Instrument
Frame is an open "C" shape. Base is
larger than mechanism to allow for glass dome. 4 terminals,
2 for main line, 2 for local battery. Above base plate is a
special two horizontal coil polarized relay that has a center off
position. Used with bipolar main line drive.
The two horizontal coils below the base plate rotate the type
wheel. The two horizontal coils above the base plate actuate
the printing mechanism.
Single type wheel has the numerator
digits prior to the fraction sign (- or /) the the denominators so
that a fraction can be printed in less than one turn of the wheel.
113034
(pdf) Printing Telegraph Aparatus,
T.A. Edison (assigned to GSTC), March 28, 1871, 178/40 ; 144/24.15;
178/41 - Newark, NJ
Shifting
Printing
pad
and
devices
Cotton Instrument
uses seperate letter and figure
wheels and works on a single wire. The electromagnets are
moved under the base.
In patent 123006 the type wheel is moved on the shaft, a much
simpler way to use two type wheels.
114656
(pdf) Telegraphic Transmitting
Instrument, T.A. Edison, May 9, 1871, 178/17A ; 178/79
Polarity reversing paper tape reader
114657
(pdf) Electro-Magnets, T.A. Edison,
May 9, 1871, 335/78
UK patent 2578 is identical.
Fast acting for use in astronomical
time keeping, or telegraph systems run from paper tape, includes a
permanent magnet
114658
(pdf) Electro-Magnet for Telegraph
Instruments, T.A. Edison, May 9, 1871, 335/233 ; 335/253; 335/267
It is operative when one polarity is
used and not operative when the opposite polarity is used.
Use controlling stock tickers.
Note that the three patents in this group all are built on a
circular base that looks like it came from a stock ticker.
114692
(pdf) Chemical Telegraphic
Circuits, M. Lefferts, May 9, 1871, 178/62 ; 178/69F; 178/74
Working on the problem of open lines
when key is up.
-------- Inventors Theodore M. Foote & Charles A. Randall of
Brooklyn, NY
114790
(pdf) Printing Telegraph Apparatus,
T.M. Foote, May 16, 1871, 178/2R ; 178/102; 178/74; 178/77; 335/177;
340/392.1
114791
(pdf) Printing Telegraph Apparatus
T.M. Foote, May 16, 1871, 178/41
114792
(pdf) Printing Telegraph Apparatus,
T.M. Foote, May 16, 1871, 178/42
114793
(pdf) Printing-Telegraph, T.M.
Foote, May 16, 1871, 178/38 ; 178/41 - weight driven type wheel to
go faster
115968
(pdf) Circuit Closing Rollers for
Telegraph Apparatus, G. Little, Jun 13, 1871, 200/46
116175
(pdf) Type Wheels for Printing
Telegraphs (Stock Tickers), R.H. Gallaher, Jun 20, 1871, 178/39 ;
400/466
116826 (pdf) D. Flannery's
Printing Telegraph Instrument, D Flannery, July 11, 1871, 178/35
117239 (pdf) Telegraphic
Printing Mechanism, Geo.L. Anders, July 25, 1871, 178/35 ; 340/291
118122
(pdf) Improved Printing Telegraph
Instrument, R.H. Gallaher, Aug 15, 1871, 178/38
119623
(pdf) Dial and Printing Telegraph,
L.T. Lindsey, Oct 3, 1871, 178/42 ; 200/80R
120000
(pdf) Telegraph Apparatus, J. Rowe,
Oct 17, 1871, 178/41
120019 (pdf) Double Printing
Telegraph, G.L. Anders, Oct 17, 1871, 178/35 ; 370/276
120116 (pdf) Printing
Telegraphs, J.E. Smith, October 17, 1871, 178/35
120133
(pdf) Printing Telegraphs, H.V.
Hoevenbergh, Oct 17, 1871, 178/39 ; 178/41
----------------------

Two independent type wheels are used
and while one is being turned it also turns the other until the
other hits a stop.
Requires independent control of the
two wheels
made for the Calahan printer
120288
(pdf) Transmitter for Automatic
Telegraphs, G. Little, Oct 24, 1871, 200/46
120289
(pdf) Telegraph Instruments, G.
Little, Oct 24, 1871, 178/96
120290
(pdf) Improvements in Telegraphic
Apparatus, G. Little, Oct 24, 1871, 361/160
In the Jan 1, 1871 issue of
Scientific Americal Little calimed 1,000 words / minute, but in an
1873 test his system did 500 WPM
120291
(pdf) Automatic Current Closer for
Telegraphic Apparatus, G. Little, Oct 24, 1871, 200/46 ; 200/8A;
200/8R
121601
(pdf) Machinery for Perforating
Paper for Telegraphic Purposes, T.A. Edison, Dec 5, 1871,
234/106
For Morse code. By using two
rows of circular holes, but offset by half the pitch when holes
are in both rows the switchs work in a make before break fashion
and allow generating dashes. First Large Perforator. A
large perforator has a key for each letter and can by used by a
girl after a few hours of training. The small perforator has
a small number of keys and needs a skilled operator.
An electric perforator, i.e. used solenoids instead of finger
power.
122266
(pdf) Electro-Magnetic Apparatus,
G. Little, Dec 26, 1871, 361/210 ; 338/180
122474
(pdf) Telegraph Apparatus, G.
Little, Jan 2, 1872, 178/89 ; 178/74
122687
(pdf) Telegraph Apparatus, H.V.
Hoevenbergh, Jan 9, 1872, 178/32
Universal
123005
(
pdf) Telegraph Apparatus, T.A.
Edison (assigned to GSTC), Jan 23, 1872, 178/35 - Newark, NJ
Printing
Telegraph
No.
4
Universal
UK patent 829
Edison, in this patent calles
this machine "Universal Printing-Telegraph"
This is the transmitter for the
first generation Universal stock tickers. As characters
are typed on the keyboard they are also printed on the
attached printer.
The printer has a vertical type wheel shaft, not the common
horizontal type wheel shaft.
123006
(
pdf) Printing
Telegraphs, T.A. Edison (assigned to GSTC), 178/40 -
Newark, NJ
Printing
Telegraph No. 3
upgrade to 113034 allowing
moving type wheels on shaft
------- the 1872 patents for improvements were not incorporated
into production tickers -----
123490
(
pdf) Telegraph Apparatus, G.
Little, Feb 6, 1872, 361/210 ; 178/75
123711
(
pdf) Electrical Circuits for
the Chemical Telegraph, G. Little, Feb 13, 1872, 178/74 ;
178/62
123984
(
pdf) Telegraph Apparatus, T.A.
Edison (G. Harrington), 4 Feb 27, 1872, 178/3 ; 178/17R;
178/96
Chemical Telegraph, but
applicable to printing telegraphs
124800
(
pdf) Telegraphic Recording
Instruments, T.A. Edison, Mar 19, 1872, 178/96
Four coil motor driven pen
recorder.
125583
(
pdf) Printing Telegraphs, G.
Little, Apr 9, 1872, 178/38
RE5267 (
pdf) Printing
Telegraphs, G. Little, Feb 4, 1873, 178/35
125920
(
pdf) Unison-Stop for Printing
Telegraphs, M.F. Wessmann, April 23, 1872, 178/41
126048 (pdf)
Inprovement in Printing Telegraphs, R.H. Gallaher, April 23, 1872,
178/35
126290 (pdf) Inprovement in
Printing Telegraphs, W.B. Guernsey, April 30, 1872, 178/35
126329 (pdf) Inprovement in
Printing Telegraphs, G.M. Phelps (WU), April 30, 1872, 178/35 ;
188/184
Private Line Printer uses jointed
printing lever
126336 (pdf) Inprovement in
Printing Telegraphs, G.B. Scott, April 30, 1872, 178/35
Weight Driven, piano keyboard
126353
(pdf) Inprovement in Printing
Telegraphs, H.V. Hoevenbergh, Apr 30, 1872, 178/41
126505
(pdf) Improvements in Clutches for
Telegraph-Transmitting and Paper Feeding Apparatus, G.C.Wessmann,
May 7, 1872, 192/41R ; 178/36; 192/73; 192/84.1
----------------------- 1872 patents not used in
production tickers -------

126528
(pdf) Improvements in Type Wheels
for Printing Telegraphs, T.A. Edison (assigned to GSTC), May 7,
1872, 178/40
This is the spiral type unison
device.
126529
(pdf) Improvements in Type Wheels
for Printing Telegraphs, T.A. Edison (assigned to GSTC), May 7,
1872, 400/145.1 ; 178/40
Type wheels of variable diameter so the small one
does not print
126530
(pdf) Printing Telegraphs,
T.A. Edison (assigned to GSTC), May 7, 1872, 178/42
"Baby"
Printer
Printing
Telegraph No. 1
Very small, Single typewheel, one
wire operation, polar relay
Maybe Edison is preventing Laws from making an improvement?
126531
(pdf) Printing Telegraphs,
T.A. Edison (assigned to GSTC), May 7, 1872, 178/39
Method of selecting which of two type wheels is
to be used. Model 2 "C" frame
126532
(pdf) Printing-Telegraphs, T.A.
Edison (assigned to GSTC), May 7, 1872, 178/40 ; 178/41; 178/42
adds a shield between the letters
and figures type wheels.
This patent has 10 claims for
various features of the "Universal" machine including the heical
gear "Unison" device, but the locking feature is in patent
126533. A stack of cloth disks is used for the ink roller
instead of either wound cloth or felt.
This is one of T.A. Edison's most important ticker patents.
Chicago machine serial 568 modified to make patent model.
126533
(pdf) Printing-Telegraphs, T.A.
Edison (assigned to GSTC), May 7, 1872, 178/41 ; 178/2C
improved synchronizing & Locking
Each machine is setup with a code
that's equal to one of the characters on the print wheel.
The transmitting operator can select one of the codes and then
synchronize all the machines using that code prior to sending a
message. All the machines with different codes are locked
out.
126534
(pdf) Printing-Telegraphs, T.A.
Edison (assigned to GSTC), May 7, 1872, 178/39
Printing
Telegraph No. 2
Working two typewheels using
mechanical method
new class: printing multiple type wheel recorders
The polarity of the current causes
either print wheel rotation or printing.
4 electromagnets horizontal all under base
126535
(pdf) Printing-Telegraphs, T.A.
Edison (assigned to GSTC), May 7, 1872,178/40 ; 178/41
Printing
Telegraph No. 6
If the type wheel is rotated two or
more turns without printing then the "Unison" mechanism
synchronizes the machine.
126714 (pdf) Inprovement in
Switch for Printing Telegraphs, P. Kenny, May 14, 1872,
178/35-simple printer
126847
(pdf) Duplex Telegraph Apparatus,
J.. Stearns, May 14, 1872, 370/284
Condenser connected in parallel with
resistance and then the coil.
First invention to to something about inductor kick back voltage
127111
(pdf) Printing-Telegraphs, John E.
Smith, May 21, 1872, 178/41 -
127844
(pdf) District and Fire Alarm
Telegraphs, E.A. Calahan, Jun 11, 1872, 340/295
This is a District & Fire Alarm
which is a similar type printer
Calahan started American District Telegraph Co. (ADT) based on
this patent
128131 (pdf)
Printing-Telegraphs, T.A. Edison, June 18, 1872,178/92 - Newark, NJ
A Morse code paper tape embosser
that shifts left or right for no current or current.
128604
(pdf) Printing-Telegraphs, T.A.
Edison, July 2, 1872, 178/38 - Newark, NJ
An air pot delays the action of the
printing lever so that the type wheel movement has time to stop
128605
(pdf) Printing-Telegraphs, T.A.
Edison,July 2, 1872, 178/38 - Newark, NJ
4 vertical coils all above the base
plate
looks very much like 12806
128606
(pdf) Printing-Telegraphs, T.A.
Edison,July 2, 1872, 178/38 ; 101/91 - Newark, NJ
4 vertical coils all above the base
plate
By using a compound magnet (connected to both the main line and to
a local battery) the printer can be operated with a single line
using polarity reversal
128607
(pdf) Printing-Telegraphs, T.A.
Edison,July 2, 1872,178/38 - Newark, NJ
By using an air pot and cutout
switch the printing action is bypassed whenever the type wheel is
moving.
After the type wheel stops but the circuit is held in the closed
position for a short time, the print lever is activated.
128608
(pdf) Printing-Telegraphs, T.A.
Edison, July 2, 1872, 178/41 ; 101/367 - Newark, NJ
Identical to UK patent 1657.
Wiring diagram and explanation of
how using a bi-polar signal only a single pair of wires needed.
4 horizontal coils below base plate.
Compound magnets allow single wire bi-polar drive.
Type wheels on single shaft and where one wheel has a character
the other has a space.
Two electrical binding posts, one on each side
128627 (pdf)
Printing-Telegraphs, J.P. Humaston, July 2, 1872, 178/35 ; 178/38
129391
(pdf) Printing Telegraphs, J.S.
Brown, Jul 16, 1872, 178/41
129641
(pdf) Printing-Telegraph Apparatus,
G.L. Anders(E.B. Welch), Jul 23, 1872, 178/38
A polarized magnet controls how far
a lever moves thus either advancing the print wheel or printerg
130260
(pdf) Printing-Telegraph
Instruments, M.F. Wessmann, Brooklyn, NY, August 6, 1872,
178/41
130813
(pdf) Indicators for Telegraph
Circuits, G. Little, Aug 27, 1872, 324/543
130831
(pdf) Printing-Telegraphs, H.Van
Hoevenbergh (), Brooklyn, NY, Aug 27, 1872, 178/41
---------------------- Edison Universal possible upgrades, maybe not
used ?-----
131334
(pdf) Rheotomes or
Circuit-Directors (Unison-Stops for Printing-Telegraphs), T.A.
Edison, Sep 17, 1872, 178/41
131335
(pdf) Printing-Telegraphs, T.A.
Edison, Sep 17, 1872, 178/32 - Newark, NJ
4 vertical coils. 4 binding
posts, 2 on each side
looks very similar to 120133 by Hoevenbergh where one type wheel
brings the other into unison
131336
(pdf) Printing-Telegraphs, T.A.
Edison, Sep 17, 1872, 178/32 - Newark, NJ
4 vertical coils. 4 binding
posts, 2 on each side
another way to accomplish 120133 by Hoevenbergh where one type
wheel brings the other into unison
131337
(pdf) Printing-Telegraphs, T.A.
Edison, Sep 17, 1872, 178/40 - Newark, NJ
4 vertical coils under base plate
4 binding posts at an angle, not on the corners of a rectangle
2 wire operation. each type wheel pulse shifts one wheel in
and the other out
131338
(pdf) Printing-Telegraphs, T.A.
Edison, Sep 17, 1872, 178/32 - Newark, NJ
4 vertical coils under base plate
4 binding posts at an angle, not on the corners of a rectangle
A wheel with teeth stops one of two printing levers so only one
type wheel makes an impression.
-------------------------
131339
(pdf) Printing-Telegraphs, T.A.
Edison, Sep 17, 1872, 178/32 - Newark, NJ
Printing
Telegraph No. 5
Electrically working two type wheels
6 vertical coils
independent operation of 2 type wheels
uses 2 printing levers
131340
(pdf) Printing-Telegraphs, T.A.
Edison, Sep 17, 1872, 178/35 - Newark, NJ
Printing
Telegraph
No.
4
Universal
Transmitter
Includes a practical DC motor to rotate the pulsator.

131341 (pdf) Printing
Telegraph Instruments, T.A. Edison, Sep 17, 1872, 178/39 ; 178/40;
248/187.1 - Newark, NJ
A weight hangs from the printing
lever. flattened "C" frame.
131342
(pdf) Printing Telegraph
Instruments, T.A. Edison, Sep 17, 1872, 178/40 - Newark, NJ
Two typewheels slide on shaft.
131343 (pdf) Inprovements in
Transmitters and Circuits Printing-Telegraphs, T.A. Edison, Sep 17,
1872, 178/35 - Newark, NJ
131344
(pdf) Unison-Stops for
Printing-Telegraphs, T.A. Edison, Sep 18, 1872, 178/41 - Newark, NJ
Instead of rotating the print wheel
two times, the print lever is repeatedly activated.
132456
(pdf) Apparatus for Perforating
Paper Tape for Telegraphic Use, T.A. Edison, Oct 22, 1872,
83/229 ; 83/618
small six key perforator
132907
(pdf) Printing Telegraph
Instruments, E. Gray, Nov 12, 1872, 178/35
Gray's
Private
Line printer
Gray and Barton printer
RE6870
(
pdf) Printing Telegraph
Instrument, E. Gray, Jan 25, 1876, 178/35
RE6871
(
pdf) Printing Telegraph
Instrument, E. Gray, Jan 25, 1876, 178/35
RE6872 (
pdf) Printing
Telegraph Instrument, E. Gray, Jan 25, 1876, 178/35
Western Union product made by
Western Electric
133019
(pdf) Electrical Printing Machines,
T.A. Edison, Nov 12, 1872, 178/38
Electric Typewriter that prints on a
strip of paper that can be cut and pasted on a sheet.
In 1873 there were more than
150,000 miles of telegraph lines in the U.S. alone operated by
Western Union who had bought up most of the smaller companies.
133841
(pdf) Type Writing Machine, T.A.
Edison, Dec 10, 1872, 400/359
Moving typewheel prints on sheet of
paper
134866
(pdf) Printing Telegraph
Instruments, T.A. Edison, Jan 14, 1873, 178/38
Printing
Telegraph
No.
4
Universal
Round base Vertical print shaft (90
degrees from normah print wheel)
Transmitter like 123005 only improved operation
134867
(pdf) Automatic Telegraphic
Instruments, T.A. Edison, Jan 14, 1873, 178/62 ; 178/3;
178/69F
Chemical Telegraph
135531
(pdf) Circuits for Chemical
Telegraphs, T.A. Edison, Feb 4, 1873, 178/62 ; 178/69F
Reactive line loading to improve
character seperation.
UK patent combined: 135531, 141773 & 141776
136329
(pdf) Electro-Magnetic Motors for
Printing Telegraphs, L.T. Lindsey, Feb 25, 1873, 178/38 ; 178/41
136369 (pdf)
Printing-Telegraphs, M. Gally, March 4, 1873, 178/28 ; 178/35
---------------------------------
 |

|
|
The 23-A sports Ticker is a 3-A with the
sports typewheel. See chart at the right.
Note the tables at the right that show the currents on a 160
Volt line when from 1 to 6 tickers are connected in series.
|
Model Numbers for Sports Tickers
Image from SMECC.org

|
|
138869
(pdf) Printing Telegraphs, T.A.
Edison, May 13, 1873, 178/38
Round base, "C:" frame with a
flat on the lower lip.
1. Unison operates after 2 or more turns of type wheel but is
restored at print
2. tooth contacts paper for feed
3. partial turn of type wheel to select one of two sets of
characters
15 tooth ratcher wheel instead of 30 tooth for faster operation
Vertical electromagnets at different heights above and below
base. Single row type wheel.
138870
(pdf) Printing Telegraphs, T.A.
Edison (GSTC), May 13, 1873, 178/38
Combined Transmitter & Receiver.
Round base, keys in a semi circle
139128
(pdf) Printing Telegraphs, T.A.
Edison (GSTC), May 20, 1873, 178/38
Round base, 3 vertical coils, 2
horizontal coils all above base plate.
3 electromagnets in the main line circuit when there's a pause the
printing lever is released
139129
(pdf) Printing Telegraphs, T.A.
Edison (GSTC), May 20, 1873, 178/38
A version of 139128 where only 2
electromagnets are in the main line circuit
A stream of pulses moves the type wheel and at the pause it prints
139690 (pdf) Printing and
Dial Telegraphs and Circuits Therefor, H.D. Rogers, June 10, 1873,
178/35 ; 178/109
140143
(pdf) Printing Telegraphs, A.A.
Knudson, June 24, 1873, 178/38 - includes a bell that can be rung
remotely
------------------------Universal Transmitter --------
140487 (pdf) Printing
Telegraphs, T.A. Edison (assigned to GSTC), July 1, 1873, 178/35
Printing
Telegraph
No.
4
Universal
Stand alone transmitter with
provision to not go too fast.
140488 (pdf) Printing
Telegraphs, T.A. Edison (assigned to GSTC), July 1, 1873, 178/38
Printing
Telegraph
No.
4
Universal
DC motor driven stand alone
transmitter.
140489 (pdf) Circuits for
Printing Telegraphs, T.A. Edison (assigned to GSTC), July 1, 1873,
178/35
Adapter takes in polarized main line
drive and outputs seperate type wheel and printer signals.
141076 (pdf) Printing
Telegraphs, G.M. Phelps, July 22, 1873, 178/35
Transmitter
---------------- Chemical Telegraph but has Perforator info
---------------
141772
(pdf) Circuits for Automatic or
Chemical Telegraphs, T.A. Edison, Aug 12, 1873, 178/69F
Reactive line loading to improve
character separation.
141773
(pdf) Circuits for Automatic
Telegraphs, T.A. Edison, Aug 12, 1873,
Reactive line loading to improve
character separation.
141774
(pdf) Chemical Telegraphs, T.A.
Edison, Aug 12, 1873, 178/62, 178/62 ; 338/80
141775
(pdf) Perforators for Automatic
Telegraphs, T.A. Edison, Aug 12, 1873, 234/108
141776
(pdf) Circuits for Automatic
Telegraphs, T.A. Edison, Aug 12, 1873, 178/69R ; 178/45;
178/69F
Reactive line loading to improve
character separation.
141777
(pdf) Relay Magnets, T.A. Edison,
Aug 12, 1873, 338/83 ; 335/57; 361/2 - operate in liquid to
prevent arcing
-----------------
142999
(pdf) Galvantic Batteries, T.A.
Edison, Sep 23, 1873, 429/106
Copper Sulphate placed below the
copper plate battery lasts longer
143700 (pdf) Circuits
for Printing Telegraphs, L.T. Lindsey, Oct 14, 1873, 178/32 ; 178/35
143701
(pdf) Regulators for Printing
Telegraphs, L.T. Lindsey, Oct 14, 1873, 200/1R - improvement on
136329
143702
(pdf) Printing Telegraphs, L.T.
Lindsey, Oct 14, 1873, 178/41
144045
(pdf) Printing Telegraphs, G.L.
Anders (E.B. Welch), Oct 28, 1873, 178/41
144285
(pdf) Printing-Telegraphs, Nov 4,
1873, G.M. Phelps, 178/41
144812
(pdf) Unison Stops for Printing
Telegraphs, C.J. Wiley, NY,NY, Nov 18, 1873, 178/41
146812 (pdf) Telegraph Signal
Boxes, T.A. Edison, Jan 27, 1874, 340/295 - referrences E.A. Calahan
prior art 127844
147183
(pdf) Printing Telegraphs, J.E.
Smith, Feb 3, 1874, 178/32
147312 (pdf) Perforators for
Automatic Telegraphy, T.A. Edison (G. Harrington), Feb 10,
1874, 234/127 ; 234/106
calls 121601
148768 (pdf) Printing Telegraphs,
J.E. Smith, Mar 17, 1874, 178/41
150848 (pdf) Chemical or Automatic
Telegraphs, T.A> Edison, May 12, 1874, 178/64 ; 178/62
Reactive line loading
151209 (pdf) Automatic Telegraphy
and Perforators Therefor, T.A. Edison, May 26, 1874, 234/106 ;
178/17R
Roman-character telegraphy (dot
matrix letters on tape)
A modification of the large perforator 121601
154788 (pdf) District Telegraph
Signal Boxes, T.A. Edison, Sep 8, 1874, 178/85
to compete with Calahan's ADT
157787 (pdf) Printing
Telegraphs, S.J. Burrell, Dec 15, 1874, 178/35 ; 312/314
157880 (pdf) Printing
Telegraphs, J.E. Smith, Dec 15, 1874, 178/35
160405 (pdf) Adjustable
Electro-Magnet for Relays, etc, T.A. Edison, Mar 2, 1875, 361/159
A rotary switch selects a which of a
number of taps in a resistance will be used, i.e. a pot.
Used to set the line current in a receiver.
160442 (pdf) Printing
Telegraph, A.A.Knudson, Mar 2, 1875, 178/38 ; 185/40B; 185/40R
161151
(pdf) Printing-Telegraph, G.M.
Phelps, Mar 23, 1875, 178/40
144285 (typo in 161151)
165379 (pdf)
Printing-Telegraph, J.E. Smith, July 6, 1875, 178/35
166911 (pdf) Printing-Telegraph, A.
Wirsching, Aug 17, 1875, 178/38
168004 (pdf) Printing Telegraph,
T.A. Edison (assigned to GSTC), Sep 21, 1875, 178/38 - Newark, NJ
the same magnet that moves
type wheel also prints
168249 (pdf) Printing Telegraph, E.
Gray, Sep 28, 1875, 178/38
Transmitter with 2 row keyboard
Improved 132907
168919
(pdf) Printing Telegraph, G.M.
Phelps,Oct 19, 1875, 178/4 ; 178/112; 178/38; 178/95; 234/127;
400/583.1; 400/583.3; 400/81; 83/241
Paper Tape with a single row of
holes and also the character. ABCD... keyboard Transmitter
168949 (pdf) Printing Telegraphs,
C.J. Wiley, October 19, 1875, 178/40 ; 400/149
169506 (pdf) Magneto-Printing
Telegraph, G.L. Anders, November 2, 1875, 178/35
169875 (pdf) Printing
Telegraphs, C.J. Wiley, Nov 9, 1875, 178/41
173718 (pdf) Automatic-Telegraphy,
T.A. Edison, Feb 22, 1876, 178/30 ; 178/16; 178/37; 178/62;
346/33R; 347/162; 400/124.01 - chemical paper
173750 (pdf) Printing
Telegraph, G.L. Anders, Feb 22, 1876, 178/35
1753656 (pdf)
177661 (pdf) Printing Telegraph,
C.A. Randall, May 23, 1876, 178/41
180700
(pdf) Printing Telegraph, J. H. Bunnell, Aug 8, 1876,
178/41
181239
(pdf) Perforators for Automatic
Telegraphy, G.L. Anders, Aug 22, 1876, 83/70 ; 178/92; 83/355;
83/572 - paper tape punch
182091 (pdf) Printing Telegraph,
C.J. Wiley, September 12, 1876, 178/41
183462 (pdf) Printing Telegraph,
A.A. Knudson (GSTC), October 17, 1876, 178/41 - with Bell on top
186215 (pdf)
Printing-Telegraphs, G.M. Phelps, Jan 16, 1877, 178/4 ; 178/38;
178/41
Transmitter, Punched tape, weight
driven
190456 (pdf) Printing
Telegraph, E.P. Warner, May 8, 1877, 178/35
191479 (pdf)
Printing-Telegraph, R.J. Sheehy, May 29, 1877, 178/35
195162 (pdf) Magneto-Electric
Transmitters for Printing Telegraphs, G.M. Phelps, Sep 11, 1877,
178/35
Transmitter, half circle keyboard,
"U" magnet motor
196476 (pdf) Printing
Telegraph, G.M. Phelps, Oct 23, 1877, 178/38
Lower resistance on the main line
thus fewer batteries needed
Edison starts the first ever
company to deliver electricity
Prior to this there was no such a thing as an electrical outlet,
electricity came from batteries.
Note that after 1878 DC power could be porvided to stock ticker
systems in the New York Wall street area by Edison.
203369 (pdf) Polarized
Electro-magnet, G.M. Phelps, May 7, 1878, 335/230 ; 340/397.5
3/4 circle type
204516 (pdf) Printing
Telegraph, H.Van Hoevenbergh, June 4, 1878, 178/35
208537 (pdf) Printing-Telegraphs,
G.M. Phelps, Brooklyn, NY, Oct 1, 1878, 178/41
---------------- start of Welch & Anders, 30 Hanover St.,
Boston------------------------
210890 (pdf) Printing Telegraph,
G.L. Anders (E.B. Welch), Dec 17, 1878, 178/40 ; 178/41
210891 (pdf) Printing Telegraph,
G.L. Anders (E.B. Welch), Dec 17, 1878, 178/41
210892 (pdf) Printing Telegraph,
G.L. Anders (E.B. Welch), Dec 17, 1878, 178/38 ; 106/DIG.7 references
144045 & 169506
A way of causing printing when the
type wheel stops.
Illustration shows stock quotes.
210893 (pdf) Printing Telegraph,
G.L. Anders (E.B. Welch) Dec 17, 1878, 178/41
Rectangular base
Calls 108867 and names a "director" that sounds like Edison's
center off polarized relay.
210894 (pdf) Printing Telegraph,
G.L. Anders (E.B. Welch), Dec 17, 1878, 178/38
210895 (pdf) Printing Telegraph,
G.L. Anders (E.B. Welch), Dec 17, 1878, 178/29 ; 114/21.2
210896 (pdf) Printing Telegraph,
G.L. Anders (E.B. Welch), Dec 17, 1878, 178/40 ; 178/41
210897 (pdf) Transmitter for
Printing Telegraph, G.L. Anders (E.B. Welch), Dec 17, 1878, - piano
keyboard
----------- end of Anders-------------------------------
213554
(pdf) Automatic-Telegraph, T.A.
Edison, March 25, 1879, 178/17A ; 178/92
215551 (pdf) Printing Telegraph,
G.L. Anders (E.B. Welch), May 20, 1879, 178/38
Sunflower disk transmitter
222881 (pdf) Electromagnetic
Machines, T.A. Edison, Dec 23, 1879, 310/265
Edison working with class 310 -
Electrical Generator or Motor Structure
This is one year after Edison
opened his first DC electric utility
227868 (pdf) Printing Telegraph,
C.J. Wiley, NY, NY, May 18, 1880, 178/32,
227869 (pdf) Printing Telegraph,
C.J. Wiley, NY, NY, May 18, 1880, 178/41
241094 (pdf) Printing Telegraph, H.
Van Hoevenbergh (), May 3, 1881, 178/41 - weight driven
245732 (pdf) Printing Telegraph,
J.H. Longstreet, Aug 16, 1881, 178/41
251658 (pdf) Printing Telegraph, H.
Van Hoevenbergh, Dec 27, 1881, 178/32
------------------ Start of Johnson Group--------------
253060
(pdf) Secret Message Telegraph,
A.F. & F.B. Johnson, Jan 31, 1882, 178/4 ; 178/26.1; 178/37;
178/92; 400/104; 400/155; 400/471.1; 400/614; 400/615; 400/634;
400/636; 400/642; 400/713
253061
(pdf) Aparatus for Preparing and
Transmitting Secret Telegraphic Messages, A.F. & F.B. Johnson,
Jan 31, 1882, 178/92 ; 178/17R; 178/37; 178/4; 380/26; 83/202
253062
(pdf) Secret Printing Telegraph,
A.F. & F.B. Johnson, Jan 31, 1882, 178/37
253063
(pdf) Secret Printing Telegraph,
A.F. & F.B. Johnson, Jan 31, 1882, 178/37 ; 178/28; 178/38
253064
(pdf) Instrument for Preparing and
Transmitting Secret Telegraph Messages, A.F. & F.B. Johnson, Jan
31, 1882, 178/4 ; 178/26.1; 178/38; 178/92; 83/202; 83/252
257877 (pdf) Printing Telegraph,
J.H. Longstreet, May 16, 1882, May 16, 1882
---------------- End of Johnson Group--------------
258439 (pdf) Printing Telegraph,
A.A. Knudson, May 23, 1882, 178/32 ; 178/41 - Clock Face w/hour
& minute hands
261567 (pdf) Printing-telegraph,
E.A. Schoettel, July 25, 1882, - line over line rather than paper
tape (see Dow
Jones Broad Tape News Printer for a single wheel version)
264961 (pdf) Printing Telegraph,
S.M. Plush, W.P. Phelps, September 26, 1882, 178/32 ; 178/41 -
weight or spring to go faster
265353 (pdf) Printing Telegraph, A.
Wirsching, Brooklyn, NY, Oct 3, 1882, 178/41 - rectangular base,
weight driven
266176 (pdf) Printng Telegraph,
W.J. McCausland (William W. Kurtz), Oct 17, 1882, 178/40 ; 178/41
267366 (pdf) Printing Telegraph,
G.M. Phelps, Nov 14, 1882, 178/32
267929 (pdf) Telegraphic Register, F.L. Pope, Nov 21 1882, 178/97
; 178/95; 178/96 -
269634 (pdf) Printing Telegraph,
W.J. Burnside (UK 1853), Dec 26, 1882, - weight driven, escapement,
single row type wheel, Sunflower keyboard, 1-wire, local battery,
273810 (pdf) Printing Telegraph,
W.J. Burnside, March 13, 1883, 178/38
Instead of using a metal faced type
wheel and soft ink roller he used a soft type and a hard striking
surface
274300 (pdf) Printing Telegraph,
S.D. Field, Mar 20, 1883, 178/32
274416 (pdf) Printing Telegraph,
H.Van Hoevenbergh, Mar 20, 1883, 178/32
274417 (pdf) Printing Telegraph,
H.Van Hoevenbergh, Mar 20, 1883, 178/32 ; 178/65; 178/66.1
274665 (pdf) Printing Telegraph,
G.B. Scott, Mar 27, 1883, 178/32 ; 246/3
274748 (pdf) Printing Telegraph,
S.D. Field, Mar 27, 1883, 178/32
279550 (pdf) Printing-Telegraph,
S.V. Essick, Jun 19, 1883, - 15 key Sunflower, 2-wires, private line
279729 (pdf) Printing Telegraph,
S.D. Field, Jun 19, 1883, - staggered character 2 row typewheel
279865 (pdf) Printing Telegraph,
S.D. Field, Jun 19, 1883, 178/41
282296 (pdf) Dynamo Telegraphy,
S.D. Field, Jul 31, 1883, 178/32 ; 178/65; 178/66.1
285709 (pdf) Printing
Telegraph, H.Van Hoevenbergh, Sep 25, 1883, 178/35
285710 (pdf) Printing Telegraph,
H.Van Hoevenbergh, Sep 25, 1883, 178/4 ; 178/111; 178/38; 235/442
286977 (pdf) Printing Telegraph,
H.Van Hoevenbergh, Oct 16, 1883, 178/32
Transmitter, Improvement on 130831
287265 (pdf) Printing
Telegraph and Transmitter Therefor, S.D. Field, Oct 23, 1883, 178/35
287266 (pdf) Printing Telegraph,
S.D. Field, Oct 23, 1883, 178/41
287267 (pdf) Electric Transmitter,
S.D. Field, Oct 23, 1883,178/74 ; 178/102; 178/66.1
290556 (pdf) Means of Controling
Circuits of Printing Telegraphs, S.D. Field (Commercial Telegram
Co), Dec 18, 1883, 178/32
290557 (pdf) Printing Telegraph,
S.D. Field (Commercial Telegram Co), Dec 18, 1883, 178/32
Two typewheels & two escapments
290613 (pdf) Printing Telegraph,
W.B. Vansize, Dec 18, 1883, 178/32
291075 (pdf) Excapement and Unison
Mechanism for Printing Telegraph, S.D. Field (Commercial Telegram
Co), Jan 8, 1884, 178/41 ; 335/230; 335/270; 335/281; 340/397.5
292966 (pdf) Printing Telegraph,
H.Van Hoevenbergh, Feb 5, 1884, - multi-wire transmitter
293922 (pdf) Printing Telegraph,
H.Van Hoevenbergh, Feb 19, 1884, 188/85 ; 74/527
293923 (pdf) Electromechanical
Movement, H.Van Hoevenbergh, Feb 19, 1884, 318/686 ; 178/32
293924 (pdf) Electromechanical
Movement, H.Van Hoevenbergh, Feb 19, 1884, 318/686 ; 74/54
293925 (pdf)
Electromechanical Escapment, H.Van Hoevenbergh, Feb 19, 1884, 178/35
; 178/38
293926 (pdf) Printing
Telegraph, H.Van Hoevenbergh, February 19, 1884, 178/35
293959 (pdf) Unison Mechanism for
Printing Telegraphs, S.D. Field, Feb 19, 1884, 178/32
295644 (pdf) Printing Telegraph,
A.F. Johnson, goes with pat 268237 one magnet for each letter
299664 (pdf) Printing Telegraph,
W.J. McCausland, (W.W. Kurtz), Jun 3, 1884, 178/32
300341 (pdf) Printing Telegraph,
C.L. Buckingham (WUTC), Jun 17, 1884, 178/32
300417 (pdf) Printing Telegraph,
C.L. Buckingham (WUTC), Jun 17, 1884, 178/32
300859 (pdf) Transmittter for
Printing Telegraphs, S.D. Field (Commercial Telegram Co), Jun
24, 1884, 178/32
303327 (pdf) Escapement for Telegraphs, D.B.
Scott, Aug 12, 1884, 185/5 ; 178/38; 185/40B; 74/1.5
Recoil-teeth instead of dead-beat
teeth on the escapement
weight driven requiring Winding.
304007 (pdf) Unison Apparatus
for Printing Telegraph, A.A. Knudson, Aug 26, 1884, 178/35
304025 (pdf) Means for Rotating
Typewheel of Printing-Telegraphs, G.M. Phelps (WUTC), Aug 26, 1884,
178/32
304051 (pdf) Unison Apparatus for
Printing-Telegraphs, W.B. Vansize (WUTC), Aug 26, 1884, 178/41
304052 (pdf) Printing-Telegraph,
W.B. Vansize (WUTC), Aug 26, 1884, 178/32
304475 (pdf) Printing Telegraph,
H.Van Hoevenbergh, - weight driven, 1-wire, horseshoe magnet
306055 (pdf) Printing
Telegraph, C.G. Burke, Oct 7, 1884, 178/4 ; 178/35; 178/38
306056 (pdf) Printing
Telegraph, C.G. Burke, October 7, 1884, 178/35
306297 (pdf) Printing Telegraph, H.
Van Hoevenbergh (BOTC), Oct 7, 1884, 178/41
--------------------
307231 (pdf) Printing Telegraph,
R.J. Sheehy(), Oct 28, 1884, 178/41
307232 (pdf) Printing Telegraph,
R.J. Sheehy(), Oct 28, 1884, 178/39
307233 (pdf) Printing Telegraph,
R.J. Sheehy(), Oct 28, 1884, 178/41
307234 (pdf) Printing Telegraph,
R.J. Sheehy(), Oct 28, 1884, 178/40 ; 178/41
Wide paper printer
307696 (pdf) Printing
Telegraph,A&E Wirsching, Nov 4, 1884, 178/32 ; 178/40
307841 (pdf) Printing Telegraph,
G.A. Cassagnes (Paris, France), Nov 11, 1884, 178/17R ; 178/21;
178/25; 178/31; 178/4.1R; 276/18; 400/359; 400/71
309000 (pdf) Electric Apparatus for Setting Clocks, J.E. Smith
(G&STC), Dec 9, 1884, 368/58
309001 (pdf) Circuit Controller for Electric Clocks on
Telephone & Other Lines, J.E. Smith (G&STC), Dec 9, 1884,
368/4
310587 (pdf) Printing Telegraph,
311218 (pdf) Printing Telegraph,
J.E. Wright Ny, Ny & J.H. Longstreet, Hoboken, NJ (), Jan 27,
1885, 178/40 ; 178/41 - large horseshoe magnet
313175 (pdf) Printing Telegraph,
G.A. Cassagnes (Paris, France), Mar 3 1885, 370/273 ; 178/31;
178/4.1R; 400/364; 400/91; 400/94
313176 (pdf) Printing Telegraph,
G.A. Cassagnes (Paris, France), Mar 3 1885,178/26.1 ; 178/21; 341/90
313786 (pdf) Printing Telegraph,
H.Van Hoevenbergh (B&OTC), Mar 10, 1885, - 2 typewheels,
escapement
314115 (pdf) Chemical Stock
Quotation Telegraph, T.A. Edison & P. Keny, Mar 17, 1885,
358/478
316494 (pdf) Printing Telegraph,
A.B. Simth (W.R. Rankine), Apr 28, 1885, 178/32
-------------start Hoevenbergh, Elizabeth, NJ & Baltimore &
Ohio Telegraph Co. ------------
This appears to be a collection of Printing Telegraph patents for
not only stock tickers, but also a number of other things
316676 (pdf) Electromagnet for
Printing Telegraphs, H.Van Hoevenbergh (B&OTC), Apr 28,
1885,178/41 ; 335/228; 335/266; 335/268
316677 (pdf) Printing Telegraph,
H.Van Hoevenbergh (B&OTC), Apr 28, 1885, 178/41 - rectangular
base
316678 (pdf) Printing Telegraph,
H.Van Hoevenbergh (B&OTC), Apr 28, 1885, 178/40
316679 (pdf) Printing Telegraph,
H.Van Hoevenbergh (B&OTC), Apr 28, 1885, 178/42 - tape transfer
process
316680 (pdf) Page Printing
Telegraph, H.Van Hoevenbergh (B&OTC), Apr 28, 1885,178/29
316681 (pdf) Page Printing
Telegraph, H.Van Hoevenbergh (B&OTC), Apr 28, 1885, 178/41
316682 (pdf) Type Wheel for
Printing Telegraph, H.Van Hoevenbergh (B&OTC), Apr 28, 1885,
178/38
316683 (pdf) Type Wheel for
Printing Telegraph, H.Van Hoevenbergh (B&OTC), Apr 28, 1885,
178/41
316684 (pdf) Type Wheel for
Printing Telegraph, H.Van Hoevenbergh (B&OTC), Apr 28, 1885,
178/41
316685 (pdf) Platten Shifting
Device for Printing Telegraphs, H.Van Hoevenbergh (B&OTC), Apr
28, 1885, 178/40
316686 (pdf) Transmitter for
Printing Telegraph, H.Van Hoevenbergh (B&OTC), Apr 28, 1885,
341/22 - 6x6 keyboard
316687 (pdf) Automatic Governor for
Printing Telegraph Transmitters, H.Van Hoevenbergh (B&OTC), Apr
28, 1885, 188/180 ; 178/18.01; 200/81R
316688 (pdf) Pneumatic Winding
Apparatus for Printing Telegraphs, H.Van Hoevenbergh (B&OTC),
Apr 28, 1885, 60/698 ; 185/44
316689 (pdf) Chemical Printing
Telegraph, H.Van Hoevenbergh (B&OTC), Apr 28, 1885, 178/39 ;
178/62
316690 (pdf) Methos of Unisoning
Printing Telegraphs that have Two Type Wheels, H.Van Hoevenbergh
(B&OTC), Apr 28, 1885, 178/41
316691 (pdf) Unison Device for
Printing Telegraphs, H.Van Hoevenbergh (B&OTC), Apr 28, 1885,
178/41
316692 (pdf) Inking Roller for
Printing Telegraph Type Wheels, H.Van Hoevenbergh (B&OTC), Apr
28, 1885, 400/470
316693 (pdf) Chemical or Facsimilr
Printing Telegraph, H.Van Hoevenbergh (B&OTC), Apr 28, 1885,
358/478
316694 (pdf) Method of Printing
Telegraphlly, H.Van Hoevenbergh (B&OTC), Apr 28, 1885, 400/163.2
; 178/29; 400/328 - spiral grooved rod moves type wheel across
paper.
316695 (pdf) Winding Device for
Printing Telegraphs, H.Van Hoevenbergh (B&OTC), Apr 28, 1885,
178/32 ; 185/40B; 185/40R
316696 (pdf) Unison for Printng
Telegraphs, H.Van Hoevenbergh (B&OTC), Apr 28, 1885, 178/41
316697 (pdf) Platten Shifting
Device for Printing Telegraphs, H.Van Hoevenbergh (B&OTC), Apr
28, 1885, 178/40
316698 (pdf) Receiver for Printing
Telegraphs, H.Van Hoevenbergh (B&OTC), Apr 28, 1885, 178/36 ;
178/33A
---------------- end Hoevenbergh---------------
319001 (pdf) Unison Device for
Printing Telegraph, L.A. McCarthy, Jun 2, 1885, 178/32 ; 178/41
319855 (pdf) Printing Telegraph,
G.B. Scott (WUTC), Jun 9, 1885, 178/32 319885
321858 (pdf) Printing Telegraph
Transmitter, G.B. Scott (WUTC), Jul 7, 1885, 178/32
Piano Keyboard
322689 (pdf) Printing Device
for Synchronous Telegraphy, P.B. Delany, July 21, 1885, 178/35
325702 (pdf) Printing
Telegraph, R.J. Sheehy, Sep 8, 1885, 178/28 ; 400/314.1;
400/322; 400/354.1; 400/555; 400/568
Type wheel moved across paper by by
two gear sectors
326989 (pdf) Printing Telegraph
Receiver, C.M. Jordan, Sep 29, 1885, 178/40 ; 178/41
327911 (pdf) Printing Telegraph
Receiver, A. Wirsching, Oct 6, 1885, 178/40 ; 400/148 - a fast
hammer is used to replace the slow printing lever
328491 (pdf) Printing Telegraph,
C.N. Judson, Oct 20, 1885, 400/470 ; 178/38 - single type
wheel but use different colors for stock name and price
328500 (pdf) Printing
Telegraph, W.J. McCausland, Oct 20, 1885, 178/39 ; 178/35
329515 (pdf) Printing
Telegraph, S.B.Van Nortwick, Nov 3, 1885, 178/35
330238 (pdf) Transmitter for
Printing Telegraphs, C.L. Healy (S.D. Field), Nov 10, 1885, 178/32
332649 (pdf) Printing Telegraph,
R.N. Dyer (Commercial Telegram Co), Dec 15, 1885, 178/41
333298 (pdf) Printing
Telegraph, C.L. Healy, Dec 29, 1885, 178/35
334294 (pdf) Printing Telegraph,
R.J. Sheehy, Jan 12, 1886, 178/41
335275 (pdf) Printing Telegraph,
R.N. Dyer (Commercial Telegram Co), Feb 2, 1886, 178/41
335482 (pdf) Printing Telegraph,
A.C. Robbins (E.C. Cole & J.D. Larkin), Feb 2, 1886, 178/41
335681 (pdf) Multiple Harmonic
Printing Telegraph, G.A. Cardwell, Feb 9, 1886, 178/32 ; 178/2R
338343 (pdf) Printing Telegraph,
S.D. Field (Commercial Telegram Co), Mar 23, 1886,
338344 (pdf) Printing Telegraph,
S.D. Field (Commercial Telegram Co), Mar 23, 1886, - weight driven
339312 (pdf) Printing Telegraph
Receiver, W.J. McCausland, Apr 6, 1886, 178/41
341655 (pdf) Printing
Telegraph, C.L. Healy, May 11, 1886, 178/35
341656 (pdf) Printing Telegraph, C.L. Healy, May 11, 1886,
345245 (pdf) Automatic Telegraphy,
E.J. Mallett (), Jun 12, 1888, 178/41 ; 178/3
350469 (pdf) Printing Telegraph,
D.B. Scott (WUTC), Oct 5, 1886, - escapement
350615 (pdf) Printing Telegraph,
C.L. Buckingham, Oct 12, 1886, 178/32
350616 (pdf) Printing
Telegraph, C.L. Buckingham, Oct 12, 1886, 178/35 ; 246/3
350617 (pdf) Printing Telegraph
Transmitter, C.L. Buckingham, Oct 12, 1886, 178/32
350983 (pdf) Printing-Telegraph,
J.H. Linville (IPTC), Oct 19, 1896, - faster type wheel ticker page
width
350984 (pdf) Printing-Telegraph,
J.H. Linville (IPTC), Oct 19, 1896, - 1/4 Sunflower keyboard
352435 (pdf) Printing
Telegraph System, J.C. Wilson, Nov 9, 1886, 178/35
354001 (pdf) Printing Telegraph
Instrument, A. Wirshing (), Brooklyn, NY, Dec7, 1886, 178/41 -
weight driven
355662 (pdf) Printing Telegraph,
D.E. Pike (R.W.Pope), Jan 4, 1887, 178/32
358379 (pdf) Telegraphy, R.G.
Brown, February 22, 1887, 178/35 ; 178/74
364893 (pdf)
Synchronous Telegraphy, R.G. Brown, June 14, 1887, 178/35 ; 178/75;
370/303
364894 (pdf) Synchronous
Telegraphy, R.G. Brown, June 14, 1887, 178/35 ; 178/75; 370/303
365059 (pdf) Printing Telegraph,
S.V. Essick, Jun 21, 1887, - 28-wire
365705 (pdf) Printing Telegraph,
G.B. Scott, June 28, 1887, 361/246 ; 178/102
365982 (pdf) Transmitter for
Printing Telegraphs, S.D. Field (J. Anderson), Jul 5, 1887,
178/32 ; 178/79
365994 (pdf) Printing Telegraph,
C.L. Healy (CTC), July 5, 1887, -
366166 (pdf) Printing Telegraph
Transmitter, C.L. Healy, (CTC), Jul 5, 1887, 400/489 ; 178/41
Stock Quote keyboard with some
keys for the left hand and other keys for the right hand
366178 (pdf) Printing Telegraph
Receiver, H. Mahnken, Jul 5, 1887, 335/230 ; 178/39; 178/96
368217 (pdf) Printing Telegraph,
J.H. Linville, - 2 typewheel page printer, self winding
368541 (pdf) Printing Telegraph, H.
Mahnken (Commercial Telegram Co), Aug 16, 1887, 178/32 ;
335/78
368692 (pdf) Printing Telegraph,
R.J. Sheehy, Aug 23, 1887, 178/32
368858 (pdf) Printing
Telegraph, R.J. Sheehy, Aug 23, 1887, 178/38
368859 (pdf) Printing
Telegraph, R.J. Sheehy, Aug 23, 1887,
370357 (pdf) Printing Telegraph,
R.J. Sheehy, Sep 20, 1887, 178/32
370691 (pdf) Printing Telegraph,
S.D. Field (Commercial Telegram Co), Sep 27, 1887, 178/32
weight driven
370978 (pdf) Printing Telegraph,
R.J. Sheehy (Independent Printing Telegraph Co), Oct 4, 1887, 178/32
big gear wheel on top
373508 (pdf) Printing Telegraph,
C.J. Wiley, - page printer, stock symbol printed once then just
price in rows.
374444 (pdf) Printing Telegraph, A.
Bixby, Dec 6, 1887, - 2 row typewriter type keyboard
B&O Railroad and the
B&O Telegraph Co. try to compete with Western Union, but fail
and become part of WU
377763 (pdf) Printing Telegraph, J.H.
Linville, Feb 14, 1888, 178/28 ; 400/154; 400/317.2; 400/322;
400/328.1; 400/354.1; 400/470; 400/568; 400/613; 400/686
378107 (pdf) Printing Telegraph,
D.E. Pike (WUTC), Feb 21, 1888, 178/32
------------------
378436
(pdf) Printing Telegraphy, P.B.
Delany, Feb 28, 1888, 178/35
378437 (pdf) Printing
Telegraph, P.B. Delany, Feb 28, 1888, 178/35
383450 (pdf) Printing Telegraph,
S.V. Essick, May 29, 1888, - weight driven, piano keyboard
works with pat 365059
------------------------
384320
(pdf) Printing Telegraph, E.J.
Mallett, June 12, 1888, 178/35 ; 335/230
384321 (pdf) Polarized
Electromagnet, E.J. Mallett, June 12, 1888, 335/230
384322 (pdf) Printing Telegraph,
E.J. Mallett, June 12, 1888, 178/40
384323 (pdf) Automatic Pole
Changer, E.J. Mallett, June 12, 1888,
384324 (pdf) Automatic Telegraphy,
E.J. Mallett, June 12, 1888, 178/16
384325 (pdf) Automatic Telegraphy,
E.J. Mallett, June 12, 1888, 178/41 ; 178/3
384326 (pdf) Automatic Pole
Changer, E.J. Mallett, June 12, 1888, 361/246
-----------------------
384455 (pdf) Printing Telegraph
Receiver, H. Mahnken (John Anderson), NY, NY, Jun 12, 1888, 178/41
388244 (pdf) Printing Telegraph,
J.M.E. Baudot, Aug 21,
1888, -
388922 (pdf) Telegraph Exchange
System, R.J. Sheehy (), Sep 4, 1888, 178/32 ; 178/75
389142 (pdf) Printing Telegraph,
B.A. Fiske (WUTC), Sep 4, 1888, 178/32
394302 (pdf) Printing Telegraph,
G.V. Sheffield, Dec 11, 1888, - has different sounding setam
whistle for each letter for blind operators
395614
(pdf) Printing Telegraph, M.W.
Dewey, Jan 1, 1889, 178/35
397466 (pdf) Printing Telegraph,
A.T. McCoy, Boston, MA (John Anderson, NY), Feb 5, 1889, 178/40 ;
178/41
398833 (pdf) Printing Telegraph,
F.H.W. Higgins (UK 2128), Mar 5, 1889, - Electrical
Type-Writer
404426 (pdf) Unison Device, G.F.
Oehmen, Jun 4, 1889, 178/41 ; 340/825.41
407729 (pdf) Printing Telegraph,
C.L. Healy (Commercial Telegram Co), Jul 23, 1889,
407730 (pdf) Printing Telegraph,
C.L. Healy (Commercial Telegram Co), Jul 23, 1889, 178/32
420240 (pdf) Printing Telegraph,
J.F. McLaughlin, Jan 28, 1890, - interconnecting two electric
typewriters
429115 (pdf) Printing Telegraph, J.
Burry (Aloys Wirsching, NY), Jun 3, 1890, 178/34 ; 178/40; 178/41
A different way to sending and
receiving step-by-step
429576 (pdf) Printing Telegraph,
A.T. McCoy, Jun 3, 1890,
429577 (pdf) Printing Telegraph,
A.T. McCoy, Jun 3, 1890,178/38
----------------------
This is the "Self Winding" where a spring is would. The spring
then powers the type wheel instead of using line power.
This is the same idea as the Western Union
Self Winding Clocks that were in government buildings, banks,
jewelery stores, etc.

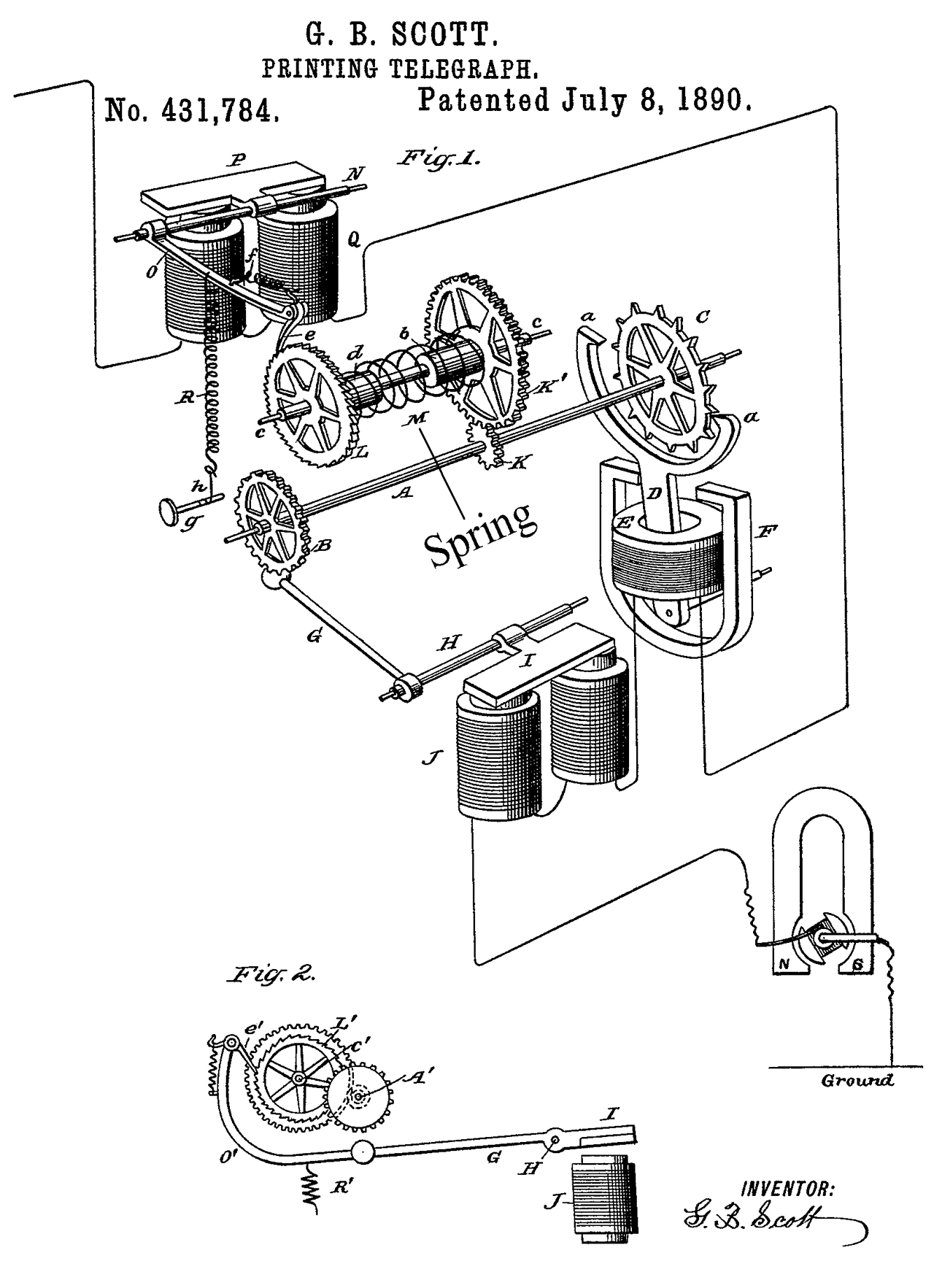
431784
(pdf) Printing Telegraph, G.B.
Scott, Jly, 8, 1890, 178/38
431987 (pdf) Printing Telegraph,
A.T. McCoy, Jly, 8, 1890,
432453 (pdf) Printing Telegraph,
W.W. Taylor, July 15, 1890, -
434261 (pdf) Printing Telegraph,
T.M. Foote (C.L. Pillusbury), Aug 12, 1890, 178/32 ; 178/65
434881 (pdf) Printing
Telegraph, J.B. Odell, Aug 19, 1890, 178/35 - 4 row typewriter style
keyboard
436740 (pdf) Printing Telegraph,
J.B. Odell (Printing Telegraph Co, IL), Sep 16, 1890, 178/28 ;
178/41
443111 (pdf) Printing Telegraph,
F.B. Rae, Dec 23, 1890, - polar signaling
443134 (pdf) Printing Telegraph,
S.V.B. Essick, 23 Dec, 1890, - two typewriter type keyboard,
line printer, 2 row typewheel, 1-wire, prior patents: 279550,
365059, 383450,443135, 443136
443135 (pdf) Printing Telegraph,
S.V.B. Essick, 23 Dec, 1890, -
443136 (pdf) Printing Telegraph,
S.V.B. Essick, 23 Dec, 1890, -
450228 (pdf) Printing Telegraph,
P.H. Fisk, Apr 14, 1891, - Purmutation code
450631 (pdf) Printing Telegraph,
S.R. Linville (Keystone Battery & Elec Sup Co), Apr 21,
1891, 178/32 ; 178/65
451951 (pdf) Printing Telegraph, E.
Pope, May 12, 1891, - Purmutation code
455075 (pdf) Printing
Telegraph, H.Van Hoevenberg, June 30, 1891, 178/35
455294 (pdf) Printing Telegraph,
D.H. Bates & H. Van Hoevenbergh (), June 30, 1891, - duplice
printout
457239 (pdf) Printing Telegraph, H.
Van Hoevenbergh (B&O Telegraph Co), Aug 4, 1891, 178/40 ; 178/41
460328 (pdf) Printing Telegraph,
J.E. Wright (UK 11799) , Sep 29, 1891, - "column printer"
460349 (pdf) Printing Telegraph
Apparatus, G.A. Gassagnes (Paris, France), Sep 29, 1891,
178/39 ; 178/21; 178/32; 178/4
460572 (pdf) Printing
Telegraph, M.G. Farmer, Oct 6, 1891, 178/35 ; 178/64
470768 (pdf) Printing Telegraph,
E.J. Silkman, Mar 15, 1892, - 3 rwo keyboard, line printer,
step by step typewheel
472237 (pdf) Unison Apparatus
for Printing Telegraphs, H.Van Hoevenberg, April 5, 1892, 178/35
477383 (pdf) Printing Telegraph,
C.J. Reed, Jun 21, 1892, -
477384 (pdf) Printing Telegraph,
C.J. Reed, Jun 21, 1892, -
486888 (pdf) Electrical
Transmitting Apparatus, A.D. Neal, Nov 29, 1892, 178/35 - faster
487154
Telegraphic Apparatus, J.A. Parker & L.L. Summers, 1892-11-29, 178/21 - remote Stenographic machine
487229 (pdf) Printing-Telegraph,
A.D. Neal & H.F. Eaton, - Hammond typewriter pat 290419 - either
cable for short distance or 1-wire for
--------------------
487981 (pdf) Printing Telegraph,
C.L. Buckingham, Dec 13, 1892, 178/4 ; 178/34; 178/40; 400/163.3;
400/70
487982 (pdf) Printing Telegraph,
C.L. Buckingham, Dec 13, 1892, 178/4 ; 178/112; 178/40; 341/66
487983 (pdf) Printing Telegraph,
C.L. Buckingham, Dec 13, 1892, 178/4 ; 178/17R
487984 (pdf) Synchronous Multiple
Telegraph, C.L. Buckingham, Dec 13, 1892, 370/304
487985 (pdf) Printing Telegraph,
C.L. Buckingham, Dec 13, 1892, 178/4 ; 178/40; 178/41; 318/75
487986 (pdf) Printing Telegraph,
C.L. Buckingham, Dec 13, 1892, 178/4 ; 178/41; 370/304
-------------------
491133 (pdf) Printing Telegraph
Receiver, M.D. Porter (National Ticker Co), Feb 7, 1893, 178/40 ;
178/41; 185/40B; 185/40R; 185/43
494185 (pdf) Printing-Telegraph,
J.E. Wright, Mar 28, 1893 - page printer type wheel
498529 (pdf) Printing
Telegraph, E.V. Baillard, May 30, 1893, 178/35
498674 (pdf) Printing Telegraph, D.
Murray, - Remington keyboard purmutation code
504732 (pdf) Printing Telegraph,
S.R. Linville (U.S. Printing Telegram Co), Sep 12, 1893,
178/32
--------------------
506269 (pdf) Printing
Telegraph, R.J. Sheehy (W. Goodwin), October 10, 1893, 178/32
506270 (pdf) Printing Telegraph,
R.J. Sheehy (W. Goodwin), October 10, 1893, 178/40
506271 (pdf) Apparatus for Securing
Synchronous Movement, R.J. Sheehy (W. Goodwin), October 10,
1893,318/85 ; 318/254
506272 (pdf)
Printing-Telegraph Exchange System, R.J. Sheehy, October 10, 1893,
178/35 ; 178/74; 178/75; 341/183
506273 (pdf) Printing
Telegraph, R.J. Sheehy, October 10, 1893, 178/32
506274 (pdf) Telegraphy, R.J.
Sheehy, October 10, 1893, 178/35
----------------------
506973 (pdf) Printing Telegraphm
L.P. Buck & F.D. Sweeten, Oct 17, 1893, -interconnect
typewriters
509430
(pdf) Printing Telegraph, R.A.
Fowden, Nov 28, 1893, 178/35
512422 (pdf) Printing
Telegraph, E.A. Wirsching, Jan 9, 1894, 178/35 ; 178/38; 185/40R
521170 (pdf) Printing Telegraph,
O.L. Keebler, Jun 12, 1894, - prints Morse look like built on
top of sounder
521550 (pdf) Printing Telegraph, E.
Pope (UK), Jun 19, 1894, - purmutation code
524711 (pdf) Printing
Telegraph, R.A. Fowden, Aug 21, 1894, 178/35
529484 (pdf) Printing Telegraph,
B.A. Fiske (WUTC), Nov 20, 1894, 178/32
529630 (pdf) Printing
Telegraph, G.A. Scott, Nov 20, 1894, 178/35
531677 (pdf) Printing Telegraph,
S.V.B. Essick, Jan 1, 1895, - page printer
534639 (pdf) Printing Telegraph,
S.V.B. Essick, Feb 26, 1895, -
535179
(pdf) Typewriter Attachment, C.
Spiro, March 5, 1895 ,178/81 ; 178/85; 400/338.1
537464 (pdf) Printing Telegraph,
O.L. Keebler, Apr 16, 1895, -
541149 (pdf) Transmitter, J. Burry,
Jun 18, 1895, 178/83 - Sunflower type
544345 (pdf) Printing Telegraph,
C.L. Buckingham, Aug 13, 1895, - high speed typesetting
printer U/L case
544346 (pdf) Printing Telegraph,
C.L. Buckingham, Aug 13, 1895, - high speed typesetting
printer U/L case
544347 (pdf) Printing Telegraph,
C.L. Buckingham, Aug 13, 1895, - high speed typesetting
printer U/L case
544348 (pdf) Printing Telegraph,
C.L. Buckingham, Aug 13, 1895, - high speed typesetting
printer U/L case
551948 (pdf) Electric Telegraph,
W.H. Cooley (), Dec 24, 1895, 178/32 ; 178/34; 178/4; 178/85;
370/303
552738 (pdf) Printing
Telegraph, J.E. Woodbridge, Jan 7, 1896, 178/35
558506 (pdf) Printing Telegraph,
B.F. Merrit & J.M. Joy (CT&NC), Apr 21, 1896, -
typewheel page printer
572609 (pdf) Telegraph
System, B.F. Merritt, Dec 8, 1896, 178/35 - motor in keyboard
572760 (pdf) Printing Telegraph, L.
Kamm, Dec 8, 1896, - "Kamm's Zerograph" Tx & Rx 3 row
keyboard typewheel
574994 (pdf) Printing
Telegraph, Jan 12, 1897, 178/35
575830 (pdf) Printing Telegraph,
O.L. Keebler, Jan 26, 1897, - typewheel page printer
579634 (pdf) Printing Telegraph,
C.L. Buckingham & E. German, Mar 30, 1897, - print paper tube
(Why?)
579635 (pdf) Printing Telegraph,
C.L. Buckingham & E. German, Mar 30, 1897, - print paper tube
(Why?)
579636 (pdf) Printing Telegraph,
C.L. Buckingham & E. German, Mar 30, 1897, - print paper tube
(Why?)
580617 (pdf) Printing Telegraph, H.
Kreusler, Apr 13, 1897, -

581411
(pdf) Printing Telegraph, J. Burry,
April 27, 1897, 178/40 ; 178/41; 400/336.1; 400/470; 400/471;
400/613
588046 (pdf) Printing
Telegraph, E.M.D. Andre, August 10, 1897, 178/35
590664 (pdf) Printing
Telegraph, R. Kubler, Sep 28, 1897, 178/35
596320 (pdf) Printing Telegraph,
B.A. Brooks, Dec 28, 1897, -
601768 (pdf) Printing Telegraph
System, J. Burry, Ft Lee, NJ(), Apr 5, 1898, 178/23R ; 178/41;
400/322; 400/331.3; 74/112
a "U" magnet and two coils drive
escapment wheel from the side
606329 (pdf) Printing Telegraph,
B.A. Brooks, Jun 28, 1898, -
608333 (pdf) Telegraphic
Transmitting and Receiving Apparatus, B. Hoffmann, August 2, 1898,
178/35
613348 (pdf) Printing Telegraph, A.
Wirsching, Nov 1, 1898, - typewheel page printer
621863 (pdf) Printing Telegraph,
S.J. Small, Mar 28, 1899, - printing typewriter
623846 (pdf) Printing Telegraph,
D.G. Smith, Apr 25, 1899, -
624487 (pdf ) Printing Telegraph,
K. Himrod (ITTC), May 9, 1899, - Baudot system
630827 (pdf) Printing
Telegraph, F. Hachmann, August 8, 1899, 178/35
633586 (pdf) Printing Telegraph
System, C.L. Healy (), Sep 26, 1899, 178/32
643379 (pdf) Printing
Telegraph, L, Kamm, Feby 13, 1900, 178/35
649893 (pdf) Printing Telegraph, J.
Stockert, May 15, 1900, - typewriter based
655249 (pdf) Telegraphic
Type-writer, R. Kubler, Aug 7, 1900, 178/35 ; 178/18.01
663859 (pdf) Receiver for Printing
Telegraphs, J. Burry (), Dec 18, 1900, 178/32
664761 (pdf) Printing Telegraph, E.
Kinsman, Dec 25, 1900, - spiral apaer rather than line feed
665027
(pdf) Printing-Telegraph, H.
Mankhen, January 1, 1901, 74/159 ; 178/38; 185/40B - uses clock
escapment to turn type wheel
671405 (pdf) Telegraph, H.
Shoemaker, April 2, 1901, 178/35
673381
(pdf) Printing Telegraphic
Instrument L.M. Casella (UK), May 7, 1901, 178/38
673429 (pdf) Long-Distance
Type-writer, A.J. Farmer, May 7, 1901, 178/35
675380 (pdf) Printing
Telegraph, R.A. Fowden, June 4, 1901, 178/35
675894 (pdf) Printing Telegraph,
F.H. Littlefield, Jun 11, 1901. - faster permutation system
675895 (pdf) Printing Telegraph,
F.H. Littlefield, Jun 11, 1901. - faster permutation system
677801 (pdf) Printing
Telegraph, J. Rogginger, July 2, 1901, 178/35
680693 (pdf) Printing Telegraph, J.
Burry, Aug 20, 1901, 178/29 ; 400/334.3; 400/471; 400/564; 400/613
Broad page printer, 45 pg
685390 (pdf) Printing Telegraph,
J.E. Wright, Oct 29, 1901, - improved stock ticker
685571 (pdf) Telegraph or
other System, J. Burry, Oct 29, 1901, 178/2R ; 178/35; 178/75
Circuits and arrangement thereof
695537 (pdf) Printing
Telegraph, L. Cerebotani, March 18, 1902, 178/35 ; 178/117; 370/305
705227 (pdf) Printing-Telegraph,
T.M. Foote, Jul 22, 2902
712939 (pdf) Printing-Telegraph,
O.L. Kleber, Nov 4, 1902, - inporvements on 571464, 575830
720668 (pdf) Printing
Telegraph, L. Cerebotani, Feb 17, 1903, 178/35
--------------------- Phelps Self Winding
--------------------

726566 (pdf) Printing Telegraph
System, W.P. Phelps, Apr 18, 1903, 178/32
727089 (pdf) Printing Telegraph, H.
Casevitz (France), May 5, 1903, - He named it "Teletype".
745279
(pdf) Type Printing Telegraph,
F.H.W. Higgins (UK), November 24, 1903, 74/143 ; 101/110; 101/72;
178/38; 74/156; 74/88
Older type wheel machines can go
about 60 characters per minute, this is much faster
758250 (pdf) Printing
Telegraph, C.L. Healy, April 26, 1904, 178/35 ; 24/131R
758732 (pdf) Printing Telegraph,
J.C. Barclay, May 3, 1904, 178/33R
767322 (pdf) Printing Telegraph,
J.D. White (London, UK), Aug 9, 1904, 178/32
770951 (pdf) Relay, J.C. Barclay,
September 27, 1904, 361/210 ; 178/77; 178/98; 335/124
785076 (pdf) Printing Telegraph,
J.C. Barclay, March 21, 1905, 178/27
787608 (pdf) Printing Telegraph,
J.C. Barclay, April 18, 1905, 178/27 ; 178/40; 370/305; 400/317.3
779524 (pdf) Printing
Telegraph System, J. Burry, Jan 10, 1905, 178/35 ; 178/70A
Improvement on 601768
780663 (pdf) Method of
Operating Printing Telegraph Receivers, J.M. Joy, Jan 24, 1905,
178/23R ; 178/35
801173 (pdf) Printing Telegraph,
J.C. Barclay, Oct 3, 1905, - improved: 785076, 787608
818477 (pdf) Printing
Telegraph, R.J. Sheehy, April 24, 1906, 178/35
826615 (pdf) Telegraphy, R.J.
Sheehy (), Jul 24, 1906, 178/32 ; 178/65; 318/42
843508 (pdf) Printing Telegraph,
J.E. White (UK 767322) , Feb 5, 1907, -
862402 (pdf) Printing Telegraph,
C.L. Krum, Aug 6, 1907, 178/27 ; 178/40 - aimed at teletype
type use, type drum with many rows
865470 (pdf) Printing
Telegraph, J.E. White, Sep 10, 1907, - typewheel page printer
869420 (pdf) Printing Telegraph,
B.W. Cochran, Oct 29, 1907, - more than 1 bit in each
character space
875410 (pdf) Printing Telegraph
Receiver, J. Burry, Dec 31, 1907, 178/32
new protocol: Polarity,
Strength, Order (a permutation code) but for type wheel
------------------ Start Barclay Self Winding-------

875643 (pdf) Printing
Telegraph, J.C. Barclay (WUTC), Dec 31, 1907, 178/35
Convert two line receiver, like
726566, into a single line receiver
-------------------
877821 (pdf) Perforating Machine,
J.C. Barclay, Jan 28, 1908, 234/51 ; 234/105; 234/111; 234/127-
typewriter like keyboard
877822 (pdf) Printing
Telegraph, J.C. Barclay, Jan 28, 1908, 178/35 ; 178/28
877823 (pdf) Perforator, J.C.
Barclay, Jan 28, 1908, 234/51 ; 234/105; 234/127
---------------
886338
(pdf) Printing Telegraph, J.C.
Barclay, May 5, 1908, 178/35 ; 178/70A
886339 (pdf) Automatic Telegraph
Transmitter, J.C. Barclay, May 5, 1908, 178/17A ; 178/17R-
Wheatstone type
--------------- End Barclay Group-----------
902792
(pdf) Type Printing Telegraph
Apparatus, G.A.M. Agrell (Sweden), Nov 3, 1908, 178/38
917011 (pdf) Printing Telegraph,
A.C. Crehore, Apr 6, 1909, - typewriter based
922781 (pdf) Printing Telegraph, I.
Kitsee, May 25, 1909, - Tx and Rx do not need synchronization
923488 (pdf) Printing
Telegraph, H.W. Bull, June 1, 1909, 178/35 ; 178/29
937032 (pdf) Printing Telegraph,
J.C. Barclay, October 12, 1909, 178/29
962082 (pdf) Printing Telegraph,
T.M. Foote(), June 21, 1910, - 3 typewheel stock ticker
962694 (pdf) Printing Telegraph
Receiver, J. Burry (Dec'd) (Stock Quotation Telegraph Co), Jun 28,
1910, 178/29 ; 178/41
Improving on 680693 Page "broad"
printer
978435 (pdf) Telegraph
Transmitter Apparatus, H.G. Davis (EPBC), Dec 13, 1910, 178/35 ;
400/686
982274 (pdf) Printing Telegraph,
C.K. Jones, Jan 24, 1911, - purmutation code
982275 (pdf) Printing Telegraph,
C.K. Jones, Jan 24, 1911, - purmutation code
982276 (pdf) Printing Telegraph,
C.K. Jones, Jan 24, 1911, - purmutation code
985824 (pdf) Electric Type Writing
Machine, A.T. MacCoy (C.B. Strecker), Mar 7, 1911, 178/32
991672 (pdf) Printing Telegraph,
G.S. Tiffany (Bankers Trust Co), May 9, 1911, 178/32
---------------------------- 7 Digit Patent Numbers-------------
1004038 (pdf) Printing Telegraph,
C.L. Krum, Sep 26, 1911, - purmutatin code
1034405
(pdf) Printing-Telegraph, B.
Soldatencow, July 30, 1912, 178/35
1107365 (pdf) Printing Telegraph,
C.E. Scribner & F.R. McBerty (WE), Aug 18, 1914, -
typewheel
1085124
(pdf) Printing Telegraph Receiver,
G.S. Hiltz, Jan 27, 1914, 178/40 ; 400/155.1
1086049
(pdf) Printing Telegraph Receiver,
G.S. Hiltz, Feb 3, 1914, 178/40
-----------------
1097580 (pdf) Printing Machine,
J.C. Barclay, May 19, 1914, 400/154.1 ; 101/93.29; 400/155.1;
400/330; 400/568
1105920
(pdf) Telegraphy, L.M. Potts,
August 4, 1914, 178/27 ; 178/33A; 178/4; 400/81
1105921 (pdf) Punching Machine,
L.M. Potts (A. McLanahan), Aug 4, 1914, 400/81 ; 234/102; 234/107;
234/122; 234/37; 234/41; 400/656
General punching for telegraph,
Lino-type, etc
1105922
(pdf) Telegraphy, L.M. PottsAugust
4, 1914, 178/27
------------------
1114578
(pdf) Stock Quotation Indicator,
R.W. Bumstead, October 20, 1914, 340/825.26 ; 178/24; 340/404.1;
340/815.6; 340/815.62
1116657
(pdf) Printing Telegraph, C.J.
Wiley, November 10, 1914, 178/31
1138958 (pdf) Printing Telegraph,
O.L. Kleber, May 11, 1915, -
1146985 (pdf) Printing Telegraph,
C.J. Wiley(), Jly 20, 1915, - improvement on 1116657
1168603 (pdf) Printing Telegraph,
L. Cerebotani (Carl Zies), Jan 18, 1916, - typewheel
uncoples after each character and homes then recouples.
1223463 (pdf) Printing Telegraph,
J.E. Wright, Apr 24, 1917, - additional pulses for mux
1305225 (pdf) Printing Telegraph,
C.L. & H.L. Krum, May 27, 1919, -
1344379
(pdf) Illuminated Displaying
Device, J.H. Chidester, June 22, 1920, 353/47 - optically projects
tape image
1347580 (pdf) Printing Telegraph,
G.S. Hiltz (SQTC), Jly 27, 1920, -
1360231 (pdf)
1399993 (pdf)
1400988 (pdf)
1401950 (pdf) Printing
Telegraph,
1426803 (pdf)
1501679 (pdf) Printing Telegraph, D. Hurray (WU),
1549820 (pdf) Printing
Telegraph, Gilbert S. Vernam (AT&T), Aug 18, 1925, -
Synchronous multiplex
1564421 (pdf) Printing Telegraph, Edward E. Kleinschmidt
(Morkum-Kleinschmidt Corp), Dec 8 1925, - 5-level receiver
where there is no distributer
maybe leading to the 5A type
machine.
1667531 (pdf) Sound Reproducing
Apparatus, B.E. Brown (R.B. Labs), Apr 24, 1928, 381/418 - combines
a horseshoe magnet and coil.
1672129 (pdf) Printing Device, J.
Kleinman, Jun 5, 1928, 400/164 ; 178/38 - Punched card
printing
1689295 (pdf)
---------------- start of G.S. Hittz -----------
1707522 (pdf) Current
Transmission Apparatus for Printing Telegraph and Other Systems,
G.S. Hiltz (SQTC), Apr 2, 1929, 178/23R ; 178/35
Sunflower sender
1711497 (pdf) Current Transmission
Apparatus for Printing Telegraph and Other Systems, G.S. Hiltz
(SQTC), May 7, 1929, 178/4 ; 178/17C; 200/46; 234/106;
235/442; 246/5 - typewriter keyboard
1713128 (pdf) Printing
Telepraph Transmitter, G.S. Hiltz (SQTC), May 14, 1929, 178/35 -
uses motor for power not line
---------------
1732601 (pdf) Printing Telegraph,
G.S. Hiltz (SQTC), Oct 22, 1929, 178/41
1732602 (pdf) Printing Telegraph,
G.S. Hiltz (SQTC), Oct 22, 1929, 178/41
Stock
Market
Crash October 29, 1929 - Need for faster Tickers
The Western Union Black Box was next
1752084 (pdf) Printing
Telegraph, G.S. Hiltz (SQTC), March 25, 1930, 178/35 -
Bi-Polar drive
unison command is automatic every so many
characters
1753656 (pdf) Printing Telegraph,
G.S. Hiltz (WUTC), Apr 8, 1930, 178/39 - better type wheel
drive for more speed
1765042 (pdf) Automatic Tape
Controlled Transmisson for Tickers, E.R. Wheeler (WUTC), Jun 17,
1930, 178/4 ; 178/17R; 178/27; 178/33R; 178/40; 340/825.26
5 level paper tape, not Baudot
Letter
Wheel: . A B C D E F G H I . J K L M N O P Q R . S
T U V W
X Y Z &
Fig Wheel: C 1 2 3 4 5 6 7 8 9 0 . 1 2 3 4 5 6 7
8 . s 1/8 1/4 3/8 1/2 5/8 3/4 7/8 B
1767128 (pdf) Printing Telegraph
System, G.S. Hiltz, Jun 24, 1930, 178/41 - Paper tape reader &
operator activated unison feature
-------------
1771499 (pdf) Apparatus for
Feeding Tape and Projecting Images Therefrom, H.H. Lynn, Jul 29,
1930, 178/42 ; 200/61.18; 200/82R; 200/DIG.11; 226/43; 226/45
1771500 (pdf) Apparatus for
Feeding Tape and Projecting Images Therefrom, H.H. Lynn, Jul 29,
1930, 178/42 ; 200/82R; 200/DIG.11; 226/43
----------------
1774971 (pdf) Cupon-Printing
Telegraph Machine, F.J. Haupt, Sep 2, 1930, 178/42 ; 178/1;
178/27 - Buy and Sell orders on form
1801528 (pdf)
1801529 (pdf)
1811133
(pdf) Printing Telegraph, E.E.
Kleinshmidt, June 23, 1931, 178/38 ; 101/110; 178/33R; 178/93;
400/155.1 - stock printing single wheel
D83408 (pdf) Combined Table and
Cover for a Telegraph Printer, J.A. Mahoney (Bell Tel Labs), Feb 17,
1931, D14/472
1821110
(pdf) Selecting and Printing Mechanism, Sterline Morton, Howard L.
Krum, Edward E. Kleinschmidt (Teletype), Sep 1 1931, 178/33R
; 101/93.19; 235/429
Has two selector mechanisms, the first is set by the code and the
second is set by the first. This way a character can be
printing while the next character is being decoded
1821124 (pdf) Selecting apparatus,
C.W. Swan (Teletype), Sep 1, 1931, 178/34
Pineapple type stack of disks with
rods near the outer diameter selector mechanism.
Driven from a polar relay, optimized for high speed, low energy
compsumption
1821164 (pdf) Printing Telegraphs,
E.E. Kleinshmidt (Teletype), Sep 1, 1931, 178/34
6 bit Start-Stop stock ticker
printer.
Optimized so that power compsumption is spread over the operating
cycle to minimize the peak power required thus allowing the
printer to be powred over the phone line instead of from a local
battery (D.C. power from phone line).
1821165 (pdf) Selective Signaling
and Apparatus, E.E. Kleinshmidt (Teletype), Sep 1, 1931,178/4.1R ;
178/34
About the same number of Figures are
printed on a stock ticker as are Letters, hence adding a 6th bit
to the permutation code. At the time the 6th bit is decoded
and the type wheel is in position the 5 input selector bits are
free to accept another character thus there is no need to have a
first and second selector system to allow overlapping decoding and
printing.
1826741 (pdf) Printing Wheel, F.G.
Creed(Creed & Co, UK), Oct 13, 1931, 178/38 -
1832160 (pdf) Feeding Mechanism
for Printing Telegraphs, A. Vischer Jr. (Dow, Jones & Co.), Nov
17, 1931, 400/320 ; 178/28; 400/322; 400/332.4; 400/332.5; 451/392;
74/167
1834828
(pdf) Printing Telegraph System,
R.F. Dirkes, Dec 1, 1931, 178/4 ; 178/38; 178/40 -
divides the stock price printing
amoungst a number of seperate printers to gain speed
1855153 (pdf) Automatic
Timing Control for Manually Operated Transmitters for Ticker or
Step-by-Step Telegraph Systems, P.L. Myer (WUTC), April 19, 1932,
178/35 ; 178/40 -
1858510
Telegraphic recorder, Knopp Ernest, Kunc Frank, H
O Boehme Inc, 1932-05-17, - for conventional telegraphy
1858511
Automatic telegraph keying head, Knopp Ernest, Kunc Frank, H
O Boehme Inc, 1932-05-17, - for conventional telegraphy
D87174 (pdf) June 14, 1932, D20/2 -
standing casket design. flat glass to allow viewing and reduce
noise
1866944 (pdf) Method and
Apparatus for Printing Security Quotations, H.W. Spooner, July 12,
1932, 178/35 ; 340/825.26
printing letter & number with same printing
stroke is twice as fast and uses less paper tape
1884754 (pdf) Printing Telegraph, H.L. Krum (Teletype), Oct 25 1932,
178/28 ; 400/186; 400/257; 400/62 - stock or news broad
printer - moving typewheel
has a strong similarity to the 5A
stock tape printer
1903806 Stock Quotation Projecting Machine and Method for Feeding
Tape Therethrough, J.W. Decker, Apr 18, 1933, 353/51 ;
226/43 -
RE19727 Stock Quotation Projecting
Machine and Method for Feeding Tape Therethrough, J.W. Decker, Oct
22 1935, 353/51
RE19572 Stock Quotation Projecting
Machine and Method for Feeding Tape Therethrough, J.W. Decker, May
21, 1935, 353/51
1908832 Quotation Projecting or Similar Apparatus, A.D. Eitzen (News
Projection Corp), May 1 1933, 353/50 ; 226/42 -
RE19746 Quotation Projecting or
Similar Apparatus, A.D. Eitzen (News Projection Corp), Nov 5 1933,
353/50 ; 353/95 -
1909283 (pdf) Printing Telegraph, Edward E. Kleinschmidt (Teletype),
May 16 1933, 178/34 - ticker tape printer where no shift
operation using 6 element code
1923273 (pdf) Printing Telegraph, A.T. MacCoy, Aug 22 1933 - news
printer -
instead of using a single type
wheel the characters are formed on two adjacent wheels and in an
optimal arrangement increasing the speed of operation
1932399 Broad Tape Ticker Projecting Machine, J.W. Decker, Oct 31
1933, 178/42 ; 226/43; 353/47 -
RE21891 Broad Tape Ticker Projecting
Machine, J.W. Decker, Sep 2 1941, 178/42 ; 353/47 -
The Rural Electrification
Administration (REA) is started to get A.C. electrical power to
rural areas.
Most cities now had AC power.
But the 5-A ticker could be run from DC supplied by Western Union.
1937376 (pdf) Printing
Telegraph, W.J. Zemer (Teletype), Nov 28 1933, - stock quotation
selector mechanism
1939215
Photo-electric keying head, Kunc
Frank, H
O Boehme Inc, 1933-12-12, - cente drive holes, Dot & Dash
holes on either side.
1946909
(pdf) Stock Quotation Board, R.
Hoover, February 13, 1934, 178/24 ; 178/38; 340/825.26
1957076 (pdf) Printing Telegraph,
H.L. Paulding (Finincial Press Companies), May 1, 1934, 178/4.1R ;
178/23R; 178/28
1957088 (pdf) Switch, A. Vischer
Jr. (Finincial Press Companies), May 1, 1934, 337/89 ; 337/104;
337/109; 337/113
1979510 (pdf) Telegraphic Printing
Mechanism, A. Vischer Jr.(Finincial Press Companies), Nov 6,
1934, 400/320 ; 16/94R; 178/27; 188/316; 267/124; 267/64.15;
400/174; 400/322; 400/328.1; 403/318; 403/356; 451/233; 464/106
2017087 (pdf) Telegraphic Printing
Control Method and Apparatus, J.J. Ackell (Financial Press Co of
America), Oct 15, 1935, 178/4 ; 178/17R; 178/41 - electric Motor -
explanation of problems of step-by-step transmitters and the need
for paper tape and good keyboard layout 24 pages
2090203
(pdf) Type-Wheel Printer, G.S.
Hiltz, August 17, 1937, 178/38 ; 464/77; 74/63 - reduce flywheel
effect of type wheel for more speed
2098941 (pdf) Projection System,
A.H. Blohm (Trans Lux), Nov 16, 1937, 178/38 ; 178/42
RE21218 (
pdf) Projection System, A.H.
Blohm (Trans Lux), Sep 26, 1939, 178/38 ; 353/47
2102899 (pdf) Printing
Telegraph Aparatus and System, E.E. Kleinschmidt, Dec 21, 1937,
178/35 ; 178/41; 178/42 - combined keyboard-printer
-------------------- Typewheel Tape Teletype---------------

2117241 (pdf) Telegraph Printer,
R.F. Dirkes (WU), May 10, 1938 178/34 ; 178/38
This is not a step-by-step printer
but instead a Start-6 unit pi-polar code-Stop type printer.
2135375 (pdf) Telegraph Printer,
V.R. Kimball (WU), Nov 1, 1938, 178/34 ; 178/38; 370/305
------------------ end 5-A Black Box Tape Printer
-----------------------------
2135398 (pdf) Printing Telegraph, L.H. James & D.S. James,Nov 1,
1938, 370/305 ; 178/73; 200/6BB; 375/369 - automatic
multiplex relaying system
2145251 Tape Pulling Device, August D. Eitzen News Projection Corp),
Jan 31, 1939, 226/37 ; 178/42; 192/127; 242/535
2147656 Feb 21 1939
2215801
(pdf) Printing Telegraphic
Apparatus, A.E. Thompson (Creed), Sep 24, 1940, 178/35 - spring
wound
2233667 (pdf) Printing Telegraphic
Apparatus, H.L. Krum, Mar 4, 1941, 178/32
2339724 (pdf) Printing Telegraph
Apparatus, R.D. Salmon (Creed & Co, UK), Jan 18,
1944, 178/38
2382668 (pdf)
Shock-Absorbing means Especially Suitable for use with Type Wheels
in Printing Apparatus, R.D. Salmon, August 14, 1945, 400/141.1 ;
178/35; 188/83; 400/164.4; 400/167; 464/1
2524854 (pdf) Printing Telegraph
Receiver, R.D. Solmon (Creed & Co, UK), Oct 10, 1950,
178/28 ; 178/38; 400/320; 400/323.1; 400/328.1; 400/332.5 - moving
type wheel for page printer
2579101 (pdf) Telegraphic
Printing System, J.A. Spencer (RCA), Dec 18, 1951, 178/35 ; 178/41 -
bi-polar drive
2754361 (pdf) Selector Mechanism, Edward F. Kleinschmidt
(Kleinschmidt Labs), Jul 10 1956, 178/33R -
higher speed by using more bits in
the code rather than running the motor faster, see 1909283 above
Calls:
1811133
(
pdf) Printing Telegraph, E.E.
Kleinshmidt, June 23, 1931, 178/38 ; 101/110; 178/33R; 178/93;
400/155.1 - stock printing single wheel
1821110 (pdf) Selecting and Printing Mechanism, Sterline Morton,
Howard L. Krum, Edward E. Kleinschmidt (Teletype) - may be the 5A
Stock Ticker!
1931865 Clutch Mechanism Suitable for Rotatable Typeheads, R.G.
Griffith (Creed), Oct 24 1933 -
2170316 Printing Telegraph Apparatus, W.J. Zenner (Teletype), Aug
22 1939,
178/33R ; 335/238; 335/253; 335/266; 335/274 -
2183022 Quotation Selector, H. L. Krum, Albert H. Reiber
(Teletype), Dec 12, 1939, - also see 2147656 - stock
quotation systems
2326298 Type Wheel Stop Unit, Ernest W. Hewitt (WU), Aug 10 1943,
178/34 ; 178/40 -
2505008 Printing Telegraph Receiver, R.D. Salmon (Creed), Apr 25,
1950,
178/33R -
2521750 Selector Mechanism for Printing Telegraph Receivers, R.D.
Salmon (Creed), Sep 12 1950,
2522461 Mechanical Chain Linkage System for Mechanical Ciphering
Units, L.M. Pots (Teletype), Sep 12 1950
2585041 Printing Telegraph Receiver, R.D. Solmon (Creed) -
2787210 (pdf) Hammer Impelling
Means in High Speed Printers, F.H. Shepard, April 2, 1957, 101/93.33
; 178/34; 400/155; 400/166; 400/167
2940386 (pdf) Wheel Printers, L.
Cetran, June 14, 1960, 101/93.34
2974194 (pdf) Printing Telegraph
Se;ectpr Apparatus, J. Handley, Mar 7, 1961, 178/27 ; 178/29;
178/81
Creed printer co, UK - lightweight
printer, wide page
3170034 (pdf) Stock Ticker Cabinet
with Rotatable Printer and Projector Assemblies, W.J. Zenner
(Teletype), Feb 16, 1965, 178/24
3204028 (pdf) Communications
Equipment Printer, E.F. Kkeinschmidt, Aug 31, 1965, 178/32 ; 178/27
- aircraft printer, wide page
3232596 (pdf) Sprint and Shock Absorber
Structure, E.F. Kkeinschmidt, Feb 1, 1966, 267/134 ; 178/35;
188/268; 400/166; 400/81; 431/170; 431/7
3249922 (pdf) Data Editing System,
P.G.S. Mero, May 3, 1966, 707/6 ; 330/9
Monitors incoming stream of quotes
and sends only desired quotes to designated printer. Uses
rotating selector and relays and the figures to letters change to
know when a new symbol is starting.
3333569 Metering Ribbon Inker, Oscar W. Swenson (WU), Aug 1
1967, 118/260 ; 118/268 -
Calls:
439916 Device for Applying a Coating to Electric Conductors, J.T.
Whittlesey, Nov 4 1890
1365400 Moistening Device for Tobacco-Packaging Machines, G.W.
Gwinn, Jan 11, 1921
2268054 Moistening Mechanism, R.F. Morrison (Ditto Duplicating
Machines), Dec 30, 1941
2599561 Apparatus for Inking Ribbons, J.P. Knight, Jun 1952 -
2964157 Typewriter Ribbon Regulators, J.P. Knight, Dec 1960
3101283 Inking Device, E.G. Brown, Aug 1963, - horizontal mounting
for computer printers
3227080 Tape Coding Attachment, F.G. Hill (Marsh Stencil Mach Co),
Jan 1966, -
3400801 Reusable Inking Cartridge, Oscar W. Swenson (WU), Sep 10
1968, 400/202.2 ; 118/268 -
Calls:
1298045 Moistening Attachment for Type-Writer Ribbons, L.B.
Huddleston, Mar 1919
1414865 Ribbon-Inking Attachment for Typewriters, E.E. Belbare May
1922
2413625 is Control Means for Helicopters Hayes (typo) should
be 12/1946 Pollock 118/268
2599561< see above>
2629359 Inks Sypply Means for Felt Nibbed Pens, Rosenthal Feb 1953
2910960 Inking Device, R.O. Markes, Nov 1959, -
3104988 Roll-on Indorse Ink Well, A.M. Pasinski (Burroughs), Sep
1963
3120804 Printer Inking Device, W.N. Besenick (Burroughs), Feb 1964
3241522 Apparatus for Inking Ribbons, J.P. Knight, Mar 1966
3254624 Inking Cartridge, W.N. Besenick (Burroughs), Jun 1966

August 30, 1966
S.F. Examiner runs a photo showing Charles Kilcourse, regional
manager of Western Union presenting a Stock Ticker to Jeremiah
Bradley (and another un named man). "Fewer than 200 of the
antiques are still in use, having been replaced by 900
character-per-minute tickers.
Who is the man on the left?
Let me Know
Is 900 c/s a typo for 500 c/s (see below for the "900")
http://photo2.si.edu/infoage/stock.gif
-
An Edison Stock Printer. Labeled, "Gold
& Stock Telegraph Co. Edison's Patent No. 215". As the
electric telegraph sped information across the country, bankers
and businessmen realized that they could profit from immediate
knowledge of stock prices and other crucial data. The new
technology shortened the time for decision-making and increased
the pace and stress of the business day. But early telegraph
service was expensive. Outside the business community, use of the
telegraph spread slowly. ==Smithsonian Photo by Alfred Harre
Twitter Tape - it may
work like one of the Edison patent tickers. Designed by Adam
Vaughan who has been involved in making replica Edison tickers,
both working and static.
Greenkeys list server: Tue, 30 Jul
2019 Subject: Re: [GreenKeys] 28 stock ticker?
Teletype 28 based stock ticker manual
Section 573-140-100TC Issue 1, July 1964 - The "900"
"That item is actually the first use of
Model 37 technology. No idea why it was called Model 28 except
maybe the Bell System wanted to reserve the 37 number
for the page printing machines. We had one in the lobby of the
Teletype R&D building in Skokie, slowed down to work with
the stock ticker service then in use. The printing mechanism is
called "aggregate motion" because one bit of the signal moves
the type box one unit, another bit moves it two units, another 4
units and so on. Similar logic was used in the MITE and in the
IBM Selectric typewriter. The machine looked very lazy in
operation because the type box did not return to a home position
after printing. It just waited for the next character to move it
to the next position. Anyway, a bunch of these machines were
made and were supplied to the NYSE and Western Union and maybe
others. When Jack Hart saw the W.U. warehouse after that
company's demise he found a lot of them, but didn't bring any
home, so far as I know. In my opinion that was the last
successful Teletype product of a highly-mechanical nature. The
Model 37 page machines I would not consider successful. The NYSE
called it the "900" ticker because it could print 900 characters
per minute." J.H.
-----------------
"Looking at the bulletin in your link it is a 28 based stock
ticker. I worked on 4 or 5 of them in Springfield, MA in
1968-69. They used purple ink and had ribbon re-inkers on
them. Came home with purple fingers often. One used
clear tape and a projector to display on a wall or board.
Used on NY Stock Exchange I believe. Routine service was
always after 3PM when the market closed.
Never saw an earlier version till I got to Wichita,
KS. The black square box style. Slower speed and
were used in the Commodities Market. We had one old timer
who serviced these. In Wichita there were some Trans Jet
machines on a long belt that used frames with reflecting
green dots that would flip up to display a character and reset
before coming around on the belt again. I worked on those
and mostly got replacement parts from Trans Jet overnight to fix
any issues. The old timer helped me. Now I am the
old timer LOL.
The best source for troubleshooting issues were the guys
who were retired and spent the day at the brokerage watching the
trading. They would inform us of the issues. They
also wondered if the market would ever break the Dow Jones 2000
mark." 73, Wayne
-----------
Typewriter (Wiki)
The stock ticker may have been the first instance of printing
text based on electrical signals. It's a short step from
that to an electrical typewriter with either an attached or
detached keyboard. This is different from an "electric
typewriter" where a motor is used to lower the mechanical work
done by fingers.
Antique Typewriters
-
Movie: California Typewriter, 2016 (IMDB, Wiki,
YouTube)
Book: Shady Charactres, Keith Houston, 2013 -Chapters:
Pilcrow, Interrobang, Octothorpe, Ampersand, At Symbol, Asterisk
& Dagger, Hyphen, Dash, Manicule, Quotation Marks, Irony and
Sarcasm
NYT: 2023Dec7: You
Can Buy Hemingway’s Typewriter. But Would You Use It? -
|
|
X5581
Typographer, W.A. Burt, 1829-07-23 -
YouTube: The
Device that Revolutionized Writing,
|
Hammond
Netflix series: The Law According to Lidia Poët (Wiki,
IMDB)
features the Hammond (probably with/because of a Spanish
language drum). Also featured was a "Volumetric
Glove" lie detector, but they got it wrong.
|

|
224088
Type-Writing Machine, James Bartlett Hammond, Hammond
Typewriter, 1880-02-03, -
232402
Type-Writing Machine, James Bartlett Hammond, 1880-09-21,
- Multiplex (American
History.SI)
915890
Type-Writing Machine, John
A Ruffin, Hammond
Typewriter, 1909-03-23, -
1015594
Type-writer, Richard
A Spurgin, Hammond
Typewriter,1912-01-23, - ribbon tension
1055679
Type-writer, Richard
A Spurgin, Hammond
Typewriter, 1913-03-11, - reversible carriage: Different
Language Drums
1155828
Type-writing machine, Arthur Lopez, Hammond
Typewriter, 1915-10-05, - auto ribbon reverse
1433641
Folding typewriter, Carl O Noack, Hammond
Typewriter, 1922-10-31, - keyboard tilts up 90 deg.
|
|
Spiro

|

|
335392
Type Writing Machine, Charles Spiro, 1886-02-02 - The
Columbia Type Writer Co.
Photo from eBay
155699574834.
|
|
Odell

|

|
399205
Type Writing Machine, Levi J. Odell, 1889-03-05, -
|
|
Williams

|
|
442697
John N. Williams, 1890-12-16, - "Williams"
Photo from eBay
364311272854. Seller: The antikey
Chop -
|
|
Peoples

|

|
476942
Type-writing machine, Byron A. Brooks, 1909-06-14, -
Peoples Typewriter Co.
GB12733 1889
Photo from eBay
266424835698 Seller: typewriterstuff
The top of the carrying case is in the background.
Peoples
web page at Antique Typewriters. (also sole under
the Champion name)
|
|
|
566442
Type Writing Machine, Thaddeus
Cahill, 1896-08-25, 400/95;
178/31; 335/255; 400/101; 400/303; 400/332.2; 178/33R;
400/70; 400/184; 400/322; 400/408 - |

|

|
640208
Type-writer, Frank
Lambert, 1900-01-02, - he also patented a voting
machine in 1900 (662694)
Photo from eBay
155699574834
|
|
|
2217179
Record controlled machine, Albert
W Mills, IBM,
1940-10-08, 400/375.2;
400/70; 400/81; 400/369; 400/432; 400/435; 400/457;
400/654; 400/686; 400/694 - prints plain text
along to top of a punched card. |
|
|
2700445
Type action for typewriters, Edwin
O Blodgett, Commercial
Controls Corp, 1955-01-25, 400/376;
400/70; 400/187; 400/192; 400/216.4; 400/306.2;
400/306.4; 400/314.6; 400/317.3; 400/373; 400/612 -
|
Oliver Typewriter Co
Oliver No. 3 Standard Visible Typewriter Bat Wing - Aug 1915
In the TV series Murdoch Mysteries (IMDB, Wiki)
a "bat wing", keys strike the top of platen, typewriter.
It turns out to be an Oliver (Wiki)
brand and probably a model No. 1 or No. 2. Model No. 3 was
the last to have the "OLIVER" side plates.

|
The Oliver bat wing typewriter appears in a
number of episodes prior to this. And in one of
those you could see the "Olive....." nameplate. I
searched for Olivetti with no luck, but eventually found
it was an "Oliver" brand.
|
|
In the next season both the Oliver and the
Underwood typewriters appeared and shortly after than only
the Underwood is shown. Later the Oliver shows up on
the desk of the new guy.
|
In the background on Murdoch Mysteries you will see the classic
mirror on a Gerstner & Sons tool chest.
Although the company was in business as early as 1906 I don't
think they made a tool chest with that mirror until later.
The earliest patent I found was for a shoe shine box:
1920171
Shoe shine box, Harry
H Gerstner, 1933-08-01, -
3316045
Lock mechanism for plural drawers, Harold
E Leland, H
Gerstner & Sons, 1967-04-25, -
Very Bad Oliver Typewriter Packaging
The typewriter is in much worse condition than shown in the
eBay photos prior to shipment.
Features
The key selling point was that the keys struck on the top of
the platen whereas most, if not all, of the other typewriters at
that time had the keys striking such that you could not see the
last letter.
There are lifting ears (see Fig 13) cast into the base located just
below the platen. You naturally grasp these when lifting
and the Oliver is balanced at these lifting points. This
is an example of excellent engineering. Many modern
products would add a sticker warning you to not pick up by the
platen.
Fig 1 You could feel that the typewriter
was moving when the box moved.

|
Fig 2 No attempt was made to keep
the typewriter from moving. It
was loose inside the box!
 |
Fig 3 The left platen knob is severely
bent.
 |
Fig 4 Some of the type bars have been
mangled.
 |
Fig 5 Front

|
Fig 6 Right side

|
Fig 7 Back
 |
Fig 8 Left side
 |
Fig 9 Top
 |
Fig 10 Bottom
"8 15"= Aug 1915 base casting pattern.
 |
Fig 11 Left hand keys flipped & rotated

|
Fig 12 Right hand keys flipped &
rotated

|
Fig 13 Lifting
Ears
 |
|
|
2023Nov27 eBay "1898 The Oliver Visible Writer No. 3 Batwing
Typewriter with Case" photo of patent label: Pat'd
April 7, 1891 see: 450107
Oct 30, 1894 see: 528484
July 9, 1895 see: 542275
June 16, 1896 see: 562337
March 1, 1898 see: 599863
Made in Chicago Museum: Oliver
Typewriter Company, est. 1896, - note it's common for an
inventor to hold patents in just his name and only years later
found a company. That's the case here with a patent in
1891 and the company in 1896.
Early Oliver
Typewriter Co patents

|
|
450107
Type Writing Machine, Thomas
Oliver, 1891-04-07, -Not Bat Wing (top hammer) but
instead front hammer, which is the current style.
Why the change to top hammer?
Probably the oldest Oliver typewriter patent.
|
Fig 1

|
Fig 2
 |
528484
Type-writing machine, Thomas
Oliver, 1894-10-30, - No. 1?
|
Fig 3 flipped image so key
right side up
QWERT YUIO
ASDF GHJKL
ZXCV BNMP
 |
Fig 1
 |
Fig 1
 |

|
|
542275
Type Writing Machine, Thomas
Oliver,1895-07-09, - prior: na - No. 1-1/2? |
562337
Type-writing machine, Thomas
Oliver, 1896-06-16, - prior: 528484,
599863
Type-writing machine, Thomas
Oliver, 1898-03-01, - prior: 562337
834565
Type-writer, Harry Cross, George J Griffiths, Oliver
Typewriter Co, 1906-10-30, - prior: 599863
837611
Type-writer, Harry Cross, Oliver
Typewriter Co, 1906-12-04, - prior: 599863 - platen-shift
mechanism
904208
Type-writing machine, Theron
L Knapp, Oliver
Typewriter Co, 1908-11-17, - 599863, 834565
Patent dates from eBay ad for a No. 9.
eBay
|
Patent
|
Prior
|
Mar 30 1909
|
916720
Column-stop mechanism for type-writers, Theron
L Knapp, Clayton
C Harting, Oliver
Typewriter Co, 1909-03-30
|
na
|
Jly 13 1909
|
927750
Line-space indicator for type-writers, Charles
C Poole, Oliver
Typewriter Co, 1909-07-13 |
na
|
Jly 27 1909
|
929242
Line-space indicator for type-writers, Charles
C Poole, Oliver
Typewriter Co, 1909-07-27
929243
Paper-movement indicator for type-writers, Charles
C Poole, Oliver
Typewriter Co, 1909-07-27 |
na
na
|
Aug 24 1909
|
932176
Type-writing machine, Charles Roderick, Oliver
Typewriter Co, 1909-08-24 |
834565
|
Jan 11 1910
|
946229
Dead-key mechanism for type-writers, Theron
L Knapp, Oliver
Typewriter Co, 1910-01-11
946245 Tabulator for type-writing machines, William E
Mark, Oliver
Typewriter Co, 1910-01-11 - column-stop mechanism |
na
|
May 24 1910
|
959061
Column-stop mechanism for type-writers, Theron
L Knapp, Clayton C Harting, Oliver
Typewriter Co, 1910-05-24 |
na
|
Jly 26 1910
|
965530
Tabulator for type-writing machines, Theron
L Knapp, Oliver
Typewriter Co, 1910-07-26
|
na
|
Sep 6 1910
|
969483
Type-writing machine, Theron
L Knapp, Oliver
Typewriter Co, 1910-09-06 |
599863
|
Jan 17 1911
|
981927
Paper-carriage for type-writing machines, Theron
L Knapp, Oliver
Typewriter Co, 1911-01-17 |
599863
|
Feb 21 1911
|
984934
Tabulating mechanism for type-writing machines, Theron
L Knapp, Oliver
Typewriter Co, 1911-02-21
|
959061 |
Apr 18 1911
|
989851
Type-writing machine, Theron
L Knapp, Oliver
Typewriter Co, 1911-04-18 |
834565
|
May 23 1911
|
993057
Process of connecting a relatively thin arm to a
rock-shaft, George J Griffiths, Oliver
Typewriter Co, 1911-05-23 |
na
|
Jan 23 1912
|
1015559
Type-writing machine, George J Griffiths, Oliver
Typewriter Co, 1912-01-23 |
837611
|
Feb 27 1912
|
1018760
Spring-barrel brake for type-writing machines, Clayton
C Harting, James
F Flood, Oliver
Typewriter Co, 1912-02-27
|
959061 |
Jly 16 1912
|
1032685
Type-writing machine, Theron
L Knapp, Oliver
Typewriter Co, 1912-07-16 |
834565
|
Dec 10 1912
|
1046469
Type-writing machine, Theron
L Knapp, Oliver
Typewriter Co, 1912-12-10 |
837611 |
Jun 10 1913
|
1063977
Dead-key mechanism for type-writing machines, Theron
L Knapp, Oliver
Typewriter Co, 1913-06-10 |
904208
946229
|
Underwood Typewriter (Wiki)
This is the model that replaced the Oliver on the TV series Murdoch
Mysteries (IMDB, Wiki).
633672
Type-writing machine, Herman
L Wagner, Franz
X Wagner, John
T. Underwood, 1899-09-26, - note this is 5 years after the
first Oliver patent, but Underwood and Oliver patents, as well
as stock ticker patents, are intermixed in time for the improved
versions.
YouTube: How
a Mechanical Typewriter Works, 22:11 - Underwood
Models 5 and 6 - 3D animation
Trivia: The Model 5 was one of the first to include the "@" [Wiki, Shady
Characters, (a book
title)]
Portable
Typewriter
In the Twisted Sisters episode (S6E10) a portable typewriter is
in the apartment of a victim who aspired to be a journalist.
It may be a Blickensderfer typewriter (Wiki).

|
472692
Type Writing Machine, G.C. Blickensderfer, 1892-04-12 - |

|
656085
(Electric) Type-writing machine, George
C Blickensderfer, 1900-08-14, -
|
|
656086
(Electric) Type-writing machine, George
C Blickensderfer, 1900-08-14, - |

|
666176
Type-writing
machine, George
C Blickensderfer, 1901-01-15, - indexing type
There are foreign patents for this titled "Typewriter for
secret writing".
This patent uses the term "cipher-machines".
|

|
717732
(Electric) Type-writing machine, George
C Blickensderfer,1903-01-06, -
Many Teletype machines use a type drum, it's very common.
|

|
972152
Type-writing machine, George
C Blickensderfer,1910-10-11, - uses a type drum
After this patent George patented spark plugs and gun
mounts among other things.
|
|
FR775275
(eSpaceNet)
Perfectionnements aux machines à écrire à barillet mobile,
Heady,
1934-12-22, - Indexing Typewriter (Office
Museum), not a toy.
YouTube: Haelscheir's
Haven: This
keyboard only has three keys! (1925 AEG Mignon 4 index
typewriter), 33:30 -
0:00 Introduction. For more details on the
history of these machines, I recommend https://site.xavier.edu/polt/typewrit...
and • Mignon Schreibmachinen / Typewriters ...
1:03 Keyboard versus index typewriters.
The example typebar machine is a Torpedo 18B.
2:05 The three keys (right to left):
backspace, impression key (prints the character), and
spacebar. 2:46 Type cylinder (the thing that
impresses letters upon the paper). Here, I have the script
or "Schreibschrift" type cylinder installed. These
machines use a special 2D "PFUGQ" layout which was
probably optimized for German, but works reasonably with
English; there is a chance that this script type cylinder
while having the same letter layout has a French instead
of German layout on the perimeter.
3:31 Feeding paper
3:48 Paper release. I didn't complete the
sentence about this lever controlling whether the feed
rollers under the platen (large roller thing) will push
the paper against the platen which is necessary for it to
be pulled in when you turn the platen. I also didn't cover
the small lever I shortly touched without a word which is
for choosing between single and double spaced lines; you
push it down and slide it forwards or backwards.
4:20 Line finder lever
4:28 Paper bail
4:35 Adjusting the paper using the paper
release. I meant to say to disengage it before typing
rather than while , which you obviously don't want to do.
5:05 Carriage release lever. Holding down
the spacebar achieves the same, like on the
Blickensderfer. The Bennett's carriage is always
free-moving except while a key is pressed.
5:40 Setting the margins
6:12 First keypresses. Using the stylus.
"Hello world!" Yes, I am a programmer.
6:48 ***How it works***. Removing the
cover. Indexing mechanism and alignment slots.
8:36 Ribbon mechanism. I at various places
said "ribbon" instead of spool .
10:45 Escapement mechanism
12:27 Touch control spring. This controls
how heavy the keys feel to press down.
13:00 Backspace mechanism
13:17 ***"Single-element" typewriters***.
The Mignon, Blickensderfer, Bennett, Hammond, Selectric,
and a number of much harder to find machines used a single
element instead of multiple type slugs to hold all the
characters. This particular Blickensderfer was actually
made in 1914 while that Bennet was made between 1910 to
1913; I don't always recall my machines' birthdates.
15:51 End of line bell
16:23 Margin release. Sorry for putting
the carriage out of frame here. The lack of a convenient
margin release key encourages you to be more disciplined
about hyphenation and keeping the right margin unpolluted.
17:31 Line feed and carriage return
17:43 ***Changing typefaces***. Here, I
switch from Schreibschrift (script/cursive) to
Plakatschrift ("poster type" or "block lettering")
19:18 Changing indexes / character
legends. Sorry for putting the index removal out of frame.
20:17 The German instructions, as you will
see later, say to insert one space between each character,
and three between each word, given how large the letters
are.
20:39 Installing a type cylinder
21:32 Here we see why those spacing
instructions were important. I was going to note how this
index uses the usual German QWERTZ layout instead of PFUGQ
prior to my noticing my mistake. 22:26 **Typing demo**
23:05 Comments regarding technique. In
addition, the stylus should be held lightly so as to not
introduce resistance while the mechanism engages with the
alignment slots. Here, when aligned, the stylus points to
the top of the character on the index.
23:58 Speed limitations
24:48 Line alignment edges and cursor
25:22 ***Fast typing***. I was a bit rusty
with the layout at this time and intend on posting a video
with much more fluent typing. Kind of makes me think of
someone operating a Morse key. 3
0:16 **Closeup view**. For fast,
consecutive characters, you can barely even see the
cylinder rotating.
31:54 Conclusion. Examples of earlier
index typewriters: https://www.officemuseum.com/typewrit...
Old
Typerwriters and Calculators: Old
typewriter Mignon Model 4 - AEG (1925), 6:40 -
renamed Heady.
|
Toy Typewriters (& Early)
Motivated by YouTube: The
Marx Dial Typewriter (and the Trouble with Patents), 9:00
- also has Browning 1903 FN (730870)
& 1911 Winchester (998347)
self loading'
Simplex:
the Plankton of Typewriters, 11:01 -
The early models were originally sold as a low cost alternative
to a real typewriter. The 1914 & 1934 patents are titled Toy
Typewriter.
|
|
299785
Type-writing machine, G.H. Herrington, D.G. Millison,
1884-06-03,
|
|
|
322989
Type Writing Machine, C. Spiro, 1885-07-28 - type wheel
axis parallel to platen.
|
|
|
481355
|
|
|
481855
Type Writing Machine, AM. English, 1892-08-30, -
|
Photo from
Antique
Typewriters

|
 |
491046
Ink Roller Supporting Device for Printing Machines, J.M.
Fairfield, 1893-01-31 - Dart 1 Typewriter
|
|
|
621628
Type Writer, P. Becker & W.J. Thompson, 1899-03-21, -
|
|
|
627141
Type-writing machine, J.B. Price, 1899-06-20, -
|
|

|
696304
Type Writer, W..J.
Thompson & P.
Becker, 1902-03-25, -
|

|
 |
781124
Draftsman's printing-machine, Andrew J Bradley,
1905-01-31, - Similar to the Dart 1 (Antique
Typewriters) July 1, 1890, Nov 1, 1890 |
|
|
781473
Type-writing machine, Samuel
A Thompson, 1905-01-31, -
|

|
 |
1119777
Toy type-writer, Arthur
B Carroll, Baumgarten
& Co, 1914-12-01, - similar to the Marx, but
slightly different printing linkage. |
|
|
1138427
Type-writer, Samuel
Alexander Thompson, 1915-05-04, -
|
|
|
1204912
Type-writer, Samuel
A Thompson, 1916-11-14, -
|
|
|
1521408
Typewriter, Samuel
A Thompson,1924-12-30, -
|
|

|
1865288
Toy typewriter, Thompson
Samuel Alexander, 1932-06-28, - Simplex |
|
|
1867426
Combined base and receptacle for toy typewriters or the
like, Thompson
Samuel Alexander, 1932-07-12, -
|
|
|
1957373
Toy typewriter, Samuel
A Thompson, 1934-05-01, -
|
|
|
1989785
Toy typewriter, Earl
D Boisselier, American
Flyer Mfg Co, 1935-02-05, - |
|
|
2002075
Typewriting machine, Samuel
I Berger, 1935-05-21, - Marx, Toy Input Dial
Dial index is at top of dial.
Simplex:
the Plankton of Typewriters, 11:01 -
|
|
|
2096085
Toy typewriter, Earl
D Boisselier, (not assigned), 1937-10-19, - |
|
|
2398765
Toy typewriter, Samuel
I Berger, 1946-04-23, - Marx Toy Lever rather than
wheel |
|
|
2458137
Toy typewriter, Samuel
I Berger, 1949-01-04, - Marx Toy Input wheel
Dial index is at bottom of dial. |
|
|
2486702
Toy Typewriter, S.I.
Berger, 1949-03-29, -
|
|
|
2569145
Toy Typewriter, S.I.
Berger, 1951-09-25, -
|
IBM Typewriters
IBM was founded in 1911. IBM
typewriter milestones, History.
eBay ad for a Model A, 25/60 Cycles, 115 Volts, 1.5 Amp.
Note 1: patent numbers lower than 2056364 are mostly assigned
to Electromatic Typewriters Inc. 2056364 is the lowest
patent number that's assigned to IBM. Patents after this
are assigned to IBM unless noted otherwise.
Note 2: Assigned to the inventor, not IBM.
2156975
Typewriting machine, Ronald
D Dodge, IBM,
1939-05-02, - proportional letter spacing (followed up with more
proportional patents by Dodge)
Fountain Pen
"Regis Skyline Number 7 Fountain Pen with Artisanal Blue Number
147 ink" is a plot point in Murdoch Mysteries S7E15
"The Spy Who Came Up to the Cold". Have not found patent
for Regis.

|
I think Murdoch Mysteries and eBay have
mis-labeled this pen "Regis". For example an eBay
title: "Vintage Rare Waterman’s Ideal Regis Fountain Pen".
An examination of the photos shows the nib labeled:
Waterman, ideal, REG.U.S., PAT. OFF. It may be that
REGUS was misread as REGIS? This makes sense as the
Waterman fountain pens were a big thing at the turn of the
century. |

|
293545
Fountain-pen, L.E. Waterman, 1884-02-12 - |
![698882 Safety fountain-pen, Lewis E Waterman,
Frank D Waterman, [Waterman Pen co (Wiki)], App:
1898-05-14, Pub: 1902-04-29, - Safety relates to the
pen not leaking ink when not in use.](Images/US698882-1s.jpg)
|
698882
Safety fountain-pen, Lewis
E Waterman, Frank
D Waterman, [Waterman Pen co (Wiki)],
App: 1898-05-14, Pub: 1902-04-29, - Safety relates to the
pen not leaking ink when not in use. |
2023 Nov 20: Have on order a Goulet Pen Company
(dealer) starter kit that has: a pen, ink and notebook. This
is important because all three work together.
Ball Point Pens
A Ballpoint pen (Wiki)
typically has a push out/push in button that retracts the ball so
it will not write on clothing, but the ball is always exposed to
air and the oil based viscous ink does not harden.
A Rollerball pen (Wiki)
uses water based ink which requires an air tight cap rather than
the more convenient push button. There are two ink types
of rollerball: Liquid Ink and Gel Ink. Liquid ink colors
are done with dyes whereas gel inks are colored with pigments
(more and brighter colors).
Ballpoint
vs Rollerball - What's the difference?, 5:17 - Ballpoint
is oil based ink so tip can be exposed to air, i.e. click to
write. Rollerball is water based so need a cap to keep air out.
Qxir: Simple
but Brilliant: Is This the Greatest Modern Invention?,
8:17 - BiC Cristal
392046
Pen, John J. Loud, 1888-10-30,
- worked on rough surfaces, but not practical for
writing
CA32643 (eSpaceNet)
Pens, John J. Loud, 1889-10-28 - worked on rough surfaces, but
not practical for writing
2390636
Writing instrument, Biro
Laszlo Jozsef, 1945-12-11, - ballpoint pen - became the
BIC Cristal. - requires special oil based viscous ink
YouTube: How
This Pen Changed The World, 9:16 -
Pencil
I've used many No. 2 pencils and also mechanical pencils for
drafting.
Pencil Sharpeners
are on the Fastener web page.
Blackwing
This Blackwing pencil was featured on the WSJ YouTube: Why
This Cult ‘$40 Pencil’ Almost Went Extinct, 8:11 - When
the machine that made the eraser mounting clip broke the company
just stopped making the model 602 and others that used the flat
replaceable eraser. Note, because the eraser is larger
than the diameter of the pencil, it will not roll off a drafting
table.
2024 Jan18: Audition Pack - Set of 4 Pencils on order. Cal Cedar
- Blackwing602
-
YouTube: Blackwing
-
Pencil
Pages: The
Blackwing 602 - the Final Chapter, By Doug Martin, June
2004, (Updated October 2008) -
|
Fig 1 Audition Pack - Set of 4 Pencils

|
|
Fig 2 Eraser clip looks like the one
from patent 1373062.
 |
|
Fig 3 Problem where the pencil does not
write
|
|
Fig 4 Long
Point Sharpener, 2-holes - 2 spare blades near hinge.
Made for Blackwing by KUM in Germany.
Blackwing602.com

|
Kum 2-hole Pencil Sharpeners

|
Pencil Eraser Patents

|
432588
Eraser, Claude L. Wolley, 1890-07-22, - uses clip to hold
rubber eraser
|
 |
1373062
Eraser-holder, Lothar
W Faber (Wiki)
Eberhard
Farber Pencil Co, (Wiki: Eberhard
Faber), 1921-03-29, -
Eberhard Farber
still makes graphite
pencils.
Found on eBay with $69 starting price:
Woodclinched <*> Eberhard Farber BLACKWING * 602
Half the Pressure, Twice the Speed
"Woodclinched": Brand
Name Pencils; USPTO,
1940-04-15 - gluing graphite to wood.
|

|
1725075
Eraser holder, Albert
F Henderson, 1929-08-20, -
|
For Pencil Sharpeners see Fasteners\Pencil
Sharpeners
Stenograph
Patent 255910 (Antique
Typewriters) shows up as a very early typewriter
patent. It was made to be very fast by using two hands and
not moving the fingers over the keys.
|
175892
Improvement in type-writers and phonotypic notation, J.C.
Zachos, 1876-04-11, -
|
|
250697
Are of and Mechanism for Phonetic Notation, M. Wheless,
1881-12-13, -
|

|
255910
Stenographic machine, Miles M. Bartholomew, 1882-04-04, -
Uses a 5 level code. The early teletype machines
also used a 5 level code (Wiki: Baudot
code).
Note provision to print a tape. The Edison Stock
Tickers also printed a tape.
|
|
2855082
Stenographic machine, Katz
Isadore, 1958-10-07, -
|
|
2393781
Stenographic machine, Clarence W JohnsonJohn G
SterlingMilton H WrightRobert T Wright, Stenographic
Machines, 1946-01-29, -
2387330
Ribbon feeding mechanism for stenographic machines,
Clarence W JohnsonJohn G SterlingMilton H WrightRobert T
Wright, Stenographic
Machines, 1945-10-23, -
2319273
Stenographic machine, John G Sterling, Stenographic
Machines, 1943-05-18, -
2617513
Ribbon reversing mechanism, Bahlen Ralph E ZumLeland H
Snyder, Stenographic
Machines, 1952-11-11, -
D159359
Shorthand machine, Windfrey Casner Nichols, La Salle
Extension University, 1950-07-18, -
|
|
323286
Stenographic-printing machine, G.K. Anderson, 1885-07-28,
- similar to 255910, i.e. spindly keys |
|
335171
Method of recording speech, G.K. Anderson, 1886-02-02 -
spindly keys |
|
possible patent dates:
1121370
Attachment for type-writing machines, Arvid
Emanuel Karlberg, Marshall
Bidwell Sargent, Stenotype
Co, Dec 15, 1914
The following dates on the Master Model 4.
Sep 21, 1915 1153959
Type-writing machine, improved ribbon for patent 1105081
more ribbon improvement
Oct 8, 1918 1280976
Stenographic type-writing machine, William H Ebelhare,
Clarence G Arvidson, Stenotype
Co,
Nov 7, 1933 1933833
Stenotype machine, Albert
F Westlund, Shirley
D Murphy; Elmer
W. Stout,
|
|
Stenotype Co.
663405
Keyboard, George Gillespie Allen, Stenotype
Co, 1900-12-11, -
706002
Keyboard, George Gillespie Allen, Stenotype
Co, 1902-08-05, -
710089
Type-writing machine, George H Williams, Stenotype
Co,1902-09-30, -
1105081
Type-writing machine,
1105082
Rewinding mechanism for type-writing machines, Arvid
Emanuel KarlbergMarshall Bidwell Sargent, Stenotype
Co, 1914-07-28, -
|
Links
Back to Brooke's: PRC68, Products for Sale, Personal home, WU 5A
Stock Ticker, Telegraph, No. 6 Battery, LeClanche
Battery, Alphanumeric Index
web page
page created 24 July 2009