Western Union DeskFax

© Brooke Clarke 2021

Western Union DeskFax 2315361 System and apparatus for facsimile
                  telegraphy, Raleigh J Wise, Louis G Stewart, Robert D
                  Parrott, Western Union, App: 1939-09-02

Background
Description
    Printing Technology
Photos
Patents
Other uses of Electrostatic Paper
Related
References
Links

Background


Got this to learn more about FAX in the time frame of W.W. II.  In particular to see if there's any commonality with the AQA-5 Sonobuoy DIFAR plotter.
The Navy model FOA (Maritime.org)Facsimile Transmitter-Receiver worked with either photographic paper or film.  100 Revoltuions Per Minute (RPM).  Used 21 vacuum tubes.

Description

Printing Technology

Pen and Ink was used in the Morse Telegraph patents.

There were many patents for wet paper processes where writing would appear when a stylus was electrically energized, but this has many obvious problems.

A spark can be used to burn a hole in plain paper, but if the next place you want a small hole is near an existing hole then the spark tends to jump to the old hole and so this system is not capable of fine resolution.  Don't know if it was a fire hazard, but expect that was the case.

Thermal paper (Wiki) was used in the 1970s for cash register receipts, the TI Silent 700 printer (Wiki), and many other applications.  A problem is that the image erases itself over time and it requires a special paper.  You can still buy a roll of thermal paper 8-1/2" wide since that was a standard for many applications.

Western Union Teledeltos paper turns black when electrical current is applied.  It is made up of a special base paper and a special top coating.  Depending on the application this paper or thermal paper may be chosen.  As of 2021 I think Teledeltos paper is extinct.

The Xerographic process was invented in 1940 but it took some time to come up with a low cost printing engine that uses fine black particles (Wiki: Toner) to become today's standard for most kinds of printing on plain (or fancy) paper.

Photos

Fig 1 Right Front view
The hole to the left of the push button is for a pilot light.
Western Union
                      DeskFax

Fig 2 Top Front view
Western Union
                      DeskFax
Fig 3 Left Rear view
Wire connects to a dedicated fax line.
The plug is for an AC power cord.
Western Union
                      DeskFax
Fig 4 Front top view
Western Union
                      DeskFax
Fig 5 Left Top view
Western Union
                      DeskFax
Fig 6 Top View
Western Union
                      DeskFax
Fig 7  Left-Front view
Western Union
                      DeskFax
Fig 8  Left Side
Western Union
                      DeskFax
Fig 9 Bottom view.
Western Union
                      DeskFax


Patents

5957
                              Automatic Telegraph, Alexander Bain,
                              1848-12-05 - FAX
5957
                              Automatic Telegraph, Alexander Bain,
                              1848-12-05 - FAX

5957 Automatic Telegraph, Alexander Bain, 1848-12-05 - FAX (Wiki) machine - Ref 3.

1713266 Picture telegraphy, Creed Frederick George (Wiki), Creed and Co Ltd (Wiki), 1929-05-14, -
1897796
                      Electrical Transmission of Pictures, Otho Fulton,
                      App: 1923-08-03
1897796 Electrical Transmission of Pictures, Otho Fulton, App: 1923-08-03, Pub: 1927-10-13
For half-tone (Wiki) images, this circuit provides amplification of the current pulses with wide bandwidth thus making for much better image quality.
2153858
                      Telegraphic transmission of intelligence, Raleigh
                      J Wise, Western Union, App: 1935-05-28
2153858 Telegraphic transmission of intelligence, Raleigh J Wise, Western Union, App: 1935-05-28, Pub: 1939-04-11, -
Requires conductive original.
2173741
                      Electrostatic recording mechanism, Raleigh J Wise,
                      Frederic L O'brien, Western Union,App: 1935-06-14
2173741 Electrostatic recording mechanism, Raleigh J Wise, Frederic L O'brien, Western Union,App: 1935-06-14, Pub: 1939-09-19, -

This was ahead of its time.  Both toner (Wiki) and powder coating (Wiki) work electrostatically, but require heat to fix the powder. 
This system could get something like lamp black from a pen onto plain paper but then what, I see no provision to fix it.


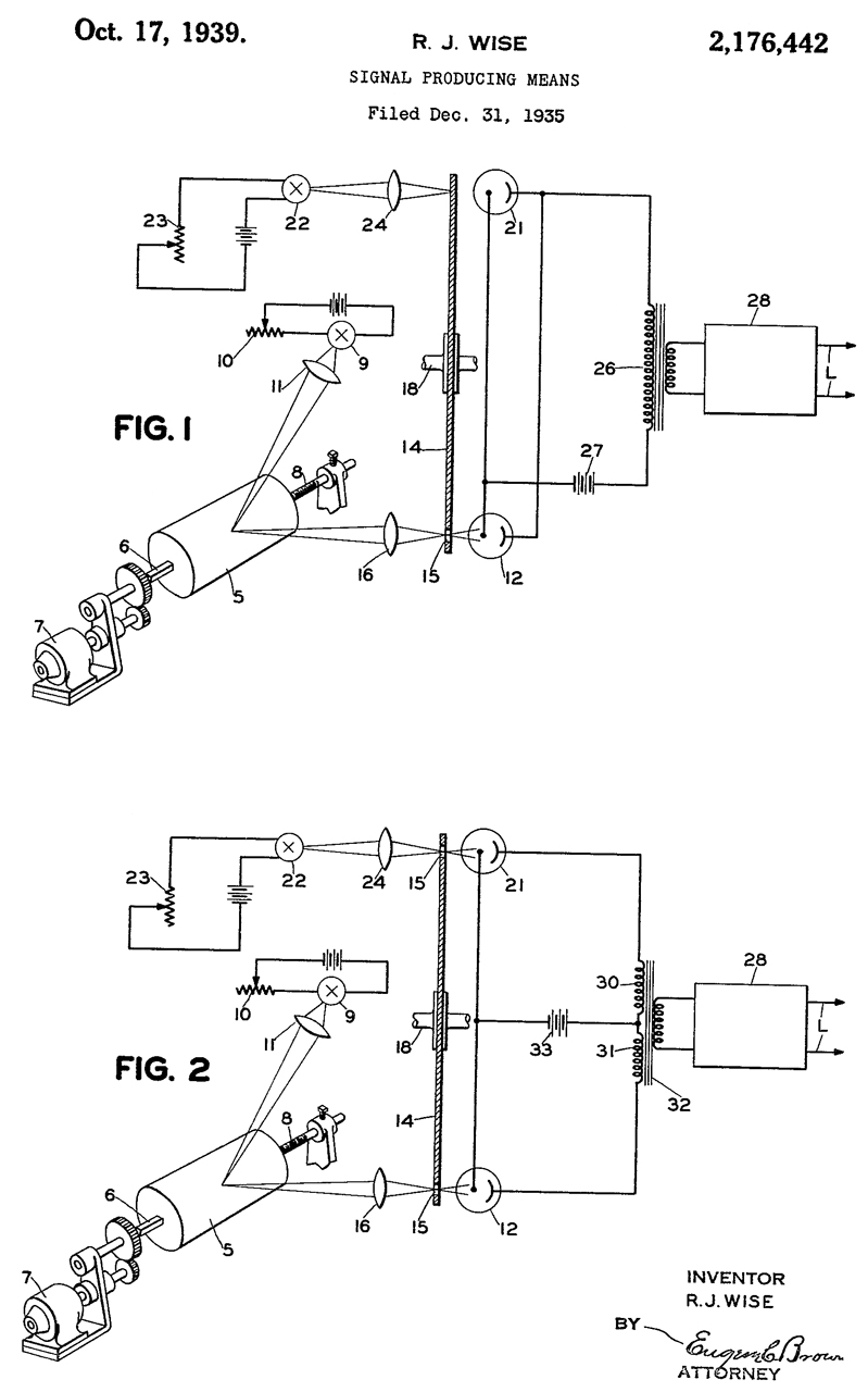
2176442 Signal
                      producing means, Raleigh J Wise, Western Union,
                      1939-10-17
2176442 Signal producing means, Raleigh J Wise, Western Union, 1939-10-17, -

This patent is mentioned in 2255868.  But the DeskFax does not use a dual photocell chopper. 
It's not needed since a simple inversion can change a negative image to a positive image, so this complication was not economical.

2229091 Telegraphic transmission of intelligence, Bernard L Kline, Western Union, App:1935-07-09, Pub: 1941-01-21, -
2251742 Means
                      for recording signals electrically, Bernard L
                      Kline, Western Union,App: 1935-08-31
2251742 Means for recording signals electrically, Bernard L Kline, Western Union,App: 1935-08-31, Pub: 1941-08-05, -

"Known telegraphic receiving papers of one kind are dependent upon the effect of light to produce a chemical change in a recording medium and must therefore be used and stored under Special conditions.

Other receiving papers of the prior art which rely on the chemical change in a recording medium to produce a visible record upon passage of an electric current must be used in a moist condition.

Still other recording papers of the prior art depend upon the effect of externally applied heat to produce a chemical change in a recording medium and these papers have the Serious disadvantage of requiring relatively complicated receiving apparatus to apply the heat in amounts varying in accordance with the received signals.

Recording blanks produced in accordance with the present invention are free of the above enumerated disadvantages."
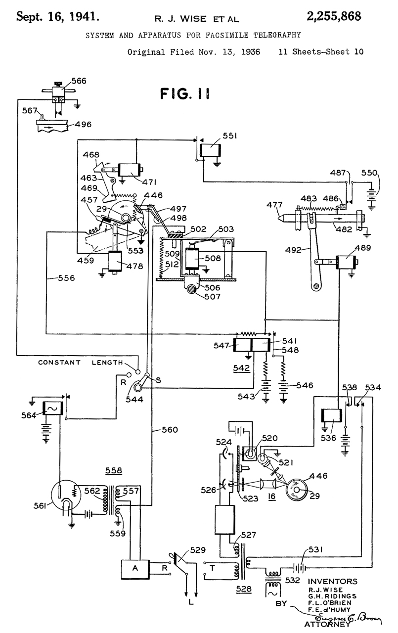
2255868 System
                      and apparatus for facsimile telegraphy, Raleigh J
                      Wise, Garvice H Ridings, Frederic L O'brien, Humy
                      Fernand E D, Western Union, 1941-09-16
2255868 System and apparatus for facsimile telegraphy, Raleigh J Wise, Garvice H Ridings, Frederic L O'brien, Humy Fernand E D, Western Union, 1941-09-16, - This has most of the look and feel of the WU DeskFax, but also includes provision for holding a number of drums pre-wrapped with FAX paper so that the machine can receive a number of Faxes without someone changing the paper.
2255869 System
                      and apparatus for facsimile telegraphy, Garvice H
                      Ridings, Raleigh J Wise, Western Union,
                      1941-09-16
2255869 System and apparatus for facsimile telegraphy, Garvice H Ridings, Raleigh J Wise, Western Union, 1941-09-16

2266802 Synchronizing system, Hugh C Ressler, Radio Inventions, 1941-12-23, - for syncing fax drums.  here as place holder for the sync method.
2294146
                      Electrosensitive recording blank, Raleigh J Wise,
                      Western Union,App: 1939-01-27, Pub: 1942-08-25
2294146 Electrosensitive recording blank, Raleigh J Wise, Western Union, App: 1939-01-27, Pub: 1942-08-25, -

based on conducting fiber base that may be black and a thin white coating.  When electrical current is applied black writing on a black background appears.

There are over a dozen patents where the title includes "Electrosensitive recording blank":

2425742
2528005
2681309
2726168
3255039
3823034
3823262




2315361
                              System and apparatus for facsimile
                              telegraphy, Raleigh J Wise, Louis G
                              Stewart, Robert D Parrott, Western Union,
                              App: 1939-09-02
2315361
                              System and apparatus for facsimile
                              telegraphy, Raleigh J Wise, Louis G
                              Stewart, Robert D Parrott, Western Union,
                              App: 1939-09-02

2315361 System and apparatus for facsimile telegraphy, Raleigh J Wise, Louis G Stewart, Robert D Parrott, Western Union, App: 1939-09-02, W.W.II, Pub: 1943-03-30, -

This is the Western Union DeskFax machine.  There are some subtle differences, but overall the same as this machine.
2425742
                      Electrosensitive recording blank, Bernard L Kline,
                      Western Union, App: 1942-07-29, Pub: 1947-08-19
2425742 Electrosensitive recording blank, Bernard L Kline, Western Union, App: 1942-07-29, Pub: 1947-08-19, -

"In accordance with the instant invention, I have discovered that a large class of substantially water-insoluble organic sulphur bearing compounds of metals is especially suitable for use as the marking coating or film. These compounds, for example, comprise thio-oxalates, thiolates or mercaptides, thiolacetates or thio-glycolates, and thiocarbamides, of metals such as, for example, copper, silver, mercury and lead, and are in general characterized by originally being white or light in color, thus providing a desirable light colored background for the recording blank, and when marking potentials or currents are applied to or passed through a coating of such compounds in selected elemental areas of the recording blank, the compounds in just those areas are reduced or converted to sulphides of the metals. These sulphides, being black or dark in color, serve to delineate the recorded subject matter, whether it be pictures, writing, drawings, or other subject matter, in sharp distinct contrast with the light Colored background of the blank."

This is probably the method used in the AQA-5 Sonobuoy plotter used to visualize the signals from the SSQ-53A DIFAR Sonobuoy.

Citations:
Patent Citations (9)
Publication number  Priority date  Publication date  Assignee  Title
DE388724C  1922-08-24  1924-01-19  Aeg  Production of characters by electrolytic means
GB329258A  1928-10-16  1930-05-15  Ig Farbenindustrie Ag  Manufacture of material capable of being marked by electrolytic decomposition
DE523258C  1928-10-17  1931-04-21  Ig Farbenindustrie Ag  Process for the production of substances to be written on by electrolytic means
US1844199A  1928-08-30  1932-02-09  Rca Corp  Pyro-recording paper
US1880449A  1930-08-07  1932-10-04  Eastman Kodak Co  Tropochromic coating
US2038486A  1932-05-04  1936-04-21  Glas Emil  Electrochemical recording of electric currents
US2181533A  1936-01-18  1939-11-28  Western Union Telegraph Co  Method of and means for recording signals electrically
US2229091A  1935-07-09  1941-01-21  Western Union Telegraph Co  Telegraphic transmission of intelligence
US2306471A  1937-12-08  1942-12-29  Rca Corp  Electrolytic facsimile recording
Cited By (9)
Publication number  Priority date  Publication date  Assignee  Title
US2471607A  1947-01-09  1949-05-31  Finch Telecommunications Inc  Facsimile recording papers
US2528005A  1948-05-14  1950-10-31  Western Union Telegraph Co  Electrosensitive recording blank
US2572871A  1948-01-31  1951-10-30  Western Union Telegraph Co  Facsimile transmitting means and method of using same
US2606807A  1948-12-03  1952-08-12  Rca Corp  Electric marking
US2664043A  1947-06-17  1953-12-29  Timefax Corp  Stencil recording blank and process of preparation
US2681309A  1949-12-30  1954-06-15  Western Union Telegraph Co  Electrosensitive recording blank
US3165456A  1960-11-21  1965-01-12  Minnesota Mining & Mfg  Developer
US3316088A  1963-02-11  1967-04-25  Ibm  Process of electrophotography based on electrophotolytic reactions and element therefor
US3713996A  1971-01-06  1973-01-30  Bausch & Lomb  Electrosensitive recording media


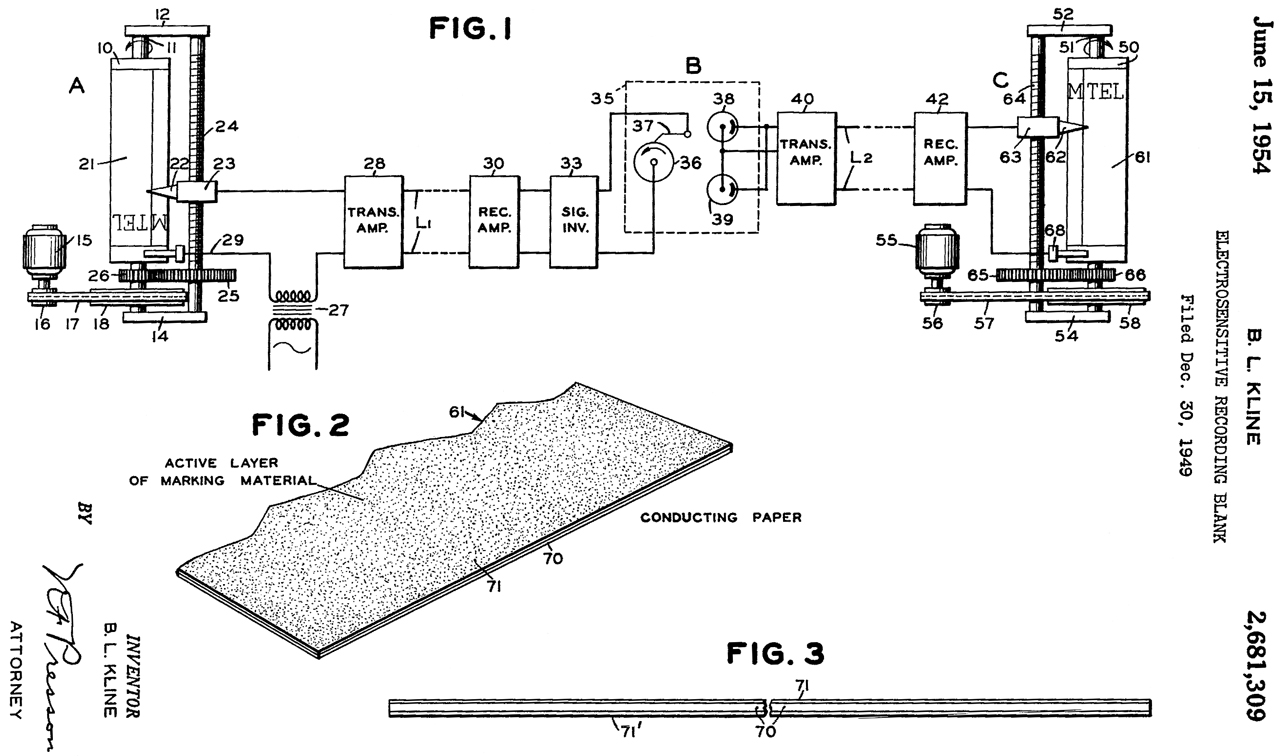
2681309
                      Electrosensitive recording blank, Bernard L Kline,
                      Western Union, 1954-06-15
2681309 Electrosensitive recording blank, Bernard L Kline, Western Union, 1954-06-15, -

"During recording operations there is a tend ency for decomposition products to accumulate on the point of the electrical recording stylius, which accumulation is highly objectionable. It is an object of the present invention to provide an improved cuprous-thiocyanate recording blank in which the marking coating embodies means for substantially preventing the accumulation of decomposition products on the recording stylus."

Patent Citations (9)
Publication number  Priority date  Publication date  Assignee  Title
US1920557A  1928-11-19  1933-08-01  Hene Emil  Process of producing and treating sulphocyanate salts
US2173141A  1935-07-16  1939-09-19  Radio Inventions Inc  Electrolytic recording paper
GB537067A  1940-05-03  1941-06-06  Western Union Telegraph Co  Improvements in or relating to recording blanks for use in facsimile telegraphy
GB537593A  1940-05-14  1941-06-27  Western Union Telegraph Co  Improvements in or relating to recording blanks for electric recording in facsimile telegraphy
US2294150A  1939-02-16  1942-08-25  Western Union Telegraph Co  Facsimile recording blank
US2294149A  1940-05-03  1942-08-25  Western Union Telegraph Co  Method of and means for recording signals
US2390540A  1944-10-05  1945-12-11  Dow Chemical Co  Recovery of copper from copperbearing solutions
US2425742A  1942-07-29  1947-08-19  Western Union Telegraph Co  Electrosensitive recording blank
US2528005A  1948-05-14  1950-10-31  Western Union Telegraph Co  Electrosensitive recording blank

Cited By (2)
Publication number  Priority date  Publication date  Assignee  Title
US2949409A  1956-12-20  1960-08-16  Muirhead & Co Ltd  Electrolytic recording media
CN108516566A  2018-04-26  2018-09-11  太原理工大学  The method for preparing cuprous sulfocyanide using ammonia process coking desulfurization waste liquor

2686858 Electrochemical paper and method of preparing same, Earl J Kohn, David L Venezky, 1954-08-17, -

2689273 Two-way facsimile telegraph system, Garvice H Ridings, Raleigh J Wise, George B Worthen, Western Union,App: 1948-06-16, Pub: 1954-09-14, - uses a stylus for both sending and receiving.

2779820 Facsimile synchronizing apparatus, Foster E Weld, Gamewell, 1957-01-29, -
Synchronization was a key problem in Stock market Tickers.
Gamewell made fire call boxes and other stuff.

2874218 Phasing system, II Samuel Gordon Allen, Frank L Currie, John J Mcmanus, Western Union,1959-02-17, -
for synchronizing drum rotation



Other uses of Electrostatic Paper

From the article introducing the DeskFax here are some other uses of the electrostatic printing technology (Teledeltos paper).
132 patents mention Teledelots.

Weather Fax

Signal Corps TT-1B/TXC-1 Weather fax

Fathometer or Marine Depth Recorder

Submarine Signal Co. Fathometer
1667540 Method and apparatus for
                                measuring distance, Dorsey Herbert
                                Grove, Submarine Signal Co,1928-04-24,
1667540 Method and apparatus for
                                measuring distance, Dorsey Herbert
                                Grove, Submarine Signal Co,1928-04-24,

1667540 Method and apparatus for measuring distance, Dorsey Herbert Grove, Submarine Signal Co, 1928-04-24, -
1883433
                        System and apparatus for submarine signaling,
                        Williams Robert Longfellow, Submarine Signal Co,
                        1932-10-18
1883433 System and apparatus for submarine signaling, Williams Robert Longfellow, Submarine Signal Co, 1932-10-18, -
2108089
                        Recording device, Jr Edwin E Turner, Submarine
                        Signal Co, 1938-02-15, -
2108089 Recording device, Jr Edwin E Turner, Submarine Signal Co, 1938-02-15, -

"The paper is preferably a wax paper, having a base coloring different from the coloring of the wax. So that when the wax is removed by the marking of the stylus on it the color beneath will show. 

A prior art problem with sparks burning holes in paper is that the spark tries to go to the hole and so will not show small movements of the stylus.

This is similar to the system used by Rustrak.

3048848 Method and apparatus for chart recording, Richard W May, Rust Ind Co, 1962-08-07, - I have one of these somewhere here.  It uses a simple wire bail to keep the stylus above the paper and every now and then a bar snaps down to cause the stylus to mark the wax paper.

2401019 Time interval meter, Rieber Frank, Time Interval Instruments, 1946-05-28 - uses Teledeltos paper for permanent record

3267413 Echo signal detection and display apparatus, John N Beebe, Jacques P Perron, Raytheon, 1966-08-16, - uses AC transformer coupling between the electronics and the rotating lamp.  Plots on electrostatic paper.

Related

Stock Tickers - they use the work Unison for Synchronization
Telegraph -
Telephone -
Western Union Self Winding Clocks (page 1, page2) -
Western Union 5A Stock Ticker -

References

Ref 1. Western Union Technical Review (1947 - 1969), (author index) Vol. 3 No.1, January 1949.

Article
Author
page
Facsimile in Telegraphy P.J. Howe
1
Recording Paper
6 Teledeltos paper,
Signal Corps TT-1B/TXC-1 Weather fax
Submarine Signal Co. Fathometer
Bell Labs sound spectrograph (note 11) pg 14
11. The Sound Spectrograph, W. Koening, H.K. Dunn, L.Y. Lacy, Journal of the Acoustical Society of America, Vol 17, July 1946 - See the SSQ-53A Audio Analysis section
Facsimile Transceiver
17
DeskFax - Telefax,
pg 23: The DeskFax in the article does not have the chopper wheel, i.e. it uses a simpler optical reader.
Microwave Lenses
27

Thyratrons in Cable Operation
34

Xerographic Process
43
Western Union commented on the start of Xerography and the new "transistor" but WU had not been involved in the invention of Xerography.
2221776 Electron photography,
                                Chester F Carlson, 1940-11-19
2221776 Electron photography, Chester F Carlson, 1940-11-19, -



Ref 2. YouTube: PeriscopeFilm: U.S. Navy Sonobuoy Indicator Group AN/AQA-1 Anti-submarine Warfare Film 51114, 17:50 -
Ref 3. YouTube: Terribly Outdated Technology that we Still Use..., 16:15 -  FA, Steam, Floppy Disk, Pager.
Ref 4. YouTube: How Photographs Were Transmitted by Wire in the 1930s, 8:10 - uses a photo negative in the printing process.

Links

PRC68, Alphanumeric Index of Web pages, Contact, Products for Sale
Page Created 2021 Aug 4